| Похожие рефераты | Скачать .docx |
Дипломная работа: Технология размещения базовых станций связи стандарта DCS-1800
Введение
Среди современных систем мобильной радиосвязи наиболее стремительно развиваются системы сотовой радиотелефонной связи. Их внедрение позволило решить проблему экономического использования выделенной полосы радиочастот путем передачи сообщений на одних и тех же частотах и увеличить пропускную способность телекоммуникационных сетей. Эти системы построены в соответствии с сотовым принципом разделения частот по территории обслуживания и предназначены для обеспечения радиосвязью большого числа абонентов с выходом в ТфОП.
Использование современных информационных технологий позволяет обеспечить абонентам таких сетей высокое качество речевых сообщений, надежность и конфиденциальность связи, защиту от несанкционированного доступа в сеть и еще очень широкий набор иных услуг. В настоящее время в сфере радиосвязи с подвижными объектами широко используются как аналоговые (NMT-450, NMT-900, AMPS и др.), так и цифровые стандарты (GSM-900, GSM-1800, GSM-1900, D-AMPS, и др.). Наиболее успешно развиваются мобильные технологии, связанные со стандартом GSM. По отношению к другим цифровым стандартам сотовых систем подвижной связи GSM обеспечивают лучшие энергетические и качественные характеристики связи, самые высокие характеристики безопасности и конфиденциальности связи. Стандарт GSM, кроме того, предоставляет ряд услуг связи, которые не реализованы в других стандартах сотовой связи.
Целью данного дипломного проекта является проектирование фрагмента сотовой системы связи стандарта DCS-1800 оператора «Астелит» и оценка электромагнитной совместимости данной системы.
1. Современные стандарты сотовых сетей связи
1.1 Описание и основные характеристики стандарта GSM
Использование в странах Западной Европы целого ряда аналоговых стандартов сотовой связи, не совместимых друг с другом и имеющих значительные недостатки в сравнении с цифровыми стандартами, привело к необходимости разработки единого общеевропейского цифрового стандарта сотовой связи GSM-900. Он обеспечивает высокое качество и конфиденциальность связи, позволяет предоставить абонентам большой набор услуг. Стандарт допускает возможность организации автоматического роуминга. По состоянию на июль 1999 г. доля абонентов стандарта GSM-900 составляла: в мире примерно 43%, в Западной Европе более 85%.
Стандарт GSM известен также под названиями DCS (Digital Cellular System) или PCN (Personal Communications Network), а также модификация стандарта GSM-900 для диапазона 1800 МГц: стандарт GSM-1800. Стандарт GSM включает в себя наиболее полный набор услуг по сравнению с другими.
Сотовые сети стандарта GSM изначально проектируются как сети большой емкости, рассчитанные на массового потребителя и предназначенные для предоставления широкого набора услуг абонентам при пользовании связью как внутри зданий, так и на улице, в том числе при передвижении на автомобиле [1–3].
В стандарте GSM используется TDMA, что позволяет на одной несущей частоте разместить одновременно 8 речевых каналов. В качестве речепреобразующего устройства используется речевой кодек RPE-LTP с регулярным импульсным возбуждением и скоростью преобразования речи
13 кбит/с.
Для защиты от ошибок, возникающих в радиоканалах, применяется блочное и сверточное кодирование с перемежением. Повышение эффективности кодирования и перемежения при малой скорости перемещения MS достигается медленным переключением рабочих частот в процессе сеанса связи со скоростью 217 скачков в секунду [2, 3].
Для борьбы с интерференционными замираниями принимаемых сигналов, вызванными многолучевым распространением радиоволн в условиях города, в аппаратуре связи используются эквалайзеры, обеспечивающие выравнивание импульсных сигналов со среднеквадратическим отклонением времени задержки до 16 мкс. Система синхронизации оборудования рассчитана на компенсацию абсолютного времени задержки сигналов до 233 мкс. Это соответствует максимальной дальности связи 35 км (максимальный радиус соты).
Для модуляции радиосигнала применяется спектрально-эффективная гуссовская частотная манипуляция с минимальным частотным сдвигом (GMSK). Обработка речи в данном стандарте осуществляется в рамках системы прерывистой передачи речи DTX (Discontinuous Transmission).
В стандарте GSM достигается высокая степень безопасности передачи сообщений; осуществляется шифрование сообщений по алгоритму шифрования с открытым ключом (RSA).
В целом, система связи, действующая в стандарте GSM рассчитана на ее использование в различных сферах. Она предоставляет пользователям широкий диапазон услуг и возможность применять разнообразное оборудование для передачи речевых сообщений и данных, вызывных и аварийных сигналов; подключаться к телефонным сетям общего пользования (PSTN), сетям передачи данных (PDN) и цифровым сетям с интеграцией служб (ISDN).
Ниже приведены основные характеристики стандарта GSM [4, 5]:
- частота передачи MS и приема BTS, МГц 890–915;
- частота приема MS и передачи BTS, МГц 935–960;
- дуплексный разнос частот приема и передачи, МГц 45;
- скорость передачи сообщений в радиоканале, кбит/c 270,833;
- скорость преобразования речевого кодека, кбит/c 13;
- ширина полосы канала связи, кГц 200;
- максимальное количество каналов связи 124;
- вид модуляции GMSK;
- индекс модуляции BT=0,3;
- ширина полосы пропускания предмодуляционного
гаусовского фильтра, кГц 81,2;
- количество скачков по частоте в секунду 217;
- максимальный радиус соты, км до 35;
- схема организации каналов комбинированная TDMA/FDMA;
- требуемое отношение несущая / интерференция 9 дБ.
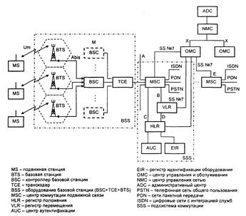
Оборудование сетей GSM включает в себя подвижные (радиотелефоны) и базовые станции, цифровые коммутаторы, центр управления и обслуживания, различные дополнительные системы и устройства. Функциональное сопряжение элементов системы осуществляется с помощью ряда интерфейсов. На структурной схеме (рисунок 1.1) показано функциональное построение и интерфейсы, принятые в стандарте GSM [5].

Рисунок 1.1 – Структурная схема сети стандарта GSM
MS состоят из оборудования, которое предназначено для организации доступа абонентов GSM к существующим сетям связи. В рамках стандарта GSM приняты пять классов MS: от модели 1-го класса с выходной мощностью до 20 Вт, устанавливаемой на транспортных средствах, до модели 5-го класса с максимальной выходной мощностью до 0,8 Вт (таблица 1.1). При передаче сообщений предусматривается адаптивная регулировка мощности передатчика, обеспечивающая требуемое качество связи. MS и BTS независимы друг от друга.
Таблица 1.1 – Классификация подвижных станций стандарта GSM
| Класс модели | Максимальная мощность передатчика, Вт |
Допустимые отклонения, дБ |
| 1 | 20,0 | 1,5 |
| 2 | 8,0 | 1,5 |
| 3 | 5,0 | 1,5 |
| 4 | 2,0 | 1,5 |
| 5 | 0,8 |
1,5 |
Каждая MS имеет свой МИН – международный идентификационный номер (IMSI), записанный в ее памяти. Каждой MS присваивается еще один МИН – IMEI, который используется для исключения доступа к сетям GSM с помощью похищенной станции или станции, не обладающей такими полномочиями.
Оборудование BSS состоит из контроллера базовых станций BSC и собственно приемопередающих базовых станций BTS [3–6]. Один контроллер может управлять нескольким станциями. Он выполняет следующие функции: управление распределением радиоканалов; контроль соединения и регулировка их очередности; обеспечение режима работы с «прыгающей» частотой, модуляция и демодуляция сигналов, кодирование и декодирование сообщений, кодирование речи, адаптацию скорости передачи речи, данных и сигналов вызова; управление очередностью передачи сообщений персонального вызова.
Транскодер ТСЕ обеспечивает преобразование выходных сигналов канала передачи речи и данных MSC (64 кбит/с) к виду, соответствующему рекомендациям GSM по радиоинтерфейсу (13 кбит/с). Транскодер обычно располагается вместе с MSC.
Оборудование подсистемы коммутации SSS состоит из ЦК подвижной связи MSC, регистра положения HLR, регистра перемещения VLR, центра аутентификации AUC и регистра идентификации оборудования EIR.
MSC обслуживает группу сот и обеспечивает все виды соединений MS. Он представляет собой интерфейс между сетью подвижной связи и фиксированными сетями, такими как PSTN, PDN, ISDN, и обеспечивает маршрутизацию вызовов и функцию управления вызовами. Кроме этого, MSC выполняет функции коммутации радиоканалов, к которым относятся эстафетная передача, обеспечивающая непрерывность связи при перемещении MS из соты в соту, и переключение рабочих каналов в соте при появлении помех или неисправностей. Каждый MSC обслуживает абонентов, расположенных в пределах определенной географической зоны. MSC управляет процедурами установления вызова и маршрутизации. Для PSTN он обеспечивает функции системы сигнализации SS №7, передачи вызова или другие виды интерфейсов. Также MSC формирует данные для тарификации разговоров, составляет статистические данные, поддерживает процедуры безопасности при доступе к радиоканалу [5–7].
MSC также управляет и процедурами регистрации местоположения и передачи управления в подсистеме базовых станций (BSC). Процедура передачи вызова в сотах, управляемых одним BSC, осуществляется этим BSC. Если передача вызова осуществляется между двумя сетями, управляемыми разными BSC, то первичное управление осуществляется в MSC. Также в стандарте GSM предусмотрена процедура передачи вызова между контроллерами (сетями), относящимися к разным MSC.
MSC осуществляет постоянное слежение за MS, используя регистры: HLR (регистр положения или домашний регистр) и VLR (перемещения или гостевой регистр).
В HLR хранится та часть информации о местоположении какой-либо MS, которая позволяет MSC доставить вызов. Этот регистр содержит МИН подвижного абонента (IMS1), который используется для опознавания MS в центре аутентификации (AUC), а также данные, необходимые для нормальной работы сети GSM.
Фактически HLR является справочной БД о постоянно зарегистрированных в сети абонентах. В ней содержатся опознавательные адреса и номера, а также параметры подлинности абонентов, состав услуг связи, информация о маршрутизации, данные о роуминге абонента (включая данные о временном идентификационном номере aбoнента и соответствующем VLR) [6].
К данным, находящимся в HLR, имеют доступ все MSC и VLR сети. Если в сети имеется несколько HLR, в БД содержится только одна запись об абоненте, поэтому каждый HLR представляет собой часть общей БД сети об абонентах. К HLR также могут получать доступ MSC и VLR, относящиеся к другим сетям, с целью обеспечения межсетевого роуминга.
Регистр перемещения (VLR) – это второе основное устройство, обеспечивающее контроль за передвижением MS из соты в соту. С его помощью достигается функционирование MS за пределами контролируемой регистром положения зоны. Когда в процессе перемещения MS переходит из зоны действия одного MSC в зону действия другого, то она регистрируется последним, т.е. в регистр перемещения заносится новая информация. VLR содержит такие же данные, как и HLR, но эти данные находятся в VLR только до тех пор, пока абонент находится в зоне, контролируемой VLR.
В сетях стандарта GSM соты группируются в географические зоны (LA), которым присваивается свой идентификационный номер LAC. Каждый VLR содержит данные об абонентах в нескольких LA. При перемещении абонента из одной зоны в другую, данные о его местоположении автоматически обновляются в VLR. Если старая и новая LA находятся в зоне действия различных VLR, то данные на старом VLR стираются после их копирования в новый VLR. Текущий адрес VLR абонента, содержащийся в HLR, также обновляется.
Также VLR обеспечивает присвоение номера «блуждающей» подвижной станции (MSRN). Когда абонент принимает входящий вызов, VLR выбирает его MSRN и передает на MSC, который осуществляет маршрутизацию этого вызова к BTS, в зоне действия которой находится абонент. Кроме того, VLR распределяет номера передачи управления при передаче соединений от одного MSC к другому, управляет распределением новых TMSI и передает их в HLR, управляет процедурами установления подлинности во время обработки вызова. В целом VLR представляет собой локальную БД об абоненте для той зоны, где он находится, что позволяет исключить постоянные запросы в HLR и сократить время на обслуживание вызовов.
Для исключения несанкционированного использования ресурсов ССС в нее введены механизмы аутентификации. Центр аутентификации (AUC) состоит из нескольких блоков и формирует ключи и алгоритмы аутентификации. С его помощью проверяются полномочия абонента и осуществляется его доступ к сети. AUC принимает решения о параметрах процесса аутентификации и определяет ключи шифрования на основе БД, находящейся в регистре идентификации оборудования (EIR).
Каждый подвижный абонент на время пользования ССС получает стандартный модуль подлинности абонента (SIM-карту), который содержит: IMSI, свой индивидуальный ключ аутентификации (Ki), алгоритм аутентификации (A3). С помощью информации, записанной в SIM-карте, в результате обмена данными между MS и сетью, осуществляется полный цикл аутентификации и разрешается доступ абонента к сети.
Регистр идентификации оборудования EIR содержит централизованную БД для подтверждения подлинности МИН оборудования подвижной станции (IMEI). Если сеть имеет несколько EIR, то каждый EIR управляет определенными группами номеров MS [5–7].
Центр управления и обслуживания (ОМС) обеспечивает управление элементами сети и качеством ее работы. В функции ОМС входит: регистрация и обработка аварийных сигналов, устранение неисправностей (автоматически или посредством обслуживающего персонала), проверка состояния оборудования сети и прохождения вызова MS, управление трафиком, сбор статистических данных, управление MS и BTS и др.
Центр управления сетью (NMC) обеспечивает техническое обслуживание и эксплуатацию на уровне всей сети, поддерживаемой центрами ОМС (которые обеспечивают управление региональными сетями). В функции NMC входит: управление трафиком в пределах всей сети GSM, диспетчерское управление сетью в аварийных ситуациях (выход из строя или перегрузка узлов), контроль состояния устройств автоматического управления в оборудовании сети, отображение состояния всей сети на дисплее операторов, управление маршрутами сигнализации и соединениями между узлами, контроль соединений между GSM и PSTN и др.
В системах стандарта GSM имеются интерфейсы трех видов: для соединения с внешними сетями; между различным оборудованием сетей GSM; между сетью GSM и внешним оборудованием. Они полностью соответствуют требованиям рекомендаций ETSI/GSM 03.02.
1.2 Описание сотового стандарта CDMA
1.2.1 Основные принципы CDMA
Для преодоления некоторых недостатков, распространенных в стандарте GSM, компаниям-производителям пришлось обратиться к принципиально другим цифровым системам, выполненным по технологии многостанционного доступа с кодовым разделением каналов (МДКР) или, как его называют во всем мире, CDMA (Code Division Multiple Access), которые используют шумоподобные сигналы с расширенным спектром.
Технология мультидоступа с кодовым разделением каналов, в основе которой лежит ортогональное разделение сигналов, известна давно.
Сам принцип CDMA заключается в расширении спектра исходного информационного сигнала (в нашем случае речевого), которое может производиться двумя различными методами, которые называются следующим образом: «скачки по частоте» и «прямая последовательность».
Так называемые «скачки по частоте» (или FH – Frequency Hopping) реализуются следующим образом: несущая частота в передатчике постоянно меняет свое значение в некоторых заданных пределах по псевдослучайному закону (коду), индивидуальному для каждого разговорного канала, через сравнительно небольшие интервалы времени. Приемник системы ведет себя аналогично, изменяя частоту гетеродина по точно такому же алгоритму, обеспечивая выделение и дальнейшую обработку только нужного канала. С помощью FH сейчас производятся попытки улучшения технических характеристик узкополосных цифровых систем сотовой связи, в частности, GSM.
Второй метод «прямой последовательности» (или DS – Direct Sequence), который основан на использовании шумоподобных сигналах и применяется в большинстве работающих и перспективных системах CDMA. Он предусматривает модуляцию информационного сигнала каждого абонента единственным и уникальным в своем роде псевдослучайным шумоподобным сигналом (он-то и является в данном случае кодом), который и расширяет спектр исходного информационного сигнала. Тут сразу следует отметить, что число вариантов таких кодов достигает нескольких миллиардов, что позволило бы создать персональную связь в масштабах нашей планеты. В результате проведения описываемого процесса узкополосный информационный сигнал каждого пользователя расширяется во всю ширину частотного спектра, выделенного для пользователей сети (база сигнала при этом становится много больше 1). В приемнике сигнал восстанавливается с помощью идентичного кода, в результате чего восстанавливается исходный информационный сигнал. В то же самое время сигналы остальных пользователей для данного приемника продолжают оставаться расширенными и воспринимаются им лишь как белый шум, который является наиболее мягкой помехой, в наименьшей степени мешающей нормальной работе приемника [3, 4].
1.2.2 Отличия CDMA от других стандартов
В системах с частотным разделением каналов (как в FDMA, так и в TDMA) существует проблема так называемого «многократного использования» (reuse) частотных каналов. Чтобы не мешать друг другу, соседние базовые станции должны использовать разные каналы. Таким образом, если у БС 6 соседей (наиболее часто рассматриваемый случай, при этом зону каждой БС можно представить как шестиугольник, а всё вместе выглядит как пчелиные соты), то количество каналов, которые может использовать эта БС в семь раз меньше чем общее количество каналов в отведённом для сети диапазоне. Это приводит к уменьшению ёмкости сети и необходимости увеличивать плотность установки БС в густонаселённых районах. Для CDMA такой проблемы вообще нет. Все БС работают на одном и том же канале. Таким образом, частотный ресурс используется более полно. Ёмкость CDMA сети обычно в несколько раз выше, чем TDMA, и на порядок выше чем FDMA сетей.
CDMA это практически полностью цифровой стандарт. Обычно все преобразования информационного сигнала происходят в цифровой форме, и только радиочасть аппарата является аналоговой, причём гораздо более простой, чем для других групп стандартов. Это позволяет практически весь телефон выполнить в виде одной микросхемы с большой степенью интеграции, тем самым значительно снизив стоимость телефона.
Из минусов можно отметить необходимость использования достаточно широкой и неразрывной полосы, что не всегда возможно в современной обстановке дефицита частотного ресурса и большую сложность реализации данной технологии в «железе» [3–6].
Достоинствами CDMA являются:
– более высокое качество связи по сравнению с другими стандартами связи;
– более высокая скорость передачи данных и соответственно более широкие возможности использования CDMA терминалов;
– меньшее энергопотребление терминалов что продляет срок работы без подзарядки;
– большая емкость сети (более полное использование частотного ресурса);
– стандарт CDMA (IS-95) более приспособлен к переходу к третьему поколению.
1.2.3 Технология мультидоступа
При частотном разделении спектр передачи разделяется на участки, выделяемые для различных пользователей. Только этот метод может быть использован при аналоговой связи. На этом методе основаны все аналоговые стандарты сотовой связи: NMT, AMPS, TACS и др. Недостатки таких систем сейчас очевидны: плохая помехозащищенность и связанное с ней невысокое качество передачи речи, неэффективное использование дефицитного радиоспектра, отсутствие защиты от прослушивания и т.д. Следует также сказать, что пик своего развития аналоговые системы прошли в 1993 году, после которого наблюдается устойчивое снижение числа их абонентов. Самым же распространенным аналоговым стандартом в мире был и пока остается AMPS. Два других метода используются при цифровой технологии и, как правило, в комбинации с частотным разделением. В случае мультидоступа с временным разделением каналов многочисленные абоненты передают свои сообщения на одной и той же радиочастоте, но в разное время, что позволяет увеличить объем речевого трафика и получить ряд других преимуществ, характерных для цифровых систем связи. На этом методе основаны такие узкополосные цифровые стандарты сотовой связи, как GSM и его разновидность DCS, а также D-AMPS, который стал логическим продолжением стандарта AMPS.
1.2.4 Общая характеристика и принципы функционирования
Так же и в стандарте CDMA передаваемая в эфире информация от базовой станции к мобильной или наоборот попадает ко всем абонентам сети, но каждый абонент понимает только ту информацию, которая предназначена для него, т.е. русский понимает только русского, немец только немца, а остальная информация отсеивается. Язык общения в данный момент является кодом. В CDMA это организовано за счет применения кодирования передаваемых данных, если точнее, то за это отвечает блок умножения на функцию Уолша [4].
В отличие от стандарта GSM, который использует TDMA (Time Division Multiple Access – многостанционный доступ с кодовым разделением канала, т.е. несколько абонентом могут разговаривать на одной и той же частоте, как и в CDMA, но в отличие от CDMA, в разное время), стандарт IS-95 диапазон частот использует более экономично.
CDMA называют широкополосной системой и сигналы идущие в эфире шумоподобными. Широкополосная – потому, что занимает широкую полосу частот. Шумоподобные сигналы – потому, что когда в эфире на одной частоте, в одно и то же время работают несколько абонентов, сигналы накладываются друг на друга (можно представить шум в ресторане, когда все одновременно говорят). Помехоустойчивая – потому, что при возникновении в широкой полосе частот (1,23 МГц) сигнала-помехи, узкого диапазона (<150 кГц), сигнал примется почти неискаженный. За счет помехоустойчивого кодирования потерянные данные система восстановит. На рисунке 1.2 показан полезный сигнал и помеха (СЗС – селективная помеха) [4].
А в стандарте GSM такое не получится. Из-за того, что GSM изначально сам узкополосный. Ширина полосы, которая используется, равна 200 кГц.

Рисунок 1.2 – Полезный сигнал и помеха СDMA
Система CDMA фирмы Qualcom рассчитана на работу в диапазоне частот 800 МГц. Система CDMA построена по методу прямого расширения спектра частот на основе использования 64 видов последовательностей, сформированных по закону функций Уолша. Для передачи речевых сообщений выбрано речепреобразующее устройство с алгоритмом CELP со скоростью преобразования 8000 бит/с (9600 бит/с в канале). Возможны режимы работы на скоростях 4800, 2400, 1200 бит/с.
В каналах системы CDMA применяется сверточное кодирование со скоростью (в каналах от базовой станции) и 1/3 (в каналах от подвижной станции), декодер Витерби с мягким решением, перемежение передаваемых сообщений. Общая полоса канала связи составляет 1,25 МГц.
В стандарте используется раздельная обработка отраженных сигналов, приходящих с разными задержками, и последующее их весовое сложение, что значительно снижает отрицательное влияние эффекта многолучевости. При раздельной обработке лучей в каждом канале приема на базовой используется 4 параллельно работающих коррелятора, а на подвижной станции 3 коррелятора. Наличие параллельно работающих корреляторов позволяет осуществить мягкий режим «эстафетной передачи» при переходе из соты в соту [6–8].
Основные характеристики стандарта приведены в таблице 1.2.
Таблица 1.2 – Основные характеристики стандарта
| Характеристика | Значение |
| Диапазон частот передачи MS | 824,040–848,860 МГц |
| Диапазон частот передачи BTS | 869,040–893,970 МГц |
| Относительная нестабильность несущей частоты BTS | ± 5*10-8 |
| Относительная нестабильность несущей частоты MS | ± 2,5*10-6 |
| Вид модуляции несущей частоты | QPSK(BTS), O-QPSK(MS) |
Ширина спектра излучаемого cигнала: – по уровню минус 3 дБ - по уровню минус 40 дБ |
1,25МГц; 1,50 МГц |
| Тактовая частота ПСП М-функции | 1,2288 МГц |
| Количество каналов BTS на 1 несущей частоте | 1 пилот-канал; 1 канал синхронизации; 7 каналов персонального вызова; 55 каналов связи |
| Количество каналов MS | 1 канал доступа; 1 канал связи |
Скорость передачи данных: – в канале синхронизации – в канале перс. вызова и доступа – в каналах связи |
1200 бит/с; 9600, 4800 бит/с; 9600, 4800, 2400, 1200 бит/с |
| Кодирование в каналах передачи BTS | Сверточный код R=1/2, К=9 |
| Кодирование в каналах передачи MS | Сверточный код R=1/3, K=9 |
Требуемое для приема отношение энергии бита информации |
6–7 дБ |
| Максимальная эффективная излучаемая мощность BTS | 50 Вт |
| Максимально эффективная излучаемая мощность MS | 6,3–10 Вт |
Мягкий режим «эстафетной передачи» происходит за счет управления подвижной станцией двумя или более базовыми станциями. Транскодер, входящий в состав основного оборудования, проводит оценку качества приема сигналов от двух базовых станций последовательно кадр за кадром. Процесс выбора лучшего кадра приводит к тому, что результирующий сигнал может быть сформирован в процессе непрерывной коммутации и последующего «склеивания» кадров, принимаемых разными базовыми станциями, участвующими в «эстафетной передаче».
Протоколы установления связи в CDMA, так же как в стандартах AMPS основаны на использовании логических каналов.
1.3 Обзор стандартов мобильных сетей третьего поколения (3G)
1.3.1 Основные возможности мобильных сетей третьего поколения
Термин 3G, принятый мировым сообществом для обобщенного обозначения следующего поколения мобильных сетей и их возможностей. Таких как, повышенная ёмкость и функциональность, обеспечивающая новейшие услуги и приложения, включающие мультимедиа. Сети третьего поколения (3G) отличаются от сетей второго поколения (2G), таких как например GSM и переходного поколения (2.5G), таких как например GPRS – гораздо большей скоростью передачи данных, а также более широким набором и высоким качеством предоставляемых услуг.
1.3.2 Семейство систем IMT-2000
(International Mobile Telecommunications – 2000) это рекомендации, разработанные Международным Институтом Электросвязи (ITU), касающиеся вопросов использования частотного спектра и технических особенностей для всего семейства стандартов третьего поколения. Рекомендации описывают пути эволюции существующих в мире стандартов второго поколения в стандарты третьего поколения.
Согласно рекомендациям ITU определено пять стандартов мобильной связи третьего поколения. Вместе эти пять стандартов образуют IFS (IMT-2000 Family of Systems) – семейство систем IMT-2000 (рисунок 1.3) [8].

Рисунок 1.3 – Семейство систем IMT-2000
С учётом специфики существующих в мире на сегодняшний день сетей сотовой связи были разработаны варианты миграции этих сетей в сети третьего поколения, показанные на рисунке 1.4.

Рисунок 1.4 – Миграция стандартов сотовой связи в сети третьего поколения
IMT-2000 обеспечивает [15–8]:
- высокую скорость передачи данных как внутри помещений, так и на открытой местности;
- симметричную и асимметричную передачу данных;
- поддержку канальной и пакетной коммутации для обеспечения таких сервисов, как Internet Protocol (IP) и Real Time Video;
- высокое качество голоса, не уступающее качеству голоса при передаче по проводной линии;
- большую компактность спектра и более эффективное его использование;
- возможность глобального роуминга.
Программа IMT-2000 базируется на ряде признаков, определяющих принципы построения систем третьего поколения и их архитектуру. Уже на первом этапе развертывания они должны обеспечивать определенные значения скорости передачи для различных степеней мобильности абонента (т.е. разных скоростей его движения) в зависимости от величины зоны покрытия:
- до 2,048 Мбит/с при низкой мобильности (скорость менее 3 км/ч) и локальной зоне покрытия;
- до 144 кбит/с при высокой мобильности (до 120 км/ч) и широкой зоне покрытия;
- до 64 (144) кбит/с при глобальном покрытии (спутниковая связь).
Что же касается набора услуг, то он фактически приближается к предоставляемому в сетях фиксированной связи. Это и высокоскоростной доступ в Internet, и мультимедиа. Очевидно, что достижение таких высоких скоростей при ограниченном частотном ресурсе и работе в каналах с замираниями потребует разработки принципиально новых подходов к построению радиоинтерфейса.
Архитектура систем будущего включает два основных элемента: cетевую инфраструктуру (Access Network) и магистральные базовые сети (Core Network). Такая структура обеспечивает возможность наращивания инфраструктуры путем последовательной модификации ее составных элементов, но чтобы гарантировать работу сетей в долгосрочной перспективе, необходимо помнить об абонентской части архитектуры – терминалах, которые за счет изменяемой конфигурации должны удовлетворять требованиям многих стандартов.
В борьбе за лидерство при принятии мировых стандартов третьего поколения образовались два лагеря, оформившиеся в виде двух партнерских объединений: 3GPP и 3GPP2.
В первое объединение – 3GPP – входят ETSI (Европа), ARIB (Япония), Комитет T1 (США), а также три региональных органа стандартизации от Азиатско-Тихоокеанского региона – CWTS (Китай), TTA (Корея) и TTC (Япония). Важно отметить, что совместные позиции ETSI и ARIB должны упрочиться с внедрением экспериментальных сетей на базе WCDMA, активно разрабатываемых с участием компаний DoCoMo, Ericsson и Nokia.
Основной вклад партнерства 3GPP в программу IMT-2000 – гармонизация пяти проектов: UTRA FDD (ETSI), WCDMA (ARIB), WCDMA NA (T1P1, США), WIMS (TR-46.1, США) и CDMA II (TTA). Его участники намерены предложить два варианта радиоинтерфейса. Первый – IMT-DS (IMT-2000 Direct Spread) – построен на базе проектов WCDMA (UTRA FDD) с прямым расширением спектра (DS-CDMA) и частотным дуплексным разносом (FDD), ориентированным на использование в парных полосах частот.
Другой тип радиоинтерфейса – IMT-TC (IMT-2000 Time-Code), представленный этим объединением в МСЭ, основан на кодово-временном разделении каналов TDMA/CDMA с временным дуплексным разносом (TDD) и предназначен для организации связи в непарных полосах частот. IMT-TC фактически представляет собой чисто формальное объединение двух различных технических решений – европейского предложения UTRA TDD и китайского TD-SCDMA.
1.3.3 Стандарт третьего поколения IMT-MC (IMT-2000 Multi Carrier)
IMT-MC иногда упоминается как MC-CDMA или CDMA2000 1X или CDMA 1xRTT.
IMT-MC это стандарт 3-го поколения, в который могут мигрировать существующие сети первого и второго поколений, использующие технологию кодового разделения доступа – CDMA, а так же сети первого поколения, использующие технологию частотного разделения доступа – FDMA и спецефические сети второго поколения – PDC, получившие широкое распространение в Японии. К этим сетям относятся: IS-95A, он же CDMAOne; IS-95B; IS-2000; NMT; PDC.
IMT-MC является стандартом с гибридным методом доступа, который позволяет повысить спектральную эффективность и помехозащищенность радиосистемы.
IMT-MC – по сути представляет собой модификацию многочастотной системы cdma2000, в которой обеспечивается обратная совместимость с оборудованием стандарта CDMAOne (IS-95). Увеличение пропускной способности реализуется за счет одновременной передачи сигналов на нескольких несущих с частотным дуплексным разносом, предполагается работа в непарных полосах частот [6, 7].
1.3.4 Стандарт 3-го поколения IMT-DC (IMT-2000 Direct Spread)
IMT-DCиногда упоминается как WCDMA (WidebandCDMA) или как UMTS (UniversalMobileTelecommunicationSystem)
IMT-DC – это стандарт 3-го поколения, в который могут мигрировать существующие сети переходного поколения 2.5G.
К этим сетям относятся:
– GSM-GPRS;
– GSM-EDGE, (могут упоминаться как E-GPRS).
Организация ETSI традиционно участвует в разработке систем сотовой связи для массового использования. На этот раз ее вкладом в создание систем 3-го поколения стала программа UMTS, базирующаяся на успешном опыте разработки и внедрения систем GSM и DECT.
В этой программе однозначно определено, что UMTS – это глобальная система, включающая как земные, так и спутниковые сети. Диапазон ее возможностей и областей применения необычайно широк. Она отличается от GSM и других систем 2-го поколения широким спектром услуг передачи речи с высоким качеством (сопоставимым с качеством при фиксированной связи) и мультимедиа при конкурентоспособных ценах на эти услуги. UMTS позволяет организовать полное взаимодействие с системами GSM и модификациями этого стандарта (GPRS и др.), что обеспечит сохранность инвестиций, сделанных в работающие сейчас сети.
В связи с тем, что стандартизация UMTS в настоящее время происходит только в области выбора частотного диапазона и структуры радиоинтерфейса, различные компании предлагают самостоятельные технические решения.
В рамках ETSI было рассмотрено пять базовых концепций радиодоступа для систем 3-го поколения: a-концепция (WB-CDMA), базирующаяся на FMA2 и предложениях ряда японских фирм, b-концепция (OFDMA), g-концепция (WB-CDMA), основанная на FMA1 без расширения спектра, d-концепция (WB-TD-CDMA) на основе FMA1 с использованием спектра расширения и j-концепция (ODMA) (таблица 1.3).
Таблица 1.3 – Основные характеристики радиодоступа систем на базе UMTS
| Метод доступа | WB-CDMA (концепция a) | OFDMA (концепция b) | WB-TDMA (концепция g) | WB-TD-CDMA (концепция d) |
ODMA (концепция e) |
| Разнос несущих | DS-CDMA | SFH-TDMA, OFDM | TDMA | TDMA/CDMA | CDMA/TDMA |
| Скорость в радиоканале | 4,4–5,2 МГц (шаг 200 кГц) | 100 кГц (24 несущие) | 1,6 МГц | 1,6 МГц | 1 и 4 МГц |
Проведенное ETSI в начале 1998 г. голосование по выбору проекта среди стран Европы не позволило выявить абсолютного победителя. Установленный при голосовании порог принятия решений в 71% голосов ни одним из претендентов превышен не был. Но две технологии из пяти получили наибольшее признание: WB-CDMA для парных частотных полос и TD-CDMA для непарных полос. Они и легли в основу спецификации UTRA, представленной в МСЭ [7].
1.3.5 Различия между WCDMA (IMT-DC) и TD-CDMA (IMT-TC)
WCDMA продвигали в первую очередь Ericsson (все мы помним, какую сенсацию произвело летом прошлого года сообщение о том, что Ericsson уже несколько лет проводит изыскания в области CDMA) и Nokia. Вокруг TD-CDMA сложилось свое сообщество компаний, в состав которого входят такие гиганты, как Motorola, Siemens, Alcatel, Bosch, Italtel, Nortel и Sony. Технические аспекты технологий-фаворитов рассматриваются во врезках «Широкополосный CDMA» и «Радиоинтерфейс TD-CDMA».
Согласно процедурным правилам, принятым ETSI, для утверждения в качестве стандартной технология должна была набрать 71% голосов участников собрания. Преодолеть этот барьер не смогли ни WCDMA, ни TD-CDMA: первая получила чуть больше 61%, вторая – несколько меньше 39% голосов. Поэтому было принято компромиссное решение, согласно которому в UTRA технология WCDMA должна применяться для парных частотных полос (FDD, Frequency Division Duplex), а TD-CDMA – для непарных частотных полос (TDD – Time Division Duplex).
С точки зрения пользователя, это означает, что для связи с мобильными пользователями, перемещающимися вне зданий, будет использоваться WCDMA, а для фиксированных пользователей и для связи внутри зданий – TD-CDMA. Согласно требованиям стандарта UTRA, мобильные абонентские терминалы должны поддерживать оба режима, TDD и FDD.
Одним из важнейших положений, связанных со стандартом нового поколения, является недопустимость отказа от построенной в Европе развитой инфраструктуры сетей GSM. С этой точки зрения, технология TD-CDMA имеет определенные преимущества. Что же касается WCDMA, здесь, по-видимому, совместимость с GSM предполагается обеспечивать за счет использования комбинированных абонентских терминалов, поддерживающих обе технологии радиоинтерфейса; это может привести к удорожанию мобильных телефонов. Именно в том, чтобы не допустить подорожания абонентских устройств, состоит еще одно требование к UTRA и IMT-2000. Напротив, ставится задача стирания грани между мобильной и фиксированной телефонной связью; в перспективе, не должно быть никакой разницы между мобильным и домашним телефонами.
2. Анализ вопросов проектирования сотовой системы связи стандарта DCS-1800 оператора «Астелит»
2.1 Расчет величины дуплексного разноса между частотными каналами
Величина дуплексного разноса определяется соотношением [6]
=
-
=
-
, (2.1)
где
,
– верхняя (максимальная) частота поддиапазонов частот, выделенных для работы ССС;
и
– нижняя (минимальная) частота этих же поддиапазонов.
= 1805–1710 = 1815,8–1720,8 = 95 МГц.
2.2 Расчет общего числа частотных каналов
Общее число каналов в ССС
определяется формулой [6]
=
, (2.2)
где
– целая часть числа
.
=
= 72.
Для ССС необходимо выделение 72-х каналов.
2.3 Расчет размерности кластера
Размерность кластера
(частотного параметра) можно определить, используя соотношение [6]
, (2.3)
которое определяет процент времени
, в течение которого отношение сигнал / взаимная помеха
на входе приемника будет меньше допустимого значения. Интеграл (2.3) является табулированной Q – функцией.
Нижний предел интегрирования в (2.3) определяется соотношением
, (2.4)
где
– минимально допустимая величина отношения сигнал / взаимная помеха, дБ;
– определяется выражением
. (2.5)
В свою очередь значения
и
определяются формулами
;
, (2.6)
где
– параметр, определяющий диапазон случайных флуктуаций уровня сигнала в точке приема (для сотовых систем
=6…12 дБ), по техническому заданию
=8 дБ [6–8];
.
Значения
и
от вида диаграмм направленности антенн, используемых на БС (круговая или секторная).
При использовании антенн с круговой ДНА (
) и секторными ДНА (
и
) значения
составляют 6, 2 и 1 соответственно. Величина
определяет собой количество «мешающих» базовых станций, расположенных в соседних кластерах, а
– величину, обратную отношению мощности сигнала к мощности помех, создаваемых
-той «мешающей» станцией.
Как известно, приближенное значение отношения сигнал / взаимная помеха по мощности (
) определяется соотношением
, (2.7)
где
– расстояние от АС до «мешающей» БС;
– радиус соты;
– параметр затухания радиоволн. При распространении радиоволн в свободном пространстве
=2, для сотовых систем связи 2<
<5. В соответствии с техническим заданием берем
=4.
Отношение сигнал / взаимная помеха + шум по мощности на входе приемника АС в общем случае определяется соотношением [6–8]
, (2.8)
где
- мощность собственных шумов;
- мощность взаимных помех от
базовых станций, расположенных в соседних кластерах и работающих на частоте приема АС. Если пренебречь величиной
по сравнению с
(т. к. обычно
), то соотношение (2.8) можно преобразовать к виду [6]:
![]()
. (2.9)
Т.к.
(
- расстояние от АС до обслуживающей ее БС),
(
– расстояние от АС до базовых станций, расположенных в соседних кластерах и работающих на частоте приема АС), то соотношение (2.9) можно преобразовать к виду
. (2.10)
Если БС установлены в центрах ячеек (сот), то
.
Если БС оборудованы секторными антеннами (
) и установлены в общих углах каждой из тройки сот (сотовые решетки вида 3/9, 4/12 или 7/21), то
.
Значения
для предварительных приближенных расчетов можно взять одинаковыми и равными защитному промежутку
, который, в свою очередь, определяется соотношением
.
Для более точного определения расстояний между АС и базовыми станциями (
), работающими на совпадающих частотах, необходимо использовать геометрические модели территориального размещения этих БС. С помощью геометрических моделей легко выразить защитное расстояние
через величину радиуса соты или через относительное защитное расстояние
.
Значения
определяются соотношением
. (2.11)
Полученные значения
используются для определения
,
и среднего значения отношения сигнал / взаимная помеха на входе приёмника АС:
. (2.12)
Величина нижнего предела интегрирования в выражении (2.3) определяется соотношением
. (2.13)
Зная величину
, по таблице значений
-функций находим процент времени
, в течение которого отношение сигнал / помеха на входе приёмника АС при выбранной размерности кластера
будет ниже допустимой величины r0
.
Если выполняется неравенство
, то полученное значение частотного параметра
удовлетворяет заданным требованиям [6].
Если же
, то необходимо искать новое значение размерности кластера.
Используя геометрические модели размещения БС с круговыми ДНА для С = 3, 4, 7, 9 найдем значения
, выраженные через величину радиуса соты R, значения относительного защитного расстояния q
, и по соотношению (2.11) определим коэффициенты
для каждого частотного параметра С
.
Геометрические модели размещения БС приведены на рисунках 2.1 – 2.3.

а – для размерности кластера С =3; б – для размерности кластера С =4
Рисунок 2.1 – Геометрическая модель размещения БС с круговыми ДНА

Рисунок 2.2 – Геометрическая модель размещения БС с круговыми ДНА для размерности кластера С =7
![]() |
Рисунок 2.3 – Геометрическая модель размещения БС с круговыми ДНА для размерности кластера С =9
Определяем значения защитного расстояния
и значения коэффициентов
для С = 3:
;
;
;
;
;
.
;
;
;
;
;
.
Определяем значения защитного расстояния
и значения коэффициентов
для С
= 4:
;
;
;
;
;
.
;
;
;
;
;
.
Определяем значения защитного расстояния
и значения коэффициентов
для С
= 7:
;
;
;
;
;
.
;
;
;
;
;
.
Определяем значения защитного расстояния
и значения коэффициентов
для С
= 9:
;
;
;
;
;
.
;
;
;
;
;
.
Приведем расчеты для размерности кластера С
=7 и антенн БС с диаграммами направленности
,
и
.
По соотношению (2.6), формулам (2.5) и (2.4) определяем параметры
,
,
и нижний предел интегрирования Х
.
;
![]()
;
;
;
;
.
;
.
.
;
;
.
;
;
;
;
;
.
Приведем сводную таблицу расчетов значений параметров для размерностей кластера С = 3, 4, 7, 9 для разных диаграмм направленностей антенн базовых станций –
,
и
.
Достоинствами использования С
= 7 и С
= 9 перед С
=3 и С
= 4 являются меньшие влияния мешающих базовых станций, а как следствие более низкая вероятность ошибки, но при этом расширяется используемый диапазон частот и уменьшается число каналов обслуживаемых одной БС. Использование антенн с ДНА
снижает число «мертвых» (закрытых) зон, увеличивает устойчивость связи, но при этом, сравнивая с антеннами с ДНА
, требуется большее число БС, большее число линий связи между БС и ЦС и следовательно увеличение расходов на размещение большего числа БС.
Исходя из соображений показателей качества связи и экономической эффективности для проектируемой для сотовой системы связи выбираем размерность кластера
=7, а диаграмму направленности антенн БС
.
Сравнивая параметры
,
,
,
, и проверяя выполнение неравенства
можно сделать выводы о том, что требуемому условию удовлетворяют
при использовании антенн с ДНА
. Для размерности кластера
неравенство
выполняется в случаях, когда ДНА составляет
(
).
Сводные данные расчетов частотного параметра С занесены в таблицу 2.1.
По табличным значениям интеграла вероятности [6] находим значения
-функций для каждого случая ДНА базовой станции и определяем процент времени
, в течение которого отношение сигнал / помеха на входе приёмника АС при выбранной размерности кластера
будет ниже допустимой величины r0
.
Таблица 2.1 – Сводная таблица расчетов частотного параметра С
| Размерность кластера / ДНА | |||||||
| С =3 | 41,669 | 10,28 | 0,316 | –0,292 | – | – | |
| 52,277 | 10,783 | 0,013 | 0,994 | 0,1611 | 16,11 | ||
| 64,000 | 11,314 | 1,422 | 0,0778 | 7,78 | |||
| С =4 | 40,946 | 10,244 | 0,085 | 0,263 | 0,3974 | 39,74 | |
| 51,880 | 10,765 | 1,308 | 0,0838 | 8,38 | |||
| 64,000 | 11,314 | 1,692 | 0,0455 | 4,55 | |||
| С =7 | 36,259 | 10,013 | 0,027 | 0,764 | 0,2236 | 22,36 | |
| 52,585 | 10,797 | 1,597 | 0,0559 | 5,59 | |||
| 64,000 | 11,314 | 2,016 | 0,0222 | 2,22 | |||
| С =9 | 37,232 | 10,061 | 0,019 | 0,908 | 0,1635 | 16,35 | |
| 51,533 | 10,749 | 1,767 | 0,0392 | 3,92 | |||
| 64,000 | 11,314 | 2,064 | 0,0197 | 1,97 | |||
;
.
Для дальнейших расчетов ССС принимаем С
= 7,
, М
= 1, N
s
=3 – число секторов.
2.4 Расчет числа каналов
Число каналов в одном секторе зоны обслуживания БС определяется соотношением [8–10]
, (2.14)
где
– число секторов.
= 3 для ДНА с
.
![]()
.
При расчете числа каналов в одном секторе зоны обслуживания нельзя округлять полученное значение до целого в меньшую сторону, поскольку это в дальнейшем приведет к ухудшению качества связи.
2.5 Расчет допустимой телефонной нагрузки
Величина допустимой телефонной нагрузки в одном секторе или в зоне одной БС с круговой ДНА определяется соотношением [8–10]
, если
, (2.15)
, если
, (2.16)
где
;
– число абонентов, которые могут работать на одной несущей. В частности, в системе GSM-1800 на одной несущей организуется 8 временных каналов, т.е.
=8;
– вероятность отказа в обслуживании абонента, значение которой указано в техническом задании.
= 8% = 0,08. Величина этой вероятности определяется формулой Эрланга [9]
.
Определим
. Поскольку выполняется условие
,
т.е.
, то расчет допустимой нагрузки будет производиться по формуле (2.15).
.
Полученное значение допустимой телефонной нагрузки совпадает с табличным значением интеграла вероятности [6].
2.6 Расчет числа абонентов, обслуживаемых одной базовой станцией
Число абонентов, обслуживаемых одной базовой станцией, зависит от числа секторов, допустимой телефонной нагрузки и активности абонентов:
, (2.17)
где
– вероятность активности абонента;
– число секторов.
= 3 для ДНА с
, как уже говорилось выше.
.
2.7 Расчет необходимого числа базовых станций
Необходимое число базовых станций на заданной территории обслуживания определяется соотношением
, (2.18)
где
– заданное число абонентов, которые должны обслуживаться на территории заданной площади.
.
2.8 Расчет радиуса зоны обслуживания базовой станции
Величину радиуса соты можно определить из соотношения
,
откуда
. (2.19)
.
2.9 Расчет величины защитного расстояния
Величина защитного расстояния между одинаковыми частотными каналами определяется соотношением
.
.
2.10 Определение мощности передатчика базовой станции
Необходимую мощность передатчика БС (
, дБВт) можно определить, используя соотношение
, (2.20)
где
– чувствительность приемника АС, дБВт;
,
– коэффициенты усиления антенн БС и АС соответственно, дБ;
,
– коэффициенты, учитывающие потери в антенно-фидерном тракте БС и АС соответственно, дБ;
,
– высота антенны БС и АС соответственно, м;
– расстояние от АС до обслуживающей ее БС.
Значение
для всех вариантов размещения БС, кроме
варианта «сотовых решеток», для которого,
, км;
- средняя частота диапазона, выделенного БС, МГц;
– нижний предел интегрирования в выражении (2.3);
– параметр, определяющий диапазон случайных флуктуаций принимаемого сигнала, дБ.
Поскольку антенна АС всенаправленная, маловысотная (обычно высота антенны порядка 1,5 м), имеет небольшой коэффициент усиления (0–2 дБ), то для упрощения расчетов можно считать, что
,
.Кроме того, можно пренебречь потерями в антенно-фидерных трактах БС и АС (
,
). С учетом изложенного соотношение (4.20) можно записать в виде
(2.21)

Полученная мощность соответствует реальным мощностям базовых станций проектируемого стандарта ССС.
2.11 Расчет вероятности ошибки
Для определения вероятности ошибки, когда АС находится на границе зоны обслуживания БС, следует использовать соотношение
, (2.22)
где значение коэффициента затухания радиоволн
необходимо брать равным 2, что обеспечивает учет наихудшего варианта влияния взаимных помех, (вариант предполагает распространение помех в свободном пространстве).
![]()
.
Полученная вероятность ошибки маленькая, даже с учетом того, что это наихудший вариант. Повысить ее можно, повысив значение частотного параметра
, но это приведет к расширению используемого диапазона частот и к уменьшению числа каналов, обслуживаемых одной БС.
2.12 План территориального распределения базовых станций
План территориального распределения базовых станций можно представить в виде круга радиусом
(см. рис. 2.4).
км.
Величина повторного использования частот определяется соотношением
; (2.23)
.
Эта величина может быть различна для БС с различными номерами. Приведенная формула определяет среднее значение повторного использования частот.
На рисунке 2.4 в кружочках в вершинах шестиугольных сот представлены номера БС.
2.13 План распределения частотных каналов
При фиксированном распределении каналов за каждым сектором БС закрепляется набор частотных каналов с номерами
, (2.24)
где
;
для
;
.
3. Оценка электромагнитной совместимости сотовой системы связи «Астелит»
3.1 Модели, используемые при анализе интермодуляционного влияния между РЭС различных систем сотовой связи
3.1.1 Общие принципы формирования интермодуляционных помех в сетях подвижной радиосвязи
Назначение частот радиоэлектронным средствам систем подвижной радиосвязи различных стандартов осуществляется таким образом, что исключается возможность создания помех по основным каналам приема. Все операторы подвижной радиосвязи в каждом из регионов Украины имеют «свои» частоты для планирования сетей, которые не пересекаются с частотами других операторов. В результате этого в любом регионе передатчик РЭС одного оператора не может быть настроен на частоту приема РЭС другого оператора. Таким образом, все операторы могут независимо друг от друга производить планирование своих сетей, будучи уверенными, в том, что по основному каналу приема они никому не будут создавать помех, а также в том, что они ни от кого их не будут принимать. Все возможные помехи по основному каналу приема могут быть только внутрисистемными, т.е. образованными РЭС того же оператора. Возможными причинами такого является или плохое планирование сети или недостаток частотного ресурса у оператора, когда он сознательно идет на некоторое ухудшение характеристик радиоканала с целью обеспечение большего покрытия или большей емкости сети при ограничении на используемый частотный ресурс.
Однако даже при полном не перекрывающемся распределении частот между операторами все равно остается потенциальная возможность создания как внутрисистемных, так и межсистемных помех. Причина этого не идеальность характеристик радиооборудования, а именно передатчиков и приемников базовых и абонентских станций. Результатом этой не идеальности являются такие эффекты как интермодуляция в передатчике и в приемнике, а также блокирование приемника при попадании на его вход больших уровней сигналов. Таким образом, простое разделение частот между операторами не является достаточным условием для того, чтобы исключить межсистемные помехи. Для того чтобы быть уверенным в том, что условия ЭМС будут выполняться необходимо в каждом конкретном случае присвоения рабочих частот РЭС производить расчет с учетом всех работающих в этом районе РЭС. Однако могут существовать определенные диапазоны частот или группы частот внутри диапазонов, использование которых лишь в малой мере будет влиять на работу определенных РЭС в рассматриваемом районе, в смысле создания интермодуляционных помех. Таким образом, вопросы формирования интермодуляционных помех третьего порядка и помех по блокированию приемников на примере сетей подвижной радиосвязи стандарта GSM в диапазоне 900 МГц.
3.1.2 Общий перечень возможных сценариев формирования помех
При анализе внутрисистемных и межсистемных помех будем рассматривать два основных механизма их возникновения: интермодуляция в приемнике и блокирование приемников. Оба этих механизма необходимо учитывать при рассмотрении каждого из сценариев формирования помех. Для определения общего перечня возможных сценариев формирования помех необходимо рассмотреть частотные планы систем подвижной радиосвязи, которые работают в Украине в диапазоне 800 и 900 МГц. А именно системы подвижной радиосвязи стандартов GSM, CDMA и D-AMPS. Исходя из анализа частотного плана, можно предложить следующий перечень возможных сценариев формирования помех, которые необходимо рассмотреть в данной работе:
– помехи от базовых станций (БС) GSM в направлении мобильных станций (МС) GSM;
– помехи от МС GSM в направлении БС GSM;
– помехи от БС CDMA и D-AMPS в направлении БС GSM.
Для проведения анализа влияния одних РЭС на другие в соответствии с перечисленными сценариями необходимо знание технических характеристик передатчиков и приемников базовых и мобильных станций взаимодействующих систем. С целью упрощения разработки методики расчетов и непосредственного проведения расчетов определим параметры приемников и передатчиков типичных базовых и мобильных станций на основе характеристик соответствующих станций стандарта GSM. Ниже приводятся технические характеристики РЭС стандарта GSM. Для РЭС других стандартов, в случае если их параметры отличаются от параметров РЭС стандарта GSM, по тексту будут приведены отличия.
3.1.3 Технические характеристики РЭС, необходимые для проведения расчетов
Технические характеристики БС
Характеристики передатчика:
– мощность передатчика – 20 Вт (43 дБм);
– коэффициент усиления антенны в направлении максимального излучения – 15 дБ.
Маска спектра излучения стандарта GSM приведена в таблице 3.1. Маски спектра излучения БС других стандартов в данной работе не приведены, так как они необходимы для расчета влияния БС на МС своего стандарта, а в списке возможных сценариев присутствует подобная задача только для стандарта GSM. Полоса частот в которой проводятся измерения побочных излучений составляет 30 кГц при расстройках до 1800 кГц от центральной частоты излучения и 100 кГц при расстройках превышающих 1800 кГц.
Таблица 3.1 – Маска спектра излучения стандарта GSM
Расстройка относительно центральной частоты излучения, кГц |
100 | 200 | 250 | 400 | 600–1200 | 1200–1800 | 1800–6000 | Свыше 6000 |
| Уровень излучения относительно уровня основного излучения, дБ или абсолютный уровень излучения, дБм | 0,5 | -30 | -33 | -60 | -27 | -30 | -32 | -80 |
Интермодуляционные излучения передатчика в пределах расстроек до 6 МГц относительно центральной частоты настройки не должны превышать пределы, указанные в таблице 3.1. При превышении величины расстройки относительно центральной частоты настройки передатчика значения 6 МГц, но в пределах полосы частот выделенной для работы передатчиков данного стандарта (935–960 МГц для стандарта GSM, 869–894 МГц для стандартов CDMA и D-AMPS) мощность побочного (интермодуляционного) излучения измеренного в полосе 300 кГц не должна превышать абсолютных значений: - 36 дБм или -70 дБ относительно мощности основного излучения. За пределами полос предназначенных для работы передатчиков данного стандарта действительны общие требования к побочным излучениям передатчиков РЭС систем подвижной радиосвязи, в соответствии с которыми мощность побочных излучений передатчиков ограничена абсолютными величинами -36 дБм в полосах частот от 9 кГц до 1 ГГц и -30 дБм в полосах частот от 1 ГГц до 12.75 ГГц.
Характеристики приемника:
– чувствительность приемника: 104 дБм для GSM; -112 дБм для БС D-AMPS; -96 дБм для БС CDMA;
– коэффициент усиления антенны в направлении максимального излучения – 15 дБ.
Уровни блокирования приемника определяются таблицей 3.2. Для определения уровней блокирования приемника вводятся понятие полос in-band и out-band. Для приемников БС стандарта GSM полоса in-band определяется как 870–925 МГц. Для стандартов CDMA и D-AMPS полоса in-band, по аналогии, может быть определена как 804–859 МГц. Полосы частот ниже 870 МГц для приемников БС стандарта GSM и ниже 804 МГц для приемников БС стандартов CDMA и D-AMPS, а также выше 925 МГц для приемников БС стандарта GSM и выше 859 МГц для приемников БС стандарта CDMA и D-AMPS определяются как полосы out-band.
Таблица 3.2 – Уровни блокирования приемника определяются таблицей
| Тип полосы | Величина расстройки |
Уровень блокирования приемника, дБм |
| In-band | 600 ≤ |
-26 |
| 800 ≤ |
-16 | |
| 1 600 ≤ |
-16 | |
| 3000 ≤ |
-13 | |
| Out-band | - | 8 |
Уровень чувствительности приемника БС к интермодуляции третьего порядка составляет -43 дБм.
Под величиной чувствительности приемника к интермодуляции третьего порядка РВхз понимается уровень помех на входе приемника на частотах
и
подобранных таким образом, что выполняется одно из двух условий
(
= 2
–
или
= 2
-
), при котором приемник сохраняет свою работоспособность в приеме сигнала на 3 дБ превышающего его уровень чувствительности. Здесь под
понимается частота настройки приемника.
Технические характеристики МС
Характеристики передатчика:
– мощность передатчика – 2 Вт (33 дБм);
– коэффициент усиления антенны – 0 дБ.
Маска спектра излучения стандарта GSM приведена в таблице 3.3. Полоса частот, в которой проводятся измерения побочных излучений, составляет 30 кГц при расстройках до 1800 кГц от центральной частоты излучения и 100 кГц при расстройках превышающих 1800 кГц.
Таблица 3.3 – Маска спектра излучения стандарта GSM приведена в таблице
| Расстройка относительно центральной частоты излучения, кГц | 100 | 200 | 250 | 400 | 600–1800 | 1800–3000 | 3000–6000 | Свыше 6000 |
Уровень излучения относительно уровня основного излучения, дБ или абсолютный уровень излучения, дБм |
0,5 | -30 | -33 | -60 | -27 | -30 | -32 | -38 |
Интермодуляционные излучения передатчика в пределах расстроек до 6 МГц относительно центральной частоты настройки не должны превышать пределы, указанные в таблице 3.3. При превышении величины расстройки относительно центральной частоты настройки передатчика значения 6 МГц, но в пределах полосы частот выделенной для работы передатчиков данного стандарта (890–915 МГц для стандарта GSM, 824–849 МГц для стандартов CDMA и D-AMPS) мощность побочного (интермодуляционного) излучения измеренного в полосе 300 кГц не должна превышать абсолютного значения -36 дБм или -70 дБ относительно мощности основного излучения, которое из них больше. За пределами полос предназначенных для работы передатчиков данного стандарта действительны общие требования к побочным излучениям передатчиков РЭС систем подвижной радиосвязи, в соответствии с которыми мощность побочных излучений передатчиков ограничена абсолютными величинами -36 дБм в полосах частот от 9 кГц до 1 ГГц и -30 дБм в полосах частот от 1ГГц до 12.75 ГГц.
Характеристики приемника МС:
– чувствительность приемника: -104дБм для GSМ; -112 дБм для МС D-AMPS -96 дБм для МС CDMA;
– коэффициент усиления антенны – 0 дБ.
Полоса in-band для приемника МС стандарта GSM определена как
915–980 МГц, а для приемников МС стандартов CDMA и D-AMPS полоса in-band, по аналогии, может быть определена как 849–914 МГц. Полосы частот ниже 915 МГц для приемников БС стандарта GSM и ниже 849 МГц для приемников БС стандартов CDMA и D-AMPS, а также выше 980 МГц для приемников БС стандарта GSM и выше 914 МГц для приемников БС стандарта CDMA и D-AMPS определяются как полосы out-band.
В таблице 3.4 приведены уровни блокирования приемника.
Таблица 3.4 – Уровни блокирования приемника
| Тип полосы | Величина расстройки |
Уровень блокирования приемника, дБм |
| In-band | 600 ≤ |
-38 |
| 800 ≤ |
-33 | |
| 1 600 ≤ |
-23 | |
| 3000 ≤ |
-23 | |
| Out-band | - | 0 |
Уровень чувствительности приемника МС к интермодуляции третьего порядка составляет -43 дБм.
3.2 Общие алгоритмы определения выполнения условий ЭМС
3.2.1 Критерии выполнения условий ЭМС в системах подвижной связи
Среди большого количества критериев, которыми можно пользоваться при анализе ЭМС РЭС для целей настоящего исследования наиболее подходящими являются энергетические критерии, которые для их использования предполагают расчет величин помехи и сигнала и сравнение их с величинами защитных отношений рассчитанных для данного сочетания взаимодействующих сигналов. На основании энергетических критериев возможно получение величин необходимого пространственного разнесения между взаимодействующими РЭС. Решение о выполнении условий ЭМС будет приниматься, если отношение сигнал / помеха на входе демодулятора приемника мобильной или базовой станции будет превышать величину 9 дБ. Эта величина рекомендуется в качестве основной для стандарта GSM.
3.2.2 Модели затухания сигналов на трассах распространения
При использовании энергетических критериев оценки ЭМС важным моментом является расчет затухания на трассе распространения радиоволн. В качестве модели распространения целесообразно выбрать модель распространения на трассах прямой видимости при расчете затухания между базовыми станциями различных сетей. Для трасс БС-МС и МС-МС целесообразно выбрать модель Хата. При расчетах величин затуханий будем определять медианные значения затуханий. Высоту поднятия антенн базовых станций для всех случаев будем принимать равной 50 метрам, а мобильных станций -1,5 метрам. Затухание в свободном пространстве определяется из формулы
, (3.1)
где d – расстояние;
– длина волны, выраженные в одинаковых величинах.
Для частоты 900 МГц формулу (3.1) можно преобразовать в следующую
, (3.2)
где R – расстояние, выраженное в километрах.
Для обозначения величины затухания между базовыми станциями в дальнейшем будем использовать выражение
.
Напряженность поля, создаваемая передатчиком с эффективной изотропно излучаемой мощностью 1 кВт, выраженная в децибелах относительно 1 мкВ/м может быть определена формулой
,(3.3)
где
– частота в мегагерцах;
– высота подъема антенны базовой станции в метрах
– высота подъема антенны мобильной станции в метрах R – расстояние в километрах
.
Так как нас интересуют эффекты, происходящие в приемниках при поступлении на их входы больших сигналов, что возможно только при близком расположении РЭС, то в качестве коэффициента b выберем значение равное 1, что в соответствии с требованиями рекомендации Р.529–3 справедливо для расстояний меньших 20 км.
С учетом принятых для расчетов исходных данных, а именно f
=900 МГц,
=50 м,
=1,5 м, формула (3.3) упростится
. (3.4)
Для определения величины затухания на трассе распространения необходимо использовать формулу пересчета, приведенную в Рекомендации ITU-R PN.525–2, которая определяет величину мощности принятую изотропной антенной по известной напряженности поля созданного передатчиком с изотропно излучаемой мощностью равной 1 кВт.
, (3.5)
где Р – мощность принятая изотропной антенной в дБВт;
Е – напряженность поля в дБ (мкВ/м);
– частота в ГГц
Принимая во внимание, что в (3.5) используется напряженность поля создаваемая передатчиком с ЭИИМ 1 кВт выражение для затухания сигнала на трассе распространения можно записать как
. (3.6)
Под обозначением L bs-ms в дальнейшем будем понимать затухание на трассе распространения между базовой и мобильной станцией.
Для определения затухания на трассах распространения между двумя мобильными станциями необходимо использовать модифицированную модель Хата. В этом случае для используемых в текущих исследованиях исходных данных формула будет иметь вид
. (3.7)
Формулы (3.6) и (3.7) необходимо использовать для расстояний R
0,1 км. При расстояниях меньших 40 метров (R>0,04 км.) используется модель прямой видимости и для случая линии радиосвязи между мобильными станциями, учитывая, что высоты обоих мобильных станций равны 1,5 метра, должна использоваться формула (3.2). Для линии между базовой станцией и мобильной станцией, для учета разницы высот расположения антенн необходимо использовать модифицированную формулу (3.2), а именно
, (3.8)
где R '=(R 2 +0,04852 )1/2 – расстояние по прямой между геометрическими центрами антенн с учетом разности в высотах подъема антенн равной 48,5 м.
В переходной зоне, на расстояниях между 40 и 100 метрами затухание на линиях МС-МС и БС-МС определяется и использованием линейной интерполяции в предположении, что затухание (в дБ) линейно возрастает с расстоянием. Для фиксированных значений высот антенн и частоты значения затухания (в дБ) в зоне 0,04<R <0,1 можно записать следующими выражениями
; (3.9)
. (3.10)
Поскольку в процессе исследований чаще всего придется по известной величине необходимого затухания находить необходимое расстояние, то полученные формулы необходимо преобразовать к следующему виду.
Для линий между базовыми станциями необходимое расстояние в километрах должно определяться по формуле
. (3.11)
Для линий между базовыми станциями и абонентскими станциями в зависимости от значения необходимого затухания расстояние в километрах должно определяться по одной из трех следующих формул:
– при
дБ
; (3.12)
– при 67,5>L >87,4 дБ
; (3.13)
– при
дБ
. (3.14)
Значения затухания L <65,2 дБ являются некорректными при рассматриваемых исходных данных для данного типа трассы. При L >65,2 дБ значение расстояния принимается равным 0 метров.
Для линий между мобильными станциями, в зависимости от значения необходимого затухания, расстояние в километрах должно определяться по следующим формулам:
– при
дБ
; (3.15)
– при 63,5>L >117,4 дБ
; (3.16)
– при
дБ
. (3.17)
3.3 Методики определения интермодуляционного влияния между РЭС различных систем сотовой связи
3.3.1 Помехи от базовых станций GSM в направлении мобильных станций GSM
Помехи, приводящие к блокированию приемников
Блокирование приемников мобильных станций происходит при попадании на его вход уровней сигналов превышающих значения указанные в таблице 2.4. В зависимости от своего месторасположения МС работает с той БС, с которой она имеет наилучшую связь или, если ближняя станция перегружена, с другой БС принимаемый сигнал от которой является наибольшим. При такой организации связи помеха по блокированию приемника МС будет возникать под воздействием передачи БС чужой сети GSM или находящейся поблизости соседней БС своей сети GSM.
Определим, на каких расстояниях от БС должен находится приемник МС чтобы он был подвержен воздействию помехи по блокированию для различных частотных расстроек.
Для расчета уровня приемного сигнала от БС на входе приемника МС используется следующая формула
, (3.18)
где P tbs – мощность на выходе передатчика БС, в нашем случае 13 дБВт;
G abs , G ams – коэффициенты усиления антенн базовой и мобильной станции соответственно. В нашем случае G abs =15 дБ и G ams = 0 дБ;
L bs-ms - затухание на трассе распространения БС-МС.
Для нахождения необходимого затухания, которое должен претерпеть сигнал на пути распространения, формулу (3.18) преобразуем как
(3.19)
Результаты расчета необходимых расстояний приведены в таблице 3.5.
Таблица 3.5 – Результаты расчета необходимых расстояний
| Расстройка |
Необходимое затухание, дБ | Необходимое расстояние, м |
| 600 ≤ |
96 | 180 |
| 800 ≤ |
91 | 128 |
| 1 600 ≤ |
81 | 81 |
Проведенные расчеты показывают, что приемники МС стандарта GSM испытывают помехи по блокированию от любых базовых станций стандарта GSM при нахождении от них на расстояниях менее 80 метров, а в некоторых случаях, при малых частотных расстройках, и на расстояниях до 180 метров. Как правило, мешающей является БС другого оператора, т. к. слишком мала вероятность такого события, что в радиусе 80–180 метров развернуто несколько БС стандарта GSM одного оператора, работающих мощностью 20 Ватт каждая (а именно для таких мощностей передачи получены результаты, приведенные в таблице 3.5). Если же такие ситуации и возникают, то для избежания помех по блокированию внутри одной сети при развертывании БС с мощностью передатчиков 20 Вт и с расстоянием между ними менее 180×2=360 метров, рабочие частоты этих БС должны различаться не менее чем на 800 кГц. При расстояниях между БС менее 250 м, их рабочие частоты должны различаться на величину не менее чем 1600 кГц. При частотных расстройках больших, чем 1600 кГц для исключения помех приемникам МС по блокированию расстояния между двумя БС сети не должно быть меньше 160 м. При развертывании более густой сети БС, должны использоваться БС с более низкими значениями мощностей передатчиков.
Таким образом, в пределах зон обслуживания БС сети GSM вокруг всех БС чужих сетей образуется зона радиусом не менее 80 метров, в пределах которой приемник МС будет подвержен воздействию помехи по блокированию, вызванной работой близко расположенного передатчика чужой сети GSM. При разнице частот между
(частотой передачи БС своей сети) и
(частотой передачи БС чужой сети, которая расположена в пределах зоны обслуживания своей БС с частотой передачи
) меньшей, чем 1600 кГц, радиус пораженной зоны вокруг чужой станции возрастет почти до 130 метров, а при разнице частот меньше 800 кГц – до 180 метров.
Помехи, приводящие к возникновению интермодуляционных помех в приемнике
Для возникновения интермодуляции в приемнике МС необходимо чтобы на его входе присутствовало не менее двух мешающих сигналов имеющих определенное частотное соотношение и достаточный для образования интермодуляционной помехи уровень.
Порядок расчета помех, вызванных интермодуляцией в приемнике, определен в Рекомендации ITU-R SM.1134. В соответствии с ним уровень эквивалентной интермодуляционной помехи вида 2
-
на входе приемника может быть определен из выражения
, (3.20)
где P
1
и Р
2
– уровни мешающих сигналов на выходе антенны на частотах
и
соответственно, дБВт;
и
– величины затухания мешающих сигналов в преселекторе (в приемном фильтре дуплексера) на частотах
и
, дБ;
К 2,1 – коэффициент интермодуляции третьего порядка, который может быть рассчитан по результатам измерений интермодуляционных характеристик или получен из технического описания приемника, дБ.
Получение достоверного значения коэффициента К2,1 является наиболее сложной задачей расчета с использованием (3.20). Его величину можно получить косвенным методом. В стандарте ETSI EN 300 910, в котором описаны общие требования к техническим характеристикам приемников и передатчиков мобильных и базовых станций стандарта GSM, определены следующие требования к интермодуляционным характеристикам приемника МС стандарта GSM-900. Приемник должен сохранять свою работоспособность при наличии на его входе:
– полезного сигнала с частотой
и уровнем на 3 дБ превышающим уровень чувствительности (для МС GSM-900 уровень чувствительности приемника принимается равным минус 134 дБВт);
– мешающих сигналов с частотами
и
, удовлетворяющими условию
= 2
-
, и уровнями
= -73 дБВт.
Принимая во внимание, что в описываемом случае частоты
и
попадают в рабочий диапазон приемника (т.е.
=
= 0), и что величина защитного соотношения для соканальной помехи в сетях GSM составляет 9 дБ можно определить значение К2,1
, из (3.20) для приемника БС GSM-900 как
.
В результате для случая определения уровня интермодуляционной помехи от передатчиков БС стандарта GSM приемникам МС стандарта GSM выражение (2.3) приобретет вид
. (3.21)
Исходя из (3.21), а также требований стандарта ETSI EN 300 910, значение уровня помех на входе приемника МС при котором не будет возникать ощутимой интермодуляционной помехи не должно превышать (при условии их одинакового уровня) величины -73 дБВт. С учетом этого из (3.19) можно определить необходимую величину затухания, которое должны претерпеть помехи от базовых станций в процессе распространения от антенны БС до антенны МС.
.
В соответствии с (2.12) можно рассчитать расстояние, с которого возможно создание интермодуляционной помехи
. (3.22)
Полученный результат можно интерпретировать следующим образом. При нахождении МС с частотой приема
на одинаковом расстоянии равном 252 метра от двух базовых станций частоты передачи, которых (
и
) удовлетворяют равенству 2
–
=
на входе приемника МС образуется интермодуляционная помеха на приемной частоте с уровнем -143 дБВт. Уровень помехи -143 дБВт соответствует максимальному возможному уровню помехи при котором приемником МС возможен прием полезного сигнала равного чувствительности приемника (-134 дБВт) без ухудшения качества связи (с требуемым защитным отношением 9 дБ).
Если расстояния от МС до двух БС различны, то для нахождения безопасного сочетания расстояний можно пользоваться следующим выражением
, (3.23)
где R 1 – расстояние от МС до БС с частотой передачи f 1
R 2 – расстояние от МС до БС с частотой передачи f 2 ,
R – расстояние, полученное из (3.22), а именно 252 метра.
Из (3.23) можно получить следующие два выражения для определения необходимого минимального расстояния R 1 (R 2 ) по известному фиксированному расстоянию R 2 (R 1 )
; (3.24)
. (3.25)
Отличия в (3.24) и (3.25) объясняются тем, что в исходном выражении (3.20) уровень входного сигнала на частоте f 1 (P 1 ) берется с коэффициентом 2, а уровень входного сигнала на частоте f 2 берется с коэффициентом 1.
Необходимо отметить, что выражения (3.23) – (3.25) справедливы только для случаев, когда значения R 1 и R 2 превышают 100 метров.
При значениях R l < 100 метров величины допустимого расстояния от БС с частотой передачи f 1 , до МС может быть найдено из таблицы 3.6.
Таблица 3.6 – Расчет необходимого расстояния
Расстояние R 1, м |
40 | 45 | 50 | 55 | 60 | 65 | 70 | 75 | 80 | 85 | 90 | 95 | 100 |
Расстояние R 2 , км |
24,3 | 9,2 | 15,5 | 12,3 | 7 | 7,8 | 6,2 | 4,9 | 3,95 | 3,15 | 2,5 | 2 | 1,6 |
В таблице 3.7 представлены значения величин R1 для случаев, когда R 2 <100 м.
Таблица 3.7 – Значения величин R 1
Расстояние R 1, м |
40 | 45 | 50 | 55 | 60 | 65 | 70 | 75 | 80 | 85 | 90 | 95 | 100 |
Расстояние R 2 , м |
790 | 750 | 710 | 665 | 630 | 595 | 560 | 530 | 505 | 475 | 450 | 425 | 400 |
Результаты расчетов по (3.23) – (3.25) и приведенные в таблицах 3.6 и 3.7 показывают, что при нахождении МС в радиусе 250 метров от БС чужой сети возникает потенциальная возможность поражения приемника МС интермодуляционной помехой. Такая помеха может возникнуть, если при нахождении МС, работающей на прием на частоте
, вблизи БС другой сети с частотой передачи
, расстояние до БС любой сети GSM с частотой f
21
= 2
-
или с частотой f22
= (
-
)/2 меньше чем определяемое по (3.23) – (3.25) или из таблиц 3.6 и 3.7. При этом для определения допустимого расстояния до БС с частотой передачи f21
необходимо пользоваться формулой (3.25) и таблицей 3.6. принимая за R1
расстояние до БС с частотой передачи
. При определении допустимого расстояния до БС с частотой передачи f22
необходимо пользоваться формулой (3.24) и таблицей 3.6.
Наиболее опасным, с точки зрения возникновения интермодуляционных помех, будет случай близкого расположения (менее 80 метров) МС от передатчика БС (с частотой передачи
) чужой сети при использовании в рассматриваемом регионе частоты f21
= 2
-
, так как в этом случае минимально допустимые расстояния до БС с частотой передачи f21
могут достигать 10 км. При этом для БС с частотой передачи f22
= (
-
)/2 достаточным, для того чтобы не создавать заметных интермодуляционных помех, оказывается расстояние от МС равное 1 км.
Таким образом, при рассмотрении интермодуляционных помех от передатчиков БС стандарта GSM приемникам МС стандарта GSM возможно определить зоны, внутри которых приемники МС будут подвержены интермодуляционным помехам. Для этого необходимо для каждой БС своей сети GSM выполнить следующие действия.
Определить зону обслуживания БС (сектора БС) с частотой передачи
.
Определить БС других сетей GSM, которые находятся в пределах зоны обслуживания рассматриваемой БС (сектора БС).
Для каждой из рабочих частот БС чужих сетей GSM, работающих в пределах зоны обслуживания рассматриваемой БС, определить частоты f21
= 2
-
и f22
= (
-
)/2, где
- рабочая частота БС чужой сети GSM.
Определить минимальные расстояния от БС чужой сети с частотой передачи
, до БС с частотой передачи f
21
и f
22
(R2
для БС с частотой передачи f
21
и R
1
для БС с частотой передачи f
22
).
С использованием формул (3.24) – (3.25) и таблиц 3.6 и 3.7 найти радиусы зон R1
и R2
вокруг БС чужой сети с частотой передачи
, пораженных интермодуляционной помехой. Большая из этих зон будет результирующей зоной вокруг БС чужой сети, пораженной интермодуляционной помехой, образованной частотой передачи
, и одной из частот f21
или f22
.
Анализ полученных результатов
Проведенные расчеты показали, что при развертывании на одной территории нескольких сетей сотовой связи стандарта GSM возможно создание помех от передатчиков БС к приемникам МС чужих сетей приводящих к блокированию приемников и возникновению интермодуляционных помех.
Вокруг каждой БС обязательно образуется зона, радиусом от 80 до 180 м, внутри которой приемники МС чужих сетей GSM будут испытывать помеху по блокированию.
Также вокруг каждой БС может образовываться зона, радиусом до 250 м, в пределах которой приемники МС чужих сетей GSM могут подвергаться воздействию интермодуляционных помех. Наличие и размеры такой зоны будут зависеть от значений частот, которые назначены другим БС, расположенным на расстояниях до 10–15 км от рассматриваемой БС.
4. Безопасность жизни и деятельности человека
4.1 Анализ условий труда
Лаборатория, используемая для выполнения дипломного проекта, находится на 4 этаже 5 этажного здания и имеет размеры 8×6×4 м. В помещении установлены 5 ПЭВМ и лазерный принтер.
Количество работающих: 3 разработчика и 2 оператора ЭВМ. Используемое электропитание лаборатории: электросеть трехфазная четырехпроводная напряжением 380/220В с глухозаземленной нейтралью, переменного тока частотой 50Гц.
Площадь помещения составляет 48 м2 , объем – 192 м3 . При этом, на каждое рабочее место с ПЭВМ приходится 9.6 м2 площади и 38.4 м3 объема, что соответствует нормам ДНАОП 0.00–1.31–99, 6 м2 и 20 м3 соответственно.
Помещение, с находящимся в нем оборудованием и персоналом, представляет собой систему «человек – машина – среда» (ЧМС). Элементы системы ЧМС условно разделены на функциональные части, согласно тем действиям либо операциям, которые они выполняют.
Выделим систему «Человек-Машина-Среда» (ЧМС), ограниченную помещением лаборатории, элементами которой являются:
«Человек» – 5 работающих -3 разработчика и 2 оператора ЭВМ;
«Машина» – 5 ПЭВМ, в состав одной из которых входит принтер, находящиеся в лаборатории;
«Среда» – производственная среда в помещении лаборатории.
Каждый элемент «человек», состоящий из 3 разработчиков и 2 операторов ЭВМ делится на три функциональные части:
– Ч1 – рассматривается как человек, управляющий машиной;
– Ч2 – человек, который рассматривается с точки зрения его воздействия на окружающую среду (за счет тепло- и влаговыделения, потребления кислорода и др.);
– Ч3 – человек, который рассматривается с точки зрения его психофизиологического состояния под воздействием факторов, влияющих на него в производственном процессе.
Элемент «машина» делится на три части:
М1 – выполняет основную технологическую функцию (воздействие на предмет труда);
М2 – выполняет функцию аварийной защиты;
М3 – служит источником вредных воздействий на человека и окружающую среду.
Элемент «среда» рассматривается с точки зрения изменений, которые возникают под воздействием внешних факторов (температура, влажность, шум, освещенность, и др.).
Структура системы «Ч-М-С» для рассматриваемого помещения представлена ниже на рисунке 4.1. В таблице 4.1 приведены связи в системе «Ч-М-С».
Согласно ГОСТ 12.0.003–74 в данной системе «ЧМС» имеют место физические и психофизиологические опасные и вредные производственные факторы, биологические и химические факторы отсутствуют.
Физические ОВПФ:
- повышенная или пониженная влажность воздуха, обусловленная источниками избыточного тепла в помещении (оборудование, люди, осветительные приборы), приводит к ощущению дискомфорта, ухудшению самочувствия оператора.
- повышенная или пониженная температура воздуха рабочей зоны является причиной дискомфорта, снижается производительность труда;
- повышенный уровень шума на рабочем месте, приводит к головной боли, ослаблению внимания, ощущению дискомфорта, а значит снижению производительности труда;
- недостаток естественного света, обусловленный недостаточной площадью световых проемов, приводит к ухудшению зрения, уменьшению работоспособности человека;
- недостаточная освещённость рабочей зоны, зависящая от системы освещения, вызывает быстрое утомление и снижает работоспособность человека;
- повышенное значение напряжения в электрической цепи, замыкание которой может пройти через тело человека, может привести к поражению человека электрическим током;
– повышенный уровень ионизирующих излучений (рентгеновское излучение) в рабочей зоне, вызываемый работой ЭЛТ ПЭВМ, являются причиной возникновения головных болей, заболеваний периферийной кровеносной системы.
Психофизиологические ОВПФ:
- эмоциональные перегрузки, определяемые дефицитом времени и информации с повышенной ответственностью, приводят к быстрой утомляемости;
- монотонность труда, определяемая повторяющимися операциями на клавиатуре, уменьшает производительность труда и приводит к утомлению;
- перенапряжение зрительных анализаторов приводит к ухудшению зрения, вызывает быстрое утомление и снижает работоспособность человека;
- статические перегрузки, обусловленные длительным пребыванием в одной позе, приводят к снижению работоспособности, утомлению, эмоциональным перегрузкам.
Таблица 4.1 – Направление и содержание связей в системе Ч–М–С
| № | Направление связей | Содержание связей |
| 1 | Ч2-С | Влияние человека как биологического объекта на среду Происходит обмен веществ (кислород – углекислый газ, выделение тепла). |
| 2 | С–Ч1 | Влияние среды на качество работы оператора, разработчика |
| 3 | С–Ч3 | Влияние среды на психофизиологическое состояние организма человека. На физиологическое состояние человека влияют микроклимат, освещение (естественное, искусственное) и т.д. |
| 4 | М1-Ч1 М2-Ч1 |
Информация о состоянии машины, об объекте труда, которые обрабатываются человеком |
| 5 | Ч1-М1 Ч1-М2 |
Влияние человека на управление техникой и ее настройкой |
| 6 | ПТ–М1 | Информация о состоянии предмета труда, которое получает машина |
| 7 | М1-ПТ | Влияние машины на предмет труда (разрабатываемую методику) |
| 8 | М3-С | Влияние машины на среду (повышенный шум, повышенная температура) |
| 9 | Ч3-Ч1 | Влияние состояния организма человека на качество его работы |
| 10 | Ч3-Ч2 | Влияние психофизиологического состояния на интенсивность обмена веществ между организмом и средой |
| 11 | М2-М1 | Аварийные управляющие воздействия |
| 12 | М1-М2 | Информация необходимая для создания аварийных управляющих влияний |
| 13 | Ч3-Ч3 | Воздействие разработчиков, операторов друг на друга в процессе трудовой деятельности |
В таблице 4.2 помещены результаты оценки факторов производственной среды трудового процесса в лаборатории.
Таблица 4.2. Оценка факторов производственной среды и трудового процесса в научно-исследовательской лаборатории.
Факторы производственной среды и трудового процесса |
Значение фактора (ПДК, ПДУ) |
3 класс – опасные и вредные условия труда | Продолжительность действия фактора за смену, % | |||
| Норма | Факт | 1с | 22 с | 3с | ||
| 1. Шум, дБ | 50 | 50 | - | - | - | 87 |
2. Неионизирующие излучения: а) электрическая составляющая в диапазоне 5 Гц-2 кГц, В/м в диапазоне 2–400 кГц, В/м б) магнитная составляющая в диапазоне 5 Гц-2 кГц, нТл в диапазоне 2–400 кГц, нТл |
25 |
19 |
- |
- |
- |
87 |
| 2,5 | 2,1 | - | - | - | 87 | |
250 |
80 |
- |
- |
- |
87 |
|
| 25 | 10 | - | - | - | 87 | |
| 3. Электростатич. потенциал, В | 500 | 90 | - | - | - | 87 |
| 4. Рентгеновское излучение, мкР/ч | 100 | 24 | - | - | - | 87 |
5. Микроклимат: температура воздуха (летом), 0 С – скорость движения воздуха, м/с – относительная влажность, % |
23–25 |
30 |
- |
=+ | - |
100 |
| 0,1 | 0,1 | - | - | - | 100 | |
| 40–60 | 48 | - | - | - | 100 | |
6. Освещение: естественное, КЕО, % искусственное, лк |
2 |
4,2 |
- |
- |
- |
80 |
| 300 | 358 | - | - | - | 40 | |
7. Тяжесть труда: мелкие стереотипные движения кистей и пальцев рук, тыс. за смену |
40000 |
25000 |
- |
- |
- |
70 |
8. Напряженность труда а) внимание, продолжительность сосредоточения, в % от смены б) напряженность зрительных анализаторов, категория работ в) эмоциональное и интеллектуальное напряжение |
75 |
70 |
- |
- |
- |
70 |
Средней точности |
Высокоточная | ++ | 87 |
|||
| Работа по индивидуальному графику | Работа по индивид. графику | - | - | - | 87 |
|
| 9. Сменность | Односменная работа | Односменная | - | - | - | - |
При оценке определен класс и степень вредности рабочего места – третий класс вторая степень вредности, так как температура воздуха в помещении существенно превышает норму.
Исходя из оценки, выберем доминирующим вредным производственным фактором повышенную температуру воздуха рабочей зоны, и для этого фактора разработаем необходимые организационные и технические мероприятия, целью которых является обеспечение требуемого значения температуры воздуха в лаборатории.
4.2 Техника безопасности
По степени опасности поражения электрическим током, согласно ПУЭ-85 помещение лаборатории относится к классу помещений без повышенной опасности, поскольку нет признаков, свойственных помещениям с повышенной опасностью и особо опасных.
Согласно требованиям ПУЭ, ГОСТ 12.1.030–81 для обеспечения безопасности в трехфазной четырехпроводной сети напряжением до 1000 В с глухозаземленной нейтралью выполнено зануление, суть которого заключается в преднамеренном электрическом соединении с нулевым проводом сети корпусов всех ПЭВМ и электрооборудования, поскольку они могут оказаться под напряжением при случайном замыкании фазы на корпус. При занулении, замыкание на корпус ПЭВМ превращается в однофазное короткое замыкание и поврежденный участок сети автоматически отключается. Для автоматического отключения поврежденного участка применен автоматический выключатель. Время отключения не более 0,2 с.
Линия электросети для питания ПЭВМ и измерительных приборов и устройств выполнена как отдельная трехпроводная сеть, путем прокладки фазного, нулевого рабочего и нулевого защитного проводников. Площадь сечения нулевого рабочего и нулевого защитного проводников не меньше площади сечения фазного проводника.
Для уменьшения напряжения, приложенного к телу человека при случайном замыкании на корпус электрооборудования, выполнено повторное заземление нулевого провода. Сопротивление повторного заземления не должно превышать 30 Ом.
Необходимо не реже 1 раза в год проводить контроль изоляции на участках нуль-фаза, фаза-фаза и фазанулевой защитный проводник. Сопротивление изоляции должно быть не менее 500 кОм. Измерения активного сопротивления изоляции проводят при отключенном электропитании с помощью мегаомметра.
Согласно требованиям ДНАОП 0.00–4.12–99 необходимо проводить вводный, первичный на рабочем месте, повторный инструктажи, а при необходимости также внеплановый:
– вводный инструктаж необходимо проводить при поступлении на работу независимо от стажа работы и квалификации поступающего, инструктаж организует и проводит служба охраны труда предприятия, в ходе инструктажа следует ознакомить инструктируемого с основными вопросами охраны труда на предприятии, режимом работы;
– первичный инструктаж на рабочем месте организует и проводит руководитель структурного подразделения предприятия; в ходе инструктажа следует ознакомить инструктируемого с ОВПФ, которые могут возникать на рабочем месте и способам защиты от них;
– аналогично с первичным инструктажем с периодичностью в 6 месяцев проводить повторные инструктажи;
– внеплановый инструктаж проводить при изменении условий труда, введения в эксплуатацию новой техники.
Содержание инструктажей должно соответствовать требованиям
ДНАОП 0.00–4.12–99. Факты инструктажей фиксировать в соответствующих журналах инструктажей с подписями инструктируемого и инструктирующего.
4.3 Производственная санитария и гигиена труда
Работа в лаборатории выполняется сидя и не требует систематического физического напряжения. Согласно ДСН 3.3.6.042–99 работа разработчиков относится к категории легких физических работ – Iа, энергозатраты организма человека составляют 90–120 ккал/ч и для данной категории установлены оптимальные и допустимые нормы микроклимата, приведенные в таблице 4.3.
Таблица 4.3 – Оптимальные и допустимые нормы микроклимата
Период Года |
Температура воздуха, град. С | Относительная влажность воздуха, % | Скорость движения воздуха, м/с |
| Оптимальные нормы параметров микроклимата | |||
| Холодный | 22–24 | 40–60 | не более 0.1 |
| Теплый | 23–25 | 40–60 | не более 0.1 |
| Допустимые нормы параметров микроклимата | |||
| Холодный | 21–25 | 40–60 | не более 0,1 |
| Теплый | 22–28 | 40–60 | 0,1–0,2 |
Для обеспечения установленных норм микроклимата в помещении лаборатории применяется в холодный период года отопление, а в теплый период года следует применять кондиционирование воздуха.
Фактическое значение температуры в помещении летом превышает нормированное значение на 5 градусов. Для нормализации температуры необходимо выполнить расчет кондиционирования воздуха и установить систему кондиционирования. Кондиционирование подразумевает предварительную подготовку воздуха – его охлаждение.
Источниками избыточного тепла в помещении являются люди, электрооборудование, источники искусственного света, солнечная радиация. Определим эти слагаемые.
Количество тепла
, излучаемое оборудованием, равно
(ккал/ч),(4.1)
где
– суммарная мощность установленного оборудования, согласно паспортным данным (2,5 кВт);
– коэффициент использования мощностей (0,8);
– коэффициент одновременной работы оборудования (1).
Тепло
, излучаемое людьми, равно
![]()
(ккал/ч),(4.2)
![]()
где
– количество работающих в помещении,
=5;
– количество тепла, выделяемое человеком (для категории
а-120 ккал/ч).
Тепло
, излучаемое источниками искусственного света, определяется
(ккал/ч),(4.3)
где
– коэффициент, учитывающий тепловыделение при освещении (для люминесцентных ламп 0,05 ккал/м2
лк);
– минимальная нормированная освещенность рабочей поверхности (для
разряда зрительной работы
=300 лк);
– площадь помещения (48 м2
).
Тепло
, выделяемое за счет солнечной радиации, равно:
(ккал/ч),(4.4)
где
– удельное количество тепла, поступающего через единицу площади окна (86 ккал/ч при ориентировке окон на север);
– поправочный коэффициент, зависящий от вида остекленения (1,15 – для окон с двойными переплетами);
– площадь окон (10 м2
).
Количество тепла, передаваемое в помещении через стены, примем равным нулю (кирпичные стены).
Общее количество теплоты
вычисляем как сумму результатов, полученных в (4.1)– (4.4)
(ккал/ч).(4.5)
Требуемый воздухообмен
будет равен
(м3
/ч),(4.6)
где
– удельная теплоемкость воздуха (0,24 ккал/кг·град);
– плотность воздуха (1,29 кг/м3
);
– температура удаляемого воздуха (250
С);
– температура приточного (с кондиционера) воздуха (190
С).
Требуемая производительность по холоду
с учетом наружной температуры 370
С будет равна
(ккал/ч).(4.7)
С учетом полученных результатов выбираем мульти-сплит-систему LG LM-3063H3L с тремя внутренними блоками (производительность вентиляторов – 1410 м3 /ч, производительность на охлаждение – 8,2 КВт, которая может обеспечить для теплого времени года требуемые воздухообмен и охлаждение наружного воздуха для поддержания оптимальных параметров микроклимата.
Зрительная работа проектировщика-пользователя ПЭВМ является работой высокой точности, поскольку наименьший размер объекта различения 0,3–0,5 мм и разряд зрительной работы – III.
Согласно требованиям СНиП II-4–79 величина коэффициента естественной освещенности (КЕО) должна быть равна 2%. Естественный свет проникает в помещение лаборатории через боковые окна, сориентированные на северо-восток, что соответствует требованиям. Искусственное освещение выполнено в виде прерывистых линий светильников, расположенных параллельно линии зрения операторов. Освещенность при работе с экраном в сочетании с работой над документами должна быть не менее 300 лк. Вышеназванные нормы КЕО и освещенности выполняются.
Эквивалентный уровень шума на рабочем месте в соответствии сДСН 3.3.6.037–99 не превышает 50 дбА.
Каждое рабочее место в лаборатории соответствует требованиямГОСТ 12.2.032–78 и ДНАОП 0.00–1.31–99. Рабочие места расположены относительно световых проемов так, чтобы естественный свет падал с левой стороны. Размещение рабочих мест в лаборатории показано на рис. 2
Организация каждого рабочего места обеспечивает соответствие всех элементов рабочего места и их расположения эргономическим требованиям ДНАОП 0.00–1.31–99. Высота рабочей поверхности стола для ПЭВМ равна800 мм, ширина стола 1200 мм, глубина стола – 800 мм. Сидение подъемно-поворотное, регулируется по высоте, углу наклона, высоте подлокотников. Правильный выбор параметров стола и сидения, позволяет снизить статические перегрузки мышц.
Для уменьшения перегрузки зрительных анализаторов экран видеотерминала расположен на оптимальном расстоянии от глаз пользователя ПЭВМ: при размере экрана по диагонали 19» – 900 мм.
Для разработчиков-проектировщиков, использующих в работе ПЭВМ устанавливается 8-ми часовой рабочий день с перерывами на 20 минут после двух часов с момента начала работы и через 1,5 и 2,5 часа по 20 минут соответственно после обеденного перерыва. Во время перерыва необходимо покинуть рабочее место, глаза не должны видеть монитор, слуховые анализаторы не должны воспринимать шумовое влияние. Для снятия утомления во время рабочего процесса следует выполнять физические упражнения и упражнения для глаз.
4.4 Пожарная профилактика
В помещении лаборатории имеются твердые сгораемые материалы, поэтому производство по пожаровзрывоопасности в соответствии соСНиП 2.09.05–85 [4] относится к категории В.
В соответствии со СНиП 2.01.02–85 [11] помещение лаборатории относится ко II степени огнестойкости, выполнено преимущественно из кирпича, которые относятся к негорючим материалам. По взрывоопасной и пожарной безопасности рассматриваемое помещение в соответствии с ПУЭ-85 относится к классу П-IIа.
Соответственно ГОСТ 12.1.004–91 [12] пожарная безопасность обеспечивается системами предотвращения пожара и противопожарной защиты. Система предотвращения пожара представляет собой комплекс организационных мероприятий и технических средств, направленных на исключение условий возникновения пожара, и включает следующие мероприятия:
– предотвращение образования пожароопасной среды;
– предотвращение образования в пожароопасной среде источников возгорания.
Согласно ГОСТ 12.4.009–83 [13] проектом предполагается установить дымовые пожарные оповестители (например, полупроводниковый ДИП-1) по установленным нормам размещения дымовых пожарных оповестителей при установке на высоте до 3,5 м дымовые оповестители устанавливаются из расчета – 2 на 20 м2 , максимальное расстояние оповестителя до стены – 4,5 м. Таким образом, в помещении лаборатории достаточно 6 оповестителей. Противопожарная защита достигается применением первичных средств пожаротушения. Для ликвидации пожара на начальной стадии предусмотрены ручные углекислотные огнетушители типа ОУ-2 (используются для тушения электрооборудования, которое находится под напряжением) – 5шт. (из расчета два огнетушитель на 20 м2 , но не меньше двух в помещении с ПЭВМ) и ящик с песком емкостью 0,15 м3 . При возникновении пожара рабочий персонал эвакуируется через рабочий выход.
5. Технико - экономическое обоснование
5.1 Характеристика научно-технической продукции как товара
Происходящий в последние десятилетия бурный рост числа традиционных радиосредств и возникновение новых радиослужб различного назначения (сотовых, транкинговых, пейджинговых и т.д.), привели к резкому усложнению электромагнитной обстановки, особенно в диапазонах ОВЧ и УВЧ. Это, в свою очередь, делает еще более сложным решение задачи электромагнитной совместимости (ЭМС) радиоэлектронных средств (РЭС) из-за острого недостатка свободных частотных диапазонов и необходимости их совместного использования. Вопросами радиочастотного мониторинга за специальными и общими пользователями занимается «Укрчастотнадзор». В данной НИР проводится анализ существующих методов оценки ЭМС между различными радиослужбами и разработка упрощённого метода оценки ЭМС. Осуществляется разработка программы реализующей этот метод, которая в дальнейшем может использоваться в службах радиочастотного мониторинга.
В данной работе исследуются электромагнитные взаимодействия в многочисленной (десятки тысяч) группировке разнотипных РЭС, работающих в одном регионе. Различного вида непреднамеренные помехи, порождающие проблему электромагнитной совместимости между РЭС различного назначения.
5.2 Этапы выполнения НИР, их продолжительность
В таблице 5.1 приведен типовой перечень этапов и работ, расчёт трудоёмкости и общей заработной платы.
Таблица 5.1 – Типовой перечень этапов исследовательских работ и примерное их соотношение
| Наименование этапов и содержание работ | Исполнитель | Продолжитель ность работы / день |
Трудо-емкость, чел./дней | Средняя заработная плата, грн. | Сумма зарплаты, грн. |
Подготовительный этап Разработка и утверждение технического задания: |
ответственный исполнитель | 2 | 2 | 18,18 | 36,36 |
| – составление календарного графика работ; | ответственный исполнитель | 1 | 1 | 18,18 | 18,18 |
| – подбор и изучение литературы по теме; | инженер | 10 | 10 | 13,64 | 136,4 |
| – знакомство со смежными и близкими по теме работами в различных учреждениях; | инженер | 3 | 3 | 13,64 | 40,92 |
| – составление обзора по изучаемым материалам; | инженер | 2 | 2 | 13,64 | 27,28 |
| – подготовка материалов справочных данных для разработки. | инженер | 2 | 2 | 13,64 | 27,28 |
| Всего: 20% | 20 | 20 | 286,42 | ||
Основной этап Разработка теоретической части темы: |
|||||
| – обзор существующих методов и алгоритмов; | инженер | 5 | 5 | 13,64 | 68,2 |
| – анализ существующих методов и алгоритмов и выбор из них составляющих удовлетворяющих поставленной задаче; | инженер | 10 | 10 | 13,64 | 136,4 |
| – разработка алгоритма программы; | программист | 21 | 21 | 27,27 | 575,67 |
| Написание программы реализующей метод оценки ЭМС; | программист | 20 | 20 | 27,27 | 545,4 |
| – отладка программы; | программист | 3 | 3 | 27,27 | 81,81 |
| – прочие (непредусмотренные) работы. | инженер | 1 | 1 | 13,64 | 13,64 |
| 3. Экспериментальные работы и испытания. | инженер | 7 | 7 | 13,64 | 95,48 |
| 4. Внесение корректировок в разработки и исследования. | ответственный исполнитель | 4 | 4 | 18,18 | 72,72 |
| 5. Выводы и предложения по теме. | ответственный исполнитель | 1 | 1 | 18,18 | 18,18 |
| Всего: 50% | 72 | 72 | 1604,5 | ||
| Заключительный этап | ответственный исполнитель | ||||
| Состав отчета. | инженер | 5 | 5 | 13,64 | 68,2 |
| 2. Анализ результатов проведения НИР. | ответственный | 2 | 2 | 18,18 | 36,36 |
| 3. Подбор необходимой технической документации (программы, акты испытаний и т.д.) | исполнитель | 2 | 2 | 13,64 | 27,28 |
| 4. Защита отчета на техническом совете. | инженер | 1 | 1 | 18,18 | 18,18 |
| Всего: 30% | 10 | 10 | 150,2 | ||
| Всего: 100% | 102 | 102 | 2040,93 |
Среднедневная зарплата рассчитывается по формуле
, (5.1)
где МДО – месячный должностной оклад сотрудника;
22 – среднее количество рабочих дней в месяце.
МДО ответственного исполнителя равен 400 грн, МДО инженера – 300 грн, МДО программиста – 600 грн. Рассчитаем среднедневную зарплату для вышеперечисленных категорий сотрудников по формуле 5.1.
;
;
.
5.3 Расчет сметной стоимости научно-технической продукции
Расчет сметной стоимости научно-технической продукции «разработка метода оценки ЭМС в группировках РЭС» представлен в таблице 5.2.
Срок выполнения работы: начало 01.02.2008 г. окончание: 31.03.2008 г.
Расчет цены на НИР сделан согласно с «Типовым положением с планированием, отчетом и калькуляцией себестоимость», утвержденный Постановлением КМ Украины от 20.07.96 №830.
Выходными данными для определения цены на проведение работы есть затраты по следующим статьям калькуляции:
– затраты на оплату труда рассчитанные, исходя из необходимого для выполнения работ состава и количества работников, а также их среднемесячной заработной платы, или должностных окладов, определенных согласно с действующим законодательством;
– отчисления на социальное страхование определенные в размере 37,5% от затрат на оплату труда, в том числе:
32% – отчисления на обязательное государственное пенсионное страхование согласно с Законом Украины от 26.06.97 №400/97-ВР;
2,1% – отчисления на обязательное социальное страхование согласно с Законом Украины от 26.06.97 №402/ 97-ВР;
2,9% – отчисления на социальное страхование на случай безработицы согласно Закону Украины от 26.06.97 №402/97-ВР;
0,2% – отчисления на социальное страхование на случай временной утраты трудоспособности.
Таблица 5.2. – Смета затрат на разработку НИР
| статья затрат | Обозначение | Расчетная формула | На весь период, грн. |
| 1. Затраты на оплату труда | ЗП | 2040,93 | |
| 2. Отчисления на социальное страхование 37,0%, в т. ч. отчисления на обязательное страхование 2,9%, отчисления на социальное страхование на случай безработицы 2,1%, отчисления на социальное страхование на случай утраты трудоспособности 0,2%. | Отч | ЗП´0,37 ЗП´0,029 ЗП´0,021 |
755,14 59,18 42,86 |
| 3. Малоценные быстроизнашивающиеся материалы | МБМ | 100 | |
| 4. Затраты на техническое оформление | 110 | ||
| 5. Общехозяйственные расходы | Ро.хоз. | n´k´h | 480 |
| 6. Коммунальный налог | Нком | 1,7´k | 20,4 |
| 7. Всего затрат | Зобщ | 3506,47 | |
| 8. Прибыль | П | Зобщ.´0,1 | 350,647 |
| 9. НДС | НДС | (Зобщ+П)´0,2 | 771,423 |
| 10. Стоимость научно – технической продукции | Стоим | Зобщ+П+НДС | 4628,54 |
В данной таблице: n = 40 грн.; k = 3 чел.; h = 4 мес.;
– затраты на малоценные быстроизнашивающиеся материалы определенные их потребностью для выполнения работ и ценами, действующими на момент составления калькуляции;
– затраты на техническое оформление отчета;
– общехозяйственные расходы определяются по фактическим затратам по следующим статьям затрат: водоснабжение, отопление, освещение, канализация (40 грн./чел. в месяц);
– коммунальный налог, определенный в размере 10% необлагаемого налогом минимума доходов граждан согласно с Декретом КМ Украины «Про местные налоги и сборы» от 25.05.93 №56–93;
– общие затраты приравниваются сумме по статьям 1–6;
– прибыль составляет 10–90% от затрат на разработку НИР (от статьи 7);
– налог на добавленную стоимость (НДС) предусмотрен в размере 20% от договорной цены (себестоимость + прибыль) согласно с Законом Украины «Про налог на добавленную стоимость» от 03.04.97 №168/97-ВР;
– себестоимость работ по договору (контракту) приравнивается сумме затрат по статьям 7–9.
Цена на научно – техническую продукцию по договору (контракту) №1 от 31.03.2008 г. с учетом прибыли и НДС приравнивается 4628,54 тыс. грн.
5.4 Технико-экономическая и научная оценка выполненной НИР
Дадим оценку научному, техническому и экономическому уровню НИР бальным методом оценки. Критерии и их оценки даны в таблице 5.3.
Так как для проведения НИР необходимо 102 дня, технические показатели результатов разработки на уровне лучших мировых образцов, возможности получения авторских свидетельств есть, то сумма индексов по всем факторам, согласно с таблицей 5.3, является положительной. Согласно с таблицей 5.4 разработка является весьма перспективной.
Таблица 5.3 – Критерии оценки НИР бальным методом
| Критерии оценки | Шкала критериев | Индекс оценки |
| Время, необходимое для проведения НИР (начиная с исследования и кончая и кончая изготовлением опытного образца) | 1. 2 года и менее 2. 3 года 3. 4 года 4. 5 – 6 лет 5. 7 лет и более |
* +2 +1 0 -1 -2 |
| Технические показатели результатов разработки | 1. Выше уровня лучших мировых образцов 2. На уровне лучших мировых образцов Ниже уровня лучших мировых образцов |
+2 * 0 -2 |
| Возможности получения авторских свидетельств на изобретение | 1. Уверенность в получении авторских свидетельств 2. Частичные возможности 3. Возможности нет |
* +2 0 -1 |
Таблица 5.4 – Оценка целесообразности проведения работ
| Сумма индексов | Оценка темы |
* Положительная (+) Удовлетворительная (0) Отрицательная (–) |
* Разработка весьма перспективная Разработка перспективная Разработка неперспективная |
Оценка научного, технического и экономического уровня НИР рассчитывается по формуле
, (5.2)
где J – важность работы для народного хозяйства, J = 2 – 5;
n – показатель исполнения результатов НИР; n=0–3
ТСП – техническая сложность выполнения работы, Тсп = 1 – 3;
RР – результативность работы; Rp=1–4
CНИР – стоимость работы тыс. грн.;
tНИР – время, необходимое для поведения НИР, дни.
Важность данной работы для народного хозяйства оцениваем в j=5. Так как результаты работы используются на производстве, то показатель n=3. Техническая сложность выполнения работы оценивается в Тсп=3. Так как поставленная задача была решена полностью, то Rp=4. Стоимость работы – 4,628 тыс. грн. Время, необходимое для проведения НИР, составляет 102 дня. Произведем оценку научного, технического и экономического уровня НИР по формуле
.
Так как показатель уровня НИР ИНИР >1, то данная научная работа исследовательская работа является эффективной, имеющей высокий научный, технический и экономический уровень.
Выводы
В ходе данного дипломного проекта было проведено проектирование сотовой сети связи, рассчитаны основные параметры сети, такие как дуплексный разнос между частотными каналами, общее число каналов в используемой системе, размерность кластера, число каналов для каждого из секторов одной соты, допустимая телефонная нагрузка, число абонентов на одну БС, радиус зоны одной БС, величина защитного расстояния, мощность передатчика БС, вероятность ошибки и др.
С целью обеспечения выполнения условия
, при определении размерности кластера были проведены расчеты для
= 4, (
),
=4, (
),
=4, (
),
=7 (
). Определен вариант построения ССС, использующий
=7 и антенны с секторными диаграммами направленности (
), удовлетворяющий вышесказанному условию.
Был составлен план территориального размещения ячеек и обслуживающих их базовых станций. Также была составлена таблица распределения частотно-временных каналов.
Получено значение телефонной нагрузки совпадающее с допустимым табличным значением.
Похожие рефераты:
Архитектура сотовых сетей связи и сети абонентского доступа
Анализ систем безопасности, использующих GSM каналы связи
Электромагнитная совместимость сотовых сетей связи
Модернизация сотовой сети стандарта GSM с применением технологий GPRS и EDGE
Проектирование сетей стандарта GSM
Перспективы развития телекоммуникации
Автоматизированные системы обработки информации и управления
Применение на судовых станциях автоматических идентификационных систем
Приемник цифровой системы передачи информации ВЧ-каналом связи по ВЛ
Беспроводные телекоммуникационные системы
