| Похожие рефераты | Скачать .docx |
Дипломная работа: Реконструкция оборудования ОС п. Гастелло Жаркаинского района Акмолинской области на базе ЦАТС МС-240
Түйін
«Ақмола облысы Жарқайың ауданының Гастелло ауылының СС жабдығын МС-240 ЦАТС негізінде жаңғырту » деп аталған осы дипломдық жобада телефон желісінің қазіргі жағдайы қаралып, байланыс желісінің сапалық көрсеткіштерін нақтылайтын есептері берілген. Сонымен қатар, ЦАТС-ң жұмысқа пайдалану сұрақтары болып саналатыт маниторинг, конфигурациялау жәнеде т. б. сұрақтар сараланып қаралған.
Сонымен қатар дипломдық жобада еңбекті қорғау және техника қауіпсіздігі сұрақтарыменен бірге экология мәселесіде сөз болған.
Жоба соңында экономикалық бөлім бойынша негізгі көрсеткіштері есептелінген.
Аннотация
В дипломном проекте по теме « Реконструкция оборудования ОС п. Гастелло Жаркаинского района Акмолинской области на базе ЦАТС МС-240» анализировано существующее состояние телефонной сети, рассчитаны качественные показатели, рассмотрены специальные вопросы по мониторингу, конфигурации и другие вопросы по технической эксплуатации ЦАТС МС-240 (Россия).
В дипломном проекте также затронуты вопросы охраны труда и техники безопасности, проблемы экологии.
В конце рассчитаны основные показатели по экономической части.
Abstract
In degree project on subject "Reconstruction of the equipment OS p. extinguish;quench;cancel;switch off-телло ZHarkainskogo region Akmolinskoy area on the base CATS MS-240" is analysed existing condition to telephone network, is calculated качест-венные to factors, are considered special questions on monitoring, horse-фигурации and the other questions on technical usage CATS MS-240 (Russia).
In degree project is also touched labour guard questions and safety, problems to ecologies.
Leading indexes is calculated At the end on economic part.
1 Аналитическое исследование проблем сельской связи и разработки по их технической решении
1.1 Краткая характеристика района и сети сельской связи
Жаркаинский район по своему географическому положению находится в Акмолинской области. Центр Жаркаинского района – город Державинск.
Акмолинская область была образована в 1939 году и занимает территорию 146.200 тыс.кв.км. (имеется на территории области 17 районов, 7 городов, 8 поселков и 183 сельских местностей). Область неоднократно реорганизовывалась, последняя связана с переносом столицы в 1998 году из г. Алматы в г. Астана (Целиноград). Административным центром Акмолинской области является город Кокшетау.
Населения Жаркаинского района примерно составляет 25 тысяч человек, а численность населения в городе Державинск - свыше 15 тыс.человек. Население района постепенно растет из-за выгодного месторасположение, которое обусловлено близким расположением к столице, прохождением через город и район автомобильных дорог, благоприятным климатом и выгодными условиями для занятия сельским хозяйством и разведением крупного и мелкого скота, а также для увеличения производства по переработке мясной и молочной промышленности.
Сельская телефонная сеть (СТС) Жаркаинского района построено по радиальному принципу. Функцию центральной станции (ЦС) СТС, а также АТС (автоматическая телефонная станция) городской телефонной сети (ГТС) выполняет современная цифровая многофункциональная система SI-2000 (с 2-го квартала 2007 года). Данная система SI-2000 (фирмы IskraTel- Словения) широко применяется в качестве ЦС, УС (узловая станция), ОС (оконечная станция) СТС, а также РАТС (районная АТС), УВС (узел входящих сообщении), УИС (узел исходящих сообщении), УСП (узел сельско - пригородный) ГТС, УАТС (учрежденческая АТС), средней мощности АМТС (автоматическая междугородная телефонная станция) и т. д. Самое главное достоинство SI-2000, это возможность построения мультисервисной сети. Техническая характеристика и структурная схема системы SI-2000 приведена в конце пояснительной записки [П.А].
На сети Жаркаинского района в качестве оконечных станций используются только станции типа АТСК-50/200 (50/200М) непосредственно установленные в селах принадлежащих данному району. Цифровые АТС пока в оконечных пунктах еще не установлены (идет монтаж ЦАТС в двух населенных пунктах (Тасты-Талды и Валиханово по проекту АО «Казахтелеком»).
В качестве межстанционных линий связи (МСС) в Жаркаинском районе, эксплуатируются кабели типа КСПП, МКСБ, воздушные линий связи (марки БСА), уплотненные с помощью каналообразующего оборудования ИКМ-15, КНК-12, LVK-12-3. В районе на 01.10.2007 год имеются действующие станции с приведенной емкостью, технические характеристики которых описаны в таблице 1 Приложения Б. Схема организации связи Жаркаинского района (СТС) приведена в конце пояснительной записки [П.Б].
В рассматриваемом настоящем проекте в поселке Гастелло эксплуатируется координатная станция АТСК 50/200 на 100 номеров (с 1985 г). Данная станция работает по полной мощности и не позволяет расширять емкость телефонной сети. Территория поселка по сравнению 1985 годом расширена значительно, поэтому можно считать, что окраина полностью не телефонизирована. Плотность телефонных аппаратов на 100 семей (01.10.2007 г.) приведена в таблице 1.1.
Таблица 1.1 - Плотность телефонных аппаратов на 100 семей
Наименование населенного пункта |
Число семей | Количество квартирных ОТА |
Плотность на 100 семей |
| п. Гастелло | 950 | 100 | 10 |
Из-за отсутствия возможности расширения существующей АТС, а также физически и морального износа данной АТС, заявлении населения и организации по установке ТА не удовлетворяются. МСС между с. Гастелло и районным центром давно исчерпали свои возможности. Например, аппаратура КНК-12, из-за отсутствия ремонтной базы к дальнейшей эксплуатации не пригодна (с 1982 г. в эксплуатации). Кабель типа КСПП 1*4*1,2, который выполняет функцию МСС физически изношен, так как последние измерительные работы показывает несоответствие параметров с нормой (свыше 20 лет в эксплуатации) [].
Местная кабельная сеть внутри поселка Гастелло изношена в значительной степени и близки к аварийному износу. Магистральные и абонентские сети выполнены в основном на базе кабелей марки ТППБ, ТПП (проложенных в земле и подвешенных на опорах).
1.2 Краткая сравнительная характеристика коммутационных систем и выбор оптимальной
При проектировании цифровых сетей связи интеграции служб следует учесть, что существуют различные требования к виду связи, услугам, вероятным временным характеристикам. Благодаря широкому внедрению цифровых АТС заметно снизились трудовые затраты на изготовление электронного коммутационного оборудования за счет автоматизации процесса их изготовления и настройки, уменьшились габаритные размеры и повысилась надёжность оборудования за счёт использования элементной базы высокого уровня интеграции. Также уменьшились объёмы работ при монтаже и настройке электронного оборудования в объектах связи, существенно сократился штат обслуживающего персонала за счет полной автоматизации контроля функционирования оборудования и создания необслуживаемых станций. Значительно уменьшились металлоемкость конструкции станций, сократились площади, необходимые для установки цифрового коммутационного оборудования, а также повысилось качество передачи и коммутации. Были введены вспомогательные и дополнительные виды обслуживания абонентов. С внедрением цифровых АТС стало возможным создание на их базе интегрированных сетей связи, которые могли бы позволить обеспечить внедрение различных видов и служб электросвязи на единой методологической и технической основе. Ниже приводятся краткие характеристики распространенных на СТС систем коммутации.
Характеристика системы SI-2000. Система SI-2000 производится фирмой Iskra TEL (Словения), а также совместным предприятием Искра Урал Тел (Екатеринбург). Станции системы SI-2000 обеспечивают все основные телефонные функции (местные, исходящие, входящие и транзитные соединения), а также большое количество дополнительных услуг (абонентская линия с декадным/частотным набором, повторение последнего набранного номера, запрет исходящей/входящей связи, конференцсвязь, определение злонамеренного вызова, перенаправление вызова, вызов абонента по заказу и др.).
Сети связи (особенно местные) большей частью являются все еще аналоговыми, поэтому осуществить быстрый переход на цифровые системы передачи практически невозможно. В телефонных станциях SI-2000 наряду с цифровыми линейными комплектами присутствуют и аналоговые, что позволяет гибко решать вопросы стыковки с аналоговыми соединительными линиями. На базе системы SI-2000 можно организовать надежную связь на всех уровнях от сельской станции до АМТС средней емкости, а также в учрежденческих и ведомственных сетях.
Изделия семейства включают в себя два типа станций: SI-2000/224 - многомодульная АТС; SI-2000/214 - экономичная одномодульная АТС.
Основные характеристики системы SI-2000 приведены в конце пояснительной записки [П.А].
Характеристика станции М-200 (Россия-МТА). М-200-современная, надежная, экономичная и постоянно совершенствуемая цифровая система коммутации с гибкой модульной структурой оборудования и программного обеспечения (ПО). Она предназначена в первую очередь для развития сетей электросвязи сельских административных районов (САР), а также корпоративных сетях. Система может использоваться в сельском административном районе и корпоративных сетях локально, в качестве центральный (ЦС), узловой (УС) или оконечной станции (ОС) местных сетях. Компания МТА была организована в 1995 году группой специалистов в области телекоммуникаций. МТА специализируется на разработке и производстве цифровых систем коммутации и передачи данных под торговой маркой АТС М-200.
В новом поколении АТС М-200 большое внимание уделено развитию мультисервисных характеристик станции, на базе которых реализуются решения, позволяющие комбинировать передачу голоса и данных в одной сети, а также предлагать пользователям дешевую междугородную связь.
«М-200» предназначена для телефонизации сел и районных центров, а также корпоративных сетях, в том числе сетях железнодорожного транспорта, рекомендовал использовать указанные станции в качестве центральных станций (ЦС), узловых (УС), необслуживаемых оконечных станций (НОС), учережденческих телефонных станциях, а также в качестве сельско-пригородных узловых (СПУ). Показатели соотношения качества - цена способствуют наиболее эффективному и экономичному решению задач по телефонизации села. В том числе населенных пунктов, где связь отсутствует полностью. АТС М-200 может согласована работать с другими АТС с помощью РРЛ, ВОЛС, спутниковым системам, а также по обычным медным кабелям.
Структурная схема М-200 и основные технические данные приведены в конце пояснительной записки [П.В].
Характеристика ЦАТС «МС240» (продукция фирм «Karat-telecom» и «Элтекс» Россия). Система имеет модульную структуру и основана на применении коммутации сигналов импульсно-кодовой модуляции (ИКМ). Активные схемы системы (модули) собраны на съемных печатных платах. Модули ЦАТС «МС240» делятся на две основные функциональных группы: общие управляющие устройства и периферийные устройства.
ЦАТС «МС240» обеспечивает: высокое качество цифровой связи; высокая надежность при разумной цене; простота конфигурирования, эксплуатации и ремонта; компактное исполнение. Небольшой вес и низкое энергопотребление. Энергонезависимая память (FLASH). Возможность использования любых телефонных аппаратов, факсов, модемов. Модульная конструкция АТС как на аппаратном, так и на программном уровне. Полное администрирование АТС при помощи удаленного доступа. Поставляемое со станцией ПО центра технической эксплуатации. Наличие системы учета стоимости разговоров. Широкий спектр дополнительных видов обслуживания (ДВО). Круглосуточный, необслуживаемый режим работы. Структурная схема «МС-240» и техническая характеристика приведены в конце пояснительной записки [П.Г].
Сравнивая общие технические характеристики различных систем таких как SI-2000, М-200, МС-240 выбираем оптимальную. Критериями в данном случае является доступная цена, пригодность в сельских сетях, обеспечение современных услуг связи и т. д. Для настоящего дипломного проекта самой экономичной и оптимальной является МС-240 (Россия) Данная система сравнительно недавно начало эксплуатироваться в сельских сетях связи нашей Республики, в том числе Акмолинской области и хорошо зарекомендовала себя.
1.3 Постановка задачи проекта
Данным проектом предлагается реконструкция ОС п. Гастелло Жаркаинского РУТ Акмолинской области.
Основной целью данного проекта являются: удовлетворение спроса на установку абонентского терминала; расширение и укрепление позиций оператора на рынке услуг связи; избежание потери потенциальных потребителей услуг связи; увеличение денежного потока оператора и т.д.
Для достижения реализации данного проекта необходимо: замена морально и физически устаревшей станции АТСК50/200 общей монтированной емкостью 100 номеров (задействованной емкость 100 номеров), на современную ЭАТС емкостью 300 номера с расширением станционной и линейной емкости на 200 номеров, что позволит значительно повысить качество предоставляемых услуг и соответственно увеличить исходящий трафик; переключение существующих абонентов на новую ЭАТС, строительство распределительной сети для новых абонентов.
Актуальность проекта заключается в первую очередь в том, что существующая система связи, эксплуатация которой на протяжении долгих лет оставалась без внимания, не удовлетворяет запросы населения, как в качестве связи, так и в своевременных установках. Планируемая реконструкция ОС создает предпосылки стабильного роста междугородного трафика, предоставления высокоскоростных услуг передачи данных и предоставление в аренду цифровых каналов. В связи с чем, проект реконструкции ОС необходим для устранения всех недостатков работы сети телекоммуникаций, что повлияет на увеличение количества абонентов, принесет оператору стабильный финансовый рост, дополнительно позволит увеличить рынки по предоставлению услуг телекоммуникаций, и соответственно увеличит денежный поток. Следовательно, своевременная замена аналоговой системы связи на электронную АТС и расширение рынка по предоставлению услуг телекоммуникаций обеспечит существенное превосходство в конкурентной борьбе с компаниями, которые в настоящее время предоставляют аналогичные услуги [8].
2 Техническая часть
2.1 Возможности коммуникационной платформы МС-240
2.1.1 Общие положение
ЦАТС «МС-240» является современной коммуникационной платформой с высокими техническими и экономическими показателями, применяется на ВСС России, и том числе в ВСС нашей Республике в качестве оконечной, узловой, центральной АТС, учрежденческо-производственной и гостиничной АТС, коммутатора оперативно-диспетчерской и селекторной связи, узла сетевой служебной связи.
ЦАТС «МС-240» имеет Сертификат RU.C.33.007.A№ 25622 об утверждении типа средств измерений (тарификаторов цифровыхАТС МС240) и Сертификат № ОС-1-С-0020. Сельская цифровая автоматическая телефонная станция "МС240" (версия ПО V5), технические условия № ТУ 6651-004-33433783-2005. ЦАТС «МС-240» также сертифицирована в Республике Казахстан.
ЦАТС «МС-240» имеет блочно-модульную архитектуру (рисунок 2.1). Один абонентский блок имеет емкость до 384 АК с шагом наращивания 24 абонентских комплекта. Центральный процессор станции позволяет путем подключения абонентских блоков расширения увеличить емкость до 1920 АЛ с нагрузкой 0,5 Эрл и до 28 цифровых потоков Е1 с нагрузкой 1 Эрл.

Рисунок 2.1 - Блочно-модульная архитектура «МС-240»
МС-240 обеспечивает следующие основные виды связи и типы соединений:
- автоматическая внутристанционная связь между всеми абонентами станции;
- автоматическая входящая и исходящая связь с абонентами других станций цифровой телефонной сети, а также с абонентами ведомственных сетей;
- транзитная связь между входящими и исходящими линиями и каналами;
- автоматическая исходящая связь к спецслужбам;
- исходящая и входящая автоматическая и полуавтоматическая зоновая, междугородная и международная связь;
- связь в режиме полупостоянной коммутации;
- связь с Центром технической эксплуатации (ЦТЭ).
В станции реализована технология HDSL, позволяющая совместно передавать речь и данные по существующим физическим линиям. В ближайшее время будет реализована технология ADSL. Для подключения к VoIP сетям выпускается модуль шлюза TM.IP. Модуль устанавливается в абонентский блок станции и занимает одно слото-место. Модуль IP-телефонии дает возможность подключать абонентов IP и создавать корпоративные сети IP-телефонии с единым номерным планом.
2.1.2 Области применения станции МС-240
Центральная АТС. Применяется в качестве центральной АТС, в том числе для телефонизации сельских административных районов (рисунок 2.2).

Рисунок 2.2 - Центральная АТС
Узловая/оконечная АТС. Используется для телефонизации сельских административных районов, применяется в качестве сельско-пригородного узла, узловой и оконечной АТС, коммутационного выноса (рисунок 2.3).
Учрежденческо-производственная АТС. Предназначена для организации сети связи на предприятиях любого масштаба (малого, среднего и крупного бизнеса) до 10 тысяч номеров. УПАТС позволяют строить свои ведомственные сети и иметь распределенные выходы в сети общего пользования (ТфОП). Включение в ТфОП может быть как по аналоговым СЛ, так и по цифровым трактам.
В УПАТС могут включаться системные телефонные аппараты для организации систем диспетчерской, селекторной связи и конференц-связи. Диспетчерская и селекторная связи возможны при использовании системных телефонов моделей DKT-2321, DKT-1110, и подключенных к ним консолей расширения DPEM. Система позволяет организовать до 20 групп конференц-связей и до 20 селекторов. Число участников одной конференц-связи достигает 20 человек. Максимальное количество участников в селекторе достигает 100 человек. Абонентами диспетчерской связи и участниками селекторов могут быть как абоненты станции МС-240 так и абоненты других АТС, включенных по цифровым или аналоговым СЛ.

Рисунок 2.3 - Узловая/оконечная АТС
Включение в IP сеть. В станции МС-240 на базе шлюза TM.IP реализована возможность стыковки с сетями NGN и организации недорогой междугородной и международной телефонной связи с выходом в действующие сети различных операторов IP-телефонии. Шлюз устанавливается в абонентский блок станции и занимает одно слото-место. Модуль IP-телефонии дает возможность подключать абонентов IP и создавать корпоративные сети IP-телефонии (рисунок 2.4).

Рисунок 2.4 - Включение в IP сеть
Создание центров технического обслуживания и эксплуатации. Оконечные/узловые станции серии МС240 ориентированы на централизованное обслуживание, при этом возможно подключение сервисного терминала в местах установки (рисунок 2.5). Аппаратные и программные средства станции позволяют проводить удаленную диагностику ее работы, в том числе диагностику абонентских линий, например, измерение посторонних напряжений на линейных проводах, измерение величины сопротивления изоляции и емкости между проводами, между проводами и землей. При поставке станции возможна комплектация программным обеспечением, позволяющим организовать централизованную систему технической эксплуатации станций района (ЦТЭ).
ПО ЦТЭ позволяет осуществлять следующие функции:
- подготовка конфигураций станций, сохранение их на устройстве хранения данных ЭВМ, запись и чтение конфигураций станций;
- многоуровневый мониторинг сети станций c накоплением и хранением информационных и аварийных данных;
- интерфейс для подключения внешних систем мониторинга;
- оперативное управление станциями, блокирование и разблокирование СЛ и абонентских комплектов;
- диагностирование станционного оборудования, накопление и хранение информационных и аварийных данных;
- тестирование абонентских линий - по запросу оператора или автоматическое (по расписанию), накопление результатов проведенных измерений;
- сбор и экспорт учетной информации о состоявшихся разговорах; прием и обработка сигналов телеметрии от контрольных устройств объектов;
- передача сигналов управления в контрольные устройства объектов. ПО ЦТЭ функционирует на базе персонального компьютера (ПК) в среде ОС Windows 98/2000/XP.

Рисунок 2.5 - Создание ЦТЭ на базе оборудования МС-240
2.1.3 Дополнительные виды обслуживания
Дополнительные виды обслуживания станции МС-240 приведены ниже:
- передача входящего вызова к другому оконечному абонентскому устройству (переадресация);
- передача вызова в случае занятости абонента;
- передача входящего вызова оператору;
- передача входящего вызова на автоинформатор;
- повторный вызов без набора номера;
- соединение с абонентом по предварительному заказу;
- ввод (замена) или отмена личного кода - пароля;
- запрет некоторых видов исходящей связи;
- запрет исходящей и входящей связи, кроме связи с экстренными службами;
- временный запрет входящей связи;
- передача соединения другому абоненту;
- конференц-связь с последовательным сбором участников;
- установка на ожидание освобождения вызываемого абонента, называемая иногда "ожидание с обратными вызовом";
- конференц-связь трех абонентов;
- наведение справки во время разговора;
- сокращенный набор абонентских номеров;
- соединение без набора номера (прямой вызов);
- вызов абонента по заказу (автоматическая побудка);
- определение номера вызывающего абонента (улавливание злонамеренного вызова) на АТС;
- уведомление о поступлении нового вызова;
- конференц-связь по списку;
- подключение к занятому абоненту с предупреждением о вмешательстве;
- поисковая сигнализация;
- отмена всех услуг;
- исходящая связь по паролю;
- временное ограничения входящей связи;
- организация групп общих интересов.
Возможна разработка и внедрение в ПО необходимых функций ДВО по согласованию с заказчиком.
2.1.4 Абонентские линии, типы, сигнализация
АТС позволяет использовать следующие типы оконечных абонентских устройств:
- телефонные аппараты с импульсным или частотным набором номера;
- телефонные аппараты с частотным набором номера;
- устройства широкополосного доступа (xDSL);
- устройства передачи данных (модем, факс);
- удаленные абонентские устройства (по протоколам ТДН и АДАСЭ);
- абонентские устройства с цифровым уплотнением;
- спаренные абонентские устройства (с разделением полярности питания абонентского шлейфа);
- таксофоны местной телефонной связи;
- таксофоны междугородной связи;
- универсальные таксофоны местной и междугородной связи;
- телефоны с функцией CallerID;
- абонентские VoIP шлюзы;
- IP телефоны.
Максимальное сопротивление шлейфа аналоговой абонентской линии достигает 3 кОм.
В режиме "повышенная дальность" допускается шлейф до 6 кОм.
2.1.5 Соединительные линии, типы, сигнализация
АТС может работать со следующими типами соединительных линий:
- цифровые соединительные линии со скоростью передачи 2048 кбит/с (ИКМ-30) с протоколами сигнализации типа 1ВСК, 2ВСК (набор декадный, челнок, пакет), PRI(EDSS) и ОКС №7;
- цифровые соединительные линии со скоростью передачи 1024 кбит/с (ИКМ-15);
- цифровые соединительные линии по стыку G.SHDSL со скоростью передачи до 2312 кбит/сек для использования в качестве СЛ или уплотнения абонентской линии;
- аналоговые четырёх/шестипроводные соединительные линии с любыми типами внутриполосной и внеполосной сигнализации (в том числе ТДН, АДАСЭ, ССС);
- аналоговые двухпроводные абонентские линии, для связи с районной АТС;
- IP-сети по протоколам H.323/SIP.
2.1.6 Нумерация
Станция обеспечивает работу на телефонных сетях с открытой нумерацией с индексом выхода и на сетях с закрытой нумерацией. Внутренняя номерная значность станции может гибко конфигурироваться и может достигать 8 знаков.
ЦАТС «МС-240» поддерживает множественный план нумерации, позволяя создавать «виртуальные АТС» в пределах одной станции (услуга Centrex), гибко маршрутизировать транзитные соединения.
2.1.7 Конструкция
Конструкция станции имеет блочно-модульную структуру. Модули станции устанавливаются в общий 19" блок высотой 6U. В один абонентский блок можно установить до 16 модулей периферии. Модули периферии устанавливаются в соответствии с требуемой номерной емкостью и количеством СЛ. Модульное построение обеспечивает возможность комплектации и конфигурирования станции в соответствии с требованиями потребителя. Подключение оборудования производится через разъемы, расположенные на задней стенке блока.
2.1.8 Электропитание
Электропитание коммутатора потоков осуществляется от сети постоянного тока напряжением 60 В. Каждый его модуль (ЦКП, М16Е1) имеет встроенный источник вторичного электропитания.
Электропитание ЦАТС осуществляется от сети постоянного тока напряжением 24…60 В. Возможно использование сети переменного тока напряжением 220 В, что определяется при заказе. Средняя потребляемая мощность составляет примерно 0.7 Вт на абонента при нагрузке 0,2 Эрл по абонентским линиям.
Возможна комплектация станции устройством электропитания УЭП1-4, предназначенным для питания станции, станционного оборудования и заряда аккумуляторных батарей. УЭП может работать в буфере с резервной аккумуляторной батареей, а также без нее, на любой тип нагрузки. Электропитание УЭП осуществляется от однофазной сети переменного тока с номинальным напряжением 220 В с допустимым отклонением +10/-20 % и частотой 50+2,5/-2,5 Гц.
В состав УЭП входят:
- модули питания (МП) - до 4-х модулей;
- микропроцессорный модуль управления, реализующий контроль параметров УЭП и управление МП;
- несущее шасси с автоматами защиты.
Модуль управления может подключаться к станции «МС240» через интерфейс RS232. Это позволяет осуществлять дистанционный контроль и задание режимов работы УЭП из ЦТЭ. В режиме дистанционного контроля возможно получение информации о наличии входного первичного напряжения 220 В, о напряжении на батарее, токах нагрузки и заряде батареи, выходных токах модулей питания. Возможно дистанционное задание напряжения на батарее и максимального тока заряда батареи. В УЭП имеется защита выходных цепей устройства от коротких замыканий на выходе любого из выпрямителей и на любом выводе для подключения к нагрузке или батарее. Предусмотрено подключение двух линий нагрузки. УЭП комплектуется устройством защиты батарей от глубокого разряда РТБ1-20.
2.1.9 Программное обеспечение
Программное обеспечение (ПО) аппаратуры обеспечивает выполнение следующих функций:
– создание и редактирование конфигурации станции;
– диагностика комплекса в целом;
– диагностика отдельных блоков;
– контроль за аварийным остановом ПО ЦАТС;
– ведение учета повреждений и аварий;
– подготовку информации "помощь" при авариях;
– ведение журнала тестирования абонентских линий;
– возможность работы с несколькими станциями;
– оперативной управление работой станции;
– система разграничения доступа пользователей.
Тип операционной системы: Windows 98/2000/Me/XP. Документацией на ПО является «МС-240. Руководство по эксплуатации: Часть «Программа конфигурирования и мониторинга». В данной части руководства подробно изложены этапы создания конфигурации станции, а также методы опертивного управления и мониторинга состояния.
2.1.10 Параметры надежности
МС-240 позволяет:
- Среднее расчетное время наработки на отказ одного канального комплекта - не менее 40 000 ч. Критерием отказа является невозможность установления одного соединения в течение 10 мин. при исправной работе встречного канального интерфейса.
- Назначенный срок службы - не менее 20 лет.
- Среднее время восстановления рабочего состояния - не более 10 мин. при использовании резервных модулей.
Обеспечивается сохранность внутреннего программного обеспечения при любых видах повреждений, а также автоматическое восстановление рабочего состояния и данных сразу после устранения неисправности.
2.2 Архитектура и модули МС-240
2.2.1 Архитектура
ЦАТС «МС-240» имеет блочно-модульную архитектуру. В состав станции входят:
- БКП – блок коммутатора потоков - для коммутации до 100 потоков Е1.
- БСЛ – блок СЛ - для подключения к БКП аналоговых и цифровых СЛ.
- БАЛ – абонентский блок.
Блок коммутатора потоков используется при построении центральной АТС или крупного опорно-транзитного узла и может иметь в своём составе до 2-х процессоров и 8-ми модулей цифровых соединительных линий М16Е1. Блок коммутатора потоков БКП имеет емкость до 100 потоков Е1 для подключения цифровых СЛ, блоков БСЛ и БАЛ, поддерживает все применяемые на ВСС России типы сигнализаций. Абонентские блоки центральной станции имеют емкость до 384 АК с шагом наращивания 24 абонентских комплекта. Каждый блок подключается к коммутатору от 1 до 4 цифровых СЛ. Максимальная емкость станции зависит от количества СЛ и требуемой пропускной способности по нагрузке каждого абонентского блока и может достигать 10 000 номеров.
При построении АТС малой и средней емкости используется БАЛ, к которому может быть подключено до 4 дополнительных абонентских блоков. Помимо модулей АК в БАЛ могут быть установлены модули аналоговых и цифровых СЛ (Е1, ИКМ-15, DSL). Процессор абонентского блока позволяет обслуживать до 1920 АЛ с нагрузкой 0,5 Эрл, до 28 цифровых потоков Е1 с нагрузкой 1 Эрл.
Блок коммутации потоков. Блок коммутации потоков представляет собой отдельный блок, в который устанавливаются один или два модуля центрального процессора (ЦКП) и до восьми модулей М16Е1. Коммутатор потоков является частью центральной станции, к нему можно подключить до 100 потоков Е1 и оконечные блоки с модулями абонентских комплектов и соединительных линий.
Модуль центрального процессора (ЦКП) включает в свой состав коммутационную матрицу на 4096 точек коммутации, два сигнальных процессора для формирования стандартных сигналов станции, выдачи речевых сообщений и выполнения функций высокоскоростных контроллеров обмена с платами цифровых стыков.
Модуль цифровых СЛ М16Е1 содержит 16 комплектов цифровых линейных интерфейсов Е1. Каждый модуль М16Е1 имеет выделенный канал связи с каждым из установленных в коммутатор процессоров. Канал связи с центральным процессором построен на технологии LVDS. В каждом канале связи проходят 512 каналов по 64 кбит/с для пропускания голосового трафика и отдельная линия межпроцессорного обмена. Количество разговорных каналов позволяет говорить о нагрузочной способности до 1 Эрланга на цифровую СЛ.
Блок абонентских линий. Модуль центрального процессора имеет три асинхронных последовательных порта - для связи с программой конфигурирования и мониторинга (непосредственно или с использованием модема), для подключения блока телеметрии и контроллера УЭП. На модуле процессора также расположен порт Ethernet с поддержкой стандартного стека протоколов TCP/IP. Порт может использоваться для управления, конфигурирования и контроля системы.
Для хранения данных в процессоре применен накопитель Compact Flash. Он предназначен для хранения резервных файлов конфигурации, дополнительных файлов фраз для речевой подсистемы и хранения информации о состоявшихся разговорах и системных журналов аварий и событий. Объем хранимой информации практически неограничен.
Модуль абонентских комплектов 24АК выполнен на основе интегрированного комплекта микросхем фирмы Infineon. Это позволило создать надежный модуль с оптимальным соотношением цена/качество, реализующий помимо стандартных функций аналоговых окончаний встроенные функции самодиагностики и измерения параметров абонентских линий, а так же прием DTMF по каждой линии, генерацию CallerID/АОН, формирование повышенного напряжения и переполюсовку линии для таксофонов.
Защита комплектов реализована на основе рекомендаций и элементной базы фирм Infineon и SGS-THOMSON Microelectronics и реально обеспечивает выполнение требований по устойчивости к воздействию перенапряжений и избыточных токов согласно рекомендации К.20 МККТТ и «Общих технических требований к сельским АТС». При этом на кроссе станции устанавливается только защита по перенапряжению (разрядники).
Субмодуль телеметрии МТС, которым комплектуется каждый блок станции, позволяет осуществлять дистанционный контроль параметров окружения станции. Модуль не занимает стандартного слота периферии. Информация, формируемая данным модулем, программно доступна со стороны процессора блока и ПО ЦТЭ и позволяет выполнять следующие функции:
- контроль состояния охранной, пожарной и др. сигнализаций - до 8 точек;
- выдача сигналов управления внешним оборудованием - (сухие контакты реле - 4 пары);
- контроль параметров окружающей среды (температура, влажность).
2.2.2 Модули системы МС-240
На МС-240 рассмотрены следующие типы модулей: базовые модули, абонентские модули, модули соединительных линий, дополнительные модули. Составы этих модулей даны в конце пояснительной записки [П.Д].
Модули абонентских комплектов. Модули абонентских комплектов выполнены на базе новой разработки фирмы Infineon - комплекте микросхем DuSLIC. Данный набор микросхем позволяет реализовать дополнительные возможности по сравнению со стандартной дискретной схемой абонентского комплекта.
В частности это:
- встроенное тестирование параметров линии и абонентских комплектов без применения дополнительного оборудования;
- измерение посторонних напряжений на линейных проводах, измерение величины сопротивления - изоляции и емкости между проводами и между проводами и землей;
- встроенное тестирование комплектов;
- формирование индукторного вызова;
- эффективная схема защиты программного изменения режимов работы абонентских комплектов.
В станции МС-240 реализована возможность выбора оптимального режима работы абонентского комплекта:
- нормальный режим - питание на линии -48В, применяется в большинстве случаев. Сопротивление абонентского шлейфа (вместе с ТА) - до 3 кОм;
- режим пониженного потребления - питание на линии - 24В, применяется для подключения близко расположенных абонентов. Сопротивление абонентского шлейфа - до 1,5 кОм;
- режим повышенной дальности - питание на линии 90В, применяется для подключения удалённых абонентов. Сопротивление абонентского шлейфа - до 6 кОм.
Модуль абонентских линий 8АЛ. Модуль абонентских линий 8АЛ предназначен для организации исходящей и входящей связи по абонентским линиям АТС с сигнализацией со стороны АТС индукторным вызовом, а в сторону АТС - замыканием шлейфа. Конструктивно выполнен как отдельный блок (рисунок 2.6).

Рисунок 2.6 - Модуль абонентских линий 8АЛ
Какие возможности обеспечивает комплект АЛ показаны в конце пояснительной записки [П.Д].
Модуль цифровых стыков 2Е1. Модуль цифровых стыков 2Е1 предназначен для подключения цифровых потоков Е1 по стыку G.703 со скоростью 2048 кбит/с (рисунок 2.7). Модуль обеспечивает непосредственную поддержку семейства протоколов 2ВСК, применяемых на общегосударственной и ведомственных сетях связи России и стран СНГ:
- протокол исходящей СЛ (местной и междугородной);
- протокол входящей СЛ (местной и междугородной).
Используются следующие способы приёма и передачи набора номера:
- декадный набор;
- "импульсный челнок";
- "импульсный пакет 1";
- "импульсный пакет 2".

Рисунок 2.6 - Исполнение модуля цифровых стыков 2Е1
Обеспечивается приём и выдача информации АОН в коде "2 из 6" безынтервальным пакетом на любом этапе установления соединения, а также при установленном соединении (с кратковременным переходом в предответное состояние).
Кроме того, поддерживается протокол E&M, ставший стандартом дефакто на импортных УАТС. Для согласования с конкретной реализацией протокола, положение бита сигнализации и его полярность программируется. Набор номера может осуществляться декадным способом или тональным (DTMF). Для организации выноса (транзита) абонентского номера по потоку Е1 и доступа к удалённой АТС (режим удалённого мультиплексора), поддерживаются протоколы FXS (удалённый абонент) и FXO (удалённая АТС). Если требуется обеспечить доступ к селективным (служебным) каналам ТЧ, до которых есть цифровой тракт, введена поддержка внутриполосной сигнализации, в том числе протокола ССС и ССС-2.
Модуль обеспечивает выделение из входящих потоков тактовой частоты и выдачу в магистраль станции в сторону ЦП сигнала синхронизации для работы коммутатора в ведомом режиме от вышестоящей станции. На центральном процессоре при этом устанавливается субмодуль синхронизации. Число входов для синхросигнала и, соответственно, число потоков, от которых может браться синхронизация, -2.
Модуль обеспечивает работу в синхронном режиме при синхронизации центрального процессора станции от внешней ИКМ линии, или внешней станции от ИКМ линии платы, либо работу в плезиохронном режиме (с проскальзыванием по циклу).
Модуль состоит из двух комплектов Е1. Возможно включение транзита произвольного канального интервала на один из аналоговых (цифровых) комплектов станции, тем самым обеспечивается функция гибкого мультиплексирования. При транзите канала(ов) с одного потока на другой в пределах одного модуля имеется возможность организации одинаковой временной задержки всех транзитных каналов, что требуется для функции вставки-выделения каналов. В данном режиме можно также организовать транзитный групповой канал, то есть использовать функцию переходного устройства.
3 Рабочая документация
3.1 Расчет качественных показателей телефонной сети
3.1.1 Общие положения
Цифровая коммутационная система МС-240 может применятся во всех случаях: от ОС до АМТС средней емкости общегосударственных телефонных сетей, а так же на ведомственных в качестве УАТС, но наибольший интерес представляет применение станции на сельских телефонных сетях.
Это связано с большой разбросанностью и относительной малочисленностью абонентов СТС, что приводит к большим затратам на абонентские и соединительные линии.
В настоящем дипломном проекте необходимо учитывать следующие исходные данные:
1. Назначение АТС: оконечная станция типа МС-240.
1.1 Общее количество абонентов включенных в АТС: N= 500
1.2 Количество универсальных таксофонов: 2 %.
1.3 Количество кабин переговорных пунктов: 2 %.
2. Сведения о существующей сети приведена ниже в виде таблицы 3.1.
Таблица 3.1 – Сведения о существующей сети
| Номер АТС | Тип АТС | Емкость АТС, номеров |
Расстояние, км | Тип СП | Примечание |
| ОС | МС-240 | 500 | 23 | КНК-12 | |
| ЦС | SI-2000 | 2500 | 23 | КНК-12 | на другие АТС (ОС, УС) через ЦС |
| CТС | 1350 | ||||
| Итого | 3850 |
3. Данные по телефонной нагрузке: согласно ВНТП1 12-98.
3.1.2 Разработка структурной схемы ОС
Число модулей для подключения абонентских линии (абонентские модули) определяется монтированной емкостью станции. Найдем общее число линий, включенных в абонентские модули:
N = Na + NHX + NK +NT + Npnn (3.1)
где Na - число абонентов административного сектора (10%); nhx- число абонентов народно - хозяйственного сектора (32%); NK - число абонентов квартирного сектора (54%); NT - число универсальных таксофонов (2%); Npnn - число линий от кабин переговорных пунктов (2%) (данные из статистики). Для наглядности приведем в виде таблицы 3.2.
Таблица 3.2 - Числа абонентов различной категории
| Категории | Na | nhx | NK | NT | Npnn |
| Количество, портов | 50 | 160 | 270 | 10 | 10 |
Определим количество AМ (по технической характеристике МС-240 в один модуль абонентских комплектов можно подключить 16 абонентов):
S16ак =En[N-1/16+1](3.2)
S16ак = En[500-1/16+1]= 33
3.1.3 Распределение источников нагрузки проектируемой ОС по модулям 16АК
Источники нагрузки по возможности должны равномерно распределятся между модулями. Расчет сводим в таблицу 3.3.
Таблица 3.3 - Распределение источников нагрузки в модулях 16АК
Номер модуля |
Na | nhx | Nкв | Nтсф | Nкаб | Nобщ | Количество точек включенных в один модуль | Число модулей данного вида |
| 16АК0 | 2 | 5 | 8 | 1 | 15 | 16 | 33 | |
| 16АК1 | 1 | 5 | 8 | 1 | 15 | 16 | 33 | |
| 16АК2 | 2 | 5 | 8 | 1 | 15 | 16 | 33 | |
| 16АК3 | 1 | 5 | 8 | 1 | 15 | 16 | 33 | |
| 16АК4 | 2 | 5 | 8 | 1 | 15 | 16 | 33 | |
| 16АК5 | 1 | 5 | 8 | 1 | 15 | 16 | 33 | |
| 16АК6 | 2 | 5 | 8 | 1 | 15 | 16 | 33 | |
| 16АК7 | 1 | 5 | 8 | 1 | 15 | 16 | 33 | |
| 16АК8 | 2 | 5 | 8 | 1 | 15 | 16 | 33 | |
| 16АК9 | 1 | 5 | 8 | 1 | 15 | 16 | 33 | |
| 16АКn | 2 | 5 | 8 | 1 | 15 | 16 | 33 | |
| 16АК33 | 2 | 5 | 8 | 1 | 16 | 16 | 33 | |
| Итого | 50 | 160 | 270 | 10 | 10 | 500 |
3.1.4 Расчет и распределение нагрузки на сети
3.1.4.1 Расчет интенсивности абонентской нагрузки
Возникающую нагрузку создают вызовы (заявки на обслуживание), поступающие от абонентов (источников) и занимающие на некоторое время различные соединительные устройства станции.
Согласно ведомственным нормам технологического проектирования следует различать три категории (сектора) источников: деловой сектор, квартирный сектор и таксофоны.
При этом интенсивность местной возникающей нагрузки может быть определена, если известны следующие ее основные параметры:
- Nд, Nкв, Nт - число телефонных аппаратов делового сектора (для упрощения объеденяем административный и народнохозяйственные сектора), квартирного сектора и таксофонов;
- Cд, Cкв, Cт - среднее число вызовов в ЧНН от одного источника i-й категории;
- Tд, Tкв, Tт - средняя продолжительность разговора абонентов i-й категории в ЧНН;
- Pр - доля вызовов, закончившихся разговором.
Интенсивность возникающей местной нагрузки источников i-й категории, выраженная в Эрлангах, определяется формулой
, Эрл (3.3)
где ti - средняя продолжительность одного занятия, с.
(3.4)
Продолжительность отдельных операций по установлению связи, входящих в формулу, принимают следующей: время слушания сигнала ответа станции tсо=3c; время набора n знаков номера с дискового ТА n*tн=n*1.5c; время набора n знаков номера с тастатурного ТА n*tн=n*0.8c; время посылки вызова вызываемому абоненту при состоявшемся разговоре tпв=7-8c; время установления соединения tу с момента окончания набора номера до подключения к линии вызываемого абонента зависит от вида связи, не делая большой погрешности, можно принять tу=2c.
Коэффициент 'a' учитывает продолжительность занятия приборов вызовами, не закончившимися разговором (занятость, не ответ вызываемого абонента, ошибки вызывающего абонента). Его величина в основном зависит от средней длительности разговора Ti и доли вызовов, закончившихся разговором Pp, и определяется по графику [ ].
Средняя продолжительность одного занятия в квартирном и деловом секторе для АТСЭ:
![]()
![]()
Интенсивность возникающей местной нагрузки от квартирного делового сектора:
Yкв=1/3600*270*0,9*69,62=4,70 Эрл
Yнх=1/3600*230*3,1*59,52=11,78 Эрл
Нагрузка к спецслужбам:
Yсп=0,03*500=15 Эрл(3.5)
Таким образом, возникающая на входе ЦКП местная нагрузка от абонентов различных категорий, включенных в проектируемую станцию, определяется формулой:
Yвоз = Yнх + Yкв +Yсп (3.6)
Yвоз =4,70+11,78+15=31,48 Эрл
Внутренняя нагрузка определяется:
Yвн= Yвоз*Nj/Nсети (3.7)
Yвн=31,48*500/3950=3,98 Эрл
Междугородную исходящую нагрузку, то есть нагрузку на заказно-соединительные линии (ЗСЛ) от одного аналогового абонента можно считать равной 0,003 Эрл, и ее нужно прибавить к местной нагрузке.
Yмг=0,003*N(3.8)
Yмг =0,003*500= 1,5 Эрл
Аналогично междугородной нагрузке, исходящую и входящую международную нагрузку считаем равными, но 0,006 Эрл на одного абонента, и ее нужно прибавить к местной нагрузке.
Yмн=0,006*N(3.9)
Yмн =0,006*500=3 Эрл
Исходящая нагрузка от абонентов АТСЭ определяется:
Yисх=(Yвоз-Yвн)+Yмг+Yмн (3.10)
Yисх =(31,48 - 3,98)+1,5+3=32 Эрл
Результаты расчетов сведем в таблицу 3.4 и таблицу 3.5.
Таблица 3.4 - Исходящая нагрузка на ОС
Наименование модуля |
Наименование нагрузки, Эрл | |||||||
| Yкв | Yнх | Yсп | Yвоз | Yвн | Yмг | Yмн | Yисх | |
| Модуль 16АК | 4,70 | 11,78 | 15 | 31,48 | 3,98 | 1,5 | 3 | 32 |
| Всего | 4,70 | 11,78 | 15 | 31,48 | 3,98 | 1,5 | 3 | 32 |
3.1.4.2 Расчет входящей нагрузки на АТСЦ
Для расчета входящей нагрузки на АТСЦ необходимо знать емкость каждой АТС на сельской телефонной сети и коэффициент тяготения между станциями внутри узлового района, т.е. необходимо знать возникающую нагрузку от других АТС СТС воспользуемся следующей формулой:
Yрi.=Nn*0,060 Эрл(3.11)
где Nn- емкость n - АТС сети; 0,060 - удельная нагрузка на выходе КП АТС, создаваемая одним абонентом (0,040-0,060 Эрл/АЛ).
Абоненты рассматриваемой ОС п. Гастелло связаны с другими АТС СТС через ЦС, поэтому достаточно определить в упрощенном виде:
Api.=3850*0,060=231 Эрл
Чтобы определить величину нагрузок между проектируемой и существующими АТС, можно использовать метод пропорций:
Аij=Api*Nj/Nc(3.12)
Аij=231*500/3850=30 Эрл
Интенсивность средней входящей междугородной нагрузки на СЛМ (соединительную линию междугородную) определяется:
(3.13)
где аслм - удельная входящая междугородная нагрузка на одну абонентскую линию (Эрл). По рекомендациям ВНТП 0,0075 Эрл/АЛ [ ]:
Эрл
Аналогично определяем для абонентов входящую междугородную связь ASM и вносим в таблицу 3.5.
Таблица 3.5 - Расчет входящей нагрузки на АТСЦ (ОС3)
Наименование модуля |
Api., Эрл. (СТС) |
Аij, Эрл. (ЦС-ОС3) |
Амг, Эрл. | Аобщ вх, Эрл. | |
| ASM | 231 | 30 | 3,75 | 1,88 | 35,63 |
3.1.4.3 Расчет числа исходящих и входящих соединительных линий
Исходными данными для расчета числа СЛ являются величины нагрузок, поступающих на пучки линий и нормы потерь. Число СЛ определяется по первой формуле Эрланга. Результат определения числа СЛ от ОС по всем направлениям сводятся в таблицу 3.6.
Полнодоступное включение СЛ имеют АТС типа Квант, АТСК 50/200, все цифровые АТС и АМТС.
Неполнодоступное включение СЛ на сельских телефонных сетях имеют АТСК 100/2000. Для расчета числа входящих СЛ воспользуемся методом эффективной доступности. Для АТСК 100/2000 расчет производим при Вэ = 12. В нашем случае данный способ не применяется, так как оборудовании ОС и ЦС цифровые. Для нашего случае данный способ не применяется.
Распределение нагрузки на проектируемой ЦАТС (ОС3) показано на рисунке 1 Приложения Е.
Расчёт количества каналов и потоков определяется:
Vобщ = (Yвх. + Yвх.АМТС + Yвх.Мг + Yисх.АМТС +
+ Yисх. .Мг + YУСС + Yисх.) / 0,7+1 Эрл (3.14)
где 0,7 - стандартный коэффициент нагрузки на 1 канал.
Vобщ = (30 +3,75 +1,88 +3 + 1,5 + 3 + 15 + 32 )/0,7+1 = 130 линии
Число соединительных линий на отдельных участках сети (таблица 3.6).
Таблица 3.6 - Число соединительных линий на отдельных участках сети
| Направление | Нагрузка, Эрл |
Потери, Эрл. | Число СЛ | Число потоков | Примечание |
| ОС 3 - ЦС | 32 | 0,005 | 67 | 2+1 | 3 неполных потоков |
| ЦС - ОС 3 | 30 | 0,005 | 63 | 2+1 | 3 неполных потоков |
Из расчетов видно, что количество СЛ между ЦС и ОС8 (п. Гастелло) на базе аналогового оборудования КНК-12 не удовлетворяет растущий спрос населения и организации по оказанию услуг телекоммуникации, поэтому необходимо в будущем заменить устаревшую аппаратуру и линию связи (МСС).
Необходимое количество блока модуля соединительных линии 2Е1 определяется по формуле:
(3.15)
![]()
Спецификация необходимых блоков приведены ниже в виде таблицы 3.7.
Таблица 3.7 – Спецификация оборудования ОС3
| Наименование модуля | Обозначение | Состав и назначение | Количество | Примечание | |||||
| 1 | 2 | 3 | 4 | 5 | |||||
| Блок коммутации потоков | |||||||||
| Модуль процессора коммутатора потоков | ЦКП | Управление работой блока, цифровая коммутация каналов | |||||||
| Модуль цифровых потоков коммутатора потоков | М16Е1 | Модуль цифровых СЛ для подключения до 16-ти цифровых потоков Е1 | |||||||
| Блок абонентских линий. Базовые модули | |||||||||
| Модуль блока питания | БП24-60 | Питание аппаратуры от источника постоянного тока напряжением 24… 60 В | |||||||
| БП220 | Питание аппаратуры от источника переменного тока 220 В / 50Гц | ||||||||
| Модуль центрального процессора | ЦП | Управление работой блока, цифровая коммутация каналов, установка субмодулей C4E1, СКС и CГC | |||||||
| Субмодуль 4Е1 | С4Е1 | 4 интерфейса Е1 | |||||||
| Субмодуль LVDS | СКС | Подключение до 4-х блоков расширения | |||||||
| Субмодуль голосовых сообщений | СГС | Реализация функций голосовых сообщений и автоинформатора | |||||||
| Модуль расширения | КС | Контроль блока расширения и связь с основным блоком станции | |||||||
| Субмодуль телеметрии | МТС | Интерфейс для подключения датчиков и исполняющих устройств. Устанавливается на обратной стороне каркасе, не занимает слотоместа. | |||||||
| Блок СОРМ | СОРМ | Используется для обеспечения функций СОРМ, исполнение 19” 1U. | |||||||
| Блок абонентских линий. Абонентские модули | |||||||||
| Модуль абонентских комплектов | 24АК | 24 абонентских комплекта, со встроенной защитой по току и напряжению, встроенное тестирование АЛ, генерация вызывного напряжения, генерация CallerID/АОН, прием DTMF, переполюсовка, подача тарифных импульсов | |||||||
| Модуль спаренных абонентских комплектов | 16СК | 16 спаренных комплектов, со встроенной защитой по току и напряжению | |||||||
| Модуль системных телефонов | 16СТ, 24СТ | 16/24 комплекта для подключения цифровых системных аппаратов | |||||||
| Выносной модуль | ТАД-4 | 4 абонентских комплекта с тестированием АЛ + Ethernet | |||||||
| Абонентский/станционный модуль DSL | 4DSL | 4 комплекта для подключения блоков ТАД-4 или организации межстанционной связи по DSL линиям (G.SHDLC) + Ethernet | |||||||
| Блок абонентских линий. Модули соединительных линий | |||||||||
| Модуль цифровых потоков | 2Е1 | 2 комплекта цифрового линейного интерфейса со скоростью 2048 кбит/с (AMI, HDB3) | |||||||
| Модуль цифровых потоков ИКМ-15 | 2И15 | 2 комплекта цифрового линейного интерфейса со скоростью 1024 кбит/с (NRZ, AMI, HDB3) | |||||||
| Модуль цифровых СЛ | 8ТМ | Модуль цифровых СЛ для подключения к станции до 8-ми цифровых потоков Е1 со скоростью 2048 кбит/с | |||||||
| Модуль окончаний каналов ТЧ | 8ТЧ | 8 комплектов двух/четырёх/шестипроводных окончаний каналов ТЧ, внеполосная и внутриполосная сигнализация | |||||||
| Модуль аналоговых 2хпр. СЛ | 8АЛ | 8 комплектов для подключения в абонентские комплекты АТС | |||||||
| Шлюз IP | TM.IP | Модуль шлюза для подключения к IP-сетям, интерфейс 100 BASE-T | |||||||
3.2 Математические методы анализа цифровых АТС
3.2.1 Определение пропускной способности коммутационного поля
На рисунке 3.1 приведена структура системы коммутации каналов. На вход системы поступает простейший поток вызовов с параметрами λ. Для вызова, поступающего на вход системы, может потребоваться соединение с одним и только одним каналом, причем безразлично, с каким именно, и по какому пути. Длительность обслуживания для всех непотерянных вызовов предполагается независимой и распределена по одинаковому для всех вызовов экспоненциальному закону со средней длительностью обслуживания, равной μ-1 параметры коммутационного поля считается заданным.
Любой вызов обслуживается управляющим устройством, которое получает информацию о поступлении вызова, его требованиях и состоянии самого коммутационного поля.

ИН – источник нагрузки; ОП – обслуживающий прибор; КП – коммутационное поле; УУ – управляющее устройство
Рисунок 3.1 – Структура системы коммутации
На основании такой информации управляющее устройство принимает и осуществляет решение об обслуживании данного вызова, если в момент поступления вызова имеется хотя бы один свободный обслуживающий прибор и соединительный путь к нему через коммутационное поле, или отказе в обслуживании в противном случае. Предполагается, что дисциплина обслуживания зависит только от трех факторов: номера, которому принадлежит данный вызов, номера выхода (обслуживающего прибора или канала связи), с которым требуется соединение, то есть от того, какие именно соединения установлены к моменту поступления рассматриваемого вызова и какими именно путями соединения проходят. Предположим также, что занимаемые пути соединения определяются случайно, а решение об обслуживании и установлении принимается управляющим устройством с интенсивностью Мс .
Влияние управляющего устройства сказывается только на этапе установления соединения, которое абонент ощущает в виде задержек зуммерных сигналов “Ответ станции” и “Контроль посылки вызова”.
В уже установленное соединение, управляющее устройство никаких задержек не вносит. Задержки зуммерных сигналов нормируется Рекомендацией МККТТ Q.514 и вычисляются согласно формуле:
F(t+ )=1-e-( Mc - λ ) t (3.16)
где F(t+ ) – значении функции распределения времени ожидания (ФРВО) конца обслуживания вызова системой в момент tдоп .
Для расчета производительности управляющего устройства исходными являются параметры F(t+ ), tдоп , λ. Подставляя их в (3.16), итеративным приближением находим минимальную производительность управляющего устройства Мс .
Пропускная способность коммутационного поля рассчитывается независимо от параметров (производительности, быстродействия) управляющего устройства и приведена ниже:
π =![]()
где А=λ/μ – интенсивность поступающей нагрузки;
[0]=
Для полнодоступного пучка φХ =0, х=0, V-1, φv =1,
π=Ev
(A)=
(3.17)
Исходными для расчета пропускной способности коммутационного поля являются, параметры π и А. Подставляя их в (3.17), итеративным приближением находим минимальную емкость пучка, обеспечивающую требуемую пропускную способность.
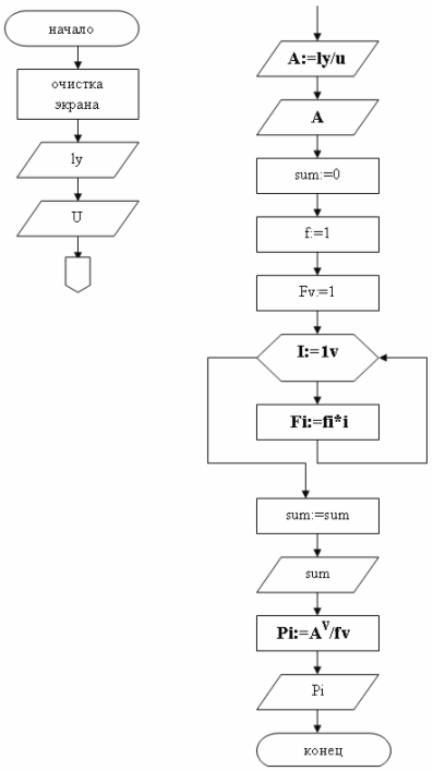
На проектируемую систему коммутации задан поступающий простейший поток вызовов с нагрузкой А=90 Эрл. Средняя продолжительность разговора μ-1 =3 минуты (μ=20ч-1 , минимальная производительность управляющего устройства Мс =5,5 с-1 . Определим функцию распределения времени ожидания конца обслуживания вызова системой коммутации каналов F(t+ ) на уровне tдоп =0,6с и минимальной емкости V=10 каналов. Находим параметр поступающего потока вызова λ=Α*μ=1800 ч-1 =0,5 с-1 .
Решение произведем на языке программирования Pascsal.
program 3.l6;
uses crt;
const e=3.27;
var Ft,ly,t,mc:real;
begin
clrscr;
writeln('e=',e:4:2);
write('inter ly=');read(ly);
write('inter t=');read(t);
write('inter mc=');read(mc);
Ft:=1-exp((-(mc-ly)*t)*ln(e));
writeln('Ft=',Ft:4:4);
end.
inter ly=0.5
inter t=0.6
inter mc=3
Ft=0.9714
program 3.17;
uses crt;
const v=10;
var Pi,A,ly,u,sum,fi,fv:real;
z:array[1..v] of integer;i:integer;
begin
clrscr;
write('inter ly=');read(ly);
write('inter u=');read(u);
writeln('inter v=',v);
A:=ly/u;
writeln('A=',A:4:4);
sum:=0;
fi:=1;
fv:=1;
for i:=1 to v do
fi:=fi*i;
sum:=sum+exp(i*ln(A))/fi;
fv:=fv*i;
Pi:=exp(v*ln(A))/fv;
writeln('Pi=',Pi:4:10);
end.
inter ly=0.5 inter u=3
inter v=10 Pi:=0,0000000001.

Рисунок 3.2 - Структурная схема алгоритма программы 3.16

Рисунок 3.3 – Структурная схема алгоритма программы 3.17
3.2.2 Определение надежности систем коммутации с ненадежными элементами
Современные системы распределения информации представляют собой весьма сложный комплекс программно – аппаратных средств, и в связи с этим надежность всей системы зависит от надежности, как программного обеспечения, так и аппаратных средств.
Понятие надежности программного обеспечения связано с тем, что вычислительный процесс обслуживания вызовов, организуемый управляющим устройством, базируется в оперативном запоминающем устройстве, с информацией о текущем состоянии системы, хранящейся в оперативном запоминающем устройстве с информацией о текучем состоянии системы, хранящийся в периферийном управляющем устройстве. Разночтение между содержимым ОЗУ и ПУУ – вещь совершенно нормальная, ибо именно оно и служит для организации вычислительного процесса, в результате которого УУ «выравнивает» (проводит во взаимно однозначное соответствие) содержимое ОЗУ и ПУУ согласно алгоритму функционирования системы. Однако под действием случайных влияний (помех) содержимое ОЗУ и ПУУ может самопроизвольно (без ведома УУ) измениться и не вписаться в рамки разрешенных логических состояний, свойственных нормальному протеканию процесса обслуживания вызова. Поэтому УУ вынуждено тратить часть своей производительности на восстановление (регенерацию) истинного или, по крайней мере, разрешенного состояния системы. Регенерация производится автоматически операционной системой УУ без вмешательства оператора как в моменты спада нагрузки, так и на фоне обслуживания вызовов, и призвана удерживать пропускную способность системы от последствий помех. Способы и методы, с помощью которых достигается поставленная цель – построение надежного программного обеспечения, - есть сложная самостоятельная задача. Известные методы расчета пропускной способности систем распределения информации часто сводится к использованию одной из двух моделей, учитывающих только неисправность линий (под линией кроме самого комплекта соединительной линии принимается и соответствующие линейно – кабельные сооружения связи) как наименее надежного элемента системы.
В первой модели занятость линии определяется двумя потоками: собственно вызов (с интенсивностью λ, интенсивностью обслуживания μ, интенсивностью нагрузки A=λ/μ) и потоком моментов выхода из строя линий, образуемым конечным числом источников нагрузки – числом исправных линий. В состоянии с k исправными линиями интенсивность выхода одной из них из строя равна kω, интенсивность ее обслуживания θ, интенсивность нагрузки AL =ω/θ. Если предложить, что линии выходят из строя намного реже, чем поступают вызовы, имеем два независимых процесса: процесс обслуживания вызовов, который описывается формулой Эрланга с переменным числом исправных линий, и процесс выхода из строя и восстановления линий, где число исправных линий описывается распределением Энгсета. Следовательно, вероятность потери вызова на V-линейном пучке.
В=
Во второй модели также имеются два потока: простейший поток вызовов с интенсивностью нагрузки A=λ/μ и простейший поток моментов выхода из строя линий, причем последний имеет абсолютный приоритет и интенсивность отказов AL
=ω/θ. Вероятность потери источника вызова B=EV
(A+AL
), а полезная нагрузка A0
= λ(1-B)tm
, где tm
- средняя длительность обслуживания источника вызова. Так как обслуживание вызова может быть прервано, то tm
μ-1
, A0
=A[1-EV
(AL
=a)]-A[EV
(AL
+A)-EV
(A)].
Рассмотрим систему распределения информации, которая в общем виде (рисунок 3.4) состоит из абонентских комплектов, коммутационного поля, комплектов соединительной линии и управляющих устройств. К управляющим устройствам относятся центральное и периферийные управляющие устройства.

Рисунок 3.4 - Модель СМО с надежными элементами
Коммутационное поле имеет N входов, выходы КП разбиты на h направлений, пучок линий в j-м направлении содержит Vj
линий (j=
). Вызову, поступившему на вход системы, может потребоваться соединение с одной и только одной линией определенного для данного вызова направления, причем безразлично, с какой именно и по какому пути.
Поток вызовов, поступающий на вход системы, будем считать примитивным (пуассоновской нагрузкой второго рода), если число источников нагрузки N
100α/μ или простейшим (пуассоновской нагрузкой первого рода) при N>100α/μ. В первом случае параметр свободного источника вызовов α, интенсивность обслуживания вызова μ, интенсивность поступающей нагрузки a0
=α/μ. Во втором случае параметр потока вызовов λ=Nα, интенсивность обслуживания μ, интенсивность нагрузки – А0
=λ/μ. Вероятность того, что поступающий вызов i-го входа потребует соединения с j- м направлением может зависеть как от номера входа, так и от номера направления. Будем считать, что эта вероятность зависит только от j. В этих условиях характер потока вызовов в направлении сохранится, его интенсивность аj
=kj
a0
(Aj
=kj
A0
). Структурные параметры КП предполагаются известными. Элементами системы обладают конечной надежностью.
Последнее означает, что на элементы системы воздействует поток неисправностей, который может быть примитивным или простейшим с интенсивность нагрузке АА.К. для абонентских комплектов, АК.Э для коммутационных элементов КП, АМ.С. для монтажных соединений АЛ для линейных (исходящих, входящих комплектов), АШ для шнуровых комплектов, АР для периферийных управляющих устройств, АС для центрального управляющего устройства. Поток неисправностей всегда примитивны, однако в тех случаях, когда параметр потока неисправностей одного элемента весьма мал, а число элементов велико, характер потока близок к простейшему. Интенсивности восстановления неисправных элементов системы соответственно равны ra . r . ,…, rc .
Любой вызов обслуживается центральным управляющим устройством, имеющим Vс - кратный резерв, которое будучи в неисправном состоянии, через Vр периферийных управляющих устройств получает информацию о поступлении вызова, его требованиях (например, номере в направлении с которым нужно установить соединение или в номере входа по которому поступил вызовов), о состоянии сомой системы, то есть о том, какими путями в КП проходят установленные соединения и какие элементы системы исправны. Неисправные элементы системы обнаруживаются мгновенно.
На основании такой системы ЦУУ принимают и осуществляют решения об обслуживании данного вызова или отказе занятие соединительных путей КП происходит случайно. В случая неисправности ЦУУ всех поступающих системы вызова теряются. При неисправности АК теряются вызовы, поступающие на этот комплект. Восстановление неисправных элементов системы, работающей необслуживаемом режиме, начинается с момента прибытияре5монтно - восстановительной бригады.
За основу расчета примем факт что реальная способность системы определяется числом только исправных элементов. Образующих фактическую структуру системы. Таким образом, определение пропускной способности системы с ненадежными элементами, по сути, сводится нахождению фактической структуры (или нагрузки) и расчету пропускной способности известными методами для систем с абсолютно надежными элементами.
Коммутатор с ненадежными линиями.
Пусть N=n, j=h, Vj =V, s=1, где n – число входов в коммутатор; s – число звеньев коммутации. Надежность коммутационных элементов и монтажных соединений внутри коммутатора намного выше надежности выходов из коммутатора, то есть Ак.э. =Ам.с. =0, Ал >ю предположим, что линии (выходы из коммутатора) выходят из строя намного реже, чем поступают вызовы. Тогда имеем два независимых процесса: обслуживания вызовов с переменным числом dл обслуживающих (исправных) линий, а также выхода и восстановления линий, число неисправных линий в котором равно V-dл . следовательно, с учетом (3.16) вероятность потерь по времени
, (3.18)
где
- условные потери для вызовов первого потока в состоянии с y занятыми линиями второго потока и (V-y) занятыми первого потока.
![]()
где
– потери по формуле Энгсета на dл
- линейном пучке;
– потери по формуле Эрланга на dл
линейном пучке.
Далее приведена программа для расчета ненадежных линий в коммутаторе на языке BASIC. Программа вычисляет вероятность потерь p = Р в полнодоступном пучке с ненадежными линиями при известной емкости пучка V = 1, интенсивности нагрузки поступающего простейшего потока вызовов B = 25,56 на центральную станцию от оконечных станций, интенсивности нагрузки поступающего простейшего потока неисправностей А = 3.
10 INPUT A, B, V
20 V1 = V
30 A1 = B
40 GOSUB 220
50 D = 1
60 W = 1
70 Z = E1
80 IF V <= 0 GOTO 160
90 W = (W * A) / D
100 V1 = V - D
110 GOSUB 220
120 H = W * E1
130 Z = Z + H
140 D = D + 1
150 IF D <= V GOTO 90
160 V1 = V
170 A1 = A
180 GOSUB 220
190 P = Z / Z1
200 PRINT "P="; P
210 STOP
220 I1 = 1
230 W1 = 1
240 Z1 = 1
250 IF V1 <= 0 GOTO 280
260 W1 = (W1 * A1) / I1
270 Z1 = Z1 + W1
280 E1 = W1 / Z1
290 I1 = I1 + 1
300 IF I1 <= V1 GOTO 260
310 RETURN
320 END
? 2,5,1
Р = 0,879.
Выше была приведена программа расчета ненадежных линий в коммутаторе.
3.2.3 Оценка требуемого числа каналов и вероятности потери вызова методом динамики
Используемая формула Эрланга.
При технико – экономической оценке проектируемых канальных емкостей в функции числа абонентов и создаваемой ими нагрузки при заданных характеристиках качества обслуживания. Применительно к системам с коммутацией каналов основной характеристикой является вероятность потери первичного вызова, который для простейшего потока первичных вызовов совпадает с вероятностью занятости всех выходов в системе, или всех единичных каналов. В телефонных сетях требование к качеству по потерям вызовов обычно нормируется средним числом вызовов, приходящихся на один теряемый.
В классической теории телетрафика оценка вероятности Рn потери вызова традиционно базируется на модели многоканальной системы массового обслуживание с отказами. Размеченный граф состояние такой системы показан на рисунке 3.5. Здесь S0 , S1 , …,Sn - состояния, пронумерованные по числу занятых каналов (S0 – все каналы свободны; S1 – заняты один канал, остальные свободны; Sn – заняты все n каналов); интенсивность λ=1/Тз поступление заявок и интенсивность μ=1/tс обслуживания выражаются через средний интервал Tз (между поступлениями заявок) и среднее время tc обслуживания. Для оценки Pn используется формула В Эрланга, или первая формула Эрланга для системами с потерями:

S0 – все каналы свободны; S1 – заняты один канал, остальные свободны; Sn – заняты все n каналов
Рисунок 3.5 – Модель многоканальной системы
Pn
=(Rn
/n!)/
(3.19)
где R= λ/ μ – приведенная интенсивность поступление заявок на обслуживание. Если tc , Тз выражены в часах то R=tc /Тз может интерпретироваться как телефонная нагрузка в Эрлангах.
Определенные неудобства оперирования с факториалами (особенно при больших значениях n ) заставляют для определения Рn или необходимого n при заданном числе N абонентов и фиксированном Рn пользоваться таблицами Еn (R) рекуррентной формулой Еn (R)=F[En -1 (R),n,] либо приближением Стирлинга, практически приводящим к вычислению частного от деления близких табличных значений интеграла Лапласа.
Новая формула для числа каналов.
Метод динамики моментов базируется на тех же исходных линейных дифференциальных уравнениях теории непрерывных Марковских цепей, описывающих изменение вероятностей дискретных состояний в непрерывном времени, что и формула В Эрланга. Метод предусматривает агрегирование состояний однородных и независимых элементов системы на основании того, что среднее число Ei элементов, находящихся в i–м состоянии, есть произведение общего числа элементов n(ΣEi =N) на вероятность пребывания pi в состоянии I (рисунок 3.6).

Рисунок 3.6 – Состояние системы
1 – пассивное состояние элементов системы; 2 – состояние занятия каналов
В данном случае элементами системами являются абоненты, каждый из которых может находиться в одном из двух состояний: в пассивном 1 и в состоянии занятия канала 2 на время сеанса связи (рисунок 3.6).
Если λ и μ – интенсивности перехода одного абонента между состояниями 1,2, то уравнения динамики средних имеют вид:
dE1 /dt=-λE1 + μE2 ;
dE2 /dt=λE1 + μE2 . ;
отсюда для установившегося режима
dE1 /dt=dE2 /dt=0;
среднее число занятых каналов
Е2 =Nρ +(1+ρ),
где ρ=λ/μ.
Пусть дискретная случайная величина на хij может принимать только два значения:
хi
= 1, если j-й элемент находится в состоянии i;
0,в противном случае.
Ряд распределения имеет для каждого j один и тот же вид:
| Значения хi | 0 | 1 |
| вероятности | 1-рi | pi |
Здесь pi – вероятность пребывания в состоянии i.
Поэтому дисперсия численности состояния i=2 есть сумма N одинаковых значений дисперсии величины xij =xi
D[x2 ]=(0-p2 )2 (1-p2 )+ (1-p2 )2 ,
то есть
D2 =E2 (1-E2 /N)=Nρ(1+ρ)2 .
В соответствии с “правилом трех сигм” практически возможное максимальное значение числа занятых каналов составляет Е2
+3
(естественно, в предложении о нормального распределении числа занятых каналов). На этом основании требуемое число n каналов для обслуживания N абонентов, каждый из которых создают в ЧНН нагрузку ρ, выражается как:
n=(Nρ+K
,; (3.20)
где
2,2- при допустимости в среднем одного отказана 70 вызовов;
К= 2,31 – для одного отказа в среднем на 100 вызовов.
K – коэффициент допустимости отказа, определяемый как значение аргумента (нормированного средним квадратическим отклонением) при подходящем значении функции нормального распределения. Заметим, что в (3.2) Nρ имеет тот же смысл, что R в (3.16).
Для оценки точности формулы (3.17) можно сравнить результаты вычислений по (3.17) с таблицами значений требуемого количества каналов n=n(N, Pn), вычисленных по En(R). Такое сопротивление для ρ=0,05 (то есть для нагрузки одного абонента 0,05 Эрл) показало, что даже для небольших значений n (порядка десятков) различие – менее 1% .
Вероятность потери вызова.
Для определенных выше (по методу динамики средних) математического ожидания E2 и дисперсии D2 и в соответствии с предположении о нормальном распределении случайной численности состояния (2) вероятность отказа Ротк можно выразить через интеграл Лапласа:
Ф(у)=
то есть вероятность превышения такой случайной величиной значения n , или превышения отклонения от среднего Е2 =Nρ /(1+ρ) величины n-E2 :
Ротк
; (3.21)
Подстановка (3.17) в (3.18) дает Ротк
1-2F(K). Ошибка
Ротк
=Ротк
-Рn
;
где Рn
соответствует (3.16) и определяется только ошибкой
по (3.17), а также ошибкой, связанной с предположением о нормальном распределении численности состояния.
Влияние ошибки
на погрешность определения Ротк
по формуле (3.18) можно оценить из сопоставления с вычислениями по (3.17) при К=2,2…2,31, (то есть для Ротк
=0,1…0,014), N
20 и значениях 0,04![]()
0,01, характерных для нагрузки создаваемых для ЧНН средним абонентам квартирного телефона. В частности,
Ротк
<0,03Рn
для
n=(0.01…0,015)n и погрешность определения Ротк
из-за ошибки оценки n порядка 1…1,5% составляет менее 3%или по абсолютному значению
Ротк
0,0004. следовательно существенной может быть только погрешность, вносимая допущением о нормальном законе распределения.
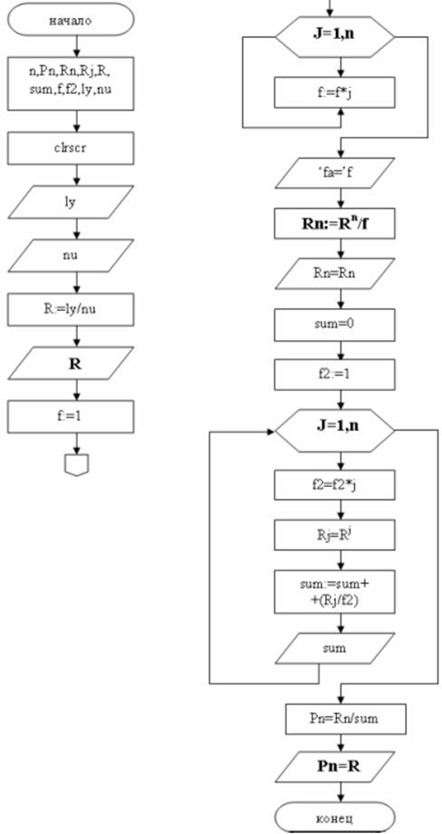
Напишем программу на языке Pascal для расчета вероятности потери вызова, а на рисунке 3.7 приведем ее алгоритм.
program laura1;
uses crt;
const n=10;
var Pn,Rn,Rj,ly,nu,sum,R,f,f2:real;
a:array[1..n] of integer;j:integer;
begin
clrscr;
writeln('inter number of chanel n=',n:1);
write('inter ly =');readln(ly);
write('inter nu =');readln(nu);
R:=ly/nu;
writeln('result R=',R:4:10);
f:=1;
for j:=1 to n do
f:=f*j;
writeln('fa=',f:4:10);
Rn:=exp(n*ln(R))/f;
writeln('result Rn=',Rn:7:10);
sum:=0;
f2:=1;
for j:=1 to n do
begin
f2:=f2*j;
Rj:=exp(j*ln(R));
sum:=sum+(Rj/f2);
writeln('sum=',sum:7:10);
end;
Pn:=Rn/sum;
writeln('Pn=',Pn:7:10);
end.
n=10
Рn =0,0000151088

Рисунок 3.7 – Алгоритм расчета вероятности потери вызова
3.3 Программа мониторинга сети станций и настройка объектов мониторинга
3.3.1 Общее описание системы
Система предназначена для удаленного мониторинга состояния станций МС-240. Программа является удобным средством для непосредственного наблюдения за параметрами устройств, расположенными в удаленных населенных пунктах. Программа позволяет оперативно отслеживать следующие характеристики оборудования:
– работа центрального процессора (ЦП);
– работа устройств электропитания (УЭП);
– состояния соединительных линий (потоки Е1, DLS);
– состояния датчиков телеметрии;
– работа модулей периферии.
Система позволяет осуществлять мониторинг других типов оборудования предприятия «Элтекс»: мультиплексора Маком-МХ, МС-240 версии 2, коммутатора потоков, устройств доступа МХЕ-4 и МХМ-12.
Состояние объектов отображается на условной карте. Аварийные сообщения сохраняются в журнал, а также сопровождаются звуковой и световой сигнализацией. Есть возможность дублировать аварийные сообщения на внешний блок аварийной сигнализации БАС.
Система может использоваться и для мониторинга локальной станции МС-240. В этом случае все элементы системы устанавливаются на один компьютер (рисунок 3.8).

Рисунок 3.8 – Пример внешнего вида основного окна
программы мониторинга
Комплекс состоит из следующих элементов (рисунок 3.9):

Рисунок 3.9 – Возможная структура системы мониторинга сети
станций MC-240
– NCS– программа доступа к объектам сети. Позволяет осуществлять доступ к станциям и мультиплексорам, а также создает «сквозные» каналы связи для программ-конфигураторов. Вфункции программы входит кэширование сообщений от объектов, с последующим предоставлением информации удаленным программам мониторинга.
– MON– программа удаленного мониторинга. Предназначена для организации удаленных терминалов мониторинга сети станций. Программа отображает состояния объектов, полученные при помощи NCS. Сама программа MON не имеет возможности подключаться к реальным объектам сети.
– PbxAdm– программа конфигуратор станций МС-240 с центральным процессором третьей версии. Программа поддерживает способ подключения «IP-транзит», позволяющий конфигурировать станции через канал, предоставленный сервером NCS.
– MxAdm– программа конфигуратор мультиплексоров Маком-МХ. При запуске из интерфейса NCS использует канал сервера NCS для подключения к мультиплексору.
– SQL-серверFirebird – используется комплексом для хранения конфигурации сети, а также хранения конфигураций объектов. Является обязательным компонентом системы.
Установка, системные требования. Для работы системы мониторинга ЦАТС «МС240» необходим компьютер с установленной операционной системой Windows® 2000 SP4/XP SP2. Минимальные требования к аппаратному составу компьютера:
– процессор IntelPentiumIII-IV (Celeron) или AMDAthlon;
– ОЗУ 256Мб;
– НЖМД 20Гб;
– Свободный последовательный порт или установленный модем;
– Сетевая карта;
– Монитор SVGA. Разрешение 1024х768 или выше.
Программа используется при разрешении экрана не менее 1024х768, минимальная разрядность 16 бит. Для установки программы необходимо не более 100Мб дискового пространства, а также требуется свободное место на диске, которое определяется объемом обрабатываемых данных (периодичность тестирования, количество объектов и т.д.)(Минимум 200Мб).
В качестве хранилища сетевых объектов (станций и узлов), параметров соединительных линий и журналов аварий программа использует SQL-сервер Firebird. Сервер Firebird является программным продуктом с открытым исходным кодом (open source) и не налагает на пользователя никаких лицензионных ограничений. Дистрибутив SQL-сервера поставляется вместе с установочным пакетом мониторинга. Минимальная версия сервера 1.5.2.
Система позволяет устанавливать все компоненты как на один компьютер, так и на разные.
Отдельные терминалы мониторинга могут быть установлены на любой компьютер, имеющий доступ по TCP/IP протоколу к серверам NCS и SQL.
Установка системы производится в следующем порядке:
– Установка SQL сервера Firebird. В параметрах установки не менять установленные по умолчанию параметры. Выбрать тип сервера SuperServer. Тип запуска – автоматический.
– Установка NCS. Программа будет инсталлирована в каталог «c:\eltex\ncs». Одновременно в каталог «c:\eltex\base» инсталлятор поместит файл базы данных «mc240-net.fdb». Этот файл предназначен для хранения конфигурации сети, объектов мониторинга, карт, журналов и прочей оперативной информации системы. Удалять и переносить файл нельзя (без предварительной настройки параметров системы).
– Установка PbxAdm. Программа по умолчанию инсталлируется в каталог «c:\eltex\PbxAdmFib.»
– Установка MON. Программа дополнительного мониторинга устанавливается на другой компьютер сети предприятия. Инсталлятор помещает её в каталог «c:\eltex\mon\». После установки необходимо прописать IP адрес компьютера, на котором установлен SQL сервер. Для этого необходимо открыть любым текстовым редактором файл «c:\eltex\mon\pbxnet.ini» и в строке FB_HOST=127.0.0.1исправить параметр «127.0.0.1» на реальный адрес компьютера. Инсталлятор предлагает создать ярлыки на рабочем столе Windows, а также помещает ярлыки в список программ в «Программы/Eltex/Мониторинг МС-240».
Настройка программы. В первую очередь производится настройка имени SQL сервера в программе NCS. По умолчанию, считается, что NCS и SQL сервера находятся на одном компьютере. Поэтому в настройке NCS установлен локальный адрес «127.0.0.1». Если SQL сервер был установлен на 8 Цифровая АТС "МС240"Руководство по эксплуатации Программа удаленного мониторинга другой компьютер, то его адрес необходимо прописать в файле «c:\eltex\ncs\pbxnet.ini» в параметре FB_HOST=127.0.0.1, вместо локального адреса прописать реальный. Это необходимо сделать до запуска программы. Все остальные настройки можно производить из интерфейса программы NCS [П.Ж].
3.3.2 Настройка объектов мониторинга
Настройка узлов. Объекты мониторинга (станции, мультиплексоры) могут располагаться как в основном «базовом» узле, который виден, когда открывается программа, так и в дочерних узлах. Узлы предназначены для группировки объектов по смыслу. Узлы удобно применять в программах мониторинга верхнего уровня. Например, в программе мониторинга, установленной в областном центре можно сконфигурировать сеть районов в виде узлов. Тогда на основной карте области, вместо десятков станций может быть лишь несколько узлов. При аварии на объекте, помещенном внутрь узла, сам узел будет привлекать к себе внимание.
Чтобы добавить новый узел на карту необходимо в меню «Объекты» выбрать «Новый узел» или на пустом месте на карте нажать правую кнопку мыши и в меню выбрать «Новый узел». Затем заполнить данные и нажать кнопку «Ок» (рисунок 3.10).
Чтобы открыть содержимое узла, нужно два раза щелкнуть левой кнопкой мыши на его изображении. Чтобы вернуться назад, нужно нажать клавишу «Esc» или мышкой на зеленую стрелку возврата в меню (рисунок 3.11).

Рисунок 3.10 – Свойства узла

Рисунок 3.11 – Иллюстрация узловой конфигурации
На рисунке 3.11 приведен пример узловой конфигурации, здесь программа мониторинга обнаружила в узле «Искитим» аварию на одном из объектов. Для того чтобы точнее узнать о аварии необходимо щелкнуть левой кнопкой мыши два раза на изображении узла или выделить одиночным щелчком левой кнопкой и нажать «Enter».
Чтобы изменить название или пометки, необходимо выбрать пункт меню «Объекты/Свойства объекта» или выделить объект, нажать правую кнопку мыши и выбрать пункт «Свойства объекта».
Удаление узла производится через пункт меню «Объекты/Удалить объект». Или через дублирующую кнопку на панели управления.
При нажатии правой кнопки мыши на узле появляется меню, позволяющее делать следующие операции:
– удалить узел;
– выключить мониторинг всех объектов узла;
– включить мониторинг всех объектов узла;
– свойства узла.
Типы объектов мониторинга. Программа позволяет проводить мониторинг следующих типов оборудования, производимого предприятием «Элтекс»:
– станция МС-240 (ЦПv3);
– станция МС-240 (ЦПv2);
– центральная станция (коммутатор потоков);
– гибкий мультиплексор Маком-МХ;
– мультисервисное устройство доступа МХЕ-4;
– мультисервисное устройство доступа МХМ-12;
– абонентский вынос на базе мультиплексора Маком-МХ (через DSL).
В программе предусмотрена возможность добавления на карту объектов с названием «Внешняя станция». Этот тип объектов предназначен для визуализации связей оборудования предприятия «Элтекс» с любым другим оборудованием.
Выбор типа оборудования производится при добавлении объекта на карту. Изменение типа оборудования после создания невозможно.
Добавление нового объекта на карту производится одним из следующих способов (рисунок 3.12):
1. Через основное меню программы, пункт меню «Конфигурация сети/Добавить объект»;
2. Щелчком правой кнопки мыши на незанятом участке карты вызвать окно со списком оборудования и выбрать соответствующего типа оборудования из выпадающего списка.

Рисунок 3.12 – Добавление нового объекта через меню
При выборе пункта меню «Новая станция» программа предложит диалог выбора типа станции (рисунок 3.13).

Рисунок 3.13 – Выбор типа станции
При выборе типа станции «АТС МС-240 ЦПv3», программа выведет диалог настройки доступа к объекту. В диалоге необходимо указать название объекта, краткое описание (если нужно), тип доступа, параметры доступа (зависит от типа), пароль.
Типы доступа к станции МС-240 ЦПv3 (Приложение З):
Телеметрия. Система мониторинга позволяет отслеживать следующие параметры (рисунок 3.14):
– наличие доступа к станции;
– основные параметры центрального процессора;
– состояния модуля электропитания (УЭП), наличие первичного напряжения, тока заряда батарей и проч.;
– показания датчиков температуры и влажности;
– состояние датчиков телеметрии;
– состояние цифровых потоков.

Рисунок 3.14 – Настройка телеметрии
Для активации мониторинга объекта нужно выставить флаг «Мониторинг состояний» в диалоге «Свойства станции». В диалоге «Объекты мониторинга» ставятся флаги мониторинга отдельно для УЭП и датчиков телеметрии.
Примечание: для мониторинга датчиков телеметрии, в станции должен быть установлен соответствующий модуль. Не все модули телеметрии содержат в себе датчики температуры и влажности.
Диалог телеметрии позволяет настроить мониторинг восьми внешних датчиков и двух встроенных. При этом в левой колонке выставляется флаг мониторинга, в графе «Назначение» можно написать название объекта, куда установлен датчик (например: дверь, окно, магазин и т.д.). В правой колонке «Инверс» устанавливается режим опроса датчика. Если выставлен флаг инверсии, значит аварийное состояние датчика – разомкнутое. В обычном режиме аварийное состояние датчика – замкнутое. После перехода датчика в исходное состояние и режим аварии объекта будет выключен.
Примечание: для корректной работы триггеров датчиков телеметрии на станции так же должен быть выбран соответствующий режим (настраивается при помощи программы PbxAdm).
Контроль устройства электропитания может производиться в двух режимах. Режим устанавливается при помощи флага «Расширенная сист.». Если установлен этот флаг, то контроль модуля осуществляется по схеме повышенного быстродействия и уменьшения трафика.
Для работы по такой схеме необходима прошивка станции МС-240 не ниже версии 5.1.36 и прошивка модуля МК устройства УЭП не раньше 1 авг. 2006г.
Соединительные линии. Программа позволяет осуществлять мониторинг соединительных линий – цифровых потоков Е1 и DSL линий. Для осуществления мониторинга сначала нужно создать «линк» между двумя объектами на карте. Для этого необходимо щелкнуть правой кнопкой мыши на объекте, поток которого должен отслеживаться и выбрать в выпадающем меню «Межстанционные связи/Выбор станции для соединения». В появившемся диалоге необходимо ввести параметры линка для первой станции: номер слота и номер порта (потока). Если между двумя объектами более одного потока, то для корректного отображения необходимо выбрать индекс соединения (от нулевого и далее) (рисунок 3.15).

Рисунок 3.15 – Настройка мониторинга соединительной линии
В поле «Условное название» можно ввести смысловое значение. Название будет фигурировать в журналах аварий. Т.е. при аварии, кроме указания параметров слот/порт будет внесено условное название. Пример мониторинга соединительных линий показан в Приложении И.
Карта. Карта предназначена для улучшения восприятия информации. В качестве карты может быть задан любой рисунок в формате BMP или JPG, с достаточным для размещения объектов размером. Чтобы задать карту нужно выбрать пункт меню «Конфигурация сети/Карта/Задать карту для текущего узла». После чего программа покажет диалог выбора файла. Нужно найти файл на диске и нажать «Открыть». Карта задается для текущего узла. Например, на поле базового узла можно поместить карту области, а в узлах сконфигурировать станции районов и поместить в соответствующие узлы карты районов.
Удаление карты производится при помощи пункта меню «Конфигурация сети/Карта/Удалить карту».
Примечание: когда задана карта местности, то отображение линков производится только в пределах карты.
Перемещение объектов по карте мониторинга. Каждый вновь созданный объект помещается в левый верхний угол экрана, если объект создан через главное меню программы и в место расположения курсора, если объект создан через всплывающее меню по правой кнопке мыши. Для того чтобы поменять местоположение объекта на форме программы нужно удерживая на клавиатуре клавишу “Ctrl”, выделить объект левой кнопкой мыши и не отпуская кнопку мыши переместить объект на новое место. После чего отпустить левую кнопку мыши и клавишу “Ctrl” (механизм Drag&Drop Windows). После перемещения объекта будут перерисованы и его связи. Чтобы поместить объект в узел можно переместить его на изображение нужного узла и отпустить кнопку мыши «над» узлом. После подтверждающего запроса объект будет помещен внутрь узла. Чтобы переместить объект «вверх» по дереву, т.е. в предыдущий узел, нужно выделить объект, нажать правую кнопку мыши и выбрать в выпадающем меню пункт «Переместить объект в предыдущий узел».
3.4 Отображение аварийных состояний и описание элементов Интерфейса
3.4.1 Общие сведения по аварийным состояниям
Система мониторинга позволяет просматривать основные параметры объекта, а также отображать аварии объектов и их модулей. Для станции МС-240 ЦПv3 можно получить следующие характеристики ЦП (рисунок 3.16):
– время в работе – время, в течение которого станция проработала с момента последней перезагрузки;
– источник синхронизации – локальная или внешняя (указывается слот/порт);
– количество задач – информация о работе внутреннего ПО станции;
– загрузка процессора;
– количество портов – общее число сконфигурированных портов на станции;
– всего перезагрузок – число перезагрузок станции с момента очистки счетчика;
– версия ПО – версия и дата компиляции внутреннего ПО;
– напряжения – напряжения, выдаваемые вторичным источником;
– информация о работе станции до перезагрузки – позволяет узнать время включения и время выключения станции до последнего перезапуска;
– системное время станции.
Примечание: системное время станции можно синхронизировать с управляющим компьютером. Для этого необходимо нажать на кнопку, расположенную правее отображения времени. Если разбег часов станции и компьютера более 10 минут, то это отобразится красным фоном в диалоге.

Рисунок 3.16 – Информация о станции МС-240 ЦПv3
Кнопки «УЭП» и «Датчики» позволяют открыть соответствующие диалоги по отображению информации. Если кнопка «Датчики» не активна, то в станцию не установлен модуль телеметрии. В случае если кнопка «УЭП» не активна – УЭП недоступен центральному процессору.
3.4.2 Потеря связи с объектом
Если программа мониторинга не может соединиться со станцией (мультиплексором) или после соединения произойдет обрыв сеанса связи, то объект на карте перейдет в состояние аварии. При этом на изображении объекта будет мигать яркий восклицательный знак, а также программа будет издавать сигнал системным динамиком компьютера и мигать окном приложения (если оно свернуто). В строке статуса отображается причина аварии. Например, если не удалось установить соединение, то может быть указан неверный пароль, неверный способ доступа или адрес. В процессе соединения отображается объект и зеленая стрелка к нему [П.К].
После установления соединения с объектом рядом с ним (справа сверху) отобразится латинская буква «i» в зеленом круге. Если активирован мониторинг датчиков телеметрии и модуля УЭП, то отобразятся соответствующие значки рядом с объектом (подробнее см. ниже).
При потере связи с объектом система будет делать периодические попытки восстановить связь.
3.4.3 Срабатывание датчика телеметрии
Если система мониторинга обнаружила, что сработал один (или несколько) датчиков телеметрии, подключенных к станции МС-240, то соответствующий объект на карте будет подсвечен знаком аварии (мигающий восклицательный знак). Причина аварийного состояния объекта, т.е. срабатывание датчика, будет написана в строке статуса программы, а также подсвечиваться, при наведении на объект указателя мыши (рисунок 3.17).
Чтобы уточнить какой именно датчик (или несколько датчиков) сработал, нужно вызвать меню, нажав правую кнопку мыши на объекте и выбрать «Состояние датчиков» или «Показать аварии объекта» (рисунок 3.18).

Рисунок 3.17 – Срабатывание датчика телеметрии

Рисунок 3.18 – Диалог состояния датчиков телеметрии, сработка «Датчик-6»
3.4.4 Аварийное состояние климатических датчиков
Если система мониторинга обнаружила, что показания датчиков температуры или влажности вышли из допустимого диапазона, то соответствующий объект на карте будет подсвечен знаком аварии (мигающий восклицательный знак). Причина аварийного состояния объекта, т.е. определение типа аварийного датчика, будет написана в строке статуса программы, а также подсвечиваться, при наведении на объект указателя мыши.
3.4.5 Авария УЭП
Авария модуля электропитания (УЭП) разделяется на несколько типов:
– модуль УЭП недоступен центральному процессору. Причиной может быть как поломка модуля УЭП, так и повреждение (отсутствие) соединяющего кабеля;
– пропадание первичного напряжения 220В;
– превышение тока заряда батарей;
– превышение тока нагрузки;
– выход напряжений за установленные пределы (пределы устанавливаются конфигуратором станции).
Также как и прочие аварии, авария УЭП отображается мигающим восклицательным знаком на изображении объекта, а также соответствующим изображением. УЭП отображается в виде вилки электропитания, расположенной слева от станции. Красный цвет «вилки» говорит о аварии, связанной с работой модуля (выход номиналов напряжения или тока за установленные пределы, пропадание первичной сети). Желтый цвет «вилки» сообщает о недоступности для ЦП модуля УЭП. Зеленый цвет сообщает о нормальной работе (рисунок 3.19).

Рисунок 3.19 – Модуль УЭП в норме
Для просмотра характеристик модуля УЭП (если он доступен ЦП) нужно выбрать пункт меню «Информация по УЭП» (рисунок 3.20).

Рисунок 3.20 – Информация о состоянии модуля УЭП
3.4.6 Авария потока Е1
Мониторинг состояний потоков (линков) производится путем периодического опроса соответствующих объектов. В нормальном состоянии линки отображаются на карте зеленым цветом (рисунок 3.21).

Рисунок 3.21 – Линк в исходном состоянии, отображается зеленым цветом
Система мониторинга отображает следующие типы аварий:
– потеря потока (LOS);
– потеря цикловой синхронизации (LOF);
– потеря сверхцикловой синхронизации (LOMF);
– аварийный сигнал (AIS);
– удаленная авария (RA);
– удаленная авария сверхцикла (RA16);
– коэффициент ошибок 10-3 ;
– коэффициент ошибок 10-6 ;

Рисунок 3.22 – Сконфигурированный, но не активный, линк отображается серым цветом

Рисунок 3.23 – Поток в состоянии аварии отображается красным цветом. На станции знак аварии

Рисунок 3.24 – Если объект мониторинга недоступен, то его линки отображаются серым цветом
При наведении указателя мыши на объект, программа подсветит причину аварии, которая будет продублирована в строке статуса.
3.4.7 Журнал работы
Система мониторинга производит сохранение всех изменений состояний объектов карты в журнал мониторинга. В журнал сохраняется следующая информация (рисунок 3.25):
– запуск и установка программы мониторинга (NCS);
– запуск конфигураторов объектов;
– запуск и останов мониторинга объекта карты;
– ошибки соединения с объектами;
– аварии объектов;
– аварии линков;
– срабатывание датчиков телеметрии (включая переход в нормальное состояние);
– авария модулей УЭП;
– регистрация дежурного.

Рисунок 3.25 – Просмотр журнала работы
Форма просмотра журнала позволяет фильтровать сообщения, помечать прочитанные, сортировать и экспортировать списки.
Панель фильтров в левой части формы позволяет вывести сообщения по следующим параметрам:
– объект;
– тип события;
– категория срочности;
– фильтр по времени.
Для обновления данных в соответствии с фильтром или сортировкой нужно нажать кнопку «Обновить» или клавишу «F5».
Критические сообщения выделены красным цветом, мажорные – желтым, минорные – голубым. Чтобы поставить отметку о том, что сообщение прочитано, нужно дважды щелкнуть на соответствующей записи.
Экспорт данных производится из меню панели инструментов формы. После нажатия соответствующей кнопки нужно ввести имя экспортируемого файла. По умолчанию «journal.csv». Экспорт будет произведен в текстовый файл с разделителями столбцов знаком точка с запятой «;». Открыть, отредактировать и распечатать этот файл можно при помощи программы Microsoft Excel.
Для просмотра журнала аварий нужно выбрать в главном меню программы «Журналы/Журнал аварий» или нажать “Ctrl+J”.
3.4.8 Список аварий объекта
Каждый объект мониторинга имеет собственный список аварий. В этом списке содержатся как активные, на данный момент, аварии, так и неактивные непрочитанные. Активной является авария, если в объекте на текущий момент авария не снята. Например, пропал источник синхронизации или произошла потеря потока. Неактивной аварией считается авария, которая произошла, но потом, по какой-то причине произошло самовосстановление ситуации. Например, пропало первичное питание на УЭП, затем, через какое-то время, само восстановилось. Если у объекта есть хоть одна активная авария, объект сигнализирует об этом на экране и раздается звуковой сигнал. Активную аварию можно замаскировать. Для этого нужно навести указатель на объект, нажать правую кнопку мыши и в меню выбрать пункт «Показать аварии объекта». Откроется форма, на которой отображаются активные и неактивные аварии. При деактивации аварий, активные аварии маскируются, а неактивные помечаются как прочитанные. Этот механизм используется следующим образом: после того, как появилась сигнализация об активной аварии, обслуживающий персонал может заняться её устранением, и чтобы данная авария не привлекала больше внимания, её маскируют. Отображение неактивных аварий предназначено для того, чтобы привлечь внимание персонала к тому, что на объекте происходили какие-то аварии во время отсутствия дежурного. Если объект содержит неактивные непрочитанные аварии, то на его изображении на форме мониторинга, высвечивается соответствующий знак (рисунки 3.26, 3.27, 3.28, 3.29).

Рисунок 3.26 – Список аварий объекта – активные аварии

Рисунок 3.27 – Список аварий объекта – замаскированные аварии

Рисунок 3.28 – Отображение замаскированных аварий на объекте

Рисунок 3.29 – Отображение неактивных непрочитанных аварий
На панели инструментов главной формы программы есть кнопка, при нажатии на которую программа выведет общий список аварий всех объектов мониторинга. Она находится рядом с кнопкой журнала аварий.
3.4.9 Настройка критических значений МС-240 ЦПв3
Форма настройки критических значений для станции МС-240 ЦПв3 вызывается через пункт меню «Конфигурация сети/Настройка критических значений». Предварительно необходимо выделить соответствующий объект. На форме настройки можно задать критические значения (минимальное и максимальное) для следующих параметров станции:
Питание:
– +5В;
– -24В;
– +5В аналоговые;
– +60В;
– -5В;
– -60В;
– +12В;
– ГИВ;
УЭП:
– 60В;
– Ток нагрузки;
– Ток заряда;
Датчики телеметрии:
– Температура;
– Влажность;
Выход значений за заданные диапазоны будет восприниматься системой мониторинга как аварийная ситуация.
Главное меню программы состоит из следующих разделов:
– Файл – раздел для настройки и отладки программы;
– Конфигурация сети – раздел для добавления, удаления объектов и настройки их свойств;
– Телеметрия МС-240 – раздел для просмотра информации и телеметрии;
– Журналы – для просмотра журналов;
– Справка (?) – для получения информации о программе.
Панель инструментов предназначена для быстрого доступа к наиболее часто применяемым пунктам меню (рисунок 3.30).

Рисунок 3.30 – Панель инструментов
Кнопки панели инструментов автоматически активируются и деактивируются при выделении объектов карты левой кнопкой мыши.
Всплывающее меню появляется на экране при нажатии правой кнопки мыши на любом объекте. В зависимости от типа объекта, всплывающее меню содержит соответствующие пункты (рисунок 3.31).
Всплывающее меню дублирует свойства главного меню программы и панели инструментов, но, кроме того, позволяет производить дополнительные действия с текущим объектом.
Следующие пункты характерны только для всплывающего меню:
– Переместить объект в предыдущий узел – применяется для перемещения текущего объекта из вложенного узла «вверх» по иерархии;
– Межстанционные связи – в этом пункте реализовано подменю, позволяющее создавать, удалять и редактировать линки между объектами.

Рисунок 3.31 – Всплывающее меню
Строка статуса расположена в нижней части основной формы программы и предназначена для отображения текущих параметров выделенного объекта (рисунок 3.32).

Рисунок 3.32 – Иллюстрация строки статуса
В строке статуса отображается следующая информация (слева направо, по разделам):
– название станции и наличие связи;
– время в работе (если информация получена);
– время в работе (если информация получена);
– информация о состоянии программы в режиме конфигурирования Линков;
– аварийные сообщения.
Список сочетаний клавиш для осуществления ряда операций, без использования указателя мыши:
- Ctrl+A – настройка программы;
- Ctrl+N – новая станция;
- Ctrl+Del – удалить текущий объект;
- Ctrl+P – свойства текущего объекта;
- Ctrl+I – информация по текущему объекту;
- Ctrl+J – посмотреть журнал работы и аварий;
- Ctrl+R – регистрация оператора.
3.4.10 Настройка конфигураторов объектов
Для каждого типа объектов мониторинга назначается своя программа-конфигуратор. Также,можно назначить разные версии программы для отдельных объектов одного типа. Например, длястанции МС-240 ЦПв3 с прошивкой 5.1.35 назначается конфигуратор PbxAdm432, а для версиипрошивки 5.1.36 назначается конфигуратор PbxAdm433d и т.д.
В первую очередь, нужно внести программу в список конфигураторов. Для этого нужно вменю «Файл» выбрать «Список конфигураторов». В открывшемся диалоге, нажать кнопку«Добавить» и указать файл на диске. Удалить конфигуратор из системы можно только в томслучае, если он не настроен ни на один объект мониторинга. Если необходимо заменить версиюконфигуратора, то поместить обновление можно в любой каталог, но в форме настройкиконфигураторов нажать кнопку «Изменить». При этом, изменения коснутся всех объектов, длякоторых был настроен предыдущий конфигуратор. Затем производится настройка конфигураторадля каждого объекта. Для этого нужно выделить объект и нажать в меню «Конфигурациясети/настроить конфигуратор». В появившемся диалоге выбрать нужную программу из списка инажать «ОК».
Примечание: для объектов МС-240 ЦПв3 можно задать конфигуратор «по умолчанию».
Этот конфигуратор будет автоматически присваиваться всем, вновь создаваемым, объектам этоготипа. Для этого нужно зайти в форму настройки общего списка конфигураторов, выделитьнужный и нажать «По умолчанию».
Запуск конфигуратора производится двойным щелчком левой кнопки мыши на объекте.
Если необходимо запустить конфигуратор без подключения к объекту, например, для просмотра или редактирования конфигурации, нужно нажать правую кнопку мыши на объекте и выбрать пункт меню «Запустить конфигуратор без подключения». Программа-конфигуратор сохраняет в базе данных текущий файл конфигурации для каждого объекта, поэтому при запуске конфигуратора происходит автоматическое подключение файла конфигурации. Для объекта МС-240 можно посмотреть, какой файл конфигурации является активным, не запуская конфигуратор.
Для этого нужно нажать правую кнопку мыши и выбрать «Свойства объекта».
После запуска конфигуратора происходит его подключение к системе мониторинга и соединение непосредственно с объектом. На экране факт подключения конфигуратора к конкретному объекту можно увидеть в виде буквы «А» на пиктограмме объекта. Буква «L» означает, что конфигуратор подключен локально (на этом компьютере). Если конфигуратор запущен с другого ПК, то на пиктограмме будет только буква «А» (рисунок 3.33).

Рисунок 3.33 – Пример объекта с запущенным конфигуратором
Если программа PbxAdm была свернута в системную панель или переведена на задний план клавишами “Alt+Tab”, то вернуть её можно, сделав повторно двойной щелчок на объекте.
Одновременный запуск более одного конфигуратора для одного объекта запрещен.
Примечание: на время запуска конфигуратора собственный обмен программы мониторинга с объектом блокируется. Это значит, что аварийные состояния не будут фиксироваться программой мониторинга, пока конфигуратор текущего объекта не будет закрыт. Мониторинг других объектов будет происходить без изменений. Запускать одновременно много конфигураторов для множества объектов не рекомендуется.
3.5 Управление ЦАТС «МС240»
3.5.1 Общие принципы управления
Все операции по управлению ЦАТС выполняются в программе PbxAdm в режиме подключения к станции. Для более подробного ознакомления с программой PbxAdm см. «МС240».
Руководство по эксплуатации. Часть 3. Программа конфигурирования и мониторинга». Операции управления делятся на три группы:
– оперативное вмешательство (оперативные команды или команды);
– оперативное изменение конфигурации;
– полное переконфигурирование.
К оперативным командамотносятся:
– команда «Перезапуск станции»;
– команда «Включить/выключить порт»;
– команда «Сбросить порт»;
– команда «Тестировать порт»;
– команда «Тестировать слот»;
– команда «Автоматическое тестирование».
– команда «Синхронизация календаря».
Оперативные команды не вносят изменения в конфигурацию и выполняются немедленно после подачи команды в станцию. Все эти команды производятся из раздела «Мониторинг» путем вызова контекстного меню или нажатием соответствующей кнопки в инструментальной панели программы.
Оперативное изменение конфигурации производится передачей в станцию только параметров выбранного объекта. Такими объектами могут быть абонентские порты, порты СЛ, общие параметры станции и блоки параметров портов.
Для внесения оперативных изменений вызывается окно редактирования свойств объекта и вносятся изменения. Затем из контекстного меню (правая кнопка мыши) выбирается пункт «Записать» - информация передается в станцию. При этом на модуле ЦП начинает мигать зеленый индикатор «Режим», что означает изменение конфигурации. После 30 секундного интервала происходит автоматический подсчет контрольной суммы новой конфигурации и мигание индикатора прекращается. Выполнив команду «Сверка контрольных сумм» (сверяются контрольные суммы конфигураций в станции и в программе PbxAdm), можно досрочно осуществить пересчет контрольной суммы конфигурации в станции.
Полное переконфигурирование означает запись в станцию полной конфигурации из программы PbxAdm. Это необходимо при внесении изменений в план нумерации, при изменении категорий доступа и прочих характеристик общестанционных объектов.
При полном переконфигурировании в конфигурацию вносятся все необходимые изменения, а затем выполняется запись всей конфигурации в станцию путем выполнения команды меню «Конфигурация/Записать». Во время записи происходит автоматическая сверка контрольных сумм только что записанных блоков, что повышает защищенность от ошибок передачи данных.
По окончанию записи будет автоматически предложен перезапуск станции, который необходимо выполнить для того, чтобы изменения вступили в силу. После перезапуска и восстановления соединения со станцией можно продолжить работу.
Примечание. При большом объеме изменений рекомендуется сохранить конфигурацию на диске ПК в файле с новым именем.
Категории определяют взаимодоступность внутренних объектов станции между собой. Например, доступность направлений (транковых групп) для абонентов.
Кроме того, для абонентов, их категория содержит информацию о категории АОН. В ЦАТС «МС240» можно определить до 32 различных категорий доступа.
Определение категории доступа осуществляется в разделе «Категории доступа». Параметры категории доступа включают в себя: имя категории, категория АОН и возможность доступа к другим категориям. Окна изменения параметров вызываются либо двойным щелчком на строчке категории, либо нажатием «Enter», либо из контекстного меню выбором пункта «Свойства».
Для быстрого просмотра всех категорий и их взаимодоступности используется раздел «Таблица доступа».
Для удобства работы с абонентскими линиями в программе предусмотрен раздел «Абоненты», который содержит список всех абонентских линий станции с кратким описанием настроек и режимов. Возможна сортировка линий по значениям параметров и быстрый поиск линии по первым цифрам номера.
Добавление новых абонентских линий осуществляется путем изменения аппаратного состава станции – добавления модулей 16АК. Для вновь установленных модулей 16АК следует правильно задать конфигурацию, которая включает в себя категорию абонента, телефонный номер, параметры линии и параметры ДВО. Это может быть сделано либо непосредственным редактированием параметров абонентских линий, либо копированием параметров уже сконфигурированных линий.
Порядок добавления новых абонентских линий:
a) установка нового модуля.
Раздел «Оборудование». Выберите свободный слот в конфигурации и установите тип модуля «16АК». Ответьте утвердительно на вопрос «Установить плату?». В следующем диалоговом окне можно задать начальную нумерацию, указав стартовый номер.
b) задание характеристик линии, режим обслуживания.
Вызовите окно редактирования свойств порта и установите требуемые параметры: Параметры линии:
- Повышенная дальность – напряжение питания линии 100 В.
- Пониженное потребление – напряжение питания линии 24 В.
- Расширенная АЧХ – используется при подключении к комплекту модема.
- Коэффициенты усиления входных и выходных сигналов.
- Высокий импеданс.
Параметры обслуживания:
- Выключен – порт не обслуживается.
- Набор DTMF – прием тонального набора.
- Обработка FLASH.
- Выдача АОН при ответе.
Дополнительно в окне свойств порта можно задать:
- Уникальное название порта (например, ФИО абонента).
- Прямой номер (прямое соединение с указанным портом при снятии трубки).
- Блок параметров (настраиваются в разделе «Блоки параметров АК»).
- Блок коэффициентов (набор коэффициентов для различных характеристик линии).
- Категория доступа – доступ к внутренним объектам и категория АОН.
- Категория ДВО – один из планов функций ДВО.
c) Определение категории абонентской линии.
Категория абонента должна удовлетворять следующим требованиям:
- Описывать категорию АОН.
- Обеспечивать доступ к разрешенным направлениям (транковым группам) при исходящей связи.
- Обеспечивать доступность для разрешенных входящих направлений (транковых групп) при входящей связи.
- Обеспечивать доступ к внутренним абонентам при внутренней связи.
Примечание. Для удобства работы со станцией делайте наименования объектов максимально информативными. Например, наименование категории доступа присваиваемой абонентам имеющим категорию АОН 1 может быть таким: «Абоненты, АОН1» - это позволит в дальнейшем облегчить использование категорий при конфигурировании станции.
d) Списочный номер абонента.
Списочный номер абонента назначается в зависимости от типа нумерации. При закрытой нумерации он должен содержать полный пятизначный номер, при открытой нумерации – сокращенный трехзначный номер абонента.
Списочный номер назначается либо при начальной установке платы, либо, черезконтекстное меню «Нумерация». Изменение нумерации можно осуществлять для нескольких портов одновременно.
e) Назначение категории ДВО.
Назначение категории ДВО происходит в окне редактирования свойств порта (см. b)).
Укажите одну из ранее определенных категорий ДВО. Необходимо заранее настроить все необходимые категории ДВО при планировании и запуске системы.
Ликвидировать абонентскую линию можно разными способами:
– ликвидация с удалением модуля 16АК – при удалении модуля удаляются все его порты (физическое удаление), а также освобождаются номера, занятые портами. Для физического удаления в разделе «Оборудование» указать тип модуля как «Нет» и ответить утвердительно на вопрос «Удалить плату?».
– запрет на обслуживание конкретного порта – в окне свойств порта поставить флажок «Отключен». Для освобождения номера необходимо, выбрав порт, вызвать окно «Нумерация» и выбрать «Удалить».
Любая из этих операций требует последующего полного переконфигурирования.
Для кратковременной блокировки можно воспользоваться разделом «Состояние портов» и, выбрав порт, из контекстного меню выбрать команду «Включить/выключить». Порт будет исключен из обслуживания до следующего перезапуска станции. Для снятия блокировки снова дать команду порту «Включить/выключить».
Для долговременного отключения используется флажок в окне свойств порта «Отключен».
Установка флажка исключает порт из обслуживания, сброс флажка – включает в обслуживание.
Для изменения режимов обслуживания абонентов служит раздел «Абоненты», где приведен список всех абонентов и краткое описание параметров обслуживания.
Вызовите окно редактирования свойств порта и измените категорию абонента, режимы обслуживания и другие параметры линии. По завершению редактирования свойств порта необходимо через контекстное меню дать команду «Записать», которая внесет изменения в текущую конфигурацию станции. При этом будет разорвано существующее соединение данного порта.
Дополнительные режимы сортировки по разным колонкам и быстрый поиск по номеру облегчают работу по настройке абонентских линий.
ЦАТС «МС240» позволяет иметь до 32 категорий дополнительных видов обслуживания («планов ДВО»). В каждой категории можно задать набор функций ДВО разрешенных данной категории. В каждый момент времени абонент имеет доступ только к функциям, разрешенным в его категории ДВО.
Управление доступом абонентов к функциям ДВО осуществляется с помощью категорий ДВО. Категории ДВО являются настраиваемыми и представляют собой наборы разрешений доступа к отдельным функциям.
Управлять доступом абонентов к функциям ДВО возможно двумя путями:
– Изменением категории ДВО абонента. При смене категории абонент получает доступ к тем функциям ДВО, которые разрешены вновь присвоенной категорией.
– Настройкой параметров категории ДВО. Такой способ повлияет на режим ДВО всех абонентов, которым присвоена выбранная для изменения категория.
Для изменения категории ДВО абонента в разделе «Абоненты» следует вызвать окно редактирования свойств нужного порта, изменить категорию ДВО, режим обслуживания и записать изменения в станцию.
Для изменения параметров категории ДВО в разделе «Конфигурация-> Категории-> Категории ДВО» выбрать категорию и вызвать окно редактирования. Настроить параметры категории и записать изменения в станцию.
Перечисленные выше процедуры предназначены для управления доступом абонентов к функциям ДВО. Кроме этого возможно прямое управление индивидуальными режимами ДВО абонентов.
Индивидуальные режимы ДВО абонентов могут быть установлены либо самими абонентами с помощью кодов доступа к функциям ДВО, либо с помощью программы PbxAdm в разделе «Конфигурация->Абоненты->Режимы ДВО». Программа PbxAdm позволяет редактировать начальные режимы ДВО абонентов, предназначенные для первоначальной настройки станции, и действующие режимы ДВО. Подробнее методика редактирования описана в документе «МС240. Руководство по эксплуатации. Часть 3. Программа конфигурирования и мониторинга».
Списочный номер абонентской линии назначается либо при конфигурировании аппаратного состава станции в момент установки нового модуля, либо в последствии через контекстное меню «Нумерация». Изменение нумерации может осуществляться для группы портов одновременно.
Выберите порт или группу портов для их последовательной нумерации. Правой кнопкой мыши вызовите контекстное меню, выберите пункт «Нумерация». Появится окно изменения нумерации. Введите начальный номер - в зависимости от количества выбранных портов будут вычислены все назначаемые номера и произведена их проверка на дублирование. В случае обнаружения конфликтующих номеров в дополнительном окне появится их перечень. Убедитесь в отсутствии конфликтов и нажмите «OK».
По окончании изменения нумерации перейдите в раздел «Нумерация->План нумерации» и сделайте полную проверку плана нумерации. Для этого нажмите кнопку «123» на панели инструментов. Если обнаружены конфликты нумерации, устраните их. Для того, чтобы изменения нумерации вступили в силу необходимо полное переконфигурирование и перезапуск станции.
В разделе «Состояния портов» имеется вся информация о текущих соединениях в ЦАТС.
Чтобы узнать, с кем связан абонент, выберите его порт щелчком мыши или подведите курсор. В дополнительном окне «Состояние порта» в строке «Порт Y» можно узнать порт, с которым установлено соединение.
Информацию только об активных соединениях можно узнать в разделе «Активные соединения», где приводится список всех активных соединений станции. Причем в установленных соединениях отображаются пара портов, буфер набора, текущая продолжительность соединения и текущее состояние.
Проверка абонентских линий необходима для контроля состояния линейных цепей и внутренних схем станции.
Процедура проверки включает:
– Проверку наличия посторонних напряжений на линейных проводах.
– Измерение внутренних питающих напряжений модуля.
– Измерение величины сопротивления изоляции между проводами и между проводами и землей.
– Измерение целостности проводов абонентской линии по признаку наличия емкости звонковой цепи.
Результаты тестирования комплектов запоминаются в отдельном журнале «Журнал тестирования», в котором запоминаются все измеренные характеристики и время проведения тестирования. Если в разделе «Состояния портов» выбрать абонентский порт, то в дополнительном окне «Состояние порта» будет выведена информация о последнем тестировании комплекта с указанием даты и времени проведения тестирования.
Управление проверкой абонентских линий осуществляется как вручную, так и автоматически по расписанию.
Для ручного запуска проверки одного комплектав разделе «Состояние портов» выбрать порт и через контекстное меню выбрать пункт «Тестировать». Будет автоматически произведено тестирование порта.
Также можно запустить проверку всех портов на одной платемодуля 16АК, выбрав в контекстном меню команду «Тестировать слот». Порты начнут тестироваться по порядку, а результаты будут накапливаться в журнале. Остановить запущенную процедуру тестирования можно кнопкой «Стоп» на панели инструментов, либо в разделе «Журнал тестирования» кнопкой «Остановить».
Ручной запуск автоматического тестирования всех абонентских комплектовстанции производится через пункт меню «Тестирование/Автотест портов».
Будет запущена процедура тестирования слота на каждом модуле 16АК, находящемся в системе.
При автоматическом тестировании проверяется состояние порта, и если порт занят в соединении, то тестирование переносится на более поздний срок. Если порт не освобождается до конца операции тестирования, то в «Журнал работы» вносится запись о невозможноститестирования порта и операция тестирования завершается.
Программу PbxAdm можно настроить на запуск автоматического тестирования по расписанию. Для этого нужно вызвать окно настройки через пункт меню «Тестирование/Параметры автотестирования…» и указать время, периодичность и продолжительность операции автоматического тестирования. Здесь также указывается список объектов, для которых необходимо проводить тестирование. Флажок «Использовать системный планировщик» позволяет операционной системе самостоятельно запускать программу PbxAdm в заданное время для проведения тестирования.
Результаты тестов будут накапливаться в «Журнале тестирования» для каждого объекта, а сообщения о невозможности тестирования и аварийных состояниях линии будут накапливаться в «Журнале работы».
3.5.2 Управление маршрутизацией и межстанционными каналами
Для описания направлений используется объект «Транковая группа», которая определяет то или иное направление. Доступ к портам, включенным в транковую группу, обычно осуществляется при помощи префиксов. Причем, в качестве префиксов может выступать как специальный номер для выхода на направление при открытой нумерации (например, «8» или «9»), так и первые цифры номеров внутризоновой связи при закрытой нумерации (например, «34» для выхода на «34ХХХ»). Для транковой группы также задается категория доступа, которая позволяет разрешать или запрещать различные виды связи для абонентов. Создавать, удалять и изменять свойства транковых групп позволяет раздел «Группы/Транковые группы», где приводится список всех созданных транковых групп.
Объектами, включенными в транковую группу, могут быть только порты соединительных линий (ИКМ, ТЧ). Объекты, включенные в одно направление (группу) должны обладать сходными режимами работы и сходной направленностью связи. Порядок выбора линии в пределах направления задается параметрами транковой группы.
Объектами, обеспечивающими доступ к направлениям, являются префиксы. Количество и параметры префиксов зависят от типа нумерации. При открытом типе нумерации это 1-2 дополнительных префикса для выхода на конкретное направление без передачи самого префикса в линию. При закрытом типе – первые цифры номеров абонентов внутризоновой связи с передачей самого префикса в линию, и префикс выхода на междугородную связь.
Изменение данных, относящихся к пучку линий.
Редактирование параметров транковой группы осуществляется в окне свойств группы. Редактируемые параметры:
a) Категория доступа– должна обеспечивать доступность/недоступность объектов группы к внутренним абонентам, обеспечивать достуность/недоступность абонентов к объектам группы.
1) Входящая связь:
- Фильтр набора– удаление первых заданных цифр при входящем наборе;
- Количество удаляемых цифр– удаление первых цифр при входящем наборе;
- Добавляемые цифры– добавляемые в начало номера цифры при входящем наборе;
2) Исходящая связь:
- Фильтр набора– удаление первых заданных цифр при исходящем наборе;
- Количество удаляемых цифр– удаление первых цифр при исходящем наборе;
- Добавляемые цифры– добавляемые в начало номера цифры при исходящем наборе;
b) Выбор транков– порядок поиска свободной линии в пучке (с первой,
последовательный, с учетом нагрузки).
В правой части окна редактирования параметров транковой группы отображается составгруппы в виде списка линий, образующих группу. Изменение состава транковой группыпроизводится путем установки параметра «Транковая группа» в параметрах соединительныхлиний.
Изменение системы сигнализации в рамках направления осуществляется путем измененияпараметров сигнализации соединительных линий, образующих это направление. Параметры СЛнастраиваются в разделе «Оборудование».
Примечание.Для ускорения процесса настройки однотипных СЛ можно применитькопирование параметров портов.
Для включения нового направления необходимо:
– Создать новую транковую группу в разделе «Группы->Транковые группы» и задатьнеобходимые параметры (фильтры набора и проч.).
– Включить в состав вновь созданной транковой группы соединительные линии. Для этогонастроить необходимое количество соединительных линий в разделе «Оборудование» ивключить их в направление путем установки в параметрах этих линий параметра«Транковая группа».
– Создать новые или изменить существующие префиксы выхода для организации доступак вновь созданному направлению.
– Особое внимание следует уделить параметру «Категория доступа» линий и транковойгруппы. Присвоенная им категория доступа должна обеспечивать взаимодоступностьлиний, транковой группы и абонентов. Для этого можно либо использовать ужеопределенные в конфигурации категории доступа, либо определить новую категорию.
Изменение использования линии.
Установка типа линии – исходящая, входящая или двусторонняя – задается в ее параметрахв разделе «Оборудование» путем смены протокола. Изменение типа линии, как правило, влечетза собой ее перевод в другую транковую группу и изменение категории доступа линии.
За порядок поиска свободной линии в транковой группе отвечает параметр группы «Выбортранков». Он может принимать следующие значения:
– с первой– поиск всегда начинается с первой линии в составе группы и заканчиваетсяпри обнаружении первой свободной линии;
– последовательный – поиск начинается с линии, следующей за найденной в предыдущемпоиске, т.е. обеспечивается последовательный перебор всех линий группы (распределениенагрузки);
– с учетом нагрузки– из всей группы выбирается линия с наименьшим суммарнымвременем занятия (равномерное распределение нагрузки).
Изменение данных маршрутизации.
Система маршрутизации ЦАТС «МС240» состоит из транковых групп,определяющих состав линий в каждом направлении, и префиксов выхода на направления.
Количество префиксов, требуемых для доступа к направлению, зависит от типа нумерации– закрытая, открытая без индекса выхода или открытая с индексом выхода.
При использовании открытой нумерации с индексом выхода в конфигурациистанции должен быть определен префикс, обеспечивающий выход на опорную АТС. Списочныйномер префикса будет являться индексом выхода. Трансляции списочного номера префикса влинию в этом случае не требуется.
При использовании закрытой нумерации или открытой нумерации без индексавыхода в конфигурации станции должно быть определено достаточное количество префиксов,обеспечивающих выход на соответствующие направления при наборе номера внешнего абонента.
Для обеспечения возможности маршрутизации опорной АТС списочный номер префикса должентранслироваться в СЛ.
Кроме того, в параметрах транковых групп задаются добавляемые цифры иколичество удаляемых цифр при межстанционном взаимодействии.
Для исключения канала из пучка достаточно в окне свойств порта, отвечающего заканал, убрать указание на транковую группу, в которой он участвует. При этом его можнопереключить на другое направление.
Для отключения канала из обслуживания, достаточно убрать параметр «Протокол».При этом необходимо удостовериться в том, что на встречной АТС эти каналы не включены какисходящие.
Управление конфигурацией программных средств.
Раздел «Состояние станции» служит для отображения версии программного обеспечения,даты последнего изменения конфигурации, различных настроек и статистики работы.
Установка и чтение календаря. Просмотреть текущие показания календаря станции можно в разделе «Состояние станции»в строке «Системный календарь».
Изменить показания часов и даты можно путем нажатия кнопку «Корректировка часовстанции» на панели инструментов в разделе «Состояние портов» или «Состояние станции».
Чтение и запись содержимого конфигурации АТС и его изменение. Чтение, запись и сверка контрольных сумм конфигурации осуществляется через меню«Конфигурация». Причем существует возможность сравнить прочитанную конфигурацию сконфигурацией, сохраненной на диске.
Инициализация рестарта. Кнопка «Перезапуск» на дополнительной панели инструментов приводит к перезагрузкестанции. При этом разрываются все соединения, очищаются буферы и инициализируются всемодули станции.
3.6 Обеспечение безопасности жизнедеятельности
3.6.1 Требования к помещению
Ниже приведены основные требования к помещению для установки ЦАТС МС-240:
Проверьте, что для установки блока ЦАТС «МС240» имеется достаточно места. При установке блока в стойку необходимо чтобы дно блока находилось на высоте от пола не более 1,7 м. Перед блоком и позади него должно быть свободное пространство не менее 1 м. Над блоком и под ним должно быть свободное пространство не менее 15 см для обеспечения нормальной вентиляции устройства.
Проверьте, что для установки кросса имеется достаточно места дополнительно к месту для блока. Кросс следует располагать в непосредственной близости от блока ЦАТС. Нижняя часть кросса должна находиться на высоте не менее 61 см, а верхняя - не более 1,9 м от пола.
Перед кроссом должно быть свободное пространство пола не менее 1 м. Вследствие того, что устройства для оконечной заделки кабелей весьма разнообразны, размеры кросса могут быть соответственно различными.
Проверьте, что имеется достаточно места для установки любого дополнительного оборудования, связанного с ЦАТС, в т. ч. терминала для программирования или ПЭВМ, модема, внешней системы поиска персонала и оповещения и т. п.
Проверьте, что имеется достаточно места для установки стола техника или рабочего стола, если это предусматривается как часть станции.
Проверьте, что имеется достаточно места для установки устройств резервного электропитания, если таковое предусматривается как часть станции.
3.6.2 Требования к электрической сети
Мощность электросети должна быть достаточной для обеспечения питания станции, а оборудование электрической сети в помещении ЦАТС должно удовлетворять следующим требованиям. Требуется по меньшей мере один выделенный фидер для питания ЦАТС. Для питания дополнительного оборудования или испытательных приборов необходимо подвести фидер питания переменного тока 220 В, оснащенный одной-двумя розетками. Фидер питания станции должен иметь независимую защиту предохранителем или автоматическим выключателем, но не должен снабжаться выключателем.
Розетка фидера питания должна располагаться не далее 1,2 м от блока ЦАТС «МС240» при питании последней от сети переменного тока. Она должна располагаться не далее 1,2 м от источника постоянного тока напряжением 60В при питании ЦАТС от постоянного тока.
Розетки дополнительного фидера должны быть размещены так, чтобы к ним было удобно подключать дополнительное оборудование, а так же чтобы терминалы передачи данных, ПЭВМ и испытательные приборы могли использоваться рядом с ЦАТС.
В таблице 3.8 приведены напряжения питания и примерное максимальное значение тока потребления.
Таблица 3.8 - Напряжения питания
Переменный ток 220-240 В |
Постоянный ток - 60 В |
Постоянный ток - 24 В |
| 1 А | 4 А | 10 А |
Приведенные здесь значения тока следует учитывать при выборе сечения проводов фидера питания станции.
3.6.3 Порядок установки ЦАТС МС-240
До начала установки станции руководитель работ должен ознакомиться с настоящим руководством. Станция может быть закреплена на 19’’ несущих стойках, либо установлена на горизонтальной полке.
Перед установкой ЦАТС на месте эксплуатации необходимо произвести внешний осмотр станции. Осмотреть станцию на отсутствие видимых механических повреждений.
В случае поставки АТС в разобранном виде (платы модулей отдельно от каркаса АТС), установить платы в каркас АТС, вставляя по направляющим, до установления надежного контакта между разъемом кросс-платы и разъемом платы модуля. Крепить платы винтами к верхней и нижней планке АТС. При размещении плат руководствоваться данными текущей конфигурации станции.
Установить и закрепить АТС, руководствуясь разделом ТЕХНИКА БЕЗОПАСНОСТИ настоящего руководства. Проложить кабели от станционной части кросса до линейных разъемов окончаний. Кабели увязать между собой.
Внимание!Для защиты от перенапряжений модулей абонентских комплектов (модули 16АК) линейная сторона кросса должна быть оборудована трехполюсными разрядниками с напряжением срабатывания 230В. Рекомендуются разрядники фирмы KRONE “МК, 230 В”с термозащитной пружиной. В этом случае допускается эксплуатация станции без установленных модулей защиты по току. Для защиты от посторонних напряжений модулей цифровых потоков (модули 2Е1, 2И15) линейная сторона кросса должна быть оборудована устройствами комплексной защиты. Рекомендуются штекеры комплексной защиты фирмы KRONE “ComProtect 2/1 CPHGB 180 A1”.
Разъёмы для подключения линий связи, клеммы для подключения фидеров основного и резервного источников питания и защитного заземления расположены на задней крышке станции.
Подключить защитное заземление. С помощью омметра убедиться в отсутствии связи между землёй и клеммами питания станции. Установить выключатель на передней панели модуля питания в положение «ВЫКЛ.» и подключить фидеры основного и резервного источников питания, соблюдая полярность.
Внимание!Станция может поставляться с различными источниками питания 60В и 220В.
Тип источника маркирован на его лицевой панели. Для подключения источника на 220В используется сетевой шнур питания, который подключается к специальному сетевому разъему с соответствующей маркировкой на задней панели станции. При подаче неправильного питающего напряжения (220 на 60 или 60 на 220) блок питания не запустится. Проверьте соответствие типа источника питания и подаваемого напряжения.
Разъёмы для подключения линий связи пронумерованы от 0 до 15. Каждый разъём расположен напротив своего модуля окончаний (на разъём с номером 15 выведены окончания самого левого со стороны передних панелей модуля).
Определите трассу прокладки кабелей ввода-вывода (линейных) от кросса до разъемов ввода-вывода каркаса для плат и измерьте максимальное расстояние от разъема ввода-вывода каркаса для плат до соответствующей колодки на кроссе.
Для каждого используемого разъема ввода-вывода каркаса подготовьте по отрезку кабеля в соответствии с определенной ранее длиной. Сделайте распайку кабеля в разъемы в соответствии с типами и местоположением установленных в станции модулей. Промаркируйте каждый кабель ввода-вывода около разъема в соответствии с номерами разъёмов на задней крышке станции.
Подведите свободные концы кабеля к соответствующим колодкам кросса и заделайте каждый кабель в соответствующую ему колодку кросса. Омметром прозвоните кабель от контактов кабельной части разъемов до контактов кросса. До проверки станции «на себя» кабель к станции не подключать.
Промаркируйте каждую колодку кросса в соответствии с номерами разъемов ввода-вывода ЦАТС.
После проверки «на себя» подведите концы кабеля к разъемам ввода-вывода. Плотно вставьте разъем кабеля в ответный разъем ввода-вывода ЦАТС «МС240». Осторожно и надежно защелкните петли крепления разъема.
Подайте питание на станцию, вольтметром убедитесь в наличии напряжения 60В на клеммах питания и в правильности полярности включения. Включите выключатель на передней панели модуля питания и убедитесь, что через 3-5сек зажглись зелёные индикаторы вторичных напряжений и кратковременно зажегся красный индикатор «сброс» модуля ЦПУ (допускается двукратное зажигание этого индикатора).
3.7 Указания по технике безопасности
3.7.1 Общие указания
Эксплуатация станции должна производиться инженерно-техническим персоналом, прошедшим специальную подготовку.
Станция состоит из сложных электронных и электромеханических устройств и требует строгого выполнения правил транспортировки, установки и эксплуатации.
Транспортировка станции может осуществляться наземным и воздушным транспортом в заводской транспортной упаковке, при соблюдении требований раздела 12 настоящей инструкции.
Хранение станции должно осуществляться в соответствии с указаниями, изложенными в настоящей инструкции.
На всех стадиях эксплуатации станции обслуживающий персонал обязан:
– строго руководствоваться настоящей инструкцией;
– соблюдать правила техники безопасности;
– проводить техническое обслуживание в сроки, установленные регламентом технического обслуживания;
– при проведении технического обслуживания пользоваться исправной, с не просроченной датой проверки контрольно-измерительной аппаратурой;
– постоянно следить за состоянием станции и своевременно устранять появляющиеся неисправности;
– регулярно проверять и пополнять ЗИП исправными блоками и элементами.
Станция предназначена для круглосуточной эксплуатации при следующих условиях:
– температура окружающей среды от минус10 до +40 ўЄС;
– относительная влажность воздуха до 80% при температуре 25 ўЄС;
– атмосферное давление от 6,0х10*4 до 10,7х10*4 Па (от 450 до 800 мм рт.ст.).
Замена неисправных блоков должна осуществляться только при выключенном электропитании.
3.7.2 Указания мер безопасности
Помещения, в которых устанавливается станция, относятся к классу помещений с повышенной опасностью.
При работе со станцией должны выполняться требования действующих руководящих документов по правилам и мерам безопасности и эксплуатационной документации.
К эксплуатации станции допускается обслуживающий персонал, имеющий твердые теоретические знания и практические навыки в обращении с системой, знающий правила техники безопасности, обученный приемам освобождения пострадавшего от электрического тока и правилам оказания первой помощи пострадавшим.
Обслуживающий персонал, осуществляющий эксплуатацию станции, должен помнить, что небрежное или неумелое обращение с техническими средствами (ТС) станции, нарушение требований настоящего руководства по эксплуатации может привести к неисправностям и отказам отдельных блоков, узлов и станции в целом, а также привести к несчастным случаям.
Проверка знаний правил техники безопасности (ТБ) у обслуживающего персонала (ОП) должна производиться в следующих случаях:
– один раз в год одновременно с проверкой правил эксплуатации на допуск к самостоятельному обслуживанию станции;
– при нарушении правил техники безопасности или правил эксплуатации;
– при определении квалификации группы вновь прибывшего обслуживающего персонала.
ОП необходимо помнить, что электрооборудование, входящее в состав станции, по условиям электробезопасности относится к электроустановкам, напряжением до 1000В.
Металлические конструкции должны быть заземлены.
Лица, обслуживающие систему, должны быть обучены приемам освобождения попавшего под напряжение от электрического тока, приемам реанимационного дыхания, правилам оказания первой помощи и способам тушения пожара.
Для предупреждения несчастных случаев с ОП и аварий при эксплуатации станции выполнять следующие требования ТБ и меры предосторожности:
– производить замену плат модулей только при выключенных источниках питания;
– применять предохранители номинала и типа, предусмотренные электрическими схемами стоек;
– не применять в качестве предохранителей самодельные вставки;
– заземлять все оборудование и приборы, работающие под высоким напряжением или питающиеся от сети переменного тока;
– определять наличие напряжения на источниках питания, а также отдельных цепях оборудования, только с помощью измерительных приборов;
Должностные лица и весь ОП станции должны выполнять правила пожарной безопасности. Противопожарный инвентарь, находящийся в помещениях в соответствии с рабочим проектом, должен быть комплектным, исправным, находиться в специально отведенных местах. Места расположения пожарного инвентаря должны быть помечены красной краской.
Проходы в помещениях, основные и запасные выходы должны содержаться в постоянной готовности. В случае возникновения пожара в помещениях, вентиляционные станции должны отключиться.
Проведение огнеопасных работ (сварка, резка металла и т.п.) в помещениях допускается с разрешения начальника смены и только под наблюдением дежурного из состава внешнего пожарного расчета. За помещениями, в которых производятся огнеопасные работы, должно быть установлено особое наблюдение в течение 6-8 ч после окончания огнеопасных работ.
3.7.3 Особенности техники безопасности при работе с ЦАТС
Будьте внимательны к указаниям и предупреждениям настоящего руководства по эксплуатации. Во избежание ухудшения качества покрытия ЦАТС не используйте для очистки поверхности кожуха летучие вещества (ацетон, спирт, бензин, растворитель).
Очистку пыли с корпуса АТС производите только сухой чистой тряпкой. Пользуйтесь только стандартными разъемами, входящими в комплект поставки. Щели и отверстия в корпусе ЦАТС обеспечивают ее вентиляцию и надежную работу, предотвращая перегрев.
Категорически запрещается закрывать щели и отверстия!
ЦАТС с блоком питания на 220 В должна работать только от сети питания переменного тока 50 Гц с напряжением 220 В. Следите, чтобы сетевой шнур не защемился другими приборами. Во избежание случаев поражения электрическим током нельзя включать ЦАТС со снятым кожухом. Вы можете ее повредить или попасть под напряжение сети.
Телефонные аппараты, не имеющие сертификат Минсвязи России, а также различные устройства передачи данных, радио-удлинители и т.п. подключаются только по согласованию с предприятием-изготовителем.
Подача в абонентскую линию посторонних напряжений (как кратковременных, так и длительных) категорически запрещена.
ЦАТС должна быть заземлена. Шины защитного заземления ЦАТС должны быть обозначены в соответствии с ГОСТ 21130-75. Клемма заземления ЦАТС должна быть соединена с контуром защитного заземления. Сопротивление заземляющего устройства не должно превышать 4 Ом.
Во избежание несчастного случая категорически запрещается эксплуатация АТС "МС 240" без заземляющего соединения!
3.7.4 Условия окружающей среды
Место установки ЦАТС должно быть чистым, сухим и защищенным от воздействия экстремальных погодных условий.
Пол помещения в месте установки ЦАТС должен быть покрыт линолеумом, полихлорвиниловым покрытием, керамической плиткой или паркетом. Покрытие пола коврами не допускается.
Стены и потолок помещения в месте установки ЦАТС должен быть снабжен покрытием или окрашен так, чтобы было исключено отделение частиц.
Помещение для установки ЦАТС должно быть хорошо освещено, а источники света должны быть равномерно распределены, чтобы не было затененных мест. Уровень освещенности должен быть достаточным для комфортного чтения и позволять различать цвета изоляции проводов без излишнего напряжения глаз.
Освещение должно быть сравнимым с освещением учрежденческого помещения. Как общее правило, в комнате с высотой потолка 2,5 м одна люминесцентная лампа длиной 120 см обеспечивает достаточную освещенность на площади 1,9 - 2,4 м2.
В зоне установки ЦАТС должна поддерживаться температура окружающего воздуха пределах 0 - 40 ўЄC и относительная влажность 20 - 80 %. Образование конденсата должно быть исключено.
Необходимо учитывать тепло, выделяемое другим оборудованием. В частности, при заряде полностью разряженных батарей может выделяться значительное количество тепла, зависящее от емкости батареи и интенсивности (тока) заряда.
При большом перепаде температур при вносе станции в помещение, необходимо выдержать не менее двух часов в нормальных условиях в упаковке. После длительного пребывания в условиях повышенной влажности станцию, перед включением, необходимо выдержать в нормальных условиях не менее 12 часов.
В помещении ЦАТС не должно быть едких и вызывающих коррозию жидкостей, веществ и материалов. Если в состав системы входят батареи, обязательно необходимо принять соответствующие меры по предупреждению вызывающих коррозию выделений из батарей (например, предусмотреть специальную вентиляцию). Проверьте наличие дополнительных требований в местных строительных нормах и правилах.
Помещение для установки ЦАТС не должно находится ближе 6 м от электроустановок, создающих высокие уровни электромагнитных полей или излучения радиочастотной энергии. К таким установкам относятся радиопередатчики, установки для электродуговой сварки, копировальные аппараты, электродвигатели, холодильные установки, силовые трансформаторы, распределительные пункты электросетей, а также щиты с устройствами защиты силовых сетей.
Помещение для установки станции должно обеспечивать необходимую безопасность системы. Оно должно иметь прочные укрепленные стены и запирающуюся дверь.
ЦАТС «МС240» и услуги, обеспечиваемые ею абонентам, представляет собой значительный объем капиталовложений. В случае критической ситуации надежность связи может оказаться решающей для защиты жизни людей и имущества. Доступ к ЦАТС должен быть ограничен и контролируем во избежание нежелательного вмешательства посторонних лиц в работу станции. В системе используются опасные рабочие напряжения, а токи короткого замыкания могут иметь весьма большую величину, вследствие чего станция должна быть защищена от повреждений неквалифицированным персоналом, а сам персонал - от возможных травм.
7 Технико-экономическое обоснование проекта
В данном проекте решаются вопросы реконструкция ОС поселка Гастелло Жаркаинского района Акмолинской области. Существующее оборудование АТС типа АТСК-50/200 с монтированной емкостью 100 номеров давно устарело и подлежит замене на современное. В качестве нового оборудования АТС будет использоваться цифровая коммутационная станция МС-240 (Россия).
Число вновь вводимой емкости 300 номеров (на первом этапе) определено на основании исследовании спроса, так как на традиционные виды услуг предприятия имеет предварительные заявки, например заявления на установку телефона, а также в данном проекте предусматривается телефонизация окраин п. Гастелло.
Оценка экономической эффективности капитальных вложений осуществляется на основе проведенного расчета оборудования АТС с помощью технико-экономических показателей, которые будут рассмотрены в данном разделе.
Расчет выполняется в определенной последовательности, включает следующие этапы: расчет капитальных затрат на приобретенное оборудование и ввода его в эксплуатацию; расчет годовых эксплуатационных расходов; расчет доходов от основной деятельности, получаемой после ввода в эксплуатацию АТС; расчет показателей экономической эффективности.
С целью сопоставления эффекта затрат, в общую сумму капитальных вложений входят: затраты на приобретение оборудование (его стоимость); затраты на его транспортировку; затраты на монтаж оборудования и его настройку; затраты на линейные сооружения и системы передачи.
Оборудование, снимаемое с эксплуатации, имеет физический срок службы более 20-ти лет, и полностью перенесло свою стоимость на создаваемую продукцию.
Строительство гражданских сооружений не предусматривается, так как станция будет располагаться в существующем здании, на площади пригородной для размещения оборудования данного типа и отвечающей требуемым нормам.
Согласно договору с фирмой поставщиком поставляется оборудования. Кроме цены на станционное оборудование в размер капитальных вложений входят затраты на транспортировку оборудования, монтаж и другие статьи, указанные в таблице 7.1.
Капитальные единовременные затраты определяются по формуле:
К = Ц + К
+ К
+ К
+ К
(7.1)
где Ц - цена системы (оборудования); К
- стоимость транспортировки к месту эксплуатации; К
- стоимость монтажа системы (оборудования) на месте эксплуатации; К
- стоимость прокладки линии; К
- стоимость запаса сменяемых частей, хранящихся у потребителя.
Таблица 7.1 - Капитальные затраты
Наименование затрат и работ |
Количество единиц | Сметная стоимость единицы, тенге | Сметная стоимость общая, тыс. тенге |
| 1 | 2 | 3 | 4 |
| Раздел А (оборудование): | |||
| Коммутационное оборудование, портов | 300 | 12000 | 3600,0 |
| Прочее оборудование не учтенное сметой, (от стоимости оборудования), % | 1,0 | 120 | 36,0 |
| Тара и упаковка (от стоимости оборудования), % | 2,0 | 240 | 72,0 |
| Транспортные расходы (от стоимости оборудования), % | 2,0 | 240 | 72,0 |
| Итого по Разделу А: | 12600 | 3780,0 | |
| Раздел Б: | |||
| Монтаж и настройка (от стоимости оборудования), % | 10 | 1200 | 360,0 |
| Обучение (от стоимости оборудования ),% | 1,0 | 120 | 36,0 |
| Итого по разделу Б: | 1320 | 396,0 | |
| Раздел В: | |||
| РШ 600х2, шт | 2 | 25000 | 50,0 |
| Кабель ТПП 100х2, м | 1000 | 300 | 300,0 |
| Кабель ТПП 50х2, м | 1000 | 250 | 250,0 |
| Кабель ТПП 10х2, | 2000 | 150 | 300,0 |
| ЯКГ 20х2 | 10 | 700 | 7,0 |
| ЯКГ10х2 | 10 | 500 | 5,0 |
Итого по разделу В |
26900 | 912,0 | |
| Вместе по смете (А + Б+В): | 40820 | 5088,0 | |
| НДС, % | 15 | 6123 | 763,2 |
| Итого с НДС | 46943 | 5851,2 | |
Станционное оборудование составляет 80% от общей части капитальных затрат, а увеличение объема мощности линейного оборудования и систем передачи (К
) 20%:
К
= К*20% ,тыс. тенге (7.2)
тогда общие капительные затраты определяется:
К
=К+ К
, тыс. тенге (7.3)
Затраты на один монтированный номер (тыс.тенге) определяется:
К
= К
/ N (7.4)
где N - количество подключаемых портов (N= 300).
Годовые эксплуатационные расходы складывается из следующих статей затрат: заработная плата штата основной деятельности с отчислениями на социальные налоги; амортизационные отчисления; расходы на материалы и запасные части; затраты на электроэнергию со стороны производственных нужд; прочие производственные и административно-управленческие расходы.
Расчет годового фонда заработной платы штата основной деятельности производится на основании расчета численности производственного персонала должностных окладов, сложившихся на телефонной сети Жаркаинском РУТ на 2006-2007 годы. Для обслуживания АТС (0,5 единиц- техник) и местной кабельной сети требуется (0,5 единиц - электромонтер), а обслуживания магистрали между районным центром и поселком (ЦС-ОС) осуществляется централизовано с ЦТЭ, который находиться в районном центре (РУТ). Новая станция типа МС-240 не требует постоянного контроля и в будущем также будет контролироваться с ЦТЭ, поэтому на 1-м этапе эксплуатации ЦАТС достаточно одного персонала. Результаты расчета численности штата и годового фонда заработной платы сведены в таблицу 7.2.
Таблица 7.2 - Годовой фонд заработной платы
Наименование должностей и профессий |
Станционные сооружения | Линейные сооружения | Всего человек | Оклад, тенге | Годовой фонд зарплаты, тыс. тенге |
| Техник | 0,5 | 0,5 | 15000 | 180,0 | |
| Электромонтер | 0,5 | 0,5 | 13000 | 156,0 | |
| Итого | 1 | 28000 | 336,0 |
Отчисления на социальные нужды составляют 20% от годового фонда зарплаты. Из них: отчисления на социальные нужды (тыс.тенге) составляют:
О
= ФОТ * 0,20 (7.5)
О
=336,0* 0,20= 67,2 тыс. тенге
Годовой фонд заработной платы основной деятельности с отчислениями на социальные налоги (тыс.тенге) составит:
(7.6)
ФОТ=336,0 + 67,2 = 403,2 тыс. тенге
Величина амортизационных отчислений определяется исходя из первоначальной стоимости оборудования и сооружений связи и установленных норм амортизации.
Амортизационные отчисления рассчитываются по формуле:
тенге (7.7)
где 0,97 – коэффициент определяющий капитальных затрат, переходящих в основные производственные фонды (ОПФ); Н
- средняя норма амортизации для основных фондов.
Э
= 5851,2*0,97*0,083=471,08 тыс. тенге
Для расчета расходов на материалы и запчасти (тыс. тенге) используем формулу:
Э
=0,05 * Ц (7.8)
где Ц - стоимость оборудования; 0,05 – коэффициент, определяющий расходы на материалы и запчасти на один монтированный номер.
Э
= 0,05 * 3600,0 =180,0 тыс.тенге
Затраты на электроэнергию для производственных нужд от сторонних источников электроснабжения определяется в зависимости от потребляемой мощности и тарифов, определяемых по формуле:
(7.9)
где Т-тариф на электроэнергию ( 5,0 тенге/кВтч);
расход тока в ЧНН на 1000 номеров (для ЦАТС
38 А ); U - величина номинального станционного напряжения, U=60 В; В - число тысячных групп (1);
КПД выпрямительной установки,
равный 0,7; Кчнн - коэффициент концентрации нагрузки в ЧНН, Кчнн=0,1 .
, тенге
Полученные данные по определению затрат на электроэнергию рассчитана на 1000 номеров, а в нашем случае достаточно (300 номеров) - 17832,6 тенге.
Прочие затраты на производственные, транспортные управленческие и эксплуатационно-хозяйственные расходы определяются укрупнено в размере 10 % от общей суммы затрат на основании данных эксплуатации станции. Результаты расчетов годовых эксплуатационных расчетов сведены в таблице 7.3.
Таблица 7.3 – Эксплуатационные расходы за год
| Показатели | Единица измерения | Сумма затрат, тысяч тенге |
Структура затрат, % |
| 1 | 2 | 3 | 4 |
| Заработная плата производственного персонала с отчислением на социальный налог | тыс.тенге | 403,2 | 34,19 |
Амортизационные отчислениями |
тыс.тенге | 471,08 | 39,95 |
| Материалы, запчасти | тыс.тенге | 180,0 | 15,26 |
Затраты на электроэнергию |
тыс.тенге | 17,83 | 1,51 |
| Прочие | тыс.тенге | 107,21 | 9,09 |
| Итого | 1179,32 | 100 |
Выручка от основной деятельности включает в себя разовую и текущую выручку. Структура абонентов определяется спросом на услуги телефонной связи. Количество новых установок определяется как разница между монтированной емкостью проектируемой АТС и емкостью демонтированных станций:
N
= 300-100=200 номеров
При расчете текущей выручки взяты среднестатистические данные продолжительности разговора по категориям абонентов плюс абонентская плата. Выручка от основной деятельности представлена в таблице 7.4.
Выручка включает в себя статьи доходов от установки телефонов юридическим лицам, физическим лицам, абонентская плата от физических лиц, юридических лиц – предприятия, организации, частные предприниматели). Также в статьи доходов входят дополнительные виды обслуживания (будильник, ограничение исходящей связи, переадресация и другие). Следующие статьи доходов – это зона Интернет, междугородные и международные переговоры, аренда каналов, выделенные линии, подключение ISDN, ADSL (технологии асимметричной цифровой абонентской линии и интеграция служб).
Эффективность капитальных вложений рассчитывается по формуле:
Э = П / К (7.10)
где П - чистая прибыль; К- капитальные затраты.
Чистая прибыль определяется по формуле:
П = П
- Н
(7.11)
где П
– ожидаемая годовая прибыль; Н
– корпоративный налог, составляет 30% от ожидаемой годовой прибыли .
Таблица 7.4 - Выручка от реализованных услуг в 1-й год эксплуатаций АТС
| Виды услуг | Тариф, тенге | Единица измерения | Количество услуг, единиц |
Сумма выручки, тыс. тенге |
| Раздел А: | ||||
Разовые выручки (установка ТА), всего, в том числе: |
тенге | |||
| Квартирный сектор | 12000 | тенге | 100 | 1200,0 |
| Деловой сектор | 37120 | тенге | 20 | 742,4 |
| Итого по разделу А: | тенге | 120 | 1942,4 | |
| Раздел Б: | ||||
Текущая выручка абонентская плата, всего, в том числе: |
тенге | |||
| Квартирный сектор | 480 | тенге | 160 | 921,6 |
| Деловой сектор | 1500 | тенге | 20 | 360,0 |
| Итого по разделу Б: | тенге | 1281,6 | ||
| Раздел В: | ||||
| (Интернет) | 25 % от суммы доходов | тенге | 806,0 | |
| Прочая выручка | 25% от суммы доходов | 806,0 | ||
| Итого по разделу В: | 1612,0 | |||
| Итого А+Б+В | 4836,0 | |||
Доходы без НДС составят 4168,6 тыс.тенге
Ожидаемая прибыль составит:
П
= Д - Э (7.12)
П
= 4168,6 - 1179,32= 2989,28 тыс.тенге
Чистая прибыль составит (по формуле 7.11):
П = 2989,28 – 896,78 = 2092,5 тыс.тенге
Рентабельность рассчитывается по формуле:
Р = П / К % (7.13)
где К - капитальные затраты, (тыс.тенге)
Р = 2092,5/5851,2=0,357*100=35,7 %
Срок окупаемости составит:
Т
=К/П
(7.14)
где Т – срок окупаемости, лет
Т
=5851,2/2092,5 = 2,79 ≈ 2,8 лет
Приведем технико-экономические показатели в таблице 7.5.
Таблица 7.5 – Технико - экономические показатели
| № п/п | Наименование показателей | Единица измерения |
Сумма |
| 1 | Капитальные вложения | тыс. тенге | 3780,0 |
| 2 | Доходы | тыс. тенге | 4836,0 |
| 3 | Расходы | тыс. тенге | 1179,32 |
| 4 | Балансовая прибыль | тыс. тенге | 2989,28 |
| 5 | Подоходный налог (корпоративный налог) | тыс. тенге | 896,78 |
| 6 | Рентабельность | % | 35,7 |
| 7 | Чистая прибыль | тыс. тенге | 2092,5 |
| 8 | Окупаемость | лет | 2,8 |
Заключение
Целью настоящего проекта является замена устаревшего оборудования ОС (АТС) на современную цифровую типа МС-240 (Россия). При реконструкции устаревшего оборудования ОС происходит:
- увеличение доходов от населения, за счет увеличения абонентской станционной и линейной емкости, а также от предоставляемых услуг и дополнительных услуг связи;
- достижение эффективной телекоммуникационной инфраструктуры, устраняющей дисбаланс между сельским и городским населением в отношении уровня жизни, образования и других социальных услуг;
- обеспечение агропромышленного комплекса современными телекоммуникационными услугами и т. д.
Приведенные расчеты в разделе «Технико-экономическое обоснование проекта» показывают целесообразность реконструкции ОС п. Гастелло Жаркаинского РУТ Акмолинской области. Экономические показатели соответствуют нормативным, вложенные инвестиции окупятся через 2,8 год.
Приложение А
Основные характеристики системы SI-2000:
– максимальная емкость до 40000 абонентских линий;
– максимальная емкость узловой станции - до 7000 аналоговых или цифровых соединительных линий;
– 512 направлений (число линий в направлении от 1 до 7000);
– тракт 2 Мбит/с может быть разбит на несколько направлений (до 30);
– в одном направлении могут быть исходящие, входящие и двухсторонние каналы, а также каналы с различными системами сигнализации;
– общая пропускная способность системы - 5000 Эрл;
– производительность - до 200000 вызовов в ЧНН;
– потребляемая мощность - 0.5...0.7 Вт на АЛ;
– возможность включения ISDN абонентов;
– электропитание: - 48В постоянного тока (при использовании IPS/MPS - 230/380 В переменного тока);
– условия эксплуатации: температура от плюс 5 до плюс 40° градусов, влажность от 20 до 80 %.
В состав системы входят следующие основные функциональные узлы:
- GSM(GROUPSwitchModule)- групповой переключатель,
- ADM(AdministrationModule) –административный модуль,
- CHM(LineConcentratorModule)-тарифный модуль,
- (R)ASM ((Remote) AnalogNetworkModule) –(удаленный) аналоговый сетевой модуль,
- LCM(LineConcentratorModule) – модуль абонентских концентраторов,
- (R)ANM ((Remote) AnalogSubscriberModule) –(удаленный) аналоговый сетевой модуль,
- DNM (DigitalNetworkModule)-цифровой сетевой модуль,
- CCSM/DSM – модуль ОКС № 7 / ISDN.
Рисунок 1 - Структура системы SI-2000
Приложение Б
Таблица 1 - Характеристики АТС СТС Жаркаинского района
| Тип АТС | Наименование населенного пункта | Тип оборудования АТС |
Год установки |
Емкость станций |
Ёмкость задействованная, % |
Количество ОТА | Куда включена | ||
| монтир. | задейст. | монтир. | АОН | ||||||
| 1 | 2 | 3 | 4 | 5 | 6 | 7 | 8 | 9 | 10 |
| ЦС | Державинск | SI-2000 | 2006 | 2500 | 2300 | 2500 | 2300 | 2300 | АМТС |
| ОС1 | Львовское | 50/200 | 1981 | 100 | 95 | 100 | 95 | 95 | РЦ |
| ОС2 | Валиханово | 50/200 | 1980 | 150 | 150 | 150 | 150 | 150 | РЦ |
| ОС3 | Тасты-Талды | 50/200 | 1980 | 200 | 195 | 200 | 195 | 195 | РЦ |
| ОС4 | Берсуат | 50/200 | 1981 | 150 | 150 | 150 | 150 | 150 | РЦ |
| ОС5 | Костычево | 50/200М | 1983 | 100 | 100 | 100 | 100 | 100 | РЦ |
| ОС6 | Тасоткель | 50/200 | 1980 | 100 | 100 | 100 | 100 | 100 | РЦ |
| ОС7 | Кенское | 50/200 | 1980 | 50 | 50 | 50 | 50 | 50 | РЦ |
| ОС8 | Гастелло | 50/200 | 1991 | 100 | 100 | 100 | 100 | 100 | РЦ |
| ОС9 | Отрадное | 50/200 | 1984 | 100 | 95 | 95 | 100 | 95 | РЦ |
| ОС10 | Пятигорск | 50/200 | 1983 | 200 | 195 | 200 | 195 | 195 | РЦ |
| ОС11 | Тассуат | 50/200 | 1981 | 100 | 95 | 95 | 100 | 95 | РЦ |
| ОС12 | Далабай | 50/200 | 1980 | 100 | 95 | 95 | 100 | 95 | РЦ |
Рисунок 1 - Структурная схема СТС
Приложение В

Рисунок 1 – Структурная схема М-200
Таблица 1 - Техническая характеристика станции М-200
| Управление | программное |
| Коммутация | цифровая |
| Микропроцессорный комплект | Intel 80C38 |
| Тактовая частота | 66 МГц |
| Сопроцессор | ADSP2185KP |
| Коммутатор ИКМ- потоков | Siemens |
| Емкость ОЗУ | 256 кБайт |
| Флэш-память | 384 кБайт |
| Аналогово-цифровое преобразование | Motorola |
| Количество внутренних соединений | 80/96 |
| Напряжение питания абонентского шлейфа | 60 В |
| Абонентский комплект | симметричный |
| Вызывной сигнал | 95 В,25Гц |
| Электропитание | 220В,50Гц или 60В постоянного тока |
Приложение Г
Таблица 1 – Общие характеристики МС-240
| Наименование характеристики | Значение |
| Общие характеристики | |
| Количество абонентских линий | до 496 (512 для отдельно стоящей АТС) |
| Шаг расширения | 16 |
| Сопротивление абонентской линии вместе с телефонным аппаратом | не более 4 кОм |
| режим «повышенной дальности» | не более 6 кОм |
| при работе с блокиратором | не более 2 кОм |
| Способ набора номера вызываемого абонента | декадный, частотный (DTMF) |
| Частота сигнала индукторного вызова (ИВ) | 25±2 Гц |
| Напряжение генератора ИВ | 95±5 В |
| Управление | программное |
| Тип процессорного устройства | Intel 80386ЕХ |
| Тип сигнального процессора | ADSP 2186 |
| Связь с другими АТС | ЦСЛ ИКМ, каналы ТЧ |
| Предоставляемые функции ДВО | 32 категории ДВО |
| Напряжение питания | либо 24..75В, либо ~220В |
| Удельная потребляемая мощность | 0,2 Вт/номер |
| Ток потребления по цепи питания* | не более 3А |
| Габаритные размеры* | 450 х 260 х 350 мм |
| Масса* | не более 20 кг |
| Интервал рабочих температур | от минус 10 до +45 °С |
| Средний срок службы | 20 лет |

Рисунок 1 - Структурная схема МС-240
Приложение Д
Базовые модули:
- Модуль блока питания БП24-60Г, БП24-60М, БП24-60МГ
– Модуль блока питания БП220
– Модуль центрального процессора ЦП
– Субмодуль цифровых потоков Е1 С4Е1
– Субмодуль LVDS СКС
– Модуль расширения КС
Абонентские модули:
– Модуль абонентских комплектов 24АК
– Модуль абонентских комплектов 24АК-D
– Модуль спаренных абонентских комплектов 16СК
– Модуль системных телефонов 16СТ
– Модуль системных телефонов 24СТ
– Выносные модули абонентских комплектов ТАД-2, ТАД-4
– Модуль для подключения абонентских устройств по SHDSL 4DSL-A
Модули соединительных линий:
– Модуль цифровых потоков Е1 2Е1
– Модуль цифровых потоков Е1 8ТМ
– Модуль цифровых потоков ИКМ15 2И15
– Модуль окончаний каналов ТЧ 8ТЧ
– Модуль аналоговых двухпроводных СЛ 8АЛ
– Станционный модуль DSL 4DSL
– Модуль шлюза IP TM.IP
Дополнительные модули:
– Модуль СОРМ
– Блок аварийной сигнализации
Комплект АЛ обеспечивает:
– прием индукторного вызова;
– управление шлейфом, импульсный и тональный набор номера.
–
| Количество комплектов | 8 |
| Входное/выходное сопротивление | 600 Ом |
| Ток имитатора шлейфа, не менее | 25 мА |
| Затухание несогласованности относительно сопротивления | 600 Ом |
| в полосе: (0,3...0,6) кГц, не менее | 12 дБ |
| (0,6...3,4) кГц, не менее | 15 дБ |
Приложение Е

Рисунок 1 - Схема распределения нагрузки
Приложение Ж
При первом запуске NCS программа запросит пароль. По умолчанию в систему внесены следующие данные: имя “admin”, пароль “1”. После ввода и запуска программы можно производить дальнейшую настройку. Дальнейшая настройка производится через пункт меню «Файл/Настройка программы» (рисунок 1).

Рисунок 1 – Диалог настройки NCS
Во вкладке «Основные настройки» указывается:
– адрес SQL сервера;
– путь к файлу базы данных;
– идентификатор программы – идентификатором является уникальное, в пределах системы (одной базы данных) число. Это число позволяет настраивать в пределах одной базы данных множество конфигураций сетей, каждая со своими объектами и способом доступа. По умолчанию NCS имеет идентификатор ноль. Менять его не рекомендуется. Каждый новый клиент MON должен получать свой новый уникальный идентификатор (1,2,3…и т.д.);
– активировать журнал обмена с PbxAdm– используется для отладки работы системы;
– активировать журнал обмена с ЦПв3– используется для отладки.
Смена адреса SQL сервера, пути к файлу базы данных приведет к потере информации, поэтому задавать эти параметры рекомендуется только при первичной настройке системы.
Во вкладке «Отображение» производится настройка:
– Шрифт надписей– задается шрифт для надписей на главном поле программы (имен объектов);
– Ширина активного линка– ширина в пикселах для линка у которого активирован мониторинг;
– Ширина пассивного линка– ширина отображения линка с неактивным мониторингом;
Вкладка «SNMP»:
– Активировать SNMP агент– запускает высылку SNMP трапов по указанному в настройках IP-адресу.
– Адрес получателя;
– Порт получателя;
– Порт источника(порт, встроенного в NCS агента).
Примечание: изменение настроек SNMP агента начнут действовать только после перезапуска программы NCS.
Вкладка «Сеть станций»:
– Автоматическая синхронизация времени– программа NCS будет сравнивать системное время компьютера и внутреннее время станций. При расхождении в секундах на величину больше, чем указанная в настройках, будет произведена автоматическая установка. Эталоном считается время компьютера, на котором запущен NCS.
– Поддержка БиТТЛ– включить поддержку автоматической системы изменения услуг и ограничения доступа абонентов станций МС-240. Используется совместно с системой автоматизации абонентских данных БиТТЛ.
Вкладка «Сигнализация»:
– Звуковой сигнал при аварии (динамик ПК)– при активации этого флага, аварийное состояние любого из объектов мониторинга будет сопровождаться звуковым сигналом динамика компьютера;
– Звуковой сигнал при аварии (Sound Card) – при активации этого флага, аварийное состояние любого из объектов мониторинга будет сопровождаться звуковым сигналом на колонках, подключенных к звуковой карте компьютера. Файл задается в том же диалоге.
Звуковой файл должен быть на диске в формате WAV (без сжатия):
– Поддержка БАС– при активации этого флага программа NCS будет дублировать аварийные состояния на Блок Аварийной Сигнализации. В настройках БАС IP адрес компьютера должен быть прописан в таблице источников сообщений.
– Поддержка GSM SMS– активация этого флага позволяет дублировать наиболее важные (критические) сообщения путем рассылки на сотовый телефон стандарта GSM. Для этого необходимо, чтобы к компьютеру был подключен телефон стандарта GSM, с настроенным телефоном центра сообщений и положительным балансом. Телефон подключается через Ком-порт или через BlueTooth, с организацией виртуального Ком-порта. Затем в настройках указывается номер Ком-порта и номер телефона получателя SMS сообщений.
Примечание: изменение настроек БАС и GSM SMS начнут действовать только после перезапуска программы NCS.
Вкладка «Прочее»:
– Период автоматической очистки журнала аварий– эта опция позволяет автоматически очищать базу данных, удаляя устаревшие записи.
Приложение З
Типы доступа к станции МС-240 ЦПv3:
– Serial Port– последовательный порт RS232. В параметрах указывается номер порта;
– Модем– установленный в компьютер аналоговый модем. В параметрах указывается тип модема и виртуальный номер в станции, через который будет производиться доступ.
– Ethernet-PcmGate– устройство, позволяющее осуществлять доступ к станции через поток Е1. В параметрах указывается IP адрес устройства и виртуальный телефонный номер на станции.
– CommServer– программа совместного доступа к Ethernet-PcmGate. В параметрах указывается IP адрес компьютера, на котором запущена программа и виртуальный телефонный номер на станции.
– TCP/IP– прямой доступ к станции по протоколу TCP/IP. В параметрах указывается IP адрес станции.
– Для терминала мониторинга введен тип доступа “IP-транзит”. В параметрах указывается IP адрес компьютера, на котором запущен сервер мониторинга (NCS.EXE), а также уникальный идентификатор объекта доступа на сервере. Идентификатор можно получить через отдельный диалог настройки.

Рисунок 1 – Свойства станции
Типы доступа к станции МС-240 ЦПv2 дублируют типы доступа к станции ЦПv3, кроме способа доступа TCP/IP (в ЦПv2 этот тип доступа недоступен).
Для центральной станции задается тип доступа и IP-адреса основного и резервного ЦП.
К мультиплексору МАКОМ-МХ доступ осуществляется по последовательному порту RS232 или RS422. В параметрах указывается номер последовательного порта и идентификатор для порта RS422.
В качестве пароля для станций указывается пароль доступа, сконфигурированный программой администратором PbxAdm. Для мультиплексора пароль не указывается.
Объект «Абонентский вынос» может быть добавлен только после того, как будет выделен базовый объект – станция МС-240 с ЦПв3. В параметрах выноса задаются слот, в который установлен модуль 4DSL, и номер комплекта. Также задается тип связи (DSL/E1) и количество установленных регенераторов. Регенераторам можно задать имена и включить мониторинг (рисунок 2).
Изменять количество регенераторов на линии после создания выноса нельзя. Если необходимо настроить другое количество регенераторов, то нужно удалить вынос и создать заново.

Рисунок 2 – Свойства абонентского выноса
Приложение И
Пример мониторинга соединительных линий.
Например, «Потеря потока на АТС-66».
Флаг «Линк активный» запускает механизм опроса состояния этого потока. Если он выключен, то на карте соединение всегда будет в исходном состоянии.
После внесения параметров для первого объекта соединения нужно нажать кнопку «Ок», затем на карте выбрать второй объект соединения и, после щелчка правой кнопки мыши на объекте, выбрать пункт меню «Межстанционные связи/выбор второй станции для соединения». Далее внести слот, порт и индекс соединения у второго объекта.
Примечание: мониторинг состояний потока производится только для первого объекта!
Таким образом, в качестве второго объекта может быть объект «Внешняя АТС», мониторинг которой не ведется.
Чтобы отредактировать параметры соединения, нужно выбрать один из объектов, участвующих в соединении, выбрать в меню пункт «Межстанционные связи/показать соединения». Затем в списке соединений открывшегося диалога выбрать соответствующий линк и отредактировать параметры.
Удаление связи производится через пункт меню «Межстанционные связи/разорвать связь». В открывшемся диалоге выбрать линк для удаления и нажать «Ок».
Чтобы отменить первую станцию установления соединения нужно выбрать пункт меню «Межстанционные связи/отмена соединения».
Приложение К

Рисунок 1 – Процесс соединения с объектом

Рисунок 2 – Авария доступа

Рисунок 3 – Соединение с объектом установлено
Похожие рефераты:
Организация интеллектуальной сети в г. Кокшетау на базе платформы оборудования Alcatel S12
Разработка системы управления технологическим сегментом сети
Реконструкция учрежденческой автоматической телефонной станции на ст. Петропавловск
Применение на судовых станциях автоматических идентификационных систем
Модернизация телефонной сети в сельской местности Республики Казахстан
Математическое моделирование услуг Интернет
Архитектура сотовых сетей связи и сети абонентского доступа
Техническая диагностика средств вычислительной техники
Коммутатор цифровых каналов системы передачи
Базовый процесс обработки вызовов
Проектирование сети Metro Ethernet в городе Павлодаре
Телефонная связь и ее развитие
Коммутация в сетях с использованием асинхронного метода переноса и доставки
Проект реконструкции станционных сооружений ГТС
Постановка, настройка и исследование абонентского программного обеспечения сети Internet