| Скачать .docx |
Дипломная работа: Технология GPRS
Введение
Цифровые беспроводные и сотовые технологии берут свое начало в 1940-х, когда началось коммерческое использование мобильной телефонной связи.
В начале 80-х годов в Европе существовало несколько конкурирующих стандартов аналоговой сотовой связи. В Европе к тому времени уже двадцать лет как существовал вполне подходящий инструмент для решения подобных вопросов – CEPT. Конференция CEPT (Conference Europeenne des Administration des postes et des telecommunications, The European Conference of Postal and Telecommunications Administrations) былаоснованав 1959. Её деятельность в основном сводилась к урегулированию международных коммерческих и операционных вопросов и стандартизации в области связи.
В 1982 этом году CEPT создала Groupe Speciale Mobile для изучения будущей европейской системы сотовой связи. Встречаются упоминания о том, что эта группа была создана по предложению Nordic Telecom и Netherlands PTT. Позжеаббревиатура GSM сталачитатьсякак Global System for Mobile Communications.
Сегодня GSM-сети охватывают практически все густонаселённые районы земного шара. Стандарт успешно развивается, однако можно смело говорить о том, что эволюционный процесс в сети ещё не закончен. Разработчики заложили слишком много лазеек для роста GSM при его развитии. На данный момент сеть имеет определённый потенциал развития по абонентской базе, конкурентоспособности и предоставлению новых услуг.
Сети стандарта GSM умеют передавать данные. Изначально эта возможность закладывалась в них разработчиками в далеких 80-х годах прошлого века. Тогда никто и подумать не мог о развитии коммуникаций в ближайшие десятки лет. Сейчас GSM может предоставить вполне конкурентоспособные сервисы, которые выведут абонентов во Всемирную Паутину и позволят переслать факсимильное или е-mail сообщение. Сеть GSM даёт пользователю возможность вывести свой компьютер в Интернет, используя сотовый телефон как устройство передачи данных. Кроме этого, современный мобильный телефон сам является web-браузером, ICQ-клиентом и даже файл-сервером.
Современный сотовый мир развивается очень быстро, и уследить за всеми нововведениями порой просто невозможно. С другой стороны, только грамотные пользователи могут использовать сотовую связь с максимальной выгодой для себя. Предупреждён – значит вооружён.
1. Структура и развитие сети "GSM Казахстан"
ТОО "GSM Казахстан ОАО "Казахтелеком" – казахстанский оператор сотовой связи стандарта GSM 900 был основан 30 сентября 1998 года. Акционерами "GSM Казахстан" являются национальный оператор связи.
АО "Казахтелеком" и финская компания "FinTur". Основное направление деятельности – предоставление сотовой сети GSM900 и обеспечение высококачественной связи.
Коммерческий пуск сети "GSM Казахстан" состоялся 6 февраля 1999 года с торговой маркой "K'Cell". Запуск карточной сотовой "Activ", которая является ещё одной торговой маркой компании, состоялся 9 сентября 1999 года.
На сегодняшний день количество абонентов сети "GSM Казахстан" составляет более 3 миллионов человек. Сеть "GSM Казахстан" работает более чем в 194 населенных пунктах Казахстана. Компания предоставляет услугу международного автоматического роуминга с 224 операторами в 101 стране мира.
Покрыты трассы: Астана-Караганда протяженностью 250 км, Алматы-Георгиевка (трасса на Бишкек) 250 км, Алматы-Талдыкорган 250 км, Астана-Кокшетау 300 км, Алматы-Шымкент протяженностью 600-700 км, Астана-Павлодар 600 км, Балхаш-Караганда 200 км, Кокшетау-Костанай 600 км. В будущем покрытие дорог РК будет продолжено в соответствии с планами развития сети "GSM Казахстан", включая покрытие населенных пунктов, расположенных вдоль трасс.
Постоянно расширяется спектр дополнительных услуг, предлагаемых абонентам компании. В них входят гороскоп, курсы валют, погода, расписание кинотеатров, программа телевидения, логотипы, мелодии, графические открытки, словарь, шутки и многое другое.
23 ноября 2004 года первой среди отечественных операторов, компания "GSM Казахстан" осуществила революционный прорыв в сотовой связи Республики Казахстан и открыла для своих абонентов услуги, основанные на технологии "EDGE" (Enhanced Data for GSM Evolution). Ввод "EDGE" является существенным шагом на пути модернизации сети "GSM" в сеть связи третьего поколения. Внедрение технологии "EDGE" позволит "GSM Казахстан" поднять сервис мобильной связи на качественно новый уровень. Благодаря технологии "EDGE", в значительной мере увеличивающей скорость передачи данных (до 200Кбит/с., что в 2-3 раза быстрее GPRS), абоненты уже в ближайшем будущем смогут воспользоваться всеми преимуществами услуг третьего поколения.
Руководство компании ТОО "GSM Казахстан ОАО "Казахтелеком" базируется в городе Алматы. Там же сосредоточен основной административный и технический персонал.
В состав "GSM Казахстан ОАО "Казахтелеком" входят следующие департаменты:
- административный департамент;
- департамент Главного исполнительного директора;
- департамент маркетинга;
- департамент по работе с клиентами;
- департамент по управлению человеческими ресурсами;
- департамент продаж;
- департамент информационных технологий;
- технический департамент;
- финансовый департамент;
- юридический департамент.
Состав Технического департамента:
- отдел планирования сети;
- отдел сектора передачи данных;
- отдел инженеров базовых станций;
- отдел радио поддержки;
- отдел энергетиков;
- отдел инженеров климатического контроля.
"GSM Казахстан" использует коммутационное оборудование – "Ericsson". Сегодня сеть компании включает 2 HLR, 13 коммутаторов (MSC), 19 контроллеров базовых станций (BSC) и рассчитана на 3,5 миллиона абонентов. Причем, используется перспективная версия MSC Ericsson AXE-10.
Сеть Карагандинской области обеспечивает коммутационная система, состоящая из одного коммутатора MSC и двух контроллеров BSC.
Связь с коммутатором более высокого уровня, расположенного в Алматы осуществляется посредством арендуемых двухмегабитных каналов на оптическом волокне ОАО "Казахтелеком".
В качестве исследуемой области выберем сектор сети базовых станций "GSM Казахстан", расположенный на юго-востоке города Караганды.
На данный момент в секторе работают 7 станций EricssonRBS2206, обеспечивающие покрытие описываемого района города.
В состав параметров станции входят:
- наименование станции – присваивается на стадии составления проекта новой базовой станции;
- координаты станции – в данном случае географические координаты расположения антенн сотовой связи;
- альтитуда – абсолютная высотная отметка земной поверхности на месте расположения объекта;
- высота здания или вышки над земной поверхностью, на которых установлены антенны сотовой связи;
- высота расположения секторных антенн базовой станции над земной поверхностью;
- конфигурация базовой станции – устанавливаемая приемо-передающая емкость на каждом из трех секторов покрытия базовой станции;
- высота подвеса радио релейных антенн – высота установки радио релейных антенн над земной поверхностью.
Координаты и альтитуды объектов, на которых установлены или планируется установить базовые станции, определяются с помощью ручных навигаторов GPS (GlobalPositionSystem). В нашем случае это GarminGPS 60 в соответствии с рисунком 1.1. После чего данные вносятся в персональный компьютер (ПК). Импорт данных, их обработку и визуализацию осуществляет компьютерная программа "MapSource". Интерфейс программы с местоположениями станций сотовой связи.
Данная программа дает представление о взаимоположении станций на карте, а также позволяет определить прямые расстояния между станциями и азимуты направления антенн сотовой связи.

Рисунок 1.1 – Ручной навигатор GarminGPS 60
Высота установки антенн сотовой связи замеряется ручным лазерным дальномером.
Все эти данные находят отражение в санитарном паспорте базовой станции "GSM Казахстан" при регистрации и получении разрешения на использование радиочастотного спектра.
На обследуемом секторе сети сотовой связи базовые станции работают с максимальной загрузкой, о чем свидетельствует рабочая конфигурация станций. В часы пик наблюдаются перегрузки, что свидетельствует о недостаточной емкости сотовой сети в данном секторе. Чтобы исправить создавшееся положение инженер отдела планирования составляет проект дополнительных станций сотовой связи, которые необходимо смонтировать в данном секторе сети. Благодаря этому в секторе повысится емкость по обслуживанию абонентов сотовой связи, а также улучшится и увеличится покрытие сектора сети.
Сеть передачи данных формируется из сегментов – Радио Релейных Линий (РРЛ), которые в свою очередь делятся на терминалы ближнего и дальнего конца.
Длина РРЛ определяется посредством программного приложения "MapSource". Диаметр антенны подбирается исходя из длины РРЛ. Основное применение в городских условиях получило оборудование, работающее на частотах 22-23 ГГц, которым соответствуют индексы используемых радиоблоков. Частоты, действующие на РРЛ, подбираются с помощью программного комплекса TEMS оптимизаторами сети передачи данных и регистрируются на основании заявки, подаваемой в Агентство информатизации и связи Республики Казахстан.
В связи с малой насыщенностью эфира частотами данного диапазона на сегодняшний день используется только вертикальная поляризация.
Емкость РРЛ определена в соответствии с потребностью на объем цифровых каналов действующих базовых станций.
1.1 Структура сети GSM900
Самая простая часть структурной схемы – переносной телефон, состоит из двух частей:
- Mobile Equipment – мобильное устройство;
- SIM (Subscriber Identity Module) – смарт-карта или модуль идентификации абонента, получаемый при заключении контракта с оператором.
Сотовый телефон имеет собственный номер – IMEI (International Mobile Equipment Identity – международный идентификатор мобильного устройства), который может передаваться сети по ее запросу. SIM, в свою очередь, содержит так называемый IMSI (International Mobile Subscriber Identity – международный идентификационный номер подписчика). Значит, IMEI соответствует конкретному телефону, а IMSI – определенному абоненту.
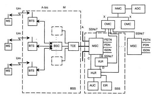
Типовая структурная схема и состав оборудования GSM сети соответствует рисунку 1.2.
"Центральной нервной системой" сети является NSS (Network and Switching Subsystem – подсистема сети и коммутации), а компонент, выполняющей функции "мозга" называется MSC (Mobile services Switching Center – центр коммутации). MSC в сети может быть и не один (в данном случае очень уместна аналогия с многопроцессорными компьютерными системами). MSC занимается маршрутизацией вызовов, формированием данных для биллинговой системы, также управляет многими другими процедурами.
Следующими по важности компонентами сети, также входящими в NSS, являются HLR (Home Location Register – реестр собственных абонентов) и VLR (Visitor Location Register – реестр перемещений). HLR представляет собой базу данных обо всех абонентах, заключивших контракт с данным оператором. В ней хранится информация о номерах пользователей (под номерами подразумеваются, во-первых, упоминавшийся выше IMSI, а во-вторых, так называемый MSISDN – Mobile Subscriber ISDN, т.е. телефонный номер в его обычном понимании).
В отличие от HLR, который в системе один, VLR-ов может быть и несколько – каждый из них контролирует свою часть сети. В VLR содержатся данные об абонентах, которые находятся на его территории (причем обслуживаются не только свои подписчики, но и зарегистрированные в сети клиенты роуминга). Как только пользователь покидает зону действия какого-то VLR, информация о нем копируется в новый VLR, а из старого удаляется. В HLR для каждого абонента постоянно присутствует ссылка на тот VLR, который с ним (абонентом) сейчас работает (при этом сам VLR может принадлежать чужой сети, расположенной, например, на другом конце Земли).

Рисунок 1.2 – Типовая структурная схема
На рисунке 1.2 приняты обозначения:
- MSC (Mobile Switching Centre) – центр коммутации подвижной связи;
- BSS (Base Station System) – оборудование базовой станции;
- ОМС (Operations and Maintenance Centre) – центруправленияиобслуживания;
- MS (Mobile Stations) – подвижныестанции.
NSSсодержитещедвакомпонента– AuC (Authentication Center – центравторизации) иEIR (Equipment Identity Register – реестридентификацииоборудования). Первый блок используется для процедур установления подлинности абонента, а второй, как следует из названия, отвечает за допуск к эксплуатации в сети только разрешенных сотовых телефонов.
Исполнительной частью сотовой сети, является BSS (Base Station Subsystem – подсистема базовых станций). BSS состоит из нескольких BSC (Base Station Controller – контроллер базовых станций), а также множества – BTS (Base Transceiver Station – базовая станция). Каждый BSC контролирует целую группу BTS и отвечает за управление и распределение каналов, уровень мощности базовых станций и тому подобное. BSC в сети не один, а целое множество (базовых станций же вообще сотни).
Управляется и координируется работа сети с помощью OSS (Operating and Support Subsystem – подсистемауправленияиподдержки). OSS состоит из всякого рода служб и систем, контролирующих работу и трафик – дабы не перегружать читателя информацией.
1.2 Регистрация в сети
При каждом включении телефона после выбора сети начинается процедура регистрации. Рассмотрим наиболее общий случай – регистрацию не в домашней, а в чужой, так называемой гостевой, сети (будем предполагать, что услуга роуминга абоненту разрешена).
Пусть сеть найдена. По запросу сети телефон передает IMSI абонента. IMSI начинается с кода страны "приписки" его владельца, далее следуют цифры, определяющие домашнюю сеть, а уже потом – уникальный номер конкретного подписчика. По номеру IMSI VLR гостевой сети определяет домашнюю сеть и связывается с ее HLR. Последний передает всю необходимую информацию об абоненте в VLR, который сделал запрос, а у себя размещает ссылку на этот VLR, чтобы в случае необходимости знать, "где искать" абонента.
При регистрации AuC домашней сети генерирует 128-битовое случайное число – RAND, пересылаемое телефону. Внутри SIM с помощью ключа Ki (ключ идентификации – так же как и IMSI, он содержится в SIM) и алгоритма идентификации А3 вычисляется 32-битовый ответ – SRES (Signed RESult) по формуле:
SRES = Ki × RAND (1.1)
Точно такие же вычисления проделываются одновременно и в AuC (по выбранному из HLR Ki пользователя). Если SRES, вычисленный в телефоне, совпадет со SRES, рассчитанным AuC, то процесс авторизации считается успешным и абоненту присваивается TMSI (Temporary Mobile Subscriber Identity-временный номер мобильного абонента). TMSI служит исключительно для повышения безопасности взаимодействия подписчика с сетью и может периодически меняться (в том числе при смене VLR).
Теоретически, при регистрации должен передаваться и номер IMEI. При получении IMEI сетью, он направляется в EIR, где сравнивается с так называемыми "списками" номеров. Белый список содержит номера санкционированных к использованию телефонов, черный список состоит из IMEI, украденных или по какой-либо иной причине не допущенных к эксплуатации телефонов, и, наконец, серый список – "трубки" с проблемами, работа которых разрешается системой, но за которыми ведется постоянное наблюдение.
После процедуры идентификации и взаимодействия гостевого VLR с домашним HLR запускается счетчик времени, задающий момент перерегистрации в случае отсутствия каких-либо сеансов связи. Обычно период обязательной регистрации составляет несколько часов. Перерегистрация необходима для того, чтобы сеть получила подтверждение, что телефон по-прежнему находится в зоне ее действия. Дело в том, что в режиме ожидания телефон только отслеживает сигналы, передаваемые сетью, но сам ничего не излучает – процесс передачи начинается только в случае установления соединения, а также при значительных перемещениях относительно сети. В таких случаях таймер, отсчитывающий время до следующей перерегистрации, запускается заново. Поэтому при "выпадении" телефона из сети (например, был отсоединен аккумулятор, или владелец аппарата зашел в метро, не выключив телефон) система об этом не узнает.
1.3 Территориальное деление сети и Handover
Как уже было сказано, сеть состоит из множества BTS – базовых станций (одна BTS – одна "сота", ячейка). Для упрощения функционирования системы и снижения служебного трафика, BTS объединяют в группы – домены, получившие название LA (Location Area – области расположения). Каждой LA соответствует свой код LAI (Location Area Identity). Один VLR может контролировать несколько LA. И именно LAI помещается в VLR для задания местоположения мобильного абонента. Именно в соответствующей LA, а не в отдельной соте, будет произведен поиск абонента. При перемещении абонента из одной соты в другую в пределах одной LA перерегистрация и изменение записей в VLR/HLR не производится, но стоит ему (абоненту) попасть на территорию другой LA, как начнется взаимодействие телефона с сетью.
Разбиение сети на LA довольно непростая инженерная задача, решаемая при построении каждой сети индивидуально. Слишком мелкие LA приведут к частым перерегистрациям телефонов и, как следствие, к возрастанию трафика разного рода сервисных сигналов и более быстрой разрядке батарей мобильных телефонов. Если же сделать LA большими, то, в случае необходимости соединения с абонентом, сигнал вызова придется подавать всем сотам, входящим в LA, что также ведет к неоправданному росту передачи служебной информации и перегрузке внутренних каналов сети.
Рассмотрим очень красивый алгоритм так называемого handover`ра (такое название получила смена используемого канала в процессе соединения). Во время разговора по мобильному телефону вследствие ряда причин (удаление "трубки" от базовой станции, многолучевая интерференция, перемещение абонента в зону так называемой тени и т.п.) мощность (и качество) сигнала может ухудшиться. В этом случае произойдет переключение на канал (может быть, другой BTS) с лучшим качеством сигнала без прерывания текущего соединения. Handover`ра принято разделять на четыре типа:
- смена каналов в пределах одной базовой станции;
- смена канала одной базовой станции на канал другой станции, но находящейся под патронажем того же BSC;
- переключение каналов между базовыми станциями, контролируемыми разными BSC, но одним MSC;
- переключение каналов между базовыми станциями, за которые отвечают не только разные BSC, но и MSC.
В общем случае, проведение handover`а – задача MSC. Но в двух первых случаях, называемых внутренними handover`ами, чтобы снизить нагрузку на коммутатор и служебные линии связи, процесс смены каналов управляется BSC, а MSC лишь информируется о происшедшем.
1.4 Маршрутизация вызовов
Каким образом происходит маршрутизация входящих вызовов мобильного телефона? Рассмотрим наиболее общий случай, когда абонент находится в зоне действия гостевой сети, регистрация прошла успешно, а телефон находится в режиме ожидания.
При поступлении запроса, в соответствии с рисунком 1.3, на соединение от проводной телефонной (или другой сотовой) системы на MSC домашней сети (вызов "находит" нужный коммутатор по набранному номеру мобильного абонента MSISDN, который содержит код страны и сети).

Рисунок 1.3 – Маршрутизация вызовов
MSC пересылает в HLR номер (MSISDN) абонента. HLR, в свою очередь, обращается с запросом к VLR гостевой сети, в которой находится абонент. VLR выделяет один из имеющихся в ее распоряжении MSRN (Mobile Station Roaming Number – номер "блуждающей" мобильной станции). Идеология назначения MSRN очень напоминает динамическое присвоение адресов IP при коммутируемом доступе в Интернет через модем. HLR домашней сети получает от VLR присвоенный абоненту MSRN и, сопроводив его IMSI пользователя, передает коммутатору домашней сети. Заключительной стадией установления соединения является направление вызова, сопровождаемого IMSI и MSRN, коммутатору гостевой сети, который формирует специальный сигнал, передаваемый по PAGCH (PAGer CHannel – канал вызова) по всей LA, где находится абонент.
2. Состав оборудования GSM сети
Основной поставщик оборудования сотовой связи GSM900 для ТОО "GSM Казахстан" является шведская компания "Ericsson".
В состав оборудования, на основе которого построена сеть сотовой связи, входят:
- коммутационная система AXE 10;
- сеть передачи данных Mini-Link;
- базовые станции RBS 2206.
2.1 Цифровая коммутационная система AXE-10
АТС AXE-10 представляет собой современную высокопроизводительную цифровую телефонную коммутационную систему, созданную фирмой "Ericsson".
Цифровая коммутационная система АХЕ является самой популярной коммутационной системой из всех когда-либо создававшихся. Начиная с 1994 года, эта система была успешно смонтирована в более чем 110 странах. Число установленных и заказанных линий превышает 94 миллиона.
AXE-10 – цифровая коммутационная система с программным управлением. Система АХЕ-10 характеризуется модульностью построения аппаратных и программных средств. Программные модули полностью независимы друг от друга и взаимодействуют между собой с помощью стандартизованных сигналов. Модульность аппаратных средств обеспечивает простое проектирование, производство, монтаж и техобслуживание.
АТС Ericsson AXE-10 предназначена для широкого спектра применений на телефонной сети и может функционировать как:
- местная "городская" телефонная станция;
- транзитная телефонная станция;
- станция сотовой и подвижной связи;
- узлы интеллектуальной и деловой сети.
Характеристика системы:
- емкость коммутационной системы до 40000 абонентских и до 60000 соединительных линий;
- емкость выносных концентраторов до 2048 абонентских и до 480 соединительных линий;
- пропускная способность 20000 Эрл в ЧНН;
- производительность управляющего устройства до 900 тысяч вызовов
в час;
- напряжение питания от 47В до 51В;
- потребляемая мощность до 2 Вт на абонентскую линию;
- станция обеспечивает возможность подключения абонентов ISDN;
- габаритные размеры стативов 2250 × 900 × 600 мм;
- условия эксплуатации: температура от 4 до 35 градусов, относительная влажность воздуха от 20 до 80 процентов.
Гибкость построения сети позволяет использовать АТС Ericsson AXE-10 в различных конфигурациях и с различными емкостями от небольших выносов на несколько сотен абонентов до глобальных телефонных систем крупных мегаполисов.
АТС Ericsson AXE-10 не имеет никаких ограничений для собственного развития благодаря уникальной гибкой системной архитектуре, называемой "функциональная модульность".
Новая версия оборудования АТС Ericsson AXE-10, с обозначением AXE 810, является новейшей разработкой в технологии коммутации. Оборудование АТС Ericsson AXE 810 состоит из магазинов GEM (Generic Ericsson Magazine), коммутационного поля GS 890, терминалов STM1
ET155-1, эхо-компенсаторов ECP 5, нового поколения транскодеров TRA R6.
Магазин GEM предоставляет возможность комбинировать коммутационное оборудование с устройствами обслуживания трафика в едином магазине. Групповой коммутатор GS890 является принципиально новым, неблокируемым распределенным коммутатором, включающим в себя также блоки синхронизации.
Плата ET 155-1, размещаемая в GEM магазине является терминалом STM-1. Плата поддерживает стандарты ITU-T и ANSI. Плата ECP5 – является новым поколением эхо-компенсатора, работающего в группе. Новое поколение плат транскодеров предназначено для применения в сетях 3G, GSM, TDMA, CDMA.
Основные характеристики АТС Ericsson AXE-10:
- единый коммутационный магазин GEM, в котором размещены почти все устройства обслуживания трафика;
- магазины GDM, используемые в настоящее время, возможно подключить к новому оборудованию AXE10;
- магазины GDM и GEM выполнены в конструктиве BYB 501;
- технология Plug&Play обеспечивает простую установку оборудования;
- на платах установлены новые управляющие процессоры RPI (Regional processor Integrated);
- обеспечена полная совместимость с оборудованием BYB 501;
- существующие узлы AXE10 на базе оборудования BYB 501 могут быть расширены с использованием нового оборудования AXE 810.
Функциональное сопряжение элементов системы осуществляется рядом интерфейсов. Все сетевые функциональные компоненты в стандарте GSM взаимодействуют в соответствии с системой сигнализации МККТТ SS N 7 (CCITT SS.N7).
Центр коммутации подвижной связи обслуживает группу сот и обеспечивает все виды соединений, в которых нуждается в процессе работы подвижная станция. MSC аналогичен ISDN коммутационной станции и представляет собой интерфейс между фиксированными сетями (PSTN, PDN, ISDN и т.д.) и сетью подвижной связи. Он обеспечивает маршрутизацию вызовов и функции управления вызовами. Кроме выполнения функций обычной ISDN коммутационной станции, на MSC возлагаются функции коммутации радиоканалов. К ним относятся "эстафетная передача", в процессе которой достигается непрерывность связи при перемещении подвижной станции из соты в соту, и переключение рабочих каналов в соте при появлении помех или неисправностях.
Каждый MSC обеспечивает обслуживание подвижных абонентов, расположенных в пределах определенной географической зоны. MSC управляет процедурами установления вызова и маршрутизации. Для телефонной сети общего пользования (PSTN) MSC обеспечивает функции сигнализации по протоколу SS N 7, передачи вызова или другие виды интерфейсов в соответствии с требованиями конкретного проекта.
BSS – оборудование базовой станции, состоит из контроллера базовой станции (BSC) и приемо-передающих базовых станций (BTS). Контроллер базовой станции может управлять несколькими приемо-передающими блоками. BSS управляет распределением радиоканалов, контролирует соединения, регулирует их очередность, обеспечивает режим работы с прыгающей частотой, модуляцию и демодуляцию сигналов, кодирование и декодирование сообщений, кодирование речи, адаптацию скорости передачи для речи, данных и вызова, определяет очередность передачи сообщений персонального вызова.
В цифровых сотовых систем подвижной связи стандарта GSM рассматриваются интерфейсы трех видов: для соединения с внешними сетями; между различным оборудованием сетей GSM; между сетью GSM и внешним оборудованием.
Присоединение GSM сотовых операторов к телефонной сети общего пользования (ТФОП/PSTN). Соединение с телефонной сетью общего пользования осуществляется MSC по линии связи 2 Мбит/с в соответствии с системой сигнализации SSN7. Электрические характеристики 2 Мбит/с интерфейса соответствуют Рекомендациям МККТТ G.732.
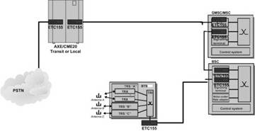
Типовая схема присоединения GSM (MSC) сотового оператора к AXE-10 телефонной сети общего пользования (ТФОП) соответствует рисунку 2.1.
ЕТ155, SDH AXE/CME20 Ericsson терминал. В качестве оптимального решения для присоединения сети связи GSM оператора к сети электросвязи общего пользования компанией "РИМКО XXI" предлагается блок ЕТ 155 Ericsson, который соответствует рисунку 2.2.
ET155 Ericsson является 155 Мб/с STM-1 для 63 x 2 Мб/с потоков PDH (Плезиохронной цифровой иерархической системы) терминалом обмена SDH (Синхронной цифровой иерархической системы) поддерживающим стандарт ETSI (Системы ввода с разделением времени) и интегрированным в AXE/CME20. Блок ET155 является полностью интегрированной частью АХЕ/CME20, поэтому кроме физической интеграции в АХЕ/CME20, производится управление и техобслуживание также системой АХЕ/CME20. В результате этого, техническое обслуживание всей транспортной иерархии PDH и SDH, можно произвести из станции.

Рисунок 2.1 – Схема присоединения MSC (GSM-MSC) к ТФОП

Рисунок 2.2 – ET155, SDH AXE/CME20 терминал
Присоединение между различным оборудованием сетей GSM. Интерфейс между MSC и BSS (А-интерфейс) обеспечивает передачу сообщений для управления BSS, передачи вызова, управления передвижением. А-интерфейс объединяет каналы связи и линии сигнализации. Последние используют протокол SS N7 МККТТ.
В соответствии с рисунком 2.3, ET155 AXE/CME 20 может быть применен в архитектуре GSM сети:
- BTS (Base Transceiver System) – BSC (Base Station Controller);
- BSC – Mobile Services Switching Centre (MSC);
- MSC – TE (Transit Exchange);
- MSC – ISC (International Switching Centre);
- MSC – LE (Local Exchange).

Рисунок 2.3 – Применение ET155,SDH AXE/CME20 терминала в GSM сети
Преимущества Цифровой коммутационной системы AXE-10. Преимущества предложенного решения:
- сильно упрошенная архитектура GSM сети – телекоммуникационная система AXE/CME20 напрямую подсоединяется к SDH сети или к телекоммуникационной системе AXE ТФОП;
- значительное уменьшение аппаратных средств – 63 терминала, емкостью 2048 кбит/с, плюс магазины и шкафы заменяются на один блок ЕТ155;
- 126 (63 x 2) электрических кабелей емкостью 2048 кбит/с заменяются на два оптических, либо два электрических кабеля;
- большой цифровой кросс (DDF) заменяется на небольшой DDF, или на оптический кросс ODF для установления двух электрических, либо оптических связей;
- не требуются SDH мультиплексоры;
- ET155 связывает каналы для нагрузки между STM-1 155Мбит/с и Групповой Ступенью (ГИ) станции AXE/СME20;
- ET155 передает 63 сигнала 2048кбит/с преобразующихся в контейнерах SDH.
Базовая станция Ericsson RBS 2206. Базовая станция – RBS 2206 размещается внутри зданий и поддерживает до двенадцати трансиверов на один шкаф. Она может быть сконфигурирована с одним, двумя или тремя секторами в одном шкафу. RBS 2206 поддерживает повышенные скорости передачи данных для системы EDGE.
Основные характеристики:
- полная поддержка режима передачи данных: 14,4 кбит/с, HSCSD, GPRS;
- поддержка EDGE на 12 трансиверов во всех временных интервалах;
- поддержка всех речевых кодеков: HR, FR и EFR;
- расширенный радиус действия – 121 км;
- дуплексор и поддержка TMA для всех конфигураций;
- поддержка программно задаваемого увеличения мощности;
- четыре порта передачи, поддерживающие скорость до 8 Мбит/с.
Технические характеристики базовой станции RBS 2206 приведены в таблице 2.1.
Таблица 2.1 – Технические характеристики станции RBS 2206
Диапазон частот Передача Прием |
GSM 900 925-960 МГц 880-915 МГц |
GSM 1800 1805-1880 МГц 1710-1785 МГц |
| Размеры | 1900 х 600 х 400 мм | |
| Вес | 230 кг при полном оснащении | |
| Мощность, поступающая в фидер антенны | 35 Вт/45,5 дБм (GSM 900) 28 Вт/44,5 дБм (GSM 1800) |
|
| Чувствительность приемника | -110 дБм (без TMA) | |
| Электропитание | 120-250 В переменного тока, 50/60 Гц -48 - -72 В постоянного тока, +20,5 - +29 В постоянного тока |
|
| Диапазон рабочих температур | +5°С - +40°С | |
Сеть передачи данных Mini-Link Е. Применение Mini-Link Е в сети сотовой связи ТОО "GSM Казахстан". MINI-LINK E и E Micro обеспечивают микроволновую передачу точка-точка с пропускной способностью от 2 до 34+2 (17х2) Мбит/с в частотных диапазонах от 7 до 38 ГГц. Ниже дана краткая характеристика этих систем.
MINI-LINK E содержит модуль доступа, расположенный в помещении, и наружный радиоблок с антенной. Такая конструкция обеспечивает гибкость и достаточную пропускную способность, как на маленьких, так и на больших многотерминальных сайтах. Терминалы могут быть сконфигурированы для различных типов сетей: в виде звезды, дерева или кольца. Для обеспечения резервирования они могут быть сконфигурированы либо как системы 1+1, либо в виде кольца.
Мобильные сети связи в настоящее время являются наиболее обычной сферой использования MINI-LINK E и E Micro, в соответствии с рисунком 2.4, где они развертываются в сетях радиосвязи с невысокой производительностью.

Рисунок 2.4 – Пример мобильной сети, в которой аппаратура MINI-LINK осуществляет связь базовых станций с центрами коммутации
В соответствии с рисунком 2.5, производится использование аппаратуры MINI-LINK E и E Micro в сетях различной топологии.
Несколько терминалов MINI-LINK E могут быть интегрированы в один общий модуль доступа, в соответствии с рисунком 2.6. Это позволяет сделать чрезвычайно компактными сайты сети, а также эффективно распределить между разными терминалами такие ресурсы, как мультиплексоры, интерфейсы служебных каналов и системы поддержки.
Состав оборудования многотерминальных сайтов соответствует рисунку 2.7.
Маршрутизация трафика и его переадресация в пределах сайта могут выполняться при минимальном количестве внешних кабелей. Маршрут трафика задается с помощью программного и конфигурируется во время установки станции. Терминал может быть сконфигурирован как нерезервируемый (1+0) или резервируемый (1+1); резервирование может быть также обеспечено сетью кольцевого типа. Каждый терминал обеспечивает скорость трафика до 17x2 (34+2) Мбит/с.
Конфигурация терминалов. Нерезервируемый терминал (1+0). Терминал типа 1+0 содержит как минимум:
- один радиоблок (RAU);
- одну антенну;
- один магазин модуля доступа (AMM 1U);
- один блок модема (MMU);
- один соединяющий коаксиальный кабель.
Для трафика со скоростью 8x2, 17x2 и 4x8 Мбит/с требуется также блок ключей/мультиплексоров (SMU). В магазин модуля доступа может быть также добавлен блок служебных каналов (SAU), что обеспечивает дополнительные интерфейсы для управления и аварийной сигнализации, служебных каналов и других специфических потребностей клиента.

Рисунок 2.5 – Пример топологии сети

Рисунок 2.6 – Многотерминальный сайт MINI-LINK E
Резервируемый терминал (1+1). Терминал типа 1+1, как минимум, включает:
- два радиоблока (RAU);
- две антенны или одну антенну и делитель мощности;
- один магазин модуля доступа (AMM) с двумя MMU и одним SMU;
- два соединительных коаксиальных кабеля.
Радиоблоки могут иметь индивидуальные антенны или могут быть подключены к общей антенне. Если используется одна общая антенна, то два радиоблока подключаются волноводами к делителю мощности, установленному на антенне, имеющей одну поляризацию.
Автоматическое переключение может использоваться как при горячем, так и при рабочем резервировании (с разносом по частоте). Переключение приемников в системах с разносом по частоте обеспечивает бесперебойную передачу данных.
При горячем резервировании работает один передатчик, а второй находится в резерве (он не передает сигнала, но находится в состоянии постоянной готовности к передаче и включается при сбое в работе активного передатчика). Оба радиоприемника принимают сигналы. MMU выбирает наилучший сигнал в зависимости от приоритета неисправностей, подает его сначала на SMU для демультиплексирования, а затем к внешнему оборудованию.

Рисунок 2.7 – Состав оборудования многотерминального сайта
Компоненты системы MINI-LINK E. MINI-LINK E состоит из располагаемого внутри помещения модуля доступа, находящегося снаружи радиоблока с антенной и монтажного комплекта. Радиоблок соединяется с внутренним оборудованием одним коаксиальным кабелем и может комбинироваться с разнообразными антеннами для раздельной и совместной установки.
Радиоблоки независимы от пропускной способности трафика, т.е. рабочая частота определяется только радиоблоком. Она устанавливается на сайте. Это осуществляется с помощью управляющего программного обеспечения или переключателя на находящемся в помещении модеме.
Радиоблок имеет защищенный от атмосферных воздействий корпус серого цвета с ручкой для переноски и подъема. Он подключается к волноводному порту антенного блока. Радиоблок имеет два крюка и захваты, что облегчает процедуры монтажа или съема блока при его совместном монтаже с антенной.
Радиоблоки доступны для работы в различных частотных диапазонах, рекомендуемых ITU-R и ETSI.
Частота контролируется синтезатором. Каждый радиоблок занимает некоторую полосу частот определенного частотного диапазона и имеет фиксированное дуплексное расстояние (разнос между излучаемой и принимаемой частотами). Ширина полосы, занимаемой той или иной версией радиоблока различна для разных частотных диапазонов, как показано в таблице 2.2.
Таблица 2.2 – Ширина полосы
| Тип радиоблока | Частотный диапазон, ГГц | Ширина полосы, МГц |
| 7-E | 7.1 – 7.7 | 60 |
| 8-E | 7.7 – 8.5 | 89 |
| 15-E | 14.4 – 15.35 | 110 |
| 18-E | 17.7 – 19.7 | 300 |
| 23-E | 21.2 – 23.6 | 560 |
| 26-E | 24.5 – 26.5 | 450 |
| 38-E | 37.0 – 39.5 | 280 |
В компании ТОО "GSM Казахстан" нашли применение следующие типы радиоблоков: 7-E, 15-E, 23-E.
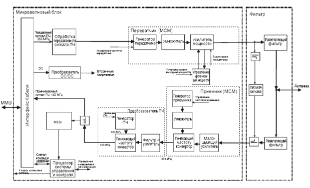
Радиоблок состоит из корпуса, рамы, соединительного блока, микроволнового блока и фильтра.
Соединительный блок выполняет функции нижней части корпуса радиблока, на нем расположены индикаторы неисправностей (светодиоды), разъемы интерфейса трафика, заземления, источника постоянного напряжения, а также разъем порта юстировки антенны. Соединительный блок оборудован защитой от разрядов молнии.
Микроволновый блок представляет собой схемную сборку с радиоплатой и двумя MCM (многокристальными модулями, Multi-chip Module) передающей и принимающей частей радиоблока, в соответствии с рисунком 2.8. Высокочастотные компоненты MCM защищены алюминиевыми экранами. Кроме того, микроволновый блок имеет интерфейс кабеля, преобразователь DC/DC, компоненты для обеспечения функций управления и контроля и обработки сигнала промежуточной частоты.
Интерфейс кабеля к внутренним блокам представляет собой 50-омный разъем N-типа. Фильтр состоит из двух разветвляющих фильтров с
T-образными преобразователями импеданса, которые выполняют функции интерфейса антенны.
Микроволновый блок соответствует рисунку 2.9, его состав описан ниже.
Преобразователь DC/DC обеспечивает стабильные напряжения для радиоблока.
Интерфейс кабеля. От находящихся в помещении устройств поступает несколько видов сигналов, а именно: передаваемый сигнал ПЧ, сигнал управления и контроля, а также постоянное напряжение питания. Эти сигналы демультиплексируются интерфейсом кабеля и пересылаются далее для последующей обработки. Передаваемый сигнал ПЧ является модулированным сигналом с номинальной частотой 350 МГц. Передаваемый вверх сигнал управления и контроля – это амплитудно-модулированный сигнал с номинальной частотой 6.5 МГц. Подаваемое постоянное напряжение находится в диапазоне 45-60 В (на MMU подается постоянное напряжение с номиналом 24-60 В). Аналогичным образом интерфейсом кабеля мультиплексируются исходящие сигналы: принимаемый сигнал ПЧ и передаваемый вниз сигнал управления и контроля. Номинальная частота принимаемого сигнала ПЧ равна 140 МГц. Передаваемый вниз сигнал управления и контроля – это амплитудно-модулированный сигнал с номинальной частотой 4.5 МГц. Кроме того, интерфейс кабеля содержит схему защиты от перенапряжений.

Рисунок 2.8 – Составные части радиоблока
Процессор системы управления и контроля радиоблока располагается на плате микроволнового блока. Его основные функции:
- сбор сигналов о неисправностях. Собранные сигналы о неисправностях и сигналы статуса радиоблока пересылаются на внутренний процессор MMU. Сводные сигналы статуса визуализируются светодиодами, расположенными на радиоблоке;
- выполнение команд управления. Выполняются поступающие от находящегося в помещении оборудования команды активации/дезактивации передатчика, установки частоты канала и уровня выходной мощности, а также команды на активацию/деактивацию ВЧ петель;
- управление радиоблоком и обработка сообщений. В дополнение к перечисленному выше, процессор управляет внутренними процессами в радиоблоке и петлями.

Рисунок 2.9 – Блок-схема радиоблока
Обработка передаваемого сигнала ПЧ. Передаваемый сигнал ПЧ усиливается, ограничивается и демодулируется. Демодулированный сигнал усиливается, проходит через буферный усилитель и поступает в MCM передатчика, где он модулирует несущий ВЧ сигнал.
При определенном уровне выходного сигнала генерируется сигнал неисправности, указывающий, что уровень передаваемого сигнала ПЧ слишком низок из-за чрезмерных потерь в кабеле.
Входной усилитель имеет систему автоматической регулировки усиления, поэтому не требуется никакой корректировки на длину кабеля между находящимся в помещении и наружным оборудованием.
Блок передатчика состоит из следующих сегментов:
- генератор передатчика (MCM). Частота передатчика управляется фазочувствительной цепью обратной связи (PLL) (сигнал VCO частично отводится к делителю и далее поступает на программируемый фазовый детектор). При нарушении петли VCO генерируется сигнал о сбое частоты передатчика;
- умножитель (MCM). Сигнал VCO усиливается, и его частота умножается (в 2 или в 4 раза в зависимости от частоты канала);
- усилитель мощности (MCM). Выходная мощность передатчика регулируется установкой коэффициента усиления оконечного усилителя. Выходная мощность устанавливается с шагом 1 дБ с помощью системы управления и эксплуатации. Передатчик может быть включен или выключен переключением режима работы оконечного усилителя.
Контроль уровня выходной мощности. Уровень выходного сигнала от оконечного усилителя анализируется для того, чтобы проверить, лежит ли передаваемая мощность в пределах определенного диапазона (в противном случае подается сигнал о нарушении уровня выходной мощности).
Блок приемника. Полученный сигнал через входной разветвляющий фильтр поступает на малошумящий усилитель и далее преобразователем, понижающим частоту, конвертируется в первую промежуточную частоту, равную 974 МГц (MCM приемника). После фильтрации полосовым фильтром и усиления, частота сигнала еще раз конвертируется во вторую промежуточную частоту, равную 140 МГц (преобразователем ПЧ). Часть ее используется в RSSI. Сигнал с частотой 140 МГц, поступающий от преобразователя ПЧ, усиливается и передается на интерфейс кабеля. Двойное преобразование частоты с высокой первой ПЧ обеспечивает высокую избирательность в широком частотном диапазоне и эффективное подавление сигналов зеркальных частот и помех.
Генератор приемника и умножитель (MCM). Сигнал локального генератора, который используется на первом этапе понижения частоты, генерируется таким же образом, как и сигнал генератора для передатчика. Частота сигнала умножается (в 2 или 4 раза в зависимости от частоты канала) и усиливается.
Генератор ПЧ. Генератор состоит из VCO с фазочувствительной петлей обратной связи (PLL). Этот генератор используется для второго понижения частоты до 140 МГц. VCO используется также для настройки принимаемого сигнала с частотой 140 МГц (с помощью управляющего сигнала, задающего номер секции в PLL сигнала ПЧ).
RSSI. Сигнал с частотой 140 МГц подается также на откалиброванный детектор измерителя интенсивности принимаемого сигнала (RSSI - ReceivedSignalStrengthIndicator), который обеспечивает точное измерение уровня принимаемого сигнала на входе приемника. Измеренная величина доступна для наблюдения в аналоговой форме через порт юстировки антенны или в единицах дБм, используемых в системе управления и эксплуатации.
Фильтр. Петля ВЧ сигнала используется только для целей контроля. При замыкании этой петли частота передатчика устанавливается равной частоте приемника и сигнал возвращается в направлении приема. На передающей секторный сигнал подается в антенну через выходной разветвляющий фильтр. Сигнал из антенны передается в направлении приема через входной разветвляющий фильтр. Антенна связана с обоими фильтрами через
T- образные преобразователи импеданса.
Модуль доступа является устанавливаемой в помещении частью терминала. Он включает следующие типы внутреннего оборудования:
- магазин модуля доступа (AMM), где размещаются внутренние съемные блоки. AMM также обеспечивает механическую компоновку блоков и электрические связи между ними через системную шину магазина;
- блок модема (MMU) обеспечивает интерфейсы трафика, обработку сигналов и интерфейс для радиоблока (RAU);
- блок ключей/мультиплексоров (SMU) обеспечивает дополнительный интерфейс трафика 2 Мбит/с, мультиплексоры 2/8 и 8/34 Мбит/с, переключатели и функции управления для защищенных систем 1+1, а также интерфейсы для MMU.
Магазин модуля доступа (АММ) устанавливается в "19" стойках и кабинетах, кабинетах ETSI и BYB или непосредственно на столе/стене. Для различных применений доступны разнообразные стандартные типы AMM:
- AMM1U – для одиночного терминала с одним MMU;
- AMM 2U – 3 для одно- или двухтерминальных сайтов. В нем можно разместить один или два MMU, один SMU и один SAU;
- AMM 4U, в соответствии с рисунком 2.10, предназначен для более сложных многотерминальных сайтов. В нем может быть размещено до четырех MMU, два SMU и один SAU.

Рисунок 2.10 – Внутренние блоки в АММ 4U
Взаимосвязь между блоками обеспечивается через системную плату на задней стенке AMM. Все внешние связи осуществляются через разъемы, расположенные на лицевых панелях блоков.
Охлаждение модуля доступа обеспечивается принудительным потоком воздуха. Охлаждающий воздух поступает с передней сектороны AMM, течет между блоками и выходит через отверстия на обратной сектороне магазина, расположенные по бокам системной платы.
Блок модема. MMU с фиксированными значениями пропускной способности трафика делятся на типы, в соответствии с рисунком 2.11.
- 2 x 2 Мбит/с;
- 4 x 2 или 8 Мбит/с;
- 2 x 8 Мбит/с;
- 34 + 2 Мбит/с.
Все из перечисленных выше типов модемов используются в сети передачи данных ТОО "GSM Казахстан".
MMU содержит следующие функциональные блоки:
- интерфейсы трафика и маршрутизатор;
- мультиплексор/демультиплексор 2/8 (только для MMU 4x2/8 Мбит/с);
- мультиплексор/демультиплексор радиофрейма для сигналов трафика, включения/извлечения данных служебных каналов, а также кодирования/ декодирования сигнала, которое обеспечивает упреждающую коррекцию ошибок (FEC);
- модулятор/демодулятор передаваемого и принимаемого сигналов;
- интерфейс кабеля для радиоблока;
- процессор системы управления и контроля;
- преобразователь DC/DC.

Рисунок 2.11 – Блоки MMU
Ниже описаны отдельные блоки MMU с описанием блок-схем, в соответствии с рисунками 2.12 и 2.13.
Интерфейс трафика и маршрутизатор трафика. Входы и выходы каналов трафика к/от MMU подсоединяются на лицевой панели и через системную шину модуля доступа. Сигналы трафика, подводимые с лицевой панели MMU, проходят через цепь, регенерирующую форму импульсов. Генерируемые тактовые сигналы обеспечивают линейную декодировку сигнала в направлении передачи и линейную кодировку в направлении приема. Сигналы трафика, подводимые через системную шину, переадресуются другим MMU или SMU того же самого модуля доступа. Маршрутизация осуществляется без дополнительных кабелей. Взаимные связи устанавливаются с помощью MINI-LINK Netman или с помощью ПК, оснащенного Менеджером Обслуживания MINI-LINK (MSM).
Мультиплексор/демультиплексор 2/8 Мбит/с (только для MMU 4x2/8). Мультиплексирование и демультиплексирование сигнала 4x2 Мбит/с соответствует ITU-T Rec G.703 и G.742. В направлении мультиплексирования четыре основных входных сигнала 2 Мбит/с принимаются и декодируются. При этом извлекаются поступающие синхросигналы, а информация трафика считывается в буферную память. Коэффициент заполнения буферной памяти контролируется положительным выравниванием. Четыре синхронизированных сигнала вместе с указателями выравнивания и битами границ фрейма впоследствии мультиплексируются в сигнал 8 Мбит/с. В направлении демультиплексирования производится разборка фрейма, после определения границ фрейма четыре основные сигнала посылаются в устройство буферной памяти, при этом должны быть удалены показатели выравнивания и избыточные биты. Скорость считывания из буферной памяти контролируется кварцевым генератором; считанный сигнал фильтруется, чтобы уменьшить дрожание фазы (джиттер). В конечном счете, сигнал становится линейно-кодированным и переданным.

Рисунок 2.12 – Блок-схема для конфигураций 2x2, 2x8 и 34+2 Мбит/с
Мультиплексор радиофрейма и Упреждающая Коррекция Ошибок (FEC). Три различных типа данных мультиплексируются в поток данных, передаваемых по каналу радиосвязи:
- трафик;
- данные служебного канала;
- данные служебного канала пролета (HCC).
Передача данных трафика. Передающиеся данные трафика сначала поступают в мультиплексор, чтобы обеспечить принятый темп передачи данных (заполнение канала). Если на входе нет корректных данных, то включается подача сигнала AIS, передаваемого с номинальной скоростью. Это означает, что трафик данных через пролет заменен единицами.

Рисунок 2.13 – Блок-схема для конфигурации 4x2/8 Мбит/с
Передача данных служебного канала. Предусмотрены два независимых служебных канала. Аналоговые и цифровые служебные данные обрабатываются по-разному. SAU получает тактовые и синхронизирующие импульсы и данные из SAU подаются в мультиплексор. Цифровые данные и синхроимпульсы байтов вначале подаются в несинхронный буфер, а затем считываются в синхронном режиме, определяемом тактовой частотой. При этом формируются сигналы заполненности, обеспечивающие нормировку различимости данных.
Служебный канал пролета (HCC) используется для обмена управляющей и обслуживающей информацией между MMU на ближнем и дальнем концах пролета.
Три разных типа данных вместе с контрольными и ограничивающими фрейм битами передаются в составном формате данных, который определяется содержанием специального ОЗУ, содержащего параметры, определяющие формат фрейма. В начале фрейма помещаются 12 сигнальных битов. В составной фрейм включаются также биты, несущие информацию о его заполненности.
Шифровка и кодировка упреждающей коррекции ошибок (FEC). Синхронный шифровщик имеет объем 217-1 бит и синхронизируется каждым восьмым фреймом (суперфреймом). Биты FEC вычисляются с использованием схемы перестановок и включаются в позиции, которые определяются форматом фрейма.
Составной поток данных представляется фреймом длительностью 125 мкс, который включает все описанные выше типы данных.
В соответствии с рисунком 2.14 показана структура канала радиофрейма для 2x2 Мбит/с.
Используются следующие скорости передачи составного потока битовых данных:
- 4.5195 Мбит/с для канала 2x2 Мбит/с;
- 8.9316 Мбит/с для канала 4x2/8 Мбит/с;
- 17.6071 Мбит/с для канала 2x8 Мбит/с;
- 37.5369 Мбит/с для канала 34+2 Мбит/с.
Поставляется три различные версии SMU (SMU Sw, SMU 8x2 и SMU 16x2) для различных скоростей трафика.
Модулятор. Составной поток данных, обработанных мультиплексором радиофрейма, далее модулируется с использованием C-QPSK*. Импульс преобразуется из постоянного тока в переменный, после чего, с помощью фильтра Найквиста, импульсу придается форма, обеспечивающая оптимальный спектр передаваемого сигнала.
Модулятор содержит управляемый напряжением генератор (voltage controlled oscillator, VCO), генерирующий сигнал с частотой 350 МГц. Он смешивается с сигналом частотой 490 МГц, выделенный сигнал с частотой 140 МГц используется для целей контроля.
Демультиплексор радиофрейма и упреждающая коррекция ошибок (FEC). На получающей секторной поступающий составной поток данных демультиплексируется и FEC корректируется. Функция выравнивания фрейма ищет образцы битов выравнивания фрейма, которые есть в получаемом потоке данных и, соответственно, подстраивает приемник.
FEC выполняется с использованием битов четности FEC и результатов измерения качества передачи данных, поступающих от демодулятора. Дешифратор псевдослучайных последовательностей восстанавливает первоначальное состояние сигнала, позволяющее демультиплексору правильно распределять полученную информацию по соответствующим каналам.
Демультиплексирование выполняется согласно хранящемуся в памяти формату фрейма. Демультиплексор генерирует сигнал сбоя фрейма в том случае, если нарушена его синхронизация. Число ошибочных битов в потоке данных трафика измеряется с использованием битов четности. Они используются для определения уровня битовых ошибок (BER) и проверки качества функционирования. Биты контроля заполненности обрабатываются для каналов трафика и служебных каналов.

Рисунок 2.14 – Пример структуры фрейма канала радиосвязи для 2x2 Мбит/с
На принимающей сектороне выполняются следующие процедуры для данных трафика:
- введение AIS (при потере сигнала или BER < 10-3);
- обнаружение AIS;
- гибкая буферизация и восстановление тактовых импульсов;
- измерение выровненности потоков данных и их согласование, необходимые для того, чтобы обеспечить переключение без сбоев в сигнале трафика (hitless switching);
- переключение без сбоев в сигнале трафика (в защищенных системах 1+1).
Для цифрового канала извлекаются данные и синхросигналы и, с использованием несинхронного буфера, восстанавливается тактовая частота. В аналоговом канале сигналы синхронизации и тактовые сигналы подаются вместе с сигналами данных.
Демодулятор. Полученный 140 МГц сигнал усиливается с использованием системы АРУ и фильтруется до преобразования в исходный I/Q сигнал. Затем этот сигнал пропускается через фильтр Найквиста с целью восстановления формы импульсов, детектируется и C-QPSK демодулируется.
Управление и контроль. Микропроцессорная система управления и контроля (CSS) встроена во все блоки модуля доступа. Ее основным назначением является сбор сигналов о неисправностях, управление установками и контроль. Неисправности индицируются светодиодами, расположенными на лицевых панелях блоков.
Процессор MMU обменивается данными с другими процессорами в модуле доступа по каналу NCC. Обмен данными управления и контроля в пролете производится по каналу HCC. Процессор также связан с ПК через интерфейс Управления и Эксплуатации.
Процессор MMU управляет сбором данных о битовых ошибках; с процессором радиоблока он связан каналом RCC.
Выполнение процедур локальной установки, выявление неисправностей и их локализация могут осуществляться с помощью дисплея и переключателей на MMU.
Преобразователь DC/DC. Изолированный преобразователь DC/DC обеспечивает стабильное напряжение для наружного радиоблока и вторичное питание для электроники MMU. После фильтрации напряжение питания также распределяется по находящимся в модуле доступа блокам SMU.
SMU – Блок ключей/мультиплексоров. SMU используется для обеспечения переключений в защищенной системе 1+1 и/или мультиплексирования/демультиплексирования каналов 2 Мбит/с.
В соответствии с рисунком 2.15, используются три различные версии SMU (SMU 8x2 и SMU 16x2) для различных скоростей трафика.
Функциональные блоки SMU 8x2 содержит:
- два независимых мультиплексора/демультиплексора,
- ключ для выбора MMU в системе 1+1.
К нему могут подводиться до 8 каналов трафика 2 Мбит/с. Блок-схема SMU 8x2 представлена на рисунке 2.16.
Функциональные блоки SMU 16x2 может оперировать с 16 каналами трафика 2 Мбит/с. Такой блок содержит:
- 4 независимых мультиплексора/демультиплексора 2/8 Мбит/с;
- один мультиплексор/демультиплексор 8/34 Мбит/с;
- ключ для выбора MMU в системе 1+1.
SMU 16x2 в сочетании с MMU 34+2 может оперировать с потоками 17x2 Мбит/с или 4x8+2 Мбит/с для одного терминала с конфигурацией 1+0 или 1+1.
SMU 16x2 в сочетании с двумя MMU 8x2 может оперировать с потоками 8x2 Мбит/с для двух терминалов с конфигурацией 1+0.
SMU 16x2 также может быть использован для обеспечения переключений в резервируемых системах 1+1 с трафиком 4x2 и 8x2 Мбит/c.

Рисунок 2.15 – Блоки SMU
Функциональное описание, в соответствии с рисунками 2.16 и 2.17, описано ниже.
Интерфейс трафика и маршрутизатор трафика. Входы и выходы каналов трафика 2 или 8 Мбит/с подсоединяются к/от лицевой панели SMU и системной шине модуля доступа.
Сигналы трафика, проходящие через разъемы на лицевой панели, пропускаются через схему регенерации формы импульсов. При этом генерируются тактовые импульсы, и сигнал становится линейно кодированным.
Через системную шину осуществляется обмен сигналами трафика 2 или 8 Мбит/с с другими MMU или SMU того же модуля доступа.
Маршрутизация осуществляется без манипуляций с кабелями и ее можно устанавливать либо с помощью MINI-LINK Netman, либо с помощью ПК, оснащенного Менеджером Обслуживания MINI-LINK (MSM).
Мультиплексор/демультиплексор 2/8 Мбит/с. Четыре сигнала 2 Мбит/с мультиплексируются в сигнал 8 Мбит/с на передающей сектороне. На принимающей сектороне сигнал 8 Мбит/с демультиплексируется на четыре сигнала 2 Мбит/с. Мультиплексирование и демультиплексирование соответствуют ITU-T Rec G.703 и G.742.
Мультиплексор/демультиплексор 8/34 Мбит/с. Четыре сигнала 8 Мбит/с мультиплексируются в сигнал 34 Мбит/с на передающей сектороне. На получающей сектороне сигнал 34 Мбит/с демультиплексируется на четыре сигнала 8 Мбит/с. Мультиплексирование и демультиплексирование соответствуют ITU-T Rec G.703 и G.751.
Управление и контроль. Микропроцессорные системы управления и контроля (CSS) встроены во все блоки модуля доступа. Ее основными функциями являются сбор сигналов о неисправностях, управление установками и контроль. Неисправности индицируются светодиодами на лицевых панелях блоков.

Рисунок 2.16 – Блок-схема SMU 8x2

Рисунок 2.17 – Блок-схема SMU 16х2
Процессор SMU связан с другими процессорами в модуле доступа служебным каналом узла (NCC). Процессор также связан с ПК через интерфейс Управления и Эксплуатации.
Процессор SMU также управляет переключениями в резервируемых системах 1+1.
Преобразователь DC/DC. Питание SMU осуществляется через один или несколько MMU. В SMU имеется преобразователь DC/DC, обеспечивающий вторичные напряжения для электроники SMU.
Переключение в защищенной системе 1+1. В защищенной радиосекции переключение передатчика и приемника, в соответствии с рисунком 2.18, осуществляется управляющим логическим устройством.
Это устройство управляется и контролируется локально или дистанционно.
Блок коммутаторов/мультиплексоров (SMU) содержит все логические устройства, управляющие переключением в резервируемых системах.

Рисунок 2.18 – Переключение приемника в резервируемой системе 1+1
Переключение передатчика. Выбор передатчика осуществляется только в системах "горячего" резервирования. Выбор основывается на информации о неисправностях, поступающей из секции передатчика радиоблока или от MMU. Выбор также может быть сделан вручную с лицевой панели MMU или с помощью ПК. Сигнал о неисправности с высоким приоритетом аннулирует действие сигнала о неисправности с более низким приоритетом. Передачу сигнала осуществляет радиоблок, который имеет неисправность с более низким приоритетом.
Переключение приемника. Существует два типа переключений приемника: переключение из-за неисправностей аппаратуры и переключение без сбоев в сигнале трафика (hitless switching), которое инициируется затуханием сигнала. Функции переключения физически могут быть реализованы в переключателях двух различных видов – RMX и аппаратном переключателе. Выбор основывается на информации о неисправностях, поступающей из секции приемника радиоблока или от MMU. Однако переключение без нарушения трафика выполняется переключателем RMX. Выбор аппаратуры также может быть сделан вручную с лицевой панели MMU или с ПК. Сигнал о неисправности с высоким приоритетом аннулирует действие сигнала о неисправности с более низким приоритетом. ВЧ сигнал принимается радиоблоком, имеющим более низкий приоритет неисправности.
Неисправность цепи питания постоянным напряжением. Если в системе типа 1+1 нарушается подача постоянного напряжения через один MMU, то питание SMU и SAU (если этот блок необходим) обеспечивается другим MMU. Тем не менее, если система рассчитана на трафик 17x2 Мбит/с, то сигнал 2 Мбит/с, подводимый непосредственно к MMU с неисправной цепью постоянного тока, будет потерян. Другие сигналы (16x2 Мбит/с) все еще будут передаваться.
Маршрутизация трафика. Встроенное ПО управления связями между блоками, находящимися в магазине модуля доступа (AMM), дает возможность:
- уменьшить потребность во внешних кабельных соединениях на ретрансляторах и многотерминальных сайтах, что приводит к повышению надежности и снижению затрат на кабели и установку;
- уменьшить потребность в SMU в некоторых конфигурациях, благодаря чему могут быть уменьшены затраты на аппаратуру;
- обеспечить возможность подключения большего количества каналов трафика как 2 Мбит/с, так и 8 Мбит/с благодаря наличию интерфейса трафика 8 Мбит/с на лицевой панели SMU (8x2 и 16x2).
Схема соединений, реализуемых через системную шину, задается с ПК, оснащенного Менеджером Обслуживания MINI-LINK (MSM). Установка маршрута трафика возможна с любого узла сети.
Ниже приведена маршрутизация трафика на многотерминальном cайте, в соответствии с рисунком 2.19. В этом примере два канала 8 Мбит/с от первичного радиоблока передаются ретранслирующему радиоблоку суб-сети 1 и два канала 2 Мбит/с - ретранслирующему радиоблоку суб-сети 2. На сайте могут быть введены/выведены до семи каналов 2 Мбит/с.

Рисунок 2.19 – Маршрутизация трафика на многотерминальном сайте
Модернизация. MMU 2х2 – 34х2 с настраиваемой пропускной способностью позволяет изменять ее без замены оборудования. Эта процедура реализуется с помощью менеджера обслуживания MINI-LINK (MINI-LINK Service Manager, MSM).
При использовании MMU с фиксированной пропускной способностью трафика, модернизация достигается заменой MMU на другой, с более высокой пропускной способностью.
Если требуются скорости трафика 8x2 или 17x2 Мбит/с, то необходимо добавить SMU. В некоторых случаях AMM 1U должен быть заменен на AMM 2U-3. Такая замена может потребоваться как при использовании настраиваемого MMU, так и MMU с фиксированной пропускной способностью трафика.
Антенны. Все антенны диаметром до 1.8 м, в соответствии с рисунком 2.20, называются компактными и обычно используются для совместной установки с радиоблоком, который монтируется непосредственно к задней части антенны. Антенны изготовлены из алюминия, окрашены в светло-серый цвет и имеют стандартный волноводный интерфейс IEC 154 типа B. Антенны могут быть настроены на вертикальную или горизонтальную поляризацию луча соответствующей установкой волноводного интерфейса. Все высокоэффективные версии антенн снабжены встроенным обтекателем.
Все антенны также могут быть установлены отдельно от радиоблока. Радиоблок, в таком случае, соединяется с антенной гибким волноводом. Для раздельной установки может быть использована любая антенна, имеющая волноводный интерфейс IEC 154 типа B.

Рисунок 2.20 – 0,2, 0.3 м и 0.6 м компактные антенны
Все размеры и вес антенн указаны в таблице 2.3.
Таблица 2.3 – Размеры и вес антенн
| Диаметр антенны, м | Размеры: высота х, ширина х, глубина, мм | Максимальный вес с монтажным комплектом, кг |
| 0,2 | 296 x 266 x 98 | 4.8 |
| 0,3 | 382 x 382 x 185 | 9.2 |
| 0,6 | 635 x 635 x 363 | 13.7 |
| 1,2 | 1286 x 1286 x 591 | 49 |
| 1,8 | 1914 x 1914 x 885 | 102 |
| 2,4 | 2705 x 2705 x 1785 | 255 |
| 3,0 | 3315 x 3315 x 1745 | 297 |
Тип установки антенн. В этом разделе описаны монтажные наборы для 0.2 м, 0.3 м и 0.6 м компактных антенн, в соответствии с рисунком 2.21.
Монтажный комплект для антенны содержит два жестких кронштейна из тянутого алюминиевого профиля, которые вдоль оси азимута соединены двумя винтами из нержавеющей стали. Кронштейны анодированы и имеют обработанные и необработанные отверстия, которые позволяют юстировать антенну по углам склонения и азимута.

Рисунок 2.21 – Монтажный комплект для 0.3 м и 0.6 м компактных антенн
Комплекты предназначены для крепления антенн на штанги диаметром 50-120 мм или на уголковые профили с размерами от 40x40x5 до 80x80x8 мм с помощью двух алюминиевых анодированных скоб.
Все винты и гайки, используемые для подключения и юстировки, изготовлены из нержавеющей стали. Для блокировки винтов и гаек используются шайбы NordLock.
Монтажный комплект для антенн диаметром 0.3 м и 0.6 м допускает регулировку положения антенны в пределах ±15° по углу склонения и ±40° по углу азимута.
Средства управления и эксплуатации. Все блоки MINI-LINK E имеют встроенную систему Контроля и Управления (CSS), которая непрерывно проверяет качество передачи и статус неисправностей. Соответствующая информация доступна через канал контроля, который охватывает всю сеть MINI-LINK.
Связь с CSS может быть выполнена с помощью ПК – персонального компьютера, имеющего соответствующее программное обеспечение. Для централизованного контроля больших сетей используется MINI-LINK Netman. Для установки и технической поддержки используется портативный ПК с MSM.
CSS предоставляет следующие основные возможности:
- универсальный доступ: к системе можно получить доступ с любого находящегося в помещении блока или MINI-LINK E Micro;
- возможность одновременного использования приложений нескольких пользователей;
- мониторинг производительности;
- протоколирование параметров производительности и неисправностей;
- уведомление о неисправностях, передача и сбор данных о статусе;
- пользовательские входы;
- пользовательские выходы;
- организация петель, охватывающих ближний и дальний концы пролета;
- два встроенных служебных канала для независимой передачи данных или речевой связи;
- маршрутизация трафика;
- программное управление уровнем выходной мощности;
- пропускная способность трафика MMU 2х2 – 34+2 выбирается локально на сайте с помощью MSM.
Сеть передачи данных. Сеть MINI-LINK E может быть условно подразделена на три сети: сеть передачи трафика, сеть передачи данных (Data Communication Network, DCN) и сеть служебного канала. DCN является сетью, осуществляющей связь между Системами Управления (Management System) и терминалами MINI-LINK.
Терминалы могут быть связаны друг с другом и представлять собой суб-сеть. Поэтому DCN обычно состоит из нескольких суб-сетей. Суб-сети изолированы друг от друга, причем каждая из них относится к своему Серверу Netman.
Управляющий трафик содержит информацию о конфигурации, статусах оборудования и сообщения об ошибках.
Каналы связи. Канал связи узла (NodeCommunicationChannel, NCC) используется для обмена данными по управлению и эксплуатации между блоками одного или двух магазинов модуля доступа MINI-LINK E (AMM). Связи NCC между блоками одного AMM реализуются через системную шину, тогда как связь между двумя AMM осуществляется через разъемы, находящиеся на лицевой панели MMU.
NCC используется также для распределения данных по управлению и эксплуатации между не более чем тремя радиомодулями MINI-LINK E Micro, расположенными на одном сайте. Разъемы для подключения к MINI-LINK E Micro располагаются на блоке связи с радиомодулем (RCB).
Для обеспечения связи между AMM внутри одного сайта можно также использовать разъемы EAC на SAU. Этот вариант связи должен использоваться, если нужно обеспечить связь более чем между двумя АММ.
Данные между блоками, расположенными внутри помещения и наружными радиоблоками (RAU) передаются по Каналу связи радиомодуля (RadioCommunicationChannel, RCC). В пролете данные между терминалами передаются по Каналу связи пролета (Hop Communication Channel, HCC).
Порт управления и эксплуатации (O&M) представляет собой обычный последовательный порт с интерфейсом RS 232C. Порт доступен на каждом модуле доступа, а для MINI-LINK E Micro – на радиоблоке и RCB. С помощью ПК, подключенного к этому порту, можно читать и передавать данные по управлению и эксплуатации в пределах всей сети MINI-LINK.
Установка терминалов. Для обеспечения правильного взаимодействия оборудования MINI-LINK, оно должно быть взаимосвязано различными каналами связи, причем каждый терминал в пределах сети должен иметь уникальный идентификатор. Каждый терминал должен также знать идентификатор удаленного терминала и идентификаторы терминалов, подключенных к его собственным каналам связи. Установка производится с помощью MSM. При установке задаются такие параметры, как режим резервирования, номер частотного канала, уровень выходной ВЧ мощности и пороговые значения параметров, при которых должны подаваться сигналы о неисправности.
Диагностика неисправностей. Для прослеживания неисправности вплоть до дефектного радиоблока или какого-либо блока в модуле доступа предусмотрен целый ряд контрольных точек.
В приведенных далее таблицах описаны неисправности терминала, которые графически отображаются в поле неисправностей Netman или в окне Terminal MSM. Неисправностям, выделенным в этих таблицах жирным шрифтом, соответствуют кнопки в окне Terminal. Каждая из выделенных жирным шрифтом неисправностей представляет некоторую группу неисправностей, которые приведены в таблице обычным шрифтом.
Любая неисправность генерирует один из двух типов сводного сигнала о неисправности (A-alarm или B-alarm), который подается на Netman, MSM и на интерфейс локального контроля MMU MINI-LINK E.
Контроль с помощью петель. Существует два способа использования петель:
- трассировка дефектов путем проверки статуса сигнала о неисправности;
- проверка установки (применяется для MINI-LINK E) путем подачи тестирующего сигнала или на входной тест-порт SMU (если этот блок используется), или на входной тест-порт MMU и организации петли для этого сигнала с выводом его на соответствующий выходной тест-порт для анализа (например, с помощью измерителя уровня BER).
При установленной петле на выходе канала трафика генерируется сигнал индикации неисправности (AIS).
Контроль с помощью петель ближнего конца используется для выявления неисправных блоков на терминале ближнего конца (SMU, MMU или RAU).
Возможно создание следующих тест-петель ближнего конца (символы в скобках после названия петли соответствуют рисунку 2.22):
- SMU Tx Loop (N1) – петля передатчика в SMU. Подлежащий передаче сигнал трафика непосредственно со входа SMU подается на его выход (на принимающей сектороне);
- MMU Tx Loop (N2) – петля передатчика в MMU. Подлежащий передаче сигнал трафика возвращается на вход MMU;
- MMU IF Loop (N3) – петляПЧв MMU. Подлежащий передаче сигнал трафика в MMU после модуляции смешивается с частотой локального генератора, а затем возвращается для демодуляции (на принимающей сектороне);
- RF Loop (N4) – петляВЧ. В RAU часть подлежащего передаче ВЧ сигнала сдвигается по частоте и возвращается в направлении приема.

Рисунок 2.22 – Петли ближнего конца
Тест-петли, охватывающие дальний конец, в соответствии с рисунком 30, используются для обнаружения (дистанционного) неисправных блоков (SMU, MMU или RAU) на терминале дальнего конца.
Возможно создание следующих тест-петель на терминале дальнего конца (символы в скобках после названия петли соответствуют рисунку 2.23):
- MMU Rx Loop (F1). Петля приемника в MMU. Подлежащий приему сигнал трафика в MMU (через интерфейс трафика и маршрутизатор) возвращается назад на передающую сторону;
- SMU Rx Loop (F2). Петля приемника в SMU. Подлежащий приему сигнал трафика в SMU (через интерфейс трафика и имеющийся в блоке маршрутизатор) возвращается назад на передающую сторону.
Менеджер обслуживания MINI-LINK (MSM) используется для установки и технической поддержки оборудования MINI-LINK E и E Micro, C и MkII. ПО MSM функционирует в среде Windows 98, 2000 или NT на ПК.
Использование MSM дает возможность получить доступ ко всем терминалам суб-сети с любого сайта сети. Одновременно доступ к одной и той же сети могут иметь несколько ПК.
Средства MSM обеспечивают установку, локальную и дистанционную трассировку неисправностей, мониторинг производительности; при этом используется тот же самый интерфейс пользователя, как и у пользователя Netman.

Рисунок 2.23 – Петли дальнего конца
MSM– MINI-LINKServiceManager (Менеджер обслуживания MINI-LINK). В соответствии с рисунком 2.24 происходит подключение MSM к суб-сети.
Минимальные требования к ПК для MSM:
- процессор Pentium II, 233 МГц;
- Windows 98 (FAT32) или Windows NT 4.0 служебный комплект 6;
- 64 МБ RAM;
- 100 МБ доступного пространства на жестком диске;
- CD-ROM дисковод (или 3.5"дисковод);
- один последовательный порт;
- клавиатура;
- мышь.
Рекомендуемые параметры ПК для MSM:
- процессор Pentium III, 750 МГц;
- Windows 2000 Служебный комплект 1;
- 256 MБ RAM;
- 40 MБ доступного пространства на жестком диске;
- CD-ROM дисковод;
- один последовательный порт;
- клавиатура;
- мышь.
MINI-LINK Netman, в соответствии с рисунком 2.25, поддерживает целый ряд суб-сетей терминалов MINI-LINK. Это позволяет нескольким пользователям иметь доступ к любой части сети одновременно через многочисленных клиентов.
MINI-LINK Netman связан с Системой Управления и Контроля (CSS), которая интегрирована во все терминалы MINI-LINK E и E Micro.
MINI-LINK Netman предоставляет:
- дружественный интерфейс, основанный на Microsoft Windows NT;
- доступ многочисленным пользователям;
- функции для конфигурирования, диагностики неисправностей, управления производительностью и организации защиты;
- возможность наращивания системы;
- стандартизованный интерфейс SNMP, который позволяет обеспечивать связь с большинством систем управления сетями.
DDU – Блок распределения постоянного напряжения. Блок распределения постоянного напряжения (DC Distribution Unit, DDU), в соответствии с рисунком 2.26, используется для распределения постоянного напряжения питания не более, чем на пять внутренних блоков, таких как MMU и вентиляторы.

Рисунок 2.24 – Техническая поддержка с использованием менеджера обслуживания MINI-LINK

Рисунок 2.25 – MINI-LINK Netman как часть большой системы управления

Рисунок 2.26 – DDU
DDU подключается к первичному источнику питания экранированным проводом, подобным используемому для подключения батарей. Первичный источник питания должен иметь плавкий предохранитель для защиты DDU и кабеля батарей. Каждый выход DDU защищен автоматом на ток 6А, скомбинированным с переключателем вкл/выкл. (ON/OFF).
PSU. Блок источника питания AC/DC. PSU, в соответствии с рисунком 2.27, преобразует переменное напряжение 110/220 В в постоянное. 48В и имеет три выхода для подключения к внутренним блокам. Максимальная выходная мощность PSU составляет 120 Вт.
PSU обеспечивает:
- защиту от перегрузки и короткого замыкания, а также ограничение тока нагрузки по каждому выходу DC;
- плавающий выход DC;
- защита от разрядов молнии и EMC фильтры на входе.
На лицевой панели расположен главный переключатель включения/ выключения питающего переменного напряжения. Если блок включен, то светится зеленый индикатор.
На входе переменного напряжения PSU имеет сменные медленно срабатывающие плавкие предохранители для каждого из подводящих проводников. Предохранители заменяются с лицевой сектороны.
![]()
Рисунок 2.27 – PSU
Выходы DC имеют встроенную защиту от короткого замыкания (<0.1 Ома) и перегрузки в период запуска или при работе. Каждый DC выход имеет отдельный автомат-предохранитель, статус выхода индицируется зеленым светодиодом.
Кабели. Для соединения радиоблока и MMU используется 50-омный коаксиальный радиокабель.
Сопротивление постоянному току внешнего и внутреннего проводников менее 4 Ом.
Ослабление сигнала радиокабелем приведено в таблице 2.4.
Механические данные радиокабелей представлены в таблице 2.5.
Таблица 2.4 – Ослабление сигнала радиокабелем
| Наружный диаметр кабеля, мм | Ослабление на частоте 140 МГц, дБ/100 м | Ослабление на частоте 350 МГц, дБ/100 м | Максимальная длина кабеля, м |
| 10 | 6 | 9 | 200 |
| 16 | 3 | 4.7 | 400 |
| 28 | 1.5 | 2.4 | 700 |
Таблица 2.5 – Механические данные радиокабелей
| Наружный диаметр кабеля, мм | Вес, кг/100 м | Минимальный радиус изгиба, мм |
| 10 | 13 | 100 |
| 16 | 22 | 125 |
| 28 | 49 | 250 |
2.2 Базовая станция Ericsson RBS 2206
Компания Ericsson выпускает на рынок новую базовую станцию GSM 900/GSM 1800 для сот большой емкости. Эта базовая станция – RBS 2206 – размещается внутри зданий и поддерживает до двенадцати трансиверов на один шкаф (рисунок 2.28). Она может быть сконфигурирована с одним, двумя или тремя секторами в одном шкафу. RBS 2206 поддерживает повышенные скорости передачи данных для системы EDGE.
Одной станцией RBS 2206 могут быть заменены два или более существующих шкафов. Это имеет большое значение, так как позволяет повторно использовать и совмещать оборудование стандарта GSM и WCDMA.

Рисунок 2.28 – Базовая станция Ericsson RBS 2206
Основные характеристики:
- полная поддержка режима передачи данных: 14,4 кбит/с, HSCSD, GPRS;
- поддержка EDGE на 12 трансиверов во всех временных интервалах;
- поддержка всех речевых кодеков: HR, FR и EFR;
- расширенный радиус действия – 121 км;
- дуплексор и поддержка TMA для всех конфигураций;
- поддержка программно задаваемого увеличения мощности;
- четыре порта передачи, поддерживающие скорость до 8 Мбит/с.
2.3 Расчет зоны покрытия базовой станции
Произведем расчет дальности связи между антенной базовой станции BCF и абонентского блока (MS) на стороне абонента. Оценить ожидаемую дальность связи между блоками BCF и MSсистемы.
Исходные данные для расчета:
- блок BCF
- мощность передатчика – 28 дБм;
- минимальный порог уровня на входе приемника – 68 дБм;
- средняя частота приема и передачи – 900 МГц;
- затухание в фильтрах и антенных разделителях – 15дБ;
- диаграмма направленности антенны – 60˚;
- коэффициент усиления антенны БС – 11 дБ;
- высота расположения антенны – 40 м;
- диаграмма направленности – 6,1;
- коэффициент усиления антенны МС – 13,5 дБм.
Напряженность поля, при которой обеспечивается достаточное качество приема, равна – 53 дБ.
Определим зону покрытия одной БС по методике. Данная методика расчета основана на данных о распространении радиоволн над среднепересеченной местностью. В расчете приведены кривые распространения радиоволн (рисунок 2.29), которые положены в основу метода расчета.

Рисунок 2.29 – Кривые распространения радиоволн над поверхностью земли в городской зоне
Данные кривые построены при использовании передатчика мощностью 1 кВт, который создает в пунктах приема на расстоянии r, напряженность поля E, соответствующие пересечению вертикали с кривой высоты, передающей антенны. Но реальные характеристики передатчиков отличаются от принятых в кривых, поэтому вводятся поправочные коэффициенты, а общая расчетная формула имеет вид:
, (2.1)
где Ес – напряженность поля сигнала, необходимая для получения заданных показателей. Ес заданна из технической документации к оборудованию, Ес =45 дБ;
Вр.н – поправка учитывающая отличие номинальной мощности передатчика от мощности 1 кВт, принятой для кривых, дБ;
Вф – затухание в резонаторных, мостовых фильтрах и антенных разделителях, дБ. Вф =7 дБ;
Вh 2 – поправка, учитывающая высоту приемной антенны, дБ;
Врел – поправка, учитывающая рельеф местности, дБ;
α∙l – затухание в фидере передающей и приемной антенной, дБ. В данном типе оборудования не используется, т.к. соединение с блоком RPU происходит с помощью цифровой соединительной линией HDSL.
DAU – коэффициент усиления антенны БС RPU. DRPU =11 дБ;
DSU – коэффициент усиления антенны абонентского оборудования AU. DSU =13,5 дБ;
Вθ – поправка, учитывающая уменьшение восприимчивости к помехам по сравнению с четвертьволновым штырем, дБ.
Определим поправку Вр.н последующей формуле:
дБ, (2.2)
где Рн – номинальная мощность передатчика, Рн =316 мВт.
Определим поправку Вh 2 , учитывающую высоту приемной антенны отличную от 1,5 м, по формуле:
дБ, (2.3)
где h2 – высота приемной антенны, h2 =10 м.
Поправка, учитывающая реальный рельеф местности Врел в зоне действия системы радиодоступа, определяется следующим образом. Графики зависимости дальности связи от напряженности поля при различных высотах передающих антенн БС составлены на основании обработки статистической информации об изменениях в условиях среднепересеченной местности. Среднепересеченной считается такая местность, на которой среднее колебание отметок высот на расстоянии 10 – 15 км от БС не превышает 50 м. График для определения рельефа местности, приведен на рисунке 2.30. Для определения колебания уровня местности Δh, рисуют рельеф местности и определяют колебание Δh. Когда Δh отличается от 50 м в ту или иную сторону, следует вносить поправки, определяемые по графикам рисунка 2.2а и рисунка 2.2б для r<100 км. Антенна БС системы BreezeACCESS имеет секторную конструкцию, один сектор имеет зону охвата 60º, то для охвата зоны в 360º используется шесть секторов. Дальность связи на каждом секторе определяется из рельефа местности, наличия строений, или других препятствий для прохождения сигнала в прямой видимости.
По графикам на рисунке 2.30 определим поправку Врел с учетом рельефа и строений для каждого сектора:
- первый сектор характеризуется наличием строений высотой до 10 м. Поправка Δh5 =10 м. Поправка на рельеф Врел = – 10 дБ;
- второй сектор характеризуется наличием одно-двух этажными домами и наличием деревьев высотой до 10 м. Поправка Δh2 =10 м. Поправка на рельеф Врел = – 10 дБ;

Рисунок 2.30 – Графики для определения поправки, учитывающей рельеф местности
- третий сектор характеризуется наличием одно-двух этажными домами и наличием деревьев высотой до 10 м. Поправка Δh3 =10 м. Поправка на рельеф Врел = – 10 дБ;
- четвертый сектор характеризуется наличием высотных строений, высотой до 28 м. Поправка Δh5 =28 м. Поправка на рельеф Врел = – 3 дБ;
- пятый сектор характеризуется высотой строений до 10 м. На расстоянии пяти километров начинается предгорье, высота местности достигает 100 м, относительно уровня расположения БС. Поправка Δh4 =100 м. Поправка на рельеф Врел =7 дБ;
- шестой сектор характеризуется преобладанием в зоне радиоохвата пяти этажных зданий на расстоянии до 5 км. Все постройки и деревья на более дальнем расстоянии не превышают 14 м. Т.о. поправка Δh1 =15 м. Поправка на рельеф Врел = – 6 дБ.
Рассчитаем поправку ΔВθ , учитывающую уменьшение восприимчивости к помехам по сравнению с четвертьволновым штырем.
дБ, (2.4)
где θЕ – угол диаграммы направленности принимающей антенны, θЕ =6,1º.
Подставляя значения в формулу, определим напряженность поля, создаваемое передающей базовой станцией (БС) в пункте приема абонентской станцией.
Для первого сектора:
дБ.
Для второго сектора:
дБ.
Для третьего сектора:
дБ.
Для четвертого сектора:
дБ.
Для пятого сектора:
дБ.
Для шестого сектора:
дБ.
По полученным значениям напряженности поля создаваемого БС в пункте приема, определим дальность связи для каждого сектора по графику на рисунке 2.31. Дальность связи каждого сектора составляет:
- на первом, втором и третьем – 20 км при Е=34,6 дБ;
- на четвертом – 13 км при Е=41,6 дБ;
- на пятом – 8 км при Е=51,6 дБ;
- на шестом – 17 км при Е=38,6 дБ.
На рисунке 2.31 изображена дальность связи на каждом секторе. Полученные результаты могут отличаться от реальных значений. Сравнивая полученные данные дальности связи можно определить что, средняя дальность связи составляет 16 км, что соответствует средней дальности связи по технической документации.

Рисунок 2.31 – Зоны покрытия каждой базовой станции
3. Охрана труда
Трудовое законодательство Республики Казахстан основывается на Конституции Республики Казахстан и состоит из настоящего Кодекса и принятых в соответствии с ним иных нормативных правовых актов Республики Казахстан. Трудовое законодательство Республики Казахстан было принято 31 июля 2004 года за № 169-170.
Целями трудового законодательства Республики Казахстан являются создание необходимых правовых условий для достижения баланса интересов сторон трудовых отношений, защиты трудовых прав работников при учете интересов работодателей по повышению эффективности и конкурентоспособности производства, обеспечение социальных гарантий гражданам. Задачами трудового законодательства Республики Казахстан являются правовое регулирование трудовых отношений, отношений социального партнерства и охраны труда, направленное на достижение экономического роста, повышение благосостояния людей через стимулирование экономического роста, производительности труда и конкурентоспособности экономики (закон "О труде" ст. 1 "Цели и задачи трудового законодательства РК").
При наличии противоречий в сфере труда между настоящим Кодексом и другими законодательными актами Республики Казахстан действуют нормы настоящего Кодекса. Запрещается включение в другие законодательные акты Республики Казахстан норм, регулирующих трудовые отношения, отношения социального партнерства и охраны труда, кроме случаев, предусмотренных настоящим Кодексом. Международные договоры, ратифицированные Республикой Казахстан, имеют приоритет перед настоящим Кодексом и применяются непосредственно, кроме случаев, когда из международного договора следует, что для его применения требуется издание закона (закон "О труде" ст. 8 "Трудовое законодательство РК").
Настоящий Кодекс регулирует трудовые отношения, отношения социального партнерства и отношения по безопасности и охране труда Республики Казахстан. Действие настоящего Кодекса распространяется на граждан Республики Казахстан, иностранцев и лиц без гражданства, осуществляющих трудовую деятельность на территории Республики Казахстан, если иное не предусмотрено настоящим Кодексом и международными договорами, ратифицированными Республикой Казахстан. Настоящий Кодекс распространяется на работников организаций, расположенных на территории Республики Казахстан, учредителями или собственниками (полностью или частично) которых являются иностранные юридические или физические лица. Особенности правового регулирования труда отдельных категорий работников устанавливаются настоящим Кодексом и иными законодательными актами Республики Казахстан и не могут снижать уровня трудовых прав, свобод и гарантий, предусмотренных настоящим Кодексом (закон "О труде" ст. 9 "Сфера действия настоящего Кодекса").
5 июля 2004 года был принят закон Республики Казахстан "О связи". Настоящий Закон устанавливает правовые основы деятельности в области связи на территории Республики Казахстан, определяет полномочия государственных органов по регулированию данной деятельности, права и обязанности физических и юридических лиц, оказывающих или пользующихся услугами связи.
Связь является неотъемлемой частью экономической и социальной инфраструктуры РК, предназначенной для удовлетворения потребностей физических и юридических лиц и обеспечения потребности безопасности, обороны, охраны правопорядка, государственных органов в услугах связи. Средства связи и вычислительной техники составляют техническую базу обеспечения процесса сбора, обработки, накопления и распространения информации (закон "О связи" гл. 1 ст. 1 "Назначение связи").
Законодательство Республики Казахстан в области связи основывается на Конституции Республики Казахстан, состоит из настоящего Закона и иных нормативных правовых актов Республики Казахстан. Если международным договором, ратифицированным Республикой Казахстан, установлены иные правила, чем те, которые содержатся в настоящем Законе, то применяются правила международного договора (закон "О связи" гл. 1 ст. 3 "Законодательство Республики Казахстан в области связи").
3.1 Анализ опасных и вредных факторов
Описание оборудования станции. Станция сотовой связи состоит из внешнего и внутреннего оборудования.
К внешнему оборудованию относятся секторные и релейные антенны, закрепленные на опорных штангах, фидеры и коаксиальные кабеля. Внешнее оборудование размещается на крышах зданий, на контейнерах ТОО "GSM Казахстан", вышках и мачтовых сооружениях в соответствии с рисунком 3.1.
Внутреннее оборудование станции располагается либо в специальном контейнере, либо в комнате общим объемом 15 м3 в соответствии с рисунком 3.2. Помещение оборудуется кондиционером для поддержания постоянной температуры, необходимой для стабильной работы станции. Расположение оборудования производится в соответствии со стандартами фирмы "Ericsson".
В состав внутреннего оборудования входят: штатив модемов, базовая станция, аккумуляторная стойка электрораспределительный щит, а так же кабельные каналы, кабелеросты, радио и электрокабеля.
Работы и опасные факторы при работе. Основные работы, производимые инженерами сотовой связи, при обслуживании станций включают в себя:
а) работы с электрооборудованием до 1000 В;
б) высотные работы;
в) работы вблизи действующих антенн и фидеров.

Рисунок 3.1 – Внешнее оборудование

Рисунок 3.2 – Внутреннее оборудование
При работе с электрооборудованием возникают следующие опасные факторы:
- поражение человека электрическим током;
- накопление статического электричества.
Высотные работы также связаны с рисками:
- работа на открытом воздухе;
- риск падения людей и предметов с высоты.
Работы вблизи антенно-фидерных устройств влекут за собой опасность облучения человека электромагнитными полями.
3.2 Мероприятия по снижению опасных и вредных факторов
Мероприятия при работе с электрооборудованием. Чтобы исключить вероятность травматизма на производстве, компания ТОО "GSM Казахстан" проводит все необходимые для этого мероприятия.
Для производства технических работ с оборудованием сотовой связи в компании производится ежегодный экзамен по технике безопасности, который включает проверку знаний работника по следующим пунктам:
- инструкции и нормативные документы по указанной должности;
- правила оказания доврачебной помощи;
- инструкции и правила пожарной безопасности;
- инструкции и правила по работе с электрооборудованием до 1000 В.
Прокладку силовых кабелей до электрощита станции производит подрядная организация с соблюдением всех правил техники безопасности при работах с электричеством.
Работы по переключению оборудования производятся только после остановки подачи тока на оборудование.
Станция, коммутационные шкафы, антенны и другое оборудование подключаются кабелями заземления к общему заземляющему контуру здания или сооружения, на котором расположено оборудование сотовой связи.
Для снятия статического напряжения работник, во время работы с электронными платами станции и коммутационного шкафа, должен использовать специальный наручный браслет, соединенный с контуром заземления.
Также в помещении используются резиновые напольные коврики для работ со станцией и коммутационным оборудованием.
В качестве молниеотвода на антенных штангах устанавливаются пики, которые всегда преобладают по высоте и имеют отдельный отвод в землю.
Мероприятия при работах на высоте. Антенны сотовой связи могут монтироваться практически на любых зданиях и сооружениях, что связано с работой на высоте. Помимо этого следует учитывать зависимость от климатических условий и времени года, поэтому необходимо проведение ниже перечисленных мероприятий.
Запрещено проведение работ на крышах зданий, вышках и мачтовых сооружениях во время грозы, при плохой видимости (сильный туман, ливень, снег), при обледенении сооружений, а также при критических и вредных для здоровья температурах атмосферы.
Для работников компании проводятся обучение и аттестация по "Межотраслевым правилам работ на высоте", в результате чего инженер ТОО "GSM Казахстан" допускается к работе в качестве лица, ответственного за безопасное ведение работ на высоте и подъемных механизмах.
В зависимости от времени года используется зимняя или демисезонная спецодежда, включающая комбинезон, куртку и специальные ботинки с толстой резиновой подошвой. Костюм для работников кабельных линий связи разработан в двух вариантах: летнем и зимнем с пристегивающейся утепляющей подкладкой (утеплитель - ватин или синтепон). Рекомендуемая ткань - палаточное полотно с влагоотталкивающей пропиткой. Куртка: центральная бортовая потайная застежка на пуговицах, отложной воротник, пристегивающийся капюшон, плечевые накладки, четыре накладных кармана с клапанами, рукава с налокотниками, стягивающиеся внизу эластичной лентой, на спинке кокетка, по линии талии внутри куртка стягивается шнуром, для зимнего варианта - съемный утеплитель с ветрозащитным клапаном и трикотажными напульсниками.
Брюки: притачной пояс, застежка по переднему шву на пуговицах, карманы в боковых швах и накладной карман справа на передних половинках брюк, усилительные детали - наколенники, леи, съемные бретели, регулирующиеся по длине при помощи пряжек и эластичной ленты, для зимнего варианта - съемный утеплитель с расширенным утепленным поясом, разрезами и тесьмой по низу брюк.
При работах на высоте используется защитная каска 611 LP 2002 с четырех точечным креплением стропового демпфера.
А также страховочный пояс ЕКО 1 с двумя D- образными кольцами по бокам для фиксации рабочего положения при высотных работах.
3.3 Меры пожарной безопасности
Станции ТОО "GSM Казахстан" по пожарной опасности относятся к классу малопожароопасных. По огнестойкости станция сотовой связи соответствует II степени.
Для предупреждения о возгорании на станции используется мониторинг температуры атмосферы с использованием температурных датчиков.
Также на каждой станции устанавливаются углекислотные огнетушители. Огнетушитель переносной предназначен длятушения загораний.
Характеристики огнетушителя:
- габариты (Ш×В×Г) – 165×280×500 мм;
- время выхода заряда – 8с;
- длина выброса – 1.4 м;
- емкость – 3 л;
- масса заряда – 2 кг;
- масса с зарядом – 8,2 кг;
- огнетушащая способность – 10;
- рабочее давление – 58,0 атм.
Примечание – 10 B – горение 10 литров бензина слоем 3 см, находящегося в противне, имеющим форму круга.
Огнетушитель переносной предназначен для тушения загораний:
- различных веществ, горение которых не может происходить без доступа воздуха;
- загораний на электрофицированном железнодорожном и городском транспорте;
- электроустановок, находящихся под напряжением неболее 1000 В;
- загораний в музеях, картинных галереях и архивах.
В случае необходимости покинуть место возгорания, инженер, производящий работы в помещении станции, использует схему эвакуации собственника здания, в котором арендуется помещение для станции.
4. Промышленная экология
Последние несколько лет характеризуются интенсивным развитием системы сотовой телефонной радиосвязи. Широкий выбор и качество предлагаемых телекоммуникационных услуг, а также доступная цена, привели к тому, что на сегодняшний день в мире насчитывается порядка 300 миллионов пользователей сотовой связью, из них более 8 миллионов – в России. Как следствие, широкое распространение получили новые функциональные источники электромагнитного поля радиочастотного диапазона (ЭМП) – базовые станции (БС) и мобильные (переносные и ручные) радиотелефоны (РТ), способные генерировать ЭМП гигиенически значимые уровни. Всё вышесказанное делает проблему санитарно-гигиенического надзора за объектами системы сотовой радиосвязи особенно актуальной и социально важной.
Электромагнитное поле – это особая форма материи, посредством которой осуществляется взаимодействие между электрически заряженными частицами.
Электрическое поле – создается электрическими зарядами и заряженными частицами в пространстве.
Магнитное поле –создается при движении электрических зарядов по проводнику. Физической причиной существования электромагнитного поля является то, что изменяющееся во времени электрическое поле возбуждает магнитное поле, а изменяющееся магнитное поле – вихревое электрическое поле.
Для населения санитарные нормы допустимых уровней напряженности ЭМП и плотности потока электромагнитной энергии регламентированы Санитарными Правилами и Нормами Республики Казахстан №3.01.002-96 "Санитарные правила и нормы по защите населения от воздействия электромагнитных полей, создаваемых радиотехническими объектами", не зависят от времени воздействия и составляют 0,025 Вт/м2 при непрерывном воздействии. Нормы повышаются до 10 раз при импульсивном воздействии электромагнитного потока в зависимости от типа импульсивности.
Работа этой системы основана на принципе деления некоторой территории на зоны (соты) радиусом обычно 0,5-2 километра (в условиях городской застройки), в центре или в узлах которых расположены БС, которые обслуживают РТ, находящиеся в зоне их действия. Эффективное использование выделяемого для функционирования системы частотного спектра - многократное использование одних и тех же частот, применение различных методов доступа – делает возможным обеспечение телефонной связью значительного числа пользователей в рамках одной сети. Базовые станции системы сотовой радиосвязи. БС являются приемо-передающими радиотехническими объектами, излучающими электромагнитную энергию в УВЧ диапазоне (300-3000 МГц). Кроме того, каждая БС дополнительно оснащена комплектом приемо-передающего оборудования радиорелейной связи, работающим в диапазоне 3-40 ГГц, отвечающим за интеграцию данной БС в сеть в целом. Мощность передатчиков БС обычно не превышает 5-10 Вт на несущую. В основном применяются два типа передающих (приемо-передающих) антенн БС:
- слабонаправленные с круговой диаграммой направленности (ДН) в горизонтальной плоскости – тип "Omni";
- направленные (секторные), с углом раствора основного лепестка ДН в горизонтальной плоскости 60 или 120 градусов, в соответствии с рисунком 4.1.
Значение коэффициента усиления по мощности антенн БС относительно изотропного излучателя обычно находится в пределах 8-18 дБ.
Антенны БС устанавливаются на высоте 15-100 метров от поверхности земли на уже существующих постройках: общественных, служебных, производственных и жилых зданиях, дымовых трубах промышленных предприятий и т. д., или на специально сооруженных мачтах в соответствии с рисунком.
Рисунок 4.1 – Диаграмма направленности секторной антенны (ДН 600 )
К особенностям БС как объектов санитарно-эпидемиологического контроля можно отнести следующее:
- мощность излучения БС (загрузка) непостоянна во времени и зависит от количества абонентов, обслуживаемых БС в данный момент, количество абонентов в свою очередь связано с местоположением БС, временем суток и днем недели. Типичный график загрузки БС соответствует рисунку 4.2;
- благодаря относительно большой высоте размещения и характеристикам ДН передающих антенн в подавляющем большинстве случаев у БС отсутствует санитарно-защитная зона, т. е. интенсивность ЭМП, создаваемого БС, на селитебной территории на "уровне земли" не превышает предельно допустимых значений;
- гигиенически значимые уровни ЭМП могут наблюдаться только в непосредственной близости, на расстоянии до 3-5 метров от передающих антенн БС и от антенн радиорелейной связи. Из-за многолучевого распространения ЭМП (переотражения) существует гипотетическая возможность обнаружения таковых в помещениях и на балконах последних этажей зданий, на которых расположены антенны БС, и в помещениях последних этажей зданий первой линии застройки в радиусе 200-300 метров вокруг БС;
- приемопередающие оборудование БС (кроме антенн) не является источником, потенциально опасным с точки биоэлектромагнитной совместимости.
Рисунок 4.2 – Типичный график почасовой загрузки базовой станции сотовой
Мобильные радиотелефоны. Радиотелефон представляет собой миниатюрный приемопередатчик, работающий в УВЧ диапазоне, выходная мощность которого в большой степени зависит от качества связи с обслуживающей его БС. Максимальная средняя мощность радиотелефона стандарта GSM900 составляет 0,25 мВт.
Реальная выходная мощность радиотелефона может быть на порядок меньше. Кроме того, в радиотелефонах стандарта GSM-900/-1800 имеется режим DTX (Discontinuous Transmission), при котором в целях экономии заряда батареи радиотелефона в момент молчания пользователя выходная мощность телефона падает в несколько раз.
Антенны радиотелефонов имеют ДН типа "Omni", форма которой в значительной мере может искажаться при приближении телефона к телу человека.
Особенностями радиотелефона с точки зрения санитарно-эпидемиологического надзора являются:
- максимальное приближение достаточно мощного источника ЭМП к жизненно важным органам человека, прежде всего к головному мозгу;
- при оценке интенсивности ЭМП, создаваемого радиотелефоном, необходимо рассматривать единую систему "радиотелефон - пользователь", так как присутствие последнего существенно меняет картину распределения и поглощения поля;
- выходная мощность радиотелефона и, следовательно, условия воздействия ЭМП, зависят от качества связи с БС.
Радиотелефоны цифровых стандартов являются источниками импульсно модулированного ЭМП УВЧ диапазона и магнитного поля СНЧ диапазона (30 300 Гц).
Далее приведен санитарный паспорт на радиотехнический объект (РТО) ТОО "GSM Казахстан".
Санитарный паспорт на РТО выполнен в соответствии с ниже перечисленными документами:
- "Санитарные правила и нормы защиты населения от воздействия электромагнитных полей, создаваемых радиотехническими объектами" от 12 июня 1996 г. № 3-01.002-96 (с изменениями от 12.05.2000 г.);
- "Методика расчетов биологически-опасных зон радиотехнических объектов" от 10 сентября 2001 г. № 41-2/2-2938. Письмо Главного врача РСЭС в обл. УГСЭН, УГСЭН городов Алматы и Астаны, ЦСЭС на транспорте.
Технические данные по базовой станции:
- тип станции – ERICSSON RBS;
- мощность станции – 25 Вт;\
- тип антенны – K739684;
- коэффициент усиления антенны – 15,0 дБ;
- количество секторных антенн базовой станции – 3 шт;
- рабочий диапазон частот – 890,2-901,8 / 935,2-946,8 МГц;
- высота подвеса антенн над уровнем земли – 19 м;
- коэффициент потерь в антенно-фидерном тракте базовой станции –
3 дБ;
- тип модуляции – GMSK.
Технические данные по радио релейной станции:
- типстанции– Ericsson Mini-Link E;
- мощность станции – 0,1 Вт;
- тип антенны – Andrew;
- коэффициент усиления антенны – 39,5 дБ;
- количество антенн радиорелейной станции – 3 шт;
- рабочий диапазон частот – 21,6-23,6 ГГц;
- высота подвеса антенн над уровнем земли – 19 м;
- коэффициент потерь в антенно-фидерном тракте радиорелейной станции – 1,0 дБ;
- тип модуляции – QPSK;
- время и режим работы на излучение – постоянное.
Расчет биологически опасной зоны для базовой станции приведен ниже.
Для определения санитарно- защитной зоны и зоны ограничения застройки плотность потока электромагнитной энергии рассчитывается по формуле:
(4.1)
где П – плотность потока электромагнитной энергии на расстоянии R, от центра излучения антенны, мкВт/см2 ;
Р– мощность, излучаемая антенной, Вт;
G– коэффициент усиления антенны, раз;
Ф2 – множитель, учитывающий влияние земли, для данной ситуации примем равным 1.00;
– коэффициент потерь в антенно-фидерном тракте, раз;
– значение нормированной диаграммы направленности в направлении объекта облучения, раз;
– значение нормированной диаграммы направленности в горизонтальной плоскости, раз;
– расстояние до точки наблюдения, м.
Рассчитаем биологически опасную зону по формуле:
(4.2)
где
– максимальное значение радиуса биологически опасной зоны в направлении излучения, м;
– предельно- допустимое значение плотности потока электромагнитной энергии (для данного диапазона – 2.5 мкВт/см2
).
Для расчета биологически опасной зоны в вертикальной плоскости
. Для расчета биологически опасной зоны в горизонтальной плоскости
.
Подставив постоянные значения, получим следующее выражение:
-
35,56
,
– для вертикальной плоскости;
-
35,56
,
– для горизонтальной плоскости.
Форму поперечного сечения биологически опасной зоны в вертикальной плоскости рассчитаем с помощью формулы:
, (4.3)
Расчеты значений
для вертикальной и горизонтальной плоскостей, а также значений
,
приведены в таблицах 4.1 и 4.2.
Таблица 4.1 – Расчёт биологически опасной зоны базовой станции в вертикальной плоскости
| передний фронт диаграммы направленности | ||||||
| 0 | 1.000 | 35.565 | 0.000 | 0.000 | 1.000 | 35.565 |
| 5 | 0.630 | 22.406 | 0.087 | 1.949 | 0.996 | 22.316 |
| 10 | 0.170 | 6.046 | 0.174 | 1.052 | 0.985 | 5.955 |
| 15 | 0.130 | 4.623 | 0.259 | 1.197 | 0.965 | 4.461 |
| 20 | 0.020 | 0.711 | 0.342 | 0.243 | 0.940 | 0.668 |
| 25 | 0.025 | 0.889 | 0.423 | 0.376 | 0.906 | 0.805 |
| 30 | 0.022 | 0.782 | 0.500 | 0.391 | 0.866 | 0.677 |
| 35 | 0.021 | 0.746 | 0.574 | 0.428 | 0.819 | 0.611 |
| 40 | 0.021 | 0.746 | 0.643 | 0.480 | 0.766 | 0.572 |
| 45 | 0.020 | 0.711 | 0.707 | 0.502 | 0.707 | 0.502 |
| 50 | 0.014 | 0.497 | 0.766 | 0.381 | 0.643 | 0.320 |
| 55 | 0.009 | 0.320 | 0.819 | 0.262 | 0.574 | 0.183 |
| 60 | 0.009 | 0.320 | 0.866 | 0.277 | 0.500 | 0.160 |
| 65 | 0.009 | 0.320 | 0.906 | 0.290 | 0.423 | 0.135 |
| 70 | 0.008 | 0.284 | 0.940 | 0.267 | 0.342 | 0.097 |
| 75 | 0.008 | 0.284 | 0.966 | 0.274 | 0.259 | 0.073 |
| 80 | 0.008 | 0.284 | 0.985 | 0.280 | 0.174 | 0.049 |
| 85 | 0.006 | 0.213 | 0.996 | 0.212 | 0.087 | 0.018 |
| 90 | 0.010 | 0.355 | 1.000 | 0.355 | 0.000 | 0.000 |
| обратный фронт диаграммы направленности | ||||||
| 100 | 0.009 | 0.320 | 0.985 | 0.315 | -0.174 | -0.055 |
| 110 | 0.008 | 0.284 | 0.940 | 0.267 | -0.342 | -0.097 |
| 120 | 0.007 | 0.248 | 0.866 | 0.215 | -0.500 | -0.124 |
| 130 | 0.006 | 0.213 | 0.766 | 0.163 | -0.643 | -0.137 |
| 140 | 0.006 | 0.213 | 0.643 | 0.137 | -0.766 | -0.163 |
| 150 | 0.006 | 0.213 | 0.500 | 0.106 | -0.866 | -0.184 |
| 160 | 0.006 | 0.213 | 0.342 | 0.072 | -0.940 | -0.200 |
| 170 | 0.006 | 0.213 | 0.174 | 0.037 | -0.985 | -0.210 |
| 180 | 0.006 | 0.213 | 0.000 | 0.000 | -1.000 | -0.213 |
Таблица 4.2 – Расчёт биологически опасной зоны базовой станции в горизонтальной плоскости
| 0 | 1.000 | 35.565 |
| 5 | 1.000 | 35.565 |
| 10 | 0.890 | 31.653 |
| 15 | 0.790 | 28.096 |
| 20 | 0.710 | 25.251 |
| 25 | 0.630 | 22.406 |
| 30 | 0.520 | 18.494 |
| 35 | 0.450 | 16.004 |
| 40 | 0.270 | 9.602 |
| 45 | 0.200 | 7.113 |
| 50 | 0.180 | 6.401 |
| 55 | 0.160 | 5.690 |
| 60 | 0.100 | 3.556 |
| 65 | 0.090 | 3.200 |
| 70 | 0.080 | 2.845 |
| 75 | 0.060 | 2.133 |
| 80 | 0.060 | 2.133 |
| 85 | 0.030 | 1.066 |
| 90 | 0.010 | 0.355 |
Далее приведен расчет биологически опасной зоны радиорелейной станции.
Расчет проводится по формуле:
(4.4)
где
– максимальная мощность излучения равная 0.1 Вт;
– коэффициент усиления антенны
39.5 дБ (8912.50 раз);
– коэффициент потерь в антенно-фидерном тракте равный
1.0 дБ (1.25 раз);
– предельно допустимая плотность потока энергии в соответствии с СанПиН 3.01.002-96, равно значению 0.025 Вт/м2
.
Диаметр поперечного сечения биологически опасной зоны рассчитаем с помощью формулы:
(4.5)
Расчеты значений
,
,
приведены в таблице 4.3.
Таблица 4.3 – Расчеты значений
,
, 
| передний фронт диаграммы направленности | ||||||
| 0 | 8912.510 | 64.257 | 0.000 | 0.000 | 1.000 | 64.257 |
| 5 | 50.120 | 4.818 | 0.087 | 0.419 | 0.996 | 4.799 |
| 10 | 17.780 | 2.870 | 0.174 | 0.499 | 0.985 | 2.827 |
| 20 | 5.010 | 1.523 | 0.342 | 0.521 | 0.940 | 1.432 |
| 25 | 2.510 | 1.078 | 0.422 | 0.455 | 0.906 | 0.976 |
| 35 | 0.790 | 0.604 | 0.573 | 0.346 | 0.819 | 0.495 |
| 60 | 0.500 | 0.481 | 0.866 | 0.416 | 0.500 | 0.240 |
| 70 | 0.040 | 0.136 | 0.939 | 0.127 | 0.343 | 0.046 |
| 90 | 0.016 | 0.086 | 1.000 | 0.086 | 0.001 | 0.000 |
| обратный фронт диаграммы направленности | ||||||
| 95 | 0.005 | 0.048 | 0.996 | 0.047 | -0.086 | -0.004 |
| 180 | 0.005 | 0.048 | 0.002 | 0.000 | -1.000 | -0.048 |
На основании представленных расчётов плотности потока электромагнитной энергии от 3 секторных антенн базовой станции сотовой связи и 3 антенн РРС, принадлежащих ТОО "GSM Казахстан", санитарно-эпидемиологической экспертизой составлено заключение:
- секторные антенны на высоте 19 м над уровнем земли, антенны работают по принципу временного разделения каналов, т.е. в каждый момент излучения работает только один канал;
- максимальный радиус биологически-опасной зоны антенн в направлении излучения равен 35.565 м;
- в вертикальном сечении максимальное расстояние от направления излучения равно 1.949 м на расстоянии 22.316 м от центра излучения;
- радиус биологически-опасного излучения в направлении земли равен 0.355 м, от заднего лепестка антенны 0.213 м;
- антенна РРС расположена там же, на высоте 19 м над уровнем земли;
- максимальный радиус биологически-опасной зоны антенны РРС равен 64.257 м в направлении излучения. В вертикальном сечении БОЗ повторяет форму диаграммы направленности в вертикальной плоскости;
- радиус биологически-опасного излучения антенны РРС в направлении земли равен 0.086 м, от заднего лепестка – 0.048 м;
- суммарный уровень электромагнитной энергии от антенн базовой станции и РРС на высоте 19 м от уровня земли не превышает допустимого, регламентированного СанПиН № 3.01.002-96 для круглосуточного облучения населения (2.5 мкВт/см2 ).
Таким образом, уровни электромагнитного поля от антенн ТОО "GSM Казахстан" в местах длительного пребывания людей не будут отрицательно воздействовать на здоровье населения.
5. Экономическая часть
5.1 Капитальные затраты
Капитальные затраты по оборудованию BTS 2206 от "Ericsson" составят:
SКE = КО( E ) + КТР( E ) + КМОН( E ) + КДОП( E ) , (5.1)
где КО( E ) – капитальное вложение на приобретение оборудования BTS от "Ericsson" (стоимость оборудования одной BTS составляет 25,2 млн. тенге);
КТР( E ) – стоимость транспортировки оборудования к месту эксплуатации, 2% от стоимости оборудования;
КМОН( E ) – стоимость монтажа оборудования, 10% от стоимости оборудования;
КДОП( E ) – стоимость проведения курсов по повышению квалификации, 1% от стоимости оборудования.
Тогда:
SКE = 25200 + 504 + 2520 + 252 = 28476 тыс. тенге.
Капитальные затраты по оборудованию BTSUltra от "Nokia" составят:
SКN = КО( N ) + КТР( N ) + КМОН( N ) + КДОП( N ) , (5.2)
где КО( N ) – капитальное вложение на приобретение оборудования BTS от "Nokia" (стоимость оборудования одной BTS составляет 26 млн. тенге);
КТР( N ) – стоимость транспортировки оборудования к месту эксплуатации, 2% от стоимости оборудования;
КМОН( N ) – стоимость монтажа оборудования, 10% от стоимости оборудования;
КДОП( N ) – стоимость проведения курсов по повышению квалификации, 1% от стоимости оборудования.
Тогда
SКN = 26000 + 520 + 2600 + 260 = 29380 тыс. тенге.
5.2 Годовые эксплутационные затраты
Годовые эксплуатационные затраты определяются по формуле:
С = ФОТ + А + М + ЗЭ + СПР.ТР + САДМ , (5.3)
где ФОТ – общий фонд оплаты труда в год, тыс. тенге;
А – годовые амортизационные отчисления, тыс. тенге;
М – годовые материальные затраты, тыс. тенге;
ЗЭ – годовые затраты на электроэнергию, тыс. тенге;
СПР.ТР – прочие годовые производственные и транспортные расходы, тыс. тенге;
САДМ – прочие годовые административно-управленческие и эксплуатационно-хозяйственные расходы, тыс. тенге.
Общий фонд оплаты труда в год определяется по формуле:
ФОТ = ЗОСН + ЗОС , (5.4)
где ЗОСН – основная заработная плата в год, тыс. тенге;
ЗОС – отчисления на социальный налог в год, тыс.тенге.
Основная заработная плата по штатам определяется по формуле:
ЗОСН = ЗР × 12 × N, (5.5)
где ЗР – средний заработок инженера в год, ЗР = 80000 тыс. тенге;
12 – число месяцев в году;
N – количество работников, N = 1.
Тогда:
ЗОСН = 80 × 12 = 960 тыс. тенге.
Отчисления на социальный налог определяется по формуле:
ЗОС = (ЗОСН -(Зосн × 0,1)) × 0,2, (5.6)
где 0,2 – социальный налог, 20%;
(Зосн × 0,1) - пенсионные отчисления, 10%.
Тогда
ЗОС = (960 – 96) × 0,2 = 172,8 тыс. тенге,
ФОТ = 960 + 172,8 = 1132,8 тыс. тенге.
Амортизационные отчисления за год составляют 15% от капитальных затрат, соответственно для рассматриваемых вариантов амортизационные отчисления составят:
А( E ) = 28476 × 0,15 = 4271,4 тыс. тенге,
А( N ) = 29380 × 0,15 = 4407,0 тыс. тенге.
Материальные затраты в год составляют 1% от стоимости оборудования. Тогда:
М( E ) = 25200 × 0,01 = 252 тыс. тенге,
М( N ) = 26000 × 0,01 = 260 тыс. тенге.
Годовые расходы на оплату электроэнергии определяются по формуле определяется по формуле:
ЗЭ = Т × W × 24 × 365, (5.7)
где Т – стоимость одного кВт-часа, Т = 4,5 тенге;
W( E ) – расход электроэнергии для одной BTS 2206, W( E ) = 3 кВт-час;
W( E ) – расход электроэнергии для одной BTSNokia, W( E ) = 4 кВт-час;
24 – количество часов;
365 – количество дней в году.
Тогда затраты на электроэнергию составят:
ЗЭ( E ) = 4,5 × 3 × 24 × 365 = 118260 тенге,
ЗЭ( N ) = 4,5 × 4 × 24 × 365 = 157680 тенге.
Прочие производственные и транспортные расходы включают затраты на транспорт, амортизационные отчисления, расход горюче-смазочных материалов, заработная плата водителей, на охрану труда и прочее, производятся в размере 10 % от трудозатрат и определяются по формуле:
СПР ТР = (ЗП. + А + М + ЭН ) × 10 /100. (5.8)
Тогда
СПР ТР( E ) = (960 + 4271,4 + 252 + 118,3) × 0,1= 560,2 тыс. тенге,
СПР ТР( N ) = (960 + 4407 + 260 + 157,7) × 0,1 = 578,5 тыс. тенге.
Административно-управленческие и эксплуатационно-хозяйственные расходы принимаются в размере 10 % от годового фонда оплаты труда.
САДМ = 1132,8 × 0,1 = 113,3 тыс. тенге.
Соответственно годовые эксплуатационные затраты на оборудование одной BTS производителей "Ericsson" и "Nokia" составят
С( E ) = 1132,8 + 4271,4 + 252 + 118,3 + 560,2 + 113,3 = 6448 тыс. тенге,
С( N ) = 1132,8 + 4407 + 260 + 157,7 + 578,5 + 113,3 = 6649,3 тыс. тенге.
5.3 Срок окупаемости и коэффициент экономической эффективности
Экономическая эффективность капитальных вложений выражается, прежде всего, в экономическом результате, который достигается в результате их реализации и определяется по формуле:
Е= П / (К + КО ), (5.9)
где П – прибыль, П = 20000; КО – сумма оборотных средств (определяется как 5 % от капитальных вложений в основные производственные фонды). Следовательно
Е( E ) = 20000 / (28476 + 1423,8) = 0,668,
Е( N ) = 20000 / (29380 + 1469) = 0,648.
Срок окупаемости капитальных вложений – срок возвратности средств, является показателем, обратным коэффициенту эффективности и определяется по формуле:
Т = 1 / Е. (5.10)
Тогда
Т( E ) = 1 / 0,668 = 1,49 лет,
Т( N ) = 1 / 0,648 = 1,54 лет.
5.4 Выбор оборудования на основе экономических показателей
Для наглядного представления показатели экономических расчетов сведены в таблицу 5.1.
Таблица 5.1 – Экономические показатели
| Экономические показатели | Затраты по оборудованию BTS 2206 | Затраты по оборудованию BTSUltra |
| Капитальные затраты, тыс. тенге | 28476,00 | 29380,60 |
| Годовые эксплутационные затраты, тыс. тенге | 4271 | 4407 |
| Коэффициент экономической эффективности | 0,668 | 0,648 |
| Срок окупаемости капитальных вложений, лет | 1,49 | 1,54 |
На основании данных экономических расчетов будет принято в эксплуатацию оборудование BTS 2206 фирмы "Ericsson".
Заключение
С момента появления сотовой связи идея мобильной передачи данных не давала покоя многим пользователям мобильных телефонов. С началом бурного развития сети Интернет проблема передачи данных при помощи мобильного телефона стала еще более актуальной, но до последнего времени существовало два основных препятствия на пути ее решения. Первой проблемой является чрезвычайно строгие ограничения скорости передачи, накладываемые системой GSM, которая в настоящее время обеспечивает максимальную скорость передачи 9,6 кбит/с, а при замене отдельных модулей базовых станций – 14,4 кбит/с. Второй проблемой является высокая стоимость передачи данных, поскольку при передаче информации на столь низких скоростях абоненту требуется большое количество времени, которое он должен оплачивать по тарифам, близким к тарифам за услуги голосовой связи. Именно по этим причинам количество абонентов сотовой связи, пользующихся услугой передачи данных, остается небольшим. Появление системы пакетной передачи данных GPRS призвано кардинально изменить сложившуюся ситуацию.
GPRS (GeneralPacketRadioService) – это система, которая реализует и поддерживает протокол пакетной передачи информации в рамках сети сотовой связи GSM. При использовании системы GPRS информация собирается в пакеты и передается в эфир, они заполняют те "пустоты" (не используемые в данный момент голосовые каналы), которые всегда есть в промежутках между разговорами абонентов, а использование сразу нескольких голосовых каналов обеспечивает высокие скорости передачи данных. При этом этап установления соединения занимает несколько секунд. В этом и заключается принципиальное отличие режима пакетной передачи данных.
GPRS позволит ввести принципиально новые услуги, которые раньше не были доступны. Прежде всего, это мобильный доступ к ресурсам Интернета с удовлетворяющей потребителя скоростью, мгновенным соединением и с очень выгодной системой тарификации. Технология GPRS позволит быстро передавать и получать большие объемы данных, видеоизображения, музыкальные файлы стандарта MP-3 и другую мультимедийную информацию.
Для корпоративных пользователей система GPRS может послужить отличным инструментом для обеспечения безопасного и быстрого доступа сотрудников к корпоративным сетям предприятий, к почтовым, информационным серверам, удаленным базам данных. При этом появится возможность получать доступ к корпоративным сетям, даже если абонент находится в сети другого GSM оператора, с которым организован GPRS-роуминг.
Появление технология GPRS должно значительно ускорить развитие мобильной передачи данных во всех областях человеческой деятельности. Во многом это связано с появлением новых услуг, развитие которых было затруднено из-за низкой скорости и высокой стоимости передачи данных через голосовые каналы GSM.
Система GPRS является первым шагом на пути развития сетей беспроводной пакетной передачи данных. Первоначально услуги на основе GPRS будут предоставляться на ограниченной территории действия сотовой связи. В дальнейшем зона, где возможно использование технологии GPRS будет расти и, в результате, в ближайшем будущем услуги на основе GPRS будут предоставляться на всей территории действия сети сотовой связи. Также планируется увеличение скоростей приема и передачи информации за счет улучшения характеристик мобильных терминалов и инфраструктуры GPRS.
Список использованных источников
1. Розенштейн, И.Н. Проектирование станционных сооружений ГТС [Текст] / И.Н. Розенштейн. - М.: Связь, 1978 . - 168 с.
2. Баклашов, И.Н.Охрана труда на предприятиях связи и охрана окружающей среды [Текст] / И.Н. Баклашов. - М.: Радио и связь, 1989. 288 с.
3. Белов, С.В. Охрана окружающей среды [Текст] / С.В. Белов. - М.: Высшая школа, 1983. 264 с.
4. Инструкция по расчету нагрузок Мин. связи СССР [Текст] / - М.: Радио и связь, 1983. - 88 с.
5. Инструкция по проектированию линейно-кабельных сооружений связи. ВСН-116-87 [Текст] / - М.: Радио и связь, 1988. – 250 с
6. Иванова, О.И. и др. Автоматическая коммутация [Текст] / О.И. Иванова и др. - М: Радио и связь, 1988. – 240 с.
7. Лившиц, Б. С. Теория телетрафика [Текст] / Б.С. Лившиц. - М.: Связь, 1979. - 224 с.
8. Губин, Н.М. Основы экономики связи [Текст] / Н.М. Губин. - М.: Связь, 1977. – 170 с.
9. Долин, П.А. Справочник по технике безопасности [Текст] / П.А. Долин. - М.: Энергоиздат, 1982 - 600 с.

