| Похожие рефераты | Скачать .docx | Скачать .pdf |
Реферат: Определение коэффициентов потерь в местных гидравлических сопротивлениях
Реферат
Определение коэффициентов потерь в местных гидравлических сопротивлениях
Местными гидравлическими сопротивлениями называются короткие участки трубопроводов или каналов, в которых происходит изменение скоростей по величине или направлению, или по величине и по направлению одновременно.
Потери напора (энергии) в местных гидравлических сопротивлениях называются местными потерями и обусловлены так же, как и потери по длине, работой сил трения. Местные сопротивления представляют собой участки трубопровода, где происходит резкое изменение движения жидкости и силы трения распределяются в потоке, проходящем через местное сопротивление, весьма неравномерно. Поскольку протяженность местного сопротивления, как правило, весьма мала по сравнению с общей длиной трубопровода, потери напора на преодоление самих сил трения в местном сопротивлении невелики, однако обусловленные трением особенности структуры потока приводит к большим потерям в местных сопротивлениях. Протекая через местное сопротивление, поток деформируется, возникают пульсации скоростей и давлений, образуются вихревые зоны с обратными токами вследствие отрыва потока от стенок трубопровода. На эти процессы смешения и вихреобразования тратится часть полной энергии потока, которая превращается в тепло и рассеивается в окружающее пространство.
Уравнение Бернулли, записанное для двух сечений потока вязкой жидкости, движущейся в трубопроводе с местными сопротивлениями, в общем случае (обозначения общепринятые) имеет вид:
(1)
- суммарная величина потерянного напора на расчетном участке, состоящая из потерь на трение по длине трубопровода (путевых потерь) и потерь в местных сопротивлениях, т.е.
![]()
Для любого вида местного сопротивления потери напора могут быть определены в долях скоростного напора по формуле Вейсбаха:
,(2)
где
- безразмерный коэффициент конкретного местного сопротивления; V – средняя скорость потока.
Если средняя скорость потока на входе в местное сопротивление и после него не остается постоянной, например, вследствие расширения или сужения канала, потеря напора обычно определяется по скоростному напору за местным сопротивлением.
Величина коэффициента местного сопротивления при турбулентном течении принимается пропорциональной скоростному напору. что является признаком того факта, что местные сопротивления при этом режиме течения обусловлены, в основном, отрывными течениями, определяются типом местного сопротивления и не зависят от числа Рейнольдса. Обычно коэффициенты местного сопротивления определяются экспериментально и представляются в справочной и учебной литературе в виде графиков и эмпирических формул [1, 2, 3].
Влияние сил трения в местном сопротивлении при ламинарном режиме течения пренебрегать нельзя, поэтому потери напора на преодоление местных сопротивлений в этом случае представляет собой сумму потерь на трение и вихреобразование и записываются в виде:
,(3)
где
- потери напора на преодоление сил трения, равные:
(4)
Помня, что
,
констатируем, рассматривая формулу (4), что
пропорциональны первым степеням вязкости и скорости;
- потери напора на отрыв потока и вихреобразование в местном сопротивлении, пропорциональные квадрату скорости, т.е.:
(5)
Следовательно,
(6)
где А и В – безразмерные постоянные, зависящие от формы и размеров местного сопротивления. Из сопоставления формул (2) и (6) видно, что
(7)
т.е. коэффициент местного сопротивления при ламинарном режиме течения зависит от числа Рейнольдса ζМ = f (Re), и значение его уменьшается с увеличением Re. Потери напора при этом с ростом числа Рейнольдса возрастают, поскольку коэффициент потерь на трение уменьшается пропорционально скорости в первой степени, а потери изменяются пропорционально скоростному напору (см. формулу 6). Рассмотрим основные виды местных сопротивлений.
Внезапное расширение потока.
Этот вид местного сопротивления имеет место при резком изменении диаметра трубопровода от меньшего к большему. Картина течения при внезапном расширении представлена на рис. 1.

Рис. 1
Поток с параметрами p1, V1, двигаясь по инерции, в сечении 1-1 срывается с внутренней угловой кромки и образует струю. Вследствие наличия продольных сил трения, действующих на боковой поверхности струи, происходит ее расширение до полного заполнения трубы большего диаметра в сечении 2-2. Между сечениями 1-1 и 2-2 имеет место отрыв потока от стенок–трубопровода и в пространстве между транзитной струей и стенками образуется кольцевая вихревая зона. Эта зона может иметь несимметричный вид и не является устойчивой, поскольку транзитной струей из нее периодически захватываются отдельные крупные вихри, которые сносятся потоком вниз по течению. Эти вихри постоянно дробятся в основном потоке и затухают, а в зоне отрыва образуются новые вихри. Таким образом, при внезапном расширении энергия затрачивается на образование вихревой зоны, поддержание вращательного движения в ней, унос вихрей из зоны отрыва и их дробления на участке расширения струи.
Поток стабилизируется по длине, равной примерно десяти диаметрам трубопровода.
При внезапном расширении для турбулентного режима течения потери напора достаточно точно определяются теоретическим путем по формуле Борда – Карно:
(8)
Для трубопровода круглого сечения, с учетом уравнения неразрывности
, а
,
формула (8) может быть представлена в виде:
(9)
где
(10)
Потери могут быть определены и через скорости на входе во внезапное расширение:
,(11)
где
(12)
Внезапное сужение потока.
Картина течения при внезапном сужении потока изображена на рис. 2 и 3.

Рис.2

Рис.3
На рис. 3 тонкостенная труба меньшего диаметра вставлена внутрь трубы большего диаметра. Такое местное сопротивление называется наиболее резким сужением.
При внезапном сужении потери обусловлены, во-первых, трением потока при входе в трубу меньшего диаметра и, во-вторых, потерями на вихреобразование. Последние обусловлены тем, что на частицы жидкости, движущейся по криволинейным траекториям, действуют силы, направленные к оси струи. Двигаясь под действием этих сил, частицы жидкости не обтекают входной угол, а срываются с него, что приводит к сужению потока на участке трубопровода меньшего диаметра. Кольцевое пространство, образованное сжатым потоком и стенками трубы, заполняется завихренной жидкостью.
Для расчета коэффициента сопротивления при внезапном сужении предложена эмпирическая формула [2]:
(13)
При наиболее резком сужении (рис. 3) силы, сжимающие струю, возрастают из-за уменьшения радиуса кривизны траекторий частиц, втекающих в трубу, что приводит к возрастанию потерь. Формулой (13) эти эффекты не учитываются.
Диффузором называется плавно расширяющийся от меньшего к большему диаметру участок трубопровода (рис. 4).

Рис.4.
Течение жидкости в диффузоре сопровождается уменьшением скорости и увеличением давления, а, следовательно, преобразованием кинетической энергии в энергию давления.
Основными характеристиками диффузора являются:
угол раствора (расширения)α;
степень расширения
;
длина диффузора LД;
Потери в диффузоре обусловлены тем, что частицы жидкости, находящихся вблизи стенок, тормозятся сильнее и движутся медленнее, чем центральные, и процесс преобразования энергии сопровождается увеличением неравномерности полей скоростей в сечениях диффузора. Слои жидкости, прилегающие к стенкам, обладают столь малой кинетической энергией, что на некотором расстоянии от входа в диффузор они оказываются не в состоянии преодолевать повышенное давление. Частицы жидкости останавливаются и даже начинают двигаться навстречу основному потоку. Обратное движение (противоток) вызывает отрыв основного потока от стенки и образование вихревой зоны. Интенсивность этих явлений возрастает с увеличением угла раствора диффузора, а вместе с этим растут и потери на вихреобразование в нем. При больших углах раствора течение сопровождается периодическим уносом вихревой области транзитным потоком с одновременным ее образованием на противоположной стенке (рис. 4).
Кроме того, в диффузоре есть потери и на трение по его длине.
Итак, потери в диффузоре складываются из потерь на трение, потерь на образование вихревой зоны, поддержание вращательного движения в ней, унос вихрей и образование новых вихревых областей.
Полную потерю напора в диффузоре условно рассматривают как сумму двух слагаемых:
,(14)
где
- потери напора на трение;
- потери напора на расширение (вихреобразование).
В виде двух составляющих может быть представлен и коэффициент сопротивления диффузора:
(15)
Значения коэффициентов
и
имеются в справочной литературе или могут быть определены по формуле:
,(16)
где λ – коэффициент гидравлического трения, определяемый по параметрам на входе в диффузор.
(17)
где k – коэффициент, для конических диффузоров k = 1
Конфузоры.
Конфузором называется плавно сужающийся участок трубопровода (рис. 5).

Рис.5
Течение жидкости в конфузорах сопровождается увеличением скорости и падения давления. Так как давление в начале конфузора больше, чем в конце, причин к возникновению вихреобразования и срывов потока нет.
Основными характеристиками конфузора являются:
угол суженияα;
степень сужения
;
длина конфузора LК;
При достаточно больших углах сужения (α > 10о) степенях сужения (n > 3) на входе в цилиндрическую трубу меньшего диаметра поток может оторваться от стенок (рис. 5) и в этом случае коэффициент сопротивления конфузора представляется в виде двух слагаемых:
,(18)
где
- коэффициент местного сопротивления конфузора;
- коэффициент сопротивления трения.
Колена. Отводы.
Коленом (рис. 6) называется внезапный поворот канала без закругления или с закруглением, радиус которого для внутренней и внешней стенок одинаков.
Отводом (рис. 7) называется изогнутый участок трубопровода, в котором (при равенстве входного и выходного сечений) закругления внутренней и наружной стенок представляют собой дуги концентрических окружностей. В изогнутых трубах и каналах, вследствие искривления потока, появляются центробежные силы, направленные от центра кривизны к внешней стенке трубы. Это приводит к повышению давления у внешней стенки и понижению давления у внутренней и обуславливает неравномерность скоростей по сечению изогнутого участка.

Рис.6.

Рис. 7.
У внешней стенки, вследствие повышения давления, появляется диффузорный эффект. При этом отрыв потока происходит от обеих стенок. Отрыв от внешней стенки является следствием диффузорного эффекта. Отрыв от внутренней стенки обуславливается стремлением потока двигаться в изогнутом участке по инерции к внешней стенке.
Поскольку при движении жидкости по криволинейному каналу на все ее частицы в направлении радиуса кривизны действуют центробежные силы, пропорциональные квадрату окружной скорости в сечении, образуется парный вихрь (рис. 7). В результате сложения вращательного и поступательного движений жидкость по изогнутому участку движется двумя винтовыми потоками.
Основная часть потерь напора в коленах и отводах вызывается отрывом потока от внутренней стенки и парным вихрем. Потери на трение по длине изогнутого участка учитываются включением длины отводов в общую длину трубопровода. Коэффициенты сопротивления изогнутых участков трубопроводов определяется по графикам и таблицам, а также эмпирическим формулам [2, 3].
При экспериментальном определении коэффициентов местных сопротивлений в трубопроводе с местным сопротивлением рассчитываются два сечения: на входе и на выходе из местного сопротивления. Из уравнения Бернулли (1) при условии, что , определяются потери напора:
(19)

Рис. 8.
Если площади проходных сечений до и после местного сопротивления одинаковы и трубопровод расположен горизонтально (рис. 8), то
;
, и гидравлические потери равны разности пьезометрических напоров в сечениях 1 и 2.
(20)
Коэффициент местного сопротивления определяется из формулы Вейсбаха (2):
(21)
При таком способе определения потерь в местных сопротивлениях потери на трение не выделяются, а входят в состав местных потерь, т.е.
. Следует иметь в виду, что при расчетном определении потерь полного напора в трубопроводе, содержащем несколько последовательно установленных местных сопротивлений, простое суммирование их потерь (так называемый принцип наложения потерь) дает правильные результаты, если сопротивления расположены друг от друга на расстоянии, превышающем длину взаимного влияния, которая составляет 30…40 диаметров трубопровода.
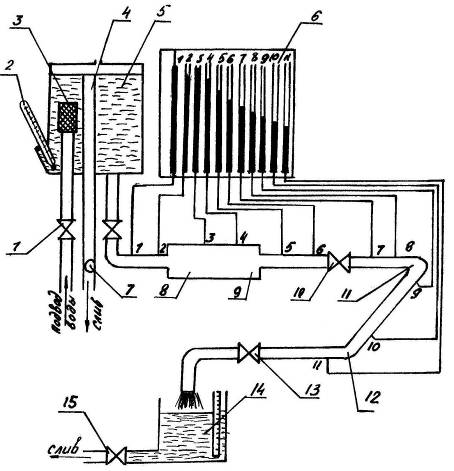
Описание установки.
Схема экспериментальной установки представлена на рис. 9. Вода из напорного бака подается в горизонтально расположенный трубопровод с набором местных сопротивлений:
дроссельная шайба 7,
внезапного расширения 8,
внезапного сужения 9,
вентиль10,
отвод (угольник) 11,
отвод (угольник) 12.
В напорный бак вода непрерывно подается из водопровода через вентиль 1 и успокоительную сетку 3. Излишки воды из бака сливаются через переливную трубу 4. Для контроля температуры воды в баке имеется термометр 2. Расход воды через местные сопротивления регулируется вентилем 13. После прохождения экспериментального участка вода сливается в мерный бак 14, на выходе из которого имеется кран 15.
Установка снабжена пьезометрическим щитом 6 для замера напоров во всех наблюдаемых сечениях, как показано на рис. 8

Рис. 9
Литература
1. Башта Т.М. и др. Гидравлика, гидромашины и гидроприводы. – М.: Машиностроение, 1984, 424с.
2. Идельчик И.Е. Справочник по гидравлическим сопротивлениям. – М.: Машиностроение, 1975. – 559с.
3. Лабораторный практикум по гидравлике, гидромашинам и гидроприводу / Под ред. Вильнера Я.М. – Минск: Высшая школа, 1980, - 224с.
4. Лабораторный курс гидравлики, насосов и гидропередач / Под ред. Руднева С.С. и Подвидза Л.Г. – М.: Машиностроение, 1974 – 415с.
Похожие рефераты:
Гидропневматические машины и приводы
Проект реконструкции цеха первичной переработки нефти и получения битума на ОАО «Сургутнефтегаз»
Диагностическое обследование и ремонт нефтепровода
Техническое обслуживание и ремонт оборудования (трубопроводы)
Основы проектирования и конструирования
СНиП 3-42-80 магистральные трубопроводы
Реконструкция схемы внутристанционных коллекторов теплосети
Проверочный расчет парового котла БКЗ-420
Детский ясли-сад на 140 мест с бассейном
Модернизация двигателя мощностью 440 квт с целью повышения их технико-экономических показателей
Технология аэродинамической трубы для болидов Формулы 1
Организация поста технического обслуживания и ремонта карбюраторов двигателей легковых автомобилей