| Похожие рефераты | Скачать .zip |
Реферат: Детский ясли-сад на 140 мест с бассейном
Архитектурно – строительная часть
расчетно-конструктивная часть
Механика
грунтов,
основания
и фундаменты
Организационно–технологическая часть
Охрана труда
Экономическая часть
Содержание:
Стр.
Введение 2
Раздел №1: Архитектурно – строительная часть
2 Исходные данные 3
2.1 Описание генплана 4
3.1 функциональный процесс 5
3.2 Объёмно – планировочное решение 6
3.3 Конструктивное решение 10
3.4 Наружная отделка. Ведомость отделки помещений. 19
3.5 Наружная отделка 24
3.6 Санитарно техническое и инженерное оборудование 25
3.7 Технические поверочные расчёты
3.7.1 Расчёт звукоизоляции окружающими конструкциями 27
3.7.2 Теплотехнический расчёт 28
Раздел №2: Расчётно-конструктивная часть
4.1 Расчёт многопустотной панели перекрытия 34
4.1.1 Характеристики прочности арматуры 36
4.1.2 Расчёт панели по предварительным состояниям
второй группы 40
4.1.3 Определение потерь предварительного напряжения
при натяжении арматуры на упоры 41
4.1.4 Расчёт по образованию трещин, нормальных к
продольной оси 43
4.1.5 Расчёт прогиба панели 44
4.2 Расчёт панели в стадии изготовления, транспортировки
и монтажа 46
4.2.1 Определение усилий 46
4.2.2 Расчёт сборной железобетонной площадочной плиты 48
4.2.3 Расчёт лобового ребра 51
4.2.4 Расчёт сечения панели по деформациям 55
4.2.5 Расчёт плиты по раскрытию трещин, нормальных к
продольной оси 59
4.3.1 Расчёт стропильной ноги. Сбор нагрузок
(металлический вариант) 61
4.3.2 Расчёт стропильной ноги. Сбор нагрузок
(деревянный вариант) 63
4.3.3 Расчёт стропильной ноги в металлическом варианте 77
4.3.4 Расчёт стропильной ноги в клеёном деревянном варианте 78
4.3.5 Расчёт прогона 79
4.3.6 Расчёт ригеля 80
4.6.7 Выбор варианта 81
4.6.8 Защита конструкций от загнивания и возгорания 81
Раздел №3: Механика грунтов, основания и фундаменты
4 Исходные данные 83
4.1 Расчёт сборного железобетонного фундамента 85
4.1.1 Расчёт деформаций оснований. Определение осадки. 88
4.1.2 Расчёт армирования подушки фундамента 91
4.2 Расчёт свайного фундамента 92
4.3 Сравнение вариантов конструкции фундамента 97
Раздел №4: Организационно – технологическая часть
5 Основные положения по организации и планирования
строительства объекта 99
5.1 Подсчёт объёмов земляных работ 101
5.2 Выбор землеройных машин 103
5.3 выбор кранов для монтажа конструкций 105
5.4 Ведомость подсчёта объёмов работ 109
5.5 Ведомость трудоёмкости работ и потребности в машиносменах 111
5.6 Технологическая карта на устройство сборного
железобетонного фундамента 113
5.7 Техника безопасности 117
5.8 Контроль выполнения работ по устройству сборного
железобетонного фундамента 121
5.9 Ведомость трудоёмкости работ и затрат машинного времени
при строительстве объекта 122
5.10 Расчёт площадей складов 123
5.11 Определение потребности во временных зданиях и
сооружениях 125
5.12 Расчёт потребности строительства в воде 126
5.13 Обеспечение строительной площадки электричеством 127
5.14 Карточка определитель сетевого графика 132
Раздел №5: Экономическая часть
6 Вариантное проектирование 130
6.2 Объектная смета на строительство детского яслей-сада
на 140 мест 133
6.3 Сводный сметный расчёт стоимости строительства 134
6.4 Основные технико-тэеономические показатели проекта 135
Раздел №6: Охрана труда
7 Введение 137
7.1.1 Анализ условий труда при производстве монтажа 139
7.1.2 Анализ условий труда при устройстве кирпичной кладки 140
7.2.1 Безопасность труда при проведении монтажных работ 141
7.2.2 Безопасность труда при проведении каменных работ 143
7.3 Меры по взрывопожарной безопасности 144
7.4 Охрана окружающей среды 146
Литература:
-Стандарт или технические условия:
СНиП II.08.02-84 Гражданские здания. Москва, 1988.
СНиП II-64-80. Детские дошкольные учреждения. Москва, 1983.
НП-2.2.1-73. Нормали планировочных элементов помещений детских яслей-садов.
Здания детских яслей-садов (рекомендации по проектированию). Стройиздат, 1975.
СНиП 01-01-82 Климатология и геофизика. Москва,1982.
СНиП II-3-79*. Строительная теплотехника. Москва, 1997.
СНиП 2.01.07-85*. Нагрузки и воздействия. Москва, 1996.
СНиП II-23-81* Стальные конструкции. Москва, 1990.
СНиП II-25-80 Деревянные конструкции. Москва, 1983.
СНиП 2.03.01-84* Бетонные и железобетонные конструкции. Москва 1989.
СНиП II-26-76. Кровли. Москва, 1977.
СНиП 3.01.01-85* Организация строительного производства. Москва 1990.
СНиП 3.04.01-87 . Изоляционные и отделочные покрытия. Москва 1988.
СНиП 2.02.01-83 Основания зданий и сооружений. Москва 1985.
СНиП 2.02.01-85 Свайные фундаменты. Москва 1986.
СНиП II-22-81 Каменные и армокаменные конструкции. Москва 1983.
СНиП 3.03.01-87 Несущие и ограждающие конструкции. Москва 1998.
СНиП 3.02.01-87 Земляные сооружения, основания и фундаменты. Москва 1988.
СНиП IV-3-82 Правила определения сметной стоимости эксплуатации строительных машин. Москва 1984.
СНиП IV-2-82 Том 1. Сборные элементные сметные расценки на строительные конструкции и работы. Москав1984.
ЕНиР Сборник Е2. Механизированные и ручные земляные работы.
Правила выполнения архитектурно – строительных чертежей. Гражданские здания. Москва, 1993.
-Книга:
Ким Н.Н., Маклакова Т.Г.: «Архитектура гражданских и промышленных зданий». Спецкурс. Москва, 1987.
Захаров А.В. «Архитектура гражданских и промышленных зданий. Гражданские здания». Стройиздат, 1993.
Рожин И.Е., Урбах А.И.: «Архитектурное проектирование общественных зданий и сооружений». Стройиздат, 1985.
Блохина Н.Б.: «Детские ясли-сады. Пособие по проектированию». Москва 1966.
Табунщиков Ю.А. «Инженерное оборудование зданий и сооружений». Высшая школа 1989.
Гусев Н. М. «Основы строительной физики». Стройиздат, 1975.
Гаевой А. Ф. «Курсовое и дипломное проектирование. Промышленные и гражданские здания». Стройиздат, 1987.
Мандриков А. П. «Примеры расчёта металлических конструкций». Москва, 1991.
Беленя Е. И. «Металлические конструкции». Москва 1986.
Мандриков А. П. «Примеры расчёта железобетонных конструкций». Москва, 1989.
Писчиков В. Г. « Деревянные конструкции». Москва 1962.
Иванов В. А. «Конструкции из дерева и пластмасс». Киев 1981.
Карлсен Г. Г. «Конструкции из дерева и пластмасс». Москва 1986.
Шишкин В. Е. «Примеры расчёта конструкций из дерева и пластмасс». Москва 1974.
Швецов Г. И. «Инженерная геология, механика грунтов, основания и фундаменты. Высшая школа 1997.
Шутенко Л. Н. «Основания и фундаменты». Киев 1989.
Доценко А. И. «Строительные машины и основы автоматизации». Москва 1995.
Волков Д. П. « Строительные машины». Москва 1988.
Снежко A.П., Батура Г.М. «Технология строительного производства». Киев 1991.
Дикман Л.Г. «Организация и планирование строительного производства». 1998.
Шрейер А. К. «Организация и планирование строительного производства». Высшая школа 1987.
Строкинов В. Н. «Строительство индивидуального дома силами семьи». Москва 1995.
Литвинов О. О. «Технология строительного производства». Киев 1977.
Пчелинцев В. А. «Охрана труда в строительстве». Москва1991.
-Справочное пособие:
Руководство по расчёту и проектированию звукоизоляции ограждающих конструкций зданий. ЦНИИСК, 1984.
Пособие по проектированию деревянных конструкций (к СНиП II-25-80). Москва 1986.
Справочник строителя. Металлические конструкции. Москва 1980.
Пособие по проектированию оснований зданий и сооружений (к СНиП 2,02,01-83). Москва 1986.
Справочник строителя. Оборудование, оснастка и средства малой механизации для отделочных работ. Ленинград «Стройиздат», 1989.
Справочник строителя. Основания, фундаменты и подземные сооружения. Москва 1985.
Справочник строителя. Деревянные конструкции и изделия. Москва 1983.
-Методические указания:
Методические указания по выполнению архитектурной части дипломного проекта. ПГТУ, 1999.
Методические указания по теплотехническому расчёту ограждающих конструкций. ПГТУ, 1998.
Методические указания по расчёту звукоизоляции ограждающими конструкциями. ПГТУ, 1986.
Юзефович А.Н. Чазов А.В. Методические указания. «Монтаж одноэтажных зданий» Пермь 1998.
Методические указания. «Организация технологии монтажа одноэтажных промышленных зданий» Пермь 1996.
Овсянкин А.Д. Методические указания. «Средства индивидуальной защиты работающих на производстве». Пермь 1995.
Методические указания по дипломному проектированию для студентов специальности «Промышленное и гражданское строительство» Пермь 1992.
Субботин Д.М. Методические указания. «Обследование и испытания, контроль качества строительных конструкций зданий и сооружений». Пермь 1997.
Строкинов В.Н. Методические указания. «Организация и технология строительства». Пермь 1996.
Методические указания по содержания и разработке организационно-технологичсеской части дипломного проекта. Пермь 1987.
Введение.
Строительство детских дошкольных учреждений – одна из важнейших отраслей массового жилищно-гражданского строительства. Оно достигла в среднем 15% от общего объёма строительства объектов культурно – бытового назначения, занимая второе место (после общеобразовательных школ) среди общественных зданий.
Таким образом, создание наряду с другими массовыми типами общественных зданий рациональных типов зданий детских дошкольных учреждений, полностью отвечающих всему комплексу современных требований, - важная задача современной архитектуры. Успешное решение этой задачи возможно только на основе глубокого и всестороннего изучения богатого отечественного и зарубежного опыта проектирования, строительства и эксплуатации зданий детских дошкольных учреждений, на основе широкого развития научно-исследовательских и экспериментально-проектной работы.
В области проектирования и строительства зданий детских дошкольных учреждений в России и за рубежом ведутся значительные научные исследования, охватывающие разные стороны этой проблемы.
Строительство детских садов, яслей, а так же комбинатов в СССР было взаимосвязано со строительством жилых районов, кварталов и села. Количество детских дошкольных учреждений и их вместимость рассчитывалось из количества людей проживающих в данной селитебной структуре. По этому острого дефицита мест в детских дошкольных учреждений не испытывалось.
Сейчас, когда детские дошкольные учреждения перешли из ведомственного подчинения в муниципальное, а так же учитывая кризисное положение страны и очень плохое материальное положение населения, сфера дошкольного воспитания терпит глубочайший упадок. Детские сады и ясли закрываются, их помещения перепроектируются для нужд не связанных с воспитанием детей, здания детских дошкольных учреждений требующие капитального ремонта или снятые с баланса сносятся и просто оставляются хозяевами создавая пустыри, развалины.
Данный проект задумывался для обеспечения местами яслей-садов микрорайона Краснова, Свердловского района города Перми. В виду не большёго спроса запроектирован на 140 мест, что должно удовлетворить потребности четырёх близь лежащих кварталов.
В проектировании и строительстве заведения были учтены нормативные документы, существующие типовые решения. Здание состоит из материалов и конструкций не дорогих и не являющихся дефицитными, по этому стоимость проекта оптимальна. В проекте нет решений представляющих сложность изготовления, монтажа и удорожающих тем самым стоимость проекта в целом.
Доклад
Уважаемые члены государственной комиссии! Мною разработан дипломный проект на тему: детский ясли-сад на 140 мест с бассейном в городе Перми. В виду не большёго спроса на услуги дошкольного воспитания он запроектирован на 140 мест, что вполне может удовлетворить потребности четырёх близь лежащих кварталов.
При проектировании здания были учтены нормативные документы и существующие типовые решения. В проекте нет решений представляющих сложность изготовления, монтажа и удорожающих тем самым стоимость проекта в целом. Здание выполнено из материалов и конструкций не дорогих и не являющихся дефицитными, по этому стоимость проекта оптимальна.
Объект расположен на улице Уфимской, Свердловского района.
Площадка имеет следующие характеристики:
Площадь территории участка 0,56 га.
Площадь застройки 0,12га.
Протяжённость внутренних дорог 275 м.
Уклон незначительный и составляет i=0,0025, с понижением в северо-восточном направлении.
Грунты под площадкой следующие:
1-й слой суглинки аллювиальные толщина слоя 4,4 м, этот слой является несущим.
2-й слой мелкий песок,
3-й слой супесь,
4-й слой суглинок аллювиальный.
Грунтовые воды расположены на глубине –4,7 м, воды не агрессивные.
Здание имеет размеры в плане 54,14 м в длину на 39,3 м в ширину. Пролёт несущих стен во всех корпусах 6 м. Высота от уровня земли до конька 13,5 м. Отметка дна подвала относительно уровня земли –1,8 м. Здание яслей сада имеет в высоту два этажа, надземный переход и бассейн – один этаж.
Здание выполнено по бескаркасной системе. Жёсткость обеспечивается продольными и поперечными несущими стенами и создаваемыми жёсткими дисками перекрытий. Планировка здания запроектирована исходя из функциональных процессов происходящих в учреждении. Здания бассейна и яслей-сада объединены тёплым переходом с зимним садом.
Фундамент здания сборный железобетонный из фундаментных плит и блоков. Глубина заложения подошвы фундамента –2,7 м выбрана с учётом условия промерзания грунтов. Ширина подошвы фундамента выбирается расчётом. Фундаменты под здание разработаны двух типов:
Под несущие наружные стены из боков шириной 600 мм и фундаментных плит шириной 1200 мм.
Под несущие внутренние стены. Фундаментные блоки шириной 400-500 мм и фундаментных плит шириной 1000 мм.
Подготовка под фундамент: уплотнённый грунт, подсыпка щебнем 200 мм с проливкой горячим битумом до полного насыщения.
Наружные стены в соответствии с теплотехническим расчётом кирпичные с внутренним слоем утеплителя из базальтоволокнистого БВТМ. Внутренние несущие стены кирпичные толщиной 380-250 мм. Перегородки выполнены из кирпича толщиной 120 мм и из гипсобетона толщиной 80 мм.
В конструктивной части рассчитана пустотная плита перекрытия, площадочная плита и два варианта стропильных конструкций. Перекрытия выполнены из пустотных железобетонных плит серии 1.141.1 выпуск 3. В соответствии с расчётом класса бетон В-15, рабочая арматура Ат-VI. Площадочная плита бетон класса B15, рабочая арматура A-II. Стропила приняты из клеёной древесины сечением 380х185 мм с затяжкой на высоте 4,6 м от низа стропильной конструкции.
Кровля из плоского кровельного железа. Крепится к обрешётке оцинкованными шурупами.
Ванна бассейна выполнена из монолитного железобетона класса В-7,5.
Вертикальная гидроизоляция стен подвала обмазочная, горизонтальная из рубероида на битумной мастике. Ванна бассейна имеет усиленную гидроизоляцию.
В технологической части разработана тех карта на устройство фундамента под здание Яслей-сада и бассейна. Сторйгенплан на период возведения надземной части здания. Сетевой график на производство работ по возведению здания, согласно этому графику продолжительность строительства 9 месяцев, максимальное количество работающих в одну смену 23 человека. Основной машиной при возведении каркаса является монтажный кран МКП-25А.
Основные технико-экономические показатели проекта:
Строительный объём здания 7654 мі.
Общая площадь 1867 мІ.
Общая сметная стоимость проекта в ценах 1984 года: 214,5 тыс. руб.
Стоимость 1 мІ общей площади 194,4 руб.
Стоимость устанавливаемого оборудования в ценах 1984 года 53 тысяч рублей.
Трудоёмкость возведения здания 4772 человекодней и 342 машиносмен.
Сметная заработная плата рабочих в ценах 1984 года 42 тысяч рублей.
Общее количество работающих 30 человек.
Анализ условий труда при устройстве кирпичной кладки.
Вид выполняемых работ – кирпичная кладка стен здания детского яслей-сада.
Работы производятся на вновь возводимом объёкте. Срок строительства – оптимальный – по этому работы ведутся круглогодично. Для подъёма поддонов с кирпичом и бадей с раствором используется стреловой кран на ходу. Работы, связанные с монтажом ведутся на отметках от –1.2 м до +7.45 м. Работы ведет бригада каменщиков в составе человек и машинист крана.
На рабочих при монтаже действует ряд факторов:
Таблица
|
Опасные и вредные производственные факторы |
Характер воздействий, последствия |
|
Травмы различной степени тяжести, гибель рабочих. |
|
Травмы различной степени тяжести, гибель рабочих. |
|
Травмы различной степени тяжести, гибель рабочих. |
|
Тепловые и солнечные удары, обморожения и переохлаждения. |
|
Тепловые и солнечные удары, обморожения и переохлаждения.. |
Анализ условий труда при производстве монтажа.
Вид выполняемых работ – монтаж конструкций здания детского яслей-сада.
Работы производятся на вновь возводимом объёкте. Срок строительства – оптимальный – по этому работы ведутся круглогодично. Для подъёма конструкций используется стреловой кран на ходу. Работы, связанные с монтажом ведутся на отметках от –3.3 м до +12.7 м. Работы ведет бригада монтажников в составе 6 человек и машинист крана.
На рабочих при монтаже действует ряд факторов:
Таблица
|
Опасные и вредные производственные факторы |
Характер воздействий, последствия |
|
Тяжелые травмы, гибель рабочих. |
|
Травмы различных степеней тяжести, гибель рабочих. |
|
Травмы различных степеней тяжести, гибель рабочих. |
|
Тепловые и солнечные удары, обморожения и переохлаждения |
|
Заболевание позвоночника, усталость. |
|
Моральное утомление. Нервное напряжение приводящее к срывам. |
Безопасность труда при проведении каменных работ.
Падение поддонов с кирпичом, кирпича с поддонов.
Для предотвращения воздействия опасности производится: для перемещения и подачи на рабочее место грузоподъёмными кранами кирпича, применяются поддоны, исключающие падение груза при подъёме; запрещается находиться в опасной зоне работы подъёмного крана; все рабочие находящиеся на площадке должны находиться на рабочем месте в касках; запрещается производить подъём конструкций имеющих вес больший максимально допустимого в паспорте крана; проведение работ по подготовке и уплотнению площадки работы крана; строповка поддонов с кирпичом за обозначенные на них места.
Падение рабочего инструмента, кирпича, подмостей.
Для предотвращения воздействия опасности производится: правильное крепление конструкций подмостей, лебёдок; контроль состояния тросов; необходимо применять защитные козырьки по периметру здания.
Падение людей.
Для предотвращения воздействия опасности производится: не допускается пребывание людей на элементах конструкций и оборудованья во время их подъёма; не допускается выполнение кладочных работ на высоте в открытых местах при скорости ветра более 15 м/с, гололедице, грозе; при кладке стен на высоту до 0,7 м от рабочего настила и расстоянии от его уровня за возводимой стеной до поверхности земли более 1,3 м необходимо применять средства коллективной защиты (ограждения подмостей и улавливающие устройства); не допускается кладка наружных стен в положении стоя на стене.
Длительное действие солнечной радиации, отрицательных температур и ветра.
Для предотвращения воздействия опасности производится: для защиты работающих от солнечной радиации каждые 45 минут рабочего времени устраивается перерыв 15 минут, в который рабочие могут укрываться под навесом; запрещается вести работы на открытом воздухе при температуре ниже –35 Сє; во время технологического и обеденного перерыва рабочие могут обогреваться в бытовых помещениях; не допускается выполнение каменных работ на высоте в открытых местах при скорости ветра более 15 м/с; в зимнее время рабочим выдаются ватные рукавицы, ватные штаны; тёплые подшлемники, телогрейки, валенки.
Безопасность труда при проведении монтажных работ.
Падение крана вследствие потери устойчивости, просадки крановых путей, падение монтируемых элементов.
Для предотвращения воздействия опасности производится: контроль положения крана при проведении работ; запрещается производить подъём конструкций имеющих вес больший максимально допустимого в паспорте крана; проведение работ по подготовке и уплотнению площадки работы крана; контроль исправности подъёмных механизмов, ограничителей подъёма и поворота; контроль исправности строповочных устройств, крюков, захватов; соблюдение правил и последовательности ведения монтажа каждой конструкции; способы строповки исключают возможность падения или скольжения груза; строповка элементов производится так, чтобы обеспечивалась их подача к месту установки в положении, близком к проектному; запрещается подъём сборных железобетонных конструкций, не имеющих монтажных петель или меток, правильную строповку и монтаж; на участке, где ведутся монтажные работы, не допускается выполнение других работ и нахождение посторонних лиц; не допускается нахождение людей под монтируемыми элементами конструкций до их установки в проектное положение.
Падение навесных люлек, подмостей, рабочего инструмента.
Для предотвращения воздействия опасности производится: строповку проводят инвентарными стропами изготовленными по проекту; правильное крепление конструкций подмостей, лебёдок; контроль состояния тросов.
Падение людей.
Для предотвращения воздействия опасности производится: не допускается пребывание людей на элементах конструкций и оборудованья во время их подъёма; не допускается выполнение монтажных работ на высоте в открытых местах при скорости ветра более 15 м/с, гололедице, грозе, тумане, исключающем видимость в пределах фронта работ; в процессе монтажа конструкций монтажники должны находиться на ранее установленных и надёжно закреплённых конструкциях или средствах подмащивания; монтажники, находящиеся на конструкциях не дающим возможность устройства подмостей должны применять монтажные пояса и страховочные канаты; рабочее место монтажника не должно быть скользким, загромождено строительным мусором, инвентарными инструментами; рабочим – монтажникам в комплекте одежды выдаются каски «строитель» ГОСТ 12.4.128-83, сапоги с подошвой препятствующей скольжению ГОСТ 12.4.103-83, рукавицы ГОСТ 12.4.010-75.
Длительное действие солнечной радиации, отрицательных температур и ветра.
Для предотвращения воздействия опасности производится: для защиты работающих от солнечной радиации каждые 45 минут рабочего времени устраивается перерыв 15 минут, в который рабочие могут укрываться под навесом; запрещается вести работы на открытом воздухе при температуре ниже –35 Сє; во время технологического и обеденного перерыва рабочие могут обогреваться в бытовых помещениях; не допускается выполнение монтажных работ на высоте в открытых местах при скорости ветра более 15 м/с; в зимнее время рабочим выдаются ватные рукавицы, ватные штаны; тёплые подшлемники, телогрейки, валенки.
Неудобное положение, принимаемое монтажниками при работе.
Для предотвращения воздействия опасности производится: каждые 45 минут рабочего времени устраивается перерыв 15 минут; во время строповки конструкций или их установке в проектное положение рабочие находящиеся на противоположных местах могут отдыхать; во время очередного отпуска работникам строительно-монтажных подразделения предоставляются путёвки в санатории профилактории.
Психологический дискомфорт, возникающий у монтажников на высоте без ограждающих устройств.
Для предотвращения воздействия опасности производится: каждые 45 минут рабочего времени устраивается перерыв 15 минут; используются монтажные страховочные пояса канаты, огражения.
Введение
Важнейшей государственной задачей является создание безопасных условий труда, обеспечение оптимальных санитарно-гигиенических условий и исключение травматизма и профессиональных заболеваний в строительстве.
Планирование мероприятий по охране труда представляет собой одну из главных задач создания безопасных и здоровых условий труда строителей, сводит к минимуму вероятность поражения или заболевания работающих с одновременным обеспечением комфортности при максимальной производительности.
Отступление от нормального режима работы и нарушение требований техники безопасности могут привести к ухудшению здоровья работающих и к снижению производительности труда.
Улучшение условий труда и повышение его безопасности приводят к снижению производственного травматизма и профессиональных заболеваний.
Анализ опасных и вредных производственных факторов.
таблица
|
№ п/п |
Вид работ |
Опасные и вредные производственные факторы |
Характер воздействий, последствия |
| 1 |
Земляные работы. Работы подготовительного периода |
|
Травмы, ушибы Травмы, ушибы, потери сознания Травмы различных степеней тяжести |
| 2 | Забивка свай |
1.Воздействие шума 2.Воздействие
вибрации при
работе |
Переутомление, головная боль, снижение слуха. Переутомление, головная боль, боли в суставах |
| 3 | Сварочные работы |
|
Электротравмы, ожоги различных степеней. Отравления, болезни органов зрения и дыхания. Ожоги различных степеней |
| 4 | Возведение надземной части здания и монтажные работы |
|
Тяжелые травмы, смертельные случаи Травмы различных степеней тяжести, гибель рабочих. Травмы различных степеней тяжести, гибель рабочих. Тепловые и солнечные удары Травмы, смертельные случаи |
| 5 | Бетонные работы |
|
Переутомление, головная боль, снижение слуха. |
| 6 | Отделочные работы |
|
Силикозы, коньюктивиты. Отравления, головная боль |
| 7 | Электротехнические работы |
|
Электротравмы, ожоги различных степеней. |
| 8 | Кровельные работы |
|
Травмы, гибель рабочих |
| 9 | Погрузочно-разгрузочные работы |
|
Травмы Травмы, ушибы Переутомление, головная боль |
Мероприятия по взрывопожарной безопасности.
Противопожарные мероприятия на стройплощадке выполнять в соответствии с правилами пожарной безопасности при производстве строительно-монтажных работ ППБ–01–93. Для пожаротушения использовать сети существующего и проектируемого водопровода.
Осуществление мероприятий, направленных на обеспечение пожарной безопасности возлагается на руководителя организации. Он несет ответственность за организацию пожарной охраны , за выполнение в установленные сроки необходимых противопожарных мероприятий . Рабочие и служащие в обязательном порядке проходят инструктаж по правилам пожарной безопасности и действиям на случай возникновения пожара .
При размещении на участке проектом учтены следующие противопожарные мероприятия:
Назначены нормативные разрывы от соседних зданий в соответствии с их степенью огнестойкости;
Сквозные проходы в осях 4-5
Подъезд пожарных автомашин осуществляется со стороны входов в здание по дороге с асфальтобетонным покрытием и в полосе шириной 15 м свободной от древесно-кустарниковых насаждений
Для наружного пожаротушения на постоянной водопроводной сети оборудуются 2 пожарных гидранта на расстоянии м друг от друга.
На территории стройплощадки размещается пожарный щит с набором пожарного инвентаря: топоры, ломы, лопаты, багры пожарные, ведра. Возле щита размещают ящик с песком. Рабочие должны уметь пользоваться пожарным инвентарем и должны знать как вести себя в случае возникновения пожара, для чего необходимо провести соответствующие инструктажи по мерам противопожарной безопасности.
При обмазке битумом следует пользоваться только исправным котлом и крышками, и иметь разрешение на производство пожароопасных работ.
Противопожарные разрывы между бытовками назначаются 3,5м.
Меры взрывобезопасности.
Герметизация вводов инженерных коммуникаций в здание.
Для замеров степени загазованности техподполья устанавливаются патрубки–выводы из техподполья.
В крышках колодцев инженерных коммуникаций, расположенных в радиусе 15 м от газопровода, рассверливаются отверстия для определения утечки газа.
Организация строительной площадки.
Правильная организация строительной площадки обеспечивает безопасность труда рабочих на всех этапах выполнения работ.
Территория
строительной
площадки, во
избежание
доступа посторонних
лиц, огораживается
по периметру
деревянным
забором. У въезда
на площадку
устанавливается
схема движения
транспорта
и знак ограничения
скорости
(10
км/ч). Ширина
временных дорог
составляет
3,5м.
На площадке
работает башенный
кран. Зона его
действия считается
опасной. Граница
опасной зоны
включает в себя
зону возможного
падения груза.
Размер опасной
зоны принимается
на 5м больше
вылета стрелы
м.
В темное время суток территория освещается прожекторами, установленными по периметру в углах стройплощадки.
Расчет лобового ребра:
На лобовое ребро действуют следующие нагрузки:
- постоянная и временная, равномерно распределенные от половины пролета полки и от собственного веса
![]()
-
Собственный
вес типовых
маршей по каталогу
составляет
горизонтальной
проекции. Расчетная
схема марша
приведена на
рисунке. Временная
нормативная
нагрузка для
лестниц жилого
дома
,
коэффициент
надежности
по нагрузке
,
длительно
действующая
временная
нагрузка
.
Расчетная нагрузка на 1 м длины марша
![]()
равномерно распределенная нагрузка от опорной реакции маршей, приложенная на выступ лобового ребра и вызывающая его изгиб.
Поперечная сила на опоре
![]()
Таким образом, равномерно распределенная нагрузка от опорной реакции маршей
![]()


Определяем
расчетный
изгибающий
момент в середине
пролета ребра.
Считаем условно
ввиду малых
размеров, что
действует по
всему пролету:
![]()
Расчетное
значение поперечной
силы с учетом
=
0,95
![]()
Расчетное
сечение лобового
ребра является
тавровым с
полкой в сжатой
зоне шириной
см.
Так как ребро
монолитно
связано с полкой,
способствующей
восприятию
момента от
консольного
выступа, то
расчет лобового
ребра можно
выполнять на
действие только
изгибающего
момента М=4651 Нм
В
соответствии
с общим порядком
расчета изгибаемых
элементов
определяем
(с учетом коэффициента
надежности
= 0,95):
расположение
нейтральной
оси по условию
при
![]()

условие соблюдается, нейтральная ось проходит в полке;
![]()
находим
=0,993,
=0,0117;
![]()
принимаем
из конструктивных
соображений
210
А-II,
cм2;
процент армирования
Расчет
наклонного
сечения лобового
ребра на поперечную
силу:![]()
Вычисляем проекцию наклонного сечения на продольную ось:
![]()
где
;
;
![]()
в
расчетном
наклонном
сечении
![]()
тогда
,
что больше
принимаем
см.
Вычисляем:
![]()
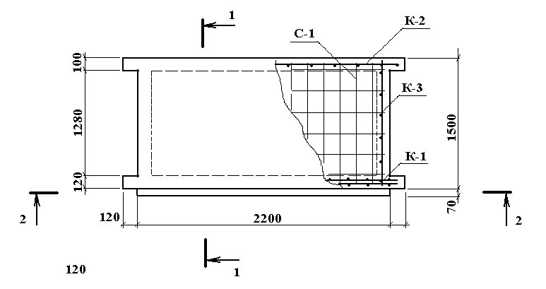
следовательно, поперечная арматура по расчету не требуется. По конструктивным требованиям принимаем закрытые хомуты (учитывая изгибающий момент на консольном выступе) из арматуры диаметром 6 мм класса А-I шагом 150 мм (каркас К-1 в сечении 2-2 на рисунке). Консольный выступ для опирания сборного марша армируют сеткой С-2 из арматуры диаметром 6 мм класса А-I; поперечные стержни этой сетки скрепляют с хомутами каркаса К-1 ребра.
Расчет прочности наклонного сечения на действие изгибающего момента.
Расчет производиться исходя из условия:
где
момент
от внешней
нагрузки,
расположенной
по одну сторону
от рассматриваемого
наклонного
сечения , относительно
оси, перпендикулярной
плоскости
действия момента
и проходящей
через точку
приложения
равнодействующей
усилий в сжатой
зоне;
суммы
моментов относительно
той же оси
соответственно
от усилий в
хомутах и продольной
арматуре;
расстояния
от плоскостей
расположения
соответственно
хомутов и продольной
арматуры.
Величина
при
хомутах постоянной
интенсивности
определяется
по формуле
![]()
где
- усилие в хомутах
на единицу
длины элемента
в пределах
наклонного
сечения
- длина
проекции наклонного
сечения на
продольную
ось элемента
![]()
![]()
Величина
принимается
равной
,
где
величина сжатой
зоны бетона.
Коэффициент
,
где
величина
пощадки опирания
плиты на несущую
стену
;
длина
зоны анкеровки
для ненапрягаемой
арматуры
,где
,
коэффициенты,
определяемые
по СНиП.
Величина

![]()
Прочность наклонного сечения на действие изгибающего момента обеспечена.
Расчет второго
продольного
ребра площадочной
плиты выполняют
аналогично
расчету лобового
ребра без учета
нагрузки от
лестничного
марша.
Р
На лобовое ребро действуют следующие нагрузки:
постоянная и временная, равномерно распределенные от половины пролета полки и от собственного веса
Определяем
расчетный
изги- бающий
момент в середине
пролета ребра.
![]()
асчет пристенного ребра.
Расчетное
значение поперечной
силы с учетом
= 0,95
![]()
Расчетное
сечение лобового
ребра является
тавровым с
полкой в сжатой
зоне шириной
см.
Так как ребро
монолитно
связано с полкой,
то расчет лобового
ребра можно
выполнять на
действие только
изгибающего
момента
=2885
Нм
В
соответствии
с общим порядком
расчета изгибаемых
элементов
определяем
(с учетом коэффициента
надежности
= 0,95):
расположение
нейтральной
оси по условию
при
![]()

условие соблюдается, нейтральная ось проходит в полке;
![]()
находим
=0,99,
=0,02;
![]()
принимаем
из конструктивных
соображений
110
А-II,
cм2;
процент армирования
Расчет
наклонного
сечения ребра
на поперечную
силу:![]()
Вычисляем проекцию наклонного сечения на продольную ось:
![]()
где
;
;
![]()
в
расчетном
наклонном
сечении
тогда
,
что больше
принимаем
см.
Вычисляем:
![]()
следовательно, поперечная арматура по расчету не требуется. По конструктивным требованиям принимаем хомуты из арматуры диаметром 6 мм класса А-I шагом 150 мм (каркас К-2).
Расчет прочности наклонного сечения на действие изгибающего момента.
Расчет производиться исходя из условия:
Величина
при
хомутах постоянной
интенсивности
определяется
по формуле
![]()
где
- усилие в хомутах
на единицу
длины элемента
в пределах
наклонного
сечения
- длина
проекции наклонного
сечения на
продольную
ось элемента
![]()
![]()
Величина
принимается
равной
,
где
величина сжатой
зоны бетона.
Коэффициент
,
где
величина
пощадки опирания
плиты на несущую
стену
;
длина
зоны анкеровки
для ненапрягаемой
арматуры
,где
,
коэффициенты,
определяемые
по СНиП.
Величина

![]()
Прочность наклонного сечения на действие изгибающего момента обеспечена.
Расчет сечения панели по деформациям:
Для
расчета сечения
площадочной
плиты по деформациям,
приводим к
тавровому с
полкой в сжатой
зоне. Ширина
сжатой полки
при отсутствии
поперечных
ребер принимается
исходя из условия,
что ширина
свеса полки
в каждую сторону
от ребра должна
быть не более
.
Ширина приведенного
ребра
.
Ширина сжатой
полки
.
Высоту сечения
принимаем
равной
.
Рабочая высота
сечения
10
.
Сбор нагрузок.
собственный
вес площадочной
плиты приведенной
толщиной

временная
кратковременная

временная
длительная

На 1м длины панели шириной 1,5м действуют нагрузки:
постоянная
и длительная
нормативная
кратковременная
нормативная

итого
полная нормативная

Изгибающий момент от полной нормативной нагрузки:
![]()

Проверяем
условие
,
при соблюдении
которого нормальные
трещины в наиболее
нагруженном
сечении по
середине пролета
не образуются.
Момент от полной
нормативной
нагрузки
.
Момент трещинообразования
.
,
для тавровых
сечений с полкой
в сжатой зоне
,
а упругий момент
сопротивления
сечения для
растянутой
грани сечения
Изгибающий момент от постоянной и длительной нормативной нагрузки:
![]()
Изгибающий момент от кратковременной нормативной нагрузки:
![]()
![]()
Определяем геометрические характеристики приведенного сечения плиты:
![]()
![]()

Определяем площадь приведенного сечения:
![]()
Статический момент площади приведенного сечения относительно нижней грани ребра:
![]()
Расстояние от центра тяжести площади приведенного сечения до нижней грани ребра:
![]()
Момент инерции приведенного сечения относительно центра тяжести сечения:
где
![]()
Момент сопротивления:
![]()
Момент трещинообразования:
![]()
что меньше
,
следовательно,
трещины в растянутой
зоне сечения
пролета образуются.
Необходимо
выполнять
расчет прогибов
с учетом образования
трещин в растянутой
зоне. Кроме
того, требуется
проверка по
раскрытию
трещин.
Полная
кривизна
для
участка с трещинами:
и соответственно
полный прогиб
панели
,
где
полный
прогиб от
кратковременного
действия всей
нагрузки;
то
же, от действия
только постоянных
и длительных
нагрузок;
прогиб от длительного
действия постоянных
и длительных
нагрузок.
Вычисление
Для середины
пролета панели
.
Для определения
кривизны
дополнительно
вычисляем:


Относительная высота сжатой зоны в сечении с трещиной:

что меньше
,
следовательно
сечение рассчитывают
как прямоугольное
шириной
;
принимаем без
учета арматуры
в формулах для
определения
значение
:
![]()

Плечо
внутренней
пары сил при
![]()

Определяем
коэффициент
:
![]()
где
(табл.
36 СНиП 2.03.01-84*)
Кривизна
в середине
пролета панели
при кратковременном
действии всей
нагрузки при
;
и
:


Прогиб
![]()
Вычисление
.
.
Заменяющий
момент
![]()
![]()
по данным
расчета
принимаем:
;


Прогиб
![]()
Вычисление
.
Кривизну
при длительном
действии постоянной
и длительной
нагрузок определяем
с использованием
данных расчета
кривизны
и
:
;
;
;
;
.
Коэффициент
при
:
![]()
Кривизна
в
середине пролета
панели


Прогиб
![]()
Суммарный прогиб
![]()
Расчет плиты по раскрытию трещин,
нормальных к продольной оси.
Площадочная
плита относится
к третьей категории
трещиностойкости.
Предельно
допустимая
ширина раскрытия
трещин составляет
и
.
Ширина раскрытия трещин:
,
![]()
.
Расчет по длительному раскрытию трещин.
Ширину
длительного
раскрытия
трещин определяют
от длительного
действия постоянных
и длительных
нагрузок. Изгибающий
момент в середине
пролета плиты
.
Напряжение
в растянутой
арматуре
![]()
При длительном действии нагрузок принимаем:
![]()
Коэффициент
![]()
Расчет по кратковременному раскрытию трещин.
Ширину
кратковременного
раскрытия
трещин определяют
как сумму ширины
раскрытия от
длительного
действия постоянных
и длительных
нагрузок
и приращения
ширины раскрытия
от действия
кратковременных
нагрузок
:
,
где
![]()
Напряжение в растянутой арматуре при кратковременном действии всех нормативных нагрузок

Напряжение в растянутой арматуре от действия постоянных и длительных нагрузок
![]()
Приращение напряжения при кратковременном увеличении нагрузки от длительно действующей до ее полной величины составляет
![]()
Приращение
ширины раскрытия
трещин при
![]()
![]()
Суммарная ширина раскрытия трещин:
![]()
Расчет по раскрытию трещин, наклонных к продольной оси.
Ширина раскрытия трещин, наклонных к продольной оси элемента, армированного поперечной арматурой, определяют по формуле:
,
где
коэффициент,
равный 1 при
учете кратковременных
нагрузок, включая
постоянные
и длительные
нагрузки
непродолжительного
действия, и 1,5
для тяжелого
бетона естественной
влажности при
учете постоянных
и длительных
нагрузок
продолжительного
действия;
- для
гладкой проволочной
арматуры;
6
A-I – диаметр
поперечных
стержней
Напряжение в поперечных стержнях:

где
![]()
здесь
;
![]()
-
поперечная
сила от действия
полной нормативной
нагрузки при
![]()
![]()
Так как
по
расчету величина
отрицательная,
то раскрытия
трещин, наклонных
к продольной
оси, не будет.
Таким образом сечение и армирование площадочной плиты удовлетворяет требованиям расчета по предельным состояниям первой и второй группы.
Расчет сборной железобетонной
площадочной
плиты
Исходные данные:
Р
ассчитывается
ребристая плита
лестничной
площадки двухмаршевой
лестницы. Марка
площадочной
плиты 2ЛП
22.15-4-К.
Бетон класса
В15, расход бетона
0,368 м3,
масса плиты
1075 кг. Ширина плиты
1500
мм, длина 2200 мм,
толщина 60 мм.
Временная
нормативная
нагрузка 3 кН/м2,
коэффициент
надежности
по нагрузке
f
= 1,2.
Марки
материалов
принимаем:
бетон класса
В15, арматура
каркасов из
стали А-,
сетки из стали
класса Вр-.
Сбор нагрузок:
- собственный
нормативный
вес плиты при
= 6 см;
= 0,0625000=1500
Н/м2
;
- расчетный
вес плиты
=
15001,1=1650
Н/м2
;
- расчетный вес лобового ребра (за вычетом веса плиты)
=
(0,290,11+0,070,07)1250001,1=1012
Н/м ;
-
расчетный вес
крайнего пристенного
ребра
=
0,140,091250001,1=350
Н/м.
- временная
расчетная
нагрузка
= 31,2=3,6
кН/м2.
При расчете площадочной плиты рассматривают раздельно полку, упруго заделанную в ребрах, лобовое ребро, на которое опираются марши, и пристенное ребро, воспринимающее нагрузку от половины пролета полки плиты.
Р
Полку плиты при отсутствии поперечных ребер рассчитывают как балочный элемент с частичным защемлением на опорах. Расчетный пролет равен расстоянию между ребрами 1,28 м.
При учете образования пластического шарнира изгибающий момент в пролете и на опоре определяют по формуле, учитывающей выравнивание моментов
асчет полки плиты:
рис.
где
;
![]()
При
=
100 см
и
= 6-2 = 4 см
вычисляем
![]()
определяем =0,98, =0,04;
![]()
Укладываем
сетку С-1 из арматуры
3 мм Вр-
с шагом S=200
мм на 1 м длины
с отгибом на
опорах (сечение
1-1 на рис. ),
= 0,36
см2.

Расчет панели в стадии изготовления,
транспортировки и монтажа:
О
![]()
![]()
где
![]()
-
нагрузка от собствен- ного веса панели.
Усилие
обжатия панели
вводят
как внешнюю
внецентренно
приложенную
нагрузку, которая
при натяжении
арматуры на
упоры определяют
по формуле:
![]()
где
![]()
![]()
![]()
пределение усилий.
Панели
поднимают за
петли, расположенные
на расстоянии
0,3 м от торцов.
Отрицательный
изгибающий
момент в сечении
панели по оси
подъемных
петель от
собственного
веса
(с учетом коэффициента
динамичности
).
рис.
Потери
от быстронатекающей
ползучести
не
учитываем;
коэф-
фициент
условий работы
в стадии изготовления
и монтажа панели;
- снижение
предварительного
напряжения
в арматуре в
результате
укорочения
(обжатия) бетона
в предельном
состоянии.
![]()
Расчет прочности сечения панели:
Расчет
прочности
сечения панели
ведем как
внецентренно
сжатого элемента.
Расчетное
сопротивление
бетона в рассматриваемой
стадии работы
панели принимаем
при достижении
бетоном 50% проектной
прочности:
,
а с учетом
коэффициента
условий
работы
,
при проверке
прочности
сечений в стадии
предварительного
обжатия конструкций
.
Характеристика
сжатой зоны
бетона:
![]()
Граничное
значение
![]()

где
для
ненапрягаемой
арматуры класса
Вр -I
диаметром 5 мм.
Случайный
эксцентриситет
определяют
из условий:
;
,
,
принимаем
Тогда эксцентриситет
равнодействующей
сжимающих
усилий будет:
![]()
![]()
где
считая
менее сжатой
ту зону сечения,
которая более
удалена от
напряженной
арматуры
.
;
в расчете учитываем
![]()
Требуемая
площадь сечения
арматуры
равна
![]()
Фактически в верхней зоне плиты арматуры не требуется.
Проверка сечения по образованию трещин:
Усилие в напряженной арматуре
![]()
Изгибающий
момент в сечении
от собственного
веса без учета
![]()
![]()
Проверяем условие:
![]()
где
;
![]()
![]()
Условие соблюдается, трещин в сечении при действии монтажных и транспортных нагрузок не будет.
Таким образом сечение и армирование панели перекрытия удовлетворяет требованиям расчета по предельным состояниям первой и второй группы.
Расчет по образованию трещин, нормальных
к продольной оси:
Расчет
производится
для выяснения
необходимости
расчета по
раскрытию
трещин. Так как
рассматриваемая
панель относится
к элементам,
к которым
предъявляются
требования
третьей категории
трещиностойкости,
то коэффициент
надежности
по нагрузке
и расчетный
момент от полной
нормативной
нагрузки будет
.
При
(где
момент
внутренних
усилий) трещины
не образуются.
Вычисляем момент, воспринимаемый сечением, нормальным к продольной оси элемента, при образовании трещин:
где
(здесь
для двутавровых
сечений при
);
ядровой
момент усилий
обжатия, равный
при
![]()
Усилие
предварительного
обжатия с учетом
всех потерь:
при

![]()
Значение

![]()
что больше
,
следовательно,
в эксплуатационной
стадии работы
панели трещин
в ней не будет.
Поэтому расчет
на раскрытие
трещин не выполняем.
Проверяем,
образуются
ли начальные
трещины в верхней
зоне панели
при ее обжатии
при коэффициенте
точности натяжения
.
Изгибающий
момент от
собственного
веса панели

Расчетное условие
![]()
![]()
![]()
где
-
для прочности
бетона, соответствующей
1/2 класса В15, что
равно В7,5;
![]()
Так как
(
,
то расчетное
условие соблюдается,
начальные
трещины не
образуются.
Расчет прогиба панели:
Прогиб,
в
середине пролета
панели при
отсутствии
трещин в растянутой
зоне определяется
по значению
кривизны
,
используя
формулу
![]()
где
жесткость
приведенного
сечения;
-
при действии
кратковременной
нагрузки;
при
действии постоянных
и длительных
нагрузок для
конструкций
эксплуатируемых
при влажности
окружающей
среды 75%.
Кривизна панели с учетом действия усилия предварительного обжатия:
![]()
а полный прогиб соответственно:
![]()
Определяем значения кривизны и прогибов:
от действия кратковременной нагрузки
![]()
![]()
от действия постоянной и длительной временной нагрузок:
![]()
![]()
кривизна,
обусловленная
выгибом элемента
от кратковременного
действия усилия
предварительного
обжатия
с
учетом всех
потерь:

выгиб панели в середине пролета, вызванный внецентренным обжатием,

кривизна, обусловленная выгибом вследствие усадки и ползучести бетона при обжатии:

![]()
![]()
здесь
потери
напряжений
от усадки бетона;
потери
для напрягаемой
арматуры от
ползучести
бетона принимаем
равными нулю
(
);
так как напряжение
в бетоне на
уровне крайнего
сжатого волокна,
возникающее
от усилий
предварительного
напряжения,
сравнительно
малы.

выгиб плиты в середине пролета вследствие усадки и ползучести бетона от обжатия
![]()
Полный прогиб
(предельный
прогиб
.
Расчет многопустотной панели перекрытия.
Исходные данные:
Рассчитывается сборная железобетонная многопустотная панель перекрытия. Марка панели ПК-60.12 (серия 1.141-1, в.58), бетон марки В15, предварительно напрягаемая арматура класса Ат-V, способ предварительного напряжения – электротермический, расход бетона 1,18 м3 расход стали 44,96 кг, масса панели 2,95 т, номинальная длина 5,98 м, ширина 1,19 м, высота 0,22 м.
Определение нагрузок:
Нагрузки на сборное междуэтажное перекрытие
таблица
-
Вид нагрузки
Нормативная нагрузка, Н/м2
Коэффициент надежности по нагрузке f
Расчетная нагрузка, Н/м2
Постоянная:
Звукоизоляционный слой ДВП, =0,035 м; =250 кг/м3
1 слой пергамина, =0,005 м;
=600 кг/м3стяжка цементно – песчаного раствора =0,07 м; =2400 кг/м3
прослойка кл. мастики , =0,01 м;
=1400 кг/м3линолеум на теплозащитной основе, =0,003 м; =1100 кг/м3
Собственный вес железобетонной
панели
Итого:
88
30
1680
140
33
3000
49711,1
1,1
1,3
1,1
1,1
1,1
97
33
2184
154
36
3300
5804Временная
Кратковременная
Длительная
Итого:
1200
300
15001,3
1,3
1560
390
1950Полная нагрузка:
Постоянная и длительная
кратковременная
Итого:
5271
1200
6194
1560
Определение расчетного пролета панели:
Расчетный
пролет панели
принимаем
равным расстоянию
между осями
ее опор.
![]()
Определение усилий:
На 1 м длины панели шириной 1,2 м действуют следующие нагрузки, Н/м:
кратковременная нормативная
кратковременная расчетная

постоянная и длительная нормативная
постоянная и длительная расчетная
итого нормативная

итого расчетная

Расчетный изгибающий момент от полной нагрузки
37944
Нм
где
расчетный
пролет плиты
Расчетный
изгибающий
момент
от полной нормативной
нагрузки (для
расчета прогибов
и трещиностойкости)
при
![]()
31664
Нм
Расчетный изгибающий момент от нормативной постоянной и длительной временной нагрузок
25792
Нм
Расчетный изгибающий момент от нормативной кратковременной нагрузки
5872
Нм
Максимальная поперечная сила на опоре от расчетной нагрузки
25900
Н
Максимальная поперечная сила на опоре от нормативной нагрузки
21614
Н
17606
Н
Подбор сечения панели:
Для изготовления
панели приняты:
бетон класса
В15,
![]()
;
продольную
арматуру из
стали класса
Ат-V,
;
поперечную
арматуру – из
стали класса
Вр-I диаметром
5мм;
;
армирование
– сварными
сетками и каркасами;
сварные
сетки – из стали
класса Вр-I
диаметром 4мм;
![]()
Проектируем панель шестипустотной. В расчете поперечное сечение пустотной панели приводим к эквивалентному сечению. Заменяем площадь круглых пустот прямоугольниками той же площади и того же момента инерции. Вычисляем :
![]()
![]()
![]()
приведенная
толщина ребер
(расчетная
ширина сжатой
полки
.
Характеристики прочности арматуры:
Предварительное
напряжение
арматуры ,принимается
не более
где
нормативное
сопротивление
арматуры,
;
допускаемое
отклонение
значения
предварительного
напряжения
.
Согласно
«Руководству
по технологии
изготовления
предварительно
напряженных
железобетонных
конструкций»,
значение
принимается
для термически
упрочненных
сталей не более
550 МПа. Принимаем
.
Проверяем
выполнение
условий:
![]()
Вычисляем
предельное
отклонение
предварительного
напряжения
при числе напрягаемых
стержней
![]()

принимаем
2.
Коэффициент
точности натяжения
.
При проверке
по образованию
трещин в верхней
зоне панели
при обжатии
принимаем
.
Предварительное
напряжение
с учетом точности
натяжения
.
Расчет прочности панели по сечению, нормальному к продольной оси:
Расчетное сечение – тавровое с полкой в сжатой зоне. Вычисляем:
где
защитный слой
бетона.
Находим =0,12 =0,94. Высота сжатой зоны
Граничная высота сжатой зоны:

где
характеристика
сжатой зоны
бетона
предельное
напряжение
в арматуре
сжатой зоны
;
,
т.к.
![]()
![]()

рис.
напряжение
в арматуре ;
![]()
(при
электротермическом
способе натяжения)

расчетное
сопротивление
арматуры
должно быть
умножено на
коэффициент
.
,
где
-
для арматуры
класса Ат-V
,
Вычисляем площадь сечения растянутой арматуры:
![]()
Конструктивно
принимаем 4
12 Ат-V

Расчет
прочности
панели по наклонному
сечению:
![]()
Проверяем
условие прочности
по наклонной
полосе между
наклонными
трещинами,
полагая
(при
отсутствии
расчетной
поперечной
арматуры)
![]()
где
;
![]()
условие соблюдается, размеры поперечного сечения панели достаточны.
Вычисляем
проекцию расчетного
наклонного
сечения на
продольную
ось
.
Влияние свесов
сжатых полок
(при 7 ребрах):

Влияние продольного усилия обжатия
![]()
Вычисляем
, принимаем
1,5:
![]()
В расчетном
наклонном
сечении
тогда
,
принимаем
В этом случае
,
следовательно,
по расчету
поперечная
арматура не
требуется.
В ребрах
устанавливаем
конструктивно
каркасы из
арматура
5 класса Вр-.
По конструктивным
требованиям
при h
450 мм на
приопорном
участке
шаг стержней
и

принимаем
.В
средней половине
панели поперечные
стержни можно
не ставить,
ограничиваясь
их постановкой
только на приопорных
участках. Чтобы
обеспечить
прочность полок
панели на местные
нагрузки, в
пределах пустот
в верхней и
нижней зонах
сечения предусмотрены
сетки С – 1 и С
– 2 из арматуры
класса Вр -
4
мм.
Расчет прочности наклонного сечения на действие изгибающего момента.
Расчет производиться исходя из условия:
где
момент
от внешней
нагрузки,
расположенной
по одну сторону
от рассматриваемого
наклонного
сечения , относительно
оси, перпендикулярной
плоскости
действия момента
и проходящей
через точку
приложения
равнодействующей
усилий в сжатой
зоне;
суммы
моментов относительно
той же оси
соответственно
от усилий в
хомутах и продольной
арматуре;
расстояния
от плоскостей
расположения
соответственно
хомутов и продольной
арматуры.
Величина
при
хомутах постоянной
интенсивности
определяется
по формуле
![]()
где
- усилие в хомутах
на единицу
длины элемента
в пределах
наклонного
сечения
- длина
проекции наклонного
сечения на
продольную
ось элемента
![]()
![]()
Величина
принимается
равной
,
где
величина сжатой
зоны бетона.
Коэффициент
,
где
величина
пощадки опирания
панели на несущую
стену
;
длина
зоны передачи
напряжений
для напрягаемой
арматуры
,
где
,
коэффициенты,
определяемые
по СНиП,
величина,
принятая равной
большему из
значений
и
с учетом первых
потерь (
)
Величина

![]()
Прочность наклонного сечения на действие изгибающего момента обеспечена.
Расчет панели по предельным
состояниям второй группы.
Определяем геометрические характеристики приведенного сечения:
;
![]()
Площадь приведенного сечения:
![]()
здесь
-
площадь сечения
напрягаемой
арматуры,
-
ненапрягаемой
арматуры:
где 0,71 см2
– площадь сечения
продольной
арматуры сеток
и 0,79 см2
– площадь сечения
4
5 Вр - I
каркасов К –
1; для
сеток
![]()
![]()

![]()
![]()
Статический момент относительно нижней грани сечения панели:
![]()
![]()
![]()
![]()
Расстояние от центра тяжести приведенного сечения до нижней грани панели:
![]()
![]()
![]()
Момент инерции приведенного сечения относительно центра тяжести:
![]()
![]()
где
![]()
![]()
![]()
Момент сопротивления для растянутой грани сечения:
![]()
то же, по сжатой грани сечения:
![]()
Расстояние от ядровой точки, наиболее удаленной от растянутой зоны (верхней) до центра тяжести приведенного сечения:
![]()
где
![]()
то же, наименее удаленной от растянутой зоны (нижней)
![]()
Определение потерь предварительного
напряжения при натяжении арматуры на упоры:
Предварительное
напряжение
в арматуре
.
При расчете
потерь коэффициент
точности натяжения
арматуры
.
Определяем
первые потери:
от релаксации
напряжений
в арматуре
;
от температурного
перепада
,
так как при
пропаривании
форма с упорами
нагревается
вместе с панелью;
при деформации бетона от быстронатекающей ползучести последовательно вычисляем:
усилие обжатия
;
эксцентриситет
усилия
относительно
центра тяжести
приведенного
сечения
![]()
напряжение в бетоне при обжатии

устанавливаем
значение передаточной
прочности
бетона из условия
тогда
.
Согласно
п. 2.6* значение
передаточной
прочности
бетона к моменту
его обжатия
принимаем
Тогда отношение
.
Вычисляем
сжимающее
напряжение
в бетоне на
уровне центра
тяжести напрягаемой
арматуры от
усилия обжатия
(без учета момента
от собственного
веса панели
перекрытия)
;
при
(что0,8)
потери от
быстронатекающей
ползучести
будут
.
Суммарное значение первых потерь:
![]()
С учетом
первых потерь
напряжение
будет:
![]()
![]()
![]()
Определяем вторые потери:
от усадки
бетона
;
от ползучести
бетона при:
и
для бетона,
подвергнутого
тепловой
обработке при
атмосферном
давлении:
![]()
Вторые потери напряжений составляют
![]()
Суммарные потери предварительного напряжения арматуры составляют
![]()
Усилие обжатия
с учетом всех
потерь напряжений
в арматуре
![]()
Описание генерального плана.
Генеральный план разработан в соответствии с функциональным процессом, розой ветров, инсоляции помещений, противопожарными требованиями.
Детский ясли-сад должен заменить существовавшие ранее на этом месте аналогичные объекты, которые были утрачены вследствие неблагоприятной экономической обстановки в стране. Ясли-сад расположен в селитебной зоне и обслуживает десять близь лежащих квартала. Площадка застройки – территория существовавшего ранее на этом месте яслей-сада выведенного из эксплуатации за ненадобностью.
Место строительства: площадка в микрорайоне Краснова Свердловского района города Перми. С северо-востока и юго-запада от неё расположен жилой массив. С северо-запада граничит с автомобильной дорогой, с юго-востока расположена хлебопекарня. Размеры площадки в плане 70 х 80 м.
Технико-экономические показатели по генплану:
Площадь территории участка 0,56 га.
Площадь застройки 0,12 га.
Площадь озеленения 0,084 га.
Протяжённость внутренних дорог 274 м.
Коэффициент застройки 0,12/0,56=0,214.
Коэффициент озеленения 0,084/0,56=0,15.
Территория площадки имеет горизонтальную поверхность, но нуждается в сносе остатков существующего здания.
Внутри территории яслей-сада вокруг здания расположена дорога, предназначенная для обслуживания пищеблока и хозяйственных служб учреждения для доставки оборудования, противопожарных целей и обучения детей основам правил дорожного движения. Участки для прогулок и игр детей оптимизированы для наиболее короткого доступа, расположены участки по возрасту контингента и отделены друг от друга. На площадке устроены песочники, теневые навесы, скамьи, малыме архитектурные формамы. Две площадки детей старшего возраста имеют в своём составе овощные грядки. Благоустройство участков для прогулок ведётся согласно данному проекту. Снаружи территория яслей-сада ограждена забором из металлической сетки.
Инженерные сетей здания подключены к централизованным городским сетям.
Объёмно-планировочное решение.
Детские ясли – сад имеют в своём составе 2 ясельных группы на 20 мест и 4 дошкольных группы по 25 мест в каждой.
Здание имеет размеры: вдоль здания a=37520 мм, поперёк здания: размер блока b=19060 мм, в месте сопряжения двух блоков b’=22060мм. Ясли-сад имеет два надземных этажа на отметках 0.000 и +3.300, холодный чердак и подвал на отметке –2.700 используемый для технических целей. Пролёт несущих стен в осях 6000 мм по краям и 6300 в середине.
Планировка детских яслей – сада решена: на первом этаже 2-х ясельных групп и 4-х дошкольных групп – на втором этаже (каждая с отдельным входом).
На первом этаже расположены помещения общего назначения, медицинские, служебно-бытовые, пищеблок.
Для удобства и из функциональных соображений вход в групповые помещения организован через приёмные и холлы с обоих фасадов здания. Вход в технические помещения столовой, необходимый для доставки продуктов и оборудования в пищеблок организован отдельно. Пожарные выходы из спален запроектированы отдельно, служащие для аварийной эвакуации детей с обоих этажей.
Кухня, заготовительный цех, кладовая сухих продуктов, кладовая овощей, загрузочная, мойка – объединены в единый блок для того чтоб изолировать технологический процесс приготовления пищи. Пища из кухни разносится по группам перед завтраком, обедом, полдником и ужином.
Медицинская комната и палата объединена в гигиенических целях и находится на первом этаже.
Гладильная, кладовая чистого белья, постирочная – составляют прачечный блок находящийся отдельно от детских помещений.
Кабинет заведующей, методический кабинет составляют административный блок, доступ к которому осуществляется через холл.
Хозяйственная кладовая находится в секторе утилитарных помещений.
Комната персонала находится на первом этаже рядом с лестницей. В комнате имеется своя раздевалка и душевая.
Холлы первого и второго этажа находятся вокруг лестничного марша, доступ к ним одинаково удобен из всех частей этажа. Широкие марши и площадки обеспечивают высокую пропускную способность и удобный подъём оборудования и мебели.
На первом этаже находится ясельное отделение, на втором группы дошкольного возраста.
Планировочно группы делятся:
В приёмной находятся шкафчики для хранения верхней одежды детей ( в зимнее время ).
Игровая выполняет сразу несколько функций :
служит для игр детей, их основного время провождения.
для приёма пищи, так как в проекте для этого не предусмотрено отдельного помещения.
для проведения с детьми различного рода воспитательных и обучающих занятий.
Спальня предназначена для отдыха, имеет аварийный выход с лестницей до уровня земли. Кроме того, каждая группа оборудована уборной, душем и умывальниками.
Актовый зал расположен в углу первого этажа, чтобы шумовые воздействия при занятиях не передавались в другим помещения. Актовый зал предназначен для проведения праздников, музыкальных занятий и некоторые торжественных мероприятий.
В подвале детского сада находится: вентиляционная камера, электрощитовая, помещение для грязной одежды рабочих и персонала. Эти помещения не предназначены для длительного пребывания там людей и, поэтому, не отапливаются.
Тёплый наземный переход имеет размеры a=6720 мм, b=17280 мм. Пол находится на отметке 0.000. Пролёт несущих стен в осях 6000 мм.
Теплый переход к бассейну выполняет роль небольшого зимнего сада. Для поддержания постоянной температуры в зимнее время связка первого этажа детсада и перехода снабжена системой тамбуров.
Бассейн имеет размеры a=23420 мм, b=18920 мм. Пол бассейна находится на отметке 0.000. Здание имеет три продольных ряда несущих стен с пролётом 6000 мм.
Бассейн и в гимнастическом зал используется круглый год. Основной вход в бассейн запроектирован через тёплый переход из детского сада. Помещения скомпонованы вокруг ванны, которая является центральной частью бассейна. Раздевалки, душевые, гимнастический зал, холл расположены с двух сторон по ширине и обособлены от технических помещений. Гимнастический зал имеет отдельный вход из холла, в нём так же расположен пожарный выход на улицу. В виду небольшого числа детей одновременно занимающихся в ванне – душевая рассчитана на три душевых места. Блок технических помещений расположены с двух сторон от помещения ванны поперёк здания, что не затрудняет обслуживания бассейна. К этим помещениям относятся вент камера, хлораторная, лаборатория, комната мед сестры, комната инструктора, кладовая уборочного инвентаря, электрощитовая. Из технических помещений имеется отдельный выход на улицу.
Конструктивное решение.
Здание выполнено по бескаркасной системе с продольными и поперечными несущими стенами. Жёсткость обеспечивается продольными и поперечными несущими стенами и создаваемыми жёсткими дисками покрытия и перекрытия. Фундаменты ленточные из сборных железобетонных фундаментных блоков и подушек под наружные и несущие стены. В устройстве фундамента использованы следующие типы элементов:
блоки фундаментные ГОСТ 13579-87: ФБС24.6.6-Т; ФБС9.66-Т;ФБС24.4.6-Т; ФБС9.4.6-Т;ФБС24.5.6-Т;ФБС9.5.6-Т.
Фундаментные подушки ГОСТ 13580-85:ФЛ10.24-344ФЛ10.12-3;ФЛ8.24-3;ФЛ8.12-3.
Материалы ГОСТ 530-80: Бетон В 3.5; Кирпич КР 1650/75/15; Бетон В 7.5.
Отметка низа конструкции фундамента -3.300 , отметка пола подвала -2.700.
Наружные стены являются несущими, так же являются несущими внутренние стены толщиной 380 – 510. Стены здания выполнены из кирпича керамического полнотелого ГОСТ 530-95.Наружные стены по всей площади представляют трёхслойную конструкцию из следующих слоёв: наружная штукатурка - сухим цементно-песчаным раствором толщиной 30 мм; защитного слоя кирпичной кладки на цементно-песчаном растворе марки В7 толщиной 120 мм; воздушной прослойки толщиной 10 мм; эффективного утеплителя БВТМ базальтоволокнистого ТУ 95.2691-98; слоя битумной мастики ГОСТ 6617-76* для приклеивания утеплителя выполняющего так же роль пароизоляции толщиной 1 мм; основной несущей стены выполненной из кирпичной кладки δ=250 мм на цементно-песчаном растворе марки В7. Внутренний и наружный слои кладки соединены гибкими связями из арматурных стержней диаметром 10 мм, расположенных с шагом по вертикали 250 мм; внутреннего слоя штукатурки известковым раствором толщиной 20 мм.
Перекрытия выполнены из пустотных железобетонных плит, опёртых по двум сторонам на несущие стены, площадка опирания 120 мм. В виду несоответствия геометрических размеров перекрываемых помещений геометрическим размерам плит в некоторых местах выполнены доборные монолитные участки индивидуальной разработки. Использованы типы плит перекрытия согласно серии 1.141-1: ПК60-10; ПК60-12; ПК60-15; ПК63-10; ПК63-12; ПК63-15.
Крыша выполнена по деревянным стропилам из клеёной древесины сосны II сорта сечением 185х350 мм. Стропильные ноги опираются на два ряда крайних продольных несущих стен и два ряда средних. Кровля из оцинкованного плоского кровельного железа, уложенного по деревянным прогонам с уклоном 0.45.
Лестничные площадки из плоских плит серии 1.2431-4. Площадки опираются по двум сторонам на кладку шахты лестницы. Марши монолитные серии 1.2431-4. Марши опёрты обоими концами на этажную площадку и междуэтажную. Лестничные марши ограждены поручнями высотой 1000 мм, с перилами на высоте 1000 и 500 мм от уровня пола.
Перегородки использованы гипсобетонные серии 1.231.9-7 со встроенными дверными блоками, указанными в спецификации столярных изделий и сборные панели перегородок из сухой гипсовой штукатурки серии 1.231-4.
Окна ГОСТ 16289-85 с тройным остеклением , фрамуги – серия 1.136-12 вI. Материал окон - древесина хвойных пород II сорта.
Двери – ГОСТ 6629-84. Внутренние двери применены как в варианте с остеклением, так и в варианте глухой двери. Двери изготовлены из древесины хвойных пород II сорта. Дверные полотна и косяки, устанавливаемые в помещениях с повышенной влажностью, обрабатываются антисептиком для предотвращения загнивания древесины.
Подоконные доски серии 1.136-2 изготовленных из фибролитной плиты размеры, которых соответствуют размерами оконных блоков.
Наружная отделка.
Наружное оформление здания подбирается в комплексе, цветовые решения подобраны с учётом лучшего визуального восприятия здания в целом, воспитательно-психологического воздействия на детей, с учётом архитектурных решений окружающих зданий и сооружений. В отделке здания применены передовые материалы с наилучшими физическими и эксплуатационными показателями, а так же с учётом их стоимостных показателей.
Кровля здания яслей-сада и бассейна в варианте с плоским кровельным железом окрашивается водостойкой эмалью ФА-5278 тёмно зелёного цвета. В варианте с металлопластиковой черепицей применяется «Rannila Steel OY” тёмно зелёного цвета. Аксессуары используются того же цвета. Водосборная система здания, выполнена из оцинкованного железа без окраски (металлического цвета).
Стены покрываются слоем штукатурки толщиной 30мм. Поверх выравнивающего слоя штукатурки наносится три слоя известково-меловой краски. Фасады окрашиваются горизонтальными полосами. Полосы, содержащие окна - окрашиваются в светло коричневый цвет. Промежуточные полосы в тёмно коричневый цвет другого оттенка. Цоколь окрашивается фасадной каучуковой композицией тёмно серого цвета.
Трубы вентиляционных шахт окрашиваются тем же составом что и стены, белого цвета.
Рамы окон окрашены краской ВД-АК-191белого цвета.
Полотна наружных дверей окрашены краской ВД-АК-191 тёмно серого цвета.
Санитарно техническое и инженерное оборудование.
Внутренние системы водоснабжения и водоотведения, энергоснабжения, теплоснабжения, телефонная работают от центральных городских сетей соответственно холодного и горячего водоснабжения, центральной городской канализационной сети, местной электротяговой подстанции, центральных теплосетей, и городских телефонных сетей.
Подача воды в ванну бассейна осуществляется общей сети. Для бассейна используется вода, к которой предъявляются повышенные требования к качеству: цветность – не более 5, содержание взвешенных веществ не более 1 мг/л, прозрачность (по кресту) на всю глубину ванны. Бассейн имеет проточную схему водообмена, что позволяет снизить потребление и сбрасывание воды при функционировании и очистке ванны. Свежая вода подаётся для водообмена в количестве, обеспечивающем полный водообмен за 6-8 часов. Расход воды на работу ножной ванны шлюза составляет 700 л/ч при этом он работает 30 минут в день. Суммарный расход воды в бассейне на человека составляет 1 мі в час. В подвальном помещении яслей-сада установлен гидрант, используемый для пожаротушения с расчётным забором воды 15 л/с. Ввод в здание снабжён водомерным оборудованием: водомерный узел ВУ2, водомер ВСКМ-10/3 установленным в подвале. Для подачи воды в помещения используются стальные оцинкованныетрубы ГОСТ 3262-75*, водоразборной и регулирующей арматурой.
Санитарные приборы (унитазы, мойки, раковины, душевые кабины) снабжается разводкой горячего и холодного водопровода согласно СНиП 2.04.01-85 . В бассейне установлены по одному санузлу для групп каждого пола в виду небольшого числа одновременно занимающихся.
Сточные воды, исходящие из помещений яслей-сада (туалетов, душевых, бассейна) являются бытовыми и могут сбрасываться в городскую канализацию. Для отвода воды применены трубы из ПВХ ТУ 6-19-307-86 диаметром 50-200мм.
Отопление производится от центральных городских теплосетей. На вводе в здание установлен тепловой узел для снижения температуры носителя и давления подачи. Для отопления используется схема с нижней разводкой. Радиаторы устанавливаются в помещениях согласно расчёту. В верхней точке системы устанавливается расширительный бачок со спускным вентилем. В подвале устанавливается вентиль для аварийного сброса воды из системы, каждый радиатор снабжён запорной арматурой. Радиаторы крепятся в стенные ниши находящиеся на проектном месте их установки.
Удаление мусора (твёрдых отбросов и пищевых остатков раздельно) с территории яслей-сада осуществляется через мусорные бачки расположенных близь ворот. Вывозом мусора занимаются коммунальные службы местного ЖЭУ.
Вентиляция и кондиционирование воздуха (СНиП 2.04.05-91) производится посредствам вытяжной нерегулируемой вентиляции через шахты выведенные на крышу здания, а так же вентиляционных установок и кондиционеров, расположенных на первом этаже, подвале яслей сада, первом этаже бассейна. Избыточные воздушные выбросы и излишки теплоты из пищеблока, постирочной, гладильной удаляются механической вентиляционной установкой.
Энергоснабжение осуществляется от подземного электрокабеля расположенного на глубине 3 м. Напряжение с кабеля подаётся в электрощитовые расположенные в подвальном помещении яслей-сада и на первом этаже бассейна, оттуда электрические провода разводится по помещения.
Освещение производится лампами накаливания и люминесцентными лампами в зависимости от назначения помещения и естественного освещения.
Телефонная связь, охранная и пожарная сигнализация осуществляется через устройства, устанавливаемые соответственными службами и подключёнными к городской телефонной сети. Датчики пожарной сигнализации устанавливаются в каждом помещении от 1 до 6 штук в зависимости от площади. Датчики охранной сигнализации устанавливаются на стёкла окон и двери. Телефонный кабель расположен по улице Уфимской на расстоянии 70 м от здания яслей-сада.
Отвод дождевых вод осуществляется с территории по естественному уклону в направлении ближайшего коллектора ливневой канализации.
Расчёт звукоизоляции ограждающими конструкциями.
Расчёт ведём для перекрытия между игровыми помещениями первого и второго этажа.
| № | Материал |
|
|
|
|
|
Ж/б плита перекрытия | 2500 | 0.11 | 275 |
|
|
Звукоизоляционный слой ДВП | 250 | 0.035 | 188,3 |
|
|
1 слой пергамина | 600 | 0.005 | |
|
|
Стяжка цементно-песчаного раствора | 2400 | 0.07 | |
|
|
Прослойка кл. мастики | 1400 | 0.01 | |
|
|
Линолеум на теплозащитной основе | 1100 | 0.003 |
Согласно
СНиП II-12-77 нормативные
значения. Индекс
изоляции воздушного
шума
.
Индекс приведённого
уровня ударного
шума
.
динамический
модуль упругости
материала
звукоизоляционного
слоя,
=275кг/мІ
- поверхностная
плотность
перекрытия,
=188.31кг/мІ
- поверхностная
плотность
конструкции
пола выше
звукоизоляционного
слоя,
Находим
величину
для несущей
плиты перекрытия:
.
- динамический
модуль упругости
звукоизоляционного
слоя.
- относительное
сжатие материала
звукоизолирующего
слоя под нагрузкой
(табл. 15).
![]()
толщина звукоизолирующего слоя в обжатом состоянии.

По табл. 14 индекс изоляции воздушного шума для данного перекрытия:
![]()
Определяем
индекс приведённого
уровня ударного
шума
.
Частота колебаний пола, лежащего на звукоизоляционном слое:

По
табл.17
.
По табл. 16
.
Согласно проведённым расчётам конструкция удовлетворяет нормативным значениям звукоизоляции.
Теплотехнический расчёт.
Расчёт ведём для перекрытий верхнего этажа и наружных стен.
Определяем толщину наружных стен:
Исходные данные: материал стен – два слоя кладки из кирпича глиняного обыкновенного; слой утеплителя – полужестких минераловатных плит на синтетическом вяжущем ГОСТ 12394-86; воздушная прослойка (в расчётах не учитываем); по внутренней и наружной поверхности стены – слоем известково-песчаного раствора (рис.1).

Рис.1.
|
№ п/п |
Наименование материала |
|
|
|
|
| 1 |
Cлой известково-песчаного раствора |
1600 |
0.02 |
0.81 |
0.0247 |
| 2 | Слой цементно-песчаного раствора | 1800 | 0,02 | 0,93 | 0,0215 |
| 3 | Два слоя кладки из обыкновенного глиняного кирпича на цементно-песчаном растворе | 1800 |
0.38 |
0.81 |
0.469 |
| 4 | Утеплитель – полужёсткие минераловатные плиты на синтетическом вяжущем | 300 | х |
0.04 |
Коэффициент
теплопередачи
:
(СНиП
II-3-79**).
Коэффициент
теплоотдачи
в зимних условиях
для наружных
стен:
![]()
Требуемое термическое сопротивление ограждающей конструкции определяем из условий энергосбережения.
Климатические данные для условий города Перми :
Температура
начала отопительного
периода :
(СНиП 2.01.01-82);
Продолжительность
отопительного
периода :
СНиП
2.01.01-82);
Температура
наиболее холодной
пятидневки
:
(СНиП
2.01.01-82);
Зона влажности : Н (СНиП 2.01.01-82).
Расчёт
ведём для дошкольного
заведения,
следовательно,
относительная
влажность
внутри помещения
– нормальная,
φ=50%, температура
внутреннего
воздуха
.
Условия эксплуатации
конструкций
– Б.
![]()
Требуемое термическое сопротивление определяем по изменению 3 к СНиП II-3-79** путём интерполяции :
![]()
Термическое сопротивление конструкции :
![]()
Зная
определяем
сопротивление
слоя теплоизоляционного
материала :
![]()
Зная термическое сопротивление и коэффициент теплопроводности изолирующего материала, определяем толщину слоя:
![]()
Принимаем толщину теплоизоляционного слоя 110мм.
Фактическое сопротивление стены :
![]()
Итак :
![]()
Выбранная конструкция стены и толщина утеплителя удовлетворяют требованиям СНиП II-3-79**.
Определяем толщину утеплителя для плиты покрытия верхнего этажа с утеплителем из жестких минераловатных плит ГОСТ 10140-80. Схема конструкции приведена на рис.2.
Рис.2

По СНиП II-3-79** определяем необходимые теплотехнические характеристики конструктивных слоёв и сводим их в таблицу 2:
|
№ п/п |
Наименование материала |
|
|
|
|
| 1 |
Железобетонная плита покрытия |
2500 | 0.22 | 2.04 | 0.142 |
| 2 |
Пароизоляция из двух слоёв рубероида на битумной мастике. |
600 | 0.01 | 0.17 | 0.59 |
| 3 |
Утеплитель – пенополеуретан ТУ 67-98-75 |
300 | Х | 0.04 |
Определяем толщину утеплителя перекрытия, исходя из условий энергосбережения. Для этого сначала определяем величину градусо-суток отопительного периода:
![]()
Отсюда определяем требуемое термическое сопротивление по изменению 3 к СНиП II-3-79**:
![]()
Перед определением толщины утеплителя, рассчитываем приведённое термическое сопротивление железобетонной панели перекрытия с пустотами, так как такая конструкция является неоднородной. Расчёт производим для панели шириной 1.2 м. Поперечный разрез изображён на рис.3.
Заменяем круглые отверстия квадратными:
Рис.3

![]()
![]()
Расчёт будем вести для участка панели длиной 1м.
А) Часть панели с расчётной площадью 1.19·1 м разрезаем плоскостями, параллельными направлению теплового потока Q, получаем участки I и II рис.4.
Рис.4

Участок I состоит из одного слоя – железобетона. Суммарная длина:
![]()
![]()
![]()
Участок II состоит из трёх слоёв: 2 слоя железобетона и воздушная прослойка. Суммарная длина:
![]()
,
![]()
![]()
Термическое сопротивление для участка I :
![]()
Термическое сопротивление для участка II определяем как для однородной многослойной конструкции рис.5:
![]()
где
(СНиП II-3-79**).
Среднее термическое сопротивление I и II участка панели:

Б) Разрезаем ту же рабочую площадь панели плоскостями, перпендикулярными тепловому потоку Q, на 3 слоя рис.4.
Рис.4.

Участок I и II состоят из однородного материала – железобетона.
![]()
![]()
Общее термическое сопротивление:

![]()
Разница
между
![]()
![]()
Определяем приведённое термическое сопротивление ограждающей конструкции:
![]()
Принимаем:
![]()
Термическое сопротивление утеплителя:

Толщина утеплителя:
![]()
Для проверки фактическое сопротивление теплопередаче чердачного перекрытия:

![]()
Термическое сопротивление принимаемых конструкций больше минимального нормативного, следовательно конструкции запроектированы верно и применятся в строительстве объекта могут.
Функциональный процесс.
Дети заходят через центральные входы в приёмные своих групп (через холлы и лестницу поднимаются на второй этаж).
В игровых помещениях персонал накрывает на стол и приносит завтрак из пищеблока. После завтрака посуда убирается, столы остаются. Дети играют в игровых помещениях. После 11-и часов дети идут гулять (одеваясь в приёмных в зимнее время).
Прогулки происходят на прилегающих специально оборудованных игровых площадках, возможен выход детей с воспитателями за территорию детского сада для посещения культурных учреждений и экскурсий.
Доступ в бассейн осуществляется через тёплый переход с первого этажа в любое время года. Процесс занятий детей в бассейне происходит следующим образом: дети приходят в бассейн по тёплому переходу. Раздеваются в специальной раздевалке, затем принимают душ и проходят в ванну для занятий. Выход осуществляется в обратном порядке. На случай аварийных ситуаций имеется дополнительный и служебные выходы из бассейна. Условия окружающей среды в бассейне (температура воды и степень хлорирования) контролируется медицинским работником.
В гимнастический зал дети приходят через тёплый переход, что делает возможным проведение спортивных занятий круглый год.
Прогулки, занятия в гимнастическом зале, бассейне, игры в помещении и другие мероприятия производятся в соответствии с расписанием принимаемым педагогическим коллективом.
После этих мероприятий дети возвращаются в группу, где накрываются столы, дети умываются, принимают душ в случае необходимости. Затем обедают. После обеда дети посещают туалет и умывальные. Проходят в спальни, где отдыхают в течение 1-1.5 часов. Перед окончанием сон часа персонал накрывает на столы. Дети встают, посещают туалет и умывальные и садятся полдничать. После полдника – игра в помещении. Затем детей одевают и ведут гулять либо продолжают играть в помещении.
Около 17 часов основную часть детей забирают домой родители.
Грунты :
При расчёте фундаментов принято - грунты со следующими характеристиками :
Расчётное значение объёмной массы грунта залегающего ниже подошвы фундамента
.Расчётное значение угла внутреннего трения
( ).Расчётное значение
(
).Расчётное давление на грунт при ширине фундамента 1м
( ).Рельеф участка – спокойный , грунтовые воды – отсутствуют.
Фундамент разработан из бетонных блоков.
Вес снегового покрова на 1мІ горизонтальной поверхности земли
( ).
Iв климатический район ( ).
Расчётная зимняя температура наружного воздуха - єС ( ).
Масса снегового покрова 200кг/мІ ( )
Скорость напора ветра на высоте 10м 23кг/мІ ( ).
I район по скоростному напору ветра ( ).
Характеристики здания.
Уровень ответственности II ( ).
Степень долговечности II ( ).
Степень огнестойкости II ( ).
Ориентация здания на северо-запад.
Содержание:
Архитектурно-конструктивная часть.
Исходные данные для проектирования.
Функциональный процесс.
Санитарно – техническое и инженерное оборудование.
Технико-экономическое обоснование проекта.
Объёмно-планировочное решение.
Конструктивное решение.
Внутренняя отделка и план полов с экспликацией помещений.
Наружная отделка.
Расчёты.
Чертежи.
Генплан (масштаб).
Фасады (масштаб 1:50).
Планы неповторяющихся этажей(масштаб).
Разрез.
План междуэтажных перекрытий, покрытий, стропил,, кровли.
Узлы, архитектурные детали.
| Экспликация помещений | ||
| № на плане | Наименование помещения | Площадь |
| Первый этаж | ||
| 1 | Приёмная первой группы | 16.55 |
| 1 | Приёмная второй группы | 21.82 |
| 2 | Игровая первой группы | 51.48 |
| 2 | Игровая второйгруппы | 55.23 |
| 3 | Спальня первой группы | 34.48 |
| 3 | Спальня второй группы | 35.33 |
| 4 | Актовый зал | 78.34 |
| 5 | Кладовая инвентаря | 7.81 |
| 6 | Кабинет заведущей | 9.28 |
| 7 | Методологический кабинет | 9.99 |
| 8 | Холл | 20.10 |
| 9 | Буфетная первой группы | 2.91 |
| 9 | Буфетная второй группы | 2.98 |
| 10 | Туалетная первой группы | 12.11 |
| 10 | Туалетная второй группы | 10.08 |
| 11 | Комната персонала | 12.73 |
| 12 | Медицинская комната | 11.35 |
| 13 | Палата | 11.20 |
| 14 | Кухня | 31.32 |
| 15 | Заготовочный цех | |
| 16 | Кладовая сухих продуктов | 10.00 |
| 17 | Кладовая овощей | 4.42 |
| 18 | Загрузоччная | 4.81 |
| 19 | Мойка | |
| 20 | Гладильная | 10.84 |
| 21 | Кладовая чистого белья | 5.23 |
| 22 | Постирочная | 9.61 |
| 23 | Хозяйственная кладовая | 8.53 |
| 24 | Вентеляционная камера | 12.35 |
| 25 | Тамбур | 27.35 |
| 26 | Тёплыйпереход-аранжерея | 65.94 |
| Общая площадь первого этажа | 594.17 | |
| Бассейн | ||
| 27 | Зал ванны | 57.58 |
| 28 | Вестибюль | 43.44 |
| 28 | Раздевалка для мальчиков | 23.94 |
| 29 | Раздевалка для девочекв | 20.00 |
| 30 | Кладовая спортинвентаря | 8.96 |
| 31 | Комната медсестры | 5.75 |
| 32 | Комната инструктора | 9.53 |
| 33 | Ножная ванна-шлюз для девочек | 2.20 |
| 33 | Ножная ванна-шлюз для мальчиков | 2.20 |
| 34 | Душевая для девочек | 5.92 |
| 34 | Душевая для мальчиков | 5.92 |
| 35 | Преддушевой тамбур для девочек | 1.71 |
| 35 | Преддушевой тамбур для мальчиков | 1.71 |
| 36 | Санузел для девочек | 2.20 |
| 36 | Санузел для мальчиков | 2.20 |
| 37 | Коридор слева | 3.20 |
| 37 | Коридор справа | 3.20 |
| 38 | Электрощитовая | 5.35 |
| 39 | Кладовая уборного инвентаря | 4.69 |
| 40 | Лаборатория | 9.46 |
| 41 | Вентеляционная камера | 27.52 |
| 41.1 | Гимнастический зал | 45.12 |
| Общая площадь бассейна | 291.80 | |
| Второй этаж | ||
| 42 | Раздевалка третей группы | 18.49 |
| 42 | Раздевалка третей группы | 18.32 |
| 42 | Раздевалка третей группы | 18.57 |
| 42 | Раздевалка третей группы | 18.09 |
| 43 | Игровая третей группы | 48.96 |
| 43 | Игровая третей группы | 52.42 |
| 43 | Игровая третей группы | 50.69 |
| 43 | Игровая третей группы | 48.96 |
| 44 | Спальня третей группы | 48.96 |
| 44 | Спальня третей группы | 46.31 |
| 44 | Спальня третей группы | 50.69 |
| 44 | Спальня третей группы | 50.69 |
| 45 | Буфетная третей группы | 3.33 |
| 45 | Буфетная третей группы | 3.33 |
| 45 | Буфетная третей группы | 3.33 |
| 45 | Буфетная третей группы | 3.33 |
| 46 | Туалетная третей группы | 18.32 |
| 46 | Туалетная третей группы | 17.41 |
| 46 | Туалетная третей группы | 19.60 |
| 46 | Туалетная третей группы | 11.06 |
| Общая площадь 2-го этажа | 550.86 | |
| Общая площадь всех помещений | 1436.83 | |
| Спецификация элементов перемычек | |||||||
| Поз. | Обозначение | Наименование | Кол-во на этаж | Масса ед., кг | Примечание | ||
| 1 | 2 | Всего | |||||
| 1 | 1.038.1-1 Вып.1 | 2ПБ29-4-п | 78 | 75 | 153 | 120 | |
| 2 | 5ПБ30-37-п | 19 | 10 | 29 | 410 | ||
| 3 | 3ПБ18-37-п | 15 | 20 | 35 | 115 | ||
| 4 | 2ПБ16-2-п | 50 | 32 | 82 | 65 | ||
| 5 | 5ПБ25-31-п | 3 | 3 | 338 | |||
| 6 | 2ПБ22-3-п | 7 | 7 | 92 | |||
| 7 | 3ПБ16-37-п | 5 | 5 | 10 | 102 | ||
| 8 | 2ПБ13-1-п | 5 | 1 | 6 | 54 | ||
| 9 | 3ПБ13-37-п | 2 | 2 | 85 | |||
| 10 | 2ПБ25-3-п | 4 | 5 | 10 | 103 | ||
| 11 | 5ПБ27-27-п | 4 | 4 | 375 | |||
| 12 | 1ПБ13-1 | 15 | 15 | 30 | 25 | ||
| 13 | 2ПБ17-2-п | 7 | 8 | 13 | 71 | ||
| 14 | 3ПБ16-37-п | 1 | 1 | 102 | |||
| 15 | 5ПБ21-27-п | 1 | 1 | 285 | |||
| 16 | 7ПГ35-23 | 1 | 1 | 1135 | |||
| 17 | ПГ10-1 | 6 | 6 | 20 | |||
| 18 | 2ПБ19-3-п | 4 | 4 | 81 | |||
| 19 | Индивидуальная разработка | перемычка округлая d=2040 | 4 | 4 | 850 | ||
| 20 | Перемычка округлая d=1800 | 4 | 4 | 630 | |||
| 1а | 1.038.1-1 Вып.1 | 5ПБ21-27-18-27 | 10 | 10 | 285 | ||
| 2а | 2ПБ19-3 | 16 | 16 | 81 | |||
| 3а | 2ПП14-4 | 4 | 4 | 190 | |||
| 4а | 1ПБ13-1 | 17 | 17 | 25 | |||
| 5а | 2ПП17-5 | 2 | 2 | 224 | |||
| 6а | 2ПБ17-2 | 13 | 13 | 71 | |||
| 7а | 3ПБ18-37 | 31 | 31 | 119 | |||
| 8а | 3ПП27-71 | 1 | 1 | 570 | |||
| 9а | 1ПБ10-1 | 10 | 10 | 20 | |||
| 10а | 2ПП18-5 | 3 | 3 | 241 | |||
| 11а | 2ПБ16-2 | 9 | 9 | 65 | |||
| 12а | 3ПБ16-37 | 5 | 5 | 102 | |||
| 13а | 5ПБ18-27 | 4 | 4 | 250 | |||
| Наименование и номер помещения | Вид отделки элементов интерьера | Примечание | ||||||
| Потолок | Площадь | Стены или перегородки | Площадь | Низ стен или перегородок | Площадь | |||
| Первый этаж | ||||||||
| 1 | Приёмные | Побелка | 38.37 | Силикатная окраска | 81.82 | На всю высоту | ||
| 2 | Групповые | Побелка | 106.71 | Силикатная окраска | 124.56 | На всю высоту | ||
| 3 | Спальные | Побелка | 34.48 | Силикатная окраска | 52.69 | На всю высоту | ||
| 3 | Спальня второй группы | Побелка | 35.33 | Силикатная окраска | 53.99 | На всю высоту | ||
| 4 | Актовый зал | Побелка | 78.34 | Силикатная окраска | 83.8 | На всю высоту | ||
| 5 | Кладовая инвентаря | Побелка | 7.81 | Побелка | 30.56 | На всю высоту | ||
| 6 | Кабинет заведующей | Побелка | 9.28 | Силикатная окраска | 31.52 | На всю высоту | ||
| 7 | Методологический кабинет | Побелка | 9.99 | Силикатная окраска | 32.67 | На всю высоту | ||
| 8 | Холл | Побелка | 20.10 | Силикатная окраска | 42.2 | На всю высоту | ||
| 9 | Буфетные | Побелка | 5.89 | Маслинная Окраска | 25.12 | Панель гоазурированной плитки h=2100 | 23.44 | |
| 10 | Туалетные | Побелка | 22.19 | Маслинная Окраска | 38.05 | Панель гоазурированной плитки h=1500 | 35.98 | |
| 11 | Комната персонала | Побелка | 12.73 | Силикатная окраска | 37.41 | На всю высоту | ||
| 12 | Медицинская комната | Побелка | 11.35 | Маслинная Окраска | 45.77 | На всю высоту | ||
| 13 | Палата | Побелка | 11.20 | Силикатная окраска | 43.83 | На всю высоту | ||
| 14 | Кухня | Маслинная окраска | 31.32 | Маслинная Окраска | 41.55 | Панель гоазурированной плитки h=2100 | 79.21 | |
| 15 | Заготовочный цех | Маслинная окраска | Маслинная Окраска | Панель гоазурированной плитки h=2100 | ||||
| 19 | Мойка | Маслинная окраска | Маслинная Окраска | Панель гоазурированной плитки h=2100 | ||||
| 17 | Кладовая овощей | Побелка | 4.42 | Маслинная Окраска | 19.8 | Панель гоазурированной плитки h=450 | 3.32 | |
| 18 | Загрузочная | Побелка | 4.81 | Маслинная Окраска | 10.86 | Панель гоазурированной плитки h=450 | 1.92 | |
| 20 | Гладильная | Маслинная окраска | 10.84 | Маслинная Окраска | 27.79 | На всю высоту | ||
| 21 | Кладовая чистого белья | Побелка | 5.23 | Силикатная окраска | 24.76 | На всю высоту | ||
| 22 | Постирочная | Маслинная окраска | 9.61 | Маслинная Окраска | 16.73 | Панель гоазурированной плитки h=2100 | 34.73 | |
| 23 | Хозяйственная кладовая | Побелка | 8.53 | Маслинная Окраска | 31.25 | На всю высоту | ||
| 24 | Вентиляционная камера | Побелка | 12.35 | Маслинная Окраска | 37.46 | На всю высоту | ||
| 25 | Тамбур | Побелка | 27.35 | Силикатная окраска | 89.1 | На всю высоту | ||
| 26 | Тёплый переход-аранжерея | Побелка | 65.94 | Силикатная окраска | 97.44 | На всю высоту | ||
| Бассейн | ||||||||
| 27 | Зал ванны | Побелка | 57.58 | Глазурованная плитка на всю высоту | 96.23 | На всю высоту | ||
| 28 | Вестибюль | Водоэмульсион. Покраска ВА-27А | 43.44 | Маслинная Окраска | 36.72 | На всю высоту | ||
| 28 | Раздевалки | Водоэмульсион. Покраска ВА-27А | 43.94 | Маслинная Окраска | 94.92 | На всю высоту | ||
| 30 | Кладовая спортинвентаря | Водоэмульсион. Покраска ВА-27А | 8.96 | Водоэмульсион. Покраска ВА-27А | 28.2 | На всю высоту | ||
| 31 | Комната медсестры | Водоэмульсион. Покраска ВА-27А | 5.75 | Водоэмульсион. Покраска ВА-27А | 24.12 | На всю высоту | ||
| 32 | Комната инструктора | Водоэмульсион. Покраска ВА-27А | 9.53 | Водоэмульсион. Покраска ВА-27А | 23.44 | На всю высоту | ||
| 33 | Ножные ванны-шлюзы | Побелка | 4.40 | Глазурованная плитка на всю высоту | 26.8 | На всю высоту | ||
| 34 | Душевые | Побелка | 11.84 | Побелка | 17.82 | Глазурированная плитка на h=2000 | 55.1 | |
| 35 | Пред душевые тамбуры | Побелка | 3.42 | Побелка | 7.4 | Глазурированная плитка на h=2000 | 15.06 | |
| 36 | Санузелы | Побелка | 4.40 | Побелка | 11 | Глазурированная плитка на h=2000 | 17.24 | |
| 37 | Коридорв | Водоэмульсион. Покраска ВА-27А | 6.40 | Водоэмульсион. Покраска ВА-27А | 26.3 | На всю высоту | ||
| 38 | Электрощитовая | Побелка | 5.35 | Клеевая покраска | 26.48 | На всю высоту | ||
| 39 | Кладовая уборного инвентаря | Побелка | 4.69 | Водоэмульсион. Покраска ВА-27А | 6 | На всю высоту | ||
| 40 | Лаборатория | Побелка | 9.46 | Водоэмульсион. Покраска ВА-27А | 29.96 | На всю высоту | ||
| 41 | Вентиляционная камера | Побелка | 27.52 | Клеевая покраска | 55 | На всю высоту | ||
| Гимнастический зал | Побелка | 45.12 | Маслинная Окраска | 80.6 | На всю высоту | |||
| Второй этаж | ||||||||
| 42 | Раздевалки | Побелка | 73.47 | Маслинная Окраска | 174.16 | На всю высоту | ||
| 43 | Игровые | Побелка | 201.03 | Силикатная окраска | 273.3 | На всю высоту | ||
| 44 | Спальные | Побелка | 196.65 | Силикатная окраска | 300.53 | На всю высоту | ||
| 45 | Буфетные | Побелка | 13.32 | Маслинная Окраска | 56.84 | Панель гоазурированной плитки h=2100 | 53 | |
| 46 | Туалетные | Побелка | 66.39 | Маслинная Окраска | 113.84 | Панель гоазурированной плитки h=1500 | 107.63 | |
| Лестничная клетка | Побелка | Побелка | 42.02 | На всю высоту | ||||
| Подвал | ||||||||
| Вент камера подвала | Побелка | 49.92 | Побелка | 139.64 | На всю высоту | |||
| Электрощитовая | Побелка | 40.2 | Побелка | 135.60 | На всю высоту | |||
| Помещение для укрывных материалов | Побелка | 148.33 | Побелка | 107.41 | Масянная окраска h=1500 | 134.31 | ||
| Туалет | Побелка | 6.20 | Побелка | 14 | Панель керамической плитки h=1800 | 24.3 | ||
| Экспликация полов. | Таблица | |||
| Номер помещения | Тип пола | Схема пола или тип пола по серии | Данные элемента пола (наименование, толщина, основание и т.д.), мм | Площадь, м3 |
| 16 | 1 | 1 Плитка ГОСТ 6787-89, 13 мм. 2 Прослойка из ц/п р-ра 20 мм. 3 Ж/Б плита. | 46.58 | |
| 17 | ||||
| 18 | ||||
| 25 | ||||
| 9 | 2 | 1 Плитка ГОСТ 6787-89, 13 мм. 2 Стяжка из ц/п р-ра, 20мм. 3 Гидроизол ГОСТ 7415-86, 3 мм. 4 Стяжка из ц/п р-ра М150, 20мм. 5 Ж/Б плита. | 113.46 | |
| 10 | ||||
| 14 | ||||
| 15 | ||||
| 19 | ||||
| 20 | ||||
| 22 | ||||
| л/п | ||||
| 3 | 3 | 1 Линолеум ГОСТ 862.4-87, 25мм 2 Прослойка клеев мастики, 3мм. 3 Стяжка ц/п р-ра 20 4 Стяжка ц/п р-ра, 50 мм. 5 1 слой пергамина ГОСТ 2697-83,2 мм 6 Звукоизол. Слой ДВП, 13 мм. 7 Ж/Б плита. | 155.96 | |
| 4 | ||||
| 5 | ||||
| 2 | 4 | 1 Линолеум ГОСТ 862.4-87, 5мм 2 Прослойка клеев мастики, 3мм. 3 Стяжка ц/п р-ра, 50 мм. 4 1 слой пергамина ГОСТ 2697-83,2 мм 5 Звукоизол. Слой ДВП, 13 м | 106.71 | |
| 1 | 16 | 1 Линолеум ГОСТ 18108-80, 2мм. 2 Прослойка клеевой мастики, 3 мм. 3 Стяжка ц/п р-ра В15, 20 мм. 4 Бетон монолитный В15 со стальными регистрами d=50 мм. 5 Стяжка ц/п р-ра, 15 мм. 6 Два слоя пергамина, 5 мм. 7 Стяжка ц/п р-ра, 20 мм. 5 Ж/Б плита. | 38.37 | |
| 6 | 5 | 1 Линолеум ГОСТ 18108-80, 25мм. 2 Стяжка ц/п р-ра, 40мм. 3 1 слой пергамина, 2мм. 4 Ж/Б плита. | 87.63 | |
| 7 | ||||
| 8 | ||||
| 11 | ||||
| 12 | ||||
| 13 | ||||
| 21 | ||||
| 23 | ||||
| 24 | 6 | 1 Слой цементной стяжки,1 мм. 2 Стяжка ц/п р-ра В15, 40мм. 3 Звукоизолир. Слой ДВП, 200 мм. 4 Ж/Б плита. | 12.35 | |
| 26 | 7 | 1 Щиты паркетные ГОСТ 862.4-87, 50мм. 2 Стяжка ц/п р-ра В20, 20мм. 3 Бетон монолитн. В15 со стальными регистрами, d=50мм. 4 Стяжка ц/п р-ра В15, 20 мм. 5 Ж/Б плита. | 65.94 | |
| Бассейн | ||||
| 27 | 8 | 1 Плитка ГОСТ 6787-89, 13 мм. 2 Стяжка ц/п р-ра, 20 мм. 3 2 слоя гидроизола на битумн мастике, 5 мм. 4 Стяжка ц/п р-ра, 50мм. 5 Ж/Б плита. | 95.79 | |
| 33 | ||||
| 34 | ||||
| 35 | ||||
| 36 | ||||
| 38 | ||||
| 39 | ||||
| 40 | ||||
| 28 | 9 | 1 Мозаичное бетонное покрытие В20, 20 мм. 2 Стяжка из ц/п р-ра В15, 40 мм. 3 Ж/Б плита. | 43.44 | |
| 28.1 | 10 | 1 Линолеум ГОСТ 18108-80, 25 мм. 2 Прослойка клеев. Мастики, 2 мм. 3 Стяжка ц/п р-ра В15, 70 мм. 4 1 слой пергамина ГОСТ 2697-83, 3 мм. 5 Ж/Б плита. | 68.18 | |
| 29 | ||||
| 30 | ||||
| 31 | ||||
| 32 | ||||
| 37 | ||||
| 41 | 11 | 1 Слой цементной стяжки,1 мм. 2 Стяжка ц/п р-ра В15, 40мм. 3 Ж/Б плита. | 27.52 | |
| 41.1 | 12 | 1 Доски ДП027 ГОСТ 8242-88 2 Лаги ГОСТ 24484-80Е, 100х40 мм. 3 То же, 100х80 мм. 4 Стяжка Ц/п р-ра, 20 мм. 5 Ж/Б плита. | 45.12 | |
| Второй этаж | ||||
| л/п | 13 | 1 Линолеум ГОСТ 18108-80, 5 мм. 2 Прослойка клеевой мастики, 2 мм. 3 Стяжка ц/п р-ра, 60 мм. 4 Звукоизоляционный слой ДВП, 13 мм. 5 Ж/Б плита. | 28.52 | |
| 45 | 14 | 1 Керамическая плитка ГОСТ 6787-89, 13 мм. 2 Стяжка ц/п р-ра, 20мм. 3 2 слоя гидроизола ГОСТ 7415-86, 5мм. 4 Стяжка ц/п р-ра, 20 мм. 5 Ж/Б плита. | 79.71 | |
| 46 | ||||
| 42 | 15 | 1 Линолеум ГОСТ 18108-80, 2мм. 2 Прослойка клеевой мастики, 3 мм. 3 Стяжка ц/п р-ра В15, 20 мм. 4 Бетон монолитный В15 со стальными регистрами d=50 мм. 5 Ж/Б плита. | 36.81 | |
| 43 | 17 | 1 Линолеум ГОСТ 18108-80, 2,5 мм. 2 Прослойка клеевой мастики, 2 мм. 3 Стяжка ц/п р-ра, 60 мм. 4 1 слой пергамина, 2 мм. 5 Звукоизоляционный слой ДВП 13 мм. 6 Ж/Б плита. | 434.34 | |
| 44 | ||||
| Подвал | ||||
| Венткамера | 18 | 1 Стяжка цементного р-ра, 1мм. 2 Стяжка ц/п р-ра В15, 50 мм. 3 2 слоя гидроизола, 5 мм. 4 Стяжка ц/п р-ра В15, 20 мм. 5 Ж/Б плита | 100.8 | |
| Эл.щитовая | ||||
| тамбур | ||||
| туалет | 17 | 1 Плитка ГОСТ 6787-89, 13 мм. 2 Прослойка ц/п р-ра, 30 мм. 3 2 слоя гидроизола, 5 мм. 4 Стяжка ц/п р-ра, 20 мм. 5 Ж/Б плита. | 67.5 | |
| л/п | ||||
| Помещ для одежды | ||||
| Помещ для укрываемых | 18 | 1 Доски ГОСТ 8242-88, 40мм. 2 Лаги ГОСТ 24484-80Е, 100х80 мм. 3 Подкладка под лаги 1 слой рубероида, 2 мм. 4 Стяжка Ц/п р-ра, 40 мм. 5 Ж/Б плита. | 148.3 | |
Исходные данные.
Грунты :
При расчёте фундаментов приняты грунты со следующими характеристиками :
Расчётное значение угла внутреннего трения
[[[
].Расчётное значение
[ ].Рельеф участка – спокойный , грунтовые воды расположены на глубине порядка 10 м.
Вес снегового покрова на 1мІ горизонтальной поверхности земли
[ ].
Климатический район Iв [ ].
Средняя температура периода со среднесуточной температурой воздуха меньше 8єС -6,4єС.
Средняя продолжительность периода со среднесуточной температурой воздуха меньше 8єС 226 суток.
Расчётная зимняя температура наружного воздуха -31 єС [ ].
Скорость напора ветра на высоте 10м - 23кг/мІ [ ].
II район по скоростному напору ветра [ ].
Характеристики здания.
Уровень ответственности II [ ].
Степень долговечности II [ ].
Степень огнестойкости II [ ].
Ориентация здания на северо-запад.
Сводный сметный расчет стоимости строительства
Составлен в ценах 1984г.
таблица
| №п/п | № смет и расчетов |
Наименование работ и затрат |
Сметная
стоимость
|
| 1 |
Смета №1 |
Подготовка территории строительства |
3,11 |
2 |
Объектная смета |
Строительно-монтажные работы по основным объектам строительства | 213,16 |
3 |
Сметы № 2, 3, 4, 5,6,7 |
Объекты подсобного значения | 61,32 |
| 4 | Сметы № 12,13,14 | Благоустройство и озеленение | 19,18 |
| 5 | Проектно-изыскательские работы | 17,05 | |
| 6 | Сметы № 10,13 | Прочие затраты | 49,03 |
Итого общая сметная стоимость |
362,85 | ||
Основные технико-экономические показатели проекта
таблица
| №п/п | Наименование показателя |
Ед. изм. |
Количество |
| 1 | Строительный объем здания |
м3 |
7654,32 |
| 2 | Площадь застройки |
м2 |
622,3 |
| 3 |
Общая площадь |
м2 |
1866,9 |
| 4 |
Продолжительность строительства |
месяцев |
|
| 5 |
Общая сметная стоимость объекта |
тыс. руб. |
362,85 |
| 6 | В том числе строительно-монтажных работ |
тыс. руб. |
213,16 |
| 7 | Оборудование |
тыс. руб. |
53,27 |
| 8 |
Стоимость 1 м3 здания |
руб. |
47,41 |
| 9 | В том числе по общестроительным работам |
руб. |
38,28 |
| 10 |
Стоимость 1 м2 общей площади |
руб. |
194,36 |
| 11 | Нормативная трудоемкость |
чел.-дни |
2711 |
| 12 | Сметная заработная плата |
тыс. руб. |
42,17 |
| 13 | Выработка на 1 чел.-день по строительно-монтажным работам |
тыс. руб. |
40,99 |
| Объектная смета на строительствр детского яслей-сада на 140 мест. | |||||||||||
| Сметная стоимость= | =213,16тыс. Руб. | Сметная з/п= | 52.86 | чел./час. | |||||||
| Таблица | |||||||||||
| № | № смет и расчетов | Наименование работ и затрат | Сметная стоимость, тыс.руб | нормативная трудоёмк. Т. Чел/ч. | Сметная ЗП т.р. | ||||||
| Строит. Работ | Монтажн. Работ | Оборудов. | Прочих затрат | Всего | в том числе | ||||||
| ОЗП | Экспл. Машин. | ||||||||||
| 1 | 1-1 | Общестроительные работы по подземной части здания | 23.73 | 23.73 | 8.02 | 2,46/0,94 | 2.71 | 10.18 | |||
| 2 | 1-2 | Общестроительные работы по надземной части здания | 102.19 | 102.19 | 24.00 | 7,37/2,81 | 12.74 | 30.53 | |||
| 3 | 2 | Санитарно-технические работы | 14.20 | 14.20 | 1.92 | 0,1/0,023 | 3.45 | 2.15 | |||
| 4 | 3 | Электроосвещение | 5.27 | 5.27 | 1.28 | 0,12/0,05 | 1.77 | 1.32 | |||
| 5 | 4 | Электросиловое оборудование | 1.28 | 0.07 | 1.35 | 0.22 | 0,52/0,02 | 0.23 | 0.24 | ||
| 6 | 5 | Устройства связи | 1.13 | 0.32 | 1.45 | 2.50 | 0,131/0,03 | 0.67 | 0.63 | ||
| 7 | 6 | Автоматика приточных систем | 0.16 | 0.25 | 0.41 | 1.32 | 0,11/0,05 | 2.56 | 1.68 | ||
| 8 | 7 | Технологическое оборудование | 0.43 | 0.23 | 52.61 | 53.27 | 0.68 | 0,2/0,03 | 1.32 | 0.71 | |
| Итого: | 140.55 | 8.07 | 53.25 | 201.87 | 39.94 | 241.81 | 25.45 | 47.44 | |||
| Временные здания и сооружения 1% | 1.41 | 0.08 | 0.53 | 2.02 | 0.40 | 2.42 | 0.25 | 0.47 | |||
| Нормативная трудоемкость 2,02х0,3=0,606 | 0.61 | ||||||||||
| Сметная з/п 2,02х0,19=0,38 | 0.38 | ||||||||||
| Итого | 141.96 | 8.15 | 53.78 | 203.89 | 40.34 | 244.23 | 26.31 | 48.29 | |||
| Прочие работы и затраты | |||||||||||
| Зимнее удорожание 3% | 4.26 | 0.24 | 1.61 | 6.12 | 1.21 | 7.33 | 0.79 | 1.45 | |||
| Нормативная трудоемкость 4,26х0,93=3,96 | 3.96 | ||||||||||
| Сметная з/п 4,26х0,55=2,34 | 2.34 | ||||||||||
| Итого | 146.21 | 8.40 | 55.40 | 210.01 | 41.55 | 251.55 | 31.06 | 52.08 | |||
| Непредвиденные работы и затраты 1,5% | 2.19 | 0.13 | 0.83 | 3.15 | 0.62 | 3.77 | 0.47 | 0.78 | |||
| Всего по объектной смете | 148.41 | 8.52 | 56.23 | 213.16 | 42.17 | 255.33 | 31.53 | 52.86 | |||
Overview
Sheet1Sheet2
Sheet3
Sheet 1: Sheet1
| № п/п | Обоснование ЕНИР | Наименование работ | Ед. изм. | Количество | Стоимость единицы, руб | Общая стоимость, руб | Затраты труда рабочих (чел.ч) | |||||
| всего | Основная заработная плата | Эксплуатация машин в том числе заработной платы | Всеего | Основной зароботной платы | Эксплуатация машин в том числе заработной платы | На единицу | Всего | |||||
| 1 | 2 | 3 | 4 | 5 | 6 | 7 | 8 | 9 | 10 | 11 | 12 | 13 |
| Стропила из клеёной древесины | ||||||||||||
| 1 | Монтаж стропильных ног | 1 шт | 22 | 16.7 | 6.8 | 7.2 | 367.4 | 149.6 | 158.4 | 12.1 | 266.2 | |
| 2.28 | 50.16 | |||||||||||
| 2 | Устройство прогонов из брусьев | 1м3 | 16.7 | 73.5 | 8.7 | 1.3 | 1227.45 | 145.29 | 21.71 | 14.8 | 247.16 | |
| 0.41 | 6.85 | |||||||||||
| 4 | Устройство фонарей | 1 шт | 8 | 16.3 | 3.5 | 0.3 | 130.4 | 28 | 2.4 | 6.03 | 48.24 | |
| 0.1 | 0.8 | |||||||||||
| Итого по 1: | 1725.25 | 322.89 | 182.51 | 561.6 | ||||||||
| 57.81 | ||||||||||||
| Стропила из прокатного двутавра | ||||||||||||
| 1 | Монтаж стропил металлических | 1 т | 17.5 | 41.3 | 15.4 | 11.4 | 722.75 | 269.5 | 199.5 | 24.6 | 430.5 | |
| 4.33 | 75.78 | |||||||||||
| 2 | Устройство металлических прогонов | 1 т | 11.3 | 29.2 | 14.3 | 14.3 | 329.96 | 161.59 | 161.59 | 13.5 | 152.55 | |
| 5 | 56.5 | |||||||||||
| 3 | Устройство фонарей | 1 т | 2.4 | 47.2 | 13.8 | 29.7 | 113.28 | 33.12 | 71.28 | 21.9 | 52.56 | |
| 11.6 | 27.84 | |||||||||||
| Итого по 2: | 1165.99 | 464.21 | 432.37 | 635.61 | ||||||||
| 160.12 | ||||||||||||
Sheet 2: Sheet2
| Локальный сметный расчёт на клееную деревянную конструкцию крыши здания дипломного проекта. | ||||||||||||
| Сметная стоимость | 1358.52 | сметная з/п | 794.60 | руб. | нормативная трудоёмкость | 1104.34 | чел/ч | |||||
| Таблица | ||||||||||||
| № п/п | Обоснование ЕРЕР | Наименование работ | Ед. изм. | Количество | Стоимость единицы, руб | Общая стоимость, руб | Затраты труда рабочих (чел.ч) | |||||
| всего | Основная заработная плата | Эксплуатация машин в том числе заработной платы | Всего | Основной заработной платы | Эксплуатация машин в том числе заработной платы | На единицу | Всего | |||||
| 1 | 2 | 3 | 4 | 5 | 6 | 7 | 8 | 9 | 10 | 11 | 12 | 13 |
| 1 | 10-70 | Монтаж стропильных ног | 1 шт | 22 | 16.7 | 6.8 | 7.2 | 367.4 | 149.6 | 158.4 | 12.1 | 266.2 |
| 2.28 | 50.16 | |||||||||||
| 2 | 10-3 | Устройство прогонов из брусьев | 1м3 | 16.7 | 73.5 | 8.7 | 1.3 | 1227.45 | 145.29 | 21.71 | 14.8 | 247.16 |
| 0.41 | 6.85 | |||||||||||
| 4 | 10-71 | Устройство фонарей | 1 шт | 8 | 16.3 | 3.5 | 0.3 | 130.4 | 28 | 2.4 | 6.03 | 48.24 |
| 0.1 | 0.8 | |||||||||||
| 5 | 10-248 | Устройство кровли из плоских металлич. листов. | 1 м2 | 746.64 | 0.61 | 0.31 | 0.04 | 455.45 | 231.46 | 29.87 | 0.57 | 425.58 |
| 0.01 | 7.47 | |||||||||||
| 6 | 10-211 | Антисептирование | 100м2 | 2.34 | 12.60 | 0.03 | 0.02 | 29.48 | 0.08 | 0.05 | 0.61 | 1.43 |
| 0.01 | 0.02 | |||||||||||
| 7 | СЗСЦ | Стоимость клеёных деревянных констр. | 1 м3 | 41.2 | 98 | 4037.6 | ||||||
| Итого прямых затрат | 6247.78 | 554.43 | 212.42 | 34.11 | 988.61 | |||||||
| 65.30 | ||||||||||||
| Отклонение по з/п 212.42х0.15=31,86 | 31.86 | 31.86 | ||||||||||
| 65,3х0.15=9,795 | 9.8 | 9.8 | ||||||||||
| Итого прямых затрат с коэффициентом 1,15 | 6289.44 | 586.29 | 222.22 | |||||||||
| 75.09 | ||||||||||||
| Накладные расходы 20% | 1257.89 | |||||||||||
| Нормативная трудоемкость в накладных расходах 1257,88х0,092=115,73 | 115.73 | |||||||||||
| Сметная з/п в накладных расходах 1157,25х0,18=208,31 | 208.31 | |||||||||||
| Итого сметная себестоимость | 1257.89 | |||||||||||
| Плановые накопления 8% | 100.63 | |||||||||||
| Всего сметная стоимость в ценах 1984г. | 1358.52 | 222.22 | ||||||||||
| 75.09 | ||||||||||||
| Всего нормативная трудоемкость чел.час. | 1104.34 | |||||||||||
| Всего сметная з/п, руб. | 794.60 | |||||||||||
Sheet 3: Sheet3
| Локальный сметный расчёт на металлическую конструкцию крыши здания дипломного проекта. | ||||||||||||
| Сметная стоимость | 2385.58 | сметная з/п | 1173.61 | руб. | нормативная трудоёмкость | 1195.35 | чел/ч | |||||
| Таблица | ||||||||||||
| № п/п | Обоснование ЕРЕР | Наименование работ | Ед. изм. | Количество | Стоимость единицы, руб | Общая стоимость, руб | Затраты труда рабочих (чел.ч) | |||||
| всего | Основная заработная плата | Эксплуатация машин в том числе заработной платы | Всего | Основной заработной платы | Эксплуатация машин в том числе заработной платы | На единицу | Всего | |||||
| 1 | 2 | 3 | 4 | 5 | 6 | 7 | 8 | 9 | 10 | 11 | 12 | 13 |
| 1 | 9-10 | Монтаж стропил металлических | 1 т | 17.5 | 31.3 | 15.4 | 11.4 | 547.75 | 269.5 | 199.5 | 24.6 | 430.5 |
| 4.33 | 75.78 | |||||||||||
| 2 | 9-94 | Устройство металлических прогонов | 1 т | 11.3 | 29.2 | 14.3 | 14.3 | 329.96 | 161.59 | 161.59 | 13.5 | 152.55 |
| 5 | 56.5 | |||||||||||
| 3 | 9-112 | Устройство фонарей | 1 т | 2.4 | 47.2 | 13.8 | 29.7 | 113.28 | 33.12 | 71.28 | 21.9 | 52.56 |
| 11.6 | 27.84 | |||||||||||
| 4 | 9-8 | Установка высокопрочных болтов | 100 шт | 1.76 | 15.2 | 11.6 | 0.87 | 26.75 | 20.42 | 1.53 | 19.4 | 34.14 |
| 0.26 | 0.46 | |||||||||||
| 5 | 9-9 | Электродуговая сварка | 1 т | 34.43 | 7.63 | 1.94 | 3.63 | 262.7 | 66.79 | 124.98 | 2.56 | 88.14 |
| 1.09 | 37.53 | |||||||||||
| 6 | 9-25 | Устройство кровли из профнастила | 100 м2 | 7.46 | 15.3 | 18.1 | 5.13 | 114.14 | 135.03 | 38.27 | 31.4 | 234.24 |
| 3.11 | 23.2 | |||||||||||
| 7 | СЗСЦ | Стоимость конструк покрытия здания из прокатных профилей | 1т. | 17.5 | 544.4 | 9527 | ||||||
| Итого прямых затрат | 10921.58 | 686.45 | 597.15 | 992.14 | ||||||||
| 221.3 | ||||||||||||
| Отклонение по з/п 597,15х0.15=89,57 | 89.57 | 89.57 | ||||||||||
| 221,3х0.15=33,195 | 33.2 | 33.2 | ||||||||||
| Итого прямых затрат с коэффициентом 1,15 | 11044.35 | 776.02 | 630.35 | |||||||||
| 254.50 | ||||||||||||
| Накладные расходы 20% | 2208.87 | |||||||||||
| Нормативная трудоемкость в накладных расходах 2208,87х0,092=203,22 | 203.22 | |||||||||||
| Сметная з/п в накладных расходах 2208,87х0,18=397,6 | 397.6 | |||||||||||
| Итого сметная себестоимость | 2208.87 | |||||||||||
| Плановые накопления 8% | 176.71 | |||||||||||
| Всего сметная стоимость в ценах 1984г. | 2385.58 | 630.35 | ||||||||||
| 254.50 | ||||||||||||
| Всего нормативная трудоемкость чел.час. | 1195.35 | |||||||||||
| Всего сметная з/п, руб. | 1173.61 | |||||||||||
Вариантное проектирование.
Производится сравнение по экономическим показателям двух вариантов конструктивного решения здания детского яслей-сада:
С крышей по металлическим наслонным стропилам
С крышей по наслонным стропилам из клеёной древесины.
Характеристика конструктивного решения для 1 варианта:
Конструкция крыши представляет собой: металлические наслонные стропила из прокатного двутавра опирающиеся на стены через металлические балки. Конструкция кровли опирается на стропила через металлические прогоны. Кровля состоит из профилированного настила. Водосток – наружный.
Характеристика конструктивного решения для 2 варианта:
Конструкция крыши представляет собой: деревянные наслонные стропила из клеёной древесины опирающегося на стены через деревянные мауэрлаты. Кровля опирается на стропила через деревянную обрешётку. Кровля состоит из плоского оцинкованного кровельного железа. Водосток – наружный.
Расчётные схемы обоих вариантов – идентичны.
Сравнение вариантов производится по общей стоимости конструкции.
Показатели по вариантам
Составлены в ценах 1984г. таблица
| Показатель | Ед. изм. |
1-й вариант |
2-й вариант |
| Общая сметная стоимость |
тыс. руб. |
215545,58 |
214518,52 |
| Трудоемкость | чел.-дни | 183,5 | 138,1 |
Расчёт показателей по обоим вариантам производится по всем видам работ при монтаже конструкции, так же по стоимости самой конструкции. По локальной смете вычисляется стоимость материалов и работ.
Таким образом, получаем снижение стоимости при устройстве крыши из клеёной древесины на 1 % всего проекта и на
Следовательно, устройство второго варианта конструкций экономически и технически обосновано.
Выбор кранов для монтажа конструкций.
Выбор крана для монтажа сборных элементов здания производится с учётом требуемой высоты подъёма элементов сборных конструкций, веса монтажного элемента и стропующих устройств, необходимого вылета стрелы монтажного крана, технических и технико-экономических показателей их работы.
Определение необходимой грузоподъёмности крана.
Для самоходных стреловых кранов необходимо определить:
- требуемую
грузоподъёмность
крана,
т.
- высоту
головки стрелы
крана,
м.
- минимальный
вылет стрелы
крана,
м.
- максимальный
вылет стрелы
крана,
м(принимаем
по справочнику
для крана с
подобранными
и
).
Грузоподъёмность
крана
определяем
по формуле для
тяжёлых элементов
каждой группы
конструкций:
![]()
где:
- масса
монтируемого
элемента,
т
-
масса
такелажного
приспособления,
т
-
масса
конструкций
усиления,
т
-
масса
монтажных
приспособлений,
устанавливаемых
на
монтируемых элементах до подъёма, т
-
учитывает
отклонение
фактической
массы элементов
от
проектной(расчётной).
Высоту
головки стрелы
определяют
по формуле:
![]()
где:
- превышение
опоры монтируемого
элемента над
уровнем стоянки
крана, м
- высота
элемента над
опорой:![]()
- высота(толщина,
ширина)
монтируемого
элемента,
м
- высота
строповки
- высота
полиспаста(при
отсутствии
данных
)
Минимальный
вылет стрелы
крана
зависит от
положения
монтируемого
элемента и
принятой схемы
монтажа:
![]()
где:
- минимальное
расстояние
от конструкций
стрелы до
монтируемого
элемента(
)
-
величина
части конструкций,
выступающей
от центра строповки
в
сторону стрелы крана
- половина
толщины конструкции
стрелы крана
на уровне
вероятных
касаний(
)
- высота
шарнира пяты
стрелы над
уровнем стоянки
крана(
)
- расстояние
по горизонтали
от оси вращения
крана до оси
шарнира
пяты
крана(
)
Расчёт:
Монтаж стропил:
![]()
![]()
![]()
Монтаж плит покрытия:
![]()
![]()
![]()
По наибольшим техническим показателям принимаем кран МКП-25 на пневмоколесном ходу.
Экономический расчёт монтажного механизма.
Для монтажа конструкций здания производится краном МКП-25
Показатель приведённых затрат:
,
где
С – себестоимость
работ;
–
нормативный
коэффициент
сравнительной
экономической
эффективности.
к – балансовая стоимость машины.
–
количество
часов работы
машины на объекте.
– нормативное
число работы
машины в году.
;
– коэффициент
учитывающий
накладные
расходы.
–
время
рабочего цикла.
–
единовременные
затраты, связанные
с перевозом,
монтажом и
демонтажем.
![]()
– годовые
затраты (
,
где
– норма амортизационных
отчислений).
–
текущие
затраты.
–
стоимость
технического
обслуживания
и технического
ремонта.
–
стоимость
ремонта и замены.
–
стоимость
энергоматериалов.
–
стоимость
смазочных
материалов.
–
заработная
плата машинистов.
;
;
;
;
![]()
![]()
![]()
Подсчёт объёмов земляных работ.
В здании приняты сборные ленточные фундаменты из фундаментных плит ГОСТ 13580-85 и фундаментные блоки ГОСТ 13579-78. Фундаменты под здание детского яслей-сада используется 2-х типов:
под наружные несущие стены двухэтажного здания детского яслей-сада и лестничной клетки.
Под все стены одноэтажных зданий и внутренние стены двухэтажного здания.
Левое крыло детского яслей-сада имеет подвальное помещение. Под подвал разрабатывается котлован. Под остальные помещение разрабатываются траншеи для монтажа сборного ленточного фундамента.

Объём фундамента первого и второго типа:
Сечение:
S1=0,6·0,6·3+1,2·0,3-0,01=1,43 мІ.
S2=0,6·0,4·3+1·0,3-0,01=1,01 мІ.
Длина фундамента 1) типа l=127,16 м.
Длина фундамента 2) типа l=240,88 м.
Суммарный объём: фундаментов 1) типа
V1=1,43·127,16=181,84 мі
Фундаментов 2) типа
V2=1,01·240,88=243,29 мі
Подсчёт объёмов грунта при разработке траншей:
Траншея под фундамент первого типа:
объем
выемки:
,
где
;
;
;
-
расстояние
по дну траншеи;
d- расстояние по верху траншеи.
.
Траншея под фундамент второго типа:
.
Котлован под устройство подвала:
Объём подвала:
V=a · b · h=19,1·13,5·1,8=464,13 мі
Общий объём выемки:
.
Объем грунта для обратной засыпки:
,
где
.
Объём вывозимого грунта:
.
Таблица
8
Карточка-определитель
работ и ресурсов
сетевого графика
|
Предшеств. работа |
Шифр работы |
Описание работ |
Трудоемкость |
Прод.работ дн. |
Исполнители |
Кол-во смен |
Потребн. в стр. мех-ах |
Потребность в материалах |
||||||||
|
нач |
кон. |
|
|
Наим. орг. |
Бригада и спец.-ть |
Кол-во раб. в смену |
Наим. |
Кол-во |
Наим. |
Ед. изм. |
Кол-во |
Поставщик |
||||
| 0 | 1 |
|
307 | 15 | Строительный трест | Землекоп | 10 | 2 | Строительный трест | |||||||
| 1 | 1 | 2 |
|
54 | 6 | Машинист | 9 | 2 | экскаватор Э-5015А | 1 | ||||||
| 2 | 2 | 3 |
|
202 | 25 | Бетонщики | 5 | 2 | бетон |
М3 |
164,22 | |||||
| 3 | 3 | 4 |
|
705 | 50 | Бетонщики | 7 | 2 | бетон |
М3 |
164,22 | |||||
| 4 | 6 | 4 |
|
470 | 34 | Машинист | 7 | 2 |
Д-259 |
1 | ||||||
| 5 | 8 | 6 |
|
131 | 10 | 6 | 2 | |||||||||
| 6 | 6 | 8 |
|
88 | 8 | Монтажники | 6 | 2 | МКГ-25БР | 1 |
Жбк Бетон Электроды |
Шт. М3 Кг. |
211 13,13 22,96 |
|||
| 7 | 4 | 5 |
|
427 | 67 | 7 | 1 | |||||||||
| 9 | 9 | 14 |
|
92,7 | 15 | 3 | 2 | |||||||||
| 10 | 8 | 11 |
|
107 | 13 | 4 | 2 | |||||||||
| 11 | 14 | 18 |
|
60 | 8 | 4 | 2 | |||||||||
| 12 | 11 | 13 |
|
269 | 22 | 6 | 2 | |||||||||
| 13 | 5 | 15 |
|
94,5 | 12 | 4 | 2 | |||||||||
| 14 | 10 | 12 |
|
71 | 7 | 5 | 2 | |||||||||
| 15 | 13 | 17 |
|
125 | 21 | 3 | 2 | |||||||||
| 16 | 12 | 16 |
|
180 | 13 | 7 | 2 | |||||||||
| 17 | 15 | 26 |
|
18 | 6 | 3 | 1 | |||||||||
| 18 | 16 | 19 |
|
83 | 8 | 5 | 2 | |||||||||
| 19 | 17 | 21 |
|
138 | 17 | 4 | 2 | |||||||||
| 20 | 17 | 20 |
|
150 | 19 | 4 | 2 | |||||||||
| 21 | 19 | 22 |
|
92 | 9 | 5 | 2 | |||||||||
| 22 | 21 | 23 |
|
105 | 26 | 7 | 1 | |||||||||
| 23 | 21 | 24 |
|
50 | 10 | 5 | 1 | |||||||||
| 24 | 24 | 25 |
|
50 | 10 | 5 | 1 | |||||||||
|
Строительный трест | Монтажники | 4 | 2 | КС-4362 | 1 |
Жбк Бетон Цем.раств. Электроды |
Шт. М3 М3 Кг. |
198 0,69 4,13 121,23 |
Строительный трест | ||||||
|
изолировщики | 12 | 2 | Кран «Пионер» | 1 |
Цем.раств Рулонные материалы |
М3 М2 |
34,7 10432,8 |
||||||||
|
12 | 2 | Кран «Пионер» | 1 |
Цем.раств Рулонные материалы |
М3 М2 |
34,7 10432,8 |
|||||||||
|
стекольщики | 7 | 1 | Стекло |
М2 |
320,38 | ||||||||||
|
стекольщики | 7 | 1 | Стекло |
М2 |
320,38 | ||||||||||
|
электросварщик | 2 | 1 |
Бетон Электроды |
М3 Кг. |
1,16 1,48 |
||||||||||
|
штукатуры | 7 | 2 | Цем.раств. |
М3 |
66,75 | ||||||||||
|
штукатуры | 7 | 2 | Цем.раств. |
М3 |
66,75 | ||||||||||
|
маляр | 7 | 1 |
Олифа Колер |
Кг. Кг. |
128,42 381,09 |
||||||||||
|
маляр | 7 | 1 |
Олифа Колер |
Кг. Кг. |
128,42 381,09 |
||||||||||
|
бетонщики | 3 | 2 | Бетон |
М3 |
231,33 | ||||||||||
|
бетонщики | 3 | 2 | Бетон |
М3 |
231,33 | ||||||||||
|
бетонщики | 3 | 1 | Бетон |
М3 |
462,67 | ||||||||||
коммуникации |
10 | 1 | ||||||||||||||
|
Строительный трест | 13 | 2 | Строительный трест | ||||||||||||
|
13 | 2 | ||||||||||||||
|
4 | 2 | ||||||||||||||
|
4 | 2 | ||||||||||||||
|
5 | 2 | ||||||||||||||
|
5 | 2 | ||||||||||||||
|
11 | 3 | ||||||||||||||
|
11 | 3 | ||||||||||||||
|
7 | 1 | ||||||||||||||
|
8 | 2 | ||||||||||||||
|
5 | 1 | ||||||||||||||
Контроль выполнения работ по устройству сборного железобетонного фундамента.
Таблица
|
Контролируемые параметры |
Допуск, мм. |
Методы контроля |
|
Толщина конструкции |
15 |
Измерительный, журнал работ. |
|
Отметки опорных поверхностей |
10 |
Измерительный, журнал работ. |
|
Ширина проёмов |
5 |
Измерительный, журнал работ. |
|
Отклонение поверхности, и углов от вертикали |
10 |
Исполнительная схема. |
|
Отклонение конструкций по горизонтали на 10 м длины стены |
15 |
Техосмотр, геодезический, исполнительная схема. |
|
Неровности на кладке на 2 метра длины рейки |
10 |
Техосмотр, журнал работ. |
|
Сборные конструкции, отклонение от симметрии (половина разницы глубины опирания концов элементов) при устройстве плит перекрытия направлении пролёта |
6 |
Измерительные |
|
Разница отметки двух смежных плит |
10 |
Измерительный |
Ведомость подсчёта объемов работ.
| № |
Наименование видов работ и конструкций |
ед. из. |
Кол-во (объём) |
Формула подсчета |
|
1 |
2 |
3 |
4 |
5 |
|
|
Планировка площадки и срезка растительного слоя грунта бульдозером, с перемещением до 3040 м, высота срезки – 015 м, грунт 1 группы. |
МІ Мі |
6000 900 |
а = 75 м b = 80 м F = a · b = 6000 V= F · 0.2 = 900 |
|
|
Механизированная разработка грунта в траншеях и котловане одноковшовым экскаватором
|
Мі |
3929 3402 527 |
Данные взяты из расчёта объёмов работ |
|
|
Ручная доработка грунта в траншеях |
Мі |
118 |
V - 3% от объема грунта траншеи |
|
|
Обратная засыпка грунта в пазухи фундамента бульдозером с перемещением грунта до 30 м |
Мі |
3062 |
V - 90% от объема разрыхлённого грунта в отвале |
|
|
Механизированное уплотнение грунта грунтоуплотняющими машинами |
Мі |
2933 |
Vв отвал /116 |
|
|
Устройство горизонтальной г.и. |
МІ |
771 |
|
|
|
Устройство сборных ленточных фундаментов:
|
Мі |
182 243 |
Данные взяты из расчёта объёмов работ |
|
|
Монтаж плит перекрытия |
Шт |
295 |
По спецификации |
|
|
Монтаж лестничных: Маршей Площадок |
Шт. |
12 8 |
По спецификации |
|
|
Кирпичная кладка стен |
Мі |
964 |
|
|
|
Монтаж гипсовых перегородок |
МІ |
245 |
По спецификации |
|
|
Монтаж:
|
шт |
84 14 |
По спецификации |
|
|
Наружная отделка здания |
МІ |
1351 |
|
|
|
Внутренняя отделка потолков помещений |
1671,48 |
По спецификации |
|
|
|
Внутренняя отделка стен помещений |
МІ |
3069,06 |
По спецификации |
|
|
Нарезка и вставка стекол |
МІ |
433 |
Площадь остекления |
|
|
Масляная окраска оконных проёмов |
МІ |
126 |
S = Sстекло ·26 |
|
|
Масляная окраска дверных полотен |
МІ |
203 |
S = Sпр ·24 |
|
|
Устройство полов |
МІ |
1803 |
S = Sпола |
|
|
Устройство кровли из составляющих слоев |
МІ |
3694,8 |
|
Основные положения по организации и планированию строительства объекта.
В основе организации и планирования производства работ на строительном объекте лежит поточный метод, главными принципами которого являются непрерывность и ритмичность производственного процесса, а так же планомерность выполнения отдельных видов работ. В сочетании с высокой степенью сборности здания этот метод наиболее эффективен. Одновременное выполнение работ бригадами или звеньями рабочих на разных захватках позволяет выполнять необходимый объём работ на одной захватке и подготовку следующей операции, тем самым резко сокращая сроки производства работ. При данном методе работы ведутся комплексными или специализированными бригадами, имеющими постоянный состав, а значит высокое качество выполняемых работ.
Кроме этого эффективность поточного строительства выражается в равномерном и наиболее полном использовании трудовых и материально-технических ресурсов производства на протяжении всего срока строительства. Последовательность строительства зданий и сооружения определяется требованиями технологии производства. Организация строительства здания поточным методом требует предварительной разработки организационно-технологической схемы строительства и выбора производства работ. Взаимосвязь и последовательность выполнения строительных и монтажных работ с принятыми технологическими и организационными методами отражается в организационных моделях, одной из которых является сетевая. Она даёт возможность выбрать оптимальный вариант выполнения работ, использовать все резервы и оперативно варьировать ими в ходе строительства.
Возможность применения сетевой модели на ЭВМ и преимущества сетевых графиков перед остальными дали широкое распространение выше изложенным методам работы и технологиям производства.
Определение потребности во временных зданиях и сооружениях.
Наибольшее число работающих согласно сетевому графику - 23 человек. Кроме того, добавляем работников:
Инженерно - технические работники - 11% (принимаем 3 чел)
Младший обслуживающий персонал - 15%(принимаем 1чел)
Служащие – 36%(принимаем 1чел)
Общее
количество
человек:
,
где
.
Расчёт площадей временных зданий.
Таблица
|
|
Наименование помещения | Количество работающих | Процент пользующихся данным помещением | Расчётное количество рабочих | Норма на 1 рабочего, мІ | Расчётная площадь, мІ | Тип временного здания |
Размеры здания, м |
| 1 | 2 | 3 | 4 | 5 | 6 | 7 | ||
|
Контора | 3 | 100 | 3 | 4 | 12 | Передвижной вагон |
62,7 |
|
Душевая | 30 | 50 | 15 |
054 |
8,1 | Передвижной вагон |
3,32,7 |
|
Сушилка | 30 | 40 | 12 |
02 |
2,4 | Передвижной вагон |
2,22,2 |
|
Помещение для обогрева или защиты от солнечной радиации | 30 | 50 | 15 |
01 |
1,5 | Передвижной вагон (2 шт.) |
2,22,2 |
|
Столовая | 30 | 50 | 15 | 0,8 | 12 | ||
|
Туалет | 30 | 100 | 30 |
01 |
3 | Контейнерный |
22 |
|
|
Бытовка | 30 | 70 | 21 | 0,7 | 14,7 | Передвижной вагон |
63.3 |
|
Кладовые | - | - | - | - | 18,04 | Передвижной вагон (2 шт.) |
4,12,2 |
|
|
Всего: | 72,5 |
Определение потребности во временных зданиях и сооружениях.
Наибольшее число работающих согласно сетевому графику - 60 человек. Кроме того добавляем работников:
Инженерно - технические работники - 11% (принимаем 7чел)
Младший обслуживающий персонал - 15%(принимаем 1чел)
Служащие – 36%(принимаем 2чел)
Общее
количество
человек:
,
где
.
Расчёт площадей временных зданий.
| № | Наименование помещения | Количество работающих | Процент пользующихся данным помещением | Расчётное количество рабочих | Норма на 1 рабочего, мІ | Расчётная площадь, мІ | Тип временного здания |
Размеры здания, м |
| 1 | 2 | 3 | 4 | 5 | 6 | 7 | ||
|
Контора | 10 | 100 | 10 | 4 | 40 | Передвижной вагон (2 шт.) |
92,7 |
|
Душевая | 74 | 50 | 37 |
054 |
19,98 | Передвижной вагон |
8,53,1 |
|
Сушилка | 74 | 40 | 30 |
02 |
6 | Передвижной вагон |
7,82,6 |
|
Помещение для обогрева или защиты от солнечной радиации | 74 | 50 | 37 |
01 |
3,7 | Передвижной вагон (2 шт.) |
92,7 |
|
Столовая | 74 | 50 | 37 | 0,8 | 29,6 | ||
|
Туалет | 74 | 100 | 87 |
01 |
8,7 | Контейнерный |
63 |
|
|
Медпункт | -- | -- | -- | -- | 24,3 | Передвижной вагон |
92,7 |
|
|
Бытовка | 87 | 70 | 61 | 0,7 | |||
|
|
||||||||
|
|
Расчёт площадей складов.
Площадь складов рассчитывается по количеству материалов:
Qзап=(Qобщ··/Т)·n·k,
где Qзап-запас
материалов
на складе
Qобщ-общее количество материалов, необходимых для строительства
-коэффициент неравномерности поступления материалов на склад =1,1
n-норма запасов материала в днях
Т-продолжительность расчетного периода
к-коэффициент неравномерности потребления материалов=1.3
Полезная площадь склада без проходов
F= Qзап/q
где q-количество материалов, укладываемое на 1 м2 площади склада
Общая площадь склада S=F/
где -коэффициент его использования, характеризующейся отношением полезной площади склада к общей (коэффициент на проходы)
| № | Наименование элемента | Тип | Единицы измерения | Потребное количество | Проодолжительность раччетного периода | Запас в днях |
Qзап |
Норма хранения на 1мІ | Полезная площадь, мІ |
|
Расчётная площадь, мІ |
| 1 | 2 | 3 | 4 | 5 | 6 | 7 | 9 | 10 | 13 | 14 | |
|
|
Колонны | Откр. | мі | 201,4 | 2,5 |
08 |
16916 |
13 |
282 | ||
|
|
Фермы | Откр. | мі | 206,5 | 9 |
03 |
62 |
13 |
1034 |
||
|
|
Фундаментные балки | Откр. | мі | 28,52 | 1 | 0,3 | |||||
|
|
Панели стен | Откр. | мі | 1039,02 | 14 |
05 |
17112 |
13 |
2852 |
||
|
|
Подкрановые балки | Откр. | т | 115,2 | 4,5 |
04 |
9295 |
13 |
155 | ||
|
|
Плиты покрытия | Откр. | мі |
26964 |
4,5 |
05 |
12012 |
13 |
2002 |
||
|
|
Рулонные материалы | Навес | мІ | 22680 | 11,5 | 20 |
134 |
13 |
223 |
||
|
|
Стекло | Закр. | мІ | 806,4 | 3,5 | 200 |
54 |
13 |
9 | ||
|
|
Кирпич | Откр. | тыс. шт | 32907 | 4 | 0,7 |
Расчет
потребности
строительства
в воде.
Полная потребность в воде:
![]()
Определение расхода воды на производственные нужды:
- потребность
воды на производственные
нужды.
- коэффициент
неравномерности
потребления
воды.
Работа экскаватора: одна машина - 600(л)
Заправка экскаватора: одна машина – 80(л)
Заправка и обмывка трактора: одна машина – 350(л)
Поливка щебня: 90.72·5=454(л)
Штукатурные работы: 5467 · 7 = 38270
Малярные работы: 10343·05 = 5171(л)
![]()
Определение расхода воды на хозяйственные нужды:
![]()
,
где 60
– максимальное
количество
работающих
в один день;
20 – норма расхода
воды на одного
человека в
день.
.
Определение расхода воды на душевые:
Секундный
расход воды
на душевые
установки:
![]()
;
.
Определение расхода воды на противопожарные мероприятия:
На строительной
площадке
предусмотрено
два гидранта
расходом по
.
Таким образом
.
![]()
Определение диаметра трубопровода для временного водопровода:

Обеспечение строительной площадки электричеством.
Мощность силовой установки для производственных нужд:
,
где
- коэффициент
мощности, зависящий
от загрузки
- коэффициент
спроса электроэнергии.
Мощность установок для производственных нужд
|
Механизмы |
Ед.изм |
Кол-во |
Мощность электродвигателей, кВт |
Общая мощность, кВт |
| Кран МКГ-25 БР | шт. | 1 | 40 | 40 |
| Штукатурный агрегат | шт. | 1 | 5,25 | 5,25 |
| Электрокраскопульт | шт. | 3 | 0,27 | 0,81 |
| Поверхностный вибратор ИВ-91 | шт. |
2 |
0,6 | 1,2 |
| Глубинный вибратор И-18 | шт. | 2 | 0,8 | 1,6 |
| Сварочный аппарат ТД-306 | шт. | 2 | 20 | 40 |
| Итого: | 88.86 |
Расчет
ведем по максимальному
значению Р=82,8
кВт
.
Мощность сети наружного освещения:
![]()
![]()
![]()
![]()
;
;
![]()
Мощность сети внутреннего освещения:
|
Потребители эл.энергии |
Ед.изм. |
Кол-во |
Норма освещенности, кВт |
Мощность, кВт |
| Контора |
|
0.48 | 1,5 | 0.7 |
| Душевая | 0.26 | 1,0 | 0.3 | |
| Сушилка | 0.20 | 1,0 | 0.2 | |
| Помещение для обогрева | 0.48 |
1,0 |
0.5 | |
| Столовая | ||||
| Туалет | 0.18 | 1,0 | 0.2 | |
| Медпункт | 0.24 | 1,3 | 0.3 | |
| Бытовка | 0.37 | 1,5 | 0.5 | |
| Кладовые | 0.18 | 1,0 | 0.2 | |
| Итого: | 2.9 |
![]()
Мощность
трансформатора:
.
Принимаем 2 трансформатора ТМ-30/6 (мощность 30 кВт, масса 465 кг)
и ТМ-50/6 (мощность 50 кВт масса 580 кг).
Расчёт
площадей складов.
Площадь складов рассчитывается по количеству материалов:
Qзап=(Qобщ··/Т)·n·k,
где Qзап
-
запас
материалов
на складе
Qобщ - общее количество материалов, необходимых для строительства
- коэффициент неравномерности поступления материалов на склад =1,1
n - норма запасов материала в днях
Т - продолжительность расчетного периода
К - коэффициент неравномерности потребления материалов=1.3
Полезная площадь склада без проходов
F= Qзап/q
где q - количество материалов, укладываемое на 1 м2 площади склада
Общая площадь склада S=F/
где
-
коэффициент
его использования,
характеризующейся
отношением
полезной площади
склада к общей
(коэффициент
на проходы)
|
|
Наименование элемента | Тип | Единицы измерения | Потребное количество | Проодолжительность расчетного периода | Запас в днях |
Qзап |
Норма хранения на 1мІ | Полезная площадь, мІ |
|
Расчётная площадь, мІ |
| 1 | 2 | 3 | 4 | 5 | 6 | 7 | 9 | 10 | 13 | 14 | |
|
|
Фундаментные блоки | Откр. | мі | 425 | 1 | 5 | -- | 0,3 | -- | 0,5 | -- |
|
|
Плиты перекрытия | Откр. | Шт. | 295 | 8 | 2 | 96.4 |
05 |
192.79 | 0,5 | 385.58 |
|
|
Рулонные материалы | Навес | МІ | 2280 | 8 | 5 | 20272.83 | 200 | 101.36 | 0,6 | 168.9 |
|
|
Стекло | Закр. | МІ | 806,4 | 22 | 5 | 262.08 | 200 | 1.31 | 0,4 | 3.28 |
|
|
Древесина | Навес | Мі | 47,09 | |||||||
|
|
Кирпич | Откр. | тыс. шт | 64,267 | 4 | 2 | 23,5 | 0,7 | 33,6 | 0,5 | 67,2 |
| 10. | Итого 2274.94 | ||||||||||
Расчёт
площадей складов.
Площадь складов рассчитывается по количеству материалов:
Qзап=(Qобщ··/Т)·n·k,
где Qзап-запас
материалов
на складе
Qобщ - общее количество материалов, необходимых для строительства
- коэффициент неравномерности поступления материалов на склад =1,1
n - норма запасов материала в днях
Т - продолжительность расчетного периода
К - коэффициент неравномерности потребления материалов=1.3
Полезная площадь склада без проходов F= Qзап/q
где q - количество материалов, укладываемое на 1 м2 площади склада
Общая площадь склада S=F/
где - коэффициент его использования, характеризующейся отношением полезной площади склада к общей (коэффициент на проходы)
Таблица
|
|
Наименование элемента |
Тип |
Единицы измерения |
Потребное количество |
Проодолжительность раччетного периода |
Запас в днях |
Qзап |
Норма хранения на 1мІ |
Полезная площадь, мІ |
|
Расчётная площадь, мІ |
|
1 |
2 |
3 |
4 |
5 |
6 |
7 |
8 |
9 |
10 |
11 |
12 |
|
1. |
Фундаментные балки |
Откр. |
Мі |
425 |
1 |
5 |
1397,8 |
2,3 |
607,8 |
0,5 |
1215,5 |
|
2. |
Лестничные марши |
Откр. |
Мі |
24 |
2,3 |
5 |
7,5 |
0,5 |
14,9 |
0,5 |
29,8 |
|
3. |
Лестничные площадки |
Откр. |
Мі |
36 |
2,3 |
5 |
11,2 |
0,5 |
22,4 |
0,5 |
44,8 |
|
4. |
Плиты перекрытия |
Откр. |
Мі |
269,64 |
4 |
5 |
48,2 |
0,5 |
96,4 |
0,5 |
192,8 |
|
5. |
Вата минеральная в плитах |
Закр. |
Мі |
279 |
4 |
5 |
199,5 |
2 |
99,7 |
0,7 |
142,5 |
|
6. |
Плиты гипсовые |
Навес |
Мі |
29,4 |
4 |
5 |
21,0 |
2 |
10,5 |
0,6 |
17,5 |
|
7. |
Линолеум |
Закр. |
МІ |
734 |
1 |
5 |
83969,6 |
80 |
1049,6 |
0,7 |
1499,5 |
|
8. |
Рубероид |
Навес |
МІ |
1270 |
1,5 |
5 |
242146,7 |
200 |
1210,7 |
0,6 |
2017,9 |
|
9. |
Древесина |
Навес |
Мі |
32 |
2 |
5 |
45,8 |
2 |
22,9 |
0,6 |
38,1 |
|
10. |
Сталь кровельная |
Откр |
Т. |
1,8 |
1 |
5 |
2,6 |
1 |
2,6 |
0,5 |
5,1 |
|
11. |
Стекло |
Закр. |
МІ |
433 |
1 |
5 |
123838,0 |
200 |
619,2 |
0,7 |
884,6 |
|
12. |
Кирпич |
Откр. |
Тыс. шт |
64,427 |
4 |
5 |
16,1 |
0,7 |
23,0 |
0,5 |
46,1 |
|
10. |
Итого |
6146,2 |
|||||||||
Техника безопасности.
Зеленные работы выполняют в полном соответствии с проектом производства работ с соблюдением СНиП III-4-90 «Техник безопасности в строительстве» и СНиП III-8- «Земляные сооружения. Правила производства и приёмки работ».
До начала земляных работ необходимо получить разрешение на право их производства от тех организаций, в ведении которых находится подземные коммуникации. После получения разрешения необходимо установить знаки, указывающие места расположения коммуникаций.
Опасную зону работы экскаватора ограждают знаками безопасности.
Экскаватор во время работы устанавливают на спланированной площадке и во избежание самопроизвольного перемещения закрепляют инвентарными упорами.
Во время перерыва в работе экскаватор отводят от края котлована на расстоянии не менее 2 м, а ковш опускают на уровень грунта, и только после этого ковш очищают от налипшего грунта.
Грунт, вышедший из котлована, размещают на расстоянии не менее 0,5 м от бровки.
Движение экскаватора и автомобилей вдоль котлована допускается на расстоянии от бровки, обеспечивающим безопасность.
При пересечении котлована с действующими коммуникациями разработка грунта механизированным способом разрешается на расстоянии не менее 2 м от боковой стенки и не менее 1 м над верхом трубы, кабеля и др. Грунт, оставшийся после механизированной разработки, должен дорабатывается вручную без применения ударных инструментов, при этом должны приниматься меры, исключающие возможность повреждения этих коммуникаций.
При работе экскаватора не разрешается выполнять какие-либо другие работы со стороны забоя и находиться людям в радиусе действия экскаватора плюс 5 м.
Путь по которому передвигается экскаватор в пределах строительной площадки, должен быть заранее выровнен. Во время движения экскаватора стрелу его необходимо устанавливать строго по направлению хода, а ковш приподнимать над землёй на 0,5 – 0,7 м. Запрещается передвижение экскаватора с нагруженным ковшом.
Грунт на автомобили экскаватором должен грузится со стороны заднего или бокового борта автомобиля.
Землеройные машины должны быть оборудованы звуковой сигнализацией. Значения сигналов должны быть разъяснены всем рабочим, связанным с работой машины.
В тёплое время суток рабочие места, подъезды и пути движения автомобилей-самосвалов необходимо достаточно осветить.
Для прохода рабочих в котлован устанавливают стремянки шириной не менее 0,6 м с перилами или приставные лестницы.
За состоянием откосов котлована надлежит вести систематические наблюдение, осматривая грунт перед началом каждой смены. При появлении трещин следует принимать меры против внезапного обрушения грунта, заблаговременно удалять из опасных мест.
Работы по устройству подземной части здания выполняются с соблюдением правил техники безопасности СНиП III-4-90. Все грузоподъемные механизмы и такелажные приспособления, применяемые на строительно-монтажных работах, перед началом их эксплуатации должны быть испытаны согласно правилам Госгортехнадзора с оформлением актов.
К укрупнению строительными машинами запрещается допускать рабочих и обслуживающий персонал, не имеющих удостоверений на право управления машиной.
Самоходные машины должны быть оборудованы звуковой сигнализацией. Машинистам самоходных машин разрешается давать звуковые сигналы на строительной площадке. На машине или в зоне её работы должны быть вывешены инструкции по эксплуатации, предупредительные надписи, знаки и плакаты по технике безопасности.
Работа стреловых кранов, погрузчиков и других строительно-дорожных машин непосредственно под проводами действующих воздушных линий электропередачи любого напряжения запрещается.
При проезде под линией электропередачи, находящейся под напряжением, рабочие органы машины должны находиться в транспортном положении.
Чистка, смазка и ремонт машин допускается лишь после их полой остановки.
Движущиеся детали должны быть ограждены в местах возможного доступа к ним людей. Запрещается работа на машинах с неисправным или снятым ограждением движущихся частей.
Защитные панели кранов должны быть закрыты на замок.
У всех рабочих производящих монтаж и все лиц находящиеся на площадке должны быть надеты защитные каски.
Рабочее место около машин должно быть равным и нескользким. Его следуем содержать в чистоте.
При работе стреловых самоходных кранов с выносными опорами, краны должны устанавливаться на все опоры с применением инвентарных подкладок.
При установке крана на рабочей площадке его необходимо затормозить ручным тормозом и принять меры против самопроизвольного движения.
При работе крана запрещается людям находиться у механизмов на кране, а так же на поворотной части крана.
Масса поднимаемого крана с учётом масс грузозахватных приспособлений и тары не должна превышать максимальную (паспортную) грузоподъёмность крана при данном вылете стрелы.
Запрещается использовать краны для перемещения груза.
Элементы и конструкции следует стропить инвентарными стропами так, чтобы они подавались к месту установки в положении, максимально близком к проектному.
Элементы и конструкции очищаются от грязи, наледи, ржавчины на земле до их подъёма.
Поданный элемент опускают над местами его установки до тех пор, когда он будет на 30 см выше проектного уровня, после чего монтажники наводят его на место установки.
Мелкие, штучные, а также сыпучие грузы следуем принимать в специальной инвентарной таре, испытанной на прочность.
Уложенный груз должен находится ниже уровня бортов тары на 10 см.
Запрещается подъём грузов в виде пакетов без приспособлений, исключающих выпадение отдельных элементов из пакета.
Не допускается подтягивание груза и опускании его на грузоподъёмную площадку при наклонном положении грузовых канатов крана.
Грузы массой, близкой к максимальной грузоподъёмности крана наи данном вылете стрелы, необходимо принимать в два приёма. Сначала груз поднимают на высоту 20-30 см, затем на полную высоту.
Не допускается подъёма груза, масса которого неизвестна.
При горизонтальном перемещении груз должен быть поднят не менее чем на 0,5 м выше встречающихся на пути препятствий.
Грузовой крюк крана и съёмка грузозахватных приспособлений должны быть оборудованы предохраняющими запорными устройствами, предотвращающими самопроизвольное выпадение грузозахватного приспособления или груза.
Запрещается оставлять поднятые элементы и конструкции на весу.
Расстроповка установленных элементов допускается лишь после прочного и устойчивого их закрепления.
Опалубку при устройстве ростверка можно разбить только с разрешения производителя работ или мастера.
Перед началом разборки опалубки следует проверить прочность бетона, установить отсутствие нагрузок, превышающих допустимые и дефектов, которые могут повлечь за собой чрезмерные деформации или обрушение конструкций после снятия опалубки.
Электропровода, подводящие ток от рубильника к электродвигателям, заключают в резиновые шланги.
Выполнять сварочные работы на открытом воздухе во время грозы, дождя или снегопада запрещается.
В электросварочных установках должны предусмотрены надёжные ограждения всех элементов, находящихся под напряжением.
Электросварочные установки, расположенные над землёй на высоте более 1м, должны быть оборудованы освещёнными рабочими площадками с настилом, десницами и перилами.
На строительной площадке должен быть установлен порядок обмена условными сигналами. Все сигналы подаются только одним лицом – бригадиром, кроме сигнала «стоп», который может подаваться всеми лицами заметившими опасность.
При выполнении работ необходимо пользоваться инструкциями по безопасному ведению работ для стропальщиков, обслуживающих грузоподъёмные краны, инструкцией по безопасному ведению работ для машинистов (крановщиков) стреловых и самоходных кранов (железнодорожных, автомобильных, гусеничных, пневмоколёсных).
Технологическая карта.
Устройство сборного железобетонного фундамента.
Область применения.
Технологическая карта разработана на основе методов научной организации труда и предназначена для использования при разработке проекта производства работ и организации труда на объекте.
В технологическую карту включены работы по разработке котлована и траншей глубиной 3.3м в суглинистых грунтах, монтажу фундаментных плит, фундаментных блоков, устройству монолитных полов в подвальном помещении, кладки цоколя, гидроизоляции стен подвала.
Технологическая карта составлена на устройство фундаментов комплекса детского яслей-сада. Сюда же включены работы по перепланировке строительной площадки со срезкой растительного грунта и разработке котлована до отметки низа фундаментной конструкции.
Указания по технологии производственного процесса.
До начала земляных работ по разработке котлована срезают растительный слой и планируют строительную площадку бульдозером Д-271, возводят временные здания и сооружения, необходимые на период производства работ, устраивают временное электроосвещение строительной площадки, прокладывают все постоянные подземные сети (водопровод, канализацию и теплосети), осуществляют геодезическую разбивку осей здания с закреплением их на инвентарной обноске, оформляют актом разработку котлована, проверяют состояние имеющихся реперов, доставляют на площадку механизмы и инструмент для производства работ.
Котлован и траншеи разрабатываются на глубину 3.3 м с крутизной откосов 1:0,25 экскаватором Э-5015А, оборудованным обратной лопатой с ковшом ёмкостью 0.65 мі, двумя параллельными проходами (для траншей) и одним проходом (для траншей).
Допустимая недоработка грунта в основании котлована экскаватором Э-5015А – 15 см.
Сначала экскаватором отрывают котлован, а затем бульдозером Д-271 зачищают дно котлована. Траншеи роются за один проход тем же экскаватором, недоработка разрабатывается вручную бригадой землекопов. Грунт при разработке котлована вывозят автомобилями-самосвалами за пределы строительной площадки и частично используют для засыпки пазух.
Удаление атмосферных осадков с поверхности дна котлована обеспечивается устройством продольного уклона – 0.003.
Автомобили-самосвалы, подаваемые под погрузку грунта, устанавливают по заранее поставленным вешкам с таким расчётом, чтобы угол поворота экскаватора для разгрузки ковша при рытье котлована был не более 40є.
При выполнении земляных работ должны быть сохранены все вынесенные знаки разбивочных осей углов и реперов. В случае повреждения их следует немедленно восстановить.
Перед монтажом фундамента необходимо обозначить разбивочные оси здания, завезти и складировать фундаментные блоки и плит, проверить заводские паспорта на эти изделия, проверить соответствие марок блоков и плит завести и разместить на строительной площадке необходимые материалы, механизмы и приспособления.
Порядок раскладки фундаментных плит и блоков указан на схеме организации работ по раскладке элементов. Запас элементов фундамента на строительной площадке должен быть на одну захватку.
Блоки и плиты укладываются краном на ходу. Кран выбирается из условий оптимальной длинны стрелы, грузоподъёмности, вылета стрелы. Для подъёма элементов фундамента применяют четырёх ветвевой строп 4СК 2.0-0.5, которым захватывают элементы фундаментов за монтажные петли. Разворачивают элементы вокруг своей оси на весу баграми.
Подъём блоков и подушек должен производится без ударов и рывков.
Фундаментные плиты принимаются на багры и укладываются на подготовку по заранее натянутым бечёвкам с контролем горизонтальности ряда. Фундаментные блоки при монтаже предварительно принимаются на лом, устанавливаются на деревянные клинья на раствор. Блок выравнивается и нивелируется в горизонтальной плоскости, клинья выбиваются. Производя зачеканку горизонтальных швов между блоками.
После монтажа фундаментных блоков производится гидроизоляция наружных поверхностей стен подвала.
На отметке –0.9 в цокольной стене устраивается гидроизоляция из двух слоёв рубероида на битумной мастике.
Производится кирпичная кладка цоколя на отметке –1.2 до отметки 0.0.
Перед началом монтажа конструкций подготавливают и доставляют на строительную площадку требуемый инвентарь, инструмент и приспособления.
Цокольные панели разрешается монтировать только после инструментальной проверки соответствия проекту горизонтального и вертикального положения фундаментов. Проверку оформляют актом.
Перед началом монтажа конструкций переносят оси стен на стены фундаментов, а так же определяют монтажный горизонт.
Бригада монтажников конструкции должна быть ознакомлена с порядком монтажа и правилами техники безопасности.
Детали и конструкции, поступающие на строительную площадку должны, соответствовать требованиям СНиП III-16- «Бетонные и железобетонные конструкции сборные».
Конструкции подземной части здания производится с приобъектного склада: все конструкции укладываются в штабеля в зоне действия крана.
При организации приобъектного склада соблюдается следующее:
Площадку для складирования конструкций располагают вдоль направления движения крана, планируют, утрамбовывают грунт и обеспечивают отвод поверхностных вод;
Ближе к монтажному крану размещают наиболее тяжёлые конструкции;
Все детали и конструкции располагают против мест укладки и установки их в проектное положение;
Изделия размещают так, чтобы их было удобно стропить, а маркировку можно было читать со стороны прохода или проезда;
Все изделия, хранящиеся в штабеле, укладывают на деревянные прокладки, которые размещают строго по вертикали. Между штабелями устраивают проход шириной 1м;
Плиты перекрытия укладываются в штабеля высотой не более 2,5 м, а лестничные марши высотой не более 1,5 м.
Перед подъёмом конструкции следует:
Очистить поднимаемые, а также установленные ранее смежные конструкции от грязи, мусора, снега, наледи, а металлические детали – от наплывов и ржавчины;
Проверить положение закладных деталей и наличие всех необходимых рисок;
Подготовить рабочее место к приёму конструкций с проверкой наличия на рабочем месте соединительных деталей и необходимых вспомогательных материалов;
Проверить правильность и надёжность закрепления грузозахватных устройств.
Конструкции следует стропить в местах, указанных в проекте, и подавать к месту установки (укладки) в положении, соответствующем проекту. Запрещается строповка конструкций в произвольных местах, а так же за арматурные выпуски.
При монтаже сборных конструкций надлежит выполнять следующие правила:
Поднимать и перемещать конструкции плавно, без рывков, раскачивания и вращения;
Поднимать конструкции в два приёма;
Сначала на высоту 20-30 см и после проверки надёжности строповки – на полную высоту;
Не допускается ударов монтируемого элемента конструкции о ранее установленные конструкции.
Панели перекрытий должны подаваться на монтаж в горизонтальном положении.
Элементы конструкций, смещённые с растворной постели в период твердения раствора, должны быть приподняты краном, очищены от приставшего раствора и снова установлены на свежий раствор.
Раствор, схватывание которого началось, укладывать в швы запрещается.
Электросварочные работы должны выполнять электросварщики, имеющие паспорт на право производство работ. Сварку следует производить электродами Э-42.
Сварные элементы конструкций должны быть предварительно очищены от раствора, ржавчины, краски, жирных пятен и других загрязнений и высушены.
Указанные работы оформляют актами на освидетельствование скрытых работ.
При заделке и герметизации стыков и швов необходимо обеспечить (в соответствии с проектом):
Прочность, монолитность и морозоустойчивость бетона в стыках;
Стойкость стыков и швов против механических повреждений и коррозии;
Необходимое сопротивление стыков и швов теплопередаче, воздухо -, паро-, и влагопроницаемости.
Вертикальную гидроизоляцию поверхностей стен в подземной части здания, соприкасающихся с грунтом, осуществляют нанесением горячего битума за два раза при помощи универсальной удочки.
Битумную мастику приготавливают на строительной площадке разогревом до рабочей температуры полуфабрикатов.
Окрасочную гидроизоляцию наносят на подготовленную поверхность равномерно без пропусков по всей изолируемой поверхности толщиной по 1,5 – 2 мм.
Каждый слой наносят после отвердения и просушки ранее нанесённого слоя.
Места перехода изоляции с вертикальной поверхности на горизонтальную усиливается наклейкой полосы рулонного изоляционного материала шириной не менее 20 см, а затем покрывать окрасочным слоем.
После устройства вертикальной гидроизоляции засыпают пазухи котлована бульдозером Д-271 на базе трактора С-80 с тщательным послойным уплотнением грунта пневматическими трамбовками с квадратными башмаками марки ТР – 4 или ТР – 6.
Одновременно с монтажными работами фундамента выполняется работы по устройству монолитных полов. Запрещается одновременный монтаж конструкций и работы по устройству пола в одной и той же захватке.
Требования к качеству операции.
При монтаже монолитных фундаментов и других элементов подземной части здания контролируют соответствие размеров фундамента размерам, заложенным в проекте производства работ и в нормах производства строительно-монтажных работ. Главное внимание уделить качеству привозимой бетонной смеси, операции вибрирования (соблюдение необходимой толщины слоя при укладке бетона между операциями, времени вибрации), уходу за бетоном. Технологический перерыв до производства следующего вида работ должен составить не менее 3 дней для необходимого набора прочности бетоном. По окончании монтажа проверяется отклонение осей фундамента от проектных осей. Смещение осей конструкций фундаментов допускается на ±12 мм. Отклонение отметок опорных поверхностей фундаментов может быть ниже проектных на 20 мм.(тогда производится дополнительная подливка цементным раствором до проектной точки), но не может ни в коем случае быть выше проектной.
Данные:
Продолжительность рабочего времени в 1 смену при 5 - дневной рабочей неделе – 8.2 час.
Ведомость
трудоемкости
работ и затрат
машинного
времени
при
строительстве
объекта.
Таблица
| № | Наименование работ |
Трудоемкость Чел/дни |
Трудоемкость Маш./см. |
Примечания |
| 1 | 2 | 3 | 4 | 5 |
| 1 | Подготовительные работы |
307 |
16,97 |
5% от основных общестроительных работ |
|
|
Общестроительные работы:
Итого: |
54 202 1175 219 178 449 208 230 150 94,5 2959,5 |
8,71 28,00 48,11 45,62 11,36 15,03 5,34 7,68 47,89 99,55 317,29 |
--- |
|
3 4 5 6 7 8 9 |
Особостроительные работы Сан. Техника Электротехника Монтаж технологического оборудования Пусконаладочные работы Внешние коммуникации Благоустройство территории |
1059,4 169,7 88 45 5 427 18 |
20,36 4,76 |
10% объёма монтажа технолог оборудования 6% от общестроительных работ |
|
Всего: |
4771,6 |
342,41 |
| № п/п | Работы | Трудоёмкость | Состав звена | Количество, смен. | Колич. Чел. В бригаде. | Продолжительность в днях | ||||||
| Ед. изм. | Объём работ | Нормативная | Принятая | |||||||||
| чел./дн. | маш./см. | чел./дн. | маш./см. | Профф. Разряд. | Количество, чел | |||||||
| 1 | Разработка растительного слоя | 1000 МІ | 6 | 0.63 | 0.63 | 0.5 | 0.5 | машинист 6 разр | 1 | 1 | 1 | 0.5 |
| 2 | Разработка грунта экскаватором | 1000 Мі | 3.93 | 2.6 | 5.2 | 2.5 | 5 | машинист 6 разр, помошник машиниста 5 разр. | 2 | 2 | 2 | 2.5 |
| 3 | Ручная доработка | 100 Мі | 1.2 | 18.75 | 0 | 18 | 0 | землекоп 3 разр, землекоп 2 разр | 2 | 1 | 6 | 3 |
| 4 | Обратная засыпка бульдозером | 100 Мі | 3.4 | 1.8 | 1.8 | 2 | 2 | машинист 6 разр | 1 | 2 | 1 | 1 |
| 5 | Механизированное уплотнение | 100 МІ | 2.9 | 4.1 | 3.95 | 4 | 4 | машинист 5 разр | 1 | 2 | 1 | 2 |
| 6 | Бетонная подготовка под фундамент | 100 Мі | 11.3 | 19.3 | 3.5 | 19 | 0 | бетонщик 4 разр, бетонщик 3 разр | 4 | 2 | 4 | 2.5 |
| 7 | Монтаж плит и блков | 100 шт | 7.48 | 89.2 | 22.12 | 89 | 22 | машинист 6 разр, монтажник 4 разр, монтажник 3 разр. | 3 | 2 | 5 | 11 |
| 8 | Горизонтальная гидроизоляция подошвы фундамента | 100 МІ | 11.9 | 71.3 | 4.96 | 71 | 0 | рабочий 4 разр, рабочий 3 разр. | 2 | 2 | 6 | 6 |
| 9 | Вертикальная гидроизоляция стен фундамента | 100 МІ | 7.7 | 18.9 | 4.2 | 19 | 0 | рабочий 4 разр, рабочий 3 разр. | 2 | 2 | 4 | 2.5 |
Overview
КалькуляцияЛист2
Sheet 1: Калькуляция
| ВЕДОМОСТЬ ТРУДОЁМКОСТИ РАБОТ И ПОТРЕБНОСТИ В МАШИНО-СМЕНАХ. | ||||||||
| № | Наименование работ | Обоснование по СНиП или ЕНиР | Ед. изм. | Кол - во | Норма на ед. измерения | Общая потребность | ||
| чел/ч | маш/ч | чел/ч | маш/ч | |||||
| 1 | 2 | 3 | 4 | 5 | 7 | 8 | 10 | 11 |
| I. | Земляные работы | |||||||
| 1 | Срез растительного слоя | СНиП IV-2-82 | 1000 МІ | 6 | 0.84 | 0.84 | 5.04 | 5.04 |
| 2 | Разработка грунта эксковатором | СНиП IV-2-82 | 1000 Мі | 8 | 5.1 | 11.4 | 40.8 | 91.20 |
| 3 | Ручная доработка | СНиП IV-2-82 | 100 Мі | 1.2 | 125 | 150 | 0.00 | |
| 4 | Обратная засыпка | СНиП IV-2-82 | 100 Мі | 3.4 | 4.24 | 4.24 | 14.42 | 14.42 |
| 5 | Механизированное уплотнение | СНиП IV-2-82 | 100 МІ | 2.9 | 11.2 | 10.9 | 32.48 | 31.61 |
| II. | Подземная часть | |||||||
| 6 | Бетонная подготовка под фундамент | СНиП IV-2-82 | 100 Мі | 11.28 | 13.7 | 2.5 | 154.54 | 28.00 |
| 7 | Монтаж фундаментных плит и блонов | СНиП IV-2-82 | 100 шт | 7.48 | 97.8 | 24.25 | 731.54 | 181.39 |
| 8 | Гидроизоляция фундамента вертикальная | СНиП IV-2-82 | 100 МІ | 11.93 | 47.8 | 3.33 | 570.25 | 39.73 |
| 9 | Гидроизоляция фундамента горизонт. | СНиП IV-2-82 | 100 МІ | 7.7 | 19.7 | 4.37 | 151.69 | 33.65 |
| III. | Монтаж каркаса | |||||||
| 7 | Кладка стен | СНиП IV-2-82 | 1 Мі | 964 | 4.64 | 0.79 | 4472.96 | 761.56 |
| 8 | Монтаж перемычек | СНиП IV-2-82 | 100 шт | 3.48 | 135 | 72.2 | 469.8 | 251.26 |
| 10 | Устройство балок | СНиП IV-2-82 | 100 Мі | 0.05 | 1710 | 127 | 85.5 | 6.35 |
| 11 | Монтаж лестничных маршей и площадок | СНиП IV-2-82 | 1 шт | 20 | 179 | 63.2 | 3580 | 1264.00 |
| 12 | Устройсво перегородок из кирпича | СНиП IV-2-82 | 100 МІ | 1.3 | 137 | 7.7 | 178.1 | 10.01 |
| 13 | Устройство перегородок из гипса | СНиП IV-2-82 | 100 МІ | 2.45 | 103 | 7.36 | 252.35 | 18.03 |
| 14 | Монтаж плит перекрытия | СНиП IV-2-82 | 100 шт | 2.95 | 204 | 23 | 601.8 | 67.85 |
| 15 | Расшивка швов | СНиП IV-2-82 | 100 МІ | 20.1 | 21 | 422.1 | 0.00 | |
| 16 | Монтаж стропил | СНиП IV-2-82 | 1 шт | 84 | 23.8 | 2.1 | 1999.2 | 176.40 |
| 17 | Устройство крылец | СНиП IV-2-82 | 1 МІ | 50.1 | 1.49 | 0.2 | 74.65 | 10.02 |
| IV. | Кровельные работы | |||||||
| 18 | Устройство обрешётки | СНиП IV-2-82 | 100 МІ | 2.98 | 172 | 5.33 | 512.56 | 15.88 |
| 19 | Устройство железной кровли | СНиП IV-2-82 | 100 МІ | 3.69 | 109 | 6.76 | 402.21 | 24.94 |
| 20 | Устройство фонарей | СНиП IV-2-82 | 1 шт | 12 | 6.03 | 0.33 | 72.36 | 3.96 |
| V. | Заполнение проёмов | |||||||
| 21 | Заполнение оконных проёмов | СНиП IV-2-82 | 100 МІ | 5.78 | 193 | 27.2 | 1115.54 | 157.22 |
| 22 | Заполнение проёмов дверей | СНиП IV-2-82 | 100 МІ | 2.73 | 82.7 | 29 | 225.77 | 79.17 |
| 23 | Устройство подоконных плит | СНиП IV-2-82 | 100 МІ | 1.2 | 97 | 6.67 | 116.4 | 8.00 |
| 24 | Остекление оконных проёмов | СНиП IV-2-82 | 100 МІ | 4.33 | 82.7 | 29 | 358.09 | 125.57 |
| VI. | Устройство полов | |||||||
| 25 | Полы бетонные | СНиП IV-2-82 | 100 МІ | 1.01 | 18.8 | 0.95 | 18.99 | 0.96 |
| 26 | Полы по лагам | СНиП IV-2-82 | 100 МІ | 0.56 | 46.3 | 2.84 | 25.93 | 1.59 |
| 27 | Полы рулонные | СНиП IV-2-82 | 100 МІ | 7.34 | 75.5 | 0.75 | 554.17 | 5.51 |
| VII. | Отделочные работы | |||||||
| 28 | Улучшенная штукатурка фасадов | СНиП IV-2-82 | 100 МІ | 13.5 | 57.4 | 4.5 | 774.9 | 60.75 |
| 29 | Внутренняя штукатурка | СНиП IV-2-82 | 100 МІ | 2.01 | 101 | 6.3 | 203.01 | 12.66 |
| 30 | Окраска водным раствором | СНиП IV-2-82 | 100 МІ | 0.76 | 6.9 | 0.06 | 5.24 | 0.05 |
| 31 | Масляная окраска | СНиП IV-2-82 | 100 МІ | 2.99 | 77 | 6.9 | 230.23 | 20.63 |
Sheet 2: Лист2
| ВЕДОМОСТЬ ТРУДОЁМКОСТИ РАБОТ И ПОТРЕБНОСТИ В МАШИНО-СМЕНАХ. | ||||||||
| № | Наименование работ | Обоснование по СНиП или ЕНиР | Ед. изм. | Кол - во | Норма на ед. измерения | Общая потребность | ||
| чел/ч | маш/ч | чел/дни | маш/см | |||||
| 1 | 2 | 3 | 4 | 5 | 7 | 8 | 10 | 11 |
| I. | Земляные работы | |||||||
| 1 | Разработка грунта экскаватором: | |||||||
| в отвал | Е2-1-13 | 100м3 | 15.94 | 2.1 | 2.1 | 4.18 | 4.18 | |
| на вывоз | Е2-1-13 | 100м3 | 2.89 | 2.6 | 2.6 | 0.94 | 0.94 | |
| 2 | Ручная доработка грунта в траншеях | Е2-1-47 | 100м2 | 0.57 | 6.5 | 0 | 0.46 | 0.00 |
| 3 | Обратная засыпка булбдозером | Е2-1-34 | 100м3 | 14.35 | 0.31 | 0.31 | 0.56 | 0.56 |
| 4 | Механизированное уплотнение | Е2-1-33 | 100м3 | 14.25 | 1.7 | 1.7 | 3.03 | 3.03 |
| II. | Бетонные работы | |||||||
| 5 | Устройство фундаментов под: | |||||||
| колонны крайних рядов | СНиП т.6-1 | 100м3 | 1.15 | 410 | 112 | 58.94 | 16.10 | |
| колонны средних рядов | СНиП т.6-1 | 100м3 | 0.63 | 410 | 112 | 32.29 | 8.82 | |
| колонны фахверка | СНиП т.6-1 | 100м3 | 0.3 | 338 | 82 | 12.68 | 3.08 | |
| 6 | Устройство горизонтальной г.и. | СНиП т.8-4 | 100м2 | 1 | 14 | 0 | 1.75 | 0.00 |
| III. | Монтаж каркаса | |||||||
| 7 | Монтаж фундаментных балок | СНиП т.7-1 | 1шт | 56 | 1.9 | 0.38 | 13.3 | 2.66 |
| 8 | Установка колонн: | |||||||
| крайних рядов | Е4-1-4 | 1шт | 36 | 4.9 | 0.49 | 22.05 | 2.21 | |
| средних рядов | Е4-1-4 | 1шт | 20 | 5.7 | 0.57 | 14.25 | 1.43 | |
| фахверка | Е4-1-4 | 1шт | 18 | 4.4 | 0.44 | 9.9 | 0.99 | |
| 9 | Монтаж подкрановых балок | Е4-1-6 | 1шт | 48 | 6.5 | 1.3 | 39 | 7.80 |
| 10 | Установка ферм покрытия | Е4-1-6 | 1шт | 54 | 9.5 | 1.9 | 64.13 | 12.83 |
| 11 | Установка подстропильных ферм | Е4-1-6 | 1шт | 16 | 8 | 1.6 | 16 | 3.20 |
| 12 | Укладка плит покрытия | Е4-1-7 | 1шт | 384 | 1.2 | 0.3 | 57.6 | 14.40 |
| 13 | Монтаж стеновых панелей высотой 0.9м | Е4-1-8 | 1шт | 45 | 3 | 0.75 | 16.88 | 4.22 |
| 13 | Монтаж стеновых панелей высотой 1.2м | Е4-1-8 | 1шт | 365 | 3 | 0.75 | 136.88 | 34.22 |
| 14 | Монтаж стеновых панелей высотой 1.8м | Е4-1-8 | 1шт | 72 | 4 | 1 | 36 | 9.00 |
| 15 | Кирпичная кладка стен внутри цеха | СНиП т.8-5 | 100м2 | 8.18 | 3.9 | 0.81 | 3.99 | 0.83 |
Выбор землеройных машин.
Объём работ по срезу растительного слоя составляет:
V=0,15·80·75=900 мі.
Для разработки растительного грунта принимаем бульдозер на тракторном ходу с мощностью двигателя 80 л.с. марки С – 80.
Для разработки грунта могут быть использованы экскаваторы, оборудованные обратной лопатой.
ЭО 5015А ёмкость ковша 05

ЭО 4121А ёмкость ковша 0.65

Сравнение вариантов следует производить по показателю приведённых затрат:
,
где С – себестоимость работ;
–
нормативный
коэффициент
сравнительной
экономической
эффективности.
к – балансовая стоимость машины.
–
количество
часов работы
машины на объекте.
– нормативное
число часов
работы машины
в году.
;
;
.
– коэффициент
учитывающий
накладные
расходы.
–
время
рабочего цикла.
–
коэффициент
использования
ёмкости ковша
экскаватора.
–
коэффициент
использования
экскаватора
в смену.
–
единовременные
затраты, связанные
с перевозом,
монтажом и
демонтажом.
– годовые
затраты (
,
где
– норма амортизационных
отчислений).
![]()
–
текущие
затраты.
–
стоимость
технического
обслуживания
и технического
ремонта.
–
стоимость
ремонта и замены.
–
стоимость
энергоматериалов.
–
стоимость
смазочных
материалов.
–
заработная
плата машинистов.
Э 5015А
;
![]()
.
Э 4121А
,
где
![]()
;
;
.
Для разработки котлована выбираем экскаватор Э 5015А.
Расчёт стропильной ноги.
Вариант из металлического профиля.
Сбор нагрузок.
Рис.
Сбор нагрузок на стропильную конструкцию. Таблица
| N п/п | Нагрузка | Нормативная, кН/мІ | Ψf | Расчётная, кН/мІ |
|
1 2 3 4 |
Профилированный настил Прогоны швеллер №10 шаг 1,5м Стропильная нога, двутавр №20 шаг 2м Полезная нагрузка |
0,156 0,0859 0,07 0,7 |
1,05 1,05 1,05 1,05 |
0,1638 0,12885 0,0735 0,735 |
| Qпост | 1,0119 | 1,10115 |
Приводим к погонной нагрузке на 1м горизонтальной поверхности:
![]()
![]()
Приводим к узловой нагрузке:
![]()
Снеговая нагрузка.
.
Город Пермь,
V
снеговой район
(прил.3 [
] ).
Рассматриваем два варианта приложения нагрузки [ ].
Рис.
![]()
где
,
[ ];
(
) [ ].
Снеговая нагрузка прикладывается к конструкции через узлы примыкания швеллеров.
Приводим распределённую снеговую нагрузку к узловой:
1) ![]()
![]()
Полная узловая нагрузка:
1)
; ![]()
2)
; ![]()
; ![]()
| Сочетание нагрузок | |||||||||||||||||||
| N п/п | Наименование нагрузки | Ф | 1-1 | 2-2 | 3-3 | 4-4 | 5-5 | 6-6 | 7-7 | 8-8 | |||||||||
| M | N | M | N | M | N | M | N | M | N | M | N | M | N | M | N | ||||
| 1 | Снеговая вариант 1 | 0.00 | -6.18 | 15.84 | -1.77 | 20.67 | 2.64 | 14.51 | 7.04 | -22.85 | 11.44 | -22.85 | -10.70 | 5.54 | -1.86 | 0.00 | 2.54 | ||
| 2 | Снеговая вариант2 | 0.00 | -7.22 | 18.43 | -2.08 | 24.06 | 3.05 | 16.87 | 8.18 | -26.67 | 13.31 | -26.67 | -12.48 | 6.91 | -2.20 | 0.00 | 2.16 | ||
| I | -Mmax,Nc | Nнагр | 1 | -22.85 | 11.44 | -22.85 | -10.70 | ||||||||||||
| Nнагр | 1 | -26.67 | 13.31 | -26.67 | -12.48 | ||||||||||||||
| II | +Mmax,Nc | Nнагр | 1 | 20.67 | 2.64 | ||||||||||||||
| Nнагр | 1 | 24.06 | 3.05 | ||||||||||||||||
| III | -Nmax,Mc | Nнагр | 1 | -22.85 | -10.70 | ||||||||||||||
| Nнагр | 1 | -26.67 | -12.48 | ||||||||||||||||
| IV | +Nmax,Mc | Nнагр | 1 | -22.85 | 11.44 | ||||||||||||||
| Nнагр | 1 | -26.67 | 13.31 | ||||||||||||||||
Расчёт стропильной ноги в металлическом варианте.
Расчётное сечение 3 – 3: M = 26,67 кНм; N = 13,31 кН.
Предварительно подбираем сечение: двутавровая балка, номер профиля по сортаменту подбираем по требуемому моменту сопротивления.
![]()
где с=1,07 [
];
[ ];
[ ].
Двутавр №16
с геометрическими
характеристиками:
t=0,78см;
h=16см;
![]()
По [
]
![]()
Проверка прочности подобранного сечения:
![]()
.
Проверяем
опорное сечение
1 – 1 балки по
касательному
напряжению:
![]()
![]()
Проверку местной устойчивости поясов и стенки прокатных балок можно не производить, т.к. она обеспечивается принятыми толщинами элементов из условий проката.
Проверяем
подобранное
сечение на
прочность от
действия касательных
напряжений:
:
![]()
![]()
Проверяем
балку по относительному
изгибу:
![]()
;
![]()
Расчёт сборного железобетонного фундамента.
Площадка предварительно спланирована на отметке +63.300. Скважины находятся на расстоянии 50 м друг от друга, они выполнены в непосредственной близости от крайних стен комбината. Схема инженерно геологического разреза приведена на рис. .
Максимальная нагрузка взята из типового проекта. Нагрузка представлена продольной силой приложенной к обрезу фундамента. Сила приложена в сечении - , N=310 кН. Поперечной сила и момент на обрез фундамента не действует.
Обработка данных инженерно – геологических изысканий.
Коэффициент пористости:
;Число пластичности:
;Индекс текучести:
;Индекс водонасыщенности:
;
Суглинок аллювиальный:
;
;
;
;
Мелкий песок:
;
;
Супесь:
;
;
;
![]()
Суглинок аллювиальный:
;
;
;
;
Расчёт фундамента мелкого заложения.
Сбор нагрузок и воздействий на обрез фундамента:
;
;
![]()
Определение глубины заложения подошвы фундамента:
;
где
=1
- коэффициент
теплового
воздействия
здания
[ ],
- коэффициент
безопасности
[ ],
- глубина
промерзания
грунта в г.Перми
[ ].
Предварительное определение размеров подошвы фундамента из учёта воздействия нормальной силы.
; т.к
в ленточных
фундаментах
l=1м
![]()
;
Расчётное сопротивление грунтов сжатию определяем по формуле Пузыревского:
;
где
коэффициенты
определяющие
схему работы
фундамента
и над фундаментной
части [
].
коэффициент
безопасности
по грунту
[ ].
коэффициент
нелинейности
работы грунта
в основании
штампа [
]
объёмный
вес грунта
непосредственно
под подошвой
фундамента.
объёмный
вес грунта выше
подошвы фундамента
(усреднённый).
С=23 удельное сцепление грунта под подошвой фундамента.
Первый шаг:
;
;
Второй шаг:
;
;
;
![]()
Окончательно принимаем ширину подошвы фундамента b=1,2м.
С учётом всего комплекса нагрузок:
кН.
Проверка фундамента по деформациям:
![]()
- бытовое
давление.
![]()
где d – коэффициент рассеивания
![]()
![]()
кПа.
кПа;
где d глубина заложения.
Расчёт свайного фундамента.
Нагрузка, действующая на обрез фундамента.
.
Несущая способность F, кН висячей сваи, забиваемой без выемки грунта, работающей на сжимающую нагрузку. Определяем как сумму сил расчётных сопротивлений грунтов основания под нижним концом сваи и на её боковые поверхности:
![]()
где
=1
– коэффициент
условия работы
сваи в грунте,
R – расчётное сопротивление грунта на нижнем конце сваи,
А – площадь опирания на грунт, мІ, принимаем по площади поперечного сечения сваи брутто.
U – наружный периметр сечения сваи, м,
- расчётное
сопротивление
i-го
слоя грунта
основания на
боковой поверхности
сваи.
- толщина
i-го
слоя грунта,
соприкасающегося
с боковой
поверхностью
сваи, м.
- коэффициенты
условия работы
грунта соответственно
под концом и
на боковой
поверхности
сваи, учитывающие
влияние способа
погружения
сваи на расчётное
сопротивления
грунта.
А) Принимаем железобетонную сваю
С3-30 (ГОСТ 19804-74)
длиной l=3м, сечения 300х300мм.
R=2200кПа
[ ],
А=0,3І=0,09мІ, u=0,3·4=1,2м,
[ ].
Таблица .
-
№ уч-ка. 1 2 3 4 
1 1 0,15 0,85 
0,5 1,5 2,075 2,5 
20,6 23,95 30,58 32,51
![]()
![]()
Допустимая нагрузка на сваю:
1,4 – коэффициент
безопасности.
;
Расчётная нагрузка:
![]()
Максимальный шаг свай:
.
Минимальный допустимый шаг сваи:
![]()
Данный вариант не удовлетворяет обеспечения рационального конструирования свайного фундамента. Требуется увеличить длину сваи.
В) Принимаем железобетонную сваю
С4,5-30 (ГОСТ 19804-74)
длиной 4,5м, сечение 300х300 мм.
R=2300
[ ];
А=0,09; u=1,2;
![]()
Таблица .
-
№, уч-ка
1 2 3 4 5 6 
1 1 0,15 1 0,8 0,55 
0,5 1,5 2,75 3,75 4,74 5,1 
20,6 23,95 30,58 37,1 39,21 40,8
![]()
![]()
Максимально допустимый шаг сваи:
![]()
Максимально допустимый шаг сваи:
![]()
При конструировании свайного фундамента принимаем шаг свай 2 м.
С) Расчёт свайного фундамента по деформациям.
Определяем общую зону деформирования под нагрузкой.
- средневзвешенное
значение угла
внутреннего
трения.
![]()
![]()
- расстояние
от наружной
стенки сваи
од конца зоны
деформирования;
l=4,5м – длинна сваи.
A=4,5·tg6,41=0,45м.
Общую зону деформирования принимаем за единый грунтобетонный массив.
Требуется проверить осадку данного массива, сравнивая её с предельно допустимой для свайных фундаментов.
Находим объём грунтобетонного массива приходящегося на 1 погонный метр ленточного свайного фундамента:
![]()
где
размер сваи
по ширине, l=4,5м;
d=2,25 –глубина
заложения
ростверка.
Вес одного погонного метра грунтобетонного массива:
Q=V·γ
- средневзвешенное
значения объёмного
веса грунтобетонного
массива.
;
;
- Нормальная
сила, приложенная
к подошве
грунтобетонного
массива.
Для определения границы осадки воспользуемся методом послойного суммирования:
Разбиваем толщу грунта на элементарные отрезки равные:
Граница активной зоны находится на глубине, на которой выполняется условие:
;
Суммарная осадка:

где
- берётся по
середине
элементарного
отрезка.
Для построения
эпюры действующих
напряжений
пользуемся
формулой:
![]()
где
- дополнительное
давление.
![]()
![]()
Таблица .
| № элем. Отр. |
|
|
|
|
|
|
|
|
| 1 |
0,5 |
0 | 0 | 1 | 296,05 | |||
| 0,5 | 0,83 | 0,8 | 266,45 | 9000 | 1,184 | |||
| 2 | 0,5 | 236,84 | ||||||
| 1 | 1,65 | 0,449 | 184,89 | 9000 | 0,8216 | |||
| 3 | 0,3 | 132,93 | ||||||
| 1,3 | 2,15 | 0,336 | 116,2 | 9000 | 0,1937 | |||
| 4 | 0,5 | 99,47 | ||||||
| 1,8 | 2,98 | 0,201 | 79,49 | 20000 | 0,159 | |||
| 5 | 0,5 | 59,51 | ||||||
| 2,3 | 3,8 | 0,108 | 51,48 | 20000 | 0,103 | |||
| 6 | 0,5 | 31,97 | ||||||
| 2,8 | 4,63 | 0,091 | 29,46 | 20000 | 0,059 | |||
| 7 | 0,5 | 26,94 | ||||||
| 3,3 | 5,46 | 0,067 | 23,39 | 20000 | 0,0468 | |||
| 8 | 0,5 | 19,84 | ||||||
| 3,8 | 6,28 | 0,051 | 17,47 | 20000 | 0,035 | |||
| 9 | 0,5 | 15,1 | ||||||
| 4,3 | 7,12 | 0,036 | 12,88 | 20000 | 0,026 | |||
| 10 | 0,5 | 10,66 | ||||||
| 4,8 | 7,93 | 0,029 | 9,625 | 20000 | 0,019 | |||
| 11 | 0,5 | 8,59 | ||||||
| 5,3 | 8,76 | 0,02 | 8,145 | 20000 | 0,016 | |||
| 12 | 0,5 | 7,7 | ||||||
| 6,81 | 20000 | 0,014 | ||||||
| 5,8 | 9,59 | 0,017 | ||||||
| 13 | 0,5 | 5,92 | ||||||
| 6,3 | 10,41 | 0,015 | 5,48 | 20000 | 0,011 | |||
| 14 | 0,5 | 5,03 | ||||||
| 6,8 | 11,24 | 0,013 | 4,735 | 20000 | 0,009 | |||
| 15 | 0,5 | 4,44 |
Сравнение вариантов конструкций фундаментов.
Для окончательного выбора варианта сравниваем их технико-экономические показатели.
А) Объём бетона для фундамента из сборных железобетонных блоков:
;
;
![]()
Блок 600х600 мм.
Подушка 170х300 мм.
Vобщ=Vп+VБ=264,91мі.
Б) Свайный фундамент:
Свая 4500х300х300 V=0,605 мі
Объемная масса свай: 0,303 мі/п.м.
Ростверк 0,6х0,5 = 0,3 мі
Объёмная масса ростверка: 0,635 мі/п.м.
Vобщ = Vс + Vр = 238,9 + 0,635 = 239,535 мі
Расход бетона на оба варианта приблизительно одинаков. Учитывая значительное увеличение стоимости работ за счёт применения сложной техники и методов, в свайном варианте, а так же удешевление работ в сборном железобетонном варианте при устройстве подвала. Окончательно принимаем фундамент из сборных железобетонных блоков и подушек.
Расчёт деформаций оснований. Определение осадки.
Осадка основания S с использованием расчётной силы в виде линейно деформированного полупространства определяется методом послойного суммирования.
Толща грунта под подошвой фундамента делится на элементарные отрезки:
![]()
Граница активной зоны находится на глубине, где выполняется условие:
так как
![]()
где
- действующее
напряжение;
- напряжение
от собственного
веса грунта.
Суммируем осадки от собственного веса грунта.
[ ];
где
- берётся по
средине элементарного
отрезка.
Для построения
эпюры действующих
напряжений
применяем
формулу:
;
где
- дополнительное
давление;
- коэффициент
рассеивания
[ ].
![]()
- приведённая
глубина (от
подошвы фундамента
до низа соответствующего
элемента отрезка).
Таблица .
| № элем. Отр. |
|
|
|
|
|
|
|
|
| 1 | 0,72 | 0 | 0 | 1 | 210,42 | |||
| 0,72 | 0,8 | 0,866 | 196,32 | 11000 | 1,028 | |||
| 2 | 0,72 | 182,22 | ||||||
| 1,44 | 1,6 | 0,578 | 151,92 | 11000 | 0,796 | |||
| 3 | 0,72 | 121,22 | ||||||
| 2,16 | 2,4 | 0,374 | 100,16 | 11000 | 0,525 | |||
| 4 | 0,14 | 78,7 | ||||||
| 3,56 | 3,96 | 0,163 | 56,5 | 11000 | 0,058 | |||
| 5 | 0,72 | 34,3 | ||||||
| 4,28 | 4,76 | 0,145 | 32,41 | 21000 | 0,089 | |||
| 6 | 0,72 | 30,51 | ||||||
| 5 | 5,56 | 0,1 | 25,78 | 21000 | 0,071 | |||
| 7 | 0,36 | 21,04 | ||||||
| 5,36 | 5,96 | 0,086 | 19,57 | 21000 | 0,027 | |||
| 8 | 0,72 | 18,1 | ||||||
| 6,08 | 6,76 | 0,06 | 15,37 | 9000 | 0,098 | |||
| 9 | 0,72 | 12,63 | ||||||
| 6,8 | 7,56 | 0,055 | 12,1 | 9000 | 0,078 | |||
| 10 | 0,46 | 11,57 | ||||||
| 7,26 | 8,07 | 0,053 | 11,36 | 9000 | 0,047 | |||
| 11 | 0,72 | 11,15 | ||||||
| 7,98 | 8,87 | 0,039 | 9,68 | 9000 | 0,028 | |||
| 12 | 0,72 | 8,21 | ||||||
| 7,47 | 9000 | 0,022 | ||||||
| 8,7 | 9,64 | 0,032 | ||||||
| 13 | 0,72 | 6,73 | ||||||
| 9,42 | 10,47 | 0,028 | 6,31 | 9000 | 0,018 | |||
| 14 | 0,72 | 5,89 | ||||||
| 10,14 | 11,63 | 0,024 | 5,47 | 9000 | 0,016 | |||
| 15 | 0,72 | 5,05 |
![]()
Предельная
осадка фундамента,
что больше чем
расчётная
осадка.
Расчёт армирования подушки фундамента.
Армирование фундаментной подушки осуществляется сетками. Рабочая арматура – поперечные стержни. Площадь рабочей арматуры подбираем из условия прочности на действие максимального изгибающего момента на свесе подушки.
;
где С – вылет консоли.
;
![]()
![]()
По полученному расчётному моменту находим коэффициент:
![]()
;
;
;
;
[ ].
В зависимости
от
принимаем
[ ].
Определяем расчётную площадь сечения рабочих арматурных стержней:
![]()
В соответствии
с сортаментом
принимаем 5ш12
А-III,
![]()
Продольную арматуру принимаем конструктивно: 12 стержней ш 8 А-I.
| № Скважины | Координаты устья | Наименование грунта | Толщина слоя |
т/мі |
|
|
|
т/мі |
кПа |
|
м/с |
q |
|
E, МПа |
Примечание |
| 1 | 65,3 | Суглинок аллювиальный | 4,4 | 2,66 | 0,19 | 0,27 | 0,24 | 1,8 | 23 | 22 |
|
- | 0,01 | 11 | УГВ=4,2м |
| Мелкий песок | 1,8 | 2,65 | - | - | 0,29 | 1,93 | 30 |
|
- | 0,01 | 21 | ||||
| Супесь | 1,9 | 2,66 | 0,16 | 0,23 | 0,28 | 1,82 | 24 |
|
- | 0,01 | 9 | ||||
| Суглинок аллювиальный | 4,9 | 2,67 | 0,14 | 0,26 | 0,18 | 1,97 | 40 | 24 |
|
- | 0,01 | 20 | |||
| 3 | 65,8 | Суглинок аллювиальный | 5,1 | 2,66 | 0,18 | 0,28 | 0,25 | 1,8 | 22 | 23 |
|
- | 0,,01 | 12 | УГВ=4,7м |
| Супесь | 3,1 | 2,65 | 0,18 | 0,24 | 0,27 | 1,81 | 8 | 24 |
|
- | 0,01 | 8,5 | |||
| Суглинок аллювиальный | 3,4 | 2,66 | 0,15 | 0,24 | 0,18 | 1,96 | 41 | 24 |
|
- | 0,01 | 19 |
Расчёт ригеля.
Расчётная
сила: N
= 3,93 кН; расчётная
длина ригеля:
.
Ригель проектируем из бруса прямоугольного сечения, рассчитываем как центрально сжатый элемент:
Предварительно принимаем сечение: 10 х 17,5
,
так как
,
то производим
проверку устойчивости
п.4.2. [ ].
![]()
где
;
;
![]()
![]()
Гибкость ригеля:
![]()
где
[ ];
r=0,289b=0,289·10=2,89см
![]()
Расчёт стропильной ноги в клеёном деревянном варианте.
Стропильную ногу рассчитываем на сжатие с изгибом. Предварительно принимаем сечение a x b = 18,5 х 35 (14 досок δ=2,5).
Расчётные
усилия определяются
по сечению 4 –
4 (конечный элемент
№2): M =
- 40,93 кНм = 4093 кНсм;
N =
- 26,2 кН. Древесина:
сосна второго
сорта.
.
;
![]()
С учётом ослабления сечения :
![]()
.
Расчёт сжато – изгибаемых элементов на прочность:
![]()
где
![]()
![]()
Коэффициент условия работы:
![]()
![]()
Гибкость элемента в плоскости действия момента:
![]()
где
(п.4.21 [ ]).
L=6,928м=692,8см
![]()

Проверка прочности плоской формы деформации (п.4.18. [ ]):

где n=1 (п.4.18 [ ])
Проверяем по сечению 3 – 3: M = - 40,93 кНм = - 4093 кНсм; N = 12,74 кН:
;
![]()
![]()

Расчёт стропильной ноги.
Вариант со стропильными ногами
из клеёной древесины:
Рис.
Сбор нагрузок на стропильную конструкцию. Таблица
|
N п/п |
Нагрузка | Нормативная, кН/мІ |
Ψf |
Расчётная, кН/мІ |
|
1 2 3 4 |
Плоские металлические листы Прогоны деревянные, 5х6см, шаг 30см. Стропильная нога клеёная, 16,5х30см, шаг 2м Полезная нагрузка |
0,078 0,015 0,3129 0,7 |
1,05 1,1 1,1 1,13 |
0,0819 0,0165 0,34425 0,91 |
|
|
1,1059 | 1,35265 |
Приводим к погонной нагрузке на 1м горизонтальной поверхности:
![]()
![]()
Полная погонная нагрузка:
![]()
Выбор варианта.
Вариант со стропилами из прокатного металлического профиля менее экономичен. Стальные конструкции имеют большую общую массу при одинаковой несущей способности. Металл является более дефицитным и дорогим материалом, чем дерево. Металлические конструкции подвержены коррозии. Клеёная древесина в 10 раз дешевле металлического проката. Монтажные, узлы в металлическом варианте, более энергоемки, трудоёмки и дороги в исполнении. По этому окончательно выбираем стропила из клеёной древесины.
Защита конструкций от загнивания и возгорания.
Для защиты от загнивания изолируются очаги возможного загнивания. Для этого предусматриваются меры ликвидирующие возможность капельного переувлажнения конструкций при их эксплуатации. Эти меры, в проекте, представляют : свободный доступ к опорным узлам рамы (низ несущих конструкций мауэрлатов находится на высоте + 7,150 м), произведена изоляция мауэрлатов от конструкции несущей стены 3-мя слоями рубероида.
Для изготовления конструкций использованы сухие пиломатериалы влажности менее 10%. Для предотвращения переувлажнения в процессе эксплуатации и гигроскопического переувлажнения предусмотрены химические меры защиты : окрасочная пропитка клеёной древесины в условиях площадки огнезащитным составом «КСД» (ТУ 2389-006-17483468-94), который, в то же время имеет биозащитные свойствами . Расход состава 0,75 л/мІ.
По условиям огнестойкости проектируемые конструкции имеют массивные прямоугольные сечения предел огнестойкости, которых 30 – 40 минут. Для повышения огнестойкости узлов в соединениях, металлические крепежные элементы находятся в толще деревянных элементов. Массивные деревянные конструкции дополнительно окрашены огнезащитной краской – ПХВО с расходом 0,6 кг/мІ.
Overview
Sheet1Sheet2
Sheet 1: Sheet1
| N п/п | Наименование нагрузки | Ф | 1-1 | 2-2 | 3-3 | 4-4 | 5-5 | 6-6 | 7-7 | 8-8 | Затяжка | |||||||||
| M | N | M | N | M | N | M | N | M | N | M | N | M | N | M | N | N | ||||
| 1 | Снеговая вариант 1 | 0.00 | -10.60 | 13.10 | 0.00 | -35.97 | 10.60 | -35.97 | -24.10 | -4.87 | -18.10 | -4.87 | -21.60 | -2.80 | -17.20 | 0.00 | -12.90 | 3.93 | ||
| 2 | Снеговая вариант 2 | 0.00 | -12.70 | 17.04 | 0.00 | -40.93 | 12.74 | -40.93 | -26.20 | -4.82 | 12.70 | -4.83 | -26.20 | -19.80 | -22.57 | 0.00 | -1.90 | 3.93 | ||
| I | -Mmax,Nc | Nнагр | 1 | -35.97 | 10.60 | -35.97 | -24.10 | |||||||||||||
| Nнагр | 1 | -40.93 | -12.74 | -40.93 | -26.20 | |||||||||||||||
| II | +Mmax,Nc | Nнагр | 1 | 13.10 | 0.00 | |||||||||||||||
| Nнагр | 1 | 17.04 | 0.00 | |||||||||||||||||
| III | -Nmax,Mc | Nнагр | 1 | -35.97 | -24.10 | |||||||||||||||
| Nнагр | 1 | -40.93 | -26.20 | |||||||||||||||||
| IV | +Nmax,Mc | Nнагр | 1 | -35.97 | 10.60 | |||||||||||||||
| Nнагр | 1 | -40.93 | 12.74 | |||||||||||||||||
Sheet 2: Sheet2
| Вариант стропил из клеёной древесины Таблица | ||||||||||||||||||||
| N п/п | Наименование нагрузки | Ф | 1-1 | 2-2 | 3-3 | 4-4 | 5-5 | 6-6 | 7-7 | 8-8 | Затяжка | |||||||||
| M | N | M | N | M | N | M | N | M | N | M | N | M | N | M | N | N | ||||
| 1 | Снеговая вариант 1 | 0.00 | -10.60 | 13.10 | 0.00 | -35.97 | 10.60 | -35.97 | -24.10 | -4.87 | -18.10 | -4.87 | -21.60 | -2.80 | -17.20 | 0.00 | -12.90 | 3.93 | ||
| 2 | Снеговая вариант 2 | 0.00 | -12.70 | 17.04 | 0.00 | -40.93 | 12.74 | -40.93 | -26.20 | -4.82 | 12.70 | -4.83 | -26.20 | -19.80 | -22.57 | 0.00 | -1.90 | 3.93 | ||
| Вариант стропил из металлического профиля Таблица | ||||||||||||||||||||
| N п/п | Наименование нагрузки | Ф | 1-1 | 2-2 | 3-3 | 4-4 | 5-5 | 6-6 | 7-7 | 8-8 | ||||||||||
| M | N | M | N | M | N | M | N | M | N | M | N | M | N | M | N | |||||
| 1 | Снеговая вариант 1 | 0.00 | -6.18 | 15.84 | -1.77 | 20.67 | 2.64 | 14.51 | 7.04 | -22.85 | 11.44 | -22.85 | -10.70 | 5.54 | -1.86 | 0.00 | 2.54 | |||
| 2 | Снеговая вариант2 | 0.00 | -7.22 | 18.43 | -2.08 | 24.06 | 3.05 | 16.87 | 8.18 | -26.67 | 13.31 | -26.67 | -12.48 | 6.91 | -2.20 | 0.00 | 2.16 | |||
Расчет прогона.
Прогон рассчитываем как изгибаемый элемент:
Расчетное
усилие:
;
M = 0,5 кН.
Расчёт изгибаемого элемента:
![]()
Предварительно принимаем сечение 2 х 2 см.
![]()
![]()
Древесина: сосна II сорт.
Проверка устойчивости плоской формы деформации:

п.4.14[
].
Проверка прогона по прочности на скалывание:
п.4.10 [ ].
Расчётное усилие Q=1кН.
,
т.3
[ ].
![]()
Похожие рефераты:
Капитальный и текущий ремонты зданий
Проектирование 9-этажного дома
Проектирование четырехэтажной гостиницы в г. Краснодаре
Расчет и проектирование здания Дома быта на 15 человек
Проектирование 16-ти этажного 2-х секционного жилого дома в Ейске
Проектування монолітного п’ятнадцятиповерхового будинку
Проектирование дренажей на базе чертежей базы ГП
11-этажный жилой дом с мансардой
Технология возведения подземной части здания
Разработка технологической карты на возведение кирпичного здания



