| Похожие рефераты | Скачать .docx |
Дипломная работа: Реконструкция схемы внутристанционных коллекторов теплосети
Аннотация
Пояснительная записка содержит 90 страниц, в том числе 8 рисунков, 35 таблиц, 21 источник. Графическая часть выполнена на 7 листах формата А1.
В данном проекте рассматриваются основные вопросы, связанные с расчетом и проектированием новой трассы внутристанционных коллекторов на территории Орской ТЭЦ-1. В проекте приведены основные теоретические сведения, необходимые для расчета. Производится тепловой, гидравлический расчет, определен диаметр трубопроводов трассы, выбор изоляционного слоя.
Рассмотрен узел деаэрации для подпитки теплосети. Произведен выбор деаэраторов и расчет эжекторов к ним. Осуществлен выбор теплообменного аппарата, тепловой расчет охладителя выпара, выполненного из собственных материалов ОТЭЦ-1.
В электрической части произведен выбор насосов для системы подпитки и кабелей к ним.
Положительный результат проекта показывает технико-экономический расчет.
Монтаж новых трубопроводов необходимого диаметра обеспечивает надежную и качественную работу системы, возможность снизить тепловые и гидравлические потери, срок службы трассы до первой технической диагностики составляет 30 лет.
Содержание
Введение
1 Характеристика объекта проектирования
1.1 Сведения о предприятии
1.2 Описание технологического процесса предприятия
1.3 Характеристика системы энергообеспечения предприятия
1.4 Характеристика объекта проектирования
1.5 Постановка задачи проектирования
1.6 Назначение, перечень основных узлов и принцип работы
оборудования
2 Проектирование системы внутристанционных коллекторов
2.1 Гидравлический расчет тепловой сети
2.2 Тепловой расчет теплосети
3 Тепловой расчет проектируемой схемы
теплосети
4 Гидравлический расчет теплосети
4.1 Гидравлический расчет трубопроводов теплосети
4.2 Проектируемая схема теплоснабжения
5 Реконструкция деаэрационной установки
5.1 Деаэрационная установка ДСА-300
5.2 Деаэратор АВАКС
5.2.1 Устройство и принцип работы
5.2.2 Проектирование схемы
5.2.3 Расчет теплообменного аппарата
5.3 Охладитель выпара
5.4 Водоструйные эжекторы
6 Электрическая часть установки насосов
7 Установка частотно-регулируемых приводов на сетевые насосы
7.1 Исходные данные
7.2 Назначение системы
7.3 Конструкция и принцип действия
8 Безопасность жизнедеятельности
8.1 Меры безопасности при эксплуатации тепловых сетей
8.2 Меры безопасности при эксплуатации теплового оборудования
8.3 Меры безопасности при гидравлическом испытании тепловой сети
8.4 Потенциально опасные и вредные производственные факторы
8.5 Воздействие опасных и вредных производственных факторов
8.6 Защита от опасных и вредных производственных факторов
8.7 Расчет общего искусственного освещения
9 Технико- экономическое обоснование
9.1 Определение суммы капитальных вложений деаэрационную
установку
9.2 Расчет стоимости электроэнергии и теплоэнергии
9.3 Рентабельность и прибыль проекта
9.4 Эффективность и срок окупаемости проекта
9.5 Технико- экономический расчет при проектировании системы теплоснабжения
Заключение
Список использованных источников
Введение
Система теплоснабжения представляет собой совокупность трубопроводов, установок и устройств для производства, распределения и использования тепловой энергии, гидравлически связанных между собой подающими и обратными трубопроводами сетевой воды.
Надежность работы тепловых сетей и экономичность передачи тепла — основные вопросы транспортирования тепла. Тепловые сети — сооружения дорогие и металлоемкие; при рациональном выполнении тепловых сетей можно сэкономить много средств и металла. Первоочередной задачей проектирования тепловых сетей является выбор трассы. При решении этого вопроса необходимо стремиться прежде всего к обеспечению надежной и бесперебойной работы сетей, их минимальной протяженности, минимального объема строительно-монтажных работ, удобства производства этих работ .
С ростом города и промышленности растет и теплопотребление. Основной предпосылкой рациональной прокладки трубопроводов является проложение трубопроводов с учетом возможности дальнейшего их расширения.
Долговечность тепловых сетей обеспечивается отсутствием коррозии с внешней и внутренней стороны труб. Соблюдение этих условий достигается не только правильным проектированием и выполнением сооружения, но также надлежащей эксплуатацией, поддерживанием соответствующих режимов, организацией контроля и профилактических мероприятий.
Внешняя коррозия труб предотвращается высококачественной термоизоляцией.
В защите от внутренней коррозии прежде всего следует заботиться об удалении кислорода из подпиточной воды. Содержание кислорода в воде не должно превышать 0,1 мг/л. Наличие кислорода ведет к быстрому разрушению системы. Удаление кислорода из воды осуществляется при помощи термических деаэраторов и новых вихревых деаэраторов АВАКС, работающих при температуре 60-80 0 С, оптимальной с точки зрения затрат на поддержание вакуума и температурного режима теплосети.
В процессе эксплуатации необходимо стремиться к достижению высоких экономических показателей теплоснабжения: к сокращению расхода топлива при выработке тепла, к уменьшению теплопотерь и расхода энергии на передачу тепла потребителям.
Расходы энергии на перекачку связаны с удельными расходами теплоносителя и расчетными параметрами сети. Чем меньше удельные потери давления в трубах, тем меньше расход энергии на перекачку. Чтобы обеспечить большую точность измерений, определение гидравлических потерь производят при возможно максимальных расходах теплоносителей.
В водяных системах теплоснабжения основное теплофикационное оборудование ТЭЦ состоит из пароводяных подогревателей, сетевых насосов, установок для подготовки подпиточной воды, включающих водоподготовку, деаэрационные устройства, аккумуляторы горячей воды и подпиточные насосы. В совокупности это оборудование носит название подогревательной установки.
Пароводяной подогреватель – основной элемент подогревательной установки – представляет собой поверхностный рекуперативный аппарат кожухотрубчатого типа. Он предназначен для подогрева сетевой воды, необходимой для нужд отопления и горячего водоснабжения, за счёт использования теплоты пара низкого давления, поступающего из отбора турбины.
В связи с истощением топливных ресурсов и ростом цен на них возникает проблема экономичного использования топлива. Эта проблема частично решается за счёт применения современного, более совершенного оборудования. В частности, при замене кожухотрубчатых подогревателей сетевой воды на пластинчатые, сокращается потребление пара подогревательной установкой, а, следовательно, снижается расход топлива на производство пара при одинаковых значениях его параметров.
Пластинчатый теплообменный аппарат – это аппарат поверхностного типа, теплопередающая поверхность которого образована из тонких штампованных гофрированных пластин.
Пластинчатые теплообменные аппараты обладают рядом преимуществ по сравнению с кожухотрубчатыми. Это:
1) компактность;
2) меньшие затраты на монтаж оборудования;
3) манёвренность;
4) стойкость к циклическим нагрузкам, вибрации;
5) визуальный контроль состояния теплообменной поверхности;
6) минимальные потери тепла в окружающую среду;
7) малая скорость возникновения отложений, возможность восстановления поверхности, механической очистки.
Необходимо также неуклонно повышать производительность труда путем внедрения новой техники, передовых методов труда, изучать новые конструкции изоляции, рационализации и изобретательства. Внедрение нового- это культура теплоэнергетики. Без культуры нет прогресса и будущего теплоэнергетики.
1 Характеристика объекта проектирования
Орская ТЭЦ-1 введена в эксплуатацию 19 ноября 1938 года, это одно из важнейших предприятий в жизнеобеспечении города. Вся вырабатываемая ТЭЦ-1 тепловая и электрическая энергия направляется на удовлетворение потребностей в электроснабжении, отоплении и горячем водоснабжении г.Орска, покрытии паровых нагрузок промышленных предприятий правобережной части города. В настоящее время установленная мощность составляет:
- электрическая– 245 МВт;
- тепловая– 1349 Гкал/час.
На ТЭЦ-1 установлено пять энергетических котлов, четыре турбогенератора и четыре водогрейных котла.
Основным видом топлива для энергетических и водогрейного котлов является природный газ. Резервным топливом энергетических и водогрейных котлов служит мазут.Потребителями тепловой энергии в паре являются крупнейшие предприятия города – ОНОС, ЮУМЗ, ОФБТ “Ника”, ЗЖБИ, ЗАО “Городская промышленная компания”, в горячей воде – ОПТС, ЮУМЗ, ОТУ, Орский машиностроительный завод, ОЗЛМК, ОНХМ-2.
Водоснабжение станции осуществляется от береговой насосной, расположенной на реке Урал. Техническая вода, необходимая для технологических нужд станции, подается насосами по двум промышленным водоводам диаметром 700 мм.
1.2 Описание технологического процесса предприятия
Целью технологического процесса ТЭЦ является производство перегретого пара, горячей воды и электроэнергии.
Основой процесса является сгорание топлива с превращением химически связанной энергии в тепловую. В котле вода нагревается до температуры кипения, испаряется и превращается в пар, который затем перегревается. Перегретый пар с T=550-560о С и Р=140 ата из котла по трубопроводам подается в турбину, где его тепловая энергия превращается в механическую, передаваемую валу турбины и соединенному с ней ротору генератора. После прохождения турбины пар конденсируется и собирается в конденсаторе, из которого откачивается конденсатным насосом (КЭН) и, пройдя через подогреватели низкого давления (ПНД), поступает в деаэратор. Здесь он подогревается паром до температуры насыщения, при этом из него выделяются и удаляются в атмосферу кислород и углекислота, для предотвращения коррозии оборудования. Деаэрированная вода, называемая питательной водой, питательным насосом (ПЭН) прокачивается через подогреватели высокого давления (ПВД) и подается в котел. Такой способ означает возврат (регенерацию) теплоты в цикл и называется регенеративным подогревом. Благодаря ему уменьшается поступление пара в конденсатор, а следовательно и количество теплоты, передаваемой охлаждающей воде, что приводит к повышению КПД паротурбинной установки.
1.3 Характеристики системы энергообеспечения предприятия
Начальной точкой теплоснабжения ТЭЦ является ее котлотурбинный цех, из которого горячая вода для теплоснабжения поступает на теплопункты, в которых установлены коммерческие узлы учета, в том числе и для собственных нужд. После теплопунктов горячая вода идет на теплоснабжение производственных и административных зданий предприятия. Трубопровод, подающий горячую воду, называется прямым, а трубопровод, по которому вода возвращается обратно в котлотурбинный цех, называется обратным.
Из обратного трубопровода коллекторных сетевая вода поступает в бойлеры через конденсационные насосы. В бойлерах сетевая вода нагревается питательной водой из отборов турбин. Из бойлеров сетевая вода через насосы поступает в подающий трубопровод коллекторных. Из коллекторов питательной воды вода попадает в котлы, затем в турбины. С турбин- отборы на производство (на другие предприятия, на бойлеры, на мазутное хозяйство, чтобы подогревать мазут, на подогреватели душевой). С конденсатора отработанный пар турбины поступает в деаэраторы, где освобождается от кислорода, далее насосами прокачивается в котлы.
1.4 Характеристика объекта проектирования
Объектом проектирования являются внутристанционные коллекторы, подающие сетевую воду на теплопункты от бойлерных установок турбин №9, 10, 11 и водогрейных котлов №3 и №4.
Температурный график 150/70 0 С.
Прокладка трубопроводов наземная на высоких и низких опорах, частично подземная в непроходных каналах. Тепловая изоляция трубопроводов выполнена минеральной ватой с покрытием асбоцементной штукатуркой по металлической сетке, а при воздушной прокладке с металлическим кожухом.
Компенсация температурных удлинений осуществляется «П» – образными компенсаторами и за счет углов поворота трассы.
Срок эксплуатации трубопроводов тепловой сети более 35 лет.
Подпитка теплосети осуществляется с ХВО-3. Химически очищенная вода подается на деаэраторы ДСА-300 производительностью 300 т/ч. Насосами НПТС №5 и №6 подается в обратный коллектор сетевой воды.
1.5 Постановка задачи проектирования
Основной задачей является реконструкция существующей схемы теплоснабжения. Схема выполнена с использованием трубопровода диаметром 530, 630, 920 и 1020 мм, смонтированных более 35 лет назад.
В настоящее время существующая схема теплоснабжения устарела, из-за возможного увеличения расхода теплоносителя на 30% диаметр трубопровода меньше требуемого значения, что приводит к большим гидравлическим потерям, особенно в смешивающем коллекторе Ду 530. С применением новой изоляции снижаем тепловые потери. При замене труб приходим к сокращению затрат на ремонт трассы и техническую диагностику тепловой сети.
В связи с выше перечисленными недостатками возникла необходимость модернизации или постройки новой магистрали. В данном проекте рассматривается вариант монтажа новой схемы теплоснабжения, установка узла деаэрации, выбор вспомогательного оборудования.
1.6 Назначение, перечень основных узлов и принцип работы оборудования
Основные характеристики водогрейных котлов представлены в таблице 1.
Таблица 1 – Характеристики водогрейных котлов
| Тип оборудования | Мощность, Гкал/ч | Давление, МПа | Год ввода |
| ПТВМ-180 | 180 | 2,5 | 1972 |
| ПТВМ-180 | 180 | 2,5 | 1977 |
| ПТВМ-180 | 180 | 2,5 | 1979 |
| КВГМ-180 | 180 | 2,5 | 1982 |
Водогрейный котел типа ПТВМ - 180 ст. № 3, прямоточный, башенного типа, теплопроизводительностью 180 Гкал/час находится в эксплуатации с 1979 года. Котел работает только в основном режиме, на газообразном топливе. Котел оборудован 20 газомазутными горелками, расположенными в 2 яруса по 10 горелок на каждой из боковых стен. Теплопроизводительность котла регулируется изменением количества работающих горелок при постоянном расходе сетевой воды на котел. Рециркуляция дымовых газов отсутствует.
Водогрейный котел типа КВГМ -180 - 150 -2 ст. № 4 - прямоточный, Т-образной сомкнутой компоновки, газомазутный, в эксплуатации находится с 1982 года. Котел работает только в основном режиме и на газовом топливе. Котел оборудован 6 вихревыми газомазутными горелками, расположенными симметрично на боковых стенах треугольником с вершиной вверх. Теплопроизводительность котла регулируется изменением подачи газа и воздуха на горелки.
Таблица 2- Бойлерные установки ОТЭЦ-1
| Группа | Коли-чество | Тип теплофикационной установки | Пропуск-ная способно-сть т/ч. | Темпера-тура нагреваºС | Тепловая мощность Гкал/час | |
| ОБ-1-9 | 1 | ПСВ-500-3-23 | 1150 | 70-120 | 57,5 | |
| ОБ-2-9 | 1 | ПСВ-500-3-23 | 1150 | 70-120 | 57,5 | |
| ПБ-1-9 | 1 | ПСВ-500-14-23 | 1800 | 105-150 | 81 | |
| ОБ-1-10 | 1 | ПСВ-500-3-23 | 1150 | 70-120 | 57,5 | |
| ОБ-2-10 | 1 | ПСВ-500-3-23 | 1150 | 70-120 | 57,5 | |
| ПБ-3-10 | 1 | ПСВ-500-14-23 | 1800 | 105-150 | 81 | |
| ОБ-1-11 | 1 | ПСВ-500-3-23 | 1150 | 70-120 | 57,5 | |
| ОБ-2-11 | 1 | ПСВ-500-3-23 | 1150 | 70-120 | 57,5 | |
| ПБ-1-11 | 1 | ПСВ-500-14-23 | 1800 | 105-150 | 81 | |
По характеру тепловой нагрузки подогреватели подразделяются на основные и пиковые. Пар на основной бойлер поступает из отбора турбины с давлением 1,2 ата, а на пиковый бойлер – с давлением 10-16 ата.
Каждый подогреватель представляет собой пароводяной вертикальный теплообменный аппарат с цельносварным корпусом. Трубный пучок состоит из прямых трубок диаметром 19 мм, выполненными из латуни марки Л-68, развальцованных с обеих сторон в трубных досках.. Для жёсткости и прочности трубная система заключена в стальной каркас с перегородками. Перегородки направляют поток пара для лучшего омывания трубного пучка и являются промежуточными опорами для труб, предотвращая их вибрации. В месте выхода струи греющего пара на трубный пучок устанавливается пароотбойный лист для защиты трубок от динамического удара потока пара и распределения пара в межтрубном пространстве. Для получения больших скоростей воды подогреватели выполнены двухходовыми. Ходы образуются перегородкой в нижней камере. Перегородка делит трубный пучок на две части по числу ходов.
Сетевая вода через входной патрубок подаётся в одну из половин верхней водяной камеры, проходит половину трубок и поступает в нижнюю часть. По другой половине трубок вода поднимается вверх во вторую половину верхней водяной камеры, откуда через патрубок отвода сетевой воды поступает в сборный коллектор горячей воды. По ходу своего движения вода нагревается паром. Пар в свою очередь конденсируется и отводится через отверстие в днище.
Для продувки парового пространства для удаления воздуха в нижней части корпуса имеются дренажные отверстия.
Сетевые насосы типа № 8, № 9 предназначены для обеспечения необходимого давления сетевой воды на всасе сетевых насосов № 21, № 22, которые в свою очередь установлены после сетевых подогревателей и обеспечивают циркуляцию сетевой воды в системе теплоснабжения.
Таблица 3- Технические характеристики сетевых насосов типа КРНА-400/700/64М бойлерной установки турбины № 9.
| Параметр | Значение |
| Тип насоса | Двухступенчатый, центробежный, с односторонним всасом |
| Производительность, м3 /ч | 1000 |
| Напор, м вод. ст. | 482 |
| Подпор, мм вод.ст. | 2 |
| Число оборотов, об./мин. | 1450 |
| Мощность электродвигателя, кВт | 570 |
Таблица 4. Технические характеристики сетевых насосов типа 10НМКх2 бойлерной установки турбины № 9.
| Параметр | Значение |
| Тип насоса | Одноступенчатый, центробежный |
| Производительность, м3 /ч | 1250 |
| Напор, м вод. ст. | 140 |
| Число оборотов, об./мин. | 1500 |
| Мощность электродвигателя, кВт | 710 |
2 Проектирование системы внутристанционных коллекторов
2.1 Гидравлический расчет тепловой сети
Задачи гидравлического расчета.
Гидравлический расчет является одним из важнейших разделов проектирования и эксплуатации тепловой сети.
В задачу гидравлического расчета входит:
а) определение диаметров трубопроводов;
б) определение падения давления (напора).
Результаты гидравлического расчета дают исходный материал для определения капиталовложений, расхода металла (труб) и основного объема работ по сооружению тепловой сети;
Для проведения гидравлического расчета должны быть заданы схема тепловой сети, указаны размещение станции и потребителей и расчетные нагрузки.
Порядок гидравлического расчета.
При гидравлическом расчете трубопроводов обычно задан расход теплоносителя. Требуется определить диаметр трубопровода.
2.2 Тепловой расчет теплосети
Расчет теплопотерь позволяет правильно подойти к выбору тепловой изоляции, определить температуру и теплосодержание теплоносителя у потребителей. При неправильном выборе изоляции тепловые потери могут оказаться недопустимо большими и значительно увеличивающими стоимость транспортирования тепла.
Основными требованиями, предъявляемыми к тепловым материалам и конструкциям, являются:
а) низкий объемный вес (не превышающий 600 кг/м3 ) в сочетании с низким коэффициентом теплопроводности (до 0,1 ккал/м ч °С);
б) достаточная механическая прочность;
в) температуроустойчивость;
г) низкое водопоглощение;
д) малая гигроскопичность.
При выборе теплоизоляционных материалов и конструкций отдают предпочтение материалам малодефицитным, экономичным, надежным в эксплуатации.
Все теплоизоляционные конструкции, как правило, состоят из основного изоляционного слоя, крепежных элементов, покровного (защитного) и отделочного слоя. Покровный слой придает изоляции правильную форму, защищает ее от внешних механических повреждений и атмосферных осадков.
В качестве защитного покрытия применяют оцинкованную сталь или алюминиевые листы толщиной 0,7-1 мм.
3 Тепловой расчет проектируемой схемы теплосети
В качестве тепловой изоляции используем минераловатные маты марки 150. Толщина теплоизоляционной конструкции 100мм.
Общая формула для определения теплопотерь теплопроводом, ∆Q, ккал/ч, имеет следующий вид:
, (3.1)
где t1 - средняя температура теплоносителя, град.;
t0 - температура окружающей среды, град.;
∑R- сумма термических сопротивлений на пути потока тепла от теплоносителя до окружающей среды, м час град/ккал;
l - длина теплопровода, м;
β- коэффициент, учитывающий дополнительные потери тепла неизолированными частями, арматурой и фасонными частями в долях от потерь труб.
Следует различать граничные, или поверхностные, термические сопротивления, возникающие на поверхности твердого тела, соприкасающейся с воздухом, и внутренние термические сопротивления, возникающие внутри твердого тела.
Граничные термические сопротивления Rп , м*час*град/ккал, определяются по формуле:
, (3.2)
где α- коэффициент теплоотдачи от твердой поверхности к
воздуху, ккал/м2 час град;
гп — радиус поверхности, м.
Внутренние термические сопротивления, Rв , м*час*град/ккал, определяются по формуле:
, (3.3)
где λ- коэффициент теплопроводности изоляции, ккал/м час град; при изолировании минераловатными матами принимается
λ=0,08 Вт/м °С.
rн и rв - наружный и внутренний радиусы твердого тела, м.
Ввиду относительно малых значений термических сопротивлений стенки металлической трубы и пограничного сопротивления на внутренней поверхности теплопровода указанными сопротивлениями в практических расчетах можно пренебречь.
Потери тепла при надземных прокладках для трубы с однослойной изоляцией согласно указанному определятся так:
, (3.4)
где α- коэффициент теплоотдачи для воздуха, ккал/м2 *час*град, определяемый по следующей приближенной формуле:
,(3.5)
где tп —температура поверхности изоляции, определяемая по формуле:
(3.6)
w — скорость воздуха около изоляции в м/сек.
Бойлерная установка т.а.9 –общий коллектор
Задаваясь температурой поверхности изоляции 500 С,находим α:
ккал/м2
ч град.
Потери тепла теплопроводом:
ккал/час.
Проверим температуру поверхности изоляции по формуле:
0
С.
м час град/ккал.
м час град/ккал.
Пересчитаем значение α:
![]()
Тогда
ккал/час.
Расчет остальных участков трубопроводов аналогичен. Результаты сведены в таблицу 5:
Таблица 5- Тепловые потери участков трубопроводов
| Участок трубопровода | ∆Q, ккал/час | tп ,0 С | α, ккал/м2 *час*град | ∆Q, ккал/час |
| т.а.9 –общий коллектр | 60163 | 24,23 | 17,45 | 60025 |
| т.а.10-общий коллектр | 45523 | 24,23 | 17,45 | 45411 |
| т.а.11 –общий коллектор | 136123 | 24,29 | 17,46 | 135824 |
| Перемычка т.а.9-ТП-2 | 4653 | 24,23 | 17,45 | 4641 |
| Перемычка т.а.10-ТП-2 | 1283 | 24,23 | 17,45 | 1280 |
| Перемычка т.а.11-ТП-2 | 3216 | 24,29 | 17,46 | 3208 |
| Задвижки С1 и С2-ТП1 | 105100 | 24,21 | 17,45 | 104874 |
| Задвижки 123,122-ТП2 | 186451 | 24,13 | 17,45 | 186014 |
| Задвижки 124 и 125- ТП3 | 111229 | 24,08 | 17,45 | 111133 |
| Перемычки между ТП1 и ТП2 | 94643 | 24,08 | 17,45 | 94561 |
| Перемычка между ТП1 и ТП3 | 208071 | 24,21 | 17,45 | 207621 |
| Задвижки III-СП-15 и III-СП-14 до ВК №3 и №4 | 98828 | 24,23 | 17,45 | 98585 |
Потери теплоты в проектируемой схеме за максимально холодные сутки -310 С равны 1053,2* 103 ккал/час.
4 Гидравлический расчет теплосети
По данным таблиц отпуска тепла на каждого потребителя составляем таблицу расходов и теплоты горячей воды на три теплопункта. По годовым графикам потребления вычисляем максимальный расход горячей воды в месяц.
Для ТП- 1 Gмакс =2780408 тн/мес=3737,1 тн/час.
Для ТП-2 Gмакс = 857077 тн/мес = 1152тн/час.
Для ТП-3 Gмакс =1811849 тн/мес=2435,3 тн/час.
4.1 Гидравлический расчёт существующих трубопроводов теплосети
Исходные данные для гидравлического расчёта трубопроводов представлены в таблице 7.
Бойлерная установка т.а.9 –общий коллектор:
Линейное падение давления в трубопроводе сетевой воды
, Па:
Таблица 7 - Характеристика существующих трубопроводов
Тип трубопровода |
Диаметр трубопровода, м | Длина трубопровода, м | Плотность воды, |
Расход воды, т/ч | ||
| прямого | обратного | |||||
| Бойлерная установка т.а.9 –общий коллектор | 0,630 | 150 | 159 | 968,6 | 2350 | |
| Бойлерная установка т.а.10 –общий коллектор | 0,630 | 113,5 | 116,5 | 968,6 | 2350 | |
| Бойлерная установка т.а.11 –общий коллектор | 0,630 | 381 | 345 | 968,6 | 2250 | |
| Перемычка т.а.9-ТП-2 (I-C-18- I-C-23) | 0,630 | 11,6 | 5,1 | 968,6 | 2350 | |
| Перемычка т.а.10-ТП-2 (II-C-18- II-C-23) | 0,630 | 3,2 | 3,5 | 968,6 | 2350 | |
| Перемычка т.а.11-ТП-2 (III-C-18- III-C-23) | 0,630 | 9 | 7,7 | 968,6 | 2250 | |
| Задвижки С1 и С2 -ТП1 | 1,020 0,920 |
189,5 8 |
189,5 8 |
974,9 | 3737,1 | |
| Задвижки 123 и 122- ТП2 | 0,920 | 419,1 | 419,1 | 958,3 | 1152 | |
| Задвижки 124 и 125- ТП3 | 1,020 | 228 | 231,1 | 965,3 | 2435,3 | |
| Перемычки между ТП1 и ТП2 | 0,530 0,630 |
194 192 |
194 192 |
974,9 | 3737,1 | |
| Перемычки между ТП1 и ТП3 | 0,530 | 391 | 974,9 | 3737,1 | ||
| Задвижки III-СП-15 и III-СП-14 до ВК №3 и №4 | 0,820 | 246,4 | 146,4 | 965,3 | 1950 | |
,(4.1)
где
- удельное падение давления, Па/м;
(4.2)
- коэффициент, зависящий от абсолютной шероховатости трубопровода, принимаемый по таблице;
, /2, с.191/|
![]()
![]()
Местное падение давления в трубопроводе подвода сетевой воды
, Па:
, (4.3)
где
- эквивалентная длина местных сопротивлений, м.
,(4.4)
где
- коэффициент, зависящий от абсолютной шероховатости трубопровода;
, /2, с.191/
- сумма коэффициентов местных сопротивлений арматуры и фасонных частей.
Местные сопротивления:
, /2, с.444 /
.
.
Общее падение давления в трубопроводе подвода сетевой воды
, Па:
(4.5)
![]()
Потеря напора сетевой воды в трубопроводах подвода сетевой воды
, м:
(4.6)
![]()
Трубопровод отвода воды:
Удельное падение давления определяется по формуле (4.2):
![]()
Линейное падение давления в трубопроводе отвода сетевой воды определяется по формуле (4.1):
![]()
Местные сопротивления :
![]()
![]()
Местное падение давления определяется по формуле (4.3):
![]()
Общее падение давления в трубопроводе отвода сетевой воды определяется по формуле (4.5):
Па
Потеря напора сетевой воды в трубопроводах отвода сетевой воды определяется по формуле (4.6):
![]()
Общее падение давления в трубопроводах:
![]()
Потери напора в трубопроводах:
![]()
Расчет остальных участков трубопроводов аналогичен. Результаты сведены в таблице 8:
Общее падение давления в коллекторах теплосети:
![]()
Потери напора в трубопроводах теплосети:
![]()
4.2 Гидравлический расчет проектируемой схемы теплоснабжения
С учетом коэффициента развития города на 30% увеличивается расход теплоносителя по теплопунктам:
Для ТП- 1 Gмакс =4858,23 тн/час.
Для ТП-2 Gмакс = 1497,6тн/час.
Для ТП-3 Gмакс =3165,9 тн/час.
Диаметр трубопроводов определяется по формуле:
, (4.7)
где d- диаметр трубы сетевой воды, м;
h- потеря давления на 1 м длины трубы, зависит от расхода воды, определяемая по номограмме для гидравлического расчета трубопроводов, мм. вод. ст.;
γ- удельный вес теплоносителя, кг/м3 .
Бойлерная установка т.а.9 –общий коллектор:
м
Расчет диаметров других участков трубопроводов приведен в таблице 9.
Бойлерная установка т.а.9 –общий коллектор:
Линейное падение давления в трубопроводе сетевой воды
, Па:
,
где
- удельное падение давления, Па/м;
,
- коэффициент, зависящий от абсолютной шероховатости трубопровода, принимаемый по таблице;
.
![]()
.
Местное падение давления в трубопроводе подвода сетевой воды
, Па:
,
где
- эквивалентная длина местных сопротивлений, м.
;
где
- коэффициент, зависящий от абсолютной шероховатости трубопровода;
;
- сумма коэффициентов местных сопротивлений арматуры и фасонных частей.
Таблица 9- Проектируемые диаметры трубопроводов
Тип трубопровода |
Диаметр трубопровода, м | Длина трубопровода, м | Плотность воды, кг/м3 | Расход воды, т/ч | |||
| расчетный | принятый | прямой | обратный | ||||
| Бойлерная установка т.а.9 –общий коллектор | 0,764 | 0,800 | 150 | 159 | 968,6 | 2350 | |
| Бойлерная установка т.а.10 –общий коллектор | 0,764 | 0,800 | 113,5 | 116,5 | 968,6 | 2350 | |
| Бойлерная установка т.а.11 –общий коллектор | 0,741 | 0,700 | 381 | 345 | 968,6 | 2250 | |
| Перемычка т.а.9-ТП-2 (I-C-18- I-C-23) | 0,764 | 0,800 | 11,6 | 5,1 | 968,6 | 2350 | |
| Перемычка т.а.10-ТП-2 (II-C-18- II-C-23) | 0,764 | 0,800 | 3,2 | 3,5 | 968,6 | 2350 | |
| Перемычка т.а.11-ТП-2 (III-C-18- III-C-23) | 0,741 | 0,700 | 9 | 7,7 | 968,6 | 2250 | |
| Задвижки С1 и С2 -ТП1 | 1,101 | 1,100 | 197,5 | 197,5 | 974,9 | 4858,23 | |
| Задвижки 123 и 122- ТП2 | 0,615 | 0,898 | 419,1 | 419,1 | 958,3 | 1497,6 | |
| Задвижки 124 и 125- ТП3 | 0,891 | 1,000 | 228 | 231,1 | 965,3 | 3165,9 | |
| Перемычки между ТП1 и ТП2 | 1,101 | 1,000 | 194 192 |
194 192 |
974,9 | 4858,23 | |
| Перемычка между ТП1 и ТП3 | 1,101 | 1,100 | 391 | 974,9 | 4858,23 | ||
| Задвижки III-СП-15 и III-СП-14 до ВК№3, №4 | 0,697 | 0,820 | 246,4 | 146,4 | 965,3 | 1950 | |
Местные сопротивления:
![]()
![]()
![]()
Общее падение давления в трубопроводе подвода сетевой воды
, Па:
![]()
![]()
Потеря напора сетевой воды в трубопроводах подвода сетевой воды
, м:

![]()
Трубопровод отвода воды:
Удельное падение давления определяется по формуле:
![]()
Линейное падение давления в трубопроводе отвода сетевой воды определяется по формуле:
![]()
Местные сопротивления :
![]()
![]()
Местное падение давления определяется по формуле:
![]()
Общее падение давления в трубопроводе отвода сетевой воды определяется по формуле:
Па
Потеря напора сетевой воды в трубопроводах отвода сетевой воды определяется по формуле:
![]()
Общее падение давления в трубопроводах:
![]()
Потери напора в трубопроводах:
![]()
Расчет остальных участков трубопроводов аналогичен. Результаты сведены в таблице 10.
Общее падение давления в коллекторах теплосети:
![]()
Потери напора в трубопроводах теплосети:
.
5 Реконструкция деаэрационной установки
5.1 Деаэрационная установка ДСА-300
Для восполнения потерь сетевой воды в теплосети включена система подпитки, состоящая из деаэраторов типа ДСА-300, производительностью 300 т/ч, насосов подпитки №5 и №6, включенных параллельно, системы задвижек и трубопроводов, гидравлически связывающих систему теплоснабжения. Пар на деаэрацию поступает из теплофикационного отбора турбины 1,2 ата с температурой 104 0 С. Химически очищенная вода подается с ХВО-3 с температурой 300 С. Исходные данные:
Таблица 11- Технические характеристики насоса подпитки теплосети №5 типа 8к-12
| Параметр | Значение |
| Тип насоса | 8к-12 |
| Производительность, м3 /ч | 220/340 |
| Тип двигателя | АОВ2-4 |
| Напряжениеэл.двигателя, В | 380 |
| Число оборотов, об./мин. | 1470 |
| Мощность электродвигателя, кВт | 40 |
Таблица 12- Технические характеристики насоса подпитки теплосети №6 типа 8к-12
| Параметр | Значение |
| Тип насоса | 8к-12 |
| Производительность, м3 /ч | 220/340 |
| Тип двигателя | АОВ2-82-4 |
| Напряжениеэл.двигателя, В | 380 |
| Число оборотов, об./мин. | 1460 |
| Мощность электродвигателя, кВт | 40 |
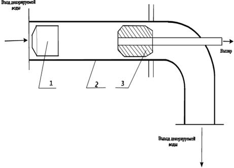
Схема работы деаэратора. Термический струйный деаэратор на рисунке 1 является смешивающим подогревателем и выполняется в виде вертикальной цилиндрической колонки 1, установленной на резервуаре (баке) питательной воды 2. Вода, поданная насосом в верхнюю часть колонки 1, стекает через отверстия в тарелках 3, раздробляясь при этом на мелкие капли. Навстречу падающей воде движется греющий пар. Высоту колонки и путь воды рассчитывают так, чтобы на этом пути вся вода была подогрета до температуры насыщения (кипения). При кипении воды из нее выделяются растворенные в ней газы, которые с небольшим количеством пара (выпар) отводятся через штуцер 4 в верхней части колонки. Обычно выпар составляет 2 кг на 1 т деаэрирированной воды. Вода в атмосферных деаэраторах подогревается до 104 0 С температура кипения при давлении 0,12МПа ( 1,2 кгс/см2 ). Вода с такой температурой поступает в питательный насос. Чтобы горячая вода при входе в питательный насос не вскипала, и насос мог надежно подавать в котел горячую воду высокой температуры, давление воды перед насосом должно быть больше того давления, при котором происходит образование пара при данной температуре В связи с этим деаэраторы устанавливаются на сравнительно большой высоте над питательными насосами – не ниже 14 м при температуре воды 160 0 С и еще выше при более высокой температуре воды.

1- цилиндрическая колонка; 2- резервуар; 3- тарелки; 4- штуцер; 5- водоуказательное стекло; 6- устройство автоматического регулирования подачи пара; 7- предохранительный клапан; 8- устройство автоматического регулирования подачи воды.
Рисунок 1- Схема атмосферного смешивающего деаэратора
Емкость питательных баков основных деаэраторов составляет 5 – 20-минутный запас для работы станции при максимальной нагрузке.
Деаэраторы являются важнейшим элементом оборудования электростанции и снабжаются устройствами для автоматического регулирования подачи пара 6 и воды 8, водоуказательными стеклами 5, сниженными указателями уровня, устройствами сигнализации нижнего уровня воды в аккумуляторном баке, предохранительными клапанами 7, устанавливаемыми на баках, регуляторами перелива, монометрами для измерения давления в деаэраторной колонке и самопишущими кислородомерами, показывающими содержание кислорода в воде при выходе из деаэратора.
5.1.1 Исходные данные:
Таблица 13- Расход химически очищенной воды на подпитку по месяцам.
| Месяц | Расход, Gхов ,тн/мес | Расход, Gхов ,тн/ч |
| Январь | 111800 | 155,28 |
| Февраль | 114000 | 158,33 |
| Март | 130400 | 181,11 |
| Апрель | 94500 | 131,25 |
| Май | 64400 | 89,44 |
| Июнь | 36100 | 50,14 |
| Июль | 47320 | 65,72 |
| Август | 67710 | 94,04 |
| Сентябрь | 151200 | 210 |
| Октябрь | 136000 | 188,89 |
| Ноябрь | 86600 | 120,28 |
| Декабрь | 72200 | 100,28 |
По данным таблицы видно, что максимальный расход приходится на сентябрь и составляет 210 т/ч.
Таблица 14- Общие данные
Номинальное давление в деаэраторе р, ат |
1,2 |
| Номинальная производительность G, т/ч | 300 |
| Температура деаэрированной воды t2 , 0 С | 104,2 |
| Емкость аккумуляторных баков V, м3 | 75 |
Таблица 15-Характеристика потоков воды и пара:
| Общая подпиточная вода: | |
| Расход Gптс , т/ч | 210 |
| Температура tптс , 0 С | 104 |
| Добавочная ( химически обработанная) вода: | |
Продолжение таблицы 15
| Расход Gхов , т/ч | 210-Dп |
| Температура tхов , 0 С | 30 |
| Основной греющий пар ( источник пара- отбор турбины): | |
| Давление пара pп , ат | 1,2-1,4 |
| Температура пара tп , 0 С | 104,2 |
| Энтальпия насыщенного пара при давлении 1,2 ата, iн , ккал/кг | 640,7 |
5.1.2 Тепловой расчет деаэратора
Тепловой баланс деаэрационной установки составляется для определения полного расхода пара, подводимого к деаэратору.
В зависимости от тепловой схемы энергоустановки в деаэратор вводится то или иное количество потоков воды и пара. Тепловые балансы должны рассматриваться для режимов работы деаэратора, указанных в технических заданиях на проектирование.
В случае избытка тепла в деаэраторе (отрицательный расход пара) техническое задание на проектирование деаэратора подлежит уточнению, в ходе которого должны быть дополнительно проанализированы и проверены условия работы деаэратора в тепловой схеме установки.
В общем виде уравнение теплового баланса деаэратора запишется как равенство потоков тепла, введенных в деаэратор и вышедших из него
Q1 +Q2 +Q3 +Q4 =Q5 +Q6 +Q7 +Q8 , (5.1)
где Q1 – тепло, внесенное с основным потоком греющего пара, ккал/ч;
Q2 – тепло, внесенное с некипящими потоками воды, ккал/ч;
Q3 - тепло, внесенное с кипящими потоками воды, ккал/ч;
Q4 - тепло, внесенное с прочими потоками воды, ккал/ч;
Q5 – тепло, отведенное с деаэрированной водой, ккал/ч;
Q6 – тепло выпара, ккал/ч;
Q7 – потеря тепла деаэратором в окружающую среду, ккал/ч;
Q8 – тепло пара, отбираемого из деаэратора, ккал/ч.
Уравнение теплового баланса деаэратора как смешивающего теплообменного аппарата имеет вид:
, (5.2)
где Dп - расход нагревающего пара, т/ч;
- энтальпия греющего пара, ккал/кг;
- энтальпия химически очищенной воды, ккал/кг;
= 30 ккал/кг- принимаем по термодинамическим таблицам;
η- коэффициент, учитывающий потери тепла в окружающую среду; принимаем в первом приближении η= 0,98;
Gптс - общий расход воды на подпитку, т/ч;
tптс - температура нагреваемой воды на выходе из деаэратора,0 С;
tхов - температура нагреваемой воды на входе в деаэратор, 0 С.
Определим расход греющего пара в первом приближении:
т/ч.
Расход химически очищенной воды на деаэратор:
Gхов =Gптс - Dп =210- 25,97=184,03 т/ч.
Тепло, подведенное с химически обработанной водой, Qхов, :
Qхов
= Gхов
![]()
хов
=184,03
30=5,52 Гкал/ч.
Тепло, внесенное с холодными потоками воды Q2 , Гкал/ч:
Q2 = Qхол = 5,52 Гкал/ч.
Количество выпара Dвып принимаем из соотношения 1,5-2 кг на1 тонну деаэрированной воды по рекомендации руководящих указаний по проектированию термических деаэрационных установок.
При производительности колонки 300 т/ч количество выпара составит 0,600 кг/ч.
Тепло, отведенное с выпаром, Qвып , Гкал/ч:
Qвып
= Dвып
вып
,(5.3)
где
вып
– энтальпия паровоздушной смеси выпара, может быть принята равной энтальпии насыщенного пара в деаэраторе ,
вып
= iн
.
Qвып
= 0,600
640,7=0,384 Гкал/ч.
Тепло, отведенное с деаэрированной водой, Qд , Гкал/ч :
Qд
= G
д
, (5.4)
где G- количество деаэрированной воды ( производительность деаэратора), т/ч ;
д
- энтальпия деаэрированной воды, определяемая по термодинамическим таблицам, ккал/кг.
Qд
= 300
104,4= 31,32 Гкал/ч.
Количесво тепла, потребное на нагрев воды в деаэраторе, ∆Q, Гкал/ч:
∆Q= Qд - Qхол = 31,32 - 5,52= 25,8 Гкал/ч.
Расход тепла на деаэратор ∑Q, Гкал/ч:
∑Q= ∆Q + Qвып = 25,8+0,384=26,184 Гкал/ч.
Уточненное значение расхода пара на деаэратор, Dп ,т/ч:
,
т/ч.
5.2 Деаэратор АВАКС
Деаэратор «АВАКС» - вавкуумно-атмостферный кавитационно струйный предназначен для удаления из воды растворенных в ней газов, применяется в системах водопользования теплоэнергетических установок и теплоснабжения.
В этих деаэраторах используется принцип вихревой центробежной интенсификации массообмена. Вода подается в деаэратор, приобретая сильное вращательное движение. При этом действие центробежных сил на периферии выше, чем в середине вихря, из-за чего в центре образуется область пониженного давления, куда Архимедова сила выталкивает из жидкости пузырьки выделяющегося газа. Чем глубже вакуум, тем ниже температура кипения. Обычно вакуумные деаэраторы работают при температуре 60-800 С, оптимальной с точки зрения затрат на поддержания вакуума и температурного режима.
Вакуумно-атмосферные деаэраторы типа АВАКС имеют следующие основные особенности:
1) Деаэрация производится без подвода греющего пара.
2) АВАКС производит деаэрацию воды при t = (60 – 95 ) ºС .
3) Давление деаэрированной воды на выходе из деаэратора превышает атмосферное, несмотря на то, что выпар удаляется эжектором.
4) В традиционных деаэраторах осуществляется только термическая струйная и барботажная деаэрация.
В вакуумно-атмосферных деаэраторах АВАКС кроме термической деаэрации использованы процессы дросселирования, кавитации, турбулентной диффузии, центробежной сепарации, что позволило увеличить скорость деаэрации ориентировочно в 300 раз. Это дало возможность уменьшить объем деаэратора в 250 раз, рабочую массу в 30 раз (масса АВАКС 30-40 кг.).
5) Малые габариты деаэратора обуславливают высокую точность его изготовления и сборки в заводских условиях, обеспечивают возможность полного контроля и управления деаэрацией, гарантируют получение стабильно высоких (О 2 < 20 мкг/дм3 ) результатов деаэрации.
6) Затраты на монтаж деаэратора АВАКС ориентировочно в 100 раз меньше, чем для других вакуумных деаэраторов, так как не требуется монтаж вышки и прокладки внешних коммуникаций.
7) Запуск деаэратора АВАКС и вывод его на рабочий режим осуществляется в течение двух минут.
8) Не требуется регистрация деаэратора АВАКС в органах Госэнергонадзора и Госгортехнадзора.
9) Конструкция вакуумного деаэратора АВАКС настолько совершенна и проста, что его эксплуатация сведена только к его пуску и выключению.
1) Деаэратор АВАКС в сборе с ответными фланцами1 шт.
2) Эжектор типа «ЭВ» в сборе с ответными фланцами1 шт.
3) Кран шаровой Ду 25 в комплекте со штуцерами 1 шт.
4) Стекло смотровое Ф 32 мм 1 шт.
5) Шланг соединительный Ф 32 мм 1 комп.
6) Хомут Ф 50 мм4 шт.
5.2.1 Устройство и принцип работы
Принципиальная схема деаэратора «АВАКС» приведена на рисунке 2.
Деаэратор состоит из следующих основных частей: завихрителя 1; корпуса 2; обтекателя 3.
Поток воды, поступающий под давлением в деаэратор, раскручивается завихрителем до определенных скоростей. Раскрученный поток за счет центробежных сил прижимается к стенкам корпуса, образуя вакуумную полость, в которой происходит испарения воды и выделение растворенного газа. Парогазовая смесь (выпар) удаляется из деаэратора с помощью эжектора через газоотводящую трубку. Продеаэрированная вода проходит обтекатель и уходит на слив.

1- центробежный завихритель; 2- корпус; 3- обтекатель
Рисунок 2- Принципиальная схема деаэратора АВАКС
Проектируемая схема деаэрации подпиточной воды представлена на рисунке 3. Вода на деаэрацию поступает с ХВО-3 с температурой 300 С. Перед подачей в деаэрационную установку необходим подогрев воды до 600 С в теплообменном аппарате. Давление на входе деаэратора должно быть 3,5 кгс/см2 . Для поддержания этого давления устанавливаем насос подачи недеаэрированной воды. Выход деаэрированной воды осуществляем трубопроводом Ду 70 и Ду 100 в существующий корпус деаэрационного бака от колонки ДС-300.

Рисунок 3- Проектируемая схема деаэрации
Выпар из трубки деаэратора засасывается потоком рабочей воды в эжекторе типа ЭВ, предлагаемого в поставке от Кинешимского машиностроительного завода. Подача рабочей воды на эжектор осуществляется насосом К100-65-200. Пароводяная смесь попадает в общий коллектор Ду 150 и в охладитель выпара, находящийся на нулевой отметке.
5.2.2 Проектирование схемы
Принимаем к установке шесть деаэраторов трех типов:
Таблица 16 – Выбор деаэраторов
| Производительность, тн/ч | Масса, кг | Габариты, мм | Количество, шт |
| 10-30 | 25 | 1160×252×180 | 2 |
| 30-50 | 30 | 1300×265×215 | 2 |
| 50-150 | 40 | 1500×319×245 | 2 |
Деаэраторы устанавливаем на металлической площадке, сваренной над баком-аккумулятором. Стойки над баком-аккумулятором свариваем из двух швеллеров №16 при вертикальной нагрузке до 3 тонн, скрепленных перьями вовнутрь. Швеллеры скрепляем пластинами из листа №6(6мм). Сечение стойки-250 мм(расстояние между полочками). Через каждые 0,5 м навариваем накладки из листа №6 размером 220×150мм. Высота стоек 4м, пролет между стойками при уклоне 0,0002 до 8,5м. Деаэраторы устанавливаются на горизонтальном участке трубопровода. В целях обеспечения удобства обслуживания деаэраторов и монтажа эжектора и емкостного оборудования расстояние между горизонтальной осью деаэратора и нулевой отметкой (пола) рекомендуется принять 1,5…2 метра.
| Параметр | Значение |
| Тип насоса | Одноступенчатый, центробежный,консольный с односторонним всасом |
| Производительность, м3 /ч | 100 |
| Напор, м вод. ст. | 50 |
| Температура воды, 0 С | 85 |
| Число оборотов, об./мин. | 3000 |
| Мощность электродвигателя, кВт | 30 |
Таблица 17– Характеристика насоса К100-65-200.
5.2.3 Расчет теплообменного аппарата
Таблица 18- Исходные данные:
| Расход воды, т/ч | 210 |
| Температура воды при входе в подогреватель, ˚С | 30 |
| Температура воды при выходе из подогревателя, ˚С | 60 |
| Давление греющего пара, кгс/см2 | 1,2 |
| Температура насыщения греющего пара, ˚С | 104 |
1) Тепловая мощность подогревателя
, (5.5)
где G – количество подогреваемой воды
с – теплоёмкость воды, с=4,19 кДж/(кгК),
- температура воды при выходе из подогревателя,
- температура воды при входе в подогреватель.
кДж/ч=7332,5 кДж/с=6,3 Гкал/ч
2) Часовой расход обогревающего пара, D, кг/ч, находится из уравнения теплового баланса
, (5.6)
где
- теплосодержание (энтальпия) обогревающего пара при выходе из подогревателя,
- теплосодержание (энтальпия) обогревающего пара при входе в подогреватель,
- КПД бойлера, учитывающий потери в окружающую среду.
кг/ч
3) Соотношение числа ходов греющего пара и нагреваемой воды
, (5.7)
где
живое сечение одного межпластинчатого канала;
Принимаем тип пластины 0,5 Пр, для этого типа пластины ![]()
Рисунок 4-Принципиальная схема пластинчатого теплообменного аппарата
Таблица 19- Технические показатели пластины
| Показатель | Тип пластины 0,5 Пр |
| Габариты (длина х ширина х толщина) | 1380х650х0,6 |
| Поверхность теплообмена, кв.м | 0,5 |
| Вес (масса), кг | 6,0 |
| Эквивалентный диаметр канала, м | 0,009 |
| Продолжение таблицы 19 | |
| Показатель | Тип пластины 0,5 Пр |
| Площадь поперечного сечения канала, кв.м | 0,00285 |
| Смачиваемый периметр в поперечном сечении канала, м | 1,27 |
| Ширина канала, мм | 570 |
| Зазор для прохода рабочей среды в канале, мм | 5 |
| Приведённая длина канала, м | 0,8 |
| Площадь поперечного сечения коллектора (угловое отверстие в пластине), кв. м | 0,0283 |
| Наибольший диаметр условного прохода присоединяемого штуцера, мм | 200 |
| Коэффициент общего гидравлического сопротивления | 15/Re0.25 |
| Коэффициент гидравлического сопротивления штуцера z | 1,5 |
| Коэффициент А | 0,492 |
| Коэффициент Б | 3,0 |
Принимаем
;
Плотность воды определяется по средней температуре воды
,
![]()
для ![]()
![]()
Принимаем ![]()
4) Общее живое сечение каналов в пакете
![]()
![]()
5) Скорость воды
,
![]()
6) Скорость пара
![]()
![]()
7) Эквивалентный расход потока по пару
![]()
![]()
8) Эквивалентный расход потока по воде
![]()
![]()
9) Число ступеней подогрева

где
удельный параметр пластины,
;
безразмерная удельная тепловая нагрузка;
![]()
, (5.8)
где
максимально возможный температурный перепад;
![]()

Принимаем 1 ход в теплообменнике (симметричная компоновка).
10)
Средняя разность температур
Принимаем температуру конденсата 70˚С

˚С
11) Коэффициент теплоотдачи от пара к стенке пластины
, (5.9)
где
критерий Нуссельта,
коэффициент теплопроводности конденсата,
при
;
эквивалентный диаметр канала пластины, ![]()
Для вертикальной стенки при конденсации пара на ней критерий Нуссельта определяется:
, (5.10)
критерий Прандтля, ![]()
![]()
где
критерий конденсации,
,
здесь
- критерий Галилея,
,
здесь
- вязкость конденсата,
;
,
здесь
- теплота испарения,
,
- теплоёмкость конденсата,
=4,2 кДж/(кг*˚С),
![]()
![]()
![]()
![]()
![]()

![]()

![]()
12) Коэффициент теплоотдачи от стенки пластины к воде
,
где А – коэффициент пластины, А=0,492.
![]()
13) Коэффициент теплопередачи

- толщина стенки трубы,
=0,6*10-3 м,
- теплопроводность стали,
=60 Вт/(м2
*˚С),

14) Тепловой поток
![]()
![]()
15) Площадь нагрева
![]()
![]()
16) Действительная поверхность нагрева всего подогревателя
![]()
![]()
17) Количество пластин при площади поверхности одной пластины fпл =0,5м2
![]()
![]()
18) Выбор теплообменного аппарата
Принимаем к установке пластинчатый теплообменный аппарат фирмы «APV» разборный с резиновыми прокладками типа N50 с поверхностью нагрева пластины 0,5м2 . Материал пластин AISI 304, материал прокладок EPDM. Масса установки не более 460 кг.
Гидравлический расчёт пластинчатого теплообменника
1) Потери давления для нагреваемой воды
![]()
, (5.11)
где
- коэффициент, учитывающий накипеобразование, при отсутствии опытных данных принимаем
;
Б – коэффициент, зависящий от типа пластины, Б = 3,0 , /4,с.50/
![]()
2) Потеря давления в пластинчатом теплообменнике, ∆Рс , Па , /2, с.275/:
, (5.12)
где
- потеря давления во всех ступенях одного канала;
- потеря давления в присоединительном штуцере.
,
здесь
- коэффициент гидравлического сопротивления канала;
- приведённая длина канала,
= 0,8 м;
- эквивалентный диаметр канала;
- средняя скорость теплоносителя;
- число последовательно соединённых ступеней.
,
здесь с – эксплуатационный коэффициент, учитывающий загрязнения пластин, а также их деформацию вследствие разности давлений в теплообменивающихся средах;
а – постоянная величина, зависящая от типа пластины, а=15;
Re – число Рейнольдса, зависящее от режима потока теплоносителя.
![]()
![]()
![]()
,
здесь
- скорость теплоносителя в штуцере;
![]()
![]()
- коэффициент гидравлического сопротивления в штуцере,
, /2,с.275/
![]()
![]()
5.3 Охладитель выпара
Охладитель выпара предназначается для конденсации пара, содержащегося в выпаре, с целью сохранения конденсата этого пара.
В качестве охлаждающей среды следует применять рабочую техническую воду, имеющую среднегодовую температуру 100 С. Конденсат из охладителя выпара подается на всас насоса подачи рабочей воды на эжекторы, а перелив сливается в сборные баки нижних точек.
Обязательным элементом деаэрационной установки является охладитель выпара, который является групповым (один охладитель выпара на группу деаэраторов), поверхностного (трубчатого) типа.
Таблица 20- Исходные данные:
| Расход выпара, кг/ч | 143,8 |
| Температура воды при входе в охладитель, ˚С | 10 |
| Температура воды при выходе из охладителя, ˚С | 25 |
| Температура выпара на входе в охладитель,˚С | 60 |
| Температура выпара на выходе из охладителя, ˚С | 30 |
Объем выпара движется в межтрубном пространстве, а рабочая вода- по охлаждающим трубкам диаметром 17/19 мм. Материал трубок латунь Л68. Корпус охладителя выполнен из стальной трубы диаметром 1020×10 мм.
5.3.1 Тепловой расчет
Уравнение теплового баланса охладителя выпара (без учета потери тепла в окружающую среду и при энтальпии выпара, равной энтальпии насыщенного пара):
, (5.13)
где Dвып —расход (кг/ч);
iвып — энтальпия насыщенного пара, содержащегося в выпаре перед охладителем при давлении в деаэраторе ккал/кг ;
Gв — расход охлаждающей воды, кг/ч;
i 2 , i 1 — энтальпия воды при выходе из аппарата и входе в него, ккал/кг;
G к — расход конденсата пара из выпара, кг/ч;
i к — энтальпия конденсата, ккал/кг.
Поскольку относительное содержание воздуха в выпаре незначительно, можно принять:
.
Отсюда при отсутствии переохлаждения конденсата пара из выпара расход охлаждающей воды, Gв , кг/ч:
, (5.14)
где
— теплота парообразования при давлении в деаэраторе, ккал/кг.
кг/ч.
Поверхность охладителя выпара трубчатого типа, Fох , м2 , определяется по формуле:
,(5.15)
где ∆t — среднелогарифмическая разность температур, °С;
k — коэффициент теплопередачи, ккал/м2 *ч*град;
b — коэффициент запаса.
Значение коэффициента bвыбирается в зависимости от материала трубок , в том числе для латуни b = l,2-l,3.
Среднелогарифмическая разность температур, ∆t,0 С, находится из выражения:
, (5.16)
где t 01 , t 02 — температуры охлаждающей воды дои после охладителя выпара, °С;
t н — температура выпара, принимаемая равной температуре насыщения, соответствующей давлению в деаэраторе, °С.
0
С.
Коэффициент теплопередачи, k, ккал/м2 *ч*град, определяется по формуле :
, (5.17)
где ![]()
— коэффициент теплоотдачи от пара к стенке трубки, ккал/м2*
ч*град;
δ — толщина стенки трубок, м;
λ — коэффициент теплопроводности металла трубок, ккал/м*ч*град;
— коэффициент теплоотдачи от стенки трубки к охлаждающей среде, ккал/м2
* ч* град.
Значения
следует принимать в зависимости от начального содержания кислорода в поступающей в деаэратор воде и степени извлечения пара из выпара согласно таблице 21.
Таблица 21- Коэффициенты теплоотдачи
| Начальное содержание кислорода в воде, мг/кг | Степень извлечения пара из выпара, % | Коэффициент теплоотдачи, ккал1м2 *ч*град |
1 10 1 10 |
99,5 99,5 99,9 99,9 |
7 000 6 000 5 000 4 000 |
Коэффициент теплоотдачи от стенки трубки к охлаждающей воде, αв , ккал/м2 * ч* град, рекомендуется определять из выражения:
, (5.18)
где z — множитель, зависящий от температуры охлаждающей воды;
—скорость охлаждающей воды, м/сек;
d — внутренний диаметр трубки, м.
Таблица 22-Значения z для воды на линии насыщения
| Температура воды, °С | 0 | 20 | 40 | 60 | 80 | 100 | 150 | 200 | 250 |
| Величинаz | 1230 | 1 615 | 1990 | 2 310 | 2 670 | 2 740 | 3 230 | 3 590 | 3 590 |
Скорость охлаждающей воды в трубках выбирается в зависимости от материала трубок и допустимой потери давления. При латунных трубках рекомендуется принимать
не выше 2,5 м / сек.
ккал/м2
* ч* град.
м2
*ч*град/ккал.
ккал/м2
*ч*град.
м2
Число трубок в охладителе выпара, n:
,(5.19)
где
- удельный объем жидкости, м3
/кг.
![]()
Длина трубок охладителя выпара,
, м:
;
м.
Шаг между трубками,m, мм:
мм.
5.3.2 Гидравлический расчет
В объем гидравлического расчета входит определение диаметров трубопроводов и сопротивления движению воды в охладителе с .прилегающими к нему трубопроводами.
Диаметр трубопровода выпара dвып , м:
, (5.20)
где
— удельный объем выпара, принимаемый равным удельному объему насыщенного пара при давлении в деаэраторе, м3
/кг;
— скорость выпара в отводящем трубопроводе, м/сек.
Скорость выпара принимается в деаэраторах атмосферного давления 50—60 м/сек .
м.
Диаметр трубопровода охлаждающей воды и присоединительных штуцеров рассчитывается по скорости воды, принимаемой равной 1,0—2 м/сек.
Сопротивление движению воды в охладителе складывается из суммы местных сопротивлений входа и выхода (присоединительных штуцеров), поворотов (число ходов) итрения на прямых участках труб.
Местные сопротивления, ∆рм , Па, определяются по формуле:
,(5.21)
где
- коэффициент сопротивления , принимается по данным справочников.
кПа
Сопротивление трения,∆ртр , Па, определяется по формуле:
, (5.22)
где
— коэффициент трения;
l — длина прямых участков трубы, м;
d — диаметр трубопровода или эквивалентный диаметр, м;
— скорость воды, м/сек;
— удельный вес воды, кг/м3
.
Коэффициент сопротивления трения технически гладких труб, λ:
, (5.23)
где Re — число Рейнольдса потока воды в трубе.
![]()
![]()
кПа
Общее сопротивление аппарата, ∆р, Па, определяется как сумма его составляющих:
кПа.
5.4 Водоструйные эжекторы для деаэраторов
Водоструйный эжектор получил широкое распространение благодаря ряду преимуществ:
а) дешевый;
б) простой;
в) нетребовательный в эксплуатации аппарат.
G1
t1
1 – сопло; 2 – камера смешения; 3 – диффузор; 4 – горловина смешения; 5- смесительный конус.
Рисунок 5 – Принципиальная схема водоструйного эжектора
Водоструйный эжектор на рисунке 5 состоит из камеры смешения 2, имеющей форму цилиндра (или конфузора), диффузора 3, сопла 1 и предкамеры 5, соединяющей камеру смешения с входными патрубками и соплом.
Водоструйный эжектор работает так: рабочая вода, проходя по соплу с температурой t1 в количестве G1 , приобретает при выходе из него значительную скорость; давление ее при этом снижается до величины, меньшей, чем в патрубке подмешиваемой смеси. Парогазовая смесь с температурой t2 в количестве G2 подсасывается выходящей из сопла струей рабочей воды и смешивается с ней. Скорость смешанного потока воды выравнивается по сечению в камере смешения до температуры t3 в количестве G3. В диффузоре вследствие роста сечений скорость смешанного потока падает, а давление растет до более высокого, чем р2 .
(5.24)
(5.25)
![]()
Отношение (5.25) носит название коэффициента смешения. Он представляет собой отношение веса подмешиваемой смеси к весу рабочей воды.
Вокруг струи воды, вытекающей из отверстия сопла, создается зона пониженного давления, благодаря чему парогазовая смесь перемещается из деаэратора в камеру всасывания. В горловине струя смешанной воды, двигаясь с меньшей, чем в отверстии сопла, но еще с высокой скоростью. Обладает значительным запасом кинетической энергии. В диффузоре при постепенном увеличении площади поперечного сечения кинетическая энергия преобразуется в потенциальную: по его длине гидродинамическое давление падает, а гидростатическое – нарастает. За счет разницы гидростатического давления в конце диффузора и в камере всасывания эжектора создается давление циркуляции воды в системе.
Работа эжектора зависит от качества его исполнения:
а) должна обеспечиваться точная центровка относительно оси эжектора;
б) сварка эжектора должна проводиться в кондукторе;
в) необходим специальный фасонный фланец, зажимающий сопло эжектора, что предотвращает переток рабочей воды помимо сопла;
г) необходимо следить за формой выходной части сопла и входной части камеры смешения;
д) сопло и камера должны быть отшлифованы.
В процессе эксплуатации необходим постоянный контроль за чистотой проточной части и при необходимости производить его чистку.
В комплект поставки эжектора входит:
- Эжектор в сборе с ответными фланцами ..…1 шт.
- Комплект технической и товаросопроводительной документации:
а) Паспорт, включающий техническое описание и инструкцию по эксплуатации …1 экз.
б) Габаритные чертежи эжектора ……………...1 экз.
в) Паспорт или другая документация на поставляемые с эжектором комплектующие изделия ………………...по 1 экз.
5.4.1 Устройство и принцип работы эжекторов типа ЭВ
Эжектор типа ЭВ на рисунке 6 состоит из корпуса 1, вставки 2 и камеры смешения 3.
Рабочая вода поступает в верхнюю камеру эжектора, откуда поступает на вставку имеющую определенное количество отверстий (сопел) соответствующего диаметра. Проходя через сопла поток рабочей воды образует струи воды в количестве, соответствующем количеству сопел. Струя воды в камере смешения захватывает парогазовую смесь и, смешиваясь с ней, уносит ее в отводящий трубопровод.
5.4.2 Расчет эжекторов
1) Эжектор для деаэратора АВАКС Q=50-150 м3 /ч:
Исходные данные:
Производительность деаэратора Q=50-150 м3 /ч
Температура отсасываемых газов tг = 60 0 С
Температура рабочей воды t=300 С
Давление рабочей воды на входе в эжектор Р=3,5 кгс/см
Содержание кислорода в деаэрированной воде 0,05 мг/л
Содержание воздуха, растворимого в воде при температуре t=600 С составляет 16,07 см3 /л или 20,8 г/м3 .
Содержание воздуха во всей воде:
Gв = 0,001*150*20,8=3,12 кг/ч.
Принимаем присос 100% и расчет ведем на Gв = 6,24 кг/ч.
Для содержания кислорода в воде 0,05 мг/л требуется парциальное давление кислорода над деаэрированной водой:

1- корпус; 2- сопловый аппарат; 3- камера смешения
Рисунок 6- Схема эжектора
ата,
где 27,8- растворимость кислорода в воде при температуре 600 С, мг/л (определяется по таблице коэффициентов весовой растворимости кислорода).
Таблица 23 - Значения k — коэффициентов весовой растворимости кислорода, углекислоты и азота в воде , мг/л.
| Температура воды в,град. | 0 | 10 | 20 | 30 | 40 | 50 | 60 | 70 | 80 | 90 |
| k кислорода | 69,8 | 54,4 | 44,4 | 37,2 | 33,0 | 29,8 | 27,8 | 26,2 | 25,2 | 24,6 |
| k углекислоты | 3 380 | 2 360 | 1730 | 1315 | 1050 | 860 | 710 | — | — | — |
| k азота | 29,4 | 23,2 | 19,3 | 16,8 | 14,8 | 13,6 | 12,8 | 12,2 | 12,0 | 11,9 |
Парциальное давление воздуха при этом должно быть:
ата.
Давление смеси пара и воздуха, соответствующее температуре t = 30 0 С, по таблице водяного пара рп = 0,043 ата, удельный объем пара uп = 32,9 м3 /кг:
р1 = рп + рв = 0,043+ 0,0086=0,052 ата.
Зная вес отсасываемых газов Gв , находим объем воздуха V, м3 /час :
, (5.26)
где Rг - газовая постоянная , кг*м/кг*град;
Т- абсолютная температура газа, К;
Gв - вес отсасываемых газов, кг/ч;
Рг - давление газа, ата.
м3
/час.
Вес пара Gп , кг/час:
, (5.27)
где uп - удельный объем пара, принимаемый при парциальном давлении пара по таблицам водяного пара при температуре t=30 0 С, м3 /кг.
кг/час
Всего отсасывается смеси, Gсм , кг/час:
Gсм = 6,24 + 19,56 =25,8 кг/час.
Выбираем эжектор типа ЭВ- 6 с номинальным расходом газа в эжектируемой смеси 35,9 кг/час.
2)Эжектор для деаэратора АВАКС Q=30- 50 м3 /ч:
Исходные данные:
Производительность деаэратора Q=30-50 м3 /ч
Температура отсасываемых газов tг = 60 0 С
Температура рабочей воды t=300 С
Давление рабочей воды на входе в эжектор Р=3,5 кгс/см
Содержание кислорода в деаэрированной воде 0,05 мг/л
Содержание воздуха, растворимого в воде при температуре t=600 С составляет 16,07 см3 /л или 20,8 г/м3 .
Содержание воздуха во всей воде:
Gв = 0,001*50*20,8=1,04 кг/ч.
Принимаем присос 100% и расчет ведем на Gв = 2,08 кг/ч.
Для содержания кислорода в воде 0,05 мг/л требуется парциальное давление кислорода над деаэрированной водой:
ата,(5.28)
где 27,8- растворимость кислорода в воде при температуре 600 С, мг/л (определяется по таблице коэффициентов весовой растворимости кислорода).
Парциальное давление воздуха при этом должно быть:
ата.
Давление смеси пара и воздуха, соответствующее температуре t = 30 0 С, по таблице водяного пара рп = 0,043 ата, удельный объем пара uп = 32,9 м3 /кг:
р1 = рп + рв = 0,043+ 0,0086=0,052 ата.
Зная вес отсасываемых газов Gв , находим объем воздуха V, м3 /час :
, (5.29)
где Rг - газовая постоянная , кг*м/кг*град;
Т- абсолютная температура газа, К;
Gв - вес отсасываемых газов, кг/ч;
Рг - давление газа, ата.
м3
/час.
Вес пара Gп , кг/час:
,(5.30)
где uп - удельный объем пара, принимаемый при парциальном давлении пара по таблицам водяного пара при температуре t=30 0 С, м3 /кг.
кг/час
Всего отсасывается смеси, Gсм , кг/час:
Gсм = 2,08 + 6,52=8,6 кг/час.
Выбираем эжектор типа ЭВ- 3 с номинальным расходом газа в эжектируемой смеси 18 кг/час.
3) Эжектор для деаэратора АВАКС Q= 10- 30 м3 /ч:
По рекомендации персонала Кинешемского ОАО « Машзавод » принимаем к использованию эжектор ЭВ-3 с номинальным расходом газа в эжектируемой смеси 18 кг/час при расчетном значении отсасываемой смеси Gсм =5,2 кг/час.
6 Электрическая часть установки насосов
Принимаем к установке на подачу воды на деаэрацию сетевого насоса типа СЭ. Насос типа СЭ- центробежный горизонтальный спирального типа с рабочим колесом двухстороннего входа, одноступенчатый, с приводом от электродвигателя.
Перекачиваемая среда: предназначены для воды с температурой до 180 0 С, с концентрацией твердых включений до 5 мг/л.
Область применения: теплофикационные сети.
| Параметр | Значение |
| Тип насоса | Одноступенчатый, центробежный, с двухсторонним всасом |
| Производительность, м3 /ч | 250 |
| Напор, м вод. ст. | 50 |
| Температура воды, 0 С | 120 |
| Число оборотов, об./мин. | 3000 |
| Мощность электродвигателя, кВт | 41 |
Таблица 24- Технические характеристики насоса подачи воды на деаэраторы типа СЭ-250-50:
Запитываем насос от свободных ячеек РУСН (распределительное устройство собственных нужд ) 0,4 кВ, находящегося на восьмой отметке. От РУСН прокладываем кабель по стене, закрытый металлическим коробом, до нулевой отметки. Далее кабельная трасса прокладывается по существующим тоннелям, находящимся под РУСН 3 кВ. Трассу проложить с правой стороны по кронштейнам выше указанного тоннеля. В районе оси 21 и 22 выполнить отверстие с кондуитом и проложить кабель в полу в трубе. Общая протяженность кабеля составляет 107 м.
Электромагнитные контакторы предназначены для включений и отключений приемников энергии в нормальных режимах. В отличие от автоматических выключателей контакторы не имеют расцепителей, реагирующих на изменение тока и отключающих электрическую цепь при перегрузках и коротких замыканиях. Контакторы рассчитаны на частые включения и отключения. Они обладают высоким механическим и коммутационным ресурсом. Электродинамическая и термическая стойкость не нормируется.
Выбор марки и сечения токоведущих частей (проводов, кабелей)
Сечение проводов и кабелей напряжением до 1 кВ выбирается по условию нагрева:
, (6.1)
где
- длительно допустимый ток провода или кабеля, А;
- расчетный ток, А;
; (6.2)
- поправочный коэффициент на количество кабелей, проложенных в одной траншее. Принимаем
= 1;
- поправочный коэффициент на температуру окружающей среды. Принимается для цеха
(нормальные условия).
Выбранное сечение необходимо проверить по следующим параметрам:
1) По допустимому падению напряжения в цепи:
,(6.3)
где
- расчетное значение потерь напряжения, В;
, (6.4)
здесь l- длина токоведущей части, км;
rо ,xо - удельные сопротивления для выбранного сечения, Ом/км.
rо ,xо определяются по /19,176/ для кабелей и проводов с бумажной и пластмассовой изоляцией.
В - допустимое значение потерь напряжения, В.
2) На соответствие току защитного аппарата:
,(6.5)
где
- коэффициент защиты /20,186/;
- ток защитного аппарата, А.
Принимается ток защитного аппарата
равным номинальному току плавкой вставки предохранителя или току срабатывания теплового расцепителя.
По /20,779/ для прокладки к насосам выбираются кабели марок АВВГ (кабель с алюминиевыми жилами с поливинилхлоридной изоляцией в поливинилхлоридной оболочке без защитного покрова).
Расчетный ток кабеля:
А.
Выбирается кабель марки АВВГ-3×35+1×16.
Длительно допустимый ток
= 90 А.
r0 =0,89 Ом/км,
x0 =0,0637 Ом/км.
L= 107*10-3 км.
Проверка по потере напряжения:

![]()
Проверка по соответствию току защитного аппарата (защита от перегрузки требуется):
,(6.6)
где
- для не пожаро- и не взрывоопасных промышленных предприятий;
![]()
Выбранный кабель удовлетворяет всем условиям. Выбор коммутационной и защитной аппаратуры.
1) Выбор автоматических выключателей:
Для защиты ответвлений к двигателям:
,
(6.7)
где
- номинальный ток двигателя, А.
- ток срабатывания теплового расцепителя, А
- ток срабатывания электромагнитного расцепителя, А.
- пусковой ток двигателя, А;
;
Iп =3*77,87=233,61 А.
Расчет для автоматического выключателя:
Iр =77,87 А
Выбираем автоматический выключатель ВА52Г – 31 с номинальным током выключателя 100 А.
Номинальный ток расцепителя:
Iн.р =80 А.
Ток теплового и электромагнитного расцепителей выбираем, учитывая участки ответвления к двигателям:
80А >77,87А;
Ток срабатывания электромагнитного расцепителя:
Iсэ =800 А;
800А > 292А
2) Выбор контактора:
;
;
; (6.8)
.
Принимаем к установке контактор трехполюсный переменного тока серии КТВ на напряжение 380В типа КТВ-33 с
.
Предельная мощность подключаемого двигателя равна 65кВт.
Расчетный ток, потребляемый катушкой контактора равен 2А:
Выбирается провод марки АПВ-4×2,5 (провод с алюминиевыми жилами с поливинилхлоридной изоляцией).
Длительно допустимый ток
= 19 А.
r0 =12,5 Ом/км,
x0 =0,116 Ом/км.
L= 107*10-3 км.
Проверка по потере напряжения:

![]()
Проверка по соответствию току защитного аппарата (защита от перегрузки требуется):
,
где
- для не пожаро- и не взрывоопасных промышленных предприятий;
![]()
Выбранный провод удовлетворяет всем условиям.
7 Установка частотно-регулируемых приводов на сетевые насосы (СЭН №№8,10,14)
7.1 Исходные данные
Техническая характеристика оборудования:
Таблица 25-Сетевой электрический насос (СЭН) №8 (бойлерная установка Т\А ст.№9):
| Тип (марка) | 10-НМК-2 |
| Производительность, м3 /ч | 1000 |
| Напор, м.вод.ст. | 180 |
| Электродвигатель | ДАМСО-14-8-4 |
| Мощность, кВт | 570 |
| Напряжение, В | 3000 |
| Число оборотов, об/мин | 1480 |
Таблица 26- Сетевой электрический насос (СЭН) №10 (бойлерная установка Т\А ст.№11):
| Тип (марка) | РСМ-1250-140 |
| Производительность, м3 /ч | 1250 |
| Напор, м.вод.ст. | 180 |
| Электродвигатель | А-4-400У-4У3 |
| Мощность, кВт | 630 |
| Напряжение, В | 3000 |
| Число оборотов, об/мин | 1480 |
Таблица 27- Сетевой электрический насос (СЭН) №14 (бойлерная установка Т\А ст.№ 10):
| Тип (марка) | 10-НМК-2 |
| Производительность, м3 /ч | 1250 |
| Напор, м.вод.ст. | 180 |
| Электродвигатель | А-2-500-4М |
| Мощность, кВт | 630 |
| Напряжение, В | 3000 |
| Число оборотов, об/мин | 1480 |
7.2 Назначение системы
Преобразователь Частоты (ПЧ) предназначен для частотного пуска и регулирования скорости вращения асинхронных двигателей мощностью в диапазоне 250-3150 кВт, с номинальным напряжением 3кВ, оснащенных короткозамкнутым ротором.
Применение ПЧ обеспечивает:
- значительное энергосбережение (до 60%);
- надежность работы и продление ресурса работы электродвигателей, а также приводимых ими в движение агрегатов и механизмов;
- исключение возникновения гидравлических ударов в системе трубопроводов и выхода из строя шестеренчатых или ременных передаточных механизмов;
- снижение аварийности оборудования и уменьшение затрат на ремонт и обслуживание, а также сокращение аварийных простоев производства;
- интегрирование в автоматическую систему управления технологическими процессами предприятия.
В данном ПЧ реализована современная технология многоуровневого широтно-импульсной модуляции (ШИМ). Она основана на сложении напряжения от отдельных последовательно соединенных по выходу силовых блоков. Тем самым осуществляется формирование выходного напряжения.
К питающей сети (3 кВ) ПЧ подключен первичными обмотками входного трансформатора. Питание к силовым блокам подключается с вторичных обмоток входного трансформатора по схеме коммутации, которая обеспечивает работу диодных выпрямителей для выходного напряжения 3 кВ. За счет чего значительно снижаются колебания тока в сети (особенно низкочастотные колебания).
Особенности:
- высокая эффективность: при номинальном режиме работы эффективность работы системы превышает 96%, эффективность частотно-преобразующей части превышает 98%;
- силовые блоки ремонтопригодны и взаимозаменяемы;
- наличие функции ограничения тока снижает возможность отключения ПЧ вследствие срабатывания защиты от превышения тока;
- выходное напряжение настраивается автоматически;
- функция отслеживания краткосрочного обесточивания (до 3 сек.) позволяет после восстановления питания продолжать работу в нормальном режиме;
- силовые блоки имеют свою, не создающую помех систему байпаса;
- силовые блоки управляются посредством оптоволоконных кабелей, что обеспечивает высокую устойчивость к электромагнитным помехам;
- встроенный PLC-контроллер осуществляет различное оперативное управление;
- 3 режима управления: местное, дистанционное (от выносного пульта) и управление от АСУ;
- имеет систему диагностики неисправностей, производит своевременное оповещение о неисправностях, защиту, запись информации о неисправностях;
7.3 Конструкция и принцип действия
ПЧ имеют шкафную конструкцию. В зависимости от напряжения, мощности, модели и других особых требований ПЧ имеют различные габариты и внешний вид.Высоковольтный привод частотно регулируемый асинхронный (ВПЧА) поставляются в виде функционально законченного оборудования, в состав которого входят:
- ячейка с высоковольтным сухим трансформатором специальной конструкции;
- ячейка силовых модулей с IGBT транзисторами и с модулем управления ВПЧА (промышленный компьютер с сенсорным экраном).
Принцип работы: основная цепь

Рисунок 7- Функциональная схема силовой части преобразователя частоты
В ПЧ реализован принцип переменный - постоянный - переменный ток с одним входным силовым трансформатором. Преобразование из постоянного в переменный ток выполнено в силовых блоках на IGBT-транзисторах.
Входной трансформатор первичной обмоткой (соединение звездой) подключается к трехфазной сети 3кВ. Трансформатор изготовлен в сухом исполнении, имеетвоздушное принудительное (внутри шкафа) охлаждение, обладает продолжительным ресурсом и не требует обслуживания. Вторичные обмотки соединены по схеме треугольник, при условии, что каждая группа вторичных обмоток отличается фазовым смещением трансформируемого напряжения. Сдвиг фазы напряжения на последующей группе вторичных обмоток относительно фазы напряжения на предыдущей группе вторичных обмоток определяется результатом деления 60 угловых градусов на количество групп вторичных обмоток (или количество силовых блоков).
Последовательное подключение силовых блоков при формировании выходного фазного напряжения позволяет использовать в ПЧ IGBT-транзисторы, рассчитанные на напряжение, меньшее, чем получается на выходе преобразователя. Последовательное включение силовых блоков позволяет организовать работу ПЧ в режиме многоуровнего ШИМ преобразования. Такой режим позволяет снизить амплитуду выходной пульсации пропорционально количеству примененных фазных блоков.
Подключившись к выходам звездой, мы получаем возможность менять частоту источника питания для электродвигателя.
Силовые блоки:
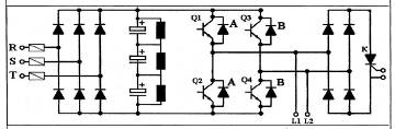
Схема силового блока приведена на рисунке 8. Входные цепи R, S, Т подключаются к низкому трехфазному напряжению вторичной обмотки трансформатора. Напряжение с трансформатора через диодный трехфазный выпрямитель заряжает конденсаторы. Накопленная электрическая энергия конденсаторов расходуется однофазным мостом, состоящего из IGBT транзисторов Q1-Q4, для формирования напряжения ШИМ на выходах L1, L2.

Рисунок 8-Принципиальная схема силового модуля с IGBT транзисторами
Силовой блок, получив по оптоволоконному кабелю управляющий сигнал на открытие и закрытие IGBT-транзисторов Ql - Q4, формирует ширину импульса выходного напряжения одной фазы. Каждая фаза имеет только 3 возможных значения выходного напряжения: при открытых Q1 и Q4 выходное напряжение L1 и L2 соответствует 1; при открытых Q2 и Q3 8 Безопасность жизнедеятельности
Одними из наиболее опасных факторов при эксплуатации тепловой сети являются:
а) работа трубопровода под давлением (до 10 кг/см2 );
б) высокая температура теплоносителя (150 °С);
в) возможное превышение заданной температуры поверхности изоляции;
г) высокая чувствительность водяной тепловой сети к авариям.
8.1 Меры безопасности при эксплуатации тепловых сетей
Прокладка тепловых сетей, конструкция трубопроводов, тепловая изоляция, строительные конструкции тепловых сетей должны соответствовать требованиям действующих правил.
По территории предприятия должна предусматриваться надземная прокладка тепловых сетей на отдельно стоящих опорах.
Уклон трубопроводов тепловых сетей должен быть не менее 0,002 независимо от направления движения теплоносителя и способа прокладки теплопровода.
Материалы, трубы, арматуру для тепловых сетей следует принимать в соответствии с «Правилами устройства и безопасной эксплуатации трубопроводов пара и горячей воды» Госгортехнадзора России.
Все соединения элементов трубопроводов должны быть сварными. Применение фланцевых соединений допускается для присоединения трубопроводов к арматуре и деталям оборудования, имеющим фланцы. Допускается приварка фланцевой арматуры к трубопроводам.
Задвижки и затворы диаметром 500 мм и более должны иметь электропривод. При надземной прокладке тепловых сетей задвижки с электроприводами должны быть установлены в помещении или заключены в кожухи, защищающие арматуру и электропривод от атмосферных осадков и исключающие доступ к ним посторонних лиц.
В нижних точках трубопроводов водяных тепловых сетей должны быть смонтированы штуцера с запорной арматурой для спуска воды.
В высших точках трубопроводов тепловых сетей, в том числе на каждом секционном участке, должны быть установлены штуцера с запорной арматурой для выпуска воздуха (воздушники).
В тепловых сетях должна быть обеспечена надежная компенсация тепловых удлинений трубопроводов.
Трубопроводы тепловых сетей, арматура, компенсаторы, фланцевые соединения и опоры труб должны быть покрыты тепловой изоляцией.
Тепловая изоляция фланцевых соединений, арматуры, участков трубопроводов, подвергающихся периодическому контролю, а также сальниковых, линзовых компенсаторов должна быть съемной. Тепловые сети, проложенные вне помещений, независимо от вида и способа прокладки должны иметь защиту от воздействия влаги.
Ввод в эксплуатацию тепловых сетей после окончания строительства или капитального ремонта без наружного антикоррозионного покрытия труб и металлических конструкций запрещается.
Места установки электрооборудования (насосные, тепловые пункты, туннели), места установки арматуры с электроприводом, регуляторов и контрольно- измерительных приборов должны иметь электрическое освещение, соответствующее «Правилам устройств электроустановок».
8.2 Меры безопасности при эксплуатации теплового оборудования
Перед началом работы должно быть проверено выполнение всех требований Правил, относящихся к предстоящей работе. При нарушении этого положения персонал не имеет права приступать к работе независимо от того, кто ему дал указание об его выполнении.
Обходы и осмотры оборудования должны производиться только с разрешения персонала, ведущего режим оборудования.
Находиться без производственной необходимости на площадках агрегатов, вблизи люков, лазов, около запорной, регулирующей арматуры, фланцевых соединений трубопроводов, находящихся под давлением, запрещается.
При пуске, отключении, опрессовке, испытании оборудования и трубопроводов под давлением вблизи них разрешается находиться только персоналу, непосредственно выполняющему эти работы.
При повышении давления до пробного при гидравлическом испытании оборудования нахождение на нем людей запрещается. Осматривать сварные швы испытываемых трубопроводов и оборудования разрешается только после снижения пробного давления до рабочего.
При обнаружении свищей в паропроводах, коллекторах, в корпусах арматуры необходимо срочно вывести работающих с аварийного оборудования, оградить опасную зону и вывесить знаки безопасности: «Осторожно! Опасная зона».
При монтаже и эксплуатации деаэратора АВАКС должны соблюдаться общие правила техники безопасности при монтаже и эксплуатации промышленных котельных установок.
Перетяжку фланцевых соединений и устранение неплотностей шланговых соединений производить только при отключенной деаэрационной установке.
Запрещается использование контрольно-измерительных приборов, непрошедщих Госповерку.
Для исключения тепловых потерь и безопасного обслуживания выполнить теплоизоляцию корпуса деаэратора.
Подготовка к работе, порядок работы деаэратора:
1) При подготовке к работе необходимо убедится в том что монтаж установки выполнен в соответствии с «Правилами технической эксплуатации тепловых энергоустановок» и схемой привязки деаэратора в существующей системе или котельной.
2) Все монтажные и ремонтные работы должны быть закончены, временные заглушки на трубопроводах удалены, задвижки и вентили исправны и закрыты, контрольно измерительные приборы установлены и исправны.
3) Проверить надежность фланцевых и шланговых соединений, исправность смотрового стекла (отсутствия трещин, сколов и т.д.)
4) Подготовить и включить имеющиеся в схеме подогреватели и насосы.
5) Включить насос эжектора и довести разряжение в эжекторной полости удаления выпора до максимума.
6) Включением насоса или открытием задвижки довести давление на входе в деаэратор до паспортных данных.
7) Убедится что температура деаэрируемой воды соответствует паспортным данным.
8) Открытием шарового крана на линии выпора запустить деаэратор в работу, при этом в смотровом стекле через 20…30 секунд должен наблюдаться влажный пар без присутствия крупных капель или струй воды.
Порядок работы
1) После запуска деаэратора следует контролироватьи поддерживать в пределах паспортных данных:
- температуру деаэрируемой воды;
- давление деаэрируемой воды;
- не допускать появление воды в смотровом стекле.
Работа деаэратора может осуществляться в двух режимах: непрерывный или периодический по мере необходимости
2) Отбор проб для проверки качества деаэрации производить согласно существующих требований и правил.
Останов деаэратора
1) Закрыть шаровой кран на линии выпара.
2) Прекратить подачу деаэрируемой воды (останов насоса, закрытие задвижки).
3) Выключить эжектор.
Техническое обслуживание
При непрерывном режиме работы деаэратора обслуживающий персонал должен убедиться в:
- соответствии параметров работы деаэратора (температур и давлений деаэрируемой воды на входе и выходе деаэратора, показаний мановакууметров) паспортным характеристикам;
- отсутствии какой – либо вибрации;
- отсутствии гидравлических ударов;
- отсутствии подсосов в шланговых соединениях.
При периодическом режиме работы обслуживающий персонал должен руководствоваться должностными инструкциями.
При монтаже и эксплуатации эжектора следует руководствоваться «Общими правилами техники безопасности при эксплуатации промышленных котельных установок».
Запрещается производить подтяжку фланцевых соединений на работающем эжекторе.
Запрещается использование контрольно-измерительных приборов, не прошедших Госповерку.
Подготовка к работе эжектора, порядок эксплуатации:
Перед пуском эжектора необходимо:
1) Проверить плотность всех соединений.
2) Убедиться в наличии и исправности контрольно-измерительных приборов.
3) Проверить заполнение системы рабочей водой ее температура не должна превышать 30 0 С.
Пуск эжектора:
1) Включить насос эжектора при открытом перепускном клапане.
2) Перепускным клапаном поднять давление рабочей воды до паспортной характеристики.
В процессе работы эжектора необходимо:
1) Следить за температурой рабочей воды которая не должна превышать 300 С.
2) Следить за соответствием паспортным характеристикам давления рабочей воды.
3) Следить за плотностью соединений трубопроводов отсоса парогазовой смеси.
Останов эжектора
1) Перепускным клапаном снизить давление рабочей воды до 1 кгс/см2 .
2) Остановить насос рабочей воды.
В процессе эксплуатации эжектора необходимо:
1) Периодически проверять плотность всех соединений (производить протяжку фланцевых соединений, проверять плотность трубопроводов парогазовой смеси).
2) Периодически очищать сопловые отверстия от загрязнения.
8.3 Меры безопасности при гидравлическом испытании тепловой сети
Гидравлическому испытанию с целью проверки прочности и плотности трубопроводов и их элементов, а также всех сварных и других соединений подлежат:
а) все элементы и детали трубопроводов; их гидравлическое испытание не является обязательным, если они подвергались 100 % контролю ультразвуком или иным равноценным методом неразрушающей дефектоскопии;
б) блоки трубопроводов; их гидравлическое испытание не является обязательным, если все составляющие их элементы были подвергнуты испытанию в соответствии с пунктом «а», а все выполненные при их изготовлении и монтаже сварные соединения проверены методами неразрушающей дефектоскопии (ультразвуком или радиографией) по всей протяженности;
в) трубопроводы всех категорий со всеми элементами и их арматурой после окончания монтажа.
Допускается проведение гидравлического испытания отдельных и сборных элементов совместно с трубопроводом, если при изготовлении или монтаже невозможно провести их испытания отдельно от трубопровода.
Арматура и фасонные детали трубопроводов должны подвергаться гидравлическому испытанию пробным давлением в соответствии с нормативными документами.
Максимальная величина пробного давления устанавливается расчетом на прочность по нормативным документам, согласованной в установленном порядке.
Величину пробного давления выбирает организация-изготовитель (проектная организация) в пределах между минимальным и максимальным значениями.
Для гидравлического испытания должна применяться вода с температурой не ниже 5 °С и не выше 40 °С.
Гидравлическое испытание трубопроводов должно производиться при положительной температуре окружающего воздуха. При гидравлическом испытании паропроводов, работающих с давлением 10 МПа (100 кгс/см2 ) и выше, температура их стенок должна быть не менее 10 °С.
Давление в трубопроводе следует повышать плавно. Скорость подъема давления должна быть указана в нормативных документах на изготовление трубопровода.
Давление при испытании должно контролироваться двумя манометрами. При этом выбираются манометры одного типа с одинаковым классом точности, пределом измерения и ценой деления.
Время выдержки трубопровода и его элементов под пробным давлением должно быть не менее 10 минут.
После снижения пробного давления до рабочего производится тщательный осмотр трубопровода по всей его длине.
Трубопровод и его элементы считаются выдержавшими гидравлическое испытание, если не обнаружено течи, потения в сварных соединениях и в основном металле, видимых остаточных деформаций, трещин или признаков разрыва.
8.4 Потенциально опасные и вредные производственные факторы
Согласно ГОСТ 12.0.003-99 ССБТ «Опасные и вредные производственные факторы. Классификация» при эксплуатации устанавливаемой деаэрационной установки имеют место следующие опасные и вредные производственные факторы:
а) физические:
- повышенная температура поверхностей оборудования;
- повышенная температура воздуха рабочей зоны;
- повышенный уровень шума на рабочем месте;
- повышенный уровень вибрации;
- повышенный уровень статического электричества;
- недостаток естественного света;
б) психофизиологические:
- напряженность труда (интеллектуальная и сенсорная нагрузки,
монотонность труда);
- тяжестьтруда.
в) травмоопасные:
- движущиеся и вращающиеся части машин и механизмов;
- повышенное значение напряжения в электрической цепи, замыкание которой может произойти через тело человека;
- расположение рабочего места на высоте, относительно
поверхности пола;
- разрушающиеся конструкции элементов оборудования;
- нарушение герметичности паропроводов, трубопроводов и оборудования, воздействие на человека носителей с высокой температурой и давлением.
8.5 Воздействие опасных и вредных производственных факторов
Метеорологические условия на рабочих местах определяются интенсивностью теплового облучения, температурой воздуха, относительной влажностью и скоростью движения воздуха, температурой поверхности.
Эти параметры воздушной среды во многом влияют на самочувствие человека. Организм человека обладает свойствами терморегуляции. Нарушение терморегуляции приводит к головокружениям, тошноте, потере сознания и тепловому удару.
Источником механического шума в цехе является деаэрационная установка, а также насосы. Дополнительный механический шум возникает вследствие вибрации деталей и узлов машин.
Шум ухудшает точность выполнения работ, затрудняет прием и восприятие информации, способствует быстрой утомляемости, что ведет к снижению производительности труда.
Шум не только действует на слуховой аппарат, но может вызвать расстройства сердечно-сосудистой и нервной систем, пищеварительного тракта, гипертоническую болезнь, головокружение, ослабление внимания, замедление психических реакций, повышенную склонность к различным заболеваниям. Сильный производственный шум может быть причиной функциональных изменений нервной, кровеносной, а также пищеварительной систем организма человека.
Возможность поражения электрическим током возникает в результате случайного прикосновения к неизолированным токоведущим частям, находящимся под напряжением, а также в результате появления напряжения на металлических нетоковедущих частях оборудования (корпусах, кожухах, ограждениях) вследствие повреждения изоляции.
Электрический ток может поражать отдельные участки тела или весь организм в целом, вызывать ожоги, электрометаллизацию кожи, электрический удар.
Колебательные движения, возникающие в результате действия случайных или неуравновешенных сил, называются вибрацией.
Систематическое воздействие вибраций вызывает вибрационную болезнь с потерей трудоспособности. Эта болезнь возникает постепенно, сопровождается головными болями, раздражительностью, плохим сном. Появляются боли в суставах, судороги пальцев, спазмы сосудов и нарушение питания тканей тела.
Особенно опасны вибрации с частотой 6 – 9 Гц, близкие к колебаниям внутренних органов, так как такие вибрации могут вызвать резонансные явления в организме. При большой интенсивности и в определенном диапазоне частот вибрация может вызвать разрыв тканей, сотрясение головного мозга.
При ремонте или обслуживании технологических агрегатов на высоте возникает риск получения травм при падении. Разрушение конструкции агрегатов или трубопроводов при аварии может привести к поражению человека как теплоносителем, так и элементами поврежденных конструкций.
8.6 Защита от опасных и вредных производственных факторов
Гигиенические нормы допускаемых уровней звукового давления и уровня звука на рабочих местах приводятся в Сан ПиН 2.2.4 548-96.
Основными методами борьбы с шумом являются:
- уменьшение шума в источнике его возникновения (точность изготовления узлов, замена стальных шестерен пластмассовыми и т.д.);
- звукопоглощение (применение материалов из минерального войлока, стекловаты, поролона и т.д.);
- звукоизоляция, звукоизолирующие конструкции изготавливаются из плотного материала (металл, дерево, пластмасса);
- установка глушителей шума;
- рациональное размещение оборудования в цехе;
- индивидуальные средства защиты (вкладыши, наушники, шлемы).
Защита от вибраций
- уменьшение вибраций в источнике его возникновения (замена ударных механизмов безударными, применение шестерен со специальными видами зацеплений, повышение класса точности обработки, балансировка и т.д.).
- отстройка от режима резонанса путем рационального выбора массы или жесткости колеблющейся системы.
- виброизоляция (применение прокладок из резины, пружины и т.д.).
Согласно ГОСТ 12.1.012-78 ССБТ «Вибрация. Общие требования безопасности» для снижения уровня вибрации в турбинном цехе применены методы, снижающие параметры вибрации на пути ее распространения. Вспомогательное оборудование размещаются с учетом создания минимальных уровней вибрации на рабочих местах. Опоры трубопроводов выполняются гибкими, с пружинными компенсаторами вибрации. Все агрегаты устанавливаются на самостоятельные фундаменты, виброизолированные от пола.
В качестве индивидуальной защиты от вибрации, передаваемой человеку через ноги, рекомендуется носить обувь на войлочной или широкопористой резиновой подошвы, а также использовать виброгасящие перчатки с мягкими наладонниками для амортизации вибрации.
Нормируемые параметры шума на рабочих местах определены ГОСТ 12.1.003 – 83 и Санитарными нормами СН 2.2.4/2.1.8.562 – 96 «Шум на рабочих местах, в помещениях жилых, общественных зданий и на территории жилой застройки».
Сравнение допустимых уровней звукового давления с уровнем на рабочем месте приведены в таблице :
Таблица 28 - Допустимые уровни звукового давления
Наименование. |
Среднегеометрические частоты октавных полос, Гц. | Уровни звука и эквива лентные уровни звука, дБА |
|||||||||||||
63 |
125 |
250 |
500 |
1000 |
2000 | 4000 | 8000 | ||||||||
| Уровни звукового давления, дБ. | |||||||||||||||
| Допустимое значение. (Постоянные рабочие места и рабочие зоны на территории предприятия). | 99 |
92 |
86 |
83 |
80 |
78 |
76 |
74 |
85 |
||||||
Деаэрационная установка работает с допустимыми уровнями звукового давления.
Вибрация при нормальном режиме практически не ощущается, так как она гасится фундаментом. Поэтому рассматривать её в качестве вредного воздействия, в данном проекте, не имеет смысла.
Негативное воздействие на организм человека оказывает тепловое излучение с поверхности некоторых технологических агрегатов.
Снижение температуры поверхности паропроводов достигается
применением в качестве изолятора асбестового шнура и изоляторов на основе синтетического каучука. Сочетание этих материалов значительно уменьшает тепловое излучение.
Для обеспечения безопасного обслуживания тепломеханического оборудования предусматривается:
- установка на вспомогательном оборудовании запорной арматуры, контрольно-измерительных приборов, приборов блокировки, отключения и сигнализации, которые предотвращают и предупреждают аварийные ситуации;
- надежная изоляция вращающихся и подвижных частей оборудования
защитными устройствами и ограждениями;
- надежная изоляция и заземление всех металлических частей электроустановок;
- во избежании ожогов обслуживающего и ремонтного персонала - теплоизоляция с помощью изоляционных материалов - минераловатные плиты, асбестовый шнур;
- для правильного распознавания и недопущения ошибочных действий, все трубопроводы окрашены в опознавательные цвета и стрелкой показано направление движения среды;
- все помосты и площадки огорожены или имеют перила во избежания падения рабочего персонала с высоты.
Эксплуатация тепломеханического оборудования должна производится в строгом соответствии с «Правилами технической эксплуатации электрических станций и сетей», «Правилами техники безопасности при эксплуатации тепломеханического оборудования электростанций и тепловых сетей», «Правилами устройства и безопасной эксплуатации сосудов, работающих под давлением», «Правилами устройства и безопасной эксплуатации трубопроводов», «Правилами пожарной безопасности при эксплуатации тепломеханического оборудования электростанций».
Каждый работник обязан знать и строго выполнять соответствующие разделы указанных правил, определенных должностными инструкциями, руководствоваться ими в работе и требовать выполнения правил всеми лицами, находящимися в зоне расположения оборудования.
Не допускать нахождения на действующем оборудовании лиц, не связанных с ремонтом оборудования или выполнением работ без оформления нарядов или распоряжений.
Эксплуатация оборудования цеха должна осуществляться обученным и аттестованным персоналом, допущенным к эксплуатации вспомогательного оборудования и трубопроводов в установленном порядке.
При обнаружении нарушения тепловой изоляции оборудования и трубопроводов, свищей в паропроводах немедленно определить опасную зону и вывесить плакат: "Опасная зона ". В опасной зоне прекратить все работы, вывести людей и сообщить вышестоящему оперативному персоналу.
Все замечания по технике безопасности записывать в журнал дефектов оборудования, журнал по технике безопасности и доводить до сведения администрации электростанции.
Весь производственный персонал должен быть практически обучен приемам освобождения попавшего под напряжение от действия электрического тока и оказания ему первой помощи, а также приемам оказания доврачебной помощи пострадавшим при других несчастных случаях.
Весь персонал при нахождении в цехе обязан пользоваться защитными касками.
К показателям микроклимата относятся:
1) Температура, °С;
2) Влажность, %;
3) Скорость движения воздуха, м/с.
Благоприятный микроклимат является важным фактором в повышении производительности труда и в профилактике заболеваний.
Повышенные температура и влажность затрудняют терморегуляцию из-за снижения испарения пота и ведут к ухудшению самочувствия человека. Пониженная влажность вызывает пересыхание слизистых оболочек дыхательных путей. Низкая температура вызывает местное и общее переохлаждение и является причиной простудных заболеваний. Движение воздуха способствует увеличению отдачи тепла организмом, что благоприятно сказывается в тёплое время года и отрицательно в холодное.
Оптимальные значения показателей микроклимата определены по
СП 245 – 03.
Таблица 29- Параметры микроклимата цеха
| Параметр. | Оптимальное Значение. |
Реальное значение. |
| Температура, °С. | 23–27 | 25 |
| Влажность, %. | 40–60 | 50–55 |
| Скорость движения воздуха на рабочем месте, м/с. | 0,2–0,5 |
0,2 |
Электробезопасность. При гигиеническом нормировании ГОСТ 12.1.038 – 82 устанавливает предельно допустимые напряжения прикосновения и токи, протекающие через тело ( рука – рука, рука – нога) при нормальном (неаварийном) режиме работы электроустановок производственного и бытового назначения постоянного и переменного тока частотой 50 и 400 Гц.
Условно безопасными напряжениями являются 42 В переменного тока и 110 В постоянного. Смертельно опасным является ток более 100 мА, который вызывает паралич органов дыхания и фибрилляцию сердца и называется пороговым фибрилляционным.
В таблице 30 даны значения токов по последствиям физиологического воздействия на организм человека.
Для предотвращения возможности поражения электрическим током, при работе нужно соблюдать следующее:
1) Следить за исправностью электрооборудования насоса
( изоляции, защитного заземления и т.п. )
Таблица 30 – Значения токов по последствиям физиологического воздействия на организм человека.
| Род тока. | Ощутимый ток, мА | Неотпускающий ток, мА | Фибрилляцион ный ток, мА |
1. Переменный ( 50 Гц ) |
0,6 – 1,5 |
10 – 15 |
100 |
| 2. Постоянный | 6 – 7 | 50 – 70 | – |
2) Использование местного освещения напряжением 36 В и ниже.
3) При неисправности электрооборудования вызвать оперативно-ремонтный персонал из бригады электриков.
Освещение цеха. Естественное и искусственное освещение в помещениях регламентируются нормами СНиП 23 – 05 – 95 в зависимости от характера зрительных работ, системы и вида освещения, фона, контраста объекта с фоном.
К мероприятиям по предупреждению снижения освещённости относятся:
1) содержание светильников в чистоте и исправности;
2) оперативная замена вышедших из строя ламп.
Естественное освещение в помещении определяется коэффициентом естественной освещённости КЕО, приведённым в таблице 31:
Таблица 31- Коэффициент естественной освещённости
| Характер выполняемой работы | Размер объекта различия, мм | Разряд зрительной работы | Значение КЕО при естественном освещении, % |
|
| Верхнем и комбинированном | боковом |
|||
| Средней точности | 0,5 – 1 |
IV |
4 |
1,5 |
Искусственное освещение цеха делится на:
1) Рабочее для освещения технологического процесса;
2) Аварийное для продолжения работы при отключении рабочего. Имеет свой источник питания и включается автоматически. Составляет 5% от рабочего или 2 лк.
3) Эвакуационное для эвакуации людей при отключении аварийного. Составляет 0,5 лк на открытых площадках и 2 лк на лестничных проёмах.
8.7 Расчёт общего искусственного освещения
8.7.1 Определить необходимое количество светильников для общего освещения деаэрационного производственного участка цеха.
Длина участка В = 31,7 м, ширина L = 8 м;
Высота повеса светильников Нп = 14 м.
8.7.2 Индекс помещения
(8.1)
где S – площадь освещаемого помещения, м2 ;
L – ширина помещения, м;
В – длина помещения, м;
Нп – высота подвеса светильника, м.
![]()
![]()
8.7.3 Количество светильников
(8.2)
где Е – минимальная освещённость, лк;
Е = 200 лк;
К – коэффициент запаса, зависящий от степени запылённости помещения;
К = 1,5;
S – площадь освещаемого помещения, м2 ;
Z – коэффициент неравномерности освещения;
Ф – световой поток лампы, лм;
n – количество ламп в светильнике, шт;
h – коэффициент использования светового потока, зависящий от типа светильника, коэффициента отражения стен rс , потолка rп и индекса помещения;
rп = 50% – коэффициент отражения от бетонного потолка; rс = 30% – коэффициент отражения для бетонных стен с окнами.
Тогда h = 0,86 при i = 0,5
Выбираем для светильников газоразрядные лампы ДРЛ – 700 со световым потоком Ф = 33000 лм. Тип светильника – глубокоизлучатель прямого света (Гс) 1000 Вт.
![]()
8.7.4 Схемы расположения светильников.
Принимаем параллельную схему расположения светильников. По ширине цеха светильники располагаются через 10 м.
9 Технико -экономическое обоснование
Орская ТЭЦ-1 электрической мощностью 245 МВт, тепловой 1349 Гкал/ч расположена в Ленинском районе города и обеспечивает покрытие тепловых нагрузок промышленных предприятий и жилого сектора Ленинского и Октябрьского районов города.
Тепловая и электрическая энергии – специфические продукты, потребление которых и соответственно спрос имеют ряд особенностей:
- жизненный характер, т.е. потребление этих видов энергии не может быть прекращено;
- непрерывность потребления, т.к. связано с обслуживанием населения;
- невозможность создания запаса;
- неритмичность потребления, т.к. связана с изменением потребности в зависимости от времени суток и сезона года.
Продолжительность отопительного периода – 218 суток (5232 часа).
В настоящее время основными видами топлива на станции являются: для энергетических и водогрейных котлов – природный газ, в качестве аварийного – мазут.
В силу технологической специфики энергетики при установлении цен на энергию учитываются региональные особенности производства, что проявляется в региональном регулировании цен.
Цены, по которым потребители покупают электроэнергию и тепло, устанавливает региональная энергетическая комиссия. Установленные региональной энергетической комиссией ценны на электроэнергию действуют только внутри региона.
Динамика основных технико-экономических показателей деятельности предприятия по выработке электроэнергии представлена в таблице 29.
Таблица 32 – Динамика технико-экономических показателей
| Показатели | 2004г. | 2005г. | 2006г. | Отклонение, тыс.руб. | Темп роста, % | |||||||
| 2006г. от 2004г | 2005/2004 | 2006/2005 | ||||||||||
| Выручка от продаж, тыс.руб. | 612369 | 632446 | 668879 | 56510 | 103,3 | 105,8 | ||||||
| Себестоимость продукции, тыс.руб. | 511159 | 520961 | 543362 | 32203 | 106,3 | 104,3 | ||||||
| Прибыль от продаж, тыс.руб. | 101210 | 111486 | 125517 | 24307 | 110,2 | 112,6 | ||||||
| Среднемесячная заработная плата 1 работающего, руб. | 6702 | 7426 | 8354 | 1652 | 110,8 | 112,5 | ||||||
| Показатели | 2004г. | 2005г. | 2006г. | Отклонение, тыс.руб. | Темп роста, % | |||||||
| 2006г. от 2004г | 2005/2004 | 2006/2005 | ||||||||||
| Среднесписочная численность, чел. | 237 | 211 | 203 | -34 | 89,0 | 96,2 | ||||||
| Рентабельность, % | 19,8 | 21,4 | 23,1 | 3,3 | Х | Х | ||||||
Деаэрация играет решающую роль в предупреждении внутренней коррозии. Ее использование увеличивает срок службы трубопроводов и оборудования в 2-5 раз, устраняет энергетические потери и ремонтные затраты. Применения предприятиями деаэраторов АВАКС обеспечивает ежегодную экономию денежных средств в размере от миллионов до десятков миллионов рублей. Применение деаэратора «АВАКС» увеличивает срок эксплуатации теплосетей в 2-3,5 раза, снижает расход топлива до 50%.
Затраты на монтаж уменьшаются в 100 раз, затраты на эксплуатацию в 3 раза, стоимость деаэратора «АВАКС» в 3 раза ниже по сравнению с существующими деаэрационными установками. Годовой ущерб от коррозийных утечек сетевой воды для тепловых сетей мощностью 30 Гкал/ч может составлять от 2000 тыс. рублей без учета стоимости ремонтов.
По статистическим данным не менее 50 % ремонтов трубопроводов тепловых сетей связано с их внутренней коррозией. Вывод из эксплуатации тепловых сетей в зимнее время грозит социальной катастрофой. По этой причине требования к технологической дисциплине и меры ответственности ужесточаются.
9.1 Определение суммы капитальных вложений в деаэрационную установку
Оценка уровня капитальных вложений выполнялась на основании:
- данных отдела капитального строительства, по ценам сложившимся на 01.01.2007г.;
- оценки затрат на освоение площадки строительства с учетом использования инфраструктуры и установок ТЭЦ.
Капитальные затраты в связи с техническим перевооружением производства представлены в таблице 30 и складываются из следующих затрат:
- приобретение оборудования;
- строительно-монтажные работы, связанные с монтажем нового оборудования;
- необходимые проектно-конструкторские работы;
- технологическая подготовка производства.
Таблица 33 – Расчет суммы капитальных вложений
| Наименование составляющих | Количество | Цена, руб. | Сумма, руб. | Примечание |
Деаэратор АВАКС Q=10-30 т/ч |
2 | 83662 | 167324 | |
Деаэратор АВАКС Q=30-50 т/ч |
2 | 129210 | 258420 | |
Деаэратор АВАКС Q=5-150 т/ч |
2 | 200420 | 400840 | |
| Эжектор ЭВ-3 | 6 | 45017 | 270102 | |
| Прочее тепломеханическое оборудование (питательные, сетевые насосы, трубопроводы) | 3 | 100000 | 300000 | |
| Оборудование системы технического водоснабжения | 1 | 70000 | 70000 | |
| Электротехническое оборудование | 1 | 30000 | 30000 | |
| Оборудование АСУТП | 1 | 100000 | 100000 | |
| Всего оборудование | 821 | 1596686 | 73,69% | |
| Монтажные работы | 1 | 70000 | 70000 | |
| Строительные работы и материалы | 1 | 70000 | 70000 | |
| Всего СМР | 140000 | 140000 | 6,46% | |
| Прочие работы и затраты, включая пуско-наладочные работы, испытания и т.п. | 1 | 50000 | 50000 | 2,3% |
| Проектно-конструкторские работы | 1 | 180000 | 180000 | 8,3% |
| Непредвиденные работы и затраты | 1 | 200000 | 200000 | 9,2% |
| Итого | 2166686 | 2166686 | 100,00% |
9.2 Расчет стоимости электроэнергии и теплоэнергии
Себестоимость электроэнергии и теплоэнергии определяется по следующим статьям затрат:
- расход на производство подпитки;
- основная оплата труда производственных рабочих;
- дополнительная оплата труда производственных рабочих;
- отчисления на социальные нужды;
- расходы по содержанию и эксплуатации оборудования;
- расходы по подготовке и освоению производства;
- цеховые расходы;
- общезаводские расходы;
9.2.1 Расход на производство подпитки
Основными материальными затратами при производстве являются затраты на нагрев воды и поддержание давления.
Количество теплоты, отдаваемое паром в теплообменном аппарате составляет 0,4 Гкал/час.
Стоимость 1 Гкал равна 270 руб.
Затраты на нагрев воды:
.
Затраты на химически очищенную воду при стоимости 10 руб/т:
.
Затраты на химически обессоленную воду при стоимости 40 руб/т:
.
Затраты электроэнергии на насосы при стоимости 1кВт*ч =0,46руб:
Насос К-100-65-200:
.
Насос СЭ-250-50:
.
Итого полные затраты на подпитку составят:
![]()
9.2.2 Основная оплата труда производственных рабочих
По данной статье учитывается оплата труда производственных рабочих непосредственно участвующих в технологическом процессе, численность которых определяется исходя из норм трудоемкости, фонда рабочего времени и сменности персонала.
Численность рабочих для эксплуатации составит:
, (9.1)
где
- норма трудоемкости при эксплуатации;
- фонд рабочего времени;
- коэффициент выполнения нормы.
![]()
Основную оплату труда производственных рабочих,
рассчитаем по среднемесячной заработной плате работающего сложившейся в 2006 году:
, (9.2)
где
– среднемесячная заработная плата производственных рабочих;
– количество работников.
![]()
Общая основная оплата труда составит:
![]()
9.2.3 Дополнительная оплата труда производственных рабочих .
К дополнительной оплате труда относятся выплаты основным рабочим, предусмотренные законодательством о труде и коллективным договором, такие как оплата основных и дополнительных отпусков, выплата вознаграждений за выслугу лет и прочие.
Дополнительная заработная плата производственных рабочих на Орской ТЭЦ-1 определяется в процентах от основной и установлена в размере 40 %.
9.2.4 Отчисления на социальные нужды .
Согласно действующего законодательства работодатель обязан производить отчисления (единый социальный налог) на социальные нужды от основной и дополнительной оплаты труда производственных рабочих.
Отчисления на социальное страхование от заработной платы производственных рабочих принимаются в размере 26% от фонда оплаты труда.
9.2.5 Расходы по содержанию и эксплуатации оборудования .
К этой стать е относятся:
- расходы на содержание оборудования и рабочих мест;
- расходы на ремонт производственного оборудования;
- расходы на амортизацию производственного оборудования;
- возмещение износа малоценных и быстроизнашивающихся предметов;
- прочие расходы не предусмотренные в других статьях.
Расходы по данной статье составляют 20000 тыс. руб. по данным отдела подготовки и планирования ремонтов. Включая расходы по подготовке и освоению производства .
В данной статье отражаются затраты на содержание, амортизацию и текущий ремонт цехового транспорта, рабочих мест, а также заработная плата цехового персонала.
Процент цеховых расходов принят равным этому проценту за 2006 год.
Затраты по данной статье связаны с организацией производства в целом и его управлением. К данной статье затрат относятся:
- заработная плата персонала заводоуправления;
- расходы на командировки и перемещения;
- расходы на подготовку кадров;
- расходы на охрану предприятия;
- представительские расходы, налоги, сборы, отчисления и прочее.
Процент общепроизводственных расходов принимается равным за 2006 год.
Таблица 34 – Сравнительная калькуляция производства подпитки
| Статья расходов | Сумма, руб. | абсолютное отклонение | |
| базовая | новая | ||
| Эл.энергия на технологию, руб | 158976 | 282182 | 123206 |
| Тепло на технологические цели | 6106337 | 466560 | -5639777 |
| Количество подпиточной воды | 28745280 | 22291200 | -6454080 |
| Основная оплата труда производственных рабочих | 14536 | 14894,03 | 358,03 |
| Дополнительная оплата труда производственных рабочих | 5814,4 | 5957,6 | 143,2 |
| Отчисления на социальные нужды (ЕСН) производственных рабочих | 5291 | 5421 | 130 |
| Расходы по содержанию и эксплуатации оборудования. Расходы по подготовке и освоению производства (пусковые расходы) | 120232 | 140232 | 20000 |
| Цеховые расходы | 39620 | 56184 | 16564 |
| Общезаводские (общехозяйственные) расходы | 42506 | 60277 | 17771 |
| Покупная энергия | 0 | 0 | 0 |
| Итого полная себестоимость | 35238592,4 | 23322907,6 | -11915684,8 |
| Себестоимость 1 кВт, руб. | 0,46 | 0,46 | 0 |
9.3 Рентабельность и прибыль проекта
Таблица 35 – Сравнительный анализ технико-экономических показателей деятельности базового и нового проекта
| Показатель | Базовый проект | Новый проект | абсолютное отклонение | Относительное отклонение, % |
| Прирост прибыли, тыс. руб. | - | 11915,7 | - | - |
| среднемесячная заработная плата, тыс. руб. | 8354 | 8354 | 0 | 100 |
| среднесписочная численность, чел. | 203 | 208 | 5 | 102 |
9.4 Эффективность и срок окупаемости проекта
Общая экономическая эффективность,
по действующему предприятию находится по формуле:
,(9.3)
где
- прирост прибыли;
- инвестиционный период.
Прирост прибыли,
:
(9.4)
![]()
![]()
На каждый затраченный рубль в проект предприятие будет получать прибыль ежегодно в размере 55 копеек.
Срок окупаемости проекта,
определяется по формуле:
(9.5)
![]()
Вывод: Выполненные предварительные проработки показали высокую эффективность инвестиций в строительство деаэрационной установки.
Срок окупаемости для полных инвестиционных затрат в прогнозных ценах составляет 1,8 лет с момента начала эксплуатации.
9.5. Технико–экономический расчет при проектировании системы теплоснабжения
Капиталовложения наиболее точно определяют по сметам, составленным по прейскурантным базовым ценам, нормативным документам в строительстве, территориальным единичным расценкам для определения стоимости строительства.
Капитальные вложения К, руб определяются по формуле:
,(9.6)
где ∑Кматер – стоимость материала, элемента трубопровода, руб;
∑Кстроит. – стоимость установки материала, элемента трубопровода, руб.
Ежегодные издержки производства Иг , руб, представляющие собой сумму всех отчислений и расходов, связанных с эксплуатацией данной тепловой сети, определяются по формуле:
, (9.7)
где Иа – амортизационные отчисления на восстановление оборудования, руб;
Ип – стоимость тепловых потерь, руб;
Иэ – расходы на эксплуатацию. Примем их равными для обоих вариантов и не будем их учитывать.
9.5.1 Годовые затраты по вариантам
Вариант № 1 – Ремонт существующего трубопровода.
Итоговая сумма по смете является издержками И, руб, на ремонт теплопровода и равна 2050421,1 руб. Эта сумма определяется на период времени, на 2006 год
Расчет потерь тепла для существующей трассы.
Расчет потерь выполняется согласно «Методическим указаниям по определению тепловых потерь в водяных тепловых сетях».
Тепловые потери в трубопроводе Q, Вт определяются по формуле:
, (9.8)
где Т – удельные тепловые потери, Вт/м;
Т1 = 168 Вт/м - подающий трубопровод (τ1 =150 °С);
Т2 = 110 Вт/м - обратный трубопровод (τ2 =70 °С);
l – длина трассы, м.
Тепловые потери в подающем трубопроводе Q1 , Вт определяются по
формуле (9.8):
Вт
Тепловые потери в обратном трубопроводе Q2 , Вт определяются по формуле (9.8):
Вт
Общие потери по трубопроводу Q, Вт определятся по формуле:
(9.9)
Вт
Стоимость 1МВт: Ц= 270 рублей.
Стоимость потерь Ип , руб/год определяется по формуле:
, (9.10)
где n=5500 часов – продолжительность отопительного периода.
руб/год
Годовые затраты Зг1 , руб/год, определяются:
млн.руб/год
Существующий трубопровод функционирует более 35 лет. Сумма, необходимая на ремонт существующего трубопровода, после технической диагностики через несколько лет будет иной и гораздо больше.
Вариант 2 – Монтаж новой трассы .
Стоимость тепловых сетей находится в прямой линейной зависимости от диаметра и длины труб и выражается формулой:
(9.11)
где d - диаметр подающей трубы , мм;
- длина труб,км;
s - удельная стоимость теплопровода , руб/м2 ;
k - коэффициент, учитывающий наличие обратной трубы и ее диаметр.
Обычно для водяной двухтрубной сети принимают k = 2.
Удельная стоимость замены трубопровода диаметром свыше 1020 до 1420 мм составляет 8049 руб; диаметром свыше 820 до 1020 составляет 6909 руб.
Длина трубопроводов диаметром до 1020 мм составляет 1797,9 м; диаметром свыше 1020 мм составляет 2855,3 м.
.
![]()
Стоимость тепловых сетей равна 71,9 млн.руб.
Годовые затраты на монтаж трубопровода Зг , руб/год, складываются из стоимости годовых потерь тепла, годовых отчислений от стоимости изоляции на амортизацию, ремонт и обслуживание 1 пог. м изоляции. Сумма годовых расходов Э, руб/год на 1 пог.м, выражается следующей формулой:
,(9.12)
где Q — годовая потеря тепла 1 пог. м трубы, ккал;
m—стоимость потерянного тепла, руб/ккал;
V —объем изоляции 1 пог. м , м3 ;
u—стоимость изоляционного слоя в деле, руб/м3 ;
F — поверхность изоляции, м2 /пог. м;
n — стоимость внешнего покрытия изоляции в руб/м2 ;
р — годовые отчисления от стоимости изоляции в долях единицы.
Величину р обычно выбирают в пределах 0,10—0,15.
Общая длина трубопроводов составляет 2344,3м.
Годовая потеря тепла 1 пог. м трубы составляет 3881,6*103 ккал.
Объем изоляции 1 пог. м определяется, м3 :
V=2*3,14*0,500*0,100*1=0,314м3 .
руб/год на 1 пог.м.
Годовые затраты Зг2 , руб/год определяются:
млн.руб/год.
Стоимость перекачки на 1 мгкал отпущенного тепла при цене энергии с руб/кВт*ч составляет:
, (9.13)
где Н — напор, теряемый в сети, м;
z — число часов использования электрической мощности насосов;
— к. п. д. насосного агрегата;
∆t—расчетный температурный перепад;
n— число часов использования теплового максимума;
ψ— отношение расхода воды при расчетной температуре к максимальному расходу воды;
.
При установленной тепловой мощности 1349 Гкал стоимость перекачки составляет:
![]()
Суммарные годовые затраты С, млн.руб, составляют:
С= 2,63-1,61= 1,02 млн.руб.
При монтаже нового трубопровода срок технической диагностики теплопровода наступит только после 30 лет эксплуатации и следовательно дополнительные затраты на ремонт отсутствуют.
Монтаж нового теплопровода позволяет получать дополнительные ежегодные амортизационные отчисления, которые используются на восстановление, обновление оборудования.
9.5.2 Выбор эффективного варианта от замены трубопровода.
Технико-экономический расчет позволяет выбрать наиболее экономичный вариант теплоснабжения в результате сравнения двух технически приемлемых, дающих одинаковый экономический эффект вариантов по их важнейшим экономическим показателям: капитальным вложениям и ежегодным издержкам производства. Варианты сравнивают по приведенным годовым затратам Зг , руб, которые определяются по следующей формуле:
,(9.14)
где Ен =0,12 – нормативный коэффициент эффективности капитальных вложений;
К – капитальные вложения, руб;
Иг – ежегодные издержки производства, руб.
Затраты на реализацию проекта составят К=71,9 млн. руб.
Расчетный календарный срок службы трубопровода Т=30 лет.
Приведенные годовые затраты Зг1 , руб, в варианте №1 равны:
млн.руб.
Приведенные годовые затраты Зг2 , руб, в варианте №2 равны:
млн.руб.
9.5.3 Прирост прибыли.
Прирост прибыли, Пр, млн.руб, составляет:
Пр= 2,050421+(2,98-1,02)= 4,014 млн.руб.
Вывод:
Исходя из выше изложенного, принимаем вариант номер 2 – монтаж новой тепловой сети, имеющий ряд преимуществ по сравнению с существующей схемой теплоснабжения:
а) более высокой надежностью;
б) меньшими тепловыми потерями;
в) при наступлении очередного срока технического диагностирования существующей трассы, новый теплопровод уже окупится.
Список использованных источников
1. Тепловые сети. СНиП 41-02-2003.
2. Соколов Е. Я. Теплофикация и тепловые сети.-М.-Л.: Госэнергоиздат, 1983.-360с.
3. Копьев С. Ф. Теплоснабжение.-М.: Государственное издательство литературы по строительству и архитектуре, 1953.-495с.
4. Проектирование тепловых пунктов. СП 41-101-95.
5. Леонков А. М., Яковлев Б. В. Справочное пособие теплоэнергетика электрических станций.-Минск.: Издательство «Беларусь», 1974.-368с.
6. Соловьев Ю. П. Тепловые расчеты промышленных паротурбинных электрических станций.-М.-Л.: Госэнергоиздат 1962.-160 с.
7. Черепенников Б. А. Колонки деаэрационные.-М.: Главниипроект, 1958.-22с.
8. Руководящие указания по проектированию термических деаэрационных установок питательной воды котлов.- М.: Энергия, 1968.-112с.
9. Правила эксплуатации теплопотребляющих установок и тепловых сетей потребителей и Правила техники безопасности при эксплуатации теплопотребляющих установок и тепловых сетей потребителей (Минтопэнерго России. Госэнергонадзор).-М: ЗАО «Энергосервис», 2000.-160 с.
10. Правила устройства и безопасной эксплуатации трубопроводов пара и горячей воды (ПБ 10-573-03). Серия 10. Выпуск 28.-М: Государственное унитарное предприятие «Научно-технический центр по безопасности в промышленности госгортехнадзора России», 2003.-128с.
11. Вукалович М. П. Термодинамические свойства водяного пара.– М.-Л.: Госэнергоиздат, 1946.-87с.
12. Правила устройства электроустановок (Минтопэнерго СССР).-М:Энергоатомиздат,1985.-800с.
13. Базовые цены на работы по ремонту энергетического оборудования, адекватные условиям функционирования конкурентного рынка услуг по ремонту и техперевооружению.Часть 15. Базовые цены на работы по ремонту тепловой изоляции и обмуровки.-М., 2003.-125с.
14. Базовые цены на работы по ремонту энергетического оборудования, адекватные условиям функционирования конкурентного рынка услуг по ремонту и техперевооружению.Часть 19. Базовые цены на работы по ремонту тепловых сетей.-М.,2003.-140с.
15. Неклепаев Б.Н. Электрическая часть станций и подстанций. Справочные материалы.-М.:Энергия,1972.-336с.
16. Терехов В. М., Осипов О. И. Системы управления электроприводов.-М.:Академия, 2006.-300с.
17. Долин П. А. Справочник по технике безопасности.- М.:Энергоатомиздат,1985.-823с.
18. Принципиальные и исполнительные схемы трасс тепловыводов
ОТЭЦ-1.
19.Барыбин Ю.Г. Справочник по проектированию электрических сетей и электрооборудования- М.: Энергоатомиздат, 1991
20. Федоров А.А., Старкова Л.Е. Учебное пособие для курсового и дипломного проектирования по электроснабжению промышленных предприятий: Учебное пособие для вузов- М.: Энергоатомиздат, 1987
21. Установка частотно-регулируемых приводов на сетевые насосы на ОТЭЦ-1 ОАО «ОрТГК».Рабочий проект.- Оренбург: ООО «Автоматика энергетических систем», 2006.- 49с.
Похожие рефераты:
Энергоэкономическая эффективность применения авиационных двигателей на ТЭС
Проект реконструкции цеха первичной переработки нефти и получения битума на ОАО «Сургутнефтегаз»
Пуск в работу питательного электронасоса после ремонта
Отопительно-производственная котельная ГУП ФАПК Якутия
Продвижение прогрессивных систем энергосбережения в Украине в сегменте (ТН) тепловых насосов
Установки погружных центробежных насосов (УЭЦН)
Улучшение теплового и гидравлического режима системы теплоснабжения п. Победа г. Хабаровска
Диплом - Проектирование котельной
Проектирование тепловой электрической станции для обеспечения города с населением 190 тысяч жителей
Реконструкция теплоснабжения ОАО "САРЭКС" с разработкой собственной котельной