| Похожие рефераты | Скачать .docx |
Реферат: Використання трифазного асинхронного двигуна в мережах однофазного струму
Тема: Використання трифазного асинхронного двигуна в мережах однофазного струму
ЗМІСТ
Розділ I. Будова і принцип дії асинхронного двигуна
Розділ IІ. Апаратура управління і захисту електроприводу
Розділ IІІ. Схеми включення трифазних асинхронних електродвигунів в однофазну мережу за допомогою конденсаторів
Розділ IV. Схеми включення трифазних асинхронних електродвигунів в однофазну мережу за допомогою активних опорів
Розділ V . Експлуатація електродвигунів
Розділ VІ. Догляд за електродвигуном
Список використаної літератури
Розділ I . Будова і принцип дії асинхронного двигуна
Основними частинами асинхронного двигуна (рис.1.1.) є нерухомий статор і обертовий ротор, які розділені повітряним зазором. Статор складається із станини (або корпуса) з лапами; стального осердя із штампованих, ізольованих один від одного, листів електротехнічної сталі з пазами для укладання обмотки статора; обмотки статора, виготовленої з ізольованого мідного дроту, й укладеного в пази осердя. Обмотка призначена для утворення обертового магнітного поля.

Рис. 1.1 Асинхронний електродвигун з короткозамкненим ротором:
1, 9, 17 — болти, 2 я 23 — шпонки, 3 — вал ротора, 4 и 22 — роликовий і кульковий підшипники, 5,6 — зовнішня и внутрішня кришки підшипника, 7 — стопорне кільце, 8, 21 — підшипникові щити 10 — станина, 11 — статорна обмотка, 12 — осердя статора, 13 — гвинти кріплення осердя до станини, 14 — осердя ротора, 15 — замикаюче кільце, 16 — лопать вентилятора, 18 и 20 вентилятори, 19 — кожух вентилятора
Найпростішим елементом обмотки є виток (рис. 1.2, а). Декілька з'єднаних між собою витків, які містяться у двох пазах і мають спільну ізоляцію паза утворюють секцію (рис. 1.2, б).

Рис. 1.2. Елементи обмоток статора:
а - виток, б — секція.
Сукупність секцій, які належать до однієї фази, називається фазною обмоткою. Виводи фаз обмотки прийнято позначати: С1, С2, С3 — початки і С4, С5, С6 — кінці відповідно першої, другої і третьої фаз. Окремі фази обмотки статора можуть з'єднуватися зіркою або трикутником. На рис. 1.3 наведено схеми з'єднання фаз обмотки статора і відповідні цим з'єднанням перемикання на щитку машини.

Рис. 1.3. Схеми з'єднання фаз обмотки статора
а — зіркою; б — трикутником.
Ротор асинхронного двигуна (рис. 1.4.) складається з таких частин: стального циліндра, складеного із штампованих, ізольованих один від одного, листів електротехнічної сталі; вала ротора, на якому закріплено стальний циліндр ротора, підшипників, вентилятора. Залежно від типу обмотки ротори поділяються на короткозамкнені та фазні. У пази короткозамкнених роторів укладено стержні із струмопровідного матеріалу, які з торців замикаються кільцями, утворюючи так зване біляче колесо. У пази фазного ротора укладено провідники секцій трифазної обмотки, які з'єднують зіркою.
Трифазний струм, що проходить через обмотку статора асинхронного двигуна, створює обертове магнітне поле, яке перетинає провідники обмотки ротора, індукує в них є. р. с. У провідниках замкненої обмотки протікають струми і2
.
При взаємодії цих струмів та обертового магнітного поля виникають електромагнітні сили, які за правилом лівої руки спрямовані в бік обертання поля статора. Ротор починає рухатися в бік руху магнітного поля. Швидкість обертання ротора менша за швидкість обертання магнітного поля. Це можна пояснити так: якщо б ротор обертався із швидкістю поля, то через відсутність відносного руху провідників об
мотки ротора та обертового магнітного поля останнє не перетинало б провідників обмотки ротора, у них не індукувалися б е. р. с і небуло б струмів, а це означає, що електромагнітний момент дорівнював би нулю. Отже, обертове магнітне поле і ротор асинхронного двигуна принципово обертаються з різними швидкостями
—
асинхронно, що і визначило назву машини.

Рис. 1.4 . Ротор асинхронного двигуна:
а — обмотка короткозамкненого ротора;
б — схематичне зображення обмоток фазного ротора.
Розділ I І. Апаратура управління і захисту електроприводу
Для захисту електричних ланцюгів від коротких замикань і струмових перевантажень застосовують натискні вібростійкі пускачі, плавкі запобіжники теплові реле і автоматичні вимикачі.

Рис. 2.1. На тискний пускач серії ПНВ :
1 - нерухомі контакти; 2 - рухомі мостикові контакти; 3 - защелка; 4 - корпус; 5 - кнопка «Пуск»; 6 - кнопка «Стоп»
Малогабаритні натискні вібростійкі пускачі серії ПНВ першої величини призначені для ручного управління однофазними і трифазними електродвигунами невеликої потужності (до 4,5 квт при 220 В), а також нагрівальними та іншими струмоприймачами.
Основними елементами натискних пускачів являються прямоходна контактна система і кнопковий привід з клямкою, що фіксує положення «Включено» і «Відключено» (Рис. 2.1.).
Натискний пускач зібраний на пластмасовій основі, до якого кріпляться нерухомі контакти з вивідними затисками для приєднання проводів. Рухомі контакти мостикового типу кріпляться до пластмасової рейки, хід якої у відключеному положенні обмежується упором у верхню частину корпусу, а у включеному положенні - в основу.
При натисненні на кнопку «пуск» рейка з трьома мостиковими контактами переміщається уздовж тих, що направляють, укріплених в основі пускача, до замикання з нерухомими контактами. При цьому клямка під дією пружини повертається і замикає рейку у включеному положенні. При натисненні на кнопку «стоп» клямка відводиться, звільняючи рейку, яка під дією пружин миттєво повертається в початкове положення (Рис.2.2, а).


Рис. 2. 2. Схеми включення асинхронних двигунів з допомогою натискних пускачів
а - трифазного; б – однофазного
У пускачах серії ПНВС, призначених для управління однофазними двигунами, середній мостиковий контакт замикається лише при натиснутій кнопці і не фіксується в замкнутому положенні. При повертанні кнопки «пуск» в початкове положення (після натиснення) він розмикається і відключає пускову обмотку однофазного електродвигуна (Рис. 2. 2 б).
Натискні пускачі виготовляються трьох виконань: відкритого, захищеного в пластмасовому кожусі і пилозахищеному в металевій оболонці, що складається з корпусу і кришки, що кріпиться до нього двома гвинтами. У корпусі є два отвори діаметром 14 мм для введення в пускач проводів. Усередині корпусу є пластмасовий притиск для їх закріплення. Із зовнішнього боку корпусу є затиск для заземлення.
У задній стінці корпусу є два отвори для кріплення пускача до опорної підстави гвинтами або шурупами. Для кріплення корпусу кришка пускача знімається. Пускач кріпиться у вертикальному положенні, ввідними отворами вниз. Відхилення від вертикального положення (у разі потреби) допускается до 10°.
Запобіжники
Для захисту силових електропроводок і електричних двигунів середньої потужності від струмів короткого замикання застосовують розбірні (НПР) і нерозбірні (НПН) насипні, а також трубчасті генеруючі запобіжники типу ПР2.
Насипні запобіжники з фарфоровим корпусом з тонким мідним дротом усередині, заповнений сухим кварцовим піском, який при перегорянні плавкої вставки сприяє гасінню дуги. Вони виготовляються шести розмірів на 16; 63; 100; 250; 400 і 630 А.
Для захисту ланцюгів управління і електродвигунів малих потужностей при коротких замиканнях можуть застосовуватись різьбові запобіжники.
Запобіжник - це апарат, призначений для захисту електричних ланцюгів при непередбачених збільшеннях струмового навантаження за рахунок розплавлення плавкої вставки, що калібрується, забезпечуючи розриви ланцюгів.
Найбільш частими пошкодженнями запобіжника є: оплавлення болтів і затисків унаслідок їх перегріву, руйнування, тріщини або поява нагару ізоляційної плити і перегоряння плавких вставок.
Контактні ножі і губки іноді мають сліди розплавленого металу, нагару, підгоряння, нещільне прилягання. Усунення цих дефектів досягається тими ж способами, що і у рубильників.
Потрібно стежити, щоб плавка вставка підбиралася у відповідності з навантаженням і номінальним струмом запобіжника (по довідниках). При струмі, що перевищує номінальний струм плавкої вставки на 25-30 %, остання розплавляється і відключає пошкоджену ділянку ланцюга. У трубчастих запобіжників ПН-2 (Рис. 2. 3, а) фарфоровий патрон, що має сколи або тріщини, замінюють новим. При перегоранні плавкої каліброваної вставки, її замінюють таким чином: відкручують два гвинти, що кріплять контактну шайбу струмопровідного елементу однієї з кришок 2 патрони 4, відкручують чотири гвинта, що кріплять кришку до корпусу, і знімають кришку разом з азбестовою прокладкою; висипають з патрона кварцевий пісок 8, відкручують два гвинти, що кріплять другу контактну шайбу, і видаляють її з патрона. Внутрішню поверхню фарфорового патрона очищають і встановлюють нову плавку вставку. Пісок повинен бути свіжим. Використаний пісок можна залишити, якщо він не спікся і не відволожився. Контактну частину ремонтують аналогічно попереднім типам запобіжників.
При появі тріщин на фібровому патронові трубчастих запобіжників ПР-1 і ПР-2 (Рис. 2. 3, б, в) запобіжник замінюють новим.

Рис. 2. 3. Трубчасті запобіжники:
а - ПН з кварцовимнаповнювачем,б,в - ПР з патронами на струми 100 і 60 А;
1 - сталеві пружинячі кільця контактів, 2 - металеві кришки, 3 - гвинт,
4 - фарфоровий патрон, 5 - контактні ножі, 6 - плавкі вставки,
7 - контактні-болти, 8 - кварцевий пісок, 9 - олов'яна кулька (розчинник), 10- контактні стійки, 11 - ізоляційна плита, 12 - Т-образні виступи, 13 - фіброва трубка, 14 - латунні ковпачки, 15 – гвинт

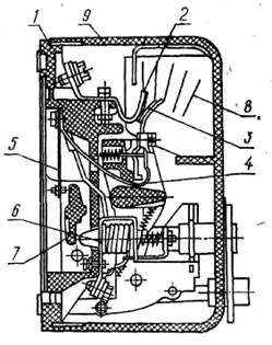
Рис. 2.4. Вимикачі серії АП50
1 - основа; 2 - - нерухомий контакт; 3 - рухомий контакт; 4 - гнучке з'єднання; 5 - тепловий розчеплювач; 5 - електромагнітний розчеплювач; 7 - відключаюча рейка; 8 - дугогасильна камера; 9 - кришка
Вимикачі серії АП50 випускаються двух- і трьохполюсними на номінальний струм 50 А з електромагнітним (виконання М), тепловим (виконання Т) і електромагнітним і тепловим (виконання МТ) розчеплювачамі (рис. 2.4). Теплові розчеплювачі виготовляються на номінальні струми 1,6; 2,5; 4; 6,4; 10; 16; 25; 40 і 50 А.
Електромагнитні розчеплювачі вмонтовуються на передній стороні корпусу, а теплові - на задній і закриваются пластмасовою пластинкою. Вимикач, окрім основних, може мати 1 або 2 замикаючих і розмикаючих допоміжних контактів.
Вимикачі виготовляються в пластмасовому корпусі, але можуть поставлятися і в додатковому пилонепроникному кожусі, що складається з корпусу і кришки, відлитих з алюмінієвого сплаву. З умов монтажу кожухи виготовляють двох виконань. Кожух А має внизу штуцери для введення і виведення приєднуємих проводів. Виконання Б - універсальне; введення і виведення приєднуваних проводів можна через сальники знизу або зверху.
Однополюсні вимикачі типу А63 призначені для роботи в ланцюгах постійного струму напругою 110 В і ланцюгах змінного струму напругою 220 В частотою 50 Гц при температурі навколишнього середовища від - 40 до +40°С, відносній вологості середовища 90%. Вони виготовляються з електромагнітним розчеплювачем (виконання М) і електромагнітним розчеплювачем і гідравлічним сповільнювачем (виконання МІЛІГРАМА). Номинальний струм розчеплювачів 0,63; 0,8; 1; 1,25; 1,6; 2; 2,5; 3,2; 4; 5; 6,3; 8; 10; 12,5; 16; 20; 25 А.
Вимикач встановлюється вертикально виводам нерухомих контактів вгору (нахил не більш 10°) і кріпиться двома гвинтами на панелі або за панеллю так, щоб рукоятка виходила на її лицьову сторону. Дроти в другому випадку приєднуються до вивідних затисків також за панеллю.

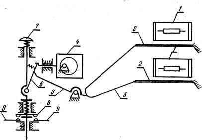
Рис.2.5. Кінематична схема теплового реле типу ТРН
1 - нагревач; 2 - біметалічна пластинка; 3 - температурний компенсатор; 4 - ексцентриковий регулятор; 5 - важіль; 6 - клямка механізму; 7 - кнопка ручного повернення; 8 - рухомий мостиковий контакт; 9 - нерухомий контакт
Теплові реле призначені головним чином для захисту трифазних асинхронних двигунів з короткозамкнутим ротором від невеликих, але тривалих перевантажень. Основними елементами реле є біметалічна пластинка, нагрівальний елемент і розмикаючий контакт мостика, розрахований на комутацію струму до 6 А. Нагрівальні елементи включаютсья в ланцюг головного струму послідовно обмоткам статора, а контакти - в ланцюг управління, послідовно з котушкою магнітного пускача.
Якщо струм в головному ланцюзі (струм статора) превищує номінальний, біметалічна пластинка, нагріваючись, згинається і натискає на важіль, який виводить клямку із зачеплення. Шток під дією пружини переміщується і розмикає контакт (рис. 2.5.).
У початкове положення реле повертається шляхом натиснення на кнопку повернення, яка є на його корпусі. Замикання контактів можливе тільки при біметалічної пластинці, що остигнула, тобто через 1...2 мін після спрацювання.
Теплові реле випускаються в двох виконань: однополюсному і двополюсному. Двополюсні реле типу ТРН мають симетричну компоновку. Нагрівальні елементи розташовані в крайніх осередках пластмасового корпусу. У середньому осередку розміщені температурний компенсатор, ексцентриковий регулятор струму уставки, защелочний механізм спрацьовування, мостіковий контакт і кнопка ручного повернення.
У реле ТРН-10А встановлюється незмінний нагрівач, закріплений на біметалічній пластинці. Решта типів реле забезпечується змінними нагрівачами, розташованими під біметалічними пластинками. До силових затисків реле нагрівач кріпиться двома гвинтами по кінцях. Нагревателі закриваються пластмасовою кришкою, яка утримується пружиною.
Розділ I ІІ. Схеми включення трифазних асинхронних електродв игунів в однофазну мережу за допомогою конденсаторів

Рис. 3.1. Схеми включення трифазних асинхронних електродвигунів в однофазну мережу за допомогою конденсаторів:
а і б - при виведених на корпус трьох кінцях обмоток; в - при виведених на корпус шести кінцях обмоток
Трифазний асинхронний двигун без зміни його конструкції і обмотувальних даних може бути використаний для роботи в однофазному режимі. Така необхідність виникає часто там, де немає трифазної мережі.
При включенні трифазних асинхронних електродвигунів в однофазну мережу можуть використовуватися різні схеми з'єднання їх обмоток. Як фазозрушуючих елементів зазвичай застосовують конденсатори, а при їх відсутності - резистори.
При послідовному з'єднанні двох обмоток і забезпеченні пуску електродвигун працюватиме як однофазний, розвиваючи потужність до 50...55% від номінальної в трифазному режимі. Якщо до обмоток підключити робочий конденсатор, то електродвигун буде працювати як однофазний асинхронний конденсаторний, а потужність, що розвивається ним, при вдалому підборі ємності може досягати 70...80% від номинальної в трифазному режимі. Третя обмотка з послідовно сполученим конденсатором або резистором використовується для запуску.
На рис. 3.1. показані деякі схеми, що часто зустрічаються. Кожна з них може знайти своє застосування залежно від параметрів електродвигуна, напруги мережі, наявності необхідних фазозсувних елементів.
Робоча ємність конденсаторів підбирається індивідуально для кожного електродвигуна залежно від його потужності, напруги, частоти обертання, схеми з'єднання обмоток. У практиці її визначають через номінальні (паспортні) значення струму і напруги електродвигуна:
для схеми на рис. 3.1. а ![]()
для схеми на рис. 3.1. б ![]()
для схеми на рис. 3.1. в ![]()
де Ср - робоча ємність для номінального навантаження, мкф;
Ін - номінальний струм, А;
Uн - номінальна напруга, В;
Uк.p - напруга на конденсаторі при номинальному навантаженні, В.
При недовантаженні двигуна розрахункову напругу конденсатора потрібно збільшувати на 15%. Як рабоча ємність можуть використовуватися конденсатори типів КБГ-МН (конденсатор паперовий, герметичний в металічному корпусі нормальний), БГТ (паперовий, герметичний, термостійкий), МБГЧ (металопаперовий, герметичний, частотний).
Ємність пускового конденсатора підбирають також індивідуально. При пуску вхолосту можна обмежитися робочою, єністю. Якщо пусковий момент близький до номінального, буде потрібно пусковий конденсатор ємністю в 2,5...3 рази більшою, ніж робоча. Як пускові можуть бути використані дешевші електролітичні конденсатори типу ЕП, оскільки вони працюють лише декілька секунд при пуску.

Рис. 3.2. Схеми включення полярних електролітичних конденсаторів в якості пускових
1 - до мережі; 2 - до пускової обмотки.
Вибір конденсаторів. Нижче приведені мінімальні значення ємностей, які слід застосовувати при пуску трифазних Електродвигунів різних потужностей в однофазному режимі і які, можуть бути залишені включеними в процесі роботи.
Потужність трифазного
електродвигуна, квт………………………..…. 0,4 0,6 0,8 1,1 1,5 2,2
Мінімальна ємність (мкф) при
включенні двигунів в однофазну
мережу напругою
220 В………………………….………………..……40 60 80 100 150 230
380 В …………………………………….…….…...24 36 48 66 90 130
Для пуску під навантаженням ємність повинна бути збільшена в 2...3 рази в порівнянні з вказаною, але після пуску додаткову ємність обов'язково відключають.
Як пускові і робочі використовують конденсатори БГТ, ЭП, К42-19ПВ, К50-19, МБГЧ на робочу напругу не меншого 500 В. В якості тільки пускових можна використовувати і полярні електролітичні конденсатори з робочою напругою не менш 450 В за умови короткочасного включення. Для більшої надійності їх сполучають по схемі, показаній на рис. 3.2, а. Загальна ємність при цьому рівна С/2. При включенні по схемі, приведеній на малюнку 3.2, б, після розгону конденсатор залишається включеним в мережу через діод VD і резистор R, і в процесі роботи ця ємність забезпечує деяке збільшення моменту двигуна. Пускові конденсатори повинні бути зашунтовані резистором 200...500 кОм, оскільки після пуску на конденсаторах залишається електричний заряд, який і розряджається через резистор.
Розділ IV . Схеми включення трифазних асинхронних електродвигунів в однофазну мережу за допомогою активних опорів
За відсутності конденсаторів потрібних параметрів можуть використовуватися схеми з пусковим резистором (рис. 4.1.).
Для зміни напряму обертання трифазного асинхронного електродвигуна досить поміняти місцями будь-яких два дроти, що підводять струм до статора. При зміні напряму обертання однофазного асинхронного електродвигуна (або трифазного, що працює в однофазному режимі) потрібно поміняти місцями виводи пускової або робочої обмотки. При реверсуванні двигун потрібно зупиняти.

Рис. 4.1. Схеми включення трифазних асинхронних електродвигунів в однофазну мережу за допомогою активних опорів:
а і в - при виведених на корпус трьох кінцях обмоток ;
б - при виведених на корпус шести кінцях обмоток
Виводи обмоток електричних машин прийнято маркувати буквами і цифрами. Виводам обмоток статора машин змінного струму привласнена літера С, виводам обмоток ротора - буква Р. В трифазному статорі початку обмоток позначають: першої фази - С1, другий, - С2, третій, - СЗ; кінці позначають відповідно С4, С5, С6. При сполученні обмоток зіркою їх виводи позначають: першої фази - С1, другої - С2, третьої - СЗ, нульової точки - 0. Виводи обмоток, сполучених трикутником, позначають аналогічно: Cl, C2, СЗ.
Виводи обмоток ротора асинхронного двигуна позначають: першої фази - Р1, другий, - Р2, третьої, - РЗ, нульової точки - 0.
Виводам багатошвидкісних асинхронних двигунів - перед буквою додається цифра, вказуюча число полюсів. Так, для трифазного двигуна при переключенні обмоток з двох полюсів на чотири їх виводи маркують відповідно: 2С1, 2С2, 2СЗ і 4С1, 4С2, 4СЗ.
У однофазних асинхронних двигунів початок головної обмотки позначають С1, а кінець - С2; початок пускової обмотки П1, кінець -П2.
Розділ V . Експлуатація електродвигунів
Експлуатація електродвигунів складається із слідуючих основних елементів: нагляду, своєчасного виявлення несправностей та їх усунення; профілактичних випробувань; пуску та зупинки.
Електродвигуни з короткозамкненими роторами дозволено запускати з холодного стану два рази поспіль, з гарячого - один раз, якщо інструкція заводу-виробника не передбачає більшої кількості пусків. Наступні пуски дозволяються після їх охолодження протягом часу, обумовленого інструкцією заводу-виробника для відповідного типу електродвигуна.
Повторні ввімкнення електродвигунів у разі їхнього вимкнення основними захистами дозволяються після обстеження, проведення контрольних вимірів опору ізоляції і перевірки справності захистів.
Для електродвигунів відповідальних механізмів, що не мають резерву, дозволяється одне повторне ввімкнення після дії основних захистів за результатами зовнішнього огляду двигуна.
Наступне ввімкнення електродвигунів у разі дії резервних захистів до з'ясування причин вимкнення заборонене.
Для спостереження за пуском і роботою електродвигунів, регулювання технологічного процесу яких здійснюється за значенням струму, а також усіх електродвигунів змінного струму потужністю більше ніж 100 кВт на пусковому щитку чи панелі керування встановлюють амперметр, який вимірює струм у колі статора електродвигуна. Амперметр установлюють також у колі збудження синхронних електродвигунів. На шкалі амперметра червоною рискою позначають значення допустимого струму (вище номінального струму електродвигуна на 5 %).
Вібрація, виміряна на кожному підшипнику електродвигуна, осьовий зсув ротора, розмір повітряного зазору між сталлю статора та ротора, а також в підшипниках ковзання не повинні перевищувати величин.
Постійний нагляд за навантаженням електродвигунів, щітковим апаратом, температурою елементів і охолоджувальних середовищ електродвигуна (обмотки і осердя статора, повітря, підшипників тощо), догляд за підшипниками і пристроями підведення охолоджувального повітря, води до повітроохолодників і обмоток, а також операції з пуску, регулювання швидкості і зупинки здійснюють працівники цеху (дільниці), які обслуговують механізм.
Аварійні кнопки електродвигунів повинні бути опломбовані. Зривати пломби з аварійних кнопок для вимкнення електродвигуна дозволено тільки в аварійних випадках. Опломбування аварійних кнопок виконують працівники, визначені особою, відповідальною за електрогосподарство.
Електродвигун (обертова машина) повинен бути негайно відімкнений від мережі у таких випадках:
- нещасний випадок (чи загроза) з людиною;
- поява диму, вогню або запаху горілої ізоляції з корпусу електродвигуна або його пускорегулювальної апаратури;
- вібрація понад допустимі норми, яка загрожує виходу з ладу електродвигуна або механізму;
- вихід з ладу привідного механізму;
- нагрівання підшипників або контрольованих вузлів понад допустиму температуру, зазначену в інструкції заводу-виробника;
- виникнення коротких замикань в електричній схемі;
- значне зниження частоти обертання;
- швидке зростання температури обмоток або сталі статора.
В експлуатаційній інструкції можуть бути вказані й інші випадки, за якими електродвигуни (обертові машини) повинні бути негайно вимкнені, а також указаний порядок усунення їх аварійного стану.
Періодичність капітальних і поточних ремонтів електродвигунів, залежно від умов у яких вони працюють, визначає особа, відповідальна за електрогосподарство. Залежно від місцевих умов поточний ремонт електродвигунів, як правило, здійснюють одночасно з ремонтом привідних механізмів, і його виконує навчений персонал споживача або підрядної організації.
Розділ V І. Догляд за електродвигуном
Догляд за електродвигуном в процесі роботи включає в себе наступні операції: періодичне очищення корпусу від пилу і бруду, продування обмотки стислим повітрям від компресора або ручного хутра з метою видалення з неї пороши, зовнішній огляд і перевірку стану заземлення (занулення), кріплення електродвигуна до фундаменту або робочої машини, кріплення підшипникових щитів і коробки виводів, щільності посадки шківа, напівмуфти або зірочки і натягнення пасу або ланцюга. При цьому рекомендується зняти кришку виводів і перевірити стан ізоляції вивідних кінців фазних обмоток і проводів, що підводять живлення.
При включенні двигуна після тривалої зупинки треба "перевірити стан ізоляції, прослуховувати, чи немає сторонніх шумів при роботі, а також переконатися в тому, що підшипники не гріються.
Якщо двигун працює на відкритому повітрі, рекомендується на ніч закривати його брезентом, плівкою і т.п.
Періодичність оглядів повинна бути не рідше за один раз у 3 дні на відкритих майданчиках і в дуже вологих приміщеннях і одного разу на 10 днів в сухих чистих приміщеннях для двигунів захищеного виконання і в 2 рази рідше для двигунів закритого виконання.
Сезонно використовувані електродвигуни потрібно зберігати в сухих закритих приміщеннях.
Особливу увагу потрібно приділяти боротьбі зі зволоженням ізоляції обмоток, оскільки з цієї причини виникає пробій ізоляції і електродвигун виходить з ладу.
Опір ізоляції обмоток електродвигуна міняється в залежності від умов навколишнього середовища, графіка роботи, тривалості і умов зберігання і консервації, конструктивного виконання, класа ізоляції і т.д. Особливо різко коливається опір ізоляції електричних двигунів відкритого і захищеного виконання обмотки яких знаходяться в постійному контакті з оточуючим середовищем. Ця обставина приводить до того, що у багатьох електродвигунів при великих паузах в роботі опір ізоляції падає до рівня (деколи до декілька тисяч Ом), небезпечного з погляду електричного пробою і віткового замикання. У приміщеннях з високою відносною вологістю опір ізоляції навіть у закритих двигунів типу АО2 за 4...5 діб знижується з 200..300 МОм до 0,2 МОм і може стати ще менше.

Рис. 5.1.Зміна опору ізоляції електродвигуна захищеного виконання встановленого відкрито під навісом:
1 - початок вимірів через 45 хв. після сильного дощу;
2 - відновлення опору ізоляції при включеному електродвигуні (хх-холостий хід; н - навантаження);
3 - відновлення ізоляції на сонці і вітрі (двигун не включений)
На Рис. 5.1 показаний графік зміни опору ізоляції електродвигуна типу А, встановленого відкрито, але захищеного навісом від дощу. Ця картина зміни опору ізоляції характерна і для приміщень з високою вологістю. Вимкнений електродвигун вбирає вологу в ті моменти часу, коли його температура виявляється нижчою за температуру навколишнього середовища. Як правило, чим більше пауза, тим меншим стають значення опору ізоляції обмоток. При наступному включенні (вхолосту) обмотка поступово нагрівається струмом, що проходить по ній: опір ізоляції відновлюється. Включення ж під навантаженням яке приведе до швидшого нагріву обмотки, опір її ізоляції може знизитися ще більше і виникне пробій: двигун вийде з ладу.
Після тривалого неробочого періоду електродвигуна необхідно перевірити опір ізоляції і, якщо його значення виявиться нижче допустимого, прийняти необхідні заходи по сушці ізоляції.
Опір ізоляції обмоток в холодному стані після ремонту не повинен бути менш ніж 0,5 МОм.
Список використаної літератури
1. Атабеков В. Б. Ремонт електрооборудования промишленних предприятий: Учебник для сред, проф.-техн. училищ. — 4-е изд., перераб. и доп. — М.: Висш. школа, 1979. — 256 с, ил. — (Профтехобразование. Енергетика).
2. Егоров Г.П. и Коварский А.И. устройство, монтаж, експлуатация и ремонт промышленних електроустановок.
3. Кокорев А.С. Електрослесарь по ремонту злектрических машин: Учеб. для СПТУ.
4. Прищеп Л.Г. Учебник сельского електрика. – 3-е издание., доп. и перераб. – М.: Агропромиздат.
Похожие рефераты:
Система автоматичного регулювання (САР) турбіни атомної електростанції
Експлуатація та неполадки асинхронних двигунів
Автоматичні апарати. Будова, монтаж і обслуговування. Управління електроприводом з їх допомогою
Електропривід ручних електричних машин
Автомобілі з гібридною трансміссією і комбінованою енергетичною установкою
Електропоїзди постійного струму
Розробка, дослідження системи керування на основі нейронної мережі
Розвиток і вдосконалення льотної промисловості України
Діагностика системи запалення ДВЗ
Розробка інвертора напруги для апаратури зв'язку
Трифазний асинхронний двигун типу 4А112М4У3 з коротко замкнутим ротором
Режим роботи та захист трансформаторів
Технологія монтажу, ремонту та правила технічного обслуговування синхронних двигунів
Электрооборудование подстанций
Модернізація системи кеування електроприводом стрічкового конвеєра