| Скачать .docx |
Реферат: Электрооборудование подстанций
1. Перечислите и опишите объем послеремонтных испытаний трехфазного трансформатора, автотрансформатора
После окончания сборки трансформатора, непосредственно перед заполнением его маслом, еще раз проверяют мегомметром на 1000 В электрическую прочность изоляции обмоток.
Трансформатор заполняют сухим трансформаторным маслом соответствующей электрической прочности до требуемого уровня, определяемого отметками на маслоуказателе расширителя. Заполнив трансформатор маслом, проверяют герметичность арматуры и установленных на крышке деталей, а также отсутствие течи масла из имеющихся соединений и сварных швов.
При отсутствии дефектов, препятствующих нормальной и безопасной работе, трансформатор подвергают электрическим испытаниям, объем и нормы которых установлены ГОСТом. Целью испытаний трансформатора после ремонта является проверка его электрических характеристик и качества работ, выполненных в процессе ремонта. Трансформатор, подвергающийся капитальному ремонту, испытывают как в процессе ремонта, так и после него.
В процессе ремонта, изготовив новые обмотки, измеряют число витков и проверяют отсутствие в обмотке обрыва и витковых замыканий. Закончив первый этап сборки (сборка выемной части), соединяют временно обмотки по требуемой схеме и определяют коэффициент трансформации на всех ответвлениях и группу соединения обмоток, а также испытывают изоляцию стяжных шпилек. После окончательной сборки перед сушкой сердечника повторно определяют коэффициент трансформации, проверяют группу соединения обмоток, измеряют сопротивления их изоляции. Для контроля качества паек и контактов проверяют сопротивления обмоток постоянному току. В процессе сушки измеряют сопротивление изоляции, температуру и время сушки, а при сушке под вакуумом, кроме того, измеряют величину вакуума и количество выделенного конденсата.
Трансформатор, выпускаемый из ремонта, подвергают испытаниям, в объем которых входит:
· измерение сопротивления изоляции обмоток;
· определение коэффициента трансформации;
· измерение сопротивления обмоток постоянному току;
· проверка группы соединения обмоток;
· измерение потерь и тока холостого хода (опыт холостого хода);
· измерение потерь и напряжения короткого замыкания (опыт короткого замыкания);
· испытание герметичности бака;
· испытание электрической прочности изоляции (испытательные напряжения приведены в табл. 1).
Таблица 1. Испытательные напряжения главной изоляции обмоток масляных трансформаторов вместе с вводами
| Испытательные напряжения, кВ | Класс напряжения изоляции обмотки, кВ | ||||||
| до 0,630 | 3 | 6 | 10 | 15 | 20 | 35 | |
| Заводское | 5 | 18 | 25 | 35 | 45 | 55 | 85 |
| После капитального ремонта: | |||||||
| со сменой обмоток | 4,5 | 16 | 22 | 31 | 40 | 49 | 76 |
| без смены обмоток | 3,75 | 13,5 | 19 | 26 | 34 | 41 | 64 |
Примечания: 1. Испытывают изоляцию каждой обмотки, электрически не связанной с другой обмоткой. 2. Испытательные напряжения приведены в таблице при промышленной частоте переменного тока 50 Гц
Для оценки влажности изоляции силовых трансформаторов, вновь вводимых в эксплуатацию, рекомендуется помимо испытания масла в объеме, предусмотренном инструкцией «Объем и нормы испытаний электрооборудования», испытывать масло также на пробивное напряжение после прогрева трансформатора. Если пробивное напряжение масла после прогрева трансформатора снизилось более чем на 15% по сравнению с пробивным напряжением масла, отобранного из холодного трансформатора перед включением, это указывает на увлажненность изоляции трансформатора.
Измерение тока утечки на выпрямленном напряжении не обязательно, однако в ряде случаев по этому показателю можно определить местные дефекты в витковой изоляции трансформаторов.
Испытание главной изоляции обмоток силовых трансформаторов повышенным напряжением переменного тока промышленной частоты производится только после капитальных ремонтов трансформаторов. Величины испытательных напряжений приведены в таблице 2.
Таблица 2. Нормы заводских испытательных напряжений для трансформаторов с вводами (ГОСТ 1516—68)
| Объект испытания | Величина испытательного напряжения, кВ, при номинальном напряжении испытуемой обмотки, кВ | |||||||||||
| ниже 3 | 3 | 6 | 10 | 15 | 20 | 35 | 110 | 150 | 220 | 330 | 400 - 500 | |
| Силовые трансформаторы с нормальной изоляцией и вводами, рассчитанными на номинальное напряжение. | 5,0 | 18 | 25 | 35 | 45 | 55 | 85 | 200 | 275 | 400 | 460 | 700 |
| Силовые трансформаторы с облегченной изоляцией (в том числе сухие трансформаторы) | 3,0 | 10 | 16 | 24 | 37 | – | – | – | – | – | – | – |
Испытательное напряжение для изоляции обмоток трансформаторов после капитального ремонта с полной сменой обмоток принимается равным заводскому испытательному напряжению, при частичной смене обмоток — не более 90% заводского испытательного напряжения.
После капитального ремонта со сменой обмоток кроме испытания главной изоляции измеряют сопротивление обмоток постоянному току, коэффициент трансформации, проверяют группу соединения и работу переключающего устройства.
Измерение сопротивления обмоток постоянному току позволяет в некоторых случаях обнаружить плохое контактное соединение, дефектную пайку и обрыв провода обмотки. Все эти повреждения увеличивают сопротивление обмоток. Измеренное сопротивление должно отличаться не более чем на 2% от сопротивления, полученного на том же ответвлении для других фаз.
Результаты всех испытаний заносят в протоколы, в которых указывают также приборы и методы, применявшиеся при испытаниях. Эти данные необходимы для сопоставления полученных результатов с результатами предыдущих испытаний, проведенных в различное время до данного ремонта трансформатора. Испытания выпускаемых из ремонта трансформаторов должны выполняться по всей программе и в объеме, предусмотренном действующими правилами и нормами.
2. Опишите основные испытания и измерения при ремонте генераторов. Сушка изоляции генераторов
В период ремонта и после него производят приемо-сдаточные испытания связанные с проверкой и наладкой, опробованием, пуском и сдачей в эксплуатацию вновь смонтированных генераторов. В дальнейшем генераторы подвергают регулярным профилактическим испытаниям и проверкам. Рассмотрим наиболее важные из них.

Измерение сопротивления изоляции обмоток статора, ротора, якоря, возбудителя и цепей возбуждения. Сопротивление изоляции измеряют мегомметром 1000 — 2500 В (с ручным или электрическим приводом или же катодным мегомметром) до и после ремонта или испытания обмоток повышенным напряжением во время сушки, после аварийных отключений и т. д. Во избежание погрешностей, обусловленных остаточными зарядами в изоляции, перед измерением ее сопротивления следует заземлять испытуемую обмотку на время не меньше 2 мин.
Данное требование особенно важно для статорных обмоток генераторов, у которых емкость довольно значительна.
Показателем состояния изоляции является коэффициент абсорбции, равный отношению R60 ”/R15 ”.

Рис. 1. Схемы измерения сопротивления изоляции обмоток генератора мегомметром: а — фазы обмотки статора относительно корпуса и двух заземленных фаз, б — всех фаз обмотки статора, в — обмотки ротора относительно корпуса, г — фазы обмотки статора генератора с непосредственным водяным охлаждением относительно корпуса и двух других фаз; НК — напорный коллектор, СК — сливной коллектор
При температуре 15—30° для неувлажненных обмоток этот коэффициент находится в пределах 1,2—2. Коэффициент абсорбции увлажненных обмоток близко к единице. Во время капитального ремонта измеряют сопротивление изоляции каждой фазы или параллельной ветви обмотки статора при соединении с корпусом всех остальных фаз ветвей.
Сопротивление изоляции обмотки статора не нормируют, его следует сравнивать и сопоставлять с показаниями предыдущих измерений. Сопротивление изоляции обмотки ротора должно быть ниже 0,5 МОм, цепей возбуждения 0,5 МОм, обмоток якоря и его бандажей 0,5 МОм.
На рис. 1 показаны схема измерения сопротивления изоляций обмоток генератора мегомметром. Состояние изоляции обмотки статора турбогенератора с непосредственным водяным охлаждением проверяют с учетом наличия водосборных коллекторов, служащих для подачи в обмотку статора охлаждающей воды и ее слива. Упрощенная схема включения мегомметра для данного случая показана на рис. 1, г. Из нее видно, что оба коллектора (напорный и сливной) связаны с экраном Э мегомметра, при этом они должны быть отсоединены от внешней системы охлаждения.
Измерение сопротивления изоляции подшипников и подпятников. В процессе эксплуатации один раз в 7—10 дней во время работы проверяют изоляцию подшипников турбогенераторов, подпятников и крестовин гидрогенераторов, что необходимо по следующим соображениям. Из-за несимметрии магнитного потока генератора (вследствие неравномерного воздушного зазора между статором и ротором, разъемного выполнения статора, несимметричного размещения стыков отдельных сегментов активной стали) вдоль вала индуцируется электродвижущая сила, которая при отсутствии предупредительных мер может вызвать подшипниковые токи. Эти токи, замыкаясь через шейки вала, масляные пленки, заливку вкладышей подшипников, подпятники, могут повредить их. Во избежание этого применяют следующие меры:
· у турбогенераторов, горизонтальных гидрогенераторов подшипник со стороны возбудителя и подшипники возбудителя изолируют от фундаментной плиты и маслопроводов изоляционной прокладкой;
· у вертикальных гидрогенераторов прокладками изолируют корпус статора от крестовины и подпятника.
Чтобы избежать повреждений, вызываемых указанными токами, необходимо регулярно следить за целостью изоляционных прокладок. Это может быть выполнено двумя способами: мегомметром 1000 В, причем сопротивление изоляции подшипников должно быть не менее 1 МОм, или же вольтметрами.

Рис. 2. Схема измерения сопротивления изоляции подшипников турбогенератора или СК:
а — на концах вала, б — между основанием изолированного подшипника и фундаментной плитой
На рис. 2 приведена схема измерения сопротивления изоляции подшипников турбогенератора. Сначала измеряют напряжение на концах вала ротора генератора (рис. 2, а), затем при закороченных масляных пленках в обоих подшипниках измеряют напряжение между основанием изолированного подшипника и фундаментной плитой (рис. 2, б). Если эти напряжения равны, изоляционная прокладка в исправности. Если же второе напряжение значительно меньше первого (более чем на 10%), прокладка неисправна. Напряжение на валу измеряют вольтметром с малым внутренним сопротивлением, со шкалой до 7,5—10 В. Кроме того, у турбогенератора с водородным охлаждением изолируют также со стороны возбудителя корпус, уплотнение вала и подходящие к нему маслопроводы.
Измерение сопротивления постоянному току обмоток статора, ротора и возбуждения возбудителя. Эти измерения, производимые во время капитальных и текущих ремонтов методом амперметра — вольтметра, мостом МД-6, микроомметром М-246 и другими способами, позволяют выявить различные нарушения обмоток. Если сопротивление обмотки какой-либо фазы статора отличается от сопротивления обмоток других фаз (или ранее измеренного) при одинаковых (или приведенных) температурных условиях более чем на 2%, то это, как правило, является следствием неудовлетворительных паек в лобовых частях обмотки.
Сопротивление постоянному току обмоток ротора и возбуждения возбудителя также не должны отличаться от ранее измеренных более чем на 2%. У вертикальных гидрогенераторов измеряют, кроме того, сопротивления катушек каждого полюса ротора в отдельности.
Увеличение сопротивления указывает на низкое качество контакта цепи, уменьшение — на возможность витковых замыканий. В качестве источника постоянного тока при измерении сопротивления могут быть применены переносные или стационарные аккумуляторные батареи, сухие элементы достаточной мощности и т. д.
Кроме того, производят измерение сопротивления обмотки якоря возбудителя для проверки отсутствия замыкания между витками секций, коллекторными пластинами, качества пайки петушков.
Испытание обмоток статора и ротора повышенным напряжением. Чтобы перед вводом в эксплуатацию из монтажа или капитального ремонта выявить дефекты в изоляции обмоток генераторов (которые не могут быть обнаружены внешним осмотром и проверкой сопротивления изоляции), их испытывают повышенным напряжением, точная величина которого определяется в зависимости от мощности, напряжения, системы охлаждения, конструкции машины и других причин.
Обмотку статора испытывают повышенным напряжением переменного тока промышленной частоты (50 Гц), равным 1,5—2,5 Uном в течение 1 мин сразу после останова машины, вводимой в капитальный ремонт. Ее испытывают в горячем состоянии и до очистки от грязи. Дополнительно изоляцию обмотки статора генератора испытывают (по отношению к корпусу) повышенным выпрямленным напряжением, равным 2,5—3,0 Uном в течение 1 мин. Испытания выпрямленным напряжением обеспечивают большую эффективность контроля изоляции лобовых частей благодаря более равномерному распределению испытательного напряжения по их поверхности, позволяют выявить дефекты на ранней стадии их развития.

Рис. 3. Схема испытания обмотки статора генератора или СК повышенным напряжением переменного тока:
ИТ — испытательный трансформатор, ТН — трансформатор напряжения, Рр — регулировочный реостат ЛАТР, Рз — разрядник
На рис. 3 показана схема испытания обмотки статора генератора повышенным напряжением переменного тока. К повышающему испытательному трансформатору ИТ подводится линейное напряжение от сети 220 или 380 В. С помощью реостата Рр регулируют испытательное напряжение, для контроля которого предусмотрен вольтметр V1. Чтобы предупредить возможный случай чрезмерного повышения напряжения (выше допустимого испытательного), в схему введен разрядник Р3 с искровым промежутком, настроенным на напряжение, которое на 10% выше испытательного.
В начале приложения испытательного напряжения протекающий выпрямленный ток значителен (он состоит из зарядного тока, тока абсорбции и тока утечки). Зарядный ток зависит от геометрических размеров изоляции электрических цепей и их расположения относительно корпуса, ток абсорбции возникает из-за перераспределения зарядов между внутренними неоднородными слоями изоляции.
С течением времени (до 2—3 мин) по мере уменьшения зарядного тока и тока абсорбции протекающий через изоляцию ток (ток утечки) при отсутствии влажности и других дефектов уменьшается и достигает установившейся величины. При дефектах в изоляции уменьшение протекающего через изоляцию тока очень быстро прекращается. Сопоставление токов утечки по фазам друг с другом, а также с измеренными в разное время может характеризовать состояние изоляции. При резком различии токов утечки по фазам (или ветвям) необходимо отыскать и устранить дефектное место. В зависимости от параметров и конструкции генераторов, токи утечки могут быть различны. На гидрогенераторе 16 500 кВ-А, 10,5 кВ измеряли токи утечки, пока они не достигли установившейся величины. Приводимые в табл. 1 результаты этих измерений показывают полное совпадение токов утечки по фазам и, следовательно, отсутствие явных дефектов.
Таблица 1 Токи утечки при испытании генератора выпрямленным напряжением
| Время, с | 10 | 20 | 30 | 60 | 120 | 180 | 240 | 300 | 360 | 420 |
| Токи утечки, мкА; | ||||||||||
| фаза А | 42 | 30 | 26 | 19 | 11 | 6 | 4,8 | 4,8 | 4,8 | 4,8 |
| фаза В | 44 | 30 | 24 | 15 | 10,5 | 7 | 6 | 4,8 | 4,8 | 4,8 |
| фаза С | 44 | 31 | 23 | 17 | 10 | 7 | 6 | 5 | 4,8 | 4.8 |
Обычно при расхождении токов утечки в 1,5—2 раза и больше следует предполагать наличие дефектов.
Высоковольтное испытание напряжением переменного тока обмоток турбогенераторов с водяным охлаждением несколько отличается от описанных ранее испытаний. Из-за воды в обмотке статора и особенностей конструктивного выполнения водосборных коллекторов при проведении высоковольтных испытаний необходимо учитывать следующее: во время испытаний должна происходить непрерывная циркуляция воды в обмотке статора, в противном случае находящаяся в шлангах вода может в течение нескольких минут нагреться до 95°С и вызвать повреждение уплотнений коллекторов обмотки; не разрешается испытывать выпрямленным напряжением обмотку статора турбогенератора с непосредственным водяным охлаждением.
Обмотки роторов в эксплуатационных условиях повышенным напряжением обычно не испытывают, за исключением обмоток явнополюсных роторов или приемо-сдаточных испытаний. Эти испытания проводят в течение 1 мин напряжением, равным 7,5-кратному номинальному напряжению возбуждения, но не ниже 1200 В. При профилактических испытаниях испытывают обмотки возбудителя и цепи возбуждения генератора и возбудителя со всей присоединенной аппаратурой (без обмотки ротора) повышенным напряжением переменного тока 1000 В в течение 1 мин. Большое значение имеет правильная центровка генераторов, у которых воздушные зазоры в диаметрально противоположных точках (между сталью статора и ротора) не должны отличаться один от другого более чем на 10% среднего значения для турбогенераторов и на 20% для гидрогенераторов. Зазоры измеряют щупами разной конструкции. При больших отклонениях появится значительная асимметрия магнитного потока, что может привести к повышенной вибрации и повреждению агрегата.
Кроме кратко описанных проводят и другие проверки и профилактические испытания генераторов: испытание обмоток и активной стали на нагрев, определение реактивных сопротивлений, испытание электрической прочности контактных колец, автомата гашения поля, измерение остаточного напряжения генератора после его отключения, отыскание витковых замыканий в обмотке ротора, выявление допустимых несимметричных режимов и др.
Следует остановиться еще на двух основных характеристиках генераторов, помогающих персоналу выявить в них возможные дефекты, — характеристиках холостого хода и трехфазного короткого замыкания.
Принципиальные схемы для снятия характеристик холостого хода и короткого замыкания гидрогенератора показаны на рис. 4.
Характеристика холостого хода представляет собой зависимость напряжения генератора от тока возбуждения при номинальной частоте вращения.
Снятие характеристики холостого хода генератора при отсутствии трехфазной закоротки 3 позволяет одновременно испытать витковую изоляцию обмотки статора, а также определить остаточное напряжение и симметрию напряжений генератора и производится в такой последовательности.
Генератор плавно возбуждают до напряжения, соответствующего номинальному току возбуждения, но не ниже 130% номинального напряжения.
Напряжение поддерживают на этом уровне в течение 5 мин для испытания электрической прочности и витковой изоляции обмотки статора, затем снижают сначала до номинального, при котором проверяют симметрию напряжений между всеми тремя фазами, потом до нуля, после чего измеряют остаточное напряжение генератора (обычно оно для разных генераторов и различных схем гашения поля находится в пределах 150—400 В).

Рис. 4. Схемы для снятия характеристик холостого хода и трехфазного короткого замыкания гидрогенератора: АГП — автомат гашения поля, АГВ автомат гашения поля возбудителя, ГС — гасительное сопротивление, В — возбудитель, ПВ — подвозбудитель, Р — регулировочный реостат, 3 — трехфазная закоротка
Характеристика трехфазного короткого замыкания представляет собой зависимость тока в обмотке статора от тока возбуждения, ее снимают при наложенной трехфазной закоротке 3. Сечение закоротки должно быть рассчитано на длительное прохождение номинального тока генератора. Отклонение характеристики от заводских данных и предыдущих измерений означает наличие ненормальностей в генераторе, например замыкания части витков в обмотке ротора, в результате чего ток возбуждения и создаваемый ротором магнитный поток являются, недостаточными для получения в обмотке статора расчетного номинального тока.
При снятии характеристик холостого хода и трехфазного короткого замыкания необходимо применять приборы с классом точности 0,5 и измерять токи в каждой фазе.
Сушка обмоток до пропитки может не производиться только в случае, когда обмотка выполнена из влагостойких материалов—эмалированных проводов или проводов со стекловолокнистой изоляцией, а пазовая изоляция из стеклоткани или других аналогичных ей по своим изоляционным свойствам негигроскопичных электроизоляционных материалов.
Сушка до пропитки обмоток статоров, роторов и якорей производится в специальных печах при 105—200° С. В последнее время сушку обмоток (до пропитки) стали производить инфракрасными лучами, источниками которых являются специальные лампы накаливания.
Эти лампы отличаются от обычных ламп накаливания тем, что на их внутренней поверхности имеется отражательный слой, способствующий большей отдаче и равномерному распределению тепла.
Пропитывают просушенные обмотки в специальных пропиточных ваннах, устанавливаемых в отдельном помещении, оборудованном приточно-вытяжной вентиляцией и обеспеченном необходимыми средствами пожаротушения.
Пропитка осуществляется погружением частей электрической машины в ванну, заполненную лаком, поэтому размеры ванны должны быть рассчитаны на габариты ремонтируемых машин. Для повышения проникающей способности лака и улучшения условий пропитки ванны оборудуют устройством для подогрева лака. Ванны для пропитки статоров и роторов крупных электрических машин снабжены пневморычажным механизмом, позволяющим поворотом рукоятки распределительного крана плавно и без усилий открывать и закрывать тяжелую крышку.
Для пропитки обмоток применяют масляные, масляно-битумные и водоэмульсионные пропиточные лаки, а в особых случаях и кремнийорганические лаки. Пропиточные лаки должны обладать малой вязкостью и хорошей проникающей способностью, обеспечивающей глубокое проникновение во все поры пропитываемой изоляции. В лаке не должно быть веществ, оказывающих вредное воздействие на провода и изоляцию обмотки, а также они должны длительное время противостоять воздействию рабочей температуры, не теряя при этом изолирующих свойств.
Обмотки электрических машин пропитывают 1, 2 или 3 раза в зависимости от условий их эксплуатации, требований электрической прочности, окружающей среды, режима работы и т. д. При пропитке обмоток непрерывно проверяют вязкость и густоту лака в ванне, потому что растворители лаков постепенно улетучиваются и лаки густеют. При этом сильно снижается их способность проникать в изоляцию проводов обмотки, расположенных в пазах сердечника статора или ротора. Особенно она снижается у густого лака при плотной укладке проводов в пазах. Недостаточная изоляция обмоток при определенных условиях может привести к пробою их изоляции и аварийному выходу электрической машины из строя.
Для сохранения требуемой густоты лака в пропиточную ванну периодически добавляют растворители.
При скоростных ремонтах и в аварийных случаях обмотки пропитывают быстросохнущим масляно-смоляным лаком № 152, который высыхает при 20° С в течение 3—4 ч и создает пленку, обладающую значительной влагостойкостью и высокой изолирующей способностью. Покровные и пропиточные лаки выбирают в зависимости от конкретных условий работы ремонтируемой электрической машины, окружающей среды, конструкции машины, класса изоляции.
Лаки и растворители токсичны, пожароопасны и поэтому должны храниться в специальных помещениях при температуре не ниже 8 и не выше 25° С. Склад, где хранятся лаки и растворители, должен быть оборудован вентиляцией и оснащен необходимыми средствами пожаротушения. Вся работа с растворителями и лаками должна выполняться рабочим в брезентовых рукавицах, защитных очках и резиновом фартуке. Разводят лаки в количествах, необходимых только для текущих работ. Запасы разбавленных лаков не делают.
Обмотки электрических машин после пропитки сушат в специальных камерах подогретым воздухом. По способу нагрева сушильные камеры делят на камеры с электрическим, газовым или паровым подогревом, а по принципу циркуляции подогретого воздуха — с естественной или искусственной (принудительной) циркуляцией. По режиму работы различают сушильные камеры периодического и непрерывного действия.
В целях многократного использования тепла подогретого воздуха и улучшения режима сушки в камерах используется способ рециркуляции, при котором 50—60% отработавшего горячего воздуха вновь возвращается в сушильную камеру. Для сушки обмоток на большинстве электроремонтных заводов и в электроцехах промышленных предприятий применяют сушильные камеры с электрическим обогревом.
В первый период сушки (1—2 ч после начала), когда содержащаяся в обмотках влага быстро испаряется, отработавший воздух полностью выпускается в атмосферу; в последующие часы сушки часть отработавшего воздуха, содержащего небольшие количества влаги и паров растворителя, возвращается в камеру. Максимальная температура в камере — 200° С, а полезный внутренний объем определяется габаритами ремонтируемых электрических машин.
Во время сушки обмоток ведется непрерывный контроль температуры в сушильной камере и температуры выходящего из камеры воздуха. Время сушки зависит от конструкции и материала пропитанных обмоток, габаритов изделия, свойств пропиточного лака и примененных растворителей, температуры сушки и способа циркуляции воздуха в сушильной камере, тепловой мощности калорифера.
Обмотки устанавливают в сушильную камеру таким образом, чтобы они лучше омывались горячим воздухом. Процесс сушки разделяется на разогрев обмоток для удаления растворителей и запекание лаковой пленки.
Интенсивный воздухообмен ускоряет процесс удаления растворителей из обмоток. В каждом конкретном случае скорость обмена воздуха выбирают в зависимости от конструкции, состава изоляции обмоток, пропиточных лаков и растворителей. Для сокращения времени сушки допускается на второй стадии сушки обмоток, т. е. во время запекания лаковой пленки, кратковременно (не более чем на 5—6 ч) повысить температуру сушки обмоток с изоляцией класса А до 130—140° С. Если обмотка не поддается сушке (сопротивление изоляции после нескольких часов сушки остается низким), то дают машине возможность остыть до температуры, на 10—15° С превышающей температуру окружающего воздуха, а затем вновь сушат обмотку. При остывании машины следят за тем, чтобы ее температура не понизилась до температуры окружающего воздуха, иначе на ней осядет влага и обмотка отсыреет.
В крупных электроремонтных предприятиях процессы пропитки и сушки совмещены и механизированы. Для этой цели применяют специальную пропиточно-сушильную конвейерную установку.
3. Опишите основные испытания и измерения при ремонте синхронных компенсаторов. Сушка изоляции синхронных компенсаторов
Согласно Правилам устройства электроустановок, синхронные компенсаторы при ремонте должны пройти следующие испытания:
Измерение сопротивления изоляции. Сопротивление изоляции обмотки статора и ротора измеряется мегомметром 1000 — 2500 В (с ручным или электрическим приводом или же катодным мегомметром) для каждой фазы в отдельности относительно корпуса и других заземленных фаз и должно быть не менее 0,5 МОм при температуре 10-30°С. Сопротивление изоляции подшипников, измеренное относительно фундаментной плиты при полностью собранных маслопроводах, должно быть не менее 0,3 Мом. Сопротивление изоляции, измеренное совместно с сопротивлением соединительных проводов, должно быть не менее 1 Мом для термоиндикаторов синхронных компенсаторов с косвенным охлаждением обмоток статора и не менее 0,5 Мом –с непосредственным охлаждением обмоток статора.
Испытание изоляции обмотки статора повышенным выпрямленным напряжением с измерением тока утечки по фазам. Чтобы перед вводом в эксплуатацию из монтажа или капитального ремонта выявить дефекты в изоляции обмоток генераторов (которые не могут быть обнаружены внешним осмотром и проверкой сопротивления изоляции), их испытывают повышенным напряжением, точная величина которого определяется в зависимости от мощности, напряжения, системы охлаждения, конструкции машины и других причин. Испытанию подвергается каждая фаза или ветвь в отдельности при других фазах или ветвях, соединенных с корпусом. Значения испытательного выпрямленного напряжения приведены в табл. 1. В начале приложения испытательного напряжения протекающий выпрямленный ток значителен (он состоит из зарядного тока, тока абсорбции и тока утечки). Зарядный ток зависит от геометрических размеров изоляции электрических цепей и их расположения относительно корпуса, ток абсорбции возникает из-за перераспределения зарядов между внутренними неоднородными слоями изоляции.
Таблица 1. Испытательное выпрямленное напряжение для обмоток статоров синхронных компенсаторов
| Мощность компенсатора, МВА | Номинальное напряжение, кВ | Амплитудное испытательное напряжение, кВ |
| Менее 1 | Все напряжения | 2,4Uном +1,2 |
| 1 и более | До 3,3 | 2,4Uном +1,2 |
| Выше 3,3 до 6,6 | 3Uном | |
| Выше 6,6 | 2,4Uном+3,6 |
С течением времени (до 2—3 мин) по мере уменьшения зарядного тока и тока абсорбции протекающий через изоляцию ток (ток утечки) при отсутствии влажности и других дефектов уменьшается и достигает установившейся величины. При дефектах в изоляции уменьшение протекающего через изоляцию тока очень быстро прекращается. Сопоставление токов утечки по фазам друг с другом, а также с измеренными в разное время может характеризовать состояние изоляции. При резком различии токов утечки по фазам (или ветвям) необходимо отыскать и устранить дефектное место. Измерение токов утечки для построения кривых зависимости их от напряжения производится не менее чем при пяти значениях выпрямленного напряжения — от 0,2 Uтах до Uтах равными ступенями. На каждой ступени напряжения выдерживается в течение 1 мин. При этом фиксируются токи утечки через 15 и 60 с. Испытание изоляции повышенным напряжением промышленной частоты. Чтобы перед вводом в эксплуатацию из монтажа или капитального ремонта выявить дефекты в изоляции обмоток генераторов (которые не могут быть обнаружены внешним осмотром и проверкой сопротивления изоляции), их испытывают повышенным напряжением, точная величина которого определяется в зависимости от мощности, напряжения, системы охлаждения, конструкции машины и других причин. Испытание проводится по нормам, приведенным в табл. 2. Испытанию подвергается каждая фаза или ветвь в отдельности при других фазах или ветвях, соединенных с корпусом.
Таблица 2. Испытательное напряжение промышленной частоты для обмоток синхронных компенсаторов
| Испытуемый объект | Характеристика электрической машины | Испытательное напряжение, кВ |
| Обмотка статора синхронного компенсатора | Мощность до 1 МВт, номинальное напряжение выше 100 В Мощность более 1 МВт, номинальное напряжение до 3,3 кВ То же, но номинальное напряжение выше 3,3 кВ до 6,6 кВ |
1,6Uном + 0,8, но не менее 1,2 1,6Uном + 0,8 2Uном |
| Цепи возбуждения со всей присоединенной аппаратурой (без обмоток ротора и возбудителя) | - | 1 |
| Реостат возбуждения | - | 1 |
| Обмотка статора синхронных компенсаторов, у которых стыковка частей статора производится на месте монтажа по окончании полной сборки обмотки и изолировки соединений | Мощность более 1 МВт, номинальное напряжение выше 6,6 кВ Мощность до 1 МВт, номинальное напряжение выше 100 В Мощность более 1 МВт, номинальное напряжение до 3,3 кВ То же, но номинальное напряжение выше 3,3 кВ до 6,6 кВ То же, но номинальное напряжение выше 6,6 кВ |
1,6Uном + 2,4 2 Uном +1, но не менее 1,5 2 Uном +1 2,5 Uном +1 2 Uном +3 |
| Обмотка явнополюсного ротора | - | 7,5Uном возбуждения генератора, но не менее 1,1 и не более 2,8 |
| Обмотка неявнополюсного ротора | - | 1 (в том случае, если это не противоречит требованиям технических условий завода-изготовителя) |
Продолжительность приложения нормированного испытательного напряжения 1 мин.Измерение сопротивления постоянному току. Нормы допустимых отклонений сопротивления постоянному току приведены в табл. 2.
Таблица 2. Допустимое отклонение сопротивления постоянному току
| Испытуемый объект | Норма |
| Обмотка статора (измерение производить для каждой фазы или ветви в отдельности) | Измеренные сопротивления в практически холодном состоянии обмоток различных фаз не должны отличаться одно от другого более чем на 2 %. Вследствие конструктивных особенностей (большая длина соединительных дуг и пр.) расхождение между сопротивлениями ветвей у некоторых типов генераторов может достигать 5 % |
| Обмотка ротора | Измеренное сопротивление обмоток не должно отличаться от данных завода-изготовителя более чем на 2 %. У явнополюсных роторов измерение производится для каждого полюса в отдельности или попарно |
| Резистор гашения поля, реостаты возбуждения | Сопротивление не должно отличаться от данных завода-изготовителя более чем на 10 % |
Измерение сопротивления обмотки ротора переменному току промышленной частоты. Производится для компенсаторов мощностью более 1 МВт. Измерение следует производить при напряжении не более 220 В на трех-четырех ступенях частот вращения, включая номинальную, а также в неподвижном состоянии. Для явнополюсных машин при неизолированных местах соединений в неподвижном состоянии измерение производится для каждого полюса в отдельности или попарно. Отклонения измеренных значений от данных завода-изготовителя или от среднего сопротивления полюсов должны находиться в пределах точности измерения.
Измерение воздушного зазора между статором и ротором компенсатора. Если инструкциями на компенсаторы отдельных типов не предусмотрены более жесткие нормы, то зазоры в диаметрально противоположных точках могут отличаться друг от друга не более чем на 5 % среднего значения (равного их полусумме) - для компенсаторов мощностью 150 МВт и выше с непосредственным охлаждением проводников и на 10% — для остальных компенсаторов. Измерение зазора у явнополюсных машин производится под всеми полюсами.
Проверка и испытание системы возбуждения. Проверку и испытание электромашинных возбудителей, полупроводниковых высокочастотных возбудителей следует производить в соответствии с инструкцией завода-изготовителя.
Определение характеристик компенсатора. Отклонение характеристики от заводских данных и предыдущих измерений означает наличие ненормальностей в генераторе, например замыкания части витков в обмотке ротора, в результате чего ток возбуждения и создаваемый ротором магнитный поток являются, недостаточными для получения в обмотке статора расчетного номинального тока.
При снятии характеристик холостого хода и трехфазного короткого замыкания необходимо применять приборы с классом точности 0,5 и измерять токи в каждой фазе.
а) трехфазного КЗ. Характеристика снимается при изменении тока до номинального. Отклонения от заводской характеристики должны находиться в пределах точности измерения.
Снижение измеренной характеристики, которое превышает точность измерения, свидетельствует о наличии витковых замыканий в обмотке ротора.
У синхронных компенсаторов без разгонного двигателя снятие характеристик трехфазного КЗ производится на выбеге в том случае, если не имеется характеристики, снятой на заводе;
б) холостого хода. Подъем напряжения номинальной частоты на холостом ходу производить до 130% номинального напряжения синхронных компенсаторов. У синхронных компенсаторов разрешается снимать характеристику на выбеге.
Испытание междувитковой изоляции. Испытание следует производить подъемом напряжения номинальной частоты генератора на холостом ходу до значения, соответствующего 130% номинального напряжения статора синхронного компенсатора.
Измерение вибрации. Вибрация (удвоенная амплитуда колебаний) подшипников синхронных компенсаторов, измеренная в трех направлениях, и их возбудителей не должна превышать значений, приведенных в табл. 3.
Таблица 3. Наибольшая допустимая вибрация подшипников (крестовины) синхронных генераторов, компенсаторов и их возбудителей
| Номинальная частота вращения ротора, мин -1 | 3000 | 1500-500 | 375-214 | 187 | До 100 |
| Вибрация, мкм | 40 | 70 | 100 | 150 | 180 |
Для синхронных компенсаторов с частотой вращения ротора 750—1000 мин вибрация не должна превышать 80 мкм.
Проверка и испытание системы охлаждения и системы маслоснабжения. Производятся в соответствии с инструкцией завода-изготовителя.
Проверка изоляции подшипника при работе компенсатора. Производится путем измерения напряжения между концами вала, а также между фундаментной плитой и корпусом изолированного подшипника. При этом напряжение между фундаментной плитой и подшипником должно быть не более напряжения между концами вала. Различие между напряжениями более чем на 10 % указывает на неисправность изоляции.
Испытание компенсатора под нагрузкой. Нагрузка определяется практическими возможностями в период приемо-сдаточных испытаний. Нагрев статора при данной нагрузке должен соответствовать паспортным данным.
В обычных условиях после монтажа и капитального ремонта синхронные компенсаторы испытывают высоким напряжением и включают в работу без сушки обмоток. Однако в случае явного попадания влаги на обмотки, длительного нахождения неработающего синхронного компенсатора в условиях высокой влажности воздуха и сырости возникает необходимость в сушке его обмоток.
Как правило, сушка является длительным процессом и составляет несколько суток. Сушка обмотки статора считается законченной, когда сопротивление изоляции и коэффициент абсорбции К в конце сушки (после подъема кривой сопротивления изоляции) остаются неизменными в течение 3 — 5 ч при постоянной температуре. Сушка обмотки ротора считается законченной, если после подъема сопротивление изоляции не изменяется в течение более 3 ч и составляет не менее 0,5 МОм.
Температурный режим во время сушки необходимо соблюдать с учетом следующих условий. Сушка производится при температурах, близких к максимально допустимым (но не ниже 80°Су, а именно: 90—95°С для обмоток статоров с изоляцией класса В для запеченных обмоток роторов и 100°С для незапеченных обмоток роторов с изоляцией класса В при косвенном охлаждении. Для роторов с непосредственным охлаждением с изоляцией класса В температура сушки должна быть на 10°С ниже допустимой средней температуры по данным завода или ГОСТу.
Во время сушки дежурный ведет журнал, куда каждые 1—2 ч записывает показания всех электроизмерительных приборов, термодетекторов, термометров, измеренные сопротивления изоляции статора и ротора, время подачи и снятия напряжения от постороннего источника питания, операции по закрытию и открытию люков для поддержания достигнутых температур нагрева и т. д.
Каждые 1—2 ч персонал измеряет мегомметром сопротивление изоляции (с отсчетом через 60 с после начала измерения). Кроме того, для суждения о влажности изоляции обмотки статора необходимо снимать кривые зависимости сопротивления изоляции от времени и определять коэффициент К два раза в сутки для каждой фазы при двух других заземленных.
Турбогенераторы и синхронные компенсаторы сушат в неподвижном состоянии. Применяют несколько способов сушки.
Способ нагрева активной стали статора магнитным потоком (сушка потерями в стали). При этом способе переменный магнитный поток создается специальной намагничивающей обмоткой, наматываемой через расточку статора (рис. 1). Сушку можно производить как со вставленным ротором, так и без него. Намагничивающую обмотку, состоящую из нескольких витков, выполняют изолированным проводом. Так, например, для сушки компенсатора. КСВ-50000-11 мощностью 50 МВ-А намагничивающая обмотка при напряжении сети 380 В может состоять из 10 витков общей длиной 100 м, выполненных проводом сечением 120 мм2. Применение освинцованного или бронированного кабеля не может быть допущено, так как это приведет к замыканию нормально изолированных листов статорной стали и вызовет сильные местные нагревы и повреждения. Более того, с торцов и внутри расточки статора намагничивающую обмотку изолируют от стали статора и ротора прокладками из изолирующего материала (например, электроизоляционного картона).

Рис. 1. Схема намотки на статор намагничивающей обмотки для сушки синхронного компенсатора:
1 — активная сталь, 2 — намагничивающая обмотка; hзуб — толщина зубца; hсп_ — толщина спинки статора
Способ нагрева обмоток постоянным током. Сушку методом потерь в меди обмоток статора и ротора при питании обмоток постоянным током, например от зарядного или другого генератора, имеющегося на электростанции, можно производить одновременно на полностью собранной машине или раздельно на разобранной машине.
Обмотку статора при сушке постоянным током следует соединять таким образом, чтобы по всем фазам и ветвям (при наличии параллельных ветвей в обмотке) протекал одинаковый ток. Во время сушки от постороннего источника тока желательно утеплить генератор. При очень низком сопротивлении изоляции обмотки ротора (ниже 2000 Ом) вместо этого способа применяют способ нагрева воздуходувками. Способ нагрева обмоток воздуходувками. Воздуходувки прогоняют сухой нагретый воздух (до 100—110°С) через утепленную машину. Должны быть приняты меры, предупреждающие попадание в синхронный компенсатор пыли, мусора и искр при нагреве воздуха электрическими нагревателями.
4. Перечислите объемы и периодичность текущих и капитальных ремонтов электродвигателей
Текущий ремонт средних и крупных двигателей обычно проводится один раз в год. Ремонты электродвигателей выполняют одновременно с ремонтом приводимых механизмов.
При текущем ремонте производят обдувку и чистку электродвигателя, замену или добавление смазки подшипников качения, промывку подшипников скольжения, проверку зажимов и пускорегулирующих устройств, измерение сопротивления изоляции, покраску.
В объем капитального ремонта электродвигателя входят его разборка, выемка ротора, осмотр и проверка состояния статора и ротора, их чистка, при необходимости перезаливка подшипников скольжения, замена подшипников качения, ремонт пускорегулирующёй аппаратуры, чистка и ремонт системы охлаждения, профилактические испытания.
Капитальный ремонт с выемкой ротора электродвигателей ответственных механизмов, работающих в условиях высокой температуры и загрязненности окружающей среды, следует производить через год после начала эксплуатации, в дальнейшем не реже одного раза в 2—3 года. Для электродвигателей, работающих в нормальных условиях, и для продуваемых электродвигателей срок капитального ремонта с выемкой ротора устанавливают в зависимости от местных условий.
После капитальных и текущих ремонтов проводят профилактические испытания, при которых выполняют следующее:
¾ после капитального ремонта измеряют сопротивление постоянному току обмоток статора и ротора у электродвигателей 300 кВт и выше напряжением 2 кВ и выше. Полученные сопротивления обмоток различных фаз не должны отличаться от ранее измеренных или заводских данных более чем на 2%;
¾ измеряют сопротивление изоляции с определением отношения R60 /R15 (не должно быть меньше 1,2 и обязательно только для электродвигателей напряжением 3 кВ и выше) мегомметром на 1000— 2500 В. Величина сопротивления не нормируется, но учитывается при определении необходимости сушки;
¾ испытывают изоляцию обмотки статора повышенным напряжением промышленной частоты для каждой фазы статора относительно корпуса при двух других заземленных фазах. При капитальных ремонтах это испытание производят для электродвигателей ответственных механизмов или мощностью 40 кВт и выше. Испытательное напряжение при капитальных ремонтах без смены обмоток в зависимости от номинального напряжения электродвигателей приводится ниже:
¾
| Номинальное напряжение электродвигателей, кВ | 0,4 и ниже | 0,5 | 3 | 6 | 10 |
| Испытательное напряжение промышленной частоты, кВ | 1 | 1,5 | 5 | 10 | 16 |
Продолжительность приложения испытательного напряжения 1 мин;
¾ испытывают изоляцию реостатов напряжением 1000 В в течение 1 мин или мегомметром 2500 В;
¾ измеряют сопротивление реостатов постоянному току, которое не должно отличаться от паспортных или ранее измеренных величин более чем на 10%. При капитальном ремонте целость цепей проверяют мегомметром;
¾ при текущих ремонтах электродвигателей измеряют сопротивление изоляции с определением отношения R60 /R15 , воздушные зазоры между сталью статора и ротора и в подшипниках, а также вибрацию.
Перед сборкой двигателя проверяют качество изоляции токопроводящих частей машины (контактных колец, щеткодержателей и др.). Сопротивление изоляции токопроводящих частей машины, проверяемое мегомметром на 1000 В, должно быть не ниже установленных величин.
Конструкции электрических машин, имеющихся в эксплуатации на предприятиях, существенно отличаются друг от друга. Поэтому дать описание способов и последовательности операций сборки даже части попадающих в ремонт машин не представляется возможным. Как правило, процесс сборки всякой машины ведется в последовательности, обратной разборке.
Перед сборкой машины убеждаются, что все ее части очищены, промыты, отремонтированы и испытаны. Сборку машины ведут осторожно, чтобы не повредить обмоток, коллектора, щеткодержателей, смазочных колец подшипников скольжения и других деталей машины. При сборке кроме обычных инструментов применяют специальные инструменты и приспособления, облегчающие выполнение отдельных операций сборки и повышающие производительность труда ремонтного персонала — торцевые ключи с рукоятками, отвертку с хвостовиком, зажатым в патроне дрели, электрифицированные и пневматические инструменты.
Сборку машины ведут в такой последовательности, чтобы каждая устанавливаемая деталь постепенно приближала машину к собранному состоянию и в то же время не вызывала необходимости переделок и повторения операций. Собранный электродвигатель проверяют на прочность крепления всех деталей и сборочных единиц, отсутствие перекосов, задевания подвижных частей за неподвижные, легкость вращения и возможность перемещения ротора.
Ротор двигателя, удерживаемый в центральном положении магнитным полем статора, должен иметь возможность перемещения («разбега») в осевом направлении. Это необходимо для того, чтобы вал ротора при малейшем смещении не стирал своими заточками торцы подшипников и не вызывал добавочных усилий или трения сопряженных частей двигателя. Величина осевого разбега ротора устанавливается в зависимости от мощности двигателя и должна составлять 2,5—4 мм при мощности 10—40 кВт и 4,5—6 мм при мощности 50— 100 кВт. При сборке машины учитывают, что в процессе работы вал ротора вследствие нагрева удлиняется.
Подшипники качения устанавливают так, чтобы один из них имел возможность перемещаться в подшипниковом щите на 0,5—1,5 мм в осевом направлении. В противном случае при удлинении вала подшипники заклинятся и перестанут вращаться. Полностью собранный двигатель передают на испытательный участок для проведения испытаний по установленной программе.
При сборке проверяют расстояние лобовых частей обмотки от металлических частей корпуса. Оно должно быть не менее 10 мм у машин с номинальным напряжением 220 В и 15 мм у машин с напряжением до 500 В. При осмотре проверяют качество пленки покровного лака на обмотке — она не должна иметь наплывов, пузырьков, трещин, задиров.
Заключительными этапами проверки ремонтируемого электродвигателя являются измерения зазоров и пробный пуск.
Зазоры измеряют при помощи набора стальных пластин — щупов толщиной 0,01—3 мм. У асинхронных машин измеряют зазоры с обоих торцов в четырех точках между активной сталью ротора и статора. Они должны быть одинаковыми по всей окружности. Величины зазоров в диаметрально противоположных точках ротора и статора у асинхронных электродвигателей, а также между серединами главных полюсов и якорем машин постоянного тока не должны отличаться более чем на ±10%.
У машин с подшипниками скольжения измеряют также зазор между валом и вкладышем. Величины зазоров должны соответствовать данным, приведенным в табл. 1.
Таблица 1. Величины зазоров между валом и вкладышем
| Диаметр | Величина зазора , мм, при частоте вращения в минуту | ||
| ДО 1000 | 1000--1500 | Более 1500 | |
| 18—30 | 0,04--0,09 | 0,06--0,13 | 0,14--0,28 |
| 40—50 | 0,05--0,11 | 0,08--0,16 | 0,17--0,34 |
| 60—80 | 0,07--0,14 | 0,09--0,19 | 0,20--0,40 |
| 90—120 | 0,08--0,16 | 0,12--0.24 | 0,23--0,46 |
Перед окончательными (выходными) испытаниями на стенде проверяют правильность сборки и взаимодействия всех частей двигателя путем пробного пуска и работы на холостом ходу в течение не менее 30 мин.
Перед пробным пуском осматривают машину, убеждаются в ее готовности к пуску и работе, т. е. в том, что в подшипниках есть смазочное масло, положение щеток правильное (у электродвигателей с фазным ротором щетки должны быть опущены на контактные кольца, а пусковой реостат введен полностью), в машине нет посторонних предметов, ротор свободно вращается от руки и вращающиеся части не задевают за неподвижные, подшипниковые щиты прочно прикреплены.
Пустив машину с подшипниками скольжения, наблюдают за работой смазочного кольца: оно должно вращаться плавно и подавать масло на шейку вала. Шариковые и роликовые подшипники должны работать без шума.
Во время пробного пуска измеряют вибрацию электродвигателей, характеризуемую амплитудой, которую измеряют вибрографом.
Амплитуда вибрации не должна превышать следующие значения
| Частота вращения, об/мин | 3000 | 1500 | 1000 | 750 и ниже |
| Величина амплитуды вибрации, мм | 0,05 | 0,1 | 0,13 | 0,16 |
По истечении 30 мин работы на холостом ходу машину останавливают и, приняв меры предосторожности, исключающие пуск ее в работу, тщательно осматривают и ощупывают доступные для этого части, чтобы выявить местные нагревы и другие неисправности.
При отсутствии признаков нагрева и каких-либо дефектов машину передают на испытательную станцию для окончательных испытаний.
Двигатели, имеющие пониженное сопротивление изоляции, подвергают сушке путем подачи горячего воздуха от воздуходувки, подогрева обмотки статора током от источника пониженного напряжения.
При необходимости применяются оба способа одновременно.
5. Опишите объемы работ по ремонту ошиновки и изоляции распределительных устройств
Ошиновка распределительных устройств (сборные и ответвительные шины) состоит из опорных и проходных изоляторов и закрепленных на них проводников с шинодержателями, соединительными и концевыми зажимами.
На открытых распределительных устройствах, подверженных усиленному загрязнению, величина необходимого повышения электрической прочности изоляции зависит от характера загрязняющих осадков и степени загрязнения атмосферы этими осадками. Для усиления изоляции открытых распределительных устройств ПО кВ и выше увеличивают число элементов в гирляндах и опорных колонках, применяют специальные «грязестойкие» изоляторы, устанавливают на выключателях и трансформаторах вводы на более высокие ступени напряжения.
В качестве изоляции для загрязняемых районов применяют изоляторы ОС-1 или увеличивают число изоляторов ИШД-35.
Периодичность чистки изоляции открытых распределительных устройств зависит от вида и интенсивности загрязнения и принятого уровня изоляции (нормальный, усиленный). Изоляцию очищают при снятом напряжении различными способами в зависимости от характера загрязнения и плотности осадков на изоляторе (сухими тряпками; тряпками, смоченными водой, бензином, керосином, глинистыми растворами или слабыми растворами кислот, и др.). Промывка изоляторов водой из брандспойтов под напряжением, хотя и является безопасной при заземлении наконечника брандспойта, не всегда дает удовлетворительные результаты. При очень загрязненной изоляции наблюдались случаи ее перекрытия во время промывки и отмечалась нежелательная коррозия отдельных элементов оборудования, так как вода при промывке снизу увлажняет элементы, в обычных условиях остающиеся сухими.
В эксплуатации основным способом борьбы с загрязнением является систематическая очистка изоляторов вручную. В закрытых РУ 6—10 кВ осуществляют иногда очистку изоляторов под напряжением с помощью пылесоса и полых штанг из изоляционного материала со специальными наконечниками в виде фигурных щеток. Для открытых РУ применяют также обработку поверхности изоляторов гидрофобными пастами, обволакивающими частицы загрязненного вещества, в результате чего последние оказываются изолированными друг от друга.
Изоляцию открытых РУ (воздушных линий) очищают прерывистой или сплошной струей воды различного давления. Обмывку можно производить под напряжением до 500 кВ включительно, согласно инструкциям.
Во избежание аварий, вызванных пробоем или поломкой фарфоровых изоляторов, необходимо при замене изоляторов в распределительных устройствах, находящихся в эксплуатации, вновь установленные фарфоровые изоляторы перед включением в эксплуатацию испытывать повышенным напряжением.
При длине скола по окружности до 60 мм и глубине 10 мм место скола покрывают два раза глифталевым лаком и просушивают в течение 2 ч при 50°С. На многоюбочных изоляторах допускается не более двух сколов, расположенных на одной вертикальной линии. Из-за дефектов армировки возможно провертывание или качение штыря, колпачка, фланца, выкрашивание цементирующего вещества. В этом случае изолятор подлежит переармировке.
Большую часть недостатков изоляции, не замеченных при осмотре, обнаруживают при профилактических испытаниях. Изоляторы распределительных устройств испытывают следующим образом:
¾ измеряют сопротивление изоляции многоэлементных изоляторов или гирлянд мегомметром 2500 В (сопротивление каждого элемента штыревого изолятора или изолятора гирлянды должно быть не ниже 300 МОм);
¾ испытывают повышенным напряжением одноэлементные изоляторы согласно нормам, многоэлементные — напряжением 50 кВ на каждый элемент штыревого или подвесного изолятора (длительность приложения напряжения 1 мин);
¾ проверяют распределение напряжения штангой для многоэлементных изоляторов.
Проверку изоляторов и соединительных зажимов, а также другие работы в установках напряжением выше 1000. В, проводимые под напряжением при помощи специальных измерительных штанг, выполняют с соблюдением соответствующих правил техники безопасности. При тумане, дожде, мокром снеге, когда изолирующая часть штанги будет увлажнена, работа запрещается. Измерение производят с конструкции или специальных приспособлений.
При работах со штангой необходимо соблюдать следующие расстояния до токоведущих частей, находящихся под напряжением: при напряжении 35 кВ — не менее 1 м, ПО кВ — не менее 1.5 м, 154 кВ — не менее 2 м, 220 кВ не менее 3 м, 330 кВ — не менее 4 м, 400 и 500 кВ — не менее 5 м. Подниматься на конструкцию следует без штанги. Штангу поднимают с помощью каната. При измерениях запрещается касаться штанги выше ограничительного кольца. Сопротивление изоляции какой-либо части электроустановки измеряют только тогда, когда эта часть отключена со всех сторон. Лицо, производящее измерение мегомметром, должно убедиться в выполнении данного требования и подготовке рабочего места.
Контроль за нагревом проводников ошиновки ведется с помощью термоиндикаторов (термопленок) в закрытых установках и указателей, припаянных легкоплавкими припоями, в открытых распределительных устройствах. Термопленки и указатели устанавливают в местах соединений шин. Периодически производится контроль штангами с термоэлементами.
Для защиты от коррозии поверхности соединений обрабатывают грубым напильником, зачищают стальной щеткой под слоем технически чистого вазелина, затем удаляют опилки с вазелином и покрывают поверхности слоем свежего вазелина. Алюминиевую контактную поверхность непосредственно перед установкой зачищают стальной щеткой под слоем вазелина, который не удаляют. Соединять шины в распределительных устройствах, как правило, следует сваркой. Болтовые соединения применяют только в случаях присоединения шин к аппаратам и в местах, где необходим разъем шин.
6. Перечислите испытания, которым должен быть подвергнут трансформатор тока после ремонта
Трансформатор, подвергающийся капитальному ремонту, испытывают как в процессе ремонта, так и после него. Целью испытаний трансформатора после ремонта является проверка его электрических характеристик и качества работы, выполненных в процессе ремонта.
Профилактические испытания измерительных трансформаторов распределительных устройств производят в соответствии с ПТЭ не реже одного раза в 6 лет
Измерительные трансформаторы испытываются в следующем объеме.
Измерение сопротивления изоляции:
а) первичных обмоток. Производится мегомметром на напряжение 2500 В. Значение сопротивления изоляции не нормируется.
Для трансформаторов тока напряжением 330 кВ типа ТФКН-ЗЗО измерение сопротивления изоляции производится по отдельным зонам; при этом значения сопротивления изоляции должны быть не менее приведенных в табл. 1.
б) вторичных обмоток. Производится мегомметром на напряжение 500 или 1000 В.
Сопротивление изоляции вторичных обмоток вместе с подсоединенными к ним цепями должно быть не менее 1 МОм.
Таблица 1. Наименьшее допустимое сопротивление изоляции первичных обмоток трансформаторов тока типа ТФКН-ЗЗО
| Измеряемый участок изоляции | Сопротивление изоляции, МОм |
| Основная изоляция относительно предпоследней обкладки | 5000 |
| Измерительный конденсатор (изоляция между предпоследней и последней обкладками) | 3000 |
| Наружный слой первичной обмотки (изоляция последней обкладки относительно корпуса) | 1000 |
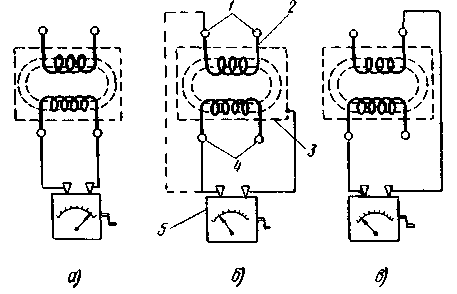
По схеме, приведенной на рис. 1 а, проверяют вторичные обмотки трансформатора, чтобы убедиться в том, что они не имеют обрыва.
При обрыве стрелка мегомметра при вращении его рукоятки остается на бесконечном значении шкалы. Проверять вторичные обмотки можно и малогабаритным мостом Уитстона.
При этом способе обрыв фиксируется бесконечно большим сопротивлением, получаемым при измерении.
Состояние изоляции первичной и вторичной обмоток проверяют по схемам, показанным на рис. 1 б и в.
Проверка ведется с помощью мегомметра на напряжение 1000—2500 в. Величина сопротивления изоляции не нормируется, но должна быть для первичной обмотки не менее 50—100 Мом, а для вторичных обмоток не менее 10—25 Мом.

Рис. 1. Схемы проверки трансформаторов тока
а — на отсутствие обрыва в цепи вторичной обмотки,
б — на сопротивление изоляции первичной (пунктир) и вторичной обмоток,
в — на сопротивление изоляции между первичной и вторичной обмотками;
1 — зажимы первичной обмотки, 2 — первичная обмотка, 3 — корпус трансформатора, 4 — зажимы вторичной обмотки, 5 — мегомметр
Измерение тангенса угла диэлектрических потерь изоляции производится для трансформаторов тока напряжением 110 кВ и выше.
Тангенс угла диэлектрических потерь изоляции трансформаторов тока при температуре +20°С не должен превышать значений, приведенных в табл. 2.
Таблица 2. Наибольший допустимый тангенс угла диэлектрических потерь изоляции трансформаторов тока
| Наименование испытуемого объекта | Тангенс угла диэлектрических потерь, %, при номинальном напряжении, кВ | |||
| 110 | 150-220 | 330 | 500 | |
| Маслонаполненные трансформаторы тока (основная изоляция) | 2,0 | 1,5 | 1,0 | |
| Трансформаторы тока типа ТФКН-ЗЗО: основная изоляция относительно предпоследней обкладки | _ | _ | 0,6 | _ |
| Измерительный конденсатор (изоляция между предпоследней и последней обкладками) | _ | _ | 0,8 | _ |
| Наружный слой первичной обмотки (изоляция последней обкладки относительно корпуса) | _ | _ | 1,2 | _ |
Для окончательного суждения о состоянии изоляции трансформаторы тока испытывают повышенным напряжением промышленной частоты в следующем объеме:
а) изоляции первичных обмоток. Испытание является обязательным для трансформаторов тока и трансформаторов напряжения до 35 кВ (кроме трансформаторов напряжения с ослабленной изоляцией одного из выводов).
Значения испытательных напряжений для измерительных трансформаторов указаны в табл. 3.
Таблица 3. Испытательное напряжение промышленной частоты для измерительных трансформаторов
| Исполнение изоляции измерительного трансформатора | Испытательное напряжение, кВ, при номинальном напряжении, кВ | |||||
| 3 | 6 | 10 | 15 | 20 | 35 | |
| Нормальная | 21,6 | 28,8 | 37,8 | 49,5 | 58,5 | 85,5 |
| Ослабленная | 9 | 14 | 22 | 33 | - | - |
Продолжительность приложения нормированного испытательного напряжения: для трансформаторов напряжения 1 мин; для трансформаторов тока с керамической, жидкой или бумажно-масляной изоляцией 1 мин; для трансформаторов тока с изоляцией из твердых органических материалов или кабельных масс 5 мин;
б) изоляции вторичных обмоток. Значение испытательного напряжения для изоляции вторичных обмоток вместе с присоединенными к ним цепями составляет 1 кВ. Продолжительность приложения нормированного испытательного напряжения 1 мин.
Измерение тока холостого хода. Производится для каскадных трансформаторов напряжением 110 кВ и выше на вторичной обмотке при номинальном напряжении. Значение тока холостого хода не нормируется.
Снятие характеристик намагничивания магнитопровода трансформаторов тока. Следует производить при изменении тока от нуля до номинального, если для этого не требуется напряжение выше 380 В.
Для трансформаторов тока, предназначенных для питания устройств релейной защиты, автоматических аварийных осциллографов, фиксирующих приборов и т. п., когда необходимо проведение расчетов погрешностей, токов небаланса и допустимой нагрузки применительно к условиям прохождения токов выше номинального, снятие характеристик производится при изменении тока от нуля до такого значения, при котором начинается насыщение магнитопровода.
При наличии у обмоток ответвлений характеристики следует снимать на рабочем ответвлении.
Снятые характеристики сопоставляются с типовой характеристикой намагничивания или с характеристиками намагничивания других однотипных исправных трансформаторов тока.
Проверка полярности выводов (у однофазных) или группы соединения (у трехфазных) измерительных трансформаторов. Производится при монтаже, если отсутствуют паспортные данные или есть сомнения в достоверности этих данных. Полярность и группа соединений должны соответствовать паспортным данным.
Измерение коэффициента трансформация на всех ответвлениях производится для встроенных трансформаторов тока и трансформаторов, имеющих переключающее устройство (на всех положениях переключателя). Отклонение найденного значения коэффициента от паспортного должно быть в пределах точности измерения.
Измерение сопротивления обмоток постоянному току производится у первичных обмоток трансформаторов тока напряжением 10 кВ и выше, имеющих переключающее устройство, и у связующих обмоток каскадных трансформаторов напряжения. Отклонение измеренного значения сопротивления обмотки от паспортного или от сопротивления обмоток других фаз не должно превышать 2%.
Правильность маркировки выводов и соответствие их заводским обозначениям проверяют, определяя полярность по схеме, приведенной на рис. 2. В схеме используется гальванометр с нулем посередине и батарейка от карманного фонаря. Более удобно применять портативную аккумуляторную батарею на напряжение 6— 12 в.

Рис 2 Схема проверки полярности обмотки:
1 — первичная обмотка, 2 — вторичная обмотка, 3 — батарейка, 4 — рубильник, 5 и 6 — зажимы обмоток, 7 — гальванометр
Если полярность правильная, стрелка прибора в момент замыкания цепи батареи должна отклониться вправо. Отклонение стрелки прибора влево указывает, что полярность вторичной обмотки обратна полярности, обозначенной в заводской маркировке, и ее концы в этом случае должны быть перемаркированы или пересоединены.
Испытание трансформаторного масла. Производится у измерительных трансформаторов 35 кВ и выше.
Для измерительных трансформаторов, имеющих повышенное значение тангенса угла диэлектрических потерь изоляции, следует произвести испытание масла.
У маслонаполненных каскадных измерительных трансформаторов оценка состояния масла в отдельных ступенях производится по нормам, соответствующим номинальному рабочему напряжению ступени (каскада).
Литература
1. Атабеков В. Б. Ремонт электрооборудования промышленных предприятий: Учебник для сред, проф.-техн. училищ. — 4-е изд., перераб. и доп. — М.: Высш. школа, 1979. — 256 с, ил. — (Профтехобразование. Энергетика).
2. Голыгин А. Ф., Ильяшенно Л. А. Устройство и обслуживание электрооборудования промышленных предприятий: Учеб. пособ. для сред. ПТУ. — М.: Высш. шк., 1986. —207 с: ил.
3. Киреев М. И., Коварский А. И. Монтаж и эксплуатация электрооборудования станций, подстанций и линий электропередачи. Учеб. пособие для проф.-техн. учебных заведений и подготовки рабочих на производстве. Изд. 4-е, перераб. и доп. М., «Высшая школа», 1972. 256 с. с илл.
4. Лезнов С. И. и Тайц А. А. Обслуживание электрооборудования электростанций и подстанций. Изд. 3-е, перераб. и доп. Учеб. пособие для проф.-техн. училищ. М., «Высш. школа», 1976. 320 с. с ил.
5. Правила устройства электроустановок/Минэнерго СССР.—6-е изд., перераб. и доп. М.: Знергоатомиздат, 1987.—648 с: ил.