| Похожие рефераты | Скачать .docx |
Курсовая работа: Электроснабжение горного предприятия
Пермский государственный технический университет
КУРСОВАЯ РАБОТА
по дисциплине «Основы электроснабжения»
Выполнил: студент группы ЭАПУ-07з
ШОХИРЕВ
Проверил: ассистент кафедры ЭАПУ
САПУНКОВ
Пермь 2011
Содержание
Введение
Исходные данные
1. Выбор силовых трансформаторов для ГПП и схемы электрических соединений двухтрансформаторной ГПП горного предприятия
2. Выбор трансформатора для удаленной ТП и сдвоенного реактора
3. Схема КТП
4. Выбор кабелей и определение их сечений
5. Расчет токов короткого замыкания
6. Выбор и проверка оборудования
7. Выбор компенсирующего устройства и его защиты
8. Расчет и выбор установок МТЗ и токовой отсечки для радиальной линии Л4
9. Расчет заземляющего устройства
Вывод
Список использованной литературы
Приложение
Введение
Одна из характерных особенностей современного научно – технического прогресса – необычайное ускорение темпов приращения и обновления знаний. Резко сократился такой важный показатель НТП, как срок внедрения научных идей в практику и производство. Сейчас компьютеризация охватила буквально все стороны жизни, а микропроцессорная элементная база стала основой современных устройств релейной защиты и автоматики электроэнергетических систем. Развитие человеческого общества, его культурный уровень непосредственно связаны с увеличением количества потребляемой энергии, изысканием и обоснованием новых, более эффективных ее видов. Нынешний научно – технический прогресс невозможен без использования качественно новых видов энергии, в первую очередь, ЭЛЕКТРИЧЕСКОЙ. Она широко применяется в промышленности, городском и сельском хозяйстве, на транспорте. Без нее невозможно развитие кибернетики, вычислительной техники и освоение космического пространства. Из сказанного следует, что роль инженера – электроэнергетика, специалиста в области электроснабжения, в современном обществе чрезвычайно велика. Поэтому при проектирования предприятия одним из ответственных этапов является проектирование системы электроснабжения предприятия. При проектировании системы электроснабжения предприятия важно правильно рассчитать мощность, потребляемую электроустановками предприятия и учесть ее возможное увеличение при дальнейшем развитии предприятия. Так же необходимо грамотное размещение и распределение нагрузки по предприятию, сочетание потребителей реактивной мощности с установками для ее компенсации. Известно, что экономичность и надежность систем электроснабжения во многом обеспечивается средствами защиты и автоматики. Поэтому в курсовой работе по электроснабжению релейная защита и автоматизация систем электроснабжения занимает одно из ведущих мест.
Основной целью моей курсовой работы является закрепление теоретических знаний и приобретенных практических для расчета и проектирования современных систем электроснабжения горных предприятий.
16 вариант
Исходные данные к заданиям 1-7:
| Параметры | По варианту | Согласованные значения |
| 35 | 35 | |
| 10 | 10 | |
| 480 | 600 | |
| Л1 ,км | 5 | 5 |
| Л2 ,км | 7,5 | 7,5 |
| Л3 ,км | 6,0 | 6,0 |
| Л4 ,км | 0,8 | 0,8 |
| Л5 ,км | 0,55 | 0,55 |
| Л6 ,км | 0,6 | 0,6 |
| Л7 ,км | 0,7 | 0,7 |
| Л8 ,км | 0,5 | 0,5 |
| Л9 ,км | 0,5 | 0,5 |
| Тип линии Л3 ,км | ВЛ | ВЛ |
| Рр ,МВт | 13,4 | 13,4 |
| Qр ,МВАр | 10,5 | 10,5 |
| Kр 1 | 0,4 | 0,3 |
| Kр 2 | 0,34 | 0,34 |
| Kр 3 | 0,02 | 0,016 |
| Kр 4 | 0,4 | 0,4 |
Исходные данные к заданию 8
| Ток однофазного замыкания на землю в сети 10кВ, А | 25 | 16 |
| Наименование грунта | Щ | Щ |
| Сезонный коэффициент | 1,3 | 1,2 |
| Вид заземлителя | Уг. | Уг. |
| Способ заглубления | Верт. | Верт. |
| Заглубление | 0,5 | 0,77 |
| Сопротивление естественного заземления,Ом | 15 | 35 |
1. Выбор силовых трансформаторов для ГПП и схемы электрических соединений двухтрансформаторной ГПП горного предприятия
1)Находим расчетную мощность на шинах ГПП
МВА
Горное предприятие является потребителем первой категории, поэтому учитывая это и задание выбираем для ГПП два взаимно резервирующих друг друга трансформатора и схему с двумя секционированными системами шин.
2)Расчётная мощность трансформаторов ГПП[7]:
![]()
Ищем трансформатор ![]()
![]()
Выбираем по каталогу [1] трансформатор мощностью 16 МВА.
ТДНС – 16000/35
Т – трансформатор трехфазный;
Д – масляного охлаждения с дутьем
Н – регулирование напряжения под нагрузкой
С – для собственных нужд
16000 – номинальная мощность, кВА;
35 – класс напряжения обмотки ВН, кВ;
10 - класс напряжения обмотки НН, кВ;
Технические данные:
| SH , МВА | Пределы регулирования | Каталожные данные | |||||
| U вн, кВ | Uнн, кВ | uк ,% | Iх ,% | ||||
| 16 | РПН+/-8*1,5% | 35 | 10 | 10 | 85 | 17 | 0,7 |
3)Вычерчиваем схему горного предприятия [6], в соответствии с предъявленными к ней требованиями:
- достаточная надежность (предусмотрел четыре секции шин ПШ);
- простота схемы и удобство эксплуатации;
- использование современной комплектной аппаратуры и прогрессивных технических решений;
- экономическая целесообразность
2. Выбор трансформатора для удаленной ТП и сдвоенного реактора
1) Для удаленной однотрансформаторной ТП трансформатор выбираем с учетом
,
и величины рабочего напряжения:
МBт
![]()
кВА(*)
Необходимо учесть рекомендуемую величину коэффициента загрузки:
,![]()
![]()
![]()
![]()
кВА
По каталогу [2] для удаленной трансформаторной подстанции выбираем типовую комплектную трансформаторную подстанцию КТП-400 У1.
| Техническая характеристика КТП-400У1 | ||
| Номинальная мощность, кВА | 400 | |
| Тип силового трансформатора | ТМФ | |
| Номинальное напряжение, кВ | ВН | 10 |
| НН | 0,4 | |
| Количество отходящих линий | 5 или 6 | |
Технические характеристики трансформатора ТМФ:
| SH , кВА | U вн, кВ | U нн, кВ | uк ,% | Iх ,% | ||
| 400 | 10 | 0,4 | 10 | 5,5 | 1,05 | 2,1 |
2) Т.к.Sp
[7],
то выбираем сдвоенный реактор:
,
по справочнику [1] выбираем реактор РБС-10-2
630-0,25:
Р - реактор
Б - бетонный
С - сдвоенный
Техническая характеристика РБС-10-2
630-0,25
, А – номинальный ток.................................................................. 2
630
, Ом – номинальное индуктивное сопротивление…………. 0,25
- индуктивное сопротивление ветви при встречном токе…0,135
- коэффициент связи………………………………………….. 0,46
![]()
, кВт – потери на фазу…........................................................... 4,8
э/динамическая стойкость кз в одной ветви,кА…………………….40
э/динамическая стойкость кз при встречных токах,кА…………..14,5
Схема КТП-400У1

3. Выбор кабелей и определение их сечений
Находим величины расчетных нагрузок распредпунктов РП-1 и РП-2, нагрузок центральной подземной подстанции ЦПП и удаленной одиночной трансформаторной подстанции ТП.
для РП-1:
![]()
![]()
![]()
для РП-2:
![]()
![]()
![]()
для ЦПП:
![]()
![]()
![]()
Линия Л3 по условию воздушная для нее можно выбрать AC - алюминиевые провода с стальной жилой (сечение 25 мм2 – минимальное значение[3], для них допустимая токовая нагрузка142 А).
Кабели линий
проложены на открытых эстакадах, поэтому для них можно выбрать кабели марки ААШв[2] –алюминевая жила с алюминиевой оболочке, с защитным покровом в виде выпрессованного шланга (оболочки) из поливинилхлорида (политилена).
Кабели линий
и
проложены в вертикальном стволе шахты, следовательно, для безопасности для этих линий надо использовать специальные кабели марки ЦСБ - в свинцовой оболочке, с бумажной изоляцией, пропитанной не стекающей массой, бронированный плоскими стальными оцинкованными проволками[4].
Исходя из того что расчёт производился из условия перегрузки силового трансформатора на 140%, то предполагаем загрузку кабелей на линиях Л4 , Л5 , Л6 , Л7 на 70% от всей мощности соответствующего участка, принимается это на случай обрыва одного из двух кабелей, чтобы второй кабель выдержал двойную нагрузку.
Определяем сечение кабелей по условию нагрева расчетным током нагрузки.
Л3
: ![]()
один алюминиевый кабель
Л4 Л7 :
![]()
Т.к. ток слишком велик выбираем 2 алюминиевых кабеля с током равным 159,2 А=> выбираем номинальное сечение
при
;
Л5 Л6 :
;
Т.к. ток слишком велик выбираем 2 алюминиевых кабеля с током равным 140,21 А=> выбираем номинальное сечение
при
;
кабели линий Л8 и Л9 проложены в вертикальном стволе шахты, следовательно нужно обеспечить их стопроцентную надежность даже при аварийных режимах.
Л8 Л9 :
![]()
Т.к. ток слишком велик выбираем 2 медных кабеля с током равным 187 А=> выбираем номинальное сечение
при
;
Из литературы [5] выбираем подходящее сечение и технические данные для конкретного сечения кабелей на данном участке и сводим в таблицу.
| Линия | Sн. , мм2 | R0 , Ом/км | Х0 , Ом/км | Iр , А | Материал, марка |
| Л3 | 25 | 1,28 | 0,319 | 142 | AС |
| Л4 ,Л7 | 120 | 0,261 | 0,081 | 185 | ААШв |
| Л5 , Л6 | 95 | 0,329 | 0,083 | 155 | ААШв |
| Л8 , Л9 | 95 | 0,195 | 0,083 | 200 | ЦСБ |
Определение потерь напряжений в линиях. Величина допустимой потери напряжения для всех линий равна 5 % от номинального напряжения сети (500В).
Расчет потери напряжения в линиях:
В линии
В линии
В линии
В линии
В линии
В линии
В линии Л8 , Л9
Потери напряжения в линиях
не превышают допустимых, следовательно сечения кабелей данных линий приняты верно.
4. Расчет токов короткого замыкания
(в относительных единицах)
Расчеты производим для режима раздельной работы питающих линий и трансформаторов ГПП, считая, что секции шин на РП-1, РП-2 и ЦПП работают раздельно.
Вычерчиваем схему замещения (рис. 1).

Рис 1. Схема замещения
Задаемся величиной
.
Согласно [3] ![]()
Þ![]()
Þ![]()
Þ![]()
Сопротивление энергосистемы.
![]()
Сопротивление линии ![]()
![]()
Сопротивление силового трансформатора ГПП
![]()
Сопротивление ветвей сдвоенного реактора Р[7]
![]()
![]()
Сопротивление линии ![]()
![]()
![]()
Сопротивление силового трансформатора КТП
![]()

Сопротивление линии
Сопротивление линии
После пересчета находим для каждой точки к.з. результирующие сопротивление.
Вычисляем действующее значение установившегося тока трехфазного к.з.
Ток двухфазного к.з.
Вычисляем ударные токи к.з.
Мощность трехфазного к.з.
Сведем все полученные данные в таблицу:
| 0,0614 | - | 1,8 | 5,1 | 4,34 | 12,77 | 7,57 | 325,73 | |
| 0,2616 | - | 1,8 | 3,47 | 3 | 8,83 | 5,24 | 61,92 | |
| 2,946 | 2,467 | 1,032 | 6,9 | 5,96 | 9,978 | 6,9069 | 4,784 | |
| 0,0047 | 0,0151 | 1 | 3,3 | 2,85 | 4,667 | 3,3 | 59,01 | |
| 0,0655 | 0,0044 | 1,8 | 2,782 | 2,39 | 7,05 | 4,18 | 49,45 |
Расчет токов короткого замыкания был произведен без учета токоограничивающих реакторов. Т.к. мощность к.з. на шинах питающих ЦПП не превышает заданного предела 100 МВА ([8] п.522), то реактор не предусматриваем.
5 . Выбор и проверка оборудования
1) Выбор разъединителей, короткозамыкателей, отделителей и тр-ров тока для РУ ВН ГПП.
Основным критерием для выбора оборудования является напряжение и максимальный расчётный ток, протекающий через аппарат:
А и Uном
=35 кВ,
выбираем необходимые аппараты:
По каталогу [10] выбираем разъединительРДЗ - 2 - 35. IV /400 УХЛ1
Р – разъединитель; Д – двухколонковый;
З – наличие заземлителей; 2 – кол-во заземлителей;
35 – номинальное напряжение, кВ;
IV – степень загрязненности;
400 – номинальный ток, А;

Проверка
· на термическую стойкость
,
где tпр – приведенное время КЗ (промежуток времени за который под действием установившегося тока КЗ выделяется такое же количество тепла, как и под действием фактического тока КЗ за фактическое время).
, т.к. Sн
=
, то
-кратность сверхпереходного т.к.з.
определяется по графику[14] с учетом
;
![]()
· на эл.динамическую устойчивость ![]()
Значит разъединитель удовлетворяет требованиям.
Так же выбираем разъединительРРЗ 35/1000НУХЛ1
Р – разъединитель;
Р – контакты рубящего типа;
З – наличие заземлителей.
1000 – номинальный ток, А;

Проверка
· на термическую стойкость
,
где tпр – приведенное время КЗ (промежуток времени за который под действием установившегося тока КЗ выделяется такое же количество тепла, как и под действием фактического тока КЗ за фактическое время).
· на эл.динамическую устойчивость ![]()
Значит разъединитель удовлетворяет требованиям.
По [10] выбираем короткозамыкатель КРН-35 У1
К – короткозамыкатель; З – наличие заземлителей; Н – наружной установки;
35 – номинальное напряжение, кВ;

Проверка
· на термическую стойкость 
· на эл.динамическую устойчивость ![]()
Значит короткозамыкатель удовлетворяет требованиям.
Отделитель типа ОДЗ –35/630 У1

Проверка
· на термическую стойкость 
· на эл.динамическую устойчивость ![]()
Значит отделитель удовлетворяет требованиям.
Выбор трансформатора тока:
Для выбора тр-ра тока надо
,
По [10] выбираем тр-р токаТФЗМ-35Б- I
расчетный ток
,расчетный ток трансформатора должен быть в 5-10[7] раз больше для отстройки от токов короткого замыкания ![]()
Т – тр-р тока;
Ф – в фарфоровой покрышке;
З – обмотка звеньевого типа;
М – маслонаполненный;
35 – номинальное напряжение, кВ;

Проверка
· на термическую стойкость
;
· на эл.динамическую устойчивость(внешнею и внутреннею): внутренняя

Расчет на внешнею эл.динамическую стойкость не производит, в связи с недостающими данными и для упрощения курсовой работы.
Исходя из этого, убеждаемся в правильности выбора.
2) Выбор вводных и секционных выключателей для РУ НН ГПП.
По расчетному току:
А и Uном
=10,5 кВ,
выбираем вакуумные выключателиВВ/ Tel -10-12,5/630 У2 , т.к. у них высокий коммутационный и механический ресурс; отсутствие необходимости в проведении текущего, среднего и капитального ремонтов; питание от сети постоянного, выпрямленного и переменного оперативного тока в широком диапазоне напряжений; малое потребление мощности по цепи оперативного питания; высокое быстродействие при включении и отключении; возможность отключения при потере оперативного питания; не требуется изменения существующих схем вторичной коммутации; совместимость с любыми существующими типами ячеек КРУ и КСО; допускается работа в любом пространственном положении; малые габариты и вес.
ВВ – вакуумный выключатель;
Tel – наименование серии;
10 – номинальное напряжение, кВ;
12,5- номинальный ток отключения, кА;
630 – номинальный ток, А;

Проверка
· на термическую стойкость

· на эл.динамическую устойчивость
![]()
· на отключающую способность
![]()
Исходя из этого, убеждаемся в правильности выбора.
Аналогично выбираем секционный выключатель, по
А
По каталогу [10] выбираем в качестве секционного выключателя тот же
ВВ/ Tel -10-12,5/630 У2
Выбор одинаковых выключателей позволит облегчить обслуживание (однотипное оборудование).
Однако с перечисленными достоинствами ВВ имеют и недостатки, основной из которых – генерирования перенапряжений при коммутациях индуктивных токов[12] => предусматриваем ограничители перенапряжений, по справочнику [10] выбираемОПН-10 УХЛ1
ОП – ограничитель перенапряжений;
Н – нелинейный;
10 – класс напряжения, кВ;
УХЛ1 – климатическое исполнение.
3) Секционные выключатели для РП-1, РП-2, ЦПП.
По расчетному току:
А и Uном
=10,5 кВ,
выбираем по каталогу [10] выбираем секционный выключатель для РП-1:
ВВ/ Tel -10-12,5/630 У2
Т.к. вакуумные выключатели отличаются долгим сроком службы, малыми эксплутационными затратами и высокой отключающей способностью. Номинальный ток в 630 А является минимальным током на который выпускаются вакуумные выключатели, этим обосновывается выбор выключателя с большим током отключения по сравнению с расчетным. Т.к. расчетные токи для РП1и РП2 равны для РП2 выбираем тот же вакуумный выключатель.
Проверка
· на термическую стойкость 
· на эл.динамическую устойчивость ![]()
· на отключающую способность ![]()
Исходя из этого, убеждаемся в правильности выбора.
По расчетному току
А и Uном
=10,5 кВ, для ЦПП выбираем тот же выключатель, т.к. он проходит по требованиям для большего тока к.з. то он пройдет по требованиям и для меньших токов к.з. на ЦПП (ЦПП более удалена от источника).
4) Выбор сборных шин для ГПП.
По расчетному току:
А,
выбираем алюминиевую шину 40 мм* 4 мм с S=160 мм2 и Iдоп =480 А [5].
Проверка
· на термическую стойкость

Исходя из этого, убеждаемся в правильности выбора.
5) Проверка автоматического выключателей и трансформаторов тока на КТП.

-для автоматического выключателя;
На стороне 0,4кВ удаленной подстанции установлен автомат типа Э10 [2]: «Электрон»
![]()
Проверка:
-по электродинамической устойчивости Э10:
![]()
и трансформатор тока ТНШЛ-0,66[5] с номинальным первичным током 5000А.
![]()
-по термической стойкости тр-ра тока

6) Выбор выключателей и трансформаторов тока для линий Л3 -Л9 .
![]()
![]()
![]()
![]()
Для унификации применяемого оборудования и для облегчения его обслуживания для линий Л3 -Л9 выбираем те же вакуумные выключатели что и для РП и для ГПП.
ВВ/ Tel -10-12,5/630 У2
ВВ – вакуумный выключатель;
Tel – наименование серии;
10 – номинальное напряжение, кВ;
12,5- номинальный ток отключения, кА;
630 – номинальный ток, А;

Проверка Л3 :
· на термическую стойкость

· на эл.динамическую устойчивость
![]()
на отключающую способность
![]()
Проверка Л4,7 :
· на термическую стойкость

· на эл.динамическую устойчивость
![]()
· на отключающую способность
![]()
Проверка Л5,6 :
· на термическую стойкость

· на эл.динамическую устойчивость
![]()
· на отключающую способность
![]()
Проверка Л8,9 :
· на термическую стойкость

· на эл.динамическую устойчивость
![]()
· на отключающую способность
![]()
Исходя из этого, убеждаемся в правильности выбора всех выключателей.
Производим выбор и проверку трансформаторов тока.
На линии Л3
имеем расчетный ток
,расчетный ток трансформатора должен быть в 5-10[7] раз больше для отстройки от токов короткого замыкания
выбираем трансформатор токаТЛ 10
[5] на 150 А
Т – трансформатор тока ;
Л – с литой изоляцией;
10 – номинальное напряжение, кВ;

Проверка
· на термическую стойкость
;
· на эл.динамическую устойчивость(внешнею и внутреннею): внутренняя

Трансформатор подходит.
Мощность РП1 и РП2 одинакова следовательно одинаковы и расчетные нагрузки. На линих Л4
,Л7
имеем расчетный ток
выбираем тот же трансформатор токаТЛ -10
на 1500 А. Проверку не производим т.к. трансформатор имеет такие же параметры.
На линих Л5
,Л6
имеем расчетный ток
выбираем тот же трансформатор токаТЛ -10
, но 1000 А. Проверку не производим т.к. трансформатор имеет такие же параметры.
На линих Л8
,Л9
имеем расчетный ток
выбираем тот же трансформатор токаТЛ -10
, но 1500 А. Проверку не производим т.к. трансформатор имеет такие же параметры. Значит все трансформаторы подходят и удовлетворяют требованиям.
6) Выбор трансформаторов напряжения
По номинальному напряжению Uном =10 кВ по [5], выбираем трансформаторы
НТМИ-10 - 66
Н – тр-р напряжения; Т – трехфазный; М – с естественным масленым охлажением;
И – для измерительных цепей 10 – класс напряжения; 66 – год разработки;

Тр-ры напряжения можно не проверять, т.к. недостаточно данных для проверки в этой курсовом проекте(для упрощения).
7) Выбор разрядников на шины ГПП
По номинальному напряжению Uном =35 кВ по [10], выбираем разрядники на ВН ГПП.
РТВ-35- 2/10 У1
Р - разрядник;
Т – трубчатый;
В – венилпластовый;
35 - номинальное напряжение, кВ;
2 – нижний предел тока отключения;
10 – верхний предел тока отключения;
У1 – климатическое исполнение.
Разрядник можно не проверять.
8)Определение наименьшего допустимого сечения жил кабелей линии Л4 и Л9 по условию термической стойкости
Чтобы удостовериться в надежности кабелей проверим их по минимально допустимому сечению, гарантирующего термическую стойкость этих кабелей.
Л4 - Л7 :
Выбранное сечение Л4
, Л7
: S=120мм2
, Л5
, Л6
: S=95мм2
. Согласно [7] для кабелей с алюминиевыми однопроволочными жилами с бумажной изоляцией на 10 кВ
.
Проверка:

Л8 и Л9 :
Выбранное сечение S=95мм2
, согласно [7] для кабелей с медными однопроволочными жилами с бумажной изоляцией на 10 кВ ![]()
Проверка

Делаем вывод, что кабеля удовлетворяют требованиям по термической стойкости.
6. Выбор компенсирующего устройства
В условиях дефицита энергетических ресурсов, роста стоимости электроэнергии, значительного роста и развития производства и инфраструктуры городов актуальна проблема энергосберегающих технологий транспортировки, потребления электроэнергии. Экономия электроэнергии на предприятиях зависит, прежде всего, от ее эффективного использования при работе отдельных промышленных систем и технологических установок. Такими стандартными системами и установками любых производственных процессов являются системы освещения, электродвигатели технологического оборудования, электронагревательные установки, сварочное оборудование, преобразователи, трансформаторы и др.
Большинство электрических установок наряду с активной мощностью (Р, кВт) потребляют и реактивную мощность (Q , кВАр) для обеспечения нормального режима работы. В отличие от активной энергии, которая преобразуется в полезные – механическую, тепловую и прочие энергии, реактивная энергия не связана с выполнением полезной работы, а расходуется на создание электромагнитных полей.
Реактивная мощность является фактором, снижающим качество электроэнергии, приводящим к таким отрицательным явлениям, как увеличение платы поставщику электроэнергии, дополнительные потери в проводниках, вследствие увеличения тока, завышения мощности трансформаторов и сечения кабелей, отклонение напряжения сети от номинала. Передача и потребление реактивной мощности сопровождается потерями активной мощности. Для электрической сети важно соблюдать баланс полной мощности (количество производимой электроэнергии должно соответствовать количеству потребляемой электроэнергии).
При этом необходимо обеспечивать баланс реактивной мощности как для системы в целом, так и для отдельных узлов питающей сети. Нарушение баланса реактивной мощности приводит к изменению уровня напряжения в сети, росту потерь.
Величиной, характеризующей потребляемую реактивную мощность, является коэффициент мощности.
Коэффициент мощности – это соотношение активной мощности (P, кВт) и полной мощности (S, кВАр), потребляемой электроприемником из сети. Технико – экономическое значение коэффициента мощности cos φ заключается в том, что от его значения зависят эффективность использования электрических установок и, следовательно, капитальные и эксплуатационные расходы.
Выбор конденсаторов:
По условию надо выбрать мощность КУ, так чтобы на первой секции шин РП-1 tg(φ)поддерживалось равным 0,36(согласно варианту).
→ cos(φ)=0,94
Находим исходный tg(φ): ![]()
Далее, исходя из этих данных, можем найти мощность КУ[5]:
![]()
α=0,9 – коэф. учитывающий возможность компенсации за счет мероприятий, не требующих применения КУ.
Определяем мощность конденсаторов на фазу:
![]()
Теперь, исходя из
и Uном
=10 кВ, для компенсации выбираем силовые косинусные конденсаторы [10]:
КЭП-10,5-50-2У1
К – назначение (для повышения коэффициента мощности);
Э – род пропитки (экологически безопасная синтетическая жидкость);
П – чистопленочный диэлектрик;
10,5 – номинальное напряжение, кВ;
50 – номинальная мощность, кВАр;
2 – количество изолированных выводов;
УХЛ1 – климатическое исполнение.
Определяем мощность БСК:
![]()
где n – количество конденсаторов на фазу = 5
Q1 – мощность одного конденсатора, кВАр = 50.
Проверяем по tanφ[5]:
![]()
![]()
Данное значение tg(φ) удовлетворяет заданным значениям, и максимально приближено к требуемому по заданию tg(φ), т.е. убеждаемся в правильности выбора.
Защита конденсаторной установки:
Согласно [3] необходимо предусмотреть следующие типы защит:
- защиту от токов к.з;
- защиту от повышения напряжения;
- защиту от перегрузки токами высших гармоник.
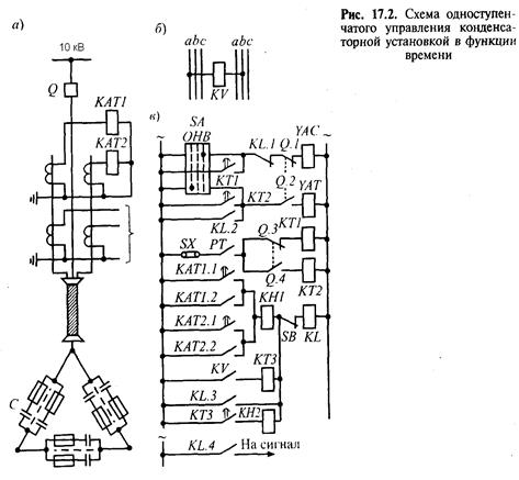
По [9] :На рис. 17.2, б показана схема защиты и одноступенчатого регулирования напряжения в функции времени конденсаторной установки высокого напряжения (рис. 17.2, а). Контакты электрических часов РТ, замыкаясь на
= 15 с, включают одно из двух реле времени КТ1 или КТ2 (в зависимости от положения выключателя Q и его вспомогательных контактов Q.3—Q.4). При отключенном выключателе работает реле КТ1 и после выдержки времени
= 9... 10 с контактом КТ1 воздействует на электромагнит YAC включения выключателя Q. После включения выключателя и переключения его вспомогательных контактов начинает работать реле времени КТ2, имеющее выдержку времени t2
= t1
. Сумма выдержек времени двух реле выбрана большей времени замкнутого состояния контактов РТ, поэтому реле времени КТ2 не успевает доработать и конденсаторная установка остается подключенной к шинам до момента очередного замыкания контактов РТ, приводящего к ее отключению. Конденсаторная установка имеет общую защиту от коротких замыканий и перегрузки. Защита выполнена посредством комбинированных реле КАТ1 и КАТ2 типа РТ-80. Для защиты от повышения напряжения использованы реле KV и КТЗ. При срабатывании защит промежуточное реле KL самоудерживается (контактом KL.3) и разрывает цепь включения выключателя (контактом KL.1). Самоудерживание снимается кнопочным выключателем SB. Источником переменного оперативного тока служит трансформатор собственных нужд подстанции с конденсаторной установкой.

защита от многофазных к.з. предусматривается для всей конденсаторной установки в целом. В сетях напряжением выше 1 кВ - плавкими предохранителями или двухфазной токовой отсечкой. Кроме того, предусматривается групповая защита батарей, из которых состоит установка. Групповая защита не требуется, если конденсаторы снабжены индивидуальной защитой.
Номинальный ток плавкой вставки предохранителя и ток срабатывания защиты выбирают с учетом отстройки от токов переходного процесса при включении конденсаторной установки и толчков тока при перенапряжениях по условию
номинальный ток конденсаторной установки или отдельных ее элементов (для групповой защиты и защиты секций);
= 2,0...2,5.
Большее значение коэффициента отстройки
принимают для плавких вставок.
Выбор трансформаторов тока защиты от токов короткого замыкания:
Ток проходящий по одной фазе КУ
, тогда ток проходящий по одному конденсатору ![]()
Исходя из этого тока, выбираем предохранитель на конденсатор
![]()
По [1] выбираемПС-10У1 [1]

В качестве защитного устройства выбираем 2 комбинированных реле типаРТ-80 [1].

Реле тока подключаются к вторичной защитной обмотке тр-ра тока, который выбирается по
и Uном
=10(кВ)
Выбираем трансформатор ТПЛ – 10
[5]
на 300 (А).=>
=300(A)
.
Ток срабатывания реле:
, где
КСХ – коэффициент схемы, зависящий от схемы соединения трансформатора тока;
КТТ – коэффициент трансформации трансформатора тока.
Ксх =1;
Ктт
=![]()
![]()
Чувствительность защиты считается достаточной при
> 2.

Защита от перегрузки
предусматривается в тех случаях, когда возможна перегрузка конденсаторов высшими гармоническими тока из-за непосредственной близости мощных выпрямительных установок. Защита выполняется общей для всей конденсаторной установки и действует на ее отключение с выдержкой времени порядка
= 9 с. Ток срабатывания защиты определяется условием

Тогда ток срабатывания реле
Защита от повышения напряжения
устанавливается, если при повышении напряжения к единичному конденсатору может быть длительно приложено напряжение более 1,1
. Защита выполняется одним максимальным реле напряжения и реле времени. Напряжение срабатывания определяется условием
= 1,1*
, а выдержка времени принимается равной tC
.3.
= 3...5 мин.
Для защиты от повышения напряжения выбираем реле напряжения типа
РН 53/200 [10].
![]()
И реле времени типаРеле времени 24V(DC)ST3PC-B ( 1- 6 min)[10]
Это реле выполнены на элементной базе, с аналоговой установкой временных интервалов.
Эти реле соединяются со вторичной обмоткой тр-ра напряжения
НТМИ-10-66 [5]
трансформатор силовой реактор ток заземляющий

Первичное напряжение срабатывания защиты от повышения напряжения
Напряжение срабатывания реле
Предусматривается автоматическое повторное включение конденсаторной установки после восстановления первоначального уровня напряжения, но не ранее чем через 5 мин после ее отключения.
7. Расчет и выбор уставок МТЗ и токовой отсечки для радиальной линии Л4
Для осуществления защит для кабельной линии Л4 используем микропроцессорное устройство защиты «Сириус – 2 – Л», исходя из
| Таблицы сравнения функций, выполняемых разными устройствами | |||||||
| Наименование параметра | Фирма – производитель и тип аппаратуры | Тех. требованияОАО Волжская ГЭС |
|||||
АВВ (СПАК 810) |
Шнейдер–Эл. (Сепам 1000+) |
Радиус(Сириус-2Л) |
ГОСАН(БИМ) |
Механотроника(МРЗД) |
Бреслер (ТЭМП) |
||
| 1. Функции защит и автоматики | |||||||
| МТЗ | 3 ступени | есть | 4 ступени | Во всех видах защит, кроме Р06 |
2 ступени | + | |
| Ускорение МТЗ | + | М.б. выполнена пользовательской логикой | + | Во всех видах защит, кроме Р06 |
есть | + | |
| Земляная з-та на высших гармониках | + | нет | + | Р01, Р06 | Есть |
- | |
| ОНМ | + | + | + | ? | Есть | - | |
| ЗОФ (по U2 ) | + | + | + | ? | ? | - | |
| УРОВ | + Контроль тока от отдельного реле |
+ Контроль тока от реле МТЗ |
+ Контроль тока от реле МТЗ |
Во всех видах защит, кроме Р06 |
+ Контроль тока от реле МТЗ |
+ | |
| Логическая селективность | + | + | + | ? | + | ||
| ЛЗШ | + | + | + | ? | Есть | + | |
| АВР | + | + | + | Р07,Р02 | + | ||
| Защита от однофазных к.з. на стороне 0,4кВ | (+) - по заказу | (+) - по заказу | - | ? | ? | + | |
| ОМП | + | нет | + | ? | ? | + | |
, т.е. выбираю «Сириус – 2 - Л» т.к. он способен осуществить функции, требующие в задание, а также дополнительные функции:
- Трехступенчатая максимальная токовая защита (МТЗ) от междуфазных повреждений с контролем двух или трех фазных токов.
- Автоматический ввод ускорения любых ступеней МТЗ при любом включении выключателя.
- Защита от обрыва фазы питающего фидера (ЗОФ).
- Защита от однофазных замыканий на землю (ОЗЗ) по сумме высших гармоник.
- Защита от однофазных замыканий на землю по току основной частоты.
- Выдача сигнала пуска МТЗ для организации логической защиты шин.
Функции автоматики, выполняемые устройством:
- Операции отключения и включения выключателя по внешним командам. За-щита «от прыгания» выключателя.
- Возможность подключения внешних защит, например, дуговой, или от одно-фазных замыканий на землю.
- Формирование сигнала УРОВ при отказах своего выключателя.
- Одно- или двукратное АПВ.
- Исполнение внешних сигналов АЧР и ЧАПВ.
Дополнительные сервисные функции:
- Определение места повреждения при срабатывании МТЗ.
- Фиксация токов в момент аварии.
- Дополнительная ступень МТЗ-4 для реализации «адресного» отключения или сигнализации длительных перегрузок.
- Измерение времени срабатывания защиты и отключения выключателя.
- Встроенные часы-календарь.
- Измерение текущих фазных токов.
- Дополнительные реле и светодиоды с функцией, заданной пользователем.
- Цифровой осциллограф.
- Регистратор событий.
Максимально-токовая защита.
Для МТЗ требуется рассчитать и выбирать две уставки:
1. Уставка по току. Её необходимо рассчитывать и выбирать с учетом следующих четырех требований:
· Защита не должна срабатывать при максимальном токе нагрузки, т.е.
· Защита должна надежно срабатывать при КЗ в любой точке защищаемого участка, при чем согласно ПУЭ Кч ≥1,5
· Защита должна срабатывать также при КЗ на соседнем участке сети, при этом Кч ≥1,2. В этом случае защита работает как резервная.
· Если за время отсчета выдержки времени аварийное повреждение устранится, то все сработавшие пусковые органы защиты должны надежно возвращаться в исходное состояние, при чем если предусмотрен режим самозапуска двигателей, то это учитывается коэффициентом запаса – Кз =(1,5-3,0), т.е.
![]()
С учетом необходимой надежности:
![]()
Кн =1,1-1,3 – коэффициент надежности
Находим максимальное значение рабочего тока защищаемой линии, исходя из максимальной допустимой перегрузки для кабелей (согласно [3] она составляет 15%):
![]()
Находим ток срабатывания защиты:
![]()
где КН – коэффициент надежности, для цифровых реле – 1,1;.
Ксз.н - коэффициент самозапуска, учитывающий возможность увеличения тока в защищаемой линии, вследствие самозапуска электродвигателей при восстановлении напряжения после отключения КЗ, при отсутствии двигателей принимаем 1,1;.
КВ – коэффициент возврата, для цифровых реле 0,96.
Находим ток срабатывания реле МТЗ:
,
где: КСХ – коэффициент схемы, для полной и неполной «звезды» КСХ =1;
КТТ - коэффициент трансформации тр-ра тока выбранного на Л4.
Проверим уставки с помощью коэффициента чувствительности:

Чувствительность защиты считаем достаточной.
Выдержку времени выбираем прежде всего с учетом необходимости селективности. Так как, ранее, мы уже выбирали приведенное время КЗ с учетом селективности, то соглашаемся с этим значением.
Т.е. ![]()
Для выбора определенной защитной характеристики (выбранный тип времятоковой х-ки – инверсная) определим:
1. Кратность тока:
![]()
2. Принимая для выбранного типа коэффициенты, задающие крутизну зависимых времятоковых характеристик равными α=0,02 и β=0,14, находим «временной» коэффициент:
![]()
Токовая отсечка .
Токовая отсечка – это МТЗ быстрого действия, которая работает без выдержки времени или с незначительной выдержкой (0,3-0,6с).
Токовая отсечка применяется для ускорения отключения поврежденных линий и других электроустановок при КЗ в зоне действия токовой отсечки. Обычно токовую отсечку отстраивают от КЗ на вторичной стороне трансформатора, от пусковых токов двигателей, от токов КЗ на соседних участках.
Определяем ток срабатывания защиты:
![]()
где КН – коэффициент надежности, для цифровых реле 1,1-1,15 (без задержки времени);
- ток КЗ в конце защищаемой линии.
Находим ток срабатывания реле ТО:
![]()
где КСХ – коэффициент схемы;
КТТ - коэффициент трансформации тр-ра тока выбранного на Л4 ;
Проверим уставки с помощью коэффициента чувствительности:

Отсюда видим, что токовая отсечка не проходит по чувствительности, т.е. её применение на этом участке не целесообразно.
Автоматическое повторное включение.
- Устройство имеет функцию однократного или двукратного автоматического повторного включения (АПВ). Наличие АПВ, а также количество циклов задается уставкой. Также уставками определяется время выдержки первого и второго циклов.
- Время восстановления АПВ составляет 120 с (2 минуты). В случае аварийно-го отключения в первые 30 с после включения выключателя линии функция АПВ будет заблокирована (блокировка АПВ при опробовании).
- АПВ может быть дополнительно заблокировано с помощью тумблера «АПВ» на передней панели устройства, а также по внешнему сигналу. Блокировка внешним сигна-лом возможна «по уровню» (только при наличии сигнала) или «по фронту» (даже после снятия сигнала). Вид блокировки определяется уставкой «Фикс. блок. АПВ».
- При выключенной уставке «АПВ» светодиод «Блокировка АПВ» автомати-чески выключается.
- С помощью соответствующих уставок можно разрешить или заблокировать пуск АПВ при срабатывании отдельных видов или ступеней защиты, включая несанкциони-рованное (самопроизвольное) отключение. АПВ блокируется при отключении от дуговой защиты, от газовой защиты, от МТЗ-4, а также при пуске УРОВ.
Защита от однофазных замыканий на землю (ОЗЗ).
- Защита от ОЗЗ реализована по сумме токов высших гармоник - 3-й, 5-й и 7-й. При этом данные частоты выделяются цифровым фильтром. Подавление сигнала основной частоты 50 Гц при этом полное. Данная ступень защиты может быть отключена уставкой.
- Отдельно задается защита от ОЗЗ по току первой гармоники - 50 Гц, определяя как сам факт учета наличия тока основной частоты, так и его пороговое значение.
- Защита от ОЗЗ от обоих каналов объединяется по ИЛИ и имеет одноступенчатую независимую характеристику с одной выдержкой времени.
- Значения токов срабатывания задаются во вторичных значениях тока, непосредственно поступающего на входные клеммы устройства. При расчете уставки следует учитывать коэффициент трансформации ТТНП, стоящего на фидере, обычно равный 25:1 (для ТТНП типа ТЗЛ, ТЗЛМ).
Параметры защиты от ОЗЗ на высших гармониках приведены в табл.
Таблица
| Значение |
Наименование параметра
0,005 - 0,500 0,001 0,05 - 99,00 0,01 ±25 ±3 0,95 - 0,92 |
1 Диапазон уставок по току 3 I 0 высших гармоник (во вторичных значе-ниях), А:
2 Дискретность уставок по току 3 I 0 высших гармоник, А:
3 Диапазон уставок по времени, с
4 Дискретность уставок по времени, с
5 Основная погрешность, от уставок, %
по току 3 I 0 высших гармоник по времени
6 Коэффициент возврата
- Защита от ОЗЗ может выполняться на отключение или на сигнализацию в зависимости от уставки.
- Значения тока срабатывания по высшим гармоникам задаются во вторичных значениях тока 3 I 0 . При расчете уставки следует иметь в виду, что значение тока суммы высших гармоник при однофазном замыкании на землю составляет примерно 5% от тока первой гармоники, который появился бы в данной сети при отсутствии компенсации.
8. Расчет заземляющего устройства
Т.к заземление делаем общим для обоих сторон, то согласно [3] сопротивление заземления не должно превышать 4 Ом, поэтому в качестве расчетного принимаем
.
Т.к.
,[6] то необходимо сооружение искусственного заземлителя, сопротивление которого должно быть:
В качестве вертикального заземлителя берем угловую сталь №60 [7] с длиной 3 м, а в качестве горизонтального(соединительного) – стальную полосу (40*6мм). Сопротивление грунта в месте сооружения заземлителя с учетом сезонного коэффициента:
.
Сопротивление одиночного заземлителя :
где
-длина уголка;
- глубина заложения;
м;
Определяем примерное число вертикальных заземлителей:
принимаем ![]()
Определяем сопротивление растеканию горизонтальных электродов
(полос 40х6 мм), приваренных к верхним концам уголков, по формуле:
- длина полосы;
(м) – глубина заложения полосы.
Уточняем сопротивление вертикальных электродов
![]()
Уточненное число вертикальных электродов определяют при коэффициенте использования ![]()
![]()
Окончательно принимаем 92 уголка.
Для сооружения заземлителя используем угловые стали диаметром 57 мм, в качестве вертикальных заземлителей, для их соединения используем полосовую сталь 40
6 мм. Сделаем заземлитель, в виду высокого удельного сопротивления грунта, в виде ячейки 33
33 м с внутренней ячейкой 6
6 (для уравнивания потенциалов на площади КТП) разместив по периметру 92 вертикальных электродов.![]()
Чертеж заземляющего устройства:

Вывод
В этой курсовой работе я получил неоценимые знания в области разработки, конструирования и внедрения новых технологий в системы электроснабжения горного предприятия, которые так важны студентам нашей специальности. Рассмотрел такие важные вопросы в электроснабжение как выбор силовых трансформаторов для ГПП и схемы электрических соединений двухтрансформаторной ГПП горного предприятия, выбор и проверка оборудования, выбор компенсирующего устройства и его защиты, и многое другое. Мой кругозор расширился, т.к. курсовая работа была очень трудоемкой и в ней приходилось прорабатывать очень много литературы и справочников, а также пользоваться другим, более популярными на сегодняшний день, источником информации (Интернет).
Список литературы
1. Герасимов В.Г. Электротехнический справочник, том 2, 2003 г.
2. Алиев И.И. Справочник по электротехнике и электрооборудованию, 2003 г.
3. ПУЭ, 6 издание, 2001 г.
4. Щуцкий В.И. Электрификация подземных горных работ, 1986
5. Плащанский Л.А. Основы электроснабжения горных предприятий, справочник, 2005
6. Плащанский Л.А. Основы электроснабжения горных предприятий, Учебник, 2005
7. Кудрин Б.И. Электроснабжение промышленных предприятий, 2005 г.
8. Правила безопасности в угольных шахтах (ПБ 05-618-03).
9. Андреев В.А. Релейная защита и автоматика систем электроснабжения, 2006 г.
10. http://www.yandex.ru
11. Князевский Б.А., Липкин Б.Н.. Электроснабжение промышленных предприятий;
12. Журнал «Энергетик», 2007, №8.
13. Долин П.А. Основы техники безопасности в электроустановках, 1984 г.
14. Справочник по проектированию электроснабжения/ Под ред. Ю.Г. Барыбина и др.; М.:Энергоатомиздат,1990.
ПРИЛОЖЕНИЕ
СПЕЦИФИКАЦИЯ ЭЛЕМЕНТОВ СХЕМЫ
| № | Оборудования | Количество |
| 1 | ТДНС – 16000/35 | 2 |
| 2 | РБС – 10 – 2*630 – 0.25 | 2 |
| 3 | РДЗ – 2 – 35.IV/400 УХЛ1 | 2 |
| 4 | РРЗ – 35/1000 НУХЛ | 4 |
| 5 | ОДЗ -35/630 У1 | 2 |
| 6 | КРН 35У1 | 2 |
| 7 | РТВ – 35 – 2/10 У1 | 2 |
| 8 | ТФЗМ – 35А | 2 |
| 9 | ТЛ - 10 | 13 |
| 10 | ТПЛ - 10 | 1 |
| 11 | BB/TEL – 10 – 12.5/630 У2 | 23 |
| 12 | ОПН – 10УХЛ1 | 10 |
| 13 | НТМИ – 10 - 66 | 10 |
| 14 | ПС – 10У1 | 10 |
| 15 | ЗН - 10 | 15 |
| 16 | КТП – 400У1 | 1 |
| 17 | КЭП – 10.5 – 50 – 2У1 | 15 |
Похожие рефераты:
Реконструкция системы электроснабжения жилого микрорайона города
Электроснабжение 8-го микрорайона города Оренбурга
Проект новой подстанции для обеспечения электроэнергией нефтеперерабатывающего завода
Реконструкция подстанции "Гежская" 110/6 кВ
Электроснабжение текстильного комбината
Реконструкция электроснабжения колхоза "Прогресс"
Разработка вопросов энергосбережения за счет использования ветроэнергетической установки
Модернизация релейной защиты на тяговой подстанции Улан-Удэ на базе микропроцессорной техники
Расчёт электрооборудования и сетей при организации горных разработок в карьере
Проектирование систем электроснабжения сельскохозяйственного назначения