| Похожие рефераты | Скачать .docx |
Дипломная работа: Ремонт та технічне обслуговування карбюратора "Solex"
ЗМІСТ
ВСТУП
1 Призначення карбюратора
2 Будова карбюратора
3 Додаткові системи та пристрої карбюратора
4 Принцип роботи карбюратора
5 Технічне обслуговування карбюратора
6 Діагностіка несправності і ремонт карбюратора
7 Матеріали та інструменти
8 Правила безпеки праці
ВИСНОВКИ
СПИСОК ВІКОРИСТАНИХ ДЖЕРЕЛ
ВСТУП
Карбюратори ДААЗ серії 2108 виробляються на Дімітровградському автоагрегатному заводі з середини восьмидесятих років, одночасно з випуском на автозаводі Волжському передньопривідних автомобілів ВАЗ-2108. Ці карбюратори випускаються у нас на основі ліцензії фірми «SOLEX».
Карбюратори ДААЗ-2108 по своїй компоновці і конструкції істотно відрізняються від карбюраторів ДААЗ колишніх випусків, таких як «Вебер» і «Озон». Одній з причин, що зажадали вживання карбюраторів «Солекс» на автомобілях ВАЗ-2108 є неможливість розташування карбюраторів ДААЗ, що раніше випускалися, на поперечний встановленому двигуні поплавцевою камерою вперед, по напряму руху. Це необхідно для виключення переобеднения складу суміші при різких поворотах автомобіля, русі на крутий підйом, а також при максимальному прискоренні. На відміну від цього, незвичайна для інших вітчизняних карбюраторів компоновка ДААЗ-2108 з двосекційною поплавцевою камерою дозволяє встановлювати його як на передньопривідних, з поперечним або подовжнім розташуванням двигуна автомобілях (ВАЗ-2108, 2109, АЗЛК-21412, ЗАЗ-1102),так і на автомобілях класичної компоновки (ВАЗ-2104, 2105, 2121).
Останнімі роками на вітчизняному ринку з'явилися автомобілі ВАЗ в так званій «експортній» комплектації, з нейтралізатором відпрацьованих газів в системі випуску і адсорбером (поглиначем випарів палива). Такі автомобілі обладналися незвичним для вітчизняного споживача варіантом карбюраторів модифікації 62 з автоматичним пусковим пристроєм і, найголовніше, з електронною системою управління складом горючої суміші, що готується карбюратором, необхідної для роботи встановленого на автомобілі нейтралізатора відпрацьованих газів. Існують також варіанти карбюраторів 21083 модифікацій "31" і "35" обладнаних автоматичним пусковим пристроєм і що не мають системи електронного управління складом суміші. На автомобілях з такими карбюраторами нейтралізатор відпрацьованих газів відсутній. Такі карбюратори, не дивлячись на складність, що здається і зовнішні відмінності, що впадають в очі, від звичних моделей «Солексов», мають багато взаємозамінних з ними деталей і багато в чому однакову конструкцію, що визначає схожі прийоми технічного обслуговування і ремонту. Тому навіть тим читачам, кого цікавлять перш за все саме ці нові карбюратори, незайве уважно вивчити ті, що буде сказане тут про «класичні» моделі карбюраторів 2108.
1 Призначення карбюратора
Карбюратори 2108, як і будь-які інші карбюратори є приладами для точного дозування палива в потоці повітря, утворення з палива і повітря горючої суміші і регулювання її подачі в циліндри двигуна. Карбюратори мають два розташованих поруч вертикальних каналу для проходу повітря, в нижній частині шкіряного з яких встановлена поворотна дросельна заслінка. Кожен з каналів називають камерою карбюратора.
Оськільки таких каналів-камер два, а привід дросельних заслінок влаштований так, що в міру натиснення на педаль акселератора спочатку відкривається одна, а потім інша заслінка, карбюратори цього типа називають двокамерними, з послідовним включенням камер. Камера, в якій дросельна заслінка відкривається раніше іншої, називається первинною інша - вторинною. В середній частині шкіряного з головних повітряних каналів є конусоподібні звуження - дифузори, за допомогою яких створюється розрідження, необхідне для підсосу палива з тієї, що знаходиться в корпусі карбюратора спеціальної ємкості, - поплавцевої камери.
Необхідній для нормальної роботи карбюратора рівень палива в поплавцевій камері підтримується постійним (точніше, майже постійним, про що мова ні ж) за допомогою механізму з поплавцем і замковою голкою. Карбюратор складається з двох основних частин: верхньою - кришки корпусу з фланцем і шпильками кріплення повітряного фільтру і паливними штуцерами; нижней - корпусу, в якому розміщені дифузори, поплавцева але міра, дросельні заслінки з механізмом їх приводу.
2 Будова карбюратора
Крішка кріпиться до корпусу п'ятьма гвинтами через тонку картонну про кладку. В карбюраторі базового виконання є наступні системи, пристрої і механізми: поплавцевий механізм; топливодозирующие системи первинної і вторинної камер в тому числі:
а) головні дозуючі системи первинної і вторинної камер;
б) система неодруженого ходу;
в) перехідна система вторинної камери;
г) эконостат;
д) економайзер з пневматичним управлінням;
е) прискорювальний насос; пусковий пристрій; клапан відключення топливоподачи на режимі примусового неодруженого ходу (система ЕПХХ); система примусової вентиляції картера; механізм управління дросельними заслінками. Поплавцевій механізм (рис.1) служити для підтримки постійного рівня палива в поплавцевій камері, необхідного для нормальної роботи карбюратора. Рівень палива автоматичний встановлюється за рахунок зміни прохідного перетину отвору клапана, що перекривається замочною голкою з демпфуючою підпружиненою кулькою на хвостовику, переміщуваною язичком кронштейна-тримача пластмасових поплавців. Колі палива в камері мало, поплавці опускаються вниз і язичок звільняє голку, відкриваючи перетин замкового клапана і, забезпечуючи вступ більшої кількості палива.
В міру заповнення камери поплавці піднімаються вгору, язичок переміщає голку в напрямі сідла і перекриває подачу палива. Одночасно із зміною витрати палива через замочний клапан поплавцевої камери автоматичний (за рахунок особливої конструкції приводу) змінюється подача палива з боку насоса, що виключає надмірне підвищення тиску палива на вході в карбюратор. Строго кажучи, рівень палива в поплавцевій камері не зберігається постійним при різних режимах роботи двигуна: на неодруженому ходу він максимальний і зменшується на декілька міліметрів на повній потужності двигуна, коли для забезпечення більшої витрати палива замочна голка з поплавцем повинна зміститися вниз, збільшуючи прохідний перетин в замкового конуса голки, що можливо лише при пониженні рівня палива. Це не робить жодного негативного впливу на роботові карбюратора, оскільки враховано при підборі регулювань дозуючих систем.
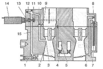
Загальна компоновка карбюратора:
1 - корпус; 2 - кришка; 3 - повітряна заслінка; 4 - вхідні повітряні канали; 5 - розпилювачі головних дозуючих систем; 6 - штуцер підведення палива; 7 - топливовозвратный штуцер; 8 - корпус замочної голки поплавцевого механізму; 9 - язичок кронштейна поплавців; 10 - кронштейн поплавців; 11 - поплавці; 12 - поплавцева камера; 13 - дросельні заслінки; 14 - дифузори; 15 - замочна голка; 16 - демпфуюча кулька замочної голки.
3 Додаткові системи та пристрої карбюратора
Головні дозуючі системи первинної і вторинної камер однакові по своїй конструкції. Сморід мають головні паливні жиклери, встановлені на різьбленні на дні вертикальних колодязів (званих емульсивними) між камерами карбюратора. У верхній частині емульсивних колодязів на різьбленні встановлені повітряні жиклери, об'єднані в блоки з емульсивними трубками - порожнистими циліндровими деталями з рядами радіальних отворів в стінках. В середній частині стінок шкіряного з емульсивних колодязів є поодинці отвору великого перетину, які каналами з'єднуються з вихідними отворами розпилювачів, розташованих усередині так званих малих дифузорів - знімних деталей, вставлених на пружних фіксаторах в середні частини великих дифузорів. Паліво до головних паливних жиклерів поступає із сполучного каналу 1 (малий. 2) під дном секцій 2, 11 поплавцевої камери, закритого зовні з двох сторін двома заглушками 3, 10, які видно між торцями осей заслінок.
Компоновка поплавцевої камери і розміщення паливних жиклерів головних дозуючих систем:
1 - сполучний канал між секціями поплавцевої камери; 2,11 - секції поплавцевої камери; 3,10 - заглушки; 4,9 - топливозаборные відчини; 5,8 - паливні жиклери головних дозуючих систем; 6,7 - повітряні жиклери емульсивних трубок.
Паліво з секцій поплавцевої камери в сполучний канал поступає через два відчини 4, 9, кромки яких трохи підведені над дном поплавцевої камери, аби зменшити попадання в них грязі. Під дією розрідження в зоні отворів розпилювачів паливо через головні паливні жиклери 5, 8 піднімається по емульсивних колодязях і доходити до рівня радіальних отворів в емульсивних трубках, після чого підхоплюється таким, що виходить з центральних частин трубок, пройшов через повітряні жиклери 6, 7 повітрям і, утворюючи паливну эмульсию/уносится після бічних каналів до отворів розпилювачів, де, нарешті, змішується з основним потоком повітря. Система неодруженого ходу (малий. 3) подає паливо (точніше, топливовоздушную емульсію, про що мова нижче) безпосередньо під дросельну заслінку первинної камери через канал, перетин якого, а, отже і кількість палива регулюється гвинтом 1 якості. Система неодруженого ходу має ще один вихідний отвір 2 - щілинне, розташоване в кромки закритої дросельної заслінки первинної камери і що сполучається з каналами системи до місця розташування гвинта якості. Система неодруженого ходу, подібно до головної дозуючої системи, має свій паливний 12 і повітря 10 жиклерів.

Система неодруженого ходу і перехідна система вторинної камери:
1 - гвинт регулювання складу суміші на неодруженому ходу; 2 - щілинний перехідний отвір; 3 - отвір забору повітря, що емульсує, в систему неодруженого ходу: 4 - головний паливний жиклер первинної камери; 5 - емульсивний колодязь головної дозуючої системи первинної камери; 6 - перехідний отвір вторинної камери; 7 - паливний жиклер перехідної системи вторинної камери; 8 - повітряний жиклер перехідної системи; 9 - проти-дренажний отвір; 10 - повітряний жиклер системи неодруженого ходу; 11 - отвір паливного жиклера неодруженого ходу; 12 - паливний жиклер системи неодруженого ходу; 13 - голка клапана з пластмасовим наконечником; 14 - електромагнітний клапан; 15 - емульсивний канал.
Далі, по похилому, а потім вертикальному каналах, закритих з торців технологічними заглушками 6 (малий. 6), повітря подається в зону змішення з паливом, тобто отвору для електромагнітного клапана.
Вигляд на корпус карбюратора зверху:
1 - отвір підведення топливовоздушной емульсії до каналів системи холостого ходу в корпусі карбюратора; 2 - отвір емульсивного колодязя головної дозуючої системи первинної камери; 3 - отвір корпусу розпилювачів прискорювального насоса зі всмоктуючим клапаном;
4 - глухий невживаний отвір в корпуси; 5 - канал підведення повітря в систему холостого ходу з простору дифузора первинної камери; 6 - топливозаборное отвір прискорювального насоса; 7 - лівий (по ходу руху) отвір сполучного каналу секцій поплавцевої камери; 8 - кільце ущільнювача;
9 - топливозаборный канал системи холостого ходу; 10 - отвір підведення топливовоздушной емульсії до каналів перехідної системи вторинної камери;
11 - отвір емульсивного колодязя головної дозуючої системи вторинної камери; 12 - правий (по ходу руху) отвір сполучного каналу секцій поплавцевої камери; 13 - контактний датчик закритого положення дросельної заслінки; 14 - отвір підведення розрідження до пускового пристрою; 15 - колодка електричного роз'єму датчика закритого положення дросельної заслінки; 16 - виїмка для підведення топливовоздушной емульсії з кришки в канали системи холостого ходу корпусу карбюратора.
Вигляд на кришку карбюратора знизу:
1 - штуцер перепускання палива; 2 - топливоподводящий штуцер;
3 - отвір підведення палива до паливного жиклера холостого ходу; 4 - повітряний жиклер холостого ходу; 5 - електромагнітний клапан на паливному жиклері холостого ходу; 6 - отвір підведення топливовоздушной емульсії до каналів системи холостого ходу в корпусі карбюратора; 7 - отвори підведення повітря до повітряних жиклерів головних дозуючих систем; 8 - отвір підведення розрідження до пускового пристрою; 9 - паливний жиклер перехідної системи вторинної камери з топли-возаборной трубкою; 10 - паливний жиклер эконостата з топливозаборной трубкою; 11 - розпилювач эконостата; 12 - отвір підведення топливовоздушной емульсії до каналів перехідної системи вторинної камери; 13 - пробка сітчастого фільтру; 14 - вісь тримача поплавців; 15 -тримач з поплавцями.

Вигляд карбюратора зверху:
1 - розпилювач эконостата; 2 - повітряний жиклер перехідної системи вторинної камери; 3 - заглушка каналу эконостата; 4,7 - отвори балансувань поплавцевої камери; 5 - отвори підведення повітря до головних повітряних жиклерів; 6 - заглушки каналів системи холос
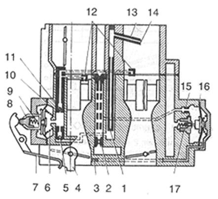
У корпусі карбюратора (мал. 4) виконані наступні канали системи холостого ходу: перш за все це вертикальний канал 5 подач повітря в систему із зони дифузора первинної камери до повітряного жиклера, що стикує з каналом 4 (мал. 5) в кришці, а також емульсивний канал 1, (мал. 4) що стикує з отвором 6 (мал. 5) в кришці і що починається виїмкою 16 (мал. 4) на верхній площині корпусу. Далі емульсія поступає спочатку по похилому «А» (мал. 8), а потім по вертикальному «Б» ділянкам каналу, що закінчується порожниною, закритою з торця заглушкою на нижньому фланці корпусу. У стінці порожнини виконаний щілинний перехідний отвір. З цієї порожнини виходить система каналів, закритих з торців заглушками «Д» під блоком підігрівання. Перетин один з цих сполучених послідовно каналів регулюється гвинтом регулювання складу суміші, розташованим в площині нижнього фланця в задній його частині справа по ходу автомобіля. Вихідний отвір системи холостого ходу розташований на вертикальній стінці виїмки 2 нижні фланці (мал. 7). Перехідна система вторинної камери (мал. 3) багато в чому схожа на систему холостого ходу, проте її паливний жиклер 7 харчується безпосередньо з поплавцевої камери.

Вигляд карбюратора знизу
1 - штуцер системи вентиляції картера; 2 - виїмка у вихідного отвору системи холостого ходу; 3 - отвір підведення розрідження до пускового пристрою; 4 - демпфуючий отвір підведення розрідження до пускового пристрою; 5 - демпфуючий отвір підведення розрідження до пневмоэкономайзеру; 6 - виїмка виведення газів картерів в задросельний простір.
Збірка карбюратора (вигляд зліва)
1 - діафрагма пускового пристрою; 2 - повітряні жиклери головних дозуючих систем на емульсивних трубках; 3 - гвинт регулювання складу суміші на неодруженому ходу; 4 - важіль приводу прискорювального насоса; 5 - вісь важеля прискорювального насоса; 6 - діафрагма прискорювального насоса; 7 - блок рідинного підігрівання вихідних каналів системи холостого ходу; 8 - штуцер системи вентиляції картера; 9 - вісь дросельної заслінки первинної камери; 10 - жиклер економайзера; 11 - діафрагма вакуумного економайзера; 12 - клапан економайзера; 13 - кільцеве ущільнення на топливозаборной трубці системи холостого ходу; 14 - електромагнітний клапан; 15 - топливоподводящий штуцер; 16 - топливоотводящий штуцер; 17 - пробка порожнини паливного фільтру; 18 - корпус голчаного клапана поплавцевої камери; 19 - тримач розпилювачів прискорювального насоса; 20 - малі дифузори; 21 - гвинт-упор важеля дросельної заслінки; 22 - вісь дросельної заслінки вторинної камери; 23 - наполегливий гвинт важеля дросельної заслінки; 24 - дріт датчика закритого положення дросельної заслінки; 25 - поплавці; 26 - важіль осі повітряної заслінки; 27 - шток діафрагмового механізму повітряної заслінки; 28 - повітряна заслінка; А, Би - похила і вертикальні частини каналу системи холостого ходу; Д - заглушки каналів.
У системі також є повітряний жиклер 8 і вихідний отвір 6 в кромки закритої дросельної заслінки вторинної камери, призначення і робота якого по суті аналогічні перехідному отвору системи холостого ходу. Паливо в перехідну систему (мал. 5) забирається з правої секції поплавцевої камери по трубці 9 з незнімним жиклером, запресованої в отворі кришки карбюратора. За системою каналів з трьома заглушками на торцях, паливо, змішуючись з тим, що поступає через встановлений зверху в кришці повітряний жиклер 2 (мал. 6) повітрям і утворюючи топливовоздушную емульсію, поступає до отвору 12 (мал. 5) в кришці. За системою каналів, що починається отвором 10 (мал. 4) в корпусі карбюратора, топливовоздушная емульсія поступає до перехідного отвору в кромки дросельної заслінки вторинної камери. Еконостат (мал. 10) є простою дозуючою системою лише з паливним жиклером 1 і окремим розпилювачем 2 у вигляді високий піднятої над дифузором вторинної камери трубки 3. Паливо в эконостат забирається безпосередньо з поплавцевої камери. Унаслідок розташування розпилювача эконостата поза дифузором, тобто в зоні низького розрідження, він починає подавати помітну кількість палива лише при великих витратах повітря через карбюратор, що відповідає роботі двигуна з високою частотою обертання і великим відкриттям дросельних заслінок. Канали эконостата цілком виконані в кришці карбюратора. Забір палива виробляється з правої секції поплавцевої камери по запресованій в кришку трубці 10 (мал. 5) з розміщеним в ній незнімним жиклером. Економайзер (мал. 10) є пневмомеханічним пристроєм, що підключає паралельно головному паливному жиклеру 2 первинних камери додаткова інший жиклер 15, внаслідок чого склад горючої суміші, що готується, збагачується в необхідних межах
Основний вузол економайзера - діафрагма, що підтискається пружиною, 16 з штовхальником, який давить на кульковий клапан 17 Порожнина над діафрагмою сполучена із задроссельным простором каналом, демпфуючим жиклером, що закінчується, 3, який служить для згладжування пульсації розрідження і розміщений у виїмці, що виходить до стінки первинної камери в краю привалочного фланця. На неодруженому ходу і при малих навантаженнях розрідження над діафрагмою велике; воно долає зусилля пружини, відводячи штовхальник від клапана. При повному навантаженні розрідження мале, пружина переміщає діафрагму і відкриває клапан, дозволяючи бензину поступати через жиклер економайзера безпосередньо в емульсивний колодязь головної дозуючої системи первинної камери, паралельно потоку палива через головний жиклер 2. Прискорювальний насос (мал. 10) - допоміжна механічна то-пливоподающая система карбюратора, що забезпечує примусову, не залежну від витрати повітря через дифузори подачу палива в період відкриття дросельних заслінок.
4 Принцип роботи карбюратора
Необхідність подачі додаткової кількості палива визначається зовсім не його «інерційністю» в каналах карбюратора при різкому розгоні, як це традиційно вказується в популярних виданнях, а зміною у цей момент умов смесеобразования у впускній системі, внаслідок чого до циліндрів в перші секунди після початку різкого відкриття дросельної заслінки доходить лише частина поданого карбюратором палива, тоді як інша осідає на стінках впускної системи. Прискорювальний насос компенсує цей ефект і забезпечує необхідний склад горючої суміші в циліндрах в перший же момент після початку розгону.
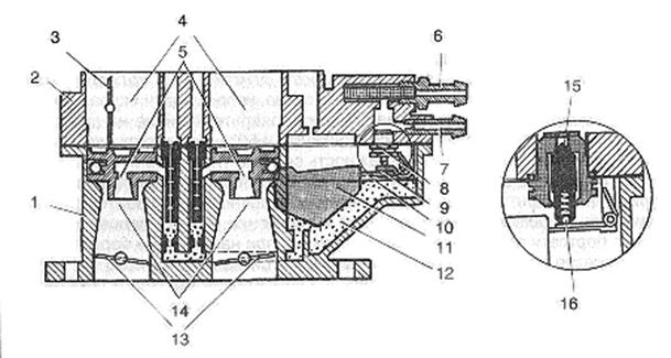
Еконостат, економайзер і прискорювальний насос:
1 - паливний жиклер эконостата; 2 - головний паливний жиклер первинної камери; 3 - демпфуючий жиклер; 4 - кулачок на осі дросельної заслінки первинної камери: 5 - всмоктуючий клапан прискорювального насоса; 6 - пружина ходу всмоктування; 7 - важіль приводу прискорювального насоса;
8 - голівка діафрагми; 9 - демпфуюча пружина; 10 - діафрагма прискорювального насоса; 11 - нагнітальний клапан прискорювального насоса; 12 - розпилювачі прискорювального насоса; 13 - трубка розпилювача;
14 - розпилювач эконостата; 15 - паливний жиклер економайзера; 16 - діафрагма економайзера; 17 - клапан економайзера.
За принципом дії прискорювальний насос майже не відрізняється від автомобільного паливного насоса. У нім є підпружинена діафрагма 10, зв'язана через важіль 7 з кулачком 4 на осі дросельної заслінки первинної камери і кульковий всмоктуючий клапан 5, вільно проникний паливо з поплавцевої камери в порожнину під діафрагмою при ході всмоктування (в період закриття дросельної заслінки) і що перешкоджає його виходу назад при ході нагнітання (в період відкриття дросельної заслінки). Крім того, є кульковий нагнітальний клапан 11, що перешкоджає підсосу повітря в порожнину насоса при ході всмоктування, і проникний паливо до розпилювачів 12 при ході нагнітання. Хід всмоктування відбувається за рахунок пружності пружини 6 діафрагм, а хід нагнітання - за рахунок силової дії важеля приводу на торець голівки 8 діафрагм. У голівці 8 діафрагм між підп'ятником, що контактує з важелем і тарілкою, встановлена жорстка пружина 9. При різкому відкритті дросельної заслінки, коли діафрагма прискорювального насоса, що утримується відносно паливом, що повільно видаляється, не може швидко переміститися на відстань, визначувану ходом важеля, пружина 9 стискується і потім, у міру видалення палива з порожнини насоса, повільно розпрямляється, забезпечуючи, по-перше, захист діафрагми від розриву великим тиском палива, і, по-друге, розтягання процесу уприскування на 1-2 с., що потрібний для забезпечення стійкої роботи двигуна.
Що подається прискорювальним насосом паливо поступає до двох розпилювачів - жиклерів на довгих трубках, виведених в обоє камери карбюратора і встановлених на тримачі 19 (мал. 9), в якому розміщений і кульковий нагнітальний клапан (про нього йшлося вище). Всмоктуючий клапан прискорювального насоса запресований в дно вертикального каналу 3 (мал. 4) під тримачем розпилювачів. Забір палива з поплавцевої камери здійснюється через отвір перехідне в горизонтальний канал з торцевою технологічною заглушкою в правого нижнього гвинта кріплення кришки прискорювального насоса, що сполучається у свою чергу з вертикальним каналом перед всмоктуючим клапаном. Тримач розпилювачів встановлюється в гнізді корпусу карбюратора, ущільнюється гумовим кільцем і фіксується лише кришкою карбюратора.
На карбюраторах 21073, що є по суті аналогами карбюраторів 2108, відрізняються в основному лише параметрами дозуючих систем, прискорювальний насос має єдиний розпилювач, який подає паливо лише в первинну камеру, тобто точно так, як і це робиться на карбюраторах "Озон" Пусковий пристрій (мал. 11) служить для приготування і дозирова-ния вельми збагаченої горючої суміші (у 10-20 разів багатшою, ніж зазвичай), необхідної для пуску холодного двигуна. Необхідне збагачення складу суміші в період пуску досягається за рахунок створення розрідження в розпилювача головної дозуючої системи первинної камери шляхом перекриття вхідної горловини карбюратора повітряною заслінкою 1, подібною дросельною. Одночасно трохи прочиняється дросельна заслінка 2, забезпечуючи задану подачу збагаченій горючій суміші. Відразу ж після пуску повітряна заслінка 1 автоматично прочиняється, чим запобігає зайве перезбагачення складу суміші в період прогрівання.
У міру прогрівання двигуна водій може зменшувати подачу горючій суміші, а також зменшувати міру її збагачення шляхом закриття дросельної і відкриття повітрям заслінок, утапливая манетку управління пусковим пристроєм. Необхідні взаємозв'язані переміщення заслінок в період пуску і прогрівання забезпечуються профільованим у вигляді кулачка важелем 6 управлінь пусковим пристроєм, а також діафрагмовим механізмом 20, керованим розрідженням за дросельною заслінкою. Переміщення дросельної заслінки визначається, по-перше, водієм, що задається, через трос 7 кутом повороту, по-друге формою зовнішнього профілю важеля 6 управлінь пусковим пристроєм, і, в третіх, положенням регулювального наполегливого гвинта 8 на важелі 9, пов'язаним з віссю дросельної заслінки 12.
При вимкненому пусковому пристрої, коли профільований важіль зафіксований таким, що увійшов до його спеціального отвору 23 підпружиненою кулькою, що знаходиться в циліндровому отворі корпусу карбюратора, верхня кромка паза 2, впливаючи на штифт 4 і важіль 5, примусово встановлює повітряну заслінку у відкрите (вертикальне) положення, не дивлячись на протидію поворотної пружини розтягування 3, прагнучою через важіль 5 закрити її. У міру витягування манетки управління пусковим пристроєм і повороту профільованого важеля, верхня кром но паза 2, ковзаючи по штифту 4, звільняє його, і повітряна заслінка під дією пружини 3 закривається. В разі забруднення і заклинювання осі повітряної заслінки, зусилля пружини 3 виявляється недостатньо для її закриття. В цьому випадку з штифтом 4 починає контактувати нижня кромка 24 пази і закриття заслінки (правда, неповне) відбувається примусово. При непрацюючому двигуні або на початку прокручування колінчастого валу стартером, розрідження в порожнині діафрагмового механізму відсутнє, Г-подібний шток 22 під дією пружини 19 діафрагм висунуть з корпусу і не робить впливу на положення закритої під дією пружини 3 повітряних заслінки. При перших же спалахах частота обертання колінчастого валу збільшується, розрідження за дросельною заслінкою і в діафрагмовій порожнині підвищується і досягає значення, вище за яке передаване від діафрагми 20 зусилля на шток перевищує зусилля пружини, внаслідок чого повітряна заслінка прочиняється. Величина прочинена повітряної заслінки після пуску при повністю витягнутою манетке управління пусковим пристроєм визначається положення мрегулировочного гвинта 19 з контргайкою 18, розташованого в кришці 17 діафрагмового механізму і штока, що обмежує хід, 22 під дією розрідження.
Економайзер примусового холостого ходу (ЕПХХ) призначений для зменшення викиду токсичних речовин з відпрацьованими газами, а також для зниження витрати палива. На режимі гальмування автомобіля двигуном (тобто при русі за інерцією з включеною передачею і відпущеною педаллю управління карбюратором), званому також змусь тільним холостим ходом (ПХХ), умови згорання робочої суміші в циліндрах різко погіршуються, у відпрацьованих газах зростає вміст продуктів неповного згорання - в основному оксиду вуглецю (З) і вуглеводнів (СН), непродуктивно витрачається паливо. Відключення топливоподачи через систему холостого ходу на режимі ПХХ дозволяє вирішити обоє ці проблеми.
Відключення топливоподачи на ПХХ виробляється за допомогою встановленого в кришці карбюратора електромагнітного клапана на паливному жиклері холостого ходу. Подачею струму в обмотку електромагнітного клапана управляє нескладний за сучасними мірками електронний пристрій - блок управління, сполучений в електричний ланцюг з клапаном, джерелом живлення, котушкою запалення, датчиком положення дросельної заслінки на карбюраторі, а також «масою» автомобіля. Імпульси струму від котушки запалення 1 (мал. 12) дають інформацію про частоту обертання, а датчик положення дросельної заслінки, що є контактом 3 на наполегливому гвинті 4 дросельних заслінки, механічно замикається на «масу» при повністю закритій заслінці, сигналізує про перехід карбюратора в режим холостого ходу. Режим примусового холостого ходу, при якому обмотка електромагнітного клапана 5 знеструмлюється і подача палива через систему холостого ходу припиняється, настає, коли блок управління 2 реєструє одночасну наявність двох чинників: підвищена частота обертання колінчастого валу (більше 2000 мин"1) і закрита дросельна заслінка. Режим ПХХ припиняється і подача палива поновлюється, якщо водій: не натискуючи на педаль управління дросельною заслінкою зменшить швидкість руху, вимкне зчеплення або, включивши нейтраль, перейде на холостий хід (спрацює відключення режиму ПХХ по частоті обертання); натискуватиме на педаль управління дросельними заслінками і продовжить рух з високою частотою обертання (станеться відключення режиму ПХХ по положенню дросельної заслінки).
Для підвищення стійкості роботи двигуна, виключення ривків, відключення топливоподачи відбувається при одній частоті обертання (близько 2000 мин), а включення - при іншій, на 150-200 мин-' меншою. Знеструмлення електромагнітного клапана відбувається також і при виключенні запалення, чим унеможливлюється виникнення роботи двигуна з самозайманням. Для того, щоб не допускати викиду в атмосферу вельми токсичних (більш ніж в десятки разів в порівнянні з відпрацьованими) газів картерів, на сучасних двигунах застосовується система примусової вентиляції картера. Для цього гази картерів подаються під дією розрідження в порожнину повітряного фільтру після елементу, що фільтрує, і, змішуючись з повітрям, поступають в циліндри. Проте на режимах малих навантажень розрідження в повітряному фільтрі невелике, і така система не забезпечує задовільного видалення газів картерів.

Схема підключення ЕПХХ
1 - котушка запалення; 2 - блок управління ЕПХХ; 3 - ізольований наконечник гвинта кількості; 4 - гвинт кількості; 5 - електромагнітний клапан
Для підвищення ефективності роботи системи вентиляції картера її доповнюють так званою малою гілкою, що сполучає штуцер відведення газів від двигуна із задроссельным простором. Перетин цього додаткового каналу не перевищує 2-3 мм в діаметрі.
Штуцер 1 (мал. 7) для приєднання малої гілки системи вентиляції картера розташований на карбюраторі в його нижній частині, в зоні дросельної заслінки первинної камери під прискорювальним насосом. Далі гази поступають по каналу у виїмку 6 на нижньому фланці і виходять безпосередньо в задроссельное простір під дросельною заслінкою первинної камери. Привід дросельних заслінок служить для управління кількістю горючої суміші, що поступає в двигун, а, отже і зміни його потужності. Для цього є дві поворотні дросельні заслінки: первинна, зв'язана безпосередньо через ручьевой сектор і трос з педаллю «газу» в салоні і вторинна, така, що відкривається через привід важеля на останній третині повного ходу педалі. Вторинна дросельна заслінка, що відкривається за допомогою спеціального проміжного важеля 11, (мал. 11) що зв'язує осі двох заслінок, блокується в закритому положенні незалежно від величини ходу педалі управління карбюратором при витягнутій манетке управління пусковим пристроєм. Це досягається наявністю в механізмі приводу додаткового важеля 15 блокувань, що виконує роль клямки і покращує роботу непрогрітого двигуна під навантаженням. При непрацюючому пусковому пристрої важіль 15 повернений проти годинникової стрілки за рахунок дії пружини і при повороті осі первинної заслінки на 2/3 повного кута відкриття його вусик 14 входить в контакт з виступом 13 важеля заслінки, забезпечуючи поворот проміжного важеля 11 і відкриття заслінки 10 вторинної камери. При витягуванні манетки управління пусковим пристроєм на штифт 16 важеля 15 блокувань впливає поворотний важіль-кулачок 6, і підводить його вусик 14, виводячи із зони можливого зачеплення з виступом 13 важеля на осі первинної заслінки, і, перешкоджаючи тим самим відкриттю дросельної заслінки вторинної камери.
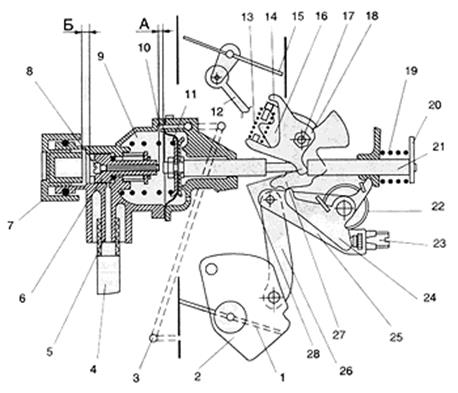
Пусковий пристрій і механізм блокування заслінки вторинної камери
1 - повітряна заслінка;2, 23 - відповідно верхня і нижні частини профільованого вирізу важеля;3 - пружина;4 - штифт;5 - важіль осі повітряної заслінки;6 - кулачок;7 - трос управління пусковим пристроєм;8 - гвинт регулювання величини прочинена дросельної заслінки в період пуску;9 - важіль на осі дросельної заслінки первинної камери;10 - дросельна заслінка вторинної камери;11 - проміжний важіль;12 - дросельна заслінка первинної камери;13 - виступ важеля осі дросельної заслінки первинної камери;14 - вусик блокуючого важеля;15 - важіль блокування;16 - штифт блокуючого важеля;17 - кришка;18 - контргайка;19 - гвинт-упор;20 - діафрагма; 21 - корпус діафрагмового механізму пускового пристрою;22 - шток; 23 - фіксатор.
При низькихтемпера турах двигун вимагає значного збагачення складу горючої суміші, тобто більшого прикриття повітряної заслінки, чим на вищих температурах, коли повітряну заслінку можна прочинити більшою мірою, обіднивши склад суміші, і, зменшивши тим самим вміст у відпрацьованих газах оксиду вуглецю на режимі прогрівання. До речі, саме так і поступають дослідні водії на карбюраторах з ручним управлінням повітряною заслінкою, поступово утапливая кнопку «підсос» у міру прогрівання двигуна. Механізм двоступінчатого приоткрытия повітряної заслінки на карбюраторах 2108 модифікацій "35" "62" (мал. 22) має вакуумну камеру 9 з діафрагмою 11 і закріпленою на ній гайкою штоком 21. Розрідження у вакуумну камеру по каналу 3 подається із задроссельного простору карбюратора через вхідний отвір 3 (рис.7) і далі по системі каналів в корпусі карбюратора через отвір 10 (мал. 22) у фланці кріплення корпусу пускового пристрою.
Під кришкою вакуумної камери є поворотна пружина, що переміщає шток 21 за відсутності розрідження управо. У корпусі кришки є підпружинений плунжер 6 з перепускним клапаном, що відкривається при зіткненні і натисненні на нього тарілки діафрагми і повідомляє при цьому порожнину 9 діафрагмового механізму пускового пристрою з штуцером 5 на кришці. Момент натиснення тарілки діафрагми на плунжер перепускного клапана кришки може змінюватися за допомогою регулювального гвинта 8, що змінює величину выступания його кінця в порожнину діафрагмового механізму. Пластмасовий різьбовий гвинт-пробка 7 на кришці діафрагмового механізму пускового пристрою має кільцеве гумове ущільнення і є механічним упором для плунжера 6 кришок, який обмежує максимально можливий хід діафрагми 11 і штока 21 вліво. Штуцер 5 на кришці пускового пристрою з'єднується гумовим шлангом з буферною ємкістю 5 (мал. 15), розміщуваною в моторному відсіку і такою, що є пластмасовим циліндром з двома штуцерами. Другий штуцер буферної ємкості з'єднується з термоклапаном 4, розміщеним в стінці повітряного фільтру. Термоклапан має два штуцери, один з яких з'єднується шлангом з штуцером буферної ємкості, а інший вільно сполучається з атмосферою. При температурі повітря нижче 10°С термоклапан 4 відкритий і штуцер на кришці пускового пристрою 3 через буферну ємкість 5 вільно сполучається з атмосферою. При температурі повітря вище 20°С термоклапан закритий і штуцер на кришці пускового пристрою сполучається з ізольованою від атмосфери буферною ємкістю 5.
На протилежному по відношенню до діафрагми кінці штока 21 (мал. 22) пускового пристрою є плоска п'ята 20, зручна для натиснення на шток пальцем руки при виконанні операцій по перевірці роботи і регулюванню механізму. Під п'ятою знаходиться ще одна поворотна пружина 19, прагнуча перемістити шток управо. У середній частині штока, осі, що знаходиться поблизу, 17 пускового пристрою, виконана проточка, в правий торець якої може упиратися вусик 26 важеля 18, жорстко зв'язаного через раніше описаний механізм важеля з віссю повітряної заслінки. При закритій повітряній заслінці, коли біметалічна пружина перемістила повідець 14 проти годинникової стрілки до упору, вусик 26 важеля 18 при непрацюючому двигуні максимально наближений до правого торця проточки штока 21, проте між ними має бути невеликий зазор, що забезпечує можливість повного закриття повітряної заслінки. Після запуску двигуна в порожнину діафрагми передається розрідження і шток 21, долаючи опір пружин, починає переміщатися вліво, зазор між вусиком 26 важеля і торцем проточки штока вибирається.
Починаючи з цього моменту повітряна заслінка прочиняється, долаючи, крім того, додатковий опір біметалічної пружини. При переміщенні під дією розрідження діафрагми 11 і штока 21 пускового пристрою вліво, тарілка діафрагми упирається в торець плунжера 6 перепускного клапана і відкриває його, повідомляючи робочу порожнину 9 діафрагмового механізму з штуцером 5 на кришці і далі з буферною ємкістю 5 (мал. 15) і термоклапаном 4. Величина ходу "А" (мал. 22) штока 21 пускового пристрою і відповідна йому міра приоткрытия повітряної заслінки у момент початку відкриття перепускного клапана визначають перше фіксоване положення повітряної заслінки після пуску. Якщо температура довколишнього повітря низька і термоклапан 4 (мал. 15) відкритий, у момент відкриття перепускного клапана 6 (мал. 22) розрідження в порожнині діафрагмового механізму починає обмежуватися за рахунок вступу туди атмосферного повітря, внаслідок чого шток 21 пускового пристрою зупиняється в першому фіксованому положенні. За рахунок зміни положення регулювального гвинта 8 можна скоректувати момент початку відкриття перепускного клапана, встановивши тим самим необхідну величину приоткрытия повітряної заслінки в першому фіксованому положенні.
При температурі довколишнього повітря більш 20°С термоклапан 4 (мал. 15) закритий і після пуску у момент натиснення штока 21 (мал. 22) на перепускний клапан розрідження в порожнині діафрагмового механізму пускового пристрою ще в перебіг 2-3 секунд продовжує обмежуватися за рахунок запасу повітря в буферній ємкості. Тим самим повітряна заслінка на цей короткий період затримується в першому фіксованому положенні, забезпечуючи необхідне в перший момент після пуску збагачення складу суміші. Після закінчення короткого часу запас повітря в ізольованій при цій температурі від атмосфери буферної ємкості, що видаляється через вакуумний канал 3 управління пусковим пристроєм в задроссельное простір, закінчується і розрідження в порожнині 9 діафрагмового механізму пускового пристрою починає підвищуватися не дивлячись на відкритий перепускний клапан 6. При цьому шток 21 рухається вліво на величину ходу «Б» до упору в гвинт-пробку 7, встановлюючи повітряну заслінку в друге фіксоване положення з більшою величиною приоткрытия. Тим самим при температурі довколишнього повітря більш 20°С робота двигуна після пуску в режимі прогрівання забезпечується на більш збідненій суміші із зниженим викидом оксиду вуглецю і вуглеводнів.
У міру підвищення температури рідини, що охолоджує, корпус нагрівача прогрівається, і біметалічна пружина пускового пристрою починає розпрямлятися, прагнучи прочинити повітряну заслінку і обернути кулачок 21 пускового пристрою за годинниковою стрілкою.
Якщо при прогріванні двигуна водій не натискує на педаль управління дросельною заслінкою, положення повітряної і дросельної заслінок унаслідок тертя в механізмі залишається незмінним і звороти двигуна у міру прогрівання практично не змінюються. В той же час при кожному натисненні на дросельну заслінку відбувається звільнення важелів приводу і повітряна заслінка, і кулачок пускового пристрою, задаючий міру приоткрытия дросельної заслінки, займають відповідне температурі двигуна положення.
На карбюраторах з автоматичним пусковим пристроєм модифікації "31" замість складнішого вищеописаного "двоступінчатого" механізму, з двома фіксованими положеннями управління повітряною заслінкою після пуску, використовується простіший механізм (мал. 28), з одним фіксованим положенням, як це має місце на всіх карбюраторах 2108 базових моделей з ручним управлінням. При такій конструкції видозмінена кришка діафрагмового механізму пускового пристрою: у ній відсутні клапан, штуцер, а також пластмасова регулювальна гайка. При цьому упором при русі штока 5 пускової системи вліво служить гвинт 4, встановлений на п'яті штока.

5 Технічне обслуговування карбюратора
Технічне обслуговування і ремонт легкових автомобілів виробляються на станціях технічного обслуговування (СТОА) фірмових автоцентрах і майстернях, що належать різним організаціям. У крупних автотранспортних підприємствах є спеціалізовані ділянки по технічному обслуговуванню і ремонту автомобілів. Значна частина робіт по технічному обслуговуванню і ремонту особистих автомобілів виконується невеликими частными і кооперативними автомайстернями, а також власниками автомобілів самостійно.
В даний час широко розвинена мережа великих фірмових СТОА і автоцентрів, що виконують весь комплекс робіт по технічному обслуговуванню і ремонту автомобілів.
Ремонту і заряду акумуляторних батарей, ремонту приладів живлення і електроустаткування).
Роботи по ТЕ і ремонту автомобілів на СТОА виконуються на робочих постах.
Робочий пост – Це ділянка виробничої площі, оснащена технологічним устаткуванням для розміщення автомобіля і призначений для виконання одній або декілька однорідних робот. Робочий пост може включати одне або декілька робітників.
Карбюратори ДААЗ-2108, як, втім, і будь-які інші сучасні карбюратори вельми надійні і вимагають при правильній експлуатації мінімального об'єму робіт по обслуговуванню. Більшість їх несправностей бувають пов'язано або з некваліфікованим втручанням в регулювання, або із засміченням в декількох характерних зонах, викликаним найчастіше неправильними діями власника.
Карбюратори 21083-1107010-62 з управлінням складом суміші по сигналах від кисневого датчика, вимагають, крім того, справної роботи електронної системи управління.
Для обслуговування карбюраторів необхідні наступні інструменти і пристосування:
· ріжковий або накидний гайковий ключ на 13 мм для зняття карбюратора з двигуна, для відвертання електромагнітних клапанів і торцевий ключ 13 мм для відвертання пробки паливного фільтру;
· шліцьова викрутка з лезом 7х0,8 мм для демонтажу кришки корпусу, кришок прискорювального насоса і економайзера, повітряних жиклерів і деяких інших вузлів;
· шліцьова викрутка з лезом шириною 4,0 мм і завдовжки не менше 65 мм для відвертання головних паливних жиклерів, а також для регулювання складу суміші на неодруженому ходу;
· острозаточенная паличка діаметром 3,5-4 мм і завдовжки 80-100 мм для витягання головних паливних жиклерів з емульсивних колодязів; ріжковий ключ на 11 мм для відвертання корпусу замочної голки поплавцевого механізму;
· ріжковий ключ на 8 мм для відвертання контргайки на регулювальному гвинті в кришці діафрагмового механізму пускового пристрою і утримання від повороту затиску троса управління повітряною заслінкою;
· ключ на 8 мм (бажано торцевий) для від'єднання троса управління повітряною заслінкою;
· ріжковий ключ на 7 мм для початкового проворота гвинта регулювання механізму приоткрытия дросельної заслінки при пуску (в разі корозії гвинта);
· коротка викрутка (50-70 мм) з лезом шириною 4 — 5 мм для обертання регулювальних наполегливих гвинтів пускової системи;
· викрутка з вузьким лезом і пристосування (мал. 34) для регулювання моменту відкриття перепускного клапана пускового пристрою карбюраторів 2108-1107010-35, 62;
· круглі калібри (або свердла) діаметром 1,1; 2,5 і 6,5 мм для регулювання величини приоткрытия дросельної і повітряної заслінок при пуску;
· бронзове або латунне облямовування діаметром 3,5 — 3,9 мм і завдовжки 35-45 мм для видалення осі кронштейна поплавців; легкий молоток;
· пристосування для ремонту голчаного замочного клапана див. нижче; відрізок мідного дроту діаметром 0,8 — 0,9 мм і завдовжки 100 мм для прочищення головних паливних жиклерів;
· короткий відрізок мідного дроту діаметром 0,3 мм для прочищення паливного жиклера холостого ходу і жиклера эконостата; короткий відрізок сталевого дроту діаметром 0,2 — 0,25 мм для прочищення розпилювачів прискорювального насоса;
· гумова груша з тонким носиком для контролю герметичності замочного клапана поплавцевого механізму;
· насос з гумовою трубкою діаметром 6 мм для продування каналів карбюратора і очищення деталей від грязі і пилу;
· будь-який вольтметр на 15 В постійного струму для контролю роботи системи ЕПХХ на «класичних» моделях карбюраторів;
мультиметр (краще за спеціального автомобільного виконання рис 35) для проведення електричних вимірів в ланцюгах з можливістю виміру частоти обертання колінчастого валу а також величини шпаруватості імпульсів управління електромагнітними клапанами карбюратора, що працюють по сигналах лямбда-зонда.
У числі основних практично доцільних і необхідних робіт по технічному обслуговуванню і регулюванню карбюратора слід зазначити наступні: зовнішнє миття; промивання сітчастого фільтру на вході в поплавцеву камеру; промивання поплавцевої камери; очищення повітряних жиклерів і інших деталей від відкладень; регулювання поплавцевого механізму; регулювання пускового пристрою; регулювання системи холостого ходу. Всі ці роботи не вимагають обов'язкового демонтажу карбюратора з двигуна.
Зовнішнє миття виробляється за допомогою кисті будь-якою розчинювальною маслянисті відкладення рідиною: бензином, гасом, дизельним паливом, хоча, зважаючи на більшу пожежну безпеку і меншу випаровуваність, слід вважати за краще дві останні. Ще краще застосовувати спеціальні аерозольні склади, що змиваються водою. Після миття карбюратор непогано обдути зовні стислим повітрям, хоч би від автомобільного компресора. Періодичність цієї роботи визначається самим водієм виходячи з умов експлуатації і зазвичай буває необхідна 1-2 рази в рік. Слід зазначити, що не дуже забруднений і постійно експлуатований карбюратор працює анітрохи не гірше, ніж ідеально чистий, оскільки всі працюючі рухливі зчленування постійно самоочищаються, а грязь зовні сама не може попасти всередину. Технічно необхідне лише чищення і миття карбюратора з товстим лахміттям жирної грязі в механізмі важеля і пусковій системі, що утрудняють взаємний рух деталей. Але слід пам'ятати, що кожне миття - це внесення до пар, що труться, піску і дрібного абразиву. Тому зайва старанність в цьому теж ні до чого. Перш ніж мити карбюратор на двигуні, зніміть очисник повітря.
В процесі миття дотримуйтеся обережності і не допускайте, аби грязь попала у внутрішні порожнини карбюратора і впускний колектор. Засмічення сітчастого фільтру на вході в поплавцеву камеру відбувається порівняно рідко і за весь період експлуатації автомобіля акуратному водієві може зовсім не знадобитися його промивати, тим паче, що в системі живлення сучасних автомобілів є додатковий фільтр тонкого очищення палива, вельми ефективно захищаючий карбюратор від забруднень.
Відвернувши пробку, витягуйте сітчастий фільтр, промийте його розчинником або бензином, продуйте повітрям. Якщо порожнина під пробкою сильно за бруднена, то промийте її тонкою кистю з жорстким невипадним волосом. Потім підставте під отвір для пробки яку-небудь ємкість і знов підкачайте паливо, промиваючи внутрішню порожнину приливу фільтру. І, нарешті, встановите сітку в пробку і загорніть пробку до упору. При такому порядку роботи грязь не потраплятиме в поплавцеву но міру і засмічувати паливні жиклери, що часто буває наслідком неакуратного промивання фільтру.
Невідкладне промивання поплавцевої камери може знадобитися, якщо раптово порушиться нормальна робота двигуна під середнім і великим навантаженням, найчастіше унаслідок припинення нормальної топливоподачи через головну топливодозирующую систему первинної камери. Оскільки ця робота вимагає певних умов, спочатку потрібно переконатися в її необхідності: може виявитися, що передбачувана несправність викликана іншими причинами.
В цьому випадку слід заздалегідь виконати всі операції, описаний ные нижче в розділі про методи пошуку несправностей. Якщо двигун працює нормально і дотримані елементарні заходи, що дозволяють уникнути забруднення паливного бака (наприклад, виключені випадки заправки автомобіля з каністр через воронку без сітки), практично немає необхідності займатися цим частіше, ніж один раз в 2-3 роки. Непрямим свідоцтвом мірі забруднення поплавцевої камери є перебування вже згаданого сітчастого фільтру на вході в карбюратор: засмічення щільними відкладеннями хоч би однієї п'ятої частини поверхні сітки вказує на доцільність перевірки стану поплавцевої камери і, можливо, її очищення.
Аби дістати доступ до поплавцевої камери, на карбюраторах 2108 базових моделей зніміть повітряний фільтр, ослабте хомути кріплення паливних шлангів і зніміть їх з штуцерів, від'єднаєте трос управління пусковим пристроєм, зніміть електричний роз'єм на електромагнітному клапані. Після цього, відвернувши п'ять гвинтів кріплення кришки карбюратора, обережно зніміть її рухом вгору, прагнучи не пошкодити і не по гнути поплавці.
На карбюраторах з автоматичним пусковим пристроєм доступ до поплавцевої камери, з першого погляду, настільки утруднений, що зазвичай не знаходиться що бажають перевірити її стан без демонтажу карбюратора з автомобіля. Це виливається вже, на загальну думку, в грандіозну і дорогу роботу. В той же час, слідуючи нижчеприведеним рекомендаціям, таку операцію може зробити будь-який грамотний автоаматор. Перш за все, необхідно зняти з штуцерів паливні шланги. Одночасно зніміть і шланг з штуцера вентиляції поплавцевої камери. Потім відверніть шліцьовою викруткою два з трьох гвинтів 5 (мал. 18) кріплень корпусу нагрівача пускового пристрою. Третій гвинт 4 кріплення нагрівача для скрути некваліфікованого доступу до механізму не має шліца.
Аби відвернути і його, перекосите накладку 3 кріплення нагрівача настільки, аби можна було вхопитися губками плоскогубцев за голівку гвинта, що залишився, і відвернути його, притримуючи корпус, аби він мимоволі не відокремився від карбюратора. Потім, не знімаючи з корпусу нагрівача шлангів і їх хомутів, відведіть його від корпусу карбюратора, наскільки дозволяє гнучкість шлангів і закріпите в цьому положенні будь-яким способом: дротом, вірьовкою і тому подібне засобами. У момент відсовування нагрівача від корпусу карбюратора прослідите, аби повідець біметалічної пружини вільно «з'їхав» з вусика важеля приводу пускового пристрою на карбюраторі, не пошкодивши і не деформувавши пружину, яка залишається в корпусі нагрівача, що знімається з карбюратора. Звернете також увагу на пластмасовий захисний ковпачок корпусу пускового механізму: при знятті нагрівача його можна залишити на місці.
При зворотній установці нагрівача фіксуючий виступ ковпачка повинен увійти до відповідного паза корпусу пускового пристрою, інакше воно нормально не працюватиме! Тепер необхідно зняти плоский важіль-тягу 6 (мал. 18), пов'язуючий пусковий пристрій з важелем управління дросельною заслінкою первинної камери. Для цього відвертають (не виймаючи з отвору!) гвинт 7 кріплень вказаного важеля, розташований на важелі приводу первинної камери карбюратора. Якщо обережно висувати вказаний гвинт з отвору, можна від'єднати що зв'язує пусковий пристрій і корпус карбюратора плоский важіль, не «упустившись» при цьому вушка поворотної пружини на осі дросельної заслінки первинної камери, що надівається на цей же гвинт. Якщо ж немає бажання стежити за цим, можна просто вийняти гвинт з отвору повністю, звільнивши відразу і тягу, і пружину. Правда при цьому при зворотній збірці механізму доведеться «знайти» пружину на осі (вона нікуди не може зіскочити і загубитися) і підтягнути її сережку до гвинта. У результаті це займе трохи більше часу і зажадає декількох хвилин попереднього тренування.
Після цього кришку поплавцевої камери, відвернувши кріпильні гвинти, можна зняти точно так, як і на карбюраторах базових моделей. Потім, не торкаючись до поплавців, переверніть кришку над столом (верстаком), не втрачаючи часто випадних з отворів кріпильних гвинтів, і поставте кришку на стіл поплавцями вгору. Не можна опускати кришку поплавцями вниз: це приведе до вигину їх кронштейна і порушення нормальної роботи поплавцевого механізму. Часто автоаматори, не знімаючи карбюратора з двигуна, обмежуються тим, що протирають дно поплавцевої камери ганчіркою, вважаючи, що досягли мети. Проте подібне очищення може принести більше шкоди чим користі. Річ у тому, що не витерта до кінця грязь, а також волокна, що відокремилися від ганчірки, можуть залишитися в поплавцевій камері і бути причиною засмічення паливних жиклерів, в першу чергу жиклера холостого ходу. В результаті справний карбюратор після такого «чищення» може взагалі перестати працювати. Аби уникнути цього, очищайте поплавцеву камеру карбюратора, не знятого з двигуна, гумовою грушею, висмоктуючи паливо з дна заповненою їм поплавцевої камери. Переміщаючи носик груші по поверхні дна, послідовно видалите всі забруднення, прагнучи не мутити відкладення. В міру необхідності в поплавцеву камеру обережно долийте з невеликої ємкості чистий бензин. На завершуючому етапі дно камери і всі поглиблення можна протерти жорстким тонким пензликом і повторно уда лити забруднення грушею.
Якщо ви промивали карбюратор лише для профілактики, цим можна обмежитися.
Якщо ж промивання було зроблене з метою усунення явного засмічення головних паливних жиклерів (його ознаки приведені нижче, в раз справі, присвяченій пошуку і усуненню несправностей), то після описаний ных операцій з використанням груші і заповнення поплавцевої камери чистим паливом, вивертають головні повітряні жиклери з емульсивними трубками і продувають зверху сильним струменем повітря емульсивні колодязі. При цьому з отворів сполучного каналу секцій поплавцевої камери повинні виходити міхури повітря, виносячи з собою забруднення.
На карбюраторах «62-ої» моделі для продування сполучного каналу секції поплавцевої камери можна додатково відвернути нижній електромагнітний клапан і направити струмінь повітря в отвір, що відкрився. Сильно засмічені паливні жиклери можна прочистити мідною проволкой діаметром 0,8 мм, не вивертаючи їх з колодязів, і потім знову продути колодязі.
При необхідності жиклери можна вивернути довгою вузькою викруткою і вийняти, щільно насадивши їх на заточену дерев'яну паличку. При жиклерах, що вивернули, повітряні міхури при продуванні колодязів виходитимуть набагато інтенсивніше.
Поява в результаті продування колодязів грязі в заздалегідь промитій поплавцевій камері свідчить про наявність забруднення сполучного каналу. В цьому випадку потрібно знову промити поплавцеву но міру і ще раз повторити продування емульсивних колодязів. В цілому, не дивлячись на очевидні переваги чистої поплавцевої камери, не слід перебільшувати негативну роль її забруднення: дрібний пил, що злежався, на дні камери може накопичуватися протягом не скількох років, не викликаючи жодних порушень роботи карбюратора. При експлуатації на деталях карбюратора з часом з'являється темний смолистий наліт - наслідок роботи системи примусової вентиляції картера. У міру зношування двигуна, кількість газів картерів, що поступають в порожнину повітряного фільтру, зростає і забруднення деталей карбюратора збільшується. Проте чистити тонкий на років на поверхнях горловини, стінок дифузорів, заслінок немає необхідності, оскільки він вельми трохи змінює перетин цих елементів і практично не робить впливу на роботу. В той же час на роботу карбюратора істотно впливають відкладення на отворах, що калібруються, повітряних жиклерів дозуючих систем. Це перш за все повітряний жиклер системи холостого ходу, а також повітряний жиклер головної дозуючої системи первинної камери. Значно менше засмічуються відкладеннями головний повітряний і повітряний жиклери перехідної системи вторинної камери, що пояснюється відносно невеликою долею часу роботи вторинної камери при експлуатації.
Перевіряти стан вказаних повітряних жиклерів доцільно при черговому знятті кришки карбюратора. Чистити змочені бензином жиклери можна мідним дротом або дерев'яною паличкою. (Для цього головні повітряні жиклери з емульсивними трубками зручніше вивернути). Одночасно з повітряним жиклером холостого ходу, необхідно переконатися і в чистоті протидренажного отвору в кришці карбюратора в кромки закритої повітряної заслінки. У нормальних умовах експлуатації справного двигуна з невеликим проривом газів картерів необхідність очищення повітряних жиклерів, в першу чергу жиклера холостого ходу і головного первинної камери, настає зазвичай вперше не раніше чим після пробігу 60-70 і навіть 100 тис. км. Надалі, у міру зношування двигуна, очищення повітряних жиклерів може бути потрібним вже кожні 25-30 тис. км.
Регулювання поплавцевого механізму - вельми відповідальна і в той же час нескладна операція при обслуговуванні карбюратора ДААЗ-2108. Помилки, що допускаються тут, найчастіше є причиною його незадовільної роботи. Регулювання виконується при знятій кришці і включає три операції: регулювання взаємного положення поплавців, а також поплавців відносно стінок поплавцевої камери; регулювання механізму при закритому голчаному клапані; регулювання механізму при повністю відкритому голчаному клапані. Першу операцію виконують з метою усунення можливих деформацій кронштейна поплавців. Обережно підгинаючи половини кронштейна вгору і вниз, добиваються, по-перше, однакової відстані від поплавців до прокладки кришки в будь-якому положенні тримача, і по-друге, підгинаючи їх в бічному напрямі, добиваються розташування обох поплавців по центрах відбитків верхнього зрізу стінок поплавцевої камери на прокладці кришки, при якому бічні стінки поплавців були б паралельні подовжнім лініям відбитків. Це регулювання забезпечує однакове занурення поплавців в паливо і виключає їх зачіпання за стінки поплавцевої камери. Потім перевертають кришку в горизонтальне положення поплавцями вгору і, обережно підгинаючи викруткою язичок кронштейна, що впливає на хвостовик замочної голки з втопленою в її телі кулькою, добиваються, аби зазор між промовцями частями поплавців і прокладкою кришки був не менше 0,5 і не більше 1,0 мм. При такому регулюванні, у вертикальному положенні кришки поплавцями убік, коли кулька виступає з тіла голки, лінія шва від прес-форми на поплавці має бути паралельна площині прокладки. Значна непаралельність вказаної лінії і площини кришки при правильно виконаному регулюванні на горизонтально розташованій перевернутій кришці свідчить про несправність вузла з демпфуючою кулькою голки, найчастіше, западанні кульки в телі голки. В цьому випадку, коли немає можливості відновити або замінити голку, при підгині язичка кронштейна слід орієнтуватися лише на забезпечення паралельності шва на поплавцях і площині кришки при її вертикальному положенні, не звертає уваги на порушення величини зазору, що рекомендується, між прокладкою і поплавцями при горизонтальному положенні кришки.
Цим забезпечується сповна задовільна робота карбюратора навіть при несправній голці з втопленою або випавшою кулькою. І, нарешті, заднім язичком, що упирається в сідло голки, регулюють зазор при повністю відведених поплавцях, який повинен складати 15 мм. один раз правильно виконане регулювання поплавцевого механізму зберігається вельми довго, порушуючись найчастішим унаслідок неакуратного поводження із знятою кришкою, а також унаслідок природного зношування деталей механізму, що труться: замочного конуса голки, її сідла, язичка і осі кронштейна.
У експлуатації зазвичай немає необхідності спеціально розбирати справно працюючий карбюратор для перевірки регулювання, досить з вміщати її контроль з черговим очищенням поплавцевої камери і повітряних жиклерів.
Обслуговування прискорювального насоса починають з демонтажу розпороши теля. знявши кришку карбюратора, його обережно підводять лезом від верткі, введеним під підставу трубок, а потім захоплюють плоскогубцями за лыски і виймають. Чистоту жиклерів в трубках перевіряють, надівши гумовий шланг на підставу розпилювача (для наочності можна опустити розпилювач у воду). Заразом контролюють і герметичність нагнета тільного клапана (для цього потрібно тримати розпилювач вертикально і створити в шлангу розрідження). Якщо жиклери засмічені, їх прочищають мідним зволіканням і продувають. При необхідності трубки з жиклерами можна відокремити від тримача шляхом обертання і витягування з отворів, в які вони запресовані.
В разі винятковий сильного засмічення жиклерів можна пробувати ся акуратно прочистити їх тонким сталевим дротом. Зворотний клапан і топливоподводящий канал перевіряють, притиснувши різі нову трубку до отвору 6, (мал. 4) забору палива в поплавцевій камері: повітря повинне вільно проходить при нагнітанні і не проходить, коли в трубці розрідження.
Знявши кришку, діафрагму і пружину прискорювального насоса, промивають його порожнину і за допомогою дроту переконуються, що вона вільно сполучається з вертикальним каналом в корпусі карбюратора. При збірці системи потрібно змочити підставу розпилювача краплею масла, аби не пошкодити ущільнююче гумове кільце. Завершальна операція - перевірка спрямованості струменів палива з розпилювача; при необхідності обережний підгинають трубки, аби паливо в період нагнітання подавалося в зазор між стінками малого і великого дифузорів як в первинній, так і у вторинній камерах, не потрапляючи на їх поверхні.
При різкому розгоні з частковим натисненням на педаль заслінки вторинної камери ще не відкрита, а бензин в цю камеру, природно, упорскує. Аби він там не затримувався, дросельна заслінка вторинної камери не повинна закриватися дуже щільно. Потрібний розмір щілини встановлюють регулюванням наполегливого гвинта заслінки. Якщо карбюратор чистий і сухий, при перегляді заслінки на сонячне світло або на яскраву лампу має бути видний тонкий (близько 0,05 мм) просвіт по всьому її периметру. Регулювання пускової системи може вироблятися двома способами: на знятому з автомобіля карбюраторі по зазорах в кромок заслінок; безпосередньо на автомобілі по частоті обертання колінчастого валу.
Перший спосіб регулювання слід застосовувати, коли по яких-небудь причинах карбюратор був знятий з автомобіля і піддавався повному розбиранню. Так само поступають і на складальному конвеєрі заводу, що випускає карбюратори. На карбюраторах 2108 базового виконання при поверненому проти годинникової стрілки до упору важелі-куркульці управління пусковою системою зазор, контрольований круглим щупом (свердлом), в нижньої (по ходу повітря) кромки дросельної заслінки повинен складати 1,1 мм. Він регулюється гвинтом з шестигранником 7 мм на голівці і шліцом на хвостовику. Цей гвинт часто корродирует. Зрушити з місця туго сидячий гвинт краще ріжковим ключем на 7 мм, обертати його можна викруткою. Зазор в нижньої кромки повітряної заслінки регулюють на величину близько 3,0 мм гвинтом в кришці діафрагмового механізму пускової системи після ослабіння контргайки. При цьому заломлений на кінці шток діафрагми має бути примусово (хоч би викруткою) втоплений до упору в регулювальний гвинт. Після регулювання гвинт має бути зафіксований контргайкою.
Другий спосіб регулювання - безпосередньо на автомобілі, дозволяє досягти бажаних результатів з меншими витратами часу. Для цього пускають двигун із знятим повітряним фільтром і повністю витягують на себе манетку управління повітряною заслінкою. Примусово прочиняючи повітряну заслінку, стосуючись її площини викруткою, хоч би на 1/3 її повного кута повороту, першим гвинтом встановлюють на прогрітому двигуні вихідну частоту обертання, що становить 2800-3000 мин"'. Потім, прибравши викрутку і відпустивши повітряну заслінку, другим гвинтом встановлюють за рахунок вибору положення повітряної заслінки, зменшену на 100 мин"1 частоту обертання в порівнянні з початковою. Після чого гвинт фіксується контргайкою і регулювання на цьому закінчується. Маючи в розпорядженні газоаналізатор, регулювання положення повітряної заслінки можна виконати, орієнтуючись на вміст у відпрацьованих газах оксиду вуглецю. При повністю витягнутою манетке управління повітряною заслінкою концентрація З на працюючому двигуні повинна скласти близько 8%. Якщо концентрація З менше рекомендованої величини, гвинт на кришці діафрагмового механізму завертають, прикриваючи повітряну заслінку, і навпаки, якщо З більше, то гвинт відвертають. На карбюраторах "31" "35" і "62-ій" модифікації регулювання автоматичного пускового механізму на знятому з автомобіля карбюраторі виробляють після однократного приоткрытия і відпусків дросельної заслінки, аби всі важелі зайняли початкове для пуску положення.
Пусковий зазор в кромки дросельної заслінки встановлюється за допомогою регулювального гвинта 5 (мал. 20). Пускові зазори першого і другого рівня в кромки повітрям заслін ки перевіряються шляхом натиснення на п'яту 1 штока.
У міру руху штока вліво за збільшенням зусилля для його подальшого переміщення відчуєте момент торкання тарілкою діафрагми перепускного клапана на плунжері 6, відповідний першому фіксованому положенню повітряної заслінки. Перевірте в цьому положенні зазор в кромки повітряної заслінки, який повинен складати 2,5 мм. У разі потреби скоректувати цей зазор, відверніть пласт масову пробку 7 кришок діафрагмового механізму пускового пристрою. Вставивши в гніздо під пробку спеціальне пристосування, що утримує від провертання плунжер 6, викруткою з вузьким лезом завертають (мал. 34,а) регулювальний гвинт перепускного клапана, якщо необхідно зменшити пусковий зазор в першому фіксованому положенні повітряної заслінки, і відвертають, якщо вказаний зазор необхідно збільшити. Подальші перевірки зазору можна виробляти, не встановлюючи на ме сто пробку, і, спостерігаючи за моментом початку руху клапана: він відповідає першому фіксованому положенню повітряної заслінки. Переконавшись в правильності виконання регулювання першого положення приоткрытия повітряної заслінки, натискуйте на п'яту штока до упору і перевірте друге положення, яке при необхідності коректуйте, обертаючи пластмасову пробку кришки діафрагмового механізму пускового пристрою.

6 Діагностіка несправності і ремонт карбюратора
Головна відмінність від звичних "озонів" – двосекційна поплавцева камера, що дозволяє йому нормально працювати на поперечний встановленому двигуні ("Озон" для такої компоновки не личить, оскільки не забезпечує в цьому випадку стабільного смесеобразования в деяких режимах руху, наприклад при поворотах машини).)
Попал до нас автомобіль із-за досить цікавої несправності: після нетривалої роботи в нормальному режимі двигун раптом починав болісно сіпатися і відмовлявся набирати звороти. Холостий хід при цьому також був відсутній. Але варто було лише прикрити повітряну заслінку, як все приходило в норму. Через декілька кілометрів заслінці можна відкрити – машина біжить як ні в чому не бувало. А потім все повторюється знов. Погодитеся, така їзда виведе з себе кого завгодно. Пошуки причини привели до карбюратора.
|
|
|
|
|
| Ключем "на 10" відвертаємо гайку, що кріпить кришку повітряного фільтру. |
Відстібаємо чотири клямки... |
...і знімаємо кришку і елемент, що фільтрує. |
Викруткою ослабляємо хомут, що фіксує шланг системи вентиляції картера на штуцері клапанної кришки. |
|
|
|
|
|
| Ключем "на 8" відвертаємо чотири гайки... |
...знімаємо ущільнюючу пластину... |
...і корпус повітряного фільтру. |
Ослабивши заздалегідь хомути, знімається з штуцерів карбюратора що підводить і відводить паливні шланги. |
|
|
|
|
|
| Паливний шланг, що підводить, корисно заглушити, використовуючи, наприклад, комірчик з штатного набору інструментів. |
Знімаємо дріт з електромагнітного клапана системи ЕПХХ. |
Відключаємо роз'єм датчика-гвинта цієї ж системи. |
Знімаємо шланг підведення розрідження до вакуумного регулювальника випередження запалення. |
|
|
Звичайно, простіше було б короткою викруткою вивернути гвинт, що кріпить, і зняти приставку з корпусу карбюратора, не від'єднуючи шланги. Проте, із-за сильної корозії вузла (все-таки 150 тис. км) нам це зробити не удалося.
|
|
|
|
|
| Знімаємо з карбюратора байпасний шланг системи вентиляції картера. |
За допомогою двох ключів "на 8" від'єднуємо трос приводу повітряної заслінки від важеля. |
Ключем "на 8" від'єднуємо його оболонку від кронштейна... |
...і відводимо трос убік. |
|
|
|
|
|
| Від'єднуємо трос приводу дросельної заслінки від важеля. |
Ключем "на 13" відвертаємо чотири гайки... |
...і знімаємо карбюратор з двигуна. |
Отвір у впускному колекторі краще відразу закрити, накинувши, наприклад, зверху ганчірку.
Перед розбиранням знятий карбюратор слід гарненько промити. Для цього годиться будь-яка розчинювальна маслянисті отлажения рідина: бензин, гас, дизпаливо, хоча виходячи з пожежної безпеки слід вважати за краще останнє. Ще краще використовувати спеціальні миючі засоби.
Вимальовувалася така картина заявленого дефекту: вода з бака (хоч він і призначений для бензину, вода на дні обов'язково збирається; чим більше пробіг - тим більше води) поступово скупчувалася на дні поплавцевої камери. Досягнувши певного рівня, вона почала потрапляти до паливних жиклерів головної дозуючої системи, порушуючи її роботу (адже вода погано випаровується і не горить!).
|
|
|
|
| Викруткою відвертаємо п'ять гвинтів, що кріплять кришку... |
...і відділяємо її від корпусу. Кришку кладемо поплавцями вгору (не втратьте випадні з отворів кріпильні гвинти), аби не погнути кронштейни. |
За зовнішнім виглядом поплавцевої камери легко вгадується присутність в бензині води. |
Водій, прикривши повітряну заслінку, збагатив суміш, нейтралізуючи дію води. Оскільки витрата рідини з поплавцевої камери при це збільшився, рівень води також впав і все прийшло в норму до тих пір, поки він знов не досяг критичної відмітки... Крім того, продукти корозії розбіглися по всіх каналах, порушуючи роботу різних систем. Стало очевидне, що без повного розбирання і промивання не обійтися.
|
|
|
|
|
| Використовуючи стержень відповідного діаметру, вибиваємо вісь. |
і знімаємо поплавці. |
Видаляємо прокладку. |
Ключем "на 11" відвертаємо. |
|
|
|
|
|
| ...і виймаємо голковий клапан разом з кільцем ущільнювача. |
Ключем "на 13" відвертаємо пробку-тримач паливного фільтру. |
і витягуємо її з кришки. |
.вместе з фільтром і кільцем ущільнювача. |
|
|
|
|
|
| Ключем "на 13" відвертаємо електромагнітний клапан. |
.и виймаємо його з кришки. |
Знімаємо паливний жиклер холостого ходу і кільце ущільнювача. |
На карбюраторах, що неабияк попрацювали, із-за корозії незрідка втрачає рухливість важіль управління пусковою системою. Користуючись випадком, ми порахували корисним зняти важіль і очистити поверхні тертя. Для цього:
|
|
|
|
|
| Ключем "на 14" відвертаємо болт кріплення. |
. знімається важіль, не втративши при цьому фіксатор, що складається з пружини і кульки. |
Відвернувши чотири гвинти. |
.снимаем кришку діафрагмового пристрою системи пуску. Як бачите, вода добралася і сюди. |
|
|
|
|
|
| Вивівши із зачеплення шток, виймаємо діафрагму з корпусу. При найближчому розгляді вона виявилася негерметичною (див. попереднє фото). |
Відвертаємо чотири гвинти кришки механізму прискорювального насоса. |
.и дістаємо "начинку". |
Відвертаємо три гвинти кришки діафрагмового пристрою економайзера. |
|
|
|
|
|
| .и виймаємо діафрагму, пружину, а також вивертаємо паливний жиклер. |
Підчепивши викруткою. |
.вынимаем розпилювач прискорювального насоса зі вбудованим нагнітальним кульковим клапаном. |
Правильно заточеною викруткою з шириною леза не менше 7 мм вивертаємо повітряні жиклери головної дозуючої системи. |
|
|
|
|
|
| .и виймаємо їх з корпусу разом з емульсивними трубками. |
Шліцьовою викруткою з лезом шириною 4 мм вивертаємо головні паливні жиклери, розташовані на дні емульсивних колодязів. |
Перевернувши корпус, витягуємо головні паливні жиклери. У разі потреби для цієї мети можна використовувати гостро заточену паличку діаметром 3,5–4 мм і завдовжки 80–100 мм. |
Малі дифузори витягуємо з корпусу пасатижами. |
Незрідка у продажу зустрічаються карбюратори, на важелі дросельної заслінки першої камери яких відсутній пластмасовий сектор, призначений для кріплення троса приводу. В такому разі цю деталь доводиться переставляти із старого важеля. Робиться це так:
|
|
|
|
|
| Відвертаємо гвинт кріплення сектора. |
.и виймаємо його разом із скобою кріплення поворотної пружини. |
Підчепивши сектор викруткою, знімаємо його з важеля. |
|
Збірку проводимо в зворотній послідовності. До цього декілька зауважень. Для миття внутрішніх порожнин і деталей карбюратора зазвичай рекомендують чистий бензин. Проте він не розчиняє смоли і лакові відкладення. Для це цілі личать розчинники № 645-652 иил ацетон.Але пам'ятаєте, що сильні розчинники можуть пошкодити неметалічні деталі (прокладки, діафрагми). Їх треба мити окремо і лише в бензині.
Установив поплавці на місце, необхідно відрегулювати їх положення (і, відповідно, рівень палива в поплавцевій камері). Потім перевертаємо кришку поплавцями вгору і, підгинаючи викруткою язичок кронштейна, встановлюємо між промовцями частями поплавців і прокладкою кришки зазор в межах 0,5-1,0 мм. І, нарешті, заднім язичком, що упирається в сідло голки, регулюємо цей зазор при повністю відведених поплавцях, який повинен складати 15 мм.
При перевірці герметичності голчаного клапана не забудьте щільно закрити топливовозвратный штуцер.
7 Матеріали та інструменти
1. Лещата слюсарні.
2. Ключі комбіновані, ріжкові
3. Торцеві голівки.
4. Шестигранники
5. Хрестоподібні викрутки.
6. Шліцьові викрутки.
7. Вибивання
8. Пасатижі.
9. Щипці.
10. Облямовування.
11. Динамометричний ключ.
12. Знімачі.
13. Штангенциркуль.
14. Лінійка металева.
8 Правила безпеки праці
Перед початком роботи :
1. Надіти чистий спецодяг і взуття;
2. Підготувати робоче місце, інструмент, пристосування, устаткування, перевірити їх справність;
3. Слюсарні молотки повинні мати поверхню бойка злегка опуклу(не косу, і не биту) і міцну на дерев'яні ручки овального перетину;
4. Зубила, крейсмейсели, борідки, обтискання, керни не повинні мати збитих або скошених потилиць із задирками;
5. Набор гайкових ключів повинен відповідати розмірам болтів і гайок.
Якщо необхідно мати довгий важіль, користуватися лише ключем з довгою ручкою, забороняється нарощувати іншим ключем або трубою.
Під час роботи:
1. При роботі на лещатах міцно притискуй педаль. Дотримуйся обережності під час її установки і зняття, щоб уникнути падіння її на стіл;
2. При вирубуванні металу зубилом необхідно врахувати, в яку сторону безпечніше для тих, що оточують направити відлітаючі осколки. Самому працювати в захисних окулярах;
3. При роботі на стендах, для перевірки слюсар зобов'язаний:
а) пройти інструктаж у майстра по даному вигляду робіт;
б) до початку роботи візуально переконається в його справності і потім перевірити на неодруженому ходу;
в) у випадку виявленні несправності заявити майстрові і до усунень несправностей до роботи не приступати. Самому проводити ремонт устаткування – ЗАБОРОНЯЄТЬСЯ!;
г) стежити і підтримувати чистоту і порядок на робочому місці, е захаращувати проходи, проїзди, не допускати скупчення запчастин;
4. Сооснсть отворів перевірити за допомогою конусного облямовування;
а) при розбірно-складальній операцій, вимагаючих великих
фізичних зусиль, необхідно застосовувати знімачів, гайковерты;
б) правильно підбирати розмір ключа, переважно користуватися
накидними і торцевими;
в) виробляти випресовку пальців, втулок і інших деталей лише за допомогою спеціальних пристосувань;
г) під час роботи розташувати інструмент і пристосування так
аби вони завжди знаходилися під рукою;
5. При роботі на стенді випробування слюсар зобов'язаний:
а) перевірити несправність пристосування для зміцнення агрегатів
елементів, що захищають, електропроводку, заземлення і пульт управління;
б) вузли і агрегати, що мають пружини, розбирати і збирати лише на спеціальних пристосуваннях;
в) при перевірці працездатності агрегатів на стенді перевірити:
· заземлення стенду
· надійність закріплення агрегатів на стенді
· наявність кожухів, що захищають
· заправку відповідною рідиною або повітрям
· надійність кріплення агрегатів
· справність і правильне з'єднання електропроводки
· перед регулюванням перевірити агрегат на неодруженому ходу
· роботи на стенді виробляти стоячи на підніжці грат.
6. При промиванні деталі необхідно дотримувати наступні вимоги:
мити деталі лише в закритих ваннах і із застосуванням миючих
засобів
забороняється застосовувати бензин і інше легке воспломеняющие
рідини.
а) палити лише в певних місцях;
б) промаслені ганчірки, кінці, дрантя, відходи матеріалів слід збирати і негайно прибрати в спеціальні металеві ящики.
7. Не захаращувати прохід до робочого місця при разроботе і збірці агрегатів, вузлів;
8. Не стосуватися механізмів, рубильників і інших приладів, що не мають відношень до виконуваної роботи.
По закінченню роботи.
По закінченню роботи слюсар зобов'язаний:
1. відключити від електромережі електроустаткування..
2. привести в порядок робоче місце. Брати пристосування, інструмент відведене місце.
3. якщо автомобіль залишається на спеціальних підставках (козелках), перевірити надійність його установки. Забороняється залишати автомобіль, агрегат, вивішеним лише підіймальних механізмом.
4. зняти спецодяг і прибрати в призначене для них місце.
5. вимити руки милом
6. про всі недоліки, виявлені під час роботи сповістити начальникові АРМ.
ВИСНОВКИ
Карбюратор – один з найбільш складних приладів системи живлення. Більшість автомобілістів якщо і наважуються проникнути всередину його, то, як правило, не далі за поплавцеву камеру. Тим часом причина несправності часто криється глибшим. І тоді треба вирішувати – ремонтувати старий карбюратор або купувати новий? Для тих, хто схиляється до останнього варіанту, нагадаю, що ціна окремих моделей вже перевалила за тисячу. Ремкомплект же обійдеться раз в тридцять дешевше.
СПИСОК ВИКОРИСТАНИХ ДЖЕРЕЛ
1. Пристрій і технічне обслуговування вантажних автомобілів. (В.І.Карогодін, С.К. Шестопалов)
2. Практикум по автомобілю. (В.П. Беспалько, М.І. Ерецкий З.В. Розен)
3. Автомобіль. (В.С. Камсський, А.І. Маїзон, П.Е. Нагулу)
4. Технічна експлуатація автомобілів. (Е.С. Ковалів В.П. Воронів, А.П.Болдін)
5. Положення про технічне обслуговування і ремонт рухливого складу автомобільного транспорту. (М.: Мінавтотранс РРФСР)
6. Технічна експлуатація автомобілів: Підручник для Вузов/ під ред. Г.В. Крамаренко. - М: Транспорт, 20037. Положення про технічне обслуговування і ремонт рухливого складу автомобільного транспорту. Ч. 2. Автомобіль ЗІЛ-130. - М: Транспорт - 1979.8. Александров Л.А. Технічне нормування праці на автотранспорті. - М: Транспорт, 2006.9. Іванов В.Б. Довідник по нормуванню праці на автомобільному транспорті. - Київ: Техника, 1991.Селіванов С.С. Механізація процесів технічного обслуговування і ремонту автомобілів. - М: Транспорт, 2004.Похожие рефераты:
Технічне обслуговування пускового двигуна
Гальмівна система автомобіля ГАЗ-53
Двигун автомобіля ЗІЛ-130 (поршнева група)
Проект дільниці по технічному огляду та ремонту для двигуна автомобіля Chery Elara
Газобалонна установка автомобіля ГАЗ
Діагностика системи запалення ДВЗ
Система технічного обслуговування сільськогосподарських машин
Система автоматичного регулювання (САР) турбіни атомної електростанції
Моделювання робочого процесу чотирьохтактного дизеля
Технічне обслуговування системи мащення дизелів типу СМД-60
Организация поста технического обслуживания и ремонта карбюраторов двигателей легковых автомобилей
Система живлення карбюраторного двигуна
Зниження токсичності автомобілів в експлуатаційних умовах
Забруднення атмосферного повітря атомобільним транспортом в м. Києві
Проект дільниці технічного обслуговування та ремонту КШМ та ГРМ автомобіля КамАЗ-740




















































