| Похожие рефераты | Скачать .docx |
Курсовая работа: Гальмівна система Камазу
Зміст
Вступ
1. Будова
1.1 Пристрій гальмівної системи
1.2 Пристрій основних механізмів і апаратів гальмівної системи автомобілів Камаз
1.2.1 Механізм гальмівний
1.2.2 Важіль регулювальний
1.2.3 Механізм допоміжної гальмівної системи
1.2.4 Компресор
1.2.5 Вологовідділювач
1.2.6 Регулятор тиску
1.2.7 Кран гальмівний
1.2.8 Регулятор автоматичний гальмівних сил
1.2.9 Клапан захисний чотириконтурний
1.2.10 Ресивери
1.2.11 Камера гальмівна
1.2.12 Циліндри пневматичні
1.2.13 Клапани і датчики
2. Технічне обслуговування
3. Ремонт
Список використаної літератури:
Вступ
Автомобілі Камаз призначені для роботи у всіх галузях народного господарства. Об'єднанням Камаз, що включає 10 основних заводів, випускаються автомобілі колісних формул 4х2, 6х4 і 6х6 – для експлуатації на дорогах з різним покриттям і повноприводні – по бездоріжжю [1].
Також випускається спеціалізована техніка на базі цих автомобілів (банківські, пожежні, будівельні – піднімальні крани, бетонозмішувачі).
На малюнку 1 представлена схема автомобіля КамАЗ–53215 з колісною формулою 6×4, призначеного для перевезення вантажів масою до 10 тонн по дорогах з поліпшеним покриттям у складі автопоїзда (із причепом) [1].

Малюнок 1 – Автомобіль КамАЗ–53215
Автомобілі Камаз, як і інші автомобілі, складається з ряду систем (пуску; живлення паливом; змащення; охолодження; гальмівний і ін.), їхніх агрегатів і вузлів, а також рами, кабіни, платформи, двигуна, трансмісії й ін. [1].
Кожна система й агрегат виконують свої функції для забезпечення безперебійної і безпечної роботи всього автомобіля.
Автомобілі й автопоїзди КамАЗ обладнані чотирма автономними гальмівними системами: робочої, запасний, стоянковій, допоміжної і приводом аварійного розгальмування [2].
Хоча ці системи мають загальні елементи, працюють вони незалежно і забезпечують високу ефективність гальмування в будь-яких умовах експлуатації.
1. Будова
Робоча гальмівна система призначена для зменшення швидкості руху автомобіля або повної його зупинки. Гальмівні механізми робочої гальмівної системи встановлені на всіх шести колесах автомобіля. Привод робочої гальмівної системи — пневматичний двоконтурний, він пускає в хід роздільно гальмівні механізми передньої осі і заднього візка автомобіля. Керується привод ножної педаллю, механічно зв'язаної з гальмівним краном. Виконавчими органами приводу робочої гальмівної системи є гальмівні камери [1, 2].
Запасна гальмівна система призначена для плавного зниження швидкості або зупинки автомобіля, що рухається, у випадку повного або часткового виходу з ладу робочої системи [1, 2].
Стоянкова гальмівна система забезпечує гальмування нерухомого автомобіля на горизонтальній ділянці, а також на ухилі і при відсутності водія.
Стоянкова гальмівна система на автомобілях Камаз виконане як єдине ціле з запасний і для її включення рукоятку ручного крана варто установити в крайнє (верхнє) фіксоване положення [1, 2].
Привод аварійного розгальмування забезпечує можливість поновлення руху автомобіля (автопоїзда) при автоматичному його гальмуванні через витік стиснутого повітря, аварійною сигналізацією і контрольними приладами, що дозволяють стежити за роботою пневмоприводу.
Таким чином, в автомобілях Камаз, гальмівні механізми заднього візка є загальними для робочої, запасний і стоянковій гальмівних систем, а дві останні мають, крім того, і загальний пневматичний привод.
Система гальмівна допоміжна автомобіля служить для зменшення навантаження і температури гальмівних механізмів робочої гальмівної системи.
Допоміжною гальмівною системою на автомобілях Камаз є моторний гальмо-сповільнювач, при включенні якого перекриваються випускні трубопроводи двигуна і відключається подача палива [1, 2].
Аварійна система розгальмування призначена для розгальмування пружинних енергоакумуляторів при їхньому автоматичному спрацьовуванні і зупинці автомобіля унаслідок витоку стиснутого повітря в приводі [1, 2].
Привод системи аварійного розгальмування здубльований: крім пневматичного приводу маються гвинти аварійного розгальмування в кожнім з чотирьох пружинних енергоакумуляторів, що дозволяє розгальмувати останні механічним шляхом.
Система аварійної сигналізації і контролю складається з двох частин [1, 2]:
а) світлової й акустичної сигналізації про роботу гальмівних систем і їхніх приводів.
У різних точках пневматичного приводу убудовані пневмоелектричні датчики, що при дії будь-якої гальмівної системи, крім допоміжної, замикають ланцюга електричних ламп «стоп-сигналу».
Датчики падіння тиску встановлені в ресиверах приводу і при недостатньому тиску в останніх замикають ланцюга сигнальних електричних ламп, розташованих на панелі приладів автомобіля, а також ланцюг звукового сигналу (зумера).
б) клапанів контрольних висновків, за допомогою яких виробляється діагностика технічного стану пневматичного гальмівного приводу, а також (при необхідності) добір стиснутого повітря.
1.1 Пристрій гальмівної системи
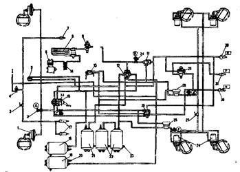
На малюнку 2 представлена схема пневматичного приводу гальмівних механізмів автомобілів Камаз-43101, -43114.
Джерелом стиснутого повітря в приводі є компресор 9. Компресор, регулятор тиску 11, запобіжник 12 від замерзання конденсату, конденсаційний ресивер 20 складають живильну частину приводу, з якої очищене стиснуте повітря під заданим тиском подається в необхідній кількості в інші частини пневматичного гальмівного приводу і до інших споживачів стиснутого повітря [1, 2].
Пневматичний гальмівний привод розбитий на автономні контури, відділені друг від друга захисними клапанами. Кожен контур діє незалежно від інших контурів, у тому числі і при виникненні несправностей. Пневматичний гальмівний привод складається з п'яти контурів, розділених одним подвійним і одним потрійним захисними клапанами [1, 2].
Контур I приводу робочих гальмівних механізмів передньої осі складається з частини потрійного захисного клапана 17; ресивера 24 місткістю 20 л із краном зливу конденсату і датчиком 18 падіння тиску в ресивері, частині двухстрілочного манометра 5; нижньої секції двухсекційного гальмівного крана 16; клапана 7 контрольного висновку (З); клапана 8 обмеження тиску; двох гальмівних камер 1; гальмівних механізмів передньої осі тягача; трубопроводів і шлангів між цими апаратами.
Крім того, у контур входить трубопровід від нижньої секції гальмівного крана 16 до клапана 81 керування гальмівними системами причепа з двухпровідним приводом.
Контур II приводу робочих гальмівних механізмів заднього візка складається з частини потрійного захисного клапана 17; ресиверів 22 загальною місткістю 40 л із кранами 19 зливу конденсату і датчиком 18 падіння тиску в ресивері; частини двухстрілочного манометра 5; верхньої секції двухсекційного гальмівного крана 16; клапана контрольного висновку (D) автоматичного регулятора гальмівних сил 30 із пружним елементом; чотирьох гальмівних камер 26; гальмівних механізмів задньої візка (проміжного і заднього мостів); трубопроводів і шланга між цими апаратами. У контур входить також трубопровід від верхньої секції гальмівного крана 16 до клапана 31 керування гальмівними механізмами з двухпровідним приводом.
Контур III приводу механізмів запасний і стоянковій гальмівних систем, а також, комбінованого приводу гальмівних механізмів причепа (напівпричепа) складається з частини подвійного захисного клапана 13; двох ресиверів 25 загальною місткістю 40 л із краном 19 зливу конденсату і датчиком 18 падіння тиску в ресиверах; двох клапанів 7 контрольного висновку (В и Е) ручного гальмівного крана 2; прискорювального клапани 29; частини двухмагістрального пропускного клапана 32; чотирьох пружинних енергоакумуляторів 28 гальмівних камер; датчика 27 падіння тиску в магістралі пружинних енергоакумуляторів; клапана 31 керування гальмівними механізмами причепа з двухпровідним приводом; одинарного захисного клапана 35; клапана 34 керування гальмівними механізмами причепа з однопровідним приводом; трьох разгромаджуючих кранів 37 трьох сполучних голівок; голівки 38 типу А однопровідного приводу гальмівних механізмів причепа і двох голівок 39 типу "Палм" двухпроводного приводу гальмівних механізмів причепа; двухпроводного приводу гальмівних механізмів причепа; пнемо-електричного датчика 33 "стоп-сигналу", трубопроводів і шлангів між цими апаратами. Слід зазначити, що пневмолектричний датчик 33 у контурі встановлений таким чином, що він забезпечує включення ламп "стоп-сигналу" при гальмуванні автомобіля не тільки запасний (стоянковій) гальмівною системою, але і робочої, а також у випадку виходу з ладу одного з контурів останньої.
Контур IV приводу допоміжної гальмівної системи й інших споживачів не має свого ресивера і складається з частини подвійного захисного клапана 13; пневматичного крана 4; двох циліндрів 23 приводу заслінок; циліндра 10 приводу важеля зупинки двигуна; пнемо-електричного датчика 14; трубопроводів і шлангів між цими апаратами.
Від контуру IV приводу механізмів допоміжної гальмівної системи стиснуте повітря надходить до додаткового (не гальмівним) споживачам; пневмосигналу, пневмо-гідравлічному підсилювачеві зчеплення, керуванню агрегатами трансмісії й ін.
Контур V приводу аварійного розгальмування не має свого ресивера і виконавчих органів. Він складається з частини потрійного захисного клапана 17; пневматичного крана 4; частини двухмагістрального пропускного клапана 32; з'єднуючі апарати трубопроводів і шлангів.

Малюнок 2 – Схема пневматичного приводу гальмівних механізмів автомобілів Камаз-43101, 43114
1 - гальмівні камери типу 24; 2 (А, У, З) - контрольні висновки; 3 – пнемо-електричний вимикач елетромагнітного клапана причепа; 4 - кран керування допоміжною гальмівною системою; 5 - двухстрілочний манометр; 6 - компресор 7 - пневмоциліндр приводу важеля зупинки двигуна; 8 – вологовід’єднувач; 9 - регулятор тиску; 11 -двухмагістральний пропускний клапан; 12—4-х контурний захисний клапан; 13 - кран керування стоянковій гальмівною системою; 14 - теплообмінник; 15 - двухсекційний гальмівний кран; 17 - пневмоциліндри приводу заслінок механізму допоміжної гальмівної системи; 18 - ресивер контуру I; 19 - ресивер споживачів; 20 -вимикач сигналізатора падіння тиску; 21 - ресивер контуру III; 22 - ресивери контуру II; 23 - кран сливг конденсату; 24 - гальмівні камери типу 20/20 із пружинними енергоакумуляторами; 25, 28 - прискорюючі клапани; 26 - клапан керування гальмівними системами причепа з двухпровідним приводом; 27 - вимикач сигналізатора стоянковій гальмівної системи; 29 - клапан керування гальмівними системами причепа з однопровідним приводом; 30 - автоматичні сполучні голівки; 31 - сполучна голівка типу A; R -до живильної магістралі двухпроводного приводу; Р - до сполучної магістралі однопровідного приводу; N -до керуючої магістралі двухпроводного приводу; 31- датчик падіння тиску в ресиверах I контуру; 32- датчик падіння тиску в ресиверах II контуру; 33-датчик стоп- сигналу; 34-кран екстреного розгальмування
Пневматичні гальмівні приводи тягача і причепа з'єднують три магістралі: магістраль однопровідного приводу, що живить і керує (гальмівна) магістралі двухпроводного приводу. На сідельних тягачах сполучні голівки 38 і 39 знаходяться на кінцях трьох гнучких шлангів зазначених магістралей, закріплених на підтримуючій штанзі. На бортових автомобілях голівки 38 і 39 установлені на задній поперечці рами [1, 2].
Для поліпшення вологовідділення в живильній частині гальмівного приводу автомобілів моделей 53212, 53213 на ділянці компресор – регулятор тиску додатково передбачений вологовідділювач, установлений на першій поперечці автомобіля в зоні інтенсивного обдува.
З цією же метою на всіх моделях автомобіля Камаз на ділянці запобіжник– захисні клапани від замерзання передбачений конденсаційний ресивер місткістю 20 л. На самоскиді 55111 відсутня апаратура керування гальмівними механізмами причепа, розгромаджувальні крани, сполучні голівки.
Для спостереження за роботою пневматичного гальмівного приводу і своєчасної сигналізації про його стан і виникаючі несправності в кабіні на щитку приладів маються п'ять сигнальних лампочок, двухстрілочний манометр, що показує тиск стиснутого повітря в ресиверах двох контурів (I і II) пневматичного приводу робочої гальмівної системи, і зумер, що сигналізує про аварійне падіння тиску стиснутого повітря в ресиверах будь-якого контуру гальмівного приводу.
1.2 Пристрій основних механізмів і апаратів гальмівної системи автомобілів Камаз
Гальмівні механізми (малюнок 3) установлені на всіх шести колесах автомобіля, основний вузол гальмівного механізму змонтований на супорті 2, жорстко зв'язаному з фланцем моста. На ексцентрики осей 1, закріплені в супорті, вільно спираються дві гальмівні колодки 7 із прикріпленими до них фрикційними накладками 9, виконаними по серповидному профілі відповідно до характеру їхнього зносу. Осі колодок з ексцентричними опорними поверхнями дозволяють при зборці гальмівних механізмів правильно зцентрувати колодки щодо гальмівного барабана. Гальмівний барабан кріпиться до маточини колеса п'ятьма гвинтами [1, 2].
При гальмуванні колодки розсовуються S-подібним кулаком 12 і притискаються до внутрішньої поверхні барабана. Між розтискним кулаком 12 і колодками 7 установлені ролики 13, що знижують тертя і поліпшують ефективність гальмування. У розгальмований стан колодки повертаються чотирма відтяжними пружинами 8.
Розтискний кулак 12 обертається в кронштейні 10, прикріпленому до супорта гвинтами. На цьому кронштейні встановлюється гальмівна камера. На кінці вала розтискного кулака встановлений регулювальний важіль 14 черв'ячного типу, з'єднаний зі штоком гальмівної камери за допомогою вилки і пальця. Щиток, прикріплений гвинтами до супорта, захищає гальмівний механізм від бруду.
2.2.2 Важіль регулювальний
Регулювальний важіль призначений для зменшення зазору між колодками і гальмівним барабаном, що збільшується внаслідок зносу фрикційних накладок. Пристрій регулювального важеля показано на малюнку 4. Регулювальний важіль має сталевий корпус 6 із втулкою 7. У корпусі знаходиться черв'ячне зубчасте колесо 3 зі шліцевими отворами для установки на розтискного кулака і черв'яка 5 із запресованої в нього віссю 11.

Малюнок 3 – Механізм гальмівний
1 - вісь колодки; 2 -супорт; 3 - щиток; 4 - гайка осі; 5 - накладка осей колодок; 6 - чека осі колодки; 7 - колодка гальмівна; 8 - пружина; 9 - накладка фрикційна; 10-кронштейн розтискного кулака; 11 - вісь ролика; 12 - кулак розтискної; 13 - ролик; 14 - важіль регулювальний
Для фіксації осі черв'яка мається стопорний пристрій, кулька 10 якого входить у лунки на осі 11 черв'яка під дією пружини 9, що упирається в стопорний гвинт 8. Зубчасте колесо утримується від випадання кришками 1, прикріпленими до корпуса 6 важеля. При повороті осі (за квадратний кінець) черв'як повертає колесо 3, а разом з ним повертається розтискний кулак, розсовуючи колодки і зменшуючи зазор між колодками і гальмівним барабаном. При гальмуванні регулювальний важіль повертається штоком гальмівної камери [1, 2].
Перед регулюванням зазору стопорний гвинт 8 необхідно послабити на один-два оборотів, після регулювання гвинт надійно затягти.
2.2.3 Механізм допоміжної гальмівної системи
Механізм допоміжної гальмівної системи представлений на малюнку 5.
У прийомних трубах глушителя встановлений корпус 1 і заслінка 3, закріплена на валу 4. На валу заслінки закріплений також поворотний важіль 2, з'єднаний зі штоком пневмоциліндра. Важіль 2 і зв'язана з ним заслінка 3 мають два положення. Внутрішня порожнина корпуса сферична.

Малюнок 4 – Важіль регулювальний
1 - кришка; 2 - заклепка; 3 - колесо зубцювате; 4 - заглушка; 5 - черв'як; 6 - корпус; 7 - втулка; 8 - гвинт стопорний; 9 - пружина фіксатора; 10 - кулька фіксатора; 11 - вісь черв'яка; 12 – маслюка
При вимиканні допоміжної гальмівної системи заслінка 3 встановлюється уздовж потоку газів, що відробили, а при включенні — перпендикулярно потокові, створюючи визначений протитиск у випускних колекторах. Одночасно припиняється подача палива. Двигун починає працювати в режимі компресора [1, 2].

Малюнок 4 – Механізм допоміжної гальмівної системи
1 - корпус; 2 - важіль поворотний; 3 - заслінка; 4 - вал
Компресор (малюнок 5) поршневого типу, одноциліндровий, одноступінчатого стиску. Компресор закріплений на передньому торці картера маховика двигуна.
Поршень алюмінієвий, з пальцем, що плаває. Від осьового переміщення палець у бобишках поршня фіксується штопорними кільцями. Повітря з колектора двигуна надходить у циліндр компресора через пластинчастий впускний клапан.
Стиснутий поршнем повітря витісняється в пневмосистему через розташований у голівці циліндра пластинчастий нагнітальний клапан [1, 2].
Голівка прохолоджується рідиною, котра підводиться із системи охолодження двигуна. Мастило до поверхонь компресора, котрі труться подається з масляної магістралі двигуна: до заднього торця колінчатого вала компресора і по каналах колінчатого вала до шатуна. Поршнєвій палець і стінки циліндра змазуються розбризкуванням.
При досягненні в пневмосистемі тиску 800–2000 кПа регулятор тиску сполучає нагнітальну магістраль з навколишнім середовищем, припиняючи подачу повітря в пневмосистему.
Коли тиск повітря в пневмосистемі знизиться до 650–50кпа, регулятор перекриває вихід повітря в навколишнє середовище і компресор знову починає нагнітати повітря в пневмосистему.

Малюнок 5 – Компресор
1- шатун; 2 - палець поршня; 3 -маслоз’ємне кільце; 4 - компресійне кільце; 5 -корпус циліндра компресора; 6 - проставка циліндра; 7 - голівка циліндра; 8 - стягуючий гвинт; 9 - гайка; 10 -прокладки; 11 - поршень; 12, 13 - ущільнюючі кільця; 14 - підшипники ковзання; 15 - задня кришка картера; 16 - колінчатий вал; 17 - картер; 18 -зубчасте колесо приводу; 19 - гайка кріплення зубчастого колеса; I - уведення; II - виводу у пневмосистему
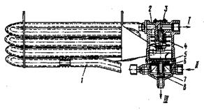
Вологовідділювач призначений для виділення конденсату зі стиснутого повітря і його автоматичного видалення з живильної частини приводу. Пристрій влагоотделителя показаний на малюнку 6 [2].
Стиснуте повітря від компресора через підведення II подається в ребристу алюмінієву трубку-охолоджувач (радіатор) 1, де постійно прохолоджується потоком зустрічного повітря. Потім повітря проходить по відцентрових направляючих дисках направляючого апарата 4 через отвір пустотілого гвинта 3 у корпусі 2 до висновку I і далі в пневматичний гальмівний привод. Волога, що виділялася за рахунок термодинамічного ефекту, стікаючи через фільтр 5, накопичується в нижній кришці 7. При спрацьовуванні регулятора тиск у вологовідділювач падає, при цьому мембрана 6 переміщається нагору. Клапан 8 зливу конденсату відкривається, суміш води й мастила що зібралася через вивід III віддаляється в атмосферу.
Напрямок потоку стиснутого повітря показано стрілками на корпусі 2.

Малюнок 6 – Вологовідділювач
1 - радіатор з ребристими трубками; 2 - корпус; 3 - гвинт пустотілий; 4 - апарат направляючий; 5 - фільтр; 6 - мембрана; 7 - кришка; 8 - клапан зливу конденсату;
I - до регулятора тиску; II - від компресора; III - в атмосферу
Регулятор тиску (малюнок 7) призначений [2]:
– для регулювання тиску стиснутого повітря в пневмосистемі;
– запобігання пневмосистемі від перевантаження надлишковим тиском;
– очищення стиснутого повітря від вологи й мастила;
– забезпечення накачування шин.
Стиснуте повітря від компресора через виводу IV регулятора, фільтр 2, канал 12 подається в кільцевий канал. Через зворотній клапан 11 стиснуте повітря надходить до висновку II і далі в ресивери пневмосистемі автомобіля. Одночасно по каналі 9 стиснуте повітря проходить під поршень 8, що навантажений пружиною, що врівноважує, 5. При цьому випускний клапан 4, що з'єднує порожнину над розвантажувальним поршнем 14 з атмосферою через виводу I, відкритий, а впускний клапан 13 під дією пружини закритий. Під дією пружини закритий також і розвантажувальний клапан 1. При такому стані регулятора система наповняється стисненим повітрям від компресора. При тиску в порожнині під поршнем 8, рівному 686,5... 735,5 кпа (7...7,5 кгс/ див2), поршень, переборовши зусилля пружини, що врівноважує, 5, піднімається нагору, клапан 4 закривається, впускний клапан 13 відкривається.
Під дією стиснутого повітря розвантажувальний поршень 14 переміщається вниз, розвантажувальний клапан 1 відкривається, і стиснуте повітря з компресора через виводу III виходить в атмосферу разом з конденсатом, що зібрався в порожнині. При цьому тиск у кільцевому каналі падає і зворотній клапан 11 закривається. Таким чином, компресор працює в розвантаженому режимі без протитиску.
Коли тиск у висновку II понизиться до 608... 637,5 кпа, поршень 8 під дією пружини 5 переміщається вниз, клапан 13 закривається, а випускний клапан 4 відкривається. При цьому розвантажувальний поршень 14 під дією пружини піднімається нагору, клапан 1 під дією пружини закривається, і компресор нагнітає стиснуте повітря в пневмосистему.
Розвантажувальний клапан 1 служить також запобіжним клапаном. Якщо регулятор не спрацьовує при тиску 686,5... 735,5 кпа (7...7,5 кгс/див2), то клапан 1 відкривається, переборовши опір своєї пружини і пружини поршня 14. Клапан 1 відкривається при тиску 980,7... 1274,9 кпа (10...13 кгс/див2). Тиск відкриття регулюють зміною кількості прокладок, установлених під пружиною клапана.
Для приєднання спеціальних пристроїв регулятор тиску має виводу, що з'єднаний з висновком IV через фільтр 2. Цей виводу закритий різьбовою пробкою 3. Крім того, передбачений клапан добору повітря для накачування шин, що закритий ковпачком 17. При нагвинчуванні штуцера шланга для накачування шин клапан втоплюється, відкриваючи доступ стисненому повітрю в шланг і перепиняючи прохід стиснутого повітря в гальмівну систему. Перед накачуванням шин тиск у ресиверах варто понизити до тиску, що відповідає тискові включення регулятора, тому що під час холостого ходу не можна зробити добір повітря.

Малюнок 7 – Регулятор тиску
1 - клапан розвантажувальний; 2 -фільтр; 3 - пробка каналу добору повітря; 4 - клапан випускної; 5 - пружина що врівноважує; 6 - гвинт регулювальний; 7 - чохол захисний; 8 - поршень що слідує; 9, 10, 12 - канали; 11 - клапан зворотній; 13 - клапан впускний; 14 - поршень розвантажувальний; 15 - сідло розвантажувального клапана; 16 - клапан для накачування шин; 17 -ковпачок;
I, III - висновки атмосферні; II - у пневмосистему; IV - від компресора;
С - порожнина під поршнем, що слідує; D - порожнина під розвантажувальним поршнем
Двухсекційний гальмівний кран (малюнок 8) служить для керування виконавчими механізмами двоконтурного приводу робочої гальмівної системи автомобіля [2].

Малюнок 8 – Кран гальмівний із приводом від педалі
1 - педаль; 2 - регулювальний гвинт; 3 - захисний чохол; 4 - вісь ролика; 5 - ролик; 6 - штовхач; 7 - опорна плита; 8 -гайка; 9 - тарілка; 10,16, 19, 27 - ущільнюючі кільця; 11 - шпилька; 12 - пружина поршня, що слідує; 13, 24 -пружини клапанів; 14, 20 - тарілки пружин клапанів; 15 - малий поршень; 17 - клапан нижньої секції; 18 -штовхач малого поршня; 21 - атмосферний клапан; 22 -штопорне кільце; 23 - корпус атмосферного клапана; 25 -нижній корпус; 26 - пружина малого поршня; 28 -великий поршень; 29 - клапан верхньої секції; 30 - поршень, 31 - пружний елемент; 32 - верхній корпус;
А - отвір; У - порожнина над великим поршнем;
I, II - уведення від ресивера; III, IV - виводу до гальмівних камер відповідно задніх і передніх коліс
Керування краном здійснюється педаллю, безпосередньо зв'язаної з гальмівним краном.
Кран має дві незалежні секції, розташовані послідовно. Уведення I і II крана з'єднані з ресиверами двох роздільних контурів приводу робочої гальмівної системи. Від висновків III і IV стиснуте повітря надходить до гальмівних камер. При натисканні на гальмівну педаль силовий вплив передається через штовхач 6, тарілку 9 і пружний елемент 31 на поршень, що слідує, 30. Переміщаючи вниз, що слідує поршень 30 спочатку закриває випускний отвір клапана 29 верхньої секції гальмівного крана, а потім відривається клапан 29 від сідла у верхньому корпусі 32, відкриваючи прохід стисненому повітрю через уведення II і виводу III і далі до виконавчих механізмів одного з контурів. Тиск на висновку III підвищується доти, поки сила натискання на педаль 1 не зрівноважиться зусиллям, створюваним цим тиском на поршень 30. Так здійснюється дія, що слідує, у верхній секції гальмівного крана. Одночасно з підвищенням тиску на висновку III стиснуте повітря через отвір А попадає в порожнину В над великим поршнем 28 нижньої секції гальмівного крана. Переміщаючи вниз, великий поршень 28 закриває випускний отвір клапана 17 і відривається його від сідла в нижньому корпусі. Стиснуте повітря через уведення I надходить до висновку IV і далі у виконавчі механізми першого контуру робочої гальмівної системи.
Одночасно з підвищенням тиску на висновку IV зростає тиск під поршнями 15 і 28, у результаті чого врівноважується сила, що діє на поршень 28 зверху. Унаслідок цього на висновку IV також установлюється тиск, що відповідає зусиллю на важелі гальмівного крана. Так здійснюється дія, що слідує, у нижній секції гальмівного крана.
При відмовленні в роботі верхньої секції гальмівного крана нижня секція буде керуватися механічно через шпильку 11 і штовхач 18 малого поршня 15, цілком зберігаючи працездатність. При цьому дія, що слідує, здійснюється зрівноважуванням сили, прикладеної до педалі 1, тиском повітря на малий поршень 15. При відмовленні в роботі нижньої секції гальмівного крана верхня секція працює як звичайно.
2.2.8 Регулятор автоматичний гальмівних сил
Регулятор автоматичний гальмівних сил призначений для автоматичного регулювання тиску стиснутого повітря, підведеного при гальмуванні до гальмівних камер мостів заднього візка автомобілів Камаз у залежності від діючого осьового навантаження [2].
Автоматичний регулятор гальмівних сил установлений на кронштейні 1, закріпленому на поперечці рами автомобіля (малюнок 9). Регулятор кріпиться на кронштейні гайками.

Малюнок 9 – Установка регулятора гальмівних сил
1 - кронштейн регулятора; 2 - регулятор; 3- важіль; 4 - штанга пружного елемента; 5 - елемент пружний; 6 - штанга сполучна; 7 - компенсатор; 8 - міст проміжний; 9 - міст задній
Важіль 3 регулятора за допомогою вертикальної штанги 4 з'єднаний через пружний елемент 5 і штангу 6 з балками мостів 8 і 9 заднього візка. Регулятор з'єднаний з мостами таким чином, що перекоси мостів під час гальмування на нерівних дорогах і скручування мостів унаслідок дії гальмівного моменту не відбивають на правильному регулюванні гальмівних сил. Регулятор встановлений у вертикальному положенні. Довжина плеча важеля 3 і положення його при розвантаженій осі підбираються по спеціальній номограмі в залежності від ходу підвіски при навантаженні осі і співвідношення осьового навантаження в навантаженому і порожньому стані.
Пристрій автоматичного регулятора гальмівних сил показане на рисунку 10. При гальмуванні стиснуте повітря від гальмівного крана підводиться до висновку I регулятора і впливає на верхню частину поршня 18, змушуючи його переміщатися вниз. Одночасно стиснуте повітря по трубці 1 надходить під поршень 24, що переміщається нагору і притискається до штовхача 19 і кульовій п'яті 23, що знаходиться разом з важелем 20 регулятора в положенні, що залежить від величини навантаження на вісь візка. При переміщенні поршня 18 униз клапан 17 прижимається до випускного сідла штовхача 19. При подальшому переміщенні поршня 18 клапан 17 відривається від сідла в поршні і стиснуте повітря з висновку I надходить у виводу II і далі до гальмівних камер мостів заднього візка автомобіля.
Одночасно стиснуте повітря через кільцевий зазор між поршнем 18 і направляючої 22 надходить у порожнину А під мембрану 21 і остання починає давити на поршень знизу. При досягненні на висновку II тиску, відношення якого до тиску на висновку I відповідає співвідношенню активних площ верхньої і нижньої сторін поршня 18, останній піднімається нагору до моменту посадки клапана 17 на впускне сідло поршня 18. Надходження стиснутого повітря з висновку I до висновку II припиняється. У такий спосіб здійснюється дія регулятора, що слідує. Активна площа верхньої сторони поршня, на котру впливає стиснуте повітря, підведений до висновку 7, залишається завжди постійної.
Активна площа нижньої сторони поршня, на яку через мембрану 21 впливає стиснуте повітря, що прийшло у вивід II, постійно міняється через зміну взаємного розташування похилих ребер 11 поршня, що рухається, 18 і нерухомої вставки 10. Взаємне положення поршня 18 і вставки 10 залежить від положення важеля 20 і зв'язаного з ним через п'яту 23 штовхача 19. У свою чергу положення важеля 20 залежить від прогину ресор, тобто від взаємного розташування балок мостів і рами автомобіля. Чим нижче опускається важіль 20, п'ята 23, а отже, і поршень 18, тим велика площа ребер 11 входить у контакт із мембраною 21, тобто більше стає активна площа поршня 18 знизу. Тому при крайньому нижньому положенні штовхача 19 (мінімальне осьове навантаження) різниця тисків стиснутого повітря у висновках I і II найбільша, а при крайньому верхнім положенні штовхача 19 (максимальне осьове навантаження) ці тиски вирівнюються. Таким чином, регулятор гальмівних сил автоматично підтримує у висновку II і в зв'язаних з ним гальмівних камерах тиск стиснутого повітря, що забезпечує потрібну гальмівну силу, пропорційний осьовому навантаженню, що діє під час гальмування.
При розгальмуванні тиск у висновку I падає. Поршень 18 під тиском стиснутого повітря, що діє на нього через мембрану 21 знизу, переміщається нагору і відривається клапан 17 від випускного сідла штовхача 19. Стиснуте повітря з висновку II виходить через отвір штовхача і виводу III в атмосферу, віджимаючи при цьому краю гумового клапана 4 [2].

Малюнок 10 – Автоматичний регулятор гальмівних сил
1 - труба; 2, 7 - кільця ущільнюючі; 3 - корпус нижній; 4 - клапан; 5 - вал; 6, 15 - кільця штопорні; 8 - пружина мембрани; 9 - шайба мембрани; 10 - вставка; 11 - ребра поршня; 12 - манжета; 13 - тарілка пружини клапана; 14 - корпус верхній; 16 - пружина; 17 - клапан; 18 - поршень; 19 - штовхач; 20 - важіль; 21 - мембрана; 22 - напрямна; 23 - п'ята кульова; 24 - поршень; 25 - ковпачок направляючий; I - від гальмівного крана; II - до гальмівних камер задніх коліс; III - в атмосферу
Елемент пружний регулятора гальмівних сил призначений для запобігання ушкодження регулятора, якщо переміщення мостів щодо рами більше припустимого ходу важеля регулятора.
Пружний елемент 5 регулятора гальмівних сил установлений (малюнок 11) на штанзі 6, розташованої між балками задніх мостів певним чином.
Точка з'єднання елемента зі штангою 4 регулятори знаходиться на осі симетрії мостів, що не переміщається у вертикальній площині при скручуванні мостів у процесі гальмування, а також при однобічному навантаженні на нерівній поверхні дороги і при перекосах мостів на криволінійних ділянках при повороті. При всіх цих умовах на важіль регулятора передаються тільки вертикальні переміщення від статичної і динамічної зміни осьового навантаження.
Пристрій пружного елемента регулятора гальмівних сил показано на малюнку 11. При вертикальних переміщеннях мостів у межах припустимого ходу важеля регулятора гальмівних сил кульовий палець 4 пружні елементи знаходиться в нейтральній крапці. При сильних поштовхах і вібрації, а також при переміщенні мостів за межі припустимого ходу важеля регулятора гальмівних сил стрижень 3, переборюючи силу пружини 2, повертається в корпусі 1. При цьому тяга 5, що з'єднує пружний елемент із регулятором гальмівних сил, повертається щодо відхиленого стрижня 3 навколо кульового пальця 4.
Після припинення дії сили, що відхиляє стрижень 3, палець 4 під дією пружини 2 повертається у вихідне нейтральне положення.

Малюнок 11 – Елемент пружний регулятора гальмівних сил
1 - корпус; 2 - пружина; 3 - стрижень; 4 - палець кульової; 5 -тяга регулятора
2.2.9 Клапан захисний чотириконтурний
Чотириконтурний захисний клапан (малюнок 12) призначений для поділу стиснутого повітря, що надходить від компресора, на два основних і один додатковий контури: для автоматичного відключення одного з контурів при порушенні його герметичності і збереження стиснутого повітря в герметичних контурах; для збереження стиснутого повітря у всіх контурах при порушенні герметичності живильної магістралі; для живлення додаткового контуру від двох основних контурів (доти, поки тиск у них не знизиться до заданого рівня).
Чотириконтурний захисний клапан прикріплений до лонжерона рами автомобіля [2].

Малюнок 12 – Клапан захисний чотириконтурний
1 - ковпачок захисний; 2 - тарілка пружини; 3, 8, 10 - пружини; 4 - напрямна пружини; 5 - мембрана; 6 - штовхач; 7, 9 - клапани; 11, 12 - гвинти; 13 - пробка транспортна; 14 - корпус; 15 – кришка
Стиснуте повітря, що надходить у чотириконтурний захисний клапан з живильної магістралі, при досягненні заданого тиску відкриття, установлюваного зусиллям пружин 3, відкриває клапани 7, впливаючи на мембрану 5, піднімає її, і надходить через висновки в два основних контури. Після відкриття зворотних клапанів стиснуте повітря надходить до клапанів 7, відкриває їх і через виводу проходить у додатковий контур.
При порушенні герметичності одного з основних контурів тиск у цьому контурі, а також на вході в клапан падає до заданої величини. Унаслідок цього клапан справного контуру і зворотній клапан додаткового контуру закриваються, запобігаючи зменшення тиску в цих контурах. Таким чином, у справних контурах буде підтримуватися тиск, що відповідає тискові відкриття клапана несправного контуру, зайва кількість стиснутого повітря при цьому буде виходити через несправний контур.
При відмовленні в роботі додаткового контуру тиск падає в двох основних контурах і на вході в клапан. Це відбувається доти, поки не закриється клапан 6 додаткового контуру. При подальшому надходженні стиснутого повітря в захисний клапан 6 в основних контурах буде підтримуватися тиск на рівні тиску відкриття клапана додаткового контуру [2].
Ресивери призначені для нагромадження стиснутого повітря, виробленого компресором, і для живлення їм приладів пневматичного гальмівного приводу, а також для живлення інших пневматичних вузлів і систем автомобіля [1, 2, 3].
На автомобілі Камаз установлено шість ресиверів місткістю по 20 л, причому чотири з них з'єднані між собою попарно, утворити два резервуари місткістю по 40 л. Ресивери закріплені хомутами на кронштейнах рами автомобіля. Три ресивери об'єднані в блок і встановлені на єдиному кронштейні.
Кран зливу конденсату (малюнок 13) призначений для примусового зливу конденсату з ресивера пневматичного гальмівного приводу, а також для випуску з нього стиснутого повітря при необхідності. Кран зливу конденсату ввернуть у різьбову бобишку на нижній частині корпуса ресивера. З'єднання між краном і бобишкою ресивера ущільнено прокладкою.

Малюнок 13 – Кран зливу конденсату
1 - шток; 2 - пружина; 3 - корпус; 4 - кільце опорне; 5 - шайба; 6 – клапан
Камера гальмівна з пружинним енергоакумулятором типу 20/20 показана на малюнку 14. Вона призначена для приведення в дію гальмівних механізмів коліс заднього візка автомобіля при включенні робочої, запасний і стоянковій гальмівних систем [2].
Пружинні енергоакумуляторі разом з гальмівними камерами встановлені на кронштейни розтискних кулаків гальмівних механізмів заднього візка і закріплені двома гайками з гвинтами.
При гальмуванні робочою гальмівною системою стиснуте повітря від гальмівного крана подається в порожнину над мембраною 16. Мембрана 16, прогинаючи, впливає на диск 17, що через шайбу і контргайку переміщає шток 18 і повертає регулювальний важіль з розтискним кулаком гальмівного механізму. Таким чином, гальмування задніх коліс відбувається так само, як і гальмування передніх зі звичайною гальмівною камерою.
При включенні запасної або стоянковій гальмівної системи, тобто при випуску повітря ручним краном з порожнини під поршнем 5, пружина 8 розтискається і поршень 5 переміщається вниз. Підп'ятник 2 через мембрану 16 впливає на підп'ятник штока 18, що, переміщаючи, повертає зв'язаний з ним регулювальний важіль гальмівного механізму. Відбувається загальмування автомобіля.
При розгальмуванні стиснуте повітря надходить через виводу під поршень 5. Поршень разом зі штовхачем 4 і підп'ятником 2 переміщається нагору, стискаючи пружину 8 і дає можливість штокові 18 гальмівної камери під дією поворотної пружини 19 повернутися у вихідне положення.

Малюнок 14 – Камера гальмівна типу 20/20 із пружинним енергоакумулятором
1 - корпус; 2 - підп'ятник; 3 - кільце ущільнювальне; 4 - штовхач; 5 - поршень; 6 - ущільнення поршня; 7 - циліндр енергоакумулятора; 8 - пружина; 9 - гвинт механізму аварійного розгальмування; 10 - гайка штопорна; 11- патрубок циліндра; 12 - трубка дренажна; 13 - підшипник штопорний; 14 - фланець; 15 - патрубок гальмівної камери; 16 - мембрана; 17 - диск опорний; 18 - шток; 19 - пружина поворотна
При надмірно великому зазорі між колодками і барабаном гальмівного механізму, тобто при надмірно великому ході штока гальмівної камери, зусилля на штоку може виявитися недостатнім для ефективного гальмування. У цьому випадку варто включити ручний гальмівний кран зворотної дії і випустити повітря з-під поршня 5 пружинного енергоакумулятора. Підп'ятник 2 під дією силової пружини 8 продавить середину мембрани 16 і просуне шток 18 на наявний додатковий хід, забезпечивши загальмування автомобіля.
При порушенні герметичності і зниженні тиску в ресивері стоянковій гальмівної системи повітря з порожнини під поршнем 5 через виводу піде в атмосферу через ушкоджену частину приводу і відбудеться автоматичне загальмування автомобіля пружинними енергоакумуляторами.
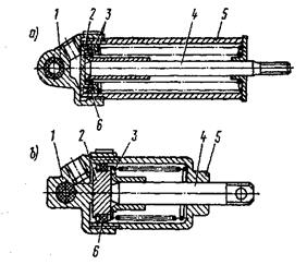
Циліндри пневматичні призначені для приведення в дію механізмів допоміжної гальмівної системи [2].
На автомобілях Камаз установлено три пневматичних циліндри:
– два циліндри діаметром 35 мм і ходом поршня 65 мм (малюнок 15, а) для керування дросельними заслінками, встановленими у випускних трубопроводах двигуна;
– один циліндр діаметром 30 мм і ходом поршня 25 мм (малюнок 15, б) для керування важелем регулятора паливного насоса високого тиску.
Пневматичний циліндр 035x65 шарнірно закріплений на кронштейні за допомогою пальця. Шток циліндра різьбовою вилкою з'єднується з важелем керування заслінкою. При включенні допоміжна гальмівної системи стиснуте повітря від пневматичного крана через виводу у кришці 1 (див. мал. 311, а) надходить у порожнину під поршнем 2. Поршень 2, переборюючи силу поворотних пружин 3, переміщається і впливає через шток 4 на важіль керування заслінкою, переводячи її з положення «ВІДКРИТО» у положення «ЗАКРИТЕ». При випуску стиснутого повітря поршень 2 зі штоком 4 під дією пружин 3 повертається у вихідне положення. При цьому заслінка повертається в положення «ВІДКРИТЕ».
Пневматичний циліндр 030x25 шарнірно встановлений на кришці регулятора паливного насоса високого тиску. Шток циліндра різьбовою вилкою з'єднаний з важелем регулятора. При включенні допоміжної гальмівної системи стиснуте повітря від пневматичного крана через виводу у кришці 1 циліндра надходить у порожнину під поршнем 2. Поршень 2, переборюючи силу поворотної пружини 3, переміщається і впливає через шток 4 на важіль регулятора паливного насоса, переводячи його в положення нульової подачі. Система тяг педалі керування подачею палива зв'язана зі штоком циліндра таким чином, що при включенні допоміжної гальмівної системи педаль не переміщається. При випуску стиснутого повітря поршень 2 зі штоком 4 під дією пружини 3 повертається у вихідне положення.

Малюнок 15 – Пневматичні циліндри приводу заслінки механізму допоміжної гальмівної системи (а) і приводу важеля зупинки двигуна (б)
1 - кришка циліндра; 2 - поршень; 3 - пружини поворотні; 4 -шток; 5 - корпус; 6 – манжета
Клапан контрольного висновку (мал. 312) призначений для приєднання до приводу контрольно-вимірювальних приладів з метою перевірки тиску, а також для добору стиснутого повітря. Таких клапанів на автомобілях Камаз установлено п'ять – у всіх контурах пневматичного гальмівного приводу. Для приєднання до клапана варто застосовувати шланги і вимірювальні прилади з накидною гайкою М 16x1,5.
При вимірі тиску або для добору стиснутого повітря відвернути ковпачок 4 клапани і нагвинти на корпус 2 накидну гайку шланга, приєднаного до контрольного манометра або якого-небудь споживача. При нагвинчені гайка переміщає штовхач 5 із клапаном, і повітря через радіальні й осьове отвори в штовхачу 5 надходить у шланг. Після від'єднання шланга штовхач 5 із клапаном під дією пружини 6 притискається до сідла в корпусі 2, закриваючи вихід стисненому повітрю з пневмоприводу [2].

Малюнок 16 – Клапан контрольного висновку
1 - штуцер; 2 - корпус; 3 - петля; 4 - ковпачок; 5 - штовхач із клапаном; 6 - пружина
Датчик падіння тиску (малюнок 17) являє собою пневматичний вимикач, призначений для замикання ланцюга електричних ламп і звукового сигналу (зумера) аварійної сигналізації при падінні тиску в ресиверах пневматичного гальмівного приводу. Датчики за допомогою зовнішнього різьблення на корпусі вгвинчуються в ресивери всіх контурів гальмівного приводу, а також в арматуру контуру приводу стоянкової і запасний гальмівних систем і при їхньому включенні загоряються червона контрольна лампочка на щитку приладів і лампи сигналу гальмування.
Датчик має нормально замкнуті центральні контакти, що розмикаються при підвищенні тиску вище 441,3... 539,4 кпа.
При досягненні в приводі зазначеного тиску мембрана 2 під дією стиснутого повітря прогинається і через штовхач 4 впливає на рухливий контакт 5. Останній, переборовши зусилля пружини 6, відривається від нерухомого контакту 3 і розриває електричний ланцюг датчика. Замикання контакту, а отже, включення контрольних ламп і зумера, відбувається при зниженні тиску нижче зазначеної величини [2].

Малюнок 17 – Датчик падіння тиску
1 - корпус; 2 - мембрана; 3 - контакт нерухомий; 4 штовхач; 5 - контакт рухливий; 6 - пружина; 7 - гвинт регулювальний; 8 – ізолятор
Датчик включення сигналу гальмування (малюнок 18) являє собою пневматичний вимикач, призначений для замикання ланцюга електричних сигнальних ламп при гальмуванні. Датчик має нормально розімкнуті контакти, що замикаються при тиску 78,5...49 кпа і розмикаються при зменшенні тиску нижче 49...78,5 кпа. Датчики встановлені в магістралях, які підводять стиснуте повітря до виконавчих механізмів гальмівних систем [2].
При підведенні стиснутого повітря під мембрану остання прогинається, і рухомий контакт 3 з'єднує контакти 6 електричного ланцюга датчика.

Малюнок 18 – Датчик включення сигналу гальмування
1 - корпус; 2-мембрана; 3 -контакт рухливий; 4 -пружина; 5 - виводу нерухомого контакту; 6 -контакт нерухомий; 7 –кришка
Клапан керування гальмівними механізмами причепа з двухпровідним приводом (малюнок 19) призначений для приведення в дію гальмівного приводу причепа (напівпричепа) при включенні кожного з роздільних контурів приводу робочої гальмівної системи тягача, а також при включенні пружинних енергоакумуляторів приводу запасний і стоянковій гальмівних систем тягача.
Клапан кріпиться на рамі тягача двома гвинтами.
Між нижньому 14 і середнім 18 корпусами затиснута мембрана 1, що укріплена між двома шайбами 17 на нижньому поршні 13 гайкою 16, ущільненої гумовим кільцем. До нижнього корпуса двома гвинтами прикріплене випускне вікно 15 із клапаном, що охороняє прилад від улучення пилу і бруду. При ослабленні одного з гвинтів випускне вікно 15 можна повернути і відкрити доступ до регулювального гвинта 8 через отвір клапана 4 і поршні 13. У розгальмованому стані до висновків II і V постійно подається стиснуте повітря, що, впливаючи зверху на мембрану 1 і знизу на середній поршень 12, утримує поршень 13 у нижньому положенні. При цьому виводу IV з'єднує магістраль керування гальмівними механізмами причепа з атмосферним висновком VI через центральний отвір клапана 4 і нижній поршні 13.

Малюнок 19 – Клапан керування гальмівними механізмами причепа з двухпровідним приводом
1 - мембрана; 2 - пружина; 3 - клапан розвантажувальний; 4 - клапан впускний; 5 - корпус верхній; 6 - поршень верхній великої; 7 - тарілка пружини; 8 - гвинт регулювальний; 9 - пружина; 10 - поршень малий верхній; 11 - пружина; 12 - поршень середній; 13 - поршень нижній; 14 - корпус нижній; 15 - вікно випускне; 16 - гайка; 17 - шайба мембрани; 18 - корпус середній; I - виводу до секції гальмівного крана; II - виводу до крана керування стоянковій гальмівною системою; III - виводу до секції гальмівного крана; IV - виводу у гальмівну магістраль причепа; V - виводу до ресивера; VI - виводу атмосферний
При підведенні стиснутого повітря до висновку III верхні поршні 10 і 6 одночасно переміщаються вниз. Поршень 10 спочатку сідає своїм сідлом на клапан 4, перекриваючи атмосферний виводу у нижньому поршні 13, а потім відривається клапан 4 від сідла середнього поршня 12. Стиснуте повітря від висновку V, зв'язаного з ресивером, надходить до висновку IV і далі в магістраль керування гальмівними механізмами причепа. Подача стиснутого повітря до висновку IV продовжується доти, поки його вплив знизу на верхні поршні 10 і 6 не зрівноважиться тиском стиснутого повітря, підведеного до висновку III, на ці поршні зверху. Після цього клапан 4 під дією пружини 2 перекриває доступ стиснутого повітря від висновку V до висновку IV. У такий спосіб здійснюється дія, що слідує. При зменшенні тиску стиснутого повітря на висновку III від гальмівного крана, тобто при розгальмуванні, верхній поршень 6 під дією пружини 11 і тиску стиснутого повітря знизу (у висновку IV) переміщається нагору разом з поршнем 10. Сідло поршня 10 відривається від клапана 4 і сполучає виводу IV з атмосферним висновком VI через отвори клапана 4 і поршні 13.
При підведенні стиснутого повітря до висновку I він надходить під мембрану 1 і переміщає нижній поршень 13 разом із середнім поршнем 12 і клапаном 4 нагору. Клапан 4 доходить до сідла в малому верхньому поршні 10, перекриває атмосферний виводу, а при подальшому русі середнього поршня 12 відривається від його впускного сідла. Повітря надходить з висновку V, з'єднаного з ресивером, до висновку IV і далі в магістраль керування гальмівними механізмами причепа доти, поки його вплив на середній поршень 12 зверху не зрівняється тиском на мембрану 1 знизу. Після цього клапан 4 перекриває доступ стиснутого повітря з висновку V до висновку IV. У такий спосіб здійснюється дія, що слідує, при такому варіанті роботи приладу. При падінні тиску стиснутого повітря на висновку I і під мембрану нижній поршень 13 разом із середнім поршнем 12 переміщається вниз. Клапан 4 відривається від сідла у верхньому малому поршні 10 і сполучає виводу IV з атмосферним висновком VI через отвори в клапані 4 і поршні 13.
При одночасному підведенні стиснутого повітря до висновків I і III відбувається одночасне переміщення великих і малого верхніх поршнів 10 і 6 униз, а нижнього поршня 13 із середнім поршнем 12 – нагору. Заповнення магістралі керування гальмівними механізмами причепа через виводу IV і випуск із її стиснутого повітря відбувається так само, як описано вище.
При випуску стиснутого повітря з висновку II (при гальмуванні запасної або стоянковій гальмівною системою тягача) тиск над мембраною падає. Під дією стиснутого повітря знизу середній поршень 12 разом з нижньому поршнем 13 переміщаються нагору. Заповнення магістралі керування гальмівними механізмами причепа через виводу IV і розгальмування відбувається так само, як при підведенні стиснутого повітря до висновку I. Дія, що слідує, у цьому випадку досягається зрівноважуванням тиску стиснутого повітря на середній поршень 12 і суми тиску зверху на середній поршень 12 і мембрану 1.
При підведенні стиснутого повітря до висновку III (або при одночасному підведенні повітря до висновків III і I) величина тиску у висновку IV, з'єднаному з магістраллю керування гальмівними механізмами причепа, перевищує величину тиску, підведеного до висновку III. Цим забезпечується випереджальна дія гальмівної системи причепа (напівпричепа). Максимальна величина перевищення тиску на висновку IV складає 98,1 кПа, мінімальна – близько 19,5 кПа, номінальна – 68,8 кПа. Регулювання величини перевищення тиску здійснюється гвинтам 8: при вкручуванні гвинта вона збільшується, при вивертанні – зменшується.
3. Технічне обслуговування
При огляді шлангів гальмівної системи не допускайте їх перекручування й контактів їх з гострими краями інших деталей. Для усунення негерметичності сполучних головок замінить несправні головки або ущільнювальні кільця в них.
При експлуатації автомобіля без причепа закрийте сполучні головкою-кришкою для захисту їх від влучення бруду, снігу, вологи; на сідельних автомобілях-тягачах з'єднаєте з головками, установленими за кабіною на кронштейні тримача запасного колеса.
Конденсат з повітряних балонів зливайте при номінальному тиску повітря в системі, відвівши убік за кільце шток зливального крана. Не тягніть шток униз і не натискайте його нагору. Підвищений вміст масла в конденсаті вказує на несправність компресора.
При замерзанні конденсату в балонах гальмівного привода прогрійте їх гарячою водою або теплим повітрям. Забороняйте користуватися для прогріву відкритим полум’ям.
Після зливу конденсату доведіть тиск повітря в пневмосистемі до номінального.
Хід штоків гальмівних камер регулюйте при холодних гальмівних барабанах і виключеному стоянковому гальмі.
Вимірюйте хід штоків лінійкою, установивши її паралельно штоку й обперши торцем у корпус гальмівної камери. Відзначте місце знаходження крайньої крапки штока на шкалі лінійки. Натисніть на гальмівну педаль до упору (при номінальному тиску повітря в системі) і знову відзначте знаходження цієї ж крапки штока на шкалі. Різниця отриманих результатів дасть величину ходу штока. Провертаючи вісь 1 черв'яка регулювального важеля, установите найменший хід штока гальмівної камери. Переконаєтеся, що при включенні й вимиканні подачі стисненого повітря штоки гальмівних камер переміщаються швидко, без заїданні. Перевірте обертання барабанів.
Вони повинні обертатися вільно й рівномірно, не торкаючись гальмівних колодок. Найменший хід штоків для моделей 5320, 5410 й 55102 дорівнює 20 мм, а для моделей 5511, 53212 й 54112 дорівнює 25 мм. Найбільший хід штоків допускається -40 мм.
При ТО-2 провірте працездатність пневматичного привода гальм по клапанах контрольних виводів. Зовнішнім оглядом перевірте шплінтування пальців штоків гальмівних камер. Затягніть гайки кріплення гальмівних камер до кронштейнів і гайки болтів кріплення кронштейнів гальмівних камер до супорта. Відрегулюйте положення гальмівної педалі щодо підлоги кабіни, забезпечивши повний хід важеля гальмівного крана.
Перевірка працездатності пневматичного гальмівного привода полягає у визначенні вихідних параметрів тиску повітря по контурах за допомогою контрольних манометрів і штатних приладів у кабіні водія (двохстрілочний манометр і блок контрольних ламп гальмівної системи). Перевірку робить по клапанах контрольного виводу, установленим у всіх контурах пневмопривода, і сполучним головкам типу «Палм» живильної й керуючої (гальмівних) магістралей двухпровідного привода й типу «А» сполучної магістралі однопровідного привода гальм причепа.
Клапани контрольного виводу розташовані в наступних місцях контурів привода: робочих гальм передньої осі - на клапані обмеження тиску; робочих гальм заднього візка - на левом (по ходу автомобіля) лонжероні рами в зоні заднього моста; стоянкового й запасного гальм - на правому лонжероні рами в зоні заднього моста й на повітряному балоні контуру; допоміжного гальма й споживачів - на конденсаційному балоні. Перед перевіркою усуньте витік стисненого повітря із пневмосистемі. У якості контрольних технологічних манометрів використайте манометри з межею вимірів О—10 кгс/див2 класу точності 1,5. Перевірку працездатності пневматичного гальмівного привода робите в наступній послідовності:
заповните пневмосистему повітрям до спрацьовування регулятора 2 тиски. При цьому тиск у всіх контурах гальмівного привода й сполучній головці 29 типу «Палм» живильної магістралі двухпровідного привода гальм причепа (вивід Е) повинне бути 6,2— 7,5 кгс/див2 , а в сполучній головці 30 типу «А» однопровідного привода (вивід Ж) — 4,8 г— 5,3 кгс/див2 . Сигнальні лампи блоку контрольних ламп гальмівної системи повинні згаснути при досягненні тиску в контурах 4,5— 5,5 кгс/див2 . Одночасно припиняє роботу звуковий сигналізатор (зумер);
натисніть повністю педаль привода робочих гальм. Тиск по двухстрілочному манометрі в кабіні водія повинне різко знизитися (не більше ніж на 0,5 кгс/див2 ). При цьому тиск у клапані контрольного виводу В повинне бути дорівнює показанню верхньої шкали двухстрілочного манометра в кабіні водія. Тиск у клапані контрольного виводу Г повинне бути не менш 2,3—2,7 кгс/див2 (для незавантаженого автомобіля). Підніміть нагору вертикальну тягу привода регулятора гальмівних сил на величину статичного прогину підвіски: тиск в клапані контрольного виводу Д повинний бути рівним показам двухстрілочного манометра у кабіні водія. Штоки гальмівних камер механізмів середнього й заднього мостів повинні повернутися у вихідне положення.
Тиск у гальмівних камерах повинен бути дорівнювати показам нижньої шкали двухстрілочного манометра, тиск у сполучній головці типу «Палм» гальмівної магістралі двухпровідного привода (вивід И) повинне бути 6,2— 7,5 кгс/див2 , у сполучній головці типу «А» сполучної магістралі (вивід Ж) тиск повинне впасти до 0;
установите рукоятку привода крана 21 у переднє фіксоване положення. Тиск у клапані контрольного виводу Д повинне бути дорівнює тиску в повітряному балоні в стоянкового й запасного контурів і перебувати в межах 6,2— 7,5 кгс/див2 ; тиск у сполучній головці 29 типу «Палм» гальмівної магістралі двухпровідного привода (вивід И) повинне бути дорівнює 0, у сполучній головці 30 типу «А» (вивід Ж) — 4,8— 5,3 кгс/див2 ;
установите рукоятку привода крана 21 стоянкового гальма в заднє фіксоване положення. На блоці контрольних ламп гальмівної системи повинна загорятися контрольна лампа стоянкового гальма в миготливому режимі. Тиск у клапані контрольного виводу Дів сполучній головці 30 типу «А» (вивід Ж) повинне впасти до 0, а в сполучній головці 29 типу «Палм» гальмівної магістралі двухпровідного привода (вивід И) повинне становити 6,2—7,5 кгс/див2 ;
при положенні рукоятки крана 21 у заднім фіксованому положенні натисніть на кнопку крана 13 аварійного розгальмування.
відпустите кнопку аварійного розгальмування. Тиск у клапані контрольного виводу Д повинне впасти до 0;
натисніть на кнопку крана 13 допоміжного гальма. Штоки циліндрів 16 керування заслінками моторного гальма й пневмоциліндра 15 вимикання подачі палива повинні висунутися. Тиск повітря в гальмівних камерах причепа (напівпричепа) повинне становити 0,6—0,7 кгс/див2 .
У процесі перевірки працездатності пневматичного гальмівного привода при зниженні тиску в контурах до 4,5—5,5 кгс/див2 повинні включатися зумер і загорятися контрольні лампи відповідних контурів на щитку приладів у кабіні.
Положення гальмівної педалі від носительно підлоги кабіни регулюйте, забезпечивши повний хід важеля гальмівного крана. Хід гальмівної педалі повинен бути не менш 100— 130 мм, з них 20—30 мм - вільний хід. При повнім натисканні педаль повинна не доходити до підлоги кабіни на 10—30 мм. Хід педалі замірте лінійкою по верхньому кінці педалі. За закінчення вільного ходу приймається момент початку висування штоків гальмівних камер або момент загоряння ліхтарів стоп-сигналу. При необхідності відрегулюйте хід педалі, змінюючи довжину тяги 6 (див. мал. 214) регулювальною вилкою 5.
При ТЕ гальмівного механізму зверніть увагу на відстань від поверхні накладок до головок заклепок. Якщо воно менш 0,5 мм, переміните гальмівні накладки. Охороняйте накладки від влучення на них масла, тому що фрикційні властивості промаслених накладок не можна повністю відновити очищенням і промиванням. Якщо потрібно замінити одну з накладок ліві або праві гальма, міняйте всі накладки в обох гальмівних механізмів (лівого й правого коліс). Після установки нових фрикційних накладок колодку необхідно обробити. Для нового барабана радіус колодки повинен бути рівним 199,6-200 мм. Після розточення барабана при ремонті радіус колодки повинен бути дорівнює радіусу розточеного барабана. Барабани допускається розточувати до діаметра не більше 406 мм.
Вал розтискного кулака повинен обертатися в кронштейні без заїдань. У противному випадку очистите опорні поверхні вала й кронштейна, перевірте стан ущільнюючих кілець вала, після цього змажте їх через прес-маслянку.
Вісь черв'яка регулювального важеля повинна повертатися без заїдань. У противному випадку промийте внутрішню порожнину важеля, просушите й заповните регулювальний важіль свіжим змащенням.
Перед поглибленою перевіркою параметрів пневматичного привода гальмівної системи виконаєте наступні операції:
затягніть болти кріплення компресора й гайки кріплення головки циліндрів компресора;
злийте конденсат з повітряних балонів;
зніміть фільтр регулятора тиску, промийте його гасом, висушите, продміть стисненим повітрям й установите на місце;
зніміть механізми допоміжного гальма, очистите їхні внутрішні поверхні від нагару, промийте в гасі, продміть стисненим повітрям й установите на місце;
оглянете трубопроводи, шланги, чохли гальмівних камер і гальмівного крана, привод гальмівного крана, усунете несправності.
Перевірку проведіть відповідно до переліку контрольованих параметрів, наведених у протоколі поглибленої перевірки параметрів пневматичного привода гальмівної системи (табл. 26) за допомогою комплекту (мал. 239), що включає в себе: контрольні манометри 2 класи 1,5, сполучні шланги /, сполучні головки 4 типи «А», «Б» й «Палм», клапани 5 контрольного виводу, набір штуцерів й ущільнювальних шайб, набір 3 найбільше часто застосовуваних ключів (19X22; 24X27).
Про можливості перевірте гальмівні властивості автомобіля на гальмівному стенді типу фтп-3.
При відсутності стенда ефективність гальм автомобіля можна оцінити дорожніми випробуваннями за спеціальною методикою. У цьому випадку критерієм ефективності є гальмівний шлях і поводження автомобіля на дорозі.
Питома гальмівна сила повинна бути не менш 0,56 при перевірці робочих гальм й 0,28 при перевірці запасного гальма.
Крім того, визначите на стенді різниця гальмівних сил правого й лівого коліс однієї осі. Різниця не повинна перевищувати 15% (для прироблених гальмівних накладок).
Погрішність показань штатного двострілочного манометра визначите порівнянням з показаннями контрольних манометрів. Останні приєднаєте замість різьбових пробок до повітряного балона 9 (див. мал. 205) першого контуру й до повітряного балону 10 другого контуру. Поступово підвищуючи, а потім знижуючи тиск у системі, звірте показання штатного й контрольного манометрів.
Тиск включення стоп-сигналу визначите при номінальному тиску в системі контрольним манометром, що приєднаєте до контрольному виводу И. Плавно натискаючи на гальмівну педаль, зафіксуйте тиск включення й вимикання стоп-сигналу по загорянню ліхтарів. Також визначите тиск включення й вимикання стоп-сигналу, плавно пускаючи в хід ручний гальмівний кран.
Тиск вимикання (включення) контрольних ламп визначите для всіх контурів пневматичного привода. Для цього приєднаєте контрольні манометри до повітряних балонів, 5, Я10 (див. мал. 205) всіх контурів, пустите двигун і доведіть тиск повітря в системі до номінального.
Повільно випускаючи повітря (наприклад, відкривши кран зливу конденсату) з повітряного балона 9 контуру I, зафіксуйте на контрольному манометрі тиск загоряння контрольної лампи першого контуру. Так само визначите тиск вимикання (включення) контрольних ламп другого й третього контурів пневматичного привода.
Тиск вимикання й включення регулятора тиску
Перед визначенням тиску вимикання переконаєтеся в справності контрольних ламп, нажавши кнопку контролю. Автомобіль повинен бути розгальмований, тобто положення гальмівної педалі й крана стоянкового гальма повинне забезпечувати рух автомобіля. Споживачі стисненого повітря повинні бути виключені. Пустите двигун й, підвищуючи тиск повітря в системі, зафіксуйте на манометрі момент початку виходу повітря з атмосферного виводу регулятора тиску (тиск включення).
Натисніть кілька разів на гальмівну педаль, при цьому стежите по манометрі за зниженням тиску в системі й зафіксуйте момент припинення виходу повітря з атмосферного виводу регулятора тиску (тиск вимикання).
Тиск захисту подвійного захисного клапана визначите по контрольних манометрах, приєднавши їх до клапанів контрольного виводу А и Б .
Пустивши двигун, заповните систему повітрям до номінального тиску й, відкривши кран зливу конденсату, випустите повітря з повітряного балона запасного й стоянкового гальм. Зафіксуйте тиск на контрольному манометрі, підключеному до клапана виводу А. Повторно заповните систему повітрям до номінального тиску, зупините двигун і випустите повітря з повітряного балона 6 допоміжної гальмівної системи. Зафіксуйте тиск на контрольному манометрі, підключеному до клапана виводу Б.
Тиск захисту потрійного захисного клапана визначите по трьох контрольних манометрах, приєднаним замість різьбових пробок до повітряних балонів й і до клапана контрольного виводу Д.
Заповніть систему повітрям до номінального тиску . Відкривши кран зливу конденсату, випустите повітря з повітряного балона першого контуру й зафіксуйте тиск на манометрі, приєднаному до повітряного балона другого контуру.
Повторно заповните систему повітрям до номінального тиску, зупините двигун, випустите повітря з повітряного балона 10 другого контуру й зафіксуйте тиск на манометрі, підключеному до повітряного балона 9 першого контуру.
Неодноразово натискаючи кнопку аварійного розгальмування по манометрі, підключеному до клапанавиводи Д, зафіксуйте тиск у балонах, при якому припиняється надходження стисненого повітря в контур аварійного розгальмування. Падіння тиску в приводі визначите по контрольних манометрах, підключеним до всіх повітряних балонів привода. Пустивши двигун, заповните систему повітрям до номінального тиску. Зупините двигун і через 15 хв зафіксуйте падіння тиску по манометрах. Положення гальмівної педалі й крана стоянкового гальма при цьому повинне забезпечувати рух .автомобіля. Визначите по черзі падіння тиску в повітряних балонах від номінального за 15 хв при натиснутій гальмівній педалі або включеному крані стоянкового гальма.
Падіння тиску в повітряних балонах за одне гальмування визначите по контрольних манометрах, приєднаним замість різьбових пробок до повітряних балонах, або по перевіреному штатному манометрі.
Пустивши двигун, заповните систему повітрям до номінального тиску. Зупините двигун, натисніть до відмови гальмівну педаль.
Випередження тиску в керуючій магістралі стосовно тиску на виході гальмівного крана визначите по контрольних манометрах, приєднавши їх до клапанів контрольних виводів. Пустив двигун, заповните систему повітрям до номінального тиску. Зупиніть двигун й, плавно натискаючи на гальмівну педаль, зафіксуйте тиск на манометрі у виводу, при наступних показаннях манометра, підключеного до виводу. Різниця тисків у виводах дасть величину випередження тиску в керуючій магістралі.
4. Ремонт
Виявлені при контрольній перевірці несправні апарати повинні бути відремонтовані за допомогою ремонтних комплектів, перевірені на працездатність і відповідність характеристикам. Порядок зборки й перевірки апаратів викладений у спеціальних інструкціях. Їхній ремонт виробляється особами, що пройшли необхідну підготовку.
Повне регулювання гальмівного механізму проведіть після заміни гальмівних накладок у наступному порядку:
виключите стоянкове гальмо; послабте гайки кріплення осей колодок і зблизьте ексцентрики, повернувши осі мітками друг до друга. Мітки поставлені на зовнішніх торцях осей. Послабте гайки кріплення кронштейна розтискного кулака; подайте в гальмівну камеру стиснене повітря під тиском 0,5— 0,7 кгс/див2 (натисніть на педаль гальма при наявності повітря в системі. Перед регулюванням перевірте затягування підшипників маточин коліс. Гальмівні барабани повинні бути холодними. При відсутності стисненого повітря вийміть палець штока гальмівної камери й, натискаючи на регулювальний важіль убік ходу штока гальмівної камери при гальмуванні, пригорніть колодки до гальмівного барабана. Повертаючи ексцентрики в ту й іншу сторону, зцентруйте колодки щодо барабана, забезпечивши щільне прилягання їх до барабана. Прилягання колодок до барабана перевіряйте щупом через вікна в щитку гальма, розташовані на відстані 20- 30 мм від зовнішніх кінців накладок. Щуп товщиною ОД мм не повинен проходити уздовж всієї ширини накладки; не припиняючи подачі стисненого повітря в гальмівну камеру, а при відсутності стисненого повітря не відпускаючи регулювального важеля й утримуючи осі колодок від провертання, надійно затягніть гайки осей і гайки болтів кріплення кронштейна розтискного кулака до супорта гальма; припините подачу стисненого повітря, а при відсутності стисненого повітря відпустите регулювальний важіль і приєднаєте шток гальмівної камери; поверніть осі черв'яка регулювального важеля так, щоб хід штока гальмівної камери був у встановлених межах. Переконаєтеся, що при включенні й вимиканні подачі повітря штоки гальмівних камер переміщаються швидко, без заїдань; перевірте обертання барабанів. Вони повинні обертатися вільно й рівномірно, не стосуючись колодок. Після зазначеного регулювання між гальмівним барабаном і колодками можуть бути наступні зазори: у розтискного кулака 0,4 мм, в осей колодок 0,2 мм.
При установці регулятора гальмівних сил після заміни середнього й заднього мостів зверніть увагу на те, щоб регулятор 2 (див. мал. 218) і штанга 4, що з'єднує важіль регулятора із пружним елементом, були встановлені вертикально. Пружний елемент має бути в горизонтальному положенні (нейтральному). Довжина важеля 3 повинна відповідати величині, зазначеної нижче:
Установивши необхідну довжину важеля, затягніть болт кріплення важеля на регуляторі. Після установки перевірте вихідний тиск регулятора гальмівних сил. Для цього пневмосистему заповните стисненим повітрям до контрольного тиску, рівного 6,5 кгс/див2 . При повністю натиснутій педалі тиск у клапані контрольного виводу повинне бути рівним 2,2-— 2,5 кгс/див2 (для порожнього автомобіля). Якщо в клапані виводу тиск відрізняється від зазначеного, то приведіть його у відповідність зі зміною Довжини вертикальної штанги, переміщаючи її в гумовій сполучній муфті. Перевірте стабільність видаваного регулятором гальмівних сил тиску, натискаючи неодноразово на педаль гальма, після чого затягніть хомут на сполучній муфті.
Піднявши наконечник пружного елемента на величину статичного прогину підвіски (див. вище), переконаєтеся, що тиск у гальмівних камерах заднього візка стало дорівнює контрольному, тобто 6 кгс/див2 . Якщо цього не відбувається, відкоригуйте довжину важеля і штанги. Треба при цьому пам'ятати, що штанга повинна входити в сполучну муфту регулятора на глибину не менш 45 мм. Остаточно закріпите всі з'єднання.
Список використаної літератури:
1. Автомобілі КАМАЗ. Моделі з колісною формулою 6х4 і 6х6. Посібник з експлуатації, ремонту і технічного обслуговування. М., 2004. 314с.
2. Посібник з ремонту і ТО автомобілів КАМАЗ. М., 2001. 289с.
3. Водієві автомобіля КАМАЗ. М., 1982. 160с.
Похожие рефераты:
Гальмівна система автомобіля ГАЗ-53
Башенные краны и другие машины, используемые в строительстве
Теоретичні основи теплотехніки
Моделювання робочого процесу чотирьохтактного дизеля
Ремонт тормозных систем с гидравлическим приводом
Вимірювання тиску: класифікація приладів
Тормозная система с пневматическим приводом
Система автоматичного регулювання (САР) турбіни атомної електростанції
Тормозные механизмы автомобиля КамАЗ: ремонт и техническое обслуживание
Технічне обслуговування системи мащення дизелів типу СМД-60
Технічне обслуговування газорозподільного механізму КамАЗ
Проект дільниці технічного обслуговування та ремонту КШМ та ГРМ автомобіля КамАЗ-740
Трансмиссия и привод передних колёс
Разработка технологического процесса ремонта цилиндрической крышки дизеля ПД-1М