| Похожие рефераты | Скачать .docx |
Дипломная работа: Тормозные механизмы автомобиля КамАЗ: ремонт и техническое обслуживание
Введение
Техническим обслуживанием является комплекс операций по: поддержанию подвижного состава в работоспособном состоянии и надлежащем виде; обеспечению надёжности, экономичности работы, безопасности движения, защите окружающей среды; уменьшению интенсивности ухудшения параметров технического состояния, отказов и неисправностей, а также выявлению их с целью своевременного устранения. ТО является профилактическим мероприятием, проводимым принудительно в плановом порядке.
ТО автомобилей в соответствии с действующей системой подразделяется на следующие виды: ЕО, ТО1, ТО2, СО; а также обслуживание по талонам сервисной книжки автомобиля.
ЕО включает уборку и мойку автомобиля, контроль технического состояния систем и механизмов, от которых зависит безопасность движения (рулевого управления, тормозных систем, приборов освещения и сигнализации), заправку топливом, контроль уровня масла и охлаждающей жидкости в двигателе, а также уровня тормозной жидкости в бачках рабочей тормозной системы и гидропривода сцепления.
ТО1 дополнительно к работам ЕО включает контрольно – диагностические, крепёжные, смазочные и регулировочные работы с целью предупреждения случайных отказов до очередного ТО, экономии топлива и других эксплуатационных материалов, а также уменьшения загрязнения окружающей среды.
ТО2 дополнительно к работам ТО1 включает контрольно-диагностические и регулировочные работы, связанные с частичной разборкой составных частей автомобиля, их снятием и проверкой их па спецоборудовании.
Периодичность, перечни и порядок выполнения работ по ТО приводятся в заводских инструкциях по эксплуатации и сервисных книжках, прилагаемых к автомобилю при продаже.
Регламентируемая «Положением о ТО и ремонте подвижного состава автомобильного транспорта» периодичность выполнения ТО1 и ТО2 на предприятиях автотранспорта для I категории условий эксплуатации для умеренного климатического района.
| Вид транспортного средства | ТО-1 | ТО-2 |
| Легковые | 4000 | 16000 |
| Грузовые | 3000 | 12000 |
| Автобусы | 2500 | 10000 |
СО проводят два раза в год с целью подготовки автомобиля к эксплуатации в холодное или тёплое время года, совмещая его с очередным ТО, обычно с ТО2.
15 апреля-15 мая
15 октября-15 ноября
Диагностирование – это определение технического состояния автомобилей, их агрегатов и узлов без разборки. Диагностирование является техническим элементом технического обслуживания и ремонта автомобилей.
Цель диагностирования при техническом обслуживании заключается в определении действительной потребности в выполнении работ технического обслуживания путём сопоставления фактических значений параметров с предельными, а также в оценке качества выполнения работ.
Цель диагностирования при ремонте заключается в выявлении неисправностей, причин их возникновения и установлении наиболее эффективного способа устранения: на месте, со снятием агрегата узла или детали, с полной или частичной разборкой и заключительным контролем качества выполнения работ.
При диагностировании с помощью контрольно-диагностических средств определяют диагностические параметры, по которым судят о структурных параметрах, отражающих техническое состояние диагностируемого механизма.
Структурный параметр – это физическая величина, непосредственно отражающая техническое состояние механизма (геометрическая форма, размеры, взаимное расположение поверхностей деталей). Структурные параметры, как правило, нельзя измерить без разборки механизма.
Диагностический параметр – это физическая величина, контролируемая средствами диагностирования и косвенно характеризующая работоспособность автомобиля или его составной части (например, шум, вибрация, стуки, снижение мощности, давления.).
Необходимость косвенной оценки структурных параметров с помощью диагностических параметров обусловлена сложностью непосредственного измерения структурных параметров, поскольку их, как правило, нельзя измерить без разборки механизма. Таким образом, диагностирование позволяет своевременно выявлять неисправности и предупредить внезапные отказы, сокращая потери от простоев автомобиля при устранении непредвиденных поломок. Однако при этом необходимо знать взаимосвязь структурных и диагностических параметров.
Различают номинальные, допускаемые, предельные, упреждающие и текущие значения диагностических и структурных параметров.
Номинальное значение параметра определяется его конструкцией и функциональным назначением. Номинальные значения параметров имеют обычно новые или капитально отремонтированные механизмы.
Допускаемым значением параметра называется такое граничное значение, при котором механизм может сохранять работоспособность и исправность до следующего планового контроля без каких-либо дополнительных воздействий.
Предельным значением параметра называется наибольшее или наименьшее его значение, при котором обеспечивается работоспособность механизма. При достижении предельного значения параметра дальнейшая эксплуатация механизма либо технически недопустима, либо экономически нецелесообразна.
Упреждающим значением параметра называется ужесточённое предельно допустимое его значение, при котором обеспечивается заданный либо экономически целесообразный уровень вероятности безотказной работы на предстоящей межконтрольной наработке.
Текущим значением параметра называется его фактическое значение в данный момент
Применяют следующие основные методы диагностирования:
по параметрам рабочих процессов (например, по расходу топлива, мощности двигателя, тормозному пути), измеряемым при наиболее близких к эксплуатационным условиям режимах;
по параметрам сопутствующих процессов (например, шумам, нагреву деталей, вибрациям), также измеряемым при наиболее близких к эксплуатационным условиям режимах;
по структурным параметрам (например, зазорам, люфтам), измеряемых у неработающих механизмов.
Различают комплексное диагностирование (Д1), поэлементное диагностирование (Д2) и ремонтное диагностирование (Др).
Комплексное диагностирование обычно выполняют с периодичностью ТО-1 па завершающей его стадии. Оно заключается в измерении основных рабочих параметров автомобиля, определяющих безопасность и эффективность его эксплуатации, например расход топлива, тормозной путь, уровень шума в механизмах и т.д. Если измеренные параметры находятся в допустимых пределах, диагностирование завершают, а если нет - то выполняют поэлементное диагностирование.
По элементное диагностирование выполняют обычно перед ТО-2 с целью детального обследования технического состояния механизма и выявления: неисправностей и их причин.
Приремонтное диагностирование выполняется непосредственно в ходе ТО и ремонта с целью уточнения потребности в выполнении отдельных операций.
Квалификационная характеристика
Слесарь по ремонту автомобилей 3-й разряд
Характеристика работ. Разборка дизельных и специальных грузовых автомобилей и автобусов длиной свыше 9,5 м. Ремонт, сборка грузовых автомобилей, кроме специальных и дизельных, легковых автомобилей, автобусов длиной до 9,5 м. Ремонт и сборка мотоциклов, мотороллеров и других мототранспортных средств. Выполнение крепежных работ резьбовых соединений при техническом обслуживании с заменой изношенных деталей. Техническое обслуживание, резка, ремонт, сборка, регулировка и испытание агрегатов, узлов и приборов средней сложности. Ремонт агрегатов и электрооборудования автомобилей. Определение и устранение неисправностей в работе узлов, механизмов, приборов автомобилей и автобусов. Соединение и пайка проводов приборами и агрегатами электрооборудования. Слесарная обработка, деталей по 11 - 12 квалитетам с применением универсальных приспособлений. Ремонт и установка сложных агрегатов и узлов под руководством слесаря более высокой квалификации.
Должен знать: устройство и назначение узлов, агрегатов и приборов средней сложности; правила сборки автомобилей и мотоциклов, ремонт деталей, узлов, агрегатов и приборов; основные приемы разборки, сборки, снятия и установки приборов и агрегатов электрооборудования; регулировочные и крепежные работы; типичные неисправности системы электрооборудования, способы их обнаружения и устранения; назначение и основные свойства материалов, применяемых при ремонте электрооборудования; назначение термообработки деталей; устройство универсальных специальных приспособлений и контрольно-измерительных инструментов; систему допусков и посадок: квалитеты и параметры шероховатости.
Примеры работ
1. Автомобили легковые, грузовые, автобусы всех марок и типов - снятие и установка бензобаков, картеров, радиаторов, педалей тормоза, глушителей, замена рессор.
2. Валы карданные, цапфы тормозных барабанов - подгонка при сборке.
3. Вентиляторы - разборка, ремонт, сборка.
4. Головки блоков цилиндров, шарниры карданов - проверка, крепление.
5. Головки цилиндров самосвального механизма - снятие, ремонт, установка.
6. Двигатели всех типов, задние и передние мосты, коробки передач (кроме автоматических), сцепления, валы карданные - разборка.
7. Контакты - пайка.
8. Крылья легковых автомобилей - снятие, установка.
9. Насосы водяные, масляные, вентиляторы, компрессоры - разборка, ремонт, сборка.
10. Обмотка изоляционных приборов и агрегатов электрооборудования -пропитка, сушка.
11. Реле-регуляторы, распределители зажигания - разборка.
12. Седла клапанов - обработка шарашкой, притирка.
13. Фары, замки зажигания, сигналы - разборка, ремонт, сборка.
Слесарь по топливной аппаратуре 2-й разряд
Характеристика работ. Разборка, ремонт и сборка простых узлов топливной аппаратуры карбюраторных и дизельных двигателей. Демонтаж и монтаж аппаратуры на карбюраторных и дизельных двигателях. Регулировка уровня топлива в поплавковой камере карбюратора.
Должен знать: устройство двигателей внутреннего сгорания; возможные неисправности системы питания и топливной аппаратуры и методы их устранения; правила снятия и установки аппаратуры на карбюраторных и дизельных двигателях; правила разборки, ремонта, сборки и замены отдельных узлов топливной аппаратуры.
Примеры работ.
1. Двигатели дизельные - смена фильтров тонкой и грубой очистки топлива.
2. Жиклеры - разборка, промывка, продувка.
3. Карбюраторы - ремонт поплавка, запорного клапана, узла воздушной заслонки и дросселя.
4. Карбюраторы, баки, отстойники, форсунки - замена.
5. Трубки топливной системы, насосы форсунок, фильтры, топливные насосы, подкачивающие насосы - замена.
Общие сведения
Рабочая тормозная система предназначена для уменьшения скорости движения автомобиля или полной его остановки. Тормозные механизмы рабочей тормозной системы установлены на всех шести колесах автомобиля. Привод рабочей тормозной системы — пневматический двухконтурный, он приводит в действие раздельно тормозные механизмы передней оси и задней тележки автомобиля. Управляется привод ножной педалью, механически связанной с тормозным краном. Исполнительными органами привода рабочей тормозной системы являются тормозные камеры.
Запасная тормозная система предназначена для плавного снижения скорости или остановки движущегося автомобиля в случае полного или частичного выхода из строя рабочей системы.
Стояночная тормозная система обеспечивает торможение неподвижного автомобиля на горизонтальном участке, а также на уклоне и при отсутствии водителя.
Стояночная тормозная система на автомобилях КамАЗ выполнена как единое целое с запасной и для ее включения рукоятку ручного крана следует установить в крайнее (верхнее) фиксированное положение.
Привод аварийного растормаживания обеспечивает возможность возобновления движения автомобиля (автопоезда) при автоматическом его торможении из-за утечки сжатого воздуха, аварийной сигнализацией и контрольными приборами, позволяющими следить за работой пневмопривода.
Таким образом, в автомобилях КамАЗ, тормозные механизмы задней тележки являются общими для рабочей, запасной и стояночной тормозных систем, а две последние имеют, кроме того, и общий пневматический привод.
Система тормозная вспомогательная автомобиля служит для уменьшения нагруженности и температуры тормозных механизмов рабочей тормозной системы. Вспомогательной тормозной системой на автомобилях КамАЗ является моторный тормоз-замедлитель, при включении которого перекрываются выпускные трубопроводы двигателя и отключается подача топлива.
Аварийная система растормаживания предназначена для оттормаживания пружинных энергоаккумуляторов при их автоматическом срабатывании и остановке автомобиля вследствие утечки сжатого воздуха в приводе.
Привод системы аварийного растормаживания сдублирован: кроме пневматического привода имеются винты аварийного оттормаживания в каждом из четырех пружинных энергоаккумуляторов, что позволяет растормозить последние механическим путем.
Система аварийной сигнализации и контроля состоит из двух частей:
а) световой и акустической сигнализации о работе тормозных систем и их приводов.
В различных точках пневматического привода встроены пневмоэлектрические датчики, которые при действии любой тормозной системы, кроме вспомогательной, замыкают цепи электрических ламп «стоп-сигнала».
Датчики падения давления установлены в ресиверах привода и при недостаточном давлении в последних замыкают цепи сигнальных электрических ламп, расположенных на панели приборов автомобиля, а также цепь звукового сигнала (зуммера).
б) клапанов контрольных выводов, с помощью которых производится диагностика технического состояния пневматического тормозного привода, а также (при необходимости) отбор сжатого воздуха.
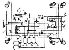
На рисунке 1 представлена схема пневматического привода тормозных механизмов автомобилей КамАЗ.
Источником сжатого воздуха в приводе является компрессор 9. Компрессор, регулятор давления 11, предохранитель 12 от замерзания конденсата, конденсационный ресивер 20 составляют питающую часть привода, из которой очищенный сжатый воздух под заданным давлением подается в необходимом количестве в остальные части пневматического тормозного привода и к другим потребителям сжатого воздуха.
Пневматический тормозной привод разбит на автономные контуры, отделенные друг от друга защитными клапанами. Каждый контур действует независимо от других контуров, в том числе и при возникновении неисправностей. Пневматический тормозной привод состоит из пяти контуров, разделенных одним двойным и одним тройным защитными клапанами.
Контур I привода рабочих тормозных механизмов передней оси состоит из части тройного защитного клапана 17; ресивера 24 вместимостью 20 л с краном слива конденсата и датчиком 18 падения давления в ресивере, части двухстрелочного манометра 5; нижней секции двухсекционного тормозного крана 16; клапана 7 контрольного вывода (С); клапана 8 ограничения давления; двух тормозных камер 1; тормозных механизмов передней оси тягача; трубопроводов и шлангов между этими аппаратами.
Кроме того, в контур входит трубопровод от нижней секции тормозного крана 16 до клапана 81 управления тормозными системами прицепа с двухпроводным приводом.
Контур II привода рабочих тормозных механизмов задней тележки состоит из части тройного защитного клапана 17; ресиверов 22 общей вместимостью 40 л с кранами 19 слива конденсата и датчиком 18 падения давления в ресивере; части двухстрелочного манометра 5; верхней секции двухсекционного тормозного крана 16; клапана контрольного вывода (D) автоматического регулятора тормозных сил 30 с упругим элементом; четырех тормозных камер 26; тормозных механизмов задней тележки (промежуточного и заднего мостов); трубопроводов и шланга между этими аппаратами. В контур входит также трубопровод от верхней секции тормозного крана 16 к клапану 31 управления тормозными механизмами с двухпроводным приводом.
Контур III привода механизмов запасной и стояночной тормозных систем, а также, комбинированного привода тормозных механизмов прицепа (полуприцепа) состоит из части двойного защитного клапана 13; двух ресиверов 25 общей вместимостью 40 л с краном 19 слива конденсата и датчиком 18 падения давления в ресиверах; двух клапанов 7 контрольного вывода (В и Е) ручного тормозного крана 2;ускорительного клапана 29; части двухмагистрального перепускного клапана 32; четырех пружинных энергоаккумуляторов 28 тормозных камер; датчика 27 падения давления в магистрали пружинных энергоаккумуляторов; клапана 31 управления тормозными механизмами прицепа с двухпроводным приводом; одинарного защитного клапана 35; клапана 34 управления тормозными механизмами прицепа с однопроводным приводом; трех разобщительных кранов 37 трех соединительных головок; головки 38 типа А однопроводного привода тормозных механизмов прицепа и двух головок 39 типа "Палм" двухпроводного привода тормозных механизмов прицепа; двухпроводного привода тормозных механизмов прицепа; пневмоэлектрического датчика 33 "стоп-сигнала", трубопроводов и шлангов между этими аппаратами. Следует отметить, что пневмоэлектрический датчик 33 в контуре установлен таким образом, что он обеспечивает включение ламп "стоп-сигнала" при торможении автомобиля не только запасной (стояночной) тормозной системой, но и рабочей, а также в случае выхода из строя одного из контуров последней.
Контур IV привода вспомогательной тормозной системы и других потребителей не имеет своего ресивера и состоит из части двойного защитного клапана 13; пневматического крана 4; двух цилиндров 23 привода заслонок; цилиндра 10 привода рычага останова двигателя; пневмоэлектрического датчика 14; трубопроводов и шлангов между этими аппаратами. От контура IV привода механизмов вспомогательной тормозной системы сжатый воздух поступает к дополнительным (не тормозным) потребителям; пневмосигналу, пневмогидравлическому усилителю сцепления, управлению агрегатами трансмиссии и пр.
Контур V привода аварийного растормаживания не имеет своего ресивера и исполнительных органов. Он состоит из части тройного защитного клапана 17; пневматического крана 4; части двухмагистрального перепускного клапана 32; соединяющих аппараты трубопроводов и шлангов.

Рисунок 1 – Схема пневматического привода тормозных механизмов автомобилей КамАЗ-5320
1 - тормозные камеры типа 24; 2 (А, В, С) - контрольные выводы; 3 - пневмоэлектрический выключатель элетромагнитного клапана прицепа; 4 - кран управления вспомогательной тормозной системой; 5 - двухстрелочный манометр; 6 - компрессор 7 - пневмоцилиндр привода рычага останова двигателя; 8 - водоотделитель; 9 - регулятор давления; 11 -двухмагистральный перепускной клапан; 12—4-х контурный защитный клапан; 13 - кран управления стояночной тормозной системой;14 - теплообменник; 15 - двухсекционный тормозной кран; 17 - пневмоцилиндры привода заслонок механизма вспомогательной тормозной системы; 18 - ресивер контура I; 19 - ресивер потребителей; 20 -выключатель сигнализатора падения давления; 21 - ресивер контура III; 22 - ресиверы контура II; 23 - кран сливг конденсата; 24 - тормозные камеры типа 20/20 с пружинными энергоаккумуляторами; 25, 28 - ускорительные клапаны; 26 - клапан управления тормозными системами прицепа с двухпроводным приводом; 27 - выключатель сигнализатора стояночной тормозной системы; 29 - клапан управления тормозными системами прицепа с однопроводным приводом; 30 - автоматические соединительные головки; 31 - соединительная головка типа A; R -к питающей магистрали двухпроводного привода; Р - к соединительной магистрали однопроводного привода; N -к управляющей магистрали двухпроводного привода; 31- датчик падения давления в ресиверах I контура; 32- датчик падения давления в ресиверах II контура; 33-датчик стоп- сигнала; 34-кран экстренного растормаживания
Пневматические тормозные приводы тягача и прицепа соединяют три магистрали: магистраль однопроводного привода, питающая и управляющая (тормозная) магистрали двухпроводного привода. На седельных тягачах соединительные головки 38 и 39 находятся на концах трех гибких шлангов указанных магистралей, закрепленных на поддерживающей штанге. На бортовых автомобилях головки 38 и 39 установлены на задней поперечине рамы.
Для наблюдения за работой пневматического тормозного привода, и своевременной сигнализации о его состоянии, и возникающих неисправностях в кабине, на щитке приборов имеются пять сигнальных лампочек, двухстрелочный манометр, показывающий давление сжатого воздуха в ресиверах двух контуров (I и II) пневматического привода рабочей тормозной системы, и зуммер, сигнализирующий об аварийном падении давления сжатого воздуха в ресиверах любого контура тормозного привода.
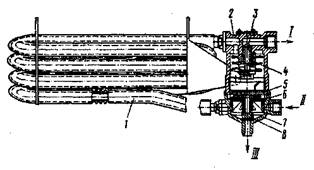
Тормозные механизмы (рисунок 3) установлены на всех шести колесах автомобиля, основной узел тормозного механизмасмонтирован на суппорте 2, жестко связанном с фланцем моста. На эксцентрики осей 1, закрепленные в суппорте, свободно опираются две тормозные колодки 7 с прикрепленными к ним фрикционными накладками 9, выполненными по серповидному профилю в соответствии с характером их износа. Оси колодок с эксцентричными опорными поверхностями позволяют при сборке тормозных механизмов правильно сцентрировать колодки относительно тормозного барабана. Тормозной барабан крепится к ступице колесапятью болтами.
При торможении колодки раздвигаются S-образным кулаком 12 и прижимаются к внутренней поверхности барабана. Между разжимным кулаком 12 и колодками 7 установлены ролики 13, снижающие трение и улучшающие эффективность торможения. В отторможенное состояние колодки возвращаются четырьмя оттяжными пружинами 8.
Разжимной кулак 12 вращается в кронштейне 10, прикрепленном к суппорту болтами. На этом кронштейне устанавливается тормозная камера. На конце вала разжимного кулака установлен регулировочный рычаг 14 червячного типа, соединенный со штоком тормозной камеры при помощи вилки и пальца. Щиток, прикрепленный болтами к суппорту, защищает тормозной механизм от грязи.

Рисунок 2 – Механизм тормозной
1 - ось колодки; 2 -суппорт; 3 - щиток; 4 - гайка оси; 5 - накладка осей колодок;6 - чека оси колодки; 7 - колодка тормозная; 8 - пружина; 9 - накладка фрикционная; 10-кронштейн разжимного кулака; 11 - ось ролика; 12 - кулак разжимной; 13 - ролик; 14 - рычаг регулировочный
Регулировочный рычаг предназначен для уменьшения зазора между колодками и тормозным барабаном, увеличивающимся вследствие износа фрикционных накладок. Устройство регулировочного рычага показано на рисунке 4. Регулировочный рычаг имеет стальной корпус 6 с втулкой 7. В корпусе находится червячное зубчатое колесо 3 со шлицевыми отверстиями для установки на разжимной кулак и червяк 5 с запрессованной в него осью 11. Для фиксации оси червяка имеется стопорное устройство, шарик 10 которого входит в лунки на оси 11 червяка под действием пружины 9, упирающейся в стопорный болт 8. Зубчатое колесо удерживается от выпадания крышками 1, прикрепленными к корпусу 6 рычага. При повороте оси (за квадратный конец) червяк поворачивает колесо 3, а вместе с ним поворачивается разжимной кулак, раздвигая колодки и уменьшая зазор между колодками и тормозным барабаном. При торможении регулировочный рычаг поворачивается штоком тормозной камеры.
Перед регулированием зазора стопорный болт 8 необходимо ослабить на один-два оборота, после регулировки болт надежно затянуть.

Рисунок 3 – Рычаг регулировочный
1 - крышка; 2 - заклепка; 3 - колесо зубчатое; 4 - заглушка; 5 - червяк; 6 - корпус; 7 - втулка; 8 - болт стопорный; 9 - пружина фиксатора; 10 - шарик фиксатора; 11 - ось червяка; 12 – масленка
Механизм вспомогательной тормозной системы представлен на рисунке 4.
В приемных трубах глушителя установлены корпус 1 и заслонка 3, закрепленная на валу 4. На валу заслонки закреплен также поворотный рычаг 2, соединенный со штоком пневмоцилиндра. Рычаг 2 и связанная с ним заслонка 3 имеют два положения. Внутренняя полость корпуса сферическая. При выключении вспомогательной тормозной системы заслонка 3 устанавливается вдоль потока отработавших газов, а при включении — перпендикулярно потоку, создавая определенное противодавление в выпускных коллекторах. Одновременно прекращается подача топлива. Двигатель начинает работать в режиме компрессора.

Рисунок 4 – Механизм вспомогательной тормозной системы
1 - корпус; 2 - рычаг поворотный; 3 - заслонка; 4 – вал. Компрессор (рисунок 5) поршневого типа, одноцилиндровый, одноступенчатого сжатия. Компрессор закреплен на переднем торце картера маховика двигателя.
Поршень алюминиевый, с плавающим пальцем. От осевого перемещения палец в бобышках поршня фиксируется упорными кольцами. Воздух из коллектора двигателя поступает в цилиндр компрессора через пластинчатый впускной клапан.
Сжатый поршнем воздух вытесняется в пневмосистему через расположенный в головке цилиндра пластинчатый нагнетательный клапан.
Головка охлаждается жидкостью, подводимой из системы охлаждения двигателя. Масло к трущимся поверхностям компрессора подается из масляной магистрали двигателя: к заднему торцу коленчатого вала компрессора и по каналам коленчатого вала к шатуну. Поршневой палец и стенки цилиндра смазываются разбрызгиванием.
При достижении в пневмосистеме давления 800–2000 кПа регулятор давления сообщает нагнетательную магистраль с окружающей средой, прекращая подачу воздуха в пневмосистему.
Когда давление воздуха в пневмосистеме снизится до 650–50кПа, регулятор перекрывает выход воздуха в окружающую среду и компрессор снова начинает нагнетать воздух в пневмосистему.

Рисунок 5 – Компрессор
1- шатун; 2 - палец поршня; 3 -маслосъемное кольцо; 4 - компрессионное кольцо;5 -корпус цилиндра компрессора; 6 - проставка цилиндра; 7 - головка цилиндра;8 - стяжной болт; 9 - гайка; 10 -прокладки; 11 - поршень; 12, 13 - уплотнительные кольца; 14 - подшипники скольжения; 15 - задняя крышка картера; 16 - коленчатый вал; 17 - картер; 18 -зубчатое колесо привода; 19 - гайка крепления зубчатого колеса; I - ввод; II - вывод в пневмосистему
Влагоотделитель предназначен для выделения конденсата из сжатого воздуха и его автоматического удаления из питающей части привода. Устройство влагоотделителя показано на рисунке 6.
Сжатый воздух от компрессора через подвод II подается в оребренную алюминиевую трубку-охладитель (радиатор) 1, где постоянно охлаждается потоком встречного воздуха. Затем воздух проходит по центробежным направляющим дискам направляющего аппарата 4 через отверстие пустотелого винта 3 в корпусе 2 к выводу I и далее в пневматический тормозной привод. Выделявшаяся за счет термодинамического эффекта влага, стекая через фильтр 5, скапливается в нижней крышке 7. При срабатывании регулятора давление во влагоотделителе падает, при этом мембрана 6 перемещается вверх. Клапан 8 слива конденсата открывается, скопившаяся смесь воды и масла через вывод III удаляется в атмосферу.
Направление потока сжатого воздуха показано стрелками на корпусе 2.

Рисунок 6 – Влагоотделитель
1 - радиатор с ребристыми трубками; 2 - корпус; 3 - винт пустотелый; 4 - аппарат направляющий; 5 - фильтр; 6 - мембрана; 7 - крышка; 8 - клапан слива конденсата; I - к регулятору давления; II - от компрессора; III - в атмосферу
Регулятор давления (рисунок 7) предназначен:
– для регулирования давления сжатого воздуха в пневмосистеме;
– предохранения пневмосистемы от перегрузки избыточным давлением;
– очистки сжатого воздуха от влаги и масла;
– обеспечения накачки шин.
Сжатый воздух от компрессора через вывод IV регулятора, фильтр 2, канал 12 подается в кольцевой канал. Через обратный клапан 11 сжатый воздух поступает к выводу II и далее в ресиверы пневмосистемы автомобиля. Одновременно по каналу 9 сжатый воздух проходит под поршень 8, который нагружен уравновешивающей пружиной 5. При этом выпускной клапан 4, соединяющий полость над разгрузочным поршнем 14 с атмосферой через вывод I, открыт, а впускной клапан 13 под действием пружины закрыт. Под действием пружины закрыт также и разгрузочный клапан 1. При таком состоянии регулятора система наполняется сжатым воздухом от компрессора. При давлении в полости под поршнем 8, равном 686,5... 735,5 кПа (7 ... 7,5 кгс/ см2), поршень, преодолев усилие уравновешивающей пружины 5, поднимается вверх, клапан 4 закрывается, впускной клапан 13 открывается.
Под действием сжатого воздуха разгрузочный поршень 14 перемещается вниз, разгрузочный клапан 1 открывается, и сжатый воздух из компрессора через вывод III выходит в атмосферу вместе со скопившимся в полости конденсатом. При этом давление в кольцевом канале падает и обратный клапан 11 закрывается. Таким образом, компрессор работает в разгруженном режиме без противодавления.
Когда давление в выводе II понизится до 608... 637,5 кПа, поршень 8 под действием пружины 5 перемещается вниз, клапан 13 закрывается, а выпускной клапан 4 открывается. При этом разгрузочный поршень 14 под действием пружины поднимается вверх, клапан 1 под действием пружины закрывается, и компрессор нагнетает сжатый воздух в пневмосистему.
Разгрузочный клапан 1 служит также предохранительным клапаном. Если регулятор не срабатывает при давлении 686,5... 735,5 кПа (7... 7,5 кгс/см2), то клапан 1 открывается, преодолев сопротивление своей пружины и пружины поршня 14. Клапан 1 открывается при давлении 980,7... 1274,9 кПа (10... 13 кгс/см2). Давление открытия регулируют изменением количества прокладок, установленных под пружиной клапана.
Для присоединения специальных устройств регулятор давления имеет вывод, который соединен с выводом IV через фильтр 2. Этот вывод закрыт резьбовой пробкой 3. Кроме того, предусмотрен клапан отбора воздуха для накачки шин, который закрыт колпачком 17. При навинчивании штуцера шланга для накачки шин клапан утапливается, открывая доступ сжатому воздуху в шланг и преграждая проход сжатого воздуха в тормозную систему. Перед накачиванием шин давление в ресиверах следует понизить до давления, соответствующего давлению включения регулятора, так как во время холостого хода нельзя произвести отбор воздуха.

Рисунок 7 – Регулятор давления
1 - клапан разгрузочный; 2 -фильтр; 3 - пробка канала отбора воздуха; 4 - клапан выпускной; 5 - пружина уравновешивающая; 6 - винт регулировочный; 7 - чехол защитный; 8 - поршень следящий; 9, 10, 12 - каналы; 11 - клапан обратный; 13 - клапан впускной; 14 - поршень разгрузочный; 15 - седло разгрузочного клапана; 16 - клапан для накачки шин; 17 -колпачок; I, III - выводы атмосферные; II - в пневмосистему; IV - от компрессора; С - полость под следящим поршнем; D - полость под разгрузочным поршнем
Двухсекционный тормозной кран (рисунок 8) служит для управления исполнительными механизмами двухконтурного привода рабочей тормозной системы автомобиля.

Рисунок 8 – Кран тормозной с приводом от педали
1 - педаль; 2 - регулировочный болт; 3 - защитный чехол; 4 - ось ролика; 5 - ролик; 6 - толкатель; 7 - опорная плита; 8 -гайка; 9 - тарелка; 10,16, 19, 27 - уплотнительные кольца; 11 - шпилька; 12 - пружина следящего поршня; 13, 24 -пружины клапанов; 14, 20 - тарелки пружин клапанов; 15 - малый поршень; 17 - клапан нижней секции; 18 -толкатель малого поршня;21 - атмосферный клапан; 22 -упорное кольцо; 23 - корпус атмосферного клапана; 25 -нижний корпус; 26 - пружина малого поршня; 28 -большой поршень; 29 - клапан верхней секции; 30 -следящий поршень; 31 - упругий элемент; 32 - верхний корпус; А - отверстие; В - полость над большим поршнем; I, II - ввод от ресивера; III, IV - вывод к тормозным камерам соответственно задних и передних колес
Управление краном осуществляется педалью, непосредственно связанной с тормозным краном.
Кран имеет две независимые секции, расположенные последовательно. Вводы I и II крана соединены с ресиверами двух раздельных контуров привода рабочей тормозной системы. От выводов III и IV сжатый воздух поступает к тормозным камерам. При нажатии на тормозную педаль силовое воздействие передается через толкатель 6, тарелку 9 и упругий элемент 31 на следящий поршень 30. Перемещаясь вниз, следящий поршень 30 сначала закрывает выпускное отверстие клапана 29 верхней секции тормозного крана, а затем отрывает клапан 29 от седла в верхнем корпусе 32, открывая проход сжатому воздуху через ввод II и вывод III и далее к исполнительным механизмам одного из контуров. Давление на выводе III повышается до тех пор, пока сила нажатия на педаль 1 не уравновесится усилием, создаваемым этим давлением на поршень 30. Так осуществляется следящее действие в верхней секции тормозного крана. Одновременно с повышением давления на выводе III сжатый воздух через отверстие А попадает в полость В над большим поршнем 28 нижней секции тормозного крана. Перемещаясь вниз, большой поршень 28 закрывает выпускное отверстие клапана 17 и отрывает его от седла в нижнем корпусе. Сжатый воздух через ввод I поступает к выводу IV и далее в исполнительные механизмы первого контура рабочей тормозной системы.
Одновременно с повышением давления на выводе IV возрастает давление под поршнями 15 и 28, в результате чего уравновешивается сила, действующая на поршень 28 сверху. Вследствие этого на выводе IV также устанавливается давление, соответствующее усилию на рычаге тормозного крана. Так осуществляется следящее действие в нижней секции тормозного крана.
При отказе в работе верхней секции тормозного крана нижняя секция будет управляться механически через шпильку 11 и толкатель 18 малого поршня 15, полностью сохраняя работоспособность. При этом следящее действие осуществляется уравновешиванием силы, приложенной к педали 1, давлением воздуха на малый поршень 15. При отказе в работе нижней секции тормозного крана верхняя секция работает как обычно.
Регулятор автоматический тормозных сил предназначен для автоматического регулирования давления сжатого воздуха, подводимого при торможении к тормозным камерам мостов задней тележки автомобилей КамАЗ в зависимости от действующей осевой нагрузки.
Автоматический регулятор тормозных сил установлен на кронштейне 1, закрепленном на поперечине рамы автомобиля (рисунок 9). Регулятор крепится на кронштейне гайками.

Рисунок 9 – Установка регулятора тормозных сил
1 - кронштейн регулятора; 2 - регулятор; 3- рычаг; 4 -штанга упругого элемента; 5 - элемент упругий; 6 -штанга соединительная; 7 - компенсатор; 8 - мост промежуточный; 9 - мост задний
Рычаг 3 регулятора с помощью вертикальной штанги 4 соединен через упругий элемент 5 и штангу 6 с балками мостов 8 и 9 задней тележки. Регулятор соединен с мостами таким образом, что перекосы мостов во время торможения на неровных дорогах и скручивание мостов вследствие действия тормозного момента не отражаются на правильном регулировании тормозных сил. Регулятор установлен в вертикальном положении. Длина плеча рычага 3 и положение его при разгруженной оси подбираются по специальной номограмме в зависимости от хода подвески при нагружении оси и соотношения осевой нагрузки в груженом и порожнем состоянии.
Устройство автоматического регулятора тормозных сил показано на рисунке 10. При торможении сжатый воздух от тормозного крана подводится к выводу I регулятора и воздействует на верхнюю часть поршня 18, заставляя его перемещаться вниз. Одновременно сжатый воздух по трубке 1 поступает под поршень 24, который перемещается вверх и прижимается к толкателю 19 и шаровой пяте 23, находящейся вместе с рычагом 20 регулятора в положении, зависящем от величины нагрузки на ось тележки. При перемещении поршня 18 вниз клапан 17 прижимается к выпускному седлу толкателя 19. При дальнейшем перемещении поршня 18 клапан 17 отрывается от седла в поршне и сжатый воздух из вывода I поступает в вывод II и далее к тормозным камерам мостов задней тележки автомобиля.
Одновременно сжатый воздух через кольцевой зазор между поршнем 18 и направляющей 22 поступает в полость А под мембрану 21 и последняя начинает давить на поршень снизу. При достижении на выводе II давления, отношение которого к давлению на выводе I соответствует соотношению активных площадей верхней и нижней сторон поршня 18, последний поднимается вверх до момента посадки клапана 17 на впускное седло поршня 18. Поступление сжатого воздуха из вывода I к выводу II прекращается. Таким образом осуществляется следящее действие регулятора. Активная площадь верхней стороны поршня, на которую воздействует сжатый воздух, подведенный к выводу 7, остается всегда постоянной.
Активная площадь нижней стороны поршня, на которую через мембрану 21 воздействует сжатый воздух, прошедший в вывод II, постоянно меняется из-за изменения взаимного расположения наклонных ребер 11 движущегося поршня 18 и неподвижной вставки 10. Взаимное положение поршня 18 и вставки 10 зависит от положения рычага 20 и связанного с ним через пяту 23 толкателя 19. В свою очередь положение рычага 20 зависит от прогиба рессор, то есть от взаимного расположения балок мостов и рамы автомобиля. Чем ниже опускается рычаг 20, пята 23, а следовательно, и поршень 18, тем большая площадь ребер 11 входит в контакт с мембраной 21, то есть больше становится активная площадь поршня 18 снизу. Поэтому при крайнем нижнем положении толкателя 19 (минимальная осевая нагрузка) разность давлений сжатого воздуха в выводах I и II наибольшая, а при крайнем верхнем положении толкателя 19 (максимальная осевая нагрузка) эти давления выравниваются. Таким образом, регулятор тормозных сил автоматически поддерживает в выводе II и в связанных с ним тормозных камерах давление сжатого воздуха, обеспечивающее нужную тормозную силу, пропорциональную осевой нагрузке, действующей во время торможения.
При оттормаживании давление в выводе I падает. Поршень 18 под давлением сжатого воздуха, действующим на него через мембрану 21 снизу, перемещается вверх и отрывает клапан 17 от выпускного седла толкателя 19. Сжатый воздух из вывода II выходит через отверстие толкателя и вывод III в атмосферу, отжимая при этом края резинового клапана 4.

Рисунок 10 – Автоматический регулятор тормозных сил
1 -труба; 2, 7 - кольца уплотнительные; 3 - корпус нижний; 4 - клапан; 5 - вал; 6, 15 - кольца упорные; 8 - пружина мембраны; 9 - шайба мембраны; 10 - вставка; 11 - ребра поршня; 12 - манжета; 13 - тарелка пружины клапана; 14 -корпус верхний; 16 - пружина; 17 - клапан; 18 - поршень; 19 - толкатель; 20 - рычаг; 21 - мембрана; 22 -направляющая; 23 - пята шаровая; 24 - поршень; 25 -колпачок направляющий; I - от тормозного крана; II - к тормозным камерам задних колес; III - в атмосферу
Элемент упругий регулятора тормозных сил предназначен для предотвращения повреждения регулятора, если перемещение мостов относительно рамы больше допустимого хода рычага регулятора.
Упругий элемент 5 регулятора тормозных сил установлен (рисунок 11) на штанге 6, расположенной между балками задних мостов определенным образом.
Точка соединения элемента со штангой 4 регулятора находится на оси симметрии мостов, которая не перемещается в вертикальной плоскости при скручивании мостов в процессе торможения, а также при односторонней нагрузке на неровной поверхности дороги и при перекосах мостов на криволинейных участках при повороте. При всех этих условиях на рычаг регулятора передаются только вертикальные перемещения от статического и динамического изменения осевой нагрузки.
Устройство упругого элемента регулятора тормозных сил показано на рисунке 11. При вертикальных перемещениях мостов в пределах допустимого хода рычага регулятора тормозных сил шаровой палец 4 упругого элемента находится в нейтральной точке. При сильных толчках и вибрации, а также при перемещении мостов за пределы допустимого хода рычага регулятора тормозных сил стержень 3, преодолевая силу пружины 2, поворачивается в корпусе 1. При этом тяга 5, соединяющая упругий элемент с регулятором тормозных сил, поворачивается относительно отклоненного стержня 3 вокруг шарового пальца 4.
После прекращения действия силы, отклоняющей стержень 3, палец 4 под действием пружины 2 возвращается в исходное нейтральное положение.

Рисунок 11 – Элемент упругий регулятора тормозных сил
1 - корпус; 2 - пружина; 3 - стержень; 4 - палец шаровой; 5 -тяга регулятора
Четырехконтурный защитный клапан (рисунок 12) предназначен для разделения сжатого воздуха, поступающего от компрессора, на два основных и один дополнительный контуры: для автоматического отключения одного из контуров при нарушении его герметичности и сохранения сжатого воздуха в герметичных контурах; для сохранения сжатого воздуха во всех контурах при нарушении герметичности питающей магистрали; для питания дополнительного контура от двух основных контуров (до тех пор, пока давление в них не снизится до заданного уровня).
Четырехконтурный защитный клапан прикреплен к лонжерону рамы автомобиля.

Рисунок 12 – Клапан защитный четырехконтурный
1 - колпачок защитный; 2 - тарелка пружины; 3, 8, 10 -пружины; 4 - направляющая пружины; 5 - мембрана; 6 -толкатель; 7, 9 - клапаны; 11, 12 - винты; 13 - пробка транспортная; 14 - корпус; 15 – крышка
Сжатый воздух, поступающий в четырехконтурный защитный клапан из питающей магистрали, при достижении заданного давления открытия, устанавливаемого усилием пружин 3, открывает клапаны 7, воздействуя на мембрану 5, поднимает ее, и поступает через выводы в два основных контура. После открытия обратных клапанов сжатый воздух поступает к клапанам 7, открывает их и через вывод проходит в дополнительный контур.
При нарушении герметичности одного из основных контуров давление в этом контуре, а также на входе в клапан падает до заданной величины. Вследствие этого клапан исправного контура и обратный клапан дополнительного контура закрываются, предотвращая уменьшение давления в этих контурах. Таким образом, в исправных контурах будет поддерживаться давление, соответствующее давлению открытия клапана неисправного контура, излишнее количество сжатого воздуха при этом будет выходить через неисправный контур.
При отказе в работе дополнительного контура давление падает в двух основных контурах и на входе в клапан. Это происходит до тех пор, пока не закроется клапан 6 дополнительного контура. При дальнейшем поступлении сжатого воздуха в защитный клапан 6 в основных контурах будет поддерживаться давление на уровне давления открытия клапана дополнительного контура.
Ресиверы предназначены для накопления сжатого воздуха, производимого компрессором, и для питания им приборов пневматического тормозного привода, а также для питания других пневматических узлов и систем автомобиля.
На автомобиле КамАЗ установлено шесть ресиверов вместимостью по 20 л, причем четыре из них соединены между собой попарно, образуя два резервуара вместимостью по 40 л. Ресиверы закреплены хомутами на кронштейнах рамы автомобиля. Три ресивера объединены в блок и установлены на едином кронштейне.
Кран слива конденсата (рисунок 13) предназначен для принудительного слива конденсата из ресивера пневматического тормозного привода, а также для выпуска из него сжатого воздуха при необходимости. Кран слива конденсата ввернут в резьбовую бобышку на нижней части корпуса ресивера. Соединение между краном и бобышкой ресивера уплотнено прокладкой.

Рисунок 13 – Кран слива конденсата
1 - шток; 2 - пружина; 3 - корпус; 4 - кольцо опорное; 5 - шайба; 6 – клапан
Камера тормозная с пружинным энергоаккумулятором типа 20/20 показана на рисунке 14. Она предназначена для приведения в действие тормозных механизмов колес задней тележки автомобиля при включении рабочей, запасной и стояночной тормозных систем.
Пружинные энергоаккумуляторы вместе с тормозными камерами установлены на кронштейны разжимных кулаков тормозных механизмов задней тележки и закреплены двумя гайками с болтами.
При торможении рабочей тормозной системой сжатый воздух от тормозного крана подается в полость над мембраной 16. Мембрана 16, прогибаясь, воздействует на диск 17, который через шайбу и контргайку перемещает шток 18 и поворачивает регулировочный рычаг с разжимным кулаком тормозного механизма. Таким образом, торможение задних колес происходит так же, как и торможение передних с обычной тормозной камерой.
При включении запасной или стояночной тормозной системы, то есть при выпуске воздуха ручным краном из полости под поршнем 5, пружина 8 разжимается и поршень 5 перемещается вниз. Подпятник 2 через мембрану 16 воздействует на подпятник штока 18, который, перемещаясь, поворачивает связанный с ним регулировочный рычаг тормозного механизма. Происходит затормаживание автомобиля.
При оттормаживании сжатый воздух поступает через вывод под поршень 5. Поршень вместе с толкателем 4 и подпятником 2 перемещается вверх, сжимая пружину 8 и дает возможность штоку 18 тормозной камеры под действием возвратной пружины 19 вернуться в исходное положение.

Рисунок 14 – Камера тормозная типа 20/20 с пружинным энергоаккумулятором
1 - корпус; 2 - подпятник; 3 - кольцо уплотнительное; 4 - толкатель; 5 - поршень; 6 - уплотнение поршня; 7 - цилиндр энергоаккумулятора; 8 - пружина; 9 - винт механизма аварийного растормаживания; 10 -гайка упорная; 11- патрубок цилиндра; 12 - трубка дренажная; 13 - подшипник упорный; 14 - фланец; 15 -патрубок тормозной камеры; 16 - мембрана; 17 - диск опорный; 18 - шток; 19 - пружина возвратная
При чрезмерно большом зазоре между колодками и барабаном тормозного механизма, то есть при чрезмерно большом ходе штока тормозной камеры, усилие на штоке может оказаться недостаточным для эффективного торможения. В этом случае следует включить ручной тормозной кран обратного действия и выпустить воздух из-под поршня 5 пружинного энергоаккумулятора. Подпятник 2 под действием силовой пружины 8 продавит середину мембраны 16 и продвинет шток 18 на имеющийся дополнительный ход, обеспечив затормаживание автомобиля.
При нарушении герметичности и снижении давления в ресивере стояночной тормозной системы воздух из полости под поршнем 5 через вывод уйдет в атмосферу через поврежденную часть привода и произойдет автоматическое затормаживание автомобиля пружинными энергоаккумуляторами.
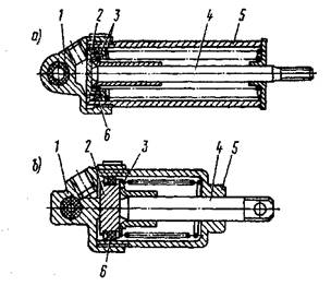
Цилиндры пневматические предназначены для приведения в действие механизмов вспомогательной тормозной системы.
На автомобилях КамАЗ установлено три пневматических цилиндра:
– два цилиндра диаметром 35 мм и ходом поршня 65 мм (рисунок 15), а) для управления дроссельными заслонками, установленными в выпускных трубопроводах двигателя;
– один цилиндр диаметром 30 мм и ходом поршня 25 мм (рисунок 15, б) для управления рычагом регулятора топливного насоса высокого давления.
Пневматический цилиндр 035x65 шарнирно закреплен на кронштейне при помощи пальца. Шток цилиндра резьбовой вилкой соединяется с рычагом управления заслонкой. При включении вспомогательной тормозной системы сжатый воздух от пневматического крана через вывод в крышке 1 (см. рис. 311, а) поступает в полость под поршнем 2. Поршень 2, преодолевая силу возвратных пружин 3, перемещается и воздействует через шток 4 на рычаг управления заслонкой, переводя ее из положения «ОТКРЫТО» в положение «ЗАКРЫТО». При выпуске сжатого воздуха поршень 2 со штоком 4 под действием пружин 3 возвращается в исходное положение. При этом заслонка поворачивается в положение «ОТКРЫТО».
Пневматический цилиндр 030x25 шарнирно установлен на крышке регулятора топливного насоса высокого давления. Шток цилиндра резьбовой вилкой соединен с рычагом регулятора. При включении вспомогательной тормозной системы сжатый воздух от пневматического крана через вывод в крышке 1 цилиндра поступает в полость под поршнем 2. Поршень 2, преодолевая силу возвратной пружины 3, перемещается и воздействует через шток 4 на рычаг регулятора топливного насоса, переводя его в положение нулевой подачи. Система тяг педали управления подачей топлива связана со штоком цилиндра таким образом, что при включении вспомогательной тормозной системы педаль не перемещается. При выпуске сжатого воздуха поршень 2 со штоком 4 под действием пружины 3 возвращается в исходное положение.

Рисунок 15 – Пневматические цилиндры привода заслонки механизма вспомогательной тормозной системы (а) и привода рычаг остановки двигателя (б)
1 - крышка цилиндра; 2 - поршень; 3 - пружины возвратные; 4 -шток; 5-корпус; 6 – манжета
Клапан контрольного вывода (рис. 312) предназначен для присоединения к приводу контрольно-измерительных приборов с целью проверки давления, а также для отбора сжатого воздуха. Таких клапанов на автомобилях КамАЗ установлено пять – во всех контурах пневматического тормозного привода. Для присоединения к клапану следует применять шланги и измерительные приборы с накидной гайкой М 16x1,5.
При измерении давления или для отбора сжатого воздуха отвернуть колпачок 4 клапана и навернуть на корпус 2 накидную гайку шланга, присоединенного к контрольному манометру или какому-либо потребителю. При наворачивании гайка перемещает толкатель 5 с клапаном, и воздух через радиальные и осевое отверстия в толкателе 5 поступает в шланг. После отсоединения шланга толкатель 5 с клапаном под действием пружины 6 прижимается к седлу в корпусе 2, закрывая выход сжатому воздуху из пневмопривода.

Рисунок 16 – Клапан контрольного вывода
1 - штуцер; 2 - корпус; 3 - петля; 4 - колпачок; 5 - толкатель с клапаном; 6 - пружина
Датчик падения давления (рисунок 17) представляет собой пневматический выключатель, предназначенный для замыкания цепи электрических ламп и звукового сигнала (зуммера) аварийной сигнализации при падении давления в ресиверах пневматического тормозного привода. Датчики с помощью наружной резьбы на корпусе вворачиваются в ресиверы всех контуров тормозного привода, а также в арматуру контура привода стояночной и запасной тормозных систем и при их включении загораются красная контрольная лампочка на щитке приборов и лампы сигнала торможения.
Датчик имеет нормально замкнутые центральные контакты, которые размыкаются при повышении давления выше 441,3... 539,4 кПа.
При достижении в приводе указанного давления мембрана 2 под действием сжатого воздуха прогибается и через толкатель 4 воздействует на подвижный контакт 5. Последний, преодолев усилие пружины 6, отрывается от неподвижного контакта 3 и разрывает электрическую цепь датчика. Замыкание контакта, а следовательно, включение контрольных ламп и зуммера, происходит при снижении давления ниже указанной величины.

Рисунок 17 – Датчик падения давления
1 - корпус; 2 -мембрана; 3 - контакт неподвижный; 4 толкатель; 5 - контакт подвижный; 6 - пружина; 7 - винт регулировочный; 8 – изолятор
Датчик включения сигнала торможения (рисунок 18) представляет собой пневматический выключатель, предназначенный для замыкания цепи электрических сигнальных ламп при торможении. Датчик имеет нормально разомкнутые контакты, которые замыкаются при давлении 78,5... 49 кПа и размыкаются при уменьшении давления ниже 49... 78,5 кПа. Датчики установлены в магистралях, подводящих сжатый воздух к исполнительным механизмам тормозных систем.
При подводе сжатого воздуха под мембрану последняя прогибается, и подвижной контакт 3 соединяет контакты 6 электрической цепи датчика.

Рисунок 18 – Датчик включения сигнала торможения
1 - корпус; 2-мембрана; 3 -контакт подвижный; 4 -пружина; 5 - вывод неподвижного контакта; 6 -контакт неподвижный; 7 –крышка
Клапан управления тормозными механизмами прицепа с двухпроводным приводом (рисунок 19) предназначен для приведения в действие тормозного привода прицепа (полуприцепа) при включении любого из раздельных контуров привода рабочей тормозной системы тягача, а также при включении пружинных энергоаккумуляторов привода запасной и стояночной тормозных систем тягача.
Клапан крепится на раме тягача двумя болтами.
Между нижним 14 и средним 18 корпусами зажата мембрана 1, которая укреплена между двумя шайбами 17 на нижнем поршне 13 гайкой 16, уплотненной резиновым кольцом. К нижнему корпусу двумя винтами прикреплено выпускное окно 15 с клапаном, предохраняющим прибор от попадания пыли и грязи. При ослаблении одного из винтов выпускное окно 15 можно повернуть и открыть доступ к регулировочному винту 8 через отверстие клапана 4 и поршня 13. В отторможенном состоянии к выводам II и V постоянно подается сжатый воздух, который, воздействуя сверху на мембрану 1 и снизу на средний поршень 12, удерживает поршень 13 в нижнем положении. При этом вывод IV соединяет магистраль управления тормозными механизмами прицепа с атмосферным выводом VI через центральное отверстие клапана 4 и нижнего поршня 13.

Рисунок 19 – Клапан управления тормозными механизмами прицепа с двухпроводным приводом
1 - мембрана; 2 -пружина; 3 - клапан разгрузочный; 4 - клапан впускной; 5 - корпус верхний; 6 - поршень верхний большой; 7 -тарелка пружины; 8 - винт регулировочный; 9 - пружина; 10 - поршень малый верхний; 11 - пружина; 12 -поршень средний; 13 - поршень нижний; 14 - корпус нижний; 15 - окно выпускное; 16 - гайка; 17 - шайба мембраны; 18 - корпус средний; I - вывод к секции тормозного крана;
II - вывод к крану управления стояночной тормозной системой; III - вывод к секции тормозного крана; IV - вывод в тормозную магистраль прицепа; V - вывод к ресиверу; VI - вывод атмосферный
При подводе сжатого воздуха к выводу III верхние поршни 10 и 6 одновременно перемещаются вниз. Поршень 10 сначала садится своим седлом на клапан 4, перекрывая атмосферный вывод в нижнем поршне 13, а затем отрывает клапан 4 от седла среднего поршня 12. Сжатый воздух от вывода V, связанного с ресивером, поступает к выводу IV и далее в магистраль управления тормозными механизмами прицепа. Подача сжатого воздуха к выводу IV продолжается до тех пор, пока его воздействие снизу на верхние поршни 10 и 6 не уравновесится давлением сжатого воздуха, подведенного к выводу III, на эти поршни сверху. После этого клапан 4 под действием пружины 2 перекрывает доступ сжатого воздуха от вывода V к выводу IV. Таким образом осуществляется следящее действие. При уменьшении давления сжатого воздуха на выводе III от тормозного крана, т.е. при оттормаживании, верхний поршень 6 под действием пружины 11 и давления сжатого воздуха снизу (в выводе IV) перемещается вверх вместе с поршнем 10. Седло поршня 10 отрывается от клапана 4 и сообщает вывод IV с атмосферным выводом VI через отверстия клапана 4 и поршня 13.
При подводе сжатого воздуха к выводу I он поступает под мембрану 1 и перемещает нижний поршень 13 вместе со средним поршнем 12 и клапаном 4 вверх. Клапан 4 доходит до седла в малом верхнем поршне 10, перекрывает атмосферный вывод, а при дальнейшем движении среднего поршня 12 отрывается от его впускного седла. Воздух поступает из вывода V, соединенного с ресивером, к выводу IV и далее в магистраль управления тормозными механизмами прицепа до тех пор, пока его воздействие на средний поршень 12 сверху не уравняется давлением на мембрану 1 снизу. После этого клапан 4 перекрывает доступ сжатого воздуха из вывода V к выводу IV. Таким образом осуществляется следящее действие при таком варианте работы прибора. При падении давления сжатого воздуха на выводе I и под мембрану нижний поршень 13 вместе со средним поршнем 12 перемещается вниз. Клапан 4 отрывается от седла в верхнем малом поршне 10 и сообщает вывод IV с атмосферным выводом VI через отверстия в клапане 4 и поршне 13.
При одновременном подводе сжатого воздуха к выводам I и III происходит одновременное перемещение большого и малого верхних поршней 10 и 6 вниз, а нижнего поршня 13 со средним поршнем 12 – вверх. Заполнение магистрали управления тормозными механизмами прицепа через вывод IV и выпуск из нее сжатого воздуха происходит так же, как описано выше.
При выпуске сжатого воздуха из вывода II (при торможении запасной или стояночной тормозной системой тягача) давление над мембраной падает. Под действием сжатого воздуха снизу средний поршень 12 вместе с нижним поршнем 13 перемещаются вверх. Заполнение магистрали управления тормозными механизмами прицепа через вывод IV и оттормаживание происходит так же, как при подводе сжатого воздуха к выводу I. Следящее действие в этом случае достигается уравновешиванием давления сжатого воздуха на средний поршень 12 и суммы давления сверху на средний поршень 12 и мембрану 1.
При подводе сжатого воздуха к выводу III (или при одновременном подводе воздуха к выводам III и I) величина давления в выводе IV, соединенном с магистралью управления тормозными механизмами прицепа, превышает величину давления, подведенного к выводу III. Этим обеспечивается опережающее действие тормозной системы прицепа (полуприцепа). Максимальная величина превышения давления на выводе IV составляет 98,1 кПа, минимальная – около 19,5 кПа, номинальная – 68,8 кПа. Регулирование величины превышения давления осуществляется винтам 8: при вворачивании винта она увеличивается, при выворачивании – уменьшается.
Основные неисправности
| Причины неисправности: | Метод устранения: |
| 1.Ресиверы пневмосистемы не заполняются или заполняются медленно (регулятор давления срабатывает) | |
| Пневмосистема имеет значительную утечку сжатого воздуха. | Заменить шланги и трубопроводы. Подтянуть соединения. Заменить поврежденные детали. |
| 2.Часто срабатывает регулятор давления при заполненной пневмосистеме. | |
| Утечка сжатого воздуха в магистрали от компрессора до блока защитных клапанов | Заменить шланги и трубопроводы. Подтянуть соединения. Заменить поврежденные детали. |
| 3.Ресиверы пневмосистемы не заполняются (регулятор давления срабатывает) | |
| Неправильно отрегулирован регулятор давления. | Отрегулировать регулятор давления регулировочным винтом, при необходимости заменить регулятор. |
| Перекрыто проходное сечение трубопроводов от регулятора давления до блока защитных клапанов. | Заменить трубопровод. Удалить заглушку и посторонние предметы, продуйте трубопровод сжатым воздухом. |
| 4.Не заполняются ресиверы IIIи IVконтуров | |
| Неисправен тройной защитный клапан | Заменить неисправный аппарат. |
Засорены питающиеся трубопроводы. Деформация корпуса двойного защитного клапана из-за перетяжки крепления клапана к лонжерону рамы. |
Удалить посторонние предметы из трубопровода. Привести в соответствие затяжку крепления двойного защитного клапана к лонжерону рамы. |
| 5.Не заполняются ресиверы Iи II контуров | |
| Неисправен тройной защитный клапан. | Заменить неисправный аппарат |
Засорены трубопроводы. Тройной защитный клапан плотно прижат к лонжерону рамы |
Удалить посторонние предметы. При отсутствии зазора увеличить длину проставок крепления двойного защитного клапана. |
| 6.Давление в ресиверах Iи IIконтуров выше или ниже нормы при работающем регуляторе давления. | |
| Неисправен двухстрелочный манометр | Заменить двухстрелочный манометр |
| Неправильно отрегулирован регулятор давления. | Отрегулировать регулятор давления, при необходимости заменить. |
| 7.Неэффективное торможение или отсутствие торможения автомобиля рабочим тормозом при полностью нажатой тормозной педали. | |
| Неисправен тормозной кран. | Заменить тормозной кран. |
Загрязнение полости под резиновым чехлом рычага привода двухсекционного тормозного крана. Чехол порван или снят с посадочного места. Наличие значительной утечки сжатого воздуха в магистрали IиII контуров после тормозного крана. Не отрегулирован привод тормозного крана Неправильная установка привода регулятора тормозных сил Неисправен клапан ограничения давления. Ходы штоков тормозных камер превышают установленную величину (40мм) |
Очистить от грязи полости под чехлом. При необходимости заменить чехол. Заменить шланги и трубопроводы. Подтянуть соединения. Заменить поврежденные детали. Отрегулировать привод тормозного крана. Отрегулировать установку регулятора тормозных сил или заменить его. Заменить клапан ограничения давления. Отрегулировать ход штоков |
| 8.Неэффективное торможение или отсутствие торможения автомобиля стояночным, запасным тормозами | |
Неисправны: ускорительный клапан; кран стояночного тормоза; кран аварийного растормаживания. Засорены трубопроводы или шланги III контура |
Заменить неисправный тормозной аппарат Очистите трубопроводы и продуйте их сжатым воздухом. При необходимости замените на исправные |
| Неисправны пружинные энергоаккумуляторы | Замените неисправные тормозные камеры с пружинными энергоаккумуляторами |
| Ходы штоков тормозных камер превышают установленную величину(40 мм) | Отрегулируйте ход штоков |
| 9.При нажатии на тормозную педаль или при включении стояночного тормоза фонари стоп-сигнала не загораются. | |
| Неисправен датчик включения стоп-сигнала или аппараты пневмопривода | Заменить неисправные датчик или аппараты. |
| Наличие значительного количества масла в пневмосистеме | |
| Износ поршневых колец, цилиндров компрессора | Заменить компрессор |
Техническое обслуживание
При ТО-1 отрегулировать ход штоков тормозных камер с помощью Ключа 10*12, линейки. Ход штоков должен быть не более 40 мм.
При ТО- 2 Проверить:
Работоспособность тормозной системы манометрами по контрольным выводам на стенде.
– контрольные лампы на щитке приборов должны погаснуть при давлении 4,5...5,5кгс/см²;
- регулятор давления должен срабатывать при давлении 6,2...7,5кгс/см²;
- при нажатии на педаль тормоза давление должно снизиться не более, чем на 0,5кгс/см².
Шплинтовку пальцев штоков тормозных камер. Отсутствие шплинтов не допускается.
Закрепить тормозные камеры и кронштейны тормозных камер. Момент затяжки гаек крепления передних тормозных камер 14...16кгс۰м; момент затяжки гаек крепления задних тормозных камер 18...22кгс۰м; момент затяжки гаек болтов крепления кронштейнов 7,5...10кгс۰м.
Обслуживание заключается в осмотре, очистке механизмов и проверке креплений, а также в регулировке зазоров между колодками и барабаном. При осмотре тормозных механизмов необходимо проверить следующее.
1. Надежность крепления суппорта к фланцам мостов.
2. Затяжку гаек осей колодок и гаек болтов крепления кронштейнов разжимных кулаков.
3. Состояние фрикционных накладок. Если расстояние от поверхности накладок до головок заклепок менее 0,5 мм, то надо сменить тормозные накладки. Необходимо предохранять накладки от попадания на них масла, так как фрикционные свойства промасленных накладок нельзя полностью восстановить очисткой и промывкой. Если требуется заменить одну из накладок левого или правою тормоза, нужно менять все у обоих тормозных механизмов (левого и правого колес). После установки новых фрикционных накладок колодку необходимо расточить. Радиус ивняки 200_0.4 мм дан применительно к новому барабану.
После расточки барабана при ремонте радиус колодки должен быть равен радиусу расточенного барабана. Барабаны допускается растачивать до диаметра не более 406 мм.
4. Вращение вала разжимного кулака. Вал должен вращаться в кронштейне свободно, без заеданий. В противном случае нужно очистить опорные поверхности вала и кронштейна, после чего смазать их тонким слоем консистентной смазки.
Регулировка тормозного механизма может быть полной или частичной. В обоих случаях необходимо проверить, правильно ли затянуты подшипники ступицы колес.
Тормозные барабаны должны быть холодными. Стояночный тормоз следует выключить.
Полную регулировку проводят только после разборки и ремонта тормозов или в случае нарушения центровки рабочих поверхностей фрикционных накладок и тормозного барабана.
Необходимые операции надо выполнять в такой последовательности.
1. Ослабить гайки крепления осей колодок и сблизить эксцентрики, повернув оси метками одну к другой. Метки поставлены на наружных выступающих над гайками торцах осей. Отпустить болты крепления кронштейна разжимного кулака.
2. Подать в тормозную камеру сжатый воздух под давлением 1—1,5 кгс/см2 (нажать на педаль тормоза при наличии воздуха в системе или воспользоваться сжатым воздухом из гаражной установки).
При отсутствии сжатого воздуха вынуть палец штока тормозной камеры и, нажимая на регулировочный рычаг в сторону хода штока тормозной камеры при торможении, прижать колодки к тормозному барабану.
Поворачивая эксцентрики в одну и другую сторону, сцентрировать колодки относительно барабана и добиться плотного прилегания их к барабану. После этого через окна в щитке тормоза, расположенные на расстоянии 20—30 мм от наружных концов накладок, направить щуп толщиной 0,1 мм под накладку: он не должен проходить вдоль всей ее ширины.
3.Не прекращая подачи сжатого воздуха в тормозную камеру, а при отсутствии сжатого воздуха — не отпуская регулировочного рычага и удерживая оси колодок от проворачивания, надежно затянуть гайки осей и гайки болтов крепления кронштейна разжимного кулака к суппорту тормоза.
4. Прекратить подачу сжатого воздуха, а при отсутствии сжатого воздуха отпустить регулировочный рычаги присоединить шток тормозной камеры.
5. Повернуть оси червяка регулировочного рычага так, чтобы ход штока тормозной камеры был в пределах 20—30 мм.
Убедиться, что при включении и выключении подачи воздуха штоки тормозных камер перемещаются быстро, без заеданий.
6. Проверить, как вращаются барабаны: они должны вращаться свободно и равномерно, не касаясь колодок.
После указанной регулировки между тормозным барабаном и колодками могут быть следующие зазоры: у разжимного кулака 0,4 мм, у осей колодок 0,2 мм.
Частичную регулировку проводят только для уменьшения зазора между колодками и барабаном, который увеличивается при эксплуатации вследствие износа накладок. Наличие больших зазоров, при которых требуется проведение частичной регулировки, обнаруживают по увеличению хода штоков тормозных камер (ход штока не должен превышать 40 мм). Частичную регулировку выполняют только вращением осей червяков регулировочных рычагов так же, как и при полной регулировке (см. пп. 5 и 6). При этом не следует ослаблять гайки осей колодок и изменять установку осей, так как это может нарушить нормальное прилегание колодок к барабану при торможении. В случае изменения установки осей необходимо проводить полную регулировку.
При частичной регулировке надо устанавливать наименьший ход штоков тормозных камер, равный 20 мм.
Для получения одинаковой эффективности торможения правых и левых колес необходимо, чтобы ходы штоков правых и левых камер каждого моста мало отличались один от другого.
При проверке тормозов на роликовом стенде необходимо, чтобы разность тормозных сил правого и левого колес испытуемого моста не превышала 15% максимальной величины.
Пневмопривод. Надежность работы пневмопривода тормозов автомобиля зависит от правильного обращения с приборами тормозной системы и ухода за ними.
1. При обслуживании пневмопривода автомобиля прежде всего нужно убедиться в герметичности системы в целом и ее отдельных элементов. Особо тщательно следует проверять герметичность соединений трубопроводов и гибких шлангов, так как в этих местах чаще всего возникают утечки сжатого воздуха. Места большой утечки воздуха определяются на слух, а небольшой утечки — с помощью мыльной эмульсии. Устраняют утечку воздуха из соединений трубопроводов подтягиванием или заменой отдельных элементов соединений.
Герметичность пневмосистемы следует проверять при номинальном давлении, выключенных потребителях сжатого воздуха и неработающем компрессоре.
Давление воздуха в воздушных баллонах должно уменьшаться не более чем на 0,15 кгс/см2 за 15 мин при свободном положении органов управления тормозного привода (педали и рукоятки тормозных кранов, кнопок кранов аварийного растормаживания и привода вспомогательного тормоза) и на 0,3 кгс/см2 после включения органов управления.
2.Для обеспечения нормальной работы пневмопривода необходимо постоянно сливать конденсат из воздушных баллонов через краны слива его. Скопление большого количества конденсата в баллонах не допускается, так как это может привести к попаданию его в приборы привода и выходу их из строя.
При высокой влажности окружающего воздуха следует ежедневно сливать конденсат. Наличие большого количества масла в конденсате указывает на неисправность компрессора. Зимой и в случае безгаражной стоянки автомобилей нужно более часто сливать конденсат из воздушных баллонов во избежание замерзания его в приборах и трубопроводах. В случае замерзания конденсата запрещается отогревать приборы, трубопроводы и воздушные баллоны открытым огнем. Для этой цели следует использовать горячую воду.
После полного слива конденсата из воздушных баллонов рекомендуется заполнить систему воздухом, доведя его давление до номинального, и только после этого остановить двигатель.
3.Приборы пневматического тормозного привода (кроме указанных ниже) не нуждаются в специальном обслуживании и регулировке. В случае неисправности разборка этих приборов и устранение их дефектов могут проводиться только квалифицированными специалистами.
Вспомогательный тормоз. Обслуживание вспомогательного тормоза заключается в периодической проверке его крепления и вращения заслонки.
Если заслонка вращается туго, вследствие отложения на ее оси кокса, следует снять корпус с заслонкой, очистить, промыть в керосине, обдуть сжатым воздухом и установить на место.
Компрессор. При обслуживании компрессора необходимо проверять затяжку гаек его крепления к двигателю, затяжку гаек шпилек, крепящих головку, и других крепежных деталей. Гайки шпилек, крепящих головку, слезет затягивать равномерно, в два приема. Окончательный момент затяжки должен быть в пределах 1,2— 1,7 кгс-см2.
Через 80 000—100 000 км пробега при сезонном обслуживании (весной) надо снимать головку компрессора для истки поршней, клапанов и седел. Клапаны, не обеспечивающие герметичности, необходимо притереть к седлам, а сильно изношенные или поврежденные заменить новыми. 1овые клапаны также следует притереть к седлам (до получения непрерывного кольцевого контакта при проверке «на краску»).
Признаками неисправности компрессора являются появление шума и стука при его работе, увеличенное количество масла в конденсате, сливаемом из воздушных баллонов. Последнее обычно является следствием износа поршневых колец, масляного уплотнения заднего торца коленчатого вала или подшипников нижних головок шатунов.
Предохранитель от замерзания. При температуре окружающего воздуха 5 °С и выше предохранитель должен быть выключен. При температуре ниже 5 °С его необходимо заправить этиловым спиртом.
Для заливки спирта и контроля его уровня рукоятку предохранителя нужно опустить в нижнее положение и зафиксировать, повернув на 90°. Затем надо вывинтить пробку со щупом и залить в предохранитель через воронку спирт. После этого следует закрыть заливное отверстие и, повернув рукоятку на 90°, поднять ее в рабочее положение.
Ежедневно с помощью щупа следует контролировать уровень жидкости. Перед началом заморозков (при сезонном обслуживании) внутренние полости испарителя очищают и промывают.
Тормозной кран. Обслуживание двухсекционного тормозного крана заключается в его периодическом осмотре, очистке от грязи, проверке герметичности и работы.
Необходимо следить за состоянием защитного резинового чехла крана и плотностью прилегания его к корпусу? так как при попадании грязи на рычажную систему и трущиеся поверхности тормозной кран выходит из строя.
Герметичность тормозного крана проверяют с помощью мыльной эмульсии в двух положениях: в заторможенном и расторможенном. Утечка воздуха через атмосферный вывод тормозного крана при этих положениях1 свидетельствует о том, что в одной из секций либо пару» шилась герметичность впускного клапана, либо вышел из строя выпускной клапан. Кран с такими дефектами необходимо заменить.
Тормозной кран срабатывает полностью при усилии на рычаге 80 кгс и ходе рычага 26 мм. Начальная нечувствительность крана примерно 15 кгс. Разность давлении в секциях крана может составлять до 25 кгс/см2.
Обслуживание привода тормозного крана заключает! в периодическом осмотре, очистке и смазке шарнирных соединений. Следует проверить состояние защитного чехле (он не должен иметь разрывов) и убедиться в том, что он плотно прилегает к корпусу тормозного крана по всему периметру.
Необходимо следить за состоянием кронштейном, а также тяг и рычагов, связывающих тормозную педаль с тормозным краном, периодически очищать их от грязи и посторонних предметов (веток, проволоки и т. д.).
Полностью нажатая педаль тормоза не должна доводить до пола на 10—30 мм. Полный ход ее должен быть в пределах 100—130 мм, а свободный 20—30 м.
В случае необходимости следует отрегулировать ход педали тормоза, изменяя с помощью регулировочном вилки длину тяги, соединяющей педаль с первым промежуточным рычагом привода.
Если по каким-либо причинам разбирался привод тормозного крана, то при сборке надо добиться совмещения нижнего отверстия промежуточного рычага с осью опрокидывания кабины. Затем, изменяя длину тяги, идущей от педали к переднему рычагу, установить педаль в требуемое положение по отношению к полу кабины.
Регулятор тормозных сил. Обслуживание регулятора тормозных сил заключается в осмотре его крепления, в проверке состояния тяги упругого элемента и рычаги регулятора, в очистке от грязи и посторонних предметов.. Если мосты задней тележки тягача снимались для ремонта или замены, то при последующем их монтаже необходимо отрегулировать длину рычага регулятора. Эту операцию должен выполнять квалифицированный специалист.
Тормозные камеры. Обслуживание тормозных камер заключается в проверке их крепления к кронштейну и герметичности. Для проверки герметичности надо нажать на педаль тормоза, наполнить камеры сжатым воздухом, покрыть мыльной эмульсией стягивающий хомут, отверстие в корпусе и место присоединения трубопровода в камере. Утечку обнаруживают по образованию мыльных пузырей. Ее устраняют подтягиванием болтов хомута. Если при подтягивании болтов утечка не устраняется, необходимо сменить диафрагму камеры. Срок службы диафрагмы тормозных камер 2 года, по истечении этого срока диафрагму надо заменить.
Цилиндры с пружинными энергоаккумуляторами. Обслуживание цилиндров с пружинными энергоаккумуляторами заключается в периодическом осмотре и очистке от грязи, а также в проверке их герметичности и работы.
Проверять герметичность этих камер следует при наличии сжатого воздуха в контурах приводов стояночного тормоза и рабочего тормоза задней тележки автомобиля. При этом необходимо выключить стояночный тормоз — цилиндры энергоаккумуляторов наполняются сжатым воздухом.
Если воздух утекает через дренажное отверстие или из-под винта устройства для механического растормаживания, то неисправно уплотнение поршня энергоаккумулятора, а если через входной штуцер диафрагменной тормозной камеры — нижнее уплотнение толкателя.
Утечку воздуха из-под фланца крепления цилиндра следует устранить подтягиванием болтовых соединений. Если этим приемом не удастся ликвидировать неисправность, то тормозные камеры следует заменить.
Для проверки герметичности диафрагменных тормозных камер следует нажать на педаль рабочего тормоза. Если воздух будет выходить через входной штуцер цилиндра энергоаккумулятора, неисправно нижнее уплотнение толкателя.
При выходе воздуха из-под хомута следует обстучать его молотком и подтянуть болты крепления хомута. Если не герметичность не устраняется, следует сменить диафрагму.
Диафрагму также следует заменить при утечке воздуха через отверстия в корпусе камеры. Срок службы диафрагмы 2 года, по истечении его диафрагму следует заменить.
Разбирать, осматривать, чистить и смазывать детали цилиндра с пружинным энергоаккумулятором должен квалифицированный механик только в условиях мастерской на специальном приспособлении с соблюдением мер безопасности.
Соединительные головки. Обслуживание соединительных головок заключается в периодическом осмотре, очистке от грязи и проверке герметичности соединения головок автомобиля и прицепа.
Проверку герметичности следует проводить при сцепке автомобиля с прицепом, последовательно в заторможенном и в расторможенном положениях.
Эксплуатация автомобилей с негерметичными соединениями тормозных магистралей запрещается.
Для устранения негерметичности в соединительных головках необходимо заменить уплотнительные кольца или соединительные головки в сборе.
При эксплуатации автомобиля без прицепа нужно соединительные головки закрыть крышками, защищающими их от попадания грязи, снега, влаги.
Проверка работоспособности пневматического тормозного привода заключается в определении выходных параметров давления воздуха по контурам с помощью контрольных манометров и штатных приборов, размещенных в кабине водителя (двухстрелочный манометр и блок контрольных ламп тормозной системы). Контрольные манометры устанавливают на клапанах контрольного вывода, имеющихся во всех контурах пневмопривода, и соединительных головках — типа «Палм» питающей (аварийной) и тормозной магистралей двухпроводного привода и типа А соединительной магистрали однопроводного привода тормозов прицепа.
Клапаны контрольного вывода смонтированы:
на клапане ограничения давления — контура привода тормозных механизмов колес передней оси;
на левом лонжероне рамы в зоне заднего моста — контура привода тормозных механизмов колес среднего и заднего мостов;
на правом лонжероне рамы в зоне заднего моста и воздушном баллоне — контура привода механизмов стояночного и запасного тормозов;
в воздушном баллоне — контура привода механизма вспомогательного тормоза и питания потребителей сжатого воздуха.
Перед проверкой работоспособности пневматического тормозного привода следует устранить утечки сжатого воздуха из пневмосистемы.
Последовательность проверки. 1. Пустив двигатель, заполнить иневматическую систему воздухом (до срабатывания регулятора давления 12). При этом давление во всех контурах тормозного привода и соединительной головке 35 (типа «Палм») питающей магистрали двухпроводного привода тормозов прицепа должно находиться в пределах 6,2—7,5 кгс/см2, а в соединительной головке 36 (типа А) однопроводного привода 4,8—5,3 кгс/см2. Сигнальные лампы блока контрольных ламп тормозной си-, стемы должны погаснуть при достижении давления в контурах 4,5—5,5 кгс/см2. Одновременно прекращает работу шумовой сигнализатор (зуммер).
2.Нажать полностью педаль привода рабочих тормозов. Давление по двухстрелочному манометру 5 в кабине водителя должно резко снизиться, но не более чем на0,5 кгс/см2. При этом давление в клапане контрольного вывода контура привода тормозных механизмов колес передней оси должно быть равно показанию верхней шкалы двухстрелочного манометра в кабине водителя. Давление в клапане контрольного вывода контура привода тормозных механизмов колес среднего и заднего мостов должно быть не менее 2,5 кгс/см2 (для незагруженного автомобиля). Поднять вверх вертикальную тягу привода регулятора 30 тормозных сил на величину прогиба подвески под нагрузкой (40 мм для автомобилей мод. 5320) Давление в тормозных камерах 27 должно быть равным показанию нижней шкалы двухстрелочного манометра, а в соединительной головке 35 тормозной магистрали двухпроводного привода 6,2 —7,5 кгс/см2; в соединительной головке 36 соединительной магистрали —упасть до 0.
3. Рукоятку привода крана стояночного тормоза установить в переднее фиксированное положение. Давление в клапане контрольного вывода контура привода механизмов стояночного и запасного тормозов должно быть равным давлению в воздушном баллоне 24 стояночного и запасного контура и находиться в пределах 6,2—7,5 кгс/см2, давление в соединительной головке 35 тормозной магистрали двухпроводного привода — равным 0, в соединительной головке 36 — от 4,8 до 5,3 кгс/см2.
4. Рукоятку привода крана стояночного тормоза 7 установить в заднее фиксированное положение. На блоке контрольных ламп тормозной системы должна гореть (в мигающем режиме) контрольная лампа стояночного тормоза. Давление в клапане контрольного вывода контура привода механизмов стояночного и запасного тормозов и в соединительной головке 36 должно упасть до О, а в соединительной головке 35 тормозной магистрали двухпроводного привода должно быть равным 6,2—7,5 кгс/см2.
5. При положении рукоятки крана стояночного тормоза в заднем фиксированном положении нажать на кнопку крана аварийного растормаживания 6. Давление в клапане контрольного вывода контура привода механизмов стояночного и запасного тормозов должно быть равным показанию двухстрелочного манометра 5 в кабине водителя. Штоки тормозных камер 26 механизмов среднего и заднего мостов должны убраться.
6.Отпустить кнопку крана аварийного растормаживания Давление в клапане контрольного вывода механизмов стояночного и запасного тормозов должно упасть до 0.
7.Нажать на кран вспомогательного тормоза 8. Штоки пневмоцилиндров управления заслонками моторного тормоза 18 и выключения подачи топлива // должны выдвинуться. Давление воздуха в тормозных камерах прицепа (полуприцепа) должно быть равным 0,6 кгс/см2.
Ремонт тормозных механизмов
При капитальном ремонте тормозного механизма заменяются новыми:
-резиновые уплотнительные кольца разжимного кулака в кронштейне; после их замены уплотнительные кромки кольца не должны иметь каких-либо повреждений;
-металлопластмассовые втулки разжимного кулака, усилие запрессовки втулок должно быть не менее 6000 Н; после замены втулки растачиваются до диаметра 38,0—38,027 мм;
-фрикционные тормозные накладки колодок тормоза.
Новые фрикционные накладки приклепываются к колодкам тормоза на специальном прессе, приспособленном для клепки тормозных накладок. Клепка накладок к колодке должна быть выполнена таким образом, чтобы зазор между накладками и колодкой в районе заклепок отсутствовал. Тормозные колодки с накладками в сборе обрабатываются (обтачиваются) под диаметр расточенного тормозного барабана на станке. Радиус колодок с фрикционными накладками должен быть 199,6—200 мм.
Технологическая карта
ТО-2 автомобиля КАМАЗ 5320.
Содержание работ: Регулировка тормозного механизма
Исполнители 1 чел.
Трудоемкость 0.5 чел. \ час.
Специальность и разряд каждого рабочего слесарь по ремонту автомобилей III разряда
| Наименование операций, переходов и приемов | Место выполнения операций | Число мест или точек обслуживания | Специальность и разряд | Оборудование и инструмент | Технические условия |
| Выключить стояночную тормозную систему | Бокс | 1 | |||
| Ослабить гайки крепления осей колодок и сблизить эксцентрики, повернув оси метками друг к другу. Метки поставлены на наружных торцах осей | Бокс | 1 | Ключ № | ||
Подайте в тормозную камеру сжатый воздух под давлением 49... 68,8 кПа (0,5... 0,7 кгс/см2) (нажать тормозную педаль при наличии воздуха в системе или использовать сжатый воздух из установки). При отсутствии сжатого воздуха вынуть палец штока тормозной камеры и, нажимая регулировочный рычаг в сторону хода штока тормозной камеры при торможении, прижать колодки к тормозному барабану. Поворачивая эксцентрики в ту и другую стороны, сцентрировать колодки относительно барабана, обеспечив плотное прилегание их к барабану. Прилегание колодок к барабану проверять щупом через окна в тормозном щитке, расположенные на расстоянии 20... 30 мм от наружных концов накладок. Щуп толщиной 0,1 мм не должен проходить вдоль всей ширины накладки. |
Бокс | 1 | |||
| Не прекращая подачи сжатого воздуха в тормозную камеру, а при отсутствии сжатого воздуха не отпуская регулировочного рычага и удерживая оси колодок от проворачивания, надежно затянуть гайки осей. | Бокс | 2 | Ключ № | ||
| Прекратить подачу сжатого воздуха, а при отсутствии сжатого воздуха отпустить регулировочный рычаг и присоединить шток тормозной камеры | Бокс | 2 | Ключ № | ||
| Повернить оси червяка регулировочного рычага так, чтобы ход штока тормозной камеры был 20... 30 мм. Убедиться, что при включении и выключении подачи воздуха штоки тормозных камер перемещаются быстро, без заеданий. | Бокс | 2 | |||
| Проверить вращение барабанов. Они должны вращаться свободно и равномерно, не касаясь колодок. После указанной регулировки между тормозным барабаном и колодками могут быть следующие зазоры: у разжимного кулака 0,4 мм, у осей колодок 0,2 мм.. | Бокс | 2 | Ключ № |
ТБ и ПБ при ТО и ремонте автомобилей
Основные понятия в области безопасности труда. Под охраной труда понимают систему законодательных актов и соответствующих им мероприятий, направленных на сохранение здоровья и работоспособности трудящихся. Система организационных и технических мероприятий и средств, предотвращающих производственный травматизм, носит название техники безопасности.
Производственная санитария предусматривает мероприятия по правильному устройству и содержанию промышленных предприятий и оборудования в санитарном отношении (надежная вентиляция, надлежащее освещение, правильное расположение оборудования и др.)
Промышленная гигиена ставит своей целью создание наиболее здоровых и благоприятных в гигиеническом отношении условий труда, предотвращающих профессиональные заболевания работающих.
Порядок проведения инструктажа. На автотранспортных предприятиях организация работ по технике безопасности и производственной санитарии возлагается на главного инженера. В цехах и на производственных участках ответственность за безопасность труда несут начальники цехов и мастера. Осуществление мероприятий по технике безопасности и производственной санитарии контролируют старший инженер (инженер) по технике безопасности и профсоюзные организации. Указания старшего инженера (инженера) по технике безопасности может отменить только руководитель предприятия или главный инженер.
Одними из основных мероприятий по обеспечению безопасности труда являются обязательный инструктаж вновь принимаемых на работу и периодический инструктаж всех работников предприятия. Инструктаж проводит главный инженер предприятия или старший инженер (инженер) по технике безопасности. Вновь принимаемых на работу знакомят с основными положениями по охране труда, правилами внутреннего распорядка, требованиями пожарной безопасности, особенностями работы предприятия, обязанностями работников по соблюдению правил безопасности труда и производственной санитарии, порядком передвижения по территории предприятия, средствами защиты работающих и способами оказания доврачебной помощи пострадавшим. Особое значение имеет инструктаж на рабочем месте с показом безопасных приемов работы.
Все работники независимо от производственного стажа и квалификации должны 1 раз в 6 мес проходить повторный инструктаж, а лица, выполняющие работы повышенной опасности (сварщики, вулканизаторщики и др.),— 1 раз в 3 мес. При повторном инструктаже подробно разбирают допущенные нарушения. Каждый инструктаж регистрируют в журнале.
ТРЕБОВАНИЯ БЕЗОПАСНОСТИ ПРИ УСТРАНЕНИИ ОТКАЗОВ И НЕИСПРАВНОСТЕЙ АВТОМОБИЛЯ НА ЛИНИИ
При обнаружении неисправностей во время работы на линии, требующих немедленного устранения, водитель обязан поставить автомобиль на обочину и тщательно осмотреть его.
К устранению неисправностей можно приступить при наличии необходимого оборудования и инструментов и если объем ремонта возможно выполнить на линии.
Нельзя допускать к выполнению ремонта автомобилей грузчиков, пассажиров и других лиц, не имеющих на это права.
Во время ремонта водитель должен строго соблюдать правила техники безопасности. Для того чтобы автомобиль оставался неподвижным, его нужно затормозить стояночным тормозом и включить первую передачу, а при работе на крутых спусках подложить под колеса автомобиля не менее двух упоров (башмаков). При подъеме автомобиля домкрат требуется устанавливать вертикально, а под его основание подкладывать деревянную доску, но ни в коем случае не камни и кирпич. При выполнении работ, связанных со снятием колес, под поднятый автомобиль надо обязательно подставить козелки.
Если водитель не в состоянии сам устранить неисправности в автомобиле, он обязан сообщить администрации автопредприятия о необходимости вызова техпомощи.
ТРЕБОВАНИЯ БЕЗОПАСНОСТИ ПРИ ТЕХНИЧЕСКОМ ОБСЛУЖИВАНИИ И РЕМОНТЕ АВТОМОБИЛЯ НА АВТОТРАНСПОРТНОМ ПРЕДПРИЯТИИ
Требования безопасности. При техническом обслуживании и ремонте автомобилей необходимо принимать меры против их самостоятельного перемещения. Запрещаются техническое обслуживание и ремонт автомобиля с работающим двигателем, за исключением случаев его регулирования.
Подъемно-транспортное оборудование должно быть в исправном состоянии и использоваться только по своему прямому назначению. К работе с этим оборудованием допускаются лица, прошедшие соответствующую подготовку и инструктаж.
Во время работы не следует оставлять инструменты на краю осмотровой канавы, на подножках, капоте или крыльях автомобиля. При сборочных работах запрещается проверять совпадение отверстий в соединяемых деталях пальцами: для этого необходимо пользоваться специальными ломиками, бородками или монтажными крючками.
Во время разборки и сборки узлов и агрегатов следует применять специальные съемники и ключи. Трудно снимаемые гайки сначала нужно смочить керосином, а затем отвернуть ключом. Отвертывать гайки зубилом и молотком не разрешается.
Запрещается загромождать проходы между рабочими местами деталями и узлами, а также скапливать большое количество деталей на местах разборки.
Повышенную опасность представляют операции снятия и установки пружин, поскольку в них накоплена значительная энергия.
Эти операции необходимо выполнять на стендах или с помощью приспособлений, обеспечивающих безопасную работу.
Гидравлические и пневматические устройства должны быть снабжены предохранительными и перепускными клапанами. Рабочий инструмент следует содержать в исправном состоянии.
Требования производственной санитарии и промышленной гигиены. Помещения, в которых рабочие, выполняя техническое обслуживание или ремонт автомобиля, должны находиться под ним, необходимо оборудовать осмотровыми канавами, эстакадами с направляющими предохранительными ребордами или подъемниками.
Приточно-вытяжная вентиляция должна обеспечивать удаление выделяемых паров и газов и приток свежего воздуха. Естественное и искусственное освещение рабочих мест должно быть достаточным для безопасного выполнения работ.
На территории предприятия необходимо наличие санитарно-бытовых помещений — гардеробных, душевых, умывальных (работающие с этилированным бензином обязательно должны быть обеспечены горячей водой).
МЕРЫ ПОЖАРНОЙ БЕЗОПАСНОСТИ НА АВТОТРАНСПОРТНЫХ ПРЕДПРИЯТИЯХ
Основными причинами возникновения пожаров на автотранспортных предприятиях являются следующие: неисправность отопительных приборов, электрооборудования и освещения, неправильная их эксплуатация; самовозгорание горюче-смазочных и обтирочных материалов при неправильном их хранении; неосторожное обращение с огнем.
Во всех производственных помещениях необходимо выполнять следующие противопожарные требования: курить только в специально отведенных для этого местах; не пользоваться открытым огнем; хранить топливо и керосин в количествах, не превышающих сменную потребность; не хранить порожнюю тару из-под топлива и смазочных материалов; проводить тщательную уборку в конце каждой смены; разлитое масло и топливо убирать с помощью песка; собирать использованные обтирочные материалы, складывать их в металлические ящики с крышками и по окончании смены выносить в специально отведенное для этого место.
Любой пожар, своевременно замеченный и не получивший значительного распространения, может быть быстро ликвидирован. Успех ликвидации пожара зависит от быстроты оповещения о его начале и введения в действие эффективных средств пожаротушения.
Для оповещения о пожаре служат телефон и пожарная сигнализация. В случае возникновения пожара необходимо немедленно сообщать об этом по телефону 01. Пожарная сигнализация бывает двух видов — электрическая и автоматическая. Приемную станцию электрической сигнализации устанавливают в помещении пожарной охраны, а извещатели — в производственных помещениях и на территории предприятия. Сигнал о пожаре подается нажатием кнопки извещателя. В автоматической пожарной сигнализации используются термостаты, которые при повышении температуры до заданного предела включают извещатели.
Эффективным и наиболее распространенным средством тушения пожаров является вода, однако в некоторых случаях использовать ее нельзя. Не поддаются тушению водой легковоспламеняющиеся жидкости, которые легче воды. Например, бензин, керосин, всплывая на поверхность воды, продолжают гореть. Ацетилен и метан вступают с водой в химическую реакцию, образуя огне- и взрывоопасные газы. При невозможности тушения водой горящую поверхность засыпают песком, накрывают специальными асбестовыми одеялами, используют пенные либо углекислотные огнетушители.
В особо опасных в пожарном отношении производствах могут использоваться стационарные автоматические установки различной конструкции, срабатывающие при заданной температуре и подающие воду, пену или специальные огне-гасительные составы.
МЕРЫ ЭЛЕКТРОБЕЗОПАСНОСТИ ПРИ ТЕХНИЧЕСКОМ ОБСЛУЖИВАНИИ И РЕМОНТЕ АВТОМОБИЛЕЙ
Опасность поражения электрическим током возникает при использовании неисправных ручных электрифицированных инструментов, при работе с неисправными рубильниками и предохранителями, при соприкосновении с воздушными и настенными электропроводками, а также случайно оказавшимися под напряжением металлическими конструкциями.
Электрифицированный инструмент (дрели, гайковерты, шлифовальные машины и др.) включают в сеть напряжением 220В. разрешается работать только инструментами, имеющими защитное заземление. Штепсельные соединения для включения инструмента должны иметь заземляющий контакт, который длиннее рабочих контактов и отличается от них по форме. При включении инструмента в сеть заземляющий контакт входит в соединение со штепсельной розеткой первым, а при выключении выходит последним.
При переходе с электрифицированным инструментом с одного места работы на другое нельзя натягивать провод. Не следует протягивать провод через проходы, проезды и места складирования деталей. Нельзя держать электрифицированный инструмент, взявшись одной рукой за провод.
Работать с электрифицированным инструментом при рабочем напряжении, превышающем 42 В, можно только в резиновых перчатках и калошах либо стоя на изолированной поверхности (резиновом коврике, сухом деревянном щитке).
Во избежание поражения электрическим током необходимо пользоваться переносными электролампами с предохранительными сетками. В помещении без повышенной опасности (сухом, с нетокопроводящими полами) можно использовать переносные лампы напряжением до 42 В, а в особо опасных помещениях (сырых, с токопроводящими полами или токопроводящей пылью) напряжение не должно превышать 12 В.
Список литературы
1. Автомобили КАМАЗ. Модели с колесной формулой 6х4 и 6х6. Руководство по эксплуатации, ремонту и техобслуживанию. М., 2004. 314 с.
2. Руководство по ремонту и техническому обслуживанию автомобилей КамАЗ. М., 2001.289 с.
3. Пергамент Л.Р. Водителю автомобиля КамАЗ. М., 1982. 160 с.
4. СТП СГУПС 01.01–2000. Курсовой и дипломный проекты. Требования к оформлению. Новосибирск, 2000. 44 с.
Похожие рефераты:
Оборудование летательных аппаратов
Тормозная система автомобиля. Устройство и работа
Основные приборы и механизмы тягового электровоза
Ремонт тормозных систем с гидравлическим приводом
Ремонт и техническое обслуживание тормозных систем легкового автомобиля
Тормозная система с пневматическим приводом
Автоматизация процесса поперечной резки электротехнической стали
Мероприятия по совершенствованию технической базы школы подготовки водителей
Определение основных параметров и компоновка оборудования автономного локомотива
Автомобили и автомобильное хозяйство
Подготовка специалистов в области конструирования и производства автотрактороной техники
Организация и технология проведения КР автобуса ПАЗ-3205
Метрологическое обеспечение ремонта дизель-генератора специализированного серийного тепловоза ТЭП70