| Похожие рефераты | Скачать .docx |
Курсовая работа: Разработка и проектирование тормозной рычажной передачи 4-х осевого крытого вагона на тележках модели 18-100
Министерство путей сообщения Российской Федерации
Московский государственный университет путей сообщения (МИИТ)
Институт транспортной техники и организации производства
Кафедра «Вагоны и вагонное хозяйство»
Пояснительная записка
к курсовой работе
по дисциплине «Автоматические тормоза и безопасность движения»
Разработка и проектирование тормозной рычажной передачи 4-х осевого крытого вагона на тележках модели 18-100
Выполнил ст. гр. ТВГ-411
Бородин Е. В.
Проверил преподаватель
Юдин В. А.
Москва 2005
Содержание
Введение
1.Выбор тормозной системы подвижного состава
1.1. Определение потребной тормозной силы по заданной длине тормозного пути.
1.2 Расчет допускаемой тормозной силы из условия безъюзного торможения подвижного состава
2. Расчет пневматической части тормозной системы вагона
2.1. Выбор принципиальной схемы пневматической части тормозной системы вагона
2.2.Выбор типа воздухораспределителя
2.3. Требования к воздухораспределителям грузового подвижного состава
2.4. Определение диаметра тормозного цилиндра
2.5 Выбор передаточного числа РП тормоза
2.6 Выбор объема запасного резервуара
3 Расчет и проектирование механической части тормозной системы вагона
3.1 Выбор принципиальной схемы механической части тормозной системы вагона.15
3.2 Качественные характеристики механической части тормозной системы вагона..16
3.3 Определение передаточного числа рычажной передачи по заданной величине нажатии тормозных колодок
3.4 Вывод формулы геометрического передаточного числа рычажной передачи тормоза
3.5 Определение плеч рычагов и длин тяг рычажной передачи
3.6 Выбор сечений элементов рычажной передачи тормоза вагона
3.7 Расчет на прочность по допускаемым напряжениям затяжки горизонтальныхх рычагов
3.8.Вычисление величины деформации элементов рычажной передачи при торможение вагона
3.9 определение величины выхода штока тормозного цилиндра при торможении вагона
3.10.Приращение хода поршня Т. Ц. от сжатия возвратной пружины регулятора
4. Проверка обеспеченности вагона тормозными средствами
4.1 Определение расчетного коэффициента трения и расчетного тормозногонажатия колодок
4.2.Определение расчётного коэффициента нажатия тормозных колодок для различной степени загрузки крытого вагона
4.3. Проверка максимальной силы нажатия тормозных колодок на отсутствие юза колёсных пар
5. Обоснование эффективности разработанной и спроектированной тормозной системы вагона
5.1. Вычисление полного тормозного пути на участке с заданным руководящим уклоном и начальной скоростью торможения
5.2. Определение величины замедления и времени полного торможения
5.3. Расчёт температуры нагрева элементов трущихся пар
6. Определение технического содержания и приемка тормозного оборудования вагона
Введение
Целью курсового проекта является разработка и проектирование тормозной рычажной передачи 4-х осевого крытого вагона на тележках модели 18-100.
Крытый вагон служит для перевозки груза, требующего защиты от воздействия атмосферных явлений и сыпучих грузов. В военное время крытый вагон используется для военных перевозок личного состава.
Автотормозная техника представляет собой достаточно сложный комплекс устройств, создающих искусственно регулируемое сопротивление движению поезда при регулировании его скорости или остановки.
Автоматические тормоза железнодорожного подвижного состава являются одним из основных средств, обеспечивающих безопасность движения поездов и оказывающих непосредственное влияние на повышение пропускной и провозной способности железных дорог.
Все грузовые магистральные вагоны оборудованы воздухораспределителями № 483. На всех грузовых вагонах обычно использованы авторежимы № 265А, установленные сбоку хребтовой балки над тележкой. Под вагоном также расположены магистральная труба диаметром
, концевые краны с междувагонными соединительными рукавами № 369А и пылеловка.
Автоматические тормоза подвижного состава железных дорог России отвечают современным требованием и по техническому уровню имеют ряд преимуществ перед конструкциями зарубежных аналогов. Наиболее широко применяется пневматический колодочный тормоз, которым оборудуются как грузовые, так и пассажирские вагоны.
1.Выбор тормозной системы подвижного состава
1.1. Определение потребной тормозной силы по заданной длине тормозного пути
Исходные данные:
- максимальная скорость движения поезда V = 80 км/ч;
- величина уклона 0,003;
- масса крытого вагона брутто 91 т;
- расчетное значение тормозного пути при ЭТ грузового поезда Sт = 1200м;
Среднее значение основного удельного сопротивления движению крытого вагона:
;
где:
- скорость движения подвижного состава, км/ч;
- эмпирические коэффициенты, зависящие от типа подвижного состава и конструкции буксового узла колесных пар. Для крытого вагона с буксами на роликовых подшипниках соответственно равны:
![]()
где:
- масса вагона, приходящаяся на одну ось, т;
Т
;
![]()
![]()
Удельное ускоряющее усилие на грузовой поезд от уклона пути: ic = 10*i.
где: i – уклон пути, принимают на подъеме со знаком <<+>>, а на спуске со знаком << - >>;
![]()
1.1.1 Среднее значение удельной тормозной силы по расчетной длине пути:
![]()
где:
- время подготовки тормоза к действию при торможении поезда на равнинном участке пути, с. Для грузового поезда с пневматическим тормозом
= 7с;
-составляющая времени подготовки тормоза к действию при торможении поезда на уклоне,с. Для грузового поезда с пневматическим тормозом
=10с;
- замедление поезда под действием замедляющей силы 1Н/т, принимаемое с учетом инерции вращающихся масс равным 12 грузовых и пассажирских поездов, км/ч2
;
![]()

1.1.2 Среднее значение удельной тормозной силы по величине замедления поезда:
по расчетному замедлению
= 1,3 м/с2
![]()
по наибольшему допускаемому замедлению
= 2 м/с2
![]()
1.1.3.Проверка потребной тормозной силы по допустимой величине замедления
![]()
где: Sд - величина действительного тмозного пути.
![]()
![]()
![]()
Полученная тормозная сила обеспечивает замедление поезда в допустимых пределах и обеспечивает сохранность перевозимого груза.
1.2 Расчет допускаемой тормозной силы из условия безъюзного торможения подвижного состава
Для тормозов, основанных на использовании сцепления колес с рельсами, реализуемая тормозная сила не должна превышать силу сцепления, так как возможно заклинивание колесных пар. Кроме того, при юзе возрастает тормозной путь.

Рис.1.1. Силы, действующие на колесо при торможение подвижного состава.
Условие безъюзного торможения колесной пары:
![]()
где: ВТ - реализуемая тормозная сила колесной пары, Н;
Вс - предельное значение силы сцепления рельса с колесом или допускаемая тормозная сила по сцеплению, Н; Вс =[вт ];
y - коэффициент сцепления колеса и рельса,
q - статическая осевая нагрузка единицы подвижного состава, Н;
Кс - расчетный коэффициент запаса по сцеплению.
Определим среднюю допускаемую удельную тормозную силу по сцеплению для крытого вагона.
Вес брутто 91 т., конструкционная скорость – 100 км/ч.
Расчетный коэффициент сцепления:
![]()
Допускаемая тормозная сила:
![]()
Значения
определяем из графика функции скорости.
Результаты расчетов
и
соответствующие скоростям движения крытого вагона от 100 км/ч до полной остановки, сведем в таблицу № 1 .
На основании полученных данных строем графическую зависимость удельной тормозной силы от скорости движения
Расчетные значения
и
для крытого вагона
| V , км/ч | |||
| 80 | 0,57 | 0.0817 | 694.5 |
| 60 | 0,60 | 0.0860 | 731 |
| 40 | 0,64 | 0.0917 | 779.5 |
| 20 | 0,73 | 0.1046 | 890 |
| 0 | 1 | 0.1433 | 1218 |
График зависимости допускаемой удельной тормозной силы от скорости движения вагона.

Скорость движения V-км/ч.
Определим среднее значение допускаемой удельной тормозной силы:
![]()
![]()
Вывод
1) Потребная тормозная сила (втс = 274 Н/т) меньше допускаемой по сцеплению ([втс ] = 839.2 Н/т). В этом случае параметры тормозной системы следует выбирать из допускаемой тормозной силы. Целесообразно использование колодочного тормоза с пневматическим управлением.
2) При втс =274 Н/т и замедление аm =0,24 м/с2 соблюдается необходимая
безопасность движения 4-х осной цистерны в составе поезда и обеспечиваются условия сохранности груза.
2. Расчет пневматической части тормозной системы вагона
2.1. Выбор принципиальной схемы пневматической части тормозной системы вагона
Пневматическая часть тормоза существующих крытых вагонов спроектирована на основе использования непрямодействующего автоматического тормоза.

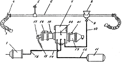
Рис.2.1 Схема пневматического тормозного оборудования крытого вагона.
На новых грузовых вагонах устанавливается только ВР №483. Его двухкамерный резервуар 6 укреплен на раме вагона и отводами 9 и 11 соответственно соединен с М 5 и ЗР 10. Причем отвод 9 непосредственно ввинчен в разобщительный кран 8, который сам установлен в тройнике кронштейне 7. Последнее позволяет в случае излома отвода отключить не только ВР, но и неисправный отвод.
Разобщительный кран 8 № 372 снабжен отверстием диаметром 4 мм, через которое при выключении тормоза магистральная камера ВР сообщается с атмосферой (Ат), тем самым, предупреждая самоторможение выключенного ВР в случае пропуска воздуха через пробку закрытого разобщительного крана. По горцам магистральный воздухопровод 5 оборудован концевыми кранами 3 и соединительными рукавами 2.
Концевой кран 3 № 190 имеет контрольное отверстие диаметром 6 мм, посредством которого при закрытии крана полость соединительного рукава 2 сообщается с Ат, что позволяет затем безопасно разъединять рукава.
Кран экстренного торможения (ЭТ) 4 со снятой ручкой устанавливается только на вагонах с тормозной площадкой. Для отпуска тормоза вагона вручную служит выпускной клапан 15 № 31, который непосредственно размещен на крыше главной части 16 ВР. На рукоятке этого клапана закреплен проволочный поводок 14, выведенный к боковой стороне вагона.
Сверху на корпусе главной части 16 ВР находится обратный клапан 17, наделяющий тормоз свойством неистощимости. Также сверху, но на корпусе магистральной части 12 ВР располагается клапан мягкости 19.
2.2.Выбор типа воздухораспределителя
ВР выполняет важнейшие функции автотормоза и поэтому является одним из наиболее ответственных приборов тормозного оборудования вагона. Наряду с основными операциями, изложенными выше, ВР должен выполнять такие вспомогательные операции, как дополнительную разрядку М, образование скачка начального давления в ТЦ, изменение грузового режима торможения.
2.3. Требования к воздухораспределителям грузового подвижного состава
ВР грузового тормоза должен обеспечивать достаточно легкий бесступенчатый отпуск при следовании поезда по участкам пути с уклоном до 18 о /оо и ступенчатый отпуск для следования поезда по затяжным крутым спускам с уклонами более 18 о /оо .
Он должен обладать свойством мягкости, т. е. не срабатывать на торможение при снижение давления в М темпом 0,02-0,03 МПа в минуту.
Для обеспечения плавности торможения скорость тормозной волны при ЭТ должна достигаться наибольшей и не менее 250 м/с.
Максимальное давление в ТЦ должно обеспечиваться при снижении зарядного давления в М 0,13 – 0,15 МПа. При этом время наполнения воздухом ТЦ до 90% максимальной величины давления должно составлять 20-25 с. Реализация максимального давления воздуха в ТЦ должна быть в пределах 0,39-0,45 МПа для груженого режима ВР; 0,28-0,32 МПа для среднего и 0,14-0,18 МПа для порожнего. ВР должен обеспечивать пополнение возможных утечек воздуха из ТЦ.
2.4. Определение диаметра тормозного цилиндра
Необходимый диаметр ТЦ можно получить из выражения:
или
,
где: dТЦ – диаметр ТЦ, мм;
РШТ - усилие по штоку ТЦ, Н;
РПР - усилие отпускной пружины ТЦ. Н;
РР - усилие возвратной пружины авторегулятора рычажной передачи, приведенное к штоку ТЦ, Н;
РТЦ – расчетное давление воздуха в ТЦ, МПа;
hТЦ - коэффициент потерь усилия (КПД) ТЦ, hТЦ = 0,98
Усилие отпускной пружины ТЦ:
,
где: Ро - усилие предварительного сжатия отпускной пружины ГЦ, Н;
Жц - жесткость отпускной пружины ТЦ, Н/мм;
LШ - величина выхода штока ТЦ, мм.
Для крытых вагонов максимально допустимый в эксплуатации LШ =175 мм.
При определении диаметра ТЦ целесообразно величины выхода штока принимать как максимально допускаемую, в эксплуатации при полном торможении.
Для подвижного состава промышленностью выпускаются ТЦ, в которых жесткость отпускной пружины составляет 6.29 - 8.7 Н/мм и усилие предварительного сжатия – 1260 - 1540 Н. При этом на магистральных вагонах, имеющих колодочный тормоз, устанавливаются, как правило, ТЦ с жесткостью отпускной пружины 6,29Н/мм и усилием их предварительного сжатия 1540 Н. Исходя из этого получим для крытого вагона:
![]()
Усилие возвратной пружины авторегулятора рычажной передачи (АРП), приведенное к штоку ТЦ:
,
где: РОР – усилие предварительного сжатия пружины АРП, Н;
lР - величина сжатия возвратной пружины АРП, мм;
ЖР - жесткость возвратной пружины АРП, Н/мм;
nР – передаточное число привода АРП. Для крытых вагонов с чугунными колодками nР =0,67.
Отечественные вагоны с колодочным тормозом оснащаются в настоящее время АРП № 574Б, имеющие следующие технические данные:
РОР = 1690 Н, ЖР = 23,1 Н/мм, lр =15 мм.
Для крытых вагонов значение давление в ТЦ, принимается равным:
РТЦ = 0,4 МПа на груженом и РТЦ = 0,28 МПа на среднем режиме ВР.
Величину РШТ можно найти из ее зависимости от нажатия тормозных колодок и передаточного числа рычажной передачи:
,
где: SК - суммарное нажатие тормозных колодок, обслуживаемых ТЦ;
n - передаточное число РП;
hРП - КПД РП. Согласно типовому расчету тормоза hПР принимают для крытого вагона равным - 0,95.
Допускаемая сила нажатия колонки:
,
где: kс - коэффициент, учитывающий возможность разгрузки колесной пары при торможении;
q - нагрузка от оси колесной пары на рельс;
ψc - расчетный коэффициент сцепления колеса с рельсом;
m - число тормозных колодок колесной пары;
φk - коэффициент трения тормозной колодки.
,
где: V – скорость, км/ч;
К - значение нажатия на колодку, кН.
При построении графической зависимости Вт = f(K) произвольно задают значения К по которым с учетом выбраннойскорости V, вычисляют соответствующие значениями φk и ВТ . Затем определяют по условию сцепления колес с рельсами возможную для реализации тормозную силу [BT ]=kc *q*ψk и по ее значению из графика находят необходимую величину Кn из которых выбирают минимальную величину, исключающею возможность юза колесных пар во всем диапазоне скоростей движения вагона.
Для окончательного выбора допускаемой силы нажатия колодок делают проверку тепловой напряженности фрикционного учла колесо-кололка. так как износ трущихся материалов определяется главным образом работой сил трения. Ее выполняют косвенно по допускаемым удельным давлениям на колодки. Поэтому определяют силу нажатия Кυ (кН) тормозных колодок по допускаемому удельному давлению на колодку.
,
где: [P] – допускаемое удельное давление, МПа;
Fтр - площадь трения колодки, см2 .
Для чугунных тормозных колодок [Р] =1,3 МПа, Fтр = 305 см2 .
Для уточнения и окончательной корректировки величины силы нажатия колодок сравнивают полученные значения Кn и Кν .
Если Кп >Кv , то в качестве допускаемой силы нажатия тормозных колодок принимают К = Кν . При Кn < Кν принимают К = Кn
1. Расчетные скорости движения крытого вагона для которых построим график BT =f(К ) V = 20; 60; 100 км/ч
2. Коэффициент трения композиционных колодок
,
и тормозную силу[BТ ] = m*K* φk =2К*φk . При этом число тормозных колодок колесной пары крытого вагона m=2 результаты сведены в таблице 2.1.
3. Осевая нагрузка
![]()
4. Коэффициент сцепления колес с рельсами
![]()
Таблица 2.1.
| К, кН | φk при V- км/ч | Вт – кН при V- км/ч | ||||
| 20 | 60 | 100 | 20 | 60 | 100 | |
| 10 | 0,232 | 0,154 | 0,127 | 4,64 | 3,08 | 2,54 |
| 20 | 0,182 | 0,121 | 0,1 | 7,28 | 4,84 | 4 |
| 30 | 0,156 | 0,104 | 0,086 | 9,36 | 6,24 | 5,16 |
| 40 | 0,140 | 0,093 | 0,077 | 11,20 | 7,44 | 6,16 |
| 50 | 0,129 | 0,086 | 0,071 | 12,90 | 8,60 | 7,10 |
| 60 | 0,121 | 0,081 | 0,067 | 14,52 | 9,72 | 8,04 |
| 70 | 0,115 | 0,077 | 0,063 | 16,1 | 10,5 | 8,82 |
| 80 | 0,111 | 0,073 | 0,061 | 17,76 | 11,68 | 9,76 |
| 90 | 0,107 | 0,071 | 0,058 | 19,26 | 12,8 | 10,44 |
| 100 | 0,104 | 0,069 | 0,057 | 20,8 | 13,8 | 11,4 |
| 110 | 0,101 | 0,067 | 0,055 | 22,2 | 14,7 | 12,1 |
| 120 | - | 0,066 | 0,054 | - | 15,8 | 13,0 |
| 130 | - | 0,065 | 0,053 | - | 16,9 | 13,8 |
| 140 | - | - | 0,052 | - | - | 14,6 |
| 150 | - | - | 0,052 | - | - | 15,5 |
Функцию скорости найдем по формуле:
Таблица 2.2.
| V- км/ч | f(V) | Ψk |
| 20 | 0,73 | 0,105 |
| 60 | 0,6 | 0,087 |
| 100 | 0,55 | 0,079 |
5. Сила сцепления колес с рельсами [Вс ]=kc *q*ψk ;
коэффициент запаса по сцеплению kc =0,85
Таблица 2.3
| V-км/ч | 20 | 60 | 100 |
| Вс - кН | 20,7 | 17 | 15,6 |
6. Графическая зависимость ВТ = f (K) представлена на рис. 2.3

7. Сила нажатия на тормозную колодку: К1 =100,5 кН; K2 =135 кН; К3 =145 кН.
8. Сила нажатия на тормозную колодку:
Ку = 0,1 • [P]- FТР ; Ky = 0,1 • 1,3 • 305 = 39,65 кН
Принимаем Kу = Km in = 39,65 кН .
9. Допускаемая сила нажатия на колодку;
Поскольку Ку < К п , то K = Kу = 39,65 кН.
2.5 Выбор передаточного числа РП тормоза
Необходимое усилие по штоку ТЦ и передаточное число РП можно определить методом подбора, как двух взаимосвязанных величин, учитывая следующие соображения.
При сравнительно большом п можно применить компактный ТЦ с малым диаметром и тормозное оборудование меньшего веса. Однако в таких случаях получаются худшие условия для отвода колодок после торможения и затрудняется регулировка РП по мере износа тормозных колодок.
Кроме того, принятое передаточное число РП определяет соотношение между возможным перемещением колодки пси торможении (зазоры между колесом и колодкой в отпущенном состоянии тормоза) и величиной хода поршня ТЦ.
Так как зазор между колодками и колесом должен быть в пределах 5-8 мм, а по конструктивным соображениям рабочий ход поршня также может изменяться в ограниченном диапазоне 40-180 мм, то и передаточное число, РП ограничивается данными условиями. С учетом изложенного в железнодорожной практике обычно передаточные числа РП тормоза принимает n = 6 - 12.
Для уточенного выбора n целесообразно применение другого метода, предложенного Иноземцевым В.Г., учитывающим условия непрерывного торможения вагонов на крутом затяжном спуске, когда длительно не производится полный отпуск автотормозов и поэтому АРП не стягивает РП.
В таком режиме торможения общий расчетный объемный износ чугунных тормозных колодок, действующих на одно колесо, с учетом технологическах факторов может достигать 250 см3 .
С учетом выхода штока ТЦ lупр , от упругих деформаций РП и хода поршня от износа тормозных колодок общий выход штока не должен превышать максимально возможной величины Lmax .
Из этого условия:
,
где: mk – число колодок действующее на колесо;
Δc – нормальный средний зазор между колодкой и колесом, Δс =0,5-0,8 см
Для крытых вагонов, оборудованных чугунными тормозными колодками и имеющих один ТЦ, рекомендуют принимать: Lmax = 18см; lупр =6см.

В качестве исходных данных используем результаты расчетов полученных ранее
допустимое нажатие на чугунные колодки К = 39,65 кН. Передаточное число РП n = 9,09.
Далее определим dТЦ , по вышеперечисленной методике.
1. 
2.Усилие отпускной пружины ТЦ:
![]()
3.Усилие возвратной пружины АРП № 574 Б, приведенное к штоку ТЦ:
![]()
![]()
4.Диаметр ТЦ: ![]()
Принимаем стандартный ближайший размер dТЦ = 356 мм
5. Выбор типа TЦ:
Для пневматической части автотормоза рефрижераторного вагона принимаем ТЦ усл. № 188 Б.
2.6 Выбор объема запасного резервуара
При проектировании тормозного оборудования объем ЗР выбирают в соответствии с принятым диаметром ТЦ, из расчета обеспечения при ПСТ и ЭТ давления в ТЦ не менее 0,38 MПa, при максимальном выходе штока поршня 200 мм. Таковы требования МПС. Исходя из закона Бойля-Мариота, рассматривая состояние пневматической части автотормоза вагона в отпущенном и тормозном состоянии. При этом во внимание принимаются рабочие объекты автотормоза и величины давления воздуха в них.

Рис. 2.3 Схема взаимодействия элементов пневматической части тормоза вагона при отпуске

Рис. 2.4 Схема взаимодействия элементов пневматической части тормоза вагона при торможении
В отпущенном состоянии тормоза объем ЗР-Vзр наполнен сжатым воздухом из М до зарядного давления Рз, а объём ТЦ VТО сообщен с Ат, таким образом давление в объеме VТО устанавливается Ра.(Рис. 2.3)
В заторможенном состоянии ТЦ сообщается с ЗР, а канал Ат перекрыт золотником 2, связанным с поршнем чувствительного элемента 1. Поэтому происходит перемещение поршня на величину выхода штока 3, что вызывает увеличение объема ТЦ до VТЦ .
В соответствие с законом Бойля-Мариота:
,
где:РЗ - зарядное давление воздуха, МПа в аб. ед.;
РА - давление воздуха в ЗР после ПСТ или ЭТ, МПа в аб. ед.;
РТЦ - давление воздуха в ТЦ, МПа в аб. ед.;
m1 - число ТЦ, подключенных к ЗР;
VЗР - объем ЗР, м3;
VЦО - объем ТЦ при отпуске и зарядке тормоза, л/3; VЦО = 0,0022 м3 ;
VТЦ – объем ТЦ при торможение, м3 ;
![]()
Отсюда объем ЗР будет равен:
![]()
Принимаем ближайший стандартный ЗР VЗР = 0,078 м3 (78 л)
Тип резервуара Р7-78.
3 Расчет и проектирование механической части тормозной системы вагона
3.1 Выбор принципиальной схемы механической части тормозной системы вагона
Выбор схемы тормозной рычажной передачи (ТРП) определяется типом подвижного состава и конструкцией ходовых частей. При этом ТРП конструируют с учетом реализации требуемого нажатия тормозных колодок и допускаемого удельного давления колодок на колесо
Все основные типы грузовых, рефрижераторных и пассажирских вагонов оборудованы симметричной ТРП, состоящей из двух кинематических цепей, головной и тыловой, размещенных снизу на раме кузова и тележках вагона. Эти кинематические цени передачи тормоза подключены к ТЦ, расположены на раме кузова и средней части вагона. Объединяющим их элементом является затяжка горизонтальных рычагов ТЦ.
3.2 Качественные характеристики механической части тормозной системы вагона
Несмотря на специфические особенности, каждая механическая часть тормозной системы обладает определенными качественными признаками, к которым относятся:

Рис. 3.1 Схема рычажной передачи тормоза крытого вагона:
1-тормозной цилиндр; 2-шток ТЦ; 3,4-головной и тыловой горизонтальные рычаги; 5-затяжка горизонтальных рычагов; 6,7-тяга; 8,9-вертикальные рычаги; 10-затяжка вертикальных рычагов; 11-серьга;
Передаточное число выбирают в пределах 6-12 с учетом возможности обеспечения нормативных зазоров 5-10 мм между колодкой и колесом в отпущенном состоянии тормоза и обычно допускаемых величинах выхода штока поршня ТЦ 0,075-0,1 5 м.
Отношение суммы фактических сил нажатия ΣКД тормозных колонок к расчетному нажатию без учета потерь ΣКТ , называется КПД рычажной передачи.

Величина выхода штока ТЦ является функцией многих параметров:
LШТ =f (Δ3 , ΔТК , ΔP , ΔY , n),
где: ΔТК - суммарное число тормозных колодок;
ΔУ - упругие деформации элементов ТРП;
п - передаточное число ТРП;
ΔЗ - зазор между колесом и колодкой
Для крытых вагонов с композиционными колодками LШТ = 0,1м,
с чугунными LШТ =0,125м.
3.3 Определение передаточного числа рычажной передачи по заданной величине нажатии тормозных колодок
Имея выбранный диаметр ТЦ dможно при проектировании ТРП определить ориентировочную величину ее передаточного числа n. Это необходимо выполнить для последующего расчета размеров элементов ТРП.
,
где ΣКn - суммарное проектное нажатие тормозных колодок, подключенных к ТЦ;
ηРП - КПД ТРП, в типовых расчетах тормоза рекомендуется принимать ηРП , для передачи с одним TЦ крытого вагона равным 0.95.
Усилие на штоке ТЦ определяют по зависимости:
![]()
где: РШТ - усилие по штоку ТЦ, Н;
РТЦ - расчетное давление воздуха в ТЦ,
для крытых вагонов с композиционными колодками РТЦ =0,3МПа;
с чугунными РТЦ = 0,4МПа.
ηТЦ - КПД ТЦ; ηТЦ =0,92
Рпр - усилие отпускной пружины ТЦ, Н;
Рр - усилие возвратной пружины;
dТЦ - диаметр TЦ. мм:
Усилие отпускной пружины ТЦ:
Рпр =Ро +ЖЦ *LШ ,где:
Ро - усилие предварительного сжатия отпускной пружины ТЦ, Н;
Р0 = 159 кгс;
ЖЦ - жесткость отпускной пружины ТЦ, ЖЦ = 6,57 кгс/см;
LШ - величина выхода штока TЦ, мм.
Для чугунных колодок LШ = 12,5см, для композиционных LШ =10см.
Рпр(комп) =1590+6,57*100=2247 Н.
Рпр(чуг) = 1590 + 6,57*125 = 2411,3 Н
Усилие возвратной пружины авторегулятора РП, приведённое к штоку ТЦ:
![]()
где: РОР - усилие предварительного сжатия возвратной пружины
РОР - 1690 Н;
1р - величина сжатия возвратной пружины 1р = 15 мм;
nр - передаточное число, для чугунных колодок и для композиционных nр =0,65.
ЖЦ - жесткость возвратной пружины ТЦ, ЖЦ = 23,1 кгс/см
![]()
для композиционных колодок на среднем режиме ВР (Кд=15кН):

для чугунных колодок на груженном режиме ВР(Кд=38кН):

3.4 Вывод формулы геометрического передаточного числа рычажной передачи тормоза
Согласно схеме ТРП, представленной на рис. 3.1, сила РШТ поршня, действующая по направлению штока 2, передается через горизонтальный рычаг 3 на тягу 6, с выигрышем силы пропорционально отношению плеч этого рычага а: 6.
Р1 *б = РШТ *а; Р1 = РШТ *(а/б):
Полученная на тяге сила Р1 на крытом вагоне, при помощи вертикального рычага 8 передается на ближний к ТЦ триангель с новым изменением силы пропорционально отношению (в+г)/г этого рычага.
![]()
![]()
где P1 – усилие, с которым тяга 6 воздействует на вертикальный рычаг 8 тележки;
а и б – плечи горизонтальных рычагов ТЦ;
P2 – усилие от вертикального рычага тележки на триангель;
в и г – плечи вертикальных рычагов тележки.
Направление силы P2 образует угол a с направлением нормального давления колодки.
Силы нажатия на тормозной колодки триангеля находим из выражения:
2*Кт =Р2
*cosa
Кт = 0,5* Р2 *cosa =0,5 *Pшт *(а/б)*[(в+г)/г]*cosa ,
где a =10° - угол наклона колодки.
ТРП подвижного состава конструируются с одинаковой силой нажатия колодок на все к.п.
В данной схеме это достигается подбором плеч рычагов 3,4 и 8,9 и шарнирным соединением их затяжками 5 и 10. Поэтому, чтобы найти суммарную силу нажатия на колодки вагона достаточно полученное выражение умножить на число колодок, тогда:
Имея в виду формулу
Можем записать:
сокращая получим:
3.5 Определение плеч рычагов и длин тяг рычажной передачи
Размеры плеч рычагов определяют из условий их размещения в ТРП на вагоне и реализации требуемого передаточного числа п... Длина тяг выбирается с учетом места расположения на раме вагона ТЦ и подключаемых к нему ТРП тележек.
3.5.1 Выбор длин плеч вертикальных рычагов тележки

Рис.3.2 Вертикальный рычаг тележки.
Расчетная схема установки вертикального рычага тележки вагона (рис.3.2). Из рисунка видно, что суммарная длина плеч рычага:
в + г = Н - (hв + hн )
где: hв - расстояние от центра верхней проушины до рамы кузова, исключающее взаимодействия конуса рычага с рамой вагона;
hн - расстояние, исключающее возможность в процессе эксплуатации вагона, выхода конуса рычага за габарит подвижного состава;
Н – расстояние от уровня головки рельса до нижней плоскости кузова в месте расположения вертикального рычага.
Для рычага, подвешенного к необрессоренной массе тележки (грузовой вагон), учитывают понижения рамы кузова вследствие:
Δп-износа пятника и подпятника;
¦ст – величина равномерного статического прогиба;
¦о – статическая осадка рессор и понижение рамы тележки, ¦о =10 мм [4,табл.5.2.]
Dк – износ колёсной пары по кругу катания, Dк =53 мм;
Dб – износ буксы и боковины в месте взаимного опирания, Dб =2 мм;
Dш – максимальный износ шарнирных соединений подвески рычага, Dш =9мм;
hг – допускаемая высота от головки рельса до габаритного очертания ходовых частей вагона; hг =70 мм;
Dз – страховой зазор, Dз =30 мм;
¦д – динамический пробег;
Rв и Rн – радиусы верхней и нижней проушин;
Поэтому:
![]()
![]()
где Рр - расчётная нагрузка на вагон, кН;
lт – гибкость рессорного подвешивания тележки, lт =0,125 мм/кН [табл. 5.4.].
¦ст =0,5*930*0,125=58,1 мм;
¦д =Кдв *¦ст =0,55*58,1=31,96 мм.
где Кдв - коэффициент динамической добавки вертикальных сил, Кдв =0,55¸0,65.
hв = 5+58,1+31,96+10+40+30=175 мм
hн = 70+53+2+9+40+30=204 мм.
;
Из этого выражения находим искомые плечи в и г, где А=2,5; Н=930мм.
в+г=930-(175+204)=551 мм
![]()
Из решения системы уравнений получаем:
в=400,7 мм; г=160,3 мм;
На основе опыта вагоностроения и эксплуатации принимаем:
в=400 мм; г=160 мм;
3.5.2 Определение длин плеч горизонтальных рычагов ТЦ
Длина горизонтального рычага по центрам проушин определяется по конструктивным соображениям из условия размещения ТЦ на раме вагона,
а также по накопленному опыту проектирования ТРП и испытанию тормозных систем МПС рекомендует к применению на крытых вагонах рычага ТЦ стандартных размеров 660 мм; т. е. а + б = l = 660мм.

Рис. 3.2 Схема размещения горизонтальных рычагов на раме
1 – ТЦ;
2 – затяжка горизонтальных рычагов;
3 – горизонтальный рычаг;
4 – тяга;
5 – рама вагона.
Длина горизонтального рычага по центрам проушин: l=а+б;
Длины плеч а и б рычага ТЦ можно определить, используя для этого формулу геометрического передаточного числа РП При этом принимают, что передаточное число nг должно быть одинаковым с величиной nк , полученный в п.3.2. по заданному нажатию тормозных колодок, т.е. nг = nк .т.о., получаем систему из 2-х уравнений:
![]()
Для чугунных колодок:
а + б = 660
9,7= 4* а/б*(400+160)/160*cos 10°
Из решения системы получаем:
а=270 мм; б=390 мм (фактич.размер а=260;б=400);
Тогда фактическое передаточное число:
nг (ч) = 4* 270/390*(400+160)/160*cos 10°=9,5;
Для композиционных колодок:
а+б = 660
5,3 = 4* а/б*(400+160)/160*cos 10°
Из решения системы получаем:
а=185 мм; б=475 мм (фактич.размер а=195; б=465);
Тогда фактическое передаточное число:
nг (к) = 4* 185/475*(400+160)/160*cos 10°=5,4;
3.5.3 Определение длинны тяг и затяжек рычагов
Длину головной lг и тыловой /т тяг, соединяющих на грузовых вагонах рычаги ТЦ с рычагами тележки, определяют исходя из координат их шарнирных соединений.
В симметричной ТРП грузового вагона, на котором ТЦ установлен в средней части на раме кузова, длину тяг можно определить из выражений

где 2L - база вагона;
lп- расстояние от центра шкворня тележки до шарнирного соединения тяги с рычагом тележки;
- расстояние от центра кузова вагона соответственно до шарнирного соединения рычага со штоком ТЦ или с кронштейном "мертвой точки"
ly; lx - расстояние от шарнирных соединений штока ТЦ и кронштейна "мертвой точки" соответственно до головной или тыловой тяг;
lур -максимальная длина установки регулятора ТРП.
Координатой шарнирного соединения тяги с рычагом тележки (см.рис.5.3) является 1п - расстояние до центра шкворня тележки, которое определяется с учетом среднего диаметра колес в тележке и толщины колодок. Из инструкции и пособия по обслуживанию и ремонту тормозов [6,8] при среднем диаметре колес 964-950мм и прижатых полномерных колодках установочный размер ТРП в тележке lп = 350-450мм.
Известны и координаты шарнирных соединений тягового стержня АРП, являющегося продолжением головной тяги, и тыловой тяги вагона с рычагами ТЦ. Это расстояние /у и /х (рис. 3.4) от этих шарниров до установки ТЦ на раме кузова. Для грузовых вагонов с АРП принимают lу =50-90мм и lх =200-260мм.
Расстояние от середины кузова вагона до отверстия на штоке ТЦ для шарнирного соединения lц1 =510мм и до отверстия в кронштейне "мертвой точки" lц2 =330мм. Таким образом длина установки ТЦ №188Б составляет lц1 +-lц2 = 840мм.
Максимальная длина lyp установки* АРП №574Б достигает 2252 мм и РТРП-675 2377мм.
Длину затяжки рычагов ТЦ можно определить из выражения:
![]()
Длину затяжки lзр вертикальных рычагов в тележке грузового вагона выбирают в зависимости от среднего диаметра колоес тележки при полномерных тормозных колодках. При полномерных колесах в тележке Дср =964мм длина составляет 950мм, а при среднем диаметре колес менее 865мм lз должна достигать 1110мм, длина серьги 127-227мм.

Рис. 3.3 Схема установочных размеров рычажной передачи крытого вагона
Рис. 3.4 Схема установочных размеров тормозного цилиндра и его рычагов
3.6 Выбор сечений элементов рычажной передачи тормоза вагона
3.6.1 Определение усилий, действующих на элементы рычажной передачи
Искомые усилия, действующие в местах всех шарнирных соединений определяются из условия равновесия рычагов ТРП в тормозном положении, рассматривая последовательно передачу усилий со штока ТЦ на тормозные колодки. Из условия равновесия рычагов тормоза вагона следует:


Тогда на шток ТЦ крытого вагона усилия составляют:

Определим усилие при чугунных колодках:

определим усилие при композиционных колодках:


3.6.2. Расчет на прочность рычага Т.Ц.
Расчет на прочность предполагает определение геометрических размеров сечений элементов ТРП, исходя из условия, что возникающие напряжения (растяжения, сжатия, изгиба, смятия и среза) в этих сечениях под нагрузкой не должны превышать допускаемые для марок стали, из которых намечается их изготовление. Для деталей тормоза, рассчитанных в соответствии с нормами для расчета и проектирования на наиболее невыгодное, но возможное в эксплуатации сочетание расчетных сил

Рис 3.4 Расчетная схема рычага т.ц. и эпюра изгибающего момента, сечения рычага тележки
Размеры горизонтального рычага тележки типа 18-100 крытого вагона:
а=260; б= 400 мм; d1 = 40 мм; d2 = 45 мм; H*h =142*14 мм; R = 40 мм.
,
где: [sи ] - допускаемые максимальные напряжения в рычаге при
изгибе - 145 МПа;
W-момент сопротивления поперечного сечения рычага;
Ми - изгибающий момент в опасном сечении рычага.
![]()
![]()
Для сечения А-А
В свою очередь момент сопротивления можно определить из выражения.
![]()
Поэтому:
![]()
После соответствующих преобразований получим уравнение следующего вида
![]()
По правилу Тартальи корень этого уравнения представляется выражением:
![]()
где: U и V - решения системы.
![]()
![]()
из таб. 6.2 выбираем следующие размеры сечений рычага: при d2 =45мм,
h = 120мм, t = 14мм;
![]()
Напряжения сжатия и среза определяются по формулам:

![]()
![]()
где: Р- усилие на проушину;
t – толщина проушины;
d1 – диаметр проушины;
h – высота сечения проушины по линии среза, принимается равной:
![]()
R – радиус наружного очертания проушины.

При расчете проушины напряжения изгиба и растяжения определяются как для криволинейного бруса с сосредоточенной нагрузкой. В зависимости от кривизны этого бруса распределение напряжений по сечению принимается либо по линейному либо по гиперболическому законам (при отношении среднего радиуса к высоте сечения проушины больше 5-ти рекомендуется принимать линейный закон распределения напряжений).
Для прямой проушины рычага максимальные растягивающие напряжения в сечении по отверстию определяются по формуле:

максимальное напряжения на внешнем контуре проушины в сечении, расположенном по линии действия сосредоточенной силы Р, находятся по формуле:

где: Ks1 и Ks2 - коэффициенты, определяемые в зависимости от отношения d1 /2R=0,5.Ks1 =4; Ks2 =6

3.7 Расчет на прочность по допускаемым напряжениям затяжки горизонтальных рычагов
Рис 3.5 Затяжка горизонтальных рычагов.
Тяги и прямолинейные затяжки рычагов в расчетной схеме принимаются в виде стержня шарнирно опертого по концам и центрально растянутого или сжатого силами.
![]()
где: F – площадь поперечных сечений (без учета местных ослаблении).
F=h*t. при этом [sp ]=145МПа.
t – ширина поперечного сечения; t=25 мм;
h – высота поперечного сечения; h=110 мм;
![]()
![]()
где е – эксцентриситет приложения усилия Р3, е =105мм.
![]()
3.8.Вычисление величины деформации элементов рычажной передачи при торможение вагона
Упругие деформации элементов рычажной передачи, работающих на растяжение или сжатие определим по формуле:
![]()
где: Р – сила действующая в рассматриваемом сечение, Н;
l – длинна рассматриваемых элементов, см;
F – площадь поперечного сечения, см;
Е – модуль упругости, Н/см.
В случае внутреннего растяжения (сжатия) формула принимает следующий вид:
![]()
где: е – эксцентриситет приложения силы;
I – момент инерции сечения относительно точки приложения силы.
Деформации рычагов рассчитываем по следующей формуле:
![]()
где: а и б – плечи рычагов, мм.
Деформация траверсы определяется по формуле:
![]()
где: c – плечо приложения силы Р, мм.
Деформация изгиба горизонтального рычага ТЦ:
![]()
Момент инерции определим по формуле:
![]()
![]()
3.9.ОПРЕДЕЛЕНИЕ ВЕЛИЧИНЫ ВЫХОДА ШТОКА ТОРМОЗНОГО ЦИЛИНДРА ПРИ ТОРМОЖЕНИИ ВАГОНА
![]()
Рис. 3.6 Зависимость хода поршня от давления в Т.Ц.
3.9.1 РАСЧЕТ СВОБОДНОГО ХОДА ПОРШНЯ ЦИЛИНДРА ПРИ ТОРМОЖЕНИИ ВАГОНА
Определим влияние величины зазора ∆ между колодкой и колесом на выход штока LCB поршня ТЦ. Рассмотрим только головную кинематическую цепь ТРП. Тыловая кинематическая цепь передачи тормоза, расположенная на вагоне со стороны задней крышки ТЦ по всей структуре идентична головной и имеет обозначения соединений подвижных звеньев 1 – 9.
Свободный ход поршня ТЦ найдем из условий перемещения шарниров 1- 9 и 1’ – 9’ собирающих элементы рычажного механизма в единые кинематические цепи. Для этого воспользуемся подобием треугольников, образованных в структуре механизма изначальным и конечным местоположением рычагов передачи (рис. 3.7.)

Рис. 3.7.Свободный ход поршня Т.Ц. при торможении вагона за счет перемещения колодок до прилегания к колесам.
С учетом полученных результатов полную величину свободного хода поршня Т. Ц. можно выразить:
![]()
- зазор между колодкой и колесом;
= 8мм.
для чугунных колодок:
![]()
для композиционных колодок:
![]()
Приращение выхода штока от износа тормозных колодок определяется
![]()
- износ тормозных колодок; по данным ВНИИЖТа:
, следовательно
, для чугунных тормозных колодок.
3.9.2 РАСЧЕТ ДОПОЛНИТЕЛЬНОГО ХОДА ШТОКА ЦИЛИНДРА ПРИ ТОРМОЖЕНИИ ВАГОНА
После прилегания всех колодок к колесам с увеличением давления воздуха в ТЦ колодки прижимаются с большим усилием, а поршень цилиндра, как указывалось выше, сделает дополнительный ход Lдоп , величина которого зависит от давления воздуха в ТЦ, деформации всех элементов ТРП и ее передаточного числа.
Под действием тормозных усилий рычаги передачи подвергаются деформациям изгиба, тяги и другие продольные элементы - растяжению или сжатию. Криволинейной формы затяжки или распорки рычагов испытывают внецентренное, растяжение. Деформируют также триангели и траверсы в направлении воздействующих на них усилий.
Схема для определения влияния упругих деформаций ТРП на величину хода поршня ТЦ в 4-х осном грузовом вагоне показана на рис 3.8.Искомое приращение хода штока ТЦ найдем в указанной схеме из условий перемещений шарниров 2-11, соединяющих между собой в кинематические цени элементы рычажного механизма.
![]()
Рис. 3.8.
Для этого воспользуемся подобием треугольников, образованных в структуре механизма изначальным и конечным местоположением рычагов передачи, обусловленным деформациями в ТРП.

Деформации:
D1 – триангеля;
D2 – изгиба вертикального рычага тележки;
D3 – сжатие затяжки вертикальных рычагов;
D4 – растяжение тяги вагона;
D5 – изгиба горизонтального рычага ТЦ;
D6 – растяжение затяжки горизонтальных рычагов;
3.9.3Вычисление величин деформаций элементов РП при торможении вагона
Деформация вертикального рычага тележки:
Упругие деформации элементов Р.П., работающих на растяжение и сжатие определяются по:
, где
Р – сила действующая в рассматриваемом сечении, Н.
l – длины рассматриваемых элементов, см,
F – площадь поперечного сечения, см2
Е – модуль упругости, Н/ см2
В случае внутреннего растяжения (сжатия) формула примет вид:
![]()
е – эксцентриситет приложения силы;
I– момент инерции сечения.
![]()
![]()
![]()
Деформация сжатия затяжки вертикальных рычагов:
![]()
где l – длина затяжки, l=119,5 см;
F – площадь поперечного сечения, F=18.75 см2 .
![]()
Деформация растяжения тяги вагона:
![]()
F=3,8 см2 ; lдл=2910 мм; lкор=523 мм;
![]()
![]()
Деформация горизонтального рычага:
![]()
t*(h3 -d2 3 ) 14(1403 – 453 )
I= ¾¾¾¾¾¾ = ¾¾¾¾¾¾¾ = 3095021мм3
12 12

Деформация затяжки горизонтальных рычагов (внецентренное
растяжение):
![]()
где e – эксцентриситет, е = 65мм;
I – момент инерции сечения пластины.
I=t*h3 /12= 25*1103 /12=2772917мм4
F= t*h=25*110=2750; l=1070мм;
![]()
Деформация триангеля:
D1 = [4,5*(L- а)2*Р]/3I1 +2*l1*P/6I2 *[(L-а)*4,5-L*0,8-((L-
f)/2)*0,8+4,5*L12)
Принимаем деформацию прогиба триангеля в процессе торможения 2 мм.
Определяем величину выхода штока от упругих деформаций.

По технологическим требованиям на проектирование ТРП вагона выход штока ТЦ от упругих деформаций не должен превышать 25% (<60мм) выхода штока при ПСТ или при 1-ой ступени торможения.
3.10.Приращение хода поршня Т. Ц. от сжатия возвратной пружины регулятора
![]()
РисЗ.9Приращение хода поршня тормозного цилиндра в зависимости от величины сжатия пружины АРП
Поршень ТЦ совершает дополнительный ход в процессе торможения вагона за :чет возвратной пружины регулятора рычажной передачи. На рис. 3.9 приведена расчетная схема узла ТЦ 1 вагона для определения приращения хода его поршня от сжатия возвратной пружины 3 в регуляторе 2 при торможении.
При воздействии привода 4 на корпус регулятора 2.Под действием растягивающих усилий, развиваемых поршнем ТЦ 1 в процессе торможения, происходит сжатие тяговым стержнем 7 возвратной пружины 3 регулятора на величину АР (см Рис.3.9), что обуславливает поворот головного горизонтального рычага 5 и приращения хода поршня цилиндра. Зависимость перемещения поршня ТЦ и величины сжатия Dр возвратной пружины 3 установим; на основе подобия треугольников f1f0 и t1t0 откуда следует:
![]()
полная величина выхода штока:
![]()
4. Проверка обеспеченности вагона тормозными средствами
В соответствии с Правилами технической эксплуатации все грузовые и пассажирские вагоны, отправляемые в рейс, должны быть обеспечены автоматическими тормозами из расчета единой наименьшей тормозной силы [Вт ], гарантирующей остановку поезда на заданном тормозном пути.
Однако вычисление тормозных сил поезда, составленного из большого количества разнотипных вагонов с различной загрузкой, но фактическому, действительному нажатию на колесо тормозных колодок Кд и коэффициенту трения φк весьма трудоемка, т. к. для вагонов в разном режиметорможения необходимо определять свое значение φк по известному К.
4.1 Определение расчетного коэффициента трения и расчетного тормозного нажатия колодок
Коэффициент трения φк
зависит от скорости движения, силы нажатия К колодки на колесо и вычисляется для композитных тормозных колодок по формуле: 
Действительная сила нажатия
;
![]()
![]()
где: РШТ - усилие по штоку ТЦ, Н;
РТЦ - расчетное давление воздуха в ТЦ,
для крытых вагонов с композиционными колодками РТЦ =0,3МПа;
ηТЦ - КПД ТЦ; ηТЦ =0,92
Рпр - усилие отпускной пружины ТЦ, Н;
Рр - усилие возвратной пружины;
dТЦ - диаметр TЦ. мм:
Усилие отпускной пружины ТЦ:
Рпр =Ро +ЖЦ *LШ ,где:
Ро - усилие предварительного сжатия отпускной пружины ТЦ, Н;
Р0 = 159 кгс;
ЖЦ - жесткость отпускной пружины ТЦ, ЖЦ = 6,57 кгс/см;
LШ - величина выхода штока TЦ, мм.
Для композиционных LШ =10см.
Рпр(комп) =1590+6,57*100=2247 Н.
Усилие возвратной пружины авторегулятора РП, приведённое к штоку ТЦ:
![]()
где: РОР - усилие предварительного сжатия возвратной пружины
РОР - 1690 Н;
1р - величина сжатия возвратной пружины 1р = 15 мм;
nр - передаточное число, для чугунных колодок и для композиционных nр =0,65.
ЖЦ - жесткость возвратной пружины ТЦ, ЖЦ = 23,1 кгс/см
![]()
для композиционных колодок на среднем режиме ВР (Кд=15кН):
;
n – предаточное число ТРП вагона; n=5,4;
ηРП - КПД ТРП, в типовых расчетах тормоза рекомендуется принимать ηРП , для передачи с одним TЦ крытого вагона равным 0.95.
Тогда действительная сила нажатия :
;
;
Принимаем что у композиционных тормозных колодок Кд=16кН, тогда:
![]()

Расчетное нажатие Кp , определяется по действительному КД на основе метода приведения, исходя из того, чтобы при принятом φкр, отличающимся от φк, тормозная сила Вт, при любом методе расчета была одинаковая, равная истинному значению, т, е.:
;
для композиционных колодок:
![]()
4.2.Определение расчётного коэффициента нажатия тормозных колодок для различной степени загрузки крытого вагона
Расчетный коэффициент нажатия тормозных колодок определяется:
для композиционных колодок среднего и груженного режимов:
;
для порожнего режима:
;
Для “П” режима 0,22 £dp £ 0,32;
Для “С” режима 0,14 £dp £ 0,28;
Также расчетный коэффициент силы нажатия тормозной колодки определяется в зависимости от статической нагрузки колесной пары на рельс:
![]()
m1 – число тормозных колодок одной колесной пары;
q0 - статическая нагрузка колесной пары на рельс.
Вычислим
для различных режимов загрузки вагона и сведем данные в таблицу:
При наличии АРЖ:
Давление в ТЦ достигает до 60% загрузки вагона брутто. В зависимости от загрузки на ось оно составляет:
| q0, кН/ось | 66,25 | 86,25 | 106,25 | 126,25 | 146,25 | 166,25 | 232,5 |
| Ртц, МПа | 0,13 | 0,16 | 0,2 | 0,235 | 0,27 | 0,3 | 0,3 |
Усилие на штоке определяется:
;
площадь поршня ТЦ Fтц=994
;
величина выхода штока Lшт=10 см.
;
результаты сведены в таблицу:
Таблица 1.
| Ртц, МПА | Ршт,кН | К , кН | Кр , кН | q0 , кН/ось | δр |
| 0,13 | 9,1 | 6,34 | 7,079 | 66,25 | 0,22 |
| 0,16 | 12,02 | 8,37 | 9,11 | 86,25 | 0,22 |
| 0,2 | 15,92 | 11,09 | 11,68 | 106,25 | 0,22 |
| 0,235 | 19,33 | 13,47 | 13,81 | 126,25 | 0,22 |
| 0,27 | 22,74 | 15,85 | 15,85 | 146,25 | 0,22 |
| 0,3 | 25,66 | 17,88 | 17,5 | 166,25 | 0,216 |
| 0,3 | 25,66 | 17,88 | 17,5 | 232,5 | 0,14 |
По данным таблицы 1 строим зависимость коэффициента расчетного тормозного нажатия композиционных колодок от загрузки вагона:

Из графика видно, что при наличии на вагоне АРЖ обеспеченность его тормозными средствами до 60% загрузки от веса брутто практически остается неизменной. Также при любой степени загрузки крытый вагон в полной мере обеспечен тормозами о чем свидетельствуют δр = 0,22 для поржнего и δр = 0,14 для груженного вагона.
При неисправном АРЖ:
![]()



Результаты вычислений сведены в таблицу 2.
Таблица 2
Режим ВР |
Ртц, МПА | Ршт,кН | К , кН | Кр , кН | q0 , кН/ось | δр |
| порожний | 0,14 | 10,067 | 7,02 | 7,78 | Т=66,25 | 0,24 |
| Т+30=96,25 | 0,16 | |||||
| средний | 0,3 | 25,66 | 17,88 | 17,5 | 96,25 | 0,30 |
| 126,25 | 0,27 |
По данным таблицы 2 строим зависимость коэффициента расчетного тормозного нажатия композиционных колодок от загрузки вагона:

Из графика видно, что обеспеченность вагона тормозными средствами по мере его загрузки существенно снижается на всех режимах.Вагон обеспечен тормозами.
Вывод: при наличии на вагоне АРЖ при любой степени загрузки крытый вагон в полной мере обеспечен тормозами о чем свидетельствуют δр = 0,22 для поржнего и δр = 0,14 для груженного вагона.
4.3. Проверка максимальной силы нажатия тормозных колодок на отсутствие юза колёсных пар
Существует условие:
![]()
Определяем усилие на штоке тормозного цилиндра при выходе штока Lшт =100 мм, для режимов ВР:
“П” – Ртц
=1,8 кгс/
,
“С” – Ртц
=3,4 кгс/
,
![]()

Определим действительную силу нажатия на тормозную колодку:

Определим величину расчётного нажатия:

Определяем тормозной расчётный коэффициент:

Расчётный коэффициент трения определяют для скоростей V=20км/ч; V=100км/ч; V=120 км/ч.
![]()

Допустимый коэффициент сцепления колёс с рельсами определяется по формуле: [yp ]=yд *yv ,
где




При наличии на вагоне АРЖ:

Определим действительную силу нажатия на тормозную колодку:

Определим величину расчётного нажатия:

Определяем тормозной расчётный коэффициент:

Расчётный коэффициент трения определяют для скоростей V=20км/ч; V=100км/ч; V=120 км/ч.
![]()

Допустимый коэффициент сцепления колёс с рельсами определяется по формуле: [yp ]=yд *yv ,
где




Вывод: полученные значения коэффициента сцепления колеса с рельсом меньше допускаемых. Следовательно, при торможении юза не будет. В соответствии с требованиями МПС по тормозам, величина коэффициента расчетного тормозного сжатия δ = 0,31 свидетельствует о полной обеспеченности крытого вагона тормозами и его можно эксплуатировать в грузовых поездах с максимальной скоростью движения 120 км/ч.
5. Обоснование эффективности разработанной и спроектированной тормозной системы вагона.
5.1. Вычисление полного тормозного пути на участке с заданным руководящим уклоном и начальной скоростью торможения
По расчётному тормозному коэффициенту вычисляем полный тормозной путь на участке с руководящим уклоном –5% , при начальной скорости торможения 100 км/ч.
Тормозной путь определяется, как сумма подготовительного тормозного пути Sн и действительного пути торможения Sд.
Sт=Sн+Sд;
![]()
где Vн – начальная скорость торможения, км/ч;
tн – время подготовки тормозов к действию,с;
![]()
где bt – удельная тормозная сила экипажа,
![]()
где
– расчётный коэффициент трения тормозной колодки;
dр – расчётный коэффициент нажатия;
Действительный путь торможения Sд определяется по формуле:
![]()
где Vк – конечная скорость торможения в расчётном интервале, принимаем Vк через 10 км/ч;
x=120 – замедление экипажа при действии силы 1кг/т,км/ч2;
wо – основное удельное сопротивление движению экипажа, кг/т;
![]()
где qo – нагрузка от оси на рельс, т;
для порожнего вагона:
![]()
для груженного вагона:
![]()
для поржнего вагона:
![]()
для груженного вагона:
![]()
для поржнего вагона:
![]()
для груженног вагона:
![]()
![]()
В соответствии с пунктом 38 инструкции по сигнализации, тормозной путь установлен: Грузовые поезда: i < -6° /00
;
848м < 1600 м- для порожнего режима
1153м < 1600 м - для груженого режима
В соответствии с пунктом 38 инструкции по сигнализации наш вагон оснащен эффективной тормозной системой, т. к. его тормозной путь меньше допустимого и в порожнем и в груженом состоянии.
Результаты расчёта сводим в табл.5.1.
Таблица 5.1.
Расчёт действительного тормозного пути для порожнего вагона.
| 100 | 95 | 0,257 | 79,67 | 6,4 | 8,67 | 253 | 595 | 116 | 848 |
| 90 | 85 | 0,262 | 81,22 | 5,57 | 8,7 | 227 | 479 | 103 | 706 |
| 80 | 75 | 0,267 | 82,77 | 4,78 | 8,72 | 202 | 376 | 91 | 578 |
| 70 | 65 | 0,273 | 84,63 | 4,1 | 8,75 | 177 | 285 | 78 | 462 |
| 60 | 55 | 0,28 | 86,8 | 3,4 | 8,78 | 152 | 207 | 65 | 359 |
| 50 | 45 | 0,288 | 89,28 | 2,85 | 8,82 | 127 | 142 | 53 | 269 |
| 40 | 35 | 0,297 | 92,07 | 2,36 | 8,85 | 102 | 89 | 40 | 191 |
| 30 | 25 | 0,308 | 95,48 | 1,95 | 8,92 | 77 | 49 | 28 | 126 |
| 20 | 15 | 0,322 | 99,82 | 1,6 | 8,94 | 51 | 21 | 16 | 72 |
| 10 | 5 | 0,339 | 105 | 1,34 | 8,99 | 26 | 5 | 5 | 31 |
Расчёт действительного тормозного пути для груженого вагона.
| 100 | 95 | 0,257 | 43,69 | 2,33 | 7,91 | 230 | 923 | 183 | 1153 |
| 90 | 85 | 0,262 | 44,54 | 2,09 | 7,96 | 208 | 740 | 162 | 948 |
| 80 | 75 | 0,267 | 45,39 | 1,86 | 7,99 | 186 | 578 | 141 | 764 |
| 70 | 65 | 0,273 | 46,41 | 1,66 | 8,03 | 163 | 437 | 121 | 600 |
| 60 | 55 | 0,28 | 47,6 | 1,47 | 8,06 | 140 | 316 | 100 | 456 |
| 50 | 45 | 0,288 | 48,96 | 1,31 | 8,14 | 117 | 216 | 80 | 333 |
| 40 | 35 | 0,297 | 50,49 | 1,17 | 8,2 | 95 | 136 | 61 | 231 |
| 30 | 25 | 0,308 | 52,36 | 1,05 | 8,26 | 71,4 | 75 | 42 | 146,4 |
| 20 | 15 | 0,322 | 54,74 | 0,96 | 8,34 | 48 | 33 | 25 | 81 |
| 10 | 5 | 0,339 | 57,63 | 0,88 | 8,42 | 24 | 8 | 8 | 32 |
5.2. Определение величины замедления и времени полного торможения
Замедление и время полного торможения определяются по формулам:
![]()
время торможения вагона:
![]()
Расчёт замедления и время торможения для порожнего вагона
| t | ||||||||
| 100-90 | 95 | 116 | 0,843 | 3,3 | 8,67 | 30,669 | 39,72 | |
| 90-80 | 85 | 103 | 0,85 | 3,268 | 8,7 | 27,369 | 36,44 | |
| 80-70 | 75 | 91 | 0,856 | 3,245 | 8,72 | 24,1 | 33,19 | |
| 70-60 | 65 | 78 | 0,867 | 3,2 | 8,75 | 20,86 | 30 | |
| 60-50 | 55 | 65 | 0,882 | 3,15 | 8,78 | 17,66 | 26,8 | |
| 50-40 | 45 | 53 | 0,9 | 3,086 | 8,82 | 14,5 | 23,66 | |
| 40-30 | 35 | 40 | 0,927 | 3 | 8,85 | 11,42 | 20,6 | |
| 30-20 | 25 | 28 | 0,946 | 2,94 | 8,92 | 8,42 | 17,63 | |
| 20-10 | 15 | 16 | 0,989 | 2,81 | 8,94 | 5,48 | 14,72 | |
| 10 | 5 | 5 | 1,04 | 2,67 | 8,99 | 2,67 | 11,95 | |
Расчёт замедления и время торможения для грузового вагона
| t | ||||||||
| 100-90 | 95 | 183 | 0,473 | 5,87 | 7,91 | 54,22 | 62,5 | |
| 90-80 | 85 | 162 | 0,479 | 5,8 | 7,96 | 48,35 | 56,66 | |
| 80-70 | 75 | 141 | 0,482 | 5,76 | 7,99 | 42,55 | 50,89 | |
| 70-60 | 65 | 121 | 0,491 | 5,66 | 8,03 | 36,79 | 45,17 | |
| 60-50 | 55 | 100 | 0,499 | 5,57 | 8,06 | 31,13 | 39,55 | |
| 50-40 | 45 | 80 | 0,511 | 5,43 | 8,14 | 25,56 | 34,03 | |
| 40-30 | 35 | 61 | 0,524 | 5,3 | 8,2 | 20,13 | 28,64 | |
| 30-20 | 25 | 42 | 0,54 | 5,14 | 8,26 | 14,83 | 23,4 | |
| 20-10 | 15 | 25 | 0,562 | 4,94 | 8,34 | 9,69 | 18,32 | |
| 10 | 5 | 8 | 0,585 | 4,75 | 8,42 | 4,75 | 13,44 | |
5.3. Расчёт температуры нагрева элементов трущихся пар
Температура нагрева элемента трущейся пары в i-ом интервале:

где Qi – работа трения за единицу времени;
А – механический эквивалент тепловой работы, А=427 кг*м/ккал;
G – вес элементов трущихся пар, G=248 кг;
F – площадь охлаждающей поверхности, F=1,134 м2;
a - коэффициент теплоотдачи с нагретой поверхности трущихся пар в окружающую среду, ккал/м2*сек*С°;
![]()
, где с – теплоемкость, ккал/кгС°;
z - коэффициент разделения тепловых потоков,z=1 – для колеса.
Температура нагрева для трущихся пар порожнего вагона.
| 100-90 | 95 | 0,0293 | 8353,731 | 3,16 | 15,91 | |
| 90-80 | 85 | 0,028 | 8294,377 | 2,83 | ||
| 80-70 | 75 | 0,0265 | 8177,57 | 2,49 | ||
| 70-60 | 65 | 0,025 | 8016,796 | 2,14 | ||
| 60-50 | 55 | 0,0233 | 7769,051 | 1,77 | ||
| 50-40 | 45 | 0,0214 | 7395,6 | 1,4 | ||
| 40-30 | 35 | 0,0194 | 6829,196 | 1,03 | ||
| 30-20 | 25 | 0,017 | 5949,214 | 0,68 | ||
| 20-10 | 15 | 0,0141 | 4519,054 | 0,34 | ||
| 10 | 5 | 0,01 | 2018,343 | 0,07 | ||
Температура нагрева для трущихся пар груженного вагона.
| 100-90 | 95 | 0,0293 | 8783,563 | 5,91 | 30,52 | |
| 90-80 | 85 | 0,028 | 8789,406 | 5,34 | ||
| 80-70 | 75 | 0,0265 | 8736,933 | 4,72 | ||
| 70-60 | 65 | 0,025 | 8655,933 | 4,1 | ||
| 60-50 | 55 | 0,0233 | 8495,373 | 3,43 | ||
| 50-40 | 45 | 0,0214 | 8219,011 | 2,73 | ||
| 40-30 | 35 | 0,0194 | 7753,011 | 2,01 | ||
| 30-20 | 25 | 0,017 | 6962,197 | 1,38 | ||
| 20-10 | 15 | 0,0141 | 5539,776 | 0,73 | ||
| 10 | 5 | 0,01 | 2681,01 | 0,17 | ||
Температура нагрева трущихся колесных пар порожнего и груженного вагона не превышает допустимую температуру нагрева равную 70 град. Вагон оборудован эффективной тормозной системой.
6. Определить техническое содержание и приемку тормозного оборудования вагона
6.1. Проверка правильности установки на вагоне АРЖ и привода регулятора ТРП
Проверку АРП осуществляют в соответствии с технологическими картами. Стабильность работы АРП проверяют на стенде циклом последовательных торможений и отпусков. При этом регулятор должен приходить в действие, но величена хода регулирующего винта, т.е. расстояние а , при отпуске изменяться не должна. Для проверки действия регулятора на стягивание ТРП необходимо повернуть корпус на один–два оборота регулирующего винта и увеличить расстояние а , что соответствует роспуску ТРП. Затем на поверхности защитной трубы и винте, мелом, наносят продольную линию и производят 2–3 цикла торможения. При каждом отпуске регулирующая гайка должна наворачиваться на винт, сокращая расстояние а . Поворот регулирующей гайки наблюдается по смещению меловой черты нанесённой на винте. Регулятор усл. №574Б после 3-х тормозных циклов уменьшает расстояние а на 25–30 мм.
Для проверки действия регулятора необходимо поворачивать корпус по или против часовой стрелки. Уменьшение или увеличение размера а , соответственно, свидетельствует о нормальной работе АРП на стягивание, роспуск ТРП производится вращением корпуса регулятора вручную. При новых тормозных колодках контрольный размер а должен быть не менее 500 мм.
Для поддержания выхода штока ТЦ в установленных пределах обеспечивают установку размера А – расстояние между упором и крышкой корпуса.
На порожнем вагоне упор АРЖ может касаться плиты или иметь зазор а не более 3-х мм. При правильно отрегулированном зазоре кольцевая выточка на стержне АРЖ должна выступать из корпуса не менее чем на 2 мм. Если относительное положение упорного стержня и кольцевой выточки не соответствует указанным требованиям, необходимо снятием или постановкой металлических прокладок. Регулировать зазор на вагоне с помощью гайки АРЖ, зашплинтованной в АКП запрещается.
6.2. Выполнение полного и сокращённого опробования автотормозов
6.2.1. Полное опробование автотормозов.
Полное опробование тормозов с проверкой состояния тормозной магистрали и действия тормозов у всех вагонов в поезде производится:
* на станциях формирования перед отправлением поезда;
* после смены локомотива;
* на станциях предшествующих перегонам с затяжными спусками, где останавливаются по техническим надобностям.
Перед началом проведения полного опробования автотормозов проверить целостность тормозной магистрали поезда и убедиться в свободности прохождения сжатого воздуха по ней. Для этого осмотрщик вагонов хвостовой группы по парковой связи или радиосвязи обязан известить машиниста локомотива о начале проведения проверки , а затем , соблюдая технику безопасности открыть последний концевой кран хвостового вагона и по истечении 8-10с закрыть его.
При срабатывании автотормозов локомотива, определяемом по загоранию лампы «ТМ» сигнализатора № 418, машинист обязан протянуть ленту скоростемера и произвести ступень торможения снижением давления в уравнительном резервуаре на 0.5-0.6 кгс/см2 . После того, как закончится выпуск воздуха из магистрали через кран машиниста, произвести отпуск и зарядку тормозной сети поезда и сообщить о результатах проверки осмотрщику вагонов головной группы.
После полной зарядки тормозной сети поезда до установленного давления машинист и осмотрщик вагонов обязаны проверить плотность тормозной сети. Для этого после отключения компрессоров регулятором по достижении в главных резервуарах локомотива предельного давления (на паровозах путем закрытия паровыпускного вентиля насоса) и последующего снижения этого давления на 0.4-0.5 кгс/см2 при поездном положении ручки крана машиниста.
Осмотрщики вагонов должны проверить отпуск тормоза у каждого вагона по уходу штока тормозного цилиндра и отпуск тормозных колодок от колес. При выявлении не сработавших на отпуск воздухораспределителей не разрешается производить их отпуск вручную до выяснения причин не отпуска. Все выявленные неисправности тормозного оборудования на вагонах должны быть устранены и действие тормозов у этих вагонов вновь проверено.
6.2.2. Сокращённое опробование тормозов.
Сокращённое опробование автотормозов с проверкой состояния тормозной магистрали, по действию тормоза хвостового вагона производится:
* после прицепки поездного локомотива к составу, если предварительно на станции было выполнено полное опробование тормозов от компрессорной установки или локомотива;
* после смены локомотивных бригад, когда локомотив от поезда не отцеплялся;
* после всякого отсоединения рукавов в составе поезда или между составом и локомотивом, соединения рукавов вследствие прицепки ПС, а также после перекрытия концевого крана в составе.
Если должно быть выполнено сокращённое опробование тормозов, а машинист перед отправлением поезда не производит этого, а также если при опробовании не срабатывает автотормоз последнего вагона, то работник проверяющий действие тормоза хвостового вагона обязан не допустить отправление поезда.
При выполнении сокращённого опробования по сигналу работника отвечающего за опробование тормозов «произвести торможение», машинист должен подать свисток – 1-н короткий и снизить давление в магистрали на величину установленную для полного опробования. После проверки срабатывания автотормоза хвостового вагона на торможение подаётся сигнал «отпустить тормоза». По этому сигналу машинист подаёт свистком 2-а коротких сигнала и отпускает тормоза постановкой ручки КМ в 1-е положение. Ручку КМ выдерживают в 1-м положении, в грузовом поезде, до получения давления в УР на 0,5 кгс/см2 выше предтормозного зарядного давления и последующим переводом ручки КМ в последнее положение.
Если сокращённое опробование тормозов в поездах произведено после полного от стационарной компрессорной установки, то машинисту вручается справка ВУ–45, как при полном опробовании.
Если при сокращённом опробовании тормозов в поезде будут обнаружены не сработавшие на отпуск ВР, то тогда не разрешается производить их отпуск вручную до выяснения причин неисправности. В этих случаях необходимо проверить, нет ли перекрытых концевых кранов в поезде особенно в тех местах, где прицеплялись или отцеплялись вагоны. Неисправные ВР – заменить.
Справка формы ВУ–45 составляется в двух экземплярах. Подлинник справки передаётся машинисту локомотива, а копия сохраняется в течение 7 суток у должностного лица, производившего опробование тормозов состава.
6.3. Проведение смены изношенных тормозных колодок
Для замены изношенных тормозных колодок на вагоне, в ПТО производится ограждение состава на пути. Смена производится при включенном тормозе вагона. Для этого слесарь перекрывает разобщительный кран, выпускает воздух из ЗР с помощью отпускного клапана, тем самым производится отпуск тормозов. Для безопасности работы, перед сменой колодок, под колесо кладут тормозной башмак или подбивают деревянные клинья. Далее производят роспуск ТРП с помощью АРП усл. №574Б. Затем вынимают чеку, соединяющую колодку с башмаком, снимают изношенные колодки , вставляют в башмак новую колодку и забивают чеку. Стягивают тормозную тягу с помощью АРП. Включают тормоз вагона, открывают разобщительный кран.
6.4. Регулировка ТРП тормоза вагона при смене колодок и вынужденной подкатке других колёсных пар
Тяги рычагов соединены крайними отверстиями в головке тяги, ТРП регулируется так чтобы выход штока поршня ТЦ, при ПСТ соответствовал данным «Инструкции ЦВ–4024». Регулировка выхода штока осуществляется расстановкой валиков в тягах, серьгах, а с помощью АРП регулируем зазор А : при новых колодках 500 мм, а при изношенных ТРП должна быть отрегулирована в соответствии с «Инструкции ЦВ–4024». При полномерных колёсах регулирование ТРП производится в зависимости от значений диаметра колёс отдельно для каждой тележки согласно «Инструкции ЦВ–4024».
Контролируют размер серьги, распорной тяги и расстояние от центра пятника до тяги вагона.
6.5. Подготовка тормозной системы вагона при вынужденной замене композиционных колодок чугунными
При смене тормозных колодок следует оградить вагон или поезд сигналами , выключить воздухораспределитель и выпустить весь воздух из камер и запасного резервуара. Смена производится при включенном тормозе вагона. Для этого слесарь перекрывает разобщительный кран, выпускает воздух из ЗР с помощью отпускного клапана, тем самым производится отпуск тормозов. Для безопасности работы, перед сменой колодок, под колесо кладут тормозной башмак или подбивают деревянные клинья. Далее производят роспуск ТРП с помощью АРП усл. №574Б. Затем вынимают чеку, соединяющую колодку с башмаком, снимают изношенные колодки , вставляют в башмак новую колодку и забивают чеку. Затем для постановки композиционных колодок после чугунных необходимо разобрать (переставить) крепление вертикального рычага промежуточного механизма, т.е. изменить плечи (передаточное число) вертикального рычага. Потом стягивают тормозную тягу с помощью АРП. Включают тормоз вагона, открывают разобщительный кран.
6.6. Проверка правильности включения режимов ВР
У грузовых вагонов оборудованных чугунными тормозными колодками, ВР включают на гружёный режим при загрузке вагона более 6 тс на ось; на средний – от 3-х до 6-ти тс на ось включительно; на порожний – менее 3-х тс на ось.
Включение ВР в грузовых поездах на горный режим необходимо перед затяжными спусками с крутизной 0,018 и более, а также применять по местным условиям установленных приказом начальника дороги.
Испытание тормозной части ВР производится во время зарядки ЗК. Для этого «Р» «Г» – зарядка ЗК от 0 до 0,12 МПа должна произойти в магистральной части ВР за 10 секунд. Проверяют мягкость действия после зарядки всех камер и резервуаров до зарядного давления, отключают ЗР от блока КМ и снижают в нём давление, давление в ТЦ не должно повышаться.
Допускается у груженых грузовых поездов применять горный режим торможения по местным условиям на спусках меньше чем 0,018. У вагонов оборудованных АРЖ, включить ВР на гружёный режим, при чугунных колодках, с закреплением режимного переключателя стопорным кольцом.
6.7. Приемка тормоза вагона после капитального ремонта
6.7.1. Общие требования.
При капитальном ремонте тормозное оборудование с вагонов снимают и направляют в контрольные пункты автотормозов, или в тормозное отделение завода воздухораспределителями, авторежимы, авторегуляторы, краны концевые, разобщительные, соединительные рукава. Разбирают рычажную передачу, проверяют состояние её деталей и при необходимости ремонтируют. Подвески триангелей и траверс подвергают дефектоскопированию. Кроме того, разбирают воздухопровод, снимают, ремонтируют и испытывают ТЦ, ЗР.
При всех видах ремонта и единой технической ревизии вагона мастер или бригадир обязаны тщательно проверить качество выполненных работ по тормозному оборудованию в объеме, предусмотренном настоящей Инструкцией и соответствующей технической документацией, и предъявить тормозное оборудование должностным лицам для приемки.
Проверку работы тормоза вагона производить с помощью типовой установки (рис. 6.1.), аналогичной установке для проверки тормоза грузовых вагонов.
6.7.2. Проверка плотности воздухопровода.
Установку подключают одной соединительной головкой к источнику сжатого воздуха давлением не ниже 0,6 Мпа, другой – к соединительному рукаву вагона. Зарядку магистрального воздухопровода при отключённом ВР до давления 0,6-0,65 Мпа, производить 1 положением ручки КМ, зарядку тормозной системы до нормального зарядного давления и полный отпуск тормоза – 2 положением. После служебных торможений ручку КМ приводят в 4 положение. При проверке пневматического тормоза контролируют зарядку тормозной системы грузового вагона – по манометру ЗР, торможение – по давлению воздуха в ТЦ, а также по выходу штока ТЦ и плотности прижатая тормозных колодок, полный отпуск по отсутствию давления в ТЦ – отход всех колодок от колёс.
Заряжают тормозную систему до давления 0,53-0,55 Мпа: при включённом ВР. Далее воздухопровод вагона отключить от установки и по манометру ТМ проверить падение давления, которое не должно превышать 0,01 Мпа в течение 5 мин с начального 0,53-0,55 Мпа
Рис.6.1.
1-соединительный рукав; 2- разобщительный кран; 3- кран машиниста; 4- разобщительный кран; 5- манометр; 6- манометр; 7- соединительный рукав; 8- кран с дроссельным отверстием диаметра 2 мм; 9 – магистральный резервуар; 10 – водоспускной кран.
6.7.3. Проверка действия пневматического тормоза.
Зарядить тормозную систему вагона до 0,53-0,55 Мпа. Включить ВР на «ПР» и «РР». На вагонах, оборудованных АРЖ, тормоз испытывать с закреплением ручки режимного переключателя ВР в соответствии с типом колодок («СР» - композиционные колодки, «ГР» – чугунные)снизить давление в М 0,054±0,001 Мпа. При этом тормоз должен прийти в действие и не отпускать в течение 5 мин. Затем повысить давление в М до зарядного – тормоз должен отпустить за время не более 70с.
После зарядки тормоза снизить давление в М до 0,35±0,01 Мпа. Давление в ТЦ должно быть 0,14-0,23 Мпа. Наблюдаемое по манометру падение давление в ЗР с установившегося в нём после торможения не должно превышать 0,01 Мпа за 3 мин, а при давлении в М до зарядного произойдёт полный отпуск тормозов.
После зарядки тормоза включить ВР на горный и груженый режим и «С» в зависимости от типа колодок, и на вагонах с АРЖ подложить под упор вилки АРЖ прокладку толщиной 32-1 мм. Снизить давление в М до 0,35 Мпа. Давление в ТЦ должно быть 0,28-0,35 Мпа при композиционных колодках и 0,39-0,45 Мпа – при чугунных. При повышении давления в М до зарядного должен произойти полный отпуск тормоза.
При проверке воздухопровода: его заряжают давлением до 0,6 Мпа, после чего его обстукивают молотками и обмывают все соединения. Образование мыльных пузырей недопустимо.
По окончанию проверки тормоза ВР включить на порожний режим. У вагонов, оборудованных АРЖ, проверить закрепление режимного переключателя ВР на соответствующий режим («ГР» – чугунные колодки; «СР» – композиционные).
6.8. Проверка обеспеченности поезда тормозными средствами и правильность включения режимов ВР
Все поезда, отправляемые со станции, должны быть обеспечены тормозами с гарантированным нажатием тормозных колодок в соответствии с нормативами по тормозам, утвержденными МПС.
В исключительных случаях, вследствие отказа автотормозов у отдельных вагонов в пути следования поезд может быть отправлен с промежуточной станции с тормозным нажатием менее установленного нормативами до первой станции, где имеется пункт технического обслуживания вагонов, с выдачей машинисту предупреждения об ограничении скорости. Порядок отправления и следования таких поездов устанавливается начальником дороги.
Фактический вес грузовых вагонов в составах поездов определять по поездным документам.
Для удержания на месте после остановки на перегоне в случае неисправности автотормозов грузовые поезда должны иметь ручные тормоза и тормозные башмаки в соответствии с нормами.
При отказе автотормозов в пути следования во всем поезде следовать дальше можно только после восстановления их действия. В противном случае поезд выводится с перегона вспомогательным порядком, установленным Инструкцией по движению поездов и маневровой работе на железных дорогах.
Список использованной литературы
1. Методическое указание “Выбор тормозной системы подвижного состава”, Москва 1985г. МИИТ.
2. Иноземцев В.Г. и др. “Автоматические тормоза”, Москва Транспорт, 1981г.
3. Методическое указание “Вопросы расчёта и проетирования механической части тормозной системы вагонов”, Москва 1996г. МИИТ.
4. Методическое указание “Расчёт силовой и механической части тормозной системы”, Москва 1974г. Лариохин В.И.
5. Иноземцев В.Г. “Тормоза ж.д. подвижного состава”, Москва Транспорт 1979г.
6. Крылов В.И. и др. «Справочник по тормозам».
Похожие рефераты:
Проектирование восьмиосной цистерны модели 15-1500
Технология обработки поездов в парке приема
Основные приборы и механизмы тягового электровоза
Тормозная система автомобиля. Устройство и работа
Тормозные механизмы автомобиля КамАЗ: ремонт и техническое обслуживание
Ремонт тормозных систем с гидравлическим приводом
Ремонт и техническое обслуживание тормозных систем легкового автомобиля
Организация работы сортировочной станции
Тормозная система с пневматическим приводом
Проектирование тормозной схемы электровоза
Железнодорожный транспорт Украины
Грузовые вагоны нового поколения
Технология ремонта рабочей тормозной системы ГАЗ-3307
Техническая характеристика, устройство и работа тормозной системы автомобиля ВАЗ-2106
