| Похожие рефераты | Скачать .docx |
Дипломная работа: Технология ремонта рабочей тормозной системы ГАЗ-3307
Федеральное агентство по образованию
Государственное образовательное учреждение
высшего профессионального образования
Ярославский государственный технический университет
Кафедра «Автомобильный транспорт»
Дипломная работа
Технология ремонта рабочей тормозной системы ГАЗ-3307
Работу выполнил
студент группы АТ-43
Ю.А. Щеголев
Реферат
ТОРМОЗНАЯ СИСТЕМА, РАБОЧАЯ ТОРМОЗНАЯ СИСТЕМА, ГЛАВНЫЙ ТОРМОЗНОЙ ЦИЛИНДР, ГИДРОВАКУУМНЫЙ УСИЛИТЕЛЬ, ЗАПОРНЫЙ КЛАПАН, СИГНАЛИЗАТОР НЕИСПРАВНОСТИ ГИДРОПРИВОДА, ДИАФРАГМА,КЛАПАН ДАВЛЕНИЯ.
Объектом исследования является рабочая тормозная система автомобиля ГАЗ-3307.
Цель работы – анализ конструкции рабочей тормозной системы автомобиля ГАЗ-3307 и технология ремонта главного тормозного цилиндра с гидровакуумным усилителем. В процессе работы были выявлены основные неисправности рабочей тормозной системы и изучены методы их устранения, а также разработана маршрутная карта сборки главного тормозного цилиндра с гидровакуумным усилителем.
Содержание
Введение
1. Анализ конструкции рабочей тормозной системы ГАЗ-3307
1.1Назначение рабочей тормозной системы ГАЗ-3307 и ее особенности
1.2Особенности работы рабочей тормозной системы ГАЗ-3307
2. Анализ характерных неисправностей рабочей тормозной системы ГАЗ-3307
2.1Анализ условий работы рабочей тормозной системы ГАЗ-3307
2.2Основные неисправности рабочей тормозной системы и порядок их устранения
3. Технология ремонта главного цилиндра с гидровакуумным усилителем
3.1Порядок снятия главного цилиндра с гидровакуумным усилителем
3.2Порядок разборки главного цилиндра с гидровакуумным усилителем
3.3Порядок сборки главного цилиндра с гидровакуумным усилителем
3.4Порядок испытаний главного цилиндра с гидровакуумным усилителем
Заключение
Список использованной литературы
Введение
Тормозной системойавтомобиля называется совокупность устройств, приборов и деталей, предназначенных для замедления скорости движения автомобиля, полной его остановки и удержания на месте. Тормозная система помогает поддерживать постоянную скорость при движении на затяжных спусках. Хорошие тормозные качества автомобиля имеют большое значение для обеспечения безопасности движения в любых дорожных условиях и для достижения хороших эксплуатационных показателей. Наличие надежных тормозов позволяет автомобилю двигаться на больших скоростях.
К тормозным системам предъявляются следующие требования:
быстрое срабатывание после приведения тормозов в работу;
равномерное распределение тормозного усилия на все мосты и колеса автомобиля;
обеспечение пропорциональности распределения тормозного усилия на педали тормоза с тормозным усилием на всех колесах;
обеспечение необходимой плавности торможения;
обеспечение устойчивого, без заносов, движения автомобиля при торможении;
высокая стабильность регулировки тормозных механизмов и их привода;
хороший отвод тепла от тормозных механизмов.
Тормозная система состоит из тормозных механизмов, которые обеспечивают затормаживание силовой передачи, и тормозного привода, обеспечивающего работу тормозных механизмов. На автомобилях чаще всего имеются следующие виды тормозных систем:
рабочая, предназначенная для регулирования скорости движения автомобиля и его остановки с необходимой эффективностью;
стояночная, служащая для удержания автомобиля на месте после остановки. В стояночных тормозных системах используются тормозные механизмы рабочей тормозной системы или трансмиссионные;
вспомогательная, предназначенная для длительного поддержания постоянной скорости движения или для ее регулирования. На тяжелых автомобилях в качестве вспомогательной тормозной системы обычно применяется моторный тормоз, действующий как противодавление на поршни при перекрытой выпускной системе. На автобусах и карьерных самосвалах в качестве вспомогательного тормоза могут использоваться специальные гидравлические и электрические механизмы;
запасная, используемая для остановки автомобиля с необходимой эффективностью при выходе из строя рабочей тормозной системы. Запасные тормозные системы обычно являются частью рабочих тормозных систем и используют общие с ними тормозные механизмы и тормозные приводы.
Применяют два способа торможения:
• торможение только тормозами. В этом случае тормозная система сама замедляет скорость движения автомобиля;
• торможение с помощью тормозной системы и двигателя при отсутствии подачи топлива.
Работа сил трения в тормозном механизме при торможении расходуется на замедление движения автомобиля или его полную остановку, а кинетическая энергия, приобретенная в процессе разгона, превращается в тепло, которое рассеивается в окружающее пространство.
При торможении двигателем последний остается соединенным с трансмиссией, и его коленчатый вал приводится во вращение от ведущих колес. Такое торможение может быть в паре с тормозами или без них. Торможение двигателем используется для замедления скорости движения на затяжных спусках, а также при движении в городских условиях для кратковременных торможений. Такой способ торможения уменьшает нагрузки и износ тормозной системы.
Интенсивность торможения двигателем зависит от включенной передачи, степени открытия дроссельных заслонок и включения зажигания.
Тормозные механизмы подразделяются:
• по расположению — на колесные и трансмиссионные;
• по форме вращающихся деталей — на барабанные, дисковые и шкивные;
• по форме трущихся поверхностей — на колодочные и ленточные.
Наибольшее распространение получили фрикционные тормоза, осуществляющие торможение за счет сил трения между неподвижными и подвижными вращающимися деталями. В дисковом тормозе силы трения создаются на боковых поверхностях вращающегося диска, в барабанном — на внутренней поверхности вращающего цилиндра, а в шкивном — на наружной поверхности вращающегося цилиндра (тормоз лебедки).
Наиболее полно предъявляемым к тормозам требованиям отвечают барабанные и дисковые тормоза. Они применяются на большинстве легковых и грузовых автомобилей, а также на автобусах. В последние годы все чаще стали применяться дисковые тормоза, которые хорошо охлаждаются при движении автомобиля.
Тормозной привод может быть механическим, гидравлическим и пневматическим.
Механический привод прост в устройстве, стоимость его не высока, но для получения необходимого тормозного эффекта от водителя требуются большие затраты мускульной энергии. Тормозной путь у такого привода очень большой. В настоящее время механический привод применяется только для стояночных тормозных систем.
Гидравлический приводимеет более сложное устройство, и он дороже. Основным недостатком привода является потребность больших затрат мускульной энергии для получения необходимого тормозного эффекта, поэтому применять его можно только на легковых автомобилях и на грузовых автомобилях малой и средней грузоподъемности. Вторым крупным недостатком является его «воздухобоязнь». Попадание даже небольшого количества воздуха в привод выводит тормоза из строя полностью.
Для облегчения управления тормозами с гидравлическим приводом применяются усилители. Наибольшее распространение получили гидровакуумные, вакуумные и пневматические усилители.
Пневматический приводимеет самое сложное устройство. Он намного сложнее и дороже гидравлического привода, но не требует затрат мускульной энергии для получения необходимого тормозного эффекта. Недостатком такого привода является большое время срабатывания тормозов по сравнению с гидравлическим приводом.
1. Анализ конструкции рабочей тормозной системы ГАЗ-3307
1.1 Назначение рабочей тормозной системы ГАЗ-3307 и ее особенности
Назначение тормозной системы — обеспечить быструю остановку и достаточное замедление скорости автомобиля, что является обязательным условием безопасности движения. Кроме того, в тормозной системе должно быть предусмотрено устройство для надежного удержания автомобиля на месте во время стоянки. Торможение автомобиля происходит в результате создания искусственного сопротивления вращению колес. С этой целью тормозной момент прикладывается или непосредственно к барабанам на самих колесах (колесные тормоза), или к барабану, установленному на трансмиссии (центральный тормоз). Центральный тормоз может действовать только на ведущие колеса.
Для быстрого торможения автомобиля необходимо использовать сцепной вес, приходящийся на все колеса. В связи с этим наиболее часто употребляемыми (рабочими) являются колесные тормозы, приводимые одновременно от педали тормоза. У современных автомобилей применяют приводы (от педали тормоза к колесным тормозам) двух типов — гидравлический и пневматический.
Общее устройство тормозов
Тормоза служат для быстрого снижения скорости или для полной остановки движущегося автомобиля, а также для удержания его на месте при стоянке.
Действие тормозов основано на трении между колодками и вращающимся барабаном или диском, связанным с колесами, а это создает силу трения между колесами и дорогой и вызывает замедление и остановку автомобиля. В простейших тормозах источником усилия, необходимого для создания трения, является физическая сила водителя, передаваемая через систему рычагов и тяг.

Рисунок 1.1-Тормозной механизм колеса.
Водитель, нажимая ногой на педаль 4 через тягу 3 и рычаг 2, поворачивает разжимной кулак 10. При этом раздвигаются две колодки с фрикционными накладками 1, укрепленные на неподвижном диске 6 на оси 7. Колодки прижимаются к вращающемуся вместе с колесом 6 тормозному барабану 5 и останавливают его. Растормаживаиие осуществляется пружиной S, стягивающей колодки при освобождении педали.
Тормоза, установленные на автомобилях, различаются по форме трущихся поверхностей, расположению на автомобиле и типу привода. По форме трущихся поверхностей тормоза подразделяются на колодочные, ленточные и дисковые. В колодочных тормозах трущиеся поверхности изготовляются в виде барабана и прилегающих к нему колодок. В ленточных трение происходит между барабаном и лентой. У дисковых тормозов трущимися поверхностями служат вращающийся диск и прилегающий к нему башмак или колодки.
По расположению на автомобиле различают тормоза, действующие на колеса и на силовую передачу. Основными являются первые. Вторые же предназначены для удержания автомобиля на месте и лишь в крайних случаях для торможения при движении.
Если торможение одного и того же барабана или диска осуществляется двумя независимо действующими системами колодок или лент, то такие тормоза называются двойными.
Устройство Тормозной системы ГАЗ-3307
Автомобиль оборудован рабочей и стояночной тормозными системами. Рабочая тормозная система состоит из четырех тормозных механизмов и гидравлического привода, который имеет диагональное разделение контуров. Один контур гидропривода обеспечивает работу правого переднего и левого заднего тормозных механизмов, другой — левого переднего и правого заднего. Это значительно повышает безопасность вождения автомобиля. В гидравлический привод включены вакуумный усилитель и двухконтурный регулятор давления задних тормозов. Первый снижает усилие на тормозной педали, второй повышает безопасность движения автомобиля. Помимо гидравлического привода, тормозные механизмы задних колес имеют механический привод от рычага стояночного тормоза, установленного на полу кузова.
1.2 Особенности работы рабочей тормозной системы ГАЗ-3307
Тормозные механизмы передних и задних колес одинаковы по конструкции и отличаются размерностью отдельных входящих деталей. Тормозные механизмы передних колес имеют цилиндры с поршнями 35 мм и накладки шириной 80 мм. Тормозные механизмы задних колес имеют цилиндры с поршнями 38 мм и накладки шириной 100 мм.
Тормозной механизм колеса (рис. 1.3) с одной заклинивающей и одной отжимной колодками состоит из тормозного щита 6, колесного цилиндра 2 с экраном 3. Положение колодок 1 в механизме регулируется с помощью латунных эксцентриков 10 опорных пальцевой регулировочными эксцентриками 16.

Рисунок 1.2- Схема привода тормозного механизма
1,9 — соответственно передний в задний тормозные механизмы; 2 — впускная труба двигателя; 3 — запорный клапан; 4 — лампа сигнализатора; 5 — сигнализатор неисправности гидропривода; б — главный цилиндр; 7 -дополнительный бачок; 8 — воздушный фильтр; 10, П — соответственно гидровакуумные усилители задних и передних тормозов

Рисунок 1.3- Тормозной механизм колеса 1 — тормозная колодка; 2 — Колесный цилиндр; 3 — экран колесного цилиндра; 4 — возвратная пружина ко-.гадок; 5 — направляющая скоба колодок; 6 — тормозной щит; 7 — пружинная шайба; в — гайка; 9 — стопорный палец тормозной колодки; 10 — эксцентрики опорных пальцев; 11 — пластина опорных пальцев; 12 — метки; 1.1 — болт регулировочного эксцентрика; 14 — шайба; /5 — смотровой люк; 16 - регулировочный эксцентрик
![]() |
Колодки прижимаются к регулировочным эксцентрикам стяжной пружиной 4. Каждая колодка центрируется независимо одна от другой. На наружном торце каждого опорного пальца сделана метка 12 (углубление 2 мм), показывающая положение наибольшего эксцентриситета эксцентрика опорного пальца. При правильной установке колодок метки 12 должны быть обращены одна к другой, как показано на рис. 1.3. Допускается отклонение поворота меток от указанного положения в пределах40°.
Главный тормозной цилиндр (рис. 1.4) снабжен двумя последовательно расположенными поршнями 3 и 8 с прозрачным двухсекционным бачком для тормозной жидкости, который установлен под капотом автомобиля. На первичном 8 и вторичном 3 поршнях установлены подвижные головки 6 с уплотнительными торцовыми кольцами 7 и манжетами 11. Головки удерживаются на поршнях с помощью упорных стержней 5, которые впрессовываются в поршни. Головки поджимаются к поршням пружинами 15, а поршни в сборе с головками и уплотнителями прижимаются к упорным болтам 10 возвратными пружинами 4. Суммарный рабочий ход поршней 38 мм. При этом ход первичного поршня 21 мм, ход вторичного поршня 17 мм. В верхних частях первичного 12 и вторичного 2 картеров установлены клапаны избыточного давления 1 с пружинами 16.
Главный цилиндр через толкатель 9 соединяется с тормозной педалью. В расторможенном положении поршни 3 и 8 главного цилиндра через головки упираются в упорные болты 10, в результате чего между поршнем и головкой образуется зазор для прохода жидкости из бачка в рабочие полостицилиндра.
При торможении толкатель 9 перемещает первичный поршень 5. При этом головка под действием пружины 15 прижимается через уплотнитель 7 к поршню, разобщая жидкость в бачке от жидкости первичной рабочей полости цилиндра. При движении поршня жидкость из рабочей полости цилиндра проходит через отверстия в пластине клапана избыточного давления 1 и, обжимая резиновый поясок клапана от пластины, поступает в трубопровод, идущий к колесным цилиндрам задних тормозных механизмов. Одновременно жидкость, находящаяся в первичной рабочей полости цилиндра, действует на вторичный поршень3, который в свою очередь вытесняет жидкость в трубопровод, идущий к передним тормозным механизмам.
При растормаживании поршни 3 и 8 под действием возвратных пружине перемещаются к исходному положению до упора головок 6 в болты 10, Если педаль тормоза освобождается резко, поршни главного цилиндра возвращаются быстрее, чем жидкость из колесных цилиндров. В этом случае в рабочих полостях главного цилиндра создается разрежение, под действием которого головки отходят от поршней, образуя торцовый зазор, и жидкость из бачка заполняет рабочие полости цилиндров. При упоре поршней в болты 10 избыток жидкости через торцовый зазор возвращается обратно в бачок главного цилиндра. Система расторможена и готова к последующему торможению.
Выход из строя одного из контуров тормозного привода сопровождается увеличением хода тормозной педали.
Однако запаса хода педали при этом достаточно для создания в исправном контуре давления тормозной жидкости, необходимого для торможения.
Гидровакуумный усилитель диафрагменного типа служит для увеличения давления в тормозном приводе, чем снижает усилие на тормозной педали.
При выходе из строя гидровакуумного усилителя или нарушении герметичности вакуумного трубопровода резко снижается эффективность торможения.
Принцип действия усилителя заключается в использовании разрежения во впускной трубе двигателя для создания дополнительного давления в системе гидравлического привода рабочей тормозной системы.
Гидровакуумный усилитель (рис. 1.5) состоит из камеры усилителя, гидравлического цилиндра и клапана управления. Камера усилителя образуется из двух корпусов. Передний корпус через вакуумный трубопровод и запорный клапан соединен с впускной трубой двигателя, а задний корпус с помощью резинового шланга — с корпусом клапана управления. Между корпусами установлена резиновая диафрагма 2, которая удерживается между ними с помощью двух хомутов. Внутренней частью диафрагма крепится на толкателе (штоке) с помощью тарелки, шайбы и гайки. На тарелку действует возвратная пружина.

В корпусе гидравлического цилиндра находится поршень, который через штифт соединен с толкателем штока. Между поршнем и штоком расположен пластинчатый толкатель клапана, который воздействует на шарик клапана. На поршне установлена уплотнительная резиновая манжета. Поршень упирается в упорную шайбу. В цилиндре имеется корпус уплотнителей с резиновыми манжетами, в котором перемещается шток.
Клапан управления усилителя состоит из корпуса, крышки, поршня с манжетами и диафрагмой, которая крепится на клапане с помощью плоской зубчатой шайбы. В корпусе расположены возвратная пружина клапана, вакуумный и атмосферный клапаны, посаженные на общий стержень. Атмосферный клапан прижимается к седлу пружиной. Крышка клапана через воздушный трубопровод соединена с воздушным фильтром (см. рис. 1.2) усилителя.
При работе двигателя во впускной трубе создается разрежение, которое через вакуумный трубопровод и запорный клапан передается в полость первичнойкамеры усилителя и затем через Г-образное отверстие в цилиндре—в полость V клапана управления. Далее разрежение распространяется через центральное отверстие в клапане в полость IV, откуда через шланг — в полость /// вторичной камеры усилителя.
![]() |
Таким образом, во всех полостях камеры усилителя и клапана управления создается одинаковое разрежение, а детали усилителя занимают положение, показанное на рис. 1.5.
При нажатии на тормозную педаль из полостей главного цилиндра тормозная жидкость под давлением поступает в усилители. Давлением жидкости перемещается поршень клапана управления. При этом клапан управления в начале хода садится седлом на резиновый вакуумный клапан, разобщая в гидровакуумном усилителе полости / и V от полостей // и IV. При дальнейшем движении поршня клапана управления отходит от своего седла атмосферный клапан. В результате воздух из полости /// крышки клапана управления поступает в полость IV клапана управления и далее через шланг в полость / камеры гидровакуумного усилителя тормозов. Под действием разности давлений (атмосферного воздуха и разрежения) диафрагма перемещает толкатель поршня с поршнем силового цилиндра усилителя. В поршень под действием пружинки шарик садится в седло поршня, отсоединяя гидравлическую полость высокого давления от полости низкого давления. В результате этого на поршень со стороны полости низкого давления действуют давление от главного цилиндра и силы от штока. Давление передается в колесные цилиндры тормозных механизмов.
Пропорционально усилию нажатия на тормозную педаль создается давление в тормозной системе. Пропорциональность достигается за счет работы клапана управления. На поршень клапана управления действует жидкость под давлением, созданным в
главном цилиндре. Величина давления пропорциональна усилию нажатия на тормозную педаль. Поскольку под действием давления жидкости клапан управления открывает атмосферный клапан, в полость / V клапана управления и полость/ камеры усилителя будет поступать воздух до тех пор, пока сила, полученная от давления воздуха на диафрагму клапана управления, не уравновесит силу от давления жидкости на поршень. В этом случае оба клапана (атмосферный и вакуумный) сядут на свои седла.
Таким образом, в полостях / и /V создается вполне определенное давление, пропорциональное усилию нажатия на тормозную педаль.
В случае увеличения нажатия на педаль откроется атмосферный клапан, и часть воздуха поступит в полости IV и I, чем увеличит давление жидкости в системе. Приуменьшении усилия нажатия на педаль под действием находящегося воздуха над диафрагмой клапан управления переместится вниз. При этом откроется вакуумный клапан, и часть воздуха из полостей IV над диафрагмой и из полости / камеры поступит в двигатель.
Давление воздуха в камере уменьшится, а следовательно, уменьшится и гидравлическое давление в системе. В клапане управления создается равенство сил от давления жидкости на поршень и воздуха на диафрагму клапана управления.
При снятии усилия с тормозной педали гидравлическое давление под поршнем клапана управления надает, и клапан управления под действием давления воздуха и пружины возвращается в исходное положение. Атмосферный клапан закрывается, а вакуумный открывается, в результате чего воздух из клапана управления и камер усилителя поступит в двигатель. Во всех полостях усилителя устанавливается разрежение (вакуум). Система расторможена и готова к последующему торможению.
Воздушный фильтр 8 (см. рис. 1.2) установлен на поле кабины и соединен трубопроводами с гидровакуумными усилителями тормозов. Фильтр состоит из корпуса, крышки и фильтрующего элемента в виде капроновой путанки. Забор воздуха из кабины и прохождение его через воздушный фильтр обеспечивают качественную его очистку.
Запорный клапан (рис. 1.6) состоит из корпуса 1, штуцера 5, резинового клапана 3 и пружины 2. Под действием разрежения, возникающего во впускном коллекторе двигателя, резиновый клапан отходит от седла и разрежение поступает в гидровакуумные усилители. В случае снижения разрежения в двигателе резиновый клапан под действием пружины прижимается к седлу и обеспечивает сохранение наибольшего разрежения в гидровакуумных усилителях.
![]() |
Рисунок 1.7-Сигнализатор неисправности гидропривода
Сигнализатор неисправности гидропривода (рис. 1.7) соединен с полостями главного тормозного цилиндра. Он состоит из корпуса 5, поршней 1 и 2 с уплотнительными резиновыми кольцами, шарика 3 и датчика 4. В случае выхода из строя одного из контуров раздельного привода тормозов под действием разности давления при первом же нажатии на тормозную педаль поршни перемещаются в сторону меньшего давления. Шарик 3 выходит из канавки, и контакты датчика 4 замыкаются. На панели приборов при этом загорается красная контрольная лампа. После обнаружения и устранения неисправности прокачивают поврежденный контур.
2.Анализ характерных неисправностей рабочей тормозной системы ГАЗ-3307
2.1 Анализ условий работы рабочей тормозной системы ГАЗ-3307
Элементы всех систем автомобиля, в том числе и тормозной, работают в довольно тяжелых условиях окружающей среды. Для европейской территории России характерен значительный перепад температур в течение года – от минус 30..35 градусов зимой до плюс 35..37 градусов в летние месяцы на солнце, так же возможен и значительный перепад среднесуточных температур. А в зимнее время условия работы осложняются еще и наличием на дорогах агрессивной, которая содержит талый снег, так же на дорогах находятся нефтепродукты, дорожная соль или другие реагенты, которыми могут обрабатываться дороги для предупреждения их обледенения, и механические элементы – грязь, камни – все это негативно сказывается на надежности агрегатов автомобилей.
И в таких условиях работают все элементы тормозной системы – гидровакуумный усилитель, главный тормозной цилиндр, трубопроводы с переходниками и штуцерами и тормозные механизмы – расположены в нижней части автомобилей и не защищены от непосредственного воздействия внешней среды или защищены только отчасти алюминиевой защитой картера. Отсюда и возникает большинство неисправностей: механическое воздействие приводит к вмятинам, разрушению трубопроводов, дорожная пыль засоряет фильтры вакуумного усилителя и может попадать через бачки в саму тормозную жидкость, что приводит к ускоренному износу деталей главного и рабочих тормозных цилиндров; грязь, вода и нефтепродукты вызывают окисление и разрушение трубопроводов и уплотнений и, соответственно, утечки тормозной жидкости, так же возможно их попадание непосредственно в тормозные механизмы, приводящее к выходу их из строя – поломке возвратных пружин, замасливанию или заклиниванию тормозных колодок.
К сожалению, бороться с таким воздействием внешней среды не представляется возможным, поэтому остается только модернизировать саму тормозную систему, делая ее более защищенной от внешних воздействий или менее к ним чувствительной. В такие меры входит антикоррозионная обработка открытых элементов, установка механической защиты – экранов, отражателей, и использование вместо барабанных тормозных механизмов дисковые, которые зарекомендовали себя как более надежными в любых условиях.
2.2 Основные неисправности рабочей тормозной системы и порядок их устранения
Таблица 2.1- Основные неисправности рабочей тормозной системы и порядок их устранения.
| Номер по порядку | Признак неисправности | Причина неисправности | Способ устранения |
| 1 | Увеличенный ход тормозной педали | Увеличенные зазоры между фрикционными накладками колодок и тормозными барабанами | Провести текущую регулировку тормозных механизмов с помощью регулировочных эксцентриков. Если фрикционные накладки сильно изношены (до головок заклепок осталось менее 0,5 мм), то заменить их новыми л выполнить полную регулировку тормозных механизмов |
| Неправильная установка тормозных колодок | Выполнить полную регулировку тормозных механизмов | ||
| Изношены эксцентрики опорных пальцев колодок | Заменить изношенные эксцентрики, после чего выполнить полную регулировку тормозных механизмов | ||
| Недостаточный уровень жидкости в главном цилиндре | Долить необходимое количество жидкости | ||
| Наличие в системе воздуха | Прокачать систему | ||
| Течь жидкости через соединения трубопроводов | Установить места течи и плотно затянуть соединение. Если течь не прекращается, заменить поврежденные детали новыми | ||
| Течь жидкости из колесных цилиндров или уплотнительных манжет штока гидровакуумного усилителя | Заменить поврежденные манжеты. При повреждении поверхности колесного цилиндра или штока усилителя заменить их | ||
| Повреждение манжет или торцовых уплотнительных колец головок поршней главного цилиндра | Заменить поврежденные манжеты или кольца | ||
| 2 | Тормозные механизмы не растормаживаются | Отсутствие зазора между толкателем и поршнем главного цилиндра | Отрегулировать свободный ход педали |
| Разбухание резиновых манжет вследствие попадания в систему минерального масла или тормозной жидкости, не рекомендованных заводом | Слить тормозную жидкость, разобрать все узлы гидропривода, промыть в спирте их детали. Промыть тормозную систему. Заменить все резиновые уплотнители. Перед сборкой детали узлов и рабочие поверхности цилиндров смазать касторовым маслом или тормозной жидкостью | ||
| Заедание поршня цилиндра гидровакуумного усилителя тормозов | Промыть систему спиртом и заменить жидкость. Если дефект не устранен, снять усилитель, проверить состояние рабочих поверхностей цилиндра, поршня и при необходимости заменить поврежденные детали | ||
| Заедание поршня клапана управления гидровакуумного усилителя тормозов при возвращении в исходное положение после прекращения нажатия на педаль | Снять клапан управления, промыть его поршень и манжеты, а также отверстие в цилиндре жидкостью. Заменить поврежденные манжеты или пружину, если она при сжатии до высоты 17 мм не обеспечивает нагрузку (2,5±.2,5) Н | ||
| 3 | Не растормаживается один тормозной механизм | Ослабла или поломалась стяжная пружина колодок тормоза | Заменить пружину, если она растянулась до длины 227 м и не обеспечивает нагрузку 340—390 Н |
| Колодка туго вращается на опорном пальце | Разобрать тормозной механизм и устранить причину заедания | ||
| Заедание поршня в колесном цилиндре вследствие коррозии или засорения | Разобрать цилиндр, промыть детали спиртом. При необходимости поверхность цилиндра зачистить мелкозернистой шлифовальной шкуркой. Перед сборкой промытые детали смазать тонким слоем касторового масла. | ||
| 4 | При торможении автомобиль уводит в сторону | Неодинаковое давление воздуха в шинах левых и правых колес | Установить в шинах требуемое давление |
| Замасливание н Замасливание накладок тормозных колодок в одном из тормозных механизмов | Заменить колодки или удалить замасливание промыванием накладок тормоза в бензине с последующим шлифованием мелкой шкуркой и тщательным удалением абразивной пыли с накладок | ||
| Задиры или глубокие риски на рабочей поверхности барабана | Расточить барабан на глубину риски. Если риски глубже 1,5 м , то следует заменить барабан в сборе со ступицей | ||
| 5 | Большое усилие на педали из-за неисправности гидровакуумного усилителя или его системы | Неплотности в соединениях вакуумного трубопровода или запорного клапана | Устранить неплотности в соединениях трубопровода или запорного клапана |
| Засорение воздушного фильтра усилителя | Промыть фильтр в бензине, смазать маслом и поставить на место | ||
| Порвана диафрагма камеры усилителя | Заменить диафрагму | ||
| Неплотное прилегание шарика к седлу поршня или разрушение манжеты поршня | Разобрать усилитель, промыть поршень, шарик. Заменить поврежденную манжету и жидкость в системе |
3.Технология ремонта главного цилиндра с гидровакуумным усилителем
3.1 Порядок снятия главного цилиндра с гидровакуумным усилителем
Главный тормозной цилиндр:
Отсоединяют от главного цилиндра шланги и выливают жидкость в чистый сосуд. Отсоединяют от соединительных муфт две трубки, идущие от главного цилиндра. Заглушают трубки колпачками от клапанов прокачки. Отсоединяют провода от включателей сигнала "Стоп". Отсоединяют шток главного цилиндра от тормозной педали. Отсоединяют главный цилиндр от кронштейна педалей, а поддерживающий кронштейн — сначала от лонжерона рамы, затем от цилиндра.
Гидровакуумный усилитель тормозов:
Очищают усилитель и трубопроводы, присоединенные к нему, от пыли и грязи. Отсоединяют две гидравлические и одну воздушную трубки, резиновый шланг вакуумного трубопровода. Сливают в сосуд тормозную жидкость из усилителя. Снимают усилитель в сборе с кронштейнами. Снимают муфту с болтом и медными прокладками гидравлического трубопровода.
3.2 Порядок разборки главного цилиндра с гидровакуумным усилителем
Главный тормозной цилиндр:
Очищают наружную поверхность цилиндров. Отсоединяют муфты с медными прокладками. Выливают из цилиндра жидкость, а затем, нажав несколько раз на поршень, сливают в сосуд остатки тормозной жидкости. Отвертывают два штуцера подвода жидкости из бачка главного цилиндра и вынимают клапаны 1 избыточного давления с пружинами (см. рис. 1.4).
Снимают защитный резиновый чехол с корпуса цилиндра и вынимают толкатель поршня главного цилиндра. Отвертывают два болта, соединяющие корпуса главного цилиндра, снимают с вторичного корпуса резиновые уплотнительные кольца, вынимают возвратную пружину 4 первичного поршня.
Устанавливают вторичный корпус главного цилиндра в тиски, как показано на рис. 3.1, и отвертывают упорный болт вторичного поршня. Вынимают вторичный поршень 3 (см. рис. 1.4) с возвратной пружиной, снимают уплотнительную манжету с головки поршня и резиновые кольца с поршня. Устанавливают первичный корпус главного цилиндра в тиски, отвертывают упорный болт, вынимают поршень, снимают уплотнительную манжету с головки поршня и резиновое кольцо с поршня. Выпрессовывают упорные стержни из поршней с помощью
![]() |
Рисунок 3.1-Разборка вторичного корпуса главного тормозного цилиндра
приспособления, указанного на рис. 3.2. Вынимают уплотнительное кольцо 7 (см. рис. 1.4) из головки поршня. При дефектах на рабочих поверхностях цилиндров или односторонних износах их заменяют новыми. Резиновые манжеты, уплотнительные кольца заменяют новыми при каждой разборке главного цилиндра. Номинальные и ремонтные размеры деталей цилиндров колесных тормозных механизмов даны в приложении 4.

Рисунок 3.2- Разборка поршня главного тормозного цилиндра:
/ — корпус приспособления; 2 — фиксирующий болт (М8Х20) от главного тормозного цилиндра; 3 — штифт ( 0 6Х 8 мм); 4 — накидная гайка; 5 —втулка приспособления; 6 — поршень главного тормозного цилиндра.
![]() |
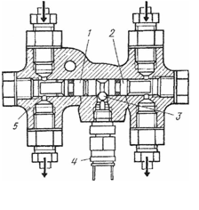
Гидровакуумный усилитель тормозов: Устанавливают усилитель в тиски, а между губками тисков — медные прокладки. Отъединяют резиновый шланг 63 от задней половины корпуса камеры усилителя, а затем отвертывают его вместе со штуцером 31 от корпуса клапана управления. Делают метки на корпусах 1 и 13 для обеспечения последующей правильной их сборки, а также на гидравлическом цилиндре 47 и корпусе 13, прилегающем к нему. Снимают два хомута 10 с корпуса усилителя. Удерживая рукой диафрагму (рис. 3.5), отвертывают гайку толкателя. Снимают последовательно пружинную шайбу гайки, малую тарелку 4 (см. рис. 3.3) диафрагмы, диафрагму 5, распорную втулку 6, большую тарелку/диафрагмы, пружину 8. Осторожно снимают резиновое кольцо 11 вместе с шайбой 12 толкателя 21. Снимают переднюю половину корпуса 13, картонную прокладку 14. Отвертывают торцовую пробку 49 и снимают медную прокладку 48. Открывают корпус уплотнителей 18 цилиндра. Вынимают манжеты 17из корпуса уплотнителей и снимают резиновое кольцо 19. Вынимают поршень с толкателем из цилиндра в сторону, показанную на рис. 3.4. Расшплинтовывают поршень, снимают колпак55(см. рис. 3.3) манжеты, вынимают из поршня пружину 57, шариковый клапан 24, снимают манжету 56 с поршня.
Выпрессовывают из поршня штифт. Вынимают толкатель (шток) 21 поршня 23 и пластинчатый толкатель 22 шарикового клапана. Легким нажимом вынимают из цилиндра упорную шайбу 20 поршня, вывертывают перепускной клапан 45 с колпачком 46 из цилиндра 47 усилителя и штуцер 43 с медной прокладкой 44. Снимают крышку 29 корпуса 42 клапана управления с прокладкой 41. Снимают корпус 42 клапан а управления и вынимают из цилиндра клапан управления 38. Вынимают пружину 25 из корпуса клапана, клапаны 26 и их пружину 28.
С помощью отвертки, как показано на рис. 3.6, снимают плоскую фигурную шайбу 32 (см. рис. 3.3) с клапана управления, шайбу 33 диафрагмы и диафрагму 34. Снимают уплотнитель-ную манжету 36 с нижнего конца поршня 37 клапана управления. В случае плохого состояния уплотнительной манжеты верхнего конца поршня клапана его выпрессовывают (рис. 3.7). Снимают манжету поршня.
![]() |
Рисунок 3.4- Извлечение поршня с толкателем из цилиндра

Рисунок 3.5 - Снятие диафрагмы
![]() |
Рисунок 3.6 - Разборка клапана управления
3.3 Порядок сборки главного цилиндра с гидровакуумным усилителе
![]() |
Главный .тормозной цилиндр:
Рисунок 3.7-Выпрессовка поршня из клапана давления
Перед сборкой все детали промывают в чистом спирте или тормозной жидкости и обдувают сжатым воздухом. Манжеты, поршни, головки и рабочие поверхности корпусов смазывают тонким слоем касторового масла. При его отсутствии детали смазывают тормозной жидкостью "Роса", "Томь" или "Нева". Сборку проводят в следующем порядке.Устанавливают на головки поршней уплотнительные манжеты 2 и торцовые уплотнительные кольца (см. рис. 1.4). Проверяют, чтобы рабочая кромка уплотнительного кольца равномерно выступала на 0,2 — 0,6 мм над торцовой поверхностью головки.
Надевают на упорные стержни 5 поршней пружины 15, головки 6 и запрессовывают стержни в поршни. После запрессовки упорных стержней оттягивают головку 6 от поршня и проверяют торцовый зазор между ними, который должен быть 1,1 — 1,4 мм. Зазор проверяют двумя щупами, вставляя их одновременно с диаметрально противоположных сторон.
Надевают на поршни уплотнительные резиновые кольца 13 и возвратные пружины 4. Зажимают фланец вторичного картера в тиски. Устанавливают вторичный поршень 3 с пружиной в корпус так, чтобы пазы поршня располагались напротив боковых отверстий корпуса, а затем, продвинув поршень внутрь, завертывают упорный болт 10, установив под его головку новую медную прокладку. Устанавливают первичный поршень 8 в картер цилиндра и завертывают упорный болт с медной прокладкой. На вторичный картер цилиндра устанавливают уплотнительные резиновые кольца 14 и соединяют корпуса между собой. Устанавливают в картеры клапаны избыточного давления 1 и завертывают штуцера, болты с надетыми на них муфтами с медными прокладками. Вставляют толкатель 9 с защитным чехлом.
Гидровакуумный усилитель тормозов
![]() |
Перед сборкой гидровакуумного усилителя детали промывают. Манжеты погружают в теплое касторовое масло или в тормозную жидкость температурой не менее 4-15 °С. Внутреннюю полость цилиндра смазывают касторовым маслом или тормозной жидкостью.
![]() |
Собирают гидровакуумный усилитель в порядке, обратном разборке. При сборке поршень с толкателем (штоком) устанавливают в цилиндр усилителя так, как показано на рис. 3.4. Не продвигают поршень в цилиндр усилителя более 100 мм от края цилиндра, чтобы не, повредить манжету поршня. Манжеты устанавливают в корпус уплотнителей (рис. 3.8 и 3.9). При сборке переднего корпуса камеры с цилиндром обеспечивают совмещение отверстий в корпусе, прокладке и цилиндре. При сборке заднего корпуса совмещают на корпусах метки, сделанные при разборке. Под гайки, болты которых используются для крепления усилителей, шайбы не ставят.
![]() |
Сборка клапана управления показана на рис. 3.10.
3.4 Порядок испытаний главного цилиндра с гидровакуумным усилителем
Главный тормозной цилиндр:
После установки главного цилиндра на автомобиле его заполняют тормозной жидкостью, прокачивают систему, а затем проводят окончательную проверку работоспособности главного цилиндра, для чего зажимают на тормозную педаль усилием 700 — 1000 Н и, удерживая ее в течение 0,5— 1 мин, осматривают места соединений корпусов, упорных стержней поршней, штуцеров, муфт, трубок. Малейшее подтекание тормозной жидкости недопустимо. В указанном положении не должно быть перемещения тормозной педали.
Проверку на герметичность клапанов избыточного давления главного цилиндра определяют на специальном стенде с помощью манометров, установленных вместо датчиков сигнала "Стоп". Клапаны избыточного давления должны удерживать давление не менее 40 кПа в течение 1 ч.
Гидровакуумный усилитель тормозов
При испытаниях определяют герметичность цилиндра усилителя, надежность уплотнительных манжет толкателя поршня, манжет клапана управления, резьбовых соединений цилиндра гидровакуумного усилителя. Для этого нажимают на педаль тормоза с усилием 700 — 1000 Н при отсутствии разрежения в системе и, удерживая педаль в течение 0,5— 1 мин, убеждаются в отсутствии течи жидкости из системы.
Проверяют, нет ли уменьшения уровня жидкости в резервуаре главного тормозного цилиндра; герметичность манжеты и клапана (шарика) поршня цилиндра усилителя. Для определения герметичности манжеты и клапана поршня нажимают на педаль тормоза с усилием 300 — 500 Н при отсутствии разрежения в системе. Затем пускают двигатель. При этом педаль приблизится несколько к полу кабины. Удерживая педаль с тем же усилием в течение 0,5 — 1 мин и не останавливая двигатель, убеждаются в отсутствии ее перемещения.
Для проверки растормаживаемости всей тормозной системы поднимают одно из передних колес автомобиля (при установке усилителя в передний контур) или задний мост (при установке усилителя в задний контур), при работающем двигателе нажимают на педаль, а затем отпускают ее. Колесо должно свободно вращаться.
Для проверки герметичности вакуумной камеры, клапана управления усилителя и всей системы вакуумного трубопровода пускают двигатель и, дав ему немного поработать, отключают его. Через 2 — 3 мин нажимают на педаль тормоза. При герметичности вакуумного трубопровода, запорного клапана, камеры усилителя и клапана управления должно слышаться шипение воздуха, поступающего в усилители через воздушный фильтр, расположенный в кабине водителя.
Заключение
В данной курсовой работе проанализирована конструкция рабочей тормозной системы автомобиля ГАЗ-3307 и изучена технология ремонта главного тормозного цилиндра с гидровауумным усилителем. А также были выявлены основные неисправности рабочей тормозной системы и изучены методы их устранения. В заключении была разработана маршрутная карта сборки главного тормозного цилиндра с гидровакуумным усилителем.
Список использованной литературы
тормозная система грузовой гидровакуумный
1. Автомобиль ГАЗ-3307: Устройство, технического обслуживания,
ремонт / А.М. Ширяев, Г.Ф. Анисимов, О.И. Загородзкий и др.; Под ред. Ю.В. Кудрявцева. - М.: Транспорт,1995.-254 с.
2. Пеханский А.П. Устройство автомобилей: Учебник для студ. учреждений сред. проф. Образования/ А.П. Пеханский, И.П. Пеханский. -М.;Издательский центр «Академия»,2005.-528 с.
3. СТО 701-2005.-Яр. : ЯГТУ, 2005.-51 с.
Размещено на http://www.
Похожие рефераты:
Тормозная система автомобиля. Устройство и работа
Тормозные механизмы автомобиля КамАЗ: ремонт и техническое обслуживание
Ремонт тормозных систем с гидравлическим приводом
Ремонт и техническое обслуживание тормозных систем легкового автомобиля
Полные ответы на билеты по автоделу (экзамен 2002)
Устройство, работа, неисправности, ремонт сцепления атомобиля КамАЗ
Тормозная система с пневматическим приводом
Развитие сервисного обслуживания автомобилей
Расчет внешних скоростных характеристик двигателя внутреннего сгорания
Конструкция и расчет легкового автомобиля ВАЗ-2106
Ремонт и обслуживание скважин и оборудования для бурения
Организация поста технического обслуживания и ремонта карбюраторов двигателей легковых автомобилей
Гальмівна система автомобіля ГАЗ-53
Модернизация двигателя мощностью 440 квт с целью повышения их технико-экономических показателей










