| Похожие рефераты | Скачать .docx |
Дипломная работа: Технология строительства теплотрассы
Содержание
Введение
1. Теплоснабжение
1.1 Расчет тепловых нагрузок
1.2 Построение графика качественного регулирования отпуска теплоты на отопление
1.3 Определение расхода сетевой воды, проходящей через калориферы системы вентиляции
1.4 График расходов сетевой воды
1.5 Механический расчет
1.6 Расчет ВВП, присоединенного по двухступенчатой смешанной схеме
1.7 Горячее водоснабжение
2. Автоматизация
3. Теплогенерирующие установки
4. Технология и организация строительных и монтажно-заготовительных работ
5. Охрана труда в строительстве
6. Экономика
7. Список литературы
Введение
Теплоснабжение является крупной отраслью народного хозяйства, одной из основных систем энергетики. На теплоснабжение народного хозяйства и населения расходуется около 1/3 всех используемых в стране энергетических ресурсов.
Основными направлениями совершенствования этой подсистемы является централизованное теплоснабжение. В начале XX века в связи с серийным производством электродвигателей получает развитие центральное водяное теплоснабжение.
Централизованное теплоснабжение базируется на использовании крупных районных котельных характеризующихся большим КПД, чем мелкие отопительные установки.
При децентрализованном теплоснабжении мелкие отопительные установки, являющиеся источником загрязнения воздушного бассейна, ликвидируются, вместо них используются крупные источники тепла, газовые выбросы которых содержат минимальные концентрации токсичных веществ. Таким образом, централизованное теплоснабжение способствует решению крупной задачи современности – охраны окружающей среды.
Развитие промышленности и широкое жилищно-коммунальное строительство вызывает непрерывный рост тепловой нагрузки, одновременно идет процесс концентрации этой нагрузки в крупных городах, что создаёт базу для дальнейшего развития. Перспективы развития централизованного теплоснабжения определяют большие задачи совершенствования и повышения эффективности строительства и эксплуатации источников, систем транспорта и потребления тепла.
В данной дипломной работе разработан проект теплоснабжения распределительного складского комплекса Томилина.
Расчетная температура для проектирования для Люберецкого района г.Москвы tпр =-28˚С.
Централизованная система теплоснабжения состоит из следующих основных элементов: источника теплоты, тепловой сети и местных потребителей. Источником теплоснабжения служит районная котельная.
В качестве теплоносителя используем горячую воду, которая от Энергоблока подаётся по двухтрубной системе в ИТП зданий складов и ИТП Административно-Бытового корпуса. Горячая вода поступает к потребителю по подающему трубопроводу, отдаёт тепло в теплообменниках и после охлаждения возвращается по обратному трубопроводу к источнику тепла. Таким образом, теплоноситель непрерывно циркулирует между источником теплоты и потребителями. Циркуляцию обеспечивает насосная подстанция источника теплоты.
Теплопроводы прокладывают в подземных непроходных каналах, бесканальным способом под газонами и надземно на низких и высоких опорах. Для сокращения теплопотерь при движении теплоносителя по трубопроводам применяем теплоизоляцию из минераловатных матов, применяются стальные трубы в ППУ изоляции.
Систему теплоснабжения автоматизируют, а количество подаваемого тепла регулируем в соответствии с требованием потребителей. Наибольшее количество тепла расходуется на отопление зданий. Отопительная нагрузка меняется с изменением наружной температуры. Добиваться высокого качества теплоснабжения, применяя только центральное регулирование не удается, поэтому на тепловых пунктах применяют дополнительное автоматическое регулирование.
Тепловые пункты обеспечивают подачу необходимого количества тепла в здании для их отопления и вентиляции. Расход воды на горячее водоснабжение непрерывно изменяется, и для поддержания устойчивого теплоснабжения гидравлический режим тепловых сетей автоматически регулируем, а температуру горячей воды поддерживаем постоянной.
Тепловые пункты
На территории комплекса предусматривается строительство Энергоблоке – газовой котельной.
В котельной на теплоносителе Т=130-70 С0 установливаются приборы учета тепловой энергии.
Теплоносителем для систем отопления, вентиляции и горячего водоснабжения корпусов будет являться вода с параметрами Т=95-70 С 0 .
Приготовление воды с параметрами Т=95-70 С0 осуществляется по независимой схеме присоединения теплообменников (фирмы "Альфа-Лаваль") к тепловым сетям.
Отвод случайных вод в котельной осуществляется в трап.
В котельной на местном щите управления предусматривается световая и звуковая сигнализация о включении резервных насосов и достижении следующих параметров:
- давления воды в подающем и обратном трубопроводах на вводе теплосети (мин.-макс.);.
- темературы воды,поступающей в систему (в тепловые сети); (мин.-макс.);
- заданного давления в обратном трубопроводе системы.
Предусмотрена возможность вывода аварийных сигналов в диспетчерскую.
Тепловые нагрузки по корпусам и видам теплопотребления см.Таблицу.
Присоединение к тепловым сетям систем отопления и вентиляции предусматривается по зависимой схеме.
Приготовление воды для системы горячего водоснабжения в складских корпусах с параметрами Т=65-50 С осуществляется по 2х ступенчатой схеме присоединения теплообменников к тепловым сетям.
Приготовление воды для системы горячего водоснабжения в АБК осуществляется электроподогревом.
В ИТП устанавливаются :
- узлы учета тепловой энергии;
- пластинчатые теплообменники фирмы "Альфа-Лаваль"(кроме АБК) ;
- циркуляционно-повысительные насосы ГВС фирмы "Грундфос". (1рабочий,1резервный) (кроме АБК);
- регулирующие клапаны приняты с электроприводом ,а также прямого действия , в АБК прямого действия.
Применяемая арматура и регулирующие клапаны – отечественные и импортные.
Отвод случайных вод в ИТП кладских корпусов (кроме №39) и АБК осуществляется в трап
Отвод случайных вод в корпусе №39 осуществляется в приямок где устанавливается дренажный насос с откачкой воды в хозбытовую канализацию.
В ИТП на местном щите управления предусматривается световая и звуковая сигнализация о включении резервных насосов и достижении следующих параметров:
- давления воды в подающем и обратном трубопроводах на вводе теплосети (мин.-макс.);.
- темературы воды,поступающей в систему ГВС и отопления (мин.-макс.);
- заданного давления в обратном трубопроводе системы.
ТЕПЛОСНАБЖЕНИЕ
1. Теплоснабжение
1.1 Расчет тепловых нагрузок
Определение часовых и годовых расходов теплоты на отопление, вентиляцию и горячее водоснабжение проводится для зданий складов в соответствии с климатическими данными района строительства (приложение 1).
Основные расчетные зависимости для зданий складов.
1. Определение расхода тепла на отопление
,Вт.
1,1 – коэффициент учитывающий дополнительные потери тепла в системе отопления;
- объем здания по наружному обмеру, м3
.
, (9)
Где V общ – удельный объем общественных зданий, отнесенный к одному жителю, зависит от крупности поселений и ориентировочно составляет:
- удельный расход тепла на отопление общественных зданий, ![]()
![]()
![]()
- коэффициент, учитывающий расход теплоты на подогрев инфильтрационного воздуха, который при отсутствии приточной вентиляции
; в зданиях с приточной вентиляцией
.
- температурный коэффициент, учитывающий изменения требуемого термического сопротивления наружных стен в зависимости от
.
(10)
2. Расход тепла на вентиляцию
,
(11)
- удельная вентиляционная характеристика общественных зданий ![]()
![]()
![]()
Расход тепла на горячее водоснабжение в общественном здании в зимний период.
,
(12)
- норма расхода горячей воды для общественных зданий.
Расход тепла на горячее водоснабжение в общественном здании в летний период
(13)
Результаты расчетов свести в таблицу.
Годовой расход тепла жилыми и общественными зданиями складов.
1.Годовой расход тепла на систему отопления.
,
(14)
2.Годовой расход тепла на систему вентиляции.
(15)
Z- число часов работы системы вентиляции Z = 16![]()
3.Годовой расход тепла на систему горячего водоснабжения.
(16)
Суммарный годовой расход тепла жилыми и общественными зданиями.
,
(17)
Построение годового графика повторяемости расходов тепла зданиями складов.
Для построения такого графика выписывают из климатологических таблиц число часов стояния различных наружных температур для географического пункта, соответствующего расположению зданий. Выписку ведут с интервалом температур 5-100 С, включая в интервал длительность стояния данной температуры для отопления и температур ниже ее.
Исходные данные.
Район строительства - г. Москва
Температура наружного воздуха (расчетная) для проектирования отопления - ![]()
Температура наружного воздуха (средняя отопительного периода) - ![]()
Продолжительность отопительного периода -
.
Расчет произведен для одного жителя.
Расходы тепла зданиями складов.
| Таблица тепловых нагрузок |
|||||
| № |
Корпуса |
Тепловая нагрузка в Вт |
|||
| Отопление Т=95-700 С |
Вентиляция Т=95-700 С |
Горячее водоснабжение Т=650 С |
Всего: |
||
| 1 |
№35 |
988550 |
1337450 |
162820 |
2488820 |
| 2 |
№36 |
895510 |
1209520 |
162820 |
2267850 |
| 3 |
№37 |
988550 |
1337450 |
162820 |
2488820 |
| 4 |
№38 |
988550 |
1337450 |
162820 |
2488820 |
| 5 |
№39 |
988550 |
1337450 |
162820 |
2488820 |
| 6 |
АБК |
34890 |
127930 |
0 |
162820 |
| 7 |
Итого: |
4884600 |
6687250 |
814100 |
12385950 |
Годовой расход тепла жилыми и общественными зданиями
![]()
![]()

Z- число часов работы системы вентиляции Z = 16![]()

![]()
Построение годового графика повторяемости расходов тепла жилыми и общественными зданиями.
|
|
-40 -35 |
-35 -30 |
-30 -25 |
-25 -20 |
-20 -15 |
-15 -10 |
-10 -5 |
-5 0 |
0 +8 |
|
|
0,48 |
10,8 |
48,96 |
129,6 |
331,68 |
592,8 |
943,2 |
1590,48 |
1440 |
|
|
0,48 |
11,28 |
60,24 |
189,81 |
521,52 |
1114,32 |
2057,52 |
3648 |
5088 |
1.2 Построение графика качественного регулирования отпуска теплоты на отопление
Необходимое количество подаваемой теплоты зданиям определяется из условия
и линейной зависимости разности температур:
.![]()
Линейная зависимость является следствием принятия коэффициента теплопередачи через ограждения здания постоянным.
Теплота Q поступает в помещения здания через нагревательные приборы от греющего теплоносителя, температура которого и расход должны быть такими, чтобы обеспечить подачу требуемого количества. Температурный график нагревательного прибора (рис. 1) иллюстрирует процесс передачи теплоты, который описывается уравнением теплопередачи:
![]()
и уравнением баланса тепла для теплоносителя:
![]()
Баланс тепла для воздуха написать нельзя, так как
В приведенной системе уравнений заданы:
.
Коэффициент теплопередачи
задан числом, если он принимается постоянным, или математической зависимостью, по которой его можно определить. Неизвестные величины:
. Так как уравнений два, то надо задаваться законом изменения одного из параметров. Если
, тогда осуществляется качественное регулирование, если
- количественное. Возможно качественно-количественное регулирование.
Запишем уравнения в безразмерном виде:
,
.
Изменение коэффициента теплопередачи нагревательных приборов определяется экспериментально и аппроксимируется следующей математической зависимостью:
,
где
в зависимости от типа нагревательного прибора изменяется в пределах 0,25 – 0,32.
Из решения уравнения получаем:
![]()
;
![]()
.
При качественном регулировании
,
поддерживают на источнике, а
- температура воды на выходе из нагревательных приборов (реакция системы на процесс отопления здания).
Если на пути теплоносителя от источника тепла до системы отопления установлен трансформатор температуры для ее снижения (например, элеватор), тогда необходимо найти закон изменения температуры на входе (τ1
) в зависимости от требуемой температуры на выходе (
). Для элеваторного ввода (рис.2) коэффициент смещения остается постоянным:
,
тогда
;
;
![]()
Задано:
=18
,
=
130
,
=
95
,
=
70
,
= -28
.
Определяем параметры для основных точек.
а) Расчетные условия для отопления:
= -28
,
=1,
=
130
,
=
95
,
=
70
;![]()
б) Точка излома графика температур:
;
, где
=64,5
;
;
![]()
,
отсюда
=0,41;
0,34=
;
=-0,86
;
![]()
;
![]()
.
в) Конец отопительного периода:
![]()
;
=
=
0,22;
;
![]()
;
![]()
.
Рассчитываем параметры для промежуточных значений Q, равных 0,75; 0,5. Все рассчитанные параметры сводим в таблицу.
=0,5;
0,5=
;
=-5
;
![]()
;
![]()
;
![]()
.
=0,75;
0,75=
;
=-16,5
;
![]()
;
![]()
;
![]()
.
|
|
|
|
|
|
| 1 |
-28 |
130 |
95 |
70 |
| 0,75 |
-16,5 |
105,6 |
79,4 |
60,6 |
| 0,5 |
-5 |
80,1 |
62,6 |
50,1 |
| 0,41 |
-0,86 |
70 |
56,2 |
45,9 |
| 0,22 |
8 |
48,9 |
41,3 |
35,8 |
По полученным данным строим температурный график (см.рис. на листе ).
Температуру
закрытых систем теплоснабжения не снижают ниже ![]()
1.3. Определение расхода сетевой воды, проходящей через калориферы системы вентиляции
Метод безразмерных комплексов.
Определение расхода сетевой воды Gв , проходящей через калориферы приточной системы вентиляции, и конечные температуры воды τгв на выходе из калориферов при заданном графике температур воды в подающем трубопроводе и графике расхода теплоты на вентиляцию. Построение графиков зависимости расхода воды Gв и конечных температур теплоносителя τгв от температуры наружного воздуха (расчет производится методом безразмерных параметров).
Исходные данные:
Расчетная температура наружного воздуха для проектирования вентиляции tр н = -28 ºС;
Расчетный расход воды на вентиляцию, соответствующий tр н = -28 ºС
Qр в = 6,687 МВт;
Температура приточного воздуха tпр = 18 ºС.
Расчетный расход теплоносителя проходит через калориферы при расчетной тепловой нагрузке, т.е. при tр н = -28 ºС. При этом температура теплоносителя на входе в калориферы τ1 = 130 ºС. Экономически целесообразно температуру воды на выходе из калорифера принимать равной температуре после системы отопления, т.е. τ2 = 70 ºС. Тогда расчетный расход воды:
Gр в = Qр в /с·(τ1 –τ2 ) = 6,687∙106 /4190·(130-70) = 26,6 кг/с.
В расчетном режиме находим расчетные значения безразмерных параметров калорифера:
εр х = tпр -tр н /( τ1 - tр н ) = (18+28)/(130+28) = 0,29
Θр х = τ1 – τ2 /( tпр -tр н ) = (130-70)/(18+28) = 1,3
ωр х = tпр -tр н /∆tср = (18+28)/105 = 0,438
∆tср = 0,5·[(130+70)-(18-28)] = 105 ºС
Ак = Wn - m х /0,5∙ωр х ∙(Θр х )п = 1/0,5∙0,438∙(1,3)0,2 = 4,33.
Параметр калорифера остается неизменным во всех режимах. Здесь Wх = Gв ∙с = 1, т.к. расход приточного воздуха – величина постоянная в течение отопительного сезона.
Уравнение, связывающее безразмерные параметры калорифера, имеет вид:
Θх + Ак ∙Θn х –(2/ εх -1) = 0.
2. Температура воды на входе в калорифер:
τвх = 105,6 ºС
tн = -16,5 ºС
Новое значение параметра εх = tпр -tрн /( τ1 - tр н ) = (18+16,5)/(105,6+16,5) = 0,28.
Подставляя в уравнение новое значение параметра εх и постоянное для данного калорифера значение параметра Ак = 4,33, получим соответствующее значение параметра Θх = 1,6.
Относительный расход теплоносителя: Wв = Θрх / Θх = 1,3/1,6 = 0,81;
Расход воды через калорифер: Gв = Gрв ∙Wв = 26,6∙0,81 = 21,5 кг/с;
Температура воды на выходе из калорифера:
τ2в = τвх - Θх ∙( tпр -tн ) = 105,6-1,6∙(18+16,5) = 50,4 ºС.
3. τвх = 80,1; ºС, tн = -5 ºС
εх = tпр -tр н /( τ1 - tр н ) = (18+5)/(84,4+5) = 0,27
Θх = 1,8
Wв = Θр х / Θх = 1,3/1,8 = 0,72
Gв = Gр в ∙Wв = 26,6∙0,72 = 19,21 кг/с
τ2в = τвх - Θх ∙( tпр -tн ) = 80,1-1,8∙(18+5) = 38,7 ºС.
4. τвх = 70 ºС, tн = -0,86 ºС
εх = tпр -tр н /( τ1 - tр н ) = (18+0,86)/(70+0,86) = 0,266
Θх = 1,9
Wв = Θр х / Θх = 1,3/1,9 = 0,68
Gв = Gр в ∙Wв = 26,6∙0,68 = 18,20 кг/с
τ2в = τвх - Θх ∙( tпр -tн ) = 70-1,9∙(18+0,86) = 34,17 ºС.
5. τвх = 48,9 ºС, tн = 8 ºС
εх = tпр -tр н /( τ1 - tр н ) = (18-8)/(48,9-8) = 0,24
Θх = 2,6
Wв = Θр х / Θх = 1,3/2,6 = 0,5
Gв = Gр в ∙Wв = 26,6∙0,5 = 13,3 кг/с
τ2в = τвх - Θх ∙( tпр -tн ) = 48,9-2,6∙(18-8) = 22,9 ºС
| Qв |
0,2 |
0,4 |
0,5 |
0,75 |
1,0 |
| tн , ºС |
+8 |
-0,86 |
-5 |
-16,5 |
-28 |
| τ1 , ºС |
48,9 |
70 |
84,4 |
105,6 |
130 |
| τ2в , ºС |
22,9 |
31,17 |
38,7 |
50,4 |
70 |
| Gв , кг/с |
13,3 |
18,2 |
19,21 |
21,5 |
26,6 |
1.4 График расходов сетевой воды
Расчетные расходы воды при ггидравлическом расчете тепловой сети определяем в зависимости от назначения тепловой сети, вида системы теплоснабжения, применяемого графика температур, а так же от схемы включения подогревателей горячего водоснабжения.
Расчетные расходы воды (кг/ч) определяем:
-на отпление Go =3,6 * Qo /c * (τo 1 – τo 2 )
τo 1 и τo 2 -температура сетевой воды по отопительному графику.
Go =3,6 * 4,885* 103 /4,19 * (130 – 70)=70 т /ч
-на вентиляцию Gв =3,6 * Qв /с * (τo 1 – τo 2 )
Gв =3,6 * 6,687 * 103 /4,19 * (130 – 70)=95,8 т /ч
расход воды на горячее водоснабжение при двухступенчатой схеме присоединения подогревателей
- расчетный расход воды на горячее водоснабжение;
- температуры горячей и холодной воды для систем горячего
Водоснабжения;
Gгв =3,6 * 0,814* 103 /4,19 * (55– 5) = 14 т /ч
Расчет расстояния между неподвижными опор ами.
Неподвижные опоры фиксируют отдельные точки трубопровода, делят его на независимые в отношении температурных удлинений участки и воспринимают усилия, возникающие в трубопроводах при различных схемах и способах компенсации тепловых удлинений.
Расстояние между неподвижными опорами по компенсирующей способности сальниковых компенсаторов определяется по формуле:
![]()
- расчётная компенсирующая способность сальникового компенсатора, мм.
Расчётную компенсирующую способность сальниковых компенсаторов принимают меньше указанной на величину z, которая учитывает недостаточную точность изготовления компенсаторов и возможную податливость неподвижных опор.
![]()
t - расчётная температура теплоносителя °С.
- расчётная температура наружного воздуха для проектирования отопления.
-коэффициент линейного расширения трубной стали мм/м °С
Исходные данные:
Диаметр трубы Dy=400 мм, Dн=426 мм ;
Расчётная температура теплоносителя 130°С
Расчётная температура наружного воздуха для проектирования отопления -28 °С.
= 400 мм (табл. 4.16 [32])
z = 50 мм (табл. 4.18 [32])
мм/м°С (табл. 10.11 [32])
![]()
Максимальный пролёт между подвижными опорами
Максимальный пролёт между подвижными опорами на прямом участке трубы определяется по формуле:
,где
кгс/мм2
допускаемое эквивалентное напряжение для весовой и ветровой нагрузок кгс/мм2
.
(формулы в табл. 10.3 [32])
(табл. 10.1 [32])
момент сопротивления поперечного сечения трубы при расчётной толщине стенки трубы, см3
, (табл. 2.10. СП);
-коэффициент прочности сварного шва (табл. 10.2 [32]).
0,8 коэффициент пластичности
-эквивалентная весовая нагрузка кгс/м (равна весу трубопровода в рабочем состоянии);
Эквивалентную весовую нагрузку при подземной прокладке трубопроводов принимают равной расчетному весу трубопровода в рабочем или холодном состоянии.
, (52)
где q – вес одного метра трубопровода: вес трубы (qтр ), воды (qв ) (табл. 2.11., 2.12. СП), изоляционной конструкции (qиз ).
![]()
![]()
, кгс
![]()
![]()
Пролёт между подвижными опорами при сальниковых компенсаторах определяют расчётом по растягивающим или сжимающим напряжениям (
=0,95,
=1 соответственно).
По сжимающим напряжениям ,
=1
![]()

По растягивающим напряжениям ,
=0,95

за расчётный принимают ![]()
Нагрузки на неподвижные опоры.
Нагрузки на неподвижные опоры трубопроводов подразделяют на вертикальные и горизонтальные.
Вертикальные:
кгс
где q вес 1 метра трубопровода, кгс
l-пролёт между подвижными опорами, м.
Горизонтальные нагрузки на неподвижные опоры трубопроводов возникают под влиянием следующих:
Трения в подвижных опорах, при тепловом удлинении теплопроводов.
Трения в сальниковых компенсаторах, при тепловом удлинении теплопроводов.
Горизонтальные осевые нагрузки на промежуточные опоры определяют с учётом всех действующих сил по обе стороны опоры:
кгс.
-силы трения в подвижных опорах, кгс
- силы трения в сальниковых компенсаторах, кгс
![]()
где q вес 1 метра трубопровода, кгс
L-длинна трубопровода от неподвижной опоры до компенсатора, м
f-коэффициент трения подвижных опор( табл. 11.1 [32])
Силы трения в сальниковых компенсаторах определяют в зависимости от рабочего давления теплоносителя, диаметра трубы и конструкции сальниковой набивки:
кгс
кгс
-рабочее давление теплоносителя
длинна слоя набивки по сои сальникового компенсатора (4.16 [32])
наружный диаметр стакана сальникового компенсатора(4.16 [32])
коэффициент трения набивки с металлом =0,15
число болтов компенсатора(4.16 [32])
-площадь поперечного сечения набивки (4.16 [32])
величину
принимают не менее 10 кгс/см2
.
В качестве расчётной принимают меньшую из сил.
Результирующие горизонтальные усилия на промежуточные неподвижные опоры находятся как разница суммарных сил по обе стороны опоры. S=SБ -SМ , м. При этом для запаса прочности меньшую из сил принимают с коэффициентом 0,7: S=SБ -0,7SМ , при SБ =SМ принимаем одну из сумм с коэффициентом 0,3 S1 =0,3Sт.к. l1=l2=120 м, то S1 =S2 .
![]()
f=0,3 для скользящих опор
qтр =62,15 кгс
qв =134,6 кгс
qиз =30,4 кгс
L=80 м
кгс
![]()
=16 кгс/см2
l2 =13 см
Д2 =42,6 см
кгс
n=8
fн =260
кгс
В качестве расчётной принимаем
кгс
S=5451,6+8346,9=13798,5 кгс
В качестве расчётной принимаем
13798,5=4139,6 кгс
Расчет тепловой изоляции теплопроводов.
Расчёт производится на головном участке (от Энергоцентра до первого ответвления.)
Исходные данные:

Определяем толщину тепловой изоляции для двухтрубной прокладки тепловой сети диаметром dн
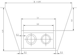
=0,426 м в железобетонном непроходном канале с размерами 2,54 х 0,93 м (внутренний) и 2,94 х 1,33 м (наружный). Место строительства — г. Москва Средняя температура теплоносителя в подающем теплопроводе
, в обратном
(из температурного графика). Глубина заложения оси трубопроводов h = 1,23 м. Среднегодовая температура грунта tгр
= 3,2 °С. В качестве тепловой изоляции принимаем маты минераловатные, прошивные, ГОСТ 2/880-88 марки 100. Покровный слой из стеклоткани
.
Для трубопроводов с dн
= 0,426 м (dу
= 400 мм) по нормам плотность теплового потока
и
(табл. 13.6 [32].).
;
.
Принимаем толщину слоя тепловой изоляции и покровного слоя
![]()
Для определения коэффициента теплопроводности теплоизоляционного материала температуру по наружной поверхности слоя тепловой изоляции принимаем
, тогда
;
;
;
;
,
;
;
;
;
;
;
;
;
;
;
;
;
;
;
;
;
.
Определяем соотношение
,
тогда
;
.
Определим температуру внутри канала:
;
Определяем тепловые потери:
;
.
Сравниваем с нормами:
;
.
Тепловой расчет проведен. Толщины изоляционных слоев выбраны верно.
1.6 Расчет ВВП, присоединенного по двухступенчатой смешанной схеме.
Подбор теплообменников горячего водоснабжения и системы отопления при двухступенчатой смешанной схемы присоединения теплообменников осуществляется по программе фирмы «ОАО Альфа Лаваль Поток».
Схема применяется при отпуске теплоты по нормальному температурному графику, соответствующему качественному методу регулирования по отопительной нагрузке.
1.7 Горячее водоснабжение
Расчет подающих трубопроводов системы горячего водоснабжения в режиме водоразбора.
Определение расхода воды в режиме водоразбора.
Расход воды согласно [34] определяется по формуле:
, где
g – секундный расход воды, л/с, через расчетный прибор. В качестве расчетного принимаем g=0,2 л/с (приложение 3 [33]);
α – функция вероятности действия и числа приборов на участках:
. Определяется по приложению 4.5 [33].
Определение вероятности действия приборов.
, где
gmax – наибольший часовой расход, л/ч. Принимаем gmax =10 л/ч по приложению 2 [33];
u – число потребителей, чел.
N – число приборов.
![]()
Дальнейшие вычисления заносим в таблицу:
| Расход воды в подающих трубопроводах в режиме водоразбора. |
||||||
| Номер участка |
Количество жителей U |
Кол-во водоразборных приборов N |
Вероятность P |
N×P |
α |
Расчётный расход воды Go |
| 1-2 |
120 |
1 |
0,4078 |
0,41 |
0,617 |
7,617 |
| 2-3 |
191 |
4 |
0,4078 |
1,63 |
0,782 |
8,782 |
| 3-4 |
244 |
5 |
0,4078 |
2,04 |
0,945 |
21,945 |
| 4-5 |
297 |
10 |
0,4078 |
4,08 |
1,66 |
34,66 |
| 5-6 |
462 |
17 |
0,4078 |
6,93 |
2,48 |
64,48 |
| 6-7 |
761 |
23 |
0,4078 |
9,38 |
3,22 |
80,22 |
| 7-8 |
1468 |
50 |
0,4078 |
20,39 |
6,05 |
171,05 |
| Гидравлический расчёт подающих трубопроводов в режиме водоразбора. |
|||||||
| Номер участка |
Длина участка L |
Расход воды, Gо |
Диаметр участка, Ду |
Скорость воды, V |
1+Kw |
Удельные потери давления, R |
Потери давления, ∆Рпод. |
| № |
м |
л/с |
мм |
м/с |
Па/м |
Па |
|
| 1-2 |
16,74 |
7,617 |
76 |
1.65 |
1,5 |
3837 |
64239 |
| 2-3 |
23,76 |
8,782 |
76 |
2.10 |
1,2 |
4860 |
11785 |
| 3-4 |
17,38 |
21,945 |
219 |
1,55 |
1,2 |
1993 |
213980 |
| 4-5 |
97,78 |
34,66 |
219 |
1,57 |
1,2 |
1466 |
143346 |
| 5-6 |
65,16 |
64,48 |
219 |
1,79 |
1,2 |
1602 |
248704 |
| 6-7 |
18,22 |
80,22 |
273 |
2,33 |
1,2 |
2662 |
48510 |
| 7-8 |
103,50 |
171,05 |
315 |
2,64 |
1,2 |
2512 |
18837 |
| 749 401 |
|||||||
Расчет подающих трубопроводов системы горячего водоснабжения в режиме циркуляции.
Требуемый циркуляционный расход воды для дальнего водоразборного узла определяется по формуле:
, где
∆t – допустимое падение температуры от ЦТП до последнего водоразборного узла. ∆t=8,5 o C;
Qт.п. – потери тепла подающими трубопроводами, Вт. Определяются по формуле:
, где
k – коэффициент теплопередачи неизолированной трубы,
. Принимаем k=10
;
tср – средняя температура воды в трубе, принимается равной 55о С;
η – КПД изоляции, принимается равным 0,8.
Для подвала (
=10 о
С):
Вт
Для сантехкабины (
=15 о
С):
Вт
л/с
Гидравлический расчет циркуляционного водопровода.
Участок 1'–1 – циркуляционный стояк
л/с
Примем
кПа, коэффициент местных сопротивлений k=1,1.
Па/м
По номограмме подбираем трубопровод dу
=76 мм,
Па/м.
Па.
Участок 1–2 – циркуляционная магистраль
G1-2 ц =0,0055 л/с
Па,
Па/м
По номограмме подбираем трубопровод dу
=76,
Па/м.
Па.
Участок 2–3.
л/с
л/с
По номограмме подбираем трубопровод dу
=76,
Па/м.
Па.
Участок 3–4.
л/с
л/с
По номограмме подбираем трубопровод dу
=76,
Па/м.
Па.
Участок 4–5.
л/с
л/с
По номограмме подбираем трубопровод dу
=108,
Па/м.
Па.
Данные расчета участков циркуляционного трубопровода сведем в таблицу:
| № участка |
G , т / ч |
d , мм |
R д , Па / м |
∆ P д , Па |
| 1'–1 |
21,01 |
76 |
639 |
2723 |
| 1–2 |
21,5 |
76 |
639 |
72187 |
| 2–3 |
22,01 |
76 |
639 |
11928 |
| 3–4 |
23,3 |
76 |
639 |
12281 |
| 4–5 |
26,7 |
108 |
126 |
9798 |
| 5–6 |
27,9 |
108 |
126 |
16424 |
| 6–7 |
32,8 |
133 |
67,4 |
42785 |
| 7–8 |
34,5 |
133 |
75,8 |
10652 |
| 8–9 |
36,9 |
133 |
84,8 |
1440 |
Проверка гидравлической устойчивости системы.
, где
n – количество стояков.
![]()
∆G находится в регламентируемых пределах, следовательно система
достаточно гидравлически устойчива.
Определение требуемого напора.
, где
мПа;
мПа
Примем также Рсв =0,04мПа, Рс =0,04мПа, Рт.о. =0,01мПа.
мПа.
Раздел 2.
АВТОМАТИЗАЦИЯ
2. Автоматизация
Автоматизация городских и промышленных систем центрального теплоснабжения позволяет экономить топливо и улучшить тепловой комфорт в отапливаемых помещениях, создать необходимые условия для качественного выполнения технологических процессов.
Автоматизация тепловых пунктов является одной из важнейших частей комплексной автоматизации теплоснабжения, т.к. находится в тепловой и гидравлической взаимосвязи с остальными звеньями системы теплоснабжения. сложность задачи заключается
а) в большом количестве и разнообразности тепловых пунктов;
б) в разнообразии теплопотребляющих систем (О, В, ГВ);
в) в значительном влиянии теплового пункта совместно с теплопотребляющими системами на работу соседних тепловых пунктов и систем.
Приборы и средства автоматического регулирования.
Измерение температуры - применяют теплометры и автоматические мосты, принцип действия основан на тепловом расширении теплометрической жидкости.
Монометры - для измерения перепада давления в теплоснабжении при изменении расхода воды используются стандартные диафрагмы.
Теплосчетчики - изменение расхода тепловой энергии тепломерами, изменение количества теплосчетчиком.
Регулирующие приборы и датчики применяются в комплекте с регуляторами расхода РР, который используется в качестве исполнительного и регулирующего органа. Чувствительным элементом служат биметаллические пластины.
Регулятор температуры электронный - регулирующий прибор предназначенный для автоматического регулирования отпуска теплоты в установках теплоснабжения.
Автоматизированный элеватор с регулируемым соплом ЭРСА - предназначен для смешения сетевой и подмешиваемой из обратного трубопровода воды, подачи смешанной воды на отопление, автоматического регулирования температуры смешанной воды в зависимости от tнар и другие приборы.
Раздел автоматизации распределительно-складского комплекса выполнен на основании технического задания заказчика, тепломеханической части проекта согласно требованиям Руководства по проектированию тепловых пунктов СП 41-101-95 и включает следующие объекты:
• Склады К35-К39.
Для всех узлов учета предусматривается установка теплосчетчиков Multical UF, в состав которых входят:
• Расходомеры Ultraflow - 2 шт.;
• Термопреобразователи Pt500- 2 шт.;
• Тепловычислитель Multical 601-1 шт.
Тепловычислитель предназначен для измерения тепловой энергии в любых водяных системах.
Теплосчетчик прост в монтаже, считывании информации и поверке. Кроме того, уникальное сочетание высокой точности измерения и долгого срока службы обеспечивает минимальную себестоимость его эксплуатации.
Подключение теплосчетчика к расходомерам как в подающем, так и в обратном трубопроводе позволяет вести контроль утечек и разрывов трубопроводов.
Схема ИТП в складах предусматривает наличие 3-х следующих регуляторов:
1. Температуры ГВС;
2. перепада давления в прямом и обратном трубопроводе теплосети;
3. перепуска на водоподогревателе 1-й ступени.
В качестве регуляторов применяются измерители-ПИД-регуляторы фирмы "ОВЕН". Для измерения температуры применяются медные термопреобразователи сопротивления. Перепад давления контролируется датчиками разности давлений Метран.
В зависимости от величины измеряемого параметра регулятор выдает соответствующий сигнал на регулирующий клапан, приводящий параметр в норму.
Управление насосами осуществляется при помощи контроллера САУ-МП.
Один насос является рабочим, другой - резервным. При останове рабочего насоса автоматически включается резервный насос.
Согласно правилам СП 41-101-95 предусматривается схема сигнализации, срабатывающая при:
• повышении давления в прямом трубопроводе теплосети;
• понижении давления в обратном трубопроводе теплосети;
• повышении температуры воды на ГВС;
• повышении температуры воды в прямом трубопроводе теплосети.
В качестве регулятора применен контроллер фирмы «ОВЕН» ТРМ 32-Щ4. В зависимости от измеряемой температуры регулятор подает команду на регулирующий клапан меняющий количество греющей воды к теплообменникам.
Проектом предусматривается схема сигнализации, срабатывающая при:
• повышении температуры в прямом трубопроводе теплосети (внутренний контур);
• отклонении давления в обратном трубопроводе теплосети (внутренний контур);
• уменьшении перепада давления в прямом и обратном трубопроводе теплосети (внешний контур);
• включении резервного насоса (при останове рабочего насоса).
Вся аппаратура и приборы контроля, сигнализации и управления для ИТП устанавливаются в щитах автоматики.
Питание щита осуществляется переменным током частотой 50 Гц напряжением 220 В от ВРУ.
Щит и другое электрооборудование необходимо заземлить (занулить) в соответствии с требованиями ПУЭ.
Автоматизация теплового и гидравлического режима ИТП.
Цели и задачи автоматизации.
Средства автоматизации (контроль, автоматическое регулирование, защита оборудования, блокировка и сигнализация) теплового и гидравлического режима ИТП запроектированы в целях:
- безопасной работы;
- сокращения численности обслуживающего персонала;
- экономии теплоты и электроэнергии;
- учета отпущенной тепловой энергии и холодной воды.
Уровень автоматизации технологической схемы выбран в зависимости от технологических требований и экономической целесообразности.
Задачи автоматизации ИТП:
- местный контроль параметров (температура и давление теплоносителя в подающем и обратном трубопроводе, на перемычке, до и после теплообменных аппаратов);
- регулирование подачи теплоты на отопление и горячее водоснабжение;
- пуск и остановка оборудования;
- регулирование давления;
- учет тепловой энергии и холодной воды;
- блокировка оборудования;
- сигнализация о рабочем состоянии оборудования (рабочая и аварийная);
Спецификация оборудования
| Позиция |
Наименобание и техническая характеристика |
Тип, марка, обозначение документа, опросного листа |
Код обору-до- вания, изде-лия, материала |
Завод-изготовитель |
Единица измерения |
Кол-во |
Мас-са единицы, кг |
Примечания |
|||||
| 1 |
2 |
3 |
4 |
5 |
6 |
7 |
8 |
9 |
|||||
| 1. Приборы и cpeдства автоматизации. |
|||||||||||||
| 1.1 Склад N (К35-К39). |
|||||||||||||
| 1 |
Измеритель ПИД-регулятор |
ТРМ12А-Щ1-ТС-Р |
"Овен", г.Москва г.г.Москба |
шт. |
5 |
||||||||
| 1а |
Термопреобразобатель сопротивления, медный 50М, |
дТС-025-50М.В3.80 |
"Овен", г.Москва |
шт. |
5 |
||||||||
| модель 025, класс В, с трехпрободной схемой соединений, |
|||||||||||||
| соединений, длина монтажной части 80 мм |
|||||||||||||
| 1г |
Электрический исполнительный механизм |
шт. |
5 |
в комплек |
|||||||||
| 2,3 |
Измеритель ПИД-регулятор |
ТРМ12А-Щ1-АТ-Р |
"Овен", г.Москва |
шт. |
10 |
||||||||
| 2а,3а |
Датчик разности даблений, модель 1432 |
Метран-100-ДД-1432-01-МП1- |
"Метран" г.Челябинск |
шт. |
10 |
||||||||
| 2г,3г |
предел измерения 63 кПа Электрический исполнительный механизм |
t1-025-63кПа-16-42-М20-БВН04 |
шт. |
10 |
в комплек |
||||||||
| 3б |
Блок питания |
Метран-602-024-80-01 |
"Метран" г.Челябинск |
шт. |
5 |
||||||||
| Теплосчетчик Multical UF б составе: |
"Kamstrup", г.Мытищи т.+ 7(495)726-53-17 + 7(495)728-70-77, + 7(495)786-56-76 |
постабляется комплектно |
|||||||||||
| 4а,4б |
Расходомер Ду=100 (срланцебые, длина кабеля 5м) |
ULTRAFL0W |
шт. |
10 |
|||||||||
| 46,4г |
Термопреобразобатель с гильзой, (длина кабеля 5м, |
Р1500 |
шт. |
10 |
|||||||||
| гильза L= 140мм) |
|||||||||||||
| 4 |
Тепловычислитель |
Multical 601 |
шт. |
5 |
|||||||||
| 5,6 |
Термометр показыбающий электроконтактный конденса- |
ТКП-100Эк-М1 |
"Теплоконтроль" |
шт. |
10 |
||||||||
| конденсационный, предел измерения 0...120 С, длина капилляра 4м, |
г.Казань |
||||||||||||
| длина погружения термобаллона 125мм |
|||||||||||||
| 7,8 |
Манометр электроконтактный, |
ДМ 2010 Сг |
Томский манометробый |
шт. |
10 |
||||||||
| предел измерения 0...10 кгс/см |
забод" |
||||||||||||
| 9а |
Датчик-реле давления |
ДЕМ 102-1-04-2 |
ЗАО "Орлекс", г.Орел |
шт. |
5 |
||||||||
| предел установок -0,09-0,25 МПа |
|||||||||||||
| 9 |
Логический контроллер |
САУ МП-Щ1.15 |
"Овен", г.Москва |
шт. |
5 |
||||||||
| 10 |
Термометр биметаллический, |
ТБ-100-1-(-10...+50)-40-1,5 |
"Метер",г.Москва |
шт. |
25 |
||||||||
| предел измерения от -10 до +50 С, классом точности-1,5 |
-40-1,5 |
||||||||||||
| Точности -1,5 |
|||||||||||||
| 11 |
Термометр биметаллический, |
ТБ-100-1-(0..+120)100-1,5 |
"Метер",г,Москва |
шт. |
135 |
||||||||
| предел измерения от 0 до +120 С, классом точности-1,5 |
|||||||||||||
| 12 |
Манометр показывающий, без фланца, штуцер радиальный, |
МПЗ-У |
"Томский манометробый |
шт. |
40 |
||||||||
| предел измерения 0...0,16 МПа |
завод" |
||||||||||||
| 13 |
Манометр показывающиа, без фланца, штуцер радиальный, |
МПЗ-У |
"Томский манометробый |
шт. |
80 |
||||||||
| предел измерения 0...0,4 МПа |
завод" |
||||||||||||
| 14 |
Манометр показывающий, без фланца, штуцер радиальный, |
МПЗ-У |
"Томский манометробый |
шт. |
165 |
||||||||
| предел измерения 0...,6 МПа |
завод" |
||||||||||||
| 15 |
Манометр показывающий, без фланца, штуцер радиальный, |
МПЗ-У |
"Томский манометробый |
шт. |
45 |
||||||||
| предел измерения 0....,1,0 МПа |
завод" |
||||||||||||
Задачи и принципы автоматизации ТП
Производство и отпуск теплоты в системе централизованного теплоснабжения осуществляется в теплоподготовительной установке источника теплоты ТЭЦ.
Основное назначение источника тепла - обеспечение экономичных режимов отпуска теплоты в тепловую сеть, экономичная работа оборудования.
Назначение тепловых сетей - транспортировка теплоносителя при минимальных потерях тепла и воды. Рациональное решение задачи определяется способами и стилями присоединения.
В тепловых пунктах размещают оборудование: водонагреватели, насосы, приборы контроля учета, управления и автоматизации.
Тепловые пункты: ИТП.
Задачи автоматизации определяются наличием или отсутствием в них ГВ. При автоматизации ИТП необходимо использовать схемы присоединения подогревателей ГВ к тепловой сети обеспечивающее удовлетворение нагрузки ГВ без увеличения расхода воды на отопление.
Принципы работы локальных схем автоматики
Приборы первого уровня автоматизации работают по общепринятым правилам. При включении и отключении насосного оборудования предусмотрена блокировка работы электродвигателей повысительно-циркуляционных и подмешивающего насосов. Резервные насосы сблокированы с основными насосами по принципу "начало работы резервного оборудования при отключении основного".
Регулирование температуры в подающем трубопроводе горячего водоснабжения осуществляется с помощью клапана на подающем трубопроводе сетевой воды к теплообменнику второй ступени. При повышении температуры в подающем трубопроводе горячего водоснабжения выше требуемой происходит прикрывание клапана сетевой воды на теплообменник второй ступени. При понижении температуры происходит обратный процесс.
Приготовление теплоносителя для системы отопления производится с помощью трехходового смесительного клапана по графику регулирования в зависимости от температуры наружного воздуха. При повышении температуры на подающем и обратном трубопроводе системы отопления происходит увеличение подмеса воды из обратного трубопровода. При понижении соответствующих температур в подающем трубопроводе системы отопления происходит уменьшение подмеса воды из обратного трубопровода.
Защита системы отопления от повышения давления производится установкой регулирующего клапана, настроенного на поддержание давления в системе отопления не более 6 кг/см2 . Клапан, с регулированием давления «после себя», при увеличении давления сверх установленного, прикрывается, тем самым, понижая давление. При понижении давления происходит открытие клапана, сопротивление клапана уменьшается и за счет этого давление после клапана возрастает.
Аналогичный клапан установлен и на вводе водопровода к теплообменнику горячего водоснабжения.
Экономические показатели эффективности средств автоматического регулирования.
Экономическую целесообразность применения энергосберегающих мероприятий определяют исходя из сравнительной экономической эффективности капитальных вложений необходимых для осуществления такого мероприятия.
Экономический эффект Эф должен быть получен при реализации какого-либо мероприятия определяется разницей стоимостного выражения полученной экономии Эк с учетом срока службы системы и приведенных затрат П являющихся суммой эксплуатационных затрат И капитальных вложений К.
Эф = УЭК - П = УЭК - (рК + УИ)
Срок окупаемости капиталовложений Z определяется исходя из средней величины эксплуатационных затрат включая полученную экономию за весь срок вложений Ф.
Z = μхКхФ/(Эk -И)хУ
Затраты на электроэнергию потребляемую устройством авторегулирования Эр .
Эр = Сэ х (0,01 + 0,1 х 0,05) х Пот .
Раздел 3.
ТЕПЛОГЕНЕРИРУЮЩИЕ УСТАНОВКИ
3. Теплогенерирующие установки
Расчёт выбросов загрязняющих веществ при работе водогрейных котлов “ Logano S 825” на природном газе.
Исходные данные.
Проект предусматривает строительство котельной с двумя водогрейными котлами “ Logano S 825” фирмы “ Buderus” разной мощности. Дымовые газы от котлов удаляются в общую металлическую трубу.
- Годовой расход топлива: ![]()
- Паспортные данные котла “ Logano S 825”:
Полезная мощность 1котла – Qк1 =4,15 МВт ,
– Qк1 =5,2 МВт ;
Температура наружного воздуха в ХП, ![]()
Температура самого жаркого месяца лета, ![]()
К.П.Д. при номинальной мощности – η=0.93%;
Температура уходящих газов – tух =210 0 С;
Высота дымовой трубы Н=40м.
Скорость дымовых газов на выходе из дымовой трубы, ![]()
Коэффициент избытка воздуха – αт =1.1;
Расход газа на котлы – В=1220 м3 /ч=0,34 м3 /с
Количество котлов, устанавливаемых в котельной – n=2 шт.
Топливо : природный газ.
Теплота сгорания топлива – Qн р =36.13 МДж/м3 или Qн р =8630 ккал/м3 ;
Плотность сухого газа – ρ=0.786 кг/м3 ;
Фоновая концентрация оксида углерода, ![]()
Фоновая концентрация золы, ![]()
Удельный объём воздуха – V0 =9.57 м3 /м3 ;
Удельный объём трёхатомных газов -
=1.03 м3
/м3
;
Удельный объём азота -
=7.59 м3
/м3
;
Удельный объём водяных паров -
=2.13 м3
/м3
;
Удельный объём уходящих газов - при
м3
/м3
Удельный объем воздуха при
м3
/м3
Характеристики газового топлива:
- содержание водорода, ![]()
- содержание оксида углерода, ![]()
- содержание азота, ![]()
Предельно допустимые концентрации вредных веществ: (табл.12.4[29])
- оксид углерода,
;
- диоксид азота,
;
- сернистый ангидрид,
.
Находим секундный объем дымовых газов на выходе из дымовой трубы, (см. формулу 11.5 [29]) :
![]()
Определяем диаметр существующей дымовой трубы (см.стр.326[29]) :
, где
секундный объем дымовых газов, ![]()
скорость дымовых газов на выходе из дымовой трубы, ![]()
![]()
Расчётный расход топлива.
, где:
В - расход газа на котлы , м3 /ч;
q4 – потери тепла вследствие механической неполноты сгорания топлива, q4 =0.
м3
/ч, где:
Вгод - годовой расход топлива , м3 /ч;
q4 – потери тепла вследствие механической неполноты сгорания топлива, q4 =0.
Выбросы оксида углерода
Выполняем расчет выбросов оксида углерода в единицу времени, г/с (см. формулу 12.13[29]) :
, где
расход натурального топлива, м3
/с;
выход окиси углерода при сжигании газообразного топлива (г/м3
), определяется из соотношения:
(формула 12.14[29]), где
потери теплоты от химической неполноты сгорания топлива, %;
коэффициент, учитывающий долю потери теплоты вследствие химической неполноты сгорания топлива, обусловленной содержанием окиси углерода в продуктах сгорания; для газа
, см.стр.311[29].
низшая теплота сгорания топлива, МДж/кг, ![]()
,
![]()
Выбросы оксида азота
Выбросы оксида азота в пересчете на
в единицу времени, г/с, рассчитывается по формуле:
(формула 12.15[29])
При сжигании газообразного топлива потери от механической неполноты горения равны нулю (
), тогда формула примет вид:
, где
расход топлива, ![]()
коэффициент, учитывающий влияние содержания азота в топливе на выход оксидов азота; для котлов, в которых сжигается газообразное топливо при![]()
(см.стр.312[29]);
коэффициент, характеризующий выход оксидов азота на 1ГДж теплоты сожженного условного топлива, кг/ГДж; определяется по рис.12.8[29]
, где:
Qт - фактическая тепловая мощность 1 котла по введённому в топку теплу, МВт.
В - расход газа на котлы , м3 /ч;
Qн р - теплота сгорания топлива , ккал/м3 .
- Удельный выброс оксидов азота при сжигании газа от каждого котла:
, где:
коэффициент, учитывающий конструкцию горелок ( для вихревых
), см.стр.311[29];
коэффициент, учитывающий вид шлакоудаления, см.стр.311[29],
;
коэффициент, учитывающий эффективность воздействия рециркуляционных газов в зависимости от условий подачи их в топку,
;
коэффициент, характеризующий снижение выбросов окислов азота при подаче части воздуха помимо основных горелок (при двухступенчатом сжигании); определяется по рис 12.6[29] при условии общего избытка воздуха за котлом;
при ![]()
степень рециркуляции дымовых газов,
.
.
Выброс бензопирена
- Теплонапряжение топочного объёма:
, где:
В - расход газа на котлы , м3 /ч;
Qн р - теплота сгорания топлива , МДж/м3 ;
Vт - объём топочной камеры котла , м3 .
- Концентрация бенз(а)пирена в сухих продуктах сгорания природного газа на выходе из топочной зоны водогрейных котлов малой мощности:
- теплонапряжение топочного объёма, кВт/м3
;
Кд – при отношении фактической нагрузки котла к номинальной, Кд =1.3;
Кр – при отсутствии рециркуляции, Кр =1;
Кст – при отсутствии воздуха, подаваемого помимо горелок, Кст =1.
- Массовая концентрация бензопирена:
, где:
- концентрация бензопирена в сухих продуктах сгорания природного газа на выходе из топочной зоны водогрейных котлов малой мощности, г/м3
;
αт - коэффициент избытка воздуха ;
αо - стандартный коэффициент избытка воздуха, αо =1.4 .
- Суммарное количество бензопирена, поступающего в атмосферу с дымовыми газами:
- массовая концентрация бензопирена, г/м3
;
- удельный объём уходящих газов , м3
/м3
;
Вр.г. – расчётный расход топлива , м3 /с.
Рассеивание вредных выбросов в атмосфере
Высота трубы, которую приняли в проекте проверяется по условиям, исключающим возникновение концентраций вредных веществ в приземном слое атмосферы, превышающих величины максимально – разовой предельно допустимой концентрации (ПДК) в воздухе.
Максимальная приземная концентрация вещества в выбросах продуктов сгорания:
(формула 12.26[29]), где
A- коэффициент, зависящий от температурной стратификации атмосферы (см.стр.319[29]) А=140 для Московской области.
М- масса вредного вещества, выбрасываемого в атмосферу в единицу времени, г/с
F- безразмерный коэффициент, учитывающий скорость оседания вредных веществ в атмосферном воздухе (см.стр.319[29]), F=1;
m и n – коэффициенты, учитывающие условия выхода газовоздушной смеси из устья дымовой трубы;
Значение коэффициентов m и n определяются в зависимости от параметров
и
:
(формула 12.20[29]);
![]()
(формула 12.21[29]);
![]()
(формула 12.22[29]);
![]()
(формула 12.23[29]);
![]()
Коэффициент m определяется в зависимости от параметра f по формуле (12.24[29]):
При
:
![]()
Коэффициент n в зависимости от Vм принимается равным
при
<2 (см.стр.320[29]).
![]()
![]()
Суммарная концентрация вредных примесей должна удовлетворять условию:
![]()

![]()
![]()
Расстояние Хм, м, от дымовой трубы, на котором приземная концентрация вредных веществ при неблагоприятных метеорологических условиях достигается максимального значения:
(формула 12.27[29]) где
безразмерный коэффициент, определяемый из соотношения (стр.321[29])
![]()
![]()
Проверим высоту дымовой трубы по расчету на рассеивание вредных веществ в атмосфере из условия суммарного действия оксидов серы и азота по формуле:
(формула12.25[29])

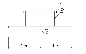
Существующая дымовая труба обеспечивает предельно допустимые нормы рассеивания вредных веществ в атмосфере с учетом суммарного действия оксидов серы и азота, принимаем к установке дымовую трубу высотой 8 м.
Определение расстояния от дымовой трубы, на котором приземная концентрация вредных веществ при неблагоприятных метеорологических условиях достигает максимального значения с учетом розы ветров для котельной с двумя котлами “ Logano S 825” фирмы “ Buderus”.
Нормативная СЗЗ вокруг энергоблока - отопительно-производственной котельной 100 м.
Рельеф местности в районе завода ровный, не оказывает влияния на рассеивание вредных примесей в атмосфере.
Санитарно-защитные зоны котельных дифференцированы в зависимости от высоты дымовых труб; при высоте труб менее 15 м она должна составлять не менее 100 м; при высотах более 15 м — порядка 300 м, если по акустическому расчету проектных решений не требуется дополнительных корректировок в сторону их увеличения.
Потенциал загрязнения атмосферы (ПЗА) — способность атмосферы рассеивать примеси, включает комплекс метеофакторов по табл.1 из [31]
| Приземные инверсии |
Повторяемость% |
||||||
| Потенциал загрязнения атмосферы (ПЗА) |
повторяемость, % |
мощность, км |
интенсивность, °С |
скорости ветра 0—1 м/сек |
в т. ч. непрерывно ряд дней застой воздуха |
Высота слоя перемещения, км |
Продолжительность тумана, ч |
| Низкий |
20 - 30 |
0,3-0,4 |
2 - 3 |
10 - 20 |
5 - 10 |
0,7-0,8 |
80-350 |
| Умеренный |
0,4-0,5 |
3 - 5 |
20 - 30 |
7 - 12 |
0,8-1,0 |
100-500 |
|
| Повышенный |
|||||||
| континентальный |
0,3-0,6 |
2 - 6 |
20 - 40 |
3 - 18 |
0,7-1,0 |
100-600 |
|
| приморский |
0,3-0,7 |
2 - 6 |
10 - 30 |
10 - 25 |
0,4-1,1 |
100-600 |
|
| Высокий |
0,3-0,7 |
3 - 6 |
30 - 60 |
10 - 30 |
0,7-1,6 |
50-200 |
|
| Очень высокий |
0,3-0,9 |
3 - 10 |
50 - 70 |
20 - 15 |
0,8-1,6 |
10-600 |
|
Зона умеренного ПЗА — Западная Сибирь и большая часть европейской территории страны.
- расстояние от дымовой трубы, на котором приземная концентрация вредных веществ при неблагоприятных метеорологических условиях достигает максимального значения должно проверяться расчетом для различных направлений ветра с учетом среднегодовой розы ветров района расположения котельной по формуле [30]:
где
расчетное расстояние, м;
Расстояние, от дымовой трубы, на котором приземная концентрация вредных веществ при неблагоприятных метеорологических условиях достигается максимального значения, м;
, принимаем ![]()
Р - повторяемость направлений ветров одного румба при восьмирумбовой розе ветров, %;
P0 - среднегодовая повторяемость направления ветров рассматриваемого румба, % [30]
![]()
Значение
отсчитывается от дымовой трубы, пересчитанные размеры наносятся на принципиальную схему поселка Томилино.
![]()
![]()
![]()
![]()
| Направление ветра |
С |
СВ |
В |
ЮВ |
Ю |
ЮЗ |
З |
СЗ |
| Повторяемость, % |
4 |
11 |
20 |
7 |
7 |
11 |
28 |
12 |
| Размер |
32 |
88 |
160 |
56 |
56 |
88 |
224 |
96 |
| Принятый размер |
50 |
100 |
200 |
50 |
50 |
100 |
250 |
100 |
Раздел 4.
ТЕХНОЛОГИЯ СТРОИТЕЛЬНЫХ И МОНТАЖНО-ЗАГОТОВИТЕЛЬНЫХ РАБОТ
4. Технология и организация строительных и монтажно-заготовительных работ
Общие положения.
Настоящий раздел проекта рассматривает вопросы организации строительства теплосети.
Проект выполнен с учетом требований:
- СНиП 1.04.03-85* "Нормы продолжительности строительства";
- СНиП 12.01-2004 "Организация строительства";
- СНиП 3.02.01-87 "Земляные сооружения, основания, фундаменты";
- СНиП 12-04-2002 «Безопасность труда в строительстве» Часть 2. Строительное производство;
- СНиП 12-03-2001 «Безопасность труда в строительстве» Часть 1. Общие требования;
- СНиП 3.01.03-84 "Геодезические работы в строительстве";
- СНиП 41-02-2003 «Тепловые сети»;
- СНиП 3.05.03-85 «Правила производства и приемки работ «Тепловые сети»;
- СП 12-136-2002 «Решения по охране труда и промышленной
безопасности в проектах организации строительства и проектах производства работ».
- Правила подготовки и производства земляных работ, обустройства и содержания строительных площадок в городе Москве». Постановление Правительства г. Москвы от 07.12.2004 г. № 857-ПП;
- ПБ 10-573-03 «Правила устройства и безопасной эксплуатации трубопроводов пара и горячей воды»;
- СП 41-105-2002 «Проектирование и строительство тепловых сетей бесканальной прокладки»;
- ВСН 29-95 «Строительные нормы по проектированию и бесканальной прокладке в г.Москве.».
Кроме требований, предусмотренных в строительных нормах и правилах, следует соблюдать также требования к монтажу отдельных видов оборудования согласно технической документации заводов изготовителей.
Строительная организация после получения от заказчика утвержденной проектно-сметной документации разрабатывает проект производства работ (ППР). ППР должен составляться на основе решений, принятых в проекте организации строительства.
Отступления от проектных решений при выполнении строительно-монтажных работ заказчик должен согласовать с проектной организацией.
Оборудование, изделия и материалы, применяемые при строительно-монтажных работах, должны соответствовать спецификациям проекта, государственным стандартам или техническим условиям и иметь соответствующие сертификаты, технические паспорта, удостоверяющие качество оборудования, изделий и материалов.
Для удовлетворения бытовых потребностей работающих предполагается использовать инвентарные передвижные вагончики, которые устанавливаются на свободной территории, в непосредственной близости от места работ после предварительного согласования с администрацией распределительно-складского комплекса. Доставку строительных материалов и изделий предполагается осуществлять к месту производства работ автотранспортными средствами и выгружать на свободные места в непосредственной близости от места производства работ. Места выгрузки и временного складирования выбирать таким образом, чтобы не создавать дискомфортных условий для проезда транспорта и прохода пешеходов.
Энергоснабжение от существующих сетей при наличии ТУ на подключение.
Сброс технической воды – в существующую дождевую канализацию.
Характеристика условий строительства и производства работ.
Проектом предусматривается 2-х трубная прокладка трубопроводов:
Ø219х6мм, Ø273х7мм, Ø325х7мм, Ø426х7мм на низких опорах,
теплосеть – подземная канальная – в непроходных монолитных ж/б каналах общей протяженностью ~206м.
Трасса проектируемой теплосети проходит в толще насыпных грунтов. Проектируемая траншея проходит под асфальтовым покрытием, грунту, газону.
Водовыпуск- в проектируемые водосборные колодцы Всб 1; 2; 3; 4; 5 с последующим удалением воды, передвижной насосной установкой.
Архитектурно-строительные решения.
Проектом предусмотрена прокладка теплосети в монолитных железобетонных каналах, на низких опорах из блоков ФБС.
Монолитные железобетонные каналы выполняются из бетона класса В20 армированные арматурой Æ 12 периодического профиля.
Перекрытие каналов выполняется из сборных железобетонных плит для непроходных каналов.
Под монолитные каналы выполнить в траншее подсыпку песком толщиной 100 мм, поверх которой сделать бетонную подготовку из бетона класса В7,5 толщиной 100 мм и превышающую габариты плиты на 100 мм в каждую сторону.
Боковые поверхности каналов обмазать 2 раза горячим битумом по холодной грунтовке.
Обратную засыпку каналов выполнить песчаным грунтом без включения строительного мусора и растительного грунта с послойным уплотнением.
Соединения стальных элементов производить на сварке электродами типа Э42 ГОСТ 9467-75.
Высоту сварных швов принять по наименьшей толщине свариваемых элементов, длину - по периметру сопряжения.
Места монтажной сварки должны быть зачищены до чистого металла и окрашены.
Металлические конструкции покрасить эмалью ПФ-115
ГОСТ 6465-76 за два раза по поверхности огрунтованной ГФ-021
ГОСТ 25129-82.
Определение продолжительности строительства.
Продолжительность выполнения работ по прокладке теплосети определена по СНиП 1.04.03-05 и составляет 4,0 месяца (для прокладки труб Ø до 400мм в ж/б канале с заводской изоляцией, в сухих грунтах, в траншее с креплением стенок, при длине трассы до 600м).
Определение размеров траншеи и камер .

Определяем ширину траншеи по низу:
b = 2,94+0,1*2 = 3,14 м
Глубина траншеи
Н = 1,33+0,5 = 1,83м
Ширина по верху
В = b+2mh = 3,14+2*0,5*1,83 = 4,97м
Для супеси — глубина траншеи Н до 3 м по СНиП III-8-76 заложение откосов 1m = 1 : 0,5.
Составление баланса земляных работ.
Подсчет объемов земляных работ.
Определение объема механических земляных работ
![]()
при этом
и
— площади поперечного сечения траншеи в начале и в конце участка;
— длина участка,
=206м;
и
— глубина траншеи;
m — заполнение откосов.
Определение площади поперечного сечения траншеи.
![]()
Вырытый объем траншей
![]()
![]()
Объем ручных земляных работ
![]()
![]()
h — недобор грунта, устанавливается СНиПом в зависимости от объема ковша экскаватора h=0,15 м
![]()
![]()
Засыпка трубопровода бульдозером
Объем, вытесняемый непроходным каналом:
![]()
![]()
На вывоз: 805,5![]()
Vзасыпки = 1528,63-805,5 = 723,1 ![]()
Баланс земляных масс. Таблица 4.1

Выбор экскаватора:

Определение высоты отвала:
, где
- объём на засыпку бульдозером 723,1 м³;
- длина трассы 206 м;
м
Определяем высоту выгрузки:
, где
- высота отвала, м
м
Определяем радиус вырывания:
,где
- глубина траншеи по верху;
- расстояние от края траншеи до отвала
м
Выбираем экскаватор по ЕНиР 21-7
Отрывку траншеи ведем экскаватором с обратной лопатой марки 70-5015А. Вместимость ковша 0,5 м3; наибольший радиус копания 7,3 м; наибольшая высота выгрузки 3,9 м; мощность 55 кВт; наибольшая глубина копания 4,5 м.
Выбор крана.
Трубы укладываются по мм, max d 426 мм
=72,33 кг на 1 м
Для удешевления и ускорения монтажа трассы теплопровода выбираем не кран, а кран-манипулятор марки DAEWOO ULTRA NOVUS со следующими характеристиками:
· Грузоподъемность борта - 19, 5 тн.
· Длина борта - 9,5 м.
· Двигатель - по лицензии MAN (немецк.)
· Объем двигателя - 13650 см3, две турбины.
· Мощность двигателя 420 л.с.
· Колесная формула 8*4
· Грузоподъемность стрелы - 10 тн.
· Вылет стрелы - 20 м.
Выбор бульдозера

![]()
z =
м
Выбираем бульдозер (по ЕНиР 2-1-22) ДЗ-29 (Д-535)
Тип отвала — неповоротный.
Длина отвала 2,49+1,49=2,56 м.
Высота отвала 0,8 м.
Определение численного и профессионального состава бригад.
Срок выполнения бригадного комплекса работ выполняемых с применением ведущей машины.
Организация и производство работ
Строительство теплосети складывается из следующих основных видов работ:
1. Подготовительные работы.
Строительная полоса зоны работ по всей трассе – 8м
2. Земляные работы.
3. Бетонные и ж/бетонные работы по теплосети.
4. Сварочные работы.
5. Монтаж и укладка труб в траншею.
6. Засыпка трубопроводов.
7. Испытание и сдача теплосети.
8. Благоустройство.
Подготовительные работы.
До начала и в процессе производства основных видов работ должны быть выполнены следующие подготовительные работы:
- перенос и закрепление трассы газопровода в натуру;
- ограждение стройплощадки забором;
- установка передвижных производственных и санитарно-бытовых
вагончиков;
- устройство открытых складских площадок (по месту, минимальный запас. Монтаж рекомендуется вести с «колес» манипулятором или гидроманипулятором, грузоподъемностью 10 тонн или более);
- доставка строительной техники.
Земляныеные работы.
Механизированная разработка траншеи производится экскаватором с "обратной" лопатой (ковш объемом– 0,5 м3 ) с отвозкой его на постоянную и временную свалку.
Ширина разрабатываемой траншеи до 5,0м, глубина до 2,2м, котлованов для колодцев глубиной до 3,0м.
Разрабатываемый грунт под асфальтом подлежит замене на привозной песок.
Разработку траншеи предусмотрено выполнить с вертикальными стенками с креплением стенок траншей деревянными щитами. Разработка котлованов принята с креплением стенок досками. Раскопку траншей начинать со стороны низких отметок и вести навстречу уклону. При появлении воды предусмотреть водоотлив с помощью центробежных или диафрагмовых насосов.
Для обеспечения прохода пешеходов через готовые участки траншей с одной стороны на другую предусмотреть устройство переходных мостиков шириной не менее 1,5м , в местах наиболее благоприятных для этого. Готовые участки траншей с целью не проникновения посторонних в зону производства работ, оградить с обеих сторон инвентарным ограждением. По мере готовности траншеи устраивается монолитный ж/б канал, осуществляется засыпка труб в канале и засыпка канала привозным песком. На завершающем этапе работ осуществляется окончательная засыпка траншеи, восстановление асфальтового покрытия.
После укладки труб в проектное положение произвести промывку их водопроводной водой путем подключения к гидрантам или кранам в зданиях и сбросом ее после промывки в существующую канализацию.
Работы по демонтажу и монтажу конструкций вести при помощи автокрана грузоподъемностью 10т.
Каждая труба, поступающая на стройплощадку, должна быть испытана на заводе-изготовителе.
В проекте принята сварка на трассе одиночных труб и секций труб и изоляция труб на заводе-изготовителе.
Трубы к месту укладки перевозятся манипулятором или гидроманипулятором, грузоподъемностью 10 тонн или более.
Для погрузки труб использовать торцевые захваты или мягкие кольцевые стропы. .
Сварка неповоротных стыков производится вручную с применением
наружных эксцентриковых центраторов на монтажных опорах. Монтаж заклеста производится после засыпки прилегающих участков. Укладка изолированных плетей производится с применением мягких полотенец.
Техника безопасности и охрана труда.
Весь комплекс строительно-монтажных работ, а также работы, связанные с организацией строительной площадки и площадок для складирования строительных материалов и изделий необходимо выполнять в строгом соответствии с соответствующими разделами СНиП 12-04-2002 Безопасность труда в строительства. Часть 2. Строительное производство.
СНиП 12-03-2001 "Безопасность труда в строительстве. Часть 1, Общие требования". ПБ 10-382-00 "Правила устройства и безопасной эксплуатации грузоподъемных кранов". СП 12-136-2002 "Решения по охране труда и промышленной безопасности в проектах организации строительства и проектах производства работ".
Противопожарные мероприятия.
Выполнение всех строительно-монтажных работ и обустройство строительного участка производится в соответствии с ППБО1-03 "Правилами пожарной безопасности в Российской Федерации". На территории строительного участка оборудуются пожарные щиты с комплектом первичных средств пожаротушения: ящики с песком, лопаты, багры, ведра, огнетушители.
Бытовые и служебные помещения, емкости и корпуса всех машин и механизмов должны быть надежно заземлены.
Охрана окружающей среды.
Технология выполнения комплекса строительно-монтажных работ не включает в себя процессы в значительной степени неблагоприятно влияющие на окружающую среду. Однако, в период организации строительной площадки, а в дальнейшем при выполнении работ, определенных проектом организации строительства, предусмотреть следующие мероприятия:
- при устройстве площадок для складирования строительных материалов и изделий, при устройстве внутриплощадочных проездов и подъездной дороги, - обеспечить максимальную сохранность кустарника и деревьев;
- в период эксплуатации строительных машин и механизмов, транспортных средств и другого оборудования не допускать загрязнения почвенно-растительного слоя горюче-смазочными материалами и другими отходами, обеспечивать их сбор и утилизацию;
- после завершения строительно-монтажных работ вся территория должна быть приведена в надлежащий порядок и очищена от всех посторонних предметов.
Составление ведомости состава и объема работ.
Таблица 4.2
| Состав работ в порядке и последовательности |
Объём работ |
|||
| их выполнения |
Ед. изм. |
Кол-во |
||
| 1. Разработка траншеи |
м³ |
1399,26 |
||
| 2. Ручная подчистка траншей |
м³ |
129,37 |
||
| 3 Сборка труб |
м |
206 |
||
| 4. Сварка труб на бровке |
стык |
18 |
||
| 5. Укладка труб в траншею |
м |
206 |
||
| 6. Сварка труб в траншее |
стык |
9 |
||
| 7 Предварительные испытания |
м |
206 |
||
| 8. Установка запорной арматуры |
шт. |
6 |
||
| 9. . Гидроизоляция стыков |
стык |
23 |
||
| 10. Механизированная засыпка |
м³ |
723,1 |
||
| 11. Окончательные испытания |
м |
206 |
Определение технико-экономических показателей.
Общие трудовые затраты на выполнение монтажных работ = 135 чел. дн.
Затраты труда на один погонный метр газопровода
чел. дн./ пог. м
Продолжительность строительства (проектная) = 22 дня.
Планируемый уровень производительности труда =115%.
Определение числа рабочих:
135/(1,15*1*22)=5,4 человек, принимаем 6 человек в бригаде:
5р.-1чел. ;
4р.-1чел.;
3р.-2чел;
2р.-2чел.
Расчет заработной платы с учетом КТУ .
Таблица 4.5
| № |
Состав бригады |
Разряд |
Кол-во чел-дн |
Кол-во чел-час |
Зарплата по тарифу |
КТУ |
Зарплата по тарифу с КТУ, руб |
Приработок, руб |
Премия, руб |
Общий заработок |
| 1 |
Иванов И.И. |
5 |
22 |
176 |
24500,92 |
0,3 |
7300,776 |
3500,7 |
1600,94 |
29800,56 |
| 2 |
Петров П.П. |
4 |
22 |
176 |
21100,12 |
1,5 |
31600,68 |
15300,24 |
7200,71 |
43700,07 |
| 3 |
Сидоров С.С. |
3 |
22 |
176 |
18300,28 |
1,4 |
25600,59 |
12400,16 |
5800,91 |
36600,35 |
| 4 |
Орлов О.О. |
3 |
22 |
176 |
16200,4 |
0,9 |
14600,16 |
7000,7 |
3300,56 |
26600,66 |
| 5 |
Соколов С.С. |
2 |
22 |
176 |
14800,48 |
1 |
14800,48 |
7100,85 |
3400,09 |
25400,42 |
| 6 |
Беркутов Б.Б. |
2 |
22 |
176 |
18300,28 |
0,8 |
14600,62 |
7000,95 |
3300,66 |
28700,89 |
| Итого: |
132 |
1056 |
113400 |
5,9 |
108900 |
52700 |
25000 |
191100 |
Ведомость потребностей в основных строительных машинах, транспортных средствах, механизмах и инструменте.
Таблица 4.6.
| №№ П/П |
Наименование |
Марка или тип |
Кол-во |
| 1. |
2. |
3. |
4. |
| 1. |
Компрессор передвижной производительностью 9м3 /мин |
П.ДК-9 |
2 |
| 2. |
Трамбовка пневматическая |
- |
2 |
| 3. |
Автомобиль-самосвал |
КАМАЗ-5511 |
4 |
| 4. |
Сварочный аппарат |
- |
2 |
| 5. |
Манипулятор 10,0т |
- |
1 |
| 6. |
Передвижная электростанция |
- |
1 |
| 7. |
Экскаватор V=0,5м3 |
1 |
|
| 8. |
Бульдозер |
ДЗ-29 (Д-535) |
1 |
Примечание:
Предусмотренные перечнем марки машин и механизмов не являются обязательными для использования при производстве строительно-монтажных работ и могут быть заменены другими, имеющимися в наличии, с аналогичной технической характеристикой.
Раздел 5.
ОХРАНА ТРУДА В СТРОИТЕЛЬСТВЕ
5. Охрана труда в строительстве
Общие положения.
Вопросы охраны труда неразрывно связаны с технологией производства работ. Решение для всего комплекса строительно-монтажных работ (СМР) предусматривается в . Технологии и организации строительных и монтажно-заготовительных процессов (ТСП), что обеспечивается:
а) ограждением территории и опасных зон при ведении строительно-монтажных работ;
б) устройством дорог (проходов, проездов и переходов) и соблюдением правил внутрипостроечного движения;
в) размещением и безопасной эксплуатацией строительных машин и механизмов;
г) хозяйственно-питьевым и противопожарным водоснабжением;
д) энергоснабжением и электрическим (рабочим и аварийным) освещением территории складов, проходов, проездов, временных зданий и рабочих зон;
е) устройством складов для временного хранения материалов и конструкций;
ж) устройством административных санитарно-бытовых помещений, пунктов питания, здравпункта;
з) устройством противопожарной сигнализации;
вывешиванием знаков безопасности.
Материалы инженерных решений в области промышленной санитарии, гигиены труда и пожарной безопасности, по организации безопасных условий работы на строительной площадке, санитарно-гигиенического обслуживания рабочих, устройству искусственного освещения, загрязнения воздушной среды вредными веществами, представленные в данном разделе, приняты в соотв. с [1].
Организация и производство работ.
Строительство теплосети данного проекта складывается из следующих основных видов работ:
Подготовительные работы.
Строительная полоса зоны работ по всей трассе – 8м.
Земляные работы.
Бетонные и ж/бетонные работы по теплосети.
Сварочные работы.
Монтаж и укладка труб в траншею.
Обратная засыпка.
Испытание и сдача теплосети.
Благоустройство.
Подготовительные работы.
До начала и в процессе производства основных видов работ должны быть выполнены следующие подготовительные работы:
- перенос и закрепление трассы газопровода в натуру;
- ограждение стройплощадки забором;
- установка передвижных производственных и санитарно-бытовых
вагончиков;
- устройство открытых складских площадок (по месту, минимальный запас. Монтаж рекомендуется вести с «колес» );
- доставка строительной техники.
Требования охраны и безопасности труда, содержащиеся в нормативных правовых актах субъектов Российской Федерации и производственно-отраслевых нормативных документах организаций, не должны противоречить обязательным положениям настоящих норм и правил и других нормативных правовых актов, содержащих государственные требования охраны труда (п. 4.3 [3] ).
Обеспечение технически исправного состояния строительных машин, инструмента, технологической оснастки, средств коллективной защиты работающих осуществляется организациями, на балансе которых они находятся (п. 4.5 [3] ).
Организации, осуществляющие производство работ с применением машин, должны обеспечить выполнение требований безопасности этих работ.
Перед началом работ в условиях производственного риска необходимо выделить опасные для людей зоны, в которых постоянно действуют или могут действовать опасные факторы, связанные или не связанные с характером выполняемых работ (п. 4.8 [3] ).
К зонам постоянно действующих опасных производственных факторов относятся:
места вблизи от неизолированных токоведущих частей электроустановок;
места вблизи от неогражденных перепадов по высоте 1,3 м и более;
места, где возможно превышение предельно допустимых концентраций вредных веществ в воздухе рабочей зоны.
К зонам потенциально опасных производственных факторов следует относить:
участки территории вблизи строящегося здания (сооружения);
этажи (ярусы) зданий и сооружений в одной захватке, над которыми происходит монтаж (демонтаж) конструкций или оборудования;
зоны перемещения машин, оборудования или их частей, рабочих органов;
места, над которыми происходит перемещение грузов кранами (п. 4.9 [3] ).
Размеры указанных опасных зон устанавливаются согласно приложению Г [3] . .
Приложение Г[3] .
| Высота возможного падения груза (предмета), м |
Минимальное расстояние отлета груза (предмета), м |
|
| перемещаемого краном |
падающего с здания |
|
| До 10 |
4 |
3,5 |
| » 20 |
7 |
5 |
| » 70 |
10 |
7 |
| » 120 |
15 |
10 |
| » 200 |
20 |
15 |
| » 300 |
25 |
20 |
| » 450 |
30 |
25 |
| Примечание - При промежуточных значениях высоты возможного падения груза (предмета) минимальное расстояние их отлета допускается определять методом интерполяции. |
||
В организации, как правило, назначаются лица, ответственные за обеспечение охраны труда в пределах порученных им участков работ, в том числе:
- в целом по организации (руководитель, заместитель руководителя, главный инженер);
- в структурных подразделениях (руководитель подразделения, заместитель руководителя);
- на производственных территориях (начальник цеха, участка, ответственный производитель работ по строительному объекту);
- при эксплуатации машин и оборудования (руководитель службы главного механика, энергетика и т.п.);
- при выполнении конкретных работ и на рабочих местах (менеджер, мастер).
- при выполнении конкретных работ и на рабочих местах (менеджер, мастер) (п. 5.2 [3] ).
При численности работников более 10 чел. в организации в соответствии с законодательством должен быть создан совместный комитет (комиссия) по охране труда на паритетной основе из представителей администрации, профессиональных союзов или иных уполномоченных работниками представительных органов в соответствии с рекомендациями Минтруда России (п. 5.10 [3] ).
В организации должны быть созданы условия для изучения работниками правил и инструкций по охране труда, требования которых распространяются на данный вид производственной деятельности. Комплект документов по охране и безопасности труда, издаваемых Госстроем России, должен быть в каждом производственном подразделении организации и предоставляться работникам для самоподготовки (п. 6.1.2 [3] ).
При строительстве объектов с применением грузоподъемных кранов, когда в опасные зоны, расположенные вблизи строящихся зданий, а также мест перемещения грузов кранами, границы которых определяются по приложению Г настоящих норм и правил, попадают транспортные или пешеходные пути, санитарно-бытовые или производственные здания и сооружения, другие места постоянного или временного нахождения людей на территории строительной площадки или вблизи ее, работы следует выполнять в соответствии с ПОС и ППР, содержащими решение следующих вопросов, рекомендованных в приложении Ж, для обеспечения безопасности людей:
применение средств для искусственного ограничения зоны работы башенных кранов;
применение защитных сооружений-укрытий и защитных экранов (п. 6.1.5 [3] ).
высота ограждения производственных территорий должна быть не менее 1,6 м, а участков работ - не менее 1,2;
ограждения, примыкающие к местам массового прохода людей, должны иметь высоту не менее 2 м и быть оборудованы сплошным защитным козырьком;
козырек должен выдерживать действие снеговой нагрузки, а также нагрузки от падения одиночных мелких предметов;
ограждения не должны иметь проемов, кроме ворот и калиток, контролируемых в течение рабочего времени и запираемых после его окончания (п. 6.2.2 [3] ).
Места прохода людей в пределах опасных зон должны иметь защитные ограждения. Входы в строящиеся здания (сооружения) должны быть защищены сверху козырьком шириной не менее 2 м от стены здания. Угол, образуемый между козырьком и вышерасположенной стеной над входом, должен быть 70-75° (п. 6.2.3 [3] ).
При производстве работ в закрытых помещениях, на высоте, под землей должны быть предусмотрены мероприятия, позволяющие осуществлять эвакуацию людей в случае возникновения пожара или аварии (п. 6.2.4 [3] ).
На производственных территориях, участках работ и рабочих местах работники должны быть обеспечены питьевой водой, качество которой должно соответствовать санитарным требованиям (п. 6.2.10 [3] ).
Освещенность должна быть равномерной, без слепящего действия осветительных приспособлений на работающих. Производство работ в неосвещенных местах не допускается (п. 6.2.11 [3] ).
При температуре воздуха на рабочих местах ниже 10 °С работающие на открытом воздухе или в неотапливаемых помещениях должны быть обеспечены помещениями для обогрева (п. 6.2.13 [3] ).
Колодцы, шурфы и другие выемки должны быть закрыты крышками, щитами или ограждены. В темное время суток указанные ограждения должны быть освещены электрическими сигнальными лампочками напряжением не выше 42 В (п. 6.2.14 [3] ).
Складирование материалов, прокладка транспортных путей, установка опор воздушных линий электропередачи и связи должны производиться за пределами призмы обрушения грунта незакрепленных выемок (котлованов, траншей), а их размещение в пределах призмы обрушения грунта у выемок с креплением допускается при условии предварительной проверки устойчивости закрепленного откоса по паспорту крепления или расчетом с учетом динамической нагрузки (п. 6.3.1 [3] ).
Подготовка рабочего места и допуск к работе командированного персонала осуществляются во всех случаях электротехническим персоналом эксплуатирующей организации (п. 6.4.12 [3] ).
Обеспечение охраны труда при проведении земляных работ.
Механизированная разработка траншеи производится экскаватором с "обратной" лопатой (ковш объемом– 0,5 м3 см. раздел ТСП) с отвозкой его на постоянную и временную свалку.
Ширина разрабатываемой траншеи до 5,0м, глубина до 2,2м, котлованов для колодцев глубиной до 3,0м.
Разрабатываемый грунт под асфальтом подлежит замене на привозной песок.
Разработку траншеи предусмотрено выполнить с вертикальными стенками с креплением стенок траншей деревянными щитами. Разработка котлованов принята с креплением стенок досками. Раскопку траншей начинать со стороны низких отметок и вести навстречу уклону. При появлении воды предусмотреть водоотлив с помощью центробежных или диафрагмовых насосов.
Для обеспечения прохода пешеходов через готовые участки траншей с одной стороны на другую предусмотреть устройство переходных мостиков шириной не менее 1,5м , в местах наиболее благоприятных для этого. Готовые участки траншей с целью не проникновения посторонних в зону производства работ, оградить с обеих сторон инвентарным ограждением. По мере готовности траншеи устраивается монолитный ж/б канал, осуществляется засыпка труб в канале и засыпка канала привозным песком. На завершающем этапе работ осуществляется окончательная засыпка траншеи, восстановление асфальтового покрытия.
После укладки труб в проектное положение произвести промывку их водопроводной водой путем подключения к гидрантам или кранам в зданиях и сбросом ее после промывки в существующую канализацию.
Работы по демонтажу и монтажу конструкций вести при помощи автокрана грузоподъемностью 10т.
Каждая труба, поступающая на стройплощадку, должна быть испытана на заводе-изготовителе.
В проекте принята сварка на трассе одиночных труб и секций труб и изоляция труб на заводе-изготовителе.
Трубы к месту укладки перевозятся автомобильными полуприцепами.
Для погрузки труб использовать торцевые захваты или мягкие кольцевые стропы.
Сварка неповоротных стыков производится вручную с применением
наружных эксцентриковых центраторов на монтажных опорах. Монтаж заклеста производится после засыпки прилегающих участков. Укладка изолированных плетей производится с применением мягких полотенец.
Техника безопасности в строительстве.
Таблица 4 [3].
| Виды грунтов |
Крутизна откоса (отношение его высоты к заложению) при глубине выемки, м, не более |
||
| 1,5 |
3 |
5 |
|
| Насыпные неуплотненные Песчаные и гравийные Супесь Суглинок Глина Лессы и лессовидные |
1:0,67 1:0,5 1:0,25 1:0 1:0 1:0 |
1:1 1:1 1:0,67 1:0,5 1:0,25 1:0,5 |
1:1,25 1:1 1:0,85 1:0,75 1:0,5 1:0,5 |
Примечание. При напластовании различных видов грунта крутизну откосов для всех пластов надлежит назначать по наиболее слабому виду грунта.
Эксплуатация строительных машин, транспортных средств, производственного оборудования, средств механизации, приспособлений оснвастки, ручных машин и инструмента.
Строительные машины, транспортные средства, производственное оборудование (машины мобильные и стационарные), средства механизации, приспособления, оснастка (машины для штукатурных и малярных работ, люльки, передвижные леса, домкраты, грузовые лебедки и электротали и др.), ручные машины и инструмент (электродрели, электропилы, рубильные и клепальные пневматические молотки, кувалды, ножовки и т.д.) должны соответствовать требованиям государственных стандартов по безопасности труда, а вновь приобретаемые - как правило, иметь сертификат на соответствие требованиям безопасности труда.
Запрещается эксплуатация указанных выше средств механизации без предусмотренных их конструкцией ограждающих устройств, блокировок, систем сигнализации и других средств коллективной защиты работающих.
Эксплуатация грузоподъемных машин и других средств механизации, подконтрольных органам Госгортехнадзора России, должна производиться с учетом требований нормативных документов, утвержденных этим органом.
Средства механизации, вновь приобретенные, арендованные или после капитального ремонта - неподконтрольные органам государственного надзора, допускаются к эксплуатации после их освидетельствования и опробования лицом, ответственным за их эксплуатацию.
Машины, транспортные средства, производственное оборудование и другие средства механизации должны использоваться по назначению и применяться в условиях, установленных заводом-изготовителем.
Организации или физические лица, применяющие машины, транспортные средства, производственное оборудование и другие средства механизации, должны обеспечить их работоспособное состояние.
Перечень неисправностей, при которых запрещается эксплуатация средств механизации, определяется согласно документации завода-изготовителя этих средств.
При техническом обслуживании и ремонте сборочные единицы машины, транспортного средства, имеющие возможность перемещаться под воздействием собственной массы, должны быть заблокированы механическим способом или опущены на опору с исключением возможности их самопроизвольного перемещения.
Рабочие места при техническом обслуживании и текущем ремонте машин, транспортных средств, производственного оборудования и других средств механизации должны быть оборудованы комплектом исправного инструмента, приспособлений, инвентаря, грузоподъемных приспособлений и средств пожаротушения.
Оставлять без надзора машины, транспортные средства и другие средства механизации с работающим (включенным) двигателем не допускается.
Включение, запуск и работа транспортных средств, машин, производственного оборудования и других средств механизации должны производиться лицом, за которым они закреплены и имеющим соответствующий документ на право управления этим средством.
При использовании машин, транспортных средств в условиях, установленных эксплуатационной документацией, уровни шума, вибрации, запыленности, загазованности на рабочем месте машиниста (водителя), а также в зоне работы машин не должны превышать действующие нормы, а освещенность не должна быть ниже предельных значений, установленных действующими нормами (п. 7.1.1-7.1.12 [3] ).
Требования безопасности при эксплуатации мобильных машин и транспортных средств
При размещении мобильных машин на производственной территории руководитель работ должен до начала работы определить рабочую зону машины и границы создаваемой ею опасной зоны. При этом должна быть обеспечена обзорность рабочей зоны, а также рабочих зон с рабочего места машиниста. В случаях, когда машинист, управляющий машиной, не имеет достаточного обзора, ему должен быть выделен сигнальщик.
Со значением сигналов, подаваемых в процессе работы и передвижения машины, должны быть ознакомлены все лица, связанные с ее работой. Опасные зоны, которые возникают или могут возникнуть во время работы машины, должны быть обозначены знаками безопасности и (или) предупредительными надписями.
Техническое состояние и оборудование автомобилей всех типов, марок и назначений, находящихся в эксплуатации, должны соответствовать правилам по охране труда на автомобильном транспорте.
Они должны проходить технические осмотры в соответствии с Правилами проведения государственного технического осмотра транспортных средств Государственной инспекцией безопасности дорожного движения МВД России, утвержденными 15 марта 1999 г. № 190, зарегистрированными Минюстом России 22 апреля 1999 г. № 1763.
При размещении и эксплуатации машин, транспортных средств должны быть приняты меры, предупреждающие их опрокидывание или самопроизвольное перемещение под действием ветра, при уклоне местности или просадке грунта (п. 7.2.1-7.2.3 [3] ).
а) расстояние от подъемной или выдвижной части строительной машины в любом ее положении до находящейся под напряжением воздушной линии электропередачи должно быть не менее указанного в таблице 2 (п. 7.2.5.2 [3] );
б) корпуса машин, за исключением машин на гусеничном ходу, при их установке непосредственно на грунте должны быть заземлены при помощи инвентарного переносного заземления.
Таблица 2 [3] .
| Расстояние, м |
||
| минимальное |
минимально измеряемое техническими средствами |
|
| До 20 |
2,0 |
2,0 |
| Св. 20 до 35 |
2,0 |
2,0 |
| » 35 » 110 |
3,0 |
4,0 |
| » 110 » 220 |
4,0 |
5,0 |
| » 220 » 400 |
5,0 |
7,0 |
| » 400 » 750 |
9,0 |
10,0 |
| » 750 » 1150 |
10,0 |
11,0 |
При эксплуатации машин, имеющих подвижные рабочие органы, необходимо предупредить доступ людей в опасную зону работы, граница которой находится на расстоянии не менее 5 м от предельного положения рабочего органа, если в инструкции завода-изготовителя отсутствуют иные повышенные требования (п. 7.2.9 [3] );
Требования безопасности при эксплуатации стационарных машин.
Ввод в эксплуатацию производственного оборудования (стационарных машин), смонтированного при строительстве, реконструкции, техническом перевооружении и расширении производственных объектов, производится в составе приемки объекта в установленном порядке (п. 7.3.1 [3] ).
Ввод в эксплуатацию стационарных машин, установленных на строительных площадках (бетонных или растворных заводов, строительных подъемников, компрессорных станций и т.п.), производится совместным решением лиц, ответственных за безопасность труда на данной площадке и при эксплуатации данного вида оборудования с привлечением, в случае необходимости, соответствующих органов государственного надзора.
Стационарные машины, при работе которых выделяется пыль (дробильное, размольное, смесительное и др.), должны быть оборудованы средствами пылеподавления или пылеулавливания.
Движущиеся части стационарных машин, являющиеся источниками опасности, должны быть ограждены сетчатыми или сплошными металлическими ограждениями.
Применение съемных защитных ограждений и ограждающих устройств допускается в том случае, если по конструктивным или технологическим причинам не представляется возможным установить стационарные.
Съемные, откидные и раздвижные ограждения, а также открывающиеся дверцы, крышки, люки, щитки в этих ограждениях или в корпусе оборудования должны быть снабжены устройствами (блокировками), исключающими их случайное снятие или открывание.
Для защиты от поражения электрическим током при эксплуатации машин должны применяться следующие меры безопасности:
токоведущие части производственного оборудования, являющиеся источниками опасности, должны быть надежно изолированы, ограждены или расположены в недоступных для людей местах;
токоведущие части электрооборудования должны быть размещены внутри корпусов (шкафов, блоков) с запирающимися дверями или закрыты защитными кожухами при расположении в доступных для людей местах;
металлические части производственного оборудования, которые вследствие повреждения изоляции могут оказаться под напряжением опасной величины, должны быть заземлены (занулены).
В схеме электрических цепей производственного оборудования должно быть предусмотрено устройство, централизованно отключающее от питающей сети все электрические цепи.
Машины, объединенные в единый технологический процесс с числом работающих более одного, должны снабжаться системами сигнализации, предупреждающими рабочих о пуске. Дистанционный пуск должен производиться после подачи предупредительного звукового или светового сигнала и получения ответного сигнала с мест обслуживания оборудования о возможности пуска (п. 7.3.3-7.3.8 [3] ).
Персонал, эксплуатирующий средства механизации, оснастку, приспособления и ручные машины, до начала работ должен быть обучен безопасным методам и приемам работ с их применением согласно требованиям инструкций завода-изготовителя и инструкции по охране труда.
Лебедки, применяемые для перемещения подъемных подмостей и устанавливаемые на земле, должны быть загружены балластом, вес которого должен не менее чем в два раза превышать тяговое усилие лебедки.
Балласт должен быть закреплен на раме лебедки. Количество витков каната на барабане лебедки при нижнем положении груза должно быть не менее двух.
Домкраты для подъема грузов должны быть испытаны перед началом эксплуатации, а также через каждые 12 мес. и после каждого ремонта.
Испытания следует проводить статической нагрузкой, превышающей грузоподъемность на 25 %. При испытании домкратов их винты (рейки, штоки) должны быть выдвинуты в крайнее верхнее положение, соответствующее подъему груза на максимальную высоту по эксплуатационной документации.
Съемные грузозахватные приспособления и тара в процессе эксплуатации должны подвергаться техническому осмотру лицом, ответственным за их исправное состояние, в сроки, установленные требованиями ПБ 10-382, утвержденных Госгортехнадзором России 31 декабря 1999 г. № 98. (Не нуждаются в государственной регистрации - письмо Минюста России от 17.08.2000 г. № 6884-ЭР.)
Результаты осмотра необходимо регистрировать в журнале работ.
Съемные грузозахватные приспособления и тара, не прошедшие технического осмотра, не должны находиться в местах производства работ.
Грузовые крюки грузозахватных средств (стропы, траверсы), применяемых в строительстве, промышленности строительных материалов и строительной индустрии, должны быть снабжены предохранительными замыкающими устройствами, предотвращающими самопроизвольное выпадение груза.
Поверхность грунта, на которую устанавливаются средства подмащивания, должна быть спланирована (выровнена и утрамбована) с обеспечением отвода с нее поверхностных вод. В тех случаях, когда невозможно выполнить эти требования, средства подмащивания должны быть оборудованы регулируемыми опорами (домкратами) для обеспечения горизонтальности установки или установлены временные опорные сооружения, обеспечивающие горизонтальность установки средств подмащивания (п. 7.4.1-7.4.6 [3] ).
Эксплуатация ручных машин должна осуществляться при выполнении следующих требований:
проверка комплектности и надежности крепления деталей, исправности защитного кожуха, кабеля (рукава) должна осуществляться при каждой выдаче машины в работу;
до начала работы следует проверять исправность выключателя и машины на холостом ходу;
при перерывах в работе, по окончании работы, а также при смазке, очистке, смене рабочего инструмента и т.п. ручные машины должны быть выключены и отсоединены от электрической или воздухопроводящей сети;
ручные машины, масса которых, приходящаяся на руки работающего, превышает 10 кг, должны применяться с приспособлениями для подвешивания;
при работе с машинами на высоте следует использовать в качестве средств подмащивания устойчивые подмости;
надзор за эксплуатацией ручных машин следует поручать специально выделенному для этого лицу.
В соответствии с межотраслевыми правилами охраны труда при эксплуатации электроустановок потребителей лица, допускаемые к управлению ручными электрическими машинами, должны иметь I группу по электробезопасности, подтверждаемую ежегодно, и II группу при работе ручными электрическими машинами класса I в помещениях с повышенной опасностью.
Условия использования в работе электроинструмента и ручных электрических машин различных классов устанавливаются межотраслевыми правилами по охране труда при эксплуатации электроустановок потребителей.
При работе с пневмомашиной следует:
не допускать работы машины на холостом ходу (кроме случаев опробования);
при обнаружении неисправностей немедленно прекратить работу и сдать машину в ремонт.
Работающие с пневматическими машинами ударного или вращательного действия должны быть обеспечены мягкими рукавицами с антивибрационной прокладкой со стороны ладони.
Инструмент, применяемый в строительстве, промышленности строительных материалов и строительной индустрии, должен осматриваться не реже одного раза в 10 дней, а также непосредственно перед применением. Неисправный инструмент, не соответствующий требованиям безопасности, должен изыматься (п. 7.4.33-7.4.38 [3] ).
Расчет диаметра каната стропы.
Перекрытие каналов выполняется из сборных железобетонных плит для непроходных каналов.
При прокладке теплотрассы осуществляется подъем и монтаж трубопроводов различных диаметров, а также железобетонных плит для сооружения непроходных каналов. В данном расчете подбираем диаметр каната стропы для подъема плиты перекрытия канала марки ВП-37-12 [4] весом 3,48 тонны, т.к. на данном участке этот элемент является более сложным и тяжелым для подъема.
Рассчитываем диаметр каната стропы для подъема плиты перекрытия канала весом марки ВП-37-12 3,48 тонн по [1].

Рис.5.1. Схема строповки плиты.
Q = 3,48∙9,8∙1000 = 34,11 кН
Q = 34,11 кН – вес груза, с зацепкой крюками при угле отклонения ветвей стропа от вертикали 45˚, число ветвей m =4 шт. Для α=45˚ коэффициент
n = 1,42
Расчет усилия в ветвях стропа:
S= (n·Q)/(m·k) = (1,42·34,11)/(4∙0,75) = 16,15 кН.
k = 0,75 – расчетный коэффициент неравномерности нагрузки
Разрывное усилие ветви стропа изготовленного из стального каната, R>k3 S.
Стропы с обвязкой и зацепкой k3 =6, R = 16,15∙6 = 96,9 кН.
Выбираем канат типа ТК 6х19 по [6] диаметром 14,5 мм с временным сопротивлением разрыву 1600 МПа, имеющий разрывное усилие 99000 Н, или канат типа ТК6х37 по [7] диаметром 15 мм с временным сопротивлением разрыву 1400 МПа, имеющий разрывное усилие 98400 Н .
Если принять число ветвей стропа m =2 шт, то получим усилие на одну ветвь стропа:
S= (n·Q)/(m·k) = (1,42·34,11)/(2∙0,75) = 32,3 кН.
Канат должен в этом случае иметь разрывное усилие:
R = 32,3∙6 = 193,8 кН.
Выбираем канат типа ТК 6х37 по [7] диаметром 20 мм с временным сопротивлением разрыву 1700 МПа, имеющий разрывное усилие 197000 Н, или канат типа ЛКР6х19 по [8] диаметром 21 мм с временным сопротивлением разрыву 1400 МПа, имеющий разрывное усилие 198500 Н.
Определение расчетных параметров стропов.
1 – груз (стальная труба D
=325 мм, с толщиной стенки 7 мм)
2 – траверса
3 – строп

Рис. 5.2. Схема строповки трубы.
В данном случае применяются траверсы, работающие на изгиб.

Рис. 5.3. Схемы для расчета усилий в ветвях стропа.
Чтобы определить технические данные гибких стропов, необходимо провести расчет.
Определяем усилие, действующие на одну ветвь стропа:
S=
, где
S – расчетное усилие, приложенное к стропу, без учета коэффициента перегрузки и воздействия динамического эффекта, кН
Q – вес поднимаемого груза, кН( mтрубы =54,9 кг по [11] );
Q = 54,9∙9,8 = 0,54 кН
Q = 0,54 кН;
M – общее число ветвей стропа
K – коэффициент, зависящий от угла наклона ветви стропа к
Вертикали
L=8м, m=0,54
(вес одного погонного метра трубы)
Q=0,54![]()
M=2
K=1(при
=0)
S=4,32/2=2,16 кН
Разрывное усилие в ветви стропа:
R=S*Kз, где
Кз – коэффициент запаса прочности для стропа, определенный в зависимости от типа стропа.
R = 2,16*6=12,96 кН
По таблице выбираем канат типа ТК6
19 (по [7]
табл.4.2, стр. 58), диаметром 11мм с временным сопротивлением разрыву проволоки 1400 МПа, имеющий разрывное усилие 52550 Н, или канат типа ЛКР6х19 по [8]
диаметром 9,1 мм с временным сопротивлением разрыву 1400 МПа. Из проведенных расчетов видно, что канат для подъема трубы максимального диаметра, применяемой в данном проекте, имеет большой запас прочности, т.к. труба весит намного меньше, чем канат может выдержать при испытании на разрыв.
Производственная санитария.
Самочувствие и работоспособность человека зависит от метеорологических условий производства работ. Действующим нормативным документом, регламентирующим метеорологические условия производственной среды, является [13]. Документом установлены оптимальные и допустимые величины температуры, относительной влажности и скорости движения воздуха.
В случае переохлаждения воздушной среды кровеносные сосуды сужаются, приток крови к ним и снижается. У человека появляется стремление к интенсивным движениям, которые увеличивают обмен веществ в организме с образованием тепла. Чрезмерное охлаждение организма может привести к простудным заболевания.
В случае повышения температуры воздуха человек начинает потеть, его потеря тепла увеличивается за счет испарения пота. При перегреве организма увеличивается приток крови к периферийным кровеносным сосудам. Вследствие расширения сосудов количество протекающей по ним крови и теплоотдача увеличиваются.
Для данного проекта: с категорией выполняемых работ - средней тяжести 2б, в холодный период 15-190 С, в теплый период 20-220 С.
Влажность воздуха в значительной мере влияет на самочувствие человека и его работоспособность. При слишком низкой влажности (менее 20%) организм человека расслабляется, результатом чего является снижения трудоспособности.
Очень высокая влажность (боле 80%) нарушается процесс терморегуляции. Выделяющийся пот не испаряется, а лишь стекает по поверхности тела. В особенности неблагоприятно сочетание высокой влажности с высокой температурой при выполнении человеком тяжелой работы.
Длительное воздействие влаги в сочетании с низкими температурами может привести к такому заболеванию, как туберкулез легких. При значительном содержании влаги и высокой температуре воздуха возникает головокружение, тошнота, тепловые удары с потерей сознания.
Тепловое самочувствие человека в значительной мере связано с таким метеорологическим параметром, как скорость движения воздуха, так как она влияет на теплообмен организма с окружающей средой. При высокой температуре воздуха увеличение его подвижности благоприятно сказывается на самочувствии человека, при низкой – вызывает неприятные ощущения. Вследствие этого стандартом установлена подвижность воздуха, различная для летнего и зимнего периодов года. В теплый период года скорость движения воздуха в рабочей зоне составляет от 0,2 до 1,0 м/с, а в холодный и переходный периоды – от 0,2 до 0,5 м/с.
Низкая скорость воздуха (менее 0.2 м/с) неблагоприятно влияет на самочувствие человека, в этом случае быстро утомляется и заметно теряет трудоспособность.
Задача обеспечения наилучших условий труда, способствующих его высокой производительности, должна решатся комплексно.
При многих технологических процессах на строительных площадках в воздушную среду выделяется пыль. Пыль – это мельчайшие твердые частицы, способные некоторое время находится в воздухе во взвешенном состоянии. Пыль образуется при монтаже зданий обработке строительных конструкций, отделочных работах, очистке и окраске поверхностей изделий и т.п. Пыль характеризуется химическим составом, размерами и формой частиц, их плотностью, электрическими, магнитными и другими свойствами. Пыль представляет собой гигиеническую вредность, так как она отрицательно влияет на организм человека. Под воздействием пыли могут возникнуть такие заболевания, как пневмокониозы, экземы и другие заболевания дыхательных путей. Чем мельче пыль, тем она опасней для человека. Наиболее опасной для человека считается частицы размером от 0.2 до 7 мкм, которые, попадая а легкие при дыхании, задерживаются в них и, накапливаясь, могут стать причиной заболевания. Существует три пути проникновения пыли в организм человека: через органы дыхания, желудочно-кишечный тракт и кожу.
Помимо этого пыль ухудшает видимость на строительных объектах, снижает светоотдачу осветительных устройств. В результате этих причин снижается производительность и качество труда.
Санитарными нормами [13] установлены предельно допустимые концентрации пыли в воздухе рабочей зоны.
В производственных помещениях необходима тщательная и систематическая пылеуборка помещений с помощью вакуумных установок, очистка от пыли вентиляционного воздуха при его подаче в помещения и выбросе в атмосферу, применение в качестве индивидуальных средств защиты от пыли респираторов, очков и противопыльной спец одежды.
Большая часть несчастных случаев с людьми вызвана: обрушением монтируемых конструкций, падением рабочих с высоты, несовершенством и ошибками при такелажных работах, недостаточной освещенностью, неудовлетворительной последовательностью выполнения рабочих операций и т.д.
Падения монтажников-верхолазов с высоты происходит при наводке, установке и закреплении элементов сборных конструкций при расстроповке, окончательном оформлении узлов и особенно при перемещении на новое рабочее место. Для выявления монтажных операций, имеющих наибольшую опасность для работающих, целесообразно проводить детальное изучение указанных рабочих процессов в производственных условиях монтажной площадки.
Конструкция монтажных приспособлений должна обеспечивать: быстрое и свободное выполнение операций, связанных с их установкой или снятием и выверкой элементов конструкций здания и сооружения, устойчивость элементов конструкций зданий и сооружений до их закрепления в соответствии с проектом, ремонтопригодность и взаимозаменяемость узлов деталей.
Важна правильная организация рабочих мест, система мероприятий по оснащению рабочего места необходимыми техническими средствами: подмостями, люльками, монтажными столиками, а также средствами индивидуальной и коллективной защиты.
Расчёт защитного заземления.

Рис. 6.4. Схема расчитываемого заземления.
Защитное заземление – преднамеренное соединение с землёй частей оборудования, не находящихся под напряжением в нормальных условиях эксплуатации, но которые могут оказаться под напряжением в результате нарушения изоляции электроустановки.
Целью расчёта является определение числа одиночных вертикальных электродов и длины горизонтальной соединительной полосы проектируемого заземлителя, обеспечивающих суммарное сопротивление заземлителя, отвечающего требованиям [14].
Согласно «Правилам устройства электроустановок» сопротивление защитного заземления в любое время года не должно превышать: 10 Ом при мощности трансформатора (генератора) Nтр < 100 кВ*А; 0.5 Ом – в установках напряжением выше 1000 В с большими токами замыкания на землю (более 500 А).
Исходные данные:
- размеры стержневого электрода для расчёта удельного сопротивления грунта
l = 2,5 м; d = 0,05 м ;
- заземляемое оборудование: аппарат электросварки P = 200 кВА, напряжение 380 В;
- тип электрода: стержень;
- расстояние между электродами: a = 5 м;
- толщина слоя грунта над электродом: t 0 = 0,6 м;
- Место и условие проведения замеров: п. Томилино, грунт суглинок, сухо.
В соответствии с исходными данными и согласно требованиям [14] и [3] допустимое сопротивление растеканию тока равно R з.тр= 4 Ом.
Расчётное удельное сопротивление грунта r в.рас = 150 Ом*м.
Расчётное сопротивление одиночного заземлителя заданного профиля R э , Ом определяется как:
(7.3)
50,5 Ом
Методом последовательных приближений определяется число вертикальных электродов n в по формуле:
n в = R э / h в R з.тр, (7.4)
где h в - коэффициент использования вертикальных электродов.
Количество вертикальных электродов n в ' при h в ' = 1, без учёта явления экранирования определяется по формуле:
n в ' = R э / R з.тр (7.5)
n в ' = 50,5 / 4 = 13 шт.
n в ' = 13 соответствует h в ' = 0,67
Уточнённое число электродов определяется по формуле 6.4:
n в '' = 50,5/0,67*4 =19 шт.
n в ' = 19 соответствует h в ' = 0,64
Окончательное число электродов определяется по формуле 6.4:
n в '' = 50,5/0,64*4 =20 шт.
n в ' = 20 соответствует h в ' = 0,63
Длина горизонтальной соединительной полосы l г , м определяется как:
l г = 1,05*а*( n в – 1) (7.6)
l г = 1,05*5*(20-1) = 99,8 м
Расчётное удельное сопротивление грунта для горизонтальной соединительной полосы, r г.рас , Ом*м определяется по формуле:
r г.рас = K с * r изм , (7.7)
где K с = 4,1 – коэффициент сезонности для однородной земли при использовании горизонтальных заземлителей;
r изм =100 – удельное сопротивление грунта, Ом*м
r г.рас = 4,1*100 = 410 Ом*м
Сопротивление растеканию тока горизонтальной полосы без учёта коэффициента использования определяется по формуле:
, (7.8)
где b 1 = 0,04 – ширина полосы, м;
t г – глубина заложения полосы, м
t г = t 0 + b 1 / 2 (7.9)
t г = 0,6 + 0,04 / 2 = 0,62 м
0,435 Ом
По таблице VIII /методическое пособие/ Коэффициент использования горизонтальной полосы равен h г = 0,32
Суммарное сопротивление заземлителя из вертикальных электродов определяется по формуле:
R св = R э/ n в * h в (7.10)
R св = 50,5/20*0,63 = 4,01
Общее сопротивление полосы:
R св = R г/ h г (7.11)
R сг = 0,435/0,32 =1,36 Ом
Общее сопротивление группового заземлителя:
R з.гр = R св* R сг / R св+ R сг (7.12)
R з.гр = 4,01*1,36 / 4,01+1,36 = 1,02 Ом
сопротивление группового заземлителя меньше требуемого R з.гр< R з.тр 1,02<4, следовательно требования [14] выполнены.
Обеспечение пожарной безопасности на строительной площадке .
Выполнение всех строительно-монтажных работ и обустройство строительного участка производится в соответствии с [9]. На территории строительного участка оборудуются пожарные щиты с комплектом первичных средств пожаротушения: ящики с песком, лопаты, багры, ведра, огнетушители.
Бытовые и служебные помещения, емкости и корпуса всех машин и механизмов должны быть надежно заземлены.
Пожары на строительных площадках чаще всего возникают из-за несоблюдения правил пожарной безопасности рабочими и инженерно-техническим персоналом. Наиболее часто пожары возникают из-за нарушения правил сварочных работ, курения в запрещенных местах, короткого замыкания в электропроводах.
Осуществление мероприятий, направленных на обеспечение пожарной безопасности, возлагается на руководителей предприятия, прорабов, бригадиров и мастеров строительных площадок. Они несут ответственность за организацию пожарной охраны, за выполнение в установленные сроки необходимых противопожарных мероприятий. Лица, ответственные за противопожарное состояние, обязаны обеспечивать своевременно выполнение предлагаемых органами Государственного пожарного надзора мероприятий, следить за соблюдение противопожарного режима. Выявленные при этом нарушения требований пожарной безопасности должны быть немедленно устранены.
На строительной площадке должно быть организовано обучение всех рабочих правилам пожарной безопасности и действиям на случай возникновения пожара. Лица, не прошедшие инструктаж, не следуют допускать к работе. Занятия по программе пожарно-технического минимума следует проводить непосредственно на участке.
Машины и агрегаты, создающие шум при работе, должны эксплуатироваться таким образом, чтобы уровни звукового давления и уровни звука на постоянных рабочих местах в помещениях и на территории организации не превышали допустимых величин, указанных в государственных стандартах (п. 6.6.12 [3] ).
При эксплуатации машин, производственных зданий и сооружений, а также при организации рабочих мест для устранения вредного воздействия на работающих повышенного уровня шума должны применяться:
технические средства (уменьшение шума машин в источнике его образования; применение технологических процессов, при которых уровни звукового давления на рабочих местах не превышают допустимые, и т. д.);
строительно-акустические мероприятия в соответствии со строительными нормами и правилами;
дистанционное управление шумными машинами;
средства индивидуальной защиты;
организационные мероприятия (выбор рационального режима труда и отдыха, сокращение времени нахождения в шумных условиях, лечебно-профилактические и другие мероприятия) (п. 6.6.13 [3] ).
Техника безопасности при монтаже.
К монтажным работам следует допускать лиц, хорошо знающих конструкцию оборудования, приемы работ при эксплуатации, техническое обслуживание и ремонт оборудования.
Работы по монтажу теплотехнического оборудования должны выполнятся с применением грузоподъемных машин, приспособлений.
Все грузоподъемные средства, инструменты должны соответствовать характеру выполняемых работ и быть в исправном состоянии.
Зоны подъема оборудования должны быть ограждены и иметь предупреждающие знаки. Пребывание людей в зоне возможного падения поднимаемого груза не допускаются.
Монтаж теплотехнического оборудования должен производится на фундаментах или на площадках, принятых от строительных организациях по акту. Установку оборудования на фундаменты, кронштейны, заделанные в стену, можно проводить только после затвердевания цемента до проектной прочности.
Подъем и установку тяжелых плит-перекрытий каналов заводского изготовления больших номеров и другой тяжелой арматуры и оборудования нужно выполнять в присутствии и под наблюдением мастера.
Слесари выполняющие такелажные работы, должны быть обучены по специальной программе и иметь удостоверение на право производство такелажных работ.
Монтажные работы, выполняемые в непосредственной близости от механизированных токоведущих проводов, нужно осуществлять только при отключении напряжения..
Слесарям-монтажникам и электросварщикам не разрешается включать и выключать из сети любое электрооборудование и аппаратуру, выполнять эту работу должен дежурный электрик.
При строительстве объектов с применением грузоподъемных кранов, когда в опасные зоны, расположенные вблизи строящихся зданий, а также мест перемещения грузов кранами, границы которых определяются по приложению Г [3] настоящих норм и правил, попадают транспортные или пешеходные пути, санитарно-бытовые или производственные здания и сооружения, другие места постоянного или временного нахождения людей на территории строительной площадки или вблизи ее, работы следует выполнять в соответствии с ПОС и ППР, содержащими решение следующих вопросов, рекомендованных в приложении Ж [3] , для обеспечения безопасности людей:
применение средств для искусственного ограничения зоны работы башенных кранов;
применение защитных сооружений-укрытий и защитных экранов
Г.2 Границы опасных зон, в пределах которых действует опасность поражения электрическим током, устанавливаются согласно таблице Г.2[3] .
Таблица Г.2 [3].
| Напряжение, кВ |
Расстояние от людей, применяемых ими инструментов, приспособлений и от временных ограждений, м |
Расстояния от механизмов и грузоподъемных машин в рабочем и транспортном положении, от стропов, грузозахватных приспособлений и грузов, м |
|
| До 1 |
На ВЛ |
0,6 |
1,0 |
| В остальных электроустановках |
Не нормируется (без прикосновения) |
1,0 |
|
| 1-35 |
0,6 |
1,0 |
|
| 60, 110 |
1,0 |
1,5 |
|
| 150 |
1,5 |
2,0 |
|
| 220 |
2,0 |
2,5 |
|
| 330 |
2,5 |
3,5 |
|
| 400, 500 |
3,5 |
4,5 |
|
| 750 |
5,0 |
6,0 |
|
| 800* |
3,5 |
4,5 |
|
| 1150 |
8,0 |
10,0 |
|
| * Постоянный ток |
|||
Г.3 Границы опасных зон, в пределах которых действует опасность воздействия вредных веществ, определяются замерами по превышению допустимых концентраций вредных веществ, определяемых по государственному стандарту.
Г.4 Границы опасных зон вблизи движущихся частей машин и оборудования определяются в пределах 5 м, если другие повышенные требования отсутствуют в паспорте или в инструкции завода-изготовителя (п. 7.1.13 [3] ).
Монтаж (демонтаж) средств механизации должен производиться в соответствии с инструкциями завода-изготовителя и под руководством лица, ответственного за исправное состояние машин или лица, которому подчинены монтажники.
Зона монтажа должна быть ограждена или обозначена знаками безопасности и предупредительными надписями (п. 7.1.14 [3] ).
Не допускается выполнять работы по монтажу (демонтажу) машин, устанавливаемых на открытом воздухе в гололедицу, туман, снегопад, грозу, при температуре воздуха ниже или при скорости ветра выше пределов, предусмотренных в паспорте машины.
Строительно-монтажные работы с применением машин в охранной зоне действующей линии электропередачи следует производить под непосредственным руководством лица, ответственного за безопасность производства работ, при наличии письменного разрешения организации - владельца линии и наряда-допуска, определяющего безопасные условия работ и выдаваемого в соответствии с требованиями п. 4.11 при выполнении следующих мер безопасности (п. 7.2.5 [3] ).
Перемещение, установка и работа машины, транспортного средства вблизи выемок (котлованов, траншей, канав и т.п.) с неукрепленными откосами разрешаются только за пределами призмы обрушения грунта на расстоянии, установленном организационно-технологической документацией.
При отсутствии соответствующих указаний в проекте производства работ минимальное расстояние по горизонтали от основания откоса выемки до ближайших опор машины допускается принимать по таблице 1 (п. 7.2.4 [3] ).
Таблица 1 [3].
| Грунт ненасыпной |
||||
| песчаный |
супесчаный |
суглинистый |
глинистый |
|
| Расстояние по горизонтали от основания откоса выемки до ближайшей опоры машины, м |
||||
| 1,0 |
1,5 |
1,25 |
1,00 |
1,00 |
| 2,0 |
3,0 |
2,40 |
2,00 |
1,50 |
| 3,0 |
4,0 |
3,60 |
3,25 |
1,75 |
| 4,0 |
5,0 |
4,40 |
4,00 |
3,00 |
| 5,0 |
6,0 |
5,30 |
4,75 |
3,50 |
При установке строительных машин и применении транспортных средств с поднимаемым кузовом в охранной зоне воздушной линии электропередачи необходимо снять напряжение с воздушной линии электропередачи.
Оценка пожарной безопасности Энергоблока распределительного складского комплекса Томилина.
Здания и части зданий — помещения или группы помещений, функционально связанных между собой, по функциональной пожарной опасности подразделяются на классы в зависимости от способа их использования и от того, в какой мере безопасность людей в них в случае возникновения пожара находится под угрозой, с учетом их возраста, физического состояния, возможности пребывания в состоянии сна, вида основного функционального контингента и его количества:
Ф1 Для постоянного проживания и временного (в том числе круглосуточного) пребывания людей (помещения в этих зданиях, как правило, используются круглосуточно, контингент людей в них может иметь различный возраст и физическое состояние, для этих зданий характерно наличие спальных помещений):
Ф2 Зрелищные и культурно-просветительные учреждения (основные помещения в этих зданиях характерны массовым пребыванием посетителей в определенные периоды времени):
Ф 3 Предприятия по обслуживанию населения (помещения этих предприятий характерны большей численностью посетителей, чем обслуживающего персонала):
Ф 4 Учебные заведения, научные и проектные организации, учреждения управления (помещения в этих зданиях используются в течение суток некоторое время, в них находится, как правило, постоянный, привыкший к местным условиям контингент людей определенного возраста и физического состояния):
Ф 5 Производственные и складские здания, сооружения и помещения (для помещений этого класса характерно наличие постоянного контингента работающих, в том числе круглосуточно):
Ф 5.1 Производственные здания и сооружения, производственные и лабораторные помещения, мастерские;
Ф 5.2 Складские здания и сооружения, стоянки для автомобилей без технического обслуживания и ремонта, книгохранилища, архивы, складские помещения;
Ф 5.3 Сельскохозяйственные здания.
Производственные и складские здания и помещения по взрывопожарной и пожарной опасности в зависимости от количества и пожаровзрывоопасных свойств находящихся (обращающихся) в них веществ и материалов с учетом особенностей технологических процессов размещаемых в них производств подразделяются на категории согласно НПБ 105. (п.5.21 * [2] ).
Производственные и складские помещения, в том числе лаборатории и мастерские в зданиях классов Ф1, Ф2, Ф3 и Ф4, относятся к классу Ф5.
Склады и открытые стоянки автомобильного транспорта данного Производственно-складского комплекса «Томилино» относятся к категории Ф 5.2 (Складские здания и сооружения, стоянки для автомобилей без технического обслуживания и ремонта, книгохранилища, архивы, складские помещения).
На территории данного производственно-складского комплекса (включающего в себя несколько складов для хранения продуктов питания, административно-бытовой корпус), находится Энергоблок-это котельная с 2 видами топлива - природным газом (используется как основной вид топлива на 2 этаже энергоблока), и мазутом, который будет использоваться в том случае, если возникнут проблемы с подачей газа, т.е. в качестве резервного топлива, применяемого на 1 этаже энергоблока.
Число этажей в котельной-2.
Состав помещений (см. Приложение 1 и Приложение 2 ).
Определение категории взрывоопасности производства: оценка взрывопожароопасности различных объектов (помещений, зданий) заключается в определении возможных разрушительных последствий пожаров и взрывов на этих объектах, а также оценка факторов влияния этих явлений на людей (ОФП - опасные факторы пожара).
Существуют два метода оценки взрывопожароопасности объекта – детерминированный и вероятностный.
Нормы противопожарной безопасности устанавливают методику и порядок определения категорий помещений и зданий производственного и складского назначения по взрывопожарной и пожарной опасности. В зависимости от категории назначаются нормативные требования по планировке и застройке, этажности, выбору строительных конструкций и инженерного оборудования. Согласно норме противопожарной безопасности, качественным показателем категорирования помещения является агрегатное состояние горючих веществ, способных создавать взрывоопасные среды. Количественным показателем категорирования является максимально возможное избыточное давление, развиваемое при сгорании взрывоопасной среды, которая может образоваться в помещении.
Определим категорию взрывопожароопасности котельной.
В котельной, блочной конструкции образовалась течь газа во фланцевом соединении между регулятором давления и предохранительным запорным клапаном (ПЗК).
Расчет
Р проводим по уравнению:
ΔР=(Рмах -Ро )х(m*Z*100)/(Vc в ρг,п Сст Кн )
Рмах – максимальное давление взрыва стехиометрической газовоздушной или паровоздушной смеси в замкнутом объеме, определяемое экспериментально или по справочным данным в соответствии с требованиями п.3 НПБ 105-03. При отсутствии данных допускается принимать Рмах равным 900 кПа;
Ро – начальное давление, кПа (допускается принимать 101 кПа);
= 0,5 (для горючих газов) – коэффициент участия во взрыве, который может быть рассчитан на основе характера распределения газов и паров в объеме помещения ( по приложению [10] ).
Допускается принимать значение Z ( по таблице 2 [10] ).
Vc
в
– свободный объем помещения, м
;
m - масса горючего вещества 1,3 кг;
Vп = 0,8х112х5 =448 м
- свободный объем помещения, рассчитываемый с учетом объема оборудования или принимаемый равный 0,8 от геометрического объема.
ρг,п – плотность газа или пара при расчетной температуре tp , кг. м -3 , вычисляемая по формуле:
ρг,п =М/(Vo x(1+0,00367tp )), где
М – молярная масса, кг·кмоль-1 ;
М=51 кг·кмоль-1
V0 – мольный объем, равный 22,413 m3 ·кмоль-1 ;
Tp – расчетная температура, 0 C. В качестве расчетной температуры следует принимать максимально возможную температуру воздуха в данном помещении в соответствующей климатической зоне или максимально возможную температуру воздуха по технологическому регламенту с учетом возможного повышения температуры в аварийной ситуации. Если такого значения расчетной температуры tp по каким-либо причинам определить не удается, допускается принять ее равной 61 0 C;
ρг,п =51/(22,413x(1+0,00367x61))=1,86 кг/м3
Cc т – стехиометрическая концентрация ГГ или паров ЛВЖ и ГЖ, % (об.), вычисляется по формуле:
Cc т =100/(1+4,84β), где
β=nc +(nн +nx )/4+n0 /2 – стехиометрический коэффициент кислорода в реакции сгорания;
nc , nн , n0 , nx – число атомов С, Н, О и галоидов в молекуле горючего;
β=3+9/4=5,25
Kн =3 – коэффициент, учитывающий негерметичность помещения и неадиабатичность процесса горения;
Cc т =100/(1+4,84*5,25)=3,8
ΔР=(Рмах -Ро )х(m*Z*100)/(Vc в ρг,п Сст Кн )=
=(900-101)х(1,3х0,5х100)/(448x1,86x3,8x3)=5,5 кПа
(Относиться к категории т.к. P>5 кПа)
Следовательно, здание котельной относится к взрывопожароопасной категории А, так как к ним относятся производства, связанные с применением горючих газов в таком количестве, что могут образовывать взрывоопасные газовоздушные смеси, при воспламенении которых развивается расчетное избыточное давление взрыва в помещении, превышающее 5 кПа.
Пересчитываем
Р по уравнению:
ΔР=(Рмах -Ро )х(m*Z*100)/(Vc в ρг,п Сст Кн );
Рмах =900 кПа;
Ро =101 кПа;
= 0,5;
Vc
в
– свободный объем помещения, м
;
m - масса горючего вещества 1,3 кг;
Vп =112х5х0,95 =532 м
-свободный объем помещения, рассчитываемый с учетом объема оборудования или принимаемый равный 0,95 от геометрического объема.
ρг,п =М/(Vo x(1+0,00367tp ));
М=51 кг·кмоль-1 ;
V0 =22,413 m3 ·кмоль-1 ;
Tp =61 0 C;
ρг,п =51/(22,413x(1+0,00367x61))=1,86 кг/м3 ;
Cc т =100/(1+4,84β);
β=3+9/4=5,25;
Kн =3;
Cc т =100/(1+4,84*5,25)=3,8
ΔР=(Рмах -Ро )х(m*Z*100)/(Vc в ρг,п Сст Кн )=
=(900-101)х(1,3х0,5х100)/(532x1,86x3,8x3)=4,6 кПа
(ΔP<5 кПа)
Следовательно, здание котельной не относится к взрывопожароопасной категории А.
С учетом опыта проектирования определим категории взрывопожароопасности рассматриваемого здания в целом.
Производим расчет в соответствии с разделом 4 НПБ 105-95 (см.табл.1 ниже), путем последовательного отнесения здания от категории опасности (Б) к низшей (Д) и проверки соответствующих условий (см.ниже):
· Здание не может относится к категории Б, т.к. в нем отсутствуют помещения категории Б;
· Здание не может относится к категории В, т.к. в здании всего 1 помещение категории В, при этом FВ пом >> Fобщ пом ;
· Здание не может относится к категории Д, т.к.
FД пом =53+28+28=109 м2
FГ пом =67+295+26+112+112+126=738 м2
FГ пом >FД пом
Проверяем условия отнесения здания к категории Г:
согласно [10], здание относится к категории Г, если одновременно выполнены 2 условия:
а) здание не относится к категории Б;
б)суммарная площадь всех помещений категорий Б и Г превышает 5% суммарной площади всех помещений или 200 м2 .
Условие а) выполняется – здание не относится к категории Б.
Проверяем условие б):
FБ+Г пом >5% Fвсех пом или > 43,1 м2 .
FБ+Г пом =67+295+26+112+112+126=738 м2 .
Fобщ пом = F1эт пом +F2эт пом =67+28+295+26+15+53+28+112+112+126=862 м2
5%Fобщ пом =0,05*862=43,1 м2
Таким образом, суммарная площадь помещений здания категории Г (FГ пом =738 м2 ) превышает 5% общей площади всех помещений здания
(5%Fобщ пом =43,1 м2 ). Это означает, что Энергоблок Производственно-складского комплекса «Томилино» относится к категории Г.
Таблица 1[10].
| Категория помещения |
Характеристика веществ и материалов, находящихся (обращающихся) в помещении |
| 1 |
2 |
| Взрывопожаро- опасная |
Горючие газы, легковоспламеняющиеся жидкости с температурой вспышки не более 28°С в таком количестве, что могут- образовывать взрывоопасные парогазовоздушные смеси, при воспламенении которых развивается расчетное избыточное давление взрыва в помещении, превышающее 5 кПа. Вещества и материалы, способные взрываться и гореть при взаимодействии с водой, кислородом воздуха или друг с другом в таком количестве, что расчетное избыточное давление взрыва в помещении превышает 5 кПа. |
| Б Взрывопожаро- опасная |
Горючие пыли или волокна, легковоспламеняющиеся жидкости с температурой вспышки более 28°С в таком количестве, что могут образовывать взрывоопасные пылевоздушные или паровоздушные смеси, при воспламенении которых развивается расчетное избыточное давление взрыва в помещении, превышающее 5 кПа. |
| В1-В4 Пожароопасная |
Горючие и трудногорючие жидкости, твердые горючие и трудногорючие вещества и материалы (в том числе пыли и волокна), вещества и материалы, способные при взаимодействии с водой или друг с другом только гореть, при условии, что помещения, в которых они имеются в наличии или обращаются, не относятся к категориям А и Б. |
| Г |
Негорючие вещества и материалы в горячем, раскаленном или расплавленном состоянии, процесс обработки которых сопровождается выделением лучистого тепла, искр и пламени; горючие газы, жидкости и твердые вещества, которые сжигаются или утилизируются в качестве топлива. |
| Д |
Негорючие вещества и материалы в холодном состоянии. |
Раздел 6.
ЭКОНОМИКА
6. Экономика
Основы ценообразования строительной продукции в условиях рынка.
Механизм формирования цен на строительную продукцию базируется на нормативных методах. Сметная стоимость строительной продукции на территории Российской Федерации определяется на основе МДС 81-1.99.
Сметная стоимость строительно-монтажных работ (СМР) сумма денежных средств для осуществления строительства в соответствии с проектной моделью.
Сметная стоимость является основой для определения размера капитальных вложений, финансирования строительства, формирования договорных цен на строительную продукцию, расчетов за выполненные подрядные работы.
В составе дипломного проекта выполнен локальный сметный расчет на прокладку участка тепловой сети в монолитном канале.
Локальная смета составлена на основе сметно-нормативной базы.
Для определения сметной стоимости СМР в ценах 2007 г. использован базисно-индексный метод. Расчетные индексы по видам работ к базе 2000 г. по состоянию на 1.04.2001 г. (Данные РегиоСтройИнформ).
По локальному сметному расчету определены все затраты, связанные с выполнением СМР, которые включают прямые затраты, накладные расходы и сметную прибыль. При разработке локальной сметы учитывались по сборникам ЕРЕР открытые и закрытые расценки. По открытым расценкам дополнительно учитывались на материальные ресурсы по СНиП IV-4-84 и прейскуранту 06-08 (оптовые цены на железобетонные и бетонные изделия и конструкции).
Для расчета приняты рекомендуемые нормы накладных расходов и сметной прибыли. Сметный расчет выполнен на основе исходных данных.
На основе сметного расчета в составе сметной документации сформирована договорная цена. Принятая заказчиком и подрядчиком договорная цена может быть пересмотрена по согласованию сторон. За итогом договорной цены показывается отдельной строкой сумма НДС.
Расчет стоимости годовых затрат на линейные потери тепла.
| Линейныет потери тепла по длине прямых и криволинейных участков труб тепловой сети |
||||||
| вид прокладки трассы |
Dн , мм |
q т/п , ккал/м*ч |
q т/п , кДж/м*ч |
L т/п , м |
QL , кДж |
QL , ГДж |
| в канале |
426 |
203 |
850,0 |
103,1 |
723481363,4 |
723,5 |
| в канале |
325 |
168 |
703,4 |
24,8 |
144023581,9 |
144,0 |
| в канале |
273 |
150 |
628,1 |
65,6 |
340147860,5 |
340,1 |
| надземно на опорох |
273 |
174 |
728,5 |
94,0 |
565392114,4 |
565,4 |
| в канале |
219 |
130 |
544,3 |
63,7 |
286256548,0 |
286,3 |
| бесканально |
219 |
130 |
544,3 |
116,0 |
521283509,8 |
521,3 |
| надземно на опорох |
219 |
156 |
653,2 |
93,0 |
501510687,0 |
501,5 |
| в канале |
76 |
74 |
309,8 |
114,1 |
291870370,4 |
291,9 |
| QL (ГДж)= |
3374,0 |
|||||
| 1 (ГДж)= |
250 |
руб. |
||||
| кол-во часов |
(365-21)*24= |
8256 |
||||
| 1ккал/м*ч= |
4,187 |
кДж/м*ч |
||||
| Общая стоимость годовых затрат на линейные потери тепла при транспорте тепла по трубам, руб/год |
843491,5089 |
|||||
Рациональное решение находится по минимуму приведенных затрат:
З = Ен Иобс +Кполн
Кполн – полные капитальные вложения, руб
Иобс – ежегодные эксплуатационные издержки, руб/год
Ен – нормативный коэффициент эффективности, 10/лет
Капитальные вложения находим путем сложения сметной стоимости прокладки всей теплотрассы, полной стоимости строительства Энергоцентра и стоимости ИТП в корпусе АБК и складах №35-39 .
Затраты на обслуживание:
Иобс = (1+φ)Аb, руб/год
А – число эксплуатационного персонала
b – среднегодовая зарплата персонала, руб/год, (b=382200 руб/год);
φ = 0,27 - отчисления на общесетевые расходы
А=ПР
П = 0,05 чел/МВт - штатный коэффициент,
Р – расчетная нагрузка, МВт (Р=12,4 МВт);
А=0,05*12,4=0,62 (чел);
Иобс = (1+0,27)*0,62*382200=300944,3 руб/год;
Полные капитальные вложения.
Кполн = К1 +К2 +К3 +К4 +К5 + К6 +Кэн , где
Стоимость работ взята на основании смет «МосгазНИИпроект»:
· дорожные работы:
К1 =416691,58 (руб.);
· ИТП в корпусе АБК и складах №35-39:
К2 =8160906,03+199846,04=8360752,07 (руб.);
· на автоматизацию:
К3 =2962047,96 (руб.);
· на прокладку т/п для промывки:
К4 =40399,43 (руб.);
· пусконаладочные работы:
К5 = 3958180,41(руб.);
· на прокладку теплосети:
К6 = 40313607,31 (руб.);
· на строительство энергоцентра:
Кэн = 61549010 (руб.);
Кполн = 117600688,76 (руб.);
З =10*300944,3+117600688,76 =120911076,06 (руб.).
Сравнительный анализ прокладки тепловых сетей на территории распределительного складского комплекса Томилина в монолитном и ж/б каналах.
Раздел 7.
СПИСОК ЛИТЕРАТУРЫ
1. Учебник «Безопасность труда в строительстве» под ред. проф., д.т.н. Д.В.Коптева, Москва 2007г., Издательство Ассоциации строительных вузов.
2. СНиП 21-01-97* «Пожарная безопасность зданий и сооружений»,
http: //www.know-house.ru/.
3. СНиП 12-03-2001 (Часть 1. ОБЩИЕ ТРЕБОВАНИЯ) БЕЗОПАСНОСТЬ ТРУДА В СТРОИТЕЛЬСТВЕ, http: //www.know-house.ru/.
4. Каталог продукции «Очаковского комбината ЖБИ и строительных материалов».
5. ЕНиР 2-1-22 Единые нормы и правила.
6. ГОСТ 3070-7, Канат стальной.
7. ГОСТ 3071-74, Канат стальной.
8. ГОСТ 2688-80, Канат стальной.
9. ППБ 01-03 Правила пожарной безопасности в Российской Федерации.
10. НПБ 105-03 Нормы пожарной безопасности, http: //www.know-house.ru/.
11. ГОСТ 10.704-91 Тубы стальные электросварные прямошовные.
12. ГОСТ 12.1005 – 88 «Общие санитарно-гигиенические требования в воздуху рабочей зоны».
13. СН 245-71 Санитарные нормы.
14. ПУЭ-87«Правилам устройства электроустановок».
15. СНиП 1.04.03-85* "Нормы продолжительности строительства";
16. СНиП 12.01-2004 "Организация строительства";
17. СНиП 3.02.01-87 "Земляные сооружения, основания, фундаменты";
18. СНиП 12-04-2002 «Безопасность труда в строительстве» Часть 2. Строительное производство;
19. СНиП 12-03-2001 «Безопасность труда в строительстве» Часть 1. Общие требования;
20. СНиП 3.01.03-84 "Геодезические работы в строительстве";
21. СНиП 41-02-2003 «Тепловые сети»;
22. СНиП 3.05.03-85 «Правила производства и приемки работ «Тепловые сети»;
23. СП 12-136-2002 «Решения по охране труда и промышленной
24. безопасности в проектах организации строительства и проектах производства работ».
25. Правила подготовки и производства земляных работ, обустройства и содержания строительных площадок в городе Москве». Постановление Правительства г. Москвы от 07.12.2004 г. № 857-ПП;
26. ПБ 10-573-03 «Правила устройства и безопасной эксплуатации трубопроводов пара и горячей воды»;
27. СП 41-105-2002 «Проектирование и строительство тепловых сетей бесканальной прокладки»;
28. ВСН 29-95 «Строительные нормы по проектированию и бесканальной прокладке в г.Москве.».
29. «Расчет и проектирование теплогенерирующих установок систем теплоснабжения», В.И.Лебедев, Б.А.Пермяков, П.А.Хаванов, Москва, Стройиздат 1992год.
30. Общесоюзный нормативныы документ, 1986г.
31. СанПиН 2.2.1/2.1.1.567-96 Санитарные нормы и правила.
32. Справочник проектировщика «Проектирование тепловых сетей», по ред.инж. А.А. Николаева, Издательство литературы по строительству, Москва 1965 г.
33. Теплоснабжение, А.А Ионин, Б.М. Хлыбов, В.Н. Братенков, Стройиздат 1982год.
34. СНиП 2.04.01-85* «Внутренний водопровод и канализация зданий», Москва, ФГУП ЦПП, 2007год.
35. СНиП II – 34 – 76 "Горячее водоснабжение".
36. СНиП II – 36 – 73 "Теплоснабжение".
37. Отопление, водопровод, канализация. Справочник проектировщика; Под ред. М. Староверова – М.: Стройиздат, 1967г.
38. Автоматизация тепловых пунктов В.С Фаликов, Москва 1989г.
39. СНиП 2.01.01-82 «Строительная климатология и геофизика», Москва 1983г.
40. Теплоснабжение, В.Е.Козин, Т.А.Левина, А.П.Марков, И.Б.Пронина, В.А.Слемзин, Москва, Высшая школа, 1980год.
Похожие рефераты:
Улучшение теплового и гидравлического режима системы теплоснабжения п. Победа г. Хабаровска
Проектирование 9-этажного дома
Проектирование четырехэтажной гостиницы в г. Краснодаре
Водоотведение поселка Песочное с доочисткой сточных вод
Детский ясли-сад на 140 мест с бассейном
Проектирование 16-ти этажного 2-х секционного жилого дома в Ейске
Проектирование дренажей на базе чертежей базы ГП
11-этажный жилой дом с мансардой
Газоснабжение населёного пункта
Газоснабжение рабочего поселка на 8,5 тыс. жителей
Капитальный и текущий ремонты зданий
Расчет и проектирование здания Дома быта на 15 человек
Реконструкция схемы внутристанционных коллекторов теплосети
16-этажный жилой дом с монолитным каркасом в г. Краснодаре
Разработка 4-этажного оздоровительного комплекса "Звезда" в п. Новомихайловке