| Похожие рефераты | Скачать .docx |
Дипломная работа: Газоснабжение рабочего поселка на 8,5 тыс. жителей
Саратовский государственный технический университет
Специальность Теплогазоснабжение и вентиляция
Кафедра Теплогазоснабжение и вентиляция
Дипломный проект
Газоснабжение рабочего поселка на 8.5 тыс. жителей
Пояснительная записка
Проект выполнен
студ. Щербаков Д.А.
Руководитель проекта
Усачев А.П.
Содержание
Реферат
Ведение
Раздел 1. Характеристика объекта газоснабжения и исходные данные
1.1 Природные и инженерно-строительные условия
1.2 Источник газоснабжения
Раздел 2. Основные решения по газоснабжению
2.1 Система газораспределения
2.2 Газопроводы
2.3 Защита газопровода от коррозии
Раздел 3. Расчетные расходы газа
3.1 Годовые расходы газа на бытовые и коммунальные нужды населения
3.2 Нормативные расходы газа
3.3 Годовые расходы газа на бытовые и коммунальные нужды населения
3.4 Годовые расходы газа на отопление и вентиляцию жилых и общественных зданий
3.5 Годовой расход газа на горячее водоснабжение
3.6 Годовые расходы газа на промышленные нужды
3.7 Расчетные часовые расходы газа
3.8 Расчетные часовые расходы газа на бытовые и коммунальные нужды
3.9 Расчетные часовые расходы газа на отопление и вентиляцию жилых и общественных зданий
3.10 Расчетный часовой расход газа на горячее водоснабжение
3.11 Расчетные часовые расходы газа на промышленные нужды
Раздел 4. Гидравлический расчет
4.1 Подбор шкафного газорегуляторного пункта (ГРП)
4.2 Расчет кольцевой сети среднего давления
4.2.1 Гидравлический расчет газопровода в отделении для сушки кирпича
4.3 Гидравлический расчет тупиковой дворовой сети низкого давления
Раздел 5. Патентный поиск
5.1 Вводная часть
5.2 Изучение и анализ конструкций блочных котельных
5.2.1 Конструкция блочной котельной
5.2.2 Конструкция водонагревателя
5.2.3 Конструкция котельной установки
5.3 Выбор блочной котельной
Раздел 6. Технико-экономическое обоснование
6.1 Выявление оптимальной трассировки межпоселкового распределительного газопровода
6.2 Выбор оптимального количества очередей строительства газораспределительной станции
6.3 Определение оптимальной мощности и радиуса действия газорегуляторного пункта
Раздел 7. Газооборудование блочной котельной
7.1 Внутреннее газооборудование сушильного отделения
Раздел 8. Автоматика регулирования и безопасности газовых агрегатов
8.1 Общие положения
8.2 Автоматика и КИП сушильного отделения
Раздел 9. Организация строительства
9.1 Выбор методов производства работ
9.2 Расчет потребности в основных строительных материалах, деталях и оборудовании
9.3 Расчет сетевого графика
9.4 Расчет стройгенплана
9.5 Расчет потребности во временных сооружениях
9.6 Определение потребности строительства в воде, электроэнергии, сжатом воздухе
9.7 Расчет потребности сжатого воздуха для продувки и опрессовки трубопроводов
9.8 Решения по технике безопасности
9.9 Технико-экономические показатели
Раздел 10. Эргономические основы безопасной эксплуатации системы газоснабжения станции
10.1 Анализ возможных опасных и вредных факторов при эксплуатации системы газоснабжения
10.2 Разработка организационных и технических мероприятий по обеспечению безопасной эксплуатации системы газоснабжения
10.3 Техника безопасности
10.4 Пожарная безопасность
Раздел 11. Экономика строительства
Раздел 12. Экологическая экспертиза проекта
12.1 Характеристика объекта
12.2 Воздействие объекта на атмосферный воздух
12.3 Расчет аварийного выброса
12.4. Расчет выбросов загрязняющих веществ при вводе газопровода в эксплуатацию
12.5 Воздействие отходов на состояние окружающей природной среды
12.6 Мероприятия по сокращению выбросов загрязняющих веществ в атмосферу
Заключение
Список использованных источников
Реферат
Пояснительная записка содержит 127 страниц, 22 таблицы, 8 рисунков, 16 источников литературы, графическая часть содержит 11 листов формата А1.
СХЕМА ГАЗОСНАБЖЕНИЯ, ГАЗОПОТРЕБЛЕНИЕ, ГИДРАВЛИЧЕСКИЙ РАСЧЕТ, ОРГАНИЗАЦИЯ СТРОИТЕЛЬСТВА, НОРМАТИВНЫЕ РАСХОДЫ ГАЗА, ЧАСОВОЙ РАСХОД ГАЗА, ГОДОВОЙ РАСХОД ГАЗА, ГАЗОПРОВОД, ГОЛОВНОЙ ГАЗОРЕГУЛЯТОРНЫЙ ПУНКТ, РЕГУЛЯТОР ДАВЛЕНИЯ.
Объектом разработки проекта газоснабжения является посёлок на 8,5 тыс. жителей.
Цель проекта – разработка системы газоснабжения для нужд населения, коммунально-бытовых потребителей и промышленных предприятий.
В данном проекте необходимо определить годовые и часовые расходы газа на различные нужды, выполнить гидравлический расчет систем среднего и низкого давления. В проекте выполнено технико-экономическое обоснование проектных решений, включены разделы экономики, организации строительства. Предусмотрены мероприятия по организации и безопасности строительства.
Den Bericht
Der erklrende Zettel enthelt 127 Seiten, 22 Tabellen, 8 Zeichnungen, 16 Quellen der Literatur, der graphische Teil enthelt 11 Bilder des Formates А1.
Die hydraulische Rechnung, die Organisation des Baues, die normativen Kosten(Aufwдnde) des Gases, die Uhrkosten(Aufwand) des Gases, die jдhrliche Kosten(Aufwand) des Gases, das Gasleitungsnetz, den Regler des Druckes(Blutdruck).
Ein Objekt der Erarbeitung des Projektes газоснабжения ist die Siedlung auf 8,5 tausend Bewohner.
Das Zweck des Projektes - die Erarbeitung des Systemes газоснабжения fьr die Bedьrfnisse der Bevцlkerung, der коммунально-haushaltskunden und der industriellen Betriebe.
Im gegebenen(vorliegenden) Projekt braucht man jдhrlich und die Uhrkosten(Aufwдnde) des Gases auf verschiedene Bedьrfnisse zu bestimmen, die hydraulische Rechnung der Systeme des mittleren und niedrigen Druckes(Blutdruck) zu erledigen. Im Projekt ist die technisch-ekonomische Begrindung der Projektbeschille erledigt, es sind die Abteilungen(Teile) der ekonomik, der Organisation des Baues eingeschlossen. Es sind die nahmen nach der Organisation und der Sicherheit des Baues vorgesehen.
Введение
В обеспечении страны необходимым количеством высококачественного топлива ведущая роль, как и прежде будет принадлежать газовой промышленности.
Современные системы газоснабжения представляют собой сложный комплекс, состоящий из газораспределительных станций (ГРС), газовых сетей высокого, среднего и низкого давления, газорегуляторных пунктов и установок (ГРП и ГРУ), и предназначены для обеспечения газообразным топливом населения, коммунально-бытовых, промышленных и сельскохозяйственных потребителей.
Система газоснабжения должна обеспечивать бесперебойную и безопасную подачу газа потребителям, отличаться простотой и удобством в эксплуатации и предусматривать возможность отключения отдельных ее элементов для производства профилактических, ремонтных и аварийно-восстановительных работ.
Масштабы и темпы развития газовой промышленности и газоснабжаемых систем определяет добыча газа, который становится основным потребляемым топливом в стране. Природный газ является наиболее качественным топливом.
Структура энергопотребления в коммунально-бытовом секторе в России по качеству должна стремиться к мировой.
Цель дипломного проекта – углубление и закрепление знаний, полученных при изучении курса «Газоснабжение» и других дисциплин, практическое освоение методики проектирования, освоение навыков работы со СНиПами, ГОСТами, необходимой технической и нормативно-справочной литературой.
Дипломный проект выполнен согласно заданию руководителя проекта выданного 17 марта 2007г.
Раздел 1. Характеристика объекта газоснабжения и исходные данные
1.1 Природные и инженерно-строительные условия
Застройка населенного пункта предусмотрена различной этажности, в основном одно-двухэтажная. Центральная часть населенного пункта застроена трёх-, пятиэтажными домами.
Климатическая характеристика даётся на основании наблюдений метеостанции и [1].
Характерно неравномерное распределение осадков по сезонам года. Зима сухая, холодная с преобладанием ясной погоды. Лето тёплое и влажное с большим количеством осадков, особенно в августе.
Среднегодовое количество осадков составляет 577 мм. В тёплый период выпадает почти 86% осадков, зимой осадков выпадает мало. Средняя высота снежного покрова за зиму составляет 37 см.
Максимальные среднемесячные скорости ветра до 4-5 м/сек.
Основные климатические показатели приведены в таблице 1.1
В геологическом строении района принимают участие среднезернистые песчаники с прослоями алевролитов и глинистых сланцев мощностью 10,0 м.
Под почвенно-растительным слоем, слаборазложившимся торфом или насыпным грунтом мощностью 0,2-0,8 м залегают пылеватые суглинки с включением гравия и гальки до 25%, ниже по разрезу залегают галечнико-гравийные отложения с суглинисто-супесчаным заполнителем от 15 до 50% и включением валунов до 10%.
Грунтовые воды, приуроченные к галечниковым грунтам, залегают на глубине 6-8 м от поверхности, обладают местами напором до 3,0 метров. В интервале глубине 1-4 м встречаются воды типа «верховодка».
Таблица 1.1 - Климатические показатели.
| Наименование параметра |
Значение параметра |
Примечание |
| Расчетная температура наружного воздуха для проектирования отопления, 0 С |
- 19 |
См. [1] |
| Расчетная температура наружного воздуха для проектирования вентиляции, 0 С |
- 5 |
|
| Продолжительность отопительного периода, суток |
152 |
|
| Средняя температура наружного воздуха отопительного периода, 0 С |
1,5 |
|
| Глубина промерзания грунта,м |
1,4 – 1,6 |
1.2 Источник газоснабжения
Низшая теплота сгорания природного газа 34861 кДж/м3 .Усредненный состав природного газа приведен в таблице 1.2.
Таким образом, низшая теплота сгорания природного газа данного состава составляет
, а плотность
.
Система газоснабжения поселка принята двухступенчатая. Давление на выходе из ГРС 0,6 МПа. К газопроводу высокого давления 0,6 МПа подключаются все газифицируемые промышленные предприятия, котельные и проектируемые газорегуляторные пункты, через которые осуществляется подача газа населению.
Таблица 1.2 - Состав и характеристика газа.
| Состав газа |
Теплота сгорания, |
Плотность, |
|||
| Компоненты |
Доля в общем объеме, |
|
|
|
|
| Метан |
0,9263 |
35840 |
33198,6 |
0,7168 |
0,664 |
| Этан |
0,0363 |
63730 |
2313,4 |
1,3566 |
0,049 |
| Пропан |
0,0125 |
93370 |
1167,1 |
2,019 |
0,025 |
| Бутан |
0,0049 |
123770 |
606,5 |
2,703 |
0,013 |
| Пентан |
0,0011 |
146340 |
161 |
3,221 |
0,003 |
| Азот |
0,0189 |
- |
- |
1,2505 |
0,024 |
| Итого |
1,0 |
- |
37446,6 |
- |
0,778 |
В многоэтажной застройке схемой газоснабжения предусматривается использование всех существующих внутриквартальных
газопроводов. При этом от проектируемых ГРП по распределительным газопроводам низкого давления природный газ подается в существующие внутридворовые газовые сети с подключением их в местах выхода из групповых установок сжиженного газа. Схема газоснабжения станции Ярославская решена, исходя из расположения газораспределительной станции, планировки поселка и расположения крупных потребителей газа. Распределение газа проектируется по двухступенчатой схеме. К магистральному газопроводу подключаются ряд промышленных потребителей, котельные и газорегуляторные пункты для подачи газа давлением 0,003 МПа на индивидуально – бытовые нужды населения. Прокладка газопроводов низкого давления от газорегуляторных пунктов рекомендуется в основном надземная по фасадам зданий. Схема газоснабжения в основном тупиковая за исключением районов одноэтажной застройки, где предусматривается частичная закольцовка газопроводов низкого давления из условий гидравлического расчета с целью уменьшения диаметров газопроводов.
Подача газа на бытовые нужды отопления одноэтажной застройки осуществляется от ГРП по распределительным и внутриквартальным газопроводам. Использование газа в станции предусматривается:
- населению, проживающему в многоэтажной застройке - на приготовление пищи;
- населению, проживающему в одноэтажной застройке – на приготовление пищи и горячей воды для хозяйственных и санитарно-гигиенических нужд, на нужды отопления;
- промышленным предприятиям – на технологические нужды, отопление и горячее водоснабжение.
Отопление и горячее водоснабжение коммунально– бытовых учреждений и многоэтажной жилой застройки осуществляется централизовано от котельных. Основные технико – экономические показатели по схеме газоснабжения приведены в разделе «Технико – экономическая часть».
Схема газоснабжения станции решена, исходя из расположения газораспределительной станции, планировки поселка и расположения крупных потребителей газа.
Раздел 2. Основные решения по газоснабжению
2.1 Система газораспределения
Схема газораспределения
Схема газораспределения населенного пункта решена исходя из условия расположения головного газорегуляторного пункта (ГГРП), характера планировки и застройки населенного пункта, расположения крупных сосредоточенных потребителей.
Распределение газа по населенному пункту от головного газорегуляторного пункта принятого по двухступенчатой схеме:
I ступень – газопроводы среднего давления PN 0,3 МПа;
II ступень – газопроводы низкого давления PN 0,003 МПа (300 даПа);
К газопроводам среднего давления подключаются газорегуляторные пункты шкафного типа, коммунально-бытовые и промышленные потребители, отопительные котельные.
Схема газопроводов среднего давления принята кольцевая и тупиковая.
К газопроводам низкого давления подключаются жилые дома, мелкие коммунально-бытовые потребители.
Схема газопроводов низкого давления принята тупиковая.
Для снижения давления газа со среднего PN 0,3 МПа до низкого PN 0,3 МПа в населенном пункте предусматривается строительство 12 газорегуляторных пунктов шкафного типа.
Схема распределения газа по потребителям населенного пункта проектируется на основе учета его современной планировки.
2.2 Газопроводы
Проектируемый газопровод среднего давления выполнен подземно из стальных труб, изготовленных в соответствии с требованиями стандартов и отвечающие требованиям [2] «Газораспределительные системы».
Трубы стальные [3] выпускаются отечественными заводами и имеют сертификат качества. Грунты по трассе газопровода относятся к среднепучинистым. Нормативная глубина сезонного промерзания грунта составляет 1,4 - 1,6 м. Глубина прокладки стального газопровода 1,35 м до верха трубы.
Проектируемый газопровод низкого давления выполнен надземно на опорах из стальных труб по [3], изготовленных в соответствии с требованиями стандартов и отвечающие требованиям [2] «Газораспределительные системы».
Для возможности отключения отдельных участков газопровода и ШРП предусматривается установка отключающих устройств. Места их установки представлены на листе 1.
Поземные и надземные стальные газопроводы, внутреннее газооборудование ШРП подлежат испытанию на герметичность.
В соответствии с требованиями правил охраны газораспределительных сетей вдоль трассы газопровода устанавливается охранная зона в виде территории ограниченной условными линиями, проходящими на расстоянии 2 м с каждой стороны газопровода, для ШРП – в виде территории, ограниченной замкнутой линией, проведенной на расстоянии 10м от ШРП
2.3 Защита газопровода от коррозии
Для защиты от атмосферной коррозии надземные участки газопровода покрываются двумя слоями грунтовки ГФ 021 и окрашиваются двумя слоями краски для наружных работ.
Электрохимическая защита газопроводов.
Электрохимическую защиту газопроводов среднего давления на стадии схемы намечается выполнить с помощью установок катодной защиты типа ОПС.
Для повышения эффективности катодной поляризации и увеличения зон действий катодных станций предусматривается установка изолирующих фланцевых соединений (ИФС).
Для систематического контроля и наблюдения за эффективностью систем защиты от коррозии предусматривается устройство контрольно-измерительных пунктов (КИП), которые устанавливаются на газопроводах, прокладываемых на территории населенного пункта через 200 м.
В качестве анодных заземлителей предусматривается использование чугунных труб диаметром 150мм.
Раздел 3. Расчетные расходы газа
3.1 Годовые расходы газа на бытовые и коммунальные нужды населения
Годовой объем потребления газа населенным пунктом является основой для разработки проекта газоснабжения. Расчет газовой потребности следует производить по нормам на конец расчетного периода, с учетом перспектив развития потребителей газа.
Все виды потребления газа в населенном пункте условно разделяются на следующие группы:
1. Расход газа населением в квартирах для приготовления пищи и горячей воды.
2. Расход газа предприятиями коммунального хозяйства (баня, прачечная, больница, хлебопекарня, котельные).
3. Расход газа на отопление и вентиляцию жилых и общественных зданий от различных источников теплоснабжения (котельные, местные отопительные установки).
4. Расход газа на производственные нужды.
Годовой расход газа на бытовые и коммунальные нужды населения зависят, в основном, от числа жителей и уровня благоустройства.
Численность газоснабжаемого населения.
Численность газоснабжаемого населения приведена в таблице 3.1.
3.2 Нормативные расходы газа
Удельные нормативные расходы тепла, отнесенные к различным измерителям, принимаются по [4] (приложение А) и производится их пересчет на
газа по формуле
(3.1)
где
- удельный расход газа
на единицу измерения;
- удельный расход тепла в
на условную единицу измерений;
-низшая теплота сгорания газа,
, принимается по таблице 1.2
Расчет сводим в таблицу 3.1.
Таблица 3.1 - Нормативные расходы газа на различные измерители.
| Потребители газа |
Измеритель, к которому отнесена норма. |
Норма расхода газа в год. |
|
|
|
|
||
| 1. Жилые дома. |
|||
| 1.1 На приготовление пищи (плита и централизованное горячее водоснабжение) |
На 1 человека в год. |
4100 |
109,5 |
| 1.2 На приготовление пищи и горячей воды для хозяйственных нужд, включая стирку белья(при отсутствии газового водонагревателя и централизованного горячего водоснабжения) |
То же |
6000 |
160,23 |
| 1.3 На приготовление пищи и горячей воды для хозяйственных и бытовых нужд, включая стирку белья(водонагреватель и плита) |
То же |
10000 |
267,0 |
| 2. Предприятия бытового обслуживания. |
|||
| 2.1 Прачечная |
1 т сухого белья |
18800 |
502,0 |
| 2.2 Баня |
1 помывка |
85 |
1,07 |
| 3. Предприятия общественного питания. |
|||
| 3.1 Столовая |
1 обед |
8,5 |
0,112 |
| 4. Учреждения здравоохранения. |
|||
| 4.1 Больница |
На 1 койку в год |
12400 |
331,14 |
| 5. Хлебопекарня. |
|||
| 5.1 На выпечку хлебобулочных изделий |
На 1 шт. |
5450 |
145,54 |
3.3 Годовые расходы газа на бытовые и коммунальные нужды населения
На основе данных таблиц 5 и 6, а так же раздела 3.1.1 об охвате горячим водоснабжением, рассчитываются годовые расходы газа на бытовые и коммунальные нужды населения по населенному пункту. К полученному газовому расходу добавляется расход газа на нужды предприятий бытового обслуживания, не указанных в таблице 6, который принимается в размере 5 % от годового расхода газа на индивидуально- бытовые нужды.
Расчет сводим в таблицу 3.2
Таблица 3.2 - Годовой расход газа на бытовые и коммунальные нужды.
| № |
Потребители |
Количество измерителей |
Норма расхода газа, |
Годовой расход газа, |
| 1 |
2 |
3 |
4 |
5 |
| 1 |
1. Индивидуально-бытовые нужды (жилые дома), в том числе |
8500 |
983,25 |
|
| 2 |
1.1 Приготовление пищи (при централизованном горячем водоснабжении) |
2690 |
109,5 |
441,75 |
| 3 |
1.2 Приготовление пищи и горячей воды (без водоподогревателя) |
420 |
160,23 |
134,6 |
| 4 |
1.3 Приготовление пищи и горячей воды (при наличии газового водоподогревателя) |
1100 |
267,0 |
440,55 |
| 5 |
Прочие 5% от 1. |
20,015 |
||
| 6 |
2. Коммунально-бытовые нужды, в том числе |
688,3 |
||
| 7 |
2.1 Прачечная |
318,75 т сухого белья в год |
502,0 |
160 |
| 8 |
2.2 Баня |
110500 помывки |
1,07 |
118,2 |
| 9 |
2.3 Столовая |
|
0,112 |
260,6 |
| 10 |
2.4 Больница |
85 коек в год |
331,14 |
28 |
| 11 |
2.5 Хлебопекарня |
|
145,54 |
338,7 |
| 12 |
Всего годовой расход газа по индивидуально- и коммунально-бытовым нуждам. |
- |
- |
3613,965 |
| 13 |
Годовой расход газа по сосредоточенным потребителям (прачечная, баня, больница, хлебопекарня) |
- |
- |
905,5 |
| 14 |
Годовой расход газа без сосредоточенных потребителей. |
- |
- |
2708,465 |
Примечания:
1.Мощность механизированных прачечных принимается из условия, что услугами прачечной пользуются 25% всего населения микрорайона и на 1-ого человека в год приходится 150 кг сухого белья. Количество белья, стираемого в год, определяется по формуле (3.2):
Количество белья, стираемого в год, определяется по формуле (3.2):
(3.2)
2. Банями пользуется 25% населения и на одного человека в году приходится 52 помывки. Число помывок в год определяется по формуле (3.3)
(3.3)
3.Число жителей, пользующие услугами предприятий общественного питания составляет 25% всего населения микрорайона. Годовое количество завтраков, обедов и ужинов составляет:
![]()
![]()
4.Количество мест в больницах не нормируется, а определяется заказчиком. Принимаем 10 мест на 1000 жителей. Тогда количество коек составит:
(3.4)
5.Мощность хлебозавода принимается из расчета выпечки 0,75 кг в день на человека хлеба, хлебобулочных изделий на 1000 человек в год:
(3.5)
6.Расход газа предприятиями торговли и бытового обслуживания населения не производится и принимается в размере 5% от расхода газа жилыми зданиями.
3.4 Годовые расходы газа на отопление и вентиляцию жилых и общественных зданий
Годовой расход газа на отопление и вентиляцию жилых и общественных зданий определяется по формуле:
, (3.6)
где
- годовой расход газа на отопление и вентиляцию,
;
- расчетная температура внутреннего воздуха, отапливаемых зданий, принимаемая равной 18
;
- расчетная температура наружного воздуха для проектирования отопления, принимаемая равной –23
(смотреть таблицу 1.1);
- расчетная температура наружного воздуха для проектирования вентиляции, принимаемая равной –23
(смотреть таблицу1.1);
- средняя температура наружного воздуха за отопительный период, принимаемая равной –1,2 (смотреть таблицу 1.1);
- коэффициенты учитывающие расходы тепла на отопление и вентиляцию общественных зданий, принимаем соответственно 0,25 и 0,4;
- среднее число часов работы системы вентиляции общественных зданий в течении суток, принимается равным 16 часам;
- продолжительность отопительного периода в сутках, принимается равным 173 дням (смотреть таблицу 1.1);
-жилая площадь отапливаемых зданий, принимается равной 18,0
;
.
- КПД отопительной системы, принимается для котельных 0,85, для местных отопительных установок 0,75;
- низшая теплота сгорания газа, принимается по таблице 1.2 и составляет 37446,6
;
- укрупненный показатель максимального часового расхода тепла на отопление жилых зданий в
на 1
жилой площади, принимается по [5] в зависимости от расчетной температуры наружного воздуха для проектирования отопления. В нашем случае принимается
=144
.
Отапливаемая площадь общественных зданий определяется в размере 25% площади жилых зданий.
Для определения часового расхода на отопление и вентиляцию жилых и общественных зданий предварительно определяем источник теплоснабжения, т.к. они имеют различные КПД и сводим в таблицу 3.3
Таблица 3.3 - Распределение потребления тепла по источникам теплоснабжения.
| Застройка по населенному пункту |
Общая площадь зданий, |
Источник теплоснабжения |
КПД системы |
||||||
| Котельная |
Местные отопительные установки |
Котельная |
Местные отопительные установки |
||||||
| % |
Объем, |
% |
Объем, |
||||||
| 1. Отопление жилых зданий. |
|||||||||
| Одноэтажная |
5310 |
- |
- |
100 |
5310 |
- |
0,75 |
||
| Двух-, трехэтажная |
20520 |
85 |
17442 |
15 |
3078 |
0,85 |
0,75 |
||
| Четырехэтажная |
4560 |
100 |
4560 |
- |
- |
0,85 |
- |
||
| 2. Отопление общественных зданий. |
|||||||||
| Одноэтажная |
1327,5 |
100 |
1327,5 |
- |
- |
0,85 |
- |
||
| Двух-, трехэтажная |
5130 |
100 |
5130 |
- |
- |
0,85 |
- |
||
| Четырех-, пятиэтажная |
1140 |
100 |
1140 |
- |
- |
0,85 |
- |
||
| 3. Вентиляция общественных зданий. |
|||||||||
| Одноэтажная |
531 |
100 |
531 |
- |
- |
0,85 |
- |
||
| Двух-, трехэтажная |
2052 |
100 |
2052 |
- |
- |
0,85 |
- |
||
| Четырех-, пятиэтажная |
456 |
100 |
456 |
- |
- |
0,85 |
- |
||
Расчет годового расхода газа на отопление и вентиляцию жилых и общественных зданий для удобства и простоты целесообразно произвести, расчленив формулу 3.6 на 2 части:
Отопление и вентиляцию, а затем расчеты произвести с учетом источников теплоснабжения, указанных в таблице 3.3. Получим 4 составляющих:
-расход газа на отопление жилых зданий от котельной,тыс.
/год
(3.7)
-жилая площадь, отапливаемая от котельной,
(принимается по таблице 3.3);
- КПД отопительной системы жилых зданий от котельной (принимается по таблице 3.3)
- коэффициент перевода
в ![]()
![]()
- расход газа на отопление жилых зданий от местных отопительных установок тыс.
/год
(3.8)
- жилая площадь, отапливаемая местными приборами,
(принимается по таблице 3.3);
- КПД отопительной системы местного отопления жилых зданий (принимается по таблице 3.3)
- расход газа на отопление общественных зданий от котельной, тыс.
/год
(3.9)
- коэффициент, учитывающий расход тепла на отопление общественных зданий, в нашем расчете равен 0,25.
При этом
- площадь отапливаемых общественных зданий (принимается по таблице 3.3);
- КПД системы отопления общественных зданий от котельной (принимается по таблице 3.3);
- расход газа на вентиляцию общественных зданий от котельной; тыс.
/год
(3.10)
- коэффициент, учитывающий расход тепла на вентиляцию общественных зданий. При этом
- это вентилируемая площадь общественных зданий.
- КПД системы вентиляции общественных зданий от котельной (принимается по таблице 3.3).
![]()
Всего расход газа на отопление и вентиляцию жилых и общественных зданий составляет:
3.5 Годовой расход газа на горячее водоснабжение
Годовой расход газа на централизованное горячее водоснабжение от котельной (
)тыс.
/год определяется по формуле:
(3.11)
где
- укрупненный показатель среднечасового расхода тепла на горячее водоснабжение в
с учетом общественных зданий, в нашем случае составляет 1151
;
- число жителей, пользующихся горячим водоснабжением от централизованных источников, в нашем случае 8500 человек.
- число дней отопительного периода в сутках, нашем случае составляет 152 суток;
и
- температура холодной воды в летний и зимний периоды в
, при отсутствии данных принимается равным соответственно 15 и 5
;
- коэффициент, учитывающий снижения расхода горячей воды в летний период, при отсутствии данных принимается равным 0,8;
- КПД котельной, в нашем случае равен 0,85 (принимается по таблице 3.3);
- теплота сгорания газа, в нашем случае по таблице 1.2 соответствует 37446,6
;
350 – число суток работы горячего водоснабжения в году.
![]()
где
- коэффициент перевода
в
.
Из общего расхода газа на горячее водоснабжение надо выделить расход газа за отопительный сезон (
)тыс.
/год и летний период (
)тыс.
/год.
(3.12)
![]()
(3.13)
![]()
3.6 Годовые расходы газа на промышленные нужды
Годовые расходы газа на промышленные нужды определены исходя из технической характеристики устанавливаемого газового оборудования.
Результаты расчетов годовых расходов газа по всем категориям потребителей связаны в таблицу 3.4, по сосредоточенным промышленным потребителям и котельным – в таблицу 3.5.
Таблица 3.4 - Годовые расходы газа по категориям потребителей.
| Потребители |
Газовый расход, |
| 1. Индивидуально – бытовые нужды |
1311 |
| жилые дома. |
1311 |
| 2. Прочие 5% |
32,775 |
| 3. Коммунально – бытовые нужды, в том числе |
305 |
| Прачечная |
79,07 |
| Баня |
58,4 |
| Хлебопекарня |
167,4 |
| 4. Учреждения здравоохранения, в том числе |
14 |
| Больница |
14 |
| 5. Предприятия общественного питания, в том числе |
128,8 |
| Столовая |
128,8 |
| 6. Отопление жилых и общественных зданий, в том числе |
2415,5 |
| Котельные |
1282,2 |
| Местные отопительные установки |
1127,3 |
| 7. Промышленные потребители |
21614 |
| Всего по населенному пункту |
27133 |
Таблица 3.5 - Годовые и расчетные часовые расходы газа по сосредоточенным коммунально-бытовым потребителям, производственным потребителям и котельным.
| Наименование |
Номер по генсхеме |
Расход газа |
Подключение к газопроводу |
|
| Годовой
|
Часовой
|
|||
| Отопительная котельная |
||||
| Котельная |
1 |
12689,5 |
3095 |
0,6 МПа |
| Итого |
12689,5 |
3095 |
0,6 МПа |
|
| Хлебопекарня |
1 |
167,4 |
19,1 |
Среднее давление |
| Итого |
167,4 |
19,1 |
Среднее давление |
|
| Больница |
2 |
14 |
1,6 |
Среднее давление |
| Итого |
14 |
1,6 |
Среднее давление |
|
| Баня |
3 |
58,4 |
6,7 |
Среднее давление |
| Итого |
58,4 |
6,7 |
Среднее давление |
|
| Всего |
38853,1 |
9517,4 |
||
3.7 Расчетные часовые расходы газа
Система газопотребления для обеспечения бесперебойности снабжения потребителей должна рассчитываться на максимальный часовой расход газа.
3.8 Расчетные часовые расходы газа на бытовые и коммунальные нужды
Расчетные часовые расходы газа на бытовые и коммунальные нужды (
),
/ч следует определить, как долю годового расхода (
) по формуле:
(3.14)
где
- коэффициент часового максимума (коэффициент перехода от годового расхода к максимальному часовому расходу газа). Значения
на бытовые и мелкие коммунальные нужды приведены в таблице 2 [4].
Таблица 3.6 - Расчетный расход газа на бытовые и мелкие коммунальные нужды.
| Число жителей, тыс. чел. |
Коэффициент часового максимума |
Расход газа |
|
| Годовой,
|
Часовой, |
||
| 8,5 |
0,00115 |
1587,6 |
139,7 |
Примечание. Годовой расход определен, как сумма расходов на нужды населения, предприятия общественного питания и предприятия бытового обслуживания и составляет:
![]()
Значение коэффициента часового максимума для предприятий коммунального хозяйства принимаются по таблице 3 [4] Расчет максимальных часовых расходов газа по этим потребителям приведен в таблице 3.7.
Таблица 3.7 - расчетные расходы газа для предприятий коммунального хозяйства.
| Потребители. |
Коэффициент часового максимума. |
Расход газа. |
|
| Годовой,
|
Часовой, |
||
| Прачечная |
1/2900 |
79,07 |
27,3 |
| Баня |
1/2700 |
58,4 |
21,7 |
| Хлебопекарня |
1/6000 |
167,4 |
27,9 |
| Итого |
- |
305 |
76,9 |
Примечание: для гидравлического расчета газопроводов принимаются расчетные часовые расходы газа по установленному оборудованию в бане и хлебопекарне.
3.9 Расчетные часовые расходы газа на отопление и вентиляцию жилых и общественных зданий
Максимальные часовые расходы газа на отопление и вентиляцию жилых и общественных зданий
/ч определяется по формуле:
(3.15)
где
- площадь отапливаемых или вентилируемых зданий,
(принимается по таблице 3.3);
- укрупненный показатель максимального расхода тепла,
, в нашем случае 726
.
- низшая теплота сгорания газа, в нашем расчете 37402,7
;
- КПД системы, принимается по таблице 3.3.
![]()
3.10 Расчетный часовой расход газа на горячее водоснабжение
Расчетный часовой расход газа на горячее водоснабжение определяется по формуле:
; (3.16)
; (3.17)
где
- расчетный часовой расход газа на горячее водоснабжение,
;
2 – коэффициент неравномерности;
- среднесуточный расход газа на горячее водоснабжение, определяется делением годового расхода газа за отопительный сезон (
) на число дней отопительного периода. (
- смотреть по таблице 1.1).
;
.
3.11 Расчетные часовые расходы газа на промышленные нужды
Эти расходы определяются с помощью коэффициента часового максимума, принимаемого в зависимости от режима работы и назначения потребления, приведены в таблице 3.5.
Раздел 4. Гидравлический расчет
4.1 Подбор шкафного газорегуляторного пункта (ГРП)
Газовое топливо должно подаваться потребителю под определенным давлением, поэтому газ подается через автоматические регулирующие устройства, которые поддерживают после себя заданное давление не зависимо от расхода газа, эти регулирующие устройства называются ГРП. Их назначение поддержание связи между газопроводами различных давлений путем автоматического регулирования давления газа, который поступает из газопровода с большим давлением в газопровод с меньшим давлением, и поддержание этого давления постоянным, независимо от колебания давления до ГРП и независимо от расхода газа. Применение ГРП шкафного типа (ШГРП) позволяет сократить протяженность сети низкого давления и увеличить более экономичное по металлоемкости сеть высокого и среднего давлений. Исходными данными для выбора ШГРП является расход газа, давление газа на выходе и на входе в ШГРП. Подбор ШГРП осуществляется для каждого квартала.
Подбор сводится в таблицу 4.1
Таблица 4.1 Подбор ГРП
| Квартал |
Марка ШГРП |
Регулятор давления |
Входное давление |
| 1 |
2 |
3 |
4 |
| 1 |
ГРПС-100С |
РДУК2Н-100 |
0,1 |
| 2 |
ГРПС-100С |
РДУК2Н-100 |
0,1 |
| 3 |
ГРПН-1200 |
РДУК2Н-50 РДБК1-100 |
0,3 |
| 4 |
ГРПН-50 |
РДБК1-50 |
0,3 |
| 5 |
ГРПС-100С |
РДУК2Н-100 |
0,1 |
| 6 |
ГРПС-100С |
РДУК2Н-100 |
0,1 |
| 7 |
ГРПН-50 |
РДБК1-50 |
0,3 |
| 8 |
ГРПС-100С |
РДУК2Н-100 |
0,1 |
| 9 |
ГРПС-100С |
РДУК2Н-100 |
0,1 |
| 10 |
ГРПС-100С |
РДУК2Н-100 |
0,1 |
| 11 |
ГРПН-50 |
РДБК1-50 |
0,3 |
| 12 |
ГРПН-50 |
РДБК1-50 |
0,3 |
| 13 |
ГРПС-100С |
РДУК2Н-100 |
0,1 |
| 14 |
ГРПС-100С |
РДУК2Н-100 |
0,1 |
| 15 |
ГРПН-50 |
РДБК1-50 |
0,3 |
| 16 |
ГРПС-100С |
РДУК2Н-100 |
0,1 |
| 17 |
ГРПС-100С |
РДУК2Н-100 |
0,1 |
| 18 |
ГРПС-100С |
РДУК2Н-100 |
0,1 |
| 19 |
ГРПН-50 |
РДБК1-50 |
0,3 |
4.2 Расчет кольцевой сети среднего давления
Газовые сети высокого и среднего давлений являются верхним уровнем системы газоснабжения. Наибольшее распространение получили кольцевые сети. Они имеют следующие преимущества: надежность в работе, большая равномерность потребления и распределение давления газа. В отличие от тупиковых сетей, в кольцевых направление потоков и количество газа протекает по участкам непостоянно. Задачей гидравлического расчета является определение диаметров участков сети, которые бы обеспечили равномерность гидравлического режима сети подачу потребителям требуемого качества газа при заданном перепаде давления. Начальное давление газа принимают максимальное по [2], конечное давление принимается таким, чтобы обеспечить при максимальной нагрузке минимально допустимое давление газа перед регулятором давления. Величина этого давления складывается из максимального давления газа перед горелкой, перепад давления в абонентском и перепадов. В большинстве случаев перепад давления в ГРП достаточно иметь избыточное давление 0,15 – 0,2 МПа. При расчете кольцевой сети необходимо иметь резерв давления для лечения пропускной способности систем при аварийном гидравлическом режиме такие режимы возникают при выключении головных участков сети. Ввиду кратковременности аварийных ситуаций следует допускать снижения качества системы при отказах в ее элементах. Это снижение оценивается коэффициентом обеспеченности (Коб ), который зависит от категории потребителя: - для коммунально-бытовых предприятий Коб = 0,8 – 0,85; для отопительных котельных Коб = 0,7 – 0,75.
Таким образом, количество газа подаваемого потребителям при аварийном гидравлическом режиме не должно быть меньше предельного значения, определяемого соотношением:
Qав = Коб ·Qрасч. (4.1)
В газопроводах среднего и высокого давления, перепады давления значительны, поэтому необходимо учитывать изменение плотности и скорости движения газов. Потери давления на преодоление сил трения определяются по формуле:
(4.2)
где Pн , Pк – соответственно давление газа в начале и в конце участка, МПа
l – длина расчетного участка, км
Кэ – коэффициент эквивалентной шероховатости
d – диаметр трубопровода, см
ν – коэффициент кинематической вязкости газа, м2 /с
ρ – плотность газа кг/м3
Q – расход газа, м3 /ч
Для однокольцевого газопровода аварийных режимов, подлежащих расчету, два:
- при выключении участков сети слева и справа от точек питания. При этом газопровод превращается в тупиковый. Расчет производится в следующей последовательности:
1. Составляется расчетная схема газопроводной сети, нумеруются участки, проставляются длины, выписываются расчетные расходы каждым потребителем.
2. Производится предварительный расчет кольца по формулам:
Vр = 0,59·Σ Коб i ·Vi (4.3)
(4.4)
где Vр – расчетный расход газа, м3 /ч
Vi – расчетные расходы газа потребителями, м3 /ч
Коб – коэффициент обеспеченности газом потребителей
Pн , Pк – давление газа в начале и в конце сети,
lк – протяженность расчетного кольца,
1,1 – коэффициент, учитывающий местные сопротивления,
0,59 – приближенное значение коэффициента при путевой нагрузке.
3. Выполняются два варианта гидравлического расчета аварийных режимов при выключенных головных участков с лева и с права от точки питания. И определяются суммированием расчетные расходы газа каждого участка сети от пика к ГРП.
4. Рассчитывается распределение потребления газа при нормальном режиме работы сети и определяется давление газа во всех узловых точках.
5. Проверяются диаметры ответвлений к сосредоточенным потребителям при расчетном гидравлическом режиме.
Σl = 608 м
Расчетные длины ответвлений.
Таблица 4.3.
| № уч-ка |
Длина ответвлений,м |
||||
| 2-6 |
3-7 |
4-8 |
5-9 |
||
| длина |
12 |
9 |
9 |
12 |
|
Σlотв = 42 м
По формулам (4.3), (4.4) подбираем диаметр кольца:
Vр = 0,59·0,7·973,94=402,2 м3 /ч
![]()
По номограмме среднего давления определяем диаметр кольца dк = 100мм и оставляем его постоянным на всех участках.
Производим расчет для аварийных режимов при выключении участков 2-3 и 2-16. Для них выполняется гидравлический расчет:
а) отказ участка 2-3:
При отказе участка кольцевая сеть становится тупиковой; расчет ведем влево от ГГРП.
Участок 1-5:
Vр = 0,7·973,94= 681,76 м3 /ч
d = 100мм
По номограмме определяем действительную величину квадрата давления:
![]()
Определяем давление в конце участка по формуле:
![]()
где Pн – давление газа в начале сети (участка)
![]()
Участок 5-1
Vр = 0,7·973,94 = 681,76 м3 /ч;
d = 150мм;
Rд = 8,7 кПа/м;
![]()
Аналогично выполняется расчет остальных участков. Данные сводим в таблицу.
Рассчитываем участки ответвлений для аварийных режимов. Из сравнения двух значений начальных давлений для каждого ответвления pн отв выбирается меньшее. Для этого давления подбирается длина ответвления при условии чтобы давление в конце ответвления pк отв было не меньше 100 кПа. Диаметр должен быть не менее 50 мм.
Фактическое значение давления в начале участка ответвления определяется по формуле:
(4.5)
Участок 2-6:
l = 12м;
Vр = 0,7·1455,1 = 1018,6 м3 /ч;
![]()
Pн = 299,9 кПа;
Pк = 100 кПа;
d = 15мм;
По номограмме Rдф = 66,6 кПа/м, тогда
-
что не меньше 100кПа, значит диаметр оставляем. Аналогично рассчитываем остальные участки ответвлений, данные сводим в таблицу 4.4.
Таблица 4.4 Гидравлический расчет ответвлений в сети среднего давления.
| № отв-ний |
Расч-й расход Vр м3 /ч |
Дли-на ответ-ий l, м |
Давлен. в нач. уч-ка Pн , кПа |
Вел. квад. давл. Rg, кПа/м |
Диаметр ответв-лений d, мм |
Давлен. в конце ответвл Pк , кПа |
Фактич. давл. в кон. отв. Pк ф ,кПа |
| 1 |
2 |
3 |
4 |
5 |
6 |
7 |
8 |
| 2-6 |
1455,1 |
12 |
299,9 |
66,6 |
15 |
100 |
298,4 |
| 3-7 |
1116,6 |
9 |
299,5 |
88,5 |
15 |
100 |
266,3 |
| 4-8 |
1646,7 |
9 |
299,8 |
88,7 |
15 |
100 |
266,5 |
| 5-9 |
1988,63 |
12 |
299,4 |
63,4 |
70 |
100 |
254,1 |
4.2.1 Гидравлический расчет газопровода в отделении для сушки кирпича
Количество газа подаваемого потребителям при аварийном гидравлическом режиме не должно быть меньше предельного значения, определяемого соотношением:
Qав = Коб ·Qрасч. (4.6)
Потери давления на преодоление сил трения определяются по формуле:
(4.7)
где Pн , Pк – соответственно давление газа в начале и в конце участка, МПа
l – длина расчетного участка, км
Кэ – коэффициент эквивалентной шероховатости
d – диаметр трубопровода, см
ν – коэффициент кинематической вязкости газа, м2 /с
ρ – плотность газа кг/м3
Q – расход газа, м3 /ч
Производится предварительный расчет по формулам:
Vр = 0,59·Σ Коб i ·Vi (4.8)
(4.9)
где Vр – расчетный расход газа, м3 /ч
Vi – расчетные расходы газа потребителями, м3 /ч
Коб – коэффициент обеспеченности газом потребителей
Pн , Pк – давление газа в начале и в конце сети,
lк – протяженность расчетного кольца,1,1 – коэффициент, учитывающий местные сопротивления,
0,59 – приближенное значение коэффициента при путевой нагрузке.
Расчетная схема гидравлического расчета сети среднего давления.
Таблица 4.2.
| № уч-ка |
Длина участка,м |
||
| 1-2 |
2-3 |
3-4 |
|
| длина |
12,5 |
12,2 |
34 |

Σl = 58,7 м
По формулам (4.3), (4.4) подбираем диаметр кольца:
Vр = 0,59·0,7·460=190 м3 /ч
![]()
По номограмме среднего давления определяем диаметр dк = 219 мм и оставляем его постоянным на всех участках.
Производим расчет для аварийных режимов при выключении участков 1-2 и 3-4. Для них выполняется гидравлический расчет:
а) отказ участка 1-2:
При отказе участка расчет ведем следующим образом:
Участок 1-2:
Vр = 0,7·460= 322 м3 /ч
d = 219мм
По номограмме определяем действительную величину квадрата давления:
![]()
Определяем давление в конце участка по формуле:
![]()
где Pн – давление газа в начале сети (участка)
![]()
Участок 2-1
Vр = 0,7·460 = 322 м3 /ч;
d = 219мм;
Rд = 131,6 кПа/м;
![]()
Аналогично выполняется расчет остальных участков.
Рассчитываем участки ответвлений для аварийных режимов. Из сравнения двух значений начальных давлений для каждого ответвления pн отв выбирается меньшее. Для этого давления подбирается длина ответвления при условии чтобы давление в конце ответвления pк отв было не меньше 100 кПа. Диаметр должен быть не менее 50 мм.
Данные по расчету сводим в таблицу 4.5
| № участка |
Длина участка, м |
Расход, м3 /ч |
Диаметр участка, мм |
| 1 |
2 |
3 |
4 |
| 1-2 |
12,5 |
460 |
219 |
| 2-3 |
12,2 |
920 |
219 |
| 3-4 |
34 |
1380 |
219 |
4.3 Гидравлический расчет тупиковой дворовой сети низкого давления
Городские сети обычно прокладываются под проезжей частью внутриквартальных проездов и улиц. Ширина проездов должна обеспечивать необходимый разрыв от здания до газопровода. Величина разрывов регламентируется по [2] в зависимости от величины давления в газопроводе. При давлении газа до 5 кПа величина разрыва составляет 2 м. Гидравлический расчет тупиковой дворовой сети низкого давления проводят в следующей последовательности:
1) на генплане квартала проектируют газовые сети по тупиковой схеме;
2) намечают расчетные участки от точки подключения распределительного уличного газопровода до отключающего устройства на вводе в здание;
3) определяют расчетный расход газа м³/ч по участкам по формуле
(4.10)
где
- коэффициент одновременности работы газовых приборов по [2]
- номинальный расход газа на прибор, м³/ч
- число однотипных приборов, шт.
Для укрупненных значений
можно принять для ПГ-4 – 1,1 м³/ч, для ВПГ – 2,2 м³/ч
4) определяют среднеориентировочные удельные потери давления на
расчетной ветке от точки подключения до наиболее удаленного
газифицируемого здания по формуле
(4.11)
где 250 – нормативный перепад давления;
1,1 – потеря давления на местные сопротивления;
– суммарная длина расчетной ветки, м.
Диаметр участка газопровода определяем по расчетным расходам газа и значениям удельных ориентировочных потерь давления (по номограмме).
По формуле определяем расчетный расход газа на участке:
V1-2 = 3,8∙2∙12∙0,325=29,64 м3 /ч.
V2-3 = (7,6∙12∙2+7,6∙28)∙0,217= 85,7 м3 /ч.
V3-4 = (7,6∙12∙2+7,6∙28∙2)∙0,192 = 116,7 м3 /ч.
V4-5 = (608+7,6∙12∙2)∙0,1865= 147,4 м3 /ч.
V5-6 = (790,4+7,6∙12+7,6∙28)∙0,175 = 191,52 м3 /ч.
V6-7 = (1094,4+7,6∙12)∙0,17 = 201,5 м3 /ч.
V7-8 = 201,5 м3 /ч..
Данные расчета сводим в таблицу 4.5.
Потери давления,Па на участках определим по формуле:
∆Р = Rд·l, (4.12)
где Rд - действительные удельные потери давления, по номограмме, Па/м
l – длина участка в метрах, м
∆Р1-2 = 1∙16 = 16 Па
∆Р2-3 = 2,5∙40 = 100 Па
∆Р3-4 = 1,6∙33 = 52,8 Па
∆Р4-5 = 2,2∙24 = 52,8 Па
∆Р5-6 = 1,5∙40 = 60 Па
∆Р6-7 = 1,4∙35 = 49 Па
∆Р7-8 =1,4∙23= 32,2 Па
Средние ориентировочные удельные потери давления:
![]()
Данные расчета сводим в таблицу 4.5.
Гидравлический расчёт тупиковой дворовой сети низкого давления Таблица 4.5.
| № Уч-ка |
Длина участка l, м |
Расчетный расход газа V, м3 /ч |
Средние ориентировоч-ные удельные потери давления Rор, Па/м |
Диаметр участка Д, мм |
Потери давления |
|
| Действительные удельные потери давления Rд,Па/м |
Потери давления на участке ∆Р, Па |
|||||
| 1 |
2 |
3 |
4 |
5 |
6 |
7 |
| 1-2 |
16 |
29,64 |
1,07 |
70 |
1 |
16 |
| 2-3 |
40 |
85,7 |
1,07 |
80 |
2,5 |
100 |
| 3-4 |
33 |
116,7 |
1,07 |
100 |
1,6 |
52,8 |
| 4-5 |
24 |
147,4 |
1,07 |
100 |
2,2 |
52,8 |
| 5-6 |
40 |
191,5 |
1,07 |
125 |
1,5 |
60 |
| 6-7 |
35 |
201,5 |
1,07 |
125 |
1,4 |
49 |
| 7-8 |
23 |
201,5 |
1,07 |
125 |
1,4 |
32,2 |
Потери давления на участке не превышают допустимых потерь (250 Па), расчет окончен.
Раздел 5. Патентный поиск
5.1 Вводная часть
В настоящее время в России газификация городов природным газом получила широкое распространение по сравнению с другими видами топлив. Это обусловлено, прежде всего, невысокими капитальными затратами в систему газоснабжения, удобством эксплуатации газовых сетей и приборов, более высоким коэффициентом полезного действия газовых приборов, самым низким уровнем ущерба окружающей среде, возможности полной автоматизации работы сетей и приборов.
При разработке данного дипломного проекта были применены новые запатентованные блочные котельные, описание, достоинства и недостатки которых приведены ниже.
5.2 Изучение и анализ конструкций блочных котельных
5.2.1 Конструкция блочной котельной [6]
Изобретение относится к области теплотехники, в частности к газовым емкостным водонагревателям, и может быть использовано для нагрева воды и негорючих водных растворов в различных отраслях промышленности. Задача изобретения - создание надежного в эксплуатации емкостного газового водонагревателя за счет предотвращения коррозии жаровых труб путем исключения конденсации водных паров внутри каждой из них. Поставленная задача решается в водонагревателе, содержащем резервуар с крышей, внутри которого расположены Г-образные жаровые трубы, горизонтальные участки каждой из которых подключены к горелочному устройству и расположены на опорах, установленных на днище резервуара под вертикальными участками, каждый из которых имеет соосно размещенный с ним патрубок, причем длину горизонтального участка каждой из Г-образных жаровых труб выбирают по заданной зависимости. При этом водонагреватель дополнительно снабжен блоком управления, подключенным к датчику температуры, расположенному внутри резервуара на его стенке, и к горелочному устройству, взрывным клапаном, подогревателями газа, жестко закрепленными в стенке резервуара и расположенными компланарно по отношению к каждому из горизонтальных участков Г-образных жаровых труб.

Рис.1
5.2.2 Конструкция водонагревателя [7]
Известен водонагреватель (см. патент РФ 2028554 по кл. F 24 Н 1/28, опубл. 1983 г.)[9], содержащий корпус, состоящий из верхней и нижней емкостей, расположенных одна над другой, снабженных патрубками дл подвода и отвода нагреваемой жидкости, расположенную в корпусе и погруженную в последний жаровую трубу, выполненную в виде спирально-конического змеевика, состоящего соответственно из нижнего и верхнего участков, соединенных между собой перепускным патрубком, расположенным в верхней емкости, причем один конец змеевика подключен к горелочному устройству. Верхняя емкость корпуса выполнена в виде конусообразной воронки, сливной патрубок расположен в нижней емкости и выполнен по спирали, имеющей направление закрутки, совпадающее с направлением закрутки верхнего участка змеевика, и противоположное направлению закрутки нижнего его участка. Однако конструкция данного водонагревателя сложна в изготовлении и ненадежна в эксплуатации за счет выполнения жаровых труб в виде спирально-конического змеевика. Кроме этого, недостатком данной конструкции является непродолжительный срок службы водонагревателя из-за коррозии жаровой трубы, обусловленной конденсацией в ней водяных паров, а также сложность эксплуатации горелки из-за присутствия сконденсированной влаги в жаровой трубе.
Для решения поставленной задачи в водонагревателе емкостном газовом, содержащем резервуар с крышей, внутри которого расположены Г-образные жаровые трубы, горизонтальные участки каждой из которых подключены к горелочному устройству и расположены на опорах, установленных на днище резервуара под вертикальными участками, каждый из которых имеет соосно размещенный с ним патрубок, согласно изобретению, длину горизонтального участка каждой из Г-образных жаровых труб выбирают из условия:
L=[GC(tвых -tвх)n-1 -KpDH(tст -0,5(tвых +tвх))]:[KpD(tст -0,5(tвых +tвх))], (5.1)
где L - длина горизонтального участка Г-образной жаровой трубы, м;
G - расход нагреваемой воды, кг/с;
С - теплоемкость нагреваемой воды, кДж/(кг,o С);
tвых - температура нагреваемой воды на выходе из резервуара,o С;
tвх - температура нагреваемой воды на входе в резервуар, o С;
n - количество Г-образных жаровых труб;
К - средний коэффициент теплопередачи от стенки жаровой трубы к нагреваемой воды, кВт/(м2 o С);
p=3,14;
D - наружный диаметр жаровой трубы, м;
Н - высота вертикального участка жаровой трубы, смачиваемого жидкостью, м;
tст - средняя температура стенки жаровой трубы, o С.
Кроме того, водонагреватель дополнительно снабжен блоком управления, подключенным к датчику температуры, расположенному внутри резервуара на его стенке, и к горелочному устройству. Устройство дополнительно может содержать взрывной клапан, расположенный на крыше резервуара; подключенные к горелочному устройству подогреватели газа, жестко закрепленные к стенке резервуара и расположенные компланарно по отношению к каждому из горизонтальных участков Г-образных жаровых труб; а опора выполнена в виде опоры скольжения. При выборе длины горизонтального участка каждой из жаровых труб по указанной зависимости, полученной из совместного решения уравнений теплового баланса и теплопередачи, средняя температура стенки жаровой трубы tст принимается на уровне на 5-10o С выше температуры конденсации водяных паров (точки росы по водяным парам) для используемого топлива и для номинального режима эксплуатации жаровых труб. Оптимальная длина горизонтального участка исключает образование конденсата водяных паров в жаровой трубе. Для исключения конденсации водяных паров внутри каждой из жаровых труб, при тепловой нагрузке ниже номинальной, блок управления, обеспечивает дискретное автоматическое управление работой горелок. Расположенный на крыше резервуара взрывной клапан, обеспечивает сброс импульса давления водяных паров внутри резервуара при нештатном режиме его эксплуатации (например, при подаче воды в резервуар при уже включенной жаровой трубе). Предотвращение деформации резервуара при номинальном режиме эксплуатации водонагревателя осуществляется с помощью патрубка на крыше резервуара, обеспечивающего образование кольцевого воздушного зазора между вертикальным участком жаровой трубы и крышей, что, в конечном итоге, приводит к выравниванию давления воздуха внутри и снаружи резервуара.
Для повышения срока службы водонагревателя опора каждой жаровой трубы, выполненная в виде опоры скольжения, допускает только аксиальное перемещение жаровой трубы при ее температурных деформациях, что, в отличие от прототипа, исключает всплытие жаровых труб при заполнении водой резервуара и, следовательно, исключает изгибающие усилия на стенку резервуара, возникающие при использовании опоры качения. Для обеспечения возможности надежной работы водонагревателя, особенно в зимних условиях эксплуатации, для предотвращения отказов работы установленных перед горелками регулятора давления и отсечных клапанов вследствие образования в них газовых гидратов, водонагреватель может дополнительно содержать подогреватели газа, жестко закрепленные в стенке резервуара и расположенные компланарно по отношению к каждому из горизонтальных участков Г-образных жаровых труб.
Изобретение поясняется чертежами, где на рис.1 представлен поперечный разрез водонагревателя; на рис.2 - вид сверху; на рис.3 - вид спереди водонагревателя с двумя жаровыми трубами.
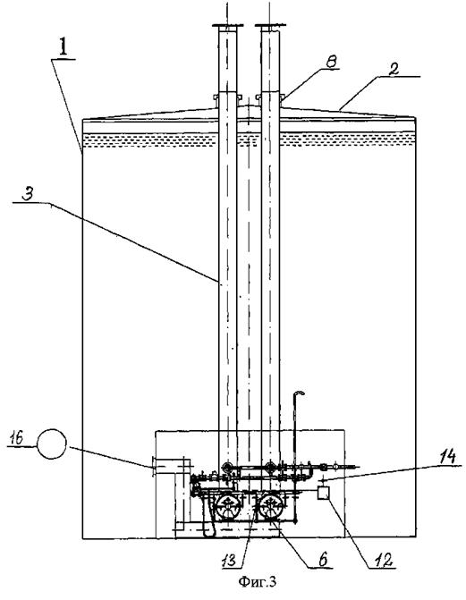
Водонагреватель емкостной газовый содержит цилиндрический теплоизолированный резервуар 1, с крышей 2, в котором расположены жаровые трубы 3 Г-образной конфигурации, состоящие из соединенных друг с другом горизонтальных 4 и вертикальных 5 участков. Горизонтальные участки 4 одним концом закреплены в стенке резервуара 1 и подключены к горелочному устройству 6, а другим концом - размещены на опоре скольжения 7, закрепленной на днище резервуара 1. На крыше 2 резервуара 1 расположены соосно вертикальным участкам 5 жаровых труб 3 патрубки 8, имеющие дефлекторы 9. Взрывной клапан 10 также расположен на крыше 2 резервуара 1. Над крышей 2 размещена дымовая труба 11, являющаяся одновременно продолжением вертикального участка жаровой трубы. Горелочное устройство 6 подключено к блоку управления 12, через отсечной клапан 13. Датчик температуры 14, расположенный на стенке внутри резервуара, подключен также к блоку управления 12. Водонагреватель имеет также подогреватели газа 15, жестко закрепленные в стенке резервуара 1 и расположенные компланарно по отношению к соответствующим горизонтальным участкам 5 Г-образных жаровых труб 3, регул тор давления, расположенный перед отсечным клапаном 13. Подвод воды осуществляется по подпиточному и циркуляционному водоводам, а отвод воды - по отводящему водоводу (не показаны). Подвод воздуха к горелкам осуществляется по отдельному воздуховоду 16.
Водонагреватель емкостной газовый работает следующим образом.
Нагрев жидкости в резервуаре 1 осуществляется за счет передачи теплоты через стенку каждой из жаровых труб 3 от продуктов сгорания, выходящих из горелочных устройств 6. При этом, длину горизонтального участка 4 подбирают таким образом, чтобы исключить образование конденсата водяных паров в жаровой трубе. При этом среднюю температуру стенки жаровой трубы 3 выбирают выше температуры конденсации водяных паров на стенке жаровой трубы 3 или "точки росы по водяным парам".
В качестве примера конкретного исполнения определения оптимальной длины L горизонтального участка Г-образной жаровой трубы в двухтрубном водонагревателе используем следующие исходные данные:
- расход нагреваемой воды G=7,67 кг/с;
- теплоемкость нагреваемой воды С=4,19 кДж/(кг,o С);
- температура нагреваемой воды на выходе из резервуара tвых =15o С;
- температура нагреваемой воды на входе в резервуар tвх =1o С;
- количество Г-образных жаровых труб n=2;
- средний коэффициент теплопередачи от стенки жаровой трубы к нагреваемой воды К=0,2 кВт/(м2 o С);
- наружный диаметр жаровой трубы D=0,53 м;
- высота вертикального участка жаровой трубы, смачиваемого жидкостью, Н= 4,5 м;
- средняя температура стенки жаровой трубы tст =100o С.
При подстановке исходных данных можно определить, что при номинальной теплопроизводительности длина горизонтальных участков каждой из двух жаровых труб должна быть L=2,8 м. При этом водяные пары, образующиеся при сжигании газа, вывод тс с дымовыми газами из жаровых труб 3 и не конденсируются на их внутренней стенке.
Формула изобретения:
1. Водонагреватель емкостный газовый, содержащий резервуар с крышей, внутри которого расположены Г-образные жаровые трубы, горизонтальные участки каждой из которых подключены к горелочному устройству и расположены на опорах, установленных на днище резервуара под вертикальными участками, каждый из которых имеет соосно размещенный с ним патрубок, отличающийся тем, что длину горизонтального участка каждой из Г-образных жаровых труб выбирают из условия (5.1).
2. Водонагреватель емкостный газовый, отличающийся тем, что он дополнительно снабжен блоком управления, подключенным к датчику температуры, расположенному внутри резервуара на его стенке, и к горелочному устройству.
3. Водонагреватель емкостный газовый, отличающийся тем, что он дополнительно содержит взрывной клапан, расположенный на крыше резервуара.
4. Водонагреватель емкостный газовый, отличающийся тем, что каждый из вертикальных участков Г-образных жаровых труб выполнен выступающим за пределы резервуара и патрубка, при этом каждый патрубок снабжен дефлектором, расположен на крыше резервуара и имеет высоту менее одного диаметра Г-образной жаровой трубы.
5. Водонагреватель емкостный газовый, отличающийся тем, что опора выполнена в виде опоры скольжения.
6. Водонагреватель емкостный газовый, отличающийся тем, что он дополнительно содержит подключенные к горелочному устройству подогреватели газа, жестко закрепленные в стенке резервуара и расположенные компланарно по отношению к каждому из горизонтальных участков Г-образных жаровых труб.
Изобретение относится к водяным системам отопления и горячего водоснабжения и может быть использовано для нагрева воды в системах с индивидуальным отоплением. Технический результат, который может быть достигнут с помощью предлагаемого изобретения, сводится к повышению надежности и КПД установки и снижению температуры дымовых газов и давления в системе отопления. Котельная установка состоит из котла, имеющего патрубки прямой и обратной линии воды, дымовую трубу, верхняя часть которой над котлом выполнена в виде вертикального трубчатого кольцеобразного экономайзера, содержащего переливную трубку с запорным устройством, соединенным с котлом через патрубок прямой линии и через патрубок с подающей линией системы отопления, верхняя часть экономайзера выполнена в виде расширительного бака, последний соединен с воздушным ресивером посредством воздушной трубки, на обратной линии патрубка установлены предохранительный клапан и подпиточное устройство (рис.4).

Рис.5.2
5.2.3 Конструкция котельной установки [6]
Известна котельная установка, содержащая снабженный контактными воздухонагревателем и экономайзером котел, параллельно подключенный подвод щей и отвод щей лини ми к греющим трактам тепловой сети и поверхностного теплообменника, нагревающий тракт которого соединен с контактным воздухонагревателем и снабжен регул тором расхода, а экономайзер сообщен с подвод щей линией котла, установка содержит также датчик температуры воздуха (см. а.с. СССР №1666855, кл. F 22 D 1/36)[9]. Недостатком данной котельной установки являются высокие затраты на нагрев воды. Известны также котельные установки, состоящие из котла, в верхней чести соединенного с экономайзером и прямой линией отопления.

Рис.5.3
Эти установки утилизируют тепло отходящих топочных газов котлов, работающих на твердом, жидком и газообразном топливе, одновременно позволяет производить подогрев воды из хозпитьевого водопровода (см. промышленные котлы ДЕ, ДКВР, ЭБ-2-94, ЭБ-1-300). Недостатком данных котельных установок является сложность конструкции, высокая стоимость получения тепла.

Рис.4
Наиболее близким по технической сущности и достигаемому положительному эффекту и принятый авторами за прототип является жаротрубный вертикальный водогрейный котел, содержащий топку с горелочным устройством, патрубками прямой и обратной воды, при этом верхняя часть котла выполнена в виде бака, содержащего переливную трубку и воздушную трубку с манометром, установленную на высоте, равной или большей отношения увеличения объема горячей воды в системе отопления и площади сечения в верхней части котла между вертикальным пучком жаровых труб и внешней трубой (см. пат. РФ №2150051, кл. F 24 Н 1/28)[14]. Недостатком данного котла является высокая температура дымовых газов после котла (170°С) и необходимость в связи с этим поддерживать высокое давление в системе отопления (8 атм) с целью исключения закипания воды в верхней части котла. Технический результат, который может быть достигнут с помощью предлагаемого изобретения сводится к повышению надежности КПД установки и снижению температуры дымовых газов и давления в системе отопления. Технический результат достигается с помощью котельной установки, содержащей котел с патрубками прямой и обратной линией воды, дымовую трубу, расширительный бак, при этом верхняя часть дымовой трубы выполнена в виде вертикального трубчатого кольцеобразного экономайзера, снабженного переливной трубкой с запорным устройством, соединенным с котлом с помощью патрубка прямой линии, при этом верхняя часть экономайзера выполнена в виде бака, последний соединен с воздушным ресивером посредством воздушной трубки.
Котельная установка состоит из котла 1, имеющего патрубок 2 прямой и патрубок 3 обратной линии воды, дымовую трубу 4, верхняя часть которой над котлом 1 выполнена в виде вертикального трубчатого кольцеобразного экономайзера, содержащего переливную трубку 5 с запорным устройством 6, соединенным с котлом 1 через патрубок 2 прямой линии и через патрубок 7 с подающей линией системы отопления (на фиг. не показано), верхняя часть экономайзера выполнена в виде расширительного бака 8, последний соединен с воздушным ресивером 9 посредством воздушной трубки 10, на обратной линии патрубка 3 установлены предохранительный клапан 11 и подпиточное устройство 12.
Котельная установка работает следующим образом.
Система отопления заполняется холодной водой через подпиточное устройство 12 до уровня переливной трубки 5, после запорное устройство 6 и подпиточное устройство 12 закрываются. Котел 1 включается в работу, вода нагревается в котле 1, поднимается вверх и через патрубок 2 прямой линии воды поступает в верхнюю часть дымовой трубы 4, выполненной в виде вертикального трубчатого экономайзера, и продолжает нагреваться отходящими дымовыми газами от котла 1, при этом уровень воды над переливной трубкой 5 поднимается, возникает циркуляционное давление в системе отопления, вода поступает в систему отопления по патрубку 7 и возвращается в котел 1 по патрубку 3 с предохранительным клапаном 11, температура дымовых газов после экономайзера снижается до 100°С. Поднявшаяся вода над переливной трубкой 5 вытесняет воздух из расширительного бака 6 в воздушный ресивер 9 по воздушной трубке 10, что повышает давление в системе на 0,3-0,5 атм и препятствует вскипанию воды в расширительном баке, обеспечивая надежную работу системы отопления и повышая коэффициент полезного действия котельной установки. Предлагаемое изобретение по сравнению с прототипом и другими известными техническими решениями имеет следующие преимущества: повышение коэффициента полезного действия котельной установки на 7-9%; повышение надежности работы системы отопления; удешевление производства теплоэнергии; снижение затрат на нагрев воды; снижение температуры дымовых газов и давления в системе отопления; биологическая чистота окружающей среды.
Формула изобретения:
Котельная установка, содержащая котел с патрубками прямой и обратной воды, дымовую трубу, расширительный бак, отличающаяся тем, что верхняя часть дымовой трубы выполнена в виде вертикального трубчатого кольцеобразного экономайзера, снабженного переливной трубкой с запорным устройством, соединенным с котлом с помощью патрубка прямой линии, при этом верхняя часть экономайзера выполнена в виде расширительного бака, последний соединен с воздушным ресивером посредством воздушной трубки.
Изобретение предназначено для нагрева воды и может быть использовано в теплоснабжении. Котел содержит газотрубную и водотрубную части, установленные в одном корпусе. Газотрубная часть имеет топку в виде жаровой трубы и газотрубный одноходовой пучок, а водотрубная часть имеет конвективную камеру с теплообменной поверхностью нагрева. Котел снабжен передней поворотной камерой, расположенной на фронте котла, и имеет со стороны фронта дополнительные поверхности нагрева в виде фронтового экрана и переднего кольцевого канала, одновременно выполняющего функции коллекторов фронтовою экрана и тепловой изоляции корпуса котла. В конвективной камере теплообменная поверхность нагрева выполнена в виде съемного конвективного блока с ходом газов сверху вниз, состоящего из плоских секций, представляющих собой трубчато-мембранные панели, соединенные с коллекторами прямоугольной формы. В конвективной камере предусмотрена дополнительная поверхность нагрева в виде заднего кольцевого канала, одновременно выполняющего функции коллекторов раздачи воды в съемный блок и вод ной объем газотрубной части котла, а также тепловой изоляции корпуса котла. Изобретение обеспечивает надежность, ремонтопригодность, эффективность и удобство эксплуатации котла.

Рис.5
Изобретение относится к области теплоснабжения и может быть использовано в стальных водогрейных котлах.
Известны водогрейные газотрубные котлы, содержащие топку, выполненную в виде жаровой трубы или жарового пространства, одноходовой газотрубный конвективный пучок, а также “водотрубные” (возможны при этом щелевые, кольцевые или коробчатые) элементы, по которым вода движется с существенными скоростями, значительно превышающими скорости в вод ной рубашке жаротрубных котлов. При этом все эти элементы находятся внутри общей цилиндрической или коробчатой камеры (см. а.с. СССР №779756, МПК F 24 Н 1/28, бюл. №42, 15.11.80 г.; а.с. СССР №1744378, МПК F 24 Н 1/38, бюл. №24 от 30.06.92 г.; патент РФ №2160874, МПК F 24 Н 1/00 от 20.12.2000 г.) [18].
Недостатком таких конструкций котлов является сложность выполнения таких “водотрубных” элементов, а также то, что определенный элемент, как правило, осуществляет одну или две из следующих функций: распределение воды, или увеличение поверхности нагрева, или повышение надежности работы, или улучшение условий эксплуатации котла, или снижение потерь в окружающую среду.
Наиболее близким аналогом к предлагаемому техническому решению является водогрейный котел, содержащий газотрубную и водотрубную часть, причем газотрубная часть имеет топку в виде жаровой трубы и газотрубный одноходовой пучок, а водотрубная часть имеет конвективную камеру с теплообменной поверхностью нагрева, сообщенной с конвективным пучком и топкой, установленными в одном корпусе (см. патент RU №2162574, МПК F 24 Н 1/32, опубл. 27.01.01 г.).[ ]
Недостатками котла-прототипа являются неразборность, плохая доступность к элементам, следовательно, низкая ремонтопригодность конвективной поверхности нагрева, а также высокое аэродинамическое сопротивление и возможность засорения конвективной поверхности нагрева. Задачей создания изобретения является разработка простой, надежной, ремонтопригодной, эффективной и удобной в эксплуатации конструкции котла.
С помощью кольцевых каналов осуществляется сразу несколько функций: увеличение поверхности нагрева котла, распределение воды, повышение надежности и срока службы котла, увеличение КПД, улучшение условий эксплуатации.
Изобретение поясняется описанием конкретного, но не ограничивающего его примера реализации и прилагаемыми чертежами, где на рис.5 - представлен общий вид котла, продольный разрез по А-А; на рс.6 - поперечный разрез по Б-Б рис.5; на рис.7 - поперечный разрез по В-В рис.5; на рис.8 - разрез Г-Г и вид по “Д”.
Котел содержит топку 1 в виде жаровой трубы, поворотную камеру газов 2 во фронтовой части котла, одноходовой газотрубный конвективный пучок 3, конвективную камеру 4, съемный конвективный блок 5 из плоских секций 6, содержащих трубчато-мембранные панели 7 и коллекторы прямоугольной формы 8, соединительные трубы 9 плоских секций, передний кольцевой канал 10 с разделительными перегородками 11, фронтовой экран 12 с камерой 13 дл горелки и водотрубными элементами 14, задний кольцевой канал 15 с разделительными перегородками 16, перепускной трубопровод 17 из переднего кольцевого канала 10 в задний кольцевой канал 15, перепускные трубопроводы 27 из заднего кольцевого канала 15 в съемный конвективный блок 5, переднюю трубную доску 18, заднюю трубную доску 19 с отверстиями 20 для выхода воды из задней кольцевой камеры в водяной объем 26 газотрубной части котла, выходное окно газов 21, заднюю дверцу котла 22, переднюю дверцу котла 23, собственно корпус котла 28, входной патрубок воды 24, выходной патрубок воды 25. Конвективный блок 5 достается из конвективной камеры котла 4 через заднюю дверцу 22. Передний кольцевой канал 10 соединяется с задним кольцевым каналом 15 перепускным трубопроводом 17.
Котел работает следующим образом: образующиеся при сжигании топлива в топке 1 дымовые газы поступают в поворотную камеру 2, расположенную со стороны фронта котла, далее, проход внутри трубок газотрубного конвективного пучка 3, направляются в конвективную камеру 4, проходят сверху вниз через конвективные плоские секции 6 съемного конвективного блока 5, разворачиваются на 90° и покидают котел через выходное окно 21. Вода из системы трубопроводов котельной поступает в середину переднего кольцевого канала 10 через входной патрубок воды 24, проходит через верх кольцевого канала и на противоположной стороне заходит в трубы 14 фронтового экрана 12, проходит камеру 13 дл горелки, остальные трубные элементы 14 фронтового экрана 12, и снизу переднего кольцевого экрана выходит в перепускной трубопровод 17. Циркуляция в трубных элементах фронтового экрана организуется с помощью разделительных перегородок 11 переднего кольцевого канала 10. Из перепускного трубопровода 17 вода поступает в нижнюю часть заднего кольцевого канала 15, поднимается по нему к конвективному блоку 5, проходит через перепускной трубопровод 27, плоские секции 6, их соединительные трубы 9 и выходит через трубопровод 27 в противоположную сторону заднего кольцевого канала 15, далее через отверстия 20 в задней трубной доске 19 - в водяной объем 26 газотрубной части котла, поднимается по нему вверх и выходит из корпуса котла 28 через выходной патрубок 25 в систему трубопроводов котельной. Циркуляция в заднем кольцевом канале 15 осуществляется с помощью разделительных перегородок 16.
Формула изобретения:
Водогрейный котел, содержащий газотрубную и водотрубную части, установленные в одном корпусе, при этом газотрубная часть имеет топку в виде жаровой трубы и газотрубный одноходовой пучок, а водотрубная часть имеет конвективную камеру с теплообменной поверхностью нагрева, отличающийся тем, что он снабжен передней поворотной камерой, расположенной на фронте котла и имеет со стороны фронта котла дополнительные поверхности нагрева в виде фронтового экрана и переднего кольцевого канала, одновременно выполняющего функции коллекторов фронтового экрана и тепловой изоляции корпуса котла, а в конвективной камере теплообменная поверхность нагрева выполнена в виде съемного конвективного блока с ходом газов сверху вниз, состоящего из плоских секций, представляющих собой трубчато-мембранные панели, соединенные с коллекторами прямоугольной формы, причем в конвективной камере предусмотрена дополнительна поверхность нагрева в виде заднего кольцевого канала, одновременно выполняющего функции коллекторов раздачи воды в съемный блок и вод ной объем газотрубной части котла, а также тепловой изоляции корпуса котла.

Рис.6

Рис.7

Рис.8
На основании изучения и анализа блочных котельных выбрана котельная установка. Изобретение относится к водным системам отопления и горячего водоснабжения и может быть использовано дл нагрева воды в системах с индивидуальным отоплением. Технический результат, который может быть достигнут с помощью предлагаемого изобретения, сводится к повышению надежности и КПД установки и снижению температуры дымовых газов и давления системе отопления.
5.3 Выбор блочной котельной
На основании изучения и анализа выбрана блочная котельная c водогрейный котел, содержащий газотрубную и водотрубную часть, причем газотрубная часть имеет топку в виде жаровой трубы и газотрубный одноходовой пучок, а водотрубная часть имеет конвективную камеру с теплообменной поверхностью нагрева, сообщенной с конвективным пучком и топкой, установленными в одном корпусе (см. патент RU №2162574, МПК F 24 Н 1/32, опубл. 27.01.01 г.).[14], как наиболее технически совершенная и имеющая минимальные экономические показатели.
Раздел 6. Технико-экономическое обоснование
6.1 Выявление оптимальной трассировки межпоселкового распределительного газопровода
Выбор оптимального варианта трассы сводится к выявлению такого положения головной магистрали, при котором суммарная металлоемкость ответвлений к потребителям имеет минимальное значение.
В этом случае используется метод математической статистики, который позволяет найти уравнение прямой (кривой) линии, расположенной на минимальном расстоянии от нескольких случайных точек (метод наименьших квадратов).
Суть метода заключается в следующем. На генеральном плане населенного пункта, промплощадки или какой-либо другой территории произвольно наносится система координат XOY и на ней фиксируется положение потребителей (рис. 2).
Поскольку общая металлоемкость ответвлений прямо пропорциональна их суммарной длине и среднему диаметру, при выборе оптимального варианта трассировки головной магистрали необходимо учитывать не только количество и положение потребителей, но и их нагрузка.
Анализ гидравлических режимов эксплуатации систем газо- и теплоснабжения показывает, что диаметр трубопровода при прочих равных условиях определяется расходом транспортируемой среды G в степени m . Показатель степени имеет следующие численные значения:
газопроводы низкого давления m = 0,368;
трубопроводы тепловых сетей m = 0,38;
газопроводы высокого (среднего) давления m = 0,38.
Для определения расчетных координат головной магистрали распределительного трубопровода используется следующее выражение (6.1):
(6.1)
где x, y – расчетные координаты магистрали;
a, b – искомые параметры прямой.
Задача заключается в нахождении наименьшей суммы квадратов отклонений расчетных значений координат по уравнению
(6.2)
где n – количество ответвлений к потребителям;
xi , yi – заданные координаты потребителей.
Дифференцируя функцию S по искомым параметрам a и b и приравнивая полученные выражения к нулю, приходим к следующей системе:
(6.3)
![]()
решая которую, находим aopt , bopt и оптимальную трассировку трубопровода:
(6.4)
В частном случае, когда нагрузки потребителей одинаковы, то есть
Gi = const, целевая функция задачи (6.2) трансформируется в уравнение
(6.5)
Нахождение искомых значений параметров aopt , bopt сводится к решению следующей системы:
(6.6)
Пример: Найти оптимальную трассировку распределительного трубопровода на три потребителя с координатами
x1 = 1,0 км; y1 = 1,5 км;
x2 = 3,0 км; y2 = 2,5 км;
x3 = 5,0 км; y3 = 3,0 км;
x4 = 8,0 км; y4 = 9,0 км.
Нагрузки потребителей одинаковы.
Подставляя координаты в уравнение (6.6), получим
![]()
![]()
После преобразований имеем
![]()
откуда aopt = -0,45; bopt = 1,05.
Таким образом, оптимальное положение головной магистрали распределительного трубопровода определяется уравнением:
(6.7)
В общем случае, когда конфигурация головной магистрали представляет собой ломаную линию, содержащую k линейных участков, задача решается последовательно для каждого участка трубопровода. При этом условие оптимальной трассировки магистрали реализуется следующей системой уравнений:
где j
= 1,2,….k
. (6.8)
Если при реальном проектировании осуществить оптимальную трассировку не представляется возможным (специфика рельефа местности, особенности застройки населенного пункта и другие обстоятельства), принимаем тот вариант трассы, который обеспечивает максимальное приближение к оптимальному с учетом заданных ограничений.
6.2 Выбор оптимального количества очередей строительства газораспределительной станции
На экономическую эффективность проектного (планового) решения большое влияние оказывает фактор времени.
Согласно нормативной методике, распределенные во времени затраты приводятся к сравниваемому уровню (базисному году) с помощью коэффициента приведения. Сущность этого методического подхода заключается в следующем. Денежные средства, подлежащие затрате в последующий (за базисным годом) период, определенное время используются в других отраслях народного хозяйства, отдаление предстоящих затрат, чем больше их окупаемость, тем меньше та, приведенная к сравниваемому уровню часть этих затрат, которую следует учитывать в экономических расчетах. Если затраты предшествуют базисному году, возникает экономический ущерб от замораживания денежных средств. Чем больше отдаление предшествующих затрат, тем больше народнохозяйственный ущерб и тем больше та, приведенная к сравниваемому уровню величина этих затрат, которую необходимо учитывать в экономических расчетах.
Сравнивание вариантов с учетом фактора времени происходит в тех случаях, когда варианты имеют:
- различные сроки службы;
- различную продолжительность строительства (в одну или несколько
очередей);
- различное время выхода объектов на проектную эксплуатацию и т. д.
Характерной особенностью задач первого типа является необходимость учета дополнительных затрат в замену менее долговечной техники за время службы более долговечной техники. Для определения приведенных затрат по сравниваемым вариантам используется уравнение:
(6.9)
при m =0,1,2,…..n ,
где m – номер очередного вложения капитальных затрат;
n – количество замен оборудования за расчетный период (срок службы
объекта), определяемое по уравнению
(6.10)
- коэффициент приведения затрат для года, отдаленного от базисного на
mt0 лет.
Задачи второго типа решаются при экономическом обосновании строительства объекта (системы) в несколько этапов (очередей). Сметная стоимость строительства объекта в несколько очередей возрастает за счет дополнительных работ, связанных со сменой части установленного оборудования, устройством временных торцевых стен зданий, монтажом и демонтажем строительной техники и механизмов и т. д. Вместе с тем происходит снижение расчетных затрат во вторую и последующие очереди вследствие их отдаленности во времени. Обеспечивается также экономия расходов по эксплуатации за счет более полного использования установленного оборудования и других основных фондов. Для определения приведенных затрат по сравниваемым вариантам используется уравнение:
(6.11)
где З – суммарные приведенные затраты, руб;
tсл – срок службы объекта;
Кt – капитальные вложения в t-ом году, руб;
Иt – расходы по эксплуатации t-ом году (без отчисления на реновацию), руб;
αt – коэффициент приведения равнопеременных затрат базисному году, определяемый по формуле
(6.12)
где Енп – норматив приведения разновременных затрат, равный 0,08;
t – разность между годом приведения и базисным годом;
tн – начальный год расчетного периода, определяемый началом финансирования строительства объекта.
Задачи третьего типа имеют особое значение при проектировании систем инженерного оборудования новых городов или жилых массивов. По мере застройки населенного пункта, ввода потребителей в эксплуатацию расчетные нагрузки (тепло-, водо-, газопотребление и т. д.) возрастают практически от нуля до проектных (планируемых) величин. Поэтому оптимальное решение подобных задач требует подробной информации о темпах роста населенного пункта, развития его структуры и застройки, динамике потребления топливно-энергетических ресурсов и других определяющих параметров по всем годам расчетного периода строительства.
Пример. Газораспределительная станция (ГРС) может быть построена сразу на полную мощность при сметной стоимости К1 = 1500000 рублей или в две очереди (вторая через 4 года) при сметной стоимости К2 = 1980000 рублей, в том числе затраты на первую очередь 1200000 рублей. Переменная часть годовых эксплуатационных расходов составляет 5% от соответствующих капитальных вложений. Срок службы станции tсл = 25 лет. Необходимо определить экономически более целесообразный вариант строительства.
Расчетные затраты по вариантам определяем, используя формулу (6.11):
а) При строительстве ГРС в одну очередь
![]()
б) При строительстве ГРС в две очереди
![]()
Следовательно, экономически целесообразным является строительство ГРС в одну очередь.
6.3 Определение оптимальной мощности и радиуса действия газорегуляторного пункта
При проектировании многоступенчатых систем газоснабжения населенных пунктов возникает необходимость определения оптимального количества точек питания сети низкого давления, то есть выбора оптимального количества газорегуляторных пунктов.
Рассмотрим основные задачи на примере методики, разработанной МИСИ им. Куйбышева.
С увеличением радиуса действия ГРП (с уменьшением количества ГРП) снижаются приведенные затраты в газорегуляторные пункты и распределительные сети высокого давления. Вместе с тем возрастают затраты в распределительные сети низкого давления за счет увеличения их среднего диаметра.
Примем в качестве целевой функции суммарные приведенные затраты по комплексу: ГРП – сети низкого давления – сети высокого (среднего) давления:
(6.13)
Под радиусом действия ГРП подразумевается расстояние по прямой от ГРП до точки встречи потоков газа на границе зон действия двух соседних ГРП. Выявим взаимосвязь между радиусом R действия ГРП и радиусом действия газопровода между радиусом Rг . Рассмотрим два варианта размещения ГРП на территории населенного пункта: шахматный и коридорный (графическая часть).
При шахматном размещении ГРП радиус действия ГРП совпадает с радиусом действия газопровода, то есть Rг = R. При коридорном варианте радиусы действия ГРП и газопровода связаны между собой следующим соотношением:
(6.14)
В общем случае, при смешанной схеме размещения ГРП, можно записать:
(6.15)
Численное значение коэффициента α
изменяется в пределах от 1 до
и в среднем может быть принято α
≈ 1,3. Выразим количество газорегуляторных пунктов n
через радиус действия ГРП и площадь газоснабжаемой территории F
.
и
(6.16)
Откуда
(6.17)
а также
(6.18)
Следовательно,
(6.19)
Выявим приведенные затраты по элементам газоснабжающей системы. Капитальные вложения в ГРП можно определить по формуле
(6.20)
или с учетом (6.19)
(6.21)
где К’грп – удельные капитальные вложения в один ГРП, руб. Принимаются по сметным нормативам в зависимости от конструктивного решения регуляторного пункта (ГРП, ШРП и т. п.) и его пропускной способности.
Затраты по эксплуатации ГРП могут быть выражены в виде годовых отчислений от капитальных вложений по формуле:
(6.22)
Приведенные затраты на ГРП с учетом (6.21) и (6.22) определяется функцией:
(6.23)
Выявим расчетные затраты в сети низкого давления. Для газопроводов, работающих в режиме “гладких” труб:
(6.24)
где d – диаметр газопровода, см;
a – коэффициент пропорциональности, зависящий от состава газа;
Q – расход газа по трубопроводу, м3 /ч;
l – длина газопровода, м;
ΔP – потеря давления в газопроводе, Па.
Положив в уравнение (6.24)
(6.25)
получим для среднего диаметра распределительных газопроводов низкого давления
(6.25)
где ΔPн – нормативный перепад давлений в уличных распределительных сетях, Па.
Считая, что газопроводы несут только путевую нагрузку, можно записать для среднего расхода газа:
(6.26)
где q – удельный путевой расход газа, м3 /ч·м.
Численные значения указанного параметра определяются по формуле
(6.27)
где ∑Q – максимальный часовой расход газа населенным пунктом, м3 /ч;
∑lн.д. – общая протяженность уличных газопроводов низкого давления, м.
Подставив (6.26) в (6.25) и преобразуя полученное выражение, имеем
(6.28)
Удельные капитальные вложения в 1 м газопровода определяется по формуле
(6.29)
где а , в – стоимостные параметры 1 м газопровода, имеющие размерность руб/м и руб/м·см соответственно;
d – диаметр газопровода, см.
Численные значения параметров a и в зависят от способа прокладки газопровода (надземная или подземная), характера грунта, типа дорожных покрытий и других условий. Для подземных газопроводов низкого давления допускается применение упрощенной зависимости:
(6.30)
Общие капитальные вложения в сети низкого давления
(6.31)
или с учетом (6.28)
(6.32)
Расходы по эксплуатации одного метра газопровода низкого давления определяется по формуле:
(6.33)
Общие расходы по эксплуатации сетей низкого давления
(6.34)
или с учетом (6.28) и (6.30)
(6.35)
Приведенные затраты в сети низкого давления
(6.36)
Подставляя (6.32) и (6.35) в (6.36), нетрудно убедиться, что затраты в сети низкого давления представляют собой функцию радиуса действия ГРП
(6.37)
Выявим расчетные затраты в сети высокого (среднего) давления.
Изменение радиуса действия ГРП (количества ГРП) мало сказывается на общей конфигурации сети высокого (среднего) давления. Изменяются, в основном, количество и протяженность ответвлений к газорегуляторным пунктам.
Суммарная протяженность ответвлений определяется количеством ГРП и их радиусом по формуле:
(6.38)
Численные значения коэффициента пропорциональности β зависят от схемы размещения ГРП на территории населенного пункта и варьируется в условиях реального проектирования от нуля до двух. На стадии предпроектных проработок допустимо принимать β=1 .
Переменная часть капитальных вложений в сети высокого (среднего) давления
(6.39)
или с учетом (6.30)
(6.40)
где dср – средний диаметр ответвлений, см.
В условиях реального проектирования диаметр ответвлений к ГРП составляет dу = 50-100 мм. На стадии предпроектных проработок допустимо принимать dср = 7,5 см.
Подставив в уравнение (6.40) уравнения (6.38), получим
(6.41)
Расходы по эксплуатации одного метра газопровода высокого (среднего) давления определяется по формуле:
(6.42)
Переменная часть эксплуатационных расходов по сетям высокого (среднего) давления
(6.43)
или с учетом (6.30), (6.38)
(6.44)
Переменная часть приведенных затрат по сетям высокого (среднего) давления
(6.45)
Подставляя (6.41) и (6.44) в (6.45), нетрудно убедиться, что затраты в сети высокого (среднего) давления представляют собой функцию от радиуса действия ГРП:
(6.46)
Таким образом, общие затраты в систему газоснабжения будут
(6.47)
Для нахождения оптимального радиуса действия ГРП необходимо взять первую производную от затрат и приравнять ее к нулю.
В результате детальной проработки приведенных уравнений получено следующее выражение для оптимального радиуса действия ГРП:
(6.48)
где Ropt – оптимальный радиус действия ГРП, м;
µ - коэффициент плотности сети низкого давления, 1/м;
q – удельная нагрузка сети низкого давления, м3 /(ч·м).
На основании статистического анализа технико-экономических показателей реальных проектов газоснабжения предложены следующие расчетные уравнения:
(6.49)
(6.50)
где m – плотность населения газоснабжаемой территории, чел/Га;
l – удельный часовой расход газа на одного человека, м3 /(ч·чел);
∑Q – максимальный часовой расход газа населенным пунктом, м3 /ч;
∑lн.д – общая протяженность уличных газопроводов низкого давления, м;
F – площадь газоснабжаемой территории, Га.
Положив в уравнение (6.48) в =0,55 руб/(м·см), получим с учетом (6.49) и (6.50):
(6.51)
При известном значении радиуса Ropt оптимальную нагрузку ГРП находим по формуле
(6.52)
где 2R2 – площадь территории, снабжаемой газом от одного ГРП.
Оптимальное количество ГРП в населенном пункте
(6.53)
Если в проекте не удается выдержать оптимальное количество ГРП (исходя из целочисленности или технических ограничений), то лучше запроектировать меньшее количество пунктов, так как целевая функция в направлении R>Ropt изменяется более полого, чем в направлении R<Ropt .
В реальном проектировании результаты расчетов по уравнениям (6.48) - (6.53) необходимо уточнить путем дополнительных вариантных сравнений.
Пример. Определить оптимальный радиус действия, количество и оптимальную пропускную способность ГРП для системы газоснабжения со следующими исходными данными:
1. Стоимость одного ГРП К’грп =75000 руб;
2. Нормируемый перепад давлений в уличных газопроводах низкого давления ΔPн = 1200 Па;
3. Плотность населения m = 360 чел/Га;
4. Удельный часовой расход газа на одного человека l = 0,08 м3 /(ч·чел);
5. Площадь газоснабжаемой территории F = 8400 Га.
По уравнению (6.50) коэффициент плотности сети низкого давления
![]()
Оптимальный радиус действия ГРП по формуле (6.51)
![]()
Оптимальная пропускная способность одного ГРП по формуле (6.52)
![]()
Оптимальное количество ГРП по формуле (6.53)
штук.
Раздел 7. Газооборудование отделения сушки кирпича
7.1 Внутреннее газооборудование сушильного отделения
В сушильном отделении переводу с мазута на газообразное топливо предусматривается три барабанных сушила.
Подачу газа в помещение сушильного отделения предусматривается от газопровода среднего давления.
Давление газа на вводе в сушильное отделение
.
Расход газа на одну печь составляет ![]()
Общий расход на сушильное отделение ![]()
На вводе газопровода в помещении сушильного отделения устанавливаются: термозапорный клапан, перекрывающий подачу газа к горелкам в случае повышения температуры в помещении выше допустимой, быстродействующий электромагнитный запорный клапан, который работает в системе автоматического контроля загазованности и, который закрывается при срабатывании от датчиков оксида углерода и загазованности по метану.
Учет расхода газа осуществляется счетчиком.
Очистка газа от механических примесей осуществляется фильтром типа ФГ – 100 – 12.
Для сжигания газа в сушилках проектом предусматривает в топках установка по одной горелке типа ГГВ – МГП – 500, расход газа на горелку ![]()
На каждую горелку по ходу газа от коллектора отделения сушки устанавливается: задвижка для отключения газа, по два клапана с электромагнитным приводом с клапаном утечки между ними и заслонка, которые работают в системе автоматики сушила.
Давление газа у горелок
.
Для дутья воздуха в горелки проектом предусматривается установка вентиляторов типа ВР – 100 – 42 – 8.01
;
с электродвигателем типа АИР 132М4
,
по одному вентилятору на одну горелку. Давление воздуха у горелок
.
Существующие дымососы 5М 900 производительностью
и
;
(по одному на каждое сушило) удовлетворяют требованиям при работе на газовом топливе и остается без изменений.
На топках сушил, на скрубберах и на газоходах от скрубберов до дымососов предусматривается установка взрывных клапанов из расчета 0,05
на 1
объема.
7.2 Гидравлический расчет газопровода отделения сушки кирпича
Схема газопровода отделения сушки кирпича приведена на рисунке 6.1 смотри лист 8.
Таблица гидравлического расчета газопровода отделения сушки кирпича приведена в таблице 6.1
Раздел 8. Автоматика регулирования и безопасности газовых агрегатов
8.1 Общие положения
Автоматика регулирования и безопасности (АРБ) участка подсистемы газоснабжения от шкафного газорегуляторного пункта ШРП до ОАО «Стройматериалы (сушильное отделение)» включает в себя АРБ газоснабжения на базе комплекта автоматики типа КАМК.
8.2 Автоматика и КИП сушильного отделения
Данный раздел проекта предусматривает автоматическое регулирование температуры в топке барабана №1 (№2, №3) с применением регулирующих приборов типа РС 29.0.42М. по этой схеме в зависимости от изменения температуры изменяется подача газа к агрегату, что позволяет поддержать заданную температуру. Регулирование подачи воздуха так же осуществляется по изменению температуры в топке барабана. В качестве датчика температуры выбран прибор МЕТРАН – 900Т с унифицированным выходным сигналом.
При работе печей на газовом топливе для обеспечения соблюдения «правил безопасности систем газораспределения и газопотребления» ПБ 12 – 529 – 03 проектом предусмотрена установка комплекта автоматики типа КАМК.
Комплект обеспечивает:
- осуществление заданной последовательности операций при пуске и остановке барабана;
- автоматическую защиту сушил в аварийной ситуации;
- рабочую и аварийную сигнализацию.
Комплект обеспечивает установку барабана с одновременным включением световой и звуковой сигнализации в следующих случаях:
- повышение давления газа до 5000
;
- понижение давления газа до 3000
;
- понижение разрежения в топке до 1
;
- понижение давления воздуха до 180
;
- погасание факела в топке сушила;
- неудавшийся розжиг;
- повышение температуры в топке выше 950
;
- ручной останов сушила.
Питание комплекта осуществляется от существующей сети переменного тока напряжением 220
, мощностью не более 100
.
Проектом предусмотрены:
- показывающий самопишущий прибор контроля температуры в топке барабана ДИСК – 250, выходной сигнал с которого использован в схеме безопасности;
- приборы контроля давления газа, перед барабаном, газа и воздуха перед горелками, разрежение в топке, разрежение дымовых газов;
- состав дымовых газов.
Для размещения приборов регулирования, управления, регистрирующих приборов проектом предусмотрены щиты автоматики – один на каждое сушило – барабан.
Щиты автоматики и блоки управления комплекта КАМК устанавливаются в помещении операторской.
Питание электроэнергией щитов автоматизации выполняется от ближайшего распределительного щита напряжением 220
, 50
.
Процесс сушки является одним из самых ответственных этапов при производстве керамического кирпича. На этой стадии требуется достаточно высокая точность поддержания термо-влажностного режима сушки в сушильной камере. В подавляющем большинстве кирпичных заводов по производству керамического кирпича этот процесс управляется непосредственно оператором. Но опыт показывает, что человеческий фактор, вкупе со многими другими, делает такое управление малоэффективным, а порой и неэффективным. Так же рынок требует сведение к минимуму затрат тепло- и электроэнергии. Эти проблемы достаточно полно и эффективно решаются с помощью современных средств автоматизации производства.
Разработана и внедрена в производство система автоматического управления (далее САУ) режимом сушки в камерных сушилах.
САУ управляет технологическим процессом в трёх камерных сушилах.
Структура САУ представлена на рис.
Она включает в себя следующие уровни:
- уровень датчиков и исполнительных механизмов;
- уровень устройства ввода-вывода;
- уровень взаимодействия САУ с оператором (интерфейсный уровень).

Рис. Структура САУ режимом сушки в камерных сушилах
Уровень датчиков и исполнительных механизмов реализован на отечественных изделиях, что существенно снижает стоимость системы. Состоит из исполнительных механизмов типа МЭО, термометров сопротивления ТСМ.
Уровень устройства ввода-вывода построен на отечественном контроллере КПС 19-06. На этом уровне происходит опрос датчиков, обмен технологической информацией с интерфейсным уровнем. Тут же реализована логика управления рециркуляционными вентиляторами, ПИД-закон управления заслонками подачи и отбора теплоносителя в сушильных камерах и поддержания давления в центральном подающем канале (ЦПК).
Интерфейсный уровень состоит из IBM PC совместимого персонального компьютера (ПК) и программы управления технологическим процессом. Программа управления интерфейсного уровня реализована в среде программирования Borland Delphi и функционирует под управлением операционной системы Microsoft Windows 98 и выше. Обеспечивает взаимодействие оператора с САУ.
На этом уровне происходит прием от оператора управляющих команд и их передача на устройства управления, отображение на мнемосхеме на экране монитора ПК необходимой технологической информации, отображение технологического процесса в реальном времени в виде графиков соответствия фактических параметров заданным, архивация (сохранение в памяти ПК и распечатка на бумажный носитель) полученных отчетных данных, сигнализация оператору об аварийных состояниях системы. Тут же реализована возможность настройки и калибровки частей САУ, а также инструмент для формирования типовых графиков задания режимов сушки, их применение для конкретной камеры, времени года и других параметров.
При разработке программы управления интерфейсного уровня особое внимание уделялось созданию интерфейса, интуитивно понятного, простого в использовании и насколько это возможно, наглядно отображающего ход технологического процесса сушки в камерах. Оператору для контроля и управления сушильными камерами предоставляются окна с элементами анимации: с общей мнемосхемой, девять - с мнемосхемами отдельно для каждой камеры.
Раздел 9. Организация строительства
9.1 Выбор методов производства работ
На выбор способов производства работ влияет объем работ и условия, в которых осуществляются эти работы. Наиболее рациональным методом организации монтажа санитарно-технических систем является поточный метод, при котором работы осуществляются специализированными звеньями, переходящими с одной захватки на другую и выполняющими свой комплекс работ. Монтаж производится из узлов и деталей, изготовленных на заводах или мастерских. При организации работ по монтажу санитарно-технических систем необходимо стремиться к использованию средств механизации, которые облегчат производство работ и повышают производительность труда. При выборе типа механизмов следует подбирать наиболее эффективные, которые обладают необходимыми техническими характеристиками и которые можно использовать в данных конкретных условиях монтажа санитарно-технических систем.
При организации строительства наружных инженерных сетей приходится выполнять целый комплекс трудоемких работ: разработка грунта для прокладки трубопроводов, монтаж сборных железобетонных конструкций, прокладка трубопроводов и т.д. Для выполнения указанных работ используются различные строительные машины и механизмы, и очень важно правильно подобрать наиболее экономичный комплект машин, обладающий необходимыми техническими характеристиками.
Срезка растительного слоя и предварительное планирование площадей ведется бульдозером ДЗ-28 на базе трактора Т-100.Технические характеристики: длина отвала-3,03м, высота отвала- 1,1м, управление – канатное, мощность-79кВт. Разработка навымет ведется экскаватором ЭО-3322В, оборудованным обратной лопатой с гидравлическим приводом. Технические характеристики: вместимость ковша- 0,65м3 , наибольшая глубина копания- 7,1м, наибольшая высота выгрузки- 4,5м, максимальный радиус копания- 7,1м, мощность двигателя-59кВт. Ограждения траншей и котлованов выполняют из инвентарных щитов высотой до 1,2м. Временные металлические пешеходные мосты из готовых деталей. Выгрузка материалов выполняется стреловидными самоходными кранами грузоподъемностью до 25т, при общей массе поднимаемого груза до 0,5т. Доработка грунта выполняется экскаватором Э 4010, оборудованным планировочным ковшом вместимостью до 0,4м3 , на базе КрАЗ -221. Технические характеристики: скребок длиной- 2,5м, высотой-0,4-0,45м, наибольший вылет стрелы в горизонтальной плоскости- 7,38м, наибольшая глубина копания с удлинением -4,05м, наибольший радиус копания с удлинением- 11м. Уплотнение грунта выполняют грунтоуплотняющей машиной ДУ-12Б на базе Т-100. Технические характеристики: ширина полосы уплотнения-2,5м, глубина уплотняемого слоя- 1,2м, скорость перемещения 150м/ч.
Земляные работы. Общие положения. При строительстве линейно-протяженных сооружений и устройстве газовых сетей ведут планировку, разработку, перемещение, укладку и уплотнение грунта. Непосредственному выполнению данных процессов предшествуют или сопутствуют подготовительные процессы. Все земляные сооружения создают путем образования выемок в грунте или насыпей, которые могут быть временными или постоянными. Отдельные выемки называют котлованами, если соотношение их длины к ширине не более 10:1, и траншеями, если оно более этой величины. Наклонные боковые поверхности выемок называют откосами.
Транспортно- заготовительные работы включают в себя доставку и выгрузку материалов со складов на места производства монтажных работ.
К общестроительным работам относятся: доработка грунта в траншеи экскаватором оборудованным планировочным ковшом, устройство песчаного основания слоем 200 мм вручную.
Монтажные работы по прокладке наружных газовых сетей должны вестись согласно проекту производства работ и [2].Современные сети газоснабжения характеризуются сборностью деталей, узлов и фасонных частей заводского изготовления: секций труб, заглушек, отводов, полу отводов, переходов, узлов для колодцев и т.п. К монтажно-сборочным работам на площадке относят следующие технологические операции: подготовка концов труб, их стыковка, подготовка концов звеньев труб, их стыковка, установка тройников, отводов, установка задвижек, монтаж присоединений для продувки, установка контрольно- измерительной аппаратуры.
Испытание газопроводов. Перед испытанием смонтированных газопроводов на прочность и герметичность должна производиться их продувка с целью очистки внутренней полости от влаги и засорений. Испытание газопроводов манометрическим методом производится строительно-монтажной организацией в присутствии технологического надзора заказчика и представителя газового хозяйства в две стадии: на прочность и герметичность. Испытание газопроводов производится с установленной арматурой и оборудованием но если они не рассчитаны на испытательное давление, то вместо них на период испытания устанавливают катушки, заглушки или пробки. Окончательное испытание газопроводов производят при их полной засыпки до проектной отметки. Сначала газопровод наполняют воздухом, а затем его выдерживают на время, необходимое для уравновешивания температуры воздуха в трубопроводе с температурой грунта.
После произведения испытательных работ производится сдача объекта в эксплуатацию.
9.2 Расчет потребности в основных строительных материалах, деталях и оборудовании
Потребность в основных строительных материалах, деталях и оборудовании, оказывающем влияние на организацию складского хозяйства, определяем на основе результатов расчета объемов работ и норм расхода на единицу измерения по производственным нормам расхода, номенклатуре типовых индустриальных изделий. Полученные результаты заносим в таблицы.
Ведомость потребности в основных строительных материалах.
Таблица 9.1
| № пп |
Наименование работ |
Ед. изм. |
Кол-во работ |
Наименование материалов |
Ед. изм. |
Расход материалов |
|
| На еди- ницу. |
На весь объем |
||||||
| 1 |
2 |
3 |
4 |
5 |
6 |
7 |
8 |
| 1. 2. |
Антикоррозийная изоляция стыков
Сварка поворотных и не поворотных стыков.
|
1стык 1стык 1стык 1стык 1стык 1стык на 10 стыков. |
206 49 14 206 49 14 20,6 4,9 1,4 |
Битум для изоляционных слоев. Крафт – бумага. Расход электродов. |
кг кг кг м2 м2 м2 кг кг кг |
6,7 3,93 3,28 1,79 1,04 0,87 9,3 4,6 2,7 |
1380,2 192,57 45,92 368,74 51 12,2 191,58 22,54 3,78 |
Таблица 9.2 Ведомость потребности в изделиях, деталях и оборудовании.
| № пп |
Наименование работ |
Ед. изм. |
Кол-во работ |
Наименование изделий, деталей и оборудования. |
Ед. изм. |
Расход изделий, деталей и оборудования |
|
| На еди- ницу. |
На весь объем |
||||||
| 1 |
2 |
3 |
4 |
5 |
6 |
7 |
8 |
| 2. |
Установка задвижек.
|
шт. |
6 1 1 |
Фланцевая задвижка для топливного газа. М30Ч7БК Серый чугун. |
кг |
167 167 167 |
1002 116 167 |
9.3 Расчет сетевого графика
По циклограмме потока строится сетевой график. График строится с учетом следующих принципов:
1 Каждая работа на захватке является самостоятельной и имеет свой шифр, а также свои предшествующие и последующие события и работы;
2 При построении топологии сети надо следить за тем, чтобы в ней были правильно отражены технологические и организационные взаимосвязи между работами и комплексами.
3 При нумерации событий необходимо, чтобы номер предшествующего (начального) события был меньше последующего (конечного).
После проверки правильности взаимосвязей между работами приступают к расчету параметров сетевого графика. Сетевой график представлен в графической части курсового проекта. В таблице 3 представлены результаты расчета.
Таблица 9.3
ОПРЕДЕЛЕНИЕ ПАРАМЕТРОВ СЕТЕВОГО ГРАФИКА
| код работ |
продолжительность работ |
сроки работ |
резервы времени |
||||
| раннее |
позднее |
частные |
общие |
||||
| tн р |
tо р |
tн п |
tо п |
ri-j |
Ri-j |
||
| 1-2 |
3 |
0 |
3 |
0 |
3 |
0 |
3 |
| 2-3 |
3 |
3 |
6 |
6 |
9 |
0 |
79 |
| 2-5 |
0 |
3 |
3 |
3 |
3 |
0 |
0 |
| 3-4 |
3 |
6 |
9 |
85 |
88 |
0 |
79 |
| 3-7 |
0 |
6 |
6 |
9 |
9 |
3 |
3 |
| 4-9 |
0 |
9 |
9 |
88 |
88 |
7 |
79 |
| 5-6 |
6 |
3 |
9 |
3 |
9 |
0 |
0 |
| 6-7 |
0 |
9 |
9 |
9 |
9 |
0 |
0 |
| 6-11 |
0 |
9 |
12 |
9 |
12 |
0 |
0 |
| 7-8 |
7 |
9 |
16 |
9 |
16 |
0 |
72 |
| 8-9 |
0 |
16 |
16 |
88 |
88 |
0 |
72 |
| 8-13 |
0 |
16 |
16 |
35 |
35 |
0 |
28 |
| 8-17 |
0 |
16 |
16 |
16 |
16 |
0 |
0 |
| 9-10 |
2 |
16 |
18 |
88 |
90 |
0 |
72 |
| 10-15 |
0 |
18 |
18 |
90 |
90 |
1 |
72 |
| 11-12 |
4 |
12 |
16 |
12 |
16 |
0 |
28 |
| 12-13 |
0 |
16 |
16 |
35 |
35 |
0 |
28 |
| 12-17 |
0 |
16 |
16 |
16 |
16 |
0 |
0 |
| 13-14 |
3 |
16 |
19 |
35 |
38 |
0 |
71 |
| 14-15 |
0 |
19 |
19 |
90 |
90 |
0 |
71 |
| 14-19 |
0 |
19 |
19 |
38 |
38 |
19 |
19 |
| 15-16 |
1 |
19 |
20 |
90 |
91 |
0 |
71 |
| 16-21 |
0 |
20 |
20 |
91 |
91 |
40 |
71 |
| 17-18 |
22 |
16 |
38 |
16 |
38 |
0 |
9 |
| 18-19 |
0 |
38 |
38 |
47 |
47 |
0 |
0 |
| 18-23 |
9 |
38 |
47 |
38 |
47 |
0 |
0 |
| 19-20 |
22 |
38 |
60 |
38 |
60 |
0 |
31 |
| 20-21 |
0 |
60 |
60 |
91 |
91 |
0 |
31 |
| 20-25 |
0 |
60 |
60 |
69 |
69 |
0 |
9 |
| 20-29 |
0 |
60 |
60 |
60 |
60 |
0 |
0 |
| 21-22 |
8 |
60 |
68 |
91 |
97 |
0 |
29 |
| 22-27 |
0 |
68 |
68 |
97 |
97 |
3 |
29 |
| 23-24 |
13 |
47 |
60 |
47 |
60 |
0 |
0 |
| 24-29 |
0 |
60 |
60 |
60 |
60 |
0 |
0 |
| 25-26 |
11 |
60 |
71 |
69 |
80 |
0 |
26 |
| 26-27 |
0 |
71 |
71 |
97 |
97 |
0 |
26 |
| 26-31 |
0 |
71 |
71 |
80 |
80 |
9 |
9 |
| 27-28 |
3 |
71 |
74 |
97 |
100 |
0 |
26 |
| 28-33 |
0 |
74 |
74 |
100 |
100 |
26 |
26 |
| 29-30 |
20 |
60 |
80 |
60 |
80 |
0 |
0 |
| 30-31 |
0 |
80 |
80 |
80 |
80 |
0 |
0 |
| 30-35 |
21 |
80 |
101 |
80 |
101 |
0 |
0 |
| 31-32 |
20 |
80 |
100 |
80 |
100 |
0 |
4 |
| 32-33 |
0 |
100 |
100 |
100 |
100 |
0 |
0 |
| 32-36 |
0 |
100 |
100 |
104 |
104 |
4 |
4 |
| 33-34 |
7 |
100 |
107 |
100 |
107 |
0 |
0 |
| 34-37 |
0 |
107 |
107 |
107 |
107 |
0 |
0 |
| 35-36 |
3 |
101 |
104 |
101 |
104 |
0 |
0 |
| 36-37 |
3 |
104 |
107 |
104 |
107 |
0 |
0 |
| 37-38 |
3 |
107 |
110 |
107 |
110 |
0 |
0 |
9.4 Расчет стройгенплана
Стройгенплан (СГП) является частью комплексной документации на строительство и его решения должны быть увязаны с остальными разделами проекта, в том числе с принятой технологией и сроками строительства, установленными графиками. СГП должен обеспечивать наиболее полное удовлетворение бытовых нужд работающих в строительстве Решения СГП должны обеспечивать рациональное прохождение грузопотоков на площадке путем сокращения числа перегрузок и уменьшения расстояния перевозок.
Общая площадь складов для хранения материалов определяется по формуле
(9.1)
где:
запас материалов для хранения
количество материалов, укладываемых на
площади склада.
коэффициент использования склада, принимаемый для закрытых складов 0,5-0,7; навесов 0,5-0,6; открытых складов 0,6-0,8.![]()
Таблица 9.4 Определение площадей складов.
| Наименование материала, узлов |
Единица измерения |
Суточный расход |
Запас материалов |
Норма складирования на 1м2 |
|
Способ хранения |
Размер тип склада |
|
| На сколько дней |
Кол-во |
|||||||
| Песок |
м3 |
28,5 |
3 |
85,5 |
1,5 |
0,6-0,8 |
Открытый |
6*3=18 |
| Трубы стальные |
т |
0,33 |
3 |
0,99 |
1,5-1,7 |
0,5-0,7 |
Закрытый |
6*3=18 |
Определим площади временных сооружений, исходя из того, что общее количество рабочих равно 22 человека, а максимально задействованное число равно 18. Ориентировочные нормы взяты из таблицы17 [8].
9.5 Расчет потребности во временных сооружениях
Расчет площадей временных зданий и сооружений произведен на максимальное количество работающих в смену, определяемое по графику движения рабочих с учетом рабочих, занятых на неосновном производстве (24%), неучтенных работ (10%) и ИТР (1ИТР на 20 рабочих).
Таблица 9.5 Расчет временных зданий.
| Наименование помещений |
Наименование показателей |
Единица измерения |
норма |
Кол-во чел. |
Требу-емая пло-щадь |
Размеры здания |
| Контора прораба |
Площадь на 1 чел ИТР |
м2 |
3-3,25 |
1 |
3 |
6×3=18 |
| Умывальные и гардероб |
Площадь на 1 рабочего |
м2 |
0,4-0,5 |
9 |
4,5 |
6×2,7=14,4 |
| Душевые |
Число человек на 1 душ |
чел |
10-20 |
9 |
27 |
|
| Площадь на 1 душ |
м2 |
3 |
||||
| Помещение для сушки одежды |
Площадь на 1 рабочего |
м2 |
0,2 |
9 |
1,8 |
6,5×2,6=16,9 |
| Помещение для обогрева рабочих |
Площадь на 1 рабочего |
м2 |
0,1 |
9 |
0,9 |
|
| Помещение для приема пищи |
Площадь на 1 рабочего |
м2 |
1 |
9 |
9 |
|
| Уборные |
Число рабочих на 1 унитаз |
чел |
15-20 |
9 |
23,4 |
7,3×3,1=22,63 |
| Площадь на 1 унитаз |
м2 |
2,6 |
9.6 Определение потребности строительства в воде, электроэнергии, сжатом воздухе
Расчет временного водопровода произведен по максимальному суточному расходу воды на производственные и бытовые нужды.
Максимальный секундный расход на производственные нужды, л/сек определяется по формуле
(9.2)
где:
коэффициент неравномерности потребления воды в смену; ![]()
суммарный максимальный суточный расход воды на производственные нужды, взятый согласно нормам расхода техникой и установками (бульдозером ДЗ-28 50 л/сут., экскаватором ЭО-3322В 50 л/сут.)
![]()
Расход воды на хозяйственно-бытовые нужды согласно нормам расхода на одного рабочего составит:
(9.3)
nр - наибольшее количество рабочих в смену;
n1 - норма потребления на 1 человека в смену- 15л;
n2 - норма на прием одного душа- 30л;
к2 - коэффициент неравномерности потребления воды 2,7;
к3 - коэффициент использования душа 0,3.
Хоз.- питьевой расход при отсутствии канализации 15 л/смену; душевые установки 30 л/смену. 15 рабочих:
![]()
Расчетный расход воды составит:
(9.4)
![]()
расход воды пожарным гидрантом,
;
По полученному расходу определим диаметр труб временного трубопровода, мм.
(9.5)
![]()
Принят минимальный диаметр 125 мм
Потребность в электроэнергии определяется на основании данных о потребности в электроэнергии машинами и механизмами.
(9.6)
где:
- мощность силовая, кВт;
- мощность устройств освещения, кВт;
к1 и к2 - коэффициенты одновременности потребления (к1 =0,75, к2 =1,0);
- принимается равным 0,75.
В данном случае электроэнергия расходуется на дежурное освещение в ночное время, на освещение административных и бытовых помещений, проездов и переходов:
- охранное освещение 2 кВт на 1 км;
- освещение административных и бытовых помещений 15 Вт на 1м2 ;
- монтаж стальных и железобетонных конструкций, сварка труб 2,4 Вт на 1 м2 ;
- внутреннее освещение закрытых складов 3 Вт на м2 .
Так как суммарный расход электроэнергии менее 20 кВт, питание осуществляем от местных электрических сетей.
9.7 Расчет потребности сжатого воздуха для продувки и опрессовки трубопроводов
(9.7)
где:
наибольший внутренний диаметр испытываемых труб, м;
испытательное давление, МПа;
средняя длина трубопроводов испытываемых в смену, м.
![]()
![]()
9.8 Решения по технике безопасности
При работе в темное время суток рабочие места должны быть освещены, а механизмы - иметь индивидуальное освещение. Спускаться в траншею и подниматься из нее следует по специальным лестницам.
В зонах работы строительных машин не должны находиться посторонние лица. Не разрешается переносить грузы над людьми, поднимать краном примерзшие материалы и конструкции, работать с оттяжкой крюка. В нерабочее время машины должны находиться в положении, исключающем возможность доступа к ним посторонних лиц.
На весь период испытания трубопроводов устанавливается охранная зона, вход в которую при повышении давления в трубах и выдерживания их под давлением запрещается. Ширина этой зоны от 7 до 25 м (в обе стороны) в зависимости от вида испытания, материала и диаметра труб.
К работам по монтажу конструкций (колодцев) и трубопроводов допускаются рабочие после проверки знаний по производству монтажных работ и получения соответствующего удостоверения. Монтажные работы должны осуществляться под руководством специально назначенного инженерно-технического работника.
Не допускается производить монтажные работы при скорости ветра более 15 м/сек, а также при гололедице, грозе или тумане, исключающем видимость в пределах фронта работ. Во время испытания трубопроводов устанавливается охранная зона, вход в которую при повышении давления и его выдерживании запрещается. Ширина этой зоны принимается не менее 7 м.
9.9 Технико-экономические показатели
1. Продолжительность строительно-монтажных работ по проекту - 14 дней.
2. Коэффициент неравномерности движения рабочих во времени:
; (9.8)
Туст - период установившегося движения рабочих.
![]()
3. Коэффициент неравномерности движения рабочих по количеству:
; (9.9)
Rmax - максимальное количество рабочих, чел.
Среднее количество рабочих, чел.:
(9.10)
- общее количество затрат труда, чел. дн.;
Тобщ - общий срок строительства.
![]()
4. Коэффициент совмещения строительных процессов во времени вычисляется по формуле:
(9.11)
Тпос - суммарная продолжительность выполнения всех строительных процессов при последовательном их выполнении, дн.;
Тпр - продолжительность выполнения всех строительных процессов по проекту, дн.
![]()
5. Трудоемкость 0,09 чел.дн. на 1 пог.м.
6. Уровень комплексной механизации
, (9.12)
где: Ткм - затраты труда на комплексно-механизированный объем работ, маш. дн.;
То - затраты труда на выполнение всех строительных процессов, чел.дн.
![]()
7. Энерговооруженность одного рабочего:
(9.13)
Мм - суммарная мощность используемых машин, механизмов, кВт.
![]()
Раздел 10. Эргономические основы безопасной эксплуатации системы газоснабжения станции
10.1 Анализ возможных опасных и вредных факторов при эксплуатации системы газоснабжения
В ходе эксплуатации и строительства данного объекта на человека воздействуют множество отрицательных факторов. Эти факторы рассматриваются с точки зрения физиологии человека. С точки зрения эргономики и производственной санитарии при проектировании рабочего места (рабочей зоны) человека необходимо учитывать размеры тела человека, теплообмен человека с окружающей средой; особенность зрения, обоняния, дыхания, нервной системы.
Вредные факторы производственного процесса и выполняемых работ на данном объекте – солнечное излучение, низкие и высокие температуры, повышенная или пониженная влажность, сильный ветер до 8 м/с, повышенный уровень шума на рабочем месте, производственная пыль со стройплощадки – запыленность рабочей зоны, недостаточное освещение, вибрации. В процессе труда на человека кратковременно или длительно воздействуют производственные вредности или факторы, неблагоприятно влияющие на организм человека, можно разбить на три основных вида: физические (неприемлемая температура, шум, вибрация и т.д.), приводящие к виброболезни, глухоте, обморожениям, солнечным ударам, расширению вен и т. д.; химические (пыль, газы, ядовитые вещества, и пр.), приводящие к заболеванию силикозом и к другим острым хроническим заболеваниям, биологические (инфекционные заболевания). Для устранения подобных факторов разрабатываются научно – организационные, санитарно – гигиенические (применение вентиляционных установок, пылеуловителей, водяных и воздушных завес, виброизолирующих устройств) и лечебно – профилактические мероприятия, направленные на оздоровление условий труда и повышение его производительности на всех стадиях технологического процесса.
Человек чувствует себя хорошо и работоспособен, если температура окружающего воздуха составляет 12-22°С, относительная влажность составляет 40-60 %, а движение воздуха 0,1-0,2 м/с и на организм действует нормальное атмосферное давление. Особенно вредна работа при высоких температурах в сочетании с высокой влажностью – свыше 80 – 90%, т.к. может происходить перегревание тела человека (тепловой удар). Нормами установлено, что в кабинах автомашин, бульдозеров и т.д. температура воздуха не должна быть ниже 13-17°С в холодное и переходное время года и не более 28°С в тёплое время года при колебаниях влажности от40 до 80%, при этом допускается скорость движения воздуха зимой не более 0,5 м/с, летом- не более 0,7-1м/с.
Пыль – это мельчайшие частицы твёрдого или жидкого вещества, находящиеся в воздухе во взвешенном состоянии. На рассматриваемом объекте источником пыли является специализированнная техника и ветер, приносящий эрозийным способом частицы с поверхности земли. На рабочих так же воздействует пыль, получающаяся при разгрузке песка, разработке почв. Это приводит к нарушению терморегуляции организма и воспалительным заболеваниям кожи — экземам, дерматитам и др. Попадая в уши пыль, раздражающе действует на ушную раковину, в результате чего у человека может произойти снижение слуха. Для глаз человека особую опасность представляют твердые пылинки с острыми краями. Их воздействие может привести к травме глаз. Запыление глаз приводит к развитию конъюнктивита, изменениям роговицы глаз и др.
Количество пыли измеряется её массой, выраженной в миллиграммах на
воздуха. Нередко свободная двуокись кремния поражает весь организм человека, приводя к функциональному нарушению сердечно-сосудистой деятельности и центральной нервной системы, в результате – профессиональное заболевание – силикоз (песчаная пыль) или силикатоз (силикатная пыль).Основным показателем, по которому оценивается вредность воздействия производственной пыли на организм человека, является ее концентрация (т. е. количество пыли в миллиграммах, содержащейся в 1 м3
воздуха). В Санитарных нормах проектирования промышленных предприятий и [7] приводятся предельно допустимые концентрации (ПДК) пыли, паров и других аэрозолей в воздухе рабочей зоны промышленных помещений. Шум (сочетание звуков различной интенсивности и частоты, оказывающих вредное воздействие не организм человека) и вибрация (колебания частей производственного оборудования), превышающие пределы громкости и частоты звуковых колебаний, представляют собой профессиональную вредность. По источникам происхождения шумы могут быть механическими, аэродинамическими и возникающими при работе электрических машин. Под влиянием шума у человека может изменяться кровяное давление, работа желудочно-кишечного тракта, а длительное его действие в ряде случаев приводит к частичной или полной потере слуха.
На рассматриваемом объекте присутствуют все виды шумов: низкочастотные (уровень громкости 90 – 100 дБ), среднечастотные (уровень громкости 85 – 90 дБ), высокочастотные (уровень громкости 75 – 85 дБ), стабильные, воющие, прерывистые. Во время строительных работ объясняется наличием специальной техники (экскаваторов, бульдозеров, скреперов, катков и т.д.).
Уровень звукового давления можно измерить шумометрами: ЛИОТ типа Ш – 3м (наиболее распространённый) и анализаторами частот типа АШ – 2м.
На рассматриваемом строительном объекте присутствуют общие вибрации (конструкции, агрегата, на котором находится человек), источниками вибрации является специальная строительная техника.
Предельно допустимые величины общей вибрации устанавливаются для скорости, как в абсолютных, так и в относительных величинах по спектру частот от 11 до 335 Гц, включающему 5 октавных частотных полос со среднегеометрическими значениями частот 16, 32, 63, 120, 250 Гц. Предельно допустимые величины местных вибраций при частоте вращения 1200-6000 об/мин 20-100 Гц, а предельно допустимая амплитуда колебаний 1,5-0,005 мм. При частоте колебаний более 25 Гц вибрация оказывает неблагоприятное воздействие на нервную систему, что может привести к развитию тяжёлого нервного заболевания – вибрационной болезни.
10.2 Разработка организационных и технических мероприятий по обеспечению безопасной эксплуатации системы газоснабжения
С целью улучшения условий труда выполняются следующие мероприятия:
- спроектированы рабочие места – проходы на рабочих местах отвечают следующим требованиям:
- ширина одиночных проходов на рабочих местах
, а высота прохода
;
- предусмотрено освещение стройплощадки светильниками общего освещения напряжением
, установлены на высоте
от уровня земли;
- производственные территории и участки работ на объекте во избежании доступа посторонних лиц ограждаются. Высота ограждения производственной территории принята
, а участков работ -
согласно [7].
Для устранения вредного воздействия на работающих, повышенного уровня шума применяются:
- технические средства: уменьшения шума машин в источнике его образования – шумоглушители;
- применение защитных экранов;
- применение технологических процессов, при которых уровень звукового давления на рабочее место не превышает допустимого;
- дистанционное управление шумными машинами;
- применение средств индивидуальной защиты.
- выбор рационального режима труда и отдыха: организация работ в однуу смену, обеденный перерыв, сокращение времени нахождения в условиях сверх нормативной шумовой нагрузки.
Для устранения вредного воздействия вибрации на работающих применены следующие мероприятия:
- Снижение вибрации в источнике и образования конструктивными и технологическими мерами;
- Уменьшение вибрации на пути её распространения средствами виброизоляции и вибропоглащения;
- Дистанционное управление, исключающее передачу вибрации на рабочие места;
- Средства индивидуальной защиты.
10.3 Техника безопасности
К опасным и вредным производственным факторам при проведении земляных работ согласно относятся:
- Обрушающиеся горные породы (грунты);
- Падающие предметы;
- Движущиеся машины и их рабочие органы, а так же передвигаемые ими предметы;
Организованы следующие мероприятия:
- Принята безопасная крутизна незакрепленного откоса котлована, траншеи с учетом нагрузки от машин и грунта
для глины II группы [7];
- Подобраны типы машин, принимаемых для разработки грунта и места их установки: бульдозер ДЗ – 8 на базе трактора Т –100 –1шт., экскаватор Э-504 с ёмкостью ковша
- 1 шт., стреловые самоходные краны грузоподъемностью до 25т – 3 шт. землеройные и транспортные машины располагаются на бровке выямки на расстоянии
в соответствии с [7];
- Определены места установки ограждения траншей, а так же лестниц для спуска в траншеи;
- На период проведения работ рабочие обеспечиваются спецодеждой для соответствующего вида работ;
- Предусматривается освещение рабочих мест и механизмов;
- Предусмотрено устройство пешеходных мостов в местах перехода через траншею шириной 1м, огражденные с обоих сторон перилами, в соответствии с [7];
- Колодцы закрываются крышками.
К основным опасным и вредным факторам при производстве монтажных работ согласно [7] относятся:
- Передвигающиеся конструкции, грузы;
- Обрушение незакрепленных элементов;
- Повышенная загазованность рабочей зоны;
- Падение вышерасположенных материалов, инструментов;
- Опрокидывание машин, падение их частей;
- Повышенное напряжение в электрической цепи, опасность замыкания;
Согласно [7] организованы следующие мероприятия:
- Определена марка крана КС – 3275 – 3 шт, место его установки. Это отражено в разделе «Организация строительства».
- Работники обеспечиваются согласно [7] спецодеждой, рукавицами, перчатками;
При продувке трубопроводов у концов труб устанавливаются щиты для защиты глаз от окалины;
Грузовые крюки грузозахватных средств (стропы, траверсы) снабжены предохранительными замыкающими устройствами согласно [7], предотвращающими произвольное выпадение груза.
Расстояние между автомобилем и штабелем груза принято
в соответствии с 8.16 [7].
К вредным факторам при проведении сварочных работ относятся, согласно [7]: недостаточное освещение, очень яркое освещение, стесненность работ, неудобство позы работающего, испаряющиеся вещества свариваемых материалов.
К опасным факторам при проведении сварочных работ относятся: ожоги, которые могут возникнуть при несоблюдении правил техники безопасности и отсутствии индивидуальных средств защиты.
Организованы следующие мероприятия:
- Корпус электросварочного агрегата заземляется и защищен от пыои и дождя;
- Электросварщик защищен щитком или шлемом для защиты лица и глаз от действия излучения и ожогов, очками с обыкновенными стеклами для защиты глаз от осколков и брызг, брезентовыми рукавицами, диэлектрической обовью и спецодеждой в соответствии с [7].
Опасные и вредные факторы при эксплуатации строительных машин и механизмов, согласно [7]:
- Неустойчивость грузоподъемных механизмов и строительных машин;
- Плохое закрепление монтажируемых элементов;
- Движущиеся машины, механизмы и их части;
- Электрическое напряжение;
Для устранения вышеперечисленных факторов организованны следующие мероприятия:
- Обеспечена устойчивость грузоподъемных механизмов и строительных машин определением минимально допустимых расстояний землеройных и транспортных машин от бровки траншеи -
[7];
- Организованна сменная проверка устойчивости откосов;
- Созданы безопасные условия работы при одновременной работе на объекте трех монтажных кранов;
- Определены границы опасных зон при эксплуатации строительных машин и механизмов в рабочей зоне;
- Обеспечена обзорность рабочей зоны, а так же рабочей зоны с рабочего места машиниста;
- Определено согласно [7] п. 7.2.4. табл.1 минимальное расстояние по горизонтали от основания откоса выямки до ближайших опор машины -
.
10.4 Пожарная безопасность
Опасные и вредные производственные факторы: высокие температуры, интенсивное солнечное излучение, различные тепловые нагрузки, задымленность рабочей зоны, токсичность, согласно [7].
Производственные территории оборудуются средствами пожаротушения ППБ-03. в соответствии с этим организованы следующие мероприятия:
- Подобраны первичные средства пожаротушения на объекте: огнетушитель, песок, лопата;
- Обеспечена пожарная безопасность при выполнении сварочных работ (перечисленные выше мероприятия).
Раздел 11. Экономика строительства
Локальные сметы являются первичными сметными документами. Они составляются для определения сметной стоимости отдельных видов работ и затрат в составе рабочего проекта или рабочей документации. При выполнении дипломного проектирования был применен базисно-индексный метод определения сметной стоимости, как наиболее простой и распространенный в настоящее время.
При базисно-индексном методе стоимость работ и затрат в базисном уровне цен умножается на соответствующие коэффициенты. Стоимость работ определяется на основе объемов работ и единичных расценок.
Сметная стоимость общестроительных работ включает в себя прямые затраты (ПЗ), накладные расходы (НР) и нормативную прибыль (НП).
Цена строительной продукции определяется по следующей формуле:
(11.1)
При этом прямые затраты определяются по формуле:
(11.2)
где
-стоимость материалов;
- затраты на эксплуатацию строительных машин;
- заработанная плата рабочих-строителей.
Заработанная плата рабочих-машинистов включается в затраты на эксплуатацию машин.
Объектные сметные расчеты составляются на объекты в целом путем суммирования данных локальных смет с группировкой работ и затрат по соответствующим графам формы. Они составляются в текущем уровне цен. Объектный сметный расчет определяется,как правило, сметный лимит по соответствующему объекту в составе проекта, объектная смета – стоимость объекта в составе рабочей документации.
С целью определения полной стоимости объекта в конце объектной сметы и стоимости строительно-монтажных работ, определенной в текущем уровне цен, дополнительно включаются следующие средства на покрытие лимитирующих затрат:
- на удорожание работ, выполняемых в зимнее время;
- стоимость временных зданий и сооружений и другие подобные затраты, включаемую в сметную стоимость СМР, в соответствующем % для каждого вида работ или затрат от итога СМР по всем локальным сметам;
- резерв средств на непредвиденные работы и затраты, предусмотренные в сводном сметном расчете, в частности, предназначенные для возмещения затрат подрядчика, размер которых определяется по согласию между заказчиком и подрядчиком. Резерв включается в том случае, когда расчеты осуществляются исходя из твердой договорной цены на строительную продукцию.
При расчете между заказчиком и подрядчиком за фактически выбранный объем работ эта часть резерва подрядчику не передается, а остается в распоряжении заказчика. В этом случае объем фактических работ фиксируется в обосновывающих расчетных документах, в том числе и тех работ, которые дополнительно могли возникнуть при изменении подрядчиков в ходе ранее принятых проектных решений. В договоре подряда должен предусматриваться порядок и сроки согласования дополнительных смет в случае изменений вносимых в техническую документацию после принятия ее в производство работ исполнителем.
За итогом объектной сметы показывается итог возвратных сумм, определенных локальными сметами, относящимися к этому объекту.
Объектные сметные расчеты составляются, как правило, с использованием укрупненных сметных нормативов (показателей), а также стоимостных показателей по объектам-аналогам.
Выбор аналога должен обеспечивать максимальное соответствие характеристик проектируемого объекта и объекта-аналога по производственно-технологическому или функциональному назначению и конструктивно-планировочной схеме.
Выбор единицы измерения при составлении сметных расчетов к рабочим чертежам аналогичных объектов производится в зависимости от типа здания или сооружения или вида конструктивного элемента (вида работ).
Составление объектных сметных расчетов и объектных смет не имеет существенных различий и производится на основе одинаковых данных по общим формам.
Целью экономического раздела дипломного проекта является определение договорной цены на строительство систем теплоснабжения. Договорная цена на строительство устанавливается инвестором и подрядчиком при заключении договора подряда, в том числе по результатам проведения конкурсов. Эта цена формируется с учетом спроса и предложения на строительную продукцию, конъюктуры рынка труда и материально-технических ресурсов.
Структурно- договорная цена состоит из двух частей:
-базисная стоимость, определяется на основе сметного расчета, исходя из государственной сметно-нормативной базы;
-дополнительные затраты подрядных организаций, связанных с переходом на рыночные отношения.
Для определения договорной цены следует, по введенным процентам по каждой позиции дополнительных затрат определить сметную величину, взяв проценты от базисной стоимости. Суммы всех рассчитанных затрат и базисной стоимости будут являться договорной ценой на заданный вид работ.
Стоимость строительства систем теплоснабжения в составе сметной документации проводится в двух уровнях цен: в базисном, в текущем, определенном на основе цен, сложившихся ко времени составления смет. В случае, когда при составлении смет по рабочим чертежам в составе рабочей документации отсутствуют укрупненные сметные нормы, необходимо принять единые районные единичные расценки (ЕРЕР), а также индивидуальные единичные расценки, калькуляции сметной стоимости материалов, калькуляции транспортных расходов.
При выполнении дипломного проекта локальная смета составляется в следующем порядке.
1.Наименование работ и затрат, единица измерения (гр.2) и количество (гр.3) принимаются из ведомостей объемов строительных и монтажных работ в составе дипломного проекта.
2.Стоимость единицы всего, основной заработанной платы, эксплуатация машин, в том числе заработанной платы машинистов (гр.4,5) принимаются из соответствующих сборников ТЕР, а в случае отсутствия там расценок на указанные виды работ- по сборникам ФЕР с применением соответствующих индексов. При этом в гр.2 указывается обоснование выбранной единицы измерения и ее стоимости. Стоимость неучтенных в расценках местных и привозных материалов, изделий и конструкций, наименования которых указаны в расценках, а нормы расхода и технические характеристики принимаются по проектным данным или из государственных элементных норм, учитываются в локальных сметах отдельной строкой после существующих единичных расценок.
3.Общая стоимость всего определяется перемножением гр.4 на гр.3, оплата труда основных рабочих определяется перемножением гр.4 (знаменателя) на гр.3, эксплуатация машин- гр.5 на гр.3.
4.Затраты труда рабочих и машинистов на единицу определяются по сборникам ГЭСН, отражающих среднеотраслевые затраты на эксплуатацию строительных машин и механизмов в зависимости от видов работ. Затраты труда рабочих всего заносятся в гр.9 путем умножения коэффициента перехода от заработанной платы и затратам труда на гр.5. Затраты труда всего заносятся в гр.10 путем умножения гр.3 на гр.9.
5.Стоимость общестроительных работ включает в себя стоимость материалов, затраты на эксплуатацию машин и механизмов и основную заработанную плату рабочих. Рассчитывается как сумма по гр.6 по каждому разделу. В конце каждого раздела производится подсчет суммы накладных расходов и сметной прибыли итого по разделу.
6.Накладные расходы как часть сметной себестоимости строительно-монтажных работ представляют собой совокупность затрат, связанных с созданием общих условий строительного производства, его организацией, управлением и обслуживанием. В настоящее время учет накладных ведется по нормативам, установленным в процентах от выбранной базы исчисления.
Основной базой являются средства на оплату труда рабочих (строителей и механизаторов) в составе прямых затрат (фонд оплаты труда).
7.Сметная прибыль как часть сметной стоимости строительной продукции (сверх себестоимости работ) предназначена для уплаты налогов, покрытия убытков, развития производства, социальной сферы и материального стимулирования работников. средств на оплату труда рабочих-строителей и механизаторов в текущих ценах в составе прямых затрат. При определении сметной стоимости строительно-монтажных работ на стадии разработки рабочей документации и при расчетах за выполненные работы применяются нормативы сметной прибыли по отдельным видам строительных и монтажных работ.
12 Экологическая экспертиза проекта
12.1 Характеристика объекта
В данном проекте разрабатывается строительство системы газоснабжения рабочего поселка на 8500 жителей. Рельеф местности спокойный, равнинный. В северо-восточной части рабочего расположен пруд.
Грунты в основном представлены суглинками.
Территория населенного пункта расположена в умеренно – континентальном климатическом поясе и характеризуется континентальным климатом с умеренно холодной зимой и теплым летом. Климатические характеристики районного центра выписываются в таблицу 12.1.
Таблица 12.1 – Климатическая характеристика рабочего поселка.
| № |
Наименование параметра |
Значение параметра |
| 1 |
2 |
3 |
| 1 |
Расчетная температура наружного воздуха для проектирования отопления, °С |
- 19 |
| 2 |
Расчетная температура наружного воздуха для проектирования вентиляции, °С |
- 5 |
| 3 |
Температура наружного воздуха, средняя температура за отопительный период, °С |
1,5 |
| 4 |
Продолжительность отопительного периода, (суток) |
152 |
Основу застройки рабочего поселка составляют одноэтажные дома усадебного типа. Двухэтажная застройка расположена в центральной и восточной частях рабочего поселка. Кварталы многоэтажных домов имеются в южной части населенного пункта.
Норма общей площади согласно генплану принята 25м2 на человека.
Существующие виды топлива – дрова, уголь.
При сжигании твердого топлива(дрова, уголь) в атмосферу поступает зола с частицами несгоревшего топлива, сернистые соединения и продукты неполного сгорания.
Переход на газообразное топливо улучшает экологическую обстановку в рабочем поселке. В продуктах сгорания газового топлива отсутствует летучая зола. В этом случае полностью отпадает проблема утилизации золы. Территории, занимаемые золоотвалами, не используются в промышленности и народном хозяйстве. Также из-за уноса частиц золы с ветрами золоотвалы являются источниками постоянных загрязнений атмосферы.
12.2 Воздействие объекта на атмосферный воздух
Основным видом воздействия объектов системы газоснабжения на состояние воздушного бассейна является загрязнение атмосферного воздуха выбросами загрязняющих веществ.
При строительстве объектов системы газоснабжения возможны следующие загрязняющие воздействия на атмосферу.
- загрязнение атмосферного воздуха выбросами продуктов сгорания топлива при работе двигателей строительной техники(оксид углерода(СО), диоксид азота(NО2 ), пары битума, сернистый ангидрид и сажа);
- выбросы загрязняющих веществ при проведении сварочных работ(сварки, наплавки, тепловой резки металлов), которые сопровождаются выделением сварочного аэрозоля и газов, состоящих из оксидов свариваемых материалов или компонентов сплавов(железа, марганца, хрома, титана, алюминия и т. д.);
- загрязнение атмосферного воздуха выбросами продуктов сгорания при разогреве битума(пары битума, оксид углерода, диоксид азота, сернистый ангидрид и сажа).
В период строительства объектов системы газоснабжения (газопроводов, ГРП) незначительное загрязнение атмосферного воздуха происходит при работе передвижных сварочных постов и автотранспорта. Основная причина загрязнения воздуха разнообразными двигателями, использующими в качестве топлива продукты нефтепереработки, заключается в неполном и неравномерном сгорании топлива.
При этом моделирование рассеивания не представляется возможным ввиду передвижного режима работ.
После окончания строительства источники выделения вредных веществ в атмосферу ликвидируются.
Для газоснабжения населённого пункта используется природный газ, транспортируемый по магистральному газопроводу – отводу через газораспределительную станцию, расположенную на восточной окраине населённого пункта. Давление газа на выходе из ГРС – 0,6 мПа.
По газопроводу к потребителю поступает природный газ, содержащий одорант. Природный газ обычно рассматривается как безвредный газ,бесцветен, не имеет запаха, не токсичен. Главная опасность связана с асфиксией из-за недостатка кислорода.
Состав газа и его характеристика приведены в Таблице № 12.2.
Таблица № 12.2. Состав и характеристика газа.
| Состав газа |
Теплота сгорания кДж/м3 |
Плотность, кг/м3 |
|||
| Компонент |
Доля в общем объёме, ri |
ai |
ai xri |
ρi |
ρi xri |
| Метан СН4 |
0,9825 |
35840 |
35212,8 |
0,7168 |
0,7042 |
| Этан С2 Н6 |
0,0059 |
63730 |
376,0 |
1,3566 |
0,080 |
| Пропан С3 Н8 |
0,0019 |
93370 |
177,4 |
2,0190 |
0,038 |
| Бутан С4 Н10 |
0,0004 |
123770 |
49,5 |
2,7030 |
0,0011 |
| Изобутан |
0,0004 |
123840 |
48,7 |
2,6680 |
0,0011 |
| Пентан С5 Н12 |
0,0001 |
146340 |
14,6 |
3,2210 |
0,0003 |
| Азот N2 |
0,0083 |
- |
- |
1,2505 |
0,0104 |
| Кислород |
0,0001 |
- |
- |
1,4290 |
0,0001 |
| Углекислый газ |
0,0004 |
- |
- |
1,9768 |
0,0008 |
| Итого |
1,00 |
- |
35879,0 |
- |
0,730 |
Таким образом, низшая теплота сгорания природного газа данного состава составляет
35879,0 кДж/м3
(35,879 МДж/м3
), а плотность ρ0
= 0,730 кг/м3
.
Для одорации природного газа применяется этилмеркаптан. Среднее удельное содержание одоранта в природном газе составляет 0,016г. на 1м3 газа.
В период эксплуатации систем газоснабжения возникают незначительные постоянные выбросы газа, причиной которых является невозможность достичь полной герметичности резьбовых и фланцевых соединений, запорной арматуры, газового оборудования.
На подземных газопроводах эти утечки имеют место в газовых колодцах, где установлены задвижки и компенсаторы; на надземных газопроводах - в местах установки отключающих устройств. ГРП также являются источником утечек газа, вследствие не герметичности соединений оборудования, арматуры и газопроводов.
Выброс природного газа и одоранта может наблюдаться при проведении ремонтных и профилактических работ, а также в случае аварийной ситуации.
Максимально возможные утечки газа из проектируемого газопровода, проложенного по равнинной местности, через микросвищи и неплотности линейной арматуры(м3 /год) определяется по формуле:
(12.1)
где 1113,5 – переводной коэффициент;
D – диаметр газопровода, м;
L – длина газопровода, км;
Рср – давление газа,кг/см2;
Tср – средняя температура газа в газопроводе, 288К;
m – время эксплуатации газопровода, сутки;
zср – средний коэффициент сжимаемости;
t– степень начальной герметичности, принимаем 1,2.
![]()
Учитывая то, что в газопровод поступает с ГРС одорированный природный газ (с содержанием одоранта не менее 16 мг/м3 ), следовательно, за год в атмосферу может быть выброшено вместе с природным газом порядка 0,08 кг одоранта.
Указанное количество утечек равномерно распределяется по всей длине трассы газопровода. Максимальный объем утечек возможен только после длительной и небрежной эксплуатации (более 10 лет) вследствие появления микроповреждений в трубах и изношенности сальников запорной арматуры.
Для исключения возникновения утечек на линейной части перед вводом в эксплуатацию газопровод испытывают на герметичность.
В период эксплуатации газопровода возможны выбросы в атмосферу загрязняющих веществ.
Характеристика загрязняющих веществ, класс опасности и предполагаемые валовые выбросы загрязняющих веществ в атмосферу, приведены в таблице 12.3.
Таблица 12.3 – Характеристика загрязняющих веществ.
| Загрязняющее вещество |
Кодвещества |
ПДКм.р. (ОБУВ), мг/м3 |
Класс опасности |
Валовый выброс загрязняющих веществ, тыс. т/год |
| Метан |
410 |
(50) |
- |
0,968 |
| Этилмеркаптан |
1728 |
5х10-5 |
3 |
0,19х10-4 |
Примечание:
1. ПДКм.р. – предельно- допустимая концентрация загрязняющих веществ в атмосферном воздухе населенных мест.
2. ОБУВ - ориентировочный безопасный уровень воздействия загрязняющих веществ в атмосферном воздухе населенных мест.
12.3 Расчет аварийного выброса
При эксплуатации системы газоснабжения предусматриваются мероприятия, практически исключающие возможность аварийных ситуаций на газопроводе и ГРП.
Основными причинами возникновения аварийных ситуаций в системах газоснабжения являются повреждение газопроводов различными машинами и механизмами, коррозия стальных газопроводов и разрыв сварных швов.
Кроме этого, как аварийную можно рассматривать ситуацию, возникающую при повышении давления в системе газоснабжения. В этом случае срабатывает предохранительно-сбросной клапан, который сбрасывает «лишнее» количество газа через «свечу» в атмосферу и снижает тем самым давление газа в системе.
Расчет выбросов газа и одоранта при аварийных выбросах производится согласно «Методике по расчету удельных показателей загрязняющих веществ в выбросах в атмосферу на объектах газового хозяйства».
Удельное количество выбросов газа, истекающего в атмосферу из щели в сварном шве газопровода Gг , г/сек, определяется по формуле:
Gг = g · f · Wкр ·ρг отв · 1000, (12.2)
где g – коэффициент, учитывающий снижение скорости(0,97);
f – площадь отверстия, м2 , определяется по формуле:
f = n · π · d · s, (12.3)
где n – длина линии разрыва наружного периметра трубы газопровода в % от общего периметра, принимаем 0,5;
π = 3,14;
d – диаметр газопровода, м;
s – ширина щели сварного шва, принимаем 0,001м;
Wкр – критическая скорость выброса газа из щели в сварном шве стыка газопровода, м/с, определяется по формуле:
, (12.4)
где Т0 – абсолютная температура газа в газопроводе, 288К;
ρг – плотность газа при нормальных условиях, принимаем 0,815 кг/м3 ;
ρг отв – плотность газа перед отверстием в газопроводе, кг/м3 , определяется по формуле:
(12.5)
где Т – абсолютная температура окружающей среды, 293К;
Ро – абсолютное давление газа в газопроводе в месте расположения сварного шва, 400000 Па;
Р – атмосферное давление, 101325 Па.
кг/м3
,
м/с,
f = 0,5 · 3,14 · 0,189 · 0,001 = 0,00029673 м2 ,
Gг = 0,97 · 0,00029673 · 385 ·3,27 · 1000 = 362,36 г/сек.
Расход газа L,м3 /сек рассчитывается по формуле:
L = Wкр · f, (12.6)
L = 385 · 0,00029673 = 0,1142 м3 /сек
Среднегодовая норма расхода одоранта составляет 16 г. на 1000м3 природного газа, поэтому количество одоранта в выбросах газа Gод ,г/сек, определяется по формуле:
Gод = 0,016 · L, (12.7)
где L – расход газа через щель в сварном шве, м3 /сек.
Gод = 0,016 · 0,1142 = 0,00183, г/сек.
12.4 Расчет выбросов загрязняющих веществ при вводе газопровода в эксплуатацию
При выполнении пуско-наладочных работ на наружных газопроводах количество газа, выходящего в атмосферу, Vпр, м3 , определяется по формуле:
(12.8)
где Vс – объем газопроводов между отключающими устройствами, м3 , определяется по формуле:
(12.9)
где L – длина газопровода между отключающими устройствами, 410 м;
F – площадь поперечного сечения газопровода, м2 ;
Ра – атмосферное давление газа, 101325 Па;
Рг – избыточное давление газа в газопроводе перед ШРП при пуске, принимаем 200000 Па;
tг – температура газа, 15ºС.
![]()
м3
м3
Время истечения газа принимается от 1,5 до 10 часов.
Расход газа, Gп , м3 /сек, выводящего в атмосферу при пуско-наладочных работах:
(12.10)
кг/сек
Определяем выброс метана: 0,0001676 · 0,815 = 0,000137кг/сек или 0,137 г/сек
Определяем выброс одоранта: 0,0001676 · 0,016 = 0,0000027 кг/сек или 0,0027 г/сек.
12.5 Воздействие отходов на состояние окружающей природной среды
В процессе строительства газопроводов образуются отходы:
- при очистке внутренней полости труб от возможных загрязнений: грунтов, воды, льда, копоти, снега;
- при сварке труб: концы труб, имеющие трещины, надрывы, забоины;
- при выполнении изоляционных работ: обрезки липких лент, битумной мастики, оберточных материалов (бризол, изол, стеклохолст);
Все образующиеся при изоляции газопровода отходы должны быть затарены и вывезены на полигон твердых бытовых отходов (ТБО).
Металлические отходы, собранные в контейнеры или ящики, передаются на предприятие "Вторчермета".
Строительная организация должна быть оснащена передвижным оборудованием - мусоросборниками для сбора строительных отходов и мусора по трассе и емкостями для сбора отработанных горюче-смазочных материалов.
В результате выполнения предложенных мероприятий, загрязнение окружающей среды, наносимое строительством объектов системы газораспределения будет сведено к минимуму.
В штатном режиме эксплуатации газопроводов и ГРП, образования отходов производства не происходит.
Все ожидаемые виды воздействий разработанной системы газораспределения на окружающую природную среду прогнозируются в пределах действующих нормативов природопользования, а именно:
- использование природного газа, как экологически наиболее чистого вида топлива, является мероприятием по оздоровлению воздушного бассейна рассматриваемых территорий; при эксплуатации объектов системы газоснабжения выделения загрязняющих веществ не окажут негативного воздействия на состояние атмосферного воздуха как на границах санитарно-защитных зон, так и в селитебных территориях;
- загрязнения почв в процессе строительства и эксплуатации объектов системы газоснабжения не предполагается, так как отходы производства при эксплуатации газопроводов практически отсутствуют, а отходы, образующиеся в процессе строительства, собираются и отправляются в специально санкционированные места.
12.6 Мероприятия по сокращению выбросов загрязняющих веществ в атмосферу
С целью снижения выбросов вредных веществ в атмосферу проектом предусматриваются следующие мероприятия:
1. при эксплуатации системы газоснабжения производятся профилактические осмотры, текущие и капитальные ремонты, направленные на предупреждение утечек газа и возникновения источников воспламенения в местах возможного появления взрывоопасных газо-воздушных смесей;
2. в период неблагоприятных метеоусловий (туман, дымка, температурная инверсия) необходим усиленный контроль за работой КИП и автоматики технологических процессов.
Важнейшим мероприятием для профилактики аварий является организация системы производственного экологического мониторинга.
Служба, которая будет вести наблюдение за состоянием газопровода, должна быть обеспечена необходимым транспортом, оборудованием и приборами контроля, позволяющими улавливать самые незначительные изменения как внутри трубопровода, так и в окружающей его среде.
С целью предотвращения утечек газа по причине коррозии предусматривается изоляция: подземного газопровода - весьма усиленная битумно-полимерная; надземного газопровода - два слоя грунтовки ГФ-021 и два слоя краски для наружных работ.
Заключение
В дипломном проекте были произведены следующие расчеты: определены часовые расходы на отопление, вентиляцию и горячее водоснабжение; на коммунально-бытовые, хозяйственно-бытовые цели. Всего по рабочему поселку:
1. Годовой расход газа на индивидуально – и коммунально – бытовые нужды составил 3613 тыс.м3 /год;
2. Расход газа на отопление и вентиляцию жилых и общественных зданий – 5712 тыс.м3 /год;
3. Годовой расход газа на горячее водоснабжение – 1121,4 тыс.м3 /год;
4. Годовой расход газа на промышленные нужды по всему поселку – 5593 тыс.м3 /год;
5. Расчетные (часовые) расходы газа:
· на бытовые и коммунальные нужды – 139,7 м3 /ч;
· на отопление и вентиляцию жилых и общественных зданий – 4362,2 м3 /ч;
· на горячее водоснабжение – 233,3 м3 /ч;
· на промышленные нужды – 9517,4 м3 /ч;
Подобраны шкафные газорегуляторные пункты для каждого квартала.
Произведен гидравлический расчет низкого и среднего давлений, а также его ответвлений, подобраны диаметры. Потери давления не превышают заданных по СНиПу значений.
В ходе дипломного проектирования по организации строительства газопровода были рассчитаны объемы земляных работ, потребности в энергоресурсах, механизмах и рабочей силы. Реализован поточный метод строительства с совмещением во времени работ, выбран оптимальный график движения рабочих.
Критический путь - 23 дней;
Максимальное количество рабочих в смену - 18;
Суммарная площадь складских помещений-72м2 ;
Суммарная мощность используемых машин- 316 кВт.
В разделе экономики разработан локальный сметный расчет, по итогам которого общая сметная стоимость составит 3336914,48 рублей.
Подобрано внутреннее газооборудование, автоматика и КИП сушильного отделения, а так же внутреннее газооборудование блочной котельной
Список использованных источников
1.СНиП 23-01-99 Строительная климатология.-М.Стройиздат
2.СНиП 42-01-2002 Газораспределительные системы. М.Госстрой РФ, 2003
3.ГОСТ 10704-91 Трубы стальные электросварные прямошовные. Сортамент
4.СП 42-101-2003 Общие положения по проектированию и строительству газораспределительных систем из металлических и полиэтиленовых труб.М. ЗАО «Полимергаз», 2003
5.СНиП 2.04.07-86 Тепловые сети
6.СНиП 12-01-2004 Организация строительства
7.ПБ 12-529-03 Правила безопасности систем газораспределения и газопотребления.- М. Государственное унитарное предприятие. Научно-технический центр по безопасности в промышленности Госгортехнадзора России, 2003
8.Ионин А.А. Газоснабжение.- М. Стройиздат, 1989
9.Щукин А.А. Промышленные печи и газовое хозяйство заводов.-М. Энергия,1973
10.Сосков В.И. Технология монтажа и заготовительные работы.-М.Высш.шк.,1989
11.Курицын Б.Н. Оптимизация систем теплогазоснабжения и вентиляции.-Саратов. Издательство Саратовского университета, 1992
12.Богуславский А.Д., Симонова А.А., Митин М.Ф. Экономика теплогазоснабжения и вентиляции.- М.Строийздат, 1988
13.Ильин В.Н. Сметное ценообразование и нормирование в строительстве в условиях рынка. Учебное пособие. Саратов: Саратовский государственный технический университет, 2004
14. ЕНиР сборник 9 выпуск 1.Сооружение систем теплоснабжения, газоснабжения, канализации.
15. ЕНиР сборник 9 выпуск 2.Наружние сети и сооружения.
16. ЕНиР сборник 2 выпуск 1.Земляные работы.
17. Промышленное газовое оборудование: Справочник – Саратов: Изд – во «Научная книга», 2003 – 625 с.
18. ЕНиР Сборник 9. Сооружения систем теплогазоснабжения, водоснабжения и канализации. Вып. 2. Наружные сети и сооружения: Н. Стройиздат 1988 – 98 с.
19. Сосков В.И. Технология монтажа и заготовительных работ. М. Высшая школа: 1989 – 844 с.
20. Богуславский Л.Д. Симонова А.А., Митин М.Ф. Экономика теплогазоснабжения, отопления и вентиляции – М.: Издательство стандартов, 1986.
21. СНиП 12-03-2001. Безопасность труда в строительстве.
22. Дикман Л.Г. Организация жилищно – гражданского строительства. – Справочник строителя. М.: Стройиздат, 1990 – 493 с.
23. СНиП 12-04-2002. Безопасность труда в строительстве. – часть 2. Строительное производство.
24. СНиП 12-03-2001. Безопасность труда в строительстве. – часть 1. Общие требования.
25. ГОСТ 12.1.012-96 ССБТ. Вибрационная безопасность. Общие требования.
26. СНиП 23-05-95. Естественное и искусственное освещение.
27. ВСН 006-89. Строительство магистральных и промысловых трубопроводов. Сварка.
28. Киселев А.А. Газоснабжение – М. Госстройиздат, 1959 – 295 с.
29. Баясанов Ю.М., Ионин А.А. Распределительные системы газоснабжения. - М. Стройиздат, 1977 – 198 с.
30. Белодворский Ю.М. Газоснабжение предприятий – М Изд – во Минкомхоза, 1963, 194 с.
31. Берхман Е.И. Экономика систем газоснабжения. – М. Недра, 1975 – 256 с.
32. СНиП 1-02-01-85. Инструкция о составе, порядке, разработке, согласования и утверждения проектно – сметной документации на строительство предприятий, зданий и сооружений. - М. Стройиздат.
Похожие рефераты:
Отопительно-производственная котельная ГУП ФАПК Якутия
Проект реконструкции цеха первичной переработки нефти и получения битума на ОАО «Сургутнефтегаз»
Расчет систем газоснабжения района города
Резервуар объемом 50000 м3 для нефти в г. Новороссийске
Система тепло- и энергоснабжения промышленного предприятия
Розробка заходів з підвищення ефективності операційної діяльності ВАТ "Дніпропетровськгаз"
Проект производства работ на монтаж газопровода частного сектора
Газоснабжение населёного пункта
Перевод на природный газ котла ДКВР 20/13 котельной Речицкого пивзавода
Автоматизація котельні на ТЗВ "Волинь-Шифер"
Правовое регулирование договорных отношений по поставкам газа