| Похожие рефераты | Скачать .docx |
Реферат: Релейная защита и автоматика трансформаторов
МОСКОВСКИЙ ГОСУДАРСТВЕННЫЙ АВИАЦИОННЫЙ ИНСТИТУТ
(технический университет)
Кафедра 309
Реферат на тему:
«Релейная защита и автоматика трансформаторов»
Выполнил:
Студент группы 02-509
Лешков А.М.
Принял:
Профессор кафедры 309
Бочаров В.В.
Москва 2002
ОГЛАВЛЕНИЕ
Общие сведения о релейной защите………………………………………………..3
Повреждения и ненормальные режимы работы трансформаторов………………4
Виды и назначение автоматических устройств трансформатора…………………4
Токовые защиты трансформаторов…………………………………………………5
Газовая защита трансформатора……………………………………………………8
Продольная дифференциальная токовая защита трансформатора……………….9
Отключение трансформаторов от устройств релейной защиты при отсутствии выключателя на стороне высшего напряжения…………………………………..15
Схема защиты трансформатора на переменном оперативном токе……………..17
Особенности АПВ трансформаторов……………………………………………...19
Автоматическое включение резервного источника питания при отключении трансформатора……………………………………………………………………..19
Автоматическое регулирование коэффициента трансформации (АРКТ)………22
Список литературы…………………………………………………………………24
ОБЩИЕ СВЕДЕНИЯ О РЕЛЕЙНОЙ ЗАЩИТЕ
Все электроустановки оборудуются устройствами релейной защиты, предназначенными для отключения защищаемого участка в цепи или 'элемента в случае его повреждения, если это повреждение влечет за собой выход из строя элемента или электроустановки в целом. Релейная защита срабатывает и тогда, когда возникают условия, угрожающие нарушением нормального режима работы электроустановки.
В релейной защите электроустановок защитные функции возложены на реле, которые служат для подачи импульса на автоматическое отключение элементов электроустановки или сигнала о нарушении нормального режима работы оборудования, участка электроустановки, линии и т. д.
Реле представляет собой аппарат, реагирующий на изменение какой-либо физической величины, например тока, напряжения, давления, температуры. Когда отклонение этой величины оказывается выше допустимого, реле срабатывает и его контакты, замыкаясь или размыкаясь, производят необходимые переключения с помощью подали или отключения напряжения в цепях управления электроустановкой.
К релейной защите предъявляют следующие требования:
селективность (избирательность) — отключение только той минимальной части или элемента установки, которая вызвала нарушение режима;
чувствительность — быстрая реакция на определенные, заранее заданные отклонения от нормальных режимов, иногда самые незначительные;
надежность — безотказная работа в случае отклонения от нормального режима; надежность защиты обеспечивается как правильным выбором схемы и аппаратов, так и правильной эксплуатацией, предусматривающей периодические профилактические проверки и испытания.
Необходимая скорость срабатывания реле определяется проектом в зависимости от характера технологического процесса. Иногда для сведения до минимума ущерба от возникших повреждений релейная защита должна обеспечивать полное отключение в течение сотых долей секунды.
По своему назначению реле разделяют на реле управления и реле защиты.
Реле управления обычно включают непосредственно в электрические цепи и срабатывают они при отклонениях от технологического процесса или изменениях в работе механизмов. Реле защиты включают в электрические цепи через измерительные трансформаторы и только иногда непосредственно. Они срабатывают при неформальных или аварийных режимах работы установки. Реле характеризуется следующими показателями:
уставка — сила тока, напряжение или время, на которые отрегулировано данное реле для его срабатывания;
напряжение (или ток) срабатывания — наименьшее или наибольшее значение, при котором реле полностью срабатывает;
напряжение (или ток) отпускания — наибольшее значение, при котором реле отключается (возвращается в исходное положение); коэффициент возврата — отношение напряжения (или тока) отпускания к напряжению (или току) срабатывания.
По времени срабатывания различают реле мгновенного действия и с выдержкой времени.
ПОВРЕЖДЕНИЯ И НЕНОРМАЛЬНЫЕ РЕЖИМЫ РАБОТЫ ТРАНСФОРМАТОРОВ
К повреждениям трансформаторов относят:
междуфазные к.з. на выводах и в обмотках (последние возникают гораздо реже, чем первые);
однофазные к.з. (на землю и между витками обмотки, т. е. витковые замыкания);
«пожар стали» сердечника.
К ненормальным режимам относятся:
перегрузки , вызванные отключением, например, одного из параллельно работающих трансформаторов. Токи перегрузки относительно невелики, и поэтому допускается перегрузка в течение времени, определяемого кратностью тока перегрузки по отношению к номинальному;
возникновение токов при внешних к. з ., представляющих собой опасность в основном из-за их теплового действия на обмотки трансформатора, поскольку эти токи могут существенно превосходить номинальные. Длительное прохождение тока внешнего к. з. может возникнуть при неотключившемся повреждении на отходящем от трансформатора присоединении;
недопустимое понижение уровня масла , вызываемое значительным понижением температуры я другими причинами.
Повреждения и ненормальные режимы работы предъявляют определенные требования к устройствам автоматического управления трансформаторами, рассматриваемые ниже.
ВИДЫ И НАЗНАЧЕНИЕ АВТОМАТИЧЕСКИХ УСТРОЙСТВ ТРАНСФОРМАТОРА
На трансформаторах устанавливаются следующие защиты:
защита от коротких замыканий, действующая на отключение поврежденного трансформатора и выполняемая без выдержки времени (для ограничения размеров повреждения, а также для предотвращения нарушения бесперебойной работы питающей энергосистемы). Для защиты мощных трансформаторов применяются продольные дифференциальные токовые защиты, а для маломощных трансформаторов — токовые защиты со ступенчатой характеристикой выдержки временя. Кроме того, при всех повреждениях внутри бака и понижениях уровня масла применяется газовая защита, работающая на неэлектрическом принципе;
защита, от токов внешних к. з., основное назначение которой заключается в предотвращении длительного прохождения токов к. з. в случае отказа выключателей или защит смежных элементов путем отключения трансформатора. Кроме того, защита может работать в качестве основной (на трансформаторах малой модности, а также при к. з. на шинах, если отсутствует специальная защита шин). Защиты от внешних к. з. обычно выполняются токовыми или (значительно реже) дистанционными — с выдержками времени;
защита от перегрузок, выполняемая с помощью одного максимального реле тока, поскольку перегрузка обычно является симметричным режимом. Поскольку перегрузка допустима в течение длительного промежутка времени (десятки минут при токе не больше 1,5Iт,ном ), то защита от перегрузки при наличии дежурного персонала должна выполняться с действием на сигнал, а при отсутствии персонала — на разгрузку или на отключение трансформатора.
На трансформаторах предусматриваются следующие устройства автоматики:
автоматическое повторное включение, предназначенное для повторного включения трансформатора после его отключения максимальной токовой защитой. Требования к АПВ (автоматическое повторное включение) и способы его осуществления аналогичны рассмотренным ранее устройствам АПВ линий. Основная особенность заключается в запрещении действия АПВ трансформаторов при внутренних повреждениях, которые .отключаются дифференциальной или газовой защитой;
автоматическое включение резервного трансформатора, предназначенное для автоматического включения секционного выключателя при аварийном отключении одного из работающих трансформаторов или при потере питания одной из секций по другим причинам;
автоматическое отключение и включение одного из параллельно работающих трансформаторов, предназначенное для уменьшения суммарных потерь электроэнергии в трансформаторах;
автоматическое регулирование напряжения, предназначенное для обеспечения необходимого качества электроэнергии у потребителей путем изменения коэффициента n трансформации понижающих трансформаторов подстанций, питающих распределительную сеть. Для изменения n под нагрузкой трансформаторы оборудуются устройствами РПН (регулятором переключения отпаек обмотки трансформатора под нагрузкой). Автоматическое изменение n осуществляется специальным регулятором коэффициента трансформации (АРКТ), воздействующим на РПН..
ТОКОВЫЕ ЗАЩИТЫ ТРАНСФОРМАТОРОВ
Трансформаторы малой мощности до 750 кВ*А при напряжении 10 кВ и до 3200 кВ*А при напряжении 35 кВ тупиковых подстанций, а также цеховые трансформаторы обычно коммутируют выключателями нагрузки ВНП. Для защиты таких трансформаторов от внутренних к. з. допускается применение (рис. 1) предохранителей (например, типа ПК). Номинальный ток плавкой вставки Iвс,ном выбирается из тех же условий, что и для линий. Кроме того, необходимо учитывать возможность нежелательного срабатывания предохранителей при бросках тока намагничивания, вызванных включением трансформатора под напряжение. С учетом указанных условий I вс,ном = (1,5…2,5)Iт,ном . Селективность защиты обеспечивается согласованием время-токовой характеристики предохранителя с характеристиками защит отходящих присоединений со стороны низшего напряжения трансформатора.
![]() |
Рис. 1. Защита трансформатора малой мощности с помощью предохранителей.
Для упрощения и удешевления подстанций систем электроснабжения, подключаемых ответвлением к линии электропередачи, применяются открытые плавкие вставки (ОП), а также управляемые предохранители.
Недостатками защит трансформаторов, выполненных с помощью плавких вставок, являются:
нестабильность их защитных характеристик, которая может привести к недопустимому увеличению времени отключения трансформатора при некоторых видах внутренних повреждений;
трудность согласования с защитами смежных участков.
Токовая защита трансформаторов выполняется с использованием вторичных максимальных реле тока (прямого или косвенного действия). При этом следует иметь в виду, что трансформаторы малой мощности представляют для токов к. з. относительно большое сосредоточенное сопротивление. Поэтому защитоспособность первой ступени (отсечки без выдержки времени) получается удовлетворительной. Учитывая это, защиту обычно выполняют двухступенчатой. Первой ступенью защиты является токовая отсечка, ток срабатывания которой выбирается большим максимального тока при к. з. за трансформатором. Чувствительность первой ступени считается удовлетворительной, если kч = 2 при к. з. на стороне высшего напряжения трансформатора. Вторая ступень представляет собой максимальную токовую защиту, выдержка времени которой согласована с выдержками времени защит отходящих присоединений. Чувствительность максимальной токовой защиты проверяется по току при к, з. на стороне низшего напряжения. Работа токовой защиты как резервной проверяется при к. з. в конце элементов, присоединенных к шинам низшего напряжения (при этом желательно иметь kч >= 1.2).
При параллельной работе двух трансформаторов следует иметь в виду, что в случае к. з. на низшей стороне максимальные токовые защиты (вторые ступени) трансформаторов могут отключить оба трансформатора. Если имеется секционный выключатель, то этот недостаток устраняется тем, что установленная на нем защита имеет меньшую выдержку времени.
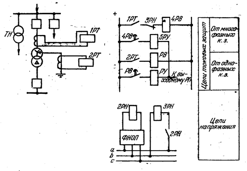
Для повышения чувствительности максимальная токовая защита дополняется пуском от реле напряжения обратной последовательности (при несимметричных к. з.) и от реле минимального напряжения (при симметричных к. з.) (рис. 2).
При несимметричном к. з. на выходе фильтра ФНОП появляется напряжение, пропорциональное напряжению обратной последовательности, максимальное реле напряжения 2РН срабатывает и обусловливает срабатывание минимального реле напряжения 3РН. Если при этом для реле 1РТ Ip > Ic , p , то защита срабатывает. При симметричном к. з. срабатывает ЗРН и реле тока 1РТ.
Ток срабатывания защиты при этом выбирается по условию отстройки от номинального тока, а не от тока самозапуска электродвигателей, питаемых от защищаемого трансформатора, что и обусловливает повышение чувствительности защиты.
![]() |
Рис. 2. Защита трансформатора от внешних к. з. и перегрузок.
Напряжение срабатывания 2РН отстраивается от напряжения небаланса Uнб, раб на выходе фильтра ФНОП в рабочем режиме:
где kотс и kв — коэффициенты отстройки и возврата реле; Uном и KU — номинальное напряжение и коэффициент трансформации трасформатора напряжения ТН.
Напряжение срабатывания ЗРН отстраивается от минимального значения напряжения в месте установки ТН с учетом самозапуска электродвигателей
(1)
Коэффициент чувствительности защиты по напряжению должен быть не ниже kч = 1,2¸1,3, причем kч , при симметричном к. з. можно определять не по напряжению срабатывания минимального реле ЗРН, а по напряжению его возврата, так как симметричное к. з. в начальный момент времени является несимметричным, а следовательно, ЗРН срабатывает в результате срабатывания 2РН. Такое взаимодействие реле повышает чувствительность защиты по напряжению при симметричных к. з.
Если трансформатор с высшим напряжением 110 кВ имеет глухозаземлённую нейтраль, то при однофазном к. з. в сети 110 кВ через нейтраль трансформатора будут проходить токи нулевой последовательности, для отключения которых на трансформаторе устанавливается специальная токовая защита нулевой последовательности. Измерительный орган защиты, которая устанавливается только при наличии питания со стороны НН или СН, состоит из одного реле тока 2РТ (рис. 2), подключенного к ТТ, установленному в цепи заземления нейтрали трансформатора. Ток срабатывания защиты выбирается из условия надежной отстройки от тока небаланса в заземляющей цепи при внешних междуфазных к. з. и согласуется с токами срабатывания защит от однофазных к. з., установленных на линиях, примыкающих к защищаемому трансформатору. Значение тока срабатывания обычно находится в пределах 100—200А. Время срабатывания защиты (реле РВ) должно быть на ступень селективности больше времени срабатывания наиболее медленно действующей защиты от однофазных к. з. примыкающих к трансформатору лин-ий электропередачи, При питании трансформатора только со стороны высшего напряжения защита обычно не устанавливается.
Защита трансформатора от перегрузки, выполняемая одним реле, имеет ток срабатывания
![]()
где kотс = 1,05 — коэффициент, учитывающий погрешность в значении тока срабатывания.
На трехобмоточных трансформаторах с односторонним "питанием защита от перегрузки устанавливается со стороны питания. При существенно различных мощностях обмоток устанавливается дополнительно защита на питаемой обмотке меньшей мощности.
ГАЗОВАЯ ЗАЩИТА ТРАНСФОРМАТОРА
Обмотки большинства трансформаторов помещены в бак, залитый маслом, которое используется как для изоляции обмоток, так и для их охлаждения. При возникновении внутри бака электрической дуги к. з., а также при перегреве обмоток масло разлагается, что сопровождается выделением газа. Это явление и используется для создания газовой защиты.
Защита выполняется с помощью газового реле, установленного в трубе, соединяющей бак трансформатора с расширителем. Газовое реле состоит из кожуха и двух расположенных внутри него поплавков, снабженных ртутными контактами, замыкающимися при изменении их положения. Оба поплавка шарнирно укреплены на вертикальной стойке. Один из них расположен в верхней части, а второй — в центральной. При слабом газообразовании (газ скапливается в верхней частей кожуха реле), а также при понижении уровня масла верхний поплавок опускается, что приводит к замыканию его контактов. При бурном газообразовании потоки масла устремляются в расширитель, что приводит к замыканию контактов обоих поплавков. .Контакты верхнего поплавка носят название сигнальных, а нижнего — основных контактов газового реле.
Движение масла через газовое реле, вызванное к. з. внутри бака трансформатора, обычно является толчкообразным: Поэтому замыкание основных контактов может быть ненадежным (перемежающимся), что учитывается, при выполнении схемы газовой защиты трансформатора.
На рис. 3 изображена схема газовой защиты на переменном оперативном токе. Выходное промежуточное реле защиты РП самоудерживается до отключения выключателя 1В со стороны питания.
Поскольку газовая защита может сработать ложно, например, вследствие выхода воздуха из бака трансформатора после доливки свежего масла, в схеме защиты предусмотрены переключающее устройство ПУ и резистор R, с помощыо которых действие газовой защиты может быть переведено на сигнал.
Достоинствами газовой защиты являются простота выполнения, срабатывание при всех видах повреждения внутри бака трансформатора, высокая чувствительность.
![]() |
Рис. 3. Принципиальная схема газовой защиту трансформатора,
Однако газовая защита, естественно, не срабатывает при повреждениях вне бака трансформатора. Поэтому она не может быть единственной основной защитой трансформатора.
Трансформаторы мощностью 1 МВ*А и более обычно поставляются комплектно с газовой защитой.
ПРОДОЛЬНАЯ ДИФФЕРЕНЦИАЛЬНАЯ ТОКОВАЯ ЗАЩИТА ТРАНСФОРМАТОРА
На трансформаторах мощностью более 7,5 МВ*А в качестве основной защиты устанавливается продольная дифференциальная токовая защита. Принцип действия защиты аналогичен защите линий электропередачи. Однако особенности трансформатора как объекта защиты приводят к тому, что Iнб в дифференциальной защите трансформатора значительно больше, чем в дифференциальных защитах других элементов системы электроснабжения. "Ъсвовными факторами, которые необходимо учитывать при выполнении дифференциальной защиты трансформатора, являются следующие.
Бросок тока намагничивания при включении трансформатора под напряжение или при восстановлении напряжения после отключения внешнего к. з. Ток намагничивания трансформатора (рис. 4, а) Iнам = I1 п — I11 п в нормальном режиме работы невелик и составляет 2—3% номинального тока Iт,ном . После отключения внешнего к. з., как и при включении трансформатора под напряжение, возникающий бросок тока намагничивания может превышать номинальный ток /т,ном в 6—8 раз.
![]() |
Рис. 4. Изменение потока и тока намагничивания при включении трансформатора под напряжение.
а — поясняющая схема; б —изменение тока намагничивания; в — изменения напряжения и магнитного потока; г — характеристика намагничивания.
Значение тока при броске зависит от момента включения трансформатора под напряжение. Наибольшее значение бросок тока намагничивания имеет при включении трансформатора в момент, когда мгновенное значение напряжения U равно нулю (рис. 4, в, г). В этом случае магнитный поток Фt в сердечнике трансформатора в начальный период времени содержит большую апериодическую составляющую Фa и превышает при переходном процессе установившееся значение Фуст практически в 2 раза. Поскольку зависимость Ф = f(Iнам ) нелинейна, то iнам увеличивается по отношению к установившемуся значению в сотни раз, но остается обычно меньшим максимальных переходных токов внешних (сквозных) к. з. Бросок тока намагничивания может содержать большую апериодическую слагающую, а также значительный процент высших гармоник (прежде всего второй). Затухание броска происходит медленнее, чем тока к. з. В результате кривая броска тока намагничивания iнам,бр (рис. 4, б) может оказаться смещенной по одну сторону оси времени.
Указанные характерные особенности броска тока намагничивания используются для обеспечения отстроенности дифференциальной токовой защиты трансформатора, поскольку при отстройке защиты по току срабатывания она имеет очень низкую защитоспособность, а при отстройке по времени — теряет быстроту срабатывания.
Схемы соединения обмоток трансформатора . Если обмотки высшего и низшего напряжения трансформатора соединены не по схеме Y/Y -12, а по какой-то другой схеме, то между токами фаз трансформатора на сторонах высшего и низшего напряжения существует фазовый сдвиг. Так, при широко распространенной схеме соединения обмоток трансформатораY/D-11 фазовый сдвиг составляет ÐI1 п I11 п = 30 эл. град. Поэтому при одинаковых схемах соединения вторичных обмоток групп 1ТТ и 2ТТ трансформаторов тока (на сторонах высшего и низшего напряжения) в дифференциальной цепи защиты при внешнем к. з, проходит значительный ток, равный примерно половине вторичного тока ТТ при внешнем к. з. •
Поэтому схемы соединения групп 1ТТ и 2ТТ должны быть такими, чтобы указанный сдвиг по фазе отеутствовал (ÐI1 п I11 п = 0). При этом возможны два варианта: вторичные обмотки группы 1ТТ соединяются в треугольник, а группы 2ТТ — в звезду или вторичные обмотки группы 2ТТ — в треугольник, а 1ТТ — в звезду. Схема соединения обмоток ТТ в первом случае ясна из рис. 5. Предпочтение всегда отдается первому варианту, так как соединение в треугольник вторичных обмоток ТТ, установленных со стороны звезды силового трансформатора, предотвращает возможное неправильное срабатывание дифференциальной защиты при внешних однофазных к. з. (когда нейтраль трансформатора заземлена), поскольку соединение в треугольник предотвращает попадание токов нулевой последовательности в реле защиты. При соединении вторичных обмоток 1ТТ в треугольник токи в цепи циркуляции от 1ТТ (I’1 в ) в ÖЗ раз больше вторичных токов 1ТТ (I1 в ). Поэтому коэффициент трансформации 1ТТ выбирается равным Iт Y ном ÖЗ/5, где Iт Y ном — номинальный ток трансформатора со стороны обмотки силового трансформатора, соединенной в звезду.
![]() |
Рис. 5. Схема соединения ТТ дифференциальной токовой защиты трансформатора Y/D-11 и векторные диаграммы.
Несоответствие коэффициентов трансформации ТТ расчетным значениям . Для обеспечения равенства токов в цепи циркуляции должно соблюдаться соотношение

соответственно для трансформаторов с соединением обмоток по схеме Y/Y и Y/D. Выпускаемые промышленностью трансформаторы тока имеют дискретную шкалу коэффициентов трансформации. Поэтому в общем случае I’11 в ¹I’1 в что вызывает дополнительный ток небаланса в реле защиты.
Регулирование коэффициента трансформации трансформатора . При регулировании коэффициента трансформации трансформатора соотношение между первичными, а следовательно, и между вторичными токами 1ТТ и 2ТТ изменяется, что также приводит к появлению тока небаланса в дифференциальной цепи защиты. Различия типов ТТ, их нагрузок и кратностей токов внешнего к. з. Трансформаторы тока ТТ дифференциальной защиты трансформатора устанавливаются на сторонах трансформатора, имеющих различное напряжение, поэтому они не могут быть одинаковыми. Кроме того, схемы соединения вторичных обмоток ТТ также различны, а следовательно, трансформаторы тока имеют разную нагрузку. Различны у разных групп ТТ (особенно в случае трехобмоточного трансформатора) и кратности тока внешнего к.з. по отношению к их номинальным токам. Все это обусловливает разные погрешности' у разных групп ТТ, что приводит к появлению повышенных токов небаланса в дифференциальной цепи защиты при внешних к. з.
Рассмотренные выше факторы обусловливают применение защит различной сложности и с использованием разных способов обеспечения их защитоспособности и отстроенности. В простейшем случае в качестве РТД (рис, 5) используют обычное реле тока без замедления (такую защиту называют дифференциальной отсечкой). Однако защитоспособность ее мала из-за того, что защита получается весьма грубой. Для повышения чувствительности применяют реле и схемы, основные из которых (реле с промежуточными насыщающимися трансформаторами в дифференциальной цепи, реле с торможением) были рассмотрены применительно к продольной дифференциальной защите линий. В ряде случаев применяются и более сложные принципы (особенно для обеспечения отстроенности защиты от бросков тока намагничивания трансформатора).
Наибольший (расчетный) ток небаланса в дифференциальной цепи защиты может иметь место при включении трансформатора под напряжение или при внешнем к. з. Поэтому ток небаланса должен определяться в обоих случаях.
При включении трансформатора под напряжение действующее значение броска тока намагничивания Iбр.нам в первый период равно (6—8)Iт,ном . где Iт,ном — номинальный ток трансформатора.
При внешнем к. з., сопровождающемся прохождением через ТТ защиты наибольших токов к. з., ток небаланса
Iнб = I'нб + I"нб + I"’нб , (1)
где I'нб I"нб I"’нб — токи небаланса, обусловленные соответственно погрешностями ТТ, регулированием коэффициента трансформации трансформатора и неравенством токов в цепи циркуляции от различных групп ТТ.
Раскрывая выражения для отдельных составляющих тока небаланса (1), можно записать:
Iнб,расч = (kодн kапер e + DU*рег + Dfвыр )Iк,ве, max (2)
где kодн =1—коэффициент однотипности; kапер — коэффициент, учитывающий наличие апериодической составляющей в первичном токе ТТ при внешнем к. з.; e=0,1 —допустимая относительная погрешность ТТ; DU*рег =DUрег /Uном — относительный диапазон изменения напряжения на вторичной стороне трансформатора при регулировании коэффициента трансформации под нагрузкой устройством РПН; Dfвыр = (I’1 в -I’11 в )/ I’1 в — относительное значение тока небаланса в дифференциальной цепи защиты, обусловленное несоответствием расчетных и фактических коэффициентов трансформации ТТ.
Значения коэффициента kапер в (2) и коэффициента, учитывающего отстройку от броска тока намагничивания,, выбираются разными в зависимости от типа применяемого РТД. Так, для дифференциальной отсечки ток срабатывания определяется как
Iс,з = kотс Iбр,нам ;(3)
Iс,з = kотс Iнб ,расч. (4)
При этом в (4) kотс » 2, а выражение (3) с учетом некоторого затухания переходного значения Iбр,нам в течение собственного времени срабатывания электромеханического реле принимает вид:
Iс,з = (3.5¸4.5) Iт,ном (5)
и, как правило, является определяющим. Ток срабатывания реле дифференциальной токовой отсечки
Ic,p = Iс,з Ö3/K1TT, (6)
если Iс,з отнесен к стороне Y трансформатора, где вторичные обмотки 1ТТ соединены в треугольник. Дифференциальная отсечка считается приемлемой, если при двухфазном к. з. на выводах низшего напряжения трансформатора kч >= 2. Несмотря на низкую чувствительность дифференциальной отсечки ее достоинство заключается в обеспечении быстроты срабатывания при наибольших кратностях тока к. з.
При использовании реле с насыщающимися промежуточными трансформаторами РНТ выбор тока срабатывания защиты Iс,з производится по выражениям;
Iс,з = (1 ¸ 1,3I)т,ном (7)
Iс,з = kотс (I’нб + I”нб ) (8)
В (8) неучет I”нб объясняется возможностью скомпенсировать эту составляющую (в первом приближении) с помощью промежуточного насыщающегося трансформатора тока ПНТТ с несколькими первичными обмотками (рис. 5,5), когда для предотвращения попадания в реле защиты тока небаланса, обусловленного неравенством токов I’11 в и I’1 в в цепи циркуляции, производится выравнивание м. д. с. первичных обмоток w1 , w2 промежуточных трансформаторов тока так, что I’1 в w1 » I’11 в w2 , т. е. Eв,т »0 и Iр »0.
Кроме того, в (8) при расчете I’нб значение коэффициента kапер принимается равным единице.
![]() |
Существуют специальные реле дифференциальной защиты серии РНТ, содержащие максимальное реле тока, включенное на вторичную обмотку ПНТТ. Они характеризуются постоянной м. д. с. срабатывания (Fc,p = const)
Рис. 5.5 Схема включения реле РНТ в дифференциальной токовой защите трансформатора
Принципиальная схема дифференциальной защиты трансформатора с РНТ (в однолинейном изображении) представлена на рис. 5,5.
Следует отметить, что определение составляющей расчетного тока небаланса I”нб обусловленной регулированием напряжения защищаемого трансформатора, и расчетных чисел витков обмоток промежуточных насыщающихся трансформаторов тока реле защиты производится с учетом одинакового максимального регулирования ±DUmax в обе стороны по отношению к среднему положению переключателя РПН, принимаемого в качестве расчетного. Такой учет регулирования напряжения соответствует определению оптимальной уставки защиты только при условии независимости сопротивления трансформатора и тока к. з. от положения переключателя РПН.
Для повышения чувствительности дифференциальной токовой защиты трансформатора предусматривают более эффективную (по сравнению с защитой с РНТ) отстройку от броска тока намагничивания трансформатора, используя: несинусоидальность броска тока намагничивания; наличие в нем апериодической слагающей; наличие провалов (ниже заданного уровня) в кривой тока Iнам,пер . В настоящее-время желательнона мощных трансформаторах устанавливать защиту с током срабатывания (0,2—0,3)Iт,ном. Дифференциальные защиты, применяемые в эксплуатации, можно разделить на три группы: с токовыми реле; с реле РНТ; с реле с торможением.
Наибольший ток срабатывания имеют защиты первой группы (дифференциальные токовые отсечки). Ток срабатывания защит второй группы значительно меньше. Наиболее распространенной разновидностью таких защит является уже рассмотренная защита с применением промежуточных насыщающихся ТТ в дифференциальной цепи. Недостатком этой защиты является, небольшое замедление из-за наличия некоторой апериодической слагающей в токе к. з.
Еще меньший ток срабатывания могут иметь зашиты третьей группы.
В настоящее время выпускается полупроводниковая дифференциальная токовая защита типа ДЗТ-21 , ток срабатывания которой равен примерно 0,3Iт,ном .
ОТКЛЮЧЕНИЕ ТРАНСФОРМАТОРОВОТ УСТРОЙСТВ РЕЛЕЙНОЙ ЗАЩИТЫ ПРИ ОТСУТСТВИИ ВЫКЛЮЧАТЕЛЯ НА СТОРОНЕ ВЫСШЕГО НАПРЯЖЕНИЯ
В настоящее время в системах электроснабжения все более широко применяются понизительные подстанции без выключателей на стороне высшего напряжения. Такие подстанции выполняются по упрощенным схемам присоединения к сети системы электроснабжения (по блочным схемам линия — трансформатор или отпайками от линий электропередачи). Для отключения повреждений в понизительных трансформаторах таких подстанций применяются следующие способы:
установка на выводах высшего напряжения трансформаторов плавких предохранителей; •» фиксация и ликвидация повреждений в трансформаторе с помощью защит, установленных на питающих концах линии;
установка короткозамыкателей, автоматически включаемых при срабатывании защит трансформатора и вызывающих к. з, на выводах высшего напряжения, которое ликвидируется затем защитами питающего конца линии;
передача отключающего сигнала по высокочастотному каналу (на базе проводов линии) или по жилам специального кабеля от защит трансформатора на отключение выключателя питающего конца линий.
Если защиты питающего конца линии не обеспечивают необходимой чувствительности при повреждениях в обмотках трансформатора и на его вывоДах низшего напряжения или имеют большие выдержки временнгто для отключения повреждения используются защиты трансформатора, Действующие в сочетании с короткозамыка-телем.
Включение короткозамыкателя осуществляется от защиты трансформатора, а отключение — вручную. В сетях с заземленной нейтралью короткозамыкатель устанавливается в одной фазе, а в сетях с изолированной нейтралью он выполняется двухполюсным с общим приводом и устанавливается на двух фазах.
После включения короткозамыкателя возникает однофазное (или двухфазное) к. з. на выводах высшего напряжения трансформатора. При этом срабатывают быстродействующие защиты, установленные на питающих концах линии. Допускается однократное АПВ питающей линии (хотя оно может вызвать увеличение размеров повреждения трансформатора). Когда к одной линии подключены ответвлениями два или несколько трансформаторов, на каждом из них дополнительно устанавливают отделители (трехполюсные разъединители с автоматическим управлением). Отключение отделителя поврежденного трансформатора осуществляется автоматически в бестоковую паузу после отключения питающей линии. После АПВ восстанавливается питание неповрежденных трансформаторов, оставшихся подключенными к линии.
В простейшем случае для отключения отделителя используется специальное реле прямого действия — блокирующее реле отделителя (БРО), установленное в приводе отделителя и подключенное к трансформатору тока, включенному в цепи короткозамыкателя. Под воздействием тока к. з. взводится боек БРО. После отключения защитой питающей линии и исчезновения тока в цепи короткозамыкателя БРО срабатывает и отключает отдел-итель. Однако такая схема автоматического отключения отделителя не нашла широкого распространения из-за присущих ей недостатков: малой надежности БРО и необходимости оснащения линии двукратным АПВ, поскольку при одновременном срабатывании быстродействующих защит линии и трансформатора (при повреждении в трансформаторе) отделитель в первую бестоковую паузу может не отключиться.
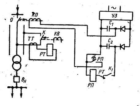
Более надежной является схема автоматического отключения отделителя, использующая в качестве источника оперативного тока предварительно заряженную (от зарядного устройства УЗ) батарею конденсаторов С, показанную на рис. 6. При включении короткозамыкателя К реле тока РТ размыкающим контактом запрещает отключение отделителя О, пока не отключится выключатель питающей линии. Катушка отключения отделителя Кб подключается к .конденсатору С после возврата реле РТ и срабатывания реле РП. Задержка при срабатывании реле.РЯ предотвращает недопустимое отключение отделителя при прохождении через него тока к. з., если вспомогательные контакты К1 замкнутся раньше основных контактов короткозамыкателя.
Следует отметить некоторые особенности защиты трансформаторов упрощенных подстанций при наличии короткозамыкателей и отделителей. 1. Если в качестве единственной основной защиты применяется газовая защита-(трансформаторы небольшой мощности), то она должна обеспечить включение короткозамыкателя при любых повреждениях внутри бака трансформатора. Поэтому трансформатор собственных нужд (ТСН) или трансформатор напряжения (ТН) уже не может служить источникам оперативного тока для газовой ' защиты, поскольку при повреждении силового трансформатора оперативное напряжение может значительно снижаться. Единст-
![]() |
Рис. 6. Схема отключения отделителя с. применением батарей предварительно заряженных конденсаторов.
венным надежным источником оперативного тока в данном случае могут быть батареи предварительно заряженных конденсаторов.
2. Для включения короткозамыкателя на стороне высшего напряжения трансформатора (и для отключения выключателя на стороне низшего напряжения) часто используют энергию предварительно заряженных конденсаторов при невозможности использования схем с дешунтированием электромагнитов включения короткозамыкателя и отключения выключателя (когда вторичные токи к. з. составляют более 150 А). Такие случаи характерны для трансформаторов 110 кВ малой мощности (2,5; 4; 6,3 МВ*А) при использовании встроенных во вводы трансформатора трансформаторов тока (типа ТВТ-110). Вместе с тем зарядные устройства, включаемые на ТСН или ТН, не могут обеспечить заряд разряженных конденсаторов при включении трансформатора на трехфазное к. з. на его выводах или на шинах НН подстанции. Поэтому заряд конденсаторов в этих случаях обеспечивается применением специального зарядного устройства, питающегося как от цепей напряжения, так и от цепей тока.
3. Вследствие кратковременности разряда конденсатора серьезные требования предъявляются к качеству наладки и состоянию аппаратуры (короткозамыкателей и отделителей). Загрязнения, окисление, загустение смазки могут привести к недолустимому замедлению действия этих аппаратов.
Применение подстанций с короткозамыкателями на 'стороне высшего напряжения характеризуется увеличением времени отключения поврежденного участка из-за сравнительно большого собственного времени включения короткозамыкателей. Этот недостаток можно исключить, если вместо короткозамыкателей использовать телеотключение. При передаче команды телеотключения лр кабелю предусматривается постоянный контроль состояния его жил с помощью специального устройства (например, .типа УК-1)
В эксплуатации применяется также передача отклю-,.4 чающего импульса по в. ч. каналу, организованному по проводам линии электропередачи с помощью специальной аппаратуры в. ч. обработки и специальных устройств высокочастотного телеотключения (ВЧТО).
При повреждении трансформатора и срабатывании его защиты одновременно с отключением выключателя и запретом его АПВ подается по линиям сигнал телеотключения (ТО) к передатчику. Сигнал по каналу связи подается на входы приемников питающих подстанций, вызывая срабатывание на них промежуточных реле, отключающих головные выключатели. С целью повышения надежности при осуществлении устройства телеотключения сохраняется и
короткозамыкатель.
СХЕМА ЗАЩИТЫ ТРАНСФОРМАТОРА НА ПЕРЕМЕННОМ ОПЕРАТИВНОМ ТОКЕ
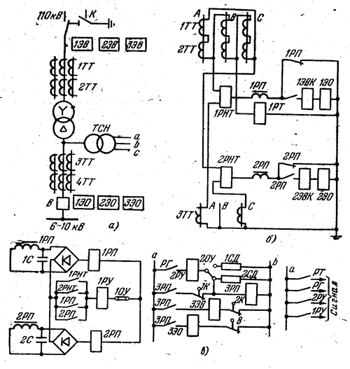
На рис. 7 представлена схема защиты трансформатора отпаечной подстанции. Оба контакта газовой защиты (как сигнальный, так и отключающий) питаются от трансформатора собственных нужд ТСН (рис. 7, а). Это допустимо, поскольку имеется дифференциальная защита, которая, являясь основной, резервирует действие газовой защиты в случае отказа последней при повреждениях трансформатора, сопровождающихся значительным снижением напряжения на шинах собственных нужд. Резистор 2СД (рис. 7, в), подключенный параллельно обмотке реле; ЗРП (типа РП-26), "увеличивает ток в обмотке указательного реле 2РУ (типа РУ-21) для обеспечения более четкой его работы. Реле ЗРП, сработав, самоудерживается через размыкающий .вспомогательный контакт короткозамыкателя 1К.. Резистор 1СД необходим для работы 2РУ при переводе действия газовой защиты отключающим устройством 2ОУ на сигнал.
![]() |
Дифференциальная защита (1РНТ, 2РНТ) (рис. 7,б) выполнена на реле РНТ-363 (с насыщающимися трансформаторами) и действует на промежуточные выходные реле 1РП и 2РП
Рис. 7. Схема защиты трансформатора отпаечной подстанции, имеющего встроенные трансформаторы тока.
(типа РП-341). Пуск реле РП-341 осуществляется замыкающими контактами реле 1РНТ, 2РНТ. Мощные контакты реле 1РП и 2РП, переключаясь, подключают трансформаторы тока к электромагнитам включения короткозамыкателя 1ЭВК, 2ЭВК. и электромагнитам отключения 1ЭО и 2ЭО выключателя стороны низшего напряжения трансформатора. При подключении электромагнитов возрастает нагрузка на питающие их трансформаторы тока. Для предотвращения возврата пускового реле из-за увеличения нагрузки в токовых цепях контакты реле 1РП и 2РП подключены параллельно контактам пусковых реле защиты. Таким образом, реле РП-341 самоудерживается за счет тока, проходящего по его обмотке, независимо от положения контактов пусковых реле. Чтобы обеспечить надежную работу электромагнита, его ток срабатывания должен быть не более 0,8 тока срабатывания действующей на него защиты. Поскольку чувствительность основных токовых защит должна быть не менее 1,5, то при минимальном токе к. з., при котором она обеспечивается, чувствительность электромагнита будет не менее 1,5/0,8 » 2. Соблюдение этого условия важно, потому что при малых токах, близких к току срабатывания, электромагнит работает замедленно и защита питающей линии может сработать раньше, чем сработает электромагнит короткозамыкателя. Это в свою очередь приведет к неуспешному АПВ выключателя линии.
ОСОБЕННОСТИ АПВ ТРАНСФОРМАТОРОВ
На однотрансформаторной подстанции АПВ трансформатора является обязательным. Осуществление на" двухтрансформаторной подстанции АПВ трансформаторов рекомендуется, если при отключении одного трансформатора оставшийся в работе трансформатор не может обеспечить питание нагрузки без отключения части, потребителей.
Запрет АПВ. при повреждении внутри бака трансформатора осуществляется с помощью сигнального контакта газового реле.
Для осуществления АПВ трансформатора используются те же устройства, что и для АПВ линии. При этом АПВ должно действовать с выдержкой времени для исключения его срабатывания при внутренних к. з., сопровождающихся бурным газообразованием, когда отключающий контакт газового реле замыкается раньше, чем сигнальный.
АВТОМАТИЧЕСКОЕ ВКЛЮЧЕНИЕ РЕЗЕРВНОГО ИСТОЧНИКА ПИТАНИЯ ПРИ ОТКЛЮЧЕНИИ ТРАНСФОРМАТОРА
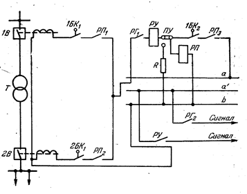
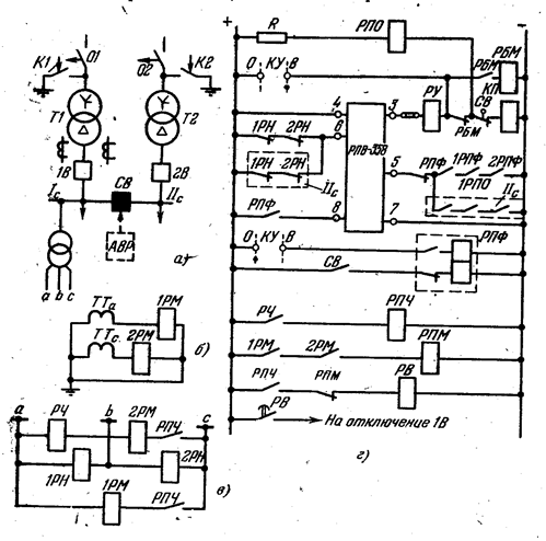
На подстанциях широкое распространение получили устройства автоматического включения секционного выключателя С В при исчезновении питания на одной из секций шин низшего напряжения.
Схема АВР СВ, выполненная с помощью реле РПВ-358, представлена на рис. 8. Пуск АВР осуществляется при соблюдении следующих условий: несоответствие положения ключа управления (фиксируемого с помощью реле 1РПФ, обмотки которого не показаны
![]() |
Рис. 8. Схема АВР СВ с устройством выявления потери питания и проверкой значения встречного напряжения.
на рис. 8,г) и выключателя 1В (рис. 8, а) (фиксируемого с помощью реле РПО, срабатывающего при отключении выключателя). При этом подается «минус» на зажим 5 комплектного устройства РПВ-358 и происходит срабатывание АВР. Действие АВР контролируется замыкающим контактом реле 2РПФ, который замыкается в случае срабатывания защиты от внутренних повреждений в трансформаторе или защиты от потери питания.
Аналогичная цепь пуска АВР предусмотрена на рис. 8, г и при отключении трансформатора Т2, питающего вторую секцию подстанции IIс-(рис. 8, а). Цепь пуска АВР контролируется также размыкающим контактом РПФ, который замкнут при отключенном СВ.
Двухпозиционное реле РПФ срабатывает и переключает свои контакты при отключении СВ ключом управления КУ (фиксируя тем самым отключенное положение выключателя) и при включении выключателя по любой причине от контактов электромагнита включения СВ (фиксируя включенное положение выключателя).
В рассматриваемой схеме АВР предусмотрен также - контроль отсутствия напряжения на резервируемой секции шин, который осуществляется последовательно включенными размыкающими контактами реле минимального напряжения 1РН и 2РН, подающими «плюс» на зажим 6 комплектного устройства РПВ-358. Контроль отсутствия напряжения необходим для предотвращения несинхронного включения резервного источника питания на остаточное напряжение тормозящихся крупных синхронных . или асинхронных двигателей. Затухание э. д. с. синхронного электродвигателя при неотключенном возбуждении будет происходить по мере уменьшения частоты вращения, а при гашении поля -- по мере уменьшения тока в обмотке возбуждения.
Пуск АВР при исчезновении напряжения, на секциях шин, когда выключатель питающего трансформатора останется включенным, с помощью минимальных реле напряжения может оказаться неэффективным, поскольку синхронные двигатели и конденсаторные батареи могут длительно поддерживать остаточное напряжение на шинах, потерявших питание. Поэтому в рассматриваемой схеме пусковой орган АВР дополнен устройством, реагирующим на снижение частоты и изменение направления активной мощности. Этот пусковой орган срабатывает при снижений частоты, если активная мощность через питающую линию или трансформатор стала равной нулю или изменила направление.
Устройство состоит из реле частоты РЧ (рис. 8, в), промежуточных реле РПЧ и РПМ, реле направления мощности 1РМ, 2РМ (рис. 8,б) и реле времени РВ.
К реле мощности подводятся линейное напряжение и ток отстающей фазы: Ubc и —Iс ; Uca и —Ia . При таком включении и внутреннем угле, равном 30°, реле имеет положительный момент при направлении активной мощности к шинам и отрицательный — при направлении активной мощности от шин; реле подключается таким образом, чтобы при направлении мощности к потребителю контакты его были замкнуты. Необходимость двух реле направления мощности объясняется тем, что при двухфазном к. з. за трансформатором одно из реле может сработать 'неправильно. Уставка срабатывания по частоте реле РЧ принимается равной 48—48,5 Гц. Для облегчения работы контактов реле направления мощности и уменьшения нагрузки на трансформатор напряжения напряжение на обмотки реле мощности подается после снижения частоты. Если срабатывание реле частоты будет обусловлено снижением частоты в энергосистеме, контакты РЧ замкнутся, сработает реле РПЧ, а реле времени (с уставкой 0,3—0,5 с) не сработает, так как контакты реле РПМ останутся разомкнутыми (мощность направлена к шинам, и контакты 1РМ и 2РМ замкнуты).
Если срабатывание реле РЧ произойдет вследствие затухания напряжения на шинах подстанции при потере питания, контакты реле направления мощности останутся разомкнутыми и реле времени сработает.
Запрет АВР осуществляется подачей «плюса» на зажим 8 от замыкающего контакта РПФ, который замкнут при включенном СВ.
Важно отметить, что" устройство АВР СВ должно работать только при потере питания (отключении питающей линии) и при внутренних повреждениях трансформатора. В остальных случаях отключения выключателя на низшей стороне трансформатора (от токовых защит) должно работать АПВ шин низшего напряжения путем повторного включения основного источника (трансформатора). Такое разграничение действия устройств АПВ и АВР СВ вызвано тем, что при включении секционного выключателя на к. з. имеется опасность отключения второго трансформатора и полного обесточения потребителя (при отказе защиты секционного выключателя или неисправности самого выключателя). Для реализации указанного сочетания действия устройств АПВ и АВР СВ в схемах защиты трансформатора устанавливается специальное реле 2РПФ, запоминающее работу защит от внутренних повреждений и потери питания.
В отдельных случаях запрещается работа устройства АВР при наличии замыкания на землю в резервируемой или резервирующей сети из-за опасения повышенной вероятности перекрытия другой фазы вследствие коммутационных перенапряжений в момент включения СВ. При этом может возникнуть двойное замыкание на землю - одно на резервирующей части сети, другое — на резервируемой. Действие АВР должно также запрещаться, если основной источник питания будет отключен от АЧР.
АВТОМАТИЧЕСКОЕ РЕГУЛИРОВАНИЕ КОЭФФИЦИЕНТА ТРАНСФОРМАЦИИ (АРКТ)
С целью поддержания требуемого уровня напряжения широко распространено регулирование напряжения Uп у потребителей (рис. 9) путем изменения коэффици-
![]() |
Рис. 9. Поясняющая схема (а) и характеристика изменения напряжения у потребителя при наличии АРКТ (б).
ента трансформации трансформаторов понижающих подстанций, питающих распределительную сеть. Для изменения коэффициента трансформации под нагрузкой трансформаторы оборудуются устройствами РПН (переключение отпаек под нагрузкой). Автоматическое изменение nт осуществляется специальным регулятором АРКТ, воздействующим на РПН.
В общем случае электрическая сеть, получающая питание от шин подстанции, может быть разветвленной и питать значительное количество нагрузок. При этом наиболее выгодно поддерживать неизменным напряжение в некоторой контролируемой точке, представив разветвленную сеть в виде эквивалентной линий с одной нагрузкой на конце. Поскольку значение напряжения Uп при данном напряжений на шинах Uш зависит от падения напряжения в эквивалентной линии (Uп = Uш – Zэ,л Iп ) , то напряжение Uш должно быть тем больше, чем больше нагрузка потребителя. Такое регулирование напряжения получило названий встречного регулирования.
Неизменность напряжения в контролируемой точке сети при различных режимах нагрузки может быть обеспечена, если смоделировать на входе измерительного органа АРКТ напряжения, существующие в регулируемой цепи. Для этого к нему необходимо подвести напряжение
Uп = Uш – sIп
Измерительный орган АРКТ является регулятором по отклонению напряжения от заданного значения UКОНТР , пропорционального напряжению в контролируемой точке. Если sIп будет равно падению напряжения в эквивалентной линии Zэ,л (от шин подстанции до контролируемой точки), т, е. sIп = Zэ,л Iп , то при наличии АРКТ напряжение у потребителя (в контролируемой точке) будет соответствовать заданному значению. Из сказанного следует необходимость ввести в измерительный орган напряжения АРКТ сигнал, пропорциональный току нагрузки. Целесообразно использовать суммарный ток нагрузки, поскольку при различных графиках изменения нагрузок потребителей регулирование по суммарному току более точно отвечает необходимому закону регулирования.
Измерительный орган подключается к трансформатору напряжения ТН и трансформаторам тока ТТ (рис. 9, а).
При отключении выключателя В (рис. 9, а) АРКТ необходимо вывести из работы, что производится вспомогательным контактом В путем отсоединения выхода АРКТ от приводного механизма ПМ устройства РПН. *
На двухтрансформаторных подстанциях, работающих с отключенным СВ, АРКТ устанавливается на каждом трансформаторе. При отключении одного из трансформаторов и включении секционного . выключателя следует убедиться (у АРКТ остающегося в работе трансформатора) в правильности поддержания напряжения при встречном регулировании и при необходимости изменить значение s.
Особенностями АРКТ являются релейность действия, наличие зоны нечувствительности Uнч выбираемой большей, чем ступень изменения напряжения DUст при переключении одной отпайки:
Uнч = (1.25¸1.3) DUст
Переключение отпаек необходимо производить с выдержкой времени, обеспечивающей отстройку от кратковременных колебаний напряжения (например, при пуске электродвигателей). Поэтом при выходе напряжения у потребителя из зоны нечувствительности регулятора (рис. 9, б) АРКТ через время tср = 1¸2 мин воздействует на РПН.
СПИСОК ЛИТЕРАТУРЫ
1. Кривенко В.В., Новелла В.Н. «Релейная защита и автоматика систем электроснабжения» М., «Энергоиздат», 1981
2. Крюков В.И. «Обслуживание и ремонт электрооборудования подстанций и распределительных устройств», М., «Высшая школа», 1983
Похожие рефераты:
Проект новой подстанции для обеспечения электроэнергией нефтеперерабатывающего завода
Реконструкция подстанции "Гежская" 110/6 кВ
Проектирование электрической части ТЭЦ 180 МВт
Электроснабжение текстильного комбината
Модернизация релейной защиты на тяговой подстанции Улан-Удэ на базе микропроцессорной техники
Реконструкция системы электроснабжения жилого микрорайона города
Проектирование электрической тяговой подстанции постоянного тока
Электрооборудование свинарника на 1200 голов СПК "Холопеничи"









