| Похожие рефераты | Скачать .docx |
Курсовая работа: Привод к скребковому конвееру
Содержание
Введение
1. Кинематический расчет и выбор электродвигателя
2. Расчет механических передач
3. Проектировочный расчет валов
4. Эскизная компоновка
5. Подбор и проверочный расчет шпонок
6. Расчет элементов корпуса
7. Подбор и расчет муфты
8. Расчетные схемы валов
9. Подбор подшипников качения
10. Проверочный расчет валов на выносливость
11. Выбор типа смазывания
12. Выбор посадок
13. Технико-экономическое обоснование конструкций
14. Сборка редуктора
Список литературы
Введение
Цель проекта – проектирование привода к скребковому конвейеру. Приводная установка включает: двигатель, клиноременную передачу, упругую муфту с торообразной оболочкой, ЦР с шевронными зубьями. Вращательное движение от электродвигателя по средствам ременной передачи сообщается ведущему валу редуктора, а затем через цилиндрическую передачу с шевронным зубом – на выходной вал редуктора. Далее через муфту передается на вал скребкового конвейера.
Редуктор – механизм представляющий совокупность зубчатых или червячных передач помещенных в корпус, который являются для них масляной ванной. Назначение редуктора – понижение угловых скоростей ведомых звеньев с одновременным повышением вращающих моментов.
Муфта – устройство предназначенное для соединения валов между собой или валов с посаженными на них деталями и передачи вращающего момента без изменения величины и направления.
Конвейер – транспортирующие устройство для перемещения грузов.

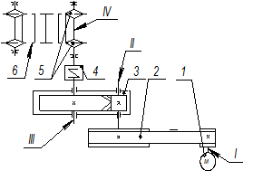
Привод к скребковому конвейеру
1 – двигатель; 2 – клиноременная передача; 3 – цилиндрический редуктор; 4 – упругая муфта с торообразной формой; 5 – ведущие звездочки конвейера; 6 – тяговая цепь. I, II, III, IV – валы, соответственно, - двигателя, быстроходный и тихоходный редуктора, рабочей машины
Таблица 1 – Исходные данные
| Исходные данные | Вариант № 6 |
Тяговая сила цепи F,кН Скорость тяговой цепи ט, м/с Шаг тяговой цепи Р, мм Число зубьев звездочки z Допускаемое отклонение скорости тяговой цепи δ, % Срок службы привода L, лет |
3,5 0,60 80 7 5 4 |
1. Кинематический расчет и выбор электродвигателя
Мощность на выходном валу привода
Р4 = Ft υ (1.1)
Р4 = 3,5· 0,6 = 2,1 кВт
Общий КПД привода
η=η1 ·η2 ·η3 ·η4 3 (1.2)
где, η1 = 0,97 – КПД ременной передачи;
η2 = 0,98 – КПД зубчатой передачи;
η3 = 0,98 – КПД муфты;
η4 = 0,99 – КПД одной пары подшипников качения.
[1; с. 42]
Следовательно
η = 0,97·0,98·0,98·0,993 = 0,904
Требуемая мощность электродвигателя
Рдв тр =Р4 /η (1.3)
Рдв тр = 2,1 /0,904=2,32 кВт
По таблице 24.9 [2; с. 417] принимаем асинхронный электродвигатель АИР 112МА6, имеющий мощность Рном = 3 кВт, и частоту вращения n дв = 950 мин-1
Частота вращения выходного вала привода
n4 =60·103 ·υ/Р·z (1.4)
n4 =60·103 ·0,6/80·7=64,28 мин -1
Общее передаточное число привода
u= n1 / n4 (1.5)
где n1 = n дв = 950 мин-1
u =950/64,28=14,78
Передаточные числа двух степеней привода
Так как u= u1 · u2 ,то приняв стандартное значение передаточного числа редуктора u2 =4, получим передаточное число ременной передачи
u1 = u/ u2 (1.6)
u1 = 14,78 /4 = 3,69
Частота вращения валов привода
n1 = 950 мин-1 ; (1.7)
n2 = n1 / u1 =950/3,69=257,1 мин-1 ;
n3 = n2 / u2 = 257,1 / 4 =64,28 мин-1 ;
n4 = n3 =64,28 мин-1
Угловая скорость вращения валов привода
ω1 =π n1 /30 = π·950/30=99,4 рад/с ; (1.8)
ω2 = ω1 / u1 =99,4/3,69=26,9 рад/с ;
ω3 = ω2 / u2 =26,9 /4=6,73 рад/с ;
ω4 = ω3 =6,73 рад/с
Проверка: ω4 = π n4 /30=π·64,28/30=6,73 рад/с
Мощность на валах привода
Р1 = Рдв тр =2,32 кВт;
Р2 = Р1 · η1 · η4 =2,32·0,97·0,99=2,23 кВт;
Р3 = Р2 · η2 · η4 =2,16·0,98·0,99=2,16 кВт;
Р4 = Р3 · η3 · η4 =2,16·0,98·0,99=2,1 кВт
Вращающие моменты на валах привода
Т = 9550Р/n (1.9)
Т1 =9550 Р1 / n1 =9550·2,32/950=23,35 Нм;
Т2 =9550 Р2 / n2 =9550·2,23 /257,1=82,9 Нм;
Т3 =9550 Р3 / n3 =9550·2,16 /64,28= 321,7 Нм;
Т4 =9550 Р4 / n4 =9550·2,1/64,28=312,0 Нм
Проверка: Т4 = Т1 ·u· η =23,35·14,78·0,904=312,0 Нм
Результаты расчетов сводим в таблицу 1
Таблица 1 – Кинематические и силовые параметры привода
| № вала | n , мин-1 | ω , рад/с | Р , кВт | Т , Нм | u = 14,78 |
| I | 950 | 99,4 | 2,32 | 23,35 | u1 =3,69 |
| II | 257,1 | 26,9 | 2,23 | 82,9 | |
| III | 64,28 | 6,73 | 2,16 | 321,7 | u2 =4 |
| IV | 64,28 | 6,73 | 2,1 | 312,0 | _ |
2. Расчет механических передач
Расчет цилиндрической передачи с шевронным зубом
Выбор материала
Для изготовления шестерни и колеса принимаем наиболее распространенную сталь 45 с термообработкой-улучшение. По таблице 9.2 [3,с.170]выбираем: для шестерни твердость 269…302 НВ, σТ =650 МПа, при предполагаемом диаметре заготовки шестерни D≤650 мм; для колеса твердость 235..262 НВ2, σТ =540 МПа, при предполагаемой ширине заготовки колеса S≤80 мм. Из табличных данных выбираем примерно среднее значение твердости как наиболее вероятное. Принимаем: твердость шестерни 280 НВ1 ; колеса – 260 НВ2 . При этом НВ1 –НВ2 =280-250=40 – условие соблюдается.
Допускаемые контактные напряжения
σНР =σНО ·zН ·0,9/SН (2.1)
где σно – предел контактной выносливости;
σНО =2НВ+70 (2.2)
σНО1 =2НВ1 +70=2·280+70=630 МПа;
σНО2 =2НВ2 +70=2·250+70=570 МПа;
zН =1- коэффициент долговечности (для длительных рабочих передач)
SН =1,1 – коэффициент запаса прочности для улучшенных колёс,[3; с. 187]
σНР1 =630·1·0,9/1,1=516 МПа
σНР2 =570·1·0,9/1,1=466 МПа
σНР =0,45(σнр1 + σнр2 )≥ σнр min (2.3)
σНР =0,45(516+466) = 442 МПа – условие не выполняется
Принимаем σНР =466 МПа
Допускаемые напряжения изгиба
σF Р =σF О ·ΥN / SF (2.4)
где σF О - предел изгибной выносливости соответствующий базовому числу циклов напряжений
σF О =1,8НВ (2.5)
σF О1 = 1,8НВ1 =1,8·280=504 МПа;
σF О2 = 1,8НВ2 =1,8·250=450 МПа;
ΥN =1 – коэффициент долговечности [3; с.194];
SF =1,75 – коэффициент запаса прочности [3; с.194];
σF Р1 =504·1/1,75=288 МПа;
σF Р2 =450·1/1,75=257 Мпа
Расчетные коэффициенты
Ψba =0,4 [3; с.191];
КНβ =1, по таблице 9.45 [3; с.192]
Межосевое расстояние передачи
(2.6)

Принимаем стандартное значение αW =140 мм [3; с.171]
Ширина зубчатого венца
b2 = Ψba · αW (2.7)
b2 =0,4·140=56 мм
Нормальный модуль зубьев
mn = (0,01…0,02) αW (2.8)
mn = (0,01…0,02) 140 = 1,2…2,8 мм
Принимаем стандартное значение mn = 2 мм [3; с.157]
Принимаем минимальный угол наклона зубьев βmin =25º и определяем суммарное число зубьев
z∑ = (2 αW · cosβmin )/ mn (2.9)
z∑ = (2·140· cos25º)2=126,2
Принимаем z∑ = 126
Фактический угол наклона зубьев
cosβ= mn z∑ /2 αW (2.10)
cosβ=2·126/2·140=0,9;β=25º49´
Число зубьев шестерни и колеса
z1 = z∑ /(u+1) (2.11)
z1 =126/(4+1)=25
z2 = z∑ - z1
z2 =126-25=101
Фактическое передаточное число
uф = z2 / z1 (2.12)
uф =101/25=4,04;∆u=(u - uф )/u·100%≤4%
∆u=(4-4,04)/4·100%=1%≤4%
Основные геометрические размеры передачи
d= mn z/ cosβ (2.13)
d1 =2·25/cos25º49´=56мм;
d2 =2·68/ cos25º49´=224мм
Уточняем межосевое расстояние
αW =( d1 + d2 )/2 =140 мм (2.14)
Диаметры окружностей вершин зубьев шестерни и колеса:
dа =d + 2 mn (2.15)
dа1 =56+2·2=60мм;
dа2 =224+2·2=228мм
Ширина зубчатых колес с учетом дорожки α для выхода червячной фрезы, при mn =2мм
α=14 mn (2.16)
α=14·2=28 мм
b´=b+α=56+28=89 мм
Окружная скорость колес и степень точности передачи
υ=π· d1 · n1 /60 (2.17)
υ=π·56·10-3 /60=0,76 м/с
по таблице 9.1 [3;с.163] принимаем 8-ю степень точности
Силы в зацеплении
Ft =2T2 /d2 – окружная (2.18)
Ft =2·321,7·103 /224= 2872 Н
Fr = Ft tq20º/cosβ – радиальная (2.19)
Fr =2872·tq20º/ cos25º49´=1158 Н
Уточняем значение коэффициентов
Ψd =b2 /d1 (2.20)
Ψd =56/56=1
При этом КНВ =1, по таблице 9.5 [3;с.192]
Принимаем коэффициенты
Кнυ =1,1, по таблице 9.6 [3;с.193] ;
Кна =1,12, по таблице 9.6 [3;с.193]
Расчетное контактное напряжение
σн =266/ αW uф √Т2 Кна Кнβ Кна (uф +1)3 (2.21)
σн =266/140·4,04√321,7·103 ·1·1,1·1,12(4+1)3 =447 МПа
Н=466-447/466·100%=4%,что допустимо
Проверочный расчет зубьев на изгиб. Этот расчет выполняется по зубьям шестерни. Это объясняется тем, что материал шестерни и колеса одинаков, но толщина зубьев шестерни у основания ножки меньше, чем у зубьев колеса, поэтому и прочность их ниже по сравнению с прочностью зубьев колеса.
Эквивалентное число зубьев шестерни
zV 1 = z1 / cos3 β (2.22)
zV1 =25/ cos 3 25º49´=34,5
zV = 101/ cos 3 25º49´=138,5
Коэффициент формы зуба
ΥF 1 =3,9; ΥF 1 =3,6 [3;с.185]
Принимаем коэффициенты
КFB =1,3
KFυ =1,2 KFα =0,91
ΥВ =1- βº/140º=1-25º49´/140=0,818 [3;с.192]
Расчетное напряжение изгиба
σF 2 = ΥF 1 ΥВ Ft / b2 mn KFα KFυ КFB (2.24)
σF 2 =3,9·0,818·2872/56·2·0,91·1,3·1,2=116 МПа
σF 1 = σF 2 ΥF 1 / ΥF 2 =116·3,9/3,6=126 МПа (2.25)
σF 1 =116·3,9/3,6=126 МПа
Результаты расчетов сводим в таблицу 2
Таблица 2 – Параметры зубчатой цилиндрической передачи,мм
| Проектный расчет | |||
| Параметр | Значение | Параметр | Значение |
| Межосевое расстояние αW | 140 | Угол наклона зубьев β | 25º49´ |
| Модуль зацепления mn | 2 | Диаметр делительной окружности шестерни d1 колеса d2 |
56 224 |
Ширина зубчатого венца: шестерни b1 колеса b2 |
60 56 |
||
Число зубьев шестерни z1 колеса z2 |
25 101 |
Диаметр окружностей вершин шестерни dа1 колеса dа2 |
60 228 |
| Вид зубьев | шевронный зуб | Диаметр окружности вершин шестерни df 1 колеса df 2 |
51 223 |
| Проверочный расчет | |||
| Параметр | Допускаемое значение | Расчетное значение | Примечание |
| Контактное напряжение σ | 466 МПа | 447 МПа | Контактная выносливость обеспечена |
Напряжения изгиба σF О1 σF О2 |
504 МПа | 126 МПа | Изгибная выносливость зубьев обеспечена |
| 450 МПа | 116 МПа | ||
Расчет клиноременной передачи
Выбор типа сечения ремня
По номограмме [1;с.123] принимаем сечение клинового ремня А нормального сечения
Определяем диаметра ведомого шкива d2
d2 = d1 u( 1-ε ) (2.26)
где, ε=0,015- коэффициент скольжения [1;с.81]
d1 =100 мм [1;с.89]
d2 =100·3,69(1- 0,015)=363,46 мм
Принимаем d2 =355, по таблице К40 [1;с.449]
Уточняем фактическое передаточное число uф
uф = d2 / d1 ( 1-ε ) (2.27)
uф =355/100(1-0,015)=3,6
∆u= uф – u/ u·100%=3,6 – 3,69/ 3,69·100% =2,4 %≤3%
Определяем межосевое расстояние α, мм
α≥0,55(d1 + d2 ) +h(H) (2.28)
где, h(H)=8 – высота сечения клинового ремня по таблице К31 [1;с.440]
α≥0,55(100+355)+8=258,25
Определяем расчетную длину ремня LР
L=2α+π/2(d1 + d2 )+(d2 – d1 )2 /4 α (2.29)
L=2·258+3,14/2(100+355)+(355-100) 2 /4·258=1293 мм
Принимаем L=1250 мм, по таблице К31[1;с.440]
Уточняем значение межосевого расстояния
α=1/8[2L-π (d2 +d1 )+√[ 2L-π (d2 +d1 )]2 -8(d2 – d1 ) 2 ] (2.30)
α=1/8[2·1250 – 3,14(355+100)+√[2·1250-3,14(355+100)] 2 -8(355-100) 2 ]=354 мм
При монтаже передачи необходимо обеспечить возможность уменьшения межосевого расстояния на 0,01 L=0,01·1250=12,5 мм для обеспечения надевания ремней на шкивы и возможность увеличения его на 0,025 L=0,025·1250=31,25 мм для увеличения натяжения ремней.
Определяем угол обхвата ремней ведущего шкива
α1 = 180º - 57º (d2 – d1) /α (2.31)
α1 = 180º- 57º (355- 100)354 - 57º =127º>120º
Определяем частоту пробегов ремня
U=u/L
U=4,97/1250=0,004 с -1 (2.32)
Определяем скорость ремня υ,м/с
υ=πd1 n1 /60·103 (2.33)
υ=3,14·100·950/60·103 =4,97≤25 м/с
Определяем допускаемую мощность
Р=Ро СР Сα С1 Сz (2.34)
где, Ро =0,67 кВт – допускаемая приведенная мощность, по таблице 5.2 [1;с.89]
СР =1 – коэффициент динамической нагрузки;
Сα =0,95 – коэффициент угла обхвата;
Сυ =1,04 – коэффициент влияния от натяжения от центробежных сил;
Сz=0,9 – коэффициент числа ремней в комплекте
С1 =1 – коэффициент влияния отношения L/l[1;с.82]
Р=0,67·1·0,95·1,04·0,9=0,52 кВт
Определяем количество клиновых ремней
z=Рном /Р (2.35)
z=2,32/0,52=4,46 кВт
Принимаем z=4
Определяем силу предварительно натяжения ремня
Fo =850 Рном С1 / zυ Сα СР (2.36)
Fo =850·2,32·1,04/4·0,95·1·4,97=109 Н
Определяем окружную силу
Ft = Рном 103 /υ
Ft = 2,32·103 /4,97=466 Н (2.37)
Определяем силы натяжения ведущей F1 и ведомой F2 ветвей
F1 = Fo + Ft /2z (2.38)
F1 =109+466/2·4=167 Н
Определяем силу давления ремней на вал
Fon =2 Fo z·sin α1 /2 (2.39)
Fon =2·109·4· sin127º/2=780 Н
Результаты расчета сводим в таблицу 3
Таблица 3 – Параметры клиноременной передачи,мм
| Параметр | Значение | Параметр | Значение |
| Тип ремня | клиновой | Частота прбегов в ремне U | 0,004 с-1 |
| Сечение ремня | А | Диаметр ведущего шкива d1 | 100 |
| Количество ремней z | 4 | Диаметр ведомого шкива d2 | 355 |
| Межосевое расстояние α | 354 | Максимальное напряжение σmax | 10 МПа |
| Длина ремня L | 1250 | Предварительное натяжение ремня Fo | 109 Н |
| Угол обхвата малого шкива α1 | 127º |
Сила давления ремня на вал Fon | 780 Н |
3. Предварительный расчет валов редуктора
Предварительный расчет валов редуктора ставит целью определить ориентировочно геометрические размеры каждой ступени вала : ее диаметр и длину. Ведущий вал
(3.1)
=27,4 мм
где Т2 =82,9 Нм, вращающий момент на валу
τ adm = 30 МПа
Принимаем диаметр выходного конца вала dв1 =30 мм
Диаметр вала под подшипники принимаем dп1 =35 мм

Рисунок 1 – Конструкция ведущего вала
вал ведомый

где Т3 =321,7 Нм, вращающий момент на валу
τ adm = 30 МПа

Принимаем dв2 =40 мм
Диаметр вала под подшипники принимаем dв2 =45 мм
Диаметр под зубчатое колесо dк2 =50 мм
Диаметр буртика d2 =55 мм

Рисунок 2 – Конструкция ведомого вала
электродвигатель шпонка подшипник вал
Конструктивные размеры шестерни и колеса
Шестерня выполняется за одно целое с валом
d1 =56 мм
dа1 =60 мм
df 1 =51 мм
b1 =60 мм
Колесо кованное
d2 =224 мм
dа2 =228 мм
b2 =56 мм
Диаметр ступицы
dст =1,6 dк2
dст =1,6·50=80 мм
Длина ступицы
Lст =(1,2…1,5) dк2
Lст =(1,2…1,5)50=60..75 (3.2)
Принимаем Lст =70 мм
Толщина обода
δ=(2,5…4) mn (3.3)
δ=(2,5…4)2=5…8 мм
Принимаем δ=8 мм
Толщина диска (3.4)
С=0,3 b2
С=0,3·56=16,8
Принимаем С=18 мм
4. Эскизная компоновка
Компоновку проводят в2 этапа.1-ый этап служит для приближенного определения положения зубчатых колес и звездочки относительно опор для последующего определения опорных реакций и подбора подшипников.
Примерно посередине листа параллельно его длиной стороне проводим горизонтальную осевую линию, затем 2 вертикальные линии – оси валов на расстоянии αW =140 мм.
Вычерчиваем упрощенно шестерню и колесо в виде прямоугольников, шестерня выполнена за одно целое с валом, длина ступицы колеса равна ширине венца и не выступает за пределы прямоугольника.
Очерчиваем внутреннюю стенку корпуса. Принимаем зазор между торцом шестерни и внутренней стенкой корпуса А1 = 1,2 δ . Принимаем зазор окружности вершин зубьев колеса до внутренней стенки корпуса А = δ . Назначаем радиальные шарикоподшипники легкой серии.
Таблица – 4 Шарикоподшипники радиальные однорядные, мм ГОСТ 8338-75
| УО подшипников | d | D | В | Грузоподъемность,кН | |
| Сo | Сor | ||||
| 207 | 35 | 72 | 17 | 22,5 | 13,7 |
| 209 | 45 | 85 | 19 | 32,2 | 18,6 |
5. Подбор и проверочный расчет шпонок
Для соединения вала с деталями передающих вращение, кручение принимаем призматические шпонки из стали имеющие σв ≥600 МПа – сталь 45, по таблице 8.9 [4;с.171].Длину шпонки назначаем из стандартного ряда, так чтобы она была несколько меньше длины ступени.
Таблица5 – Шпонки призматические, мм ГОСТ 23360-78
| Диаметр вала,d | Сечение вала
|
Глубина паза вала t1 | Глубина паза втулки t1 |
Фаска
|
| 30 | 5 | 3,3 | 0,25 –0,40 | |
| 50 | 5 | 3,3 | 0,25 –0,40 | |
| 40 | 5 | 3,3 | 0,25 –0,40 |
Вал ведущий, d=30 мм
Расчетная длина шпонки
![]()
![]()
![]()
Принимаем L=30 мм
Напряжение смятия

Вал ведомый
Для ступени вала под колеса при ![]()
![]()

Принимаем L=55 мм
Напряжение смятия
![]()
Для ступени вала под муфту при ![]()
![]()

Принимаем L=60 мм
![]()
6. Расчёт элементов корпуса
Толщина стенок корпуса и крышки
δ=0,025 а+1 (6.1)
δ=0,025·140+1=2,5 мм
Принимаем δ=8мм
δ1 =0,02 а+1
δ1 =0,02·140+1=3,8 мм (6.2)
Принимаем δ1 =8мм
Толщина фланцев поясов корпуса и крышки для верхнего пояса
L1 =1,5 δ1 (6.3)
L1 =1,5·8=12мм
Для нижнего пояса крышки
L=1,5 δ (6.4)
L=1,5·8=12мм
р=2,35 δ (6.5)
р=2,35·8=19мм
принимаем р=20мм
Толщина ребер основания корпуса
m=(0,85…1) δ (6.6)
m=(0,85…1) 8=6,8…8
принимаем m=7мм
Диаметр болтов фундаментных
d1 =(0,03…0,036) а+12 (6.7)
d1 =(0,03…0,036) ·140+12=16,2…17мм
Принимаем болты с резьбой М16
Крепящую крышку к корпусу у подшипников
d2 =(0,07…0,75) d1 (6.8)
d2 =(0,07…0,75) 16=11,2…12мм
Принимаем болты с резьбой М12
Соединяющие крышку с корпусом
d3 =(0,5…0,6) d1 (6.9)
d3 =(0,5…0,6) 16=8…9,6
Принимаем болты с резьбой М8
Размер определяющей положение болтов d2
е=(1…1,2) d2 (6.10)
е=(1…1,2) 12=12…14,4
q≥0,5 d2 + d3 (6.11)
q≥0,5·12+8=14
7. Подбор и расчёт муфты
Выбираем муфту по ГОСТ 20884-82 – упругая муфта с торообразной оболочкой
Таблица 6 – Параметры муфты, мм
| Тadm | d вала | D муфты | L | L1 |
| 500 | 40 | 280 |
=2Т3
/(πD1
2
δ)≤ τadm
=0,5 МПа(7.1)
D1 =0,75 D(7.2)
D1 =0,75 ·280=210мм(7.3)
δ=0,05·D=0,05·280=14мм
=2·321,7·103
/(3,14·2102
·14)0,33 МПа≤τadm
=0,5МПа
8. Расчетные схемы ва
лов

Рисунок 3 – Схема нагружения валов
Вал ведущий
Исходные данные:
Т2 =82,9 Нм;
Ft 1 =2872 Н;
Fr 1 =1158 Н;
Fn 1 =780 H;

Рисунок 4 – Расчётная схема ведущего вала
Вертикальная плоскость
Реакция опор
∑МА =0; -Fn 1 ·0,031+ Fr 1 ·0,054-RBY ·0,108 =0;
∑МВ =0; -Fn 1 ·0,139-Fr 1 ·0,054+RА Y ·0,108 =0;
![]()
![]()
Проверка:
∑Fi =-Fn 1 +RА Y -Fr 1 +RBY =-780+355-1158+1583=0
Изгибающие моменты в сечениях вала
Строим эпюру Мх
Горизонтальная плоскость
Реакции опор
RАХ = RВХ =Ft 1 /2=2872/2=1436 Н
Изгибающие моменты в сечениях вала

Строим эпюру Му
Определяем суммарный изгибающий момент в сечении вала по формуле
(8.1)
![]()

Крутящий момент
Т=Т2 =82,9 Нм
Вал ведомый
Исходные данные
Т3 = 321,7Нм;
Ft 2 = Ft 1 =2872 Н;
Fr 2 = Fr 1 =1158 Н;
Рисунок 5 – Расчетная схема ведомого вала
Вертикальная плоскость
RDY = RCY =Fr 2 /2=1158/2=579
Изгибающие моменты в сечениях вала

Строим эпюру Му
Горизонтальная плоскость

Проверка:
![]()
Изгибающие моменты в сечениях вала

Определяем суммарный изгибающий момент в сечении вала

Крутящий момент
Т=Т3 =321,7 Нм
9. Подбор подшипников качения
Вал ведущий
Предварительно принимаем шарикоподшипники радиальные однорядные легкой серии 207 по ГОСТ 8338-7, Сr =20,1 кН; Со r =13,9кН
Определяем коэффициент влияния осевого нагружения
(9.1)
Принимаем коэффициенты по таблице 9.3 [1; с.133])
Х=0,56 - коэффициент радиальной нагрузки;
Y=1,31 - коэффициент осевой нагрузки;
е=0,34 - коэффициент осевого нагружения;
V=1 – коэффициент вращения
Определяем осевые составляющие радиальной нагрузки
(9.2)
![]()
![]()
![]()
![]()
(9.3)
![]()
(9.4)
Определяем эквивалентную нагрузку
(9.5)
(9.6)
где
- температурный коэффициент
- коэффициент безопасности
![]()
Определяем динамическую грузоподъемность
, (9.7)
где
,рад/с- угловая скорость на валу;
,ч- расчетная долговечность
,
Подшипник пригоден
Расчетная долговечность
![]()
![]()
Вал ведущий
Предварительно принимаем шарикоподшипники радиальные однорядные легкой серии 209 по ГОСТ 8338-7, Сr =2571 кН; Со r =18,9кН
Определяем коэффициент влияния осевого нагружения

Принимаем коэффициенты по таблице 9.3 [1; с.133])
Х=0,56 - коэффициент радиальной нагрузки;
Y=1,3 - коэффициент осевой нагрузки;
е=0,33 - коэффициент осевого нагружения;
V=1 – коэффициент вращения
Определяем осевые составляющие радиальной нагрузки

Определяем эквивалентную нагрузку
![]()
где
- температурный коэффициент
- коэффициент безопасности
![]()
Определяем динамическую грузоподъемность
,
где
,рад/с- угловая скорость на валу;
,ч- расчетная долговечность
,
Подшипник пригоден
Расчетная долговечность
![]()
![]()
10. Проверочный расчет валов на выносливость
Уточненные расчеты на сопротивление усталости отражают влияние разновидности цикла напряжений, статических и усталостных характеристик материалов, размеров, формы и состояние поверхности. Расчет выпоняют в форме проверки коэффициента Sзапаса прочности, минимально допустимое значение которого принимают в диапазоне [S] =1,5-2,5 в зависимости от ответственности конструкции и последствий разрушение вала, точности определения нагрузок и напряжений, уровня технологии изготовления и контроля.
Для каждого из установленных предположительно опасных сечений вычисляют коэффициент S:
(10.1)
где Sσ и Sτ – коэффициенты запаса по нормальным и касательным напряжением, определяемые по зависимостям
(10.2)
Здесь
и
– амплитуды напряжений цикла;
и
- средние напряжения цикла ;
и
- коэффициенты чувствительности к асимметрии цикла напряжений для рассматриваемого сечения.
В расчетах валов принимают, что нормальные напряжения изменяются по симметричному циклу:
и
, а касательные напряжения –по отнулевому циклу :
и ![]()
Тогда
(10.3)
Напряжение в опасных сечениях вычисляют по формулам
(10.4)
где
- результирующий изгибающий момент, Н·м; Мк
– крутящий момент ( Мк
= Т), Н·м; W и Wк
– моменты сопротивления сечения вала при изгибе и кручении, мм3
Пределы выносливости вала в рассматриваемом сечении:
(10.5)
где
и
- пределы выносливости гладких образцов при симметричном цикле изгиба и кручения (таблица 10.2 [2; с.163]);
и
- коэффициенты снижения предела выносливости.
Значения
и
вычисляют по зависимостям:
(10.6)
, (10.7)
где
и
- эффективные коэффициенты концентрации напряжений;
и
- коэффициенты влияния абсолютных размеров поперечного сечения (таблица 10.7 [2; с.170]);
и
- коэффициенты влияния качества поверхности (таблица 10.8 [2; с.170]);
- коэффициенты влияния поверхностного упрочнения (таблица 10.9 [2; с.170]);
Коэффициенты влияния асимметрии цикла для рассматриваемого сечения вала
, (10.8)
где
- коэффициент чувствительности материала к асимметрии цикла напряжений (таблица 10.2 [2; с.163]).
Вал ведомый. Сечение 2-2 – место установки зубчатого колеса на вал d=55мм; колесо посажено с натягом концентрат напряжений гарантирован натягом. Материал валов – сталь 45 ![]()
Напряжение в опасном сечениях

Пределы выносливости в рассматриваемом сечении
,
![]()

![]()
![]()
где

![]()

Коэффициенты запаса прочности по нормальным и касательным напряжениям


![]()
![]()
![]()
Коэффициент запаса прочности

11. Выбор типа смазывания
Смазывание зубчатого зацепления производится окунанием зубчатого колеса в масло, заливаемое внутрь корпуса до уровня, обеспечивающего погружение колеса примерно на 10 мм. Объем масляной ванны V из расчета 0,4… 0,8 л на 1 кВт передаваемой мощности: V=2,32·(0,4…0,8)=1,44…2,88 дм3
По таблице 10.21 [ 1.,с.255] устанавливаем вязкость масла. При контактных напряжениях σНР =466 МПа и скорости υ =0,76 м/с рекомендуемая вязкость масла должна быть примерно равно 34· 10-6 м2 /с. По таблице 10.21 [1.,с.255] принимаем сорт масла И-Г-А 32
(индустриальное- для гидравлических систем – масло без присадок – класс кинематической вязкости 32, по ГОСТ 17479.4-87).
Определение уровня масла.При окунании В масляную ванну колеса
m<hm <0,25d2 (11.1)
2< hm <0,25·224=56 мм
Камеры подшипников заполняем вручную смазочным материалом при снятой крышке подшипникового узла на несколько лет. Смену смазочного пластинчатого материала производят при ремонте. Принимаем смазочный пластинчатый материал УТ -1.
12. Выбор посадок
Посадки назначаем в соответствии с указаниями, данными в таблице 10.13 [ ]
Посадка зубчатого колеса на вал
Шейки валов под подшипники выполняем с отклонением вала . Отклонение отверстий в корпусе под наружные кольца
13. Технико-экономическое обоснование конструкции
Технический уровень целесообразно оценивать количественным параметром, отражающим соотношение затраченных средств и полученного результата. «Результатом» для редуктора является его нагрузочная способность, в качестве характеристики которой можно принять вращающий момент Т3 , на его тихоходном валу. Объективной мерой затраченных средств является масса редуктора m, кг в котором практически интегрирован весь процесс его проектирования .За критерий технического уровня можно принять относительную массу γ = m/Т3 .
Определение массы редуктора
m=φ ρ V·10 -9 (13.1)
где φ=0,41– коэффициент заполнения ; [ 1,с.277]
ρ=7,4·10 3 кг/м 3 - плотность чугуна;
V – условный объём редуктора
m=0,41·7,4·10 3 ·280·180·250·10 -9 =38,2 кг
Критерий технического уровня
γ = m/Т3 (13.2)
γ =38,2/321,7=0,11
Вывод: Технический уровень редуктора средний; в большинстве случаев производство экономически неоправданно.
14. Сборка редуктора
Перед сборкой внутреннюю полость корпуса редуктора тщательно очищают и покрывают маслостойкой краской.
Сборку производят в соответствии со сборочным чертежом редуктора, начиная с узлов валов:
на ведущий вал насаживают мазеудерживающие кольца и шарикоподшипники, предварительно нагретые в масле до 80 - 100˚С;
в ведомый вал закладывают шпонку и напрессовывают зубчатое колесо до упора в бурт вала; затем надевают распорную втулку, мазеудерживающие кольца и устанавливают шарикоподшипники, предварительно нагретые в масле.
Собранные валы укладывают в основание корпуса редуктора и надевают крышку корпуса, покрывая предварительно поверхности стыка крышки и корпуса спиртовым лаком. Для центровки устанавливают крышку на корпус с помощью двух конических штифтов; затягивают болты, крепящие крышку к корпусу.
После этого на ведомый вал надевают распорное кольцо, в подшипниковые камеры закладывают пластичную смазку, ставят крышки подшипников с комплектом металлических прокладок для регулировки.
Перед постановкой сквозных крышек в проточки закладывают войлочные уплотнения, пропитанные горячим маслом. Проверяют проворачиванием валов отсутствие заклинивания подшипников (валы должны проворачиваться от руки) и закрепляют крышки винтами.
Далее на конец ведомого вала в шпоночную канавку закладывают шпонку, устанавливают шкив и закрепляют ее торцовым креплением; винт торцового крепления стопорят специальной планкой.
Затем ввертывают пробку маслопускного отверстия с прокладкой и жезловый маслоуказатель.
Заливают в корпус масло и закрывают смотровое отверстие крышкой с прокладкой из технического картона; закрепляют крышку болтами.
Собранный редуктор обкатывают и подвергают испытанию на стенде по программе, устанавливаемой техническими условиями.
Список литературы
1. А.Е. Шейнблит «Курсовое проектирование деталей машин», Калининград, 1999
2. П.Ф. Дунаев «Конструирование деталей и узлов машин», Москва «Высшая школа»,2001
3. М.И. Фролов, «Техническая механика. Детали машин», Москва , «Высшая школа» 1990
4. С.А. Чернавский «Курсовое проектирование деталей машин»,Москва,машиностроение,1997
5. П.Ф. Дунаев, О.П. Леликов «Детали машин. Курсовое проектирование»Москва , «Высшая школа» 1984
Похожие рефераты:
Проектирование механического привода с цилиндрическим соосным редуктором
Расчет двухступенчатого редуктора
Проектирование привода пластинчатого конвейера
Одноступенчатый цилиндрический редуктор с цепной передачей
Разработка привода цепного транспортера
Расчет и проектирование привода лебедки
Проект привода цепного конвейера
Проектирование конического редуктора