| Скачать .docx |
Курсовая работа: Проект привода цепного конвейера
Содержание
Вступление
1. Кинетический и силовой расчёт привода
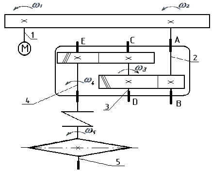
1.1 Кинематическая схема привода
1.2 Выбор двигателя
1.3 Общее передаточное число и разбиение его по степеням
1.4 Силовые и кинематические параметры привода
2. Расчет клиноременной передачи
2.1 Исходные данные для расчёта передачи
2.2 Механический расчет
3. Расчет цилиндрической 3.1. Кинематическая схема передачи и исходные данные для расчета
3.2 Выбор материала и определение допустимых напряжений
3.3 Определение геометрических параметров
3.4 Проверочный расчет передачи
3.5 Определение сил в зацеплении (см. рис. 3.3)
4. Расчёт цилиндрической косозубой передачи || ступени
4.1 Кинематическая схема передачи и исходные данные для расчета
4.2 Выбор материала и определение допустимых напряжений
4.3 Определение геометрических параметров
4.4 Проверочный расчет передачи
4.5 Определение сил в зацеплении (см. рис. 3.3)
5. Условный расчет валов
5.1 Определение диаметров входного валаредуктора
6. Определение конструктивных размеров зубчатых колес
6.1 Размеры зубчатых колес цилиндрической передачи I ступени
6.2 Размеры зубчатых колес цилиндрической передачи II ступени
6.3 Определяем размеры цилиндрического колеса (рис.6.1.)
6.4 Определение диаметров выходного вала
7. Конструктивные размеры корпуса и крышки редуктора
7.1 Определение конструктивных размеров корпуса и крышки редуктора, согласно табл. 4.2, 4.3, [1]
7.2 Размеры необходимые для черчения
8. Выбор шпонок и их проверочный расчет
9. Расчёт промежуточного вала редуктора на статическую способность и долговечность
9.1 Расчет вала на несущую способность
9.2 Расчет вала на прочность
10. Расчет подшипников качения
10.1 Определение реакции в опорах
10.2 Определение коэффициентов
10.3 Определение эквивалентной нагрузки
10.4 Определяем долговечность подшипников
10.5 Выбор муфты
10.6 Проверочный расчёт зубчатой муфты
11. Выбор и проверочный расчёт опор скольжения
Литература
Вступление
Развитие народного хозяйства Украины тесно связано с развитием машиностроения, так как материальная мощность современной страны базируется на технике – машинах, механизмах, аппаратах, приводах, которые выполняют разную полезную работу. В наше время нет ни одной области народного хозяйства, где бы не применялись машины и механизмы в широких масштабах. Благодаря этому осуществляется комплексная механизация в промышленности, в сельском хозяйстве, в строительстве, на транспорте. Это заставляет уделять большое внимание при проектировании и усовершенствования конструкций современных машин и механизмов. Машины и механизмы, которые проектируются, должны иметь высокие эксплуатационные показатели, не большое количество энергии и эксплуатационных материалов, должны быть экономичными, как в процессе производства, так и в процессе эксплуатации, удобными и безопасными в обслуживании.
1. Кинетический и силовой расчёт привода
Согласно техническому заданию на курсовой проект по дисциплине «Детали машин» необходимо спроектировать привод цепного конвейера, который состоит из двигателя, клиноременной передачи, двухступенчатого цилиндрического ора и муфты. При проектировании деталей привода использованы современные критерии оценки их работоспособности – прочность, жесткость и износостойкость. Кинематический и силовой расчеты привода
1.1 Кинематическая схема привода

Рис 1.1
Таблица 1.1
Исходные данные для кинематического и силового расчета привода
| Название параметров | Обозначения в формулах | Единица измерения | Величина параметра |
| Окружная сила | F1 | Н | 28000 |
| Скорость | м/с | 0,5 | |
| Число зубьев | z | - | 9 |
| Шаг цепи | р | мм | 160 |
| Режим работы | P | - | С |
| Число смен | T | - | 1 |
1.2 Выбор двигателя
Работа над курсовым проектом по дисциплине «Детали машин» подготавливает студентов к решению более сложных задач общетехнического характера в своей дальнейшей практической деятельности.
Определяем необходимое усилие на валу 1 двигателя, кВт,
кВт
где N 5 – усилие на приводном валу 5, кВт , ηобщ - общий кпд.
кВт,
ηобщ = η12 η23 η34 η45 = 0,95· 0,95· 0,96· 0,98 = 0,85,
гдеη12= ηкр = 0,95 – кпд между 1 и 2 валами; η23 = ηцп · η кр = 0,96·0,99=0,95 – кпд между 2 и 3 валами; η34 =ηцп· ηоп = 0,97·0,99=0,96 – кпд между 3 и 4 валами; η45 = ηм· ηоп ηоп =1·0,99·0,99=0,98 – кпд между 4 и 5 валами.
Средние значения кпд принимаем из [1], табл. 1.1
ηкр = 0,95-кпд клиноременной передачи;
ηцп =0,97-кпд цилиндрической передачи;
ηоп =0,99-кпд в опорах;
ηм =1,0-кпд муфты.
Принято, что валы привода установлены на подшипниках качения.
Определяем угловую скорость и частоту вращения вала электродвигателя.
рад/с
где
рад/с – угловая скорость на 5 валу
где 
- общее передаточное отношение привода.
,
Средние значения ориентировочных передаточных чисел принимаем из [2], табл. 5.5, с 74.
![]()
- ориентировочное передаточное число клиноременной передачи;
- ориентировочное передаточное число цилиндрической передачи I ступени;
- ориентировочное передаточное число цилиндрической передачи II ступени;
- ориентировочное передаточное число муфты.
Определяем частоту вращения вала 1
об/мин.
Выбираем электродвигатель исходя из условий ![]()
.
Из [3], табл.2.4, с.23, выбираем электродвигатель 4АН180М6,
кВт
об/мин и для дальнейших расчётов выполняем переход от
к ![]()
рад/с
1.3 Общее передаточное число и разбиение его по степеням
Определяем действительное общее передаточное число привода при выбранном двигателе.

Проводим разбиение
по степеням.
Принимаем
;
;
.
Тогда 
1.4 Силовые и кинематические параметры привода
Определяем мощности на валах:
кВт
;
кВт
;
кВт ;
кВт;
кВт
(див.розд.1.2.1.)
Определяем угловые скорости валов:
рад/с;
рад/с;
рад/с;
рад/с;
рад/с.
Определяем крутящие моменты на валах:
Нм
;
Нм;
Нм;
Нм
;
Нм
.
Результаты расчётов сводятся в табл.1.2 и являются исходными данными для всех следующих расчётов.
Таблица 1.2
Результаты кинетического и силового расчётов привода
Параметры № вала |
N, кВт | ω рад/с | М,Нм |
||
| 1 | 16,5 | 102,05 | 161,7 | 2,98 | 47,68 |
| 2 | 15,7 | 34,24 | 458,5 | ||
| 4 | |||||
| 3 | 14,9 | 8,56 | 1740 | ||
| 4 | |||||
| 4 | 14,3 | 2,14 | 6682 | ||
| 1 | |||||
| 5 | 13 | 2,4 | 6542 |
2. Расчет клиноременной передачи
Схема клиноременной передачи

Рис 2.1
2.1 Исходные данные для расчёта передачи
Таблица 2.1
Исходные данные для расчета передачи
Параметры №шва |
N, кВт | w, рад/с | М, Нм | ид12 | и добщ |
| 1 | 16,5 | 102,05 | 161,7 | 2,98 | 47,68 |
| 2 | 15,7 | 34,24 | 458,5 |
2.2 Механический расчет
Сечение ремня по табл. 5.6 ([8], с. 69)

Рис 2.2
При заданном значении М принимаем сечение ремня (В).
Диаметр меньшего шкива
Минимально допустимый диаметр шкива dmin = 63 мм .
Для повышения коэффициента полезного действия передачи, увеличения долговечности и тяговой способности ремней, уменьшение числа ремней принимаем d 1 =100 мм.
Диаметр большего шкива: d 2 = d 1 ·i кл =100∙2,98=298
Скорость ремня:
;
где v
– скорость ремня,
м/с.
Частота вращения ведомого вала
;
где n
2
– частота вращения ведомого вала, об/мин
.;
- коэффициент скольжения; принимаем
= 0,01
об/мин
.
Ориентировочное межосевое расстояние
Принимаем a 0 =400 мм.
Длина ремня
;
где L - длина ремня, мм;
;
;
мм.
В соответствии с ГОСТ 1284.1-80 принимаем L = 1600 мм.
Окончательное межосевое расстояние
;
мм.
Принимаем a = 500 мм.
Наименьшее расстояние, необходимое для надевания ремня
a наим = a - 0,01L ;
a наим = 500-0,01·1600 = 484 мм.
Наибольшее расстояние, необходимое для компенсации вытяжки ремня
a наиб = a - 0,025L ;
a наиб = 500-0,025·1600 = 460 мм.
Коэффициент динамичности и режима работы
с р = 1,1
Угол обхвата
;
где
- угол обхвата, º;
![]()
По табл. 5.7 ( 5, с.71) величина окружного усилия р0 , передаваемого одним ремнем р0 =124 Н (на один ремень)
Допускаемое окружное усилие на один ремень
[р]=р0
×Сα
×СL
×CР
,
где Сα =1-0,003(180-α1 )=1- 0,003(180-156,24)=0,93
Коэффициент, учитывающий длину ремня
, так как расчетная длина L=1600=L0
Коэффициент режима работы Ср =1, следовательно
[р]=824∙0,93=757
где р0 =814 ( по табл. 5,7 [8], с. 71 )
Окружное усилие
Н
Расчетное число ремней
;
.
Принимаем Z = 4
3. Расчет цилиндрической 3.1. Кинематическая схема передачи и исходные данные для расчета
Кинематическая схема передачи

Рис.3.1.
Исходные данные для расчета передачи Таблица 3.1.
параметры № вала |
N, кВт | ω, рад/с | M,Нм | ид34 | идобщ |
| 2 | 15,7 | 34,24 | 458,5 | 4,0 | 47,68 |
| 3 | 14,9 | 8,56 | 1740 |
3.2 Выбор материала и определение допустимых напряжений
Материалы зубчатых колес
Для уравновешивания долговечности шестерни и колеса, уменьшения вероятности заедания и лучшей приработки твердость зубьев шестерни необходимо выбирать большей, чем твердость колеса: НВш = НВк + (20…50).
Так как к габаритам передачи не накладываются жесткие условия, то для изготовления зубчатых колес, из [6], принимаем материалы для шестерни – сталь 50 , для колеса – сталь 40. Параметры материалов зубчатых колес сводим в таблицу 3.2.
Таблица 3.2
Материалы зубчатых колес.
| Материал | Термообработка | Предел теку-чести, σт, МПа | Твердость, НВ | |
| Шестерня | Сталь 50 | нормализация | 380 | 180 |
| Колесо | Сталь 40 | нормализация | 340 | 154 |
Допустимые контактные напряжения:
,
где σН lim – граница контактной долговечности поверхности зубцов, соответствует базовому числу циклов изменения напряжений NН0 = 30 НВ2,4 , (при твердости поверхности зубьев ≤350 НВ, σН lim b = 2 НВ +70):
σН l im b ш = 2·180+70=430МПа, σН lim b к =2· 154 + 70=378 МПа;
NН0ш = 30·1802,4 = 7,76·106 , NН0к = 30 · 1542,4 = 5,3·106 ;
S Н – коэффициент безопасности (запас прочности), учитывается от термообработки и характера нагрузок, принимаем S Н = 1,1, [6];
КН L – Коэффициент долговечности, который учитывает время службы и режим нагрузок передачи, определяется из соотношения NН0 и дополнения (NΣ ·КНЕ ); КНЕ – коэффициент интенсивности режима нагрузки, из [6], табл. 1.1, для легкого режима принимаем КНЕ = 0,06.
NΣ - суммарное число циклов нагрузки зубьев за все время службы передачи:
,
где Lh –время службы передачи, для односменной работы Lh =1·104 час.
,
.
NΣш · КНЕ =1,96 · 108 · 0,06 = 1,17 · 106 < NН0ш = 7,76 · 106 ,
NΣк · КНЕ = 0,49 · 108 · 0,06 =2,9 · 106 < NН0ш = 5,3 ·106 .
Так как в обоих случаях NН0 >NΣ · КНЕ , то коэффициент долговечности
,
.
Мпа
;
МПа
Допустимые напряжения на изгиб.
,
где σF limb – граница выносливости поверхности зубцов при изгибе, соответствует базовому числу циклов смены напряжений NFо = 4 · 106 , [6], (при твердости поверхности зубьев ≤350 НВ, σF limb = НВ + 260):
σF limb ш = 180 +260 = 440МПа, σF limb к = 154 + 260 = 414 МПа;
SF – коэффициент безопасности (запас прочности), из [2], принимаемSF = 1,8, KFL – коэффициент долговечности, который учитывает время службы и режим нагрузок передачи, определяется соотношением NF0 и (NΣ KF Е ); KF Е – коэффициент интенсивности режима нагрузки, из [6], табл. 1.1, для легкого режима принимаем KF Е = 0,02.
NΣ m ·KF Е = 1,05·108 ·0,02 = 2,1·106 < NF0 = 4·106 ,
NΣк ·KF Е = 0,26·108 ·0,02 = 0,52·106 < NF0 = 4·106 .
Так как в обоих случаях NF0 > NΣ KF Е , то согласно [ ], коэффициент долговечности:
;
.
KFC - коэффициент реверсивности нагрузки, для нереверсивной передачиКН L – 1,0, [6].
; ![]()
Допустимые максимальные контактные напряжения.
[σН ]max = 2,8 σТ .
[σН ]max ш = 2,8·380 = 1064 МПа , [σН ]max к =2,8·340=952 МПа.
Допустимые максимальные напряжения на изгиб.
[σF ]max = 0,8 σТ .
[σF ]max ш = 0,8·380 = 304 МПа., [σF ]max к = 0,8·340 = 272 МПа .
3.3 Определение геометрических параметров
Межосевое расстояние.
Из условий контактной усталости поверхности зубьев:
,
где Ка
– коэффициент межосевого расстояния, из [6], для косозубых передач Ка
= 4300 Па1/3
;
- коэффициент ширины зубчатого венца по межосевому расстоянию, из [6], для косозубой передачи принимаем
ψ ba = 0,45; и = ид 34 = 4;
КНβ – коэффициент распределения нагрузки по ширине венца зубчатого колеса, из [6], табл.1.2, в зависимости от ψ bd = 0,5 ψ ba (и+ 1) = 0,5 · 0,45 · (4+1) = 1,13, для косозубой передачи КНβ = 1,046;[σН ] – наименьшее из двух значений (шестерни и колеса) допустимых контактных напряжений, МПа .
,
![]()
Определение модуля.
Первоначальное значение расчетного модуля зубьев определяется
![]()
где β – угол наклона зубьев, для косозубой передачи β = 20°;
Zш – число зубьев шестерни, согласно [6] принимаем Zш = 20;
Zш – число зубьев колеса, Zк = Zш и = 20·4 = 80.
Согласно [6], табл.1.3, принимаем m п = 5 мм.
- ширина: b к = ψ d а аw = 0,45 · 266 = 119,7 мм. Принимаем b к = 120 мм.
3.4 Проверочный расчет передачи
Расчет на контактную усталость.

где ZН – коэффициент, учитывающий форму спряженных поверхностей зубьев: для косозубых - ZН = 1,75, [6];
ZМ = 275 · 103 Па1/2 - коэффициент учитывающий механические свойства материалов зубчатых колес, [6];
ZЕ - коэффициент суммарной длинны контактный линий спряженных зубьев: для косозубых - ZЕ = 0,8, [6];
КН = КНа КН β КН V – коэффициент нагрузки : КНа – коэффициент распределения нагрузки между зубьями из [6], табл. 1.4, КН а = 1,15; КН β = 1,046, см. разд.3.3.1, КН V – коэффициент динамической нагрузки, из [6], табл. 1.4, при
; К
HV
=1.02; КН
=1,15∙1,046∙1,02=1,22.

Так как σН
= 363 находится в пределах (0,9…1,0)[σН
], то расчет можем считать завершенным:
.
Расчет на контактную прочность.
,
где Кп =2,2, [σН ]max – наименьшее из двух значений (шестерни и колеса) допустимых максимальных контактных напряжений, МПа
![]()
Условие выполняется.
расчет на усталость при изгибе.
Определяем отдельно для шестерни и колеса по формуле
,
где - Y
F
- коэффициент формы зуба, из [6], табл. 1.7, по эквивалентному числу зубьев Z
V
,
для косозубой передачи:
, YFш
=3,92;
,YFк
= 3,6.
Y E - коэффициент перекрытия зубьев, согласно [6] принимаем Y E =1,0.
Yβ
- коэффициент наклона зубьев, согласно [6] для косозубых передач принимается:![]()
КF = КFа К Fβ КF V - коэффициент нагрузки: КFа – коэффициент распределения нагрузки между зубьями для косозубых - КFа =1,0, [6], табл. 1,8; К Fβ –коэффициент
Геометрические размеры цилиндрической зубчатой передачи

Рис 3.2.
Геометрический расчет передачи (см. рис. 3.2).
Межосевое расстояние
![]()
Принимаем аw = 266 мм.
Уточняем угол наклона зубьев
![]()
Размеры шестерни:
- делительный диаметр: ![]()
- диаметр вершин зубьев: d аш = d ш + 2mn = 106,4+ 2 · 5= 116,4мм;
- диаметр впадин: d ƒш = d ш – 2,5mn = 106,4 – 2,5 · 5= 93,9мм;
- ширина: b ш =b к + 5 мм = 120 + 5 = 125 мм.
Размеры колеса:
-делительный диаметр ![]()
- диаметр вершин зубьев:d ак = d к + 2mn = 425,5 +2 · 5 = 696 мм ;
- диаметр впадин: d ƒк = d к – 2,5mn = 425,5 – 2,5 · 5 = 413 мм;
распределения нагрузки по ширине венца зубчатого колеса, из [6], табл. 1.9, в зависимости от ψ ba = 1, 13 (см. разд. 3.3.1.) для косозубой передачи К Fβ = 1,09; КF V - коэффициент динамической нагрузки, выбирается из табл. 1.10, [6], при КF V = 1,05; КF = 1,00 · 1,09 · 1,05 = 1,14.
![]()
![]()
Условия выполняются.
Расчет на прочность при изгибе.
Выполняется отдельно для шестерни и колеса при действии кратковременных максимальных нагрузок (в период пуска двигателя).
σF ma х = σF Кп ≤ [σF ]max΄
где Кп – коэффициент перегрузки, из [2], табл. 1, с. 249 - Кп =2,2.
σF ma х ш = 114 · 2,2 = 250,8 МПа ≤ [σF ]max ш = 304 МПа,
σF ma х к = 92 · 2,2 = 202,4 МПа ≤ [σF ]max к = 272 МПа.
Условия выполняются.
3.5 Определение сил в зацеплении (см. рис. 3.3)
- окружная сила ![]()
- радиальная сила 
- осевая сила Fаш = Fак = F t к tgβ = 8651· tg 19,95 0 = 3139 Н
Схема сил в зацеплении

Рис.3.3.
4. Расчёт цилиндрической косозубой передачи || ступени
4.1 Кинематическая схема передачи и исходные данные для расчета
Кинематическая схема передачи

Рис.4.1.
Исходные данные.
Таблица 4.1.
Исходные данные для расчета передачи
параметры № вала |
N, кВт | ω, рад/с | M,Нм | ид34 | идобщ |
| 3 | 14,9 | 8,56 | 1740 | 4 | 47,68 |
| 4 | 14,3 | 2,14 | 6682 |
4.2 Выбор материала и определение допустимых напряжений
Материалы зубчатых колес.
Для уравновешивания долговечности шестерни и колеса, уменьшения вероятности заедания и лучшей приработки твердость зубьев шестерни необходимо выбирать большей, чем твердость колеса: НВш = НВк + (20…50).
Так как к габаритам передачи не накладываются жесткие условия, то для изготовления зубчатых колес, из [6], принимаем материалы для шестерни – сталь 50 , для колеса – сталь 40. Параметры материалов зубчатых колес сводим в таблицу 3.2.
Таблица 4.2.
Материалы зубчатых колес
| Материал | Термообработка | Предел теку-чести, σт, МПа | Твердость, НВ | |
| Шестерня | Сталь 50 | нормализация | 380 | 180 |
| Колесо | Сталь 40 | нормализация | 340 | 154 |
Допустимые контактные напряжения:
,
где σН lim – граница контактной долговечности поверхности зубцов, соответствует базовому числу циклов изменения напряжений NН0 = 30 НВ 2,4 , (при твердости поверхности зубьев ≤350 НВ, σН lim b = 2 НВ +70):
σН l im b ш = 2·180+70=430МПа, σН lim b к =2· 154 + 70=378 МПа;
NН0ш = 30·1802,4 = 7,76·106 , NН0к = 30 · 1542,4 = 5,3·106 ;
KFL – коэффициент долговечности, который учитывает время службы и режим нагрузок передачи, определяется соотношением NF0 и (NΣ KF Е ); KF Е – коэффициент интенсивности режима нагрузки, из [6], табл. 1.1, для легкого режима принимаем KF Е = 0,02.
NΣ m ·KF Е = 1,05·108 ·0,02 = 2,1·106 < NF0 = 4·106 ,
NΣк ·KF Е = 0,26·108 ·0,02 = 0,52·106 < NF0 = 4·106 .
Так как в обоих случаях NF0
> NΣ
KF
Е
, то согласно [ ], коэффициент долговечности:
;
.
KFC - коэффициент реверсивности нагрузки, для нереверсивной передачи КН L – 1,0, [6].
; ![]()
Допустимые максимальные контактные напряжения.
[σН ]max = 2,8 σТ .
[σН ]max ш = 2,8·380 = 1064 МПа , [σН ]max к =2,8·340=952 МПа.
Допустимые максимальные напряжения на изгиб.
[σF ]max = 0,8 σТ .
[σF ]max ш = 0,8·380 = 304 МПа., [σF ]max к = 0,8·340 = 272 МПа .
4.3 Определение геометрических параметров
Межосевое расстояние.
Из условий контактной усталости поверхности зубьев:
,
где Ка
– коэффициент межосевого расстояния, из [6], для косозубых передач Ка
= 4300 Па1/3
;
- коэффициент ширины зубчатого венца по межосевому расстоянию, из [6], для косозубой передачи принимаем
ψ ba = 0,45; и = ид 34 = 4;
КНβ – коэффициент распределения нагрузки по ширине венца зубчатого колеса, из [6], табл.1.2, в зависимости от ψ bd = 0,5 ψ ba (и+ 1) = 0,5 · 0,45 · (4+1) = 1,13, для косозубой передачи КНβ = 1,046;[σН ] – наименьшее из двух значений (шестерни и колеса) допустимых контактных напряжений, МПа .
,
![]()
Определение модуля.
Первоначальное значение расчетного модуля зубьев определяется
![]()
S Н – коэффициент безопасности (запас прочности ), зависит от термообработки и характера нагрузок, принимаем S Н = 1,1, [6];
КН L – Коэффициент долговечности, который учитывает время службы и режим нагрузок передачи, определяется из соотношения NН0 и дополнения (NΣ ·КНЕ ); КНЕ – коэффициент интенсивности режима нагрузки, из [6], табл. 1.1, для легкого режима принимаем КНЕ = 0,06.
NΣ - суммарное число циклов нагрузки зубьев за все время службы передачи:
,
где Lh –время службы передачи, для односменной работы Lh =1·10 4 час.
,
.
NΣш · КНЕ =0,49 · 108 · 0,06 = 2,94 · 106 < NН0ш = 7,76 · 106 ,
NΣк · КНЕ = 0,12 · 108 · 0,06 = 0,72 · 106 < NН0ш = 5,3 ·106 .
Так как в обоих случаях NН0 >NΣ · КНЕ , то коэффициент долговечности
,
.
Мпа
;
МПа
Допустимые напряжения на изгиб.
,
где σF limb – граница выносливости поверхности зубцов при изгибе, соответствует базовому числу циклов смены напряжений NFо = 4 · 106 , [6], (при твердости поверхности зубьев ≤350 НВ, σF limb = НВ + 260):
σF limb ш = 180 +260 = 440МПа, σF limb к = 154 + 260 = 414 МПа;
SF – коэффициент безопасности (запас прочности), из [2], принимаемSF = 1,8,
где β – угол наклона зубьев, для косозубой передачи β = 20°;
Zш – число зубьев шестерни, согласно [6] принимаем Zш = 20;
Zш – число зубьев колеса, Zк = Zш и = 20·4 = 80.
Согласно [6], табл.1.3, принимаем m п = 8,0 мм .
- ширина: b к = ψ d а аw = 0,45 · 425 = 191,25 мм . Принимаем b к = 220 мм .
4.4 Проверочный расчет передачи
Расчет на контактную усталость. распределения нагрузки по ширине венца зубчатого колеса, из [6], табл. 1.9, в зависимости от ψ ba = 1, 13 (см. разд. 3.3.1.) для косозубой передачи К Fβ = 1,09; КF V - коэффициент динамической нагрузки, выбирается из табл. 1.10, [6], при ν = 1,77 м/с, КF V = 1,05; КF = 1,00 · 1,09 · 1,05 = 1,14.
![]()
![]()
Условия выполняются.
Расчет на прочность при изгибе.
Выполняется отдельно для шестерни и колеса при действии кратковременных максимальных нагрузок (в период пуска двигателя).
σF ma х = σF Кп ≤ [σF ]max΄
где Кп – коэффициент перегрузки, из [2], табл. 1, с. 249 - Кп =2,0.
σF ma х ш = 103 · 2,2 = 226,6 МПа ≤ [σF ]max ш = 304 МПа,
σF ma х к = 84 · 2,2 = 184,8 МПа ≤ [σF ]max к = 272 МПа.
Условия выполняются.
4.5 Определение сил в зацеплении (см. рис. 3.3)
- окружная сила ![]()
- радиальная сила 
- осевая сила Fаш = Fак = F t к tgβ = 20470 · tg 20° = 7450 Н
Схема сил в зацеплении

Рис.4.3.

где ZН – коэффициент, учитывающий форму спряженных поверхностей зубьев: для косозубых - ZН = 1,75, [6];
ZМ = 275 · 103 Па1/2 - коэффициент учитывающий механические свойства материалов зубчатых колес, [6];
ZЕ - коэффициент суммарной длинны контактный линий спряженных зубьев: для косозубых - ZЕ = 0,8, [6];
КН = КНа КН β КН V – коэффициент нагрузки : КНа – коэффициент распределения нагрузки между зубьями из [6], табл. 1.4, КН а = 1,15; КН β = 1,046, см. разд.3.3.1, КН V – коэффициент динамической нагрузки, из [6], табл. 1.4, при
; К
HV
=1.02; КН
=1,15∙1,046∙1,02=1,22.
![]()
Так как σН
= 363 находится в пределах (0,9…1,0)[σН
], то расчет можем считать завершенным:
.
Расчет на контактную прочность.
,
где Кп =2,2, [σН ]max – наименьшее из двух значений (шестерни и колеса) допустимых максимальных контактных напряжений, МПа
![]()
Условие выполняется.
расчет на усталость при изгибе.
Определяем отдельно для шестерни и колеса по формуле
,
где - Y
F
- коэффициент формы зуба, из [6], табл. 1.7, по эквивалентному числу зубьев Z
V
,
для косозубой передачи:
, YFш
=3,92;
,YFк
= 3,6.
Y E - коэффициент перекрытия зубьев, согласно [6] принимаем Y E =1,0.
Yβ
- коэффициент наклона зубьев, согласно [6] для косозубых передач принимается:![]()
КF = КFа К Fβ КF V - коэффициент нагрузки: КFа – коэффициент распределения нагрузки между зубьями для косозубых - КFа =1,0, [6], табл. 1,8; К Fβ –коэффициент
Геометрические размеры цилиндрической зубчатой передачи

Рис 4.2.
Геометрический расчет передачи (см. рис. 4.2).
Межосевое расстояние
![]()
Принимаем аw = 425 мм .
Уточняем угол наклона зубьев
![]()
Размеры шестерни:
- делительный диаметр: ![]()
- диаметр вершин зубьев: d аш = d ш + 2mn = 170 + 2 · 8,0 = 186мм;
- диаметр впадин: d ƒш = d ш – 2,5mn = 170 – 2,5 · 8,0 = 150 мм ;
- ширина: b ш b к + 5 мм = 220 + 5 = 225 мм .
Размеры колеса:
-делительный диаметр ![]()
- диаметр вершин зубьев:d ак = d к + 2mn = 680 +2 · 8,0 = 696 мм ;
- диаметр впадин: d ƒк = d к – 2,5mn = 680 – 2,5 · 8,0 = 660 мм;
5. Условный расчет валов
При отсутствии данных о моменте изгиба, диаметр вала определяют приблизительно по известному крутящему моменту из условий прочности на кручение по заниженным значениям допустимых напряжений:

где i- номер вала, j - номер участка ступенчатого вала, Мi - крутящий момент на i- тому валу, принимаем из табл. 1.2. Согласно рекомендаций [4], с.53, принимаем пониженные допускаемые напряжения кручения, для валов редукторов общего назначения, [τк ] = 25 МПа.
5.1 Определение диаметров входного валаредуктора
Схема входного вала редуктора
Рис. 5.1.

Согласно [7], с. 6 полученный диаметр округляем до ближнего большего значения из стандартного ряда Ra 40 ГОСТ6636-69.
Принимаем d 21 = 50 мм.
Диаметры других участков вала выбираем из стандартного ряда Ra 40 ГОСТ6636-69.
Принимаем d 22 =60 мм d 23 = 60 мм d 24 = 65 мм. .2. Определение диаметров промежуточного вала редуктора
Схема промежуточного вала редуктора
Рис. 5.1.
![]()
6. Определение конструктивных размеров зубчатых колес
6.1 Размеры зубчатых колес цилиндрической передачи I ступени
Устанавливаем способ изготовления шестерни и вала – вместе или отдельно. Согласно рекомендаций [1], если
- отдельно,
– вместе, где d
fш
- диаметр впадин шестерни (d
fш
= 200,7 мм
, см. разд.3.3.3.11),
d
вш
- диаметр участка вала под шестерню (d
вш
= 60 мм
,
см. разд. 5.2)
-выполняем вместе.
6.2 Размеры зубчатых колес цилиндрической передачи II ступени
Устанавливаем способ изготовления шестерни и вала – вместе или отдельно. Согласно рекомендаций [1], если
- отдельно,
– вместе где d
fш
– диаметр впадин шестерни,,d
fш
=150 мм,
d
вш
- диаметр участка вала под шестерню d
вш
=
d
24
=75 мм.
-
выполняется отдельно.
6.3 Определяем размеры цилиндрического колеса (рис.6.1.)
Схема колеса зубчатого
Рис.6.1.
Согласно [7], с.6 полученный диаметр округляем до ближайшего большего значения из стандартного ряда Ra 40 ГОСТ6636-69.
Принимаем d 31 = 70 мм .
Диаметры других участков вала выбираем из стандартного ряда Ra 40 ГОСТ6636-69.
Принимаем d 32 = 75 мм ; d 33 = 80 мм .
6.4 Определение диаметров выходного вала
Схема выходного вала редуктора
Рис. 5.2.
![]()
Согласно [7], с.6 полученный диаметр округляем до ближайшего большего значения из стандартного ряда Ra 40 ГОСТ6636-69.
Принимаем d 41 = 110 мм .
Диаметры других участков вала выбираем из стандартного ряда Ra 40 ГОСТ6636-69.
Принимаем d 42 = 115 мм ;d 43 = 120 мм ;d 44 = 130 мм . d 45 = 140 мм.
Общая ширина зубчатого венца в= 220 мм.
Диаметр ступицы d с = 1,6d в = 1,6 · 130 = 208 мм
Длина ступицы lс = (1,2…1,5)d в = 1,5 · 130 = 195 мм . Принимаем 220 мм
Толщина обода δ0 = (2,5…4)mn 4 · 8 = 32 мм
Толщина диска с = (0,2…0,4)b = 0,4·220 = 88 мм Принимаем 90 мм .
Диаметр отверстий в диске d отв = 0,25[d об –(d в + 2 δст )],
где
, d
об
= df
ш
- 2 δ0
= 660 – 2 · 39 = 582 мм
.
d отв = 0,25[582–(130+ 2 · 39)] = 93,5 мм , принимаем d отв = 95 мм .
Диаметр центров отверстий в диске
d 0 = 0,5(d в 2 δс +d об ) = 0,5 · (130 +2 · 38 + 582) = 395 мм .
7. Конструктивные размеры корпуса и крышки редуктора
7.1 Определение конструктивных размеров корпуса и крышки редуктора, согласно табл. 4.2, 4.3, [1]
Толщина стенки корпуса редуктора:
δ = 0,025aw + 3 = 0,025 · 425 + 3 = 13,6 ≈ 14 мм ,
где aw – межосевое расстояние зубчатых передач редуктора.
Толщина стенки крышки редуктора:
δ1 = 0,02аw + 3 = 0,02 · 425 + 3 = 11,5 ≈ 12 мм .
Толщина верхнего фланца корпуса:
S = (1,5…1,75) · δ =(1,5…1,75) ∙14 = 21…24,5 = 24 мм .
Толщина нижнего фланца корпуса:
S 2 = 2,35 δ = 2,35 ∙14 = 32,9 ≈ 33мм.
Толщина фланца крышки редуктора:
S 1 = (1,5…1,75) · δ1 =(1,5…1,75) ·12 = 18…21 = 20 мм .
Диаметр фундаментных болтов:
d 1 = 0,072aw + 12 = 0,072 · 425 + 12 = 37,9 ≈ 39 мм ,
Диаметр болтов, стягивающих корпус и крышку возле бобышек:
d 2 = (0,7…0,75) ·d 1 =(0,7…0,75) ∙39 = 27,3…29,25 = 27 мм .
Диаметр болтов, стягивающих фланцы корпуса и крышки редуктора:
d 3 = (0,5…0,6) ·d 1 =(0,5…0,6) ∙24 = 12…14,4 = 14мм.
Ширина опорной поверхности нижнего фланца корпуса:
m = k + 1,5 δ = 60 + 1,5 ∙ 14 = 81мм.
Толщина ребер корпуса:
с1 = (0,8…1) · δ = (0,8…1) ·∙14 = 10,4…14 = 12мм.
7.2 Размеры необходимые для черчения
Минимальный зазор между колесом и корпусом:
b = 1,2 δ = 1,2 · 14 = 16,8 мм .
Расстояние от внутренней стенки до торца вращающейся детали:
е1 = (1,0…1,2) ∙ δ = (1,0…1,2) ∙14 = 14…16,8 = 12мм.
Расстояние от внутренней стенки до радиального торца вращающейся детали:
е2 = (0,5…1,0) ∙ δ = (0,5…1,0) ∙14 = 7,0…14 = 10мм.
Расстояние от окружности выступов наибольшего колеса до дна редуктора: b 0 = (0,5…10)m = (5…10) ∙8 = 50…80мм.
Размеры отверстий под подшипники редуктора принимаем в зависимости от размеров подшипника, согласно рекомендаций с. 141, [1].
Оставшиеся необходимые геометрические размеры корпуса и крышки принимаем конструктивно на основе рекомендаций с. 140-8. Эскизная компоновка редуктора
8. Выбор шпонок и их проверочный расчет
Выполняем проверочный расчет шпонки на смятие. Результаты расчетов сводим в таблицу 8.2.
Таблица 8.2.
Результаты проверочных расчетов шпонок на смятие
| Номер вала и название шпонки | [σсм] | |
| 2– шпонка под ведомый шкив клиноременной передачи | 140 | |
| 2- шпонка под шестерню цилиндрической передачи I ступени | ||
| 3 – шпонка под колесо цилиндрической передачи I ступени | ||
| 3 – шпонка под шестерню цилиндрической передачи II ступени | ||
| 4 – шпонка под колесо цилиндрической передачи II ступени | ||
4 – шпонка под зубчатую муфту |
Схема шпоночного соединения
Рис. 8.1.
Для передачи крутящего момента зубчатые колеса, шкивы, муфты соединяются с валами при помощи призматических шпонок.
Геометрические размеры поперечных сечений (b, h) призматических шпонок выбираем в зависимости от диаметров валов. Длины шпонок принимаем на 5…10 мм меньше длин ступиц в ряду стандартных значений, приведенных в табл.5.19, [1].
В качестве материала шпонок используем – Сталь 45, нормализованную [σзм ] = 140 МПа и [τзр ] = 100 МПа, с. 191, [1].
Размеры сечений шпонок и пазов по ГОСТ 10748-79 выбираем из табл. 5.19, [1] и сводим в таблицу 8.1
Таблица 81
Параметры и размеры шпоночных соединений
| Номер вала и название шпонки | Диам. вала d1 мм | Мкр, Нм |
Размеры шпонки, мм | ||||
| b | h | l | t1 | t2 | |||
| 2– шпонка под ведомый шкив клиноременной передачи | 50 | 458,5 | 18 | 11 | 80 | 7 | 4,4 |
| 2- шпонка под шестерню цилиндрической передачи I ступени | 55 | 458,5 | 20 | 12 | 90 | 7,5 | 4,9 |
| 3 – шпонка под колесо цилиндрической передачи I ступени | 75 | 1740 | 22 | 14 | 100 | 9 | 5,4 |
| 3 – шпонка под шестерню цилиндрической передачи II ступени | 75 | 1740 | 22 | 14 | 100 | 9 | 5,4 |
| 4 – шпонка под колесо цилиндрической передачи II ступени | 130 | 6542 | 36 | 20 | 180 | 12 | 8,4 |
| 4 – шпонка под зубчатую муфту | 110 | 6542 | 32 | 18 | 150 | 11 | 7,4 |
При эскизном проектировании размещаем детали передач (шестерни и зубчатые колеса), валы, подшипники, складываем эскизную компоновку цилиндрического редуктора.
По определенном размерам зубчатых передач, валов, корпуса и крышки(см. разд. 3, 4, 5, 6,) строим на миллиметровой бумаге формата А1 эскиз коническо – цилиндрического редуктора, в масштабе 1:4. При оформлении эскиза редуктора вычерчиваем конструкцию колес и его корпуса. Подшипники и болтовые соединения вычерчиваем упрощенно.
Подшипники качения выбираются из [3], ориентируясь на диаметры валов и характер нагрузки в передачах. В нашем случае выбираем подшипники №7312, №7314, №7224. В зависимости от их номера, который вмещает сведения о типе и серии подшипника выписываем габаритные размеры, которые используем в эскизной компоновке.
Размеры крышек под подшипники редуктора принимаем в зависимости от размеров подшипников, согласно рекомендаций с. 14.1, [1].
Другие необходимые геометрические размеры принимаем конструктивно, на основе рекомендаций с. 140-143, [1].
Для расчетов промежуточного вала из компоновочного чертежа прямым измерением определяем расстояние между точками приложения сил: l 1 = 108мм, l 2 = 184мм иl 3 = 156мм .
После согласования параметров редуктора, проверочных расчетов валов и подшипников качения, чертим общий вид 143, [1].проверочный расчет шпонок на срез. Результаты вносим в таблицу 8.3.
Таблица 8.3
Результаты проверочного расчета шпонок на срез
| Номер вала и название шпонки | [σсм] | |
| 2– шпонка под ведомый шкив клиноременной передачи | 80 | |
| 2- шпонка под шестерню цилиндрической передачи I ступени | ||
| 3 – шпонка под колесо цилиндрической передачи I ступени | ||
| 3 – шпонка под шестерню цилиндрической передачи II ступени | ||
| 4 – шпонка под колесо цилиндрической передачи II ступени | ||
4 – шпонка под зубчатую муфту |
Условия прочности на деформации смятия и срез выполняются.
Порядок построения сил выполняем в следующей последовательности:
- вычерчиваем кинематическую схему привода;
- обозначаем опоры валов латинскими буквами А, В, С, D, E, F, обозначаем точки приложения сил К1 , К2 , К3 , К4 , приводим пространственную систему координат X, Y, Z к которой осуществляется привязка действующих сил;
- выполняем построения схемы сил в точках их приложения, способность и долговечность

9. Расчёт промежуточного вала редуктора на статическую способность и долговечность
9.1 Расчет вала на несущую способность
Силы, действующие на вал во время работы редуктора:
- силы, действующие на цилиндрическую шестерню II ступени: окружная сила Ft ш = 20470 Н, Радиальная сила Fr ш =7928 Н; Осевая сила Fa ш =7450 Н.
- силы, действующие на цилиндрическое колесо I ступени Ftk = 8651 Н; радиальная сила Frk = 3349 Н; осевая сила F ак = 3139 Н.
Вычерчиваем расчетную схему вала (рис.9.1) и определяем размеры между опорами и точками приложения сил (расстояние определяем по первой эскизной компоновке редуктора измерением, допустив, что силы приложенные по середине колеса и шестерни): l 1 = 108 мм, l 2 = 184 мм ,l 3 = 156 мм.
Находим реакции в опорах от сил в вертикальной и горизонтальной плоскости:
- в вертикальной х 0у
ΣМ F ( D ) =0.
.

RDX = RCX – Fr ш + Frk = 7262 - 7928 + 3349 = 2683 Н
- в горизонтальной z Ox
ΣМ F ( D ) =0
ΣМ F ( D ) = - Ft ш ∙( l 1 + l 2 )+ Ftk ∙ l 1 + Rc z ( l 1 + l 2 + l 3 ) = 0
RDZ = - Rc z + Ft ш + Ftk = - 11256 + 20470 – 8651 = 562Н
Выполняем построения эпюр моментов изгиба в вертикальной и горизонтальной плоскостях, суммарного крутящего момента и изгиба.
Момент изгиба в вертикальной плоскости:
в m.K3 : МК3 = RDX · l 1 =2683 · 0,108 = 290 Нм;
в m.K4 : МК4 = RCX · l 3 =7262 · 0,156 = 1132,8 Нм;
Момент изгиба в горизонтальной плоскости
в m.K4 : МК4 = RDz · l 1 = 562 · 0,108 = 61Нм;
Суммарный момент изгиба определяется по формуле:
в m.K3
: ![]()
в m.K4
: ![]()
Определяем приведенный (эквивалентный) момент в опасном сечении.
Исходя из анализа построенных эпюр моментов опасное сечение вала находится на шестерне цилиндрической передачи II ступени (точка К4 ).
Значение эквивалентного момента в m.K4 :
.

– коэффициент, табл. 5.3., [1] для материала вала
– сталь 40. [σ1 ], σ0 - допустимые напряжения для материала вала соответственно при симметричном и при пульсирующем циклах нагрузки, табл. 5.3., [1].
![]()
Определяем диаметр вала в опасном сечении:

Полученный диаметр округляем до ближайшего большего значения из стандартного ряда R а 40 ГОСТ 6636-69. С учетом шпоночного паза принимаем d 32 = 75мм.
Диаметр вала в этом сечении, принятый в условном расчете
d 32 = 75,0мм, т.е. условие выполняется.
9.2 Расчет вала на прочность
Для опасного сечения быстроходного вала, который имеет конструктивный концентратор напряжений – переход от меньшего диаметра к большему (между участками под подшипник и шестерню), определяем характеристики напряжений, [1], с.173- 185.
- границы выносливости:
для напряжений изгиба при симметричном цикле:
σ -1 = 043σВ =0,43 · 800 = 344 МПа, σ m = 0 МПа;
для напряжений кручения при пульсирующем цикле:
τ-1 = 0,58 σ -1 = 0,58 · 344 = 199,52 МПа; τm = τа =2,79 МПа;
-амплитуды напряжений:
при симметричном цикле:
![]()
где МЗ j – суммарный момент изгиба в m. К4 , Нм,

Рис. 11 .1.
З j – осевой момент в сечении опор j – того участка вала. Для сечения в m. К4 , м3 .
![]()
где d – диаметр вала под подшипник,
при пульсирующем цикле:
где W к j – полярный момент сечения опор j – того участка вала. Для сечения под шпонку, м3 .
![]()
Выбираем коэффициенты:
- эффективные коэффициенты конструкционных напряжений при изгибе - Кσ = 1,75, при кручении - Кτ =1,50, табл. 5.11, [1].
- масштабные коэффициенты, учитывающие снижения границы выносливости с увеличением размеров вала: при изгибе - έσ = 0,745; при кручении- έ r = 0,745, табл. 5.16, [1].
- коэффициенты учитывающие свойства материалов до асимметрии цикла напряжений:
при изгибе – ψσ =0,02 + 2·10-4 · 800 = 0,18 МПа;
при кручении - ψτ =0,5ψσ = 0,5· 0,18 = 0,09 МПа.
Определяем коэффициент запаса прочности опасного сечения:

где Ѕσ и Ѕτ – коэффициенты запаса прочности при действии изгиба и кручения.
[Ѕ ] – допустимое значениекоэффициенты запаса прочности. Для редукторных валов [Ѕ ] ≥2,5…3,0, с.185, [1].
,
,
![]()
Условие выполняется.
10. Расчет подшипников качения
Исходные данные для расчета:
Диаметры вала под подшипники – 70 мм
Реакции в опорах: Rсх = 7262 Н, R DX =2683Н,
RCZ = 11256, ROZ = 562H
Осевые силы: F фш = 7450 Н, F ок = 3139Н.
Угловая скорость: ω3 = 18,3 рад/с.

Pис. 12.1
10.1 Определение реакции в опорах
Определяем результативную радиальную реакцию в каждой опоре вала (для схемы нагрузки):
,
где Rпх = R nz – радиальные реакции в опоре, в горизонтальной и вертикальной плоскостях.
Индекс «п»- опора.
;
.
Выбираем роликовые однорядные подшипники №7314 с такими основными параметрами:
d = 70 мм, D = 150 мм, B = 35 мм .
C = 168 кН – динамическая грузоподъемность;
С0 = 137 кН – статическая грузоподъемность;
е = 1,5tga =1,5 tg 140 = 0,37.
Результирующая осевая сила:
F a = Fаш Fак = 7450 –3139= 1713 Н.
Определяем по соотношению
коэффициент осевой нагрузки.
Определяем составляющие осевых реакций Sп в подшипниках от радиальных реакций Rrn :для радиально-упорных шариковых подшипников:
- для опоры А:
SC = eRrC =0.37∙13395=4956H ;
для опоры В:
SD = eRrD = 0.37∙2741=1014.0 H .
Определение осевых реакций R ап подшипников.
Осевые реакции определяем исходя из схемы размещения подшипников, принимаем схему – «в распор»:

Рис.10.2.
-в т. D
ΣF =- SC + Fa + SD =-4956+4311+1014=369H >0.
тогда
RaD = Fa + SC = 4311+4956=9267H
-в т. С
Σ F =- SD - Fa + SC =- 1014-4311+4956=-369H .>0
тогда
RaC = SC = 4956H .
10.2 Определение коэффициентов
V -коэффициент оборота кольца, V = 1,0 (вращается внутреннее кольцо);
реакции подшипников:
- для опоры С
- для опоры D
10.3 Определение эквивалентной нагрузки
Pen =( X ∙ V ∙ Rrn + Y ∙ Ran )∙ Kσ KT :
- опора С: РеС =(1∙1∙13395+0∙4956)∙1,3∙1,0=17413,5Н ;
- опора D: PeD =(0.4∙1∙2741+1.88∙9267)∙1.3∙1.0=24074H .
10.4 Определяем долговечность подшипников
,
где пi - частота вращения i-того вала, об/мин,
.
р=10/3- для роликовых подшипников.
Опора С:
ч,
Опора D:
ч,
Срок работы привода Lh =1∙104 ч подшипники (опора С и опора D) обеспечивают.
10.5 Выбор муфты
Расчётный крутящий момент, который передаёт муфта в данном приводе определяется по формуле:
М max = KP M н =1,5∙6682=10023Нм,
где KP = 1,5 – коэффициент, который учитывает условия эксплуатации установки, принимаем по табл. 7.1. , [1].
Мн – номинальный крутящий момент на валу.
Выбираем зубчатую муфту МЗ 6, табл. 17.6.,[9] с такими параметрами:
М=11800 Нм , d в = 105 мм, nmax =2500 об/мин.
Геометрические размеры муфты, см. рис. 12.2.
B = 50 мм, D =320 мм, D 1 =230 мм, D 2 =140 мм, L =255 мм.
Размеры зацепления зубчатой муфты:
m =4,0 мм, z =48, b =30 мм.
Муфты зубчатые используют для соединения валов, которые передают большие крутящие моменты, где точное установление валов невозможно или возникают значительные осложнения. Зубчатые муфты отличаются компактностью и высокой выносливостью нагрузок.
Компенсирующая способность муфты достигается созданием зазоров между зубьями и приданием бочкообразной формы зубьям.
10.6 Проверочный расчёт зубчатой муфты

Рис. 10.5.
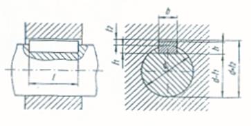
11. Выбор и проверочный расчёт опор скольжения
В качестве опор конвейера принимаем подшипники скольжения, разъёмные с двумя болтами по ГОСТ 11607-65 с чугунными вкладышами с СЧ 18 для которого определяем допустимые значения параметров:
,
, табл. 9.1, [8].
Конструктивные размеры корпуса выбранного подшипника определяем согласно С.594, [8] в зависимости от диаметра вала:
d В =110 мм , d 1 =32 мм , B =130 мм, b =110 мм , H =200 мм , h = 110 мм , h 1 = 40 мм, L =370 мм , A =310 мм ,
A 1 = 190 мм , шпилька М24х100.
Схема подшипника скольжения

Рис. 11.1.
Проверяем выбранный подшипник по двум критериям:
- условие износа ( долговечность )
,
где F 0 = Ft =28000 H – окружная сила, см. раздел 1.1.
- условие теплоустойчивости
![]()
где
- скорость скольжения.
Оба условия выполняются, значит опоры скольжения удовлетворяют
При проверочном расчёте у зубчатых муфт рассчитывают рабочие поверхности зубов на износ (определяется граничное значение удельного давления на зубцы муфты).

где d 0 – диаметр делительного круга, м, d 0 = mz = 4,0∙48=192 мм, b – длина зуба зубчатой втулки, м, [q] – допустимое значение удельного давления для материала зубов, МПа , табл. 17.6, [9].
Литература
1. Киркач Н.Ф., Баласанян Р.А.. Расчёт и проектирование деталей машин [Учеб. Пособие для техн. вузов]. – 3-е изд., перераб. и доп. – Х.: Основа,1991.- 276 с.: схем.
2. Расчёты деталей машин: Справ. Пособие / А.В. Кузьмин, И.М. Чернин, Б.С. Козинцов. – 3-е изд., перераб. и доп. – Мн.: Выс. шк., 1986. – 400 с.: ил.
3. Курсовое проектирование деталей машин: Справ. Пособие. Часть 1 / А.В. Кузьмин, Н.Н. Макейчик, В.Ф. Калачев и др.-Мн.: Выс. школа ,1982-208 с.,ил.
4. Курсовое проектирование деталей машин: Справ. Пособие. Часть 2 / А.В. Кузьмин, Н.Н. Макейчик, В.Ф. Калачев и др.-Мн.: Выс. школа ,1982-334 с.,ил.
5. Методичні вказівки для виконання курсового проекту з курсу „Деталі машин” (Розділ „Пасові передачі ”) для студентів спец. 31.11 заочної форми навчання / Гончарук О.М., Стрілець В,М., Шинкаренко І.Т., - Рівне, У||ВГ, 1990.-24 с.
6. Методические указания по выполнению курсового проекта по курсу «Детали машин» (Раздел «Расчёт закрытых зубчатых и червячных передач») для студентов специальности 1514 заочной формы обучения / Стрелец В.Н,, Шинкаренко И,Т.- Ровно, УИИВГ, 1988 – 41 с.
7. Методичні вказівки для виконання курсового проекту з курсу „Деталі машин” (Розділ „Розрахунки валів і підшипників кочення”) для студентів спец. 31.11 заочної форми навчання / Стрілець В,М., Шинкаренко І.Т., - Рівне, У||ВГ, 1990.-16 с.
С.А. Чернавский, Г.М. Ицкович и др.. Курсовое проектирование деталей машин, М: Машиностроение, 1979-351