| Похожие рефераты | Скачать .docx |
Реферат: Изучение устройства и принцип действия трансформаторов тока и напряжения
Практическая работа № 5
Тема: Изучение устройства и принцип действия трансформаторов тока и напряжения.
Цель: Изучить трансформаторы тока и напряжения.
Трансформаторы тока (ТТ) предназначены для измерения тока и питания схем защиты, а также для изолирования цепей измерения и защиты от высокого напряжения. Они выполняются как для внутренней, так и для внешней установки на всю шкалу токов и напряжений.
Трансформатор тока имеет две обмотки. Первичная обмотка (рис. 12-1) включается последовательно в измеряемую цепь. Ток этой обмотки и есть измеряемый ток. Вторичная обмотка 2 должна быть обязательно замкнута на нагрузку (на измерительный прибор, цепь зашиты и т. д.), сопротивление которой не превосходит определенного значения. Разомкнутое состояние вторичной обмотки является аварийным режимом.
Так как ток первичной обмотки не изменяется при разрыве цепи вторичной обмотки, то на вторичной обмотке возбуждается очень высокое напряжение, которое может привести к пробою изоляции. Для безопасности работы в случае повреждения изоляции между первичной и вторичной обмотками вторичная обмотка должна быть, кроме тою, обязательно заземлена.
Основными параметрами ТТ являются следующие.
Номинальное напряжение — линейное напряжение системы, в которой трансформатор должен работать. Это — напряжение, на которое рассчитана изоляция первичной обмотки.
Номинальный первичный и вторичный ток — ток, который трансформатор может пропускать длительно не перегреваясь. Номинальный ток вторичной обмотки стандартизован и может быть 5 или 1 А. Вторичных обмоток может быть несколько с разными номинальными токами.
Номинальный коэффициент трансформации — отношение номинального первичною тока к номинальному вторичному току:
К{ = /, ном /12 ном .
Номинальная нагрузка трансформатора — это сопротивление нагрузки в омах, при котором трансформатор работает в своем классе. Иногда этот термин заменяется номинальной мощностью в вольт-амперах.
Класс точности. Вследствие потерь в трансформаторе реальный коэффициент трансформации не равен номинальному. Различают погрешность токовую и угловую, Токовая погрешность в процентах определяется выражением
![]()
В зависимости от значения токовой погрешности различают классы точности (0,5; I). Класс точности говорит о погрешности по току при номинальных условиях.
В идеальном трансформаторе вторичный ток сдвинут по фазе относительно первичного на 180°. В реальном трансформаторе этот угол отличается от 180П . Погрешность по углу измеряется в минутах.
Номинальная предельная кратность. С увеличением первичного тока выше номинального значения погрешность ТТ сначала уменьшается, затем по мере насыщения магнитопровода увеличивается. ТТ является одним из основных звеньев систем защиты. При токах короткого замыкания погрешность может быть такой, что нормальная работа защиты не будет обеспечиваться. Поэтому для ТТ указывается предельная кратность тока первичной обмотки по отношению к номинальному току, при которой полная погрешность не превышает 5 или 10% (разные классы), и в пределах этой погрешности проектируется нормальная работа зашиты.
Термическая стойкость — отношение предельно допустимого тока, который трансформатор может выдержать без повреждений в течение нормированного времени, к номинальному первичному току при номинальной вторичной нагрузке и нормированной температуре окружающей среды, с учетом предварительного нагрева ТТ номинальным током.
Динамическая стойкость — отношение амплитудного значения предельного сквозного тока короткого замыкания, выдерживаемого трансформатором без механических повреждений, к амплитудному значению номинального первичного тока.
Конструкции ТТ. Конструкции трансформаторов тока весьма разнообразны. При этом они состоят из замкнутого магнитопровода с соответствующими обмотками и корпуса. Магнитолровод может быть прямоугольный шихтованный или тороидальный, навитый из ленты. Трансформатор может иметь несколько магнитопроводов 2 (рис. 12-2, а). При напряжениях до 35 кВ магнитопровод может служить опорой трансформатора. Вторичные обмотки 3 всегда многовитковые. Первичная обмотка 4 может быть многовитковой (обычно на токи до 400 А) или одновитковой на токи от 600 А и выше. В последнем случае витком служит шина или стержень, проходящие через окно магнитопровода (проходной ТТ — рис. 12-2,6). Этим же витком может служить шина распределительного устройства, пропускаемая через то же окно трансформатора (шинный ТТ — рис. 12-2, в).
Обмотки могут выполняться из изолированного или голого медного провода. Для напряжений до 35 кВ широкое распространение получила изоляция первичной обмотки от вторичной и от заземленных деталей литым компаундом на основе эпоксидной смолы. Литой изоляционный корпус I (рис. 12-2, а) защищает первичную и вторичную обмотки от возможных механических повреждений и проникновения влаги.

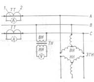
Рис. 12-1. Схемы включения трансформатора тока (ТТ) и трансформатора напряжения - однофазного (ТН) и трехфазного (ЗТН)

ТТ может выполняться с двумя магнитопроволами, как это показано на рис. 12-2, в. Первичные обмотки здесь всегда соединены последовательно, а вторичные можно соединить последовательно или параллельно. При последовательном соединении вторичных обмоток коэффициент трансформации не изменяется, здесь суммируются вторичные ЭДС, что позволяет соответственно увеличить сопротивление нагрузки. При параллельном соединении вторичных обмоток суммируется ток, т. е. соответственно меняется коэффициент трансформации.
На напряжения 35 кВ и выше для открытых установок применяются ТТ с масляной изоляцией. В СССР наибольшее распространение получили опорные ТТ «восьмерочного» типа (рис. 12-3, а).Первичная обмотка 3 и комплект магнитопроводов со вторичными обмотками имеют вид двух колец, сцепленных как звенья цепи. Обмотки изолированы кабельной бумагой. Первичная обмотка выполняется из двух одинаковых секций, соединяемых переключателем последовательно или параллельно, благодаря чему трансформатор имеет два номинальных первичных тока, находящихся в отношении I : 2. Переключения осуществляются после отключения первичной обмотки ТТ от сети.
Обмотки размешаются в фарфоровой покрышке 7 (рис. 12-3,6), заполненной маслом и имеющей маслоуказатель 6 и дыхательный клапан 5. Покрышка вместе с обмотками крепится к стальному основанию Я. Выводы первичной обмотки 4 расположены в верхней части покрышки, выводы вторичной обмотки - в клемной коробке 9 находящейся в основании.
С ростом номинального напряжения стоимость ТТ возрастает примерно пропорционально квадрату напряжения в основном за счет изоляции. Поэтому при напряжении U > 220 кВ применяют каскадную схему включения ТТ. Например, на напряжение 500 кВ используют два блока на напряжение по 250 кВ, каждый из которых выполнен аналогично ТТ, изображенному на рис. 12-3. Вторичная обмотка первого ТТ питает первичную обмотку второго ТТ. Стоимость возрастает в два раза, а не в четыре.
Похожие рефераты:
Оборудование летательных аппаратов
Проектирование электрической части ТЭЦ 180 МВт
Электроснабжение сельского населенного пункта
Реконструкция и модернизация подстанции "Ильинск"
Потери электроэнергии в распределительных электрических сетях
Релейная защита и расчет токов короткого замыкания
Расчет параметров режимов и оборудования электрических сетей и мероприятий энергосбережения
Комплектная трансформаторная подстанция. Расчет и выбор компонентов КТП