| Скачать .docx |
Реферат: Электробезопасность
Министерство общего и профессионального образования Российской Федерации
Магнитогорский государственный технический университет им. Г.И.Носова
Кафедра ЭПП
РЕФЕРАТ
По дисциплине: «Электробезопасность»
.
Магнитогорск
2000
СОДЕРЖАНИЕ
1. Испытание кабельных линий
1.1. Назначение, объем и периодичность испытаний кабельных линий 1
1.2. Виды повреждений и прожигание кабельных линий 8
1.3. Методы определения мест повреждения кабельных линий 10
1.4. Меры предосторожности при обслуживании кабельных линий 17
2. Меры предосторожности при вскрытии муфт, разрезании кабеля 18
3. Испытания трансформатора и профилактические работы связанные с его отключением
3.1. Испытания трансформаторов 19
3.2. Испытания трансформаторов без вывода из работы 30
1. ИСПЫТАНИЯ КАБЕЛЬНЫХ ЛИНИЙ.
1.1. НАЗНАЧЕНИЕ, ОБЪЕМ И ПЕРИОДИЧНОСТЬ ИСПЫТАНИЙ КАБЕЛЬНЫХ ЛИНИЙ
Кабельные линии непосредственно после их сооружения и в процессе эксплуатации подвергаются разнообразным испытаниям, с помощью которых выявляются ослабленные места или дефекты в изоляции и защитных оболочках кабелей, соединительной и концевой арматуры и других элементах кабельных линий.
Причины возникновения таких ослабленных мест весьма различны. Они могут возникать при изготовлении кабеля и арматуры на заводе из-за конструктивных недостатков кабеля и арматуры, при небрежной прокладке кабельных линий, при некачественном выполнении монтажных работ. Ослабленные места выявляются в процессе эксплуатации КЛ, так как со временем наблюдается старение изоляции кабелей и коррозия их металлических оболочек. Кабельные линии, проложенные в земляной траншее, невзирая на дополнительную защиту в виде покрытия кирпичом и систематическое наблюдение за состоянием трассы линий, весьма подвержены внешним механическим повреждениям, которые могут возникать при прокладке и ремонте других городских подземных сооружений, проходящих по трассе КЛ.
За исключением прямых механических повреждений, ослабленные места и дефекты КЛ имеют скрытый характер. Своевременно не выявленные испытаниями они могут с той или иной скоростью развиваться под воздействием рабочего напряжения. При этом возможно полное разрушение элементов КЛ в ослабленном месте с переходом линии в режим короткого замыкания и ее отключение с соответствующим нарушением электроснабжения потребителей.
Полный перечень испытаний КЛ в зависимости от их напряжения и назначения регламентируется «Нормами испытания электрооборудования».
Таблица 1. Силовые кабельные линии
К, Т или М — производятся в сроки, устанавливаемые системой ППР, но не реже: К — 1 раза в 5 лет, Т или М --1 раза в 3 года (исключения см. в указаниях пп. 1.2- 1.3. 1.7 и 1.9).
| Наименование испытания |
Вид испытания |
Нормы испытания |
Указания |
|||
| 1,1, Определение целости жил и фазировки |
К, Т |
Все жилы должны быть целыми и сфазированными |
Производится после окончания монтажа, перемонтажа муфт или отсоединения жил кабеля |
|||
| 1.2. Испытание повышенным выпрямленным напряжением: |
Результаты испытания кабеля считаются удовлетворительными, если не наблюдалось скользящих разрядов, толчков тока утечки или нарастания установившегося значения и если сопротивление изоляции, измеренное мегаомметром, после испытания осталось прежним. Сопротивление изоляции до и после испытания не нормируется |
До и после испытания кабелей на напряжение выше 1 кВ повышенным выпрямленным напряжением производится измерение сопротивления изоляции мегаомметром на напряжение 2500 В |
||||
| 1) кабелей напряжением выше 1 кВ (кроме резиновых кабелей 3—10 кВ) |
К, Т |
Групповые кабели на подстанциях могут испытываться без отсоединения от шин. Испытание повышенным напряжением выпрямленного тока кабелей, расположенных в пределах одного распределительного устройства или здания, рекомендуется производить не более 1 раза в год |
||||
| 2) кабелей 3—10 кВ с резиновой изоляцией (например, марок КИЭВГ, ЭВТ) |
К |
Испытываются напряжением 2U ном в течение 5 мин |
__ |
|||
| 1.3. Измерение сопротивления изоляции |
Проверяется мегаомметром на напряжение 2500 В в течение 1 мин. Сопротивление изоляции должно быть не ниже 0,5 МОм |
__ |
||||
| 1) кабелей 3—10кВ с резиновой изоляцией |
Т, М |
Производится после мелких ремонтов, не связанных с перемонтажем кабеля, перед наступлением сезона (в сезонных установках) и не реже 1 раза в год в стационарных установках |
||||
| 2) кабелей напряжением до 1 кВ |
К |
__ |
||||
| Продолжение таблицы |
||||||
| Наименование испытания |
Вид испытания |
Нормы испытания |
Указания |
|||
| 1.4. Контроль осушения вертикальных участков |
М |
Разность нагрева отдельных точек должна быть в пределах 2—3°С. Контроль осушения можно производить также путем снятия кривых tg d =f (U) на вертикальных участках |
Производится на кабелях 20— 35 кВ путем измерения и сопоставления температур нагрева оболочки в разных точках вертикального участка |
|||
| 1.5. Определение сопротивлений заземлений |
К |
Производится у металлических концевых заделок на линиях всех напряжений, кроме линий до 1000 В с заземленной нейтралью, а на линиях напряжением 110—220 кВ также у металлических конструкций кабельных колодцев и подпиточных пунктов |
||||
| 1.6. Измерение токораспределения по одножильным кабелям |
К |
Неравномерность распределения токов на кабелях должна быть не более 10% (особенно если это приводит к перегрузке отдельных фаз) |
||||
| 1.7. Измерение блуждающих токов |
М |
Опасными считаются токи на участках линий в анодных и знакопеременных зонах в следующих случаях: 1) бронированные кабели, проложенные в малоагрессивных грунтах (удельное сопротивление почвы р>20 Ом.м), при среднесуточной плотности тока утечки в землю более 15 мА/м2 ; 2) бронированные кабели, проложенные в агрессивных грунтах (р< <20 Ом-м), при любой плотности тока утечки на землю; 3) кабели с незащищенными металлическими оболочками, с разрушенными броней и защитными покрытиями; 4) стальные трубопроводы линий высокого давления независимо от агрессивности окружающего грунта и видов изоляционных покрытий на них |
Производится у кабелей, проложенных в районах нахождения электрифицированного транспорта (метрополитена, трамвая, железной дороги), 2 раза в первый год эксплуатации кабеля или электрифицированного транспорта, далее—согласно местным инструкциям. Измеряются потенциалы и токи на оболочках кабелей в контрольных точках, а также параметры установки электрозащит |
|||
| Продолжение таблицы |
||||||
| Наименование испытания |
Вид испытания |
Нормы испытания |
Указания |
|||
| 1.8. Определение химической коррозии |
М |
Оценку коррозионной активности грунтов и естественных вод рекомендуется производить по данным химического анализа среды или методом потери массы металла |
Производится, если имеет место повреждение кабелей коррозией и нет сведений о коррозионных условиях трассы |
|||
| 1.9. Измерение нагрузки |
М |
Токовые нагрузки должны удовлетворять требованиям ПУЭ |
Должно производиться ежегодно не менее 2 раз, в том числе 1 раз в период максимальной нагрузки линии |
|||
| 1.10. Измерение температуры |
М |
Температура кабелей не должна превышать допустимых значений |
Производится по местным инструкциям на участках трассы. где имеется опасность перегрева кабелей |
|||
| 1.11. Проверка срабатывания защиты линии до 1000 В с заземленной нейтралью |
К, М |
При замыкании на корпус концевой заделки должен возникнуть ток однофазного короткого замыкания, превышающий номинальный ток плавкой вставки ближайшего предохранителя или расцепителя автоматического выключателя. Превышение должно быть не меньше, чем указано в ПУЭ |
Производится у металлических концевых заделок непосредственным измерением тока однофазного короткого замыкания на корпус с помощью специальных приборов или измерением полного сопротивления петли фаза — нуль с последующим определением тока однофазного короткого замыкания. Полученный ток сравнивается с номинальным током защитного аппарата линии с учетом коэффициентов ПУЭ |
|||
Рассмотрим особенности испытания кабельных линий повышенным напряжением.
Применение выпрямленного напряжения для испытания КЛ весьма эффективно. Для этих целей применяются транспортабельные испытательные установки ограниченной мощности и габаритов. Последнее определяется тем, что параметры таких установок зависят от тока утечки и изоляции КЛ, в то время как при использовании повышенного переменного напряжения параметры установок определяются емкостью линий, которая для КЛ весьма значительна. При этом выпрямленное напряжение, по сравнению с таким же по величине напряжением, оказывает малое воздействие на неповрежденную изоляцию кабельных линий.
Испытание выпрямленным напряжением, к сожалению, выявляет не все ослабленные места изоляции КЛ. В частности, не выявляются: электрическое старение изоляции; осушение изоляции из-за перемещения или стекания пропиточного состава; высыхания изоляции из-за тяжелого теплового режима работы кабельных линий.
Испытания повышенным напряжением являются разрушающими, так как при приложении испытательного напряжения изоляция КЛ в месте дефекта доводится до полного разрушения (пробоя). После пробоя необходим ремонт линии в том или ином объеме. Разрабатываемые в последнее время методы специальной дефектоскопии электрооборудования, с помощью которых ослабленное место испытуемого объекта выявляется без его разрушения, к сожалению, не затрагивают испытания кабельных линий.
Различаются приемосдаточные испытания (П), испытания при капитальном (К) и текущем (Т) ремонтах, а также межремонтные испытания (М). Для кабельных линий городских сетей характерны испытания П,К и М. При этом испытания К и М согласно принятой терминологии носят названия профилактических испытаний (ПИ).
Таблица 2
Испытательное выпрямленное напряжение для кабельных линий
| Напряжение линии, кВ |
Испытательное напряжение, кВ, для кабелей |
|
| С бумажной изоляцией |
С пластмассовой изоляцией |
|
| <1 6 10 35 110 220 |
2.5 36-45 60 175 250 500 |
2.5 36 60 -- -- -- |
Значения испытательного выпрямленного напряжения для КЛ при профилактических испытаниях приведены в табл. 1-2. Для линий напряжением до 1кВ вместо испытания повышенным напряжением допускается проверка их мегомметром напряжением 2500 В. Испытательное напряжение при приемосдаточных испытаниях, в отличие от данных табл. 1-2, для линий до 1 кВ составляет 6 кВ, для линий 6 кВ ровно 36 кВ. Время приложения испытательного напряжения для КЛ напряжением до 35 кВ принимается равным 10 мин при приемосдаточных испытаниях и 5 мин для линий, находящихся в эксплуатации. Для линий 110-220 кВ время приложения напряжения составляет 15 мин.
При испытаниях повышенным напряжением необходимо учитывать характер изменения токов утечки, которые для КЛ с удовлетворительной изоляцией, как правило, весьма стабильны. Для кабелей с бумажной изоляцией напряжением до 10 кВ ток утечки находится в пределах 300 мкА, для кабелей 35 кВ около 800 мкА. При этом абсолютное значение тока утечки не является браковочным показателем. Асимметрия токов утечки по фазам КЛ не должна превышать восьми-десяти при условии, что абсолютные значения токов утечки не превышают допустимые.
До и после испытания линий повышенным напряжением производится измерение сопротивления изоляции линии с помощью мегомметра. При этом сопротивление изоляции КЛ до 1 кВ должно быть не ниже 0,5 МОм. Для линий других напряжений сопротивление изоляции не нормируется. Проверка мегомметром позволяет также выявить серьезные повреждения КЛ , в частности, заземление и обрыва жил, замыкания между жилами и т.п.
Профилактические испытания (ПИ) делятся на плановые и внеплановые. Периодичность плановых испытаний устанавливается руководством ПЭС с учетом местных условий. При этом автоматизированные линии могут испытываться реже, чем неавтоматизированные. Однако ПИ кабельных линий 6-35 кВ должны производиться не реже одного раза в три года. Линии, имеющие по опыту эксплуатации недостаточно удовлетворительное состояние изоляции или работающие в неблагоприятных условиях (частные земляные раскопки на трассе линий, активная коррозия и т.п.), рекомендуется подвергать более частым испытаниям. Внеочередные испытания назначаются после производства земляных работ на трассе КЛ. ее перекладки или капитального ремонта, при наличии осадки или размыва грунта на трассе и т.п. Рекомендуется также через месяц производить повторное испытание таких линий. Периодичность испытания кабельных линий 110-220 кВ устанавливается по местным условиям.
Профилактические испытания КЛ могут производиться двумя методами: с выводом из работы линий и их всесторонним отключением на время проведения испытания; без вывода из работы линий с наложением испытательного напряжения на участок сети, находящейся под рабочим напряжением и под нагрузкой нормального режима (испытания «под нагрузкой»).
Для испытаний применяются специальные высоковольтные выпрямительные установки, размещаемые, как правило, в передвижных электролабораториях. При испытании отрицательный полюс установки присоединяется к жиле кабельной линии, а положительный полюс заземляется. Для трехжильных кабелей с поясной изоляцией испытательное напряжение прикладывается поочередно к каждой жиле, в то время как две другие жилы вместе с металлическими оболочками кабеля заземляются. При этом испытывается междуфазовая изоляция и изоляция жилы по отношению к земле. Для кабелей с изолированными жилами в отдельной металлической оболочке или экране испытательное напряжение прикладывается поочередно к каждой жиле, с одновременным заземлением двух других жил и всех металлических оболочек и экранов.
Наибольшее применение имеет способ испытания, при котором полностью отключается кабельная линия (рис 1-1,а). при высокой эффективности этот способ достаточно трудоемкий, так как процесс испытания требует поочередного вывода линий из работы. При этом нарушается нормальный режим сети, что ведет к увеличению потерь энергии в сети и снижается надежность электроснабжения потребителей. Отключение и обратное включение линий происходит при высоком напряжении, т.е. необходимо обеспечить безопасность персонала, выполняющего эти операции.
![]()

Рис. 1-1. Схемы испытания кабельных линий:
а – с отключением линий; б – без отключения линий
Перед началом установка заземляется и производится осмотр всех элементов КЛ. При наличии видимых дефектов последние устраняются. В зависимости от схемы присоединения линии вместе с ней может испытываться то или иное концевое электрооборудование (опорные изоляторы линейного разъединителя и т.п.). допускается производить испытание одновременно нескольких участков распределительной линии при условии, что силовые трансформаторы и трансформаторы напряжения в ТП, находящийся в схеме линии, на это время отключаются.
После присоединения испытательной установки к линии повышенное напряжение увеличивают плавно со скоростью не более 1-2 кВ в секунду до необходимого значения (см.табл. 1-2) и затем поддерживают в течение установленного времени. При этом ведется наблюдение за током утечки, а на последней минуте испытания записывается показание микроамперметра. Линия является выдержавшей испытание, если не произошло пробоя или перекрытия концевых муфт, не наблюдалось роста тока утечки или его резких скачков в период испытания. Кабельная линия после испытания значительное время сохраняет электрический заряд, который в последующем снимается разрядным устройством.
Как отмечалось, точки утечки и их неравномерность по фазам не рассматриваются в качестве браковочных показателей. Однако они характеризуют состояние изоляции кабельной линии и, главным образом, изоляции концевых муфт. При заметном нарастании тока утечки или при появлении скачков тока продолжительность испытания следует увеличить до 10-20 мин и довести испытание до пробоя линии. Если линия не пробивается, она может быть включена в работу с повторным испытанием через месяц. В дальнейшем такие линии рекомендуется испытывать не реже 1 раза в год. Если значения токов утечки стабильны, но превосходят 300 мкА при относительной влажности окружающей среды до 80% и 500 мкА при влажности более 80% для линий до 10 кВ, а также 800 и 1500 мкА соответственно для линий 35 кВ, кабельная линия после испытания может быть включена в работу, но с сокращением срока следующего испытания.
Кабельные линии с плохим состоянием изоляции рекомендуется испытывать в летний период, линии с подводными переходами – до начала ледостава или ледохода. Результаты испытания (среди них значения тока утечки) записываются в паспортную карту КЛ и сопоставляются с результатами предыдущих испытаний для суждения об изменении состояния изоляции линии.
Образец кабеля, имеющий дефекты, при пробое рекомендуется вырезать и обследовать в стационарных установках. Это необходимо с целью определения причин возникновения дефекта и разработки соответствующих мероприятий, исключающих такие дефекты. Результаты обследования оформляются соответствующим протоколом и записываются в карту КЛ. При наличии заводских дефектов составляется рекламация, которая предъявляется заводу-изготовителю кабеля и арматуры.
Второй способ испытания повышенным напряжением в настоящее время разработан только для КЛ напряжением 6 кВ. Применение способа приводит к удешевлению испытаний за счет значительного сокращения числа переключателей в сети и сокращения трудозатрат, связанных с производством самих испытаний. В данном случае испытанию подвергается участок сети, находящийся в нормальном режиме. Как правило, испытания проводятся в период минимальной нагрузки, с предварительным уведомлением потребителей испытываемого участка сети.
По сравнению с первым способом метод испытания под нагрузкой имеет меньшую эффективность. Однако при таком испытании изоляция КЛ поддерживается на необходимом уровне, который предохраняет сеть от многочисленных повреждений, возникающих при перенапряжениях в сети по различным причинам.
При испытании сети под нагрузкой испытывается изоляция всех кабельных линий, трансформаторов и оборудования путем подачи в нулевую точку работающей сети 6 кВ выпрямленного напряжения 20-24 кВ. в результате изоляция сети по отношению к земле во время испытания находится под пульсирующим напряжением с максимальным значением 29 кВ (выпрямленное напряжение плюс рабочее переменное). Схема испытания «под нагрузкой» указана на рис.1-1,б. Испытательная установка присоединяется, как правило, к нулевому выводу трансформатора собственных нужд понижающей подстанции. На время испытания дугогасящая катушка (если лна есть на подстанции) отключается.
Применение метода ограничивается, как отмечено, сетями напряжения 6 кВ, емкостный ток испытываемого участка сети должен быть не более 20 А, на участке не должно быть электродвигателей 6 кВ или они должны отключаться во время испытания, электроприемники I категории участка должны быть оборудованы устройствами АВР.
В связи с уменьшением значения испытательного напряжения испытания рекомендуется проводить 2-6 раз в год. Продолжительность испытания составляет 3 мин. При появлении скачков тока утечки с целью предотвращения перехода замыкания на землю в двухфазное (трехфазное) короткое замыкание число подъемов испытательного напряжения должно быть не более двух, с общей выдержкой сети под повышенным напряжением не более 5 мин. во время испытаний необходимо присутствие специальной бригады для быстрого обнаружения и локализации возникающих дефектов в КЛ и в оборудовании сети. При этом может использоваться специальный прибор типа ВС направленного действия. Поскольку по данному методу не испытывается междуфазовая изоляция, рекомендуется один раз в два-три года производить дополнительные испытания по двухполярной схеме с отключением линий. Величина испытательного напряжения устанавливается в зависимости от местных условий.
1-2. ВИДЫ ПОВРЕЖДЕНИЙ И ПРОЖИГАНИЕ КАБЕЛЬНЫХ ЛИНИЙ
После пробоя КЛ по причине отказа или в результате испытания, за исключением прямых механических повреждений, возникает необходимость в определении места повреждения линии. В настоящее время имеются совершенные методы, с помощью которых место повреждения, как правило, устанавливается с достаточной точностью и в ограниченное время.
Каждый метод имеет свою область использования, которая определяется характером повреждения КЛ и, в том числе, переходным сопротивлением, возникающем в месте повреждения. В связи с этим перед определением места повреждения необходимо определить характер повреждения, а также произвести при необходимости прожигание кабеля с целью снижения переходного сопротивления в месте повреждения его изоляции до требуемого уровня.
Повреждения КЛ имеют различный характер: повреждение изоляции с замыканием одной жилы на землю; повреждение изоляции с замыканием двух или трех жил на землю, двух или трех жил между собой в одном или в разных местах; обрыв одной, двух или трех жил с заземлением и без заземления жил; заплывающий пробой изоляции; сложные повреждения, содержащие указанные виды повреждений. Наиболее распространенный случай – это повреждение между жилой и оболочкой кабеля, т.е. однофазные повреждения, особенно для кабелей с жилами в самостоятельных оболочках.
Все измерения на КЛ производятся с их полным отключением и выполнением необходимых мер техники безопасности. Как правило, определение характера повреждения производится с помощью мегомметра на 2500 В, которым измеряется сопротивление изоляции каждой жилы по отношению к земле и сопротивление изоляции между жилами. Целостность жил проверяется с обоих концов линии путем поочередной установки закоротки на концах линии. Для кабельных линий 0,38 кВ могут использоваться приборы типа МС-0,5, МС-0,8, ТТ-1 и т.п. При определении характера сложного повреждения используются измерители неоднородностей кабельных линий типов Р5-1А, Р5-5, Р5-9, а при необходимости характер уточняется с помощью поочередного испытания выпрямленным напряжением изоляции каждой жилы по отношению к оболочке и между жилами.
В процессе определения характера повреждения, как отмечалось, устанавливается необходимость прожигания изоляции КЛ в месте повреждения. Значение переходного сопротивления, до которого необходимо вести процесс прожигания изоляции, указан ниже. Процесс прожигания кабеля достаточно трудоемкий и требует специальной аппаратуры, которая должна иметь достаточную мощность и широкие диапазоны ее регулирования. Процесс характеризуется многократным повторением электрического пробоя изоляции кабеля в месте его повреждения, что позволяет постепенно снизить переходное сопротивление в месте повреждения до требуемого значения. При этом по мере снижения сопротивления напряжение пробоя уменьшается и одновременно возрастают ток в цепи пробоя и мощность установки для прожигания.
Прожигание КЛ может производиться с использованием переменного или выпрямленного напряжения. При этом использование резонансных установок не рекомендуется.
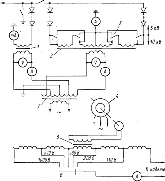
Рекомендуется так называемый ступенчатый способ ведения прожигания, в процессе которого меняются источники питания по мере уменьшения напряжения пробоя и переходного сопротивления в месте повреждения. На первой и второй ступенях прожигания используется выпрямленное напряжение. Напряжение установки на первой ступени принимается 30-50 кВ при максимальном токе 0,1-0,5 А, (установка для испытания КЛ). на второй ступени применяется более мощная установка напряжением 5-8 кВ и максимальным током 5-10 А. на третьей ступени используется генератор высокой частоты, позволяющий регулировать напряжение на выходе до 0,05-0,5 кВ при максимальном токе до 10 А.
К кабелю

Рис. 1-2. Принципиальная схема установки прожигания КЛ
1 – трансформатор выпрямителя ВП-60, 0,22/42,5 кВ; 2 - трансформатор выпрямителя ВП-5/10, 7 кВ А; 3 – переключатель ВП-10/5; 4 – генератор звуковой частоты АТО-8; 5 – трансформатор согласующий 8 кВ А, 1000/500/380/110 В; 6 – переключатель; 7 – регулировочный трансформатор напряжения 250 В.
Указанный принцип реализован в установке для прожигания, разработанной Московской кабельной сетью. Принципиальная схема устройства приведена на рис. 1-2. Используется выпрямитель ВП-60 (1 ) для испытания и предварительного прожигания изоляции кабеля, выпрямитель ВП-10/5 (3 ) для дожигания изоляции до малых переходных сопротивлений и генератор (4 ) звуковой частоты АТО-8 с согласующим трансформатором (1000-500-380-270-110 В) для окончательного дожигания места повреждения. Генератор применяется также для индукционного способа определения места повреждения кабеля. Выпрямитель ВП-60 обеспечивает выпрямленное напряжение 60 кВ при среднем значении тока 50-75 мА. Выпрямитель ВП-10/5 имеет напряжение 10 кВ при токе 3 А.
Прожигание начинают выпрямителем ВП-60 и ведут в режиме допустимой мощности (75 мА) до тех пор, пока напряжение не снизится до 15 кВ, после чего подключают выпрямитель ВП-10/5 и ведут прожигание с использованием обоих выпрямителей. Когда напряжение пробоя уменьшится до 10 кВ и нагрузка выпрямителя ВП-10/5 достигнет 1 А, выпрямитель ВП-60 отключают. При снижении напряжения пробоя до 5 кВ обмотки выпрямителя ВП-10/5 переключают с последовательного на параллельное соединение с помощью высоковольтного переключателя (10 ) и продолжают прожигание при напряжении 5 кВ. Когда напряжение пробоя достигнет нулевого значения, включают рубильник 2 на землю. Если показание амперметра ВП-10/5 не меняется, переходное сопротивление в месте повреждения доведено до малой величины. Прожигание до нулевых значений переходного сопротивления с целью использования импульсного метода определения места повреждения, который требует металлического соединения жилы с оболочкой кабеля, выполняется с использованием генератора звуковой частоты при изменении напряжения в пределах 1000-100 В.
В зависимости от характера повреждения и состояния КЛ процесс прожигания изоляции происходит по-разному. Обычно после нескольких минут прожигания на первой ступени разрядное напряжение снижается до значения, позволяющего перейти на вторую ступень. После 10-15 минут работы на второй ступени напряжение снижается до нуля, переходное сопротивление – до 20-30 Ом, после чего включается третья ступень. Если сопротивление возрастает, вновь возвращаются к прожиганию на второй ступени и, по мере снижения сопротивления, на третьей ступени.
При повреждении подводной КЛ или линии, имеющей увлажненную изоляцию, прожигание изоляции требует большего времени. После повторения пробоев на первой ступени в течение нескольких минут и снижения напряжения работа на второй ступени происходит более длительно, характеризуется устойчивым током и переходное сопротивление не снижается менее чем до 2-3 кОм. Несколько часов может протекать прожигание соединительной муфты при наличии так называемого заплывающего пробоя, когда переходное сопротивление может резко изменяться включая восстановление изоляции после пробоев на сниженном напряжении.
1-3. МЕТОДЫ ОПРЕДЕЛЕНИЯ МЕСТ ПОВРЕЖДЕНИЯ КАБЕЛЬНЫХ ЛИНИЙ
При определении мест повреждения кабельных линий необходимо соблюдать серьезные требования: погрешность не должна превышать 3 м (при этом учитываются трудности производства земляных работ на городских проездах с усовершенствованным покрытием); выполнение ОМП должно ограничиваться несколькими часами; должны соблюдаться правила безопасности персонала. Указанные требования усиливаются необходимостью быстрейшего ремонта КЛ при ее повреждении, так как при выводе линии в ремонт нарушается надежность электроснабжения потребителей и возрастают потери электроэнергии в сети. Для кабельных линий, проложенных в земляной траншее, следует учитывать опасность проникновения влаги в изоляцию в результате нарушений герметичности, возникающих в месте повреждения. Проникновение влаги может быть весьма интенсивным и распространяться на значительную длину вдоль линии.
При быстром определении места повреждения ремонт линии ограничивается заменой участка кабеля длиной 3—5 м и монтажом двух соединительных муфт, в благоприятных случаях может быть установлена одна муфта. Если работы по определению места повреждения затягиваются, что ведет к проникновению влаги, то возникает необходимость замены участка кабеля с увлажненной изоляцией длиной уже в несколько десятков метров, Это, в свою очередь, увеличивает объем земляных работ и ведет к удорожанию ремонта линии.
В соответствии с установившейся практикой определяют место повреждения в два приема: сначала определяют зоны повреждения кабельной линии, затем уточняется место повреждения в пределах зоны. На первом этапе определение места повреждения производится с конца линии, на втором этапе — непосредственно на трассе линии. В связи с этим методы соответственно разделяются на дистанционные (относительные) и топографические (абсолютные). Ориентировочно область использования методов определения места повреждения, приведена в табл. 3. При сложных повреждениях возможно сочетание различных методов определения мест повреждений.
К дистанционным методам относятся; импульсный, колебательного разряда и мостовой, а к топографическим — индукционный, акустический и метод накладной рамки.
При импульсном методе в КЛ посылается так называемый зондирующий электрический импульс и измеряется время между моментом посылки зондирующего импульса и моментом прихода импульса, отраженного от места повреждения. При этом учитывается, что скорость распространения электромагнитных колебаний в КЛ с бумажной изоляцией находится в пределах 160 м/мкс. Время сдвига между зондирующим и отраженным импульсами определяется при помощи электронно-лучевой трубки.
Для измерений используются известные приборы ИКЛ-4, ИКЛ-5, Р5-1А, Р5-5, более совершенные Р5-9, Р5-10. Прибор присоединяется к одному концу линии (схема присоединения выбирается в зависимости от характера повреждения). На экране электронно-лучевой трубки нанесена линия масштаба времени, цена деления которого устанавливается в зависимости от диапазона измерения. Для удобства отсчета на индикаторе экрана имеется сетка. На экране трубки виден отраженный импульс, вершина которого при обрыве жил направлена вверх, при замыкании жил — вниз. Кроме того, отражается изменение волнового сопротивления линии за счет соединительных муфт, изменения сечения линии и т. д.
Импульсный метод может быть применен в КЛ любых конструкций при однофазных и многофазных повреждениях устойчивого характера (Rп<50/100 Ом), при обрывах жил (Rц> >106 Ом) и при сложных повреждениях.
Таблица 3
Рекомендуемые методы определения места повреждения кабельных линий
| Вид повреж-дения |
Схема повреждения |
Переходное сопротивление, Ом |
Дистанционный метод |
Топографический метод |
| Замыка-ниние на обо-лочку кабеля |
Rп<50 |
импульсный |
акустический |
|
| 100<Rп<104 |
МОСТОВОЙ |
акустический, накладная рамка |
||
| Rп<=50 |
импульсный |
акустический, индукционный, при Rп= 0— накладная рамка |
||
| 100<Rп<104 |
МОСТОВОЙ |
акустический |
||
| Rп<=50 |
импульсный |
акустический |
||
| 100<Rп<104 |
МОСТОВОЙ |
акустический, индукционный |
||
| Замыка-ние между фазами |
Rп<=100 |
импульсный |
индукционный |
|
| Обрыв жил заземле-нием и без заземле-ния |
Rп>106 |
импульсный, колебательного разряда |
акустический, индукционный, накладная рамка, при Rп= О—индукционный |
|
| Rп > 106 |
импульсный, колебательного разряда |
акустический при Rп= 500 - индукционный |
||
| 0<Rп<5*103 |
импульсный |
акустический, индукционный |
||
| Заплы-вающий пробой |
Rп>106 |
колебательный разряд |
акустический |
Метод колебательного разряда базируется на измерении периода (полупериода) собственных электрических колебаний, которые возникают в КЛ в момент ее пробоя, т. е. при разряде электрической дуги в месте повреждения. Для определения места повреждения по данному методу линию необходимо доводить до пробоя в момент измерений. Последнее предусматривается за счет подачи на линию повышенного напряжения (ниже испытательного). Метод предназначен для определения места повреждения кабельных линий при наличии «заплывающего» пробоя или в тех случаях, когда в месте повреждения отмечаются электрические разряды. «Заплывающий» пробой характеризуется следующими друг за другом пробоями с разными промежутками времени под воздействием повышенного напряжения. При снижении напряжения пробои прекращаются. В некоторых случаях поврежденная линия начинает выдерживать более высокое напряжение, вплоть до испытательного, т. е. изоляция линии временно восстанавливается. Это наблюдается преимущественно в муфтах.
Рис. 1-3. Схема включения прибора при определении места повреждения методом колебательного разряда
1 — выпрямитель ВП-60; 2 — емкостный делитель напряжения; 3 — жилы кабеля
Для измерения расстояния до места повреждения применяются приборы ЭМКС-58М и Ш-4120 с емкостным делителем напряжения, присоединяемые к линии с помощью испытательной установки (рис. 1-3). В процессе определения места повреждения напряжение установки поднимается до пробивного, в момент пробоя прибор производит измерение и самоблокируется. Шкала прибора проградуирована в относительных единицах. Отсчет расстояния до места повреждения производится по шкале с учетом причины отклонения стрелки и предела измерений. При определении места однофазного повреждения целые жилы КЛ должны быть изолированы. При повреждении между жилами напряжение испытательной установки подается на одну жилу, а две других заземляются через сопротивление более 1000 Ом. Мостовой метод предусматривает использование измерительных мостов постоянного или переменного тока. Для измерения расстояния до места повреждения собирается мостовая схема из регулируемых резисторов измерительного моста и поврежденной здоровой жил, соединенных накоротко с противоположного конца линии. При определении места повреждения путем измерения R1 и R2 добиваются равновесия моста. В таком случае расстояние до места повреждения равно
lx = 2LR 1/ (R 1 +R 2 ),
где L — длина линии; R1 и R 2 , — сопротивление резистора, присоединенного к поврежденной и неповрежденной жилам соответственно. Измерения производят с обоих концов кабельной линии. Показателем правильности измерений служит соотношение
| 0.997 < 2 x |
R’1 |
+ 2 x |
R”1 |
< 1.003 |
| R’1 + R’2 |
R”1 + R”2 |
где штрихи соответствуют показаниям на одном и на другом конце линии.
Схема измерения выполняется с использованием специальных проводов и зажимов с целью исключения влияния сопротивления контактов на результаты. Если линия имеет вставки разных сечений, сопротивление линии приводится к одному эквивалентному. При применении мостового метода необходимо иметь одну неповрежденную жилу или жилу с переходным сопротивлением, не менее чем в 100 раз большим переходного сопротивления других жил. Значение переходного сопротивления поврежденной жилы не более 5000 Ом. Методом надежно определяются однофазные и многофазные повреждения устойчивого характера. При обрывах жил определение места повреждения производится путем измерения емкости линии при помощи моста переменного тока. Как правило, применяется универсальный кабельный мост Р-334, который допускает измерение на постоянном и переменном токе.
Индукционный метод относится к топографическим методам и основан на принципе прослушивания с поверхности земли звука, который создается электромагнитными колебаниями при прохождении по жилам КЛ тока звуковой частоты (800— 1200 Гц). С этой целью генератор звуковой частоты присоединяется к двум жилам кабельной линии (рис. 1-4). Для прослушивания звука используются специальная приемная рамка с усилителем (кабелеискатель) и телефонные наушники. При движении оператора с кабелеискателем по трассе звук в наушниках будет периодически изменяться из-за наличия скрутки жил. Кроме того, звук будет усиливаться над соединительной муфтой, изменяться в зависимости от изменения глубины прокладки линии, наличия труб и т. п. Только над местом повреждения будет отмечаться резкое возрастание звука с последующим его затуханием на расстоянии 0,5—1,0 м от повреждения.
С помощью индукционного метода определяются двух- и трехфазные повреждения устойчивого характера при значении переходного сопротивления не более 20—25 Ом. Генераторы звуковой частоты и кабелеискатели применяются различного схемного и конструктивного исполнения. С целью увеличения чувствительности метода и исключения индустриальных помех (соседние кабели, электрифицированный транспорт и т.п.) при их большой интенсивности увеличивают частоту генератора до 10 кГц, применяют кабелеискатели с высокоизбирательными антеннами и используют настроенность рамки. В этой связи может быть отмечен комплект аппаратуры ВНИИЭ, включающий генератор ГК-77 на частоту 1 и 10 кГц, кабелеискатель КАИ-77, индукционный и акустический датчик повышенной чувствительности.
Рис. 1-4. Определение места повреждения индукционным методом: а — схема включения генератора звуковой частоты при замыкании жил кабеля; б — изменение звучания по трассе поврежденного кабеля
Индукционный метод широко используется для определения трассы кабеля и глубины его залегания в земляной траншее. С этой целью первый вывод генератора присоединяется к жиле, противоположный ее конец и второй вывод генератора заземляется. Ток генератора в зависимости от величины помех и глубины залегания кабеля устанавливается до 15—20 А. При горизонтальном расположении приемной рамки кабелеискателя максимальный звук в наушниках будет соответствовать положению :и над кабелем. При вертикальном расположении рамки звук кабелем будет исчезать, возрастая и затем медленно убывая, перемещении рамки в одну и другую сторону от кабеля. В результате указанного прослушивания звука над трассой устанавливается ее точное положение. Для определения глубины залегания кабеля в траншее приемную рамку кабелеискателя устанавливают под углом 45° к вертикальной плоскости, проходящей через кабель. Рамку отводят от линии расположения кабеля до того момента, когда пропадет звук в наушниках. Расстояние между линией трассы и положением рамки будет соответствовать, глубине прокладки кабеля. Метод используется также для определения положения соединительных муфт на трассе линии. В таком случае генератор включают по схеме двухпроводного питания, т. е. выводы генератора присоединяются к двум жилам линии, последние с другого конца соединяются накоротко. Над муфтами будет прослушиваться резкое усиление звука. Метод накладной рамки является разновидностью индукционного метода. При этом вместо приемной рамки к кабелеискателю присоединяется так называемая накладная рамка, выполненная в виде металлической обоймы, внутри которой расположена измерительная катушка. Накладная рамка вращается оратором вокруг поврежденного кабеля при включенном генераторе звуковой частоты. Звук в наушниках до места повреждения будет дважды изменяться, достигая максимума и минимума, местом повреждения в наушниках будет прослушиваться монотонное звучание. Метод накладной рамки применяется на открыто сложенных КЛ, при замыкании одной жилы на оболочку (особенно для кабелей с жилами в самостоятельных металлических оболочках) и при повреждении изоляции двух или трех жил большим переходным сопротивлением. При применении метода для линий, проложенных в земле, производится вскрытие трассы помощью шурфов.
Рис. 1-5. Схемы определения места повреждения акустическим методом:
а—для линий до 1000 В; б—то же, выше 1000 В
1 — двигатель Уорена; 2 — коммутатор 60/2 об/мин, 60/10 об/мин; 3 — переключатель; 4 — разрядник; 5 — трансформатор ВП-5; 6 — диод; 7 — конденсатор ИС-5х200; в — разрядник; 9 — конденсатор ИМ-30-30; 10 — кривая изменения звука над местом повреждения
Акустический метод основан на прослушивании над местом повреждения звуковых колебаний, возникающих в месте повреждения по причине искрового разряда от электрических импульсов, посылаемых в кабельную линию. В качестве источника импульсов служит испытательная установка. Схема определения места повреждения зависит от вида повреждения КЛ (рис. 1-5). Если произошел «заплывающий» пробой, то источником импульсов служит испытательная установка, напряжение которой поднимается до пробоя в месте повреждения (рис. 1-5, а). При устойчивых замыканиях в месте повреждения для образования импульса используется испытательная установка, разрядник и накопительная (зарядная) емкость или емкость неповрежденных жил (рис. 1-5, б, в). В этом случае одновременно с разрядником происходит разряд в месте повреждения КЛ. В процессе определения места повреждения звук разряда периодически посылаемых импульсов прослушивается в месте повреждения оператором с помощью деревянного стетоскопа или кабедеискателя с пьезодатчиком, который преобразует механические колебания, возникающие в грунте при разряде импульса, в электрические. Максимальный звук соответствует месту повреждения. Метод используется при «заплывающих» пробоях, одно- и многофазных повреждениях устойчивого характера (но не металлических замыканий), при обрывах жил с заземлением в месте повреждения. Современные кабелеискатели КАИ-73, КАИ-77 являются акустико-индукционными и могут использоваться для акустического и индукционного методов измерения.
Дополнительно отметим, что определенные трудности, возникающие при дистанционном и топографическом методах определения места повреждения, возникают ввиду однофазных замыканий на землю. В частности, импульсный метод дает надежные результаты только при малом значении переходного сопротивления в месте повреждения. В противном случае метод считается непригодным. По этой причине в 1983 г. начинается промышленное изготовление нового прибора типа Р5-12, принцип работы которого базируется на импульсной локации во время горения дуги. В результате область использования импульсного метода значительно расширяется. В частности, с его помощью можно будет определять дефект кабельной линии при увлажненной изоляции и даже «заплывающий» пробой.
При однофазных повреждениях КЛ (при металлическом замыкании на землю) акустический метод непригоден. Индукционный метод в таких случаях также не всегда эффективен. Только применение накладной рамки с соответствующим шурфованием на трассе кабельной линии обеспечивает определение места повреждения с необходимой точностью.
Применение индукционного метода при наличии переходного сопротивления в месте однофазного повреждения вообще исключено, так как невозможно устранить электромагнитное поле помех, которое создается током звуковой частоты, стекающим с оболочки кабеля в землю. По указанным причинам средства поиска однофазных повреждений необходимо совершенствовать. Так, можно отметить индукционно-фазовый способ, который базируется на контроле фазового сдвига тока, протекающего по поврежденной жиле кабельной линии. С этой целью в целую и поврежденную жилы линии посылают токи кратной частоты, например 1 и 10 кГц, которые создаются генераторным комплексом. Контроль производится индукционным методом с помощью усовершенствованного приемно-передающего переносного устройства. Место повреждения определяется по изменению фазового угла тока на месте дефекта кабельной линии.
В связи с внедрением кабелей с пластмассовым покрытием определение места локального повреждения ведется топографическим методом. Для этого рекомендуется применять потенциальные методы, которые предусматривают измерение разности потенциалов на поверхности земли, создаваемой током растекания в месте повреждения. В основу одного из таких способов положено сравнение двух сигналов звуковой частоты, создаваемых током в оболочке кабеля и током растекания в земле. Генератор присоединяется к оболочке кабеля и к земле. Приемная аппаратура содержит индукционный .датчик, усилители обоих сигналов, потенциальные зонды и схему сравнения фазы сигналов и стрелочный индикатор. Место повреждения устанавливается на трассе линии по нулевому показанию индикатора.
Практика использования методов определения места повреждения в городских сетях в значительной мере определяется местными условиями: наличием необходимых аппаратов и приборов для измерений, навыками персонала, определяющего место повреждения. В результате многолетнего опыта ЛКС, располагающей необходимым набором средств для обнаружения повреждений, выявлено следующее. В течение года на кабельных линиях напряжением 1—35 кВ выполняется около 1100 работ по определению мест повреждений. Из них уточняется на месте повреждения акустическим методом 93—94 % повреждений, индукционных 3—5% и только 2 % повреждений не требуют уточнения. Использование дистанционных методов распределяется следующим образом: 63 % повреждений определяются индукционным методом, 1,5 % — мостовым на постоянном токе и 1,5 % — методом колебательного разряда. Примерно 30—33 % повреждений определяются без применения дистанционных методов. Метод накладной рамки с предварительной шурфовкой применяется в единичных случаях.
В сетях ЛКС имеется около 100 кабельных линий напряжением 6—110 кВ с подводными переходами, которые имеют протяженность 30—11000 м. Методика определения мест повреждений на таких линиях также осуществляется в два этапа. Характерными видами повреждений КЛ на подводных участках являются обрыв трех жил и пробой изоляции жилы при испытаниях, а также различные повреждения линий в рабочем состоянии. При обрыве жил прожигание не требуется, а при пробое изоляции во время испытаний прожигание не вызывает особых трудностей. При повреждении линии, находящейся под рабочим напряжением, без обрыва жил возникают затруднения при попытке снизить переходное сопротивление в месте повреждения до 50—100 Ом. В таких случаях применяется для определения места повреждения петлевой метод на постоянном токе. В остальных случаях применяется импульсный метод.
При определении места повреждения на подводных участках применяется ремонтное кабельное судно с бригадой водолазов, имеющей герметизированный комплект акустического и индукционного датчиков. По результатам измерений дистанционным методом судно с водолазами устанавливается в зоне предполагаемого повреждения кабельной линии. Уточнение места повреждения производится, как правило, акустическим методом, при этом водолаз с датчиком передвигается по дну водоема по команде оператора, находящегося на судне, в зависимости от сигналов, поступающих с датчика в зоне повреждения линии. Электролаборатория в это время находится на подстанции и поддерживает заданный режим подачи электрических импульсов в линию.
Выполнение измерений на подводных участках связано со следующими трудностями: ремонтное судно не может быть установлено над подводной трассой КЛ без отклонения, которое на речных протоках доходит до 20 м, в море до 100 м; передвижение водолаза ограничено воздушным шлангом не более 25 м; в ряде случаев возникает необходимость размыва трассы гидромонитором, так как кабели на подводных переходах укладываются в углубленные траншеи: выход судна для измерений ремонта связан с погодными условиями. Поэтому определение ест повреждения на подводных участках может длиться от двух ней до одного месяца.
1.4. МЕРЫ ПРЕДОСТОРОЖНОСТИ ПРИ ОБСЛУЖИВАНИИ КАБЕЛЬНЫХ ЛИНИЙ
Наряду с общими требованиями техники безопасности, которые выполняются при работах на кабельных линиях, существуют дополнительные для допуска к работам на действующих линиях. Такой допуск необходим для проведения следующих основных операций: всестороннее отключение линии; заземление линии; определение линии на трассе; прокол кабеля и его заземление на месте производства работ, разрезание кабеля и при необходимости вскрытие муфты.
На трассе перед ремонтом должны быть вскрыты все кабели и путем тщательной проверки исполнительных чертежей определена линия, подлежащая ремонту. Дополнительно к этому ремонтируемая линия определяется с помощью переносных приборов индукционного типа.
|
|
После определения кабеля производится проверка отсутствия на нем напряжения. Согласно ПТБ такая проверка должна производиться специальным приспособлением, обеспечивающим прокол кабеля до жил и их заземление. При этом в колодцах и туннелях приспособление должно иметь дистанционное управление.
Выпускаемое промышленностью устройство с изолированной штангой и сверлом громоздко и может применяться только в траншеях. В ЛКС совместно с трестом № 45 Главзапстроя разработано пиротехническое устройство, которое обеспечивает прокол ленточной брони и оболочки до жил с замыканием их между собой и на землю. Устройство может применяться в любых условиях. На плите устройства (рис. 1-7) установлен ствол, в котором имеется патронник и поршень с пробойником, затвор с кольцом для завода в боевое положение, фиксация которого производится с помощью чеки. Устройство закрепляется на кабеле с помощью хомутов.
При работе устройства применяются пиротехнические патроны МПУ-2. Для производства выстрела чека выдергивается с помощью капронового шнура, длина которого принимается с учетом обеспечения безопасности оператора. Диаметр прокалываемого кабеля 20—66 мм, масса прибора 4,2 кг. При работе устройство заземляется, а также выполняются другие меры безопасности при работах с пиротехническим инструментом.
2. МЕРЫ ПРЕДОСТОРОЖНОСТИ ПРИ ВСКРЫТИИ МУФТ, РАЗРЕЗАНИИ КАБЕЛЯ
2.1. Перед вскрытием муфт или разрезанием кабеля необходимо удостовериться в том, что эти операции будут производиться на том кабеле, на каком нужно, что этот кабель отключен и выполнены технические мероприятия, необходимые для допуска к работам на нём.
2.2. На рабочем месте подлежащий ремонту кабель следует определять:
при прокладке кабеля в туннеле, коллекторе, канале, по стенам зданий—прослеживанием, сверкой раскладки с чертежами и схемами, проверкой по биркам;
при прокладке кабелей в земле—сверкой их расположения с чертежами прокладки. Для этой цели должна быть предварительно выполнена контрольная траншея (шурф) поперек пучка кабелей, позволяющая видеть все кабели.
2.3. В тех случаях, когда нет уверенности в правильности определения подлежащего ремонту кабеля, применяется кабелеискательный аппарат с накладной рамкой.
2.4. На КЛ перед разрезанием кабеля или вскрытием соединительной муфты необходимо проверить отсутствие напряжения с помощью специального приспособления, состоящего из изолирующей Штанги и стальной иглы или режущего наконечника. Приспособление должно обеспечить прокол или разрезание брони и оболочки до жил с замыканием их между собой и на землю. Кабель у места прокола предварительно прикрывается экраном. В туннелях, коллекторах и колодцах такое приспособление допускается применять только при наличии дистанционного управления.
2.5. Если в результате повреждений кабеля открыты все токоведущие жилы, отсутствие напряжения можно проверить непосредственно указателем напряжения без прокола.
2.6. Прокол кабеля выполняет ответственный руководитель работ или допускающий либо под их наблюдением производитель работ. Прокалывать кабель следует в диэлектрических перчатках и пользуясь предохранительными очками. Стоять при проколе нужно на изолирующем основании сверху траншеи как можно дальше от прокалываемого кабеля.
2.7. Для заземления прокалывающего приспособления используются специальный заземлитель, погруженный в почву на глубину не менее 0,5 м, или броня кабеля. Заземляющий проводник присоединяется к броне хомутами; бронелента под хомутом должна быть очищена.
В тех случаях, когда бронелента подвергалась коррозии, допускается присоединение заземляющего проводника к металлической оболочке.
При работах на кабельной четырехжильиой линии напряжением до 1000 В нулевая жила отсоединяется с обоих концов.
3. ИСПЫТАНИЯ ТРАНСФОРМАТОРА И ПРОФИЛАКТИЧЕСКИЕ РАБОТЫ, СВЯЗАННЫЕ С ЕГО ОТКЛЮЧЕНИЕМ
3.1. ИСПЫТАНИЯ ТРАНСФОРМАТОРОВ.
Таблица 4.
Силовые трансформаторы, автотрансформаторы.
К – для трансформаторов напряжением 110 кВ и выше, а также для трансформаторов мощностью 80 МВА и более производятся первый раз не позднее, чем через 12 лет после ввода в эксплуатацию с учетом результатов профилактических испытаний, а в дальнейшем – по мере необходимости в зависимости от результатов измерений и состояния трансформаторов; для остальных трансформаторов – по результатам их испытаний и состоянию.
Т – для трансформаторов, регулируемых под нагрузкой, производятся один раз в год; для трансформаторов без РПН : главных трансформаторов подстанций 35 кВ и выше – не реже 1 раза в 2 года; для остальных трансформаторов – по мере необходимости, но не реже 1 раза в 4 года; для трансформаторов, установленных в местах усиленного загрязнения, - по местным инструкциям.
М – устанавливается системой ППР. Испытания трансформаторного масла следует проводить согласно указаниям п. 4.16.
| Наименование испытания |
Вид испытания |
Нормы испытания |
Указания |
||||
| 4.1. Определение условий включения трансформатора 4.2. Измерение сопротивления изоляции: 1) обмоток с определением отношения R60 /R15 |
К К, Т, М |
Трансформаторы, прошедшие капитальный ремонт с полной или частичной заменой обмоток или изоляции, подлежат сушке независимо от результатов измерения. Трансформаторы, прошедшие капитальный ремонт без замены обмоток или изоляции, могут быть включены в работу без подсушки или сушки, а также при соблюдении условий пребывания активной части на воздухе. Продолжительность работ, связанных с разгерметизацией бака, не должна превышать: 1) для трансформаторов на напряжение до\35 кВ—24 ч при относительной влажности до 75 % и 16ч при относительной влажности до 85 %; 2) для трансформаторов на напряжение 110 кВ и более—16 ч при относительной влажности до 75 % и 10 ч при относительной влажности до 85%. Если время осмотра трансформатора превышает указанное, но не более чем в2 раза, то должна быть проведена контрольная подсушка трансформатора Наименьшие допустимые значения сопротивления изоляции, при которых возможно включение трансформаторов в работу после капитального ремонта, регламентируются указаниями табл. 2 (приложение Э1.1) [1]. При текущем ремонте и межремонтных испытаниях сопротивление изоляции R60 и отношение R60 /R15 не нормируются, но они не должны снижаться за время ремонта более чем на 30 % и должны учитываться при комплексном рассмотрении всех результатов измерений параметров изоляции и сопоставляться с ранее полученными. Сопротивление изоляции не нормируются |
При заполнении трансформаторов маслом с иными характеристиками, чем у слитого до ремонта, может наблюдаться изменение сопротивления изоляции и tg d, что должно учитываться при комплекс ной оценке состояния трансформаторов Условия включения сухих трансформаторов без сухих определяются в соответствии с указаниями завода-изготовителя Производится как до ремонта, так и после окончания. Измеряется мегаомметром на напряжение 2500 В. Измерение производится по схемам табл. 3 (приложение Э1.1) [1]. При текущем ремонте измерение производится, если специально для этого не требуется расшиновка трансформатора Для трансформаторов на напряжение 220 кВ сопротивление изо |
||||
| Продолжение таблицы |
|||||||
| Наименование испытания |
Вид испытания |
Нормы испытания |
Указания |
||||
| 2) ярмовых балок, прессующих колец и доступных для выявления замыкания стяжных шпилек . 4.3. Измерение тангенса угла диэлектрических потерь tg d изоляции обмоток |
К, Т |
ляции рекомендуется измерять при температуре не ниже 30 С, а до 150 кВ— не ниже 10 С Измеряется мегаомметром на напряжение 1000—2500 В у масляных трансформаторов только при капитальном ремонте, а у сухих трансформаторов — и при текущем ремонте При межремонтных испытаниях измерение производится у силовых трансформаторов на напряжение 110 кВ и выше или мощностью 31 500 кВ.А и более У трансформаторов на напряжение 220 кВ tg б рекомендуется измерять при температуре не ниже30°С, а до 150кВ—не ниже 10 °С. |
|||||
| К, М |
Для трансформаторов, прошедших капитальный ремонт, наибольшие допустимые значения приведены в табл. 4 (приложение Э1.1) [1]. В эксплуатации значение tg d не нормируется, но оно должно учитываться при комплексной оценке результатов измерения состояния изоляции |
||||||
| 4.4. Определение отношения C2 /C50 |
|||||||
| К |
См. табл. 5 (приложение Э1.1) [1] |
См. примечание 3 [1] |
|||||
| 4.5. Определение отношения дельтаС/С |
К |
См. табл. 6 (приложение Э1.1) [1] |
То же |
||||
| 4.6. Испытание повышенным напряжением промышленной частоты: |
К |
||||||
| 1) изоляции обмоток 35 кВ и ниже вместе с вводами |
См. табл. 7 (приложение Э1.1) [1]. Длительность испытания 1 мин. При ремонте с полной заменой обмоток и изоляции трансформаторы испытываются повышенным напряжением промышленной частоты, равным заводскому испытательному напряжению. При частичной замене обмоток испытательное напряжение выбирается в зависимости от того, сопровождалась ли замена части |
При капитальных ремонтах без замены обмоток и изоляции испытание изоляции обмоток маслонаполненных трансформаторов не обязательно |
|||||
| Продолжение таблицы |
|||||||
| Наименование испытания |
Вид испытания |
Нормы испытания |
Указания |
||||
| обмоток их снятием с сердечника или нет. Наибольшее испытательное напряжение при частичном ремонте принимается равным 90 % напряжения, принятого заводом. При капитальном ремонте без замены обмоток и изоляции или с заменой изоляции, но без замены обмоток испытательное напряжение принимается равным 85 % заводского испытательного напряжения |
|||||||
| 2) изоляции доступных для испытания стяжных шпилек, прессующих колец и ярмовых балок |
Производится напряжением 1 кВ в течение 1 мин, если заводом-изготовителем не установлены более жесткие нормы испытания |
Испытание производится в случае осмотра активной части. |
|||||
| 4.7. Измерение сопротивления обмоток постоянному току |
К, М |
Не должно отличаться более чем на ±2% от сопротивления, полученного на соответствующих ответвлениях других фаз, или от значений заводских и предыдущих эксплуатационных измерений, если нет особых оговорок в паспорте трансформатора |
Производится на всех ответвлениях, если в заводском паспорте нет других указаний и если специально для этого не требуется выемки активной части |
||||
| 4.8. Проверка коэффициента трансформации |
К |
Не должен отличаться более чем на ±2 % от значений, полученных на соответствующих ответвлениях других фаз., или от заводских (паспортных) значений. Кроме того, для трансформаторов с РПН разница коэффициентов трансформации не должна превышать значения ступени регулирования |
Производится на всех ответвлениях переключения |
||||
| 4.9. Проверка группы соединений обмоток трехфазных трансформаторов и полярности выводов однофазных трансформаторов |
К |
Должна соответствовать паспортным данным и обозначениям на щитке |
Производится при ремонтах с частичной или полной заменой обмоток |
||||
| Продолжение таблицы |
|||||||
| Наименование испытания |
Вид испытания |
Нормы испытания |
Указания |
||||
| 4.10. Измерение тока и потерь холостого хода |
К |
Не нормируется |
Производится одно из измерений, указанных ниже: 1) при номинальном напряжении измеряется ток холостого хода; 2) при пониженном напряжении измеряются потери холостого хода по схемам, по которым производилось измерение на заводе-изготовителе. Частота и значение подведенного напряжения должны соответствовать заводским |
||||
| 4.11. Проверка работы переключающего устройства |
К |
Переключающее устройство должно быть исправным и удовлетворять требованиям заводской инструкции |
Производится согласно типовым и заводским инструкциям |
||||
| 4.12. Испытание бака с радиаторами статическим давлением столба масла |
К |
Не должно быть течи масла |
Производится давлением столба масла, высота которого над уровнем заполненного расширителя принимается равной 0,6 м; для баков волнистых и с пластинчатыми радиаторами — 0,3 М. Продолжительность испытания не менее 3 ч при температуре масла не ниже 10 °С |
||||
| 4.13. Проверка устройств охлаждения |
К |
Устройства должны быть исправными и удовлетворять требованиям заводских инструкций |
Производится согласно типовым и заводским инструкциям |
||||
| 4.14. Проверка состояния индикаторного силикагеля воздухосушильных фильтров |
К, Т, М |
Силикагель должен иметь равномерную голубую окраску зерен. Изменение цвета зерен силикагеля на розовый свидетельствует о его увлажнении |
— |
||||
| 4.15. Фазировка трансформаторов |
К |
Должно иметь место совпадение по фазам |
Производится после капитального ремонта, а также при изменениях в первичных цепях |
||||
| Продолжение таблицы |
|||||||
| Наименование испытания |
Вид испытания |
Нормы испытания |
Указания |
||||
| 4.16. Испытание трансформаторного масла: 1) из трансформаторов |
К, Т, М |
Испытывается по показателям пп.1—6 (кроме п. 3) табл. 8 (приложение Э1.1) [1]. Измерение tg d масла производится у трансформаторов на напряжение 220 кВ, а также у трансформаторов, имеющих повышенное значение tg d изоляции Масло из трансформаторов с пленочной защитой должно испытываться по показателям пп. 8 'и 9 табл. 8 с азотной, защитой — по п. 8 табл. 8 [1] |
Производится: 1) после капитальных ремонтов трансформаторов; 2) не реже 1 раза в 5 лет для трансформаторов мощностью свыше 630 кВ-А, работающих с термосифонными фильтрами; 3.) не реже 1 раза в 2 года для трансформаторов, работающих без термосифонных фильтров В трансформаторах до 630 кВ-А с термосифонными фильтрами проба масла не отбирается. При неудовлетворительных характеристиках изоляции производятся работы по восстановлению изоляции, замене масла и силикагеля в термосифонных фильтрах |
||||
| 2) из баков контакторов устройств РПН (отделенного от масла трансформаторов) |
Т, М |
Масло следует заменять: 1) при пробивном напряжении ниже 25 кВ в контакторах с изоляцией 10кВ,ЗОкВ—с изоляцией 35 кВ, 35 кВ — с изоляцией 110 кВ, 110 кВ — с изоляцией 220 кВ; |
Производится после определенного числа переключении, указанного в инструкции по эксплуатации данного переключателя, но не реже 1 раза в год |
||||
| 4.17. Испытание трансформаторов включением толчком на номинальное напряжение |
К |
2) если в нем обнаружена вода (определение качественное) или механические примеси (определение визуальное) В процессе 3—5-кратного включения трансформатора на номинальное напряжение не должны иметь места явления, указывающие на неудовлетворительное состояние трансформатора |
Трансформаторы, смонтированные по схеме блока с генератором, включаются в сеть с подъемом напряжения с нуля |
||||
| 4.18. Испытание вводов 4.19. Испытание встроенных трансформаторов тока |
К.М К, М |
__ __ |
Производится согласно разд. 10 Проводится согласно пп. 19.1, 19.3, 19.4. [1] |
||||
Примечания: Испытания по пп. 4.3—4.5, 4.8-4.10, 4.13 и 4.18 не обязательны для трансформаторов мощностью до 1000 кВА
2. Испытания по пп. 4.1, 4.3-4.5, 4.10-4.14, 4.16, 4.18 и 4.19 для сухих трансформаторов всех мощностей не проводятся.
3. Измерения сопротивления изоляции, tg d, С2 /С50 , дС/С должны производиться при одной и той же температуре или приводиться к одной температуре.
Испытания и измерения силовых трансформаторов, производятся с определенной периодичностью в процессе эксплуатации в целях проверки основных технических характеристик трансформатора и отдельных его узлов.
При работе трансформатора в энергоблоке эти испытания приурочиваются ко времени вывода в ремонт котла, турбины и турбогенератора.
В объем испытаний и измерений входят испытания, позволяющие оценить состояние изоляции, а также:
измерение потерь холостого хода при малом однофазном возбуждении;
измерение активного сопротивления обмоток ( R60 и R15 , т.е. через 60 и 15 с после включения мегаомметра);
измерение коэффициента трансформации;
проверка группы соединения обмоток;
испытание изоляции приложенным напряжением.
Состояние изоляции оценивается по результатам измерения R60 и R15 каждой обмотки по отношению к другим заземленным обмоткам. Измерения производят при температуре не ниже 10 °С у трансформаторов мощностью до 80 МВ.А и напряжением до 150 кВ и при температуре не менее нижнего значения температуры, приведенного в паспорте, у трансформаторов 220-1150 кВ и у трансформаторов мощностью свыше 80 МВ.А, напряжением 110 и 150 кВ. У трансформаторов, не подвергавшихся прогреву, за температуру измерений принимается температура верхних слоев масла, а у трансформаторов, подвергавшихся нагреву, -средняя температура обмотки ВН фазы В, определяемая по сопротивлению постоянному току не ранее чем через 1-1,5 ч после отключения нагрева (или отключения трансформатора из работы) на спаде температуры.
Сопротивление изоляции измеряется мегаомметром 2500 В. Тангенс угла диэлектрических потерь (tg d) измеряется по перевернутой схеме при напряжении 10 кВ, но не более 60 % испытательного напряжения.
В процессе ревизии активной части трансформатора (в период монтажа, ремонта, сушки изоляции) состояние увлажненности его обмоток оценивается измерением отношения С/С с помощью серийного прибора ПЕКИ-1 (в энергосистемах применяют также старые приборы ПКВ-7). Результат измерения С/С не нормируется, но используется при комплексном рассмотрении характеристик изоляции, полученных другими способами измерений. Результаты проведенных измерений сравнивают с заводскими характеристиками, приведенными в паспорте трансформатора. При необходимости результаты измерения R60 и tg d приводят к температуре, указанной в паспорте, путем пересчета в зависимости от разности температур.
Характеристики изоляции необходимо измерять всегда по одним и тем же схемам и в определенной последовательности.
При комплексном рассмотрении результатов измерений (сопротивление изоляции, tg d, емкости обмоток относительно земли и друг друга, относительного прироста емкости при изменении частоты или длительности разряда) дается предварительная оценка состояния изоляции и заключение о необходимости сушки изоляции. При вводе в эксплуатацию нового трансформатора необходимо принимать во внимание условия транспортировки, хранения, правильность проведения монтажных работ, характеристики масла в баке трансформатора, а также длительность нахождения активной части в разгерметизированном состоянии при ревизии во время монтажа (то же при ремонте).
Измерение потерь холостого хода для трансформаторов 10000 кВА и более производят при пониженном напряжении (возбуждении) перед измерениями сопротивления постоянному току, чтобы избежать повышения потерь XX из-за намагничивания стали трансформатора. Снятие остаточного намагничивания производят однократным плавным увеличением и последующим плавным снижением возбуждения переменным напряжением.
По результатам измерения определяют состояния магнитопровода трансформатора (замыкание листов стали магнитопровода, образование по различным причинам короткозамкнутых контуров в узлах крепления магнитопровода). Значение потерь XX в эксплуатации не нормируется, так как со временем из-за ухудшения свойств стали потери XX имеют тенденцию к повышению. Если магнитопровод не имеет дефектов, то измерения показывают равенство потерь на крайних стержнях (у новых трансформаторов различие не более 10 %) и увеличенное примерно на 30 % значение потерь на среднем стержне магнитопровода.
Потери XX у трехфазных трансформаторов измеряют при трехфазном или при однофазном возбуждении. Для измерения потерь при однофазном напряжении проводят три опыта с измерением:
а) замыкают накоротко обмотку фазы А при возбуждении фаз В и С трансформатора;
б) замыкают накоротко обмотку фазы В при возбуждении фаз А и С;
в) аналогично для фазы С.
Потери в трансформаторе
P ОА + РОВ + РОА
ро = 2
где РОА , РОВ и РОА - потери, определенные при указанных трех опытах (за вычетом потребления прибора) при одинаковых значениях подводимого напряжения,
При измерении сопротивления обмоток постоянному току выявляют дефекты в местах паек (обрывы) обмотки, а также в различных контактах схемы соединения обмоток.
Сопротивление обмоток постоянному току измеряют по схеме "моста" или по методу падения напряжения (с помощью вольтметра и амперметра). Измерять сопротивление рекомендуется при установившейся температуре обмоток, которая указывается в протоколе испытаний вместе с температурой верхних слоев масла. В качестве источника используются аккумуляторные батареи необходимой емкости.
Для сравнения измеренных сопротивлений последние приводятся к одной температуре по формуле расчета. Для исключения ошибок, обусловленных индуктивностью обмоток, сопротивление нужно измерять только при полностью установившемся токе. Кроме того, для повышения точности измерений применяют схемы и выдерживают рекомендации, известные в практике измерений (в брошюре не рассматриваются). Оценку результатов производят путем сравнения полученных значений с данными измерений, полученными на заводе и приведенными в паспорте. Значения сопротивлений, полученные на соответствующе ответвлениях других фаз, не должны отличаться друг от друга более чем на 2 %, за исключением случаев, когда это оговорено паспортными данными или заводскими протоколами.
При измерении коэффициента трансформации выявляют неправильное подсоединение отводов устройств РП и правильность установки привода устройств ПБВ, повреждения обмоток. Коэффициент трансформации измеряют с помощью специальных электрических схем (мостов) по способу компенсации или методом двух вольтметров, один из которых присоединяется к обмотке низшего, а другой к обмотке высшего напряжения. Класс точности измерительных вольтметров должен быть не ниже 0,2.
Путем проверки группы соединения обмоток определяю тождественность группы соединения обмоток трансформаторе предназначенных для параллельной работы. В трехфазных трансформаторах, имеющих две и более обмоток разных напряжений, каждая из обмоток может быть соединена по любой схеме. Комбинация схем соединений высшего напряжения и низшего называется группой соединения, характеризующей угловой сдвиг векторов линейного напряжения обмотки низшего напряжения относительно векторов линейного напряжения обмотки высшего напряжения. Поэтому при несоблюдении тождественности групп соединения между обмотками трансформаторов возникают уравнительные токи, значительно превосходящие номинальные токи трансформаторов. Эти уравнительные токи вызывают чрезмерные перегревы изоляции (интенсивное старение), что приводит к повреждению трансформатора.
Наиболее характерными недостатками, выявленными при проверке группы соединения обмоток, являются неправильно выполненная маркировка вводов трансформатора и неправильное подсоединение отводов обмоток к вводам.
Группы соединения обмоток проверяют одним из следующих способов: двумя вольтметрами, постоянным током, фазометром (прямой метод), с помощью специального моста - одновременно с измерением коэффициента трансформации (компенсационный метод).
Метод двух вольтметров основан на совмещении векторных диаграмм первичного и вторичного напряжений и измерении напряжения между соответствующими выводами с последующим сравнением этих значений с расчетными, приведенными в справочных таблицах.
Совмещение достигается соединением между собой одноименных выводов А и а обмотки ВН и НН. Для исключения возможных ошибок при испытании трехфазных трансформаторов необходимо обращать внимание на симметрию трехфазного напряжения питания. Подачу напряжения допускается производить со стороны любой из обмоток. Метод применим для однофазных и трехфазных трансформаторов. Применяются также методы постоянного тока и фазометра.
Проверку электрической прочности изоляции производят в период монтажа и в дальнейшем в процессе эксплуатации.
В момент приложения повышенного напряжения в изоляции трансформатора создается увеличенная напряженность поля, что способствует выявлению дефекта. Характерными недостатками, обнаруживаемыми при проверке изоляции, являются:
· нарушение (сокращение) расстояния между гибкими неизолированными отводами обмоток НН в месте их подсоединения к шпильке ввода;
· местные увлажнения и загрязнения (наличие посторонних предметов) изоляции, особенно на участках отводов НН;
· наличие в трансформаторе воздушных пузырей и др.
Изоляцию обмоток вместе с вводами испытывают повышенным напряжением промышленной частоты в течение 1 мин, поочередно приложенным к каждой обмотке при заземленных на бак и закороченных остальных обмотках.
Мощность испытательного трансформатора зависит от зарядной мощности испытываемой обмотки и определяется ее емкостью и значением испытательного напряжения и выбирается из условия допустимости нагрева измерительного трансформатора емкостным током испытуемого объекта.
В зависимости от класса «напряжения трансформаторы до 35 кВ испытываются без предварительного нагрева, т.е. в холодном состоянии.
При испытательных напряжениях, превышающих 100 кВ, или при испытании трансформаторов со значительной емкостью, которая может исказить коэффициент трансформации испытательного трансформатора, измерение испытательного напряжения производят на стороне ВН с помощью шаровых разрядников или измерительных трансформаторов. В процессе испытания дефекты в трансформаторе при пробое изоляции выявляют по характерному звуку, выделению газа и дыма, по результатам газохроматографического анализа масла, по показаниям приборов измерений частичных разрядов (электрическим или акустическим методом).
В эксплуатации после ремонта с полной или частичной заменой обмоток при наличии испытательных средств производят испытание внутренней изоляции обмоток (витковой, межкатущечной) трансформатора индуктированным напряжением повышенной или промышленной частоты. При испытании напряжение подводят к одной из обмоток, другие остаются разомкнутыми.
Измерение потерь и напряжения короткого замыкания производится в эксплуатации в целях определения и нормирования значений ик и Рк трансформаторов, прошедших ремонт с заменой обмоток. По значению ик с последующим расчетом сопротивления КЗ Zк можно выявлять повреждение обмоток (деформацию) и необходимость вывода трансформатора в ремонт.
Опыт КЗ проводят, как правило, при токе не менее 25 % номинального тока на номинальной ступени напряжения обмоток, а для трансформаторов с регулированием напржения под нагрузкой - и на крайних положениях переключателя ответвлений.
Фазировку проводят перед включением трансформаторов на параллельную работу после монтажа или проведенного ремонта. Проверяют при этом допустимость параллельной работы как самих трансформаторов, так и трансформаторов с энергосистемой.
При фазировке поочередно производят измерение напряжений между фазой подключаемого трансформатора и тремя фазами сети в целях отыскания совпадающих фаз, между которыми напряжение должно быть равно нулю. Для снижения опасности измерение обычно производят на стороне НН.
Для фазировки при вводе в работу используют два метода - прямой и косвенный:
· при прямом методе фазировку производят непосредственно на находящейся под рабочим напряжением ошиновке трансформатора или на несвязанных с этой ошиновкой аппаратах, оборудовании;
· при косвенном методе при фазировке используют трансформаторы напряжения, присоединенные к фазируемым частям электроустановки, и фазировку производят во вторичных цепях трансформаторов напряжения. Косвенный метод фазировки менее опасен, но более трудоемок.
Фазировка считается законченной в случае совпадения всех трех фаз (нулевые показания вольтметра).
Методы испытаний трансформаторного масла. Масло в силовых трансформаторах, особенно мощных, находится под периодическим контролем. При комплексном обследовании трансформатора состояние масла определяет его работоспособность.
Свежее трансформаторное масло имеет светло-желтый или светлый цвет и определенные нормируемые показатели, определяющие физико-химические и диэлектрические свойства.
Стабильность масла (сохранение начальных свойств) в действующих трансформаторах с течением времени постепенно снижается. Если в начале эксплуатации изменение свойств масла почти не обнаруживается (при отсутствии дефекта в трансформаторе), то в дальнейшем значительное снижение стабильности приводит к изменениям, видимым при простом осмотре, - масло заметно мутнеет. Масло с ухудшенными показателями имеет увеличенное кислотное число и зольность, в нем появляются нежелательные компоненты (низкомолекулярные кислоты), которые в свою очередь ухудшают свойства бумажной изоляции и взаимодействуют с металлами. В таком масле появляются осадки, которые еще интенсивнее ухудшают изоляционные характеристики трансформатора. Поэтому важно своевременное определение восприимчивости масла к старению.
Электрическая прочность является одной из основных характеристик масла, которая определяется по пробивному напряжению. Испытания проводятся в стандартном разряднике, представляющем собой два плоских или сферических электрода диаметром 25 мм, расположенных взаимно параллельно в фарфоровой ванночке на расстоянии 2,5 мм друг от друга. Для испытаний можно использовать аппараты АИИ-70, АИМ-80 либо другого типа.
Для свежего масла пробивное напряжение должно быть не менее 30 кВ. Масло с таким пробивным напряжением может быть залито в ряд трансформаторов без специальной подготовки. Для трансформаторов 35 кВ и выше требования более жесткие.
Снижение пробивного напряжения свидетельствует, как правило, о загрязнении масла водой, воздухом, волокнами и другими примесями. Практически любое повреждение в трансформаторе со временем приводит к снижению пробивного напряжения масла.
Тангенс угла диэлектрических потерь масла (tg d масла) характеризует свойства трансформаторного масла как диэлектрика. Диэлектрические потери для свежего масла характеризуют его качество и степень очистки, а в эксплуатации - степень загрязнения и старения масла. Ухудшение диэлектрических свойств (увеличение tg d) приводит к снижению изоляционных характеристик трансформатора в целом.
Для определения tg d масло заливают в специальный сосуд с цилиндрическими или плоскими электродами. Измерение производят с применением моста переменного тока Р525 или Р5026, а также другого типа.
Изготовитель трансформаторного масла нормирует tg d при температуре 90 °С. Для комплексной оценки состояния трансформатора и его узлов в эксплуатации tg d целесообразно измерять при всех трех температурах, т.е. при 20, 70 и 90 °С.
Пробивное напряжение и тангенс угла диэлектрических потерь определяют в электротехнической лаборатории. Они не всесторонне характеризуют степень годности и степень старения масла. Поэтому в химической лаборатории проверяют дополнительно ряд физико-химических показателей трансформаторного масла. В их числе следующие.
Цвет масла у большинства масел светло-желтый. У высококачественных масел, изготовляемых в настоящее время (марки ГК или Т-1500), цвет светлый.
В эксплуатации под влиянием ряда факторов (в частности, нагрева, загрязнений, электрического поля) из-за образующихся смол и осадков масло темнеет. Темный цвет свежего масла характеризует отклонения в технологии изготовления масла на заводе-изготовителе. Показатель цвета масла служит для ориентировочной оценки его качества как в отечественной, так и в зарубежной практике.
Механические примеси - нерастворенные вещества, содержащиеся в масле в виде осадка или во взвешенном состоянии. Волокна, пыль, продукты растворения в масле компонентов, применяемых в конструкции трансформатора (краски, лаки и т.п.), просматриваются на просвет в стеклянном сосуде после предварительного встряхивания. Другие примеси появляются в масле после внутренних повреждений (электрической дуги, мест перегревов) в виде обуглившихся частиц. При очень сильном загрязнении масло подлежит восстановлению или замене.
По мере старения в масле появляются осадки (шлам), которые, осаждаясь на изоляции, ухудшают ее изоляционные свойства.
Примеси у большинства трансформаторов проверяют на просвет визуально. Если они не обнаруживаются, то считается, что их количество не превышает 50 г на 1 т масла. У особо ответственных трансформаторов (более 750 кВ) предельно нормируемое количество примесей составляет 5-15 г/т. Такое количество примесей можно фиксировать только с применением более точных методов контроля, например некоторое количество масла пропускается через фильтр, который взвешивается до и после прокачки масла; разность массы показывает количество осадка.
Влагосодержание как показатель состояния масла тщательно контролируется в эксплуатации. Ухудшение этого показателя свидетельствует о потере герметичности трансформатора или о работе в недопустимом нагрузочном режиме (интенсивное старение изоляции под воздействием значительных температур).
Влагосодержание определяется по количеству водорода, выделяющегося при взаимодействии масла с гидридом кальция за определенное время.
Температура вспышки масла характеризует степень испаряемости масла. В эксплуатации она постепенно увеличивается за счет улетучивания легких фракций (низкокипящих). Температура вспышки для обычных товарных масел колеблется в пределах 130-150 °С, а для арктического масла - от 90 до 115 "С и зависит от упругости их насыщенных паров. Чем ниже упругость паров, чем выше температура вспышки, тем лучше можно дегазировать и осушать масло перед заливкой в трансформаторы. Минимальная температура вспышки масла установлена не столько по противопожарным соображениям (хотя это также является важным фактором), сколько с точки зрения возможности глубокой их дегазации. В отношении пожарной безопасности большую роль играет температура самовоспламенения - это температура, при которой масло при наличии воздуха над поверхностью загорается самопроизвольно без поднесения пламени, у трансформаторных масел эта температура равна примерно 350-400 °С.
Из-за испарения легких фракций ухудшается состав масла, растет вязкость, образуются взрывоопасные и другие газы. При разложении масла под воздействием высоких температур (электрической дуги) его температура вспышки резко снижается.
Для определения температуры вспышки масло заливается в закрытый сосуд (тигль) и нагревается. Выделяемые пары масла, смешиваясь с воздухом, образуют смесь, которая вспыхивает при поднесении к ней пламени или под воздействием электрической дуги.
Кислотное число масла - это количество едкого кали (КОН), выраженного в миллиграммах, которое необходимо для нейтрализации свободных кислот в 1 г масла. Этот показатель характеризует степень старения масла, вызванного содержанием в нем кислых соединений. Он служит для предупреждения появления в масле продуктов глубокого окисления в действующем оборудовании (осадки, нерастворимые в масле). Кислотное число не должно превышать 0,25 мг КОН на 1 г масла.
Водорастворимые кислоты и щелочи, содержащиеся в масле, свидетельствуют о низком качестве масла. Они могут образовываться в процессе изготовления масла при нарушении технологии производства, а также в эксплуатации в результате окисления масел. Эти кислоты вызывают коррозию металла и способствуют старению твердой изоляции.
Для обнаружения кислот применяется 0,02 %-ный водный раствор метилоранжа, а для обнаружения щелочи и мыл -1 %-ный спиртовой раствор фенолфталеина, которые меняют свой цвет в присутствии нежелательных компонентов. При наличии водорастворимых кислот и щелочей производится регенерация масла.
Стабильность масла проверяется в эксплуатации при получении партий свежего масла путем проведения его искусственного старения (окисления) в специальных аппаратах. Не всегда свежее, вновь прибывшее масло соответствует действующим нормам. Масло с неудовлетворительными характеристиками должно возвращаться заводу-изготовителю. Стабильность масла характеризует долголетие масла, определяет срок его службы и выражается двумя показателями - процентным содержанием осадка и кислотным числом.
Натровая проба характеризует степень отмывки масла от посторонних примесей. Этот показатель также используется лишь для свежего масла и в эксплуатации не проверяется.
Температура застывания проверяется для масла трансформаторов, работающих в северных районах. Эта наибольшая температура, при которой масло застывает настолько, что при наклоне пробирки под углом 45° его уровень в течение 1 мин остается неизменным. Недопустимое повышение вязкости масла из-за снижения температуры окружающего воздуха может стать причиной повреждения подвижных элементов конструкции трансформатора (маслонасосы, РПН), а также ухудшает теплообмен, что приводит к перегреву и старению изоляции (особенно витковой) токоведущих частей трансформатора.
Газосодержание масла в мощных герметичных трансформаторах должно соответствовать нормам. Измерение- этого показателя производится абсорбиометром. Возможно также измерение суммарного газосодержания с помощью хроматографа. Косвенно по этому показателю определяется герметичность трансформатора. Повышение содержания газа (в том числе воздуха) в масле приводит к ухудшению его свойств - возрастает интенсивность окисления масла кислородом воздуха, и, кроме того, несколько снижается электрическая прочность изоляции активной части трансформатора.
Для всестороннего изучения свойств свежего масла используют и другие показатели, которые здесь не рассматриваются.
3 .2. ИСПЫТАНИЯ ТРАНСФОРМАТОРОВ БЕЗ ВЫВОДА ИЗ РАБОТЫ
Хроматографический анализ растворенных в масле газов
Около 20 лет назад, в дополнение к изложенному выше традиционным методам контроля за состоянием трансформатора, стали применять Хроматографический анализ растворенных в масле газов (ХАРГ) в качестве эффективного средства ранней диагностики медленно развивающихся повреждений. В настоящее время ХАРГ широко применяют во всех развитых странах, существуют международные нормы как по процедуре ХАРГ, так и по трактовке результатов анализа.
В СССР применяют ХАРГ во всех энергосистемах, причем на Украине благодаря применению ХАРГ существенно уменьшен объем обслуживания трансформаторов (увеличена периодичность обязательного применения некоторых традиционных измерений). Измерения tg dиз , сопротивления изоляции, сопротивления обмоток постоянному току, потерь XX при пониженном напряжении обязательны при вводе в эксплуатацию, капитальном ремонте, а также по требованию изготовителя; в остальных случаях допускается не производить эти измерения (решение Минэнерго УССР от 1980 г.).
Хроматографический метод позволяет:
· следить за развитием процессов в трансформаторе;
· предвидеть повреждения, не обнаруживаемые традиционными способами;
· характеризовать повреждения и ориентироваться при определении места повреждения.
При чувствительности анализа 10-4 -10-5 % объема надежно фиксируются такие виды повреждений, как перегревы конструкционных частей трансформатора или его твердой изоляции.
При существующем рабочем фоне газов в масле действующих трансформаторов своевременное обнаружение дефектов изоляции, поврежденной частичными разрядами, затруднительно.
Из-за скоротечности витковых и межкатушечных замыканий Хроматографический анализ неэффективен и не выявляет такие повреждения.
При превышении предельных значений характерных газов в целях выявления динамики их роста в масле трансформатора применяется способ периодической дегазации масла на действующих трансформаторах с последующим хроматографическим анализом газосодержания масла (спектра, динамики роста). При дегазации трансформатор как бы кратковременно очищается от газов, чтобы затем лучше проявлялась динамика роста газов.
Хроматографический метод не позволяет учитывать незначительные изменения в состоянии трансформаторов и устанавливать связь между серьезностью повреждения и скоростью изменения концентрации газов. Почти невозможно определить зарождение изменения недостатка конструкции трансформатора при опасном повреждении изоляции "ползущим" разрядом (например, при повреждении в первом канале между обмоткой ВН и изоляционным цилиндром). В этот момент повреждения количество газа (его спектр) не превышает (или находится на уровне) предельных значений составляющих спектра газов рабочего фона. В завершающей же стадии "ползущий" разряд скоротечен, и поэтому хроматографическим анализом его невозможно своевременно выявить.
Для определения наличия повреждения в работающем трансформаторе посредством анализа растворенных в масле газов применяют маслоотборное устройство, систему выделения растворенных в масле газов, газоанализатор, нормировочные данные по отбраковке трансформатора.
Хроматографический анализ масла выполняется в энергосистемах в соответствии с действующими указаниями.
В Донбассэнерго была проведена работа по проверке хранения (сохранности) газов в пробе масла в шприце. Установлено, что после двух недель хранения концентрация углеводородных газов, оксида и диоксида углерода уменьшается не более чем на 20 %, а водород почти полностью исчезает из пробы масла. В зарубежной практике конструкция шприцов дает возможность хранить образцы масла около 2 мес. Поэтому при организации работы по хроматографии вопрос возможной длительности хранения пробы масла в шприцах следует учитывать.
Существует несколько способов выделения газов из масла, которым соответствуют свои способы отбора пробы масла. Наибольшее распространение как в отечественной, так и в зарубежной практике нашел метод отбора пробы масла в стеклянные шприцы объемом 5 и 10 мл. Для отбора пробы масла на трансформаторе имеется специальный патрубок. Перед отбором патрубок должен быть очищен от загрязнений, при этом для удаления застоявшегося в патрубке масла необходимо слить некоторое его количество.
Заполненный маслом шприц с пробкой помещают в специальную тару с гнездами для шприцов, маркируют пробу и отправляют в лабораторию. При маркировке пробы следует фиксировать энергообъект (электростанция или подстанция), стационарный номер трансформатора, место отбора пробы (бак, устройство РПН, ввод), дату отбора, кем выполнен отбор. Основное требование при отборе и доставке пробы масла в центральную лабораторию - обеспечить герметичность и не допустить загрязнения или увлажнения масла.
Экстрагирование (выделение газов в стеклянном сосуде с применением вакуума и барботирования) масла является наиболее распространенным в отечественной и зарубежной практике. Выделенный объем газа разделяется в хроматографе на составляющие.
В отечественной и мировой практике определяют содержание (концентрацию) следующих газов: углекислого газа СО2 , оксида углерода СО, водорода Н2 , кислорода О2 , азота N2 ; углеводородов - метана СН4 , ацетилена С2 Н2 , этилена С2 Н4 , этана C2 H6 и др. Кроме того, определяют соотношение концентраций некоторых наиболее показательных (характерных) газов и рост их концентрации по сравнению с предшествующим регулярным измерением.
Отечественные нормы, разработанные ВНИИЭ при участии ряда других НИИ, предусматривают использование информации по концентрации газов:
а) для выявления дефектов твердой изоляции - СО2 ;
б) для выявления повышенного нагрева металла и частичных рязрядов (ЧР) в масле (дефекты токоведущих частей, в первую очередь контактных соединений, повышенный нагрев поверхности магнитопровода и конструкционных деталей, в том числе с образованием короткозамкнутых контуров), С2 Н2 , С2 Н4 ; при пленочной защите дополнительно используют концентрации водорода и метана, а также скорость роста концентрации этих четырех газов и этана. По этим данным определяют, где расположен источник ЧР - в масле или в твердой изоляции. Более подробную информацию о степени опасности дефекта получают по отношениям концентраций характерных газов.
Анализ различен для старых и новых трансформаторов, например в старых трансформаторах наличие СО и СО2 может характеризовать не наличие дефекта, а естественный повышенный тепловой износ.
Перегревы конструкционных частей и магнитопровода в трансформаторе подразделяются по температуре на две группы: перегревы с температурой ниже 350 °С, перегревы с температурой 350-450 °С.
Характерными газами для перегревов конструкционных частей и магнитопровода в силовых трансформаторах являются этилен и ацетилен. Вопрос о выводе трансформатора в капитальный ремонт решается при появлении в масле трансформаторов одного из этих газов или обоих вместе в определенных количествах.
Перегревы твердой электрической изоляции силовых трансформаторов можно фиксировать только посредством ХАРГ. Газовое реле в этом случае не реагирует и может начать действовать лишь в завершающей стадии повреждения изоляции, сопровождающейся значительным газовыделением (например, при завершении "ползущего" разряда). Характерный газ при перегреве твердой изоляции -диоксид углерода СО2 . Вывод трансформатора в ремонт для обнаружения повреждения, вызванного перегревом (повреждением) твердой изоляции, производится по предельным значениям газов спектра, особенно СО2 .
При ХАРГ следует учитывать способ защиты масла от увлажнения. При защите воздухоосушителем в спектре буде отмечен кислород, при азотной защите - азот. Наличие воздуха (кислорода) в спектре в случае пленочной защиты показывает потерю ее герметичности.
При установлении характера повреждения и оценке степени его опасности достоверность анализа зависит от количества проведенных анализов за конкретный промежуток времени. В отечественной практике принята периодичность отбора проб масла для ХАРГ 1 раз в б мес, для вновь вводимых в работу трансформаторов 220-500 кВ, а также 110 кВ мощностью 60 МВ.А и более - ежедневно в течение первых трех суток работы, затем через 1, 3 и 6 мес. Для трансформаторов 750 кВ и выше дополнительно производится ХАРГ через две недели после включения.
СПИСОК ИСПОЛЬЗУЕМОЙ ЛИТЕРАТУРЫ
1. Правила технической эксплуатации электроустановок потребителей и правила техники безопасности при эксплуатации электроустановок потребителей, М.: Энергоатомиздат, 1986.
2. В.Ф.Могузов «Обслуживание силовых трансформаторов», М.: Энергоатомиздат, 1991.
3. В.А.Козлов, Л.М.Куликович «Прокладка, обслуживание и ремонт кабельных линий», Л.: Энергоатомиздат, 1984.