| Похожие рефераты | Скачать .docx |
Реферат: Експлуатація та ремонт електродвигунів
Тема: Експлуатація та ремонт електродвигунів
Зміст
Розділ І. Загальні відомості про електродвигуни
1.1 Будова асинхронних електродвигунів
1.2 Будова машин постійного струму
Розділ ІІ. Експлуатація електродвигунів
Розділ ІІІ. Ремонт електродвигунів
3.1 Несправності електричних машин
3.2 Розбирання електричних машин
3.3 Ремонт колекторів
Список використаних джерел
Розділ І. Загальні відомості про електродвигуни
Електродвигуном називається машина, в якій електрична енергія перетворюється на механічну.
Існує багато типів електродвигунів, але найбільшого поширення в усіх галузях промисловості, в будівництві та сільському господарстві набули асинхронні двигуни трифазного струму.
Електродвигун характеризується зазначеними на його паспорті номінальними даними, до яких належать: потужність, напруга, струм статора, кратність пускового струму, коефіцієнт потужності (cosф), частота обертання ротора, номінальний крутний момент.
Номінальною потужністю називають корисну механічну потужність на валу двигуна за номінальних значень струму, напруги і частоти.
Номінальним струмом називають струм, який споживається двигуном за номінальних значень навантаження, частоти і напруги.
Пусковим струмом називають струм, який протікає в період пуску двигуна.
Кратність пускового струму визначається як відношення струму, який протікає в момент пуску, до мінімального струму.
Коефіцієнтом потужності кола називається відношення активної потужності до повної потужності.
Коефіцієнт корисної дії — це відношення потужності, що віддається електродвигуном, до тієї, що споживається ним.
Номінальним крутнилі моментом називають момент, що розвивається двигуном за номінальних значень потужності і частоти обертання.
Асинхронний електродвигун трифазного змінного струму складається з нерухомої частини — статораї, обертової частини — ротора і двох підшипникових щитів з підшипниками, в яких обертається вал ротора.
Статор складається із станини і осердя з обмоткою. Станину відливають з чавуну або сталі, а осердя набирають з тонких листів електротехнічної сталі. Листи осердя мають виштамповані фігурні вирізи, які в складеному пакеті утворюють пази, куди вкладається статорна обмотка.
1.1 Будова асинхронних електродвигунів
Будову асинхронного двигуна з короткозамкненим ротором зображено на рис. 1, а; усі частини двигуна закриті (в підшипникових щитах і станині немає вікон для забирання і викидання охолоджувального повітря).
Короткозамкнений ротор виконують заливанням пазів осердя розплавленим алюмінієм і одночасно відливанням на його короткозамикаючих кільцях 4 лопатей вентилятора 5, призначених для забезпечення циркуляції повітря в працюючому електродвигуні та кращого охолодження таким чином його частин, що нагріваються.
Пуск електродвигуна з короткозамкненим ротором здійснюється прямим вмиканням статора на повну потужність мережі без будь-яких пускорегулювальних пристроїв, внаслідок чого супроводжується виникненням великих пускових струмів.
Позитивними якостями електродвигуна з короткозамкненим ротором є простота конструкції і надійність в експлуатації, негативними — різке збільшення споживання струму (проти номінального) під час пуску. Пусковий струм асинхронних електродвигунів з короткозамкненим ротором перевищує їх номінальний у 6—7 разів. Це може ускладнити пуск великих електродвигунів з короткозамкненим ротором, якщо джерела електричної енергії (силові трансформатори, генератори пересувних електростанцій тощо) не мають достатньої потужності.
Установлені на замикаючих кільцях ротора вентиляційні лопаті 5 призначені для створення циркуляції нагрітого повітря в середині двигуна через його канали в роторі і в станині та забезпечують майже рівномірне нагрівання всіх частин двигуна. Теплота, що виділяється, відводиться до стінок станини, які мають поздовжні ребра 9. Зовнішні поверхні ребер обдуваються холодним повітрям, яке подається вентилятором 11, відлитим з алюмінію. Холодне повітря засмоктується вентилятором через отвори 12, наявні в захисному кожусі 10, виконаному з листової сталі. В підшипниковому щиті двигуна зроблене вікно 4 для перевірки щупом зазору між сталлю осердя статора 7 і ротора. За різких змін температури всередині закритого двигуна може конденсуватися волога. Для стікання вологи в нижній частині корпусу є невеликий отвір.
Асинхронний електродвигун з фазним ротором зображений на рис. 1, б. У пази ротора вкладена трифазна обмотка 16, яка підтримується обмоткотримачами 14, до яких прикріплені гвинтами сталеві штамповані балансувальні диски 15 із закріпленими на них балансувальними вагами. Лобові частини обмотки ротора і виступні частини його обмоткотримачів під час роботи двигуна захоплюють і переміщують повітря, виконуючи таким чином роль вентиляторних крил. Обмотка ротора має три вивідних кінці 17, які пропущені через отвір у валу і приєднані до контактних кілець 21. Контактні кільця ізольовані одне від одного ізоляційними шайбами, а від вала — ізолюючою втулкою 22. До кілець примикають щітки, закріплені в щіткотримачах. Щітковий механізм розташований у чашці 18 і за допомогою замка 19 закритий ковпаком 20.
Діаметр підшипникового гнізда в щиті більший від зовнішнього діаметра контактних кілець, що дає змогу при необхідності знімати підшипниковий щит, не демонтуючи контактних кілець.

Рис. 1. Асинхронні двигуни трифазного змінного струму
а — з короткозамкненим ротором; б — з фазним ротором; 1 — підшипниковий щит; 2, 13 — підшипники; 3 — вал; 4 — вікно для перевірки щупом зазору між сталлю статора і ротора; 5 — вентиляційна лопать на роторі; 6.— обмотка статора; 7 — осердя статора; 8 — підйомне кільце (рим); 9 — ребро станини; 10 — захисний кожух; 11 — вентилятор; 12 — отвори для всмоктування повітря вентилятором; 14 — тримач обмотки; 15 — диск кріплення балансувального вантажу; 16 — обмотка фазного ротора; 17 — вивід кінців роторної обмотки до контактних кілець; 18 — чашка; 19 — замок; 20 — ковпак; 21 — контактні кільця; 22 — втулка, що ізолює контактні кільця від вала.
Сталева чашка надягнена на кришку підшипника і закріплена болтами на підшипниковому щиті. У чашці розташований сталевий палець, на якому закріплені щіткотримачі, ізольовані від сталевого пальця ізоляційною втулкою. Вивідні кінці, які відходять від щіткотримачів, закріплені біля виходу з коробки двома буковими планками, провареними в маслі.
Ротор з контактними кільцями відрізняється від короткозамкненого наявністю в пазах осердя фазної обмотки з ізольованих стержнів або провідників і трьох контактних кілець із сталі, міді або латуні. Контактні кільця ізольовані одне від одного і від вала ротора. Така конструкція ротора дає змогу вмикати послідовно з його обмоткою пусковий резистор (рис. 2, а, б, в), що забезпечує плавний (без великих пускових струмів) запуск електродвигуна в роботу. У разі вмикання електродвигуна напругою
380/220 В до мережі напругою 220 В обмотки статора з'єднують за схемою «трикутник», замикаючи перемичками кінці С6—СІ, С4 —С2, С5 —СЗ, а в разі вмикання до мережі напругою 380 В обмотки з'єднують за схемою «зірка», замикаючи перемичками кінці С6, С4 і С5.

Рис.2. Схема з'єднування обмоток асинхронного електродвигуна. а — до живильної мережі; б — ротора; в — на дошці затискачів
Електродвигуни з фазним ротором застосовують у випадках, що потребують плавного запуску устаткування в роботу. Статор електродвигуна закритий з торців підшипниковими щитами. Підшипникові щити призначені для закріплення в них підшипників, в яких обертається вал ротора, а також для захисту від механічних пошкоджень обмоток ротора та інших частин, які знаходяться в середині статора.
Електродвигуни потужністю до 100 кВт з короткозамкненими і фазними роторами випускають з роликовими і кульковими підшипниками. Один з підшипників двигуна, як правило, буває роликовий, другий — кульковий. Роликовий підшипник встановлюють у тому з підшипникових щитів, через який виведено вільний кінець вала, оскільки на цей кінець насаджують шків або напівмуфту, внаслідок чого на підшипник діють значні навантаження. Підшипники, які встановлюють у підшипникових щитах, виконують закритими з двома кришками, відкритими без кришок або з однією внутрішньою кришкою.
Асинхронні електродвигуни виготовляються промисловістю у відкритому, захищеному, закритому та вибухозахищеному виконаннях.
Електродвигуни відкритого виконання застосовують у приміщеннях з нормальним середовищем, де немає необхідності в спеціальному захисті струмопровідних і обертових частин від випадкового доторкання до них або потрапляння в двигун різноманітних предметів:
Захищеними називають такі електродвигуни, в яких струмопровідні й обертові частини захищені від потрапляння в них сторонніх предметів. Є електродвигуни, захищені від потрапляння в них крапель, які падають вертикально (краплезахищені), або бризок, які падають під кутом до 45° (бризкозахищені).
Для роботи в приміщеннях із струмопровідним пилом застосовують пилонепроникні, а у вибухонебезпечних — вибухозахищені електродвигуни.
Промисловістю випускаються також електродвигуни спеціального виконання, які різняться за способом кріплення до устаткування, наприклад фланцеві.
Асинхронні електродвигуни виготовляються промисловістю серіями різноманітних стандартних потужностей, але однакової будови. Трифазні асинхронні двигуни потужністю 0,6—100 кВт загальнопромислового застосування складають єдину серію. Двигуни з чавунним корпусом захищеного виконання позначаються літерою А, двигуни закритого виконання — АО, двигуни з алюмінієвим корпусом — відповідно літерами АЛ і АОЛ. У позначеннях асинхронних електродвигунів є й умовні цифрові позначення: так, діаметр (габарит) осердя статора має умовний номер від 3 до 9, а довжина осердя статора — від 1 до 3. У марці асинхронного двигуна цифри після літер означають номери габариту осердя, довжину і кількість пар полюсів (наприклад,- маркою АОЛ-52-4 позначено двигун закритого обдувного виконання в алюмінієвому корпусі, п'ятого габариту, другої довжини, чотириполюсний).
1.2 Будова машин постійного струму
Одна й та сама машина постійного струму в принципі може працювати і як генератор, і як двигун. (Ця властивість машини постійного струму, що називається оборотністю, дає змогу не розглядати окремо будову генератора чи двигуна,) Проте кожну електричну машину завод випускає з певним призначенням — працювати тільки як генератор або тільки як двигун. Дуже рідко використовують машини постійного струму, призначені для роботи як генератором, так і двигуном.
Електродвигуни постійного струму застосовують тоді, коли потрібно плавно регулювати швидкість, наприклад у тролейбусах, електровозах, деяких типах підйомних кранів, у пристроях автоматики.
Статор машини постійного струму складається зі станини (рис. 3) і осердя. Станину виготовляють з маловуглецевої сталі, яка має значну магнітну проникність. Тому станина є також і магнітопроводом. Одночасно це основна деталь, що об'єднує інші деталі й складальні одиниці машини в єдине ціле. Так, до станини із середини прикріплюють болтами полюси, котрі складаються з осердя, полюсного наконечника і котушки.

Рис. 3. Будова машини постійного струму
1—задній підшипниковий щит; 2 — затискачі; 3—станина; 4 - головний полюс;5 — обмотка головного полюса; 6—вентилятор; 7 — обмотка якоря;8 — осердя якоря; 9 - колектор; 10 — вал; 11 — траверса із щитковим механізмом; 12 — передній підшипниковий щит

Рис. 4. Якір машини постійного струму
а — якір без обмотки; б —сталевий лист осердя якоря; 1 — натискні шайби; 2 —зубець; 3 — паз; 4 — вентиляційний отвір
Розрізняють основні й додаткові полюси. Основні полюси збуджують магнітне поле; тому обмотки їхніх котушок називають обмотками збудження. Додаткові встановлюють у машинах підвищеної потужності (понад 1 кВт) для поліпшення роботи машини; обмотку додаткових полюсів з'єднують послідовно з обмоткою ротора (якоря).

Рис. 5. Будова колектора
1 — корпус; 2 — болт; 3 — натискне кільце; 4 — міканітова прокладка: 5 — «півник»; 6 — «ластівчин хвіст»; 7 — колекторна пластина
Ротор (якір) (рис. 4) машини постійного струму складається з осердя й обмотки. Осердя якоря набирають з тонких листів електротехнічної сталі, ізольованих один від одного лаковим покриттям, що зменшує втрати на вихрові струми. У пази осердя вкладають обмотку якоря. В осерді якоря роблять вентиляційні канали.
Щоб струм від обмотки якоря в зовнішнє коло (у генераторі) або із зовнішнього кола до обмотки якоря (у двигуні) проходив в одному й тому самому напрямі, у машині постійного струму встановлюють колектор (рис. 5). Набирають його з мідних пластин, ізольованих одна від одної міканітовими прокладками. Кожну пластину колектора з'єднують з одним або кількома витками обмотки якоря. Осердя якоря і колектор закріплюють на одному валу. Отже, колектор — це пристрій, який конструктивно об'єднаний з якорем (ротором) електричної машини і є механічним перетворювачем частоти. По ізольованих один від одного і приєднаних до витків обмотки якоря пластинах, що становлять колектор, ковзають струмознімні щітки (рис. 6). Через ці щітки й колектор обмотка якоря приєднується до зовнішнього електричного кола. Щітки вставляють в обойми щіткотримача і притискують до колектора пружинами.
Під час роботи машини щітки ковзають по колектору. Щіткотримачі кріплять до траверси.

Рис. 6. Щітковий механізм машини постійного струму
а - траверса; б — щіткотримач; 1 — щітковий палець; 2 — ізоляція кільця від траверси: 3 - стопорний болт; 4 — мідний провід; 5 — натискні пластини; 6 — місце розміщення пружини; 7 – обойма; 8 – щітка;
Розділ ІІ. Експлуатація електродвигунів
На електродвигунах та механізмах, які вони приводять у дію, повинні бути нанесені стрілки, що вказують напрямок обертання їх рухомих частин, а також написи з назвою агрегату, до якого вони належать.
На комутаційних апаратах (вимикачах, контакторах, магнітних пускачах, пускорегулювальних пристроях, запобіжниках тощо) повинні бути нанесені написи, що вказують, до якого електродвигуна вони належать.
Плавкі вставки запобіжників повинні бути калібровані із зазначенням на клеймі номінального струму вставки. Клеймо ставиться заводом-виробником або електротехнічною лабораторією. Застосовувати некалібровані плавкі вставки забороняється.
У разі короткочасного припинення електроживлення повинен бути забезпечений самозапуск електродвигунів відповідальних механізмів після повторної подачі напруги, якщо збереження механізмів у роботі необхідне за умов технологічного процесу і допустиме за умов безпеки та зниження напруги електромережі.
Перелік електродвигунів відповідальних механізмів, які беруть участь у самозапуску, із зазначенням уставок захистів і допустимого часу перерви живлення затверджує особа, відповідальна за електрогосподарство.
Захисти елементів електричної мережі споживачів, а також технологічне блокування вузлів електричної мережі виконується таким чином, щоб забезпечувався самозапуск електродвигунів відповідальних механізмів. Для полегшення самозапуску відповідальних механізмів, як правило, повинен бути передбачений захист мінімальної напруги, що вимикає на час зниження (зникнення) напруги електродвигуни, які не беруть участі в процесі самозапуску.
Електродвигуни, що тривалий час перебувають у резерві, та автоматичні пристрої увімкнення резерву повинні оглядатись та випробовуватись разом із механізмами відповідно до графіка, затвердженого особою, відповідальною за електрогосподарство. У цьому разі в електродвигунів зовнішнього розташування, які не мають обігріву, а також двигунів 6 кВ, що тривалий час перебувають у резерві, повинен бути перевірений опір ізоляції обмотки статора і коефіцієнт абсорбції.
Електродвигуни з короткозамкненими роторами дозволено запускати з холодного стану два рази поспіль, з гарячого - один раз, якщо інструкція заводу-виробника не передбачає більшої кількості пусків. Наступні пуски дозволяються після їх охолодження протягом часу, обумовленого інструкцією заводу-виробника для відповідного типу електродвигуна.
Повторні ввімкнення електродвигунів у разі їхнього вимкнення основними захистами дозволяються після обстеження, проведення контрольних вимірів опору ізоляції і перевірки справності захистів.
Для електродвигунів відповідальних механізмів, що не мають резерву, дозволяється одне повторне ввімкнення після дії основних захистів за результатами зовнішнього огляду двигуна.
Наступне ввімкнення електродвигунів у разі дії резервних захистів до з'ясування причин вимкнення заборонене.
Для спостереження за пуском і роботою електродвигунів, регулювання технологічного процесу яких здійснюється за значенням струму, а також усіх електродвигунів змінного струму потужністю більше ніж 100 кВт на пусковому щитку чи панелі керування встановлюють амперметр, який вимірює струм у колі статора електродвигуна. Амперметр установлюють також у колі збудження синхронних електродвигунів. На шкалі амперметра червоною рискою позначають значення допустимого струму (вище номінального струму електродвигуна на 5 %).
На електродвигунах постійного струму, призначених для приводу відповідальних механізмів, незалежно від їх потужності необхідно контролювати струм якоря.
Для контролю наявності напруги на групових щитках і збірках електродвигунів повинні бути встановлені вольтметри або сигнальні лампи.
Для забезпечення нормальної роботи електродвигунів напругу на шинах необхідно підтримувати в межах від 100 до 105 % від номінальної. За необхідності допускається робота електродвигуна з напругою 90 - 110 % від номінальної. У разі зміни частоти живильної мережі в межах ±2,5 % від номінального значення допускається робота електродвигунів з номінальною потужністю.
Вібрація, виміряна на кожному підшипнику електродвигуна, осьовий зсув ротора, розмір повітряного зазору між сталлю статора та ротора, а також в підшипниках ковзання не повинні перевищувати величин.
Постійний нагляд за навантаженням електродвигунів, щітковим апаратом, температурою елементів і охолоджувальних середовищ електродвигуна (обмотки і осердя статора, повітря, підшипників тощо), догляд за підшипниками і пристроями підведення охолоджувального повітря, води до повітроохолодників і обмоток, а також операції з пуску, регулювання швидкості і зупинки здійснюють працівники цеху (дільниці), які обслуговують механізм.
Електродвигуни, що продуваються і які встановлені в запилених приміщеннях і приміщеннях з підвищеною вологістю, повинні бути обладнані пристроями підведення чистого охолоджувального повітря, кількість якого і параметри (температура, вміст домішок тощо) повинні відповідати вимогам інструкції заводу-виробника.
Щільність тракту охолодження (корпусу електродвигуна, повітропроводів, засувок) необхідно перевіряти не рідше ніж один раз на рік.
Індивідуальні електродвигуни зовнішніх вентиляторів охолодження повинні автоматично вмикатися і вимикатися у разі ввімкнення та вимкнення основних електродвигунів.
Електродвигуни з водяним охолодженням статора чи ротора, а також з умонтованими водяними повітроохолодниками повинні бути обладнані пристроями, що сигналізують про появу води в корпусі. Організація експлуатації обладнання та апаратури систем водяного охолодження, якість конденсату та води повинні відповідати вимогам інструкцій заводу-виробника.
Аварійні кнопки електродвигунів повинні бути опломбовані. Зривати пломби з аварійних кнопок для вимкнення електродвигуна дозволено тільки в аварійних випадках. Опломбування аварійних кнопок виконують працівники, визначені особою, відповідальною за електрогосподарство.
Електродвигун (обертова машина) повинен бути негайно відімкнений від мережі у таких випадках:
- нещасний випадок (чи загроза) з людиною;
- поява диму, вогню або запаху горілої ізоляції з корпусу електродвигуна або його пускорегулювальної апаратури;
- вібрація понад допустимі норми, яка загрожує виходу з ладу електродвигуна або механізму;
- вихід з ладу привідного механізму;
- нагрівання підшипників або контрольованих вузлів понад допустиму температуру, зазначену в інструкції заводу-виробника;
- виникнення коротких замикань в електричній схемі;
- значне зниження частоти обертання;
- швидке зростання температури обмоток або сталі статора.
В експлуатаційній інструкції можуть бути вказані й інші випадки, за якими електродвигуни (обертові машини) повинні бути негайно вимкнені, а також указаний порядок усунення їх аварійного стану.
Періодичність капітальних і поточних ремонтів електродвигунів, залежно від умов у яких вони працюють, визначає особа, відповідальна за електрогосподарство. Залежно від місцевих умов поточний ремонт електродвигунів, як правило, здійснюють одночасно з ремонтом привідних механізмів, і його виконує навчений персонал споживача або підрядної організації.
Профілактичні випробування і вимірювання на електродвигунах повинні проводитись регулярно у відповідності до встановлених правил.
Експлуатація електродвигунів складається із слідуючих основних елементів: нагляду, своєчасного виявлення несправностей та їх усунення; профілактичних випробувань; пуску та зупинки.
Розділ ІІІ . Ремонт електродвигунів
3.1 Несправності електричних машин
| Ознаки несправності | Можливі причини несправності |
| Двигуни з короткозамкненим ротором | |
| Електродвигун не розвиває номінальної частоти обертання і гуде | Одностороннє тяжіння ротора унаслідок зносу підшипників, перекосу підшипникових щитів або вигину валу |
| Електродвигун гуде, ротор обертається поволі, струм у всіх трьох фазах різний і навіть на холостому ході перевищує номінальний | 1. Обірвані один або декілька стержней обмотки ротора 2. Неправильно сполучені початок і кінец фази обмотки статора (фаза «перевернута»). |
| Ротор не обертається або обертається поволі, двигун сильно гуде і нагрівається | Обірвана фаза обмотки статора |
| Електродвигун перегрівається при номінальних навантаженнях | 1. Виткове замикання в обмотці статора 2. Погіршення умов вентиляції унаслідок забруднення вентиляційних каналів |
| Неприпустимо низький опір ізоляції обмотки статора електродвигуна | 1. Зволоження або сильне забруднення ізоляції обмотки 2. Старіння або пошкодження ізоляції |
| Електродвигун вібрує під час роботи і після відключення при частоті обертання ротора, близькій до номінальної | 1. Порушена співвісності валів 2. Неврівноважені ротор, напівмуфти або шків |
| Електродвигун сильно вібрує, але вібрація припиняється після відключення його від мережі, двигун сильно гуде, струм у фазах неоднаковий, одна з ділянок обмотки статора швидко нагрівається | Коротке замикання в обмотці статора електродвигуна |
| Двигуни зфазним ротором | |
| Електродвигун не розвиває номінальної частоти обертання | Одностороннє тяжіння ротора унаслідок зносу підшипників, перекосу підшипникових щитів або вигину валу 2. Порушений контакт в двох або трьох фазах пускового реостата 3. Порушений електричний ланцюг між пусковим реостатом і обмоткою ротора електродвигуна |
| У електродвигуна частота обертання збільшується самовільно. Ротор сильно нагрівається навіть при невеликому навантаженні | 1. Частина обмотки ротора замкнута на заземлений корпус електродвигуна 2. Порушена ізоляція між контактними кільцями і валом ротора |
3.2 Розбирання електричних машин
Розбирання більшості електричних машин починається з видалення пів муфти з вала за допомогою ручного або гідравлічного знімача.
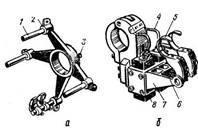
Знімач з регульованим розкриттям тяг (Рис. 7, а), дозволяє знімати з валу пів муфти різних діаметрів. Розкриття та фіксування тяг відбувається за допомогою регулювальної гайки 2, що навернута на різьбу гвинта 1. Тягове зусилля, що створюється за допомогою ручного знімача являється складною операцією, що потребує значних фізичних зусиль, тому для демонтажу півмуфт, які не піддаються стягуванню, застосовують гідравлічний знімач.

Рис. 7. Знімачі для стягування (розпресовування) півмуфт і підшипників кочення з валів електричних машин
а – гвинтовий знімач з регульованим розкриттям тяг, б – гідравлічний знімач, в – знімач для стягування підшипників кочення захватом за підшипник, г - знімач для стягування підшипників кочення захватом болтами за кришки або капсули підшипника; 1 – черв’ячний гвинт з головкою, 2 – регулювальна гайка, 3 – тяги, 4 – майданчик, 5 – стійка, 6 – траверси, 7 – захвати, 8 – плунжерний насос, 9 – рукоятка штока насоса, 10 – пластинка зі штифтами, 11 – шпильки, 12 – плита, 13 – диск, 14 – корпус знімача
Гідравлічний знімач (Рис. 7, б), представляє собою встановлений на колесах майданчик 4 з двома стійками 5, на яких вертикально переміщується гідравлічний плунжерний насос 8. Щоб зняти півмуфту, встановлюють та закріплюють болтами на корпусі насоса траверси 6, між якими також болтами закріплюють захвати 7.
Догляд за підшипниками . для нормальної роботи двигуна його підшипники ковзання потрібно тримати у чистоті. Для цього кришки підшипників щільно закривають. Олива, що застосовується для змазування підшипників, не повинна вміщувати кислоту або смолу.
Для нормальної роботи підшипників з кільцевим змащуванням необхідно не менш двох разів за зміну перевіряти обертання кілець і чистоту оливи.
Перед заміною змазки підшипники промивають керосином, продувають повітрям, промивають тією маркою оливи що застосовується для даних підшипників, а після цього заливають свіжу оливу.
Якщо підшипники працюють нормально і не нагріваються, то огляд і заміна оливи здійснюється при чергових ремонтах, а також по мірі необхідності в залежності від стану змащування.
Після зборки підшипникових вузлів перевіряють легкість обертання ротора від руки а потім вмикають електродвигун та обертають його 15 хвилин вхолосту. Якщо стан підшипників нормальний , при прослуховуванні чутний рівномірний гул без стуків та ударів.
3.3 Ремонт колекторів
Натиснення окремих щіток на колектор не повинно відрізнятися більш ніж на 10% від середнього значення, інакше через щітки з більшим натисненням проходитиме значно більший струм, чим через всі останні. Це приводить до підвищеного їх нагріву, а також нерівномірного зносу колектора.
Під час роботи відбувається ослаблення нажимних пружин в щіткотримачах. Причиною значного ослаблення може бути струм, що проходить через пружину або поганому контакті наконечников струмопровідних проводів щітки з бракетом або їх обриві. Струм нагріває пружину і приводить до її відпалу.
Натиснення на щітку 3 (Рис. 8), пружиною, вимірюють динамометром 4, закріпленим за важіль 5 в тому місці, де він тисне на щітку. Між щіткою і колектором 1 прокладають лист паперу. Плавно натягуючи динамометр за гачок, помічають його свідчення в мить, коли папір може бути без зусилля витягнутий. Воно відповідатиме натисненню щітки на колектор, яке повинне бути витримано в межах, що рекомендуються для даної машини.

Рис. 8. Вимірювання зусилля натиснення на щітку
1 - колектор, 2 - палець щіткотримача, 3 - щітка, 4 - динамометр, 5 - важіль
Зазор h між щіткотримачем і коллектором впливає на стійкість щітки. При великих зазорах щітка перекошується і важко її ковзає в обоймі щіткотримача. У крупних машинах величину h витримують в межах 2- 4 мм, в машинах меншої потужності - від 1 до 2,5 мм.
Поверхня гнізда у щіткотримача повинна бути рівної і гладкої з ледве помітними слідами механічної обробки. Зазор між щіткою і стінкою обойми у напрямі дотичної до поверхні колектора повинен знаходитися в межах 0,1-0,25 мм (великі значення для великих розмірів щіток). Більший зазор приводить до перекосу щітки і утрудненого переміщення в радіальному напрямі, що погіршує її контакт з колектором. Перекіс особливо шкідливий для реверсивних машин, оскільки при зміні напряму обертання щітка нахиляється в протилежну сторону, що приводить до зменшення її поверхні прилягання до колектора. У аксіальному напрямі (по осі коллектора) допускається декілька більший люфт щітки в обоймі (0,2- 0,5 мм).
Послідовність операцій при обробці робочою поверхні колектора приведена на Рис. 9.
Глибокі подгари, кільцеві канавки, підвищене биття робочої поверхні усувають проточкою колектора, знімаючи мінімальний шар міді, необхідний для отримання рівної поверхні. Колектори малих і середніх машин проточують на токарних верстатах, колектори крупних машин - при обертанні якоря у власних підшипниках, застосовуючи спеціальні супорти, які встановлюють на траверсі або щиті, знявши частину щіткотримачів.

Рис. 9. Послідовність операцій при обробці робочої поверхні колектора:
1 - обточування, 2 - продорожуваніє, 3,8 - продування стислим повітрям, 4 - зняття фасок, 5 - шліфовка і поліровка, 6 - притирання щіток, 7 - чищення дрантям
Високу чистоту отримують остаточною обробкою поверхні діамантовими різцями при малій глибині, малих подачах (0,02- 0,05 мм/об) і високих швидкостях різання (200-100 м/хв). Частота обертання при обробці не повинна перевищувати номінальну частоту обертання машини, якір повинен бути відбалансований.
Після проточки колектор шліфують дрібнозернистою скляною шкіркою і полірують. Для шліфування застосовують пристосування, в якому шкірку закріплюють на увігнутій поверхні дерев'яної колодки. Пристосування встановлюють в супорті токарного верстата і пружиною притискують колодку до колектора.

Рис. 10. Правильне (а) і неправильное (б) продорожуваніє колектора
Шліфовку проводять також точильным бруском, встановлюючи його в супорті як різець. Цей спосіб застосовують для усунення неглубоких пошкоджень.
Ізоляцію між пластинами у міру зносу і проточок коллектора випилюють (продорожувають) на глибину h np (Рис. 10, а), знімаючи на краях пластин фаски. Цю операцію виконують при поточному ремонті спеціальною пилою. Глибина продорожуванія у малих машин складає від 0,5-0,8 мм, у середніх - 1-1,5 мм, у великих - до 2 мм. Видаляти ізоляцію на велику глибину недопустимо, оскільки в глибоких канавках скупчується щітковий пил, який може привести до замикання колекторних пластин.
Продорожування необхідне, щоб забезпечити контакт щітки з колектором, тому що міканіт твердіше за мідь і при зносі пластин виступатиме над робочою поверхнею. Не можна залишати міканіт у бічних стінок (Рис. 10, б), оскільки контакт щітки з коллектором порушуватиметься при невеликому зносі його поверхні.
Переносні пристрої для продорожуванняя дозволяють механізувати цей трудомісткий процес. Ізоляцію між пластинами видаляють дисковою фрезою, розташованою в робочій частині 4 (Рис. 11, а) пристрої. Фреза приводиться в обертання електродвигуном 1 з редуктором 6 через карданний або гнучкий вал. Кнопка 3 включення і відключення електродвигуна для зручності розміщена в правій рукоятці робочої частини, магнітний пускач 2 - на електродвигуні.
Робоча частина забезпечена метричною шкалою для установки дискової фрези залежно від товщини колекторної пластини, а також концентричним затиском, що дозволяє регулювати глибину продорожування. Ширина фрези підбирається в залежності з товщиною ізоляції між колекторними пластинами.

Рис. 11. Переносні пристрої для продорожуванія колекторів з приводом від електродвигуна (а) і з пневматичним приводом (б)
1 – електродвигун, 2 - магнітний пускач, 3 - кнопка, 4 - робоча частина, 5 - карданний вал, 6 - редуктор, 7 - рукоятка, 8 - упори,9 - направляючийдиск, 10- фрези, 11 - пневматична свердлильна машина; 12 – гайка
Перед початком роботи електродвигун заземляють і підключають до мережі. За допомогою каретки і рухомих опор встановлюють необхідну глибину продорожування і настроюють робочу частину відповідно до товщини колекторної пластини.
Першу ізоляційну прокладку продорожують вручну. Потім, узявши в руки робочу частину пристосування, ставлять її направляючим ножем в продороженну канавку, включають електродвигун і переміщають робочу частину уздовж колектора, продорожуючи другу ізоляційну прокладку. Натискаючи кнопку, зупиняють електродвигун, встановлюють ніж в тільки що вибрану фрезою канавку і продорожують наступну прокладку.
Переносний пристрій в 4 рази знижує витрати праці на продорожування колектора в порівнянні з ручним випилюванням ізоляції і набагато підвищує якість виконання цієї операції, тому воно знаходить широке застосування при ремонті електричних машин.
Продорожування за допомогою пристосування виконують в захисних окулярах, рукави одягу зав'язують на кистях рук. Фреза повинна обертатися за годинниковою стрілкою, якщо дивитися з боку лівої рукоятки. Напрям обертання вказаний на корпусі пристрою. Приступаючи до роботи, треба переконатися в правильності напряму обертання фрези і міцності її кріплення.

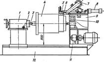
Рис. 12. Верстат-напівавтомат для продор ожування колекторів
Для продорожуванія застосовують також пневматичніпристосування. Як привід в них може бути використана пневматична сверлилка 11 (Рис. 11, б), яку вбудовують непосредственно в робочу частину пристосування. Карданний вал при такій конструкції відсутній. Поряд з фрезою 10 на відстані, рівному товщині пластини, встановлюють направляючий диск 9. Упори 8 з текстоліту додають стійке положення пристосуванню при русі його уздовж колектора за допомогою рукояток 7. Гайки з накаткою 12 дозволяють переміщати упори для регулювання глибини урізування фрези. Першу прокладку продорожуваютвручну, щоб встановити між пластинами направляючий диск.
При великому числі колекторних пластин трудомістку операцію по продорожуванню в умовах електроремонтного цеху виконують на спеціальних верстатах.
На рис. 12 представлений верстат-напівавтомат для колекторів 0 350-800 мм.
Список використаних джерел
1. Атабеков В. Б.Ремонт электрооборудования промышленных предприятий: Учебник для сред, проф.-техн. училищ. — 4-е изд., перераб. и доп. — М.: Высш. школа, 1979. — 256 с, ил. — (Профтехобразование. Энергетика).
2. Бондар В. М., Гаврилюк В. А., Духовний А. X. та ін. Практична електротехніка для робітничих професій: Пі-друч. для учнів проф.-навч. закладів з різноманіт. галузей пром.-сті та побут, обслуг.— К.: Веселка, 1997. — 191 с.
3. Егоров Г. П. и Коварский А. И.ЕЗО Устройство, монтаж, эксплуатация и ремонт промышленных электроустановок. Изд. 3-е, перераб. Учебник для профес.-технич. учебных заведений и подг. рабочих на произв. М., «Высшая школа», 1972 (I кв.) 352 с. с илл.
4. Кокорев А.С. Злектрослесарь по ремонту злектрических машин: Учеб. для СПТУ.
5. Кисаримов Р.А. Справочник електрика
Похожие рефераты:
Система автоматичного регулювання (САР) турбіни атомної електростанції
Технічне обслуговування електроустановок
Технічне обслуговування та ремонт двигунів змінного струму
Майстерня по ремонту холодильників
Автомобілі з гібридною трансміссією і комбінованою енергетичною установкою
Електропоїзди постійного струму
Трифазний асинхронний двигун типу 4А112М4У3 з коротко замкнутим ротором
Технологія монтажу, ремонту та правила технічного обслуговування синхронних двигунів
Розробка інвертора напруги для апаратури зв'язку
Розвиток і вдосконалення льотної промисловості України
Діагностика системи запалення ДВЗ
Експлуатація та неполадки асинхронних двигунів
Технічне обслуговування й ремонт електричних машин
Модернізація системи кеування електроприводом стрічкового конвеєра
Проектування автоматизованого електропривода візка мостового крану
Автомобільне обладнання: будова та діагностування