| Похожие рефераты | Скачать .docx |
Реферат: Организация сборки прерывателя-распределителя ЗиЛ-130
1. Введение
1.1 Роль автомобильного транспорта в народном хозяйстве.
Автомобильный транспорт имеет большое значение в общей транспортной системе Р.Ф., не его долю приходится свыше 2\3 всех грузовых перевозок в народном хозяйстве.
Основными направлениями экономического и социального развития страны, предусматривается освоение и расширение производства грузовых и специализированных автомобилей и автобусов, в первую очередь дизельных, увеличение выпуска малотоннажных грузовых автомобилей и электромобилей для внутригородских перевозок, значительное увеличение производства прицепов и полуприцепов для обеспечения перевозок автопоездами. В последнее время запланировано увеличение грузооборота автомобильного транспорта общего пользования в 1,3…1,4 раза, а пассажирооборота автобусов – на 16…18%
Транспорт важнейший элемент инфраструктуры, под который понимают отрасли народного хозяйства, создающие общие его функционирования. Транспорт оказывает активное влияние на процесс расширенного воспроизводства, величину запасов, сырья, топлива и промышленной продукции, производственную мощность складов, т.е. на эффективность функционирования различных отраслей народного хозяйства.
В настоящее время существуют крупные заводы, такие как ОАО «КамАЗ», ОАО «ГАЗ» ОАО «ЗИЛ», ОАО «МАЗ». Заводы изготовители выпускают автомобильный транспорт для многих отраслей народного хозяйства. Для перевозки грузов выпускаются многие марки автомобилей, в том числе и спецтехнику на базе автомобилей: ЗИЛ-130, КамАЗ-5320, ГАЗ-53, МАЗ-503, и другие.
1.2 Перспективы автомобилестроения.
Основной упор в научно-исследовательских и опытно-конструкторских работах в минувшем году был сделан на практической реализации Продуктовой политики ОАО «КамАЗ». Она рассчитана на 10 лет и предусматривает полное обновление модельного ряда камских большегрузов и создание в рамках программы диверсификации новых образцов техники, планируемых к постановке на производство в ближайшие годы.
В 2000 году были изготовлены и опытные образцы семейства базовых моделей – самосвал «КамАЗ»-65115 (6×4), седельный тягач «КамАЗ»-65116 (6×4), самосвалы «КамАЗ»-6540 (8×4) и «КамАЗ»-65111 (8×4). Они оборудованы двигателем «КамАЗ-740.30-260», отвечающий требованиям ЕВРО-2.
Собран опытный образец городского автобуса большой вместимости «НЕФАЗ-5297», где начиная с 2003 года планируется начать выпуск не менее 1000 этих автобусов.
Являясь одним из ведущих изготовителей дизельных двигателей в России ОАО «КамАЗ» устанавливает двигателя кроме КамАЗов еще и на УРАЛах, ЗиЛах и ЛИАЗах. Обнадеживающая перспектива открывается и перед пахотно-пропашным трактором камазовского производства КТ-240К. В НТЦ был проведён полный цикл стендовых испытаний его агрегатов, изготовлен и прошёл полевые испытания опытный образец трактора, по результатам которых выдана конструкторская документация для производства опытно-промышленной партии.
Основными задачами 2002 года является снятие с производства старого модельного ряда двигателей «КамАЗ-7403.10» и «КамАЗ-740.11-240» и постановка на производство новых двигателей «КамАЗ-740.13-260»; -740.30.260; -740.14-360» (ЕВРО-2).
1.3 Значение авторемонтных предприятий.
Ремонтное производство имеет огромное народнохозяйственное значение, с целью поддержания в исправном состоянии автомобильного транспорта и продления срока службы автомобилей, а так же является источником экономической эффективности, т.к. используется остаточный ресурс деталей. Примерно 70-75% деталей, которые прошли, срок службы до первого капитального ремонта имеют остаточный ресурс и могут быть использованы повторно. Основной задачей авторемонтных предприятий является то, чтобы с наименьшими затратами восстановить работоспособность автомобилей.
В последнее время развивается фирменный ремонт. Дилерская сеть ОАО "КАМАЗ" - сеть продаж и сервиса продукции КАМАЗа, предназначена для максимального удовлетворения заказов потребителей, обеспечения лидирующего положения ОАО "КАМАЗ" на автомобильном рынке России.
Дилерская сеть ОАО «КамАЗ» сегодня - это более 220 предприятий, обеспечивающих:
- продвижение продукции к потребителям в регионах;
- увеличение числа постоянных каналов продажи продукции на местах;
- своевременное удовлетворение заказов потребителей и быстрое реагирование на изменение потребностей рынка;
- проведение единой маркетинговой политики на рынке грузовых автомобилей и запасных частей;
- систематическую рекламу продукции КамАЗа и услуг по сервису в средствах массовой информации с целью формирования устойчивого потребительского спроса;
- повышение влияния ОАО "КамАЗ" на формирование рыночных цен на продукцию;
- развитие собственной сети продаж и сервиса в регионе;
- предоставление потребителям качественных услуг по предпродажной подготовке, техническому обслуживанию и ремонту продукции, выполнению гарантийных обязательств, обеспечение потребителей технической документацией;
- обеспечение устойчивой обратной связи с потребителями.
2. Технологическая часть.
2.1 Назначение, устройство и работа прерывателя-распределителя Зил-130
Прерыватель-распределитель необходим для прерывания тока низкого напряжения и распределения тока высокого напряжения по цилиндрам двигателя.
Прерыватель-распределитель состоит из корпуса (3), приводного валика (1), подвижного и неподвижного дисков, кулочка (7) и регуляторов опережения зажигания. На подвижном диске размещены изолированный рычажок с подвижным контактом и неподвижный контакт со стойкой. Подвижный контакт прерывателя прижимается к неподвижному пластинчатой пружиной.
Вращающийся кулачок (7) нажимает выступом на изолированный рычажок прерывателя и за один оборот размыкает контакты столько раз, сколько выступов на кулочке. Число выступов на кулочке равно числу цилиндров двигателя.
Сверху на корпусе прерывателя установлен распределитель. Он состоит из ротора (5) и крышки (6). На наружной части по окружности выполнены гнёзда с зажимами для проводов высокого напряжения к искровым свечам зажигания. В центре крышки расположено центральное гнездо для крепления центрального провода высокого напряжения от катушки зажигания. Внутри крышки против центрального гнезда помещён угольный контакт с пружиной для соединения провода с пластиной ротора, а против каждого гнезда по окружности расположены боковые контакты.
Кулачок прерывателя соединён с приводным валиком через центробежный регулятор. Валик приводится в действие от распределительного вала. Центробежный регулятор снабжён грузиками, на выступах которых размещается пластина с косыми прорезями. С увеличением частоты вращения коленчатого вала, грузики расходятся, штифты грузиков перемещаясь в прорезях пластины, поворачивают её и соединённый с ней кулачок в сторону вращения ведущего валика. В результате кулачок размыкает контакты прерывателя, и угол опережения зажигания увеличивается.
В прерывателе-распределителе, кроме центробежного, установлен вакуумный регулятор. Он служит для изменения угла опережения зажигания в зависимости от нагрузки двигателя.
Для изменения угла опережения зажигания вручную в зависимости от октанового числа топлива предназначен октан-корректор (8). Им изменяют угол зажигания в пределах ± 12º по углу поворота коленчатого вала.
Таким образом, в прерывателе-распределителе действуют независимо три устройства по изменению угла опережения зажигания: центробежный регулятор поворачивает кулачок, вакуумный регулятор – подвижный диск прерывателя и октан-корректор – корпус.
2.2 Технические условия на сборку прерывателя-распределителя ЗИЛ-130.
Все трущиеся поверхности перед сборкой должны быть смазаны смазкой ЦИАТИМ-201 (ГОСТ 6267-59).
Грузики центробежного регулятора должны свободно проворачиваться на своих осях. На оси и кронштейны пружин грузиков центробежного регулятора должны быть надеты две пружины. Характеристики пружин приведены в таблице 1.
Таблица 1
Характеристики пружин
| Диаметр, мм |
Длина пружин с усиками, мм |
Шаг витка, мм |
Число витков |
Нагрузка для растяжения на 4 мм, г |
|
| Пружины |
Проволоки |
||||
| 5…5,2 |
0,4 |
16…17 |
0,4 |
15 |
90…100 |
| 6…6,2 |
0,7 |
20…21 |
1 |
8 |
700…900 |
Биение шейки валика под втулку кулочка относительно шейки под втулку в корпусе не должно превышать 0,03 мм.
Перед завёртыванием винта крепления втулки кулочка резьба должна быть смазана натуральной олифой (ГОСТ 7931-56). Под головку винта должна быть положена пружинная шайба. Продольный люфт втулки не должен превышать 0,75…1,0 мм.
Вращение шарикового подшипника должно быть свободным, без заеданий. Люфт наружной обоймы относительно внутренней допускается не более 0,05мм. Шариковый подшипник должен быть заполнен смазкой ЦИАТИМ-201.
Фильц должен быть изготовлен из фетра и пропитан машинным маслом. Количество смазки в фильце должно быть в пределах ~ 0,18…0,22 г.
Ось рычага прерывателя-распределителя не должна иметь качки в месте крепления к пластине. Рычаг прерывателя-распределителя не должен иметь качки на оси. Подбором текстолитовых шайб должно быть обеспечено совпадение осей контактов с точность до 0,25 мм.
Контакты прерывателя должны иметь гладкие шлифованные поверхности, параллельные между собой. Толщина слоя вольфрама контактов должна быть не менее 0,5 мм.
Длина гибкого проводника «на массу» должна обеспечивать свободный ход пластины без натяжения. Длина проводника должна составлять 93…97 мм (расстояние между центрами отверстий наконечников).
В кольцевую канавку крышки распределителя должна быть установлена на клею пробковая прокладка.
Конденсатор должен иметь ёмкость 0,15…,25 мкф. Допускаются незначительные вмятины корпуса конденсатора, не вызывающие нарушения герметичности и повреждения диэлектрика.
Штуцер вакуумного регулятора должен быть плотно затянут, и иметь уплотнительную шайбу.
Валик прерывателя-распределителя должен свободно вращаться во втулках корпуса. Перед установкой в корпус валик должен быть смазан консистентной смазкой ЦИАТИМ-201. Этой же смазкой должна быть заполнена маслёнка прерывателя-распределителя.
Соединительный проводник одним концом должен быть соединён с изолированной пластиной прерывателя-распределителя, а другим – с выводной изолированной клеммой на корпусе.
Таблица 2
Технические условия на сборку
| № детали |
Наименование сопряженных деталей |
Размеры |
Зазоры-натяги в сопряжениях, Нм |
||
| Номинальный |
Допустимый |
Номинальный |
Допустимый |
||
| Р4-3706101-В |
Корпус прерывателя-распределителя – диаметр под втулку валика |
15,9-0, 030 |
15,93 |
-200_ -0,090 |
-200_ -0,020 |
| I-ИГ-579-А |
Втулка валика наружный диаметр |
+0, 070 16 -0, 050 |
-200_ -0,050 |
-200__ -0,020 |
|
| I-ИГ-579-А |
Втулка валика внутренний диаметр |
+0, 012 12,7 -0, 006 |
12,73 |
|
|
| Р4-3706210 |
Валик прерывателя-распределителя диаметр шейки под втулку |
||||
| Р4-3706230-В |
Втулка кулочка прерывателя-распределителя внутренний диаметр |
8-0,022 |
8,03 |
+0,003 +0,037 |
+0,003 +0,050 |
| Р4-3706211 |
Валик прерывателя диаметр под втулку кулочка прерывателя |
-0, 030 8 -0, 015 |
7,98 |
+0,003 +0,037 |
+0,003 +0,050 |
2.3 Выбор и обоснование способа сборки.
Учитывая значительную производственную программу 20000 двигателей в год и малой трудоёмкости рационально проводить сборку на универсальном посту. В условиях такой организации работы на посту выполняется ремонт одного узла или совокупность заранее определенных технологических операций. Применение специализированных постов позволяет повышать производительность труда, снизить требования к уровню квалификации рабочих и уменьшить за счёт этого стоимость ремонта. Так как при сборке агрегата используются регулировочные работы, по установке зазора в контактах прерывателя, сборка производится методом регулирования.
2.6 Выбор оборудования, приспособлений и инструмента.
Таблица 3
Оборудование
| Наименование |
Модель, тип |
Габариты |
| Прибор для проверки прерывателей-распределителей Прибор для проверки конденсаторов Верстачный пресс, реечный, усилие до 1т. Диагностический стенд |
Э 213 РК-3 KR-8005А |
260 × 150 320 × 220 800 × 600 270 × 600 |
Таблица 4
Приспособления
| Наименование |
Модель, тип |
Габариты |
Площадь, м2 |
| Верстак электромонтажный Верстак слесарный Стеллаж для деталей Тумбочка для инструмента Ванна для мойки деталей Ларь для обтирочных материалов |
КО-389А 101910200 ИП-58 КО-379 2031 2249 |
1800 × 700 1200 × 500 2600 × 600 830 × 560 648 × 520 600 × 280 |
1,26 0,6 1,56 0,46 0,34 0,16 |
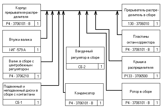
2.4. Схема технологического процесса сборки прерывателя-распределителя
ЗИЛ-130.

Порядок сборки прерывателя-распределителя ЗИЛ-130
Запрессовать бронзовые втулки(3) в корпус прерывателя-распределителя(4). Вставить в корпус валик(1) в сборе с центробежным регулятором(5), и закрепить вал с муфтой (2) при помощи штифта(9). Установить в корпус прерывателя-распределителя подвижный и неподвижный диски в сборе с подшипником. Прикрутить к корпусу конденсатор, подсоединив провод. Подсоединить провод массы. Закрепить винты крепления дисков. Вставить в корпус винт-клемму с наружным изолятором, вставить внутренний изолятор и закрутить гайку.
Установить вакуумный регулятор, установить тягу к оси подвижного диска, подсоединить один конец провода массы и завинтить винты крепления оси. Закрутить винты вакуумного регулятора.
Установить ротор(6), соединив установочные пазы на валике и роторе. Установить крышку распределителя(7), застегнув двумя пружинными защёлками(10). Установить пластины октан-корректора(8) с регулировочными гайками, затянув их к корпусу болтом.
3. Расчётная часть
3.1 Расчёт норм трудоёмкости
Годовая производственная программа предприятия рассчитывается по следующей формуле [1, с.70, ф.(4.1)]
Тг = t * N (3.1)
где Тг - годовой объём работ, чел.-ч
t – трудоёмкость ремонта, чел.-ч t = 4,72 [5, с.317, приложение.]
N – годовая производственная программа, шт
Вычислим производственную программу в приведённых единицах по следующей формуле [1, с.282, ф. (36.1)]
Nпр = N * ηпр (3.2)
где Nпр – приведенная производственная программа, шт
N – годовая производственная программа
ηпр – коэффициент приведения, характеризующий конструктивно-технологические особенности объектов ремонта, ηпр = 1,13 [3, с.281, т.(36.1)]
Nпр = 20000*1.13 = 22600
3.2 Расчёт годового объёма работ
Тг = Nпр * tм * Км * Ка (3.3)
где tм – трудоёмкость по видам работ, чел.-ч, tм = 4,72 [3, с.317, приложение]
Км – коэффициент механизации, Км = 0,70 [2, с.26, ф.(5)]
Ка – Коэффициент автоматизации, Ка = 0,9 [3, с.403]
Тг = 22600*4,72*0,70*0,9 = 67203 чел.-ч (3.4)
Рассчитаем годовую трудоёмкость по видам работ по следующему выражению
Твр = Тг * tк (3.5)
где tк –комплектование, слесарно-подгоночные работы и селективный подбор
tк = 8,40% [3, с.317, приложение]
Твр = 67203*8,40 = 5645 чел.-ч
Определим трудоёмкость на сборку одного прерывателя-распределителя по следующей формуле
Твр = Твр /Nпр (3.6)
где Твр – годовая трудоёмкость по видам работ
Nпр – годовая программа предприятия.
Твр = 5645/22600 = 0,24 чел.-ч.
Рассчитываем действительный и номинальный фонды рабочего времени по следующим выражениям [4, с.479]
Рассчитаем номинальный рабочий фонд
Фн = [365-(104+dn )*tсм – tc *nп ] (3.7)
где dn – количество праздничных дней в году
tсм – продолжительность рабочей смены
tc – количество предпраздничных дней
nп – количество праздников в году
Фн = [365-(104+11)*8 – 1*11] = 1989 чел.-ч.
Рассчитаем действительный рабочий фонд
Фд = {[365-(104+ dn +dо )*tсм – tc *nп ]}* ηр (3.8)
где dо – число рабочих дней отпуска. При нормальных условиях труда принимаю
dо = 40 дней.
ηр – коэффициент потерь рабочего времени. ηр = 0,97
Фд = {[365-(104+11+40)*8 – 1*11]}* 0,97 = 1618 чел. -ч.
3.3 Определение количества явочных и списочных рабочих.
Списочный состав рабочих определяется по формуле [3, с.286, ф.(36.11)]
Рсп = Тг /Фд (3.9)
Рсп = 5645/1618 = 3,48
принимаю Рсп = 4 человека.
Явочный состав рабочих определяем по следующему выражению [3, с.286, ф.(36.12)]
Ря = Тг /Фн (3.10)
Ря = 5645/1618 = 2,8
Принимаю Ря = 3 человека
3.4 Расчёт производственных площадей и потребителей
Рассчитаем производственную площадь по следующему выражению
[1, с.289, ф.(36.24)]
Fy = K*(F1 *X1 +F2 *X2 +...+Fn *Xn ) (3.11)
где К – коэффициент перехода от площади, К=3,5 [1, с.289, ф.(36.24)]
F1 , F2 , Fn – площади в плане, занимаемого оборудования
X1 , X2 , Xn – количество оборудования соответствующего типа.
Fy = 3.5*(0.46*3+1.26*2+0.34*1+1.56*1+0.16*1+0.6*1) = 22.96м3
принимаю производственную площадь 23 м3
Объём участка рассчитаем по формуле
V=Fy*h (3.12)
где h – высота здания, м, h=6м [10, с.175, т.(7.1)]
V=23*6=138м3
Расчёт вентиляции определим по следующей формуле [9, с.168]
W=V*R (3.13)
где V – объём цеха, м3
R – кратность обмена воздуха, R=4 [9, с.204, приложение 12,т.(2)]
W=138*4 = 552м3
Определим естественное освещение по формуле [9, с.167, ф.(4.41)]
Fок = Fпол *£ (3.14)
где Fпол - площадь пола участка, м3
£ - световой коэффициент, £ = 0,35 [9,с.204, приложение 12,т.(1)]
Fo к = 23*0,35 = 8,05м3
Общая световая мощность ламп рассчитывается по формуле [9, с.168]
Wосв = RQFy (3.15)
где R – норма расхода электроэнергии, Вт/м2 *ч, R = 17 [9, c.168]
Q – продолжительность работы освещения в течении года, Q = 2100ч [9, с.168]
Wосв =17*2100*23 = 928200Вт
Рассчитаем теплоснабжение по выражению[10, с.196]
Qг.гв = qгв *Vnc ab (3.16)
где qгв – удельный годовой расход тепла, кДж*ч/1000м3 ,
qгв = 207000кДж*ч/1000 м3 [10, с.196]
V – объём цеха
nc – число смен работы участка
а – приведённая продолжительность работы душей и умывальников в
течение смены, ч, а = 0,75 [10, с.196,ф.(8.7)]
b – число рабочих дней в году, b = 250
Qг.гв = 207000*138*1*0,75*250 = 5356125 кДж*ч/100м3
5.Заключение
В данном курсовом проекте разработан технологический процесс на сборку прерывателя- распределителя ЗИЛ-130. При разработке курсового проекта мне пришлось воспользоваться множеством технической литературы, которая в последствии помогла мне выполнить основные задачи проекта. При разработке данного курсового проекта я ознакомился с основами расчетов норм трудоёмкости, годового объёма работ, определения номинального и действительного фондов рабочего времени, определение явочного и списочного количества ремонтных рабочих, а так же ознакомился с расчётами производственных площадей и рациональным распределением рабочего оборудования применяемом в технологическом процессе сборки прерывателя-распределителя. Курсовой проект выполнен в полном объёме.
Используемая литература
1. «Ремонт автомобилей» Румянцев С.И. 1988г.
2. «Проектирование авторемонтных предприятий» Верещак Ф., Абелевич Л. 1973г.
3. «Ремонт автомобилей» Румянцев С.И. 1981г.
4. «Основы технологии автомобилестроения и ремонта автомобилей» Щадрищев В.А.
5. «Справочник автомобильного механика» Машиностроение 1969г.
6. «Нестандартизированное оборудование, используемое в процессе технического обслуживания и ремонта автомобилей» Каталог-справочник, Москва, 1990г.
7. «Гаражное и ремонтное оборудование» Каталог-справочник, Москва, 1978г.
8. «Специализированное оборудование стран-членов СЭВ для технического обслуживания и ремонта автомобилей», Москва, 1989г.
9. «Техническое обслуживание и ремонт автомобилей» Суханов Б.Н., Борзых И.О., Бедарев Ю.Ф., транспорт, 1985г.
10. «Проектирование авторемонтных предприятий», Щадрищев А.Л., Транспорт, 1981г.
11. «Технические условия на сборку ЗИЛ-130», Транспорт,
Содержание
1. Введение стр.4
1.1 Роль автомобильного транспорта в народном хозяйстве стр.4
1.2 Перспективы автомобилестроения стр.4
1.3 Значение авторемонтных предприятий стр.5
2.Технологическая часть стр.6
2.1 Назначение, устройства и работа узла стр.6
2.3 Технические условия на сборку стр.6
2.4 Выбор и обоснование способа сборки стр.8
2.4 Схема технологического процесса стр.9
2.5 Технологическая карта на сборку стр.10
2.6 Выбор оборудования, приспособления и инструмента стр.12
3. Расчётная часть стр.13
3.1 Расчёт норм трудоёмкости стр.13
3.2 Расчёт годового объёма работ стр.13
3.3 Определение количества явочных и списочных рабочих стр.14
3.4 Расчёт производственных площадей и потребителей стр.15
Заключение стр.17
Используемая литература стр.18
Похожие рефераты:
Устройство и принцип работы автомобиля ЗиЛ-130
Тормозные механизмы автомобиля КамАЗ: ремонт и техническое обслуживание
Полные ответы на билеты по автоделу (экзамен 2002)
Устройство, работа, неисправности, ремонт сцепления атомобиля КамАЗ
Электронная система зажигания автомобиля ВАЗ-2110, ее техническое обслуживание и ремонт
Система смазки двигателя автомобиля
Разработка технологии и процесса ремонта двигателей автомобиля КамАЗ 5320 на АТП
Система зажигания карбюраторных двигателей
Оборудование летательных аппаратов
Электрооборудование автомобилей
Ремонт сельскохозяйственной техники
Устройство наддувного дизельного двигателя КамАЗ-7403.10
Ремонт муфты автоматического опережения впрыскивания топлива