| Похожие рефераты | Скачать .docx |
Реферат: Система питания дизеля
КОНТРОЛЬНАЯ РАБОТА
На тему: «Система питания дизеля »
ПОЛТАВА
СОДЕРЖАНИЕ
СИСТЕМА ПИТАНИЯ ДИЗЕЛЯ
ДИЗЕЛЬНОЕ ТОПЛИВО
ОБЩАЯ СХЕМА СИСТЕМЫ ПИТАНИЯ
СМЕСЕОБРАЗОВАНИЕ В ДИЗЕЛЯХ
ПРИБОРЫ СИСТЕМЫ ПИТАНИЯ ДИЗЕЛЯ
СИСТЕМА ПИТАНИЯ ДИЗЕЛЯ
В последние годы стали все шире использовать дизельные двигатели на автомобилях. В канун 1977 г. (29.12.1976 г.) введена в эксплуатацию первая очередь Камского комплекса (КамАЗ) по производству большегрузных автомобилей с дизельными двигателями.
В связи с увеличением выпуска дизелей некоторые автомобильные заводы страны (ЗИЛ, ГАЗ, ЛАЗ, ЛиАЗ, Уральский и др.) проводят испытания новых моделей автомобилей и автобусов с дизельными двигателями, чтобы в ближайшее время заменить ими карбюраторные двигатели. Следует признать, что использование карбюраторных двигателей на грузовых автомобилях в современных условиях с экономической точки зрения нецелесообразно, а также нежелательно вследствие большого загрязнения атмосферы токсичными веществами.
Хорошие технико-экономические показатели дизелей способствуют их широкому применению на автомобилях. В перспективе намечено использование дизелей на всех грузовых автомобилях, автобусах и на значительной части легковых автомобилей.
ДИЗЕЛЬНОЕ ТОПЛИВО
Для дизелей используют более дешевые, чем бензины, сорта нефтяных топлив (керосино-газойлевые и соляровые фракции). Согласно существующим стандартам дизельное топливо получают двух видов: из малосернистых (ГОСТ 4749—73) и сернистых (ГОСТ 305—73) нефтей. Дизельное топливо выпускается следующих марок: ДА, ДЗ, ДЛ и ДС (ГОСТ 4749—73) и А, ЗС, Л и С (ГОСТ 305—73).
Арктические топлива ДА и А предназначены для питания дизелей при температуре окружающего воздуха ниже —30° С (ДА) и при —50° С и выше (А); зимние топлива ДЗ и ЗС (зимнее северное) — при температуре выше —30° С; летние топлива ДЛ и Л — при температуре воздуха 0° С и выше; ДС и С — специальные дизельные топлива. Зимние и летние топлива различаются главным образом температурой застывания. Качество дизельного топлива оценивают октановым числом. Дизельное топливо сравнивают со смесью из двух топлив: цетана и альфаметилнафталина. Цетан обладает минимальным периодом запаздывания воспламенения, обеспечивает работу двигателя по мягкой характеристике, для него цетановое число условно принимают равным 100. Альфаметилнафталин обладает наибольшим, периодом запаздывания воспламенения (трудно воспламеняется) и вызывает работу двигателя по жесткой характеристике: его цетановое число условно принимают равным нулю. Если испытываемое дизельное топливо ведет себя в отношении воспламеняемости как объемная смесь, состоящая например, из 40% цетана и 60% альфаметилнафталина, то цетановое число такого топлива равно 40 и т. д. По содержанию серы дизельное топливо бывает двух видов: содержание серы не более 0,2%; содержание серы от 0,2 до 0,5%. Например, топливо Л-0,2 — летнее с содержанием серы до 0,2 %, топливо ЗС-0,5 — зимнее северное с содержанием серы до 0,5%.
ОБЩАЯ СХЕМА СИСТЕМЫ ПИТАНИЯ
Система питания дизеля служит для подачи в цилиндры двигателя воздуха и топлива и отвода отработавших газов. Топливо подается под большим давлением, в определенные моменты (характеризуемые углом опережения по. дачи топлива) и в определенном количестве в зависимости от нагрузки двигателя. Система питания дизеля состоит из систем подачи воздуха, подачи топлива и выпуска отработавших газов.
В систему питания четырехтактного дизеля ЯМЗ-236 (рис. 1, а) входят топливный бак 9, фильтры грубой 8 и тонкой 1 очистки топлива, топливоподкачивающий насос 11, топливопроводы, форсунки 6, топливный насос 5 высокого давления с всережимным регулятором, воздухоочиститель 4 и другие приборы и детали.
Рассмотрим путь топлива в системе питания. Из бака 9 через фильтр 8 грубой очистки по топливопроводу 10 топливо поступает к топливоподкачивающему насосу 11, от которого подается по топливопроводу 12 к фильтру 1 тонкой очистки, а по топливопроводу 2 к насосу 5 высокого давления. Насос по топливопроводам 3 высокого давления подает топливо в форсунки 6 в соответствии с порядком работы цилиндров двигателя (1—4—2—5—3—6). Независимо от частоты вращения коленчатого вала двигателя в каналах насоса поддерживается постоянное давление топлива 130—150 кН/м2 (1,3-— 1,5 кгс/см2 ) вследствие работы перепускного клапана 13 и жиклера фильтра тонкой очистки. Топливо, не использованное в насосе высокого давления, но топливопроводу 14 сливается в бак. Топливопроводы 7 служат для отвода в бак топлива, просочившегося между распылителем форсунки и иглой. Топливо, постоянно циркулирующее в системе питания, охлаждает головку насоса, отводит в бак топливо и воздух, попавший в систему.
Особенностью системы питания дизеля автомобиля КамАЗ-5320 является наличие в ней двух топливоподкачивающих насосов 23 и 34 (рис. 86, б). Насос 23, установленный на кронштейне коробки передач, имеет только ручной привод, а насос 34, укрепленный на корпусе насоса 17 высокого давления, имеет два привода: ручной и механический.
При работе двигателя топливо из бака 27 по топливопроводу 29 поступает в фильтр 31 грубой очистки, затем подходит к тройнику 25 и по топливопроводу S3 к топливоподкачивающему насосу 34. Насос 34 нагнетает топливо по топливопроводу 18 к фильтру 22 тонкой очистки, а из него по топливопроводу 24 к впускной полости насоса 17 высокого давления. От насоса 17 по топливопроводам 16 топливо подается в форсунки 15 в соответствии с порядком работы цилиндров двигателя (1—5—4—2—6—3—7—8).
Топливо, не использованное в насосе высокого давления, и воздух, попавший в систему питания, отводятся через перепускной клапан насоса и сливной клапан фильтра тонкой очистки по топливопроводам 19 и 30 в топливный бак. Топливопроводы 32 и 28 с тройником 26 служат для отвода в бак топлива, просочившегося между распылителем и иглой.
При работе дизеля ЯАЗ-М206 топливоподкачивающий насос 14 (рис. 2) засасывает топливо из бака 2 через трубку 1, топливопровод 4, фильтр 7 грубой очистки и топливопровод 16, а затем нагнетает топливо по топливопроводу 15 через фильтр 8 тонкой очистки и топливопровод 9 к насосам-форсункам 12 в соответствии с порядком работы цилиндров двигателя (1 — 5—3—6—2—4). Избыток топлива, непрерывно идущего через насосы-форсунки, охлаждает их и по топливопроводам 11 и 13 отводится в топливный бак. В конце отводящего топливопровода 11 установлен штуцер 10 с дроссельным отверстием, создающим сопротивление, что способствует поддержанию необходимого давления в системе питания.

Рис. 1. Схемы систем питания четырехтактных дизелей:
а — дизеля ЯМЗ-236; б — дизеля автомобиля КамАЗ-5320; 1 и 22 — фильтры тонкой очистки топлива; 2, 3, 7, 10, 12, 14, 16, 18, 19, 20, 24, 28, 29, 30, 32 и 33 — топливопроводы; 4 — воздухоочиститель; 5 к 17 — насосы высокого давления; 6 и 15 - форсунки; 8 и 31 — фильтры грубой очистки топлива; 9 и 27 — топливные баки; 11, 23 и 34 — топлнвоподкачивающяе насосы; 13 — перепускной клапан; 21 - кран отбора топлива к подогревателю; 25 и 26 - тройники
Система питания четырехтактных дизелей ЯМЗ-236 и дизеля автомобиля КамАЗ-5320 имеет много общего с системой питания двухтактного дизеля ЯАЗ-М206. Однако есть и отличия: системы питания четырехтактных дизелей разделенного типа, т. е. насос высокого давления и форсунка выполнены в виде отдельных агрегатов; между насосом высокого давления и форсунками

Рис. 2. Схема системы питания двухтактного двигателя ЯАЗ-М206:
1 — топливозаборная трубка; 2 — топливный бак; 3 — наливная горловина; 4, 9, 11. 13, 15 и 16 — топливопроводы; 5 — датчик указателя уровня топлива в баке; 6—указатель уровня топлива в баке; 7 — фильтр грубой очистки топлива; 8 — фильтр тонкой очистки топлива; 10 — штуцер с дроссельным отверстием; 12 - насос-форсунка; 14 — топливоподкачивающий насос
установлены трубопроводы высокого давления; к корпусу насоса высокого давления присоединен корпус всережимного регулятора. Системы питания двухтактных дизелей — неразделенного типа; т. е. насос высокого давления и форсунка объединены в один агрегат — насос-форсунку; нет топливопроводов высокого давления, что позволило поднять давление впрыска топлива, а его распыление сделать более тонким; регулятор двухрежимный т.е. устойчиво поддерживает минимальную частоту вращения холостого хода и ограничивает максимальную частоту вращения.
СМЕСЕОБРАЗОВАНИЕ В ДИЗЕЛЯХ
Время, отводимое на процесс смесеобразования в дизелях, очень мало. Да и топливо, поступающее в раскаленный сжатый воздух, воспламеняется не сразу. Между началом его подачи и моментом воспламенения проходит некоторый промежуток времени, называемый периодом задержки воспламенения. В течение этого периода топливо перемешивается с воздухом, испаряется и нагревается до самовоспламенения. Задержка воспламенения зависит от сорта топлива, его физико-химических свойств и от конструктивных особенностей двигателя. Чем значительнее период задержки воспламенения, тем больше количество топлива накапливается в камере сгорания. После воспламенения оно быстро сгорает, что приводит к резкому увеличению давления газов на поршневую группу. Двигатель работает жестко, со стуками, а его детали подвергаются интенсивному износу. Мелкое распыливание топлива в завихренный воздух приводит к уменьшению периода задержки воспламенения. С увеличением частоты вращения коленчатого вала повышаются давление и температура в конце сжатия, что уменьшает период задержки воспламенения топлива. Следовательно, для быстроходных дизелей необходимо использовать топливо с повышенным цетановым числом, так как такое топливо скорее воспламеняется и быстрее сгорает.
Особенностью дизеля является раздельная подача воздуха и топлива в цилиндры.
Смесеобразование в дизелях происходит непосредственно в камере сгорания. В сжатый горячий воздух впрыскивается определенная порция топлива. Задача смесеобразовательного процесса заключается в том, чтобы мелко распылить и хорошо перемешать определенную дозу топлива с воздухом. Смесеобразование происходит почти одновременно с процессом сгорания. Если в цилиндр подавать на одну часть топлива теоретически необходимое количество воздуха, достаточное для полного сгорания топлива, то двигатель будет работать с дымлением. Объясняется это тем, что равномерно распределить мелкие частицы топлива в воздухе по всей камере сгорания дизеля очень трудно. Чтобы топливо полностью сгорело, воздуха приходится подавать в цилиндры значительно больше, чем теоретически необходимо. Однако увеличение коэффициента избытка воздуха уменьшает экономические показатели дизеля. Лучше, если сгорание топлива происходит при меньшем значении коэффициента избытка воздуха, так как полнее будет использовано тепло сгоревшего топлива. Минимальное значение коэффициента избытка воздуха, соответствующее бездымной работе дизеля с неразделенной камерой сгорания, равно 1,6—1,7, а с вихревой камерой 1,3—1,4.
Другой особенностью дизеля является то, что в цилиндр фактически поступает почти одно и то же количество воздуха, независимо от нагрузки. При малой нагрузке в цилиндре всегда имеется много воздуха, и топливо сгорает полностью. Коэффициент избытка воздуха в этом случае имеет большую величину. При увеличении нагрузки возрастает подача топлива, уменьшается значение коэффициента избытка воздуха и ухудшается процесс сгорания топлива.
Для улучшения смесеобразования в дизелях применяют неразделенные камеры сгорания, разделенные (на два объема) камеры сгорания (вихревые и предкамеры). В неразделенные камеры сгорания (они расположены в днище поршня) топливо подают под большим давлением 50 000—100 000 кН/м2 (500—1000 кгс/см2 ). Это позволяет получить тонкое распыливание топлива, хорошее перемешивание его с воздухом, достаточную полноту сгорания, а дизель будет развивать наибольшую мощность. В разделенных камерах сгорания создается интенсивное завихрение воздуха, что способствует лучшему смесеобразованию и позволяет подавать топливо через форсунки с меньшим давлением 12 500—18 500 кН/м2 (125—185 кгс/см ).
ПРИБОРЫ СИСТЕМЫ ПИТАНИЯ ДИЗЕЛЯ
В системе питания дизеля ЯМЗ-236 и дизеля автомобиля КамАЗ-5320 применяют фильтры грубой и тонкой очистки топлива, включенные в систему последовательно. Очистка топлива от различных примесей имеет большое значение для всех двигателей, но для дизелей — особенно. От чистоты топлива и его соответствия окружающим температурным условиям зависит надежность работы двигателя, так как топливная аппаратура смазывается самим топливом. Оно довольно густое и его труднее очистить от механических примесей, чем бензин. Мельчайшие примеси могут вывести из строя плунжерные пары, нагнетательные клапаны, форсунки и т. д. Поэтому на нефтебазах дизельное топливо отстаивают, прежде чем отпускать потребителям.
Фильтр грубой очистки топлива дизеля ЯМЗ-236. Фильтр (рис. 3, а) имеет сменный фильтрующий элемент 2, вставленный в корпус 3, закрытый крышкой 5. Фильтрующий элемент состоит из хлопчатобумажной пряжи, намотанной на каркас, который изготовлен в виде трубки с большим количеством отверстий. При установке фильтрующего элемента в корпус направляющая розетка, приваренная к днищу корпуса, входит в отверстие элемента. Кроме того, плотное соединение фильтрующего элемента с корпусом и крышкой

Рис. 3. Топливные фильтры грубой очистки:
а – дизеля ЯМЗ-236; б – дизеля автомобиля КамАЗ-5320; 1 и 16 – сливные пробки; 2 – фильтрующий элемент; 3 и 15 – корпуса; 4, 7 и 17 – отверстия; 5 и 9 – крышки; 6 – пробка; 8 и 10 – прокладки; 11 – распылитель; 12 – отражатель; 13 – фильтрующая сетка; 14 – успокоитель.
достигается тем, что трехгранные кольцевые ребра крышки и днища корпуса вдавливаются в мягкие торцовые поверхности.
Топливо, подаваемое к фильтру грубой очистки, проходит через отверстие 7 и заполняет пространство между корпусом и фильтрующим элементом. Пройдя через слой пряжи, очищенное топливо поступает внутрь каркасной трубки, поднимается вверх и по каналам крышки проходит через отверстие 4 в отводящий трубопровод. На внешней поверхности фильтрующего элемента и на днище корпуса осаждаются механические примеси. При заполнении системы питания топливом воздух из фильтра удаляется через отверстие, закрываемое пробкой 6.
Фильтр грубой очистки дизеля автомобиля КамАЗ-5320. Фильтр (рис. 3, б) установлен с левой стороны на раме автомобиля и состоит из корпуса 15, крышки 9, распылителя 11, отражателя 12, фильтрующей сетки 13 и успокоителя 14.
В крышке есть пробка для удаления воздуха из фильтра и два отверстия, в которые ввертывают штуцера для подвода и отвода топлива. Топливо, поступающее к фильтру грубой очистки, подается к распылителю 11 и стекает по отражателю 12 в корпус 15. Крупные механические примеси, и вода осаждаются на дне корпуса, а топливо, которое прошло фильтрующую сетку 13, поступает по центральному отверстию в топливопровод и к топливоподкачивающему насосу.
Фильтр тонкой очистки топлива дизеля ЯМЗ-236. Сменный фильтрующий элемент 4 фильтра (рис. 4, а) надет на стержень 6, приваренный к корпусу 5. Корпус фильтра закрыт крышкой 7, удерживаемой болтом 10, ввернутым в стержень. Фильтрующий элемент представляет собой перфорированный металлический каркас, обмотанный ситцевой лентой. На этом каркасе сформирована фильтрующая масса из древесной муки, пропитанной пульвербакелитом. Чтобы топливо не могло миновать фильтрующий элемент, он пружиной 2 прижат к крышке, имеющей отверстия для подвода топлива и его отвода. Топливо, подаваемое топливоподкачивающим насосом, заполняет

Рис. 4. Топливные фильтры тонкой очистки:
а — дизеля ЯМЗ-236; б — дизеля автомобиля КамАЗ-5320: 1 и 20 - сливные пробки; 2 и 19 — пружины фильтрующих элементов; 3, 11, 15 и 16 — прокладки; 4 и 17 — фильтрующие элементы; 5 и 18 — корпуса; 6 и 21 — стержни; 7 и 12 — крышки; 8, 13 и 14 — пробки; 9 - штуцер с калиброванным отверстием; 10 — болт
все пространство между корпусом и фильтрующим элементом, просачивается через пористую фильтрующую массу, поднимается вдоль стержня и проходит к отводящему штуцеру крышки, а затем подводится к насосу высокого давления. В крышку ввернут штуцер 9 с калиброванным отверстием, через которое сливается в бак топливо и выходит воздух, попавший в него. Фильтр тонкой очистки топлива дизеля автомобиля КамАЗ-5320. Фильтр (рис. 4, б) установлен в верхней части системы питания (на правой задней стороне двигателя). В нем собирается воздух, проникший в систему питания и удаляемый в бак вместе с частью топлива, подаваемого насосом. Фильтр тонкой очистки состоит из крышки 12, двух корпусов 18 с приваренными к ним стержнями 21, фильтрующих элементов 17, поджатых к крышке пружинами 19. В стержни ввернуты сливные пробки 20. Корпуса соединены с крышкой пробками 13, навернутыми на стержни 21. Фильтрующие элементы, изготовленные из специальной бумаги, работают параллельно. В крышке фильтра имеется сливной клапан, открывающийся при избыточном давлении 130— 170 кН/м2 (1,3—1,7 кгс/см2 ).
С течение времени фильтрующие элементы засоряются и их гидравлическое сопротивление возрастает. Поэтому фильтрующие элементы необходимо периодически заменять, а сетку 13 (см. рис. 3, б) очищать и промывать. Топливоподкачивающий насос. Для подачи топлива из топливного бака через фильтры к насосам-форсункам и форсункам применяют подкачивающие насосы шестеренного (двигатель ЯАЗ-М206) или поршневого (дизель ЯМЗ-236 и дизель автомобиля КамАЗ-5320) типа. Насос (рис. 5), расположенный между фильтрами грубой и тонкой очистки топлива, состоит из следующих деталей: корпуса 21; поршня 20 с пружиной 22, удерживаемой пробкой 23; толкателя 4 с осью 5 и роликом 6; пружины 3 толкателя; штока 2; впускного 19 и выпускного 7 клапанов с пружинами соответственно 18 и 8. В корпус насоса ввернут цилиндр 12 насоса ручной подачи топлива, размещенный над впускным клапаном. Внутри цилиндра находится поршень 13 и шток 14. Втулка 1 штока 2 ввернута в корпус насоса. Эти детали, изготовленные с очень большой точностью, составляют прецизионную пару, раскомплектовка которой недопустима.
Топливоподкачивающий насос имеет два привода: ручной и механический. Ручным приводом пользуются для заполнения топливом фильтров, топливопроводов и удаления из системы питания воздуха. Если возникают трудности с пуском дизеля (например, в систему попал воздух), то необходимо также воспользоваться ручным приводом. При перемещении поршня 13 рукояткой 15 вверх в цилиндре 12 создается разрежение, открывается впускной клапан 19 и топливо поступает внутрь цилиндра. При перемещении поршня 13 вниз он давит на топливо, впускной клапан закрывается, а выпускной клапан 7 открывается и топливо подается к фильтру тонкой очистки. После прокачки системы ручным насосом поршень 13 опускают вниз и навертывают рукоятку 15 на резьбовой хвостовик цилиндра; поршень плотно прижимается к прокладке 16.
При работе дизеля действует механический привод топливоподкачивающего насоса. Вращающийся эксцентрик 24 набегает на ролик 6 толкателя 4, вследствие чего сжимается пружина 5 и перемещается шток 2 (рис. 5, б) с поршнем 20, сжимая пружину 22. Под действием давления топлива в полости А над поршнем впускной клапан 19 прижимается к седлу, а выпускной клапан 7 открывается; топливо перетекает по перепускному каналу 26 в полость Б под поршень 20.

Рис. 5. Топливоподкачивающий насос поршневого типа:
а — конструкция; б — схема перепуска топлива в полость Б; в — схема поступления топлива в насос и подачи его к фильтру тонкой очистки; А — полость над поршнем; Б — полость под поршнем; 1 — втулка; 2 — шток толкателя; 3, 8, 18, 22 — пружины; 4 — толкатель; 5 — ось ролика; 6 — ролик; 7 — выпускной клапан; 9 и 16 — прокладки; 10 я 23 — пробки; 11 — корпус цилиндра; 12 — цилиндр; 13 — поршень; 14 — шток поршня; 15 — рукоятка; 17 — втулка цилиндра ручного насоса; 19 — впускной клапан; 20 — поршень; 21 - корпус насоса; 24 — эксцентрик; 25 и 26 — каналы
Когда эксцентрик сходит с ролика толкателя, пружина 3 возвращает толкатель в исходное положение. Одновременно пружина 22, разжимаясь, перемещает поршень 20 в обратную сторону. Над поршнем в полости А создается разрежение, а под поршнем в полости Б повышенное давление. Выпускной клапан 7 садится на седло, и топливо из полости Б по каналам насоса и трубопроводу поступает к фильтру тонкой очистки (рис. 5, в). Вследствие наличия разрежения над поршнем открывается впускной клапан 19, и топливо заполняет полость А. При следующем набегании эксцентрика на ролик толкателя рассмотренные процессы повторяются.
Топливоподкачивающий насос подает топлива больше, чем необходимо для работы двигателя. Если ход поршня насоса будет все время постоянным, то давление в топливопроводе сильно возрастает. При уменьшении расхода топлива двигателем давление в полости Б повышается и сжатая пружина не сможет преодолеть противодавления топлива. Вследствие этого ход поршня уменьшается и соответственно снижается подача топлива насосом. Толкатель 4 при этом свободно перемещается в обе стороны. По мере увеличения расхода топлива двигателем давление в полости Б уменьшается, ход поршня увеличивается и подача топлива насосом возрастает.

Рис. 6. Топливный насос высокого давления дизеля ЯМЗ-236:
1 — автоматическая муфта опережения впрыска топлива; 2 — гайка; 3 — шпонка; 4 —втулка; 5 — бинт-ограничитель; в — рейка; 7 — перепускной клапан; 8 — корпус насоса; 9 — гильза плунжера; 10 — плунжер; 11 — ниппель; 12 и 29 — пробки; 13 — сапун; 14 — корпус регулятора; 15 — кулачковый вал; 16 — самоподжимной сальник; 17 — конический роликоподшипник; 18 — топливоподкачивающий насос; 19 — кулачок; 20 — регулировочные прокладки; 21 — крышка подшипника; 22 — указатель уровня масла; 23 — крышка; 24 — винт крепления крышки; 25 — верхняя тарелка пружины; 26 — зубчатый венец; 27, 37 и 45 — винты; 28 — канал отвода топлива; 30 — штуцер; 31 — упор клапана; 32 — колпачковая гайка; S3 — пружина нагнетательного клапана; 34 — нагнетательный клапан; 35 — седло нагнетательного клапана; 36 — канал подвода топлива; 38 — поворотная втулка; 39 — пружина; 40 — нижняя опорная тарелка пружины; 41 — регулировочный болт; 42 — контргайка; 43 - толкатель; 44 — ролик толкателя; 46 - промежуточная опора кулачкового вала
В системе питания дизеля автомобиля КамАЗ-5320 имеются два топливоподкачивающих насоса подобного типа, лишь незначительно конструктивно отличающиеся (см. рис. 1, б).
Топливный насос высокого давления. Насос подает через форсунки в камеру сгорания необходимые порции топлива в строго определенные моменты. По принципу действия топливные насосы, применяемые на дизелях, относятся к золотниковому типу с постоянным ходом плунжера и регулировкой конца подачи топлива. Число секций топливного насоса соответствует числу цилиндров двигателя. Каждая секция обслуживает один цилиндр. Топливный насос дизеля ЯМЗ-236 имеет шесть насосных секций, а топливный насос дизеля автомобиля КамАЗ-5320 — восемь секций, объединенных в общем корпусе.
Топливные насосы высокого давления дизелей ЯМЗ-236 и дизеля автомобиля КамАЗ-5320 расположены между рядами цилиндров и приводятся в действие от шестерен распределительного вала. На одном конце вала привода топливного насоса установлена шестерня, а другой конец вала соединен с центробежной муфтой опережения впрыска топлива. За два оборота коленчатого вала кулачковый вал насоса делает один оборот, и топливо подается во все цилиндры.
На корпусе 8 (рис. 6) топливного насоса высокого давления дизеля ЯМЗ-236 укреплен топливоподкачивающий насос 18. Автоматическая муфта 1 опережения впрыска топлива и регулятор частоты вращения коленчатого вала объединены с насосом в один агрегат. Кулачковый вал 15 насоса вращается на роликовых конических подшипниках 17, выходные концы вала уплотнены самоподжимными сальниками 16. Горизонтальная перегородка делит корпус на две части: верхнюю и нижнюю. В нижней части расположены кулачковый вал 15 и толкатели 43, а в верхней — плунжерные пары. В горизонтальной перегородке есть шесть отверстий и пазы для установки и направления движения толкателей. Кулачковый вал приводит в движение плунжеры 10 через ролики 44 толкателей 43. В нижнюю часть корпуса насоса наливают масло через отверстие, закрытое сапуном 13, уровень которого контролируют указателем 22.
Плунжер 10 и гильза 9 являются основными деталями отдельной секции насоса. Соединенные вместе, они образуют плунжерную пару. Плунжер имеет диаметр 9 мм и ход 10 мм. Для создания высокого давления зазор между плунжером и гильзой не должен превышать 0,0015— 0,0020 мм. Положение гильзы в насосе фиксировано стопорным винтом 27. В верхней части гильзы 4 (рис. 92) имеется впускное 1 и перепускное 13 отверстие. Плунжер может перемещаться внутри гильзы в вертикальном направлении и повертываться при помощи двух направляющих выступов, входящих в пазы поворотной втулки 33 (см. рис. 6). Последняя в свою очередь повертывается закрепленным на ней зубчатым венцом 26, находящимся в зацеплении с рейкой 6. В продольный паз рейки входит стопорный винт 37, определяющий ее положение.

Рис 7. Плунжерные пары!
а — плунжер с продольной и отсечной кромками; б — плунжер с двумя спиральными канавками; в — работа плунжерной пары; І и IV — впуск топлива; II я V — начало подачи; ІІІ и VI — конец подачи; VII — максимальная подача; VIII — средняя подача; IX — отсутствие подачи; І — впускное отверстие; 2 — надплунжерное пространство; 3 — плунжер; 4 — гильза плунжера; 5 — нагнетательный клапан; 6 — штуцер; 7 — седло нагнетательного клапана; 8 — разгрузочный поясок клапана; 9 — прокладка; 10 — продольный паз плунжера; 11 — отсечная кромка плунжера; 12 — кольцевая проточка; 13 — перепускное отверстие; 14 — осевое отверстие в плунжере; 15 — диаметральное отверстие в плунжере; 16 — спиральные канавки на плунжере
Головка плунжера может иметь кольцевую проточку 12 (см. рис. 7, а), два симметрично расположенных продольных паза 10 и две отсечных кромки П. У других насосов на головке плунжера профрезерованы две спиральные канавки 16 (см. рис. 7, б). При наличии спиральных канавок или двух отсечных кромок давление топлива с обеих сторон плунжера одинаковое (во время подачи топлива), и долговечность насосных секций увеличивается. На нижнем конце плунжера сделана кольцевая проточка для опорной тарелки 40 (см. рис. 6) пружины 39. Другой конец пружины упирается в верхнюю тарелку 25, установленную в кольцевой выточке корпуса. В верхней части каждой секции насоса помещен штуцер 30 с седлом 35 нагнетательного клапана 34, пружиной 33 и упором 31 клапана. От штуцера 30 через ниппель 11 топливо поступает в топливопровод, ведущий к форсунке. Плунжер, гильза, нагнетательный клапан и его седло с высокой точностью изготовлены из высококачественной стали, т.е. являются прецезионными парами, и раскомплектовывать их нельзя. Для выпуска воздуха из насоса служит отверстие, закрываемое пробкой 29.
Работа насоса высокого давления. Все секции топливного насоса высокого давления работают одинаково, поэтому рассмотрим работу только одной из них. При вращении кулачкового вала 15 насоса кулачок набегает на ролик 44 толкателя, который, поднимаясь, сжимает пружину 39 и перемещает плунжер 10 вверх в гильзе 9. Во время дальнейшего поворота вала кулачок выходит изпод ролика толкателя, и пружина опускает плунжер вниз. При движении плунжера вверх секция подает топливо; при движении плунжера вниз происходит ход всасывания. Перемещение рейки 6 вызывает повертывание плунжера на некоторый угол. Таким образом, плунжер совершает сложное движение — возвратно-поступательное и вращательное одновременно.
Топливо поступает из фильтра тонкой очистки в канал 36 насоса высокого давления и при нижнем положении плунжера через впускное отверстие 1 (см. рис. 7, а, схема І) подается внутрь гильзы 4, заполняет надплунжерное пространство 2 и кольцевую проточку 12 по продольному пазу 10 и отсечной кромке 11. При подъеме плунжера 3 (схема ІІ) топливо вначале вытесняется из надплунжерного пространства через впускное отверстие обратно в топливоподводящий канал. Затем, когда это отверстие перекроет плунжер, топливо сжимается в надплунжерном пространстве. При достижении давления 1000—1800 кН/м2 (10—18 кгс/см2 ) нагнетательный клапан 5 поднимается вверх, сжимает пружину и пропускает топливо из надплунжерного пространства в штуцер 6, откуда оно поступает к форсунке. Дальнейшее движение плунжера вверх сопровождается повышением давления до 16 500+50 ° кН/м2 (165+5 кгс/см2 ), при котором игла форсунки, приподнимаясь, открывает проход топливу, впрыскиваемому в камеру сгорания.
Впрыск топлива из форсунки в камеру сгорания продолжается до тех пор, пока отсечная кромке // движущегося вверх плунжера не начнет открывать перепускное отверстие 13 (схема ///), соединяющее надплунжерное пространство с топливоотводящим каналом. Давление в надплунжерном пространстве резко снижается, топливо перетекает в указанный канал, и нагнетательный клапан под действием пружины садится в седло 7.
Для устранения подтекания топлива в камеру сгорания между распылителем и иглой форсунки необходима быстрая посадка иглы в седло, т.е. четкая отсечка подачи топлива. Это обеспечивается нагнетательным клапаном, имеющим разгрузочный поясок 8, который при посадке клапана на седло способствует увеличению объема пространства за ним, что приводит к резкому снижению давления в трубке между клапаном и форсункой. Поясок клапана и седло (при опускании клапана) работают как поршневая пара.
Топливный насос, имеющий плунжеры с двумя спиральными канавками (рис. 92, б), работает с некоторым отличием. Подача топлива плунжером к форсунке продолжается до тех пор, пока верхняя кромка левой спиральной канавки 16 не начнет открывать перепускное отверстие 13 (схема V/). Топливо из надплунжериого пространства по осевому 14 и диаметральному 15 отверстиям и спиральной канавке 16 перетекает через отверстие 13 в топливоотводящий канал. Работа нагнетательного клапана не изменяется. Режим работы дизеля зависит от изменения количества топлива, подаваемого в цилиндры секциями насоса за один ход плунжера, что происходит при повороте плунжеров в гильзах на некоторый угол.
Если смотреть на плунжер сверху, то поворот его против часовой стрелки сопровождается увеличением количества подаваемого топлива. При движении рейки внутрь насоса плунжеры всех секций одновременно повертываются в положение, соответствующее максимальной подаче (схема VII). В этом случае расстояние А от отсечной кромки плунжера 3 до перепускного отверстия 13 будет наибольшим. При повороте плунжера по часовой стрелке подача топлива снижается (схема VIII), так как перепускное отверстие открывается раньше. Подача топлива плунжерной парой прекращается, если продольный паз 10 на головке плунжера находится в одной плоскости с перепускным отверстием 13 (схема IX).
При повороте плунжера 3 (см. рис. 7, б) также изменяется количество подаваемого топлива. При совмещении диаметрального отверстия 15 плунжера с перепускным 13 прекращается подача топлива. Таким образом, при повороте плунжера изменяется момент окончания подачи и количество подаваемого топлива, а момент начала подачи топлива насосом остается неизменным. Момент начала подачи топлива регулируют болтом 41 (см. рис. 6), ввернутым в толкатель 43. Если болт вывертывать, то при повороте кулачкового вала толкатель раньше будет поднимать плунжер и топливо будет раньше поступать к форсунке, т. е. угол начала подачи топлива насосной секцией увеличится. При ввертывании болта в толкатель этот угол уменьшается. Такую регулировку насоса выполняют на специальном стенде, где можно отрегулировать и равномерность подачи топлива отдельными секциями, для чего необходимо ослабить крепление зубчатого венца 26 (см. рис. 6) на втулке 38, чтобы можно было повертывать плунжер 10 (вместе со втулкой при неподвижной рейке 6) в ту или иную сторону.
Если повертывать кулачковый вал, то можно изменять угол опережения подачи топлива для всего насоса. При повороте кулачкового вала в сторону вращения угол опережения подачи топлива увеличивается, а при повороте этого вала против хода вращения указанный угол уменьшается. В процессе работы двигателя кулачковый вал повертывается автоматически — центробежной муфтой опережения впрыска топлива. Насос начинает подавать топливо в цилиндр еще тогда, когда кривошип коленчатого вала не доходит на некоторый угол до в. м. т. Этот угол называют углом начала подачи топлива или углом опережения подачи топлива насосом. Форсунка позднее насоса начинает подавать топливо в цилиндр двигателя из-за некоторого расширения топливопроводов, незначительной сжимаемости топлива и небольших его утечек в насосе и форсунке.
Топливный насос высокого давления дизеля автомобиля КамАЗ-5320. Этот насос также золотникового типа, он он V-образный и несколько иной конструкции. При использовании на многоцилиндровых двигателях рядных насосов выявляется их недостаток — увеличение длины. Применение на двигателях V-образных насосов позволяет уменьшить длину кулачкового вала, повысить его жесткость и увеличить давление впрыска топлива до 70 000 кН/м2 (700 кгс/см2 ).
Угол развала секций насоса (рис. 93) составляет 75°. В корпусе 1 насоса на роликоподшипниках 28 установлен кулачковый вал 29, уплотняемый самоподжимным сальником 26. На переднем конце (со стороны привода) кулачкового вала на шпонке 25 укреплена муфта 23 регулировки опережения впрыска топлива, удерживаемая от смещения гайкой 24, а на заднем конце — ведущая шестерня 2. На шпонке 5 установлены фланец 4 ведущей шестерни и эксцентрик 6 привода топливоподкачивающего насоса; гайка 7 удерживает эти детали от смещения. Движение от фланца к ведущей шестерне передается через резиновые сухари 3, промежуточную шестерню 8, укрепленную на пальце 9 к шестерне 11 привода всережимного регулятора. Задний торец насоса закрыт крышкой 10 регулятора, на которой расположен топливоподкачивающий насос. На переднем торце корпуса насоса установлен перепускной клапан 20. Сверху насос закрыт крышкой 18, на которой находится рычаг управления регулятором. В насосе имеются две рейки — левая и правая 22, соединенные общим рычагом 40. По числу цилиндров двигателя в корпусе насоса расположено восемь секций, установленных в отдельных корпусах 36. В насосную секцию (рис. 9) входят следующие детали и узлы: роликовый толкатель 4, пята 5, тарелка 6, пружины 7, опорная втулка 9, поворотная втулка 23, плунжер 10, гильза 13, нагнетательный клапан 14 с седлом и шайбой 18, штуцер 15, ввернутый в корпус 17 секции, установленной в корпусе 2 насоса. Уплотнение между корпусом насосной секции и корпусом насоса высокого давления осуществлено кольцами 16 и 21, сделанными из бензомаслостойкой резины. Гильза 13 плунжера, фиксированная в корпусе насосной секции штифтом 11, имеет два отверстия: впускное 12 и перепускное 20. Плунжер в верхней части имеет осевое и диаметральное отверстия и две спиральные канавки 19. Насосная секция работает так же, как и насосная секция топливного насоса высокого давления дизеля ЯМЗ-236, с той лишь разницей, что давление впрыска топлива увеличено до 18 000+500 кН/м2 (180+5 кгс/см2 ). Форсунка. Насос подает топливо в камеру сгорания через форсунки, которые обеспечивают поступление топлива в камеру сгорания при определенном давлении и в мелкораспыленном виде. На дизелях применяют форсунки нескольких типов: открытые или закрытые, с распылителем, имеющим одно отверстие (сопло) или несколько. Закрытые форсунки могут быть штифтовые или бесштифтовые. На дизеле ЯМЗ-236 и дизеле автомобиля КамАЗ-5320 применяют закрытые бесштифтовые форсунки (рис. 95). Форсунку называют закрытой, так как сопла в распылителе 4 закрыты иглой 1 и только в момент впрыска топлива сообщаются с камерой сгорания. Для выхода топлива распылитель имеет четыре сопла диаметром 0,34 мм.

Рис. 8. Насос высокого давления дизеля автомобиля КамАЗ-5320:
а — продольный разрез; б — поперечный разрез; 1 — корпус; 2 — ведущая шестерня; 3 — сухарь; 4 — фланец ведущей шестерни; 5 и 25 — шпонки; 6 — эксцентрик привода топливоподкачивающего насоса; 7 и 24 — гайки; 3 — промежуточная шестерня; 9 — палец; 10 — крышка регулятора; 11 — шестерня регулятора' 12 — державка грузов; 13 — ось грузов; 14 — груз; 15 — упорный шарикоподшипник; 16— муфта; 17 — палец; 18 — верхняя крышка; 19 — рычаг пружины; 20 -L перепускной клапан; 21 — втулка рейки; 22 — рейка; 23 — муфта регулировки опережения впрыска топлива; 25 — самоподжимной сальник; 27 — крышка подшипника; 28 — роликоподшипник; 29 — кулачковый вал; 30 — ролик толкателя; 31.— упорная втулка; 32 — пита толкателя; 31 — пружина; 34 — плунжер; 35 — впускное отверстие; 36 — корпус секции; 37 — нагнетательные клапан; 33 — штуцер; 39 — гильза (втулка) плунжера; 40 — рычаг реек

Рис. 9. Насосная секция:
1 - кулачок распределительного вала; 2 — корпус насоса; 3 — ролик толкателя; 4 — толкатель; 5 — пята толкателя; 6 — тарелка пружины; 7 — пружина; 8 — опорная шайба; 9 — опорная втулка; 10 — плунжер; 11 — штифт; 12 — впускное отверстие; 13 — гильза плунжера; 14 — нагнетательный клапан; 15 — штуцер; 16 и 21 — уплотнительные кольца насосной секции; 17 — корпус насосной секции; 18 — шайба; 19 — спиральная канавка плунжера; 20 — перепускное отверстие; 22 — рейка; 23 — поворотная втулка плунжера
Форсунку на дизеле устанавливают в латунный стакан 24 головки 25 блока. Под торец накидной гайки 5 крепления распылителя установлена медная шайба 2, предотвращающая прорыв газов. Каждая форсунка укреплена скобой, имеющей лапки, которые опираются на буртик колпака 15. В месте соединения штуцера 20 форсунки с головкой блока и колпаком головки установлен резиновый уплотнитель 19. Накидная гайка 5 прижимает тщательно притертые поверхности торцов распылителя и корпуса 8 форсунки, обеспечивая необходимую герметичность соединения. Внутри корпуса форсунки проходит штанга 9, на верхнем конце которой закреплена тарелка 10. Пружина 11, упираясь одним концом в винт 12, а другим в тарелку 10, через штангу 9 прижимает иглу 1 к распылителю. В штангу с нижней стороны запрессован шарик 7 для плотной посадки иглы на седло. Винт 12 ввернут в стакан 13 пружины, закреплен от самоотвертывания контргайкой 14 и закрыт колпаком 15. В корпус 8 форсунки запрессовано два штифта 6 для правильной установки распылителя.
Топливо подводится к форсунке через штуцер 20 с сетчатым фильтром 18 и поступает по наклонному каналу 21 в кольцевую проточку 22 распылителя. Затем топливо по трем каналам 23 проходит в кольцевую полость 3, расположенную под утолщенной частью иглы. Топливо, поступающее в полость 3, находится под давлением, создаваемым насосом, и в свою очередь давит на нижний конус иглы. Сопла распылителя открываются тогда, когда давление топлива в полости 3 и на нижнем конце иглы превысит сопротивление пружины 11. В этот момент топливо впрыскивается в камеру сгорания. После впрыска топлива давление в полости 3 снижается и под действием пружины игла плотно садится на седло в распылителе.
Затяжку пружины 11 можно изменять регулировочным винтом 12 при Ослабленной контргайке 14. Более сильная затяжка пружины приводит к повышению давления и запаздыванию впрыска, а менее сильная — к уменьшению давления и опережению впрыска. Топливо, которое просочилось между иглой и распылителем, отводится в полость пружины, затем через отверстие в стакане 13 поступает в сливную трубку, соединенную с отверстием колпака 15 форсунки. Форсунка дизеля автомобиля КамАЗ-5320 устроена и работает аналогично рассмотренной.
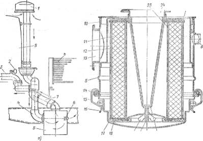
Система подачи и очистки воздуха дизеля автомобиля КамАЗ-5320. На этом дизеле применен воздухоочиститель (рис. 11, а и б) без масла, двухступенчатый, с инерционной решеткой, автоматическим отсосом пыли и сменным фильтрующим элементом. Колпак 1 для забора воздуха установлен сзади кабины 9, а воздухоочиститель 5 укреплен к левому лонжерону рамы. Воздухоочиститель состоит из корпуса 10, фильтрующего элемента 11, крышки 17, соединенной с корпусом защелками 15. Фильтрующий элемент имеет два защитных кожуха (наружный 12 и внутренний 23), между которыми размещен гофрированный картон. Сверху и снизу фильтрующий элемент плотно закрыт двумя основаниями 18 и 22, выполненными из листовой стали и залитыми клеем, плотно соединяющим кожухи и фильтрующий картон.
При работе двигателя воздух через сетку в колпаке 1 проходит по трубам в воздухоочиститель 5. По входному патрубку 13 воздух попадает в первую ступень очистки с инерционной решеткой и резко изменяет направление. Крупные механические частицы отделяются от воздуха и под влиянием разрежения, которое передается через патрубок 6, отсасываются отработавшими газами в атмосферу. Для этой цели в выхлопной трубе двигателя установлен эжектор, соединенный трубопроводом с патрубком 6. Далее воздух проходит через микропоры картона (вторая ступень) и уже очищенный по трубе 7 поступает во впускной трубопровод 3 двигателя. Ориентировочный срок службы фильтрующего элемента около 1000 ч. Для оценки состояния фильтрующего элемента на левом впускном трубопроводе установлен индикатор 2. При засорении фильтрующего картона во впускном трубопроводе возрастает разрежение (более 700 мм вод. ст.), индикатор срабатывает и его красный флажок фиксируется напротив окна, указывая на необходимость замены или промывки фильтрующего элемента.
Система выпуска отработавших газов дизеля автомобиля КамАЗ-5320. Отработавшие газы по выпускным 2 (рис. 12) трубопроводам поступают в приемные трубы 3 и 4, которые соединены в тройнике 7. К глушителю 9 газы подходят по гибкому металлическому рукаву 8. В корпусе 14 глушителя есть три камеры 17, где газы расширяются, их давление и скорость уменьшаются, и по патрубку 15 газы выходят в атмосферу.

Рис. 10. Форсунки:
а — дизеля ЯМЗ-236; б — дизеля автомобиля КамАЗ-5320; 1 и 26 - иглы распылителей; 2 — медная шайба; 3 и 27 — кольцевые полости; 4 и 28 — распылители; 5 и 29 — накидные гайки; 31 и 6 — штифты; 7 — шарик; 8 и 33 — корпуса; 9 и 32 — штанги; 10 — тарелка пружины; 11 и 40 — пружины; 12 — регулировочный винт; 13 — стакан пружины; 14 — контргайка; 15 — колпак; 16 — прокладка; 17 и 37 — втулки; 18 и 36 — сетчатые фильтры; 19 — уплотнитель штуцера; 20 и 35 — штуцера; 21 и 23 — каналы; 22 — кольцевая проточка на распылителе; 24 — латунный стакан; 25 — головка блока; 30 — проставка; 34 - уплотнительное кольцо; 38 — регулировочные шайбы; 39 - опорная шайба

Рис. 11. Система подачи и очистки воздуха дизеля автомобиля КамАЗ-5320:
С — система подачи воздуха; 6 — воздухоочиститель; 1 — колпак; 2 — индикатор; 3 — впускной трубопровод; 4 и 7 — трубы; 5 — воздухоочиститель; 6 — патрубок отсоса пыли; 8 — борт кузова; 9 — кабина; 10 — корпус воздухоочистителя; 11 - фильтрующий элемент; 12 и 23 — наружный и внутренний кожухи; 13 — входной патрубок; 14,— уплотнительное кольцо; 15 — защелка крепления крышки; 16 — рычаг; 17 — крышка; 18 и 22 — основания фильтрующего элемента; 19 — гайка-барашек; 20 - шпилька; 21 - кронштейн; 24 — выходной патрубок
Автоматическая муфта опережения впрыска топлива. Автоматическая муфта (рис. 13) изменяет угол опережения впрыска топлива в зависимости от частота вращения коленчатого вала. При использовании автоматической муфты повышается экономичность дизеля при различных режимах работы, и улучшаются условия его пуска. Муфта установлена на переднем конце кулачкового вала топливного насоса высокого давления (дизель ЯМЗ-236 и дизель автомобиля КамАЗ-5320).
Муфта опережения впрыска топлива (дизель ЯМЗ-236) состоит из следующих деталей: ведущей полумуфты 5 с пальцами 14 и шипами 11; ведомой полумуфты 1 с осями 2 грузов 15; корпуса 13; двух пружин 4 с шайбами.

Рис. 12. Система выпуска отработавших газов дизеля автомобиля КамАЗ-5320:
1 — двигатель; 2 — выпускной трубопровод; 3 и 4 — левая и правая приемные трубы; 5 — пневматические цилиндры тормоза; 6 — моторные тормоза; 7 — тройник; 8 — гибкий металлический рукав; 9 — глушитель; 10 — рама; 11 — перфорированная труба; 12 — фланец приемного патрубка; 13 и 16 - передняя и задняя стенки корпуса глушителя; 14 — корпус глушителя; 15 — выпускной патрубок; 17 — расширительная или резонаторная камера

Рис. 13. Автоматическая муфта опережения впрыска топлива:
а — детали муфты; б — муфта в сборе; 1 — ведомая полумуфта; 2 — ось груза; 3 — уплотнительное кольцо; 4 — пружина; 5 — ведущая полумуфта; 6 — винт; 7 — втулка ведущей полумуфты; 8 и 12 — самоподжимные сальники; 9 — гайка крепления муфты; 10 — ступица ведомой полумуфты; 11 — шип; 13 — корпус; 14 — палац ведущей полумуфты; 15 — груз; 16 — пружинная шайба; 17 — шпонка; 18 - кулачковый вал топливного насоса; 19 - проставка; 20 - криволинейная поверхность груза
Ведущая полумуфта надета на ступицу 10 ведомой полумуфты и может на ней повертываться. В ведущую полумуфту запрессованы втулка 7 и самоподжимной сальник 8. При сборке муфты корпус 13 навертывают на ведомую полумуфту. Для уплотнения соединения ведущей полумуфты с корпусом в него запрессован самоподжимной сальник 12. Два груза, шарнирно установленные на осях 2, имеют криволинейную поверхность 20, на которую через проставки 19 опираются пальцы 14 ведущей полумуфты. Движение от ведущей полумуфты на ведомую передается Через два груза. Ведомая полумуфта, укрепленная на кулачковом валу топливного насоса при помощи шпонки 17, удерживается от смещения гайкой 9, навернутой на конец вала 18. Во время работы дизеля ведущая полумуфта пальцами 14 через проставки 19 нажимает на криволинейную поверхность 20 грузов 15. Вследствие этого сила через оси 2 передается ведомой полумуфте 1, а от нее кулачковому валу насоса. При увеличении частоты вращения коленчатого вала грузы, преодолевая сопротивление пружин, расходятся под действием возникающих центробежных сил. При расхождении грузы повертываются вокруг осей ведомой полумуфты и проставки скользят по криволинейной поверхности грузов. В этом случае расстояние между осями грузов и пальцами ведущей полумуфты уменьшается, пружины сжимаются и ведомая полумуфта повертывается по ходу вращения вместе с кулачковым валом. В результате этого топливо раньше поступает в цилиндры двигателя, т. е. увеличивается угол опережения впрыска топлива.
При уменьшении частоты вращения коленчатого вала грузы сходятся, пружины разжимаются и повертывают ведомую полумуфту в противоположную сторону (против вращения кулачкового вала), что вызывает уменьшение угла опережения впрыска топлива.
Автоматическая муфта увеличивает угол опережения впрыска топлива на 10—14° по сравнению с углом поворота коленчатого вала и на 5—7° по сравнению с углом поворота кулачкового вала насоса. На дизеле автомобиля КамАЗ-5320 топливный насос высокого давления имеет такую же муфту опережения впрыска топлива, но с некоторыми изменениями в конструкции. Обе муфты работают одинаково.
Регулятор частоты вращения коленчатого вала. Этот регулятор изменяет подачу топлива в зависимости от нагрузки двигателя, поддерживая заданную водителем частоту вращения коленчатого вала. Регулятор называется всережимным, так как может автоматически поддерживать любую заданную водителем частоту вращения коленчатого вала и ограничивать максимальную. Ограничение максимальной частоты вращения коленчатого вала вызвано необходимостью предохранить детали дизеля от быстрого износа и чрезмерных нагрузок, а ограничение слишком малой частоты вращения — ухудшением подачи топлива и смесеобразования. Карбюраторные двигатели редко работают при режиме максимальных нагрузок, поэтому применять на них всережимные регуляторы не имеет смысла.
Устройство всережимного регулятора следующее. Привод вала 4 (рис. 14) регулятора осуществлен от кулачкового вала 2 топливного насоса через ускорительную шестеренную (шестерни 1 и 3) передачу, поэтому вал регулятора вращается с большей частотой вращения, чем вал топливного насоса. Это позволяет уменьшить массу грузов и повысить чувствительность регулятора к изменению нагрузки. Вращение от вала топливного насоса к ведущей шестерне 1 регулятора передается не непосредственно, а через втулку, посаженную на валу на шпонке, и резиновые сухари 36. Последние, являясь упругими элементами, гасят колебания, возникающие при неравномерном вращении кулачкового вала топливного насоса.
Ведомая шестерня 3 изготовлена как одно целое с валом регулятора. Вал вместе с напрессованной на него державкой 7 грузов 35 вращается в шарикоподшипниках, установленных в стакане 5. Ролики грузов упираются в подвижную муфту 34, которая во время работы регулятора может перемещаться

Рис. 14. Всережимный регулятор дизеля ЯМЗ-236:
а — устройство; б — схема работы; І — скоба кулисы в положении «Работа»; ІІ — скоба кулисы в положении «Стоп»; 1 и 3 — шестерни; 2 — кулачковый вал топливного насоса; 4 — вал регулятора; 5 — стакан; 6 — ось грузов; 7 — державка; 8 — вал рычагов; 9 — рычаг пружины; 10 — рейка топливного насоса; 11 — тяга; 12 — стартовая пружина рычага репки; 13 — болт ограничителя максимальной частоты вращения; 14 — рычаг управления регулятором; 15 — болт ограничителя минимальной частоты вращения холостого хода; 16 — крышка смотрового люка; 17 — ось двуплечего рычага; 18 — двуплечий рычаг; 19 — пружина регулятора; 20, 22 и 29 — регулировочные винты; 21 — регулировочный болт; 23 — упорная пружина; 24 — серьга; 25 — корректор; 26 — силовой рычаг; 27 — рычаг рейки; 28 — скоба; 30 — палец; 31 — кулиса; 32 — пята; 33 — пробка отверстия для слива масла из регулятора; 34 - подвижная муфта; 35 - грузы; 36 - резиновые сухари
по державке. Передний хвостовик пяты 32 запрессован во внутреннее кольцо шарикоподшипника, расположенного в подвижной муфте. Пята и серьга 24 сидят на одной оси, на которой установлен и рычаг 27 управления рейкой топливного насоса. Этот рычаг тягой 11 соединен одним концом с рейкой 10, а другим концом — пальцем 30 — с кулисой 31. Палец 30 входит в вырез кулисы. Скоба 28 управления кулисой может занимать два положения: «Работа» (положение І) и «Стоп» (положение ІІ).
На оси 17 установлены силовой 26 и двуплечий 18 рычаги. Рычаг 18 пружиной 19 соединен с рычагом 9, закрепленным на одном валу 8 вместе с рычагом 14 управления регулятором. Последний в свою очередь связан тягой с педалью, находящейся в кабине водителя. Силовой рычаг 26 соединен с нижними отверстиями серьги 24 отдельным пальцем.
При вращении вала 4 регулятора грузы 35 стремятся разойтись. При этом они роликами нажимают на подвижную муфту 34, которая перемещается в правую сторону (см. схему) и повертывает рычаг 26 относительно оси 17 против часовой стрелки. Пружина 19 препятствует повороту рычага 26, так как она действует на него через рычаг 18 и регулировочный винт 20. Следовательно, пружина 19 препятствует расхождению грузов. Если рычаг 14 управления регулятором повернуть против часовой стрелки, то вместе с ним повернется рычаг 9, растягивая пружину 19. При повороте рычага 14 по часовой стрелке уменьшается натяжение пружины 19. В крайних положениях рычаг 14 соприкасается с болтами 13 и 15 ограничителя соответственно максимальной и минимальной частот вращения. Шестерни и шарикоподшипники регулятора смазываются дизельным маслом, заливаемым в корпус до определенного уровня.
Работа регулятора происходит следующим образом. Когда двигатель не работает, скоба 28, управляющая кулисой 31, находится в положении І. Рычаг 14 соприкасается с болтом 15. В этом случае пружина 19, действуя на рычаги 18, 26 и на упорную пяту 32, смещает подвижную муфту 34 в крайнее левое положение. При этом рычаг 27 повертывается относительно пальца 30 против часовой стрелки и через тягу 11 устанавливает рейку 10 топливного насоса в положение, соответствующее максимальной подаче топлива. Этому способствует и стартовая пружина 12, постоянно стремящаяся передвинуть рейку в положение пуска двигателя.
Когда двигатель пущен, вал 4 с державкой 7 и грузами 35 начинает вращаться. Грузы под действием центробежных сил расходятся и перемещают подвижную муфту 34 и упорную пяту 32 в правую сторону. Рычаги 26 и 18 повертываются против часовой стрелки, преодолевая усилие пружины 19. Одновременно с перемещением упорной пяты рычаг 27 повертывается относительно пальца 30 кулисы 31 по часовой стрелке, что приводит к передвижению рейки 10 тягой 11 в сторону уменьшения подачи топлива. Перемещение рычажной системы продолжается до тех пор, пока центробежные силы грузов не уравновесятся силой пружины 19. При этом рейка топливного насоса займет определенное положение.
Необходимую частоту вращения коленчатого вала устанавливает водитель, нажимая на педаль управления подачей топлива. В этом случае рычаги 14 и 9 повертываются против часовой стрелки, вследствие чего возрастает натяжение пружины 19, действующей на рычаг 26, упорную пяту 32 и рычаг 27. Последний повертывается относительно пальца 30 кулисы 31 против часовой стрелки. Рейка топливного насоса перемещается в сторону увеличения подачи топлива, и частота вращения коленчатого вала повышается до тех пор, пока центробежные силы грузов не уравновесятся силой пружины 19. Установившаяся частота вращения коленчатого вала автоматически поддерживается регулятором следующим образом. При уменьшении нагрузки на двигатель частота вращения коленчатого вала возрастает, так как в цилиндры поступает то же количество топлива. Грузы регулятора расходятся на больший угол, перемещают рычажную систему в сторону, соответствующую уменьшению подачи топлива, и восстанавливают нарушенный режим частоты вращения с точностью до ±30 об/мин.
При увеличении нагрузки на двигатель (и неизменной подаче топлива насосом) частота вращения коленчатого вала снижается. Центробежные силы грузов уменьшаются, грузы сходятся, рычажная система под действием пружины 19 перемещает рейку 10 топливного насоса в сторону увеличения подачи топлива до восстановления нарушенного равновесия (режима). Двигатель останавливают прекращением подачи топлива в цилиндры, для чего скобу 28 управления кулисой 31 перемещают вниз в положение ІІ («Стоп») рычагом, находящимся в кабине. Этот рычаг соединен тросом со скобой. При перемещении скобы управления кулисой вниз рычаг 27 повертывают относительно оси, проходящей через упорную пяту 32, по часовой стрелке и тягой 11 передвигают рейку 10 в положение «Подача выключена».
После остановки двигателя скобу управления вместе с кулисой возвращают, в пусковое положение, чему способствует возвратная пружина, установленная на втулке кулисы. Силовой рычаг 26 под действием пружины 19 перемещается в крайнее левое положение, регулировочный болт 21 упирается в вал 8, а рейка 10 передвигается пружиной 12 в положение, соответствующее пуску двигателя.
Максимальную частоту вращения коленчатого вала двигателя изменяют при помощи болта 13,,а минимальную частоту вращения холостого хода — болта 15 и винта 20. Часовую подачу топлива насосом при его регулировке на стенде можно изменять болтом 21.
Регулятор дизеля автомобиля КамАЗ-5320. Регулятор расположен в «развале» топливного насоса высокого давления. Движение к шестерне 11 (см. рис. 93) регулятора передается от. кулачкового вала 29 через шестерни 2 и 8. Одной из особенностей этого регулятора является державка 12 грузов,

Рис. 15. Схема работы регулятора:
1 — кулачковый вал; 2 — ведущая шестерня; 3 — промежуточная шестерня; 4 — шестерня регулятора; 5 — державка грузов; 6 — упорный шарикоподшипник; 7 — груз; 8 — муфта; 9 — рычаг регулятора; 10 — палец; 11 — рейки; 12 — рычаг реек; 13 — рычаг управления регулятором; 14 — болт ограничения максимальной частоты вращения; 15 — болт ограничения минимальной частоты вращения; 16 — пружина рычага управления регулятором; 17 — промежуточный рычаг; 18 — регулировочный болт подачи топлива; 19 — пружина; 20 — рычаг выключения подачи топлива; 21 — рычаг остановки двигателя

Рис. 16. Привод управления регулятором:
1 — ось педали; 2 — педаль подачи топлива; 3 — уплотнитель педали; 4 — упорный болт; 5 — передняя тяга; б — двуплечий рычаг; 7 — ось рычага; 8 — продольная тяга; 9 — возвратная пружина; 10 — рычаг вала привода; 11 — кронштейн вала; 12 — вал привода; 13 — двигатель; 14 — антифрикционная втулка; 15 — рычаг тяги; 16 — тяга рычага управления; 17 — насос высокого давления; 18 — болт ограничения минимальной частоты вращения; 19 — рычаг управления регулятором; 20 — болт ограничения максимальной частоты вращения
выполненная как одно целое с шестерней регулятора. Державка вращается на двух шарикоподшипниках. Внутри державки находится ступица подвижной муфты 16, которая упирается в палец 17 рычага регулятора. Рычаг 9 (рис. 15) регулятора одним концом связан с промежуточным рычагом 17, а другим через палец 10 — с рейкой 11 топливного насоса. Для согласованного передвижения реек они соединены между собой при помощи соответствующих пальцев и рычага 12. Рычаг 13 управления подачей топлива жестко связан с небольшим промежуточным рычагом. Между промежуточными рычагами установлена пружина 16 регулятора, усилие от которой передается на рычаг 9.
Смазка регулятора и насоса высокого давления циркуляционная, под давлением от общей системы смазки двигателя.
Работа регулятора. При работе двигателя в некотором режиме в регуляторе всегда устанавливается равновесие между центробежными силами грузов 7 и усилием пружины 16. Если водитель автомобиля нажимает ногой на педаль подачи топлива, то через систему рычагов и тяг повертывается рычаг 19 управления регулятором или рычаг 13 (см. рис. 15) на некоторый угол, что приводит к увеличению натяжения пружины 16 регулятора. Пружина 16 действует через промежуточный рычаг 17 на рычаг 9 и перемещает его. Рычаг 9 перемещает рейки 11 в сторону увеличения подачи топлива. Частота вращения возрастает до тех пор, пока не наступит равновесие между центробежной силой грузов и усилием пружины. При уменьшении нагрузки на двигатель частота вращения коленчатого вала возрастает. Грузы регулятора расходятся и, преодолевая сопротивление пружины 16, повертывают рычаг 9, который перемещает рейки 11 в сторону уменьшения подачи топлива, восстанавливая нарушенный режим.
Для остановки двигателя необходимо уменьшить частоту вращения коленчатого вала до минимальной и вытянуть кнопку ручного управления рычагом 21 остановки двигателя. Эта кнопка расположена справа от сиденья водителя на уплотнителе опоры рычага переключения передач.
Похожие рефераты:
Анализ эффективности работы двигателя внутреннего сгорания
Судовой двигатель внутреннего сгорания L21/31
Ремонт сельскохозяйственной техники
Ремонт муфты автоматического опережения впрыскивания топлива
Определение основных параметров и компоновка оборудования автономного локомотива
Устройство наддувного дизельного двигателя КамАЗ-7403.10
Описание судового дизеля ДКРН 80/70
Судовые топливные насосы высокого давления
Восстановление вкладыша подшипника MAN K6Z 57/80
Ремонт форсунок дизелей типа Д49
Система пуска тракторного дизеля
Система питания двигателей, работающих на дизельном и газовом топливе
Организация и технология проведения КР автобуса ПАЗ-3205