| Похожие рефераты | Скачать .docx |
Реферат: Технічне обслуговування системи живлення двигуна автомобіля ЗИЛ-130
ТЕХНІЧНЕ ОБСЛУГОВУВАННЯ СИСТЕМИ ЖИВЛЕННЯ АВТОМОБІЛЯ ЗИЛ-130
1. Будова і принцип дії системи живлення двигуна автомобіля ЗИЛ-130
Система живлення карбюраторного двигуна слугує для очищення палива й повітря, приготування пальної суміші, подавання її в циліндри та видаляння продуктів згоряння.
До системи живлення карбюраторних двигунів входять: карбюратор; паливний бак; фільтри для очищення палива й повітря; паливо підкачувальний насос; впускний і випускний трубопроводи; глушник.
1.1 Карбюратор К-88А.
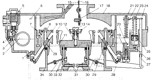
Карбюратор К-88А. На восьмициліндровому двигуні автомобіля ЗИЛ-130 установлено карбюратор К-88А (рис. 1.1.), що має дві змішувальні камери, кожна з яких живить чотири циліндри. Поплавцева камера, її корпус 18 з повітряною заслінкою 16, економайзер і прискорювальний насос – спільні деталі для обох камер карбюратора.
Поплавцева камера сполучається каналом 6 із вхідним патрубком карбюратора, над яким розташовано повітряний фільтр. Це запобігає збагаченню пальної суміші (в разі забруднення повітряного фільтра) внаслідок збільшення перепаду розріджень у дифузорах і поплавцевій камері. Такі поплавцеві камери називаються балансованими.
У змішувальній камері встановлено малий 10 і великий 11 дифузори. Двома дифузорами досягається підвищення швидкості повітря в малому дифузорі при порівняно невеликому загальному опорі потокові повітря.
Компенсація складу суміші в карбюраторі К-88А здійснюється пневматичним гальмуванням палива.
Дросельні заслінки 30 обох змішувальних камер, жорстко закріплені на одній осі, відкриваються одночасно.
Під час пуску й прогрівання холодного двигуна закривають повітряну заслінку 16. Водночас за допомогою важелів і тяг, які з'єднують повітряну заслінку з валиком дросельних заслінок, трохи відкриваються дросельні заслінки 30. У змішувальних камерах створюється велике розрідження. В результаті подаватимуться велика кількість палива з кільцевих щілин малих дифузорів 10 та емульсія з отворів 32 й 33 системи холостого ходу [2].
|
У разі несвоєчасного відкриття повітряної заслінки після перших спалахів робочої суміші в циліндрах двигуна повітря, що надходить крізь запобіжний клапан 17 отвір 75 у повітряній заслінці, не допустить надмірного збагачення суміші.
На малій частоті обертання колінчастого вала (режим холостого ходу) дросельні заслінки 30 прикриті, тому швидкість повітря й розрідження в дифузорах 10 невеликі, й паливо не витікатиме 3 їхніх кільцевих щілин. За дросельними заслінками створюється велике розрідження, що передається крізь отвори 32 в емульсійні канали, а з них до жиклерів 7 системи холостого ходу. При ньому паливо з поплавцевої камери надходить крізь головні жиклери 1 до жиклерів холостого ходу.
Повітря, що надходить крізь верхні отвори жиклерів системи холостого ходу, перемішується з паливом. Утворена емульсія рухається емульсійними каналами й крізь отвори 32 виходить у за дросельний простір обох змішувальних камер. Коли дросельні заслінки відкриті, крізь отвори 33 підсмоктуватиметься повітря, що поліпшить емульгування палива. В міру відкривання дросельних заслінок зростатиме зрідження біля отворів 33, і з них також надходитиме емульсія, що забезпечить плавний перехід від роботи двигуна з малою частотою обертання колінчастого вала до роботи під навантаженням.
Перехід від холостого ходу до малих і середніх навантажень здійснюється збільшенням відкриття дросельних заслінок. Система холостого ходу плавно зменшує подачу емульсії. В цей час зростають швидкість руху повітря й розрідження в дифузорах, а отже, починає працювати головний дозувальний пристрій. Паливо з поплавцевої камери надходить крізь головні жиклери / і жиклери 29 повної потужності, змішується з повітрям, що потрапляє крізь повітряні жиклери 8, і у вигляді емульсії виходить крізь кільцеві щілини малих дифузорів. Повітря, що надходить у розпилювачі 9 крізь повітряні жиклери 8 і жиклери 7 системи холостого ходу, сповільнює підвищення розрідження біля головних жиклерів 1 і жиклерів 29 повної потужності. Завдяки цьому гальмується витікання палива з головних жиклерів, і пальна суміш збіднюватиметься до потрібного складу [3].
У разі повного навантаження двигуна збагачення суміші забезпечується економайзером. Як тільки дросельні заслінки 30 майже повністю відкриються, шток 21 натисне на штовхач 20 і відкриє кульковий клапан економайзера 19. Завдяки цьому збільшиться приплив палива до жиклерів 29 повної потужності, суміш збагатиться, й двигун розвине повну потужність.
У разі різкого відкриття дросельних заслінок короткочасне збагачення суміші,
потрібне для швидкого розганяння автомобіля, забезпечується прискорювальним насосом. Різке відкривання Дросельних заслінок супроводжується швидким переміщенням униз важеля 28, серги 27 і тяги 24, а заразом і планки 22, яка через пружину Швидко відпускає шток 23 з поршнем 25. Тиск під поршнем зростає, зворотний клапан 26 закривається, й відкривається нагнітальний клапан 12. Паливо під тиском проходить крізь отвір порожнистого гвинта 13, а потім у вигляді тонких струменів впорскується крізь отвори 14 у змішувальні камери. Нагнітальний клапан 12 не дає повітрю надходити в колодязь прискорювального насоса під час швидкого піднімання поршня 25 насоса, а паливу – підсмоктуватися з колодязя прискорювального насоса в змішувальні камери при великій частоті обертання колінчастого вала й постійному положенні дросельних заслінок.
Передача зусилля від планки 22 на поршень 25 прискорювального насоса через пружину потрібна для затяжного впорскування палива й захисту деталей під час різкого відкривання дросельних заслінок [2].
1.2 Паливний бак
Паливо на автомобілі зберігається в одному чи декількох паливних баках. Кожен бак виготовлений штампуванням з освинцьованої сталі з двох половин, з'єднаних між собою зварюванням. Усередині бака маються перегородки з отворами для запобігання швидкого перетекания палива з однієї порожнини бака в іншу, коли автомобіль різко змінює напрямок руху, чи гальмує рухається на підйом. Крім того, перегородки підвищують жорсткість бака.
У верхній половині бака встановлюється паливозаливна горловина, що закривається кришкою з ущільнювальною прокладкою і двома клапанами. Клапан навантажений сильною пружиною і запобігає витоку парів палива, особливо в жаркий час року, коли бензин інтенсивно випаровується, чим досягається значна економія палива. Однак при підвищенні тиску в баці більш 0,1 – 0,18 Мпа клапан відкривається і випускає пари бензину в атмосферу, запобігаючи ушкодженню (розрив) бака. Так як паливо при роботі двигуна увесь час витрачається, то в баці може створитися розрідження, і паливо перестане надходити до паливного насосу. Щоб цього не відбулося, у кришці встановлений клапан розрідження, навантажений слабкою пружиною. Тому коли в баці тиск нижче атмосферного (0,016 – 0,034 Мпа), клапан відкривається і пропускає в бак повітря, підтримуючи в ньому атмосферний тиск.
Забирається паливо з бака по трубопроводу через кран трубки із сітчастим фільтруючим елементом. Кран фланцем кріпиться на верхній частині бака. Для контролю рівня палива в баці мається електричний датчик з поплавцем, що проводом з'єднаний з покажчиком, установленим на щитку приладів автомобіля. Кріпиться паливний бак хомутами на рамі автомобіля. Паливний бак виконують такої ємності, щоб автомобіль міг проїхати на одному заправленні 300 – 600 км [3].
1.3 Фільтри для очищення палива
Фільтр-відстійник (рис. 1.2. а) служить для попередньої (грубої) чистки палива від часток більш 0,05 мм і встановлюється автомобілях ЗИЛ між паливним баком і насосом. Він складається з корпуса 4, до якого через ущільнювальну прокладку болтом 5 кріпиться склянка-відстійник 11. У склянці на пустотілому стрижні установлений фільтруючий елемент 7, набраний з латунних чи алюмінієвих пластин 9 на стійці 10 і пружиною 2 піджимається до корпуса 4 через ущільнювальну прокладку. На кожній пластині видавлені виступи висотою 0,05 мм і просвердлені отвори 8 для проходу палива. Завдяки виступам між пластинами утворяться щілини, крізь які проходить паливо, домішки затримуються і разом з водою опускаються вниз у склянку-відстійник, звідки періодично виддаляються. Паливо підводиться по штуцері 6 і, очистивши, по отворах 8 проходить у корпус і штуцером 3 відводяться в паливний насос [4].
Фільтр тонкого очищення служить для остаточного очищення палива від дрібних домішок і води. Встановлюється між паливним насосом і карбюратором. Він складається (рис. 1.2. б) з корпуса 12 з паливопідвідним і відвідним штуцерами і вушком, для кріплення на двигуні. Знизу до корпуса через ущільнювальну бензостійку прокладку скобою 16 і смушковою гайкою 17 кріпиться склянка-відстійник 13, усередині якої встановлений керамічний чи латунний сітчастий фільтруючий елемент 14 із пружиною 15.
|
Паливо під тиском, створюваним паливним насосом, по паливопроводу підводиться в корпус фільтра й опускається в склянку-відстійник, де відокремлюються вода й інші домішки. Далі воно проходить крізь пори фільтруючого елемента, остаточно очищується і по трубопроводу потрапляє в поплавцеву камеру.
Паливні фільтри, насос, бак, карбюратор герметично з'єднуються між собою паливопроводами, виготовленими з міді, латуні або стали. Сталеві паливопроводи мають антикорозійне покриття з олова, свинцю або міді. У місцях вигину встановлюють бензостійкі шланги.
Повітряний фільтр служить для очищення повітря, що надходить у карбюратор і піддон картера, а в двигуні автомобіля ЗИЛ компресор, що значно підвищує термін його служби. На двигунах автомобілів ЗИЛ, встановлюють інерційно-масляні (контактні) фільтри з подвійним очищенням повітря. [3].
Повітряний фільтр інерційно-масляного типу ВМ-16 двигуна автомобіля ЗИЛ-130 (рис 1.3., а) складається з корпуса 1, у нижню частину якого залита олія до заданого рівня – таке ж, що й у піддоні картера. У центрі корпуса встановлений повітряний патрубок 10 із тримачем 8 і смушковою гайкою 7 для кріплення кришки фільтра. Над оливою знаходиться відбивач 2, а над ним – фільтруючий елемент 3 із кришкою 4, набраний з капронових чи металевих ниток, змочених оливою. Обойма фільтруючого елемента кріпиться в корпусі з зазором для проходу повітря до оливної ванни. Кришка гумовим перехідним патрубком 5 з розширювальною пружиною 6 з'єднується з повітряним каналом 12, до якого повітря надходить через забірники 11. У каналі встановлена заслінка 13, керування якою виведене в кабіну водія. При закритій заслінці непрогріте повітря надходить у прийомний патрубок через забірники (рис. 1.3. б), а при відкритій – з-під капотного простору (рис. 1.3., в), де воно підігрівається від зіткнення з нагрітими частинами двигуна, що поліпшує сумішоутворення в карбюраторі.
|
Суть очищення повітря полягає в тому, що воно направляється до масляної ванни, вдаряється об оливу, з нього випадають великі частки пилу, волокна (перша ступінь очищення). При цьому повітря захоплює частки олії, змінює напрямок руху і проходить у фільтруючий елемент, де стикається з вологими нитками, остаточно очищується (друга ступінь очищення) і по патрубку 10 надходить у карбюратор. Частина повітря по паливопроводу 9 надходить у компресор і піддон картера.
Частки пилу, затримані фільтруючим елементом, стікають разом з оливою в корпус фільтра. Тому в оливній ванні фільтра при роботі в курних умовах оливу заміняютьщодня, а взимку, навесні і у вологу осінь – при першому технічному обслуговуванні [5].
У сухому повітряному фільтрі фільтруючий елемент виготовлений зі спеціального пористого паперу у виді гофрованої стрічки, укладеної в металевий перфорований каркас, встановлений у корпусі на пенопластових прокладках. При роботі двигуна повітря проходить через пори паперу, очищається і надходить у карбюратор. Фільтруючий елемент заміняють новим через 10 – 12 тис. км про бігу. Під час роботи в курних умовах його заміняють частіше. Крім того, періодично виймають фільтруючий елемент і струшують його від пилу, очищаючи при цьому і корпус фільтра
1.4 Паливопідкачувальний насос
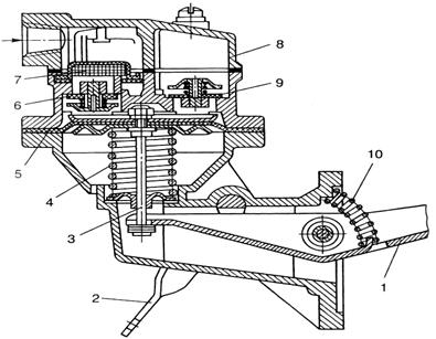
Паливопідкачувальний насос призначається для подавання палива з бака в поплавцеву камеру карбюратора. Найбільш поширені паливопідкачувальні насоси діафрагмового типу (рис. 1.4.). Після того, як ексцентрик розподільного вала двигуна натиснув на зовнішній кінець важеля 1 насоса, діафрагма 5 штоком 3 відтягується вниз. У порожнині над діафрагмою створюється розрідження, під дією якого відкриваються впускні клапани 6. Паливо з бака, пройшовши крізь сітчастий фільтр 7, заповнює порожнину над діафрагмою [4].
Коли виступ ексцентрика сходить із важеля 7, пружина 10 повертає останній у вихідне положення. Водночас діафрагма 5 під дією пружини 4 прогинається вгору. Під тиском палива, що надійшло в порожнину над діафрагмою, закриваються впускні клапани й відкривається випускний 9. Паливо з насоса надходить у поплавцеву камеру карбюратора. Під час заповнювання поплавцевої камери паливом діафрагма насоса залишається в нижньому положенні, а важіль 1 переміщується по штоку 3 вхолосту. Паливо до карбюратора в цьому разі не надходить. Щоб заповнити поплавцеву камеру карбюратора, коли двигун не працює, треба натиснути на важіль 2 ручного підкачування, зв'язаний із діафрагмою насоса.
Діафрагму 5 виготовляють із лакотканини або прогумованої тканини, клапани – з бензооливостійкої гуми, а їхні пружини – з бронзового дроту.
Паливопідкачувальний насос Б-10, що встановлюється на двигунах ЗИЛ-130, має три впускних і три випускних клапани. Зусилля від ексцентрика розподільного вала двигуна до важеля привода паливного насоса передається штангою [3].
|
1.5 Впускний і випускний трубопроводи
Впускний трубопровід двигуна автомобіля ЗИЛ-130 являє собою кришку міжциліндрового простору, відлитий з алюмінієвого сплаву. У кришці виконані канали для підведення пальної суміші до циліндрів і фланець для установки карбюратора. Канали омиваються охолодною рідиною, що сприяє підігріванню пальної суміші, запобіганню утворення плівки на внутрішній поверхні впускного трубопроводу в холодний час року. Охолодна рідина відводяться через фланець, у якому встановлений термостат. На кришці виконаний фланець для кріплення оливозаливної горловини і штуцер вентиляції картера.
1.6 Глушник
Глушник служить для зменшення шуму випуску відпрацьованих газів, і гасіння тліючих часток сажі. Він складається (рис. 1.5) з циліндричного корпуса 3, усередині якого встановлені перегородки 4, що утворюють розширювальні камери. Гази, що відробили, підводяться по випускних трубах 1 і попадають у перфоровані труби 2, де змінюють напрямок і швидкість руху, завдяки чому зменшується шум випуску. Тліючі частки сажі труться об стінки труб і, втрачаючи енергію, гаснуть. Гази, що відробили, відводяться по трубі 5 в атмосферу [4].
2. Технічне обслуговування системи живлення двигуна автомобіля ЗИЛ-130
2.1 Основні несправності
Технічне обслуговування системи живлення карбюраторних двигунів. Основні несправності проявляються, як правило, в порушенні роботи дозувальних систем карбюратора, внаслідок чого він приготовляє занадто багату або бідну суміш, під час згоряння якої двигун не розвиває повної потужності, перевитрачає бензин і викидає з відпрацьованими газами багато токсичних (шкідливих) речовин.
Ознака сильного порушення дозування суміші карбюратором – робота двигуна з різкими ударами («стрільба»): в карбюратор – у разі перезбіднення суміші, в глушник – у разі перезбагачення. Ознакою роботи двигуна на перезбідненій суміші є також його перегрівання. В разі сильного перезбагачення суміші відпрацьовані гази набувають темного кольору [4].
Поширена причина несправності карбюратора – встановлення жиклерів невідповідної пропускної спроможності.
Причини нерезбагачення суміші:
високий рівень палива в поплавцевій камері;
викручування й випадання жиклерів;
засмолення повітряних жиклерів;
негерметичність клапана економайзера й порушення регулювання його привода;
неповне відкривання повітряної заслінки.
Причини перезбіднення суміші:
зменшення подачі бензину;
підсмоктування повітря в місцях кріплення карбюратора та впускного трубопроводу до головок циліндрів;
мала подача бензину в карбюратор;
пошкодження діафрагми підкачувального насоса або нещільне прилягання його клапанів;
нещільне кріплення паливопроводів до штуцерів;
низький рівень бензину в поплавцевій камері;
заїдання повітряного клапана в пробці бензобака;
засмічення паливопроводів і фільтрів.
Надмірне збагачення суміші спричинює прискорене спрацьовування циліндро-поршневої групи. Особливо шкодить двигуну погане очищення повітря повітряним фільтром [4].
2.2 Роботи що виконуються при ТО
|
|
|
Перевірити: кріплення приладів і агрегатів системи до автомобіля (двигуна), а також їхніх деталей між собою; правильність роботи привода дроселя (повноту відкривання й закривання) та привода повітряної заслінки. Виконати потрібні профілактичні роботи з паливним і повітряним фільтрами. Перевірити за допомогою манометра або приладу НИИАТ (модель 527Б) роботу бензонасоса, не знімаючи його з двигуна, рівень палива в по плавцевій камері, легкість пуску та роботу двигуна. В разі потреби відрегулювати карбюратор на режимі холостого ходу, контролюючи вміст оксиду вуглецю у відпрацьованих газах.
Обслуговування повітряного фільтра полягає в заміні оливи в оливній ванні, промиванні фільтрувального елемента та перевірці кріплення його до двигуна. Фільтрувальний елемент треба промити, потім занурити в чисту оливу, вийняти, дати стекти оливі й постави ти на місце. Корпус фільтра слід старанно очистити зсередини від бруду, оливи та відстою. У ванну фільтра залити оливу для двигуна (свіжу або відпрацьовану).
Із паливного фільтра грубої очистки слід періодично зливати від стій бруду й води та промивати фільтрувальний елемент у бензині або ацетоні з наступним продуванням стисненим повітрям. Розбирати фільтрувальний елемент не рекомендується.
Для доступу до фільтрувального елемента фільтра тонкої очистки треба відкрутити гайку-баранець і зняти відстійник разом із фільтру вальним елементом. Відстійник слід очистити від бруду й осадків, Фільтрувальний елемент промити, а потім продути стисненим повітрям.
Розбирати карбюратори слід обережно, щоб не пошкодити прокладки й деталі. Жиклери, клапани, голки та канали треба промити в чистому гасі або неетильованому бензині. Роботу виконують на посту з відсмоктуванням повітря або у витяжній шафі. Промивши Жиклери й канали в корпусі карбюратора, їх слід продути стисненим повітрям.
Для прочищення жиклерів, каналів та отворів не можна застосовувати жорсткий дріт або які-небудь металеві предмети. Не допускається продувати стисненим повітрям складений карбюратор крізь штуцер, що підводить бензин, і балансувальний отвір, оскільки це призводить до пошкодження поплавця.
Щоб очистити деталі карбюратора від смол, їх слід на кілька хвилин покласти в розчинник (ацетон, бензол), а потім старанно про терти чистою ганчіркою, змоченою в розчиннику.
Якщо на запірній голці поплавцевої камери карбюратора є ущільнювальна шайба, то не рекомендується знімати її з голки. Для промивання слід застосовувати лише бензин або гас.
Рівень бензину в поплавцевій камері перевіряють, установивши автомобіль на горизонтальній площадці й вимкнувши двигун.
У карбюраторі К-88А (автомобіль ЗИЛ-130) треба викрутити пробку в нижній частині колодязя економайзера й вкрутити замість неї перехідник із гумовим шлангом і скляною трубкою. Розташувавши трубку вертикально, важелем ручного підкачування паливного насоса нагнітати бензин у поплавцеву камеру. Рівень бензину над площиною розняття верхньої та середньої частин карбюратора має становити 18…19 мм.
У разі потреби регулюють рівень бензину підгинанням важелька поплавця або зміною кількості прокладок під корпусом голчастого клапана карбюратора [4].
3. Асортимент бензинів
У нашій країні товарним автомобільним бензином служить суміш бензинів прямої перегонки та крекінгу, до якої додають високооктанові компоненти й різноманітні присадки. За ГОСТ 2084–77 випускають чотири марки бензинів: А-72,
А-76, АИ-93 та АИ-98. Крім цього, згідно з технічними умовами виробляють бензини АИ-92, АИ-95 та АИ-96 (АИ – бензини з октановим числом за дослідницьким методом, А – за моторним методом).
З 1998 р. введено в дію ТУУ 00149943.501–98, згідно з якими в Україні виробляються бензини з підвищеною температурою кінця кипіння (гк. к = 215 °С) А-80, А-92, А-95, А-96 та А-98 (нова індексація). Якість їх зовсім незначною мірою відрізняється від якості бензинів, що випускаються за ГОСТ 2084–77.
Усі бензини, крім АИ-98, бувають двох видів – літні та зимові. Літні бензини використовують з 1 квітня до 1 жовтня, а зимові – з 1 жовтня до 1 квітня. У перехідний період допускається змішування зимових і літніх сортів.
Бензини марок А-76 (А-80) готують змішуванням відповідних фракцій каталітичного крекінгу з бензиновими фракціями, які отримують іншими способами (наприклад, каталітичним реформінгом) з додаванням 15…30% фракцій прямої перегонки.
Бензин А-76 містить не більш як 0,24% тетраетилсвинцю. Виготовляючи бензини АИ-93, АИ-98 та АИ-95, використовують бензинові фракції каталітичного крекінгу й реформінгу та компоненти, синтезовані з вуглеводневих газів.
Бензин АИ-93 випускають в етильованому та неетильованому варіантах. Вміст тетраетилсвинцю у ньому обмежений 0,5%. Бензин АИ-98 виготовляють на основі неетильованого варіанта АИ-93 з додаванням тетраетилсвинцю не більш як 0,5%.
Фізико-хімічні показники бензинів за ТУУ 00149943.501–98 наведені в табл. 1.
Таблиця 1. Нормативні показники бензинів А-80, А-92, А-95 та А-96
| Показники | Значення показників | ||
| Густина, кг/мЗ , при /= 20 °С | Не нормується; визначення обов'язкове | ||
| Детонаційна стійкість: | |||
| мінімальне октанове число за | 80 (А-80); 92 (А-92); | ||
| дослідницьким методом | 95 (А-95); 96 (А-96) | ||
| те саме, за моторним методом | 76 (А-80); 82,5 (А-92); 85 (А-95, А- | 96) | |
| Фракційний склад: | |||
| мінімальна температура початку | 30 | ||
| перегонки, °С | |||
| максимальна температура, °С, за якої | 75 | ||
| переганяється 10% бензину | |||
| те саме, 50% бензину | 120 | ||
| те саме, 90% бензину | 190 | ||
| максимальна температура кінця | 215 | ||
| кипіння, °С | |||
| максимальний залишок у колбі, % | 1,5 | ||
| максимальні втрати, % | 4 | ||
| Максимальний тиск насиченої пари | 79,9 | ||
| бензину, кПа | |||
| Максимальна кислотність, мг | 3 | ||
| КОН на 100 смЗ бензину | |||
| Максимальна концентрація фактичних | |||
| смол, мг на 100 смЗ бензину: | |||
| на місці виробництва | 5 | ||
| на місці споживання | 10 | ||
| Мінімальний індукційний період | 600 | ||
| бензину на місці виробництва, хв. | |||
| Максимальна масова частка сірки, % | 0,05 | ||
| Максимальна масова частка | 0,001 | ||
| меркаптанової сірки, % | |||
| Випробування на мідній пластинці | Витримує | ||
| Показники | Значення показників | ||
| Наявність водорозчинних кислот і лугів | Не повинно бути | ||
| Наявність механічних домішок і води | Те саме | ||
| Забарвлення | Безбарвний або блідо-жовте | ||
| Максимальна концентрація свинцю, л | |||
| на 1 дм3 бензину: | |||
| Етильованого | 0,05 | ||
| Не етильованого | 0,013 | ||
| Сумарний вміст ароматичних | Не нормується; визначення | ||
| вуглеводнів, % | обов'язкове | ||
| Максимальна масова частка бензолу, % | 5 | ||
Автомобільні бензини мають відповідати вимогам ТУУ 00149943.501–98 і виготовлятися за технологічною документацією, затвердженою в установленому порядку.
Продукція, що пройшла сертифікацію, повинна мати сертифікат відповідності і (або) знак відповідності за ДСТУ 2296–93.
Виробник гарантує відповідність якості бензинів вимогам ТУУ 00149943.501–98 та дотримання вимог до транспортування і зберігання.
Гарантійний термін зберігання бензинів – 3 роки від дня виготовлення. По закінченні гарантійного терміну зберігання бензини мають бути перевірені споживачем на відповідність їх вимогам ТУУ 00149943.501–98.
Розробник і виробник бензинів не несуть відповідальності за наслідки їх застосування, якщо бензини використовувались не за прямим призначенням без дотримання встановлених заводом попереджень або за умов, не передбачених ТУУ 00149943.501–98.
У промислово розвинених країнах (країни Європи, США, Японія та ін.) застосовують два види бензинів – «Преміум» з октановим числом за дослідницьким методом (ОЧД) 97…98 і «Регуляр» з ОЧД 90…94. Рішенням ради країн Європейської економічної співдружності на перспективу затверджено єдиний неетильований бензин «Преміум» з ОЧД 95. Октанове число бензину «Регуляр» може бути 91…92.
У країнах ЄЕС частка бензину «Преміум» становить 78%, а бензину «Регуляр» – 22%. До 1990 р. всі бензини були, як правило, етильовані із вмістом свинцю 0,15…0,4 г/л (в Україні і країнах СНД -0,14…0,37 г./л).
Перелік використаної літератури
1. Автомобили ВАЗ-2105. Руководство по ремонту, эксплуатации и техническому обслуживанию: М.: Третий Рим, 2002. – 185 с.
2. Бабушко С.М. Ремонт тракторов и автомобилей. – К.: Высшая школа. 1982. – 344 с.
3. Дзюба П.Я. Программированное пособие по устройству автомобиля. – К.: Урожай, 1985. – 576 с.
4. Кисликов В.Ф., Лущик В.В. Будова і експлуатація автомобілів: Підручник. – К.: Либідь, 2002. – 400 с.
5. Костів Б.Ф. Експлуатація автомобільного транспорту: Підручник. – Львів: Світ, 2004. – 496 с.; іл
6. Лауш П.В. Техническое обслуживание и ремонт машин. – К.: Высшая школа, 1989. – 350 с.
7. Полянський С.К. Будівельно-дорожні та вантажопідіймальні машини. – К.: Техніка, 2001. – 624 с.
8. Родичев В.А., Родичева Г.И. Тракторы и автомобили – М.: Высш. школа, 1982. – 320 с.
9. Токаренко В.М. Практикум по устройству, техническому обслуживанию и ремонту автотранспорта. – К.: Урожай, 1989. – 350 с.
Похожие рефераты:
Ремонт та технічне обслуговування карбюратора "Solex"
Система живлення карбюраторного двигуна
Технічне обслуговування пускового двигуна
Технічне обслуговування системи живлення автомобіля ВАЗ-2104
Организация поста технического обслуживания и ремонта карбюраторов двигателей легковых автомобилей
Оценка ассортимента и конкурентоспособности автомобилей
Тормозные механизмы автомобиля КамАЗ: ремонт и техническое обслуживание
Гальмівна система автомобіля ГАЗ-53
Устройство и принцип работы автомобиля ЗиЛ-130
Двигун автомобіля ЗІЛ-130 (поршнева група)
Развитие сервисного обслуживания автомобилей
Полные ответы на билеты по автоделу (экзамен 2002)
Газобалонна установка автомобіля ГАЗ
Исследование процесса технической эксплуатации топливных форсунок системы распределённого впрыска
Проект дільниці по технічному огляду та ремонту для двигуна автомобіля Chery Elara



