| Похожие рефераты | Скачать .zip |
Реферат: Высоковольтный воздушный выключатель ВВМ-500
ЗАДАНИЕ НА ПРОЕКТИРОВАНИЕ
На основании технических данных высоковольтного воздушного выключателя (Uном = 500 кВ, Iном = 2000 А, Sном.о = 20 ГВ.А), выполнить следующие работы:
Ознакомиться с технико-экономической характеристикой аппарата;
Спроектировать и произвести расчёт электрической изоляции;
Произвести поверочный расчёт токоведущего контура в нормальном режиме и режиме короткого замыкания;
Рассчитать газодинамику аппарата.
СОДЕРЖАНИЕ
ВВЕДЕНИЕ .................................................... стр.3
ГЛАВА I. ТЕХНИКО-ЭКОНОМИЧЕСКИЙ
ОБЗОР ВОЗДУШНЫХ ВЫКЛЮЧАТЕЛЕЙ ........................... стр.5
ГЛАВА II. ОБЩИЕ СВЕДЕНИЯ,
КОНСТРУКЦИЯ И РАБОТА ВВМ-500 ............................. стр.7
ГЛАВА III. РАСЧЁТ ОБЩЕЙ
ЭЛЕКТРИЧЕСКОЙ ИЗОЛЯЦИИ ................................... стр.16
ГЛАВА IV. РАСЧЁТ ТОКОВЕДУЩЕЙ СИСТЕМЫ
НОМИНАЛЬНОМ РЕЖИМЕ И ПРИ КЗ .............................. стр.25
ГЛАВА V. РАСЧЁТ ГАЗОДИНАМИЧЕСКИХ
ПРОЦЕССОВ В ДУ ............................................. стр.33
ЗАКЛЮЧЕНИЕ .................................................. стр.41
ЛИТЕРАТУРА .................................................. стр.42
ПРОГРАММНОЕ ОБЕСПЕЧЕНИЕ ................................... стр.42
ПРИЛОЖЕНИЕ .................................................. стр.43
ВВЕДЕНИЕ
Выключатели высокого напряжения (ВК) предназначены для оперативных и аварийной коммутаций в энергосистемах, для выполнения операций включения и отключения отдельных цепей при ручном или автоматическом управлении. Во включенном положении ВК должен длительно пропускать токи нагрузки и кратковременно - аварийные.
Характер режима работы ВК несколько необычен: нормальным для них считается как включенное положение, когда по ним проходит ток нагрузки, так и отключенное, при котором они обеспечивают необходимую электрическую изоляцию между разомкнутыми участками цепи.
Коммутация цепи, осуществляемая при переключении ВК из одного положения в другое, производится не регулярно, время от времени, а выполнение специфических требований по включению цепи при имеющемся в ней коротком замыкании (КЗ) либо по отключению КЗ вообще крайне редко.
Выключатели должны надёжно выполнять свои функции, находясь в любом из указанных положений, и одновременно быть всегда готовыми к мгновенному выполнению любых коммутационных операций, часто после длительного пребывания в неподвижном состоянии. Наиболее тяжёлым режимом для ВК является режим отключения тока КЗ.
Общие требования к конструкциям и характеристикам выключателей устанавливается стандартами: ГОСТ 687-78 «Выключатели переменного тока нагрузки на напряжение свыше 1000 В. Общие технические условия»; ГОСТ 12450-82 «Выключатели переменного тока высокого напряжения. Отключение ненагруженных линий». ГОСТ 8024-84 «Допустимые температуры нагрева токоведущих элементов, контактных соединений и контактов аппаратов и электротехнических устройств переменного тока на напряжение свыше 1000 В; ГОСТ 1516.1-75 «Нормы испытательных напряжений внешней и внутренней изоляции электрических аппаратов».
Практическое использование сжатого воздуха для гашения электрической дуги в ВК началось в 20-х годах двадцатого века. В 1929 г. появились в опытной эксплуатации первые образцы воздушных выключателей (ВВ) на напряжение 10-20 кВ, в которых гашение электрической дуги осуществлялось сжатым воздухом при давлении 1 МПа. Основная изоляция этих ВВ была выполнена из фарфора. Конструкция первых ВВ была во многом несовершенна. Это обусловливалось тем, что особенности гашения электрической дуги в сжатом воздухе были ещё недостаточно тщательно исследованы. Кроме того, и пневматические системы ВВ ещё не были достаточно хорошо отработаны. Требовалось некоторое время, чтобы конструкторы могли преодолеть эти недостатки и сделать ВВ конкурентоспособными по отношению к масляным.
В России интенсивные разработки ВВ начались с 1945 г., когда приступили к проведению научно-исследовательских и конструкторских работ по созданию серии подстанционных ВВ на напряжения 35-220 кВ.
В настоящее время ВВ получили исключительно широкое применение и во многих случаях вытеснили масляные. ВВ позволили перейти к классам напряжения 750 и 1150 кВ; возможен переход и к более высоким классам напряжения, а также к токам отключения 63-80 кА при напряжениях 110-750 кВ и 160-240 кА при напряжениях 20-30 кВ.
Широкое применение ВВ обусловлено их способностью удовлетворять любому предъявляемому требованию, в отношении как технических параметров, так и эксплуатационных характеристик, за исключением, быть может - характеристик экономических.
К основным преимуществам использования сжатого воздуха в ВК относятся:
Отсутствие загрязнения окружающей среды;
Низкие эксплуатационные расходы, связанные с заполнением ВВ дугогасящей средой и её заменой;
Постоянство свойств сжатого воздуха в широком диапазоне температур;
Пожаробезопасность ВВ.
Из недостатков можно выделить:
Высокую стоимость компонентов ВВ;
Повышенную чувствительность ВВ к жёсткости режима отключения (по скорости восстанавливающегося напряжения);
Отсутствие зависимости между отключающей способностью дугогасящей среды при заданном давлении сжатого воздуха и отключаемым током (может привести к преждевременному обрыву тока ранее его естественного перехода через нуль).
Анализ достоинств и недостатков ВВ показывает, что последние могут найти себе применение, главным образом, в энергосистемах на повышенные классы напряжения, где необходимы малое время отключения и ограниченный уровень коммутационных перенапряжений. Кроме того, ВВ могут применяться в сетях с относительно невысоким напряжением, но с большим номинальным током и током КЗ.
Целью данного курсового проекта является проектирование ВВ с параметрами: Uном = 500 кВ, Iном = 2000 А, Sном.о = 20 ГВ.А.
В курсовом проекте дан технико-экономический обзор существующих в настоящее время в мире ВВ, приведены их основные технические параметры.
Основная часть состоит из следующих расчётов:
Расчёт основных изоляционных промежутков, где был произведён выбор изоляционных промежутков ВВ, определена для каждого промежутка величина расчётного разрядного напряжения, по которой рассчитывалось минимальное допустимое изоляционное расстояние при импульсных воздействиях и воздействиях напряжении промышленной частоты;
Расчёт токоведущей системы, включающий в себя расчёт основных токовых характеристик ВК, расчёт контактной системы в номинальном режиме и режиме КЗ, расчёт распределения температуры вдоль поверхности токоведущей трубы ДУ в номинальном режиме;
Расчёт газодинамических процессов, включающий в себя расчёт хода и скорости движения подвижного контакта ДУ при операции «отключение», расчёт минимального объёма резервуара сжатого воздуха, расчёт давления при наполнении ДУ сжатым воздухом при операции «отключение» без учёта влияния дуги, расчёт истечения воздуха через сопло при наличии в нём электрической дуги.
I. ТЕХНИКО-ЭКОНОМИЧЕСКИЙ
ОБЗОР ВОЗДУШНЫХ ВЫКЛЮЧАТЕЛЕЙ
Отличительной чертой современных мощных ВВ является модульность их конструктивного исполнения, что даёт возможность использовать однотипные укрупнённые элементы (модули) для построения ВК данной серии на все классы напряжения, сохраняя параметры каждого из них по напряжению практически неизменными. Не менее важна и возможность оснащения каждого из этих дугогасительных модулей шунтирующими резисторами, предназначенными как для снижения амплитуды и скорости нарастания восстанавливающегося напряжения, так и для ограничения опасных перенапряжений при включении либо при отключении ВК. Поэтому принцип модульности конструктивного построения ВВ на высокие классы напряжений оказывается выгодным и с экономической точки зрения.
Характерной особенностью конструирования современных ВВ различными фирмами является достижение требуемых свойств и параметров принципиально одинаковыми методами, что привело в последнее время к сближению принципов построения конструктивных схем выключателей. Это позволяет сформулировать тенденции в развитии современных ВВ:
Модульный принцип построения серий. Этот принцип позволяет строить ВВ в весьма большом диапазоне напряжений (от 35 до 1150 кВ) из одинаковых модулей, производить помодульные испытания и иметь максимально выгодные условия производства, эксплуатации и монтажа. Модульный принцип практически однозначно определяет размещение модулей на высоком напряжении с опорной или подвесной изоляцией;
Размещение дугогасительных устройств (ДУ) непосредственно в сжатом воздухе, что позволяет обеспечить максимальную коммутационную способность, быстродействие, изоляционную прочность межконтактных промежутков и пропускную способность по номинальному току;
Увеличение рабочего давления или создание устройств, позволяющих повысить давление в момент отключения. Наибольшее применяемое в настоящее время давление достигает 6,0 8,5 МПа;
Применение сверхбыстродействующих систем управления с малым разбросом времени оперирования;
Ограничение коммутационных перенапряжений ВВ, рассчитанных на высшие классы напряжений. Осуществляется в снабжении ВК шунтирующими сопротивлениями или в придании им способности синхронного включения;
Повышение надёжности и увеличение межремонтных сроков для обеспечения более надёжной работы существующих энергосистем и упрощения эксплуатации ВВ вопреки растущей их сложности.
Основные показатели наиболее распространённых типов ВВ в настоящее время в мире приведены в таблице 1.
Таблица 1. Основные характеристики отечественных и зарубежных ВВ
Серия выключателя (тип) |
Номинальный ток, А |
Предельный сквозной ток, кА (д.з.) |
Предельный сквозной ток, кА (а.з.) |
Ток термической стойкости, кА |
Номинальный ток отключения, кА |
Время включения, сек |
Время отключения, сек |
Расход воздуха на откл., л |
Масса выключателя, кг |
|
ВНСГ-15 |
12000 |
190 |
480 |
190 |
31,5 |
0,060 |
0,080 |
- |
07500 |
|
ВВГ-20 |
20000 |
160 |
410 |
160 |
160 |
0,100 |
0,150 |
- |
09150 |
|
ВВЭ-35 |
1250 |
- |
041 |
16,0 |
16,0 |
0,280 |
0,080 |
01300 |
01200 |
|
ВВП-35 |
1250 |
16,0 |
041 |
16,0 |
16,0 |
0,280 |
0,080 |
- |
01200 |
ВВ-35 |
1250 |
20,0 |
052 |
20,0 |
20,0 |
0,280 |
0,080 |
- |
01300 |
|
ВВУ-35 |
3200 |
40,0 |
100 |
40,0 |
40,0 |
0,130 |
0,070 |
04000 |
07500 |
|
DLF-72,5 |
2000 |
- |
- |
- |
50,0 |
- |
0,033 |
- |
- |
|
ВВШ-110 |
2000 |
- |
064 |
25,0 |
25,0 |
0,200 |
0,080 |
03700 |
09450 |
|
ВВЭ-110 |
1250 |
- |
067 |
26,0 |
16,0 |
0,150 |
0,080 |
04500 |
07650 |
|
ВВП-110 |
1250 |
26,0 |
067 |
26,0 |
16,0 |
0,150 |
0,080 |
04500 |
07500 |
|
ВВУ-110 |
2000 |
40,0 |
102 |
40,0 |
40,0 |
0,200 |
0,080 |
08400 |
15600 |
|
ВВБМ-110 |
2000 |
35,0 |
090 |
35,0 |
31,5 |
0,150 |
0,070 |
04500 |
07500 |
|
DLF-123 |
3150 |
- |
- |
- |
60,0 |
- |
0,040 |
- |
- |
|
PK-138 |
2500 |
- |
- |
- |
30,0 |
- |
0,050 |
- |
- |
|
DLF-145 |
4000 |
- |
- |
- |
70,0 |
- |
0,040 |
- |
- |
|
ВВБ-150 |
2000 |
35,0 |
090 |
31,5 |
25,0 |
0,150 |
0,070 |
04500 |
09600 |
|
ВВШ-150 |
2000 |
25,0 |
064 |
25,0 |
25,0 |
0,250 |
0,080 |
18000 |
13200 |
|
PK-170 |
4000 |
- |
- |
- |
40,0 |
- |
0,050 |
- |
- |
|
ВВБ-220 |
3200 |
31,5 |
080 |
31,5 |
31,5 |
0,200 |
0,080 |
09000 |
15600 |
|
ВВД-220 |
2000 |
31,5 |
080 |
31,5 |
31,5 |
0,240 |
0,080 |
09000 |
16200 |
|
ВНВ-220 |
3200 |
40,0 |
102 |
40,0 |
40,0 |
0,100 |
0,040 |
14400 |
12000 |
|
PK-245 |
2500 |
- |
- |
- |
50,0 |
- |
0,050 |
- |
- |
|
DLF-300 |
3150 |
- |
- |
- |
60,0 |
- |
0,040 |
- |
- |
|
PK-300 |
2500 |
- |
- |
- |
60,0 |
- |
0,050 |
- |
- |
|
ВВ-330 |
2000 |
37,5 |
065 |
35,5 |
31,5 |
0,230 |
0,075 |
45000 |
- |
|
ВВБ-330 |
2000 |
40,0 |
102 |
40,0 |
40,0 |
0,250 |
0,080 |
04200 |
26000 |
|
ВВД-330 |
2000 |
35,0 |
090 |
35,5 |
35,5 |
0,250 |
0,080 |
18000 |
36000 |
|
ВНВ-330 |
2000 |
40,0 |
102 |
40,0 |
40,0 |
0,250 |
0,040 |
08400 |
63000 |
|
DLF-420 |
2500 |
- |
- |
- |
70,0 |
- |
0,050 |
- |
- |
|
PK-420 |
2500 |
- |
- |
- |
60,0 |
- |
0,050 |
- |
- |
|
ВВ-500 |
2000 |
- |
073 |
31,5 |
31,5 |
0,250 |
0,075 |
66000 |
- |
|
ВВБ-500 |
2000 |
35,5 |
090 |
35,5 |
35,5 |
0,100 |
0,080 |
27000 |
30000 |
|
ВНВ-500 |
2000 |
63,0 |
- |
63,0 |
63,0 |
0,100 |
0,060 |
12600 |
- |
|
DLF-525 |
4000 |
- |
- |
- |
70,0 |
- |
0,040 |
- |
- |
|
PK-525 |
4000 |
- |
- |
- |
80,0 |
- |
0,050 |
- |
- |
|
ВВБ-750 |
3200 |
63,0 |
- |
63,0 |
63,0 |
0,100 |
0,060 |
12600 |
90000 |
|
ВНВ-750 |
3200 |
40,0 |
102 |
40,0 |
40,0 |
- |
32500 |
54000 |
|
|
DLF-765 |
4000 |
- |
- |
- |
80,0 |
- |
0,040 |
- |
- |
|
PK-765 |
4000 |
- |
- |
- |
80,0 |
- |
0,050 |
- |
- |
|
ВНВ-1150 |
4000 |
40,0 |
102 |
40,0 |
40,0 |
0,100 |
0,035 |
52500 |
137500 |
II. ОБЩИЕ СВЕДЕНИЯ,
КОНСТРУКЦИЯ И РАБОТА ВВМ-500
2.1. Общие сведения
ВВ типа ВВМ-500 с воздухонаполненным отделителем предназначены для оперативных переключений, отключения токов КЗ, автоматического повторного включения (АПВ), и применяются в электрических сетях переменного трёхфазного тока при номинальном напряжении 500 кВ.
ВК относится к категории быстродействующих и представляет собой комплект из трёх однополюсных ВВ, не имеющих механической связи и соединённых в один агрегат с помощью общих агрегатных шкафов: пневматического и электрических цепей.
Пополюсное и трёхполюсное дистанционное управление ВК осуществляется электромагнитами управления (пополюсное управление – при получении электромагнитами отдельных полюсов независимых импульсов, трёхполюсное – - при получении одновременного общего (командного) импульса).
Нормальная работа ВВМ-500 обеспечивается при высоте над уровнем моря не более 1000 м и температуре окружающей среды от –55 до +35 С с кратковременным понижением температуры до -58 С и повышением до +40 С.
2.2. Структура условного обозначения
ВВМ - 500 - 2000/20000, где
В - выключатель; В - воздушный; М – морозостойкое исполнение; 500 - номинальное напряжение, кВ; 2000 - номинальный ток, А; 20000 - номинальная мощность отключения, МВ.А.
2.3. Технические данные
В работе и в эксплуатации важным является знание параметров ВК, таких как номинальный ток, номинальное напряжение, номинальный ток отключения, собственное время выключения, время горения дуги и т.д. В таблице 2 приводятся основные технические данные ВВМ-500.
Таблица 2. Основные технические данные ВВМ-500
|
Наименование параметра |
Норма |
|
1. Номинальное напряжение, кВ |
500 |
|
2. Наибольшее рабочее напряжение, кВ |
525 |
|
3. Номинальный ток, А |
2000 |
|
4. Номинальная мощность отключения для трёхфазного выключателя, МВ.А |
20000 |
|
5. Ток отключения, кАэфф |
29 |
|
6. Предельный сквозной ток, кА: - амплитудное значение - эффективное значение |
73 42 |
|
7. Ток термической стойкости, кАэфф: - односекундный - пятисекундный |
42 29 |
|
8. Номинальное напряжение электромагнитов управления постоянного тока, В |
220 |
Таблица 2. Основные технические данные ВВМ-500 (продолжение)
|
Наименование параметра |
Норма |
|
9. Допустимые пределы колебания напряжения на зажимах электромагнитов управления, % от Uном |
65120 |
|
10. Номинальное давление сжатого воздуха, атм |
20 |
|
11. Допустимые пределы изменения давления, атм: - без АПВ - с АПВ |
1621 1921 |
|
12. Ёмкость резервуаров выключателя, л |
22400 |
|
13. Падение давления (сброс) воздуха в резервуарах выключателя за одну операцию отключения (при замере через 30 сек после совершения операции), атм |
3 |
|
14. Расход воздуха на одно отключение, л |
66000 |
|
15. Расход воздуха на АПВ, л |
99000 |
|
16. Расход воздуха на вентиляцию, л/ч |
1800 3600 |
|
17. Расход воздуха на утечки (через неплотности тележки полюса и пневматического агрегатного шкафа), л/ч: - при включенном выключателе - при отключенном выключателе |
100 100 |
|
18. Падение давления воздуха в резервуарах ВВ при АПВ, атм |
4,5 |
|
19. Время включения, сек |
0,26 0,02 |
|
20. Время отключения, сек |
0,07 0,08 |
|
21. Собственное время отключения не более, сек |
0,06 |
|
22. Бесконтактная пауза при АПВ (время от размыкания последнего разомкнувшегося контакта ДУ до первого вибрационного смыкания контактов отделителя в цикле «О-В-О») не более, сек |
0,3 |
|
23. Бесконтактная пауза ДУ, сек |
0,16 0,18 |
|
24. Разброс при включении трёх полюсов не более, сек |
0,04 |
|
25. Отключающая способность контактов электроконтактных манометров, Вт |
10 |
|
26. Мощность подогревательных устройств, Вт: - без учёта агрегатных шкафов - с агрегатными шкафами |
3600 5200 |
Величины расхода воздуха, указанные в таблице 2 приведены к атмосферному давлению. Собственное время отключения ВВ, а также другие механические параметры ВК даны при номинальном давлении сжатого воздуха и при номинальном напряжении на зажимах катушек электромагнитов.
2.4. Конструкция
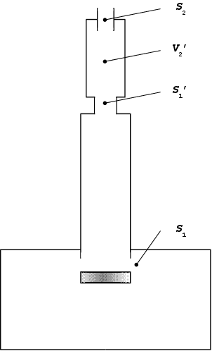
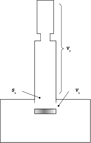
Воздушные выключатели типа ВВМ-500 (рис.1) представляют собой комплект из трёх однополюсных воздушных выключателей, не имеющих механической связи и соединённых в один агрегат с помощью общих агрегатных шкафов (пневматического и электрических цепей). Основные элементы ВВМ-500:
Тележка 1. Основанием каждого полюса выключателя служит тележка, основной частью которой является сосуд для хранения сжатого воздуха, выполненный в виде двух цилиндрических резервуаров диаметром 720 мм;
Резервуары. Резервуары связаны соединительной трубой. В средней части одного из резервуаров (правого) размещён шкаф управления полюса 5, в котором смонтированы элементы управления выключателей: клапаны включения и отключения пневматической схемы, электромагниты управления, блок-контакты с пневматическим приводом, щит с зажимами;
Шкаф управления 5. В шкафу управления каждого полюса имеются указатели положения выключателя 21: сигнальная лампа с красным светофильтром «выключатель включен», сигнальная лампа с зелёным светофильтром «выключатель отключен» и электроконтактный манометр 20, показывающий давление сжатого воздуха в отделителе только при отключенном положении ВК. Кроме того, в шкафу управления находятся счётчик числа срабатываний полюса ВК и нагревательные устройства;
Опорные колонки 6. Опорные колонки служат изоляцией токоведущего контура ВК относительно земли и воздухопроводом для питания дугогасящих узлов ВК сжатым воздухом из резервуаров 1. Для повышения устойчивости опорные колонки усилены растяжками 7 из изоляторов типа СП-110 с пружинными стяжками. В верхней части опорных колонок 6 установлены экраны 19 для выравнивания электрического поля;
Дутьевые клапаны 4, 16. Дутьевые клапаны 4, 16 осуществляют подачу воздуха в камеры ДУ 8 и отделители 15 из резервуаров ВК. Дутьевые клапаны 4, 16 связаны с ДУ и отделителем опорными изоляторами 6;
ДУ 8. ДУ предназначено для гашения дуги при отключении ВК и состоит из двух одинаковых, вертикально расположенных колонок. Каждая колонка камеры состоит из пяти элементов (для каждого полуполюса). Разрез элемента ДУ показан на рис.2. Каждый элемент состоит из фарфоровой рубашки 5, внутри которой находятся неподвижный контакт 2 и механизм подвижного контакта 4, 6, 7, 8, 9. Контактное давление между подвижным 6 и неподвижным 2 контактами обеспечивается сильной пружиной 9. Контакты гасительной камеры 2, 6 – полые. Внутренние полости контактов 2, 6 соединяются с атмосферой через выхлопные клапаны. Выхлопные клапаны находятся на фланцах 1, которые соединяют между собой отдельные элементы камер ДУ. Линейными выводами выключателя являются головки ДУ, которые могут поворачиваться с фиксацией через 30. Параллельно каждому разрыву ДУ подключен элемент омического сопротивления 9. Величина сопротивления элемента 9, шунтирующего один разрыв, составляет примерно 14000 Ом;
Отделитель (ОД) 15 (см. рис.1). ОД (рис.4) служит для создания изоляционного промежутка в отключенном положении ВК и для гашения тока, протекающего через шунт ДУ 9 (см. рис.1). Он состоит также из двух одинаковых, вертикально расположенных колонок. Каждая колонка ОД для выключателя на 500 кВ включает четыре элемента (для каждого полуполюса). Каждый элемент (см. рис.4) заключён в фарфоровую рубашку 8 и имеет подвижный 9 и неподвижный (полый) 11 контакты. Подвижный контакт 9 имеет пневматический механизм при помощи которого производится размыкание контактов и изоляция полости ОД от атмосферы. Элементы ОД соединены фланцами 2. Параллельно разрывам ОД подключены элементы ёмкостного делителя напряжения 18 (см. рис.1), представляющего собой конденсаторы типа ДМН-80-0,0044 на 0,044 мФ или конденсаторы связи типа СМР-55-0,0044 ёмкостью 0,0044 мФ;
Система вентиляции. Система вентиляции ВК предназначена для непрерывной продувки внутренних полостей опорных изоляторов, ДУ и ОД (за исключением внутренней полости отделителя и его опорных колонок в отключенном положении ВК) сухим воздухом с небольшим избыточным давлением (порядка десятых долей атмосферы). Для этой цели применены специальные тальковые редукторы и выхлопные клапаны, открываемые при определённом избыточном давлении;
Пневматический агрегатный шкаф 13 (см. рис.1). Сжатый воздух поступает в резервуары тележек выключателя от пневматического агрегатного шкафа, присоединённого к ответвлению от магистрального воздухопровода через воздухопровод, соединяющий агрегатный шкаф с каждым полюсом ВК.В пневматическом агрегатном шкафу 13 расположены два запорных вентиля, обратный клапан, фильтр, щит с зажимами, устройство для неоперативного ручного пневматического управления, подогреватели;
Агрегатный шкаф электрических цепей 12 (см. рис.1). Электрическое управление ВК осуществляется через агрегатный шкаф электрических цепей 12, в котором помещён щит с зажимами для цепей релейной защиты, сигнализации и блокировки, патрон с выключателем для освещения шкафа 12 и трубчатое подогревательное устройство.
Путь прохождения тока у ВВМ-500 следующий (см. рис.3): линейный вывод камеры ДУ 11 (см. рис.1) одного полуполюса, колонка ДУ (сверху вниз), токоведущая шина между камерой ДУ и ОД другого полуполюса 17 (см. рис.1), колонка ОД (снизу вверх), токоведущая шина между колонками отделителя двух подполюсов 10 (см. рис.1), вторая колонка ОД (сверху вниз), токоведущая шина между ОД и ДУ, вторая колонка ДУ (снизу вверх) и линейный вывод 11 (см. рис.1).
Электропневматическая схема управления полюсом ВВ показана на рис.5. Положение элементов схемы соответствует включенному положению ВК.
Во включенном положении ВК в ДУ и ОД отсутствует сжатый воздух, контакты их замкнуты;
В отключенном положении ВК контакты ДУ замкнуты. ОД заполнен сжатым воздухом, который удерживает его контакты в разомкнутом состоянии и создаёт необходимый изоляционный промежуток.
При включении ВК сжатый воздух выпускается из ОД в атмосферу, и контакты ОД, смыкаясь, производят замыкание силовой цепи ВК.
2.5. Работа
2.5.1. Операция отключения
Отключение ВВМ-500 может быть дистанционным и неоперативным ручным. При дистанционном управлении подаётся командный импульс на катушку отключения (КО) через блок-контакты и замыкается следующая цепь (см. рис.5): положительный полюс оперативного источника тока, ключ управления, блок-контакты, обмотка электромагнита отключения, блок-контакты реле контроля давления РКД-1 и отрицательный полюс оперативного источника тока. Срабатывает электромагнит отключения, и аппарат отключается. Работа схемы управления заключается в следующем.
Сердечник катушки КО, втягиваясь, своим бойком ударяет по штоку промежуточного клапана – толкателя 1, который, передвигаясь, открывает пусковой клапан отключения 2.
Сжатый воздух воздействует на поршень среднего клапана отключения 3 и отодвигает тарелку клапана, механически связанную с поршнем. Затем аналогично клапану 3 последовательно срабатывают клапаны 4 и 5. Благодаря этому открывается доступ сжатому воздуху из-под поршня клапанов 6 через клапаны 5 в атмосферу и перемещаются дифференциальные дутьевые клапаны камеры 6.
Сжатый воздух устремляется из резервуара в ДУ, и подвижные контакты камеры при помощи поршневого механизма расходятся. Сжатый воздух гасит возникшую электрическую дугу, отключает ток короткого замыкания, протекающий через ВВ, и устремляется через выхлопные клапаны в атмосферу. Контакты ДУ смыкаются.
Одновременно с наполнением ДУ сжатый воздух проходит через козырьки 7, направляющие необходимое количество воздуха в соединительные трубки Т2, и с запаздыванием (0,0025 0,05 сек), определяемым длиной и сечением этих воздухопроводов, открывает обратные клапаны 8 и перемещает поршни дутьевых клапанов ОД 9.
В результате сжатый воздух устремляется из резервуара в ОД, размыкает его подвижные контакты и гасит электрическую дугу, ток которой ограничен сопротивлением делителя напряжения, шунтирующего ДУ. После размыкания контактов ОД его внутренняя полость герметизируется, и контакты отделителя «залипают» в разомкнутом состоянии. Сжатый воздух, находящийся между контактами ОД, удерживает контакты в отключенном положении и обеспечивает необходимый изоляционный промежуток в отключенном положении ВК.
Автоматическое отключение происходит таким же образом, но импульс на катушку отключения КО подаётся от реле защиты (РЗ).
При неоперативном ручном пневматическом управлении сжатый воздух подаётся с помощью клапана ручного пневматического отключения 18 по трубке Т4 в промежуточный клапан – толкатель 1, находящийся между катушкой отключения КО и пусковым клапаном 2. Поршень промежуточного клапана своим бойком открывает пусковой клапан 2. Дальнейший процесс отключения выключателя происходит так же, как и при дистанционном управлении.
2.5.2. Операция включения
При отключенном положении ВК тарелки дутьевых клапанов 9 отодвинуты так, что сжимают пружину клапана и открывают свободный доступ воздуху из резервуара.
Включение, как и отключение, может быть дистанционное и неоперативное ручное с помощью клапана ручного пневматического управления, находящегося в пневматическом агрегатном шкафу.
При дистанционном управлении подаётся командный импульс на катушку включения (КВ) через блок-контакты и замыкается следующая цепь: положительный полюс оперативного источника тока, ключ управления, блок-контакты, нормально замкнутые блок-контакты электромагнита отключения, контакты реле контроля давления РКД-1 и отрицательный полюс оперативного источника тока.
Электромагнит включения срабатывает, и аппарат включается. При этом сердечник катушки КВ втягивается и своим бойком ударяет по штоку промежуточного клапана-толкателя 12, который при движении открывает пусковой клапан включения 13. Сжатый воздух воздействует на поршень среднего клапана включения 14 и отодвигает тарелку клапана, механически связанную с его поршнем. Затем аналогично срабатывает большой клапан включения 15. При этом поршнями дутьевых клапанов ОД 9 открывается доступ сжатого воздуха из полостей между обратными клапанами 8 в атмосферу через клапан 15.
Клапаны ОД 9 срабатывают, как дифференциальные клапаны, за счёт получающейся разности давления с обеих сторон поршня и выпускают сжатый воздух из полости ОД в атмосферу. Являясь клапанами двухстороннего действия, клапаны ОД одновременно закрывают доступ сжатого воздуха из резервуара в ОД.
При неоперативном ручном пневматическом управлении сжатый воздух подаётся с помощью клапана неоперативного пневматического включения 17 по трубке Т5 в промежуточный клапан-толкатель 12, находящийся между КВ и пусковым клапаном 13. Поршень промежуточного клапана своим бойком открывает пусковой клапан 13. Дальнейший процесс включения ВК происходит так же, как при дистанционном управлении ВК.
2.6. Комплектность
В комплект поставки ВВМ-500 входят:
Три полюса ВК;
Два агрегатных шкафа (пневматический и электрических цепей);
Арматура для присоединения воздухопроводов (питающих и ручного пневматического управления) к полюсам ВК и пневматическому агрегатному шкафу;
Комплект запасных частей, поставляемых с каждым ВК;
Комплект запасных частей, поставляемых в один адрес отгрузки, независимо от числа ВК;
Комплект специального инструмента и приспособлений для сборки узлов выключателя и испытания фарфоровых изоляторов поставляется в один адрес отгрузки, независимо от числа ВК;
Техническая документация.
III. РАСЧЁТ ОБЩЕЙ
ЭЛЕКТРИЧЕСКОЙ ИЗОЛЯЦИИ
В конструкции выключателя должна быть обеспечена надёжная изоляция:
Между частями, находящимися под напряжением и заземлёнными частями;
Между находящимися под высоким напряжением частями соседних полюсов при любом коммутационном положении ВК;
Между имеющими различные потенциалы частями одного полюса при полностью разомкнутых контактах.
Электрическая прочность основных изоляционных промежутков ВК должна соответствовать виду и величине перенапряжений, которые могут возникнуть на зажимах аппарата при эксплуатации его в установке на данный класс напряжения. В таблицах 3,4,5 приведены необходимые для расчётов данные об уровне изоляции ВК на напряжение класса 500 кВ по ГОСТ 1516.1-75.
Уровень общей изоляции выключателя обеспечивается путём выбора необходимых изоляционных промежутков и определяющих основных размеров изоляционных элементов. Выбор подлежащих расчёту промежутков в конструктивной схеме выключателя производится из определения наиболее вероятных путей развития электрического разряда. При этом приняты во внимание особенности проектируемого выключателя, а также характер протекания процесса отключения. Напряжение, при котором возникает перекрытие или пробой того или иного промежутка при определённом характере воздействия зависит от размеров и формы рассматриваемых промежутков, а также от свойств и состояния электроизоляционной среды или изоляционного материала.
Таблица 3. Нормируемые испытательные напряжения ВК
с нормальной изоляцией при Uном = 500 кВ
|
Испытательное напряжение, кВ |
||||||
|
Грозовой импульс (максимальное значение) |
Кратковременное промышленной частоты (действующее) |
|||||
|
Внутр. изоляция |
Внешняя изоляция |
Одноминутное внутренней изоляции (между контактами одного и того же полюса) |
При плавном подъёме, внешней изоляции |
|||
Относительно земли, между контактами одного и того же полюса |
Относительно земли, между контактами одного и того же полюса |
|||||
Относительно земли |
Между контактами одного и того же полюса |
|||||
В сухом состоянии |
Под дождём |
В сухом состоянии |
Под дождём |
|||
|
Uвнут |
Uимп |
Uвнут |
Uсух |
Uдож |
Uсух |
Uдож |
|
1500 |
1600 |
1030 |
900 |
740 |
1225 |
1000 |
Таблица 4. Нормируемые испытательные
коммутационные импульсы при Uном = 500 кВ
|
Испытательный коммутационный импульс Uком (максимальное значение), кВ |
|||||
|
Для внутренней изоляции |
Для внешней изоляции |
||||
|
В сухом состоянии |
Под дождём |
||||
Относительно земли |
Между контактами одного и того же полюса |
Относительно земли |
Между контактами одного и того же полюса |
Относительно земли |
Между контактами одного и того же полюса |
|
1300 |
1730 |
1300 |
1730 |
1300 |
1730 |
Таблица 5. Нормируемые испытательные напряжения изоляторов
с нормальной изоляцией, испытываемых отдельно от ВК при Uном = 500 кВ
|
Испытательное напряжение, кВ |
|||
|
Грозовой импульс (максимальное значение) |
Кратковременное промышленной частоты (действующее) |
||
Для внешней изоляции |
Одноминутное внутренней изоляции |
При плавном подъёме, внешней изоляции |
|
В сухом состоянии |
Под дождём |
||
|
Uимп |
Uвнут |
Uсух |
Uдож |
|
1600 |
760 |
900 |
740 |
Распределение напряжения, приложенного к колонке опорных изоляторов (см. рис.6), по её высоте неравномерно. Наиболее нагруженным оказывается верхний изолятор, а наименее нагруженным – нижний. Разрядное напряжение такой колонки ниже, чем у одного изолятора, имеющего высоту колонки, т.к. значительное напряжение будет приложено к верхнему изолятору колонки. При этом может оказаться, что напряжение, приходящееся на верхний изолятор, будет больше его напряжения перекрытия и, следовательно, сначала произойдёт перекрытие этого изолятора, а затем и всей колонки.
Для выравнивания распределения напряжения по отдельным изоляторам, составляющим колонку, применяется экран, который устанавливается на верхнем изоляторе колонки. В ВВМ-500 применены четыре экрана, установленные на верхних изоляторах каждой из четырёх колонок полюса. Т.о. при расчетах изоляции опорных колонок коэффициентом неоднородности поля можно пренебречь, считая, что экран устраняет неоднородность поля.
На рис.6 показаны основные, подлежащие расчёту изоляционные промежутки.

Рис.6. Основные изоляционные промежутки полюса ВВМ-500
3.1. Определение типа основных изоляционных промежутков
Изоляционные промежутки подразделяются на промежутки внешней и внутренней изоляции. Внешняя изоляция – изоляция, подвергающаяся влиянию атмосферных и других внешних воздействий (к ней относятся воздушные промежутки и поверхности твёрдой изоляции, находящиеся в атмосферном воздухе). Внутренняя изоляция – изоляция, не подвергающаяся непосредственному влиянию атмосферных и других внешних воздействий (загрязнению, увлажнению, воздействию насекомых). Кроме этого, при проектировании изоляции различается форма электродов между которыми происходит разряд, т.к. разрядное напряжение сильно зависит не только от того, к внутренней или внешней изоляции относится промежуток, но и от того какой вид и полярность он имеет: «игла-игла», «игла-плоскость», «стержень-плоскость» и т.д. На рис.6 показаны следующие промежутки:
l1 - промежуток внешней изоляции типа «игла-плоскость», находящийся в атмосферном воздухе (кратчайшее расстояние по колонке опорных изоляторов);
l2 - промежуток внешней изоляции типа «игла-игла», находящийся в атмосферном воздухе (кратчайшее расстояние между фланцами по наружной поверхности опорного изолятора);
l3 – промежуток внешней изоляции типа «игла-игла», находящийся в атмосферном воздухе (кратчайшее расстояние между фланцами отдельного разрыва ДУ по наружной поверхности фарфорового изолятора);
l5 - промежуток внешней изоляции типа «игла-игла», находящийся в атмосферном воздухе (кратчайшее расстояние между фланцами отделителя и ДУ полуполюса);
l4 - промежуток внешней изоляции типа «игла-игла», находящийся в атмосферном воздухе (кратчайшее расстояние между фланцами отделителя по наружной поверхности изолятора);
l6 - промежуток внутренней изоляции типа «игла-игла», находящийся в сжатом воздухе (кратчайшее расстояние между контактами ДУ в разомкнутом состоянии);
l7 - промежуток внутренней изоляции типа «игла-игла», находящийся в сжатом воздухе (кратчайшее расстояние между разомкнутыми контактами отделителя).
При установке ВК на высоте над уровнем моря до 1000 м расчетные напряжения промышленной частоты для внешней изоляции в сухом состоянии Uрасч и под дождём Uрасч.д; для внутренней изоляции Uрасч’ и расчётные напряжения грозовых Uрасч.гр и коммутационных импульсов Uрасч.ком выбираются идентично:
Uрасч = (1,05 1,1).Uсух; Uрасч.д = (1,05 1,1).Uдож;
Uрасч’ = (1,05 1,1).Uвнут; Uрасч.гр = (1,05 1,1).Uимп;
Uрасч.ком = (1,05 1,1).Uком; Uрасч.пр = (1,05 1,1).Uсух.Kпр,
где Uсух, Uдож, Uвнут, Uимп – нормируемые по ГОСТ 1516.1-75 испытательные напряжения (см. таблицы 3,4,5); Kпр 1,6 {5, стр. 89}.
3.2. Расчёт промежутков внешней изоляции, подвергаемых
воздействию разрядного напряжения промышленной частоты
При напряжении частоты 50 Гц минимальная длина изоляционного промежутка l*, см определяется по соответствующим значениям Uрасч, кВ; Uрасч.д, кВ
В сухом состоянии {5, стр.88; стр.122, ф.(3-14), ф.(3-15)}, таблица 3
- Для промежутка l1 минимальная длина составляет:
l1* = 0,285.Uрасч - 2,85 = 0,285.(1,05 1,1).Uсух - 2,85,
l1* = 0,285.(1,05 1,1).900 - 2,85 = 266,5 279,3 см;
- Для промежутка l2 минимальная длина составляет:
l2* = 0,27.Uрасч - 2,7 = 0,27.(1,05 1,1).Uдож/n - 2,7,
l2* = 0,27.(1,05 1,1).Uдож/n - 2,7 = 0,27.(1,05 1,1).1225/4 - 2,7,
l2* = 84,1 88,3 см;
- Для промежутка l3 минимальная длина составляет:
l3* = 0,27.Uрасч - 2,7 = 0,27.(1,05 1,1).Uдож/n - 2,7,
l3* = 0,27.(1,05 1,1).Uдож/n - 2,7 = 0,27.(1,05 1,1).1225/10 - 2,7,
l3* = 32,0 33,7 см;
- Для промежутка l4 минимальная длина составляет:
l4* = 0,27.Uрасч - 2,7 = 0,27.(1,05 1,1).Uдож/n - 2,7,
l4* = 0,27.(1,05 1,1).Uдож/n - 2,7 = 0,27.(1,05 1,1).1225/8 - 2,7,
l4* = 40,7 42,8 см;
- Для промежутка l5 минимальная длина составляет:
l5* = 0,27.Uрасч - 2,7 = 0,27.(1,05 1,1).Uдож - 2,7,
l5* = 0,27.(1,05 1,1).Uдож - 2,7 = 0,27.(1,05 1,1).1225 - 2,7,
l5* = 344,6 361,1 см.
Под дождём {5, стр.88; стр.122, ф.(3-14), ф.(3-15)}, таблица 3
- Для промежутка l1 минимальная длина составляет:
l1* = 0,285.Uрасч.д - 2,85 = 0,285.(1,05 1,1).Uдож - 2,85,
l1* = 0,285.(1,05 1,1).740 - 2,85 = 218,6 229,1 см;
- Для промежутка l2 минимальная длина составляет:
l2* = 0,27.Uрасч.д - 2,7 = 0,27.(1,05 1,1).Uдож/n - 2,7,
l2* = 0,27.(1,05 1,1).Uдож/n - 2,7 = 0,27.(1,05 1,1).1000/4 - 2,7,
l2* = 68,2 71,6 см;
- Для промежутка l3 минимальная длина составляет:
l3* = 0,27.Uрасч.д - 2,7 = 0,27.(1,05 1,1).Uдож/n - 2,7,
l3* = 0,27.(1,05 1,1).Uдож/n - 2,7 = 0,27.(1,05 1,1).1000/10 - 2,7,
l3* = 25,7 27,0 см;
- Для промежутка l4 минимальная длина составляет:
l4* = 0,27.Uрасч.д - 2,7 = 0,27.(1,05 1,1).Uдож/n - 2,7,
l4* = 0,27.(1,05 1,1).Uдож/n - 2,7 = 0,27.(1,05 1,1).1000/8 - 2,7,
l4* = 32,7 34,4 см;
- Для промежутка l5 минимальная длина составляет:
l5* = 0,27.Uрасч.д - 2,7 = 0,27.(1,05 1,1).Uдож - 2,7,
l5* = 0,27.(1,05 1,1).Uдож - 2,7 = 0,27.(1,05 1,1).1000 - 2,7,
l5* = 280,8 294,3 см.
3.3. Расчёт промежутков внешней изоляции,
подвергаемых воздействию грозовых импульсов
При полных грозовых импульсах положительной (+) и отрицательной (-) полярности полного импульса 1,5/40 мксек минимальная длина изоляционного промежутка l*, см определяется по Uрасч.гр, кВ.
При импульсах положительной (+) полярности {5, стр.124, рис.3-15}
- Для промежутка l2 минимальная длина составляет:
Uрасч.гр = (1,05 1,1).Uимп/n = (1,05 1,1).1600/4 = 420 440 кВ,
l2* = 65,0 70,0 см;
- Для промежутка l3 минимальная длина составляет:
Uрасч.гр = (1,05 1,1).Uимп/n = (1,05 1,1).1600/10 = 168 176 кВ,
l3* = 19,0 21,0 см;
- Для промежутка l4 минимальная длина составляет:
Uрасч.гр = (1,05 1,1).Uимп/n = (1,05 1,1).1600/8 = 210 220 кВ,
l4* = 65,0 70,0 см;
При импульсах отрицательной (-) полярности
- Для промежутка l2 минимальная длина составляет:
Uрасч.гр = (1,05 1,1).Uимп/n = (1,05 1,1).1600/4 = 420 440 кВ,
l2* = 55,0 60,0 см;
- Для промежутка l3 минимальная длина составляет:
Uрасч.гр = (1,05 1,1).Uимп/n = (1,05 1,1).1600/10 = 168 176 кВ,
l3* = 17,0 19,0 см;
- Для промежутка l4 минимальная длина составляет:
Uрасч.гр = (1,05 1,1).Uимп/n = (1,05 1,1).1600/8 = 210 220 кВ,
l4* = 21,0 22,0 см.
Для промежутков l1 и l5 значения Uрасч.гр лежат далеко за пределами графической зависимости Uрасч.гр = f(l) {5, стр.124, рис.3-15}, но судя по тенденции расчётов, значения l1* и l5* будут ниже соответствующих значений при проверке изоляционных промежутков l1 и l5 на воздействие разрядного напряжения промышленной частоты, а т.к. из расчётных значений l* в конечном итоге выбирается наибольшее, то точную проверку l1 и l5 на грозовое воздействие можно не делать.
3.4. Расчёт промежутков внешней изоляции,
подвергаемых воздействию грозовых импульсов
При полных грозовых импульсах положительной (+) и отрицательной (-) полярности полного импульса 1,5/40 мксек минимальная длина изоляционного промежутка l*, см определяется по Uрасч.гр, кВ.
При импульсах положительной (+) полярности {5, стр.124, рис.3-15}
- Для промежутка l2 минимальная длина составляет:
Uрасч.гр = (1,05 1,1).Uимп/n = (1,05 1,1).1600/4 = 420 440 кВ,
l2* = 65,0 70,0 см;
- Для промежутка l3 минимальная длина составляет:
Uрасч.гр = (1,05 1,1).Uимп/n = (1,05 1,1).1600/10 = 168 176 кВ,
l3* = 19,0 21,0 см;
- Для промежутка l4 минимальная длина составляет:
Uрасч.гр = (1,05 1,1).Uимп/n = (1,05 1,1).1600/8 = 210 220 кВ,
l4* = 65,0 70,0 см;
При импульсах отрицательной (-) полярности
- Для промежутка l2 минимальная длина составляет:
Uрасч.гр = (1,05 1,1).Uимп/n = (1,05 1,1).1600/4 = 420 440 кВ,
l2* = 55,0 60,0 см;
- Для промежутка l3 минимальная длина составляет:
Uрасч.гр = (1,05 1,1).Uимп/n = (1,05 1,1).1600/10 = 168 176 кВ,
l3* = 17,0 19,0 см;
- Для промежутка l4 минимальная длина составляет:
Uрасч.гр = (1,05 1,1).Uимп/n = (1,05 1,1).1600/8 = 210 220 кВ,
l4* = 21,0 22,0 см.
Для промежутков l1 и l5 значения Uрасч.гр лежат далеко за пределами графической зависимости Uрасч.гр = f(l) {5, стр.124, рис.3-15}, но судя по тенденции расчётов, значения l1* и l5* будут ниже соответствующих значений при проверке изоляционных промежутков l1 и l5 на воздействие разрядного напряжения промышленной частоты, а т.к. из расчётных значений l* в конечном итоге выбирается наибольшее, то точную проверку l1 и l5 на грозовое воздействие можно не делать.
3.5. Расчёт промежутков внутренней изоляции
К промежуткам внутренней изоляции относятся l6 и l7. Проверка производится по формуле
l = Uр.нп/(Eм.доп.kимп), где
Uр – расчётное значение разрядного напряжения (Uрасч’, Uрасч.гр’, Uрасч.ком’);
нп – коэффициент неоднородности поля, в данном случае нп = 1,4;
Eм.доп -
IV. РАСЧЁТ ТОКОВЕДУЩЕЙ СИСТЕМЫ
В НОМИНАЛЬНОМ РЕЖИМЕ И ПРИ КЗ
4.1. Расчёт токовых характеристик ВК
4.1.1. Номинальный ток
Номинальный ток ВК – наибольший допустимый по условиям нагрева частей ВК ток нагрузки в продолжительном режиме, на который рассчитан ВК
Iном = 2000 А.
4.1.2. Номинальный ток отключения
Номинальный ток отключения ВК – наибольший ток (действующее значение периодической составляющей) в момент размыкания контактов, на отключение которого рассчитан ВК при нормированных условиях его коммутационной способности
Iном.о = 31,5 кА.
4.1.3. Апериодическая составляющая
Нормированное процентное содержание апериодической составляющей – наибольшее допустимое по коммутационной способности ВК отношение апериодической составляющей к амплитуде периодической составляющей номинального тока отключения ВК в момент размыкания контактов
н = 47.
4.1.4. Сквозные токи КЗ
ВК во включенном положении должен выдерживать без повреждений, могущих препятствовать его исправной работе, электродинамическое и термическое воздействие сквозных и ударных токов КЗ
- Предельный сквозной ток КЗ
i пс = 1,8.2.I ном.о = 1,8.2.31,5 = 80,186 кА;
- Эффективное значение предельного сквозного тока КЗ
I пс = i пс/3 = 80,186/3 = 46,295 кА;
- Предельный ток термической стойкости
I пс = I ном.о = 31,5 кА;
- Время протекания предельного тока термической стойкости
T пт = 2 c.
4.1.5. Ударные токи КЗ
- Ударный ток КЗ:
i уд = i пс = 80,186 кА;
- Эффективное значение ударного тока КЗ:
I уд = i уд/3 = 80,186/3 = 46,295 кА.
4.2. Расчёт кратковремённого нагрева токоведущих частей токами КЗ
Условие термической стойкости токоведущих частей: к < доп. Используя кривые адиабатического нагрева проводников = f(A){6, стр.83}, можно найти температуру токоведущих частей в конце КЗ к и сравнить её с предельно допустимой температурой нагрева доп.
Значение коэффициента А при температуре к определяется по формуле:
Ак = Ан + (Iт/F)2.tт, где
Ан – значение коэффициента А при температуре проводника перед началом КЗ н, равной наибольшей допустимой температуре нагрева при длительной работе при номинальном токе;
Ак - значение коэффициента А при температуре проводника н;
Iт - ток КЗ (термической стойкости), протекающий за время tт = 2 сек.
Проверке подлежат
Медный ламельный контакт ДУ
н = 90С {ГОСТ 8024-84}, доп = 300 С, Ан = 1,60.1016 А.сек/м2
Ак = 1,6.1016 + (31500/0,00257)2.2 1,65.1016 А.сек/м2
к = 120 С < доп.
Латунная токоведущая труба ДУ
н = 60С {ГОСТ 8024-84}, доп = 250 С, Ан = 0,40.1016 А.сек/м2 4
Ак = 0,40.1016 + (31500/0,003890)2.2 0,50.1016 А.сек/м2
к = 145 С < доп.
Рис 7. Тепловая модель ДУ ВВМ-500
4.3. Исходные данные для расчёта
нажатия в скользящем ламельном контакте
Исходные данные взяты из литературы {4}, {5}, {6}, таблицы 2.
- Номинальный ток выключателя Iном = 2000 А;
- Максимальная температура контактов из меди и
медных сплавов доп = 120 C;
- Превышение температуры контакта над температурой
удалённых точек = 5 К;
- Количество ламелей m = 15;
- Количество точек касания для линейного контакта n = 2;
- Удельное сопротивление меди при 0 C 0= 1,62.10-8 Ом.м;
- Температурный коэффициент электрического
сопротивления меди при 0 C = 0,00433 K-1;
- Теплопроводность меди при 0 C 0 = 388 Вт/(м.К);
- Микротвёрдость меди при 0 C H = 730 МПа;
- Температура плавления меди 0 = 1083 С;
- Температурный коэффициент электрического
сопротивления меди при 0 C = 0,00433 K-1;
- Коэффициент шероховатости поверхности м = 1;
- Коэффициент неравномерности по точкам касания kн = 1,1 1,3.
Предварительные расчёты:
= 0.(1+cu.доп) = 1,62.10-8.(1 + 0,00433.105) = 2,357.10-8 Ом.м;
= 0.(1 - т.доп) = 388.(1 - 1,8.10-4.120) = 379,619 Вт/(м.К);
н = 273 + доп = 273 + 120 = 393 К; пл = 273 + пл = 273 + 1083 = 1356 К;
H=H.[1-(н/пл)2/3]/[1-(273/пл)2/3]=730.[1-(393/1356)2/3]/[1-(273/1356)2/3]; H = 622,5 МПа.
Расчёт контактного нажатия по сферической формуле:
Fк.сфр = [n.(Iном/(n.m).kн)2.kл..м.Hб]/[16.2.(аrccos(Tк/Tм))2];
Fк.сфр = [2.(2000/(2.15).1,2)2.2,357 10-8.3,14159.3,7.108]/
/[16.379,6192.(аrccos(388/393))2];
Fк.сфр = 7,826 H.
Расчёт контактного нажатия по эллиптической формуле:
Fк.элп = [n.(Iном/(n.m).kн)2...см]/[32..(Tк - Tм)];
Fк.элп = [2.(2000/(2.15).1,2)2.2,357.10-8.3,14159.3,7.108]
/[32.379,619.(388 - 393)];
Fк.элп = 7,972 H.
4.4. Расчёт параметров скользящего
ламельного контакта ДУ программой {4}
- Исходные данные:
Исходные данные для расчёта взяты из {3}, {4}, {5}.
Материал контактной пары латунь/медь;
Номинальный ток 2000 А;
Номинальный ток отключения 31500 А;
Допустимая температура в номинальном режиме 120+273=393 К;
Допустимая температура при КЗ 300+273=573 К;
Температура плавления 1083+273=1356 К;
Твердость по Бринелю при 0С 5.108 Н/м2;
Теплопроводность 388 Вт/(м.К);
Длина ламели 0,051 м;
Внутренний диаметр ламели 0,082 м;
Внешний диаметр ламели 0,116 м;
Сечение ламели 0,001785 м2;
Число ламелей 15;
Число точек касания 2.
- Результаты расчёта:
В номинальном режиме сила контактной пружины 7,953 Н;
В режиме короткого замыкания максимальная
температура точки касания 1247 К;
Электродинамическая сила притяжения,
действующая на одну ламель 13,083 Н;
Электродинамическая сила отталкивания,
действующая на одну ламель 6,830 Н;
Фактическое нажатие 10,230 Н;
Переходное сопротивление контакта 7,559.10-6 Ом;
Тепловые потери в контакте 30,236 Вт.
4.5. Расчёт распределения температуры методом тепловых схем
Расчёт распределения температуры по длине стержневой системы, состоящей из нескольких участков (стержней), каждый из которых имеет постоянное сечение, основан на использовании метода тепловых схем. В практику тепловых расчётов вводится понятие «тепловой четырёхполюсник». Рассматривается стержневая система, состоящая из n участков. В этой системе выделяется j-й участок конечной длины, имеющий равномерно распределённый объёмный источник энергии и взаимодействующий с участками i (i = j - 1) и k (k = j + 1). Пусть в установившемся режиме теплообмена данный участок j воспринимает от участка i какое-то количество тепла (Q1), передаёт участку k, количество тепла (Q2), а с его боковой поверхности в окружающую среду уходит тепловой поток Q2. Избыточные температуры на концах участка равны ij jk.
Рассмотренный случай взаимодействия j-го участка с соседними участками и с окружающей средой может быть представлен в виде симметричной Т-образной тепловой схемы – теплового четырёхполюсника, параметры которого (Rj’, Rj’’, yj) таковы, что при заданных значениях ij и jk тепловые потоки Q1, Q2 и Q3 сохраняют свои значения. Замена каждого участка стержневой системы подобной тепловой схемой и их соответствующее соединение даёт тепловую схему всей стержневой системы, при этом условия сопряжения на стыках соседних участков выполняются автоматически.
Полученную тепловую схему стержневой системы рассчитывают и находят избыточные температуры на концах каждого участка.
Далее устанавливается взаимосвязь между температурами на концах j-го участка (ij и jk) с распределением температуры по его длине, а также взаимосвязь между геометрическими и тепловыми параметрами j-го участка с элементами тепловой схемы. Для этого находится распределение температуры по длине j-го участка, причём известны и не зависят от температуры длина стержня L, избыточные температуры на его концах ij и jk, коэффициенты теплопроводности и теплоотдачи kэкв, периметр S, сечение F и удельная мощность равномерно распределённого объёмного источника энергии W.
Этот случай описывается дифференциальным уравнением
d2/dx2 – b2. = - W/, b2 = kэкв.S/.F,
решение его при граничных условиях j(0) = ij и j(L) = jk имеет вид:
j(x) = (1/sh(b.L)).[(ij - yj).ch(L – x).b + (jk - yj).sh(b.x)] + yj
Из дифференциального уравнения находятся тепловые потоки Q1 и Q2
Q1 = - .F.(d/dx)x=0 = (.F.b)/(sh(b.L)).[(ij - yj).ch(b.L) - (jk - yj)];
Q2 = - .F.(d/dx)x=L = (.F.b)/(sh(b.L)).[(ij - yj) - ch(b.L).(jk - yj)].
Установившаяся температура, которую имел бы участок при отсутствии взаимодействия с другими участками
yj = a2/b2, а2 = j2./ + kэкв.S.0/.F;
yj = (j2..F + kэкв.S.0)/(kэкв.S).
Для тепловой схемы с использованием законов Кирхгофа
![]()
Q1 – Q2 – Q3 = 0;
- ij + Q1.Rj’ + Q3.Rj’’ + yj = 0;
- ij + Q3.Rj’’ + Q2.Rj’ + ik = 0.
Решая систему уравнений относительно Rj’ и Rj’’, можно получить выражения для тепловых сопротивлений участков конечной длины
Rj’ = (ch(b.L) – 1)/(.F.b.sh(b.L)); Rj’’ = 1/(.F.b.sh(b.L)).
Расчёт тепловых сопротивлений Rj’ и Rj’’, установившихся температур yj участков системы сведём в таблицу 6.
Влияние контакта учитывается дополнительным подводом тепла
Pк = Iном2.Rк,
где Rк – переходное сопротивление контакта.
Pк = 20002.7,559.10-6 = 30,236 Вт;
Тепловая схема замещения токоведущей системы представлена в приложении. Для расчёта распределения температуры по длине токопровода методом тепловых схем используется программный пакет, разработанный на кафедре ТВН.
Таблица 6. Исходные данные для программного теплового расчёта
|
Параметры |
I - VIII |
II - VII |
III - VI |
IV - V |
|
L, м |
0,060 |
0,060 |
0,140 / 0,400 |
0,050 / 0,060 |
|
S, м |
1,130 |
0,314 |
0,314 |
0,188 |
|
F, м2.10-2 |
10,0 / 17,0 |
7,540 |
7,540 |
5,720 |
|
, Вт/(м.°С) |
040 |
160 |
160 |
100 |
|
j, А/м2.106 |
0,020 |
0,265 |
0,265 |
0,140 |
|
Rт, (м.°С)/Вт |
- |
0,623 |
0,128 |
0,200 |
|
kэкв, Вт/(м2.°С) |
- |
4,683 |
16,390 |
20,050 |
|
b |
- |
0,350 |
0,653 |
0,813 |
|
Rj’, Ом |
0,003 |
0,373 |
0,116 / 0,274 |
0,078 |
|
Rj’’, Ом |
0,760 |
14,140 |
1,710 / 0,610 |
4,600 |
|
yj,°С |
40,0 |
61,5 |
47,2 |
57,0 |
L - длина участка с однородной изоляцией;
S - периметр токоведущего стержня на участке однородности;
F - сечение токопровода на участке однородности;
- коэффициент теплопроводности материала токопровода на участке;
j – плотность тока;
- коэффициент теплопроводности материала токопровода на участке.
V. РАСЧЁТ ГАЗОДИНАМИЧЕСКИХ
ПРОЦЕССОВ В ДУ
ВВ представляет собой сложный пневматический аппарат автоматического действия, в котором все основные операции, связанные с его работой: гашение дуги, перемещение размыкающихся контактов и ряд других - осуществляются посредством сжатого воздуха. Из этого следует, что с тем или иным циклом работы такого выключателя связана совокупность газодинамических процессов, протекающих в отдельных элементах или одновременно, или в определённой последовательности.
Основными газодинамическими процессами в ВВ являются:
Истечение сжатого воздуха из резервуаров, камер;
Наполнение сжатым воздухом воздухопроводов, камер гашения дуги;
Движение воздуха в трубах, отверстиях и насадках.
Ходом этих процессов непосредственно определяются наиболее важные эксплуатационные характеристики ВК (время отключения, время включения, дугогасящая способность, сброс давления в резервуаре и др.).
При рассмотрении газодинамических процессов в большом числе случаев задачу можно упростить, сделав следующие предположения:
Истечение газа происходит адиабатически;
Процесс истечения имеет установившийся характер;
Потери на трение в большинстве случаев отсутствуют.
5.1. Расчёт динамики пневматического механизма ДУ ВВ
Во включенном состоянии ВВ, давление в колонке ДУ равно атмосферному, т.е. p0 = pа = 0,1 МПа. При подаче команды управления на отключение ВВ в течение менее 0,06 сек {3} контакты ДУ должны разойтись под воздействием давления сжатого воздуха, наполняющего в это время колонку камер ДУ. В момент, когда давление сжатого воздуха сравняется с давлением сопротивления со стороны поршневого механизма подвижного контакта ДУ, подвижный контакт придёт в движение.
Сила сопротивления сжатому воздуху Qc
Qc = Qп + Pпч + Qтр = 1765,197 + 112,776 + 50 = 1927,937 Н, где
Qп - сила номинального контактного нажатия, Qп = 180.9,807 = 1765,197 Н;
Pпч - вес подвижных частей (буфера, поршневого кольца, пружины поршневого механизма и подвижного контакта), Pпч = 112,776 Н; {3}
Qтр - сила трения в скользящем контакте, принимаем Qтр = 50 Н.
Давление, при котором поршневое кольцо камеры ДУ начнёт перемещаться
pтр = p0 + Qc/S = 0,1.106 + 1927,937/(5,027.10-3) = 0,483 МПа, где
S - активная площадь поршневого кольца камеры,
S = (/4).(dн2 – dв2) = (3,142/4).(0,1162 – 0,0842) = 5,027.10-3 м2, где
dн и dв – соответственно, наружный и внутренний диаметры поршня {3}.
Давление сжатого воздуха в ДУ в первом приближении можно принять
pt = pтр + b.t, где
b - постоянная нарастания давления наполнения ДУ, b = 600 сек-1;
t – время протекания процесса.
Ход подвижных контактов
h(t)= S/(6.10-5.mпч).b.t3 = 5,027.10-3/(6.10-5.11,5).600.t3 = 4,371.103.t3, где
mпч – масса подвижных частей (буфера, поршневого кольца, пружины поршневого механизма и подвижного контакта), mпч 11,5 кг {3}.
Максимальное значение, на которое расходятся контакты ДУ при отключении ВВ hмакс = 0,040 м {3}. Время, за которое контакты разойдутся на эту величину можно определить из последней зависимости
tдв = 3(6.10-5.11,5.0,040)/(5,027.10-3.600) = 2,092.10-2 сек (20,920 мсек).
Скорость движения подвижного контакта описывается выражением
V(t)=S/(2.10-5.mпч).b.t2=5,027.10-3/(2.10-5.11,5).600.t2,V(t)=1,311.104.t2, м/с
Графические зависимости V(t) и h(t) представлены на рис.8.
5.2. Выбор необходимого объёма резервуара
Расчёт ведётся по формуле:
Vмин = (0,57.S.с0.t)/ln(Pн/Pк)1/k, где
S – площадь сечения выхлопных отверстий. На один полуполюс ВВ приходится четыре цилиндрических сопла диаметром d1 = 0,055 м и двадцать конических отверстий диаметром d2 = 0,015 м. Отсюда:
S = (/4).(1.4.d12 + 2.20.d22), где
1,2 - коэффициенты сужения струи отверстий: 1 = 0,5, 2 = 0,7;
S = (3,142/4).(0,5.4.0,0552 + 0,7.20.0,0152) = 8,414.10-3 м2;
с0 - скорость звука в воздухе при начальных условиях, с0 = 356 м/сек;
t – время, в течение которого контакты разомкнуты и происходит свободное истечение воздуха из ДУ, t = tбп = 0,3 сек; {3}
Pн – начальное давление в резервуаре Pн = 2,1 МПа; {3}
– давление в резервуаре после отключения, Pк = 1,9 МПа; {3}
k - показатель адиабаты, k = 1,4.
Vмин = (0,57.8,414.10-3.356.0,3)/ln(2,1/1,9)1/1,4 = 2,651 м3.
По конструктивным соображениям объём резервуара полуполюса V = 3,6 м3.
5.3. Расчёт процесса наполнения камер ДУ сжатым воздухом
5.3.1. Исходные данные для расчёта
Исходные данные для расчёта взяты из {3} и непосредственно с конструкторских чертежей:
- Внутренний диаметр камеры ДУ dкв = 0,208 м;
- Внутренний диаметр опорной колонки dив = 0,160 м;
- Высота колонки камер ДУ полуполюса hк = 3,6 м;
- Высота опорной колонки hи = 4,1 м;
- Диаметр отверстия главного дутьевого клапана dдк = 0,170 м;
- Начальное давление воздуха в резервуаре p0 = 2,0 МПа;
- Объём резервуара половины полюса 3,6 м3;
- Средний диаметр контактно-поршневого механизма dм = 0,130 м.
Эффективное сечение отверстия главного дутьевого клапана
S1 = (/4)..dдк 2 = (3,142/4).0,45.0,1702 = 1,024.10-2 м2, где
- коэффициент сужения струи дутьевого клапана, принимаем = 0,45.
Суммарное эффективное сечение отверстий контактных сопел
S2 = 8,414.10-3 м2, см. выше.
5.3.2. Расчёт наполнения ДУ при закрытых соплах в надкритическом режиме
Расчётная схема дана на рис.10. Объём, заполняемый сжатым воздухом
V2 = (/4).(dив 2.hи + [dкв2 - dм2].hк),
V2 = (/4).[0,1602.4,1 + (0,208.2 - 0,1302).3,6] = 0,157 м3.
Расчёт ведётся согласно уравнению {4, стр.288-289, ф.(10-7),(10-10)}
pt = pн.(1 - 1.(0/нk).t)k, где
pн = 0,1 МПа; Tн = 273 + 40 = 313 K; R = 293,7; c0 = 355,6 м/сек.
н = pн/(R.Tн) = 0,1.106/(293,7.313) = 1,088 кг/м3;
0 = p0/(R.T0) = 2,1.106/(293,7.313) = 22,844 кг/м3.
1 = (0,57.S1.c0)/V2 = (0,57.1,024.10-2.355,6)/0,157 = 13,220 сек-1.
При этом расчётная формула принимает вид
pt = (10-1).(1 + 268,363.t)1,4, МПа
По этой формуле рассчитана и построена начальная часть кривой рис.9. Надкритический режим заканчивается при pt = 0,523.p0 = 1,098 МПа. Этому соответствует время t1 = 16,907.10-3 сек.


Рис.10. К расчёту первой стадии Рис.11. К расчёту второй стадии
наполнения камеры выключателя наполнения камеры выключателя
5.3.3. Расчёт наполнения при закрытых соплах в подкритическом режиме
Расчётная схема дана на рис.10. Давление рассчитывается по уравнению
= t
tп = 2. (dt/[t.(t)], где (t) = [2/(1 - k).(1 - (k – 1)/k)],
= 0,53
1/2 = k.S1.c0/V2 = 1,4.1,024.10-2.355,6/0,157 = 32,470 сек-1.
Расчёт ведётся графическим интегрированием {4, стр.290, рис.10-5}. Участок кривой также построен на рис.9. Длительность режима t2 мала.
5.3.4. Расчёт второй стадии наполнения
По истечении времени t2 происходит открытие контактных сопел ДУ и начинается вторая стадия наполнения. Расчётная схема дана на рис.11. В ходе этой стадии существенную роль играет имеющееся сужение воздушного тракта в месте перехода из дутьевой трубы в камеру. Учитывая это, следует считать за объём V2 объём только внутренней полости камеры V2’, за сечение S1 – сечение входного отверстия из трубы в камеру S1’.
В нашем случае
V2’ = (/4).3,6.(0,2082 - 0,1302) = 0,075 м3;
S1’ = .(/4).dив2 = 0,45.(3,142/4).0,162 = 9,048.10-3 м2;
S2/S1’ = 9,048.10-3/1,021.10-2 = 0,886 0,9.
Расчёт ведётся на основании уравнения {4, стр.292, ф.(10-23)}
= t
tп = V2’/(k.S1’.c0). (dt/[t.() – 0,57.(S2/S1’).(k – 1)/k]
= н
Численное значение входящего множителя
V2’/(k.S1’.c0) = 0,075/(1,4.9,048.10-3.355,6) = 1,665.10-2 сек-1.
Воспользовавшись графической зависимостью {4, стр.301, рис.10-12}
() = .() – 0,57.(S2/S1’).(k – 1)/k,
по которой построена подынтегральная функция уравнения, представленного выше 1/() = f() {4, стр.301, рис.10-13}, при начальном значении н = 1 - pтр/p0 = (2,1 - 0,483)/2,1 = 0,770 найдена зависимость t = f1(t) pt = t.p0 = t.2,1.106 = f2(t).
На рис.9 построен рассчитанный таким образом участок кривой, соответствующий второй стадии наполнения.
Этой стадии соответствует отрезок времени t3. Процесс заканчивается в момент времени t4 = t1 + t2 + t3, когда происходит закрытие дутьевого клапана. В данном случае t4 < 0,06 сек, что соответствует заявленному значению (см. таблицу 2) собственного времени отключения.
5.4. Расчёт истечения воздуха через сопло
при наличии в нём электрической дуги
При решении данной задачи принимаются следующие упрощения:
Параметры неподвижного воздуха в камере не меняются;
Тепловая энергия, выделяемая рассматриваемым участком ствола дуги, непрерывно поступает в газовый поток и равномерно распределяется по всему потоку;
Рассматривается истечение газа без трения.
Для газового потока справедлив закон сохранения энергии, уравнение состояния, уравнение постоянства массового расхода. Из этих соотношений можно получить формулу для расчёта скорости газового потока
с1 = 8600.P0.S2/N0, {4, стр.155, ф.(5-80)}, где
P0 – давление в камере к моменту зажигания дуги 1,6 МПа;
S2 - суммарное эффективное сечение отверстий сопел S2 = 8,414.10-3 м2;
N0 – мощность дуги, равная количеству тепла, подводимого к единице массы газа в единицу времени
N0 = uд.iд, где
uд – напряжение на рассматриваемой части ствола дуги, uд 1000 В;
iд – ток дуги, в качестве расчётного берётся амплитуда номинального тока отключения
iд = 2.Iном.о = 2.31,5 = 44,548 кА.
Скорость истечения на внешнем срезе сопла будет равна скорости звука c0 = 20,1.T0 = 20,1.(273 + 40) = 20,1.313 = 355,6 м/сек {4, стр.288}.
с1 = 8600.1,6.106.8,414.10-3/(1000.44,548.103) = 25,989 м/сек.
При отсутствии дуги и расхождении контактов в сопле устанавливается критическая скорость истечения воздуха, равная 355,6 м/сек. При наличии дуги происходит быстрый нагрев воздуха в сопле и подъём давления. В результате скорость истечения воздуха падает; причём чем больше ток, тем сильнее торможение воздушного потока. При определённом значении тока происходит термодинамическая закупорка сопла, когда скорость воздуха падает до нуля. При закупорке сопла дуга не гаснет, т.к. отсутствует необходимый отвод теплоты от неё.
Экспериментально установлено, что для успешного гашения дуги необходимо, чтобы скорость воздуха не опускалась ниже 7-10 м/сек при амплитудном значении тока, что и имеет место в данном случае.
ЗАКЛЮЧЕНИЕ
Подводя итог своего курсового проекта, в ходе которого был произведён обзор ВВ, рассмотрены основные серии существующих в настоящий момент ВВ, описана конструкция и работа ВВМ-500, произведена проверка изоляции для этого ВК, выполнены токовые расчёты и описаны некоторые вопросы газодинамики ВВМ-500, хочу ещё раз выделить, на мой взгляд, основные причины отказов ВВ, которые и в настоящее время являются «проблемными»:
Утечка сжатого воздуха через концевые и центральные дутьевые сопла ДУ из-за повреждений резиновых уплотнений;
Самопроизвольное отключение полюсов ВК из-за дефектов клапанов отключения;
Самопроизвольные включения;
Разрушения пружин концевых сопел ДУ;
Самопроизвольные понижения давления сжатого воздуха в системе с последующим самопроизвольным восстановлением.
Несмотря на значительный прогресс, достигнутый за последние годы в развитии элегазовых и совершенствовании маломасляных и вакуумных ВК, область применения ВВ пока ещё достаточно обширна. Следующие обстоятельства будут, по-видимому, способствовать даже расширению этой области в ближайшие годы:
В ближайшие годы вряд ли можно ожидать, что токи отключения элегазовых и маломасляных ВК будут превышать 80-100 кА, особенно при напряжениях свыше 35 кВ, в то время как уже сейчас широко применяются генераторные ВВ с током отключения до 250 кА и требуются выключатели на напряжение свыше 750 кВ с током отключения до 100 кА;
Из-за необходимости сжатия элегаза в процессе отключения и вследствие относительно низкой скорости истечения экономически нецелесообразно создавать эти ВК с временем отключения, меньшим, чем два периода, тогда как время отключения ВВ уже теперь технически доступными средствами может быть доведено до одного периода;
Проблемы подогрева элегаза и поддержания высокой герметичности уплотнений при минусовых температурах определяют преимущества ВВ в районах с холодным климатом;
Отключение токов КЗ вблизи мощных источников энергии с высоким содержанием апериодической составляющей также может быть пока осуществлено только ВВ.
Кроме того, даже без учёта этих обстоятельств при напряжениях свыше 420 кВ ВВ пока экономически более выгодны, чем ВК других типов.
ЛИТЕРАТУРА
Афанасьев В. В. Конструкции выключающих аппаратов. Л.: Энергия, Ленинградское отделение, 1969. – 640 с;
Афанасьев В. В., Вишневский Ю. И. Воздушные выключатели. Л.: Энергия, Ленинградское отделение, 1981. – 384 с;
Инструкция воздушных выключателей с воздухонаполненным отделителем серии ВВ-330, ВВ-500 и ВВМ-500 - Е.: Уралэлектротяжмаш, 1985;
Кукеков Г. А. Выключатели переменного тока высокого напряжения. Л.: Энергия, Ленинградское отделение, 1972. – 336 с;
Справочник по электрическим аппаратам высокого напряжения / Под редакцией В. В. Афанасьева. - Л.: Энергия, 1987. - 544 с;
Чунихин А. А., Жаворонков М. А. Аппараты высокого напряжения. М.: Энергоатомиздат, 1985. - 432 с;
Электрические аппараты высокого напряжения / Под редакцией Г. Н. Александрова. - Л.: Энергоатомиздат, 1989. - 344 с.
ПРОГРАММНОЕ ОБЕСПЕЧЕНИЕ
Математический пакет MathCAD 7.0. Copyright by MathSoft , 1997;
Операционная система DOS 7.0. Copyright by Microsoft , 1995;
Операционная система Windows’95. Copyright by Microsoft 1995;
Программа расчёта контактных узлов CONT. Copyright by TVN, 1996;
Табличный процессор Excel 7.0. Copyright by Microsoft 1997;
Текстовый редактор Word 7.0. Copyright by Microsoft 1997.
ПРИЛОЖЕНИЕ
Overview
Надкритический РежимПневматика
Sheet 1: Надкритический Режим
| t, мсек | 0.0 | 2.0 | 4.0 | 6.0 | 8.0 | 10.0 | 12.0 | 14.0 | 16.0 | 18.0 | 20.0 | 22.0 | 24.0 | 26.0 | 28.0 | 30.0 | 32.0 | 34.0 | 36.0 | 38.0 | 40.0 | 42.0 | 44.0 | 46.0 | 48.0 | 50.0 | 52.0 | 54.0 | 56.0 | 58.0 | |
| P(t), МПа | 0.1 | 0.16 | 0.23 | 0.31 | 0.39 | 0.47 | 0.57 | 0.66 | 0.76 | 0.87 | 0.97 | 1.09 | 1.2 | 1.32 | 1.44 | 1.56 | 1.69 | 1.82 | 1.95 | 2.09 | 2.22 | 2.36 | 2.51 | 2.65 | 2.8 | 2.95 | 3.1 | 3.25 | 3.41 | 3.56 | |
Sheet 2: Пневматика
| t, мсек | 0 | 2.0 | 4.0 | 6.0 | 8.0 | 10.0 | 12.0 | 14.0 | 16.0 | 18.0 | 20.0 | 20.9 | ||||||
| V(t), м/с | 0 | 0.05 | 0.21 | 0.47 | 0.84 | 1.31 | 1.89 | 2.57 | 3.36 | 4.25 | 5.24 | 5.73 | ||||||
| h(t), мм | 0 | 0.0 | 0.3 | 0.9 | 2.2 | 4.4 | 7.6 | 12.0 | 17.9 | 25.5 | 35.0 | 39.9 | ||||||
| t, мсек | 0 | 2 | 4 | 6.0 | 8.0 | 10.0 | 12.0 | 14.0 | 16.0 | 17.0 | 19.0 | 22.0 | 24 | 26 | 28 | 30 | 32 | 34 | 36 | 38 | 40 | 42 | 44 | 46 | 48 | 50 | 52 | 54 | 56 | 58.97 | 60 | |
| V(t), м/с | 0.1 | 0.18 | 0.28 | 0.38 | 0.5 | 0.62 | 0.75 | 0.89 | 1.03 | 1.2 | 1.34 | 1.4 | 1.43 | 1.44 | 1.55 | 1.57 | 1.6 | 1.71 | 1.72 | 1.74 | 1.77 | 1.8 | 1.81 | 1.84 | 1.86 | 1.88 | 1.9 | 1.91 | 1.92 | 1.93 | 1.94 | |
|
Фор. |
Зона |
Поз. |
Обозначение |
Наименование |
Кол. |
Приме- чание |
||||||||
|
Документация |
||||||||||||||
|
А1 |
18.02 342311 004 СБ |
Сборочный чертёж |
1 |
|||||||||||
|
Сборочные единицы |
||||||||||||||
|
1 |
Головка |
1 |
||||||||||||
|
2 |
Изолятор |
5 |
||||||||||||
|
3 |
Клапан выхлопной |
12 |
||||||||||||
|
4 |
Кожух камеры |
20 |
||||||||||||
|
5 |
Контакт неподвижный |
5 |
||||||||||||
|
6 |
Механизм камеры |
5 |
||||||||||||
|
7 |
Фланец верхний |
1 |
||||||||||||
|
8 |
Фланец нижний |
1 |
||||||||||||
|
9 |
Фланец средний |
4 |
||||||||||||
|
Детали |
||||||||||||||
|
10 |
Болт специальный |
12 |
||||||||||||
|
11 |
Втулка |
5 |
||||||||||||
|
12 |
Гайка специальная |
1 |
||||||||||||
|
13 |
Гайка специальная |
1 |
||||||||||||
|
14 |
Кольцо |
12 |
||||||||||||
|
15 |
Переходник |
12 |
||||||||||||
|
16 |
Кольцо резиновое |
20 |
||||||||||||
|
17 |
Уплотнение |
12 |
||||||||||||
|
18 |
Уплотнение |
12 |
||||||||||||
|
19 |
Уплотнение |
12 |
||||||||||||
|
20 |
Уплотнение |
1 |
||||||||||||
|
18.02 342311 004 СБ |
||||||||||||||
|
Изм |
Лист |
N0 документа |
Подпись |
Дата |
||||||||||
|
Студент |
Голубев |
01,00 |
Камера гасительная |
Лит. |
Лист |
Листов |
||||||||
|
Руковод. |
Гайсинский |
1 |
2 |
|||||||||||
|
УГТУ-УПИ Кафедра ТВН Э – 5522 |
||||||||||||||
|
Н. контр. |
||||||||||||||
|
Зав. каф. |
Шипицын |
|||||||||||||
|
Фор. |
Зона |
Поз. |
Обозначение |
Наименование |
Кол. |
Приме- чание |
||||||
|
Стандартные изделия |
||||||||||||
|
21 |
Винт М 6 х 12 |
80 |
||||||||||
|
ГОСТ 1476 – 84 |
||||||||||||
|
Гайки |
||||||||||||
|
ГОСТ 15521 – 70 |
||||||||||||
|
22 |
М10 |
- |
190 шт. |
|||||||||
|
23 |
М16 |
50 |
||||||||||
|
Шайбы |
||||||||||||
|
ГОСТ 6402 – 70 |
||||||||||||
|
24 |
6,5 / 14 х 1,5 |
80 |
||||||||||
|
25 |
6 Н – 65 Г |
80 |
||||||||||
|
26 |
16 Н – 65 Г |
50 |
||||||||||
|
27 |
10 Н – 65 Г |
- |
190 шт. |
|||||||||
|
Шпильки |
||||||||||||
|
ГОСТ 22034 – 76 |
||||||||||||
|
28 |
М 10 х 90 40 / 40 |
32 |
||||||||||
|
29 |
М 10 х 100 |
20 |
||||||||||
|
30 |
М 10 х 105 |
- |
120 шт. |
|||||||||
|
31 |
М 16 х 85 50 / 25 |
12 |
||||||||||
|
32 |
М 16 х 110 60 / 25 |
50 |
||||||||||
|
18.02 342311 004 СБ |
Лист |
|||||||||||
|
2 |
||||||||||||
|
Изм |
Лист |
N0 документа |
Подпись |
Дата |
||||||||
| t, мсек | 0 | 2.5 | 5.0 | 7.5 | 10.0 | 12.5 | 15.0 | 17.5 | 20.0 | 22.5 | 25.0 | |||||||
| V(t), м/с | 7 | 7 | 7.5 | 8 | 8.5 | 10 | 11.5 | 14 | 12.5 | 10.5 | 10 | |||||||
| h(t), мм | 70 | 67.5 | 66.0 | 65.5 | 65.0 | 64.5 | 63.0 | 62.5 | 61.5 | 60.0 | 59 | |||||||
| 77 | 75 | 74 | 74 | 74 | 75 | 75 | 77 | 74 | 71 | 69 | ||||||||
Похожие рефераты:
Синхронные машины. Машины постоянного тока
Проект новой подстанции для обеспечения электроэнергией нефтеперерабатывающего завода
Реконструкция подстанции "Гежская" 110/6 кВ
Оборудование летательных аппаратов
Модернизация релейной защиты на тяговой подстанции Улан-Удэ на базе микропроцессорной техники
Основные приборы и механизмы тягового электровоза
Проектирование электромеханических устройств
Организация поста технического обслуживания и ремонта карбюраторов двигателей легковых автомобилей
Сравнение масляного и вакуумного выключателей
Высоковольтный элегазовый баковый выключатель ВГБ-35
Компенсация реактивной мощности в системах электроснабжения с преобразовательными установками
Проектирование электрической тяговой подстанции постоянного тока
Элегазовый генераторный выключатель 10 кВ, 63 кА, 8000 А