| Похожие рефераты | Скачать .docx |
Курсовая работа: Расчет ребристых перекрытий многопролетных промышленных зданий
Министерство образования Российской Федерации
Ижевский Государственный Технический Университет
Кафедра ''Железобетонные и каменные конструкции''
ПОЯСНИТЕЛЬНАЯ ЗАПИСКА
К курсовому проекту на тему:
''Расчет ребристых перекрытий многопролетных
промышленных зданий''
Выполнил: студент гр 5-10-1у
Мурашов М.С.
Проверил: Лубенская Л.А.
Ижевск, 2005
Содержание
1. Исходные данные
2. Расчет монолитного ребристого перекрытия над подвалом
Расчет размеров балок
Расчетная схема монолитной плиты
Сбор нагрузок на монолитную плиту
Уточнение размеров монолитной плиты
Армирование монолитной плиты
Расчетная схема второстепенной балки
Уточнение размеров второстепенной балки
Расчет второстепенной балки на действие положительных изгибающих моментов
Расчет второстепенной балки на действие отрицательных изгибающих моментов
Расчет второстепенной балки на прочность по наклонному сечению
Расчет сборного ребристого междуэтажного перекрытия
Сбор нагрузок на перекрытие
Расчет многопролетного сборного неразрезного ригеля
Уточнение размеров ригеля
Расчет на прочность ригеля по нормальному сечению
Расчет на прочность ригеля по наклонному сечению
Список литературы
1. Исходные данные
Vн на междуэтажное перекрытие - 400 кгс/м2
Vн на подвальное перекрытие - 1600 кгс/м2
L1 ´L2 - шаг колонн - 5,2 ´ 7,2 м.
Размеры поперечного сечения колонны - 350 ´ 350 мм

2. Расчет монолитного ребристого перекрытия над подвалом
Расчет размеров балок
| 1 ВАРИАНТ | 2 ВАРИАНТ |
Определяем расход бетона:

По расчетам видим, что 2 вариант раскладки балок экономичней и эффективней по сравнению с первым вариантом. Значит расчет будем вести по 2 варианту.
Расчетная схема монолитной плиты
- плита балочного типа,
- плита, опертая по контуру

Рассчитываем плиту, как плиту балочного типа.
Для расчета монолитной плиты вырезаем полоску шириной 1м в направлении короткой стороны.


Сбор нагрузок на монолитную плиту
| № | Вид нагрузки | Нормат. нагрузка кН/м2 |
gf | Расчетн. нагрузка кН/м2 |
| 1 | Постоянная нагрузка _ g Керам. плитка d=0,013м, r=18кн/м3 Цем. - песч. р-р d=0,03м, r=18кн/м3 Ж/б плита d=0,10м, r=25кн/м3 |
0,24 0,54 2,5 |
1,2 1,3 1,1 |
0,3 0,71 2,75 |
| Итого | 3,28 | - | 3,76 | |
| 2 | Временная нагрузка - u | 16,0 | 1,2 | 19,2 |
| 3 | Полная нагрузка - q | 19,28 | - | 22,96 |

Уточнение размеров монолитной плиты
1) Определение расчетных данных
Ммах =Мв =10,1 кн×м
ПО СНиП определяем: монолитные плиты армируются сварными сетками, выполненными из арматурной проволоки Вр-Iс
. Монолитные ребристые перекрытия изготовляют из тяжелого бетона естественного твердения класса В15 - В25. Принимаем класс бетона В25 с ![]()
По СНиП находим xR =0,565
2) Задаемся шириной
По таблицам определяем: ![]()
3) Определяем требуемое значение рабочей высоты элемента

Назначаем hкратную 1см Þh= 0,1 м.
Армирование монолитной плиты
1) Определение максимального поперечного сечения арматуры
Определяем коэффициент А0 :
где ![]()

Определяем коэффициенты x и h:
x = 0,085<xR , h =0,950
Определяем требуемую площадь поперечного сечения арматуры:
![]()
2) Определение минимального поперечного сечения арматуры
Определяем коэффициент А0 :
где ![]()

Определяем коэффициенты x и h:
x = 0,07<xR , h =0,965
Определяем требуемую площадь поперечного сечения арматуры:
![]()
Окончательно получаем:

Предлагаются 2 варианта армирования монолитной плиты:
1) Рулонными сетками
2) Плоскими сетками
Сетки укладываются согласно эпюре изгибающих моментов

d1 , d2 - диаметр продольной и поперечной арматуры
S1, S2 - шаг продольной и поперечной арматуры
с1 , с2 - выпуск продольной и поперечной арматуры
L - длина сетки
В - ширина сетки
На изготовление сеток идет арматурная проволока Вр-Iдиаметром 3,4,5 мм и арматура класса А-IIIдиаметром 6,8 мм. Продольная и поперечная арматура ставится с шагом кратным 50 мм (100, 150, 200, 250мм). В рулонных сетках продольную арматуру можно изготавливать из арматурной проволоки.
Вырезав полоску шириной 1м, арматуру считаем тоже на 1 м:

Т.к.
, то принимаем армирование рулонными сетками. По Аs
тр
min
подбираем рулонную сетку С1, которая раскладывается поперек второстепенных балок по всей длине перекрытия с перехлестом в поперечном направлении не менее 200 мм. Для крайнего пролета и крайней опоры укладываем дополнительную рулонную сетку С2. Ширина сетки С2 ≥1,25Lплиты.

Сетки С1 и С2 принимаем по ГОСТ 23279-85 со следующими маркировками:
Сетка С1 с продольной рабочей арматурой
на 1 метр ширины плиты
Сетка С2 с поперечной рабочей арматурой
Арматура в сетке С2 определяется, как разница максимально-требуемой арматурой и той поперечной арматурой, которую подобрали в сетке С1. Для сетки С2 Аs тр min = Аs тр max - Аs (попер. ар-ры сетки С1) =3,13-2,515=0,615 см2 .
на 1 метр ширины плиты
Расчетная схема второстепенной балки


Уточнение размеров второстепенной балки
1) Расчетные данные: ![]()
Балки армируются сварными каркасами. Продольная рабочая арматура каркаса выполняется из арматуры класса А-IIIÆ10мм и более. ![]()
2) Определяем требуемое значение рабочей высоты элемента:

![]()
Назначаем высоту кратную 5 см: hтр =0,45м.
Проверка: В= (0,3¸0,5) h . Условие выполняется.
Чтобы перейти к дальнейшему расчету нужно перейти к расчетному тавровому поперечному сечению и задаться размерами:

Принимаем b ¢ f =0,63м.
От действия положительного изгибающего момента второстепенная балка рассчитывается как элемент таврового профиля. От действия отрицательного изгибающего момента балка рассчитывается как прямоугольный элемент.
Расчет второстепенной балки на действие положительных изгибающих моментов
1) Расчетные данные: Мкр =100,4 кН ×м Мср =63,7 кН ×м
gв2 = 0,9 RВ =13,05 Мпа, x R = 0,565 RS =365 Мпа
Балки армируются сварными каркасами, в которых рабочая продольная арматура идет класса А-III.
2) Определяем положение границы сжатой зоны бетона:
![]()
3) Определяем коэффициент А0
![]()
Расчет будем вести отдельно для крайнего и среднего пролетов:

4) Определяем требуемую площадь арматуры:

Так как ширина полки: 10 <b <30 мм следует устанавливать 2 каркаса с рабочей арматурой по 2 или 4 стержня.
Нижняя продольная арматура в каркасе К-1 подбирается по
в крайнем пролете, а в каркасе К-2 подбирается по
в среднем пролете.
По результатам подбора получилось следующее:
Для каркаса К-1: A- IIIс AS (2Æ16 + 2Æ14) =7,1 см2
Для каркаса К-2: A- IIIс AS (2Æ18) = 5,09 см2
Верхняя арматура в каркасе К-1 и К-2 ставится конструктивно при пролете до 6 м - Æ10мм, при большем пролете - Æ12мм. В нашем случае Æ10мм.
Расчет второстепенной балки на действие отрицательных изгибающих моментов
1) Расчетные данные: Мв =100,4 кН ×м Мс = 63,7 кН ×м
gв2 = 0,9 RВ = 13,05 Мпа, x R = 0,565 RS =365 Мпа
Балки армируются сварными каркасами, в которых рабочая продольная арматура идет класса А-III.
2) Определяем положение границы сжатой зоны бетона:
![]()
3) Определяем коэффициент А0
Расчет будем вести отдельно для крайнего и среднего пролетов:

4) Определяем требуемую площадь арматуры:

Арматуру для сетки С3 подбираем по
, а для С4 по ![]()

Т.к. ширина сетки <3630 мм, то рулонные сетки раскладывают вдоль главных балок с рабочей поперечной арматурой. Если больше, то укладывают плоские сетки с нахлестом поперек главных балок с продольной рабочей арматурой. Применяем рулонные сетки вдоль главных балок с поперечной рабочей арматурой.
По результатам подбора получаем:
Сетки С3 и С4 принимаем по ГОСТ 23279-85 со следующими маркировками:
Сетка С3 с поперечной рабочей арматурой
на 1 метр ширины плиты
Сетка С4 с поперечной рабочей арматурой
на 1 метр ширины плиты
Расчет второстепенной балки на прочность по наклонному сечению
1) Расчетные данные: Qmax =129,9кН, gв2 = 0,9, Rb , t =0,9×1,05=0,945 Мпа, jв2 =2, jв3 =0,6. Определяем количество и Æ поперечной арматуры: n -2, d w ³1/4 dmax
![]()
Назначаем шаг поперечной арматуры:
![]()
Защитный слой бетона: c ³ d1
В плитах: с ³ 10 мм
В балках: h ³ 250 мм Þс ³ 20 мм
Расстояние между стержнями: ![]()
Принимаем с = 20 мм , d1 = 18 мм , с1 = 25 мм
h0 = 450-20-18-25/2 = 392,5 мм
В приопорной части шаг поперечной арматуры назначают
т.к.h
= 392,5мм
ÞS
= 200 мм
В средней части при h
<
300 мм
поперечная арматура не ставится, а при h
>
300 мм
поперечные стержни ставятся не реже, чем: ![]()
Т.к.h = 450 мм Þ S = 340 мм , принимаю S=300 мм.
2) Сжатые полки отсутствуют, значит коэффициент jf =0
3) Продольной силы нет, принимаем jп = 0
4) Считаем величину Мв :
![]()
5) Определяем интенсивность армирования:

6) Ищем длину проекции наклонной трещины на продольную ось (расстояние от опоры до конца наклон. трещины):
Если: 
В любом случае принимают:
![]()
q 1 - условная равномерно распределенная нагрузка от внешних сил

Условие выполняется.
7) Определяем поперечную перерезывающую силу, воспринимаемую сжатой зоной бетона

8) Определяем с0 ( длина проекции наклон. трещины на продольную ось):

Принимаем с0 =0,69м
9) Определяем поперечную перерезывающую силу, воспринимаемую поперечной арматурой![]()
10) Делаем проверку прочности
![]()
Условие не выполняется Þ поставленной поперечной арматуры недостаточно, значит увеличиваем диаметр, либо уменьшаем шаг и расчет проводим заново начиная с 5 пункта.
Принимаем S =200мм и ставим арматуру dw =8 мм A- III c As , w ( 2Æ8) = 1,01 см2 Rs,w = 285 Мпа
5) Определяем интенсивность армирования

6) Ищем длину проекции наклонной трещины на продольную ось
Если: 
В любом случае принимают:
![]()
q 1 - условная равномерно распределенная нагрузка от внешних сил

Условие выполняется.
7) Определяем поперечную перерезывающую силу, воспринимаемую сжатой зоной бетона

8) Определяем коэффициент с0 :

Принимаем с0 =0,61м
9) Определяем поперечную перерезывающую силу, воспринимаемую поперечной арматурой ![]()
10) Делаем проверку прочности
![]()
Условие выполняется Þ поставленной поперечной арматуры достаточно. Окончательно принимаем A- III c As , w ( 2Æ8) =1,01см2 с шагом 200 мм.
11) Проверка достаточности размеров
jw1 =1+5a*µw =1+5*0,075*3,37*10-3 =1,0013
µw
=![]()
a=![]()
jb1 =1-b*Rb =1-0,01*13,05=0,87
Q£0.3*jw1 *jb1 *Rb *b*h0 =0,3*1,0013*0,87*13,05*103 *0,15*0,393=201,05 кН, 129,9 кН á201,05 кН
Расчет сборного ребристого междуэтажного перекрытия

Ригель прямоугольный размерами b ´ h: h=72 cм, в= 30см
Если:

Сбор нагрузок на перекрытие
| № | Вид нагрузки | Нормат. нагрузка кН/м2 |
gf | Расчетн. нагрузка кН/м2 |
| 1 | Постоянная нагрузка _ g 1. Керам. плитка d=0,013м, r=18кн/м3 2. Цем. - песч. р-р d=0,03м, r=18кн/м3 3. Ж/Б плита пустотная dпривед. =0,12м, r=25кн/м3 |
0,24 0,54 3,0 |
1,2 1,3 1,1 |
0,3 0,71 3,3 |
| Итого | 3,78 | - | 4,31 | |
| 2 | Временная нагрузка - u | 8,0 | 1,2 | 9,6 |
| 3 | Полная нагрузка - q | 11,78 | - | 13,91 |
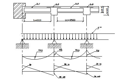
Расчет многопролетного сборного неразрезного ригеля
Постоянная нагрузка действующая на ригель gпог :
![]()
Временная нагрузка, действующая на ригель Vпог :
![]()
Для ригеля расчетной длиной среднего пролета является расстояние в осях:
. Для крайнего пролета расчетная длина равна расстоянию от разбивочной оси до центра тяжести площадки опирания на каменную кладку: ![]()
Для построения эпюр М и Qопределяем расчетные данные:
| Схем нагрузки | М1 | М2 | МВ | QA | QB лев | QB пр |
0,08 77,1 |
0,025 25,13 |
-0,1 100,52 |
0,4 65,62 |
-0,6 98,42 |
0,5 83,76 |
|
0,101 176,31 |
-0,05 91,95 |
-0,05 91,95 |
0,45 135,1 |
-0,55 165,1 |
0 0 |
|
-0,025 44,08 |
0,075 137,92 |
-0,05 91,95 |
-0,05 15,0 |
-0,05 15,0 |
0,5 153,24 |
|
0 0 |
0 0 |
-0,117 215,2 |
0,383 114,94 |
-0,617 185,2 |
0,583 178,7 |
|
Невыгодная нагрузка |
1+2 253,41 1+3 33,02 |
1+3 163,05 1+2 66,82 |
1+4 315,72 |
1+2 200,72 |
1+4 283,62 |
1+4 262,46 |
Уточнение размеров ригеля
1) Расчетные данные

2) Определяем требуемое значение рабочей высоты элемента:

Назначаем высоту кратную 5 см: h0 тр = 0,7м
Проверка: В= (0,3 ¸0,5) h
В нашем случае условие выполняется.
h0 = h- a= 0,7-0.03=0,67м
В дальнейших расчетах будем использовать: В = 0,30м , h= 0,70м.
Расчет на прочность ригеля по нормальному сечению
1) Определяем коэффициент:
![]()
2) Определяем коэффициенты: h, x, при чем x R ³ x
3) Определяем требуемую площадь арматуры:
![]()
Расчет на прочность нужно произвести 4 раза:
1. На максимальный положительный изгибающий момент в первом пролете М1 (1+2). В результате подбирается нижняя продольная арматура в каркасе Кр-1. Арматура устанавливается в 2 ряда.
2. На максимальный положительный изгибающий момент в среднем пролете М2
В результате подбирается нижняя продольная арматура в каркасе Кр-2.
3. На изгибающий момент на грани колонны на опоре В
![]()
В результате подбирается верхняя продольная арматура, которая стоит в каркасе Кр-1 и Кр-2 у опоры В.
4. На отрицательный изгибающий момент в среднем пролете
Так как ширина ригеля не более 30 см устанавливаем 2 каркаса.
Проводим расчет на прочность 4 раза:
1. 
В результате подбора получаем арматуру А- IIIс As (2Æ25 + 2Æ20) =16,1см2
2. 
В результате подбора получаем арматуру А- III As (2Æ25) =9,82см2
3. 
В результате подбора получаем арматуру А- III As (2Æ36) =20,36см2
4. 
В результате подбора получаем (конструктивно) арматуру А- III As (2Æ20) =6,28см2
Расчет на прочность ригеля по наклонному сечению
1) Расчетные данные:
![]()
Определяем количество и Æ поперечной арматуры: n -2, d w ³1/4 dmax
![]()
В приопорной части шаг поперечной арматуры назначают если:

Так как h = 700 мм Þ S = 200 мм
12) Сжатые полки отсутствуют, значит коэффициент jf =0
13) Продольной силы нет, принимаем jп = 0
14) Считаем величину Мв :
![]()
15) Определяем интенсивность армирования:

16) Ищем длину проекции наклонной трещины на продольную ось
Если: 
В любом случае принимают:
![]()
q 1 - условная равномерно распределенная нагрузка от внешних сил

Условие выполняется.
17) Определяем поперечную перерезывающую силу, воспринимаемую сжатой зоной бетона

18) Определяем коэффициент с0 :

Принимаем с0 =1,13м
19) Определяем поперечную перерезывающую силу, воспринимаемую поперечной арматурой![]()
20) Делаем проверку прочности
![]()
Условие выполняется Þ поставленной поперечной арматуры достаточно. Окончательно принимаем A- III c As , w ( 2Æ10) =1,57см2 с шагом 200 мм.
21) Проверка достаточности размеров
jw1 =1+5a*µw =1+5*0,075*3,14*10-3 =1,0012
µw
=![]()
a=![]()
jb1 =1-b*Rb =1-0,01*13,05=0,87
Q£0.3*jw1 *jb1 *Rb *b*h0 =0,3*1,0012*0,87*13,05*103 *0,30*0,67=685,44 кН
283,62 кН á 685,44 кН
Построение эпюры материалов .
Производится по формуле:
![]()
Если арматура располагается в 1ряд:
![]()
Если арматура располагается в 2 ряда:
![]()
Защитный слой бетона: ![]()
В балках: ![]()
Расстояние между стержнями: ![]()
Несущую способность будем определять 6 раз:
1) Несущая способность нижней арматуры в первом пролете
![]()
![]()
![]()
2) Нижняя арматура в первом пролете в полном объеме до торцов ригелей не доходит. Разрешается оборвать не более 50 % арматурных стержней. Определяем несущую способность нижней арматуры, дошедшей до торца элемента.
Обрываем 2Æ20 Þ остается 2Æ25 с А s =9,82см2
![]()
![]()
![]()
3) Определяем несущую способность нижней арматуры во втором пролете.
![]()
![]()
![]()
4) Определяем несущую способность верхней арматуры на опоре В
![]()
![]()
![]()
5) Определяем несущую способность верхней арматуры во втором пролете.
![]()
![]()
![]()
6) Определяем несущую способность верхней конструктивной арматуры в первом пролете.
![]()
![]()
![]()
На практике арматурные стержни заводятся на точку теоретического обрыва на W.
Конец W и является точкой реального обрыва. Длина заделки W рассчитывается.
W=
max
gsw
=
1.20 d=20*0.02=0,4 м
![]()
Принимаю W1 =0,4м.
2.20
d=20*0.02=0,4 м, ![]()
Принимаю W2 =0,4м.
3.20 d=20*0.036=0,72м
![]()
Принимаю W3 =0,72м.
4.20 d=20*0.036=0,72м
![]()
Принимаю W4 =0,72м.
Список литературы
1. СНиП 2.03.01 - 84. Бетонные и железобетонные конструкции. М. 1984 г.
2. Попов Н.Н., Забегаев А.В. Проектирование и расчет железобетонных конструкций. М., Высшая школа, 1985 г.
Похожие рефераты:
Капитальный и текущий ремонты зданий
Многоэтажное производственное здание
Проектирование 16-ти этажного 2-х секционного жилого дома в Ейске
Многоэтажное производственное здание
Компоновка сборного железобетонного перекрытия
Компоновка сборного перекрытия
Проектирование трехэтажного жилого здания
Здания и сооружения из монолитного железобетона
Ж/б каркасное 3-этажное здание торгового центра в г. Лабинске
Проектирование железобетонных конструкций многоэтажного здания