| Похожие рефераты | Скачать .docx |
Реферат: Триоды. Устройство и принцип действия
1. Устройство и принцип действия
![]() |
Для того чтобы увеличить возможность управления потоком электронов, эмиттированных . катодом, тем самым расширить область применения электронных ла.мп, были созданы трехэлектродные лампы — триоды. В триоде (рис. 1) между анодом А и и катодом К, помещен еще один электрод — управляющая сетка УС . Сетка конструктивно представляет собой либо спираль, либо сетку из переплетенных проводов, и выполняется из вольфрамового, никелевого или молибденового провода. Условное изображение триода в схеме дано на рис 2. Как и в диоде, в триоде имеются цепь накала для разогрева катода и цепь анода для получения ускоряющего поля для электронов. Глав ное отличие триода от диода в том, что в триоде имеется дополнительная возможность управления анодным током путем изменения нап ряжения между сеткой и катодом
![]() |
рис.1 рис.2
2. РОЛЬ УПРАВЛЯЮЩЕЙ СЕТКИ
Рассмотрим влияние поля управляющей сетки на анодный ток в триоде. В отличие от диода в триоде имеются две цепи управ ления анодным током — цепь анода и цепь управляющей сетки. Объектом управления является пространственный заряд электро нов, эмиттированных катодом. Степень влияния определяется расстоянием соответствующего электрода к катоду. Управляющая сетка расположена ближе к катоду, чем анод, и поэтому влияние электрического поля управляющей сетки на пространственный заряд у катода соответственно больше, чем поля анода. У правляющая сетка является электростатическим экраном между анодом и катодом. Это означает, что не все электрические силовые линии поля анода достигают катода, так как часть этих линий замыкается на сетке, что приводит к соответствующему уменьшению воздействия поля анода на пространственный заряд, распо ложенный у поверхности катода.
Подадим постоянное напряжение между анодом и катодом Uа плюсом на анод и будем менять напряжение между управляющей сеткой и катодом Uc по величине и по знаку (рис.3). При подаче отрицательного напряжения на сетку для электронов пространственного заряда создается тормозящее поле, поэтому в каж дой точке между сеткой и катодом на электроны действует поле, образовавшееся в результате взаимодействия между ускоряющим полем анода и тормозящим полем сетки. При определенном отрицательном напряжении Uc анодный ток становится равным нулю, тормозящее поле создается не только у витков сетки, но и в промежутках между ними, п репятствуя пролету электронов от катода к аноду. При этом пространственный заряд у катода имеет наибольшую плотность. Будем уменьшать отрицательное напряжение на сетке, результирующее поле между витками сетки меняется и становится ускоряющим для электронов. Чем меньше отрицатель ное напряжение на сетке, тем сильнее действует ускоряющее поле и тем больше стано вится ток I а. При подаче положительного напряжения + Uc электроны получают ускорение не только за счет поля анода, но также и за счет поля сетки. Анодный ток становится еще больше. Однако часть электронов притягивается непосредственно к виткам сетки и образует ток сетки I с.

рис.3
Таким образом, при положительном напряжении на сетке общ ий катодный ток I к разветвляется на два тока: анодный I а и сеточный I с.
3. ДЕЙ СТВУЮЩЕЕ НАПРЯЖЕНИЕ В ТРИОДЕ
В свое время советский ученый М. А. Бонч-Бруевич предложил заменить триод при анализе его работы эквивалентным диодом. Анодное напряжение эквивалентного диода, при котором катодные токи обеих ламп равны, называется действующим напряжением триода. Вывод формулы действующего напряжения для триода дает следующий результат:
U д= Uc+DUa
г де U д — действующее напряжение, D — проницаемость триода.
D=C ак /Cc к
где Сак — емкость анод—катод, Сск — емкость сетка—катод. Проницаемость триода Д <1, так как емкость анод—катод меньше е мкости сетка—катод. Это объясняется тем, что электроды анод— катод расположены дальше, чем сетка—катод и, самое главное, с етка экранирует анод от катода, тем самым уменьшая емкость Сас.
Уравнение дейс твующего напряжения учитывает, что поле управляющей сетки непосредственно воздействует на пространственный заряд, а поле анода ослаблено экраном, которым является сетка. Меру ослабления действия поля анода на пространственный заряд у катода за счет экранирующего действия сетки учитывает проницаемость D, которая зависит от шага намотки сетки. Чем гуще намотана сетка, тем больше силовых линий электрического поля анода замкнется на сетке и соответственно меньшее количество попадет на катод. При более густой намотке сетки уменьшается емкость Сак и увеличивается емкость Сск, а следовательно, D уменьшается. В триодах D меняется в пределах от 0,25 до 0,01.
Пользуясь формулой, можно определить напряжение Uc, при котором анодный ток триода становится равным нулю, и триод, как принято говорить, «запирается». Анодный ток I а будет равен нулю, если действующее напряжение триода станет равным нулю. Отсюда
0=Uc + DUa, Uc зап = - DUa
Введение понятия об эквивалентном диоде позволяет применить для триода закон степени 3/2
Iа=GU3/2 д = G(Uc + DUa)3/2
Следует отметить, что эквивалентность диода и триода имеет место только при равенстве катодных токов обеих ламп. Поэтому данная формула применима лишь тогда, когда I а=I к , т. е. когда Iс=0. Но даже в таком случае реальные характеристики триода отличаются от идеальных, построенных на основании этой формулы в силу сложности явлений, происходящих в триоде и не учтенных при выводе данной формулы.
4. СТАТИЧЕСКИЕ ХАРАКТЕРИСТИКИ ТРИОДА
Итак, анодный ток триода является функцией двух переменных .величин — анодного напряжения U а и сеточного напряжения U с. Зависимости анодного тока I а от одного из этих напряжении при постоянном другом напряжении и представляют собой семейства статических характеристик триода. Схема для снятия этих характеристик показана на рис.3
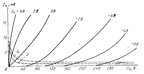
Анодные характеристики Ia=f(Ua) при Uc=const (рис.4) являются выходными характеристиками триода. Для снятия анодных характеристик постоянное напряжение устанавливают с помощью потенциометра RI в цепи сетки, а затем потенциометром R2 в цепи питания анода плавно меняют напряжение Ua, фиксируя миллиамперметром «мА» значение тока I а. Анодная характеристика, снятая при Uc=0, проходит через начало координат, а снятые при Uc=0 сдвинуты вправо от нулевой характеристики, так как при отрицательном потенциале на сетке анодный ток уменьшается. Для компенсации тормозящего электрического поля, созданного напряжением —Uc, требуется подать определенное напряжение +U a, и только тогда появится ток I а. При том же значении напряжения —Uc для появления тока I а требуется тем большее напряжение +Uа, чем меньше проницаемость D, так как экранирующее действие управляющей сетки становится сильнее и влияние поля анода на ток I а уменьшается.
![]() |
рис.4
Анодные характеристики, снятые при Uc>0, располагаются левее характеристики при Uc=0. При этом наблюдается ток I а даже при Ua= 0, что объясняется созданием ускоряющего поля для электронов положительным напряжением на сетке, которое увеличивает энергию электронов, позволяя некоторым из них пролететь между витками сетки и долететь до анода. При небольших напряжениях U а наблюдается вначале резкое увеличение тока Ia, затем характеристика становится более пологой. Это объясняется тем, что при Ua=0 в пространстве между сеткой и анодом образовал ся еще один пространственный заряд электронов, который расположен между катодом и сеткой. При подаче даже небольших напряжений U а этот пространственный заряд рассеивается полем ано да, а электроны его притягиваются к аноду, увеличивая ток I а. При дальнейшем увеличении напряжения Ua ток I а растет мед леннее, так как его увеличение идет только за счет околокатодного пространственного заряда.
![]() |
Анодно-сеточные характеристики триода Ia=f(Uc) при Ua= const приведены на рис.5 Для снятия этих характеристик е помощью потенциометра R2 в цепи питания анода устанавливают постоянное напряжение Ua, отмечаемое по вольтметру U2 а потенциометром RI в цепи сетки плавно меняют напряжение на сетке Uc, фиксируя значение тока I а. Чем больше напряжение U а, тем левее расположены характеристики. Это следует из уравнения действующего напряжения, так как при большем Ua, увеличивается по абсолютной величине и напряжение —Uc, при котором триод запирается. При том же значении —Uc ток I а будет тем больше, чем больше + Ua. Расположение анодно-сеточных характеристик, как и анодных, сильно зависит от лроницаемости триода D. Чем больше проницаемость D, тем левее расположены характеристики, так как требуется большее отрицательное напряжение на сетке для компенсации поля анода и запирания лампы. Триоды с малой проницаемостью D, у которых лампа запирается при сравнительно небольших отрицательных напряжениях на управляющей сетке, получили название правых ламп, в отличие or левых ламп с редкой намоткой сетки, т. е. большой проницаемостью D, которые запираются при сравительно больших отрицательных напряжениях на сетке.
рис.5
Характеристики сеточного тока. Как уже отмечалось, при положит ель ном напряжении на сетке появляется сеточный ток I c.
Учитывая, что мощные триоды работают при положительных напряжениях на сетке, большой интерес представляют характеристики зависимостей сеточных токов от сеточных и анодных напряжений.
Для анализа работы триода при положительных напряжениях на сетке вводятся понятия о двух режимах работы триода: режиме возврата и режиме перехвата электронов.
Электроны, пролетающие через сетку к аноду, создают в промежутке сетка—анод пространственный заряд. В режиме возврата электронов к сетке (Uc ³ Ua) значительная часть электронов пространственного заряда возвращается обратно к сетке под действием сильного электрического поля сетки. При анодном напряжении U a = 0 сеточный ток I а достигает максимального значения. С ростом анодного напряжения U a происходит резкое возрастание анодного тока I а, а сеточный уменьшается, что объясняется возрастающим влиянием электрического поля анода на электроны пространственного заряда в промежутке сетка—анод.
В режиме перехвата Uc<Ua пространственный заряд рассеивается и сеточный ток образуется только за счет электронов, непосредственно перехваченных сеткой, благодаря положительному напряжению между сеткой и катодом.
Характеристики сеточного тока lc =f(Ua) при U c=const даны на рис.4 штриховыми линиями.
При небольших анодных напряжениях наблюдается режим перехвата, сеточный ток резко уменьшается при возрастании анодного напряжения Ua. В режиме перехвата сеточный ток мало меняется при изменении анодного напряжения. Чем больше напряжение на сетке, тем выше расположены характеристики сеточного тока, так как большое количество электронов перехватывается сеткой. Характеристика сеточного тока I с=f (U с) при U a=const , которую по аналогии с биполярными транзисторами можно назвать входной характеристикой триода, показана на рис.5 Эти характеристики представляют собой ряд веерообразно расположенных кривых. Чем меньше анодное напряжение при том же напряжении на сетке, тем сеточный ток больше.
Похожие рефераты:
Принцип действия ваккумных ламп с управлением током
Лекции по твердотельной электронике
Ответы к экзаменационным билетам по физике 11 класс (ответы к 29 билетам)
Тиристорные устройства для питания автоматических телефонных станций
Билеты по физике за весь школьный курс
Исследование работ Фарадея по электричеству
Лекции - преподаватель Григорьев Владимир Калистратович
Получение тонкопленочных электретов на основе фторопласта - 4 и изготовление приборов на их основе
Океан в капле воды, или Вся техника в одной стекляшке
Электронные схемы для дома и быта
Углубленные экзаменационные билеты по физике и ответы (11 класс)



