| Похожие рефераты | Скачать .docx |
Реферат: Электронные схемы для дома и быта
Простой логический пробник
Простой логический пробник состоит из двух независимых пороговых устройств, одно из которых срабатывает при напряжении на входе, соответствующем логической "1", а второе - логическому "О".

Когда напряжение на входе пробника находится между 0 и +0,4 В, транзисторы V7 и V8 закрыты, транзистор V9 закрыт, а V10 открыт, горит зеленый светодиод V6, индицируя "0".
При напряжении на входе от +0,4 до +2,3 В транзисторы V7 и V8 по-прежнему закрыты, V9, открыт, V10 закрыт. Светодиоды не горят. При напряжении выше +2,3 В открываются транзисторы V8, V9 и загорается красный светодиод V5, индицируя "1". Диоды V1- V4 служат для повышения напряжения, при котором срабатывает пороговое устройство, индицирующее "1".
Коэффициент передачи тока транзисторов должен быть не менее 400. Налаживание производится подбором R5* и R7* по четкому срабатыванию пороговых устройств при напряжении от +0,4 В до +2,4 В.
Сетевая "КОНТРОЛЬКА"
Обычно для обнаружения сетевого напряжения применяют пробники-искатели с неоновыми лампочками. Увы, в наше время даже такой пробник приобрести нелегко. Зато довольно просто собрать контрольное устройство, схема которого приведена на рисунке.

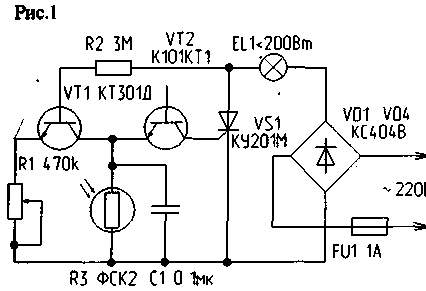
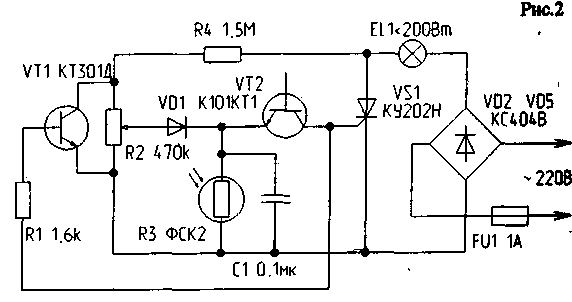
Усовершенствованный светодиодный индикатор сетевого напряжения
Предлагаю для повторения радиолюбителями усовершенствованный светодиодный индикатор сетевого напряжения, который отличается от всех ранее опубликованных большей помехозащищенностью. Например, индикаторы, изображенные на рис. 1 и рис.2, способны давать ложные показания, когда проверяется наличие напряжения в длинном кабеле, а кабель при этом имеет обрыв фазного провода. Эти индикаторы дают ложные показания и в том случае, когда с их помощью проверяют наличие напряжения в сетевой проводке с плохой изоляцией — в подвалах, сырых помещениях, т.е. там, где наблюдается низкое сопротивление изоляции.

Предлагаемый индикатор (рис.3) прост в изготовлении и надежен в работе, лишен ложных показаний при любых условиях эксплуатации. Им можно проверить как линейное напряжение 380 В, так и фазное. А отличается он от всех предыдущих использованием в схеме динистора КН102Д. Благодаря последнему, индикатор регистрирует только чистую фазу и не реагирует на наводки. В индикаторе применены конденсатор С1 — МБМ 0,1 мкФ на 400 В и резистор R1 - МЛТ 0,5.
Простой испытатель транзисторов
Простой испытатель транзисторов позволяет проверить работоспособность биполярных транзисторов n-p-n- и p-n-p-структуры.

Проверяемый транзистор совместно с одним из установленных в приборе (в зависимости от структуры проверяемого транзистора, определяемой положением переключателя S1) V1 или V2 образует мультивибратор, генерирующий колебания низкой частоты. Индикаторами наличия колебаний, а значит и исправности проверяемого транзистора, служат светодиоды V3 и V4, которые вспыхивают с частотой, генерируемой мультивибратором.
Этим прибором можно проверять транзисторы малой, средней и, в ряде случаев, большой мощности. С помощью резистора R1 оценивают (приблизительно) усилительные свойства проверяемого маломощного транзистора - чем больше сопротивление введенной части резистора, при котором еще работает мультивибратор, тем выше коэффициент передачи по току этого транзистора. Источником питания прибора служит одна батарея 3336Л.
Автомат — выключатель освещения

Автомат состоит из датчика освещенности — фоторезистора и фотореле, выполненного на транзисторах VI, V2, исполнительной цепи на тиристорах V4, V10 и двухполупериодного выпрямителя на диодах V6, V7. Автомат работает следующим образом. С уменьшением освещенности сопротивление фоторезистора R3 возрастает с 1...2 кОм до 3...5 МОм, что приводит к увеличению коллекторного тока транзисторов VI и V2. В результате этого тиристор V4 открывается, цепочка R7, СЗ, V9 вырабатывает импульс, открывающий тиристор V10, и лампы освещения включаются. При увеличении освещенности фоторезистора его сопротивление уменьшается, уменьшается и коллекторный ток транзистора V2, что приводит к запиранию тиристоров V4 и V10. Лампы освещения гаснут, а конденсатор СЗ разряжается через диод V8 и резисторы R5, R6 и R7. Порог включения автомата устанавливается резистором R1.
Детали .
Переменный резистор R1 типа СПО-0,5, резисторы типа МЛТ-0,5; фоторезисторы типов СФ2-2, СФ2-5 или ФСК-1; транзисторы — любые низкочастотные структуры р-п-р с B> 50; конденсатор С2 типа МБМ, МБГЦ, МБГП на напряжение 400 В.
При наладке требуется подобрать резисторы R5—R7, добиваясь надежного открывания тиристора V10 при заданном (резистором R1) пороге срабатывания фотореле.
Бестрансформаторное питание Для питания устройств с током потребления до 30 мА можно применять простые сетевые блоки питания, в которых вместо понижающих трансформаторов применяются два конденсатора на рабочее напряжение не менее 300 В.
|
Блок питания для аналоговых и цифровых микросхем
Блок питания для аналоговых и цифровых микросхем состоит из трех стабилизированных выпрямителей, два из которых образуют двуполярный источник напряжения 12,6 В с раздельным регулированием.

Регулировка производится подстроечными резисторами R6 и R9. Нижний (по схеме) стабилизатор обеспечивает напряжение 5 В, которое также можно регулировать резистором R10.
Унифицированный трансформатор питания ТАН 59-127/220-50 можно заменить самодельным с магнитопроводом Ш 12 X 20. Сетевая обмотка I на 220 В должка иметь 3000 витков провода ПЭВ-2 - 0,12, обмотка II - 180 витков ПЭВ-2 - ОДЗ, обмотка III - 220 витков ПЭВ-2 - 0,38 и обмотка IV - 70 витков провода ПЭВ-2 0,41. Разное число витков в обкотках II и III при одинаковом напряжении на выходе плечей стабилизаторов в данной конструкции источника питания объясняется тем, что с верхнего (по схеме) плеча потребляется ток 60 мА, а с нижнего - 350 мА. Если по условиям эксплуатации эти токи должны быть равны, следует наматывать и равное число витков провода одинакового диаметра.
Вместо «неонки»
В журнале "Радиолюбитель" №3/92 была опубликована схема сетевой контрольки, содержащая большое количество деталей. Однако для выполнения той же задачи можно обойтись вдвое меньшим количеством элементов.

Конденсатор С1 используется как безваттное сопротивление; диоды VD1-VD4 предохраняют динамик ВА1 от резких бросков тока в моменты включения-выключения; резистор R1 служит для разрядки С1 после включения устройства.
Конденсатор С1 должен быть на напряжение не менее 400 В и емкостью 1-2 мкФ. Динамик - 0.25ГД19 или любой другой, мощностью более 0,25 Вт с внутренним сопротивлением 6-10 Ом. Вместо динамика можно использовать телефонный капсюль, например, "ТОН-1", при этом емкость С1 уменьшают до 0,01 мкФ. Устройство собирается навесным монтажом в корпусе из диэлектрического материала.
Высокоточный терморегулятор
Высокоточный терморегулятор с импульсной задающе-регулирующей цепью предложен И. Боерисом и А. Титовым. Он обладает высокой стабильностью поддержания постоянной температуры (до ±0,05°С в диапазоне от 20 до 80 °С). Его можно использовать в термостатах, калориметрах и других устройствах с потребляемой мощностью до 1 кВт.

Регулирующая цепь состоит из терморезистора R6 типа ММТ-1 с диодом V6, переменного резистора R7 с диодом V7 с конденсатором С4. Питается регулирующая цепь от стабилизатора на стабилитронах V3 и V4, включенных во вторичную обмотку понижающего трансформатора Т1.
Величина тока через тиристоры VI и V2, а значит, и через нагреватель зависит от постоянных времени заряда и разряда конденсатора С4, которые определяются соотношением сопротивлений резисторов R6 и R7. С увеличением температуры сопротивление терморезистора понижается, в результате чего увеличивается ток разряда конденсатора С4 через терморезистор и диод V6 и напряжение на конденсаторе С4 уменьшается. Управляющее напряжение, поступающее на тиристоры через усилитель тока, содержит постоянную и переменную составляющие. Переменная составляющая формируется с помощью фазовращателя (R3C1) и через конденсатор С2 поступает на базу транзистора V8. Этим обеспечивается плавное изменение угла отсечки тока тиристора, а значит, и тока через нагрузку.
Детали. Трансформатор Т1 выполнен на магнитопроводе Ш12 X 15: обмотка I содержит 4000 витков провода ПЭВ-1 0,1, обмотка II - 300 витков провода ПЭВ-1 0,29.
Налаживание сводится к подбору резисторов R1 и R4. Напряжения на анодах тиристоров должны совпадать по фазе, в противном случае следует поменять местами выводы обмотки II трансформатора.
Генератор на диоде
Свойство германиевых диодов иметь отрицательный участок на обратной ветви вольт-амперной характеристики использовано в генераторе-релаксаторе.

Этот генератор можно использовать как пробник, источник звуковых колебаний при озвучивании игрушек и т. д. Амплитуда напряжения на выходе генератора около 14 В. Его недостатком является то, что на диоде выделяется большая мощность, превышающая максимально допустимую. Диод желательно установить на радиатор и эксплуатировать генератор непродолжительное время. Уменьшать емкость конденсатора С1 до величины, меньшей 0,15 мкФ, нельзя.
Замена электретного микрофона
При повторении некоторых зарубежных схем нередко возникает проблема замены электретного (конденсаторного) микрофона обычным динамическим. Как видно из схемы, каскад на одном транзисторе позволяет успешно справиться с этим.

Датчик температуры
Датчик температуры можно использовать как защитное устройство мощных транзисторов от перегрева.

Такой датчик отключает питание от защищаемого блока или узла, как только температура корпуса мощного транзистора превысит допустимую. Термодатчиком в устройстве служит транзистор V2, приклеенный через изоляционную прокладку к корпусу защищаемого транзистора, На транзисторах V2 и V4 собрано пороговое устройство, которое срабатывает при определенной температуре корпуса V2 вследствие увеличения коллекторного тока транзистора при повышении температуры.
Благодаря наличию положительной обратной связи через резистор R7, процесс открывания транзисторов V2 и V4 протекает лавинообразно, при этом срабатывает реле К1 и своими контактами отключает питание защищаемого блока. При снижении температуры устройство возвращается в исходное состояние. Порог срабатывания можно регулировать в пределах +30...+80°С переменным резистором R2.
Детали. Транзистор V2 типа МП40-МП42, V4 типов КТ605, КТ608Б, КТ503; для более высоких температур используют кремниевый транзистор МП116, КТ361 с любым буквенным индексом; резисторы типа МЛТ-0,25; R6 - типа МЛТ-0,5; реле типа РЭС-22.
Датчик уровня жидкости
От всех известных датчиков уровня воды этот прибор отличается простотой, экономичностью, малыми габаритными размерами и, что весьма важно, отсутствием дребезга контактов. Достоинство этого датчика в том, что его сможет повторить и настроить даже начинающий радиолюбитель.
Датчик уровня незаменим при автоматизации водонапорных башен, поливочных систем в фермерских хозяйствах, да и в любых других случаях, когда требуется контролировать уровень жидкостей.

Меняя расстояние АВ, можно настроить датчик для любых
условий работы. В конструкции автора применен резервуар из металла, если же емкость будет из диэлектрика, необходимо установить третий электрод, который должен соединяться с минусовой шиной источника питания и располагаться на дне резервуара.
Детали в схеме должны применяться с запасом надежности. К примеру, трансформатор лучше применить в 1,5 — 2 раза превышающий расчетную мощность. Конденсаторы С1 — К60-6, К50-35, С2 — МБМ, СЗ — КСО, резисторы — МЛТ 0,125. Монтаж выполнен "навесным" способом. Номиналы резисторов при настройке могут меняться: у R1 — от 75к до 150к, у R2 — 820 до 2,2 к. Реле — любое маломощное, малогабаритное, у автора — РЭН-18, но можно использовать и типа РЭС-9. Диодный мост КЦ405 можно заменить диодами Д226. Если датчик уровня применяется в холодных регионах, электролитические конденсаторы лучше использовать оксидно-полупроводниковые морозостойкие (типа К53). Электроды Э1 и Э2 выполняются в виде прутков длиной 100 мм и 500 мм соответственно, хотя данные размеры некритичны и могут быть другими, в зависимости от габаритов применяемой емкости.
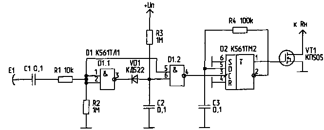
Двухтональный звонок
Двухтональный звонок содержит управляющий генератор, собранный на элементах D1.1-D1.3 микросхемы К155ЛАЗ и вырабатывающий управляющие импульсы, частота которых зависит от емкости конденсатора С1 и сопротивления резистора R1.

При указанных на схеме номиналах частота переключений генератора равна 0,7...0,8 Гц. Импульсы управляющего генератора подаются на генераторы тона и поочередно подключают их к усилителю звуковой частоты, собранному на транзисторе, VI. Первый генератор выполнен на элементах микросхемы D1.4, D2.2, D2.3 и вырабатывает импульсы частотой 600 Гц (регулируется подбором элементов С2, R2), второй генератор выполнен на элементах D2.1, D2.4, D2.3 и работает с частотой 1000 Гц (регулируется подбором элементов СЗ, R3). Громкость звучания регулируют резистором R5.
Детали. Резисторы типа МЛТ-0,125, подстроечный резистор типа СПЗ-16; конденсаторы С1-СЗ типа К50-6; микросхема К155ЛАЗ, К133ЛАЗ, К131ЛАЗ, К158ЛАЗ; транзисторы КТ603В, КТ608, КТ503 с любым буквенным индексом.
Двухтональный звонок на микросхемах
Двухтональный звонок на микросхемах собран на двух микросхемах и одном транзисторе.

Логические элементы D1.1-D1.3, резистор R1 и конденсатор С1 образуют переключающий генератор.
При включении питания конденсатор С1 начинает заряжаться через резистор R1. По мере заряда конденсатора повышается напряжение на его обкладке, соединенной с выводами 1, 2 логического элемента D1.2. Когда оно достигнет 1,2...1,5 В, на выходе 6 элемента D1.3 появится сигнал логической "1" ( 4 В), a нa выходе 11 элемента D1.1 - сигнал логического "0" (0,4 В). После этого конденсатор С1 начинает разряжаться через резистор R1 и элемент D1.1. В итоге на выходе 6 элемента D1.3 будуг формироваться прямоугольные импульсы напряжения. Такие же импульсы, но сдвинутые по фазе на 180°, будут на выводе 11 элемента D1.1, выполняющего роль инвертора.
Продолжительность заряда и разряда конденсатора С1, а значит, частота переключающего генератора, зависит от емкости конденсатора С1 и сопротивления резистора R1. При указанных на схеме номиналах этих элементов частота переключающего генератора составляет 0,7...0,8 Гц.
Импульсы переключающего генератора подаются на генераторы тона. Один из них выполнен на элементах D1.4, D2.2, D2 3, другой - на элементах D2.1, D2.4, D2.3. Частота первого генератора - 600 Гц (ее можно изменять подбором элементов С2, R2), частота второго - 1000 Гц (эту частоту можно изменять подбором элементов СЗ, R3). При работающем переключающем генераторе на выходе генераторов тона (вывод 6 элемента D2.3) будет периодически появляться то сигнал одного генератора, то сигнал другого. Затем эти сигналы поступают на усилитель мощности (транзистор V1) и преобразуются головкой В1 в звук. Резистор R4 необходим для ограничения тока базы транзистора. Подстроечным резистором R5 можно подобрать нужную громкость звучания.
Постоянные резисторы-МЛТ-0,125, подстроечный-СПЗ-1Б, конденсаторы С1-СЗ - К50-6. Логические микросхемы К155ЛАЗ можно заменить на К133ЛАЗ, К158ЛАЗ, транзистор КТ603В - на КТ608 с любым буквенным индексом. Источником питания служат четыре последовательно соединенных аккумулятора Д-0,1, батарея 3336Л или стабилизированный выпрямитель на 5 В.
Есть ли усилитель проще?
Минули те времена, когда радиолюбители в качестве одной из первых конструкций собирали ламповые усилители звуковых частот (УЗЧ). Громоздкие выходные и силовые трансформаторы определяли конечный вес и габариты устройства, большие уровни питающих напряжений, требовали применения высоковольтных сглаживающих конденсаторов в фильтрах анодного и экранного питания и создавали опасность электрошока. Требовался также значительный ток накала ламп, что снижало КПД усилителя и создавало дополнительный (ничем не оправданный) его нагрев. Для приведения в состояние готовности после включения требовалось некоторое время (для прогрева катодов ламп) или надо было держать катоды ламп нагретыми. Воздадим должное лампам и отметим, что от всех перечисленных недостатков свободны транзисторные и интегральные УЗЧ. Но некоторые транзисторные усилители по сложности изготовления превосходят ламповые, а интегральные требуют большого количества дополнительных "навесных" элементов, что сводит на нет их преимущества от применения микросхем.
Но ничего не стоит на месте, и, на мой взгляд, последняя трудность тоже преодолена. Правда, такая удобная схема вдруг оказалась частью более сложной комбинированной аналоговой интегральной микросхемы (ИМС) К174ХА10, хотя было бы полезно иметь такой "чип" отдельно.

Как видно из принципиальной схемы (см. рисунок) УЗЧ содержит минимум деталей и может найти очень широкое применение. Достоинством этой ИМС является также перспектива для начинающего радиолюбителя после "обкатки" УЗЧ и изучения возможностей ИМС [1,2] собрать на этой же микросхеме AM приемник, а затем и комбинированный — АМ-ЧМ.
Представим себе типичную житейскую картину: после подключения к телевизору игровой приставки "Dandy" (как обычно — одним шнуром в антенное гнездо) и включения питания приставки соседи вдруг начинают вести себя как дети — стучать в стены, по батареям, приходить незваными гостями, чтобы высказать свое oтношение к вам за помехи, появившиеся на их телевизорах! Настроение на игру, как правило, после этого сильно ухудшается. Но у многих телевизоров есть "видеовход", а на "Dandy" — видеовыход, их нужно соединить между собой, но при этом при качественной "картинке" на экране телевизора игра становится "немой". Чтобы вернуть "голос", необходимо выход "Dandy" соединить со входом УЗЧ телевизора, а такого, как правило, нет и нужно "залезать" в телевизор. Чтобы избежать этого, можно изготовить предлагаемый УЗЧ, подключить его к выходу ЗЧ приставки — и проблема решена.
Входной сигнал ЗЧ, пройдя разделительный (по постоянному току) конденсатор С1, поступает на регулятор громкости R1, и с его движка — на вход ИМС, усиливается ею и через разделительный конденсатор С4 поступает на громкоговоритель (динамическую головку) ВА1. От емкости конденсатора СЗ зависит усиление ИМС, сильно уменьшать ее не рекомендуется. С2 обеспечивает развязку каскадов УЗЧ (внутри ИМС) по питанию, а также способствует устойчивости УЗЧ при питании от разряженных батарей. С5 и С6 повышают устойчивость усилителя к самовозбуждению, причем С5 влияет еще и на частотную характеристику. УЗЧ. С5 и С6 — не обязательны и устанавливаются только при необходимости. Оксидные конденсаторы можно использовать любой марки, резистор R1 регулятора громкости — по возможности группы В, обеспечивающий более плавную регулировку уровня звука. Динамическая головка ВА1 — любого типа с сопротивление 8... 16 Ом, важно чтобы соединительные провода были как можно короче, так как при длинных проводах на них теряется часть выходной мощности, поскольку эти провода являются частью сопротивления нагрузки УЗЧ;
Усилитель может служить отдельным блоком везде, где необходимо поднять уровень сигнала ЗЧ для восприятия человеческим ухом: в магнитофонной приставке, плейере, в составе различных пробников, громкоговорящих игрушках, квартирных звонках, в качестве УЗЧ для детекторных приемников, например на даче и т.д. УЗЧ некритичен к напряжению питания и потребляет небольшой ток, но обеспечивает качественное воспроизведение звука. Teм, кто рассчитывает на большее усиление, следует применять более высокое напряжение питания.
Автор сознательно не приводит технические данные усилителя: они полностью соответствуют приведенным в [1] и в комментариях не нуждаются.
Литература
1. Микросхемы для бытовой аппаратуры/Справочник. — М. Радио и связь, 1989. — С.169 — 173.
2. Бродский Ю. "Селга-309" — супергетеродин на одной микросхеме//Радио. — 1986. — N1. — С.43 — 45.
Звучащий брелок на одной микросхеме
Этот вариант "откликающегося" брелока является результатом творческой переработки аналогичной конструкции, опубликованной а журнале "Радио" N1/1991 г. Описанный ранее брелок хорош лишь в том. случае, если в нем применены микросхемы серии К564. Однако работа с этими микросхемами требует определенных навыков, да и приобрести их намного сложнее, чем другие микросхемы аналогичной КМОП-серии.
Новый брелок намного проще прежнего, поскольку в нем можно применить не две, а одну микросхему и, разумеется, почти не изменяя габаритов устройства, выбрать ее из серий К176, К561. Правда, брелок вместо прерывистого выдает непрерывный сигнал, тем не менее он вполне справляется со своими "обязанностями".

Принципиальная схема брелока состоит из триггера-одновибратора (DD1.1, DD1.2), звукового генератора (DD1.3, DD1.4), усилителя на транзисторах (VT1, VT2) и приемника-излучателя звукового сигнала (BA1). Действует схема так. В состоянии "ожидания" на выводе 4 элемента DD1.1 присутствует сигнал низкого уровня, а на выводе 3 элемента DD1.2 — высокого. При поступлении с усилителя звукового сигнала триггер переключается. На выводе 4 элемента DD1.1 появляется сигнал высокого уровня, разрешая работу звукового генератора. Одновременно через резистор R7 заряжается конденсатор С2. По окончании времени t - 1/2R7C2 напряжение на входе 1 элемента DD1.2 падает до уровня переключения триггера, и брелок замолкает.
Налаживание схемы сводится к установке приемлемой чувствительности брелока. Для этого на время налаживания вместо R4 подключают подстроечный резистор сопротивлением 500 к. Уменьшая R4, находят такое критическое значение его сопротивления, при котором брелок звучит безостановочно. После этого ненамного увеличивают R4. Чем ближе R4 к критическому, тем чувствительнее брелок. После настройки подстроечный резистор заменяют постоянным.
Резисторы и конденсаторы схемы подбираются из соображений малогабаритности. Диод VD1 — с наименьшим прямым сопротивлением.
Транзисторы VT1, VT2 — с наибольшим коэффициентом усиления. Пьезокерамический излучатель ЗП-3 может быть заменен на ЗП-1, но при этом несколько увеличатся габариты устройства и потребляемый им ток в режиме звучания. В качестве источника питания могут применяться батареи из трех миниатюрных дисковых аккумуляторов или три батарейки от наручных часов. Печатная плата и компоновка элементов в устройстве могут быть различными, в зависимости от габаритов и конструкции применяемого для брелока корпуса.
Измеритель емкости на логических микросхемах
Измеритель емкости состоит из генератора импульсов (D1.1-D1.3), делителя частоты (D2-D4), электронного ключа (V1) и измерительной цепи (V2, R7 и Р1).

Принцип действия прибора основан на измерении среднего тока разряда измеряемого конденсатора, заряженного от источника прямоугольного напряжения. Генератор вырабатывает импульсы с частотой 100 кГц. В зависимости от выбранного диапазона переключателем S1 меняют коэффициент деления. Конденсатор С2 служит для калибровки прибора.
Питается прибор от стабилизированного источника напряжением 5 В.
Измеритель емкости электролитических конденсаторов
Электролитические конденсаторы в процессе эксплуатации и хранения изменяют свою емкость, поэтому иногда возникает необходимость измерения их емкости.

Принцип действия измерителя емкости конденсаторов от 3000 пФ - 300 мкФ основан на измерении пульсирующего тока, протекающего через конденсатор. Переменная составляющая этого тока пропорциональна емкости конденсатора.
Нижняя граница емкости измеряемых конденсаторов ограничивается чувствительностью измерителя тока; верхняя - постоянной времени цепи разряда исследуемого конденсатора и резистора, включаемого последовательно с ним.
Конденсатор Со - калибровочный. Перед измерением замыкают контакты переключателя S3 и резистором R7 устанавливают стрелку прибора на отметку соответствующую емкости образцового конденсатора.
Переменный ток получают однополупериодным выпрямлением пониженного сетевого напряжения. Трансформатор Т1 - сетевой, от любого лампового вещательного приемника. Он должен иметь накальную обмотку на напряжение 6,3 В и ток не менее 1 А. Мощность рассеяния резистора R1 не менее 5 Вт. Необходимы два предохранителя - один в цепи питания, второй защищает стрелочный прибор в случае замыкания клемм, к которым подключают конденсатор Сх, или при пробое проверяемого конденсатора.
Имитатор шума прибоя
Имитатор шума прибоя можно выполнить по схеме, показанной на рисунке.

Имитатор выполнен в виде приставки, подключаемой к усилителю звуковой частоты. Источником шумового сигнала служит кремниевый стабилитрон VI, работающий в режиме лавинного пробоя при малом обратном токе. На транзисторах V2-V4 выполнен усилитель с переменным коэффициентом усиления, служащий для усиления шумового сигнала. Изменение коэффициента усиления производится транзистором V5, включенным в цепь эмиттера транзистора V4, путем подачи на базу V5 через интегрирующую цепь R8C4 управляющего напряжения. Это напряжение вырабатывается симметричным мультивибратором на транзисторах V6 и V7. Таким образом, на выходе шумовой сигнал будет периодически нарастать и спадать, имитируя шум прибоя. К гнездам "Выход" можно подключать высокоомные головные телефоны. В имитаторе применены транзисторы типа КТ351Д.
Имитатор шума дождя
По принципу работы такой имитатор соответствует ранее описанному имитатору шума "прибоя".

Генератор шума выполнен на транзисторе V2 и стабилитроне VI. Генератор импульсов, выполненный на транзисторах V5 и V6, вырабатывает импульсы с частотой 1...3 Гц, которые поступают на базу транзистора V4 и изменяют коэффициент усиления транзистора V3, в результате чего на выходе появляется то нарастающий, то спадающий шум, уровень которого регулируется переменным резистором R3, а тембр - подбором конденсатора С2.
Детали. В схеме применены транзисторы V3-V6 типа КТ315, V2 типов КТ602А-КТ602Г, КТ603А- КТ603Д. Стабилитрон подбирают по наибольшему уровню шума на выходе имитатора.
Источник питания для измерительного прибора на микросхемах
Питание несложных измерительных приборов (авометров, генераторов и пр.) можно осуществить от несложного источника питания.

Особенность этого блока питания состоит в том, что сетевой трансформатор вместе с балластными цепями R3C1 и R1C2 работает в режиме генератора тока, т. е. обладает большим внутренним сопротивлением. Это позволило непосредственно после выпрямителя (V2-V5) включить стабилитрон V1 и таким образом осуществить первую ступень стабилизации напряжения. Дальнейшая стабилизация происходит в электронном стабилизаторе на транзисторах V6-V9. В качестве опорного источника использован эмиттерный переход транзистора V8. Регулирующий каскад собран на транзисторах V6, V7, V9, включенных по схеме составного эмиттерного повторителя. Керамический конденсатор С6 предназначен для снижения выходного сопротивления стабилизатора на высоких частотах.
Трансформатор Т1 имеет магнитопровод Ш10 X 15. Обмотка I содержит 2600 витков, а обмотка II - 1300 витков провода ПЭЛ-2- 0,08.
Источник питания для измерительных приборов
Современные измерительные приборы могут быть собраны на транзисторах, операционных усилителях и цифровых микросхемах. Для питания таких приборов необходимо иметь источник напряжения, обеспечивающий минимум три напряжения: 5; 12 и 20 В. Один из вариантов такого источника питания обеспечивает близкие к упомянутым значениям напряжения.

Стабилизаторы на транзисторах V5 и VII снабжены защитой от короткого замыкания посредством стабилитро нов V2 и V7. При коротком замыкании стабилитроны открываются и ограничивают коллекторный ток транзисторов. После устранения короткого замыкания устройство автоматически возвращается в рабочий режим.
В схеме использован готовый трансформатор ТВК-110ЛМ-К (выходной трансформатор кадровой развертки от телевизоров). Диодные матрицы VI и V6 можно заменить диодами Д226, Д237 и др.
Налаживают блок питания подбором резисторов RI и R4 до получения номинального тока в нагрузке.
Малогабаритный выпрямитель
Малогабаритный выпрямитель предназначен для питания транзисторного приемника.
| Основные параметры | |
| Ток нагрузки, мА | 70 |
| Напряжение на выходе, В | 9 |
| Коэффициент стабилизации | 100 |
| Напряжение пульсаций, мВ | 5 |

Стабилизатор выпрямителя защищен от перегрузок вовремя короткого замыкаиия на выходе или в нагрузке. Для уменьшения габаритов трансформатор Т1 выполнен на сердечнике из пластин Ш6 при толщине набора 40 мм. Обмотка I содержит 3200 витков провода ПЭВ-1 - 0,1 с прокладками из конденсаторной бумаги через каждые 500 витков, обмотка II имеет 150 витков ПЭВ-1 -0,2. Между обмотками I н II намотан один слой провода ПЭВ-1 - 0,1, служащий экраном. Максимальный ток нагрузки (до 120 мА) можно увеличить, если вместо транзистора МП16 (V5) установить П213, резисторы R1, R2 и R3 заменить соответственно на резисторы сопротивлением 220 Ом, 2,2 кОм и 820 Ом, а трансформатор TI заменить на более мощный с напряжением в обмотке II 12…14 В (ТВК от телевизора).
Маломощный блок питания
Маломощный блок питания предназначен для питания от сети портативных транзисторных приемников, измерительных приборов и других маломощных устройств.

Трансформатор Т1 имеет коэффициент трансформации равный 1 и служит только как разделительный для создания безопасности пользования блоком питания. Ограничителем сетевого напряжения служил цепочка R1C1. В таблице приведены данные для двух вариантов исполнения блока питания.
| Обозначение | Вариант 1 | Вариант 2 |
| T1 | Сердечник 6,5х10, окно 25х11 мм. Обмотки содержат по 850 витков провода ПЭЛ диаметром 0,22 мм. | Сердечник Ш6х8, окно 6х15 мм. обмотки содержат по 1100 витков провода ПЭЛ диаметром 0,12 мм. |
| C1 | 2,0х300 В | 0,5х300 В |
| V1 | Д815Г | Д814Г |
| V2 | Д815Г | Д814Г |
| R2 | 51 Ом 0,5 Вт | 150 Ом 0,25 Вт |
| C2 | 400,0х15 В | 80,0х15 В |
В первом из них на выходе блока при напряжении 9 В можно питать нагрузку, потребляющую 50 мА; во втором варианте при том же напряжении на выходе можно получить ток до 20 мА. В первом варианте блока сердечник трансформатора стержневой, его набирают из Г-образных пластин Обмотки размещают на противоположных стержнях. Если при приеме мощных станций будет прослушиваться фон переменного тока, следует перевернуть вилку XI в сетевой розетке либо заземлить общий плюсовой провод блока.
Мелодичный звонок
Мелодичный звонок устанавливают вместо обычного квартирного электрического звонка. Звонок звучит трелями, которые можно менять путем несложной его переделки.

В мелодичном звонке использованы две логические микросхемы и три транзистора. Частота колебании генератора (транзисторы V6 и V7) определяется емкостью конденсатора С2 и общим сопротивлением цепи, состоящей из резисторов R2-R6 и R10. Блок управления (элементы D2.1 и D2 2) представляет собой последовательный счетчик с коэффициентом деления 4, собранный на двойном D-триггере. При работе звонка (кнопка S1 нажата) на катодах диодов VI-V5 поочередно появляются уровни логических нулей, что приводит к открыванию диодов и подключению соответствующих резисторов к общему проводу питания (минус батареи GB1). Поочередное подключение обеспечивается подачей на блок управления импульсов с тактового генератора, выполненного на логических элементах 2И-НЕ (D1.1, D1.2) по схеме мультивибратора. Элемент D1.3 выполняет роль буферного (согласующего) каскада между тактовым генератором и блоком управления.
С резистора R11 колебания генератора тока подаются через согласующий каскад, выполненный на элементе D1.4 и резистор R12 на базу транзистора V8 усилителя НЧ. Нагрузкой усилителя является динамическая головка В1, включенная в цепь коллектора транзистора через выходной трансформатор Т1.
Транзисторы К315Г можно заменить на любые транзисторы серий КТ312, КТ315, КТ301, а МП40 - на МП25, МП26, МП42Б. Вместо диодов Д9К можно использовать любые германиевые диоды.
Трансформатор Т1 - ТВ-12 (от малогабаритных транзисторных приемников), в котором используется половина первичной обмотки. Динамическая головка В1 - мощность до 2 Вт, сопротивление звуковой катушки постоянному току 4...10 Ом. Конденсаторы С1, СЗ - К50-6, С2 - МБМ. Источник питания - батарея 3336Л.
При исправных деталях и безошибочном монтаже звонок начинает работать сразу после нажатия кнопки. Нужную мелодию нетрудно установить подбором резисторов R2*-R6*. На время налаживания их удобнее заменить переменными резисторами сопротивлением по 22 кОм, подобрать мелодию, а затем измерить полученные сопротивления и впаять в устройство постоянные резисторы с таким сопротивлением.
При необходимости тональность мелодии изменяют подбором конденсатора С2 и резистора R10. Устойчивой работы генератора тона добиваются подбором резистора R7* (сопротивлением от 6,8 до 22 кОм).
Скорость исполнения мелодии зависит от частоты тактового генератора, и ее можно изменять грубо подбором конденсатора С1, а плавно - подбором резистора R1* в пределах 300…470 Ом.
Многовходовое сенсорное устройство
Многовходовую схему сенсорного устройства на тринисторах, предложенную Ю. Сбоевым, можно применить для переключения телевизионных каналов, диапазонов приемников и др.

На схеме показаны четыре одинаковые сенсорные ячейки, каждая из которых содержит тринистор, транзистор, коммутирующий конденсатор и индикатор. При касании пальцем любой из четырех пар контактов Е1...Е4 в цепи базы соответствующего транзистора (VI, V3, V5 или V7) потечет ток, открывающий транзистор, который в свою очередь откроет соответствующий тринистор. Конденсаторы С1...С4 служат для выключения ранее работающей ячейки при касании сенсора другой ячейки, так как в этом случае напряжение этих конденсаторов оказывается приложенным к работавшему тринистору с обратной полярностью, что приводит к его выключению. Для индикации состояния ячеек служат лампы Н1...Н4.
Детали : транзисторы типа КТ315, П307...П308); конденсаторы типа МБМ; индикаторные лампы СМ37 либо любые другие, соответствующие напряжению питания сенсорного устройства. Максимально допустимый ток через открытый тринистор КУ101А — 75 мА, поэтому сопротивление нагрузки выбирают, исходя из указанного тока. Напряжение питания устройства 10...30 В. Емкость конденсаторов С1...С4 подбирают при налаживании схемы. Величина емкости должна быть не менее С = 36t/R, где t — время выключения тринистора, R — сопротивление нагрузки.
Переключатель гирлянд на одном тринисторе
Переключатель гирлянд на одном тринисторе для одной гирлянды можно собрать по следующей схеме (рис. IX.4, а).

Резисторы, электролитический конденсатор и тринистор составляют замкнутую ячейку, работающую "на себя".
Элементы R1C1 образуют времязадающую цепь. В первоначальный момент после включения устройства в сеть тринистор закрыт и гирлянда HI не горит. Конденсатор С1 заряжается через резистор R1, и при определенном напряжении на нем тринистор открывается. Гирлянда загорается, одновременно конденсатор разряжается через резистор и открытый тринистор. Тринистор закрывается, гирлянда вновь гаснет. Процесс повторяется.
Гирлянду составляют из последовательно соединенных ламп с током потребления не более 0,4 А. При большем токе следует установить диод V2 более мощный, например Д242Б, а также применить тринисторы КУ202Л (М, Н).
При незначительном усовершенствовании схемы можно использовать переключатель для двух гирлянд с регулировкой длительности свечения (см. рис. IX 4, б).

Полного погасания каждой гирлянды во время паузы можно достичь, если гирлянду HI выбрать со значительно большим током потребления.
Переключатель гирлянд с плавным включением
Принцип работы устройства (рис. IX. 1) основан на взаимодействии двух близких по частоте напряжений - электроосветительной сети (50 Гц) и получаемых от мультивибратора импульсов для управления транзисторными ключами в цепях питания гирлянд.

Световой поток и яркость свечения ламп изменяются с частотой, равной разности частот этих электрических сигналов. Моменты плавного загорания и погасания ламп в гирляндах сдвинуты во времени по отношению друг к другу, интервал между очередными загораниями и погасаниями ламп можно плавно регулировать в широких пределах - до 10 с и более. Управляющие импульсы формирует трехфазный мультивибратор (транзисторы VI-V6), питающийся напряжением от двухполупериодного выпрямителя (диоды V12-V15). Выпрямленное напряжение стабилизируется стабилитроном V7. Импульсы от мультивибратора подаются на силовые транзисторные ключи V8, V9, V10, в коллекторные цепи которых включены гирлянды ламп HI-Н2. Поочередно на 1/3 периода следования управляющих импульсов группы транзисторов VI, V2 и V8, V3, V4 и V9, V5, V6 и V10 переключаются из открытого состояния в закрытое. Переменным резистором R10 устанавливают желаемую частоту повторения управляющих импульсов. Для надежного запуска мультивибратора введена кнопка S1 Пуск.
Лампы накаливания в гирляндах соединяют параллельно или последовательно, в зависимости от их номинальных напряжений и тока накала. Силовые цепи, состоящие из транзисторных ключей V8-V10 и их нагрузок - гирлянд питаются пульсирующим напряжением от выпрямителя на диоде V11. Ток через лампы гирлянд протекает только при совпадении напряжений питания силовых цепей и управляющих импульсов тока в базовых цепях транзисторов V8, V9, V10. Ввиду разницы их частот происходит смещение во времени моментов загорання и погасания ламп и плавное изменение яркости их свечения.
Желаемую периодичность загорания и погасания гирлянд устанавливают переменным резистором R10 управляющего устройства. Если частота пульсаций светового потока окажется больше, чем требуется, подбирают резисторы R5*, R7* и R9*.
В блоке питания использован трансформатор ТА 163-127/220-50 (мощностью 86 Вт), выполненный на магнитопроводе ШЛ20 X 40. Согласно паспортным данным в режиме номинальной нагрузки напряжения обмоток 11-12 и 13-14 при токе 0,68 А и обмоток 15-16 и 17-18 при токе 0,71 А равны 28 В, а обмоток 19-20 и 21-22 при токе 0,71 А - 6 В. Каждая из гирлянд составлена из 10 ламп МН30-0,1 (на напряжение 30 В и ток 0,1 А). Транзисторы П210Б и диоды Д232 работают без теплоотводящих радиаторов.
Транзисторы П210Б можно заменить близкими им по максимальному току коллектора, напряжению между коллектором и базой, обратному току коллектора и статическому коэффициенту передачи тока базы. Допустимое напряжение между эмиттером и базой транзисторов V2, V4 и V6 управляющего устройства должно быть не менее 10 В.
Используя в силовой цепи кремниевые транзисторы, резистор R17 можно исключить, при этом сопротивления резисторов R15, R16, R18 могут быть больше в два раза.
Питающее устройство
Питающее устройство представляет собой сочетание двухполупериодного выпрямителя и параметрического стабилизатора напряжения на стабилитроне.

Выходное напряжение устройства 9 В при токе 25-30 мА. Гасящие конденсаторы С1 и С2 определяют величину тока, потребляемого устройством от сети. Конденсатор СЗ служит фильтром для сглаживания пульсаций), а резистор R2 и стабилитрон V5 образуют параметрический стабилизатор напряжения.
Детали. Диоды типа Д226; стабилитрон Д814Б или Д809; конденсаторы С1, С2 типов КБГ, БМТ.
Прибор для проверки полевых транзисторов
Прибор позволяет проверять работоспособность полевых транзисторов с p-n-переходом, с изолированным затвором и встроенным каналом (обедненный тип), а также одно- и двухзатворных транзисторов с изолированными затворами и индуцированным каналом (обогащенный тип).

Переключателем S3 устанавливают, в зависимости от типа испытуемого транзистора, необходимую полярность напряжения на стоке. Для проверки транзисторов с затвором в виде p-n-перехода и транзисторов с изолированным затвором и встроенным каналом переключатель S1 устанавливают в положение Обеднение, a S2 - в положение Подложка.
Для проверки транзисторов с изолированными затворами и индуцированным каналом переключатель S1 переводят в положение Обогащение, a S2 - в положение Подложка для однозатворных и Затвор 2 для двухзатворных транзисторов.
После установки переключателей в нужные положения к гнездам разъема XI подключают проверяемый транзистор, включают питание и, регулируя переменными резисторами R1 и R2 напряжения на затворах, наблюдают за изменением тока стока.
Резисторы R3 и R4 ограничивают ток затвора в случае его пробоя или при ошибочной полярности напряжения на затворе (для транзисторов с затвором в виде p-n-перехода). Резисторы R5 и R6 исключают возможность накопления статических зарядов на гнездах разъема XI для подключения затворов. Резистор R8 ограничивает ток, протекающий через миллиамперметр P1. Мост (диоды VI-V4) обеспечивает требуемую полярность тока через измерительный прибор при любой полярности питающего напряжения.
Налаживание прибора сводится к подбору резистора R8*, обеспечивающего отклонение стрелки миллиамперметра на последнюю отметку шкалы при замкнутых гнездах Сток и Исток.
В приборе может быть использован миллиамперметр с током полного отклонения 10 мА или микроамперметр с соответствующим сопротивлением шунтирующего резистора R7*. Диоды V1-V4 - любые, маломощные, германиевые. Номинальное сопротивление резисторов R1 и R2 - в пределах 5,1...47 кОм.
Прибор питается от двух батарей "Крона" или от двух аккумуляторов 7Д-0,1.
Данным прибором можно измерять и напряжение отсечки (прибор Р1 должен быть на ток 100 мкА). Для этого параллельно гнездам Затвор 1 и Исток устанавливают дополнительные гнезда, к которым подключают вольтметр.
Последовательно с резистором R7* включают кнопку, при нажатии на которую шунтирующий резистор отключается. При нажатой кнопке устанавливают ток стока 10 мкА и по внешнему вольтметру определяют напряжение отсечки.
Приставка - ревун
Это охранное устройство также существенно отличается от ранее опубликованных. В качестве датчика используется пьезоэлемент от звукоснимателя (или керамический излучатель ЗП-1), прижатый или приклеенный (лучше не полностью, а только с одного конца) к корпусу замка, дверце, кузову автомобиля или другому охраняемому объекту.
Датчиков может быть несколько, включенных параллельно. Если устройство включено и находится в дежурном режиме, то первый легкий удар металлическим предметом по объекту (попытка открыть ключом или отмычкой замок, отвинтить колесо и т.д.) вызовет пакет импульсов напряжения на датчике Д. Усилившись транзисторами VT1, VT2, пройдя через регулятор чувствительности R5 и инвертор D3.3, первый импульс пакета запускает одновибратор на Dl.l, D1.2. На выводе 11 D1.1 появляется лог "О", который запускает генератор секундных импульсов на элементах D1.3, D1.4. Эти импульсы поступают на вход "С" D5. Счетчик переключается, и на выходах 1-9 поочередно появляются лог. "1".
Если второй удар произойдет в течение той секунды, когда лог. "1" находится на выходе 4, то лог. "О" с вывода 11 D3.1 опрокинет RS триггер на элементах D4.1, D4.2. На входе Е" счетчика появится лог. "1", запрещающая счет на все время действия импульса одновибратора (около 1 мин.). За это время хозяин откроет замок и отключит сигнальное устройство. Если же второй удар произойдет в другое время, то опрокинется триггер на элементах D4.3, D4.4, счетчик тоже остановится, и одновременно включится сирена на элементах D2.3, D2.4, D6 и VT3 - VT6. Основной тон сирены изменяется под воздействием секундных импульсов.
Когда закончится импульс одновибратора, сирена выключится, а на вход "R" счетчика поступит лог. "1", которая сбросит счетчик в начальное состояние. Одновременно лог. "О" с вывода 10 D1.2 через диод VD4 также установит оба RS триггера в начальное состояние и устройство перейдет в дежурный режим.
Одновибратор на элементах D2.1, D2.2, запускаемый нажатием кнопки КН, блокирует работу счетчика и делает невозможным включение сирены на время чуть больше минуты. Это необходимо для "бесшумного" закрывания двери. Секундные импульсы, поступающие через диод VD10 на усилитель сирены, вызывают щелчки в громкоговорителе, облегчая хозяину отключение сирены. Элемент D3.4 переводит ее в дежурном режиме в выключенное состояние, снижая потребляемый ток до 0,5 -1мА.
Охранное устройство монтируется на печатной плате
. Расположение деталей приведено здесь
. При монтаже следует защищать микросхемы от статического электричества. Вывод 9 микросхемы D3.1 можно присоединять к любому из 9 выходов D5, задавая свой вариант "ключа". Все остальные выходы нужно соединить через диоды, как показано на схеме. Готовая плата, вместе с батареями, устанавливается в подходящем по размерам корпусе. Кнопка КН и выключатель питания монтируются сверху на корпусе.
Если приставка используется для охраны квартиры, то в двери сверлятся несколько десятков отверстий (3-6 мм), закрываются металлической сеткой (или пластинкой с такими же отверстиями), а на нее прикрепляется динамическая головка. Корпус устройства прикрепляется к двери около излучающей головки. Пьезоэлемент соединяется с конструкцией экранированным или витым проводом.
Вместо микросхемы К561ПУ4 можно использовать К176ПУЗ, взамен остальных из серии 561 — такие же из серий 176, 164 или 564. Собранное из исправных деталей устройство в наладке не нуждается. Нужно только установить резистором R5 необходимую чувствительность. При несильном уда-' ре ключом по замку или попытке вставить его в скважину, должен включиться генератор импульсов и должны начать раздаваться щелчки с частотой 2 Гц. Это значит, что устройство перешло в режим ожидания второго удара. Если все сделано так, как на схеме, то отключить сирену можно, ударив по замку после 8-го щелчка, то есть через 4 секунды. Удар в другое время включит сирену. Чтобы еще усложнить "работу" вору, можно убрать щелчки, удалив диод VD10, но тогда хозяину необходимо будет выдерживать секундный ритм самому.
Не следует устанавливать высокую чувствительность, чтобы избежать ложных срабатываний устройства.
Порядок работы устройства следующий.
ВКЛЮЧИТЕ ПРИСТАВКУ И НАЖМИТЕ КНОПКУ.
ВЫЙДИТЕ ИЗ ДОМА И ЗАКРОЙТЕ ДВЕРЬ (у Вас только одна минута!).
ВОЗВРАТИВШИСЬ, УДАРЬТЕ КЛЮЧОМ ПО ЗАМКУ, ОТСЧИТАЙТЕ НУЖНОЕ КОЛИЧЕСТВО ЩЕЛЧКОВ И СНОВА УДАРЬТЕ ПО ЗАМКУ.
ОТКРОЙТЕ ДВЕРЬ И ЗАЙДИТЕ В ДОМ
(для отключения тревожного звонка у Вас только 1 минута).
Охранное устройство можно не выключать, тогда Вы будете находиться под охраной и дома, энергии батареек хватит на несколько месяцев.
Простая цветомузыкальная приставка
Простая цветомузыкальная приставка, предложенная А. Полозовым, может быть установлена на передней панели стереофонического магнитофона, электрофона или радиоприемника.

Приставка выполнена на двух транзисторах, одной логической микросхеме и четырех миниатюрных лампах накаливания. Сигналы, поступающие через резисторы R1, R7 и конденсаторы C1, С2 на вход устройства, усиливаются транзисторами VI и V2 и подаются на входы инверторов D1.1 и D1.3, в выходную цепь которых включены лампы накаливания HI и НЗ. Выходы этих инверторов через резисторы R4, R10 подключены к выходам инверторов D1.2 и D1.4, нагруженных лампами накаливания Н2 и Н4. При зажигании лампы HI лампа Н2 гаснет, при зажигании НЗ гаснет Н4 и наоборот. Таким образом, при поступлении на вход сигнала лампы HI, Н2, НЗ, Н4 как бы перемигиваются с частотой звукового сигнала. Лампы устанавливают за светорассеивающим экраном размером 650 X 50 мм, окрашивают соответственно в красный, синий, желтый и зеленый цвета.
Детали: лампы накаливания СМН-6,3-20; постоянные резисторы МЛТ-0,25, подстроечные — СПО-0,5 или СП-0,4; конденсаторы С1 и С2 — КМ или МБМ. Настройка сводится к регулировке резисторов R2 и R8 так, чтобы без сигнала лампы HI и НЗ находились у порога зажигания. Резисторами R4 и R10 добиваются гашения ламп Н2 и Н4 при полном свечении HI и НЗ.
Простая цветомузыкальная приставка
Простая цветомузыкальная приставка предназначена для работы с ламповым радиоприемником или магнитофоном. Подключают ее ко вторичной обмотке выходного трансформатора. Для питания используется выпрямленное диодом V4 переменное напряжение обмотки накала ламп (6,3 В).

Приставка - трехканальная. Канал на транзисторе V1 усиливает составляющие высших частот, на транзисторе V2 - средних, на транзисторе V3 - низших. Разделение спектра частот входного сигнала осуществляется простейшими фильтрами R3C1, R5C2C4 и R7C3C5. Нагрузками транзисторов служат миниатюрные лампы накаливания МН6,3-0,28, окрашенные в голубой, зеленый и красный цвета.
Переменными резисторами R5 и R7 балансируют яркость свечения с учетом спектра реального музыкального сигнала, переменным резистором R1 регулируют минимальную яркость свечения всех ламп при выбранной громкости звуковоспроизведения.
Налаживание начинают с подбора резисторов R2*, R4* и R6* (на это время их желательно заменить переменными резисторами сопротивлением 6,8... 10 кОм), Сопротивления резисторов должны быть такими, чтобы в отсутствие сигнала нити накала ламп HI-Н6 едва заметно светились. Добившись этого, движки резисторов R5, R7 устанавливают в среднее положение и подают на вход сигнал со вторичной обмотки выходного трансформатора. Установив регуляторами приемника или магнитофона нормальную громкость звучания и максимальный подъем высших частот, перемещают движок резистора R1 до тех пор, пока лампы HI, H2 не начнут вспыхивать в такт с музыкой. В последнюю очередь переменными резисторами R5 и R7 добиваются такого же яркого свечения ламп НЗ, Н4 и Н5, Н6.
Простой стабилизатор напряжения
Питание современной аппаратуры на транзисторах и особенно на микросхемах требует стабилизированного источника. В одном из вариантов стабилизатора (рис VIII 22) выходное напряжение регулируют резистором R2 в пределах от 1 до 14 В при токе до 1 А.

Выходное сопротивление стабилизатора около 0,3 Ом, коэффициент стабилизации равен примерно 40, а напряжения пульсаций (при двухполупериодном выпрямлении первичного напряжения) не превышают 0,028 В. Стабилизатор защищен от перегрузки, автоматически возвращаясь в рабочий режим при снятии последней. Порог ограничения устанавливают резистором R3.
Статический коэффициент передачи по току регулирующего транзистора должен быть не менее 70, и этот транзистор необходимо установить иа радиатор с эффективной площадью поверхности не менее 150 см2 .
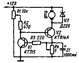
Регулятор частоты вращения вала микроэлектродвигателя
Регулятор частоты вращения вала микроэлектродвигателя постоянного тока позволяет регулировать и стабилизировать обороты вала двигателя при изменении нагрузки.

Микроэлектродвигатель включен в эмиттерную цепь транзистора V2. Сигнал обратной связи снимается с низкоомного резистора R4 и поступает в цепь базы транзистора VI. При увеличении нагрузки возрастает ток электродвигателя и увеличивается напряжение на резисторе R4. Это приводит к увеличению тока транзистора V2 и увеличению тока базы транзистора VI, что увеличивает напряжение на электродвигателе, и мощность на его валу возрастает. При уменьшении нагрузки описанные процессы повторяются в обратном порядке. Частоту вращения электродвигателя устанавливают в режиме холостого хода переменным резистором R1, изменяя смещение на базе транзистора V2. Резистором R4 устанавливают пределы, в которых может изменяться мощность на валу при сохранении числа оборотов.
Детали. Транзистор VI типа КТ315Б, выбор транзистора V2 (например, КТ814В) зависит от величины питающего напряжения и рабочего тока микроэлектродвигателя; диод V3 типа КД510А.
Сенсорный датчик
Сенсорные переключатели позволяют существенно приблизить устройства коммутации к переключаемым цепям. Это существенно упрощает получение низкого уровня фона, обеспечивает высокую помехозащищенность и предоставляет конструктору большую свободу в компоновке проектируемого аппарата. На рисунке показана схема сенсорного датчика, предложенная А. Соболевым.

Для управления датчиком используется наведенное на тело человека переменное напряжение, поступающее на базу транзистора VI, работающего в режиме детектирования сигналов. Выпрямленное напряжение наводки поступает на усилитель тока, собранный на транзисторах V2 и V3. В качестве коллекторной нагрузки транзистора V3 используется обмотка К1 реле, которое срабатывает в результате прикосновения к выводу конденсатора С1. Потребляемый ток устройства в дежурном режиме 0,2 мА.
Детали: транзисторы указанных на схеме типов со статическим коэффициентом передачи тока 80...100; реле — РЭС-10 (паспорт РС4, 524.303) или РЭС-9 (паспорт РС4.524.202); конденсаторы С1-К10-7В, С2-МБ; резисторы — МЛТ-0,125.
При удалении сенсорного датчика от устройства его следует подключать экранированным или свитым в жгут двойным проводом. Оплетку экранированного провода заземляют.
Слуховой аппарат
Слуховой аппарат предназначен для людей с пониженным слухом.
Он имеет следующие параметры:
коэффициент усиления 5000,
рабочая полоса частот 300—7000 Гц,
напряжение на выходе при сопротивлении нагрузки 60 Ом 0,5 В,
максимальный потребляемый ток 20 мА.

Усилитель аппарата выполнен на трех транзисторах. Для стабилизации коэффициента усиления первые два каскада охвачены отрицательной обратной связью по постоянному току. С резистора R7, выполняющего роль регулятора усиления, сигнал через разделительный конденсатор С6 поступает на базу транзистора V3, на котором собран усилительный каскад с плавающей рабочей точкой. Это уменьшает потребляемый ток в режиме молчания до 7 мА
Детали .
Резисторы типа МЛТ-0,125 (R5 типа СПЗ-За); электролитические конденсаторы типа К50-6; конденсаторы СЗ типа КЛС или КМ-4а; С1, С7, С8 типа КM-6а или электролитические К50-6 того же номинала, диоды типа Д9 или Д2, электромагнитный микрофон БК-2 (601); телефон типа ТН-3 или ТН-4; источник питания— батарея «Крона» 9В.
Налаживание сводится к установке режимов; по постоянному току для транзисторов V1 и V2 резисторами R4 и R6 соответственно. Ток покоя оконечного каскада 2—2,5 мА устанавливают резистором R8 (при отключенном микрофоне); резистором R9 добиваются неискаженного усиления сигнала; тембр звучания подбирают емкостью конденсатора СЗ.
Телефон-трубка своими руками
Этот кнопочный телефонный аппарат выполнен полностью на отечественных радиоэлементах. За основу взята схема, составленная из нескольких типов схем кнопочных телефонных аппаратов производства Японии, Кореи, Тайваня, США.

Телефон-трубка собрана на семи транзисторах. Питание схемы снимается с диодного моста VD4 — VD7 через герконовый (или другого типа) переключатель SA1. На транзисторах VT1, VT2, VT3 собраны дифференциальная схема и электронный ключ для набора номера. Питание разговорной части схемы снимается с делителя R5, R8 и зависит от номинала резистора R8, (150 — 200 Ом). На транзисторе VT4 собран усилитель для динамического микрофона, с резистора нагрузки (R6) которого усиленное напряжение через конденсатор С1 подается на базу транзистора VT2. На транзисторах VT5, VT6 собран телефонный усилитель, на вход которого НЧ сигналы с линии поступают с делителя R1, R4 через конденсатор С2. Нагрузкой усилителя телефона является резистор R11, с которого усиленное НЧ напряжение с линии поступает на телефонный капсюль НА1.
На транзисторе VT7 собран электронный звонок, который можно отсоединять выключателем SA2. В качестве излучателя звонка применен микрофонный капсюль ДЭМШ-1А.
Для кнопочного набора номера абонента используется микросхема D1 типа КР1008ВЖ1. Питание на микросхему подается с конденсатора С6 (на 3,6 и 14 выводы). Минус питания — общий, снимается с диодов VD5, VD7. Во время работы телефона заряд конденсатора С6 происходит через резистор R5 и диод VD2, а в исходном состоянии — через делитель R13, R14 и диод VD1 (это необходимо для сохранения в памяти последнего набранного номера абонента).
При наборе номера с вывода 12 микросхемы D1 положительные импульсы через ограничивающий резистор R3 поступают на базу транзистора VT1 (электронный ключ), тем самым открывая и закрывая транзистор VT1. Последний закрывает и открывает транзисторы VT2, VT3. Для регулировки частоты набора номера служит резистор R20. Светодиод HL1 необходим для контроля работоспособности схемы аппарата.

Схема аппарата собрана на односторонней печатной плате (рис.3, 4) размерами 110 х 32 мм.

Терморегулятор
Терморегулятор может быть использован в термостатах, калориметрах и других устройствах с мощностью нагревателя, не превышающей 1 кВт. Если требуется повысить мощность нагревательной установки, следует заменить тиристор VI на более мощный, оставляя регулирующую часть прежней. Если нет подходящего тиристора, можно использовать промежуточный контактор.

Диапазон регулируемых температур при использовании терморезистора ММТ-1 от 20 до 80 °С.
Регулирующая цепь терморегулятора состоит из терморезистора R6 с диодом V6, переменного резистора R7 с диодом V7 и конденсатора С4. Цепь включена через стабилизатор напряжения на стабилитронах V3 и V4 во вторичную обмотку понижающего трансформатора Т1. Значение и полярность напряжения на конденсаторе С4 определяются соотношением сопротивлений резисторов R6 и R7. При R6 > R7 напряжение на верхней обкладке конденсатора С4 по отношению к нижней (по схеме) будет положительным и при некотором ею значении достаточно для открывания маломощного тринистора V2, включенного в управляющую цепь мощного тринистора VI. Эмиттерный повторитель на транзисторах V8, V9 увеличивает входное сопротивление усилителя и обеспечивает большой коэффициент передачи тока для управления тринисторами.
Протекание тока через тринисторы и через нагреватель при заданном сопротивлении резистора R7 обусловлено сопротивлением терморезистора R6. С повышением температуры сопротивление терморезистора понижается, увеличивается ток разряда конденсатора С4 через терморезистор и диод V6, а напряжение на конденсаторе уменьшается.
Для обеспечения плавного изменения угла отсечки тока тринисторов и, следовательно, плавного регулирования тока через нагреватель, управляющее напряжение, подаваемое на тринисторы, содержат наряду с постоянной составляющей переменную составляющую. По отношению к фазе сетевого напряжения она сдвинута по фазе на 90° цепочкой R3C1.Переменное напряженнее конденсатора С1 через конденсатор С2 поступает на базу транзистора V8. При изменении управляющего напряжения, подаваемого на тринисторы, ток через них изменяется в широких пределах.
Трансформатор Т1 намотан на магнитопроводе Ш12 X 15. Обмотка I содержит 4000 витков провода ПЭВ-1 - 0,1, II - 300 витков провода ПЭВ-1 - 0,29.
Налаживание терморегулятора сводится к подбору резисторов R1 и R4, так как минимальный ток запуска тринисторов имеет большой разброс. Следует обратить внимание на то, что для правильной работы терморегулятора напряжения на анодах тринисторов VI и V2 должны совпадать по фазе, что достигается переключением выводов обмотки II трансформатора.
Трехфазный электродвигатель в однофазной сети
В радиолюбительской практике очень часто возникает необходимость в использовании трехфазных электродвигателей для различных целей. Однако для их питания совсем не обязательно наличие трехфазной сети. Наиболее эффективный способ пуска электродвигателя - это подключение третьей обмотки через фазосдвигающий конденсатор.
Чтобы двигатель с конденсаторным пуском работал нормально, емкость конденсатора должна меняться в зависимости от числа оборотов. Поскольку это условие трудновыполнимо, на практике управляют двигателем двухступенчато. Включают двигатель с расчетной (пусковой) емкостью, оставляя рабочую. Пусковой конденсатор отключают вручную переключателем В2.
Рабочая емкость конденсатора (в микрофарадах) для трехфазного двигателя определяется по формуле
Cp=28001/U,
если обмотки соединены по схеме "звезда" (рис.1),

или Ср=48001/U,
если обмотки соединены по схеме "треугольник" (рис.2).

При известной мощности электродвигателя ток (в амперах) можно определить из выражения:
I=P/1,73 U?cos?,
Где Р- мощность двигателя, указанная в паспорте (на щитке) , Вт;
U — напряжение сети, В; cos? — коэффициент мощности; ? —КПД.
Конденсатор пусковой Сп должен быть в 1,5 — 2 раза больше рабочего Ср.
Рабочее напряжение конденсаторов должно быть в 1,5 раза больше напряжения сети, а конденсатор — обязательно бумажным, например, типа МБГО, МБГП и др.
Для электродвигателя с конденсаторным пуском существует очень простая схема реверсирования. При переключении переключателя В1 двигатель меняет направление вращения. Эксплуатация двигателей с конденсаторным пуском имеет некоторые особенности. При работе электродвигателя вхолостую по обмотке, питаемой через конденсатор, протекает ток на 20 -40% больше номинального. Поэтому при работе двигателя с. нагрузкой необходимо соответственно уменьшить рабочую емкость.
При перегрузке двигатель может остановиться, тогда для его запуска необходимо снова включить пусковой конденсатор.
Необходимо знать, что при таком включении мощность, развиваемая электродвигателем, составляет 50% от номинального значения.
В однофазную сеть могут быть включены любые трехфазные электродвигатели. Но одни из них в однофазной сети работают плохо, например, двигатели с двойной клеткой короткозамкнутого ротора серии МА, а другие при правильном выборе схемы включения и параметров конденсаторов — хорошо (асинхронные электродвигатели серий А, АО, АО2, Д, АОЛ, АПН, УАД).
Усилитель для телефона
Этот усилитель предназначен для тех, кто плохо слышит, он эффективен и в том случае, когда сигнал в линии по каким-то причинам ослаблен.

Усилитель монтируется на плате размером 20 х 25 мм и размещается в микротелефонной трубке под телефонным капсюлем, если аппарат старого типа, или в середине трубки, если аппарат типа ТАИ 320, ТА11322 и т.п. Выводы схемы усилителя, обозначенные соответствующим цветом, подключаются к контактам на держателе микрофона. В качестве VD1 — VD4 могут быть использованы диоды типа КД102, Д226, Д223. Вместо VT1 можно применить транзисторы МП40А, МП26, конденсатор С1 — типа КМ, резистор R2 может быть как переменным, так и постоянным. Номинал последнего подбирается по исчезновению акустической связи между микрофоном и телефоном.
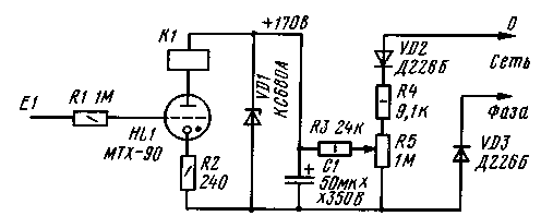
Усовершенствованный светодиодный индикатор сетевого напряжения
Предлагаю для повторения радиолюбителями усовершенствованный светодиодный индикатор сетевого напряжения, который отличается от всех ранее опубликованных большей помехозащищенностью. Например, индикаторы, изображенные на рис. 1 и рис.2, способны давать ложные показания, когда проверяется наличие напряжения в длинном кабеле, а кабель при этом имеет обрыв фазного провода. Эти индикаторы дают ложные показания и в том случае, когда с их помощью проверяют наличие напряжения в сетевой проводке с плохой изоляцией — в подвалах, сырых помещениях, т.е. там, где наблюдается низкое сопротивление изоляции.

Предлагаемый индикатор (рис.3) прост в изготовлении и надежен в работе, лишен ложных показаний при любых условиях эксплуатации. Им можно проверить как линейное напряжение 380 В, так и фазное. А отличается он от всех предыдущих использованием в схеме динистора КН102Д. Благодаря последнему, индикатор регистрирует только чистую фазу и не реагирует на наводки. В индикаторе применены конденсатор С1 — МБМ 0,1 мкФ на 400 В и резистор R1 - МЛТ 0,5.
Установка «ПАДАЮЩИЙ СНЕГ»
Среди новогодних украшений многим известна установка "Падающий снег", представляющая собой вращающийся шар с приклеенными на него кусочками битого зеркала и подсвеченный лампой. Но такая установка утомляет глаза, а эффект "падающего снега" не отличается разнообразием и быстро надоедает.
Предлагаю усовершенствованную установку, Совмещенную с цветомузыкальным устройством. Конструкция ее понятна из рисунка.

Барабан легко изготовить из жести, его покрывают клеем "Момент" и обклеивают кусками битого зеркала. Меняющиеся мелодии изменяют освещенность, меняется и эффект "падающего снега".
Устройство для отпугивания комаров
Устройство для отпугивания комаров вырабатывает колебания частотой более 10 кГц, отпугивающие комаров и даже мышей.

Генератор выполнен на одной микросхеме К155ЛАЗ, нагруженной высокоомным телефоном ТОН-2. Частота генератора может регулироваться резисторами Rl, R2 и конденсатором С1.
Формирователь импульсов большой длительности
Формирователь содержит RC-триггер, собранный на логических элементах 2И-НЕ, интегрирующую цепь R1, R2, С1 и инвертор на транзисторе V1.

При высоком логическом уровне на входе формирователя на выходе 1 появятся высокий логический уровень, а на выходе 2 - низкий. При поступлении на вход отрицательного запускающего импульса триггер переключается в другое состояние: на выходе элемента D1.2 появляется высокий логический уровень, а на выходе элемента D1.1 - низкий. Через резисторы R1 и R2 начинает заряжаться конденсатор С1. Как только напряжение на нем достигнет напряжения открывания транзистора V1, напряжение на коллекторе этого транзистора уменьшается, триггер возвращается в исходное состояние, и конденсатор С1 разряжается.
Диод V2 ускоряет разряд конденсатора С1, а резистор R1 ограничивает ток разряда.
Ориентировочно длительность импульсов (в секундах) равна произведению емкости конденсатора С7 (в микрофарадах) и сопротивления резистора R2 (в мегаомах). При использовании элементов с номиналами, указанными на принципиальной схеме, длительность импульсов составляет около 5 с.
Функциональный генератор на микросхеме
Логическая микросхема на МОП-транзисторах с дополнительной симметрией позволяет построить генератор, дающий прямоугольные, треугольные и синусоидальные колебания.

В зависимости от емкости конденсатора СЗ частоту генерируемых колебаний можно изменить в пределах от 35 до 3500 Гц. Основу генератора составляет компаратор на элементах D1.1 и D1.2. С выхода компаратора сигнал поступает на интегратор (СЗ, R6, D1.3). Элемент D1.4 используют как нелинейный усилитель. Регулируя уровень входного напряжения резистором R7 на входе элемента D1.4, добиваются получения на его выходе синусоидальных колебаний. Потенциометр R1 служит для получения симметричных колебаний, частоту импульсов меняют резистором R6.
Экономичная схема стабилизации частоты вращения
Схема представляет собой импульсный стабилизатор, состоящий из тахометрического моста, образованного резисторами R4-R7 и якорной обмоткой двигателя M1, источника опорного напряжения (V7, V8, R3), управляемого мультивибратора на транзисторах V5, V6 и цепи запуска (диоды VI-V4 и резистор R1).

Когда мост уравновешен, напряжение между точками бив зависит только от частоты вращения двигателя. Это напряжение сравнивается с опорным, и разностный сигнал используется для регулирования частоты вращения. При включении схемы потенциал точки а выше, чем точки б, и диод открыт. Благодаря этому открывается транзистор V5, а за ним и транзистор V6. Тахометрический мост оказывается подключенным к источнику питания, что вызывает вращение вала электродвигателя.
Благодаря наличию положительной обратной связи через конденсатор С1 каскад на транзисторах V5, V6 самовозбуждается. Напряжение на тахометрическом мосту зависит от частоты и длительности генерируемых колебаний, которые в свою очередь зависят от разностного управляющего напряжения на базе транзистора V5. В установившемся режиме частота вращения вала двигателя определяется параметрами моста и опорным напряжением. При этом потенциал точки а ниже потенциала точки б, диод V4 закрывается, и цепь запуска (VI-V4, R1) в работе стабилизатора не участвует. Увеличение нагрузки на валу вызывает уменьшение частоты вращения двигателя, что вызывает уменьшение напряжения на диагонали тахометрического моста. При этом напряжение на базе транзистора V5 увеличивается, что вызывает увеличение его коллекторного тока и соответствующее увеличение частоты и длительности импульсов коллекторного тока транзистора V6. Одновременно увеличивается среднее значение напряжения на электродвигателе, благодаря чему восстанавливается частота вращения его вала. Уменьшение нагрузки на валу вызывает в схеме явления противоположного характера.
Нестабильность частоты вращения стабилизатора с двигателем ДПМ-25 в нормальных условиях составляет 0,5... 1 %, а в диапазоне температур от -30 до +50°С 2...3 %. При исключении конденсатора С1 стабилизатор переходит в линейный режим регулирования.
Электронная газовая зажигалка
Электронная газовая зажигалка представляет собой генератор импульсов высокого напряжения.

Импульсы генератора создают искровые разряды возле горелки в момент включения газа. Для этого на оси ручки включения газа устанавливают кулачковый механизм, замыкающий контакты S1, находящиеся вблизи ручки. Включается реле К., блокируя контакты кнопки S1 и включая в цепь заряда конденсатор С1. При этом запускается блокинг-генератор, выполненный на транзисторе V2. Открытое состояние транзистора VI сохраняется в течение времени заряда конденсатора С1, после чего транзистор запирается, и реле отключает питание от схемы, переводя ее в исходное состояние.
Детали. Трансформатор блокинг-генератора Т1 выполнен на ферритовом магнитопроводе диаметром 20 мм; обмотка I содержит 140, обмотка II - 70 витков провода ПЭВ 0,47; трансформатор Т2 - катушка зажигания мотоцикла или лодочного мотора; питание - четыре элемента 373 или 343, соединенные последовательно.
Электронная канарейка.
С помощью относительно простого устройства можно имитировать пение канарейки.

Здесь использован генератор сложных колебаний. Период повторения трелей регулируют переменным резистором R2, а частоту звучания - резистором R4.
Трансформатор Т1 выходной от любого транзисторного переносного приемника; динамическая головка - также от малогабаритного приемника. Потребляемый ток 5 мА, поэтому можно использовать для питания батарею
"Электронная няня"
Сигнальное устройство (рис. 6.37) обеспечивает подачу сигнала, как только пеленки ребенка станут мокрыми.

Датчик устройства представляет собой пластину 20 X 30 мм, вырезанную из одостороннего фольгированного стеклотекстолита толщиной 1 мм, вдоль которой по центру прорезана канавка шириной 1,5-2 мм, разделяющая фольгу на два изолированных друг от друга электрода. Поверхность электродов необходимо посеребрить или облудить. Пока сопротивление датчика велико (пеленки сухие), транзистор V4 закрыт, и потребляемый сигнализатором ток составляет единицы микроампер. При столь малом потребляемом токе в сигнализаторе отсутствует выключатель питания. Как только сопротивление датчика уменьшится (пеленки мокрые), транзистор V4 открывается и подает питание на генератор, имитирующий зву-чание "мяу", выполненный на транзисторах V2, V3. Продолжительность звучания "мяу" зависит от величины сопротивления резистора R4 и емкости конденсатора С2. Частота повторения звуков зависит от сопротивления R2 и емкости С2, тембр - от емкости С1.
Детали. Транзисторы V2, V3 типа МП40-МП42 с любым буквенным индексом с h21э > 30, V4 типов КТ104, КТ2ОЗ, КТ361 с любым буквенным индексом и h21э > 30; телефонный капсюль ТК-67Н с сопротивлением обмотки постоянному току 50 Ом.
Электротермометр для измерения температуры зерна
Датчиком прибора служит измерительная игла диаметром 4 мм, с помощью которой прокалывается мешок с зерном.

Построен прибор по принципу несбалансированного моста, к одной диагонали которого подводится напряжение питания от аккумуляторной батареи (через кнопку S1 и ограничительные резисторы R7 и R8), а в другую включен измерительный прибор - микроамперметр со шкалой 0-50 мкА типа М494. Одним из плеч моста является терморезистор R3 типа МТ-54 сопротивлением 1,3 кОм при 20 °С, установленный на конец измерительной иглы. Калибруют прибор по образцовому ртутному термометру, начиная с самой низкой температуры (-10°С). Резистором R2 устанавливают стрелку микроамперметра на начальное деление шкалы. Для калибровки на наивысшей измеряемой температуре переключатель S2 устанавливают в положение "К" (контроль) и, подстраивая резистор R4, устанавливают стрелку прибора на конечное значение шкалы (+70 °С). Перед измерением температуры калибровку шкалы производят в положении "И" переключателя S2. Регулировкой потенциометра R8 устанавливают стрелку прибора на конечное значение шкалы.
Детали. Резистор R4 наматывается манганиновым проводом ПЭММ-0,1 бифилярно; проводка внутри иглы выполнена проводом во фторопластовой изоляции типа МГТФЛ-0,2.
АВТОМАТ ДЛЯ ПОЛИВКИ РАСТЕНИЙ
Принципиальная схема простого автомата, включающего подачу воды на контролируемый участок почвы (например, в теплице) при уменьшении ее влажности ниже определенного уровня, приведена на рисунке. Устройство состоит из эмиттерного повторителя на транзисторе V1 и триггера Шмитта (транзисторы V2 и V4). Исполнительным механизмом управляет электромагнитное реле К1. Датчиками влажности служат два металлических или угольных электрода. погруженные в грунт.

При достаточно влажной почве сопротивление между электродами небольшое н поэтому транзистор V2 будет открыт, транзистор V4 - закрыт, а реле К1 - обесточено.
По мере высыхания почвы сопротивление грунта между электродами возрастает, напряжение смещения на базе транзисторов V1 и V3 уменьшается, Наконец, при определенном напряжении на базе транзистора V1 открывается транзистор V4 н срабатывает реле К1. Его контакты (на рисунке не показаны) замыкают цепь включения заслонки или электрического насоса, осуществляющих подачу воды для поливки контролируемого участка почвы. При повышении влажности сопротивление почвы между электродами уменьшается, после достижения требуемого уровня открывается транзистор V2, транзистор V4 закрывается и реле обесточивается. Поливка прекращается. Переменным резистором R2 устанавливают порог срабатывания устройства, отчего в конечном итоге зависит влажность почвы на контролируемом участке. Защита транзистора V4 от бросков напряжения отрицательной полярности при выключении реле К1 осуществляется диодом V3.
Примечание. В устройстве можно применить транзисторы КТ316Г (V1, V2), KТ602A (V4) и диоды Д226 (V3).
Источник: "Elecnronique pratique" (Франция), N 1461
Автомат кормления аквариумных рыб
Да, любители аквариумный рыб, заботу о регулярном кормлении ваших подопечных вполне можно поручить описываемому здесь автомату. Он обеспечивает ежедневное одноразовое утреннее кормление рыб.
Электронную часть такого устройства (рис.1) образуют светочувствительный элемент, функцию которого выполняет фоторезистор R1, триггер Шмитта, собранный на элементах DD1.1 и DD1.2, формирователь импульса нормированной длительности подачи корма, выполненный на элементах DD1.3, DD1.4, и электронный ключ на транзисторах VT1,VT2. Роль дозатора корма выполняет электромагнит, управляемый транзисторным ключом.
Источником питания автомата служит серийно выпускаемое выпрямительное устройство ПМ-1, предназначаемое для питания двигателей электрифицированных самоходных моделей и игрушек, или любой другой сетевой блок питания с выходным напряжением 9 В и током нагрузки до 300 мА. Для повышения стабильности работы автомата его фотоэлемент и микросхема питаются от параметрического стабилизатора напряжения R7, VD2, С2.
В темное время суток, когда сопротивление фотодатчика R1 велико, на входе и выходе триггера Шмитта, а также на входе элемента DD1.3 и выходе элемента DD1.4 действует напряжение низкого уровня. Транзисторы VT1 и VT2 закрыты. В таком "дежурном" режиме устройство потребляет небольшой ток- всего несколько миллиампер. С рассветом сопротивление фоторезистора начинает постепенно уменьшаться, а падение напряжения на резисторе R2 - увеличиваться. Когда это напряжение достигает порога срабатывания триггера, на выходе его элемента DD1.2 появляется сигнал высокого уровня, который через резистор R5 и конденсатор С3 поступает на вход элемента DD1.3. В результате элементы DD1.3 и DD1.4 формирователя импульса нормированной длительности переключаются в противоположное логическое состояние. Теперь сигнал высокого уровня на выходе элемента DD1.4 открывает транзисторы VT1 и VT2, а электромагнит Y1, срабатывая, приводит в действие дозатор корма рыб.
С наступлением вечернего времени суток сопротивление фоторезистора увеличивается, а напряжение на резисторе R2 и, следовательно, на входе триггера уменьшается. При пороговом напряжении триггер переключается в исходное состояние и конденсатор С3 быстро разряжается через диод VD1, резистор R5 и элемент DD1.2. С рассветом весь процесс работы автомата повторяется.

Рис. 1
Длительность работы дозатора определяется временем зарядки конденсатора С3 через резистор R6. Изменением сопротивления этого резистора регулируют норму высыпаемого в аквариум корма. Чтобы устройство не срабатывало при пропадании и последующем появлении сетевого напряжения, различных световых помех, параллельно резистору R2 подключен конденсатор С1.
Микросхема DD1 может быть К561ЛА7, транзистор VT1 - КТ315А-КТ315И, КТ312А-КГ315В, КТ3102А-КТ3102Е,/Т2 - КТ603А, КТ603Б, КТ608А, КТ608Б, КТ815А-КТ815Г, КТ817А - КТ817Г. Стабилитрон КС156А заменим на КС168А, КС162В, КС168В. Диоды КД522Б - на КД521А, КД102А, КД102Б, КД103А, КД103Б, Д219А, Д220. Конденсатор С1-КМ; С2 и С3-К50-6, К50-16; С4 - К50-16 или К50-6. Подстроечные резисторы R2 и R6 - СП3-3, другие резисторы-ВС, МЛТ. Фоторезистор R1 -СФ2-2, СФ2-5, СФ2-6, СФ2-12, СФ2-16; можно также использовать фототранзистор ФТ-1.
Монтажную плату вместе с фоторезистором размешают в пластмассовом корпусе подходящих размеров. В стенке корпуса против фоторезистора сверлят отверстие. Устройство ставят на подоконнике таким образом, чтобы через отверстие в корпусе на фоторезистор падал рассеянный дневной свет и не попадали прямые солнечные лучи или свет от искусственных источников освещения. Для соединения с блоком питания и дозатором на корпусе можно установить разъемы любой конструкции.
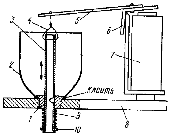
Возможная конструкция дозатора, устанавливаемого на аквариуме, показана на рис.2. С целью упрощения, функцию электромагнита в нем выполняет несколько переделанное электромагнитное реле РЭН-18 (паспорт РХ4.564.706), которое срабатывает при напряжении 6 В и обеспечивает достаточное усилие для работы дозатора.
Сам дозатор состоит из конусообразного бункера 2 из тонкого металла (можно использовать корпус от аэрозольного препарата), приклеенного к цилиндрическому основанию 1 толщиной 5...7 мм и диаметром 15...20 мм. В основании - сквозное отверстие диаметром 5...7 мм, в котором свободно перемещаете тонкостенная трубка 3 с дозирующим отверстием в стенке. Снизу на трубку надета пружина 9, зафиксированная шайбой 10 и развальцованным (или оплавленным - для пластмассовой трубки) концом. Верхний конец трубки стальной проволочной тягой 4 соединен с рычагом 5, скрепленным с якорем 6 реле 7. Все контактные группы реле удаляют. Бункер и реле жестко скреплены с основанием 8 дозатора.
Сухой корм насыпают в бункер. В это время дозирующее отверстие в трубке, диаметр которого равен длине хода трубки, под действием якоря реле должен перекрываться основанием бункера. При срабатывании реле его якорь через рычаг 5 и тягу 4 смещает трубку вверх, дозирующее отверстие в трубке открывается и через него корм попадает в аквариум.
Налаживают автомат в таком порядке. Движок резистора R2 устанавливаютв верхнее (по схеме) положение и размещают устройство на выбранном месте. В утренние часы, при небольшом освещении, медленно увеличивая сопротивление этого резистора, добиваются срабатывания дозатора. Далее в бункер засыпают корм и, периодически затеняя фоторезистор, подстроечным резистором R6 регулируют длительность работы дозатора.
Работу устройства в автомагическом режиме контролируют в течение двухтрех нацель и провопят дополнительные необходимые регулировки.
Рис. 2
Источник: Радио №5, 1993 г., стр.33
Автор: И.НЕЧАЕВ, г. Курск
АВТОМАТИЧЕСКИЙ РЕГУЛЯТОР ОСВЕЩЕННОСТИ
Регуляторы (рис. 1,2) позволяют выполнять две функции: автоматически поддерживать заданный уровень освещенности вне зависимости от изменения уровня внешней освещенности и плавно регулировать задаваемый уровень освещенности. Отмеченные свойства регуляторов позволяют использовать их для поддержания постоянной освещенности коридорных площадок, при фотопечати, задании теплового (светового) режима в установках производственного и бытового назначения (инкубаторах, аквариумах, теплицах, термо- и фотостатах и т.п. устройствах).
Светоизлучающий элемент (лампа накаливания) мощностью до 200 Вт может быть включен в цепь нагрузки тиристора по постоянному току (рис.1, 2) либо по переменному - в разрыв сетевого провода.

Управление работой тиристора осуществляется от релаксационного RC-генератора, выполненного на лавинном транзисторе VT2 (К101КТ1). В начальный момент времени заряд конденсатора С1 осуществляется от положительного полупериода напряжения, снимаемого с анода тиристора VS1 через резистор R2 и транзистор VT1 (рис. 1) или резисторы R2 и R4 и диод VD1 (рис. 2). Параллельно конденсатору С1 подключено сернистокалиевое фотосопротивление типа ФСК-2, сопротивление которого в темноте превышает 3 МОм. Таким образом, если фоторезистор находится в затемненной зоне (при отсутствии оптической связи между светоизлучателем EL1 и фоторезистором R3), последний почти не шунтирует конденсатор С 1. Когда напряжение на обкладках конденсатора превышает 8 В, происходит лавинный пробой транзистора VT2 и разряд конденсатора на управляющий электрод тиристора VS 1. Тиристор на текущий полупериод напряжения сети открывается и на лампу накаливания подается напряжение сети. Для каждого последующего полупериода сетевого напряжения процесс повторяется. На лампе выделяется до 95% подводимой мощности, что характерно для всех типов тиристорных и симисторных регуляторов. Если освещенность фотосопротивления повышать, его сопротивление понижается до 200 и менее кОм. Поскольку фотосопротивление подключено параллельно накопительному конденсатору С1 генератора, его шунтирование приводит к снижению скорости заряда конденсатора и отсрочке момента включения тиристора. В итоге лампа накаливания в каждый полупериод начинает включаться с задержкой, пропорциональной уровню освещенности в точке нахождения фоторезистора. Соответственно суммарная освещенность стабилизирована на определенном (заданном) уровне. Потенциометр R1, включенный в эмиттерную цепь транзистора VT1 (рис. 1) или R2, подключенный параллельно участку коллектор-эмиттер транзистора VT1 (рис. 2), предназначены для задания максимального уровня освещенности и позволяют плавно регулировать указанный уровень.

При необходимости устройство может быть преобразовано в терморегулятор, работающий по подобному принципу. При монтаже устройства следует располагать фоторезистор таким обрзом, чтобы свет от лампы накаливания напрямую не попадал на рабочую площадку фоторезистора, т.к. в противном случае возможно возникновение генерации вспышек света, частота которых явление (оптической обратной связи) может быть использовано для генерации импульсов света, определения расстояния между отражающим покрытием и излучателем/приемником света, в различных радиоэлектронных устройствах.
Источник: РЛ 5/95
Автор: М. ШУСТОВ, г.Томск
Выключатель света на ИК лучах
Достоинство дистанционного управления на ИК лучах (далее просто ДУ) все уже испытали на собственном опыте. ДУ вторглось в нашу повседневную жизнь и в достаточной мере экономит наше время. Но на данный момент, к сожалению, не на все электроприборы устанавливают ДУ. Это относиться и к выключателям света. Нашей промышленностью, правда, на данный момент выпускается такой выключатель, но стоит он не маленькие деньги, да и найти его очень и очень сложно. В этой статье предлагается довольно простая схема такого выключателя. В отличие от промышленной, которая включает в себя одну БИСку, она в основном собрана на дискретных элементах, что, конечно, увеличивает габариты, но зато в случаи необходимости легко подвергается ремонту. Но если гнаться за габаритами, то в этом случаи можно использовать планарные детали. Эта схема также обладает и встроенным передатчиком (в промышленных его нет), что избавляет вас от надобности всё время носить с собой пульт или искать его. Достаточно поднести к выключателю руку на расстоянии до десяти сантиметров как он сработает. Ещё одно преимущество заключается в том, что к ДУ подходят любые пульты от любой импортной или отечественной радиотехники.
Передатчик.
На рис.1 приведена схема излучателя коротких импульсов [1]. Что позволяет уменьшить потребляемый передатчиком ток от источника питания, а значит продлить срок службы на одной батарее питания. На элементах DD1.1, DD1.2 собран генератор импульсов, следующих с частотой 30...35 Гц. Короткие, длительностью 13...15 мкс, импульсы формирует дифференцирующая цепь C2R3. Элементы DD1.4-DD1.6 и нормально закрытый транзистор VT1 образуют импульсный усилитель с ИК диодом VD1 на нагрузке.

Зависимость основных параметров такого генератора от напряжения питания Uпит показаны в таблице.
| Uпит, В Iимп, А Iпот, мА |
4.5 0.24 0.4 |
5 0.43 0.57 |
6 0.56 0.96 |
7 0.73 1.5 |
8 0.88 2.1 |
9 1.00 2.8 |
Здесь: Iимп - амплитуда тока в ИК диоде, Iпот - ток, потребляемый генератором от источника питания (при указанном на схеме номиналом резисторов R5 и R6).
Передатчиком может служить также любой пуль дистанционного управления от отечественной или импортной техники (телевизора, видеомагнитофона, музыкального центра).
Печатная плата приведена на рис.3. Её предлагается изготовить из двухстороннего фольгированного стеклотекстолита толщиной 1,5 мм. Фольга со стороны деталей (на рисунке не показана) выполняют функцию общего (минусового) провода источника питания. Вокруг отверстий для пропускания выводов деталей в фольге вытравлены участки диаметром по 1,5...2 мм. Выводы деталей, соединённых с общем проводом, припаивают непосредственно к фольге этой стороны платы. Транзистор VT1 крепят к плате винтом М3, без какого либо теплоотвода. Оптическая ось ИК диода VD1 должна быть параллельна плате, и отстоять от неё на 5 мм.
Приёмник (со встроенным передатчиком).
Приемник собран по классической схеме принятой в российской промышленности (в частности в телевизорах Рубин, Темп и т.п.) [1]. Его схема приведена на рисунке 2. Импульсы ИК-излучения попадают на ИК фотодиод VD1 , преобразуются в электрические сигналы и усиливаются транзисторами VT3, VT4 , каторге включены по схеме с общем эмиттером. На транзисторе VT2 собран эмиттерный повторитель, согласующий сопротивление динамической нагрузки фотодиода VD1 и транзистора VT1 с входным сопротивлением усилительного каскада на транзисторе VT3. Диоды VD2,VD3 предохраняют импульсный усилитель на транзисторе VT4 от перегрузок. Все входные усилительные каскады приемника охвачены глубокой обратной связью по току. Это обеспечивает постоянное положение рабочей точки транзисторов независимо от внешнего уровня засветки - своего рода автоматическую регулировку усиления, особенно важную при работе приемника в помещениях с искусственным освещением или на улице при ярком дневном свете, когда уровень посторонних ИК-излучений очень высок.
Далее сигнал проходит через активный фильтр с двойным Т-образным мостом, собранный на транзисторе VT5, резисторах R12-R14 и конденсаторах C7-C9. Транзистор VT5 должен иметь коэффициент передачи тока Н21э=30, в противном случаи фильтр может начать возбуждаться. Фильтр очищает сигнал передатчика от помех сети переменного тока, которые излучаются электрическими лампами. Лампы создают модулированный поток излучения с частотой 100 Гц и не только видимой части спектра, но и в ИК области. Отфильтрованный сигнал кодовой посылки формируется на транзисторе VT6. В результате на его коллекторе получаются короткие импульсы (если поступали с внешнего передатчика) или пропорциональные с частотой 30...35 Гц (если поступали от встроенного передатчика).
Импульсы, поступающие с приёмника, поступают на буферный элемент DD1.1, а с него на выпрямительную цепочку. Выпрямительная цепочка VD4, R19, C12 работает так: Когда на выходе элемента логический 0, то диод VD4 закрыт и конденсатор С12 разряжен. Как только на выходе элемента возникают импульсы, конденсатор начинает заряжаться, но постепенно (не с первого импульса), а диод препятствует его разрядке. Резистор R19 выбран таким образом, чтобы конденсатор успел зарядиться до напряжения равного логической 1 только с 3...6 импульса поступающего с приёмника. Это ещё одна защита от помех, коротких ИК вспышек (например, от фотовспышки фотоаппарата, разряда молнии и т. п.). Разряд конденсатора происходит через резистор R19 и занимает по времени 1...2 с. Это позволяет предотвратить дробление и произвольное включение, и выключение света. Далее установлен усилитель DD1.2, DD1.3 с ёмкостной обратной связью (C3) для получения на его выходе резких прямоугольных перепадав (при включении и выключении). Эти перепады поступают на вход триггера делителя на 2 собранного на микросхеме DD2. Не инвертный его выход подключён к усилителю на транзисторе VT10, который управляет тиристором VD11, и транзистор VT9. Инвертный же подан на транзистор VT8. Оба эти транзистора (VT8, Vt9) служат для зажигания соответствующего цвета на светодиоде VD6 при включении и выключении света. Он выполняет ещё и функцию "маяка" при выключенном свете. На вход R триггера делителя подключена RC цепочка, которая осуществляет сброс. Он нужен для того, чтобы если отключили напряжения в квартире, то после включения свет случайно не зажёгся.
Встроенный передатчик служит для включения света без пульта дистанционного управления (при поднесение ладони к выключателю). Он собран на элементах DD1.4-DD1.6, R20-R23, C14, VT7, VD5. Встроенный передатчик представляет собой генератор импульсов с частотой следования 30...35 Гц и усилитель в нагрузку каторгой включён ИК светодиод. ИК светодиод устанавливается рядом с ИК фотодиодом и должен быть направлен с ним в одну сторону, и они должны быть разделены светонепроницаемой перегородкой. Резистор R20 подбирается таким образом, чтобы расстояние срабатывания, при подносе ладони, было равно 50...200 мм. Во встроенном передатчике можно использовать ИК диод типа АЛ147А или любой другой. (Я, к примеру, использовал ИК диод от старого дисковода, но при этом резистор R20=68 Ом).
Блок питания собран по классической схеме на КРЕН9Б и выходное напряжение равно 9В. Он включает в себя DA1, C15-C18, VS1, T1. Конденсатор С19 служит для защиты устройства от скачков напряжения в электросети.Нагрузка на схеме показана лампой накаливания.

Печатная плата приёмника (рис.4) выполнена из одностороннего фольгированного стеклотекстолита размером 100Х52 мм и толщиной 1,5 мм. Все детали, за исключением диода VD1, VD5, VD8, устанавливают как обычно, эти же диоды устанавливаются со стороны монтажа. Диодный мост VS1 собран да дискретных выпрямительных диодах часто применяемых в импортной технике. Диодный мост (VD8-VD11) собран на диодах серии КД213 (в схеме указанны иные), диоды при впайки располагаются один над другим (столбиком), этот способ применён в целях экономии места.
Литература:
1. Радио №7 1996г. с.42-44. "ИК датчик в охранной сигнализации".
Автор: Русин Александр Сергеевич, г.Москва 1997г.
ДВЕРНОЙ СЕНСОРНЫЙ ЗВОНОК
В анодную цепь тиратрона включено реле К1 (РЭС6 паспорт РФО.452.103), группа нормально разомкнутых контактов которого подсоединяется параллельно самоблокирующимся контактам реле музыкального звонка (или через эти контакты питают обычный квартирный звонок). Чтобы исключить ложные срабатывания сенсорного устройства и самопроизвольное зажигание тиратрона, введен параметрический стабилизатор напряжения, выполненный на стабилитроне VD1 и балластном резисторе КЗ. Постоянное питающее напряжение 170 В остается неизменным при колебаниях сетевого напряжения от 180 до 250 В.

Сенсор Е1 в виде алюминиевой заклепки, резистор R1 (он может быть сопротивлением от 1 до 10 МОм) и тиратрон размещены в небольшом корпусе, укрепленном на входной двери снаружи. Для контроля срабатывания сенсора напротив тиратрона в корпусе просверлено отверстие. В момент касания «кнопки-заклепки тиратрон ярко вспыхивает.
Налаживание сенсорного устройства сводится к установке переменным резистором R5 напряжения 170 В на оксидном конденсаторе при минимальном сетевом напряжении (180 В) — такое напряжение можно подать, например, с автотрансформатора.
Подключать налаженное устройство к сети следует в строгом соответствии со схемой после определения нулевого и фазного проводов.
Источник: РАДИО № 6-90 г.,с.77.
Автор: А.Урмилов г.Новгород-Волынский Житомирской обл.
Емкостное реле
Охранная сигнализация, переключатели для бытовых устройств, датчики контроля на производственном конвейере — вот лишь небольшая часть сферы применения этого емкостного реле. Его можно использовать, к примеру, в простейшей бытовой автоматике: сел в кресло — включился торшер, заиграла музыка, заработал вентилятор и т.п. Словом, область применения этого реле подскажет фантазия, творческая мысль самих радиолюбителей.
Радиус действия реле зависит от точности настройки конденсатора С1, а также от конструкции датчика. У автора максимальное расстояние, на которое реагирует реле, равно 50 см.
Принципиальная схема емкостного реле приведена на рис.1, а конструкция индуктивной катушки с размещением ее и датчика на плате — на рис.3.

Катушка L1 намотана на многосекционном полистироловом каркасе от контуров транзисторных радиоприемников и содержит 500 витков (250 + 250) с отводом от середины провода ПЭЛ-0,12мм. Намотка — внавал.
Датчик устанавливается перпендикулярно плоскости печатной платы. Он представляет собой отрезок изолированного монтажного провода длиной от 15 до 100 см, либо квадрат, выполненный из такого же провода, со сторонами от 15 см до 1м.
Емкостное реле
Автоматическое устройство можно использовать в различных моделях, игрушках, которые при встрече с препятствиями будут изменять свое движение, а также в быту (сел, к примеру, в кресло - зажегся свет в торшере, заиграла музыка, заработал вентилятор); для включения света в помещениях (коридоре, комнате, кладовой); для сигнализации автомобилей.
Данное устройство в радиусе 4-5 м помех не создает, имеет небольшие размеры (85х30 мм), питается от источника постоянного тока напряжением 9-12 В, потребляя ток в исходном состоянии около 7 мА, а при срабатывании реле - до 45 мА.
Принципиальная схема емкостного реле - на рис.1. На транзисторе VT1 собран маломощный генератор с рабочей частотой 465 кГц, а на триоде VT2- электронный ключ для включения реле К1, контактная система которого подключает исполнительный механизм. Диод VD1 предохраняет устройство от случайного изменения полярности подключаемого источника питания.
Дальность действия емкостного реле, то есть его чувствительность, зависит от настройки конденсатора С1 и конструкции датчика, и доходит до 50 см.

Рис. 1
В качестве датчика используется отрезок изолированного провода 1,5-2 мм, длиной от 15 до 100 см, либо квадрат или квадратная решетка, выполненные из провода, со стороной от 15 до 100 см.
Датчик и печатная плата находятся в непосредственной близости друг от друга, причем провод либо плоскость антенны установлены перпендикулярно площадке печатной платы. "Минус" источника питания необходимо соединить с корпусом (металлическим) конструкции, в которой будет применяться данное емкостное реле.
Резисторы, диод и катушка L1 установлены на печатной плате вертикально.
Параметры радиоэлементов, применяемых в устройстве, некритичны. Подстроечный конденсатор - КПК-М, но можно применить и другой тип с интервалом изменения емкости от 3 до 30 пф. Оксидные конденсаторы С2-С4 применены марки К50-6, но можно использовать и другие типы, только придется видоизменить под них топологию печатной платы. Емкости С2, С3-от 20 до 30, С4- от 50 до 1000 мкФ.
Диод Д226 может быть с любым буквенным индексом. Можно также применить другой полупроводниковый прибор, рассчитанный на прямой ток до 100 мА. Транзисторы: VT1- полевой, марки КП303, VT2-биполярный p-n-p типа марки МП40 с любыми буквенными индексами. Вместо последнего подойдут также серии П13, П14, П15, П16, МП39, МП41, МП42 с любыми буквенными индексами.
К1-реле РЭС10 (паспорт РС4.524.303). Вместо него можно подключить малогабаритный электромотор для игрушек.
Резистор R1- любого типа сопротивлением от 6,8 до 7,5 МОм. R2- от 820 кОм до 1,1 МОм. Величину резистора R3 подбирают в пределах от 0 до 30 Ом в зависимости от тока срабатывания реле или электромотора.
Питать устройство в стационарных условиях лучше всего от сетевого выпрямителя на 9 В, рассчитанного на ток до 100 мА.
Налаживание. Подсоедините к плате датчик и источник постоянного тока напряжением 9-12 В, соблюдая полярность. Изолированной отверткой установите ротор конденсатора С1 в положение минимальной емкости (6 пФ) - при этом сработает реле. Затем медленно вращайте ротор С1 в сторону увеличения емкости до момента выключения К1 (при настройке С1 старайтесь держаться как можно дальше от датчика).
Поднося руку к датчику, испытайте чувствительность емкостного реле до момента самосрабатывания (чем меньше емкость С1, тем больше чувствительность устройства).

Рис. 2
Рис. 3
Источник: Моделист-Конструктор №1, 1991 г., стр.23
Автор: В. ТАБУНЩИКОВ, г. Новороссийск
Защита электроосветительных приборов
В статье «Мягкая» нагрузка в электросети («Радио», 1988, № 10, с. 61) описано устройство для «плавного» подключения нагрузки к электросети переменного тока. Подобные устройства с успехом могут быть применены для коммутации электроосветительных приборов. Как известно, сопротивление нити лампы накаливания в холодном состоянии значительно меньше, чем в нагретом. Именно поэтому лампы накаливания чаще всего выходят из строя в момент включения. При «мягком» подключении лампы ток через нить увеличивается плавно, не достигая экстремального значения, поэтому долго вечность лампы неизмеримо возрастает. Однако реализация упомянутых устройств сопряжена с рядом затруднений. Во-первых, требуется применение оксидных конденсаторов большой емкости, которые в целях безопас ности должны быть рассчитаны на напряжение не менее 400 В. Это приводит к существенному увеличению габаритов устройства. Во-вторых, тот факт, что выключатель встроен в само устройство, заставляет прокладывать дополнительные подводящие провода. Во многих случаях это усложняет конструкцию, так как пользоваться имеющимся выключателем готового осветительного прибора. (например, торшера или люстры с кнопкой, смонтированной на шнуре питания) оказывается, как правило, невозможно. Обойти перечисленные трудности позволяет устройство, описанное ниже. Оно (см. схему) выполнено в виде дву-полюсника. Это позволяет разместить плату с его деталями в любом удобном месте, включив в разрыв провода, соединяющего выключатель SA1 (пригоден имеющийся в осветительном приборе) с лампой HL1 (или группой параллельно включенных ламп). Устройство допускает совмещение с настенным выключателем — может быть «спрятано» внутри люстры, при этом не нужны никакие

Применение транзистора КТ848А, обладающего большим статическим коэффициентом передачи тока и значительной мощностью, дало возможность обойтись конденсатором С 1 сравнительно небольшой емкости. К тому же этот транзистор (он применяется в электронном коммутаторе 36.37.34 бесконтактной системы зажигания автомобилей «Самара» и «Таврия») нетрудно приобрести в магазинах автомобильных запасных частей. Он относится к числу так называемых «составных», поэтому может работать при сравнительно небольшом базовом токе, что и дало возможность использовать резистор R1 довольно большого сопротивления и соответственно уменьшить емкость конденсатора С1. Это позволило сократить габариты устройства. При указанных на схеме типах и номиналах деталей длительность задержки включения лампы HL1 равна примерно 100 мс, а выключения — 5 мс. Это гарантирует необходимую постепенность прогрева нити лампы при любом возможном характере коммутации тока выключателем SA1. Между прочим, установленная временная задержка включения лампы совершенно незаметна, зрительно зажигание лампы будет происходить по-прежнему практически мгновенно.
При мощности лампы до 100 Вт транзистор VT1 можно монтировать без теплоотвода. При ее большем значении (максимальная допустимая мощность 300 Вт) потребуется небольшой теплоотвод. Диоды КД202К можно заменить на другие этой же серии с бук венным индексом от Л до С. В ряде случаев конструктивно удобнее использовать диодные матрицы серии К Ц, подходящие по напряжению и току. Описанное устройство эксплуатируется автором в освети тельной люстре уже несколько лет, причем за это время не потребовалось-замены ни одной из ламп. При необходимости коммутации ламп еще большей мощности в качестве защитного устройства можно использовать тринисторный регулятор мощности, собранный по одной , из известных схем. Переменный резистор регулятора надо заменить цепью, находящейся на показанной здесь схеме между общей точкой катодов диодов VD1, VD3 и общей точкой анодов диодов VD2, VD4; сами диоды не нужны. При этом рабочее напряжение конденсатора может быть уменьшено, а транзистор VT1 может быть заменен маломощным низковольтным, но с возможно большим коэффициентом передачи тока. Важно лишь, чтобы они были рассчитаны на напряжение стабилизации стабилитрона, применяемого обычно в регуляторах мощности с фазо- импульсным регулированием. Лампа HL1 должна при этом быть включена в цепь переменного тока (последовательно с диодным мостом или симистором).
Источник: РАДИО № 12-90г., с.53
Автор: В.БАННИКОВ г.Москва
Регулятор сетевого напряжения
В последнее время в нашем быту все чаще применяются электронные устройства для плавной регулировки сетевого напряжения. С помощью таких приборов управляют яркостью свечения ламп, температурой электронагревательных приборов, частотой вращения электродвигателей.
Подавляющее большинство регуляторов напряжения, собранных на тиристорах, обладают существенными недостатками, ограничивающими их возможности. Во-первых, они вносят достаточно заметные помехи в электрическую сеть, что нередко отрицательно сказывается на работе телевизоров, радиоприемников, магнитофонов. Во-вторых, их можно применять только для управления нагрузкой с активным сопротивлением - электролампой или нагревательным элементом, и нельзя использовать совместно с нагрузкой индуктивного характера - электродвигателем, трансформатором.
Между тем все эти проблемы легко решить, собрав электронное устройство, в котором роль регулирующего элемента выполнял бы не тиристор, а мощный транзистор.
Транзисторный регулятор напряжения содержит минимум радиоэлементов, не вносит помех в электрическую сеть и работает на нагрузку как с активным, так и индуктивным сопротивлением. Его можно использовать для регулировки яркости свечения люстры или настольной лампы, температуры нагрева паяльника или электроплитки, скорости вращения электродвигателя вентилятора или дрели, напряжения на обмотке трансформатора.
Устройство имеет следующие параметры: диапазон регулировки напряжения-от 0 до 218 В; максимальная мощность нагрузки при использовании в регулирующей цепи одного транзистора - не более 100 Вт.
Регулирующий элемент прибора - транзистор VT1 (рис.1). Диодный блок VD1-VD4 в зависимости от фазы сетевого тока направляет его на коллектор или эмиттер VT1. Трансформатор Т1 понижает напряжение 220 В до 5-8 В, которое выпрямляется диодным блоком VD6- VD9 и сглаживается конденсатором С1. Переменный резистор R1 служит для регулировки величины управляющего напряжения, а резистор R2 ограничивает ток базы транзистора. Диод VD5 защищает VT1 от попадания на его базу напряжения отрицательной полярности. Устройство подсоединяется к сети вилкой ХР1. Розетка XS1 служит для подключения нагрузки.

Рис. 1

Рис. 2
Регулятор действует следующим образом. После включения питания тумблером Q1 сетевое напряжение поступает одновременно на диоды VD1, VD2 и первичную обмотку трансформатора Т1. При этом выпрямитель, состоящий из диодного блока VD6- VD9, конденсатора С1 и переменного резистора R1, формирует управляющее напряжение, которое поступает на базу транзистора и открывает его. Если в момент включения регулятора в сети оказалось напряжение отрицательной полярности, ток нагрузки протекает по цепи VD2 - эмиттер-коллектор VT1-VD3. Если полярность сетевого напряжения положительная, ток протекает по цепи VD1 - коллектор-эмиттер VT1-VD4. Значение тока нагрузки зависит от величины управляющего напряжения на базе VT1. Вращая движок R1 и изменяя значение управляющего напряжения, управляют величиной тока коллектора VT1. Этот ток, а следовательно, и ток, протекающий в нагрузке, будет тем больше, чем выше уровень управляющего напряжения, и наоборот. При крайнем правом по схеме положении движка переменного резистора транзистор окажется полностью открыт и "доза" электроэнергии, потребляемая нагрузкой, будет соответствовать номинальной величине. Если движок R1 переместить в крайнее левое положение, VT1 окажется запертым и ток через нагрузку не потечет.
Управляя транзистором, мы фактически регулируем амплитуду переменного напряжения и тока, действующих в нагрузке. Транзистор при этом работает в непрерывном режиме, благодаря чему такой регулятор лишен недостатков, свойственных тиристорным устройствам.
Теперь перейдем к конструкции прибора. Диодные блоки, конденсатор, резистор R2 и диод VD6 устанавливаются на монтажной плате размером 55х35 мм, выполненной из фольгированного гетинакса или текстолита толщиной 1-2 мм (рис.2).
В устройстве можно использовать следующие детали. Транзистор - КТ812А(Б), КТ824А(Б), КТ828А(Б), КТ834А(Б,В), КТ840А(Б), КТ847А или КТ856А. Диодные блоки: VD1- VD4-KЦ410B или КЦ412В. VD6- VD9 - КЦ405 или КЦ407 с любым буквенным индексом; диод VD5 - серии Д7, Д226 или Д237. Переменный резистор - типа СП, СПО, ППБ мощностью не менее 2 Вт, постоянный - ВС, МЛТ, ОМЛТ, С2-23. Оксидный конденсатор - К50-6, К50-16. Сетевой трансформатор - ТВ3-1-6 от ламповых радиоприемников и усилителей, ТС-25, ТС-27 - от телевизора "Юность" или любой другой маломощный с напряжением вторичной обмотки 5-8 В. Предохранитель рассчитан на максимальный ток 1 А. Тумблер - Т3-С или любой другой сетевой. ХР1 - стандартная сетевая вилка, XS1 - розетка.
Все элементы регулятора размещаются в пластмассовом корпусе с габаритами 150х100х80 мм. На верхней панели корпуса устанавливаются тумблер и переменный резистор, снабженный декоративной ручкой. Розетка для подключения нагрузки и гнездо предохранителя крепятся на одной из боковых стенок корпуса. С той же стороны сделано отверстие для сетевого шнура. На дне корпуса установлены транзистор, трансформатор и монтажная плата. Транзистор необходимо снабдить радиатором с площадью рассеяния не менее 200 см2 и толщиной 3-5 мм.
Регулятор не нуждается в налаживании. При правильном монтаже и исправных деталях он начинает работать сразу после включения в сеть.
Теперь несколько рекомендаций тем, кто захочет усовершенствовать устройство. Изменения в основном касаются увеличения выходной мощности регулятора. Так, например, при использовании транзистора КТ856 мощность, потребляемая нагрузкой от сети, может составлять 150 Вт, для КТ834 - 200 Вт, а для КТ847-250 Вт. Если необходимо еще больше увеличить выходную мощность прибора, в качестве регулирующего элемента можно применить несколько параллельно включенных транзисторов, соединив их соответствующие выводы. Вероятно, в этом случае регулятор придется снабдить небольшим вентилятором для более интенсивного воздушного охлаждения полупроводниковых приборов. Кроме того, диодный блок VD1-VD4 потребуется заменить на четыре более мощных диода, рассчитанных на рабочее напряжение не менее 250 В и величину тока в соответствии с потребляемой нагрузкой. Для этой цели подойдут приборы серий Д231-Д234, Д242, Д243, Д245- Д248. Необходимо будет также заменить VD5 на более мощный диод, рассчитанный на ток до 1 А. Также больший ток должен выдерживать предохранитель.
Источник: Моделист-Конструктор №4, 1990 г., стр.21
Автор: В. Янцев
ТАК БОЯТСЯ ЛИ KОМАPЫ УЛЬТРАЗВУКА?
Комары, досаждавшие когда-то лишь сельским жителям да туристам, в последние годы стали всерьез беспокоить и горожан. Размножаясь в сырых подвалах чуть ли не круглогодично - благо, обстановка для этого почти идеальная, - они расселяются затем по квартирам даже многоэтажных домов. Обычные средства борьбы сними -разного рода химические вещества мало помогают.
В последнее время в продаже появились различные ультразвуковые "пищалки", которые, если верить рекламе, способны удерживать комаров на почтительном расстоянии. Но то ли наши комары отличаются, скажем, от сингапурских, то ли частоте излучаемого сигнала не та, то ли еще что, но на вопрос: Ну как, помогает? Испытавшие эту новинку отвечают как-то неопределенно...
Описываемый здесь прибор, принципиальная схема которого изображена на рис.1, позволит каждому составить на этот счет собственное мнение. Задающий генератор собран на инверторах DD1.1 и DD1.2 КМОП-микросхемы К561ЛН2. Остальные элементы этой микросхемы формируют базовые токи транзисторов VT 1 --VT4, попеременно-через транзисторы VT1 и VT4 или через VT2 и VT3,-подключая излучатель ВА1 к источнику питания.

рис.1
Мощные транзисторы работают в ключевом режиме ив специальных теплоот-водах особенно не нуждаются, но в тяжелых температурных условиях они могут и потребоваться.
Диод VD1 - любой германиевый. Возможное размещение элементов на печатной плате показано на рис. 2. Незалуженные участки фольги под транзисторами выполняют роль своего рода теплоотводов. Переменный резистор R3 может быть любого типа, например, СПЗ-4 группы А.

Рис. 2
Динамическая головка ВА1 - высокочастотная мощностью 3-4 Вт со звуковой катушкой сопротивлением не менее 4 Ом, например, 6ГДВ-4. Хотя по паспорту высшая частота излучения таких "пищалок" невелика, опыт показывает, что они способны излучать и колебания ультравысоких частот-до 40... 50 кГц и выше.
Желаемую частоту излучения устанавливают переменным резистором R3. Его можно снабдить заранее проградуиро-ванной по осциллографу шкалой. При указанных на схеме номиналах резисторов R2, R3 и конденсатора С1 генератор перекрывает частотный диапазон 16... 60 кГц. Но это его основная частоте. Поскольку же форма электрического сигнала генератора далека от синусоидальной, в акустическом спектре (при достаточной широкополосности динамической голов-ки) могут появиться и гармоники этого основного тона, что никак не будет недостатком прибора - пугать, так пугать...
Источник питания прибора (напряжением 4,5...6 В) должен быть способен отдавать ток

Комары-раздражающие нас кровососы и распространители ряда заболеваний (малярия, желтая лихорадка и др.) - не единственно возможный объект исследований с помощью описанного здесь прибора. Мокрецы, мошка (их свыше тысячи видав - переносчики сибирской язвы, сапа, туляремии, чумы, проказы), платяная и тополиная моль, тараканы, муж, долгоносики, кожееды и прочая живность, так или иначе вторгающаяся в нашу жизнь, макет также оказаться чувствительной к такому на нее воздействию. Остается проверить... И быть может, начать тем самым новое направление в творчестве радиолюбителей. Направление, в котором эксперименты такого масштаба по силам лишь большой группе людей, владеющих электронной техникой
Источник: РАДИО N 7, 1994 г., с.25-26
Автор: Ю.ВИНОГРАДОВ г. Москва

Конденсатор С1 — типа КПК-М, остальные — типа К50-6. В качестве реле выбрано РЭС-10, паспорт РС4.524.312, можно также применить РЭС-10, поспорт РС4.524.303, либо РЭС-55А, паспорт 0602. Диод VD1 можно исключить, так как он необходим лишь для предохранения схемы от случайного измененения полярности питания.
Настраивается емкостное реле конденсатором С1. Сначала ротор С1 необходимо установить в положение минимальной емкости. при этом сработает реле К1. Затем ротор медленно поворачивают в сторону увеличения емкости до выключения реле К1. Чем меньше емкость подстроенного конденсатора, тем чувствительнее емкостное реле и больше расстояние, на которое датчик способен реагировать на объект. При настройке конденсатора корпус тела и руку с диэлектрической отверткой необходимо держать на возможно большем удалении от платы.
Автор: В.Табунщиков
СЕНСОР С ФИКСАЦИЕЙ
В отличие от обычных переключателей. кнопок и тумблеров, сенсоры имеют более высокие показатели механической прочности и надежности. Для того чтобы ими можно было заменить двухпозиционные переключатели. предлагаю простую схему.
Безразлично, как коснуться сенсора Е1 — с помощью кулака или с помощью пальца. Транзистор VT1 может находиться в одном из двух состояний: включено или выключено (в зависимости от своего предыдущего состояния). При этом кулак или палец может нходиться на сенсоре сколь угодно долго — транзистор изменит свое состояние только при последующем касании.

Элементы Dl.1. D1.2 и времязадающая цепь VD1. R3. С2 обеспечивают формирование одиночного короткого импульса из пачки импульсов частоты 50 Гц. возникающих при касании сенсора Е1. Этот короткий импульс, поступая на вход "С" триггера D2, вызывает его переключение.
Поскольку даже этот короткий импульс может состоять из нескольких еще более коротких импульсов, для исключения ложных срабатываний триггера D2 введена помехозащищающая цепь R4,СЗ.
Недостатком данной схемы сенсора является то, что при возникновении сильной электромагнитной помехи, вызванной включением в сеть 220 В мощной электроаппаратуры, может происходить ложное переключение триггера. Чтобы избежать этого, следует ввести блокировочную цепь для входа "R" триггера D2. или предусмотреть задержку подачи пачки импульсов 50 Гц на вход элементов D1.1 и D1.2.
Для увеличения чувствительности сенсора перед элементом D1.1 можно ввести усилитель на базе микросхемы операционного усилителя.
Автор: А.МИХАЛЕВИЧ
Сенсорный выключатель
Простая схема сенсорного выключателя опубликована в английском журнале "Рейдио электроникс констрактор". Основой устройства служит двойной эмиттерный повторитель на транзисторах VT1, VT2. В эмиттер VT2 включено реле К1. При прикосновении к сенсору переменное напряжение, наводимое в теле человека комнатной проводкой, передается через конденсатор С1 на базу составного транзистора, который открывается, и реле срабатывает. Диод VD1 защищает транзистор от выбросов напряжения при размыкании, а конденсатор С2 сглаживает возникающие пульсации. Транзисторы - маломощные кремниевые, например КТ315 с любым буквенным индексом. Диод - кремниевый, например, Д226, Реле - маломощное, на рабочее напряжение 9В.

Рис. 1
Источник: Моделист-Конструктор №4, 1990 г., стр.28
Электронный термометр
Если нужно контролировать температуру, скажем, в подвале дома, на чердаке или в любом подсобном помещении, обычный ртутный или спиртовой термометр вряд ли подойдет-не будете же периодически выходить из комнаты, чтобы взглянуть на его шкалу.
Более пригоден в подобных, случаях электронный термометр, позволяющий измерять температуру дистанционно - на расстояниях в сотни метров. Причем в контролируемом помещении будет располагаться лишь миниатюрный термочувствительный датчик, а в комнате на видном месте - стрелочный индикатор, по шкале которого и отсчитывают температуру. Соединительная же линия между датчиком и устройством индикации может быть выполнена либо экранированным проводом либо двухпроводным электрическим шнуром.
Конечно, электронный термометр - не новинка современной электроники. О подобных устройствах неоднократно рассказывалось и в популярной радиолюбительской литературе. Но в большинстве случаев термочувствительным элементом в них работал терморезистор, обладающий нелинейной зависимостью сопротивления от температуры окружающей среды. А это менее удобно, поскольку стрелочный индикатор нужно было снабжать специальной нелинейной шкалой, получаемой во время, градуировки прибора с помощью образцового термометра.
В предлагаемом ниже электронном термометре в качестве термочувствительного элемента применен кремниевый диод, зависимость прямого напряжения (т. е. падения напряжения на диоде при протекании через него прямого тока - от анода к катоду) которого линейна в широком диапазоне изменения температуры окружающей среды. В этом варианте отпадает необходимость в специальной градуировке шкалы стрелочного индикатора.
Принцип действия электронного термометра легко понять, вспомнив известную мостовую схему измерения, образованную четырьмя резисторами, с включенным в одну диагональ стрелочным индикатором и поданным на другую диагональ питающим напряжением. При разбалансе моста, т. е. изменении сопротивления одного из резисторов, через стрелочный индикатор начинает протекать ток, тем больший, чем сильнее разбаланс.
Немного преобразовав измерительный мост и включив вместо двух его резисторов транзисторные каскады (рис. 1), получим "базовую" схему электронного термометра. В цепь базы транзистора VT1 включен делитель напряжения с термочувствительным датчиком -диодом VD1, а в цепь базы, транзистора VT2 - делитель фиксированного напряжения. При нагреве или охлаждении термодатчика напряжение на базе транзистора VT1 будет изменяться (с кремниевым диодом примерно на 2 милливольта на каждый градус изменяющейся температуры относительно исходной). Чем больше изменение падения напряжения на диоде, тем сильнее разбаланс моста, тем больше угол отклонеения стрелки индикатора PA1.

Рис.1
На рис. 2 приведена принципиальная схема, предлагаемого электронного термометра. Он способен измерять температуру от 0 До 100 °С, от 0 до 50 °С или от -50 до +50 °С - все зависит от стрелочного индикатора РА1, используемого в приборе. Так, с показанным на схеме микроамперметром на 100 мкА термометр рассчитан на работу в первом из указанных диапазонов. Если установить индикатор на 50 мкА, можно работать во втором диапазоне. А с индикатором на 50 мкА, но с нулем посередине шкалы,- в третьем. При этом независимо от диапазона остальные, детали термометра остаются неизменными.
Основу термометра составляют каскады на транзисторах VT1 и VT3. Смещение на базе транзистора VT1 задается цепочкой из резисторов R1-R3, причем переменным резистором R2 можно более точно подбирать напряжение смещения, а значит, балансировать измерительный мост и устанавливать стрелку индикатора РА1 на условный нуль отсчета (на нулевое деление шкалы). Напряжение смещения на базе транзистора VT2 определяется цепочкой и" резисторов R10, R3 и диода VD1, подключенного к зажимам ХТ1, ХТ2 и выполняющего роль термочувствительного датчика. При изменений окружающей температуры изменяется напряжение смещения на базе транзистора VT2 и стрелка индикатора отклоняется. По углу отклонения стрелки судят о контролируемой температуре.
Питается электронный термометр стабильным напряжением, которое получается благодаря включению в цепь батареи GB1 параметрического стабилизатора, состоящего из балластного резистора R12 и стабилитрона VD2. Поскольку потребляемый термометром ток значителен (более 15 мА), питание подается кнопкой SB1 только во время измерения.
В простейшем варианте можно подавать напряжение от батареи 3336 или выпрямителя (с выходным стабилизированным напряжением 4.5...6 В) на проводники А и Б (при этом, конечно, детали стабилизатора не нужны).
Датчиком в термометре может работать, кроме указанного на схеме, любой кремниевый диод, например, серий КД102, Д226. При использовании диода серии Д226 для контроля, скажем, температуры нагревания мощного транзистора усилителя, следует удалить вывод катода (чтобы диод можно было прикладывать корпусом к контролируемой поверхности), а вместо него подпаять к боковой поверхности корпуса отрезок монтажного провода в изоляции.
Транзисторы - любые маломощные кремниевые, например, серий КТ306, КТ312, КТ315 с коэффициентом передачи 40...50. Все постоянные резисторы- МЛТ-0,25 или МЛТ-0,125, переменный R2 - СП-1, подстроечный R9 - СП3-1a или СП3-16. Индикатор РА1 - типов М24, М592 или другой с указанным выше током полного отклонения стрелки. Батарея GB1 - "Крона" или две последовательно соединенные 3336.
Налаживание собранного термометра начинают с проверки потребляемого им тока. К зажимам ХТ1 и ХТ2 подключают диод-датчик, а к точкам А и Б-батарею 3336 (через миллиамперметр на 30-50 мА). Стабилитрон VD2 временно отключают. Стрелка миллиамперметра должна показать ток 10...20.. мА, что укажет на исправность прибора.

Рис.2
Затем проверяют действие переменного резистора R2, устанавливая им стрелку индикатора на отметку 20 мкА при нормальной окружающей температуре (20 °С). После этого, зажав в руке датчик, наблюдают ЗА увеличением показаний стрелочного индикатора. Если они, наоборот, падают, изменяют полярность включения микроамперметра.
Следующий этап - калибровка электронного термометра. Диод-датчик опускают в сосуд с водой и снегом или льдом (в воде должен находиться только одни из выводов диода, поэтому на время калибровки диод нужно поместить в изогнутую поливинилхлоридную трубку) - температура такой смеси равна 0 °С. Резистором R2 устанавливают стрелку индикатора точно на нулевую отметку шкалы.
Вынимают датчик из воды и дожидаются, когда показание индикатора увеличатся до первоначального значения. Вновь опускают датчик в воду, но уже кипящую ее температура около 100 °С. Резистором R9 добиваются отклонения стрелки на конечную отметку шкалы.
Далее проверяют калибровку начальной отметки шкалы, опуская датчик в воду со льдом или снегом и корректируя положение движка резистора R2, после чего датчик помещают в кипящую воду и добиваются нужного отклонения стрелки, индикатора подстроечным резистором R9. И так - несколько раз, пока не удастся добиться точных показаний индикатора. В дальнейшем достаточно будет корректировать положение стрелки индикатора переменным резистором R2, помещая датчик в комнату с известной температурой.
Для термометра со шкалой 0…50 °С датчик опускают в стакан с остывающей горячей водой и помещенным в него контрольным термометром в тот момент, когда температура воды достигнет заданной (50 °С).
Если калибровку делают летом, когда нет ни снега ни льда, датчик вместе с контрольным термометром помещают в морозильную камеру холодильника. Конечно, калибровку следует проводить с подключенным к прибору источником GB1, а не с выносной батареей.
Источник: Радио №12, 1990 г., стр. 70
Электронный таймер
Многие владельцы бытовой радиоаппаратуры - радиоприемников, магнитофонов, магнитол - могут расширить функциональные возможности своих аппаратов, оснастив их электронным таймером. Это устройство показывает текущее время и позволяет включать или выключать радиоаппаратуру в заранее установленный момент. Кроме того, оно может служить будильником, поможет записать в отсутствие владельца интересную радиопрограмму, известит своим сигналом о начале нужной телепередачи и т. д. Работает прибор от внутреннего источника питания радиоаппарата (9-12 В). Точность хода таймера стабилизирована кварцевым резонатором и составляет ±1 с в сутки.
Таймер собран на микросхемах повышенной степени интеграции и энергоэкономичности. При отключенной индикации устройство потребляет всего доли микроватта, в ждущем режиме расходуемый им ток не превышает 0,3 мА. Блок индикации, выполненный на миниатюрных светодиодных индикаторах, может быть встроен в любое удобное место радиоаппаратуры.
Таймер собран на трех специализированных микросхемах: генератор DD1- К176ИЕ18, счетчик DD2-К176ИЕ13, дешифратор DD3-К176ИД2.
Интегральная микросхема К176ИЕ18 специально разработана для использования в электронных часах. В ее состав входит генератор, рассчитанный на работу с внешним кварцевым резонатором частотой 32 768 Гц, и два делителя частоты с коэффициентами деления 215 =32768 и 60. Сопротивление резистора R1 может находиться в пределах 10-33 МОм. Конденсатор С3 служит для точной подстройки частоты. На выходах Т1-Т4 DD1 формируются импульсы с частотой 128 Гц и скважностью 4, сдвинутые между собой на четверть периода. Они необходимы для коммутации разрядов индикатора в часах при динамической индикации. Сигнал с частотой 1 Гц с вывода 4 микросхемы можно использовать для зажигания разделительной точки. В данном устройстве он сигнализирует о работе часов в режиме "будильник-таймер".
МС К176ИЕ18 имеет специальный формирователь звукового сигнала. При подаче на вход HS импульса положительной полярности с одноименного выхода микросхемы DD2 на выводе 7 DD1 появляются пачки отрицательных импульсов с частотой заполнения 2048 Гц и скважностью 2. Длительность пачек - 0,5 с, период заполнения - 1 с. Выход Q3 (вывод 7) выполнен с "открытым" стоком и позволяет подключать излучатели сопротивлением более 50 Ом без эмиттериых повторителей.
Микросхема DD2 содержит счетчики минут и часов, регистр памяти будильника, цепи сравнения и включения звукового сигнала, цепи формирования сигналов цифр в двоичном коде при динамической индикации. При уровне 1 на выходе Т1 DD1, на выходах А-В-С-D DD2 присутствуют сигналы, соответствующие в двоичном коде цифре единиц минут: при таком же уровне на выходе Т2 - сигналы десятков минут и т. д. На выходе Q1 (вывод 12) формируются импульсы для записи сигналов цифр в триггеры памяти микросхемы DD3. С выхода HS (вывод 7 DD2) снимается сигнал будильника, используемый для запуска выходного реле К1, коммутирующего выключатель питания в режиме таймера. Реле включено в катодную цепь триннстора VS1, управляющий вход которого подключен через согласующий повторитель на транзисторе VT5 к выводу 7 DD2. Напряжение питания 9 В на все три микросхемы подается на вывод 16, а с общим проводом соединяют вывод 8.

Рис. 1
принципиальная схема в формате TIFF 1024 x 565, 300 dpi (128k zip) >>
При подаче питания счетчики часов и минут, а также регистр памяти автоматически переводятся в нулевое состояние. Для установки счетчика минут нажимают на кнопку SB2. При этом показания разрядов минут в индикаторе начинают меняться с частотой 2 Гц от 00 до 59 (далее снова 00 и т. д.). В момент перехода от числа 59 к 00 показания счетчика часов увеличатся на единицу. Если нажать на кнопку SB3, то с той же частотой будут изменяться показания разрядов часов (от 00 до 23). При нажатой кнопке SB4 на индикаторе появится время включения сигнала будильника. Если одновременно нажать на кнопки SB2 и SB4, то показания разрядов минут включения будильника станут изменяться, как и при нажатой кнопке SB2, однако в разряде часов переключения не будет. При одновременно нажатых кнопках SB3 и SB4 устанавливают показания разрядов часов будильника, но при переходе из состояния 23 в 00 осуществляется перевод в нулевое значение разрядов минут. Кнопка SB5 служит для коррекции хода часов в процессе эксплуатации. Если нажать на кнопку SB5 и отпустить ее спустя секунду после шестого сигнала поверки времени, то появится нулевое показание разрядов минут. После этого можно установить показание разрядов часов в индикаторе, нажав кнопку SB3. При этом ход минут не будет нарушен. Следует помнить, что при показаниях индикатора в пределах от 00 до 39 состояние счетчика часов при нажатии и отпускании кнопки SB5 не изменяется. В интервале же от 40 до 59 минут после отпускания кнопки SB5 значения разрядов часов увеличатся на 1. Если текущее время и время включения сигнала будильника не совпадают, на выходе HS (вывод 7 DD2) присутствует уровень логического 0. При совпадении показания на выходе HS появляются импульсы положительной полярности с частотой повторения 128 Гц и скважностью 16. Когда их подают на излучатель через эмиттерный повторитель, то раздается сигнал, напоминающий звук механического будильника. Сигнал прекратится, как только текущее время перестанет совпадать с временем включения будильника, то есть через 1 мин. Для согласования микросхем К176ИЕ18 и К176ИЕ13 с индикатором используется дешифратор DD3 и ключи на транзисторах VT1-VT4.
Интегральная микросхема К176ИД2 содержит преобразователь сигналов двоично-десятичного кода в сигналы управления семисегментными индикаторами. Она включает в себя также триггеры, позволяющие запомнить сигналы входного кода. Микросхема имеет четыре индикаторных входа (D0-D3) для подачи сигналов в коде 1-2-4-8 и три управляющих входа М, К, S (6, 7, 1). Вход М определяет полярность выходных сигналов: при 0-на выходе 1 и наоборот. При 0 на входе К разрешена индикация. Вход S управляет работой триггеров памяти: при уровне 1 на нем триггеры превращаются в повторители и изменение сигналов на входах D0-D3 соответственно изменяет выходные сигналы. Если же на входе S присутствует уровень 0, то сигналы, имевшиеся перед этим на входах D0-D3, запоминаются и микросхема на их изменение не реагирует. Ток короткого замыкания на выходах DD3 примерно равен 9 мА при напряжении питания 9 В. Они соединены через токоограничивающие резисторы R10-R16 с выводами семисегментного индикатора АЛС314А или аналогичным. Соответствующие аноды всех четырех разрядов индикатора объединены и соединены с выходами дешифратора, а катоды связаны с выходами Т1-Т4 DD1 через ключи на транзисторах VT1-VT4. При среднем потреблении тока 10 мА индикатор обеспечивает в помещении достаточную яркость свечения. В случае использования таймера на улице в солнечную погоду индикатор необходимо углубить в корпусе прибора и установить красный светофильтр. Желательно при этом уменьшить величины резисторов R8 или R10-R16.
Часы могут работать и от буферной батареи "Корунд". Тогда исключаются сбои в работе часов при смене источника питания и повышается надежность таймера. От батареи GB1 питаются генератор, счетчик и дешифратор. Индикатор и исполнительное реле К1 получают энергию от внутреннего, более мощного источника питания радиоаппаратуры. Потребляемый от батареи GB1 ток не превышает 0,35 мА. Кроме того, она подзаряжается от радиоаппаратуры при включенной индикации (то есть при замкнутом выключателе SB6) через резистор R8 и диод VD5, препятствующий работе индикатора от буферной батареи GB1. Срок ее службы - около года. Если в приборе нет свободного места, батарею GB1, резистор R8 и диод VD5 из схемы исключают. Контакты исполнительного реле К1 включают последовательно с тумблером питания аппарата, в который установлен таймер.
Таймер собран на трех печатных платах. На одной, размером 65х40 мм, смонтирован собственно таймер, на второй, размером 20х40 мм,-блок индикации (рис.2), на третьей, размером 30х17,5 мм,- исполнительный блок с реле К1 (рис.3).
В собранном таймере потребуется точно установить частоту задающего генератора. Удобней всего это сделать, контролируя период 0,5 с на выводе 6 микросхемы DD1 (или вывод 9 DD2). Для этого в указанное место подключают цифровой частотомер. Вращая движок подстроечного конденсатора С3, устанавливают период 0,5 с. При необходимости подбирают емкость конденсатора С2.
В таймере использован кварцевый резонатор марки РВЧ-72, но подойдет и любой другой на частоту 32 768 Гц. Вместо микротелефона ТМ2 можно применить аналогичные с сопротивлением обмотки более 50 Ом. Кнопки SB2-SB5 - микропереключатели МП3, МП7, МП10, МП12; SB1, SB6 - переключатели П2К или подобные. Микросхему К176ИД2 допустимо заменить на К176ИД3. Если нет необходимости в звуковом сигнале, то вместо МС К176ИЕ18 используйте К176ИЕ12. При этом потребуется немного изменить схему ее подключения и доработать печатную плату. Звуковой сигнал в этом случае получают от микросхемы DD2.
В исполнительном устройстве применяется реле РЭС49 (паспорт РС4.569.425) или любое другое малогабаритное на ток срабатывания 10-15 мА при напряжении 6-9 В. При этом подбирается резистор R19. Тринистор - любой из серии КУ101; транзисторы VT1-VT4 КТ503Б (Г) или КТ315А-И, VT5 типа КТ3102А-Е, КТ342А-В или аналогичный.
В индикаторе применены малогабаритные светодиодные индикаторы АЛС314А с общим катодом. Их можно заменить на АЛС304А, Б, В.
Рис. 2

Рис. 3
Источник: Моделист-Конструктор №4, 1990 г., стр.24
Автор: А. ШАМОВ, Г. ШИК, г. Тольятти, Куйбышевская обл.
Электромузыкальный звонок
Такой звонок можно установить в квартире вместо обычного электрического. И тогда при нажатии кнопки у входной двери квартира наполнится звуками популярной мелодии, которую вы выберете сами и заранее запрограммируете.
В звонке (рис.1) использовано три микросхемы и семь транзисторов. На элементах DD1.1, DD1.2 и транзисторе VT1 выполнен тактовый генератор, вырабатывающий импульсы длительностью примерно 0,5 с. Они поступают на счетчик DD2, выходы которого соединены с дешифратором DD3. В свою очередь пятнадцать выходов дешифратора подключены через развязывающие диоды VD1-VD15 и резисторы R5-R19 к генератору звуковой частоты, собранному по схеме мультивибратора на транзисторах VT3, VT4. С генератора сигнал подается на усилитель мощности, собранный на транзисторах VT6, VT7. Нагрузкой усилителя является динамическая головка ВА1.
Как только нажимают кнопку SB1, на звонок подается питание от источника GB1. На выводе 17 дешифратора, как и на остальных выходных выводах, появляется уровень логической 1. Открывается электронный ключ на транзисторе VT5, срабатывает реле К1. Контактами К1.1 реле блокирует кнопку - ее можно отпустить.
После нажатия кнопки счетчик включается не сразу, а через некоторое время, необходимое для срабатывания реле. С этой целью в звонок введен узел задержки, выполненный на транзисторе VT2 и элементе DD1.3. Продолжительность задержки зависит от сопротивления резистора R3 и емкости конденсатора С2.
Только после включения счетчика на входы дешифратора начнут поступать сигналы в двоичном коде. При этом на выходах будет "перемещаться" уровень логического 0 от верхнего по схеме выхода к нижнему, соединяя с общим проводом (минус источника питания) тот или иной частотозадающий резистор генератора звуковой частоты. Динамическая головка будет излучать звук соответствующей тональности. Когда уровень логического 0 появится на последнем выходе (вывод 17), электронный ключ закроется, реле отпустит, звонок выключится.

Рис. 1
принципиальная схема в формате TIFF 1024 x 398, 300 dpi (118k zip) >>
печатная плата в формате TIFF 1024 x 1280, 300 dpi (171k zip) >>
В этой конструкции можно использовать резисторы МЛТ-0,125 или МЛТ-0,25, оксидные конденсаторы К50-6, остальные конденсаторы - КМ-6. Диоды - любые кремниевые. Динамическая головка - мощностью 0,25-1 Вт со звуковой катушкой сопротивлением 5...8 Ом. Реле - герконовое или любое другое, срабатывающее при напряжении до 4 В и потребляющее ток не более 100 мА (чем меньше потребляемый ток, тем дольше будет служить источник питания). Иточник питания - четыре элемента 343, соединенные последовательно.
Детали узлов, обведенных на схеме штрих-пунктирной линией, смонтированы на печатной плате из одностороннего фольгированного стеклотекстолита толщиной 1,5 мм. Резисторы R5-R19 впаивают в процессе налаживания звонка.
Налаживание звонка начинают с проверки работы тактового генератора. К выходу элемента DD1.2 подключают осциллограф и наблюдают импульсы генератора - они должны быть длительностью примерно 0,5 с. При необходимости это значение можно изменять подбором резистора R2 или конденсатора С1.
Далее проверяют работу счетчика и дешифратора по последовательному появлению на выходах дешифратора уровня логического 0 - здесь также по может осциллограф. Подбором резистора R5 (остальные пока отсутствуют) устанавливают первый тон выбранной мелодии, а затем устанавливают остальные тона подбором соответствующих резисторов. На этом этапе удобно "удлинить" тактовый импульс, временно подключив параллельно конденсатору С1 еще один, емкостью 20...50 мкф. Кроме того, вместо резисторов R5- R19 лучше включать переменный или подстроечный, получившееся сопротивление которого затем измеряют и впаивают постоянный резистор такого же или возможно близкого сопротивления.
Если в каком-то месте мелодии нужна пауза, резистор и развязывающий диод к соответствующему выходу дешифратора не подпаивают.
Чтобы звонок работал исправно, следите за состоянием элементов источника питания и при значительном (более 1 В) падении напряжения источника под нагрузкой, когда звонок включен, заменяйте элементы.
Доработка
Методика программирования мелодии весьма затруднительна и требует немало времени. Выход из положения - в переводе тонов в сопротивление частотозадающих резисторов (R5-R19). Если, к примеру, взять первую октаву, то для тона "соль" резистор должен быть сопротивлением 12,8 кОм, для "соль диез" - 11,8 кОм, "ля" - 10,8 кОм, "ля диез" - 9,85 кОм, "си" - 8,9 кОм. Во второй октаве тону "до" соответствует резистор сопротивлением 8,05 кОм, тону "до диез" - 7,05 кОм, "ре" - 6,25 кОм, "ре диеза - 5,5 кОм, "ми" - 4,75 кОм, "фа" - 4,05 кОм, "фа диез" - 3,45 кОм, "соль" - 2,95 кОм, "соль диез" - 2,5 кОм, "ля" - 2,1 кОм, "ля диез" - 1,8 кОм, "си" - 1,5 кОм. В третьей октаве тону "до" соответствует резистор сопротивлением 1,2 кОм, "до диез" - 0,8 кОм.
Теперь достаточно выбрать нужный отрывок мелодии, определить составляющие его тоны, подобрать по омметру соответствующие резисторы и установить их в звонок.
С. Добромиров, г. Харьков
Можно уменьшить число частотозадающих резисторов при том же числе тонов. И, действительно, зачем устанавливать резисторы R5-R19, если мелодия состоит всего из пяти тонов, чередующихся определенным образом? В этом случае аноды диодов (VD1-VD15) выходов дешифратора, соответствующих одинаковым тонам, нужно соединить вместе и подключить к одному частотозадающему резистору. В итоге общее число резисторов конструкции сократится на десяток.
Кроме того, можно впаять между выводами коллектора и эмиттера транзистора VT1 конденсатор (его емкость может быть 0,047-0,1 мкФ) и получить интересный эффект: звонок при каждом включении начинал "импровизировать" изменением длительности звучания каждого тона. Правда, при снижении напряжения питания до 4,5 В эффект пропадает.
В. Кандауров, г. Горький
Если на время налаживания звонка включить параллельно конденсатору С1 кнопочный выключатель с нормально разомкнутыми контактами, то появится возможность замыканием контактов выключателя "остановить" звучание звонка на нужном тоне и точнее подобрать частоту сигнала соответствующим резистором.
Г. Шмаков, г. Мыски, Кемеровская обл.
Если не оказалось мощных выходных транзисторов VT6 и VT7, тогда можно использовать в выходном каскаде свободный элемент микросхемы DD1. Выводы 9, 10 элемента подключают к точке 2 платы, а вывод 8 - к среднему выводу первичной обмотки выходного трансформатора радиоприемника "ВЭФ-202". Один из крайних выводов этой обмотки соединили с катодом диода VD16, а вторичную обмотку нагрузили на динамическую головку. г., стр.51
С. Апраксина и А. Мартыненко, г. Мелеуз
Источник: Радио №8, 1987 г., стр.54
Автор: Г. ШУЛЬГИН
Это простое устройство предназначено для контроля за состоянием бортовой сети автомобиля и позволяет существенно продлить срок службы аккумуляторной батареи, не допуская ее разряд более чем на 50%.
Устройство с высокой точностью контролирует уровень напряжения аккумулятора и информирует о его состоянии, а также позволяет вовремя заметить неисправность электромеханического регулятора напряжения автомобиля.
О состоянии аккумулятора можно судить по плотности электролита в каждом элементе (банке).
Для средней географической широты плотность электролита у полностью разряженного, разряженного наполовину и полностью заряженного аккумулятора соответствует 1,11, 1,19 и 1,27 г/см3. Для этих состояний напряжение аккумуляторной батареи будет 11,7, 12,18 и 12,66 В.

Рис. 4.8. Схема многоуровнего индикатора напряжения
Периодический контроль плотности электролита требует много времени, а для измерения напряжения с необходимой точностью нужен либо цифровой вольтметр, либо стрелочный с растянутой шкалой.
Описываемое ниже устройство позволяет обойтись без этих приборов и более удобно в эксплуатации, так как может осуществлять непрерывный контроль за состоянием бортовой сети.
Схема устройства (рис. 4.8) собрана всего на одной микросхеме D1 (К1401УД2А) и состоит из четырех компараторов, выполненных на операционных усилителях, которые с помощью светодиодов HL1...HL4 позволяют информировать о нахождении уровня напряжения в одном из пяти интервалов (см. рис. 4.9) по свечению соответствующего индикатора. По свечению сразу двух светодиодов (или их "перемаргиванию") можно точно определить момент нахождения напряжения на границе между соответствующими интервалами.

Рис. 4.9
Если ни один из светодиодов не светится, то это значит, что напряжение ниже уровня 11,7В.
Свечение индикатора HL1 информирует водителя о неисправности в работе системы регулятор-генератор — при работающем двигателе он производит заряд аккумулятора, но напряжение при этом не должно превышать 14,8 В. Если же светится индикатор HL4, это значит, что аккумулятор разряжен более чем на 50% и его необходимо срочно ставить на подзарядку.
Топология печатной платы устройства и расположение на ней элементов, кроме Т1 и СЗ, показана на рис. 4.10. Плата имеет одну перемычку со стороны установки элементов.
В схеме устройства применены конденсаторы С1 типа К10-17, С2, СЗ типа К73-9 на 250 В, подстроечный малогабаритный резистор R5 типа СПЗ-19а, остальные резисторы типа С2-23 (или любые малогабаритные).
Так как номинала для резистора R4 500 Ом в ряду нет, то его можно составить из двух резисторов по 1 кОм, включенных параллельно. Обозначение прецизионного стабилитрона VD1 (Д818Е) может иметь любую последнюю букву, однако наиболее термостабильными являются стабилитроны с обозначением, оканчивающимся на буквы Е, Д и Г.
В качестве светодиодов, кроме указанного на схеме, можно использовать любые из серии КИП — они при малом потребляемом токе светятся достаточно ярко. Диоды VD2...VD4 подойдут любые импульсные.
Дроссель Т1 выполнен на кольцевом сердечнике типоразмера К10х6х3 из феррита марки 2000НМ1. Обмотки содержат по 30 витков провода ПЭЛШО-0,12. Дроссель при правильном включении фаз обмоток предохраняет схему от пульсации и помех в бортовой сети при работе двигателя.

Рис. 4.10. Топология печатной платы и расположение элементов
Налаживание индикатора заключается в установке нижнего (резистором R5) и верхнего (резистором R1) требуемых порогов срабатывания индикаторов, при этом все промежуточные значения уровней работы компараторов будут соответствовать рис. 4.9.
Ток, потребляемый индикатором, зависит от напряжения в контролируемой цепи и составляет около 20 мА.
Похожие рефераты:
Оборудование летательных аппаратов
Согласующее устройство для измерения четырехполюсных радиоэлементов
Средства учета количества электричества и электрической энергии
Структура и принцип действия устройства контроля перегона методом счета осей
Охранная система с дистанционным управлением
Конструирование модуля ЭВМ для обработки телеметрических данных
Физиотерапевтическое устройство на основе применения упругих волн
Разработка ресурсосберегающих технологий и режимов на городском электрическом транспорте
Описание работы электрической схемы охранного устройства с автодозвоном по телефонной линии
Применение магнетронных генераторов большей мощности в радиолокационных системах
Блок автоматизированного управления связью
Автоматизированная система защиты и контроля доступа в помещения
