| Похожие рефераты | Скачать .docx |
Курсовая работа: Склад та первинна переробка нафти
Зміст
Вступ
1. Склад та властивості нафти
1.1 Склад нафти
1.2 Основні види нафти за вуглеводневим складом
1.3 Фракційний склад нафти
1.4 Води та домішок в складі нафти
1.5 Перегонка нафти
2. Способи первинної переробки нафти
2.1 Сутність процесу та типи установок
2.2 Основні види перегонки
2.2.1 Проста перегонка
2.2.2 Складна перегонка
2.2.3 Перегонка з водяною парою й у вакуумі
2.3 Сировина та продукти первинної перегонки нафти
2.4 Вибір технологічної схеми переробки
Висновки
Перелік використаних джерел
Вступ
Питання про вихідну речовину, з якої утворилася нафта, про процеси нафтоутворення і формування нафти в концентрований поклад, у окремих покладах і родовищах дотепер ще не є остаточно вирішеними. Існує ряд думок як про вихідні для нафти речовини, так і про причини і процеси, що обумовлюють її утворення. В останні роки завдяки працям радянських геологів, хіміків, біологів, фізиків і дослідників інших спеціальностей удалося з'ясувати основні закономірності в процесах нафтоутворення. В даний час встановили, що нафта органічного походження, тобто вона, як і вугілля, виникла в результаті перетворення органічних речовин.
Раніше висувалися й інші теорії утворення нафти. Наприкінці XIX ст., коли в астрономія і фізика одержала розвиток застосування спектральних методів дослідження й у спектрах різних космічних тіл були виявлені не тільки вуглець і водень, але і вуглеводні, російський геолог Н.А.Соколов висунув космічну гіпотезу утворення нафти. Він припускав, що коли земля була у вогненно-рідкому стані, то вуглеводні з газової оболонки проникнули в масу земної кулі, а згодом при остиганні виділилися на його поверхні. Ця гіпотеза не пояснює ні географічного, ні геологічного розподілу нафтових родовищ...
Наприкінці XIX ст. Д.І.Менделєєв, що звернув увагу на приуроченість відомих тоді родовищ нафти до крайових частин гір, була висунута теорія неорганічного походження нафти. Передбачалося, що вуглеводні, що утворяться при дії води на розпечені карбіди металів, проходили по тріщинах із глибоких шарів у зону осадової оболонки земної кулі, де шляхом їхньої конденсації і гідрогенізації утворилися нафтові родовища.
Ця теорія утворення нафти не одержала визнання серед геологів і хіміків. Важко уявити собі утворення нафти шляхом дії на карбіди металів води океанів, потрапивших в глибину землі по тріщинах земної кори, тому що ці тріщини не можуть йти так глибоко.
Крім того, наявність у земній корі великих покладів карбідів заліза, до яких може проникнути вода океанів, дуже сумнівно.
Кількість металевого заліза (а не його окислів), що може потрапити з дуже глибоких зон на поверхню твердої кори - мізерна. Оксиди заліза містити карбіди металів не можуть. Імовірність же наявності карбідів металів у самому залізі також украй незначна.
Усі приведені вище розуміння говорять про те, що в зовнішній оболонці космічного типу при наявності окисної обстановки не приходиться очікувати утворення і збереження карбідів заліза й інших металів у значних кількостях...
М. В. Ломоносов перший указав на зв'язок між пальними корисними копалинами - вугіллям і нафтою і висунув вперше у світі в середині XVIII в. гіпотезу про походження нафти з рослинних залишків.
Академік В.И.Вернадский звернув увагу на наявність у нафті азотистих з'єднань, що зустрічаються в органічному світі.
Попередники академіка І.М.Губкіна, російські геологи Андрусов і Михайлівський також вважали, що на Кавказу нафта утворилася з органічного матеріалу. На думку И.М.Губкіна, батьківщина нафти знаходиться в області древніх мілководних морів, лагун і заток. Він вважав, що вугілля і нафта - члени того самого генетичного ряду пальних копалин.
Вугілля утвориться в болотах і прісноводних водоймах, як правило, з вищих рослин. Нафта виходить головним чином з нижчих рослин і тварин, але в інших умовах.
Нафта поступово утворювалася в товщі різних за віком осадових порід, починаючи від найбільш древніх осадових порід - кембрійських, виниклих 600 млн. років тому, до порівняно молодих - третинних шарів, що склалися 50 млн. років тому.
Нагромадження органічного матеріалу для майбутнього утворення нафти відбувалося в прибережній смузі, у зоні боротьби між сушею і морем...
По питанню про вихідний матеріал існували різні думки. Деякі вчені думали, що нафта виникла з жирів загиблих тварин (риби, планктон і ін.), інші вважали, що головну роль грали білки, треті надавали великого значення вуглеводам. Тепер доведено, що нафта може утворитися з жирів, білків і вуглеводів, тобто з усієї суми органічних речовин.
І.М.Губкін дав критичний аналіз проблеми походження нафти і розділив органічні теорії на три групи: теорії, де переважна роль в утворенні нафти приділяється загиблим твариною; теорії, де переважна роль приділяється загиблим рослинам, і, нарешті, теорії змішаного тваринно-рослинного походження нафти.
Остання теорія, детально розроблена І.М.Губкинім, називається сапропелітова від слова "сапропель" - глинистий іл - і є пануючої. У природі широко поширені різні види сапропелітів.
Розходження у вихідній органічній речовині є однією з причин існуючої різноманітності нафт. Іншими причинами є розходження температурних умов порід, що вміщають, присутність каталізаторів і ін., а також наступні перетворення порід, з яких складається нафта...
В минулому проведені дослідження, у результаті яких вдалося установити роль мікроорганізмів в утворенні нафти. Т.Л. Гинзбург-Карагічева, що відкрила присутність у нафті різноманітних мікроорганізмів, привела у своїх дослідженнях багато нових, цікавих відомостей. Вона встановила, що в нафтах, що раніше вважалися отрутою для бактерій, на великих глибинах йде кипуче життя, що не припинялося мільйони років підряд.
Цілий ряд бактерій живе в нафті і харчується нею, змінюючи, таким чином, хімічний склад нафти. Академік І.М.Губкін у своїй теорії нафтоутворення додавав цьому відкриттю велике значення. Гинзбург-Карагічевой установлено, що бактерії нафтових шарів перетворюють різні органічні продукти в бітумінозні.
Під дією ряду бактерій відбувається розкладання органічних речовин і виділяється водень, необхідний для перетворення органічного матеріалу в нафту...
Академіком Н.Д.Зелінським, професором В.А.Соколовом поруч з іншими дослідниками велике значення в процесі нафтоутворення придавалось радіоактивним елементам. Дійсно, доведено, що органічні речовини під дією альфа-променів розпадаються швидше і при цьому утворюється метан і ряд нафтових вуглеводнів.
Академік Н.Д.Зелінський і його учні установили, що велику роль у процесі нафтоутворення грають каталізатори.
У більш пізніх роботах академік Зелінський довів, що вхідні до складу тваринних і рослинних залишків пальмітинова, стеаринова й інша кислоти при впливі хлористого алюмінію в умовах порівняно невисоких температур (150-400о) утворять продукти, по хімічному складі, фізичним властивостям і зовнішньому вигляду схожі на нафту. Професор А.В. Фрост установив, що замість хлористого алюмінію - каталізатора, відсутнього в природі, - його роль у процесі нафтоутворення грають звичайні глини, глинисті вапняки й інші породи, що містять глинисті мінерали.
Мета роботи полягає в проведенні аналізу літературних джерел щодо складу та первинної переробки нафти.
Завдання роботи:
1) проаналізувати склад нафти;
2) розглянути основні властивості нафти;
3) проаналізувати основні особливості первинної переробки нафти.
1 . Склад та властивості нафти
1.1 Склад нафти
Нафта - рідина від ясно-коричневого (майже безбарвна) до темно-бурого (майже чорного) кольору (хоча бувають екземпляри навіть смарагдово-зеленої нафти). Середня молекулярна маса 220-300 г/моль (рідко 450-470). Густина 0,65-1,05 (звичайно 0,82-0,95) г/см3 ; нафта, щільність якої нижче 0,83, називається легкою, 0,831-0,860 - середньою, вище 0,860 - важкою. Вона містить велику кількість різних органічних речовин і тому характеризується не температурою кипіння, а температурою початку кипіння рідких вуглеводнів (звичайно >28 °C, рідше 100 °C у випадку важких нафт) і фракційним складом - виходом окремих фракцій, що переганяються спочатку при атмосферному тиску, а потім під вакуумом у визначених температурних межах, як правило до 450-500 °С (википає ~ 80 % обсягу проби), рідше 560-580 °С (90-95 %). Температура застигання від +60 до + 30 °C; залежить переважно від вмісту в нафті парафіну (чим його більше, тим температура застигання вище) і легких фракцій (чим їхній більше, тим ця температура нижче). В'язкість змінюється в широких межах (від 1,98 до 265,90 мм3 /с для різних нафт, що добуваються в світі), визначається фракційним складом нафти і її температурою (чим вона вище і більше кількість легких фракцій, тим нижче в'язкість), а також вмістом смолисто-асфальтових речовин (чим їх більше, тим в'язкість вище). Питома теплоємність 1,7-2,1 кдж/(кг•К); питома теплота згоряння (нижча) 43,7-46,2 МДЖ/кг; діелектрична проникність 2,0-2,5; електрична провідність від 2•10-10 до 0,3•10-18 Ом-1 см-1 .
Нафта - легко займиста рідина; температура спалаху від +35 до +121 °C (залежить від фракційного складу і вмісту в ній розчинених газів). Нафта розчинна в органічних розчинниках, у звичайних умовах не розчинна у воді, але може утворювати з нею стійкі емульсії. У технології для відділення від нафти води і розчиненої в ній солі проводять зневоднювання і знесолення [7].
У зв'язку зі швидким розвитком у світі хімічної і нафтохімічної промисловості потреба в нафті збільшується не тільки з метою підвищення вироблення палив і олій, але і як джерела коштовної сировини для виробництва синтетичних каучуків і волокон, пластмас, ПАР, миючих засобів, пластифікаторів, присадок, барвників і ін. (більш 8 % від обсягу світового видобутку). Серед одержуваних з нафти вихідних речовин для цих виробництв найбільше застосування знайшли: парафінові вуглеводні - метан, етан, пропан, бутани, пентани, гексани, а також високомолекулярні (10-20 атомів вуглецю в молекулі); нафтенові - циклогексан; ароматичні вуглеводні - бензол, толуол, ксилоли, етилбензол; олефінові і диолефінові - етилен, пропілен, бутадієн; ацетилен. Виснаження ресурсів нафти, зростання цін на неї викликали інтенсивний пошук замінників рідких палив.
По хімічною природою і походженням нафта близька до природних горючих газів, озокеритові, а також асфальтові. Іноді всі ці горючі копалини об`єднуються під загальною назвою петроліти і відносяться до ще більш великої групи так званих каустобіолітів - горючих мінералів біогенного походження, що включають також викопні тверді палива - торф, буре і кам'яне вугілля, антрацит, сланці. По здатності розчинятися в органічних рідинах (сірковуглеці, хлороформі, спиртобензольній суміші) нафта, як і інші петроліти, а також речовини, що вилучаються цими розчинниками з торфу, викопного вугілля або продуктів їх переробки, прийнято відносити до групи бітумів [1].
Нафта являє собою суміш близько 1000 індивідуальних речовин, з яких велика частина - рідкі вуглеводні (> 500 або звичайно 80-90 % по масі) і гетероатомні органічні сполуки (4-5 %), переважно сірчисті (близько 250), азотисті (> 30) і кисневі (близько 85), а також металоорганічні з'єднання (в основному ванадієві і нікелеві); інші компоненти - розчинені вуглеводневі гази (C1 -C4 , від десятих часток до 4 %), вода (від слідів до 10 %), мінеральні солі (головним чином хлориди, 0,1-4000 мг/л і більш), розчини солей органічних кислот і ін., механічні домішки (частки глини, піску, вапняку).
В основному в нафті представлені парафінові (звичайно 30-35, рідше 40-50 % за об`ємом) і нафтенові (25-75 %). У меншому ступені - сполуки ароматичного ряду (10-20, рідше 35 %) і змішаної будови (наприклад, парафіно-нафтенові, нафтено-ароматичні).
Елементний склад нафти і гетероатомні компоненти
Поряд з вуглеводнями до складу нафти входять речовини, що містять допоміжні атоми. Сірковмісні - H2 S, меркаптани, моно- і дисульфіди, тіофени і тіофани, а також поліциклічні і т.п. (70-90 % концентрується в залишкових продуктах - мазуті і гудроні); азотвмісні - переважно гомологи піридину, хіноліну, індолу, карбазолу, піролу, а також порфірини (здебільшого концентрується у важких фракціях і залишках); кисеньвмісні - нафтенові кислоти, феноли, смолисто-асфальтенові й ін. речовини (зосереджені звичайно у висококиплячих фракціях). Елементний склад (%): С - 82-87,Н - 11-14,5, S - 0,01-6 (рідко до 8), N - 0,001-1,8, O - 0,005-0,35 (рідко до 1,2) і ін. Усього в нафті виявлено більш 50 елементів. Так, поряд зі згаданими в нафті присутні V(10-5 - 10-2%), Nі(10-4-10-3%), Cl (від слідів до 2o10-2%) і т.д. Вміст зазначених сполук і домішок у сировині різних родовищ коливається в широких межах, тому говорити про середній хімічний склад нафти можна тільки умовно.
1.2 Основні види нафти за вуглеводневим складом
Клас вуглеводнів, за яким нафті дається найменування, повинні бути присутнім у кількості більш 50 %. Якщо присутні вуглеводні також і інших класів і один із класів складає не менш 25 %, виділяють змішані типи нафти: метано-нафтенові, нафтено-метанові, ароматично-нафтенові, нафтено-ароматичні, ароматическо-метанові і метано-ароматичні; у них першого компонента міститься більш 25 %, другого - більш 50 %. Сира нафта безпосередньо не застосовується. Для одержання з неї технічно цінних продуктів, головним чином моторних палив, розчинників, сировини для хімічної промисловості, її піддають переробці [5].
Сирою нафтою називають нафта, одержувану безпосередньо зі шару. При виході з нафтового шару нафта містить частки гірських порід, воду, а також розчинені в ній солі і гази. Ці домішки викликають корозію устаткування і серйозні утруднення при транспортуванні і переробці нафтової сировини. Таким чином, для експорту або доставки у віддалені від місць видобутку нафтопереробні заводи необхідний промислова обробка сирої нафти: з неї віддаляється вода, механічні домішки, солі і тверді вуглеводні, виділяється газ. Газ і найбільш легкі вуглеводні необхідно виділяти зі складу сирої нафти, тому що вони є цінними продуктами, і можуть бути загублені при її зберіганні. Крім того, наявність легких газів при транспортуванні сирої нафти по трубопроводу може привести до утворення газових мішків на ділянках траси. Очищену від домішок, води і газів сиру нафту поставляють на нафтопереробні заводи (НПЗ), де в процесі переробки з неї одержують різні види нафтопродуктів. Якість, як сирої нафти, так і нафтопродуктів, одержуваних з неї, визначається її складом: саме він визначає напрямок переробки нафти і впливає на кінцеві продукти.
Найважливішими характеристиками властивостей сирої нафти є: густина, вміст сірки, фракційний склад, а також в'язкість і вміст води, хлористих солей і механічних домішок.
Густина нафти, залежить від вмісту важких вуглеводнів, таких як парафіни і смоли. Для її вираження використовується як відносна густина нафти, виражена в г/см3 , так і густина нафти, виражена в одиницях Американського інституту нафти - APІ, вимірювана в градусах.
За густиною можна орієнтовно судити про вуглеводневий склад сирої нафти і нафтопродуктів, оскільки її значення для вуглеводнів різних груп по-різному. Більш висока густина сирої нафти вказує на більший вміст ароматичних вуглеводнів, а більш низька - на більший вміст парафінових вуглеводнів. Вуглеводні нафтенової групи займають проміжне положення. Таким чином, величина густини до відомого ступеня буде характеризувати не тільки хімічний склад і походження продукту, але і його якість. Найбільш якісними і цінними є легкі сорти сирої нафти (російська Sіberіan Lіght). Чим менше густина сирої нафти, тим легше процес її переробки і вище якість одержуваних з неї нафтопродуктів [7].
За вмістом сірки сиру нафту в Європі і Росії підрозділяють на малосірчисту (до 0,5%), сірчисту (0,51-2%) і високосірчисту (більш 2%), у США - на солодку (до 0,5%), середньосолодку/середньокислу (0,51-2%) і кислу (більш 2%). Класифікація, прийнята в США, що здається на перший погляд незвичайною, має, однак, пряме відношення до смаку. На зорі видобутку нафти в Пенсільванії, одержуваний з неї гас використовувався як лампова олія для освітлення приміщень. Гас з великим вмістом сірки давав огидний запах при згорянні, тому більше цінувався гас з низьким вмістом сірки, солодкий на смак. Звідси і відбулася ця термінологія.
Нафта є сумішшю декількох тисяч хімічних сполук, більшість з яких - комбінація атомів вуглецю і водню - вуглеводні; кожна з цих сполук характеризується власною температурою кипіння, що є найважливішою фізичною властивістю нафти, широко використовуваним у нафтопереробній промисловості. На кожній зі стадій кипіння нафти випаровуються певні сполуки, цей процес називають перегонкою нафти. Сполуки, що випаровуються в заданому проміжку температури, називаються фракціями, а температури початку і кінця кипіння - границями кипіння фракції або межами википання. Фракції, що википають до 350°С, називають світлими дистилятами. Фракція, що википає вище 350°С, є залишком після добору світлих дистилятів і називається мазутом. Мазут і отримані з нього фракції - темні. Назви фракціям привласнюються в залежності від напрямку їхнього подальшого використання.
Різні нафти сильно відрізняються за складом. У легкій нафті (lіght oіl) звичайно більше бензину, нафти і гасу, у важких - газойлю і мазуту. Найбільш поширені нафти зі вмістом бензину 20-30%.
Присутність механічних домішок у складі сирої нафти порозумівається умовами її залягання і способами видобутку. Механічні домішки складаються з часток піску, глини й інших твердих порід, що, осідаючи на поверхні води, сприяють утворенню нафтової емульсії. У відстійниках, резервуарах і трубах при підігріві сирої нафти частина механічних домішок осідає на дні і стінках, утворити шар бруду і твердого осаду. При цьому зменшується продуктивність устаткування, а при відкладенні осаду на стінках труб зменшується їхня теплопровідність. Масова частка механічних домішок до 0,005% включно оцінюється як їхня відсутність.
В'язкість визначається структурою вуглеводнів, що складають нафту, тобто їхньою природою і співвідношенням, вона характеризує властивості розпилення і перекачування нафти і нафтопродуктів: чим нижче в'язкість рідини, тим легше здійснювати її транспортування по трубопроводах, робити її переробку. Особливо важлива ця характеристика для визначення якості маслених фракцій, одержуваних при переробці нафти і якості стандартних мастил. Чим більше в'язкість нафтових фракцій, тим більше температура їхній википан.
1.3 Фракційний склад нафти
Найважливішим показником якості нафти є фракційний склад.
Фракційний склад визначається при лабораторній перегонці з використанням методу поступового випару, у процесі якої при поступово підвищується температурі з нафти відганяють частини - фракції, що відрізняються одна від одної межами википання. Кожна з фракцій характеризується температурами початку і кінця кипіння [7].
Промислова перегонка нафти ґрунтується на схемах з так називаним однократним випаром і подальшою ректифікацією.
Фракції, що википають до 350о С, відбирають при тиску трохи вищому атмосферного, називають світлими дистилятами(фракціями). Назви фракціям привласнюються в залежності від напрямку їхнього подальшого використання. В основному, при атмосферній перегонці одержують наступні світлі дистиляти: 140о С (початок кипіння) - бензинова фракція, 140-180о С - лігроїнова фракція(важка нафта), 140-220о С (180-240о С ) - гасова фракція, 180-350о С (220-350о С, 240-350о С) - дизельна фракція (легкий або атмосферний газойль, соляровий дистилят).
Фракція, що википає вище 350о С є залишком після добору світлих дистилятів і називається мазутом. Мазут розганяють під вакуумом і в залежності від подальшого напрямку переробки нафти одержують наступні фракції: для одержання палив - 350-500о С вакуумний газойль (дистилят), >500о С вакуумний залишок (гудрон); для одержання олій - 300-400о С (350-420о С) легка маслена фракція (трансформаторний дистилят), 400-450о С (420-490о С) середня маслена фракція (машинний дистилят), 450-490о С важка маслена фракція (циліндровий дистилят), >490о С гудрон. Мазут і отримані з нього фракції - темні.
У такий спосіб фракціонування - це поділ складної суміші компонентів на більш прості суміші або окремі складові [8].
Продукти, одержувані як при первинній, так і при вторинній переробці нафти, відносять до світлих, якщо вони википають до 350о С, і до темних, якщо межі википан 350о С і вище.
Нафти різних родовищ помітно відрізняються за фракційним складом, вмістом світлих і темних фракцій.
У технічних умовах на нафту і нафтопродукти нормуються:
температура початку кипіння;
температура, при якій відганяється 10,50,90 і 97.5% від завантаження, а також залишок у відсотках;
іноді лімітується температура кінця кипіння.
1.4 Води та домішок в складі нафти
При видобутку і переробці нафта двічі змішується з водою: при виході з великою швидкістю зі шару разом із супутньою їй пластовою водою й у процесі знесолення, тобто промивання прісною водою для видалення хлористих солей.
У нафті і нафтопродуктах вода може утримуватися у вигляді простої суспензії, тоді вона легко відстоюється при зберіганні, або у вигляді стійкої емульсії, тоді вдаються до особливих прийомів зневоднювання нафти.
Утворення стійких нафтових емульсій приводить до великих фінансових утрат. При невеликому вмісті пластової води в нафті здорожується транспортування її по трубопроводах, тому що збільшується в'язкість нафти, що утворить з водою емульсію. Після відділення води від нафти у відстійниках і резервуарах частина нафти скидається разом з водою у вигляді емульсії і забруднює стічні води [2].
Частина емульсії уловлюється пастками, збирається і накопичується в земляних коморах і нафтових ставках, де з емульсії випаровуються легкі фракції і вона забруднюється механічними домішками. Такі нафти одержали назва "комірні нафти". Вони високонаводнені і смолисті, з великим вмістом механічних домішок, важко збезводнюються.
Вміст води в нафті є самим вагомим поправним показником при обчисленні маси нетто нафти по масі брутто. Цей показник якості, поряд з механічними домішками і хлористими солями, входить у рівняння для визначення маси баласту.
Присутня в нафті, особливо з розчиненими в ній хлористими солями, вода ускладнює її переробку, викликаючи корозію апаратури.
Наявна в карбюраторному і дизельному паливі, вода знижує їх теплотворну здатність, засмічує і викликає закупорку форсунок.
При зменшенні температури кристалики льоду засмічують фільтри, що може служити причиною аварій при експлуатації авіаційних двигунів.
Вміст води в олії підсилює її схильність до окислювання, прискорює процес корозії металевих деталей, що стикаються з олією.
Отже, вода впливає як на процес переробки нафти, так і на експлуатаційні властивості нафтопродуктів і кількість її повинна нормуватися.
Збіжність - два результати визначень, отримані одним виконавцем, визнаються достовірними (з 95%-ний довірчою імовірністю), якщо розбіжність між ними не перевищує: 0.1 см3 - при обсязі води, меншому або рівним 1.0 см3 ; 0.1 см3 або 2% від середнього значення обсягу (у залежності від того, яка з цих величин більше) - при обсязі води більш 1.0 см3 .
Відтворюваність - два результати дослідів, отримані в двох різних лабораторіях ( з 95%-ною довірчою імовірністю), якщо розбіжність між ними не перевищує:
- 0.1 см3 - при обсязі води, меншому або рівним 1.0 см3 ;
- 0.2 см3 або 10% від середнього значення обсягу (у залежності від того, яка з цих величин більше) - при обсязі води понад 1.0 см3 до 10 см3 ;
- 5% від величини середнього результату - при обсязі води більш 10 см3 .
Відповідно до Держстандарту 2477-65 масова частка води повинна складати не більш ніж 0.5%-1% у залежності від ступеня підготовки нафти.
Присутність механічних домішок пояснюється умовами залягання нафти і способами їх видобутку.
Механічні домішки нафти складаються зі зважених у ній високодисперсних часток піску, глини й інших твердих порід, що, адсорбуються на поверхні глобул води, сприяють стабілізації нафтової емульсії. При перегонці нафти домішки можуть частково осідати на стінках труб, апаратури і трубчастих печей, що приводить до прискорення процесу зносу апаратури [7].
У відстійниках, резервуарах і трубах при підігріві нафти частина високодисперсних механічних домішок коагулює, випадає на дно і відкладається на стінках, утворити шар бруду і твердого осаду. При цьому зменшується продуктивність апаратів, а при відкладенні осаду на стінках труб зменшується їхня теплопровідність.
У ДСТ 6370-83 приводяться наступні оцінки вірогідності результатів визначення змісту механічних домішок при довірчій імовірності 95%.
Масова частка механічних домішок до 0.005% включно оцінюється як їх відсутність.
ДСТ 9965-76 також установлює масову болю механічних домішок у нафтах, що може бути не більш 0.05%.
Сірка і її сполуки є постійними складовими частинами сирої нафти. По хімічній природі - це сполуки сульфідів, гомологів тіофана і тіофена. Крім зазначених сполук, у деяких нафтах зустрічаються сірководень, меркаптани і дисульфіди.
Меркаптани або тіоспирти - легколетучі рідини з надзвичайно огидним запахом; сульфіди або тіоефіри - нейтральні речовини, що нерозчиняються у воді, але розчиняються в нафтопродуктах; дисульфіди або полісульфіди - важкі рідини з неприємним запахом, що легко розчиняються в нафтопродуктах, і дуже мало у воді; тіофен - рідина, що не розчиняється у воді.
Сполуки сірки в нафтах, як правило, є шкідливою домішкою. Вони токсичні, мають неприємний запах, сприяють відкладенню смол, у сполуках з водою викликають інтенсивну корозію металу. Особливо в цьому відношенні небезпечні сірководень і меркаптани. Вони володіють високою корозійною здатністю, руйнують кольорові метали і залізо. Тому їхня присутність у товарній нафті не припустимо.
Точність методу визначення сірки відповідно до Держстандарту 1437-75 виражається наступними показниками:
схожість - результати визначення, отримані послідовно одним лаборантом, визнаються достовірними (при довірчій імовірності 95%), якщо розбіжність між ними не перевищує встановлених значень;
відтворюваність - результати аналізу, отримані в двох різних лабораторіях, визнаються достовірними (при довірчій імовірності 95%).
1.5 Перегонка нафти
В'язкість є найважливішою фізичною константою, що характеризує експлуатаційні властивості котелень, дизельних палив і інших нафтопродуктів. Особливо важлива ця характеристика для визначення якості маслених фракцій, одержуваних при переробці нафти і якості стандартних мастил.
За значенням в'язкості судять про можливості розпилення і перекачування нафтопродуктів, при транспортуванні нафти по трубопроводах, палив у двигунах і т.д.
Визначається структурою вуглеводнів, що складають нафту і нафтопродуктів, тобто їх природою і співвідношенням. Серед різних груп вуглеводнів, найменшу в'язкість мають парафінові, найбільшу - нафтенові вуглеводні [5].
Можна додати, що чим більше в'язкість нафтових фракцій, тим більше температура їхній википан.
Визначення в'язкості відповідно до Держстандарту 33-82 "Нафтопродукти. Методи визначення кінематичної і розрахунок динамічної в'язкості встановлює наступні норми точності визначення в'язкості: збіжність припускає, що розбіжність результатів послідовних визначень отриманих одним і тем же лаборантом, що працює на тому самому віскозиметрі, в ідентичних умовах на тому самому продукті, не повинне перевищувати 0.35% від середнього арифметичного значення (з 95% довірчою імовірністю); відтворюваність - розбіжність результату двох визначень, отриманими різними лаборантами, які працюють в різних лабораторіях, на тому самому продукті, не повинне перевищувати 0.72% від середнього арифметичного (з 95% довірчою імовірністю).
Перегонка нафти, що містять солі, стає неможливої через інтенсивну корозію апаратури, а також через відкладення солей у трубах печей і теплообмінниках. У результаті можуть прогоріти грубні труби і виникнути пожежа, безупинно підвищуватися тиск на сировинних грубних насосах унаслідок зменшення діаметра грубних труб і, нарешті, цілком припиниться подача сировини в піч.
Основним кородуючим фактором є присутність хлоридів у нафті. При підігріві нафти до 1200 C і вище в присутності навіть слідів води відбувається інтенсивний гідроліз хлоридів з виділенням сильно кородуючого агента - хлористого водню HCl.
Гідроліз хлоридів йде відповідно до наступних рівнянь [5]:
MgCl2 + H2 O = MgOHCl + HCl
MgCl2 + 2H2 O = Mg(OH)2 + 2HCl
З підвищенням температури швидкість гідролізу хлоридів значно збільшується. З хлоридів, що утримуються в нафті, найбільше легко гідролізується хлористий магній, за ним хлористий кальцій і складніше за всіх гідролізується хлористий натрій.
При перегонці сірчистих нафт сірководень реагує з залізом і утворює сульфід заліза, що розчиняється не у воді, що у виді тонкої плівки покриває стінки апаратів і, таким образів, захищає апаратуру від подальшого впливу корозії. Але хлористий водень, що виділився, розкладає цю захисну плівку, при цьому виділяються нові порції сірководню й утвориться нерозчинне у воді хлористе залізо. У результаті оголюється поверхня металу і протікає інтенсивна сполучена корозія сірководнем і хлористим воднем.
Наявність значної кількості мінеральних солей у мазутах, що являють собою залишок при перегонці нафти і використовуються як казанове паливо приводить до відкладення солей у топках, на зовнішніх стінках нагрівальних труб. Це приводить до зниження тепловіддачі і, отже, до зниження коефіцієнта корисної дії печі.
Таким чином, переробка таких нефтей може здійснюватися тільки після обов'язкового знесолення і зневоднювання.
ДСТ 21534 установлює два методи визначення хлористих солей у нафті: титруванням водного екстракту (метод А) і неводним поценціометричним титруванням (метод Б).
Здатність молекул рідини виходити через вільну поверхню назовні, утворити пара, називають випаровуваністю. Над поверхнею кожної рідини унаслідок випару знаходиться пара, тиск якого може зростати до визначеної межі, що залежить від температури і називається тиском насиченої пари. При цьому тиск пари і рідини буде однаковим, пара і рідина виявляються в рівновазі і пара стає насиченим. При цьому, число молекул, що переходять з рідини в пару дорівнює числу молекул, що робить зворотний перехід.
Тиск насичених парів з підвищенням температури росте. Утворення насичених пар приводить до того, що тиск на вільній поверхні не може бути нижче тиску насичених пар [8].
Для нафти і нафтопродуктів і інших складних багатокомпонентних систем тиск насиченої пари при даній температурі є складною функцією складу і залежить від співвідношення обсягів просторів, у яких знаходиться пара і рідина.
Тиск насичених пар характеризує інтенсивність випару, пускові якості моторних палив і схильність їх до утворення парових пробок.
При транспортуванні нафти, що містить парафін, по трубопроводах на їх стінках, а також на деталях устаткування часто відкладається парафін. Це пояснюється як тим, що температура стінок трубопроводу може бути нижче, ніж у рідини, що перекачується, так і тим, що частки парафіну, що виділилися з нафти унаслідок високої концентрації або коливання температури на різних ділянках трубопроводу, прилипають до його стінок. Це приводить до зменшення ефективного перетину труб і устаткування, що у свою чергу вимагає підвищення тиску в насосів для підтримки необхідної витрати (обсягу рідини, що протікає,) і може привести до зниження продуктивності всієї системи.
Таким чином, знання вмісту в нафті і нафтопродуктах кількості парафіну і температури його масової кристалізації дозволяє визначити технологічний режим експлуатації магістральних трубопроводів.
ДСТ 11851-85 регламентує два методи визначення парафіну. Метод А полягає в попереднім видаленні асфальто-смолистих речовин з нафти, їхній екстракції й адсорбції, і наступного виділення парафіну сумішшю ацетону і толуолу при температурі мінус 20ос. При використанні методу Б попереднє видалення асфальто-смолистих речовин здійснюється вакуумною перегонкою з добором фракцій 250-550о С і виділення парафіну розчинниками (суміш спирту й ефіру) при температурі мінус 20о С.
2. Способи первинної переробки нафти
2.1 Сутність процесу та типи установок
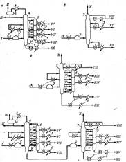
У технології нефтепереработки до первинної перегонки відносять процеси атмосферної перегонки нафти і вакуумної перегонки мазуту. Їх призначення складається в поділі нафти на фракції для наступної переробки або використання як товарних нафтопродуктів.Ці процеси здійснюють відповідно на так званих атмосферних трубчастих і вакуумних трубчастих або атмосферно-вакуумних трубчастих установках.На установках AT здійснюють неглибоку перегонку нафти з одержанням бензинових, гасових, дизельних фракцій і мазуту. Установки ВТ призначені для поглиблення переробки нафти. Одержувані на них з мазуту газойлеві, масляні фракції і гудрон використовують як сировину процесів вторинної переробки нафти з метою виробництва палива, мастил, коксу, бітумів і інших нафтопродуктів. У залежності від напрямку використання фракцій установки первинної перегонки нафти прийнято іменувати паливні, масляні або паливно-масляними і відповідно до цього - варіанти переробки нафти. Принципові схеми установок первинної перегонки нафти показані на мал. 1.

Рис. 1. Принципові схеми установок первинної перегонки нафти: AT (а), ВТ паливна (б), ВТ масляна (в), АВТ паливно-масляна (г):
1 - теплообмінник; 2 - трубчаста піч; 3 - холодильник, конденсатор-холодильник; 4 – атмосферна колона; 5 - відгінна колона; 6 - газосепаратор; 7 - вакуумна колона;
І - нафта; ІІ - легкий бензин; ІІІ - углеводородный газ; ІV - важкий бензин; V - водяна пара; VІ - гас; VІІ - легке дизельне паливо; VІІІ - важке дизельне паливо; ІX - мазут; X - неконденсаційні гази і водяна пара в системи, що створює вакуум; XІ - широка масляна фракція (вакуумний газойль); XІІ - гудрон; XІІІ – малов`язка масляна фракція; XІ – середньов`язкая масляна фракція; XV - грузла масляна фракція.
2.2 Основні види перегонки
2.2.1 Проста перегонка
Проста перегонка здійснюється шляхом поступового, однократного і багаторазового випаровування рідких сумішей.

Рис. 2. Схеми простої перегонки: а - поступова; б - однократна; в - дворазова; 1 - куб; 2 - кип'ятильник; 3 - конденсатор; 4 - приймач; 5 - сепаратор; І - сировина; ІІ - відгін; ІІІ - залишок; ІV - відгін другої ступіні; V - залишок другої ступіні.
Перегонка з поступовим випарюванням (мал. 2, а) складається в поступовому безперервному нагріванні рідкої суміші в кубі 1 від початкової до кінцевої температури при безперервному відводі пару, що утворюється, конденсації їх в апараті 3 і зборі в приймачі 4 цілком або виведенні з нього періодично окремими фракціями [7].
Цей спосіб перегонки нафти і нафтопродуктів переважно застосовують у лабораторній практиці при визначенні фракційного складу за ДСТ 2177-82 на стандартному апараті періодичної дії; аналіз дає можливість судити про технічну цінність нафти й експлуатаційних властивостей нафтопродукту.
Перегонка однократним (рівноважним) випарюванням (мал. 2, б). Вихідну рідку суміш безупинно подають у кип'ятильник 2, де вона нагрівається до певної кінцевої температури при фіксованому тиску; що утворилися і досягли стани рівноваги парова і рідка фази однократно розділяються в адіабатичному сепараторі 5. Парова фаза, пройшовши конденсатор 3, надходить у приймач 4, відкіля безупинно відводиться як дистилят (відгон). З низу сепаратора 5 безупинно виділяється рідка фаза - залишок.
Відношення кількості пар, що утворився, при однократному випаровуванні до кількості вихідної суміші називають часток відгону.
Перегонка з однократним випаровуванням забезпечує велику частку відгону, чим з поступовим при однакових температурі і тиску. Цю важливу перевагу використовують у практиці перегонки нафти для досягнення максимального випару при обмеженій температурі нагрівання внаслідок розкладання (крекінгу) окремих компонентів нафти.
Багаторазове випаровування полягає в послідовному повторенні процесу однократного випару при більш високих температурах (або низьких тисках) стосовно залишку, отриманому від попереднього однократного випару рідкої суміші. На мал. 2, в показана схема дворазової перегонки. Залишок однократного випару першої ступіні після нагрівання до більш високої температури надходить у сепаратор другого ступіня, з верхньої частини якого відбирають відгін другого ступіня, а з нижнього - залишок другого ступіня.
Способи перегонки з однократним і багаторазовим випаром мають найбільше значення в здійсненні промислової переробки нафти на установках безперервної дії. Так, прикладом процесу однократного випару є зміна фазового стану (частки відгону) нафти при нагріванні в регенеративних теплообмінниках і в змійовику трубчастої печі з наступним відділенням парової від рідкої фази в секції живлення ректифікаційної колони [7].
Проста перегонка, особливо варіант з однократним випаром, не дає чіткого поділу суміші на складові компоненти. Для підвищення чіткості поділу перегонку ведуть з дефлегмацією або з ректифікацією.
2.2.2 Складна перегонка
Перегонка з дефлегмацією заснована на частковій конденсації пари, що утвориться при перегонці, і поверненні конденсату (флегми) назустріч потоку пари. Завдяки цьому однократному й однобічному масообміну між зустрічними потоками пари і рідини, що ідуть із системи пари додатково збагачуються низкокиплячими компонентами, тому що при частковій конденсації з них переважно виділяються висококиплячі складові частини.
Дефлегмацію здійснюють а спеціальних за конструкцією поверхневих конденсаторах повітряного або водяного охолодження, розташовуваних над перегінним кубом.
Перегонка з ректифікацією дає більш високу чіткість поділу сумішей у порівнянні з перегонкою з дефлегмацією. Основою процесу ректифікації є багаторазовий двосторонній масообмін між рухаючимися противотоком парами і рідиною суміші, що переганяється. Цей процес здійснюють у ректифікаційних колонах. Для забезпечення більш тісного зіткнення між зустрічними потоками пари і рідини ректифікаційні колони обладнані контактними пристроями - тарілками або насадкою. Від числа таких контактів і від кількості флегми (зрошення), що стікає назустріч парам, в основному залежить чіткість поділу компонентів суміші [2].
Сучасна промислова технологія первинної перегонки нафти основана на процесах одно- і багаторазової перегонки з наступною ректифікацією утворених парової і рідкої фаз. Перегонку з дефлегмацією і періодичною ректифікацією, так само як перегонку з поступовим випаром, застосовують у лабораторній практиці.
2.2.3 Перегонка з водяною парою й у вакуумі
Нафтові суміші термічно нестійкі. Серед вхідних до їх складу компонентів менш стійкі до нагрівання сірчисті й асфальтосмолисті сполуки. Парафінові вуглеводні термічно менш стійкі, чим нафтенові. Останні при нагріванні легше розкладаються, чим ароматичні. Термічна стабільність нафтових сумішей залежить в основному від температури нагрівання і часу її впливу. Поріг термічної стабільності для безперервної перегонки вище, ніж для періодичної. На практиці нафта й отримані з неї продукти (мазут, масляні фракції) можна без помітного розкладання нагрівати до наступних температур, °С:
| Перегонка | ||
| безперервна на промислових установках | періодична лабораторна | |
| Малосірчиста високопарафіниста і малосмолиста нафта | 370-380 | 350-360 |
| мазут | 420-425 | |
Сірчиста парафіниста смолиста нафта мазут для одержання паливних фракцій масляних фракцій широка масляна фракція |
375-385 400-410 390-400 350-360 |
330-340 |
Високосірчиста парафіниста високосмолиста нафта мазут |
370-380 390-400 |
320-330 |
Розкладання при перегонці погіршує експлуатаційні властивості нафтопродуктів: знижує їх в'язкість, температуру спалаху, стабільність до окислювання. З метою зменшення розкладання обмежують час перебування нафтових залишків при високих температурах. Час перебування, що рекомендується, мазуту в нижній частині атмосферної колони не більш 5 хв, гудрону в низу вакуумної колони -2-5 хв.
Коли температура кипіння нафтової суміші при атмосферному тиску перевищує температуру її термічного розкладання, при перегонці застосовують вакуум і водяну пару. Вакуум знижує температуру кипіння. Дія водяної пари аналогічна дії вакууму: знижуючи парціальний тиск компонентів суміші, вона викликає кипіння її при меншій температурі. Водяной пар використовують як при атмосферної, так і при вакуумній перегонці. При ректифікації його застосовують для відпарювання низкокипящих фракцій від мазуту і гудрону, з паливних і масляних фракцій. Сполучення вакууму з водяною парою при перегонці нафтових залишків забезпечує глибокий добір масляних фракцій (до 530-580 °С) [7].
Однак дія водяної пари як отпаривающего агента обмежено. Оскільки теплота на випар віднімається від рідини, що переганяється, то в міру збільшення витрати водяної пари температура її і, отже, тиск насичених пар знижуються. Отпарка поступово знижується, тому що тиск насичених пар рідини порівнюється з парціальним тиском нафтових пар. Найбільш ефективним є витрата водяної пари в межах 2-3% на сировину відгінної колони при числі теоретичних ступіней контакту 3-4. У цих умовах кількість отпариваемых з мазуту низкокипящих компонентів досягає 14-23%.
Температура водяної пари повинна бути не нижче температури нафтопродукту, що переганяється, щоб уникнути його обводнювання. Звичайно застосовують пару з температурою 380-420 0 С, тиском 0,2-0,3 Мпа.
Технологія перегонки з водяною парою має свої переваги. Поряд зі зниженням парціального тиску нафтових пар, водяна пара інтенсивно перемішує киплячу рідину, запобігаючи можливі місцеві перегріви її, збільшує поверхня випару за рахунок утворення міхурів і струменів.
Водяной пар застосовують також для інтенсифікації нагрівання нафтових залишків у трубчастих печах при вакуумній перегонці. При цьому домагаються більшого ступеня випару нафтопродукту, запобігання закоксовывания труб. Витрата гострої пари в цьому випадку приймають 0,3-0,5% на сировину.
У деяких випадках отпарку легкокипящих фракцій для підвищення температури спалаху гасу і дизельного палива здійснюють не водяною парою, а однократним випаром. Цим запобігають утворення стійких водних емульсій у топ-ливах, видалення яких зв'язано з тривалим відстоєм.
2.3 Сировина та продукти первинної перегонки нафти
Сировиною установок первинної перегонки служать нафта і газовий конденсат.
Нафти по своєму складі і властивостям розрізняються досить значно. Нафту прийнято оцінювати по технологічних ознаках як сировина для одержання палива для двигунів, олій. У 1967 р. була введена технологічна класифікація нефти (ДСТ 912-66), з 1981 р. діє технологічна індексація нефти (ОСТ 38.01197-80) [7].
Фізико-хімічні властивості нефти і складових їх фракцій впливають на вибір асортименту і технологію одержання нафтопродуктів. При визначенні напрямку переробки нафти прагнуть по можливості максимально корисно використовувати індивідуальні природні особливості їхнього хімічного складу.
Так, переробку нефти малосірчистих високопарафінистих (мангішлакської) і високосірчистих парафінистих (арланської) здійснюють по паливному варіанті з одночасним одержанням фракцій бензину, гасу, дизельного палива, вакуумного газойля і гудрону. При цьому гасову фракцію з малосірчистої парафінистої нафти використовують як розчинник (уайт-спирит); дизельне паливо і вакуумний газойль піддають депарафінізації для одержання відповідно рідких і твердих парафінів; з гудрону одержують сірчистий електродний кокс. Фракції з високосірчистих нафт - гасову, дизельну, вакуумний газойль - піддають гідро-знесірення для одержання відповідно товарних реактивного і дизельного палив, сировини каталітичного крекінгу. Гудрон використовують у виробництві залишкових і окислених бітумів, піддають вісбрекингу для одержання котельного палива.
Для виробництва мастил використовують нафти з високим виходом і якістю масляних фракцій. Їх переробляють за паливно-масляним варіантом.
При первинній перегонці нафти одержують різноманітний асортимент фракцій і нафтопродуктів, що розрізняються за температурними границями кипіння, углеводородному і хімічному складові, в'язкості, температурам спалаху, застигання й інших властивостях, пов'язаних з областю їх застосування і використання [5].
Вуглеводневий газ - складається переважно з пропану і бутанів, що у розчиненому вигляді містяться в поступаючих на переробку нафтах. У залежності від технології первинної перегонки нафти пропан-бутанову фракцію одержують у зрідженому або газоподібному стані. Її використовують як сировину газофракціонуючих установок з метою виробництва індивідуальних вуглеводнів, побутового палива, компонента автомобільного бензину.
Бензинова фракція 28-180 °С переважно піддається вторинній перегонці (чіткої ректифікації) для одержання вузьких фракцій (28-62, 62-85, 85-105, 105-140, 85-140, 85- 180 °С), що служать сировиною процесів ізомеризації, каталітичного риформінгу з метою виробництва індивідуальних ароматичних вуглеводнів (бензолу, толуолу, ксилолів), високо-октанових компонентів автомобільних і авіаційних бензинів; застосовується як сировину піролізу при одержанні етилену, рідше - як компонент товарних бензинів.
Гасова фракція 120-230 (240) °С використовується як паливо для реактивних двигунів, при необхідності піддається демеркаптанізації, гідроочищенню; фракцію 150-280 або 150-315 °С з малосірчистих нафт використовують як освітлювальні керосини, фракцію 140-200 С як розчинник (уайт-спирит) для лакофарбової промисловості.
Дизельна фракція 140-320 (340) °С використовується як дизельне паливо зимове, фракція 180-360 (380) 0 С - у якості літнього. При одержанні із сірчистих і високосірчистих нафт потрібно попереднє знесірення фракцій. Фракції 200-320 °С и 200-340 °С з високо- і парафінових нафт використовують як сировину для одержання рідких парафінів депарафінізацією [2].
Мазут - залишок атмосферної перегонки нафти - застосовується як котельне паливо, його компонент або як сировину установок вакуумної перегонки, а також термічного, каталітичного крекінгу і гідрокрекінгу.
Широка масляна фракція 350-500 і 350-540 (580) °С - вакуумний газойль - використовується як сировина каталітичного крекінгу і гідрокрекінгу.
Вузькі масляні фракції 320 (350)-400, 350-420, 400-450, 420-490, 450-500 °С використовують як сировина установок виробництва мінеральних олій різного призначення і твердих парафінів.
Гудрон - залишок вакуумної перегонки мазуту - піддають деасфальтизації, коксуванню з метою поглиблення переробки нафти, використовують у виробництві бітуму, залишкових базових олій.
2.4 Вибір технологічної схеми переробки
Вибір технологічної схеми і режиму перегонки залежить від якості нафти. Перегонку нафти з невеликою кількістю розчинених газів (0,5-1,2% по С4 включно), відносно невисоким змістом бензину (12-15% фракцій до 180 °С) і виходом фракцій до 350 °С не більш 45% вигідно здійснювати на установках (блоках) AT за схемою з однократним випаром і післяфракціонуванням утворених парової і рідкої фаз у складній ректифікаційній колоні.
Для перегонки легких нафт (типів 1 і 2 - самотлорська, шаїмська, туймазинська) з високим виходом фракцій до 350 °С (50-65%), підвищеним змістом розчинених газів (1,5- 2,2%) і бензинових фракцій (20-30%) доцільно застосовувати установки AT дворазового випару. Кращою є схема з попередньою ректифікаційною колоною часткового знебезнезинення нафти і наступною перегонкою залишку в складній атмосферній колоні. У першій колоні з нафти відбирають велику частину газу і низкокиплячих бензинових фракцій. Щоб більш повно скондесувати них, підтримують підвищений тиск (Рабс = 0,35-0,5 МПа). Завдяки цьому стає можливим понизити тиск в атмосферній колоні до Рабс = 0,14 - 0,16 МПа і тим самим реалізувати умови перегонки (температуру і витрата водяної пари у відгінну частину атмосферної колони), що забезпечують високий добір від потенціалу в нафті суми світлих нафтопродуктів [7].
За рахунок тепла, що повідомляється нафти, у регенеративних теплообмінниках у колоні часткового знебензинення відбирають 50-60% від потенціалу бензину. Прагнути до більшого відбору бензину за рахунок додаткового підведення тепла в низ колони або подачі водяної пари не випливає, тому що це підвищує витрати на перегонку. Крім того, склад сировини атмосферної колони настільки ускладнюється, що потрібно надмірно висока температура, що виявляється вище максимально припустимою.
Схема перегонки нафти з колоною попереднього часткового видалення бензину й основною складною ректифікаційною колоною набутила найбільшого застосування у вітчизняній нафтопереробці. Вона має достатню гнучкість і універсальністю і виявилася корисної в зв'язку з масовим перекладом установок AT і АВТ, запроектованих для перегонки нафти (тип 2), на перегонку більш легких нафт (тип 1) Західного Сибіру.
Різновидом перегонки нафти з дворазовим випаром є схема з попереднім випарником і складною атмосферною колоною. Пари з випарника і залишок після нагрівання в печі направляються в атмосферну колону. Основні переваги такої схеми полягають у деякому скороченні витрат на перегонку за рахунок зниження гідравлічного опору змійовика печі і зменшення металоємності колон і конденсаторів. Схема застосовна для перегонки нафти із середнім рівнем вмісту розчиненого газу (близько 1%) і бензину (18- 20%), у практиці вітчизняної нафтопереробки зустрічається рідко.
Висновки
Нафта — горюча корисна копалина, складна суміш вуглеводнів різних класів з невеликою кількістю органічних кисневих, сірчистих і азотних сполук, що являє собою густу маслянисту рідину, від темно-бурого до чорного кольору. Нафта має характерний запах, легша за воду, у воді нерозчинна. Елементарний склад, %: вуглець 80-88, водень 11 - 14.5, сірка 0.01 - 5, кисень 0.05 - 0.7, азот 0.01 - 0.6. Густина — 760 — 990 кг/м3 . Теплота згоряння — 43.7 - 46.2 МДж/кг. Розрізняють легкі та важкі нафти (щільність легкої до 0,9 т/м3 важкої - до 1,04 т/м3 ). З легкої нафти отримують бензин, гас; з важкої - різні мастильні матеріали, дизельне паливо, бітум, мазут. Легкі нафти добувають насосами чи фонтанним способом, а важкі - навіть шахтним способом. Температура застигання нафти від +11 до 20°С, температура початку кипіння - близько 100°С. На відміну від інших корисних копалин, нафта і газ не утворюють самостійних пластів, вони заповнюють порожнини в породах. Технологія переробки нафти - виробництво нафтопродуктів, застосовуваних у різних галузях господарства, в основному на транспорті, в енергетику, у хімічній промисловості, на первинній стадії обробки зв'язана з її зневоднюванням і знесоленням. При первинній переробці нафти за допомогою різних технологій ставиться задача максимального витягу світлих фракцій, до яких відносяться усі фракції крім мазуту. В основі технології первинної перегонки нафти лежить перегонка - процес фізичного поділу нафти на складові частини, іменовані фракціями. Перегонка здійснюється різними способами часткового википання нафти, добору і конденсації пар, що утворилися, збагачених легколетучими компонентами, у якості дистилятних фракцій. За способом проведення процесу перегонка поділяється на просту і складну. До продуктів первинної переробки нафти належать: вуглеводневий газ, бензинова фракція, гасова фракція, дизельна фракція, мазут, широка масляна фракція, вузька масляна фракція, гудрон.
Перелік використаних джерел
1) Бондарь В.А., Зоря Е.И., Цагарели Д.В. Операции с нефтепродуктами. - М.: АОЗТ "Паритет", 1999. - 338 с.
2) Глинка Н. Л. Общая химия. — Л.: Химия, 1988. — 702 с.
3) Гуляев А.П. Материаловедение. – М.: Металловедение, 1986 . – 542 с.
4) Карапетьянц М. X., Дракин С. И. Общая и неорганическая химия. — М.: Высш. шк., 1981. — 632 с.
5) Лышко Г.П. Топливо смазочные материалы. - М.: Агропромиздат, 1985. - 336 с.
6) Николаев Л. А. Неорганическая химия. - М.: Просвещение, 1982. — 640 с.
7) Справочник нефтепереработчика: Справочник. / Под ред. Г.А.Ластовкина. – Л.: Химия, 1986. – 648 с.
8) Чулков П.В., Чулков Н.П. Топлива и смазочные материалы: ассортимент, качество, применение, экология. - М.: Машиностроение, 1996. - 302 с.
Похожие рефераты:
Технологія і устаткування для переробки бензолу
Теоретичні основи теплотехніки
Виробництво лікарських препаратів, що знаходяться під тиском
Екстракти в промисловій технології ліків
Джерела енергії і генератори енергії
Технологія виробництва спирту на спиртовому заводі "Nemiroff"
Автоматизація котельні на ТЗВ "Волинь-Шифер"
Світовий ринок енергоресурсів: стан, проблеми, перспективи
Вимірювання тиску: класифікація приладів
Малый географический атлас \укр\
Організація автотехнічного забезпечення військових частин
Впровадження безсатураторного методу отримання сульфату амонію
Розширення центральної опалювальної котельні середньої потужності