| Скачать .docx | Скачать .pdf |
Курсовая работа: Виробництво лікарських препаратів, що знаходяться під тиском
ВСТУП
Аерозолі являють собою аеродисперсні системи з газоподібним дисперсійним середовищем і вільними твердими чи рідкими частками дисперсної фази. Класичними прикладами аерозолей служать туман, дим, пил.
З древніх часів аерозолі використовувалися в медицині у виді інгаляцій для профілактики і лікування захворювань дихальних шляхів. Спочатку вони мали вид звичайних пар і диму, що утворяться при спалюванні різних лікарських рослинних матеріалів. Потім стали застосовуватися інгаляції природних летучих речовин. У середині XIX століття для одержання аерозолей почали використовувати диспергуючі агенти: стиснене повітря, водяна пара, а згодом центрифугування й ультразвук.
Термін «аерозоль» відноситься до всіх аеродисперсних систем незалежно від розміру часток дисперсної фази. У медичній практиці знаходять застосування не тільки високодисперсні аерозолі (0,1—0,5 мкм), але і низько (25—100 мкм) і грубо- дисперсні (250—400 мкм).
Хімічний термін «аерозоль» іноді неправильно використовується для позначення спеціального виду упакування, у якій знаходиться стиснутий і зріджений газ, використовуваний для викидання (витиснення, евакуації) продукту, що міститься в цьому упакуванні.
З фармацевтичної точки зору «аерозоль» являє собою форму випуску готового лікарського засобу, коли одна чи кілька лікарських речовин у розчиненому, суспенованому чи емульгованому стані міститься у виштовхуючему газі, у спеціальному балоні, закритому клапано-розпилюючим пристроєм.
Перші зведення про застосування скляних і металевих посудин із клапанами, наповнених зрідженим газом (метил- чи етилхлоридом), відносяться до 1889 р.
Лікарські засоби в аерозольному упакуванні зручні в застосуванні, портативні, компактні. Упакування охороняє лікарську речовину від дії вологи, що руйнує, світла і кисню повітря, виключає забруднення препарату і механічне роздратування при нанесення на уражену ділянку шкіри, дозволяє довгостроково зберігати його.
Промислове виробництво аерозолей почате після другої світової війни в США, у нашій країні організоване в 1960 р. на дослідному заводі ХНІХФІ випуском «Інгаліпта».
В даний час аеродисперсні системи з лікарськими речовинами широко застосовують не тільки для лікування органів подиху, але і для нанесення лікувального складу на шкіру, слизуваті оболонки, рани, опіки.
РОЗДІЛ 1. ХАРАКТЕРИСТИКА ЛІКАРСЬКИХ ЗАСОБІВ, ЩО ЗНАХОДЯТЬСЯ ПІД ТИСКОМ
1.1 ІСТОРІЯ СТВОРЕННЯ АЕРОЗОЛЕЙ
Лікарські засоби, що знаходяться під тиском - це лікарські засоби в спеціальних контейнерах під тиском газу, що містять одну або більше діючих речовин і являють собою розчини, емульсії або суспензії, призначені для місцевого нанесення на шкіру, слизові оболонки або для інгаляцій. При натискуванні на клапан вони виходять з контейнера у вигляді аерозолю (дисперсії твердих або рідких частинок у газі, розмір яких залежить від призначення), рідини або м'якої піни.
Перше застосування контейнерів під тиском відноситься до кінця XVII століття, коли в продажу почали з'являтися газовані суміші. Російський хімік М. С. Цвєт (1872—1919) користувався власним пристроєм для отримання аерозольного струменя. Перші патенти на пристрої для одержання аерозолю були видані в Норвегії і США — автори запропонували застосовувати хлорометил і хлоретил у металевих або скляних контейнерах. У 1933—1934 роках у США були видані патенти на застосування галоїдних вуглеводнів у вогнегасниках.
Однак справжній розвиток виробництва лікарських засобів, що знаходяться під тиском, відноситься до 1941 року, коли під час Другої світової війни американці запатентували контейнери під тиском, так звані «бог-бомб», які містили суміші фтороводнів, хлороводнів і інсектицидів. З цього часу почався бурхливий ріст аерозольної промисловості.
Останнім часом в усіх галузях виробництва застосовується принцип упаковки сумішей під тиском для розпилення рідин, порошків, пін, паст, кремів та ін. Значну частку серед них займають препарати санітарно-гігієнічного призначення: шампуні, засоби для знищення комах у побуті, репеленти, дезодоранти, косметичні засоби, ветеринарні препарати.
У нашій країні аерозолі, що входять в асортимент побутової хімії, почали випускатися з 1959 року. Промислове виробництво лікарських засобів, що знаходяться під тиском, уперше було організовано в Україні на дослідному заводі ДНЦЛЗ. У 1969 році була випущена перша промислова партія препарату «Інгаліпт». Наступними роками виробництво лікарських засобів, що знаходяться під тиском, було освоєно на заводах «Стома» і на фірмі «Здоров'я» (м. Харків). Основним розробником цієї групи препаратів стала лабораторія медичних аерозолів ДНЦЛЗ (засновник — професор Г.С. Башура). Тут було розроблено майже 20 препаратів (лівіан, каметон, камфомен, гіпозоль та інші) і закладені основи подальшого їх створення.
Термін «аерозоль» належить до всіх аеродисперсних систем, якщо їх розглядати з погляду фізичної хімії. З медичної точки зору — це спосіб застосування ліків, дія яких виявляється в диспергованому стані.
Широка популярність застосування лікарських засобів, що знаходяться під тиском, у медичній практиці визначається насамперед їх високою терапевтичною ефективністю, зручністю застосування та економічністю.
1.2 ПЕРЕВАГИ ТА НЕДОЛІКИ АЕРОЗОЛЕЙ
Переваги лікарських засобів, що знаходяться під тиском:
1. Для їх застосування характерна зручність, естетичність, гігієнічність, швидкість і ефективність лікування.
2. Наявність високої ефективності дії при порівняно малих витратах лікарських речовин.
3. Забезпечення точного дозування ліків при використанні дозувальних пристроїв.
4. Лікарські засоби для інгаляції дають швидкий терапевтичний ефект.
5. Аерозольний контейнер герметично закритий, що виключає забруднення лікарського препарату ззовні; він захищає препарат від висихання, дії світла і вологи.
6. Протягом усього терміну зберігання лікарські засоби, що знаходяться під тиском, залишаються стерильними.
7. При великій кількості маніпуляцій скорочується кількість обслуговуючого персоналу.
Лікарським засобам, що знаходяться під тиском, властиві і деякі вади:
1. порівняно висока вартість;
2. можливість вибуху контейнера при ударі або дії високої температури;
3. забруднення повітря приміщення лікарськими препаратами і пропелентами при маніпуляціях.
Проте, незважаючи на ці вади, застосування лікарських засобів, що знаходяться під тиском, вважається прогресивним явищем у медичній практиці.
1.3 КЛАСИФІКАЦІЯ ЛІКАРСЬКИХ ЗАСОБІВ, ЩО ЗНАХОДЯТЬСЯ ПІД ТИСКОМ
Вихідною сировиною для приготування цієї групи лікарських засобів є різноманітні препарати і допоміжні речовини, що дозволяють видавати їх із контейнера в різних формах відповідно до призначення (на шкіру, усередину, ректально, вагінально). У зв'язку з цим Г. С. Башура і Я. І. Хаджай дали чітке визначення цій лікарській формі, розробили єдину термінологію і класифікацію всіх видів і методів їх застосування в медичній практиці.
Лікарські засоби, що знаходяться під тиском, поділяються на фармацевтичні і медичні.
Фармацевтичні лікарські засоби, що знаходяться під тиском,— це лікарська форма, що складається з контейнера, клапанно-розпилювальної системи і вмісту різної консистенції, спроможного за допомогою пропеленту виводитися з контейнера. До складу цього лікарського засобу входять лікарські, допоміжні речовини та один або декілька пропелентів.
За призначенням фармацевтичні лікарські засоби, що знаходяться під тиском, розподіляють на інгаляційні, отоларингологічні, дерматологічні, стоматологічні, проктологічні, гінекологічні, офтальмологічні, спеціального призначення (діагностичні, перев'язні, кровоспинні та ін.).
Медичні лікарські засоби, що знаходяться під тиском,— це засоби одного або декількох лікарських препаратів у вигляді твердих або рідких частинок, отримані за допомогою спеціальних стаціонарних установок і призначені, головним чином, для інгаляційного введення.
РОЗДІЛ 2. ПРИСТРОЇ ТА МАТЕРІАЛИ ЗАСТОСОВУВАНІ ПРИ ВИГОТОВЛЕННІ АЕРОЗОЛЕЙ.
2.1 КОНТЕЙНЕРИ І КЛАПАННО-РОЗПИЛЮВАЛЬНІ ПРИСТРОЇ
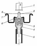
Для переведення лікарських речовин в аерозольний стан використовуються пристрої, які працюють під тиском і вмонтовані в контейнери (рис. 1). Вони складаються з балона, клапана і вмісту у вигляді розчину, суспензії або емульсії лікарського препарату і пропеленту, що герметично закритий клапаном із розпилювальною головкою. Подача вмісту з контейнера відбувається по сифонній трубці до отвору штока клапана за допомогою пропеленту. У разі застосування в ролі пропеленту не стиснутого, а зкрапленого газу тиск у контейнері залишається сталим, поки в ньому буде знаходитись хоча б одна крапля рідкого пропелента.
Залежно від матеріалу, з якого виготовлені контейнери, їх поділяють на декілька груп:
1. металеві,
2. скляні,
3. пластмасові,
4. комбіновані.
Кожний вид має свої вади і переваги. При їх використанні враховують в основному вартість, наявність матеріалів для їх виготовлення, а також можливість упаковки в них тих або інших продуктів.
Місткість контейнерів може бути різною: від 3 мл до 3 л, крім скляних, місткість яких обмежена 300 мл.

Рис. 1. Контейнери, клапанні пристрої та системи, знаходяться під тиском:
а — двофазна система; б — трифазна система; 1 — контейнер; 2 — розпилювач; 3 — клапан; 4 — сифонна трубка; 5 — розчин лікарської речовини; 6 — пари пропеленту; 7 — пропелент
Металеві контейнери виготовляють найчастіше з алюмінію, внутрішню поверхню яких покривають захисними лаками, застосовуючи для цього різні полімерні матеріали, антикорозійні лаки або кополімери. Більшість лікарських речовин і багато парфюмерно-косметичних продуктів не можуть бути введені в металеві контейнери. Для упаковки цих речовин використовують більш інертні матеріали.
Скляні контейнери зверху покривають захисною полімерною оболонкою, яка у разі руйнування втримує осколки. При їх виготовленні необхідно враховувати дві основні умови:
1. контейнери повинні витримувати внутрішній тиск, створений пропелентом (не менше 2 МПа),
2. бути стійкими до удару.
Крім того, скляні контейнери мають бути хімічно і термічно стійкими, не мати внутрішньої напруги скла, мати рівномірну товщину стінок та дна і мінімум плоских поверхонь.
За кордоном застосовується також і великий асортимент пластмасових контейнерів із поліпропілену, нейлону, поліетилену, по- ліформальдегіду, дельрину, целкону та ін. Але, незважаючи на цілий ряд переваг, пластмаси мають проникність для деяких речовин і пропелентів і погано зберігають свою форму при дуже великому внутрішньому тискові.
Останнім часом багатьма фірмами пропонуються контейнери, що не містять пропелентів. Видача вмісту відбувається стиснутим повітрям за допомогою мікронасоса (механічним пульверизатором), що наґвинчується на горловину контейнера і створює тиск повітря в ньому до 0,5 МПа. Тонкодисперсний струмінь у таких випадках одержують при поєднанні високого гідравлічного тиску, який створюється насосом, із малим проходом перерізу клапанів (для цього використовують лазерні технології).
Собівартість таких контейнерів висока і їх застосування економічно не доцільне для всіх препаратів. Для розпилення суспензій із високим вмістом твердих речовин, плівкоутворювальних препаратів, пін тощо подібні насоси непридатні.
Призначення аерозолю, стан вмісту контейнера, його консистенція, склад і шлях уведення потребують застосування різних, у кожному випадку, точно визначених типів клапанно-розпилювальних систем. Клапан повинен забезпечувати герметичність при тискові до 2 МПа і евакуацію препарату з контейнера.
Клапанні пристрої класифікують за трьома ознаками:
1. принципом дії,
2. способом кріплення на контейнері,
3. призначенням.

Рис. 2. Стандартна клапанно-розпилювальна система для рідких продуктів:
1 — розпилювальна головка (насадка); 2 — шток; 3 — пружина; 4 — ґумова манжета; 5 — корпус клапана; 6 — сифонна трубка; 7 — прокладка; 8 — капсула (чашка)
За принципом дії їх поділяють на групи:
1. пружинні, що діють при натисканні на розпилювальну головку вертикально вниз (пружинні у свою чергу підрозділяють на одноразові і багаторазові, безперервні і дозувальні);
2. качальні безпружинні, що діють при натисканні на розпилювальну головку збоку;
3. клапани з ґвинтовим вентилем.
За способом кріплення на контейнері:
1. закріплюються в стандартному отворі контейнера розтиском вертикальних стінок корпусу клапана під бортик горловини контейнера спеціальним цанговим пристроєм (для металевих контейнерів);
2.закріплюються на горловині контейнера завальцьовкою корпусу клапана або капсули на спеціальних стінках (для скляних і пластмасових);
3. клапани, що наґвинчуються на горловину ємкості (для великих контейнерів багаторазового використання).
За призначенням:
1.стандартні для рідких продуктів (рис. 2);
2. для пін;
3. для в'язких продуктів;
4. для порошків і суспензій;
5. клапани спеціального призначення;
6. дозувальні клапани.
Вітчизняною фармацевтичною промисловістю випускається чотири типи клапанів і дев'ять типів розпилювачів і насадок до них (рис. 3).
Розпилювачі і насадки поділяються:
1 - на розпилювачі для інгаляцій,
2 - для лікування бронхіальної астми,
3 - для суспензійних композицій
4 – для плівкоутворюючих композицій;
5 - насадки стоматологічні, ректальні, вагінальні та ін.

Рис. 3. Розпилювачі і насадки вітчизняного виробництва
2.2 ПРОПЕЛЕНТИ, ЯКІ ЗАСТОСОВУЮТЬСЯ ДЛЯ СТВОРЕННЯ ЛІКАРСЬКИХ ЗАСОБІВ, ЩО ЗНАХОДЯТЬСЯ ПІД ТИСКОМ
Важливе значення для видачі аерозольного продукту мають розсіювальні або евакуюючі гази, за допомогою яких усередині ємкості створюється тиск. Ці гази називаються пропелентами.
Пропеленти класифікуються за величиною тиску насиченої пари, за агрегатним станом при нормальних умовах і за хімічною природою.
У залежності від тиску насичених парів їх поділяють на дві великі групи:
1. основні, здатні створювати самостійно тиск не менше 0,2 МПа,
2. допоміжні, що створюють тиск менше 0,1 МПа.
За агрегатним станом вони підрозділяються на три групи:
1. зріджені гази:
- фторорганічні сполуки (хладони або фреони);
- вуглеводні пропанового ряду (пропан, бутан, ізобутан);
- хлоровані вуглеводні (вініл- і метилхлорид та ін.);
2. стиснуті (важкозріджені) гази:
- азот;
- нітрогену (І) оксид;
- карбону діоксид;
3. легколеткі органічні розчинники:
- метиленхлорид;
- етиленхлорид;
У лікарських засобах, які знаходяться під тиском, найчастіше застосовуються зріджені гази — хладони-11, -12, -22, -114. Це газоподібні або рідкі речовини, добре розчинні в органічних розчинниках і багатьох оліях, практично нерозчинні у воді, негорючі, не утворюють вибухонебезпечних сумішей із повітрям і відносно хімічно інертні. Найпоширенішими у світі є фреон-11 (СС13 F) і фреон-12 (СС12 F2 ), що застосовуються як холодоагенти в холодильниках.
РОЗДІЛ 3. ТИПИ АЕРОЗОЛЬНИХ СИСТЕМ
3.1 ДВОФАЗНІ СИСТЕМИ
У контейнері пропелент може знаходитися в газоподібному та рідкому стані. Якщо концентрат утворює із рідким пропелентом розчин, то систему називають двофазною (рис. 1, а). Газове середовище у контейнері складається із:
- парів пропеленту,
- стиснутого газу;
- летких компонентів концентрату.
Тиск газової фази пропеленту поширюється однаковою мірою на всі внутрішні стінки упаковки. Видавання вмісту можливе в тому разі, якщо атмосферний тиск буде нижчим від внутрішнього тиску в контейнері. При видачі зріджений пропелент швидко випаровується і викликає розпилення продукту у вигляді дрібних крапельок, туману або піни.
Для більшості систем застосовуються такі розчинники:
- спирт етиловий,
- жирні та рослинні олії,
- етилацетат,
- ацетон.
Якщо в системі як пропелент використовують стиснутий газ, то розчинником можуть служити:
- вода,
- гліцерин,
- гліколі,
- поліетиленоксиди
- та ін.
У залежності від природи розчинників концентрати-розчини підрозділяються на:
- водні,
- спиртові,
- водно-спиртові,
- неводні.
Прикладом аерозолів-розчинів можуть служити препарати:
- інгаліпт,
- каметон,
- камфомен,
- ефантин
- та ін.
Двофазні системи можуть бути виведені з упаковки у вигляді розчину з подальшим утворенням плівки, піни або крему.
У світовій практиці відома велика кількість плівкоутворювальних лікарських засобів, що знаходяться під тиском. їх застосовують у:
- гінекології,
- ветеринарії,
- педіатрії,
- отоларингології,
- дерматології.
У контейнері плівкоутворювального препарату зазвичай знаходиться:
- розчин полімеру,
- лікарської речовини,
- пластифікатору,
- пропеленту,
при розпиленні яких на поверхні шкіри або тканини утворюється плівка, яка щільно прилягає і швидко висихає.
Кополімери типу вінілпіролідону з вінілацетатом, ацетобутилат целюлози, полівінілпіролідон та інші використовують як водорозчинні плівкоутворювальні речовини.
Для неводних плівкоутворювальних систем застосовують:
- кополімер гідроксивінілхлориду ацетату і кислоти себацинової, модифікований малеїновою смолою,
- вінілацетат,
- бензойну смолу,
- метакрилову смолу,
- ацетобутилат целюлози,
- поліметакрилати,
- акрилати,
- етилцелюлозу,
- полікрилати,
- різні хірургічні клеї на основі естерів кислоти ціанокрилової,
- желатинорезорциновий клей
- та інші речовини, які при наявності вологи полімеризуются.
Їх застосовують для склеювання країв шкіри, стінок слизових оболонок шлунка, кишечнику, нирок, печінки, легень та інших органів.
Речовини, що застосовуються як плівкоутворювачі, не повинні подразнювати шкіру і бути токсичними. Утворена плівка має бути:
- непроникною для мікроорганізмів,
- еластичною, міцною;
- з високим ступенем адгезії,
- вираженими бактеріостатичними властивостями;
- без різкого або неприємного запаху.
До переваг плівкоутворювальних речовин належать:
- ізоляція ушкодженої поверхні від інфікування і тканин одягу постраждалого,
- економія часу при масовій обробці хворих,
- зручність,
- простота,
- легкість застосування.
3.2 ТРИФАЗНІ СИСТЕМИ
Більшість лікарських засобів, що знаходяться під тиском, є системами, в яких концентрат-розчин, емульсія або суспензія не змішуються з рідким пропелентом і в контейнері знаходяться три окремі фази:
- газоподібна,
- тверда,
- рідка (рис. 1, б).
Як емульгатори для таких емульсій, як і для звичайних емульсій, використовуються найрізноманітніші поверхнево-активні речовини (ПАР), які в силу своїх фізико-хімічних властивостей у комбінації з пропелентами утворюють піни.
Пінні препарати мають багато сфер застосування в медицині. У гінекології — для лікування запалення матки, для особистої гігієни жінок і як протизаплідні засоби, а також як препарати для запобігання захворювань венеричними хворобами.
У проктології пінні препарати показані як ефективні засоби при лікуванні:
- геморою,
- тріщин заднього проходу,
- проктитів,
- колітів
- та ін.
Для одержання піноутворювальних лікарських засобів, що знаходяться під тиском, потрібні ефективні піноутворювачі, які в малих концентраціях забезпечують одержання рясної стійкої піни.
До складу піни можна вводити:
- стероїди,
- речовини фунгіцидної дії,
- діуретики,
- антибіотики,
- гормони,
- вітаміни,
- антитоксини,
- антигени,
- судинозвужувальні,
- кровоспинні,
- гістамінні,
- седативні,
- протиревматичні засоби.
Представниками трифазних систем є також лікарські засоби, що знаходяться під тиском, у вигляді суспензій. Це гетерогенні дисперсні системи, що характеризуються присутністю твердої фази, нерозчинної в рідкому концентраті. Пропелент може бути включений або в дисперсну фазу, або в дисперсійне середовище. У будь-якому випадку діюча речовина диспергована в нелеткому розчиннику.
Труднощі, які зустрічаються при створенні суспензійних лікарських засобів, що знаходяться під тиском, пов'язані з агрегацією порошкоподібних частинок, рекристалізацією та осадженням їх на стінках контейнера. У залежності від цього змінюється якість розпилювання, ефективність його при нанесенні на поверхню, порушується точність дозування лікарського засобу при його застосуванні та ін.
Останнім часом суспензійні лікарські засоби використовуються в медичній практиці досить широко. Прикладом їх є:
- оксициклозоль,
- алудрин,
- оксикорт,
- астмопент,
- алупент
- та ін.
Перевагами цієї групи препаратів можна вважати: можливість використання речовин, як розчинних, так і нерозчинних у цьому середовищі, лікарські речовини мають виражений пролонгований ефект, тривалість їх дії можна регулювати зміною розміру частинок.
Основна вада суспензійних лікарських засобів, що знаходяться під тиском,— це їх термодинамічна нестійкість, яка є звичайним станом суспензій. Згодом усі без винятку суспензії розшаровуються, тому основною характеристикою їх є дисперсність і наявність агрегативної й кінетичної (седиментаційної) стійкості.
РОЗДІЛ 4. ТЕХНОЛОГІЯ ЛІКАРСЬКИХ ЗАСОБІВ, ЩО ЗНАХОДЯТЬСЯ ПІД ТИСКОМ
4.1 РІДКІ ЛІКАРСЬКІ ЗАСОБИ
Лікарські засоби, що знаходяться під тиском, складаються з нелетких (одного або декількох) компонентів і леткого пропеленту. Діюча речовина, як правило, або розчинена, або диспергована в розчиннику. Тому впорядкування рецептури аерозолю полягає в розробці технології приготування бажаної комбінації нелеткого та леткого компонентів.
Залежно від ступеня змішуваності компонентів основної рецептури з пропелентом лікарські засоби, що знаходяться під тиском, поділяються на:
- розчини,
- піни,
- суспензії,
- комбіновані системи.
У рідких лікарських засобах активна речовина розчинена або в пропеленті, або в співрозчиннику, що добре змішується з пропелентом. Після видавання вмісту з контейнера пропелент випаровується, а активна речовина залишається у вигляді туману в чистому вигляді або розчиненою в співрозчиннику.
Під час приготування концентратів можуть бути використані різні за своїми властивостями хімічні сполуки та їх суміші. Найчастіше концентрат складається з декількох індивідуальних речовин, які повинні мати певну в'язкість, бути сумісними з пропелентом, стійкими до дії низьких і високих температур і не взаємодіяти з деталями контейнера. Як співрозчинники переважно застосовують неполярні речовини, оскільки навіть мала кількість води може викликати гідроліз деяких пропелентів, що призводить до виділення хлороводню, розкладанню активних речовин і корозії металевих деталей контейнерів.
Виробництво лікарських засобів, що знаходяться під тиском, у вигляді розчинів складається з декількох стадій:
1. приготування розчину активного компонента (концентрату),
2. звільнення його від нерозчинних домішок,
3. фасовки в контейнери,
4. герметизації,
5. заповнення пропелентом,
6. перевірки на міцність і герметичність,
7. стандартизації,
8. оформлення упаковки для подальшого транспортування.
Концентрати-розчини готуються, як і звичайні розчини лікарських речовин, у реакторах з теплообмінником і мішалкою. Звільнення розчинів від домішок здійснюється відстоюванням, фільтрацією або центрифугуванням.
Якщо концентрати-розчини одержують за допомогою в'язких розчинників (жирних олій), то розчинення проводять при нагріванні, очищення — під тиском.
У разі застосування летких розчинників (спирту етилового) розчинення речовин проводять у з критих реакторах, а фільтрацію — під тиском. До складу систем можуть входити стабілізатори і консерванти.
Стандартизацію концентратів-розчинів здійснюють з урахуванням відсоткового вмісту діючих речовин або за густиною розчину.
Вирішальним чинником у технології лікарських засобів, що знаходяться під тиском, у вигляді розчинів є тиск усередині контейнера, контроль за яким може служити кількісною характеристикою деяких фізико-хімічних властивостей:
- повноти видачі вмісту,
- дисперсності,
- а також розчинності пропеленту в концентраті.
Чим більша спроможність концентрату до розчинення пропеленту, тим нижчий тиск в контейнері.
Розчинність пропелентів у водних середовищах можна підвищити не тільки введенням співрозчинників, що добре поєднуються з ними, але й за рахунок ПАР, які можуть солюбілізувати їх у процесі змішування. Чим більша здатність розчину ПАР до солюбілізації хладону, тим нижчий тиск усередині упаковки виявляє суміш їхніх парів (рис. 4). Ступінь солюбілізації, стійкість отриманих систем і їх основні фізико-хімічні властивості зумовлені видом пропеленту і типом ПАР (табл. 1).
Таблиця 1
Тиск усередині контейнера залежно від виду пропеленту і типу ПАР
| Наймену-вання | Тиск, кПа (21 °С) | Концентрація, % (об. ч.) |
ПАР | ||
| Емульсійні воски | Емульгатор № 1 | Твін-80 | |||
| Хладон-12 | 608 | 10 | 1,5 | 2,0 | 1,4 |
Суміш хладонів 12/144 (40 : 60) |
355 | 10 | 1,7 | 2,2 | 1,5 |
Суміш хладонів 12/318 (50 : 50) |
527 | 10 | 3,0 | 3,0 | 2,3 |

Рис. 4. Зміна величини тиску в упаковці для водних систем, що містять ПАР
4.2 СУМІШІ, ЯКІ ВИДАЮТЬСЯ З КОНТЕЙНЕРІВ У ВИГЛЯДІ ПІН
Значна кількість лікарських засобів, що знаходяться під тиском,— це емульсійні системи, які видаються у вигляді пін. Вони складаються в основному з водної фази, яка містить поверхнево-активні речовини (ПАР) і заемульгований пропелент. Концентрація останнього коливається від 3,5 до 89 %, а для більшості з них вона складає 10—20 % .
Піна позбавлена ряду вад, властивих іншим лікарським формам. Вона забезпечує економічне дозування, краще контактує зі слизовою оболонкою, надає лікам пролонгованості дії.
Під дією температури тіла піна збільшується в об'ємі, заповнює всі вільні місця і канали в прямій кишці або в піхві. Установлено, що піна може переміщатися в проксимальному напрямку і протягом 4 год забезпечувати високу концентрацію лікарської речовини.
Для одержання піноутворювальних сумішей потрібні ефективні піноутворювачі, що в малих концентраціях забезпечують одержання рясної стійкої піни.
Стійкість пін залежить від багатьох чинників, основними з яких є:
- концентрація піноутворювача,
- наявність електроліту,
- рН середовища,
- в'язкість розчину,
- концентрація і тип пропеленту,
- наявність добавок.
Піни, отримані під тиском, оцінюють за такими показниками:
1. зовнішнім виглядом піни,
2. типом видавання її з контейнера
- плавний,
- переривчастий,
- гучний,
3. стабільністю і часом життя,
4. пружними властивостями піни,
5. висиханням у відсотках у часі,
6. її змочувальними властивостями,
7. щільністю,
8. в'язкістю,
9. дисперсністю.
Піни поділяються на три класи:
1. водні,
2. водно-спиртові,
3. неводні піни, що містять органічну рідину типу гліколей або мінерального масла.
З огляду на різноманітні терапевтичні й фізико-хімічні властивості лікарських речовин, необхідно мати цілий набір різних основ і ПАР для створення найбільш раціональної рецептури пінних препаратів.
Водні піни становлять найбільшу групу препаратів, що знаходяться в контейнерах під тиском. Вони складаються з водної фази, ПАР і пропеленту. При видачі рідкий пропелент бурхливо скипає та утворює піну.
Концентрація пропеленту у водних пінах залежить від його типу. Найчастіше застосовують:
- хладон-114,
- хладон-12,
- їх суміші (40 : 60),
- рідше — хладони-142, -152.
Хладон-11 у водних системах не застосовується у зв'язку з його легкою гідролізованістю в присутності води.
Клас водно-спиртових пін — це система, що складається з води, спирту етилового, піноутворювача і пропеленту в таких співвідношеннях, в яких вони взаєморозчинні.
Під час приготування водно-спиртових пін піноутворювач повинен бути частково розчинним у системі вода—спирт і повністю у системі вода—спирт—пропелент.
Клас неводних пін дозволяє вводити до складу інґредієнти, чутливі до вологи. Властивості їх можна змінювати залежно від типу і концентрації ПАР, пропеленту й неводної фази.
У неводних пінах фазою служать мінеральні масла або рослинні олії, гліколі та ін. Такі піни дрібнопористі, щільні, більш однорідні за розміром бульбашок газу, у деяких випадках вони наближаються до кремів.
Суміш пропеленту та олії (масла) значно впливає на тиск усередині контейнера, знижуючи його, тому для забезпечення повної евакуації вмісту, добір пропеленту відіграє вирішальну роль.
4.3 ЛІКАРСЬКІ ЗАСОБИ-СУСПЕНЗІЇ, ЩО ЗНАХОДЯТЬСЯ ПІД ТИСКОМ
Це гетерогенні дисперсні системи, що характеризуються присутністю, нерозчинної в рідкому концентраті, твердої фази.
У суспензіях, що знаходяться під тиском, пропелент може бути включений у дисперсну фазу або в дисперсійне середовище. У будь- якому разі діюча речовина диспергована в нелеткому розчиннику.
Основними чинниками, що впливають на якість лікарських засобів-суспензій, є:
1. фізико-хімічні властивості речовин, що входять до складу;
2. співвідношення між компонентами наповнювача;
3. конструктивні особливості упаковки;
4. температурні умови експлуатації контейнерів.
У суспензії, як правило, вводять речовини інертні в хімічному відношенні, що зводить до мінімуму процеси взаємодії і підвищує стійкість при зберіганні. Деякі суспензії можуть зберігатися тривалий час і не поступаються тривалості зберігання активної речовини в сухому вигляді.
Як переваги препаратів у вигляді суспензій, що знаходяться під тиском, можна виділити такі:
1. можливість використання речовин як розчинних, так і нерозчинних у цьому середовищі;
2. виражений пролонгований ефект;
3. регулювання дії зміною розміру частинок.
Основна вада лікарських засобів-суспензій, що знаходяться під тиском,— термодинамічна нестійкість, що є їх природним станом.
Згодом усі суспензії розшаровуються, тому головними харак теристиками цих систем є дисперсність і наявність агрегативної і кінетичної (седиментаційної) стійкості.
На стабільність суспензій також впливають густина та в'язкість рідкої фази.
Для підвищення агрегативної й кінетичної стійкості суспензій застосовуються різні технологічні прийоми та методи.
Найбільш ефективним способом стабілізації суспензій є зниження поверхневого натягу на межі утворюючих суспензію фаз додаванням поверхнево-активних речовин. У якості таких речовин додають спирти жирного ряду, деякі естери, що перешкоджають злипанню частинок і змазуванню одночасно клапанної системи. Застосовують іноді й співрозчинники для пропеленту (мінеральні масла, неіоногенні ПАР, гліколі).
У лікарські засоби-суспензії, що знаходяться під тиском, уводять речовини, як правило, полярні, суспендовані в хладонах, що можуть утворювати агрегати.
На агрегацію частинок впливає також і матеріал упаковки. Найменше агрегування частинок відбувається в металевих контейнерах, найбільше — у скляних.
Для аерозольних суспензій розмір частинок не має перевищувати 40 — 50 мкм, а для інгаляційних — найкращий ефект отриманий при розмірі частинок 5 — 10 мкм. При цьому концентрація порошку складає не більше 10 %. Порошок не повинен бути гідрофобним, тому що з часом частинки його збільшуватимуться в розмірах.
4.4 ВИГОТОВЛЕННЯ КОНТЕЙНЕРІВ ТА СПОСОБИ НАПОВНЕННЯ ЇХ ПРОПЕЛЕНТОМ
Виробництво контейнерів має бути зосереджене на одному спеціалізованому підприємстві, на якому виготовляються і клапанно-розпилювальні системи; виконується підготовка пропелентів або їх сумішей, концентратів; проводиться заповнення контейнерів і контроль їх якості (рис. 5).

Рис. 5. Схема виробництва лікарських засобів, що знаходяться під тиском
Виробництво алюмінієвих моноблочних контейнерів здійснюється їх формуванням із плоских заготовок на пресах ударного типу, а формування горловини проводиться на спеціальних багатошпиндельних конусоподібних автоматах. При цьому виконується 12—14 і більше операцій залежно від діаметра контейнера.
Виготовлення скляних контейнерів проводиться з нейтрального боросилікатного скла на автоматичних високопродуктивних склоформувальних машинах.
Процес їх виробництва пов'язаний із подвійним випалюванням у горизонтальних печах із температурним максимумом 640 — 650 °С для усунення або ослаблення залишкових внутрішніх напруг скла.
Після формування вони покриваються поліетиленовим або полівінілхлоридним захисним покриттям.
Пластмасові контейнери виготовляють методом вакуум-формовки (моноблочні) або литтям під тиском (дводетальні) на формувальних або ливарних машинах.
Клапанно-розпилювальні системи виготовляють на заводах з переробки пластмас.
Виробництво хладонів (пропелентів) організовано на хімічних підприємствах; на фармацевтичні вони надходять у великих кількостях у спеціальних ємкостях.
Приготування сумішей зріджених пропелентів і подача їх на лінію наповнення є складними і специфічними операціями для виробництва, що вимагають особливих умов і обладнання, яке працює під тиском.
На сьогодні існує чотири методи заповнення контейнерів про- пелентами:
1. наповнення під тиском;
2. низькотемпературний спосіб, або «холодне наповнення»;
3. метод наповнення стиснутими газами;
4. метод наповнення розчинними стиснутими газами.
Основним при виробництві лікарських засобів, що знаходяться під тиском, є метод наповнення. Принцип його полягає в тому, що в наповнені продуктом і герметизовані клапаном ємкості нагнітається пропелент.
Для наповнення контейнерів існує велика кількість автоматичних установок і ліній, продуктивність яких може бути від 2 до 20 млн упаковок за рік. Технологічна лінія включає всі операції, наведені на рис. 6.

Рис. 6. Схема технологічної лінії наповнення контейнерів
Контейнери завантажують на стрічку транспортера і подають у мийну машину (1), де вони проходять стадію миття, обполіскуються, обробляються парою і висушуються. Після цього по транспортеру (2) подаються на лінію наповнення. Для рівномірної продуктивності автоматів контейнери спочатку потрапляють на стіл-накопичувач (3), а потім по конвеєрному стрічковому транспортері (4) надходять на автомат (5) для продування стерильним стиснутим повітрям. Далі автоматичний дозувальний пристрій (6) наповнює контейнер концентратом, після чого з нього видаляється повітря. Для цих цілей автоматична головка (7) дозує 1 — 2 краплі зрідженого пропеленту. Випаровуючись, пропелент витісняє повітря, що знаходиться в контейнері. Процес герметизації контейнерів здійснюється на автоматі (8) закріпленням клапана. Закріплення клапана може здійснюватися двома способами: за допомогою розтискних цанг або закаткою через обертання роликів навколо горловини контейнера. Після цього вони надходять до дозаторів (9), що впорскують у них пропелент (хладон) під тиском. Порціонні дозатори можуть бути роторного або лінійного типу. Після заповнення пропелентом контейнери проходять перевірку на міцність і герметичність у водяній ванні (10) при температурі 45±5 °С протягом 15 — 30 хв (для скляних) або 10 — 20 хв (для металевих). При нагріванні контейнерів у них створюється підвищений тиск, і вони або вибухають, або виділяють пропелент, помітний за бульбашками, які піднімаються у воді. Браковані контейнери виймаються з ванни ручним способом.
Деякі лінії виробництва лікарських засобів, що знаходяться під тиском, обладнані спеціальними детекторами з газовими аналізаторами, які контролюють і фіксують найменшу кількість виходу пропеленту з контейнерів. Негерметичні контейнери відбраковуються автоматично.
Далі вони конвеєром надходять у сушильний тунель (11) і просушуються після води, а потім проходять контрольне зважування на автоматичних вагах (12). При зміні маси контейнери відбраковуються автоматично.
Якщо упаковки містять стиснутий газ як пропелент, то їх контролюють на наявність тиску газу за допомогою манометра. Контейнери, що не містять газу, відбраковуються автоматично (13). Після цього вони обладнуються розпилювачами (14), перевірка якості яких здійснюється на спеціальному автоматичному пристрої. За допомогою автоматичного орієнтуючого обладнання (15) їх накривають захисними ковпачками. Автомат 16 маркує контейнери (серія, термін придатності та інші дані). Після цього вони надходять на лінію упаковки (17), (18), (19), (20), де їх поміщають у пенали і додають інструкцію з використання. Потім їх пакують у транспортну тару і обандеролюють.
РОЗДІЛ 5. СТАНДАРТИЗАЦІЯ ТА УМОВИ ЗБЕРІГАННЯ ПРЕПАРАТІВ, ЩО ЗНАХОДЯТЬСЯ ПІД ТИСКОМ
Випробування лікарських засобів, що знаходяться під тиском, на заводах проводиться відділом якості відповідно до НТД на даний препарат. Необхідно відзначити, що якість цієї групи препаратів залежить від багатьох чинників і вимагає особливої форми контролю, тому що після закупорки контейнера неможливо внести зміни до складу препарату.
Стандартизація лікарських засобів, що знаходяться під тиском, містить у собі декілька видів контролю:
1. органолептичний,
2. фізико-хімічний,
3. хімічний,
4. мікробіологічний,
5. біологічний контроль (за наявності в складі серцевих глікозидів та ін.).
Внутрішній тиск в контейнері повинен відповідати вимогам окремої статті. Його визначають манометром, клас точності якого має бути 2,5. Заповнені упаковки перевіряються на міцність і герметичність. Визначення виходу вмісту контейнера X, %, проводять за формулою:
![]()
де:
m1 — маса всієї упаковки із вмістом, г;
m4 — маса порожнього контейнера, г;
m5 — маса вмісту, зазначена на етикетці, г.
Значення середньої маси препарату mср , г, в одній дозі обчислюють за формулою:
![]()
де:
п — число натискувань, зазначене в окремій статті;
m2 — маса контейнера після перших п'яти натискувань, г;
т3 — маса контейнера після 10 — 20 натискувань, г.
Межі відхилень середньої маси лікарського засобу в дозі зазначають в окремій статті.
Якісні та кількісні показники контролюються методами аналізу окремих інґредієнтів лікарського засобу.
Контейнери при їх транспортуванні мають свої специфічні особливості порівняно з чинними правилами, прийнятими для інших лікарських форм. Слід дотримувати зазначені на упаковці та в технічній документації умови зберігання (уникати ударів, впливів прямих сонячних променів і високої температури).
Лікарські засоби, що знаходяться під тиском, пакують у міцні дерев'яні ящики, якщо препарат вогненебезпечний, для менш небезпечних препаратів допускається транспортна тара з картону.
РОЗДІЛ 6. НОВІ УПАКОВКИ ДЛЯ ЛІКАРСЬКИХ ЗАСОБІВ, ЩО ЗНАХОДЯТЬСЯ ПІД ТИСКОМ
У зв'язку з продовженням дискусії про шкідливий вплив фторовуглеводневих пропелентів на довкілля і можливу їх заборону ведуться інтенсивні розробки альтернативних контейнерів. Ці роботи спрямовані на створення нешкідливих агентів-витиснювачів (пропелентів), розробку нових методів розпилення, удосконалення існуючих конструкцій контейнерів та ін. Зараз визначилося такі чотири напрями:
1. звичайні упаковки з пропелентами, що не містять фтору:
- насичені парафінові вуглеводні метанового ряду (пропан, бутан, ізобутан)
- стиснуті гази (азот, нітрогену (І) оксид, карбону діоксид та ін.);
2. двокамерні балони, в яких пропелент відокремлений від продукту і не надходить у навколишнє середовище;
3. контейнер з механічним розпилювачем насосного типу;
4. стискні полімерні та інші балони.
Насичені парафінові вуглеводні порівняно з хладонами стабільні у водних середовищах і легші від води, тому їх вигідно застосовувати для розпилення препаратів на водній основі. Завдяки невеликій густині пропану і бутану для заповнення контейнера потрібно значно менше, ніж хладону. Однак горючість цих зріджених газів не дозволяє їм конкурувати з препаратами на основі органічних розчинників.
Стиснуті гази відрізняються від зріджених не тільки агрегатним станом, але й властивостями. Тиск стиснутих газів значно менше залежить від температури. Однак тиск у контейнері в міру витрачання продуктів зменшується, що може призвести до неповного використання вмісту. Стиснуті гази практично нерозчинні або відрізняються дуже обмеженою розчинністю. Тому останніми роками проводяться дослідницькі роботи в сфері підвищення розчинності стиснутих газів.
Кількість стиснутого газу, необхідного для видавлювання вмісту упаковки, незначна. Тому такі упаковки дуже чутливі до витоку газу, викликаного або недостатньою герметичністю, або необережним поводженням. Для усунення цієї вади розроблені контейнери з розгалуженими або перекидними сифонними трубками, що запобігають видачі препарату в перевернутому положенні.
Пропеленти цієї групи не горючі, дешеві, не чинять агресивної дії на металеві й полімерні матеріали.
У галузі створення різних контейнерів більше поширення набула нова упаковка, що одержала назву «бар'єрна». Суть її полягає в тому, що продукт відокремлений від пропеленту бар'єром (рухомою перегородкою), який запобігає контакту між ними. При цьому різко розширюються можливості упаковки, тому що виключається хімічна взаємодія між пропелентом і продуктом, а також надходження пропеленту в атмосферу.
Конструктивно двокамерні упаковки виконуються в різних варіантах: з поршнем, із вкладишем, із внутрішнім мішечком та ін.
Кількість пропеленту в таких контейнерах незначна. Тому струмінь, що видається з таких контейнерів, недостатньо дисперсний. Для підвищення дисперсності підбирають малов'язкі рецептури, зменшують прохідні перерізи отворів і каналів клапанів або вводять дуже малу кількість пропеленту безпосередньо в препарат.
Можливою альтернативою контейнера під тиском є тара, оснащена мікронасосом (механічним пульверизатором). Пульверизатор у вигляді мініатюрного поршневого насосу, що працює від натискання пальцем, наґвинчується на горловину балона (найчастіше скляного). Тонкодисперсний струмінь у таких випадках одержують при сполученні високого гідравлічного тиску, що розвивається насосом, із малим прохідним перерізом клапанів (для цього застосовують лазерні технології).
Вартість таких контейнерів висока і їх застосування економічно ефективне не для всіх препаратів. Для розпилення суспензій із високим вмістом твердих речовин, плівкоутворювальних препаратів, пін та інших високов'язких систем подібні насоси непридатні.
Стискні балони виготовляють з еластичних полімерів (поліолефінів, акрилонітрилу, поліестерів, поліуретанових та інших смол). Принцип їх роботи базується на дії мускульної сили стиску і видавлювання продукту через сопло з малим перерізом. Такі упаковки є найдешевшими, однак вони вимагають значних зусиль для приведення їх у дію і видають грубодисперсні аерозолі.
Усім перерахованим контейнерам притаманна одна загальна вада — неможливість досягнення достатнього внутрішнього тиску, порівняного з тиском, створюваним звичайними контейнерми зі зрідженими пропелентами.
РОЗДІЛ 7. ПРАКТИЧНА ЧАСТИНА
7.1 ХАРАКТЕРИСТИКА ЛІКАРСЬКОЇ ФОРМИ
Основні фізико-хімічні властивості: прозора рідина від світло-жовтого до темно-жовтого кольору, з характерним запахом тимолу та ментолу;
Форма випуску. Аерозоль 30 мл., тиск до 0,6 МПа.
Склад: 1 балон містить:
1. Основні речовини
- стрептоцид розчинний – 0,75 г,
- сульфатіазол натрію гексагідрат (норсульфазол натрію) – 0,75 г,
- тимол – 0,015 г,
- олія евкаліптова – 0,015 г,
- олія м`яти перцевої – 0,015 г;
2. Допоміжні речовини
- cпирт етиловий – 1,8 мл.,
- цукор рафінований – 1,5 г,
- гліцерин – 2,1 г,
- твін-80 (полісорбат-80) – 0,9 г,
- вода очищена до 30 мл,
- азот I или II – 0,3-0,42 г.
Виробник:
1. АТ "Стома", м. Харків, Україна
2. ТОВ "Фармацевтична компанія "Здоров'є", м. Харків, Україна
3. ООО "Микрофарм", м. Харків, Україна
Фармакотерапевтична група. Препарати, що застосовують при захворюваннях горла. Антисептики. Код АТС R02A A20.
Фармакологічні властивості.
Протимікробний (антисептичний) і протизапальний засіб.
Сульфаніламіди (стрептоцид і сульфатіазол) виявляють антимікробну (бактеріостатичну) дію відносно грампозитивних і грамнегативних коків, Echerichia coli, Shigella spp., Klebsiella spp., Vibrio cholerae, Haemophilus influenzae, Clostridium spp., Bacillus anthracis, Corinebacterium diphtheriae, Yersinia pestis, а також відносно Chlamydia spp., Actinomyces spp., Toxoplasma gondii. Механізм дії сульфаніламідів зумовлений конкурентним антагонізмом з ПАБК і конкурентним пригніченням дигідроптероатсинтетази, що призводить до порушення синтезу тетрагідрофолієвої кислоти, необхідної для синтезу нуклеїнових кислот.
Тимол, олія евкаліптова і олія м`яти перцевої також виявляють протигрибковий (у відношенні грибів роду Candida), протимікробний, помірний протизапальний, муколітичний та легкий знеболюючий эфект..
Показання для застосування. Тонзиліти (запалення піднебінних мигдалин), фарингіти (запалення глотки), ларингіти (запалення гортані), афтозні і виразкові стоматити (запалення слизуватої оболонки порожнини рота).
Спосіб застосування та дози. Призначають місцево дорослим і дітям старше 2 років для зрошення слизової оболонки ротової порожнини і носоглотки.
Перед застосуванням із балона, який необхідно тримати тільки вертикально, знімають запобіжний ковпачок і на шток клапана надівають розпилювач, який є в комплекті. Вільний кінець розпилювача вводять у порожнину рота і натискують на голівку протягом 1–2 секунд. Препарат утримують в порожнині рота 5–7 хвилин.
Застосовують для лікування дорослих 3–4 рази на добу, дітей – 1–2 рази на добу, після їди або в перервах між прийманнями їжі.
Курс лікування становить 3 - 10 днів.
Щоб уникнути закупорки розпилювача після зрошення, останній миють, продувають або кладуть у склянку з чистою водою.
Побічна дія. Можуть виникнути алергічні реакції на компоненти препарату у вигляді висипань на шкірі та свербежу.
Протипоказання. Підвищена індивідуальна чутливість до сульфаніламідних препаратів та ефірних олій; діти до 2 років.
Передозування. Не описано.
Особливості застосування. Перед зрошенням ротову порожнину необхідно прополоскати теплою перевареною водою. З уражених ділянок порожнини рота (виразкова, ерозивна поверхня) стерильним тампоном обережно знімають некротичний наліт.
Лікування дітей слід проводити під наглядом лікаря.
Застосування Інгаліпту не впливає на здатність керувати транспортними засобами і механізмами.
Протипоказань до застосування препарату у період вагітності та лактації не виявлено.
Взаємодія з іншими лікарськими засобами. Сумісний з іншими лікарськими засобами, клінічно значущих взаємодій не виявлено.
Умови та термін зберігання. Зберігати у недоступному для дітей місці при температурі 3 - 35 о С. Охороняти від падінь, ударів, впливу прямих сонячних променів.
Термін придатності – 1 рік.
7.2 ХАРАКТЕРИСТИКА ВИХІДНОЇ СИРОВИНИ
Стаття 633. Streptocidum Стрептоцид
п-амінобензолсульфамід

Опис. Білий кристалічний порошок без запаху.
Розчинність. Мало розчинний у воді, легко розчинний у киплячій воді, у розведеній соляній кислоті, розчинах їдких лугів і ацетоні, важко розчинний у спирті, практично нерозчинний в ефірі і хлороформі.
Температура плавлення 164—167°.
Збереження. Список Б. У добре закупореній тарі.
Вища разова доза усередину 2,0 г.
Вища добова доза усередину 7,0 г.
Антибактеріальний засіб.
Стаття 458. Norsulfazolum Норсульфазол
2-(n-амінобензолсульфамідо)–тіазол

Опис. Білий кристалічний порошок без запаху.
Розчинність. Мало розчинний у воді, легко розчинний у киплячій воді, у розведеній соляній кислоті, розчинах їдких лугів і ацетоні, важко розчинний у спирті, практично не розчинний в ефірі і хлороформі.
Температура плавлення 164—167°.
Збереження. Список Б. У добре закупореній тарі.
Вища разова доза усередину 2,0 г.
Вища добова доза усередину 7,0 г.
Антибактеріальний засіб.
Стаття 681. Thymolum Тимол
2-ізопропил-5-метилфенол

Опис. Великі безбарвні кристали чи кристалічний порошок з характерним запахом і пряно пекучим смаком, леткий з водяною парою.
Розчинність. Дуже мало розчинний у воді, легко розчинний у спирті, хлороформі, ефірі, жирних оліях і крижаній оцтовій кислоті, розчинний у розчині їдкого натру.
Температура плавлення 49—51°.
Збереження. Список Б. У добре закупореній тарі, що охороняє від .дії світла.
Вища разова доза усередину 1,0 г.
Вища добова доза усередину 4,0 г.
Антисептичне і протиглистний засіб.
Стаття 477. Oleum Menthae piperitae Олія м'яти перцевої
Ефірна олія, одержувана перегонкою з водяною парою з листів і інших надземних частин м'яти перцевої — Mentha piperita L., род. губоцвітних — Labiatae і очищене вторинною перегонкою з водяною парою.
Головні складові частини: L-ментол, L-ментон і ефіри ментолу з оцтовою, валеріановою й іншою кислотами.
Опис. Легко рухлива прозора рідина, безбарвна чи забарвлена в злегка жовтуватий колір, з характерним м'ятним запахом і пекучим смаком, що холодить, без гіркоти.
Розчинність. Легко розчинна в 95% спирті; 1 мл олії повинний розчинятися в 4 мл 70% спирту з утворенням прозорого розчину.
Щільність 0,900 –0,910.
Кут обертання не менш —18°.
Показник заломлення 1,459—1,470.
Кислотне число не більш 1,30.
Ефірне число не менш 11,5, що відповідає вмісту складних ефірів у перерахуванні на ментилацетат не менш 4%.
Вміст вологи не допускається.
Збереження. У добре закупорених невеликих склянках темного скла чи в бляшанках, по можливості наповнених доверху. Склянки повинні зберігатися в захищеному від світла місці при температурі не вище 15°, контролюють щорічно.
Стаття 475. Oleum Eucalypti Олія евкаліптова
Ефірна олія, одержувана перегонкою з водяною парою з листів евкаліпта кулькового — Eucalyptus globulus Labill.і інших цинеольних видів евкаліпта, род. миртових — Myrtaceae — і ректифіковане з видаленням легко киплячих фракцій.
Головні складові частини: цинеол, d,а-пінен, пінокарвеол, сесквітерпенові спирти — евдесмол і глобулол, а також сесквітерпенові вуглеводні й альдегіди.
Опис. Легкорухлива прозора рідина, безбарвна чи злегка забарвлена в жовтуватий колір, з характерним запахом цинеола, без запаху скипидару.
Розчинність. Легко розчинна в 95% спирті; 1 мл олії повинний розчинятися в 4 мл 70% спирту з утворенням прозорого розчину.
Щільність 0,910—0,930.
Кут обертання від 0° до +10°.
Показник переломлення 1,458—1,470.
Збереження. У добре закупорених невеликих склянках темного скла чи в бляшанках, по можливості наповнених доверху. Склянки повинні зберігатися в захищеному від світла місці при температурі не вище 15°, контролюють щорічно.
Стаття 632. Spiritus aethylicus 70% Спирт етиловий 70%
![]()
Опис. Безбарвна прозора рідина з характерним спиртовим запахом.
Спирт етиловий 70%
Щільність 0,886—0,883, що відповідає вмісту Спирту 70 — 71%.
Зберігання. У добре закупореній тарі.
Glycerinum Гліцерин.

Густа, прозора, безбарвна гігроскопічна рідина, що змішується з водою.
Показник переломлення 1,4710—1,4744.
Стаття 73. Aqua purificata Вода очищена
Н2 О
Опис. Безбарвна прозора рідина без запаху і смаку.
рН 5,0—6,8.
Зберігання. У закритих посудинах.
Стаття 589. Saccharum lactis Цукор молочний

Опис. Білі кристали чи білий кристалічний порошок без запаху, слабкого солодкого смаку.
Розчинність. Легко розчинний у воді, дуже мало розчинний у спирті, практично нерозчинний в ефірі і хлороформі.
Питоме обертання від +52° до +53,5° (5% водяний розчин), Вимір кута обертання роблять через 20 хвилин після додавання до розчину препарату 2 крапель розчину аміаку.
Розчин повинний бути прозорим, безбарвним і не повинний мати запаху.
Збереження. У добре закупореній тарі.
Твін-80 є неіоногенним ПАР. Він добре розчинний у воді, оліях рослинних і мінеральних. Служить гарним емульгатором з високим значенням ГЛБ (15—16), тому застосовується і як солюбілізатор. Як емульгатор і стабілізатор твін-80 застосовують для стабілізації емульсій і суспензій, у тому числі і для ін'єкційного введення.
безбарвна рідина, без запаху;
відносна атомна маса 14,0067;
температура кипіння 77,35К при тиску 101,3 кПа;
питомий обсяг 1,239 дм3/кг при температурі 77,35 К и тиску 101,3 кПа.
7.3 БЛОК-СХЕМА ТЕХНОЛОГІЧНОГО ПРОЦЕСУ ВИРОБНИЦТВА
![]()
|
7.4 МАТЕРІАЛЬНИЙ БАЛАНС
Кількість упаковок (n) = 2350 шт
Ємність однієї упаковки (V) = 30 мл
С2 = V * n
Загальний об’єм готового продукту (С2 ) = 2350 * 30 = 70500 мл = 70,5 л
Розхідний коефіцієнт (Кроз ) = 1,025
Кроз = С1 / С2
С1 = С2 * Кроз
Загальний об’єм вихідної сировини (С1 ) = 70,5 * 1,025 = 72,26 л
С5 = С1 – С2
Виробничі втрати (С5 ) = 72,26 – 70,5 = 1,76 л
η = (С2 / С1 ) * 100 %
Вихід продукту (η) = (70,5 / 72,26) * 100 = 97,56 %
ξ = (С5 / С1 ) * 100 %
Втрати сировини (ξ) = (1,76 / 72,26) * 100 = 2,44 %
С1 = 72,26 л
С2 = 70,50 л
С5 = 1,76 л
η = 97,56 %
ξ = 2,44 %
Кроз = 1,025
| Взято | Отримано |
| Сировина – 72,26 л | Готова продукція – 70,50 л Виробничі втрати – 1,76 л |
| Разом – 72,26 л | Разом – 72,26 л |
7.5 РОБОЧИЙ ПРОПИС
Потреби сировини на один флакон:
| Стрептоцид | 0,75 г |
| Норсульфазол | 0,75 г |
| Олія м’яти | 0,015 г |
| Олія евкаліпта | 0,015 г |
| Тимол | 0,015 г |
| Спирт | 1,8 мл |
| Гліцерин | 2,1 г |
| Твін-80 | 0,9 г |
| Цукор | 1,5 г |
| Вода | до 30 мл |
| Всього | 30 мл |
Кількість цукру = (1,5 / 30) * 100 = 5 %
тому потрібно врахувати КЗО
КЗО цукру = 0,63
Кількість стрептоциду = (0,75 / 30) * 100 = 2,5 %
Кількість норсульфазолу = (0,75 / 30) * 100 = 2,5 %
Кількість стрептоциду та норсульфазолу по 2,5 % тому КЗО не враховуємо
Кількість спирту подано у мл, тому потрібно врахувати густину спирта
ρ = 0,885
Кількість азоту в загальний об’єм не враховуємо, оскільки він вноситься окремо в кожний балон
Розраховуємо кількість води:
Об’єм води = 30 – (1,8 * 0,885) – (1,5 * 0,63) – 2,1 – 0,9 = 24,46 мл
Проводимо розрахунки до робочого пропису:
Маса стрептоциду = 0,75 * 72,26 / 30 = 1,806 кг
Маса норсульфазолу = 0,75 * 72,26 / 30 = 1,806 кг
Маса олії м’яти = 0,015 * 72,26 / 30 = 0,036 кг
Маса олії евкаліпта = 0,015 * 72,26 / 30 = 0,036 кг
Маса тимолу = 0,015 * 72,26 / 30 = 0,036 кг
Об’єм спирту = 1,8 * 72,26 / 30 = 4,335 л
Маса гліцерину = 2,1 * 72,26 / 30 = 5,058 кг
Маса цукру = 1,5 * 72,26 / 30 = 3,613 кг
Маса твіну-80 = 0,9 * 72,26 / 30 = 2,168 кг
Маса води = 24,46 * 72,26 / 30 = 58,922 л
Робочий пропис:
Стрептоцид 1,806 кг
Норсульфазол 1,806 кг
Олія м’яти перцевої 0,036 кг
Олія евкаліпта 0,036 кг
Тимол 0,036 кг
Спирт етиловий 70% 4,335 л
Гліцерин 5,058 кг
Цукор-рафінад 3,613 кг
Твін-802,168 кг
Вода очищена 58,922 л
-------------------------------------------------
Загалом 72,26 л
7.6 КОНТРОЛЬ ЯКОСТІ
Для дозованих інгаляторів, що знаходяться під тиском, застосування яких передбачає вдих, умови проведення випробування можуть бути модифіковані таким чином, щоб забезпечити імітацію вдиху.
Однорідність дози, що доставляється. Контейнери звичайно функціонують у перевернутому положенні. Для контейнерів, що функціонують в не перевернутому положенні, проводять аналогічне випробування, використовуючи методи, що гарантують повний збір дози, що доставляється. У всіх випадках інгалятор готують відповідно до інструкції для пацієнтів.
Прилад для збору доз має кількісно захоплювати дозу, що доставляється.
Можуть бути використані такі прилади (Рис. 7) і методики.

Рис. 7. Прилад для сбору доз для дозованого інгалятора, що знаходиться під тиском
Прилад складається з основи-тримача фільтра і опори фільтра сітчастого типу, наприклад, сітки з нержавіючої сталі, збірника для проби, який затискується або прикручується до основи-тримача фільтра, і перехідника для насадки для забезпечення повітронепроникного з'єднання між збірником і насадкою. Використовують такий перехідник для насадки, який забезпечує співвісність переднього боку перехідника для насадки і переднього боку збірника для проби (або його кінця зі вставкою завтовшки 2.5 мм). Вакуумний конектор призначений для підключення до системи джерела вакууму і регулятора потоку. Джерело вакууму має бути відрегульоване таким чином, щоб повітря проходило через увесь прилад, включаючи фільтр і випробовуваний інгалятор, зі швидкістю 28.3 л/хв (±5 %). Повітря має пройти через прилад безперервно, щоб уникнути втрати діючих речовин в атмосферу. Основа-тримач фільтра сконструйована таким чином, щоб відповідати дисковим фільтрам діаметром 25 мм. Дисковий фільтр та інші матеріали, використані в конструкції пристрою, мають бути сумісні з діючою речовиною і розчинниками, що використовуються для екстракції діючої речовини із фільтра. Один кінець збірника сконструйований так, щоб утримувати дисковий фільтр впритул до основи-тримача фільтра. У зібраному вигляді всі з'єднання між частинами пристрою мають бути повітронепроникними настільки, щоб при підключенні вакууму до основи фільтра все повітря, що проходило через збірник, проходило через інгалятор.
Якщо немає інших зазначень в інструкціях для пацієнтів, інгалятор струшують протягом 5 с, випускають одну дозу і відкидають. Перевернутий інгалятор розряджають у прилад, натискуючи на клапан протягом часу, необхідного для повного витягання однієї дози.
Процедуру повторюють, доки число випущених доз не складе мінімальну рекомендовану дозу. За допомогою підхожого розчинника кількісно переносять вміст приладу та визначають в ньому вміст діючої речовини.
Процедуру повторюють для наступних двох доз.
Випускають дози з інтервалом між розпиленнями не менше 5 с і відкидають їх, доки в контейнері не залишиться (n / 2) + 1 доз, де n — число доз, зазначене на етикетці. Збирають 4 дози, використовуючи процедуру, описану вище.
Випускають дози з інтервалом між розпиленнями не менше 5 с і відкидають їх, доки в контейнері не залишиться 3 дози. Збирають ці 3 дози, використовуючи процедуру, описану вище.
Для препаратів, що містять більше однієї діючої речовини, випробування на однорідністьдози, що доставляється, проводять для кожної діючої речовини.
Якщо немає інших зазначень, препарат витримує випробування, якщо вміст діючої речовини у 9 із 10 доз знаходиться в межах від 75 % до 125 % від середнього значення і всі одержані результати знаходяться в межах від 65 % до 135 %. Якщо 2 або 3 значення виходять за межі 75 – 125 %, випробування повторюють ще для 2 інгаляторів. Не більше 3 із 30 одержаних значень можуть виходити за межі 75 - 125 % і жодне значення не має знаходитися за межами 65 - 135 %.
Доза дрібнодисперсних часток.
Це випробування застосовується для визначення кількості речовини у вигляді дрібнодисперсних часток в аерозольній хмарі, шо утворюється лікарськими засобами для інгаляції.
Якщо немає інших зазначень, можна використати один із пристроїв і одну з методик випробування, наведених нижче.
Необхідно періодично здійснювати вимірювання ступіня разом із підтвердженням інших розмірів, критичних для ефективної роботи імпактора.
Повторне захоплення. Для забезпечення ефективного захоплення часток кожну пластину покривають гліцерином, силіконовою олією або подібною рідиною з високою в'язкістю, як правило, очищеною від леткого розчинника. Валідація покриття пластини має бути частиною валідаціі методу; в обгрунтованих і дозволених випадках валідацію покриття можна не проводити.
Баланс мас. Загальна маса діючої речовини має бути не менше 75 % і не більше 125 % від середньої дози, що доставляється, визначеної при випробуванні однорідності дози, що доставляється. Це не є випробуванням інгалятора, але є гарантією вірогідності результатів.
Використовуваний прилад - багатоступеневий рідинний імпінджер
Багатоступеневий рідинний імпінджер складається зі ступенів для фракційного осадження часток 1 (передсепаратор), 2, 3, 4 і зі ступеня вбудованого фільтра - ступінь 5, (Рис. 8). Ступінь фракційного осадження часток складається з верхньої горизонтальної металевої роздільної перегородки (B), черезяку проходить вхідний металевий патрубок сопла (А) із пластиною для фракційного осадження часток (D). Скляний циліндр (Е) з отвором для вводу проб (F) утворює вертикальну стінку ступеня, а через нижню горизонтальну металеву роздільну перегородку (G) патрубок (Н) сполучається з наступним нижнім ступенем. Патрубок у ступінь 4 (U) закінчується багатосопловою конструкцією. Пластина для фракційного осадження часток (D) закріплена у металевій рамці (J), що прикріплена за допомогою двох дротів (K) до муфти (L), закріпленої на патрубку сопла. Горизонтальна поверхня збиральної пластини перпендикулярна осі патрубка сопла та вирівняна по центру. Верхня поверхня пластини для фракційного осадження часток дещо піднесена над кромкою металевої рамки. Виїмка за периметром горизонтальної роздільної перегородки регулює положення скляного циліндра. Скляні циліндри герметично ущільнені по відношеннюдо горизонтальних роздільних перегородок за допомогою ущільнювача (М) і при складанні затиснуті шістьма болтами (N). Отвори для відбору проб закривають пробками. Нижня сторона нижньої роздільної перегородки ступеня 4 має концентричний виступ із гумовим кільцем (Р), що ущільнює кромку вміщеного у тримач фільтра. Тримач фільтра (R) сконструйований у вигляді резервуара з концентричною виїмкою, в яку щільно посаджена перфорована основа для фільтра (S). Тримач фільтра має розміри, відповідні фільтрам із діаметром 76 мм. Комплект ступенів для фракційного осадження часток кріпиться на тримачі фільтра за допомогою двох клямок (T). До вхідного патрубка сопла ступеня 1 імпінджера приєднують порт для вводу проби.

Рис. 8. Багатоступеневий рідинний імпінджер
Гумове кільце на патрубку сопла забезпечує повітронепроникне приєднання до порту вводу проби. Необхідно використовувати перехідник із підхожою ротовою насадкою для забезпечення повітронепроникного з'єднання між інгалятором і портом для вводу проби. Передня частина насадки інгалятора має знаходитися на одному рівні з передньою частиною порту для вводу проб.
Розподіляють 20 мл розчинника, здатного розчинити діючу речовину, у кожному із ступенів 1 - 4 і вставляють пробки. Нахиляють прилад, щоб змочити пробки і таким чином нейтралізувати електростатичний заряд. Розміщують у ступені 5 підхожий фільтр для кількісного збору діючої речовини та збирають прилад. Перехідник із підхожою ротовою насадкою поміщають на порт для вводу проби таким чином, щоб кінець ротової насадки розпилювача у вставленому стані розташовувався вздовж горизонтальної осі порту для вводу проб, а інгалятор був розташований як при використанні. До вихідного патрубка приладу приєднують підхожий вакуумний насос і регулюють швидкість повітряного потоку через прилад таким чином, щоб на вході в порт для вводу проб вимірюване значення становило ЗО л/хв (±5 %). Вимикають насос.
Якщо немає інших зазначень в інструкції для пацієнтів, інгалятор струшують протягом 5 с, випускають одну дозу та відкидають. Вмикають насос, приєднаний до приладу, встановлюють кінець ротової насадки у перехідник і випускають одну дозу у прилад, натискаючи на клапан протягом часу, необхідного для повного витягання однієї дози. Чекають близько 5 с перед видаленням інгалятора, приєднаного до перехід ника. Повторюють процедуру. Число випущених доз має бути зведене до мінімуму і, як правило, не перевищувати 10. Число доз має бути достатнім, щоб забезпечити правильне і точне визначення дози дрібнодисперсних часток. Після останнього витягання чекають 5 с, потім вимикають насос.
Розбирають ступінь приладу, що містить фільтр. Обережно виймають фільтр і екстрагують діючу речовину відповідною кількістю розчинника. Видаляють порт для вводу проб і перехідник для ротової насадки із приладу й екстрагують діючу речовину відповідною кількістю розчинника. Якщо необхідно, розчинником обполіскують внутрішню поверхню вхідного патрубка сопла ступеня 1, дозволяючи розчиннику протікати у ступінь. Екстрагують діючу речовину із внутрішніх стінок і збиральної пластини кожного із чотирьох верхніх ступенів приладу розчином, що знаходиться у відповідному ступені, обережно нахиляючи і обертаючи прилад; при цьому необхідно стежити, щоб рідина не перетікала з одного ступеня на інший.
Використовуючи підхожий метод аналізу, визначають вміст діючої речовини, шо знаходитеся в кожному об'ємі розчинника.
На основі аналізу розчинів, обчислюють масу діючої речовини, осадженої на кожному ступені, на одну дозу, а також масу діючої речовини на одну дозу, осілої у порті для вводу проб, у перехіднику для ротової насадки і у попередньому сепараторі, якщо він використовувався.
Починаючи з кінцевої точки збору (фільтр або МОС), складають таблицю сумарної маси у залежності від діаметра перерізу на відповідному ступені (Табл. 2). За допомогою інтерполяції обчислюють масу діючої речовини у вигляді часток, розмір яких менше 5 мкм. Ця величина є дозою дрібнодисперсних часток (FPD).
Таблиця 2
Розрахунки для приладу - багатоступеневий рідинний імпінджер.
| Ефективний діаметр (мкм) | Маса діючої речовини, осадженої з однієї дози | Сумарна маса діючої речовини, осадженої з однієї дози | Сумарна фракція діючої речовини (%) |
| d4 = 1.7 * q [1] | Маса зі ступеня 5, m5 [2] | C4 = m5 | f4 = (с4 / с) * 100 |
| d3 = 3.1 * q [1] | Маса зі ступеня 4, m4 | С3 = С4 + m4 | f3 = (с3 / с) * 100 |
| d2 = 6.8 * q [1] | Маса зі ступеня 3, m3 | С2 = С3 + mз | f2 =(с2 / с) * 100 |
| Маса зі ступеня 2, m2 | C = C2 + m2 | 100 | |
[1] Використовують де Q швидкість потоку при випробуванні, у літрах на хвилину. [2] ступінь 5 - ступінь з фільтром |
|||
Якщо необхідно і прийнятно (наприклад, у разі log-нормального розподілу), будують графік залежності зібраної фракції діючої речовини від ефективного діаметра на логарифмічному папері; одержаний графік використовують для визначення середнього аеродинамічного діаметра маси (М МAD) і геометричного стандартного відхилення (GSD), відповідно. Можуть бути також використані відповідні обчислювальні методи.
Число доз в одному інгаляторі. Беруть один інгалятор і випускають вміст, натискуючи на клапан з інтервалом не менше 5 с. Загальне число доз, випущених таким чином, має бути не менше числа, зазначеного на етикетці (це випробування можна проводити одночасно з випробуванням однорідності дози, що доставляється).
ВИСНОВКИ
Аерозолі як форма застосування різних лікарських речовин має багато достоїнств. Основне з них полягає у високій дисперсності і легкій рухливості часток дисперсної фази - факторів, у значній мірі підвищуючих фармакологічну активність ліків. При вдиханні аерозоля ліки не перетерплюють тих змін, що мають місце при прийомі усередину, тобто відсутні фактори впливу на ліки шлункового і кишкового соку з їх активними ферментами, бар'єр печінки, втрати ліків. Аерозолі мають також ряд переваг перед ін'єкцією ліків підшкірно, внутрішньом’язево і внутрішньовенно, насамперед відсутній фактор болю.
Фармацевтичні аерозолі для зовнішнього застосування займають найважливіше місце серед аерозольних лікарських форм і широко використовуються в дерматології і хірургії, гінекології, акушерстві і проктології. Теоретично і практично всі захворювання місцевого характеру можна лікувати аерозольними препаратами, що можуть бути отримані у формі розчину, мазі, емульсії, пасти, порошку і пластичної плівки.
У якості активних лікарських речовин у дерматологічних аерозольних формах використовуються: антибіотики, кортикостероїди, антисептики, анестетики й ін.
Пропелентами служать фреони 11, 12, 114, С-318, що у місцевій терапії нерідко перестають відігравати роль нейтральних речовин - носіїв і можуть давати самостійний терапевтичний ефект, але можуть діяти і негативно як подразники.
Самостійне значення в практиці лікування опіків отримали аерозольні препарати, що забезпечують швидкість і рівномірність нанесення препарату на раневу поверхню, можливість надання допомоги в максимально ранній термін після опіку, можливість використання в домашній аптечці й ін. Гарні результати отримані при фармакологічному випробуванні вітчизняного аерозольного препарату «Фадезин», що містить антисептичні і знеболюючі лікарські речовини, вітаміни, риб'ячий жир.
Створено антибіотичний аерозольний препарат «Легратетрин», активними компонентами якого є левоміцетин, граміцидин і тетрациклін. Розроблена технологія одержання мазевих аерозолей з антибіотиками на основі вініліна і лінетола, а також технологія одержання суспензійних аерозолей, що містять неоміцин і тетрациклін у сполученні з кортикостероїдами. В даний час вивчена можливість включення продигіозана в протиопікові аерозольні рецептури.
Застосування аерозолей у формі пластичних плівок значно полегшує лікування ран і особливо опіків. Пластичні плівки в дерматології можуть служити фіксаторами, місцевими локалізаторами, пролонгаторами дії лікарських речовин, а також для закриття і захисту ран від контактної інфекції з повітря й інфікування її навколишньою шкірою.
Розроблено рецептури на основі полівінілбутиральйода для обробки операційного поля, а також на основі полівінілпіролідона і полівінілбутираля - для закриття донорських ділянок і фіксації шкірного шматка при пластичних операціях.
З метою профілактики піодермії запропонований препарат «Неотізоль», що включає у свій склад неоміцин і утворюючий на ушкодженій поверхні прозору плівку. Для захисту шкіри, підготовки операційного поля, закриття операційних швів розроблений аерозольний препарат «Буметол», до складу якого входять смола БМК-5, фурацилін, лінтол, ацетон.
Спеціальними областями застосування аерозольних лікарських форм є гінекологія, акушерство і проктологія. Нерідко в цих областях є ті ж показання до застосування аерозолей, що в дерматології і хірургії. Поряд з цим аерозоли застосовуються в якості контрацептивних засобів, для боротьби з вагінальними інфекціями при пуебперальній, післяабортній інфекції матки, у випадку ендометрита і для гігієни піхви.
До аерозольних препаратів, що заміняють ліки для внутрішнього вживання, відноситься велика група аерозолей, що одержали назву інгаляційних. Вони виділяються з аерозольного упакування у формі розчину чи порошку. Розмір аерозольних часток 0,5 - 10 мкм. Широкому впровадженню інгаляційних аерозолей сприяє прямий контакт діючих речовин з патологічними об'єктами і досягнення терапевтичного ефекту при значно менших дозах, чим при використанні цих же медикаментів в інших лікарських формах.
До складу аерозолей для внутрішнього вживання входять засоби для лікування легеневих і простудних захворювань, симптоматичні засоби, що полегшують приступи бронхіальної астми, приступи ядухи при емфіземі легень і спазмах бронхів, а також численні засоби для лікування захворювань внутрішніх органів і замінюючі відповідні ін'єкції.
Як активні речовини в інгаляційних аерозолях використовуються кортикостероїди, антибіотики, препарати серцевих глікозидів, нітрофурани, сульфаніламіди, ефірні олії, різні антисептики і багато хто інші.
Наприклад, препарат «Ингалипт» являє собою водяний розчин сульфаніламідів, антисептиків, коригентів і ефірних олій.
Препарати «Евкамен» і «Каметон», призначені для лікування катарів верхніх дихальних шляхів, включають ментол, екваліптову, камфорну, касторову і маслинову олії, спиртовий розчин фурациліна і хлоретон.
Для зменшення реактивних явищ і прискорення процесу загоєння раней після тонзилектомії запропонований аерозольний препарат «Грамезоль», що представляє собою суміш граміцидіна, ментолу, анестезину й етилового спирту.
У ХНІХФІ створена аерозольна форма «Ефедрола», що раніше вироблявся промисловістю у формі таблеток.
У числі інших препаратів варто назвати серцеві і протиревматичні засоби, інсулін, діуретики й ін. Вони з успіхом можуть заміняти ін'єкції, що, природно, відіб'ється на їхньому попиті, масштаби якого зараз важко визначити.
СПИСОК ВИКОРИСТАНОЇ ЛІТЕРАТУРИ
1. Ажгихин И.С. Технология лекарств. Москва: “Медицина” – 1980, 440 с.
2. Государственная фармакопея СССР, Х издание – под. ред. Машковского М.Д. Москва: “Медицина” – 1968, 1078 с.
3. Дмитриєвський Д.І. Промислова технологія ліків. Вінниця: “Нова книга” – 2008, 277 с.
4. Державна фармакопея України, перше видання – під. ред. Георгієвського В.П.. Харків: “РІРЕГ” – 2001, 531 с.
5. Державна фармакопея України, перше видання, доповнення 1. – під. ред. Георгієвського В.П.. Харків: “РІРЕГ” – 2004, 492 с.
6. Державна фармакопея України, перше видання, доповнення 2. – під. ред. Гризодуба О.І.. Харків: “РІРЕГ” – 2008, 617 с.
7. Кондратьева Т.С., Иванова Л.А. Технология лекарственных форм т.1,2. Москва: “Медицина” – 1991, 1038 с.
8. Краснюк И.И. Технология лекарственных форм. Москва: “Академия” – 2004, 455 с.
9. Милованова Л.Н. Технология изготовления лекарственных форм. Ростов-на-Дону: “Феникс” – 2002, 447 с.
10. Муравьев И.А. Технология лекарств т.1,2. Москва: “Медицина” – 1980, 704 с.
11. Синев Д.Н., Гуревич И.Я. Технология и анализ лекарств. Ленинград: “Медицина” – 1989, 367 с.
12. Тихонов А.И. Биофармация. Харків: “НФАУ” – 2003, 238 с.
13. Чуешов В.И. Промышленная технология лекарств, т.1,2. Харьков: “НФАУ” – 2002, 1272 с.
14. Чуєшов В.І. Технологія ліків. Харків: “Золоті сторінки” – 2003, 719 с.