| Похожие рефераты | Скачать .docx |
Курсовая работа: Проектирование технологических процессов изготовления корпуса поглощающего аппарата
ПРОЕКТИРОВАНИЕ ТЕХНОЛОГИЧЕСКИХ ПРОЦЕССОВ ИЗГОТОВЛЕНИЯ
Корпуса поглощающего аппарата
Пояснительная записка к курсовому проекту по дисциплине
«Технология производства и ремонта вагонов»
Объектом исследования является поглощающий аппарат Ш-1-ТМ, деталь – Корпус поглощающего аппарата.
Цель работы: разработать технологический процесс ремонта Корпуса поглощающего аппарата.
В курсовом проекте проведен выбор действующего типового технологического процесса – ремонта корпуса поглощающего аапарата, составлен технологический процесс ремонта и произведена разработка технологических операций.
Курсовой проект выполнен в текстовом редакторе Microsoft Word 2007 и представлен на диске в конверте на обороте обложки.
Содержание
Введение
1 Анализ исходных данных для разработки технологического процесса
1.1 Назначение сборочной единицы
2 Назначение детали
2.1 Описание детали
2.2 Схема детали
3 Условия эксплуатации
3.1 Действующие силы, виды трения и изнашивания взаимодействующих поверхностей
4 Ремонт
4.1 Общие положения
4.2 Проверка и ремонт корпуса поглощающего аппарата
5 Разработка технологии восстановления детали
5.1 Разработка технологических операций
6 Расчет режимов механической обработки
7 Нормирование технологического процесса
8 Охрана труда
Заключение
Библиографический список
Приложение А Карты технологического процесса
Б Чертежи
Введение
Курсовой проект по дисциплине «Технологии производства и ремонта вагонов» выполняется с целью закрепления знаний, полученных при изучении технологических и других дисциплин. В процессе его выполнения мы показываем умение пользоваться справочниками, нормативно-технической документацией, технической литературой, инструкциями, приобретаем опыт в проектировании технологического процесса при ремонте деталей и сборочных единиц вагонов.
Разработка любого технологического процесса является комплексной задачей, для решения которой в конкретных условиях производства нужно найти оптимальный вариант процесса изготовления или ремонта заданного изделия. Оптимальным является такой вариант процесса, который обеспечивает выполнение всех требований конструкторской документации на данное изделие при наименьших производственных затратах.
Разработка технологических процессов в общем случае включает комплекс взаимосвязанных работ: анализ исходных данных, определение типа производства, выбор действующего процесса-аналога, выбор исходной заготовки и метода ее получения, выбор технологических баз, разработка технологического маршрута, выбор технологического оборудования, разработка технологических операций, выбор инструмента и приспособлений, нормирование технологического процесса, его тарификация, определение техники безопасности, оформление технологических документов, расчеты основных параметров производства, разработка цеховой планировки.
Любой технологический процесс может существовать в двух формах: и виде совокупности определенных действий людей и технологического оборудования и в виде комплекта документов, определяющих эти действия.
Технологический процесс как комплект документов записывают на специальных бланках. Правила оформления технологической документации установлены стандартами Единой системы технологической документации (ЕСТД), согласно которым документы подразделяют на виды и выполняют строго по определенной форме. К технологическим документам относятся графические и текстовые документы, которые отдельно или в совокупности определяют технологический процесс изготовления изделия и содержат необходимые данные для организации производства. К графическим документам относят карты эскизов, к текстовым — маршрутную и комплектовочную карты, карту технологического процесса, операционную карту, ведомость оснастки и др.
1 Анализ исходных данных для разработки технологического процесса
1.1 Назначение сборочной единицы
Ударно-тяговые устройства предназначены для автоматического сцепления тепловоза с другими единицами подвижного состава, передачи и смягчения продольных (растягивающих и сжимающих) усилий, возникающих при движении и сцеплении. Ударно-тяговые устройства размещаются в стяжных ящиках рамы. Ударно-тяговое устройство состоит из автосцепки, расцепного привода, ударно-центрирующего прибора, тягового хомута и поглощающего аппарата.
Автосцепка - устройство, служащее для сцепления вагонов, локомотивов и других единиц подвижного состава в поезд с минимальным участием сцепщика.
Применяемая на отечественных железных дорогах автосцепка СА-3 изобретена в 1932 году коллективом авторов в составе А.Ф.Пухова, И.Н.Новикова, В.А.Шашкова, В.Г.Голованова под руководством В.Ф.Егорченко.
Перевод железных дорог СССР на автосцепку начался в 1935 году, и был полностью завершен в 1957 году. На время перехода с винтовой стяжки на автосцепку на отечественных железных дорогах применялись специальные переходные приспособления.
В отличие от применявшейся ранее винтовой стяжки, при использовании автосцепки СА-3 участие сцепщика сводится лишь к соединению тормозных рукавов и электрических кабелей.
Похожая конструкция автосцепки для отечественных узкоколейных железных дорог испытывалась в 60-е - 70-е годы, но не прижилась из-за частых случаев саморасцепа при прохождении неровностей пути.
Автосцепка (рис 1) состоит из корпуса и механизма сцепления. Корпус 106.01.001-2 (1) автосцепки представляет собой стальную полую отливку и имеет головную часть и хвостовик. Головная часть образована малым (б) и большим в зубом, пространство между которыми называется зевом. Головная часть также имеет упор (а), ограничивающий продольное перемещение автосцепки при чрезмерно больших сжимающих усилиях. В корпусе автосцепки размещается механизм сцепления, состоящий из замкодержателя 106.01.003-0 (2), замка 106.01.002-1 (3), а также (на рисунке не показаны) подъемника 106.01.004-0, предохранителя замка 106.01.006-5 и валика подъемника 106.01.005-0.
Расцепной привод (рис. 1) состоит из двуплечего рычага (6) и цепи (5), соединяющей рычаг с балансиром (4) валика подъемника. Двуплечий рычаг удерживается в фиксированном положении специальным кронштейном. Ударно-центрирующий прибор состоит из ударной розетки (9), двух маятниковых подвесок 106.00.012-0 (8) и балочки 106.00.011-3 (7). Балочка поддерживает автосцепку на определенной высоте от головок рельсов. Подвески, балочка и ударная розетка автоматически центрируют автосцепку относительно продольной оси тепловоза.
Тяговый хомут 106.00.001-2 (10) представляет собой скобу, которая с помощью клина 106.00.002-2 (11) соединяется с хвостовиком автосцепки. От выпадания клин закреплен болтами (12) к ушкам (г) хомута. Тяговый хомут воспринимает растягивающие усилия и передает их от автосцепки на поглощающий аппарат. Поглощающий аппарат предназначен для рассеивания энергии ударов, передаваемых автосцепкой.
1-Корпус; 2-Замкодержатель; 3-Замок; 4-Балансир; 5-Цепь; 6-Двуплечный рычаг; 7-Балочка; 8-Маятниковые подвески; 9-Ударная розетка; 10-Тяговый хомут; 11-Клин; 12-Болты.
Рисунок 1 - Автосцепка СА-3
2 Назначение детали
Корпус поглощающего аппарата предназначен для гашения части энергии удара, уменьшения продольных растягивающих усилий, которые передаются через автосцепку на раму кузова вагона.
2.1 Описание детали
Корпус поглощающего аппарата отливается из легированной стали и подвергается специальной термообработке с высокоточной закалкой и отпуском. Нажимной конус и фрикционные клинья, выполняются из другой легированной стали и также подвергаются специальной термообработке. Таким образом, рационально подобранные материалы трущихся пар (нажимной конус — фрикционные клинья — поверхность корпуса аппарата) обеспечивают стабильность работы поглощающего аппарата.
Заряженный в заводских условиях аппарат монтируется на вагон без дополнительной подготовки. После первого соударения вагона аппарат автоматически переходит в рабочее состояние.
Ударная розетка отливается из стали 20ГЛ
Химический состав в % материала 20ГЛ:
C 0.15 - 0.25
Si 0.2 - 0.4
Mn 1.2 - 1.6
S до 0.04
P до 0.04
Механические свойства :
KCU - Ударная вязкость, [кДж / м2] - 250
HB - Твердость по Бринеллю, [МПа] - 143 - 187
2.2 Схема детали

1 — центрирующая балочка; 2 — маятниковая подвеска; 3 — хвостовик автосцепки; 4 — ударная розетка
Рисунок 2 – Ударная розетка с центрирующим прибором
3 Условия эксплуатации
Детали автосцепного устройства в процессе работы подвергаются сложному силовому воздействию, в результате чего в элементах возникают всевозможные деформации: растяжения, сжатия, изгиба и кручения.
Габаритные размеры основных деталей автосцепного устройства но условиям размещения их на раме вагона, а также обязательность требования взаимозаменяемости создают существенные ограничения, которые препятствуют усилению сечений напряженных зон.
Анализ технического состояния сборочных единиц автосцепного устройства показывает, что все износы и повреждения можно разделить на две группы: естественные, постепенные износы, появляющиеся при нормальном взаимодействии деталей; внезапные, аварийные повреждения, возникающие в результате действия дополнительных внешних факторов или наличия скрытых дефектов технологического происхождения.
Все внезапные повреждения можно разделить на две группы: хрупкий и усталостный изломы. Явления хрупкого разрушения происходят в результате отрицательного влияния внутренних концентраторов напряжений, воздействия низких температур при недостаточной ударной вязкости стали, а также в результате старения металла.
Внешние концентраторы приводят к развитию усталостных разрушений.
3.1 Действующие силы, виды трения и изнашивания взаимодействующих поверхностей
Износ 11 опорных мест для маятниковых подвесок образуется от взаимодействия с верхней головкой маятниковой подвески.
Износы 13 поверхностей проема для прохода хвостовика автосцепки образуются при перемещениях хвостовика автосцепки при сжатии на величину рабочего хода поглощающих аппаратом (70. ..110 мм), а также при отклонениях автосцепки от центрального положения в кривых участках пути.
Деформация (смятие) ударной части розетки 12 происходит oт соударения с упором головы автосцепки при восприятии сжимающих сил, превосходящих энергоемкость поглощающих аппаратов.
Трещины 10 образуются от отверстия под заклепку при непосредственном ударе упора головы автосцепки по ударному выступу розетки, кроме того, по этой же причине иногда образуются трещины в углах проема для прохода хвостовика автосцепки, так как углы являются концентраторами напряжений. Эти трещины, если они не выходят на привалочную поверхность розетки, разрешается заваривать.

Рисунок 3 – Износы и повреждения на ударной розетке.
4 Ремонт
4.1 Общие положения
1.1. Ремонт и проверка автосцепного устройства подвижного состава производятся в контрольных пунктах автосцепки (КПА) депо и отделениях по ремонту автосцепки вагоно- и локомотиворемонтных заводов, имеющих специальные удостоверения установленной формы, выдаваемые Департаментом вагонного хозяйства (ЦВ) МПС России.
1.2. Размещение технологической оснастки в пунктах ремонта автосцепного устройства должно обеспечивать выполнение требований настоящей Инструкции, а также техники безопасности и промышленной санитарии.
1.3. Контрольные пункты автосцепки депо и отделения ремонтных заводов должны иметь необходимую технологическую оснастку, два комплекта проверочных и один комплект контрольных шаблонов в соответствии с приложениями 1 и 2 настоящей Инструкции. Шаблоны должны соответствовать действующим техническим требованиям, утвержденным ЦВ МПС. Шаблоны проверяются на ремонтных предприятиях не реже одного раза в год с постановкой даты проверки согласно Методическим указаниям контроля СДК для автосцепных устройств вагонов РД 32 ЦВ-ЦЛ 027—91.
1.4. Изменение норм и допусков, указанных в настоящей Инструкции, может производиться только с разрешения ЦВ МПС. Порядок применения шаблонов в зависимости от вида ремонта подвижного состава указан в приложении 2 настоящей Инструкции.
1.5. Для поддержания автосцепного устройства в исправном состоянии установлены следующие виды осмотра: полный осмотр, наружный осмотр, проверка автосцепного устройства при техническом обслуживании подвижного состава.
1.6. Полный осмотр автосцепного устройства производится при капитальном и деповском ремонтах вагонов, капитальном ремонте локомотивов и вагонов дизель- и электропоездов, текущих ремонтах ТР-2, ТР-3 тепловозов, электровозов и вагонов дизель- и электропоездов, подъемочном ремонте паровозов. При капитальном ремонте группового рефрижераторного подвижного состава на концевых вагонах автосцепка СА-Д заменяется автосцепкой СА-3.
Наружный осмотр осуществляется при текущем отцепочном ремонте, вагонов, единой технической ревизии пассажирских вагонов, промывочном ремонте паровозов, текущем ремонте ТР-1 тепловозов, электровозов и вагонов дизель- и электропоездов.
Проверяют автосцепное устройство при техническом обслуживании во время осмотра вагонов в составах на пунктах технического обслуживания (ПТО), при подготовке вагонов
под погрузку и при техническом обслуживании локомотивов ТО-2, ТО-3, а также в других случаях, специально установленных МПС.
1.7. При полном осмотре съемные узлы и детали автосцепного устройства снимают с подвижного состава независимо от их состояния (кроме случаев, указанных в п. 2.2.7 и 2.2.20 настоящей Инструкции) и направляют в КПА или отделение по ремонту автосцепки завода для проверки и ремонта в соответствии с требованиями, изложенными в главе 2 настоящей Инструкции. К несъемным деталям автосцепного устройства относятся: ударная розетка, передние и задние упоры, располагающиеся на хребтовой балке, детали расцепного привода (фиксирующий кронштейн, кронштейн и расцепной рычаг). Ремонт и проверку несъемных деталей производят на подвижном составе, за исключением случаев, требующих их демонтажа.
1.8. При наружном осмотре, а также при проверке автосцепного устройства во время технического обслуживания производится освидетельствование узлов и деталей в соответствии с требованиями, изложенными в главах 3 и 4 настоящей Инструкции, без снятия с подвижного состава. Снимают только неисправные узлы и детали с заменой их исправными.
1.9. Детали автосцепного устройства, снятые с подвижного состава и подлежащие проверке и ремонту, должны быть очищены от грязи средствами, имеющимися в распоряжении пункта ремонта. После очистки корпус автосцепки, тяговый хомут, клин (валик) тягового хомута, маятниковые подвески центрирующего прибора, болты паровозной розетки должны быть подвергнуты неразрушающему контролю. Стяжной болт поглощающего аппарата, опорную пластину поглощающих аппаратов ПМК-110А и ПМК-110К-23 подвергают неразрушающему контролю только после их ремонта сваркой.
1.10. Неразрушающий контроль производится в соответствии с Технологической инструкцией по испытанию на растяжение и неразрушающему контролю деталей вагонов.
1.11. Детали с дефектами, указанными в приложении 3, или не имеющие маркировки предприятия-изготовителя, ремонту не подлежат и сдаются в металлолом. При этом на каждый утилизированный корпус автосцепки составляется акт.
1.12. Все сварочные и наплавочные работы при ремонте автосцепного устройства выполняются в соответствии с требованиями Инструкции по сварке и наплавке при ремонте вагонов и контейнеров РТМ 32 ЦВ-201-88.
1.13. Слесарные, станочные работы и правка изогнутых деталей выполняются в соответствии с действующими техническими условиями МПС на производство этих работ и с требованиями Типовых технологических карт для ремонта автосцепного устройства, утвержденных МПС.
1.14. Соблюдение действующих нормативно-технических требований по ремонту автосцепного устройства проверяют руководители вагонной, пассажирской и локомотивной служб, начальники отделов вагонного, локомотивного хозяйств и пассажирских перевозок отделений, начальники вагонного (локомотивного) депо или их заместители в соответствии с личными нормативами, а на ремонтных заводах — главный инженер и начальник отдела технического контроля (ОТК) с записью в журнале ремонта.
4.2 Проверка и ремонт ударной розетки
Ударную розетку проверяют, не снимая с подвижного состава. Изношенные поверхности розетки наплавляют с последующей обработкой.
Ослабшие заклёпки ударной розетки переклёпываются. Сварные швы, имеющие трещины, срубаются. Швы накладываются только горизонтальные, по верхней и нижней кромкам плиты розетки длиной по 300 мм.
Ударная розетка, имеющая изгиб привалочной плиты, отклёпывается от буферного бруса, выправляется и проверяется на плите.
Качка розетки на плите не разрешается. Допускаются местные неровности, при которых зазор между привалочной и контрольной плитами не превышает 1 мм.
Трещины в розетке вырубаются и завариваются.
Износы розетки в местах трения балочки центрирующего прибора глубиной более 5 мм, а также вмятины на ударной поверхности исправляются наплавкой с последующей обработкой.
Опорные места для головок маятниковых подвесок проверяются шаблоном № 776р, как показано на рисунке 4. Шаблон за рукоятку 1 устанавливается в розетке так, чтобы его проходная планка 2 прошла через прямоугольное отверстие для маятниковой подвески, а верхняя часть 3 легла на опорные места для подвески, которые предварительно хорошо зачищаются.
Розетка считается исправной, когда передняя кромка 4 прямоугольного отверстия располагается в пределах толщины планки 2 (рисунок 4, а)
Опорные места для маятниковой подвески обрабатываются, если планка 2 не доходит до кромки 4 отверстия (рисунок 4,6). Изношенные опорные места, при которых планка 2 шаблона целиком выходит за кромку 4 (рисунок, в), наплавляются и затем обрабатываются.

Рисунок 4 - Проверка шаблоном № 776р опорных мест в розетке для головок маятниковых подвесок
5 Разработка технологии восстановления детали
Электросварочные работы составляют значительную часть в общем объеме работ по ремонту деталей автосцепного устройства, причем наибольшее время затрачивается на наплавку изношенных поверхностей.
Наплавочные работы ведутся следующими способами:
ручным дуговым — штучными электродами или пучком таких электродов;
полуавтоматическим — сварочной проволокой под флюсом или порошковой проволокой, при данном способе наплавки используется подающее устройство шлангового полуавтомата;
полуавтоматическим - пластинчатым электродом под флюсом; многоэлектродным автоматическим - сварочной проволокой под флюсом на специальном установке с одновременной подачей шести проволок (электродов).
Ручная дуговая наплавка является наиболее распространенным способом. Однако он наименее производителен, так как наибольший ток для наплавки открытой дугой стальным электродом диаметром 4—6 мм составляет только 200- -350 А. Увеличение тока приводит к сильному разбрызгиванию металла, перегреву электрода и ухудшению формирования валика. В результате ручной дуговой сварки получается неровная поверхность наплав пенного металла, что вызывает необходимость давать припуск на обработку до 2—3 м.
Многоэлектродная автоматическая наплавка под флюсом представляет собой явление перемещающейся дуги, возбужденной между основным металлом и электродами. По мере расплавления одного электрода длина (сопротивление) дуги увеличивается, и дуга возникает между другим электродом или группой электродов, находящихся на более близком расстоянии от наплавляемой поверхности. Сварочная проволока (электроды) автоматически подается из специальных кассет. При попеременном плавлении электродов уменьшается глубина проплавления основного металла и его масса составляет не более 1/5 массы наплавленного металла. При многоэлектродной наплавке можно увеличить ток до 1200 А, что повышает производительность процесса.
Для наплавки пластинчатым электродом из малоуглеродистой стали толщиной 3—4 мм не требуется сварочных автоматов и калиброванной сварочной проволоки. В этом случае, как и при многоэлектродной наплавке, обеспечивается сварка хорошего качества. Ширина и длина пластины соответствуют наплавляемой поверхности. На наплавляемую поверхность насыпают слой флюса толщиной 4 мм, а затем укладывают электрод по специальным упорам флюсоудерживающего устройства. Один конец электрода замыкают на деталь, а другой подсоединяют через держатель к проводу от сварочного трансформатора. На электрод опять насыпают слой флюса толщиной 15—20 мм, а сверху флюса кладут груз для лучшего формирования сварочного валика при расплавлении электрода. После этого от электрода отодвигают установочные упоры и включают сварочный ток. В месте контакта электрода с поверхностью возникает дуга, и электрод начинает плавиться, причем сварочный процесс происходит автоматически до полного расплавления пластины.
Описанный способ позволяет изменять толщину наплавки за счет укладки в нужном месте дополнительной пластины соответствующего размера. Кроме того, при этом способе легко достигается повышение твердости, а следовательно, и износостойкости наплавленного металла введением в сварочную ванну легирующих присадок.
Несмотря на наличие отработанных технологий для наплавки изношенных мест деталей под флюсом, в практике ремонта автосцепки наиболее эффективным является способ наплавки порошковой проволокой с помощью шлангового полуавтомата. Это способ совмещает в себе маневренность, присущую ручной дуговой сварке, и высокую производительность труда, характерную для способов автоматической наплавки в среде защитных газов.
Немаловажную роль для изнашиваемых деталей автосцепного устройства придается износостойкости наплавленных поверхностей, поэтому все поверхности деталей, за исключением труднодоступных для обработки, должны восстанавливаться износостойкими наплавками.
Несмотря на внедрение высокопроизводительных методов наплавки, ручная дуговая сварка необходима главным образом для заварки трещин, допускаемых правилами ремонта, и для наплавки небольших или труднодоступных поверхностей деталей.
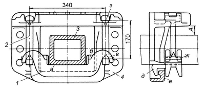
При ремонте розетки (рис. 5) разрешается:
1) наплавка изношенных опорных мест А для маятниковых подвесок;
2) наплавка изношенных поверхностей проема Б;
3) наплавка деформированной поверхности В ударной части;
4) заварка трещин Г в верхних углах проема, не выходящих на привалочную поверхность, с постановкой в двух средних углублениях вставок и обваркой их по периметру;
5) заварка трещин Д во фланце;
6) заварка трещин Е на ребрах жесткости в верхней ударной части;
7) заварка трещин Ж грани ударной части с постановкой в средних углублениях двух вставок и обваркой их по периметру;
8) заварка трещин 3 в нижних углах проем, не выходящих на привалочную поверхность.
2.6.16. При деповском ремонте вагонов разрешается производить приварку к ударной розетке отбитых частей согласно Технологической инструкции по сварке передних упоров № 317 ПКБ ЦВ.

Рисунок 5 – Ударная розетка
5.1 Разработка технологических операций
А) Расчет режима ручной дуговой наплавки изношенных опорных мест для маятниковых подвесок
Используем электроды НР – 3 (Э46), диаметр электрода – 5мм.
Толщина наплавленного слоя:
![]()
где диз – величина износа, мм
до – величина припуска на механическую обработку, мм.
диз = 4 – 8 мм.
до = 2 мм.
д н
= 4 мм + 2 мм = 6 мм.

Рисунок 6 - Схема наложения валиков
Соотношения между основными параметрами наплавленного слоя можно определить по выражениям:
;
;
;
.
Количество слоев наплавки равно 3.
Ориентировочная величина тока, А:
![]()
![]()
Напряжение дуги, В:
Uд =20+0,04∙Iн =30 В.
Скорость наплавки, м/ч:
,
где бн – коэффициент наплавки, г/Ач,
Fн – площадь наплавленного слоя одного прохода,см2 ,
с – плотность металла шва, г/см3
с=7,8 г/см3 ; подставив значение получим:
![]()

Выбираем род тока постоянный, полярность обратная. Как правило, скорость наплавки можно не рассчитывать, так как она устанавливается сварщиком вручную при обеспечении размерных параметров наплавленного слоя.
Выбирая род тока, следует учитывать экономические и эксплуатационные преимущества переменного тока перед постоянным. Так, характер наплавочных работ обусловливает необходимость получения слоя наплавленного металла за счет возможно большего количества электродного металла при минимальной глубине проплавления основного металла. Поэтому для наплавочных работ следует предпочесть постоянный ток и вести наплавку на обратной полярности, обеспечивающей более высокую производительность процесса и меньшую глубину проплавления поверхности детали.
В качестве оборудования для наплавки мною выбран сварочный выпрямитель ВДУ – 506, электрододержатель ЭДС – 300 ГОСТ 14651 – 78
Б) Расчет режима автоматической наплавки под плавленым флюсом.
Выбираем марку электродной проволоки НП – 30, марка флюса АН – 348.
Толщина наплавленного слоя:
![]()
Диаметр электрода – 4мм.
![]()
где диз – величина износа, мм
до – величина припуска на механическую обработку, мм.
диз = 4 – 8 мм.
до = 2 мм.
Соотношения между основными параметрами наплавленного слоя можно определить по выражениям:
;
;
;
.
Количество слоев наплавки равно 2 .
Ток наплавки, А:

где j – плотность тока, А/мм2 . J = 60 – 140 А/мм2

Напряжение дуги, В:

Скорость подачи электрода, м/ч:

где бр – коэффициент расплавления, г/А∙ч;
Iн – ток наплавки, А;
dэл – диаметр проволоки, мм;
с – плотность металла проволоки, г/мм3 .
Коэффициент расплавления электродной проволоки сплошного сечения при наплавке под флюсом определим для постоянного тока обратной полярности бр =10 – 12 г/А∙ч.

Шаг наплавки:
![]()
Скорость наплавки:


где Fн – площадь наплавленного металла,
,
где а – коэффициент, учитывающий отклонение площади наплавленного валика от площади прямоугольника. а = 0,6 – 0,7.
![]()
,
где ш – коэффициент потерь металла на разбрызгивание, составляет 1 – 3%, следовательно
г/А∙ч.
Вылет электродной проволоки, мм
![]()
Толщина флюса составляет 35 мм, т.к. ток наплавки находится в диапазоне 400-800 А.
Выбираем род тока – постоянный, полярность – обратная.
Для автоматической наплавки под флюсом обычно применяется оборудование, изготовленное самим ремонтным предприятием. Установка состоит из модернизированного токарного станка, подающего механизма, флюсоподающего устройства и источника питания. В качестве вращателя используется токарный станок, частота вращения шпинделя которого снижается в 20-30 раз. Для этого между электродвигателем привода и первым валом коробки скоростей устанавливается редуктор. Механизм подачи электродной проволоки и флюсовое, оборудование устанавливаются на суппорте станка. Источник питания: преобразователь АСБ–300–2, сварочный генератор ГСО-300, номинальное напряжение 30В, номинальная сила тока 300 А, пределы регулирования силы тока 75-320 А.
6 Расчет режимов механической обработки
Оборудование: специальный горизонтально-фрезерный станок 46.6898;
К параметрам режима резания относятся: частота вращения инструмента – 300 – 350 об/мин, подача инструмента за оборот шпиндельной головки – 4 – 5 мм, глубина фрезерования – 6 мм, скорость резания, величина подачи.
Минимальный припуск: при последовательной обработке противолежащих поверхностей (односторонний припуск):
zmin = Rz+h (1)
Где Rz - высота неровностей профиля на предшествующем переходе, Rz=12,5 мкм.
h - глубина дефектного поверхностного слоя на предшествующем переходе h=30 мкм
zmin=30+12,5=42,5 мкм
Скорость резания — окружная скорость фрезы, м/мин:
(2)
Где Cv –коэффициент,Cv =332
D – диаметр фрезы D =112,5мм
Т - период стойкости,T=180 мин;
t - глубина фрезерования t=6 мм;
sz - величина подачи sz =0,12 мм/об;
B- ширина фрезерования =112,5 мм;
z=1.
показателей степени:
-q=0,2;
-x=0,1;
-y=0,4;
-u=0,2;
-p=0;
-m=0,2.
Общий поправочный коэффициент на скорость резания, учитывающий фактические условия резания:
KV = KMV ∙ KП V ∙ KИ V (3)
где KMV - коэффициент, учитывающий качество обрабатываемого материала, KMV =0,869.
KП V - коэффициент, учитывающий состояние поверхности заготовки, KП V =0,8
KИ V - коэффициент, учитывающий материал инструмента,KИ V =0,6
KV =0,869∙0,8∙0,6=0,41712
95,68 м/мин.
Для проверки правильности расчетов определим частоту вращения фрезы, об/мин:
![]()
(4)
об/мин.
7 Нормирование технологического процесса
На этапе нормирования технологического процесса устанавливают исходные данные, необходимые для расчетов норм времени и расхода материалов, производят расчет и нормирование затрат труда, норм расхода материалов, необходимых для реализации технологического процесса.
Рассмотрим технологическую себестоимость.
Ст = Смат + ФОТ + Сэ + (Сам + Ст.р. )/П
где Смат – затраты на основные и вспомогательные материалы (электроды, проволока, флюсы и т.д.);
ФОТ – фонд оплаты труда;
Сэ – расход на электроэнергию, затрачиваемую на технологические нужды;
Сам – отчисления на амортизацию оборудования;
Ст.р. – расходы на содержание и текущий ремонт оборудования.
П – годовая программа ремонта;
Стоимость материалов при восстановлении изношенных деталей:
Смат = Сэл + Сзащ ,
где Сэл – стоимость электродных материалов;
Сзащ – стоимость защитных материалов.
Сэл = Цэл ∙Gэл ,
где Цэл – оптовая цена электродов, руб/гр; Цэл = 30 руб/гр
Gэл – масса электродных материалов, гр.
Расход электродных материалов определим:
Gэл = Gн ∙Кр ,
где Gн – масса наплавленного металла;
Кр – коэффициент расхода. Кр = 1,7
Масса наплавленного металла
Gн = а∙lд ∙дн ∙с,
где а и lд – ширина и длина наплавленной поверхности, мм;
дн – толщина наплавленного слоя (с учетом припуска на механическую обработку), мм;
с = 7,8∙10-3 г/мм2 – плотность металла.
Подставив числовые значения, получим:
Gн = 70∙50∙6∙7,8∙10-3 = 163,8 г,
Тогда Gэл = 163,8∙1,7 = 278,46 г;
Сэл = 30∙0,2784 = 8,35 руб.
При ручной дуговой наплавке расходы на защитные материалы не рассчитываются, они учтены коэффициентом расхода, зависит от марки электрода.
Масса наплавленного металла при автоматических способах наплавки:

где tо – основное время наплавки,
tо = lд n/Sп = 50∙10 \60 = 8 мин.
Число ударных розеток n=10
Масса электродной проволоки

Стоимость флюса, необходимого на автоматическую наплавку под флюсом
Сф = Цф ∙Gф = 35∙0,327 = 11,47 руб.
Gф = (1,05 – 1,1)∙Gн = 1,05∙312,27 = 0,327 кг
ФОТо = Сч ∙Тшт ,
где Сч – часовая тарифная ставка, руб./час;
Тшт – норма штучного времени, мин.
Норма штучного времени на выполнение технологической операции рассчитывается:
Тшт = to + tпз + tп.отл + tоб ,
где to – оперативное время на наплавку (основное);
tпз – подготовительно-заключительное время;
tп.отл – время на отдых и личные надобности;
tоб – время на обслуживание рабочего места.
Норма времени на ремонт 1 ударной розетки 0,20 ч.
to = 0,67 часа;
tпз = 0,2∙4,6% = 0,092 часа;
tп.отл = 0,2∙3,45% = 0,069 часа;
tоб = 0,2∙3,45% = 0,069 часа.
Тшт.авт. = 0,67 + 0,092 + 0,069 + 0,069 = 0,9 часа;
Тшт.руч. = 0,67 + 0,092 + 0,069 + 0,069 + 0,504 = 1,4 часа.
ФОТо.р = 10,6∙1,4 = 14,84
ФОТо.авт = 10,6∙0,9 = 9,54
Заработная плата с начислениями
ФОТ = ФОТо ∙Кдоп
ФОТр = 14,84∙1,5 = 22,26
ФОТавт = 9,54∙1,5 = 14,31
Стоимость электроэнергии
Сэ = Цэ ∙А,
где Цэ – цена электроэнергии, руб./кВт∙час
А – расход электроэнергии, кВт∙час.

где з – КПД источника тока,
що – мощность холостого хода, кВт.


Сэ.руч = 0,95∙4,1 = 3,895 руб.
Сэ.авт = 0,95∙3,1 = 2,945 руб.
Ежегодные отчисления на амортизацию оборудования.
Сам = qам ∙Коб /100,
где qам – норма годовых амортизационных отчислений по соответствующим видам оборудования, %
Коб – стоимость оборудования.


Расходы на содержание и текущий ремонт оборудования 15 – 20% от стоимости.
![]()
![]()
Определяем себестоимость ручной дуговой сварки. План 5000 вагонов в год.
5000 вагонов соответствует 10000 ударных розеток.
Смат = 30– стоимость электродов Э46.
ФОТ = 22,26– годовой ФОТ
Сэ = 6,69 – стоимость электроэнергии
Сам = 8436,84 – амортизационные отчисления
Стр = 7578 – затраты на содержание оборудования
Сруч =Смат +ФОТ+Сэ +(Сам +Стр )/П=30+22,26+6,69+(8436,84+7578)/10000 =60, 55руб
Определяем стоимость автоматической наплавки.
Смат = 45,85+61 = 96600руб – стоимость материалов.
ФОТ =14,31 – годовой ФОТ
Сэ =3,5 – стоимость электроэнергии
Сам =29390 – амортизационные отчисления
Стр =40083 – затраты на содержание оборудования
Савт =96600 + 14,31 + 3,5+ (29390 + 40083)/10000 = 96624,7руб
А) Расчет технико-экономической эффективности.
Снижение трудоемкости наплавки
∆Т = Тб – Тс ,
где Тб и Тс – штучное время наплавки по базовому (ручная наплавка) и сопоставимому (автоматическая наплавка), ч.
∆Т = 1,48 – 0,976 = 0,504 часа.
Повышение производительности труда:

Снижение себестоимости наплавки:
ДС = Сб – Сс
Или ДС = (Сб – Сс )/Сб ∙100%,
где Сб и Сс – себестоимость наплавки детали по базовому и сопоставимому вариантам, руб.
Т.к. Сб < Cc , то
ДС = (10,27 – 7,46)/10,27∙100% = 27,36%
Годовая экономия наплавки на выполненный объем работ.
Эс = (Сс – Сб )∙П,
где П – годовая программа ремонта, шт.
Эс +(10,27 – 7,46)∙10000 = 28100 руб.
Срок окупаемости дополнительных капитальных вложений
Тр = (Кс – Кб )/Эс ,
где Кс , Кб – капитальные затраты, необходимые для проведения мероприятий соответственно по сопоставимому и базовому варианту.
Тр = (40083 – 7578)/28100 = 1,15
Тр < Тн
Годовой экономический эффект
Э = (Сс + Ен ∙Кс ) – (Сб + Ен ∙Кб ),
где Ен – нормативный коэффициент эффективности капвложений;
Ен = 0,1 – 0,15, принимаем 0,1
Э = (10,27 + 0,1∙40083) – (7,46 + 0,1∙7578) = 3253,24руб.
Таблица 1 Основные показатели технико-экономической эффективности
| Показатели |
Базовый вариант |
Автоматическая наплавка |
| Снижение трудоемкости наплавки, Т, ч |
0,976 |
|
| Повышение производительности труда, Птр , % |
14,98% |
|
| Снижение себестоимости С, руб |
10,27 |
|
| Срок окупаемости Тр , т |
0,81 |
|
| Годовой экономический эффект Э, руб |
3253,24 |
Замена ручной дуговой наплавки на автоматическую наплавку под флюсом является целесообразной, так как снижение трудоемкости равно 0,976 ч. Производительность труда повышается на 14,98%.Срок окупаемости дополнительных вложений от использования автоматической наплавки составляет 0,81 года, а годовой экономический эффект 3253,24 р. Кроме всего вышеперечисленного, автоматическая наплавка облегчит труд рабочих. На основе полученных расчетов, можно сделать вывод о целесообразности внедрения автоматической наплавки в производство.
8 Охрана труда
1. Участок, где постоянно производится дуговая и газовая сварка, должен иметь рабочую инструкцию, знание и выполнение которой обязательно для сварщиков, а также должны быть вывешены плакаты, содержащие важнейшие указания по технике безопасности и пожарной безопасности.
2. При производстве электросварочных работ необходимо соблюдать требования действующих правил техники безопасности и производственной санитарии при электросварочных работах и требования стандарта ЕСБТ ГОСТ 12.3.003-86 «Работы электросварочные. Общие требования».
3. Для защиты глаз и лица от излучения сварочной дуги сварщик должен пользоваться исправным шлемом – маской или щитком со светофильтрами различной прозрачности в зависимости от величины сварочного тока. Светофильтр Э-1 применяется при сварочном токе 30-75 А, Э-2 – 75-200 А, Э-3 – 200-400 А, Э-4 – свыше 400 А. Для предохранения тела от ожогов каплями расплавленного металла или воздействия лучей сварочной дуги руки сварщика должны быть защищены брезентовыми рукавицами, а сам сварщик должен быть одет в костюм с огнестойкой пропиткой.
4. Для предупреждения воздействия лучей дуги на других рабочих местах выполнения сварки должны быть ограждены переносными ширмами, щитками или специальными занавесками высотой не более 1,8 м, которые окрашиваются в светлые тона (голубой, серый, жёлтый) с добавлением в краску окиси цинка с целью уменьшения отражения ультрафиолетовых лучей дуги.
5. Корпуса и кожухи сварочных машин, шкафы и аппаратные ящики сварочного оборудования должны быть заземлены, а электросварочные установки с источником переменного или постоянного тока оснащены устройством автоматического отключения напряжения холостого хода или ограничения его в соответствии с требованиями «Правил технической эксплуатации электроустановок потребителей» и «Правил техники безопасности при эксплуатации электроустановок потребителей».
6. Сварочные посты в сварочном цехе должны быть оборудованы приточно-вытяжной вентиляцией, обеспечивающей эффективное удаление сварочной пыли и газов, удобными столами и сидениями для сварщиков, а также подъёмными средствами для установки деталей, масса которых превышает 20 кг.
7. Сварочные провода должны иметь исправную изоляцию. Рукоятку электродержателя изготовлять из изолирующего огнестойкого материала.
8. Во всех случаях повреждения сварочного оборудования необходимо немедленно выключить ток и сообщить мастеру и электромонтёру о повреждении.
9. Очистку сварочного шва от шлака сварки рабочий должен производить в защитных очках.
10. Минимальное расстояние от свежеокрашенных вагонов при производстве сварочных работ должно быть не менее 5 м.
11. Освещенность рабочего стола сварщика должна быть не менее 150 лк при искусственном освещении и не менее 100 лк при естественном.
12. При использовании природного газа, смеси природных и искусственных газов, а также технического пропана при газопламенной обработке металла, сварщик должен руководствоваться «Правилами техники безопасности и производственной санитарии при производстве ацетилена, кислорода и проведения газопламенной обработке металла», «Правилами безопасности в газовом хозяйстве» и «Правилами устройства и безопасности эксплуатации сосудов, работающих под давлением.
Заключение
В курсовом проекте изучен технологический процесс ремонта ударной розетки, определены условия эксплуатации детали, рассмотрен существующий технологический процесс ремонта ударной розетки, выбрано технологическое оборудование и оснастка для механической обработки ответственных узлов ударной розетки, получены навыки оформления технологических документов, составления алгоритма изготовления детали.
Список используемых источников
1 Г. Ф. Гусев, В. А. Королев «Проектирование технологических процессов ремонта деталей вагонов» Ч.1, Омск, 1997 г.
2 Г. Ф. Гусев, В. А. Королев, Л. А. Пасечникова «Проектирование технологических процессов ремонта деталей вагонов» Ч.2, Омск, 1998 г.
3 Г.Ф. Гусев, В.В. Зубенко «Комплектация и оформление технологических документов при ремонте вагонов»: Методические указания при курсовом проектировании / Г. Ф. Гусев, В. В. Зубенко; Омский гос. Ун-т путей сообщения. Омск, 2006. 54 с.
4 Быков Б.В., Пигарев В.Е. Технология ремонта вагнонов: Учебник для средних специальных учебных заведений ж.-д. трансп. — М.: Желдориздат, 2001. — 559 с.
5 Технология производства и ремонта вагонов: Учебник для вузов ж.-д. трансп. / К. В. Мотовилов, В.С. Лукашук, В.Ф. Криворудченко, А.А. Петров; Под ред. К.В. Мотовилова. — М.: Маршрут, 2003. — 382 с.
6 Инструкция по ремонту и обслуживанию автосцепного устройства подвижного состава железных дорог Российской Федерации. ЦВ-ВНИИЖТ-494
7 Автосцепка. Устройство, эксплуатация и ремонт. В. Г. Голованов, В. И. Ладыгин.
8 Автосцепное устройство железнодорожного подвижного А22 состава/В. В. Коломийненко, Н. А. Костина, В. Д. Прохоренков, В. И. Беляев. - М.: Транспорт, 1991 – 232 с.
9 Справочник технолога-машиностроителя. В 2-х т. Т. 1/Под ред. А. Г. Косиловой и Р. К. Мещерякова,— 4-е изд., перераб. и доп. — М.: Машиностроение, 1986. 656 с, ил.
10 Справочник технолога-машиностроителя. В 2-х т. С74 Т. 2 /Под ред. А. Г. Косиловой и Р. К. Мещерякова.— 4-е изд., перераб. и доп. — М.: Машиностроение, 1986. 496 с, ил.
Похожие рефераты:
Технология ремонта автосцепки СА-3
История и развитие сварочного производства
Проект пассажирского вагонного депо с разработкой контрольного пункта автосцепки
Моделирование тепловых процессов при наплавке порошковой проволокой
Вагонное хозяйство железных дорог
Ремонт крана мостового грузоподъемностью 5т. Ремонтируемый узел – механизм подъема
Расчет устройства для наплавки валов
Железнодорожный транспорт Украины
Проектирование цеха ремонта поршневых компрессоров
Технология восстановления чугунных коленчатых валов двигателей ЗМЗ-53А
Грузовые вагоны нового поколения
Технология производства металлических электродов
Проектирование восьмиосной цистерны модели 15-1500
Организация работы роликового участка ВЧД по ремонту четырехосных цистерн
Разработка технологического процесса ремонта цилиндрической крышки дизеля ПД-1М