| Похожие рефераты | Скачать .docx |
Курсовая работа: Организация работы роликового участка ВЧД по ремонту четырехосных цистерн
Министерство транспорта Российской Федерации
Федеральное агентство железнодорожного транспорта
Государственное общеобразовательное учреждение высшего профессионального образования
Самарский государственный университет путей сообщения
Кафедра “Вагоны”
Курсовая работа
по дисциплине “Вагонное хозяйство”
на тему
“Организация работы роликового участка ВЧД по ремонту четырехосных цистерн”
Выполнил: студент группы № 561
Усков О.С.
Проверил: Жебанов А.В.
Самара 2010
Задание
Организация работы роликового участка ВЧД по ремонту крытых вагонов
Nгод = 5600 вагонов
Nтр = 12%
Nврз = 8%
Аннотация
В данной курсовой работе производится проектирование перспективного участка по ремонту роликовых букс крытых вагонов, также здесь рассматривается анализ существующих методов ремонта вагонов с выделением поточного метода. Указывается назначение, структура и программа заданного участка, описывается технологический процесс ремонта буксовых узлов на участке, приводится список потребного оборудования и список рабочей силы. Также приводится расчет основных размерных параметров участка, и описываются мероприятия по охране труда и технике безопасности на участке.
Работа состоит из 68 листов формата А4 и включает в себя 4 таблицы, три рисунка и лист графической части формата А1 с изображением проектируемого участка. В списке использованных литературы указано 11 источников.
Оглавление
Введение
1. Назначение, производственная структура и программа роликового участка
2. Режим работы и фонды рабочего времени
3. Выбор метода ремонта на роликовом участке
4. Расчет параметров производственного процесса
5. Технология ремонта буксовых узлов на роликовом участке
5.1 Ремонт деталей буксового узла
6. Выбор потребного оборудования
7. Расчет рабочей силы
8. Расчет основных размерных параметров участка
9. Мероприятия по охране труда и технике безопасности
Заключение
Список использованных источников
Введение
Важнейшими направлениями работы железнодорожного транспорта в условиях последнего десятилетия, связанного с изменением экономической и политической ситуации, являются приведение технического потенциала отрасли в соответствие с потребностями экономики в перевозках, значительное повышение эффективности транспортного процесса, переход на наиболее экономичные и прогрессивные технологии.
Структурная реформа железнодорожного транспорта России требует в кратчайшие сроки решения задач по обновлению технических средств, внедрения ресурсосберегающих и информационных технологий, способствующих повышению качества ремонта подвижного состава и экономии эксплуатационных расходов.
Вагонному хозяйству отводится важное место в организации перевозочного процесса.
На долю вагонного хозяйства приходится пятая часть основных фондов и эксплуатационных расходов всего железнодорожного транспорта.
Важно научиться грамотно распоряжаться этими фондами с целью получения максимальной прибыли при их эксплуатации.
На эффективность функционирования вагонного хозяйства влияет огромное количество факторов, которые можно сгруппировать в четыре «суперфактора»:
- надежность и безопасность вагонов;
- уровень развития ремонтной базы;
- человеческий фактор;
- добротность информационной базы.
Поэтому в сложившихся условиях необходимо:
- внедрение на транспорте новых принципов и форм хозяйствования;
- использование в полной мере информационного ресурса и достигнутого объема знаний.
Будущий специалист должен:
- знать основные составляющие инфраструктуры ремонта и технического обслуживания вагонов;
- изучить сложившиеся формы организации работы по исполнению основных функций вагонного хозяйства и многоуровневого управления вагоноремонтными предприятиями;
- освоить методологию критического анализа основных функций вагонного хозяйства;
- изучить методику оптимизации системы ремонта и нормативного срока службы вагонов;
- знать, что вагонное хозяйство – большая и сложная система, элементами которой являются ремонтные предприятия, вагоны, органы управления, технологии управления и ремонта и т.п.
1. Назначение, производственная структура и программа роликового участка
Роликовое отделение предназначено для подготовки колесных пар с роликовыми буксами к ремонту, диагностики технического состояния элементов колесной пары и ее буксовых узлов, демонтажа роликовых букс с колесной пары, ремонта и подготовки к монтажу корпусов букс и крепительных элементов (крепительных крышек, болтов, шайб и пр.), монтажа роликовых букс на колесную пару, приемки и окраски колесных пар.
Роликовое отделение цеха расположено в отдельно стоящем здании, где демонтируются буксы с роликовыми подшипниками. В состав роликового отделения входит участок входного и неразрушающего контроля колесных пар, поступающих в ремонт. Участок оснащен средствами измерений, дефектоскопной установкой УМДП-01 и Р86179, а также дефектоскопом УД2-12. В роликовом отделении производится полная разборка букс с роликовыми подшипниками. При этом производятся следующие работы: разборка буксовых узлов, обмывка деталей и подшипников, осмотр и ремонт деталей, восстановление корпусов букс корпуса подшипников подвергаются магнитопорошковому и вихретоковому контролю, монтаж лабиринтных и внутренних колец (колесные пары отремонтированы со сменой элементов) и окончательная сборка буксовых узлов. Корпуса роликовых букс с размерами не обеспечивающими требовании НТД направляются на участок восстановления наплавкой. Этот участок оборудован тремя постами полуавтоматической наплавки в среде углекислого газа в водяной ванне и горизонтально – фрезерным станком для механической обработки наплавленных поверхностей. Работа по ремонту ведутся в полном соответствии с разработанным и утвержденным технологическим процессом. Работа организована в две смены с продолжительностью смены 8 часов. Комплектующие и запасные части поступают согласно норм расхода из складских помещений.
Программа участков и отделений депо определяется исходя из программы вагоносборочного участка и программы ремонта и изготовления деталей и узлов для технического обслуживания вагонов.
Программу ремонта и изготовления деталей и узлов для технического обслуживания вагонов можно принять по процентному соотношению к программе ремонта и изготовления соответствующих деталей и узлов для вагоносборочного участка.
Программа для роликового участка:
![]()
![]()
Таким образом, принимаем программу участка равной 20850 КП. [1],[9]
2. Режим работы и фонды рабочего времени
При проектировании участков вагонных депо рекомендуется принимать двухсменный режим работы, прерывную пятидневную рабочую неделю с двумя выходными днями и продолжительностью рабочей смены 8 ч. Для работающих во вредных или тяжелых условиях в соответствии с законодательством продолжительность смены принимается на 1 ч меньше.
Для выполнения заданной программы ремонта вагонов и более полного использования технологического оборудования часто используют следующие графики работы с продолжительностью рабочей смены 12ч.: при двухсменном графике – 2 дня рабочих и 2 дня выходных; при трехсменном – Д- дневная смена с 700 до 1900 , Н- ночная смена с 1900 до 700 и 48 часов выходных.
Фонды рабочего времени работы участков, оборудования и рабочих определяются по следующим формулам:
а) годовой фонд времени явочного рабочего с нормальной продолжительностью рабочего дня в ч
Fяв = (Дк – dнр )tсм – dск tск
где Дк - число календарных дней в году;
dнр - число нерабочих дней;
t см - нормированная продолжительность рабочего дня;
dск - количество дней в году с сокращенным на 1 ч рабочим днем;
t ск = 1 ч - величина сокращения времени рабочего дня;
Fяв = (365 – 1 – 182) · 11,5 = 2093 ч;
б) годовой фонд времени работы участка в ч
Fуч = Fяв . m,
где m– сменность работы участка;
Fуч = 2093 · 2 = 4186 ч;
в) действительный годовой фонд времени работы оборудования

где
= 4% - коэффициент, учитывающий потери времени на ремонт оборудования.

роликовый букса вагон ремонт
3. Выбор метода ремонта на роликовом участке
На вагоноремонтных предприятиях применяются два метода ремонта: стационарный и поточный. Ведущее место занимает поточный метод, который отличается экономической эффективностью.
Стационарный метод характеризуется большой продолжительностью цикла и сравнительно низкой производительностью труда. Стационарный метод заключается в том, что все работы от начала и до конца выполняются на немногих или на одном рабочем месте. За пределы этого места выносятся только те операции, выполнение которых связано с применением специализированного оборудования. Различают две разновидности стационарного метода:
1) стационарно-бригадный, построенный по принципу концентрации операций технологического процесса, выполняемых на одном рабочем месте;
2) стационарно-узловой, построенный на основе расчленения технологического процесса на отдельные операции по технологическим узлам.
При стационарно-бригадном методе полный цикл работ по ремонту вагонов и его узлов последовательно выполняется на одном рабочем месте, одной бригадой рабочих без разделения труда между ними. Эта форма организации труда характеризуется большим сосредоточением на одном рабочем месте разнообразных по форме и содержанию ремонтно-сборочных работ. Операции процесса разборки-сборки осуществляются в последовательном порядке, вследствие чего общая продолжительность ремонтного цикла и трудоемкость работ увеличиваются, а производительность труда снижается.
При стационарно-узловом методе полный цикл ремонтно-сборочных работ расчленяется на узловую и общую сборку; при чем общую сборку выполняет основная комплексная бригада, а ремонт и сборку деталей и узлов – другие группы рабочих. Применение стационарно-узлового метода позволяет за счет уплотнения и параллельности выполнения операций значительно сократить длительность производительного цикла, уменьшить трудоемкость ремонтно-сборочных работ.
Для обоих видов стационарного метода характерны следующие недостатки:
а) потребность в большом количестве рабочей силы высокой квалификации;
б) неполное использование оборудования и средств механизации;
в) низкая производительность труда.
При увеличении фронта работ эти недостатки проявляются ярче, и устранить их можно только поточным методом.
Поточный метод – это метод, при котором производительный процесс обработки или сборки деталей узлов расчленяется на равные по продолжительности операции, выполняемые при помощи специальных транспортных средств. Движение обрабатываемых или собираемых деталей обеспечивается соблюдением равенства или пропорциональности производительности рабочих мест и соответствия производительности установленному ритму.
Поточные методы организации производства становятся основной формой организации производственного процесса. В поточном производстве наиболее точно осуществляется пропорциональность, ритмичность, параллельность и непрерывность процессов на основе внедрения передовой техники, комплексной механизации и автоматизации производственных процессов. Поточный метод становится важным этапом на пути перехода к автоматизированному производству. Производство, организованное по поточному методу характеризуется следующими признаками:
1) разделением производственного процесса на составные, одинаковые или кратные по трудоемкости выполнения операции, установленные при рациональной последовательности их выполнения;
2) распределением операций по определенным рабочим местам и последовательным расположением рабочих мест и оборудования по ходу технологического процесса;
3) специализацией рабочих мест на выполнение определенных операций;
4) выполнением всех операций с возможно меньшими перерывами (почти непрерывными) и единым для всего производственного цикла ритмом;
5) осуществлением межоперационной передачи ремонтируемых изделий или узлов поштучно или небольшими партиями с одной позиции на другую;
6) одновременностью выполнения работ на всех рабочих местах (позициях) поточной линии;
7) высокой степенью механизации и автоматизации технологического оборудования на отдельных операциях по всему технологическому процессу.
Среди важнейших организационных особенностей поточного производства следует отметить специализацию, сокращение номенклатуры и увеличение выпуска изделий. При несоблюдении какого-либо из этих условий возможность организации поточного производства не исключается, однако оно будет менее экономичным.
Поточный метод производства отличается большим разнообразием форм и высокой организационно технической гибкостью.
При стационарном методе буксовый узел на роликовых подшипниках от начала до конца ремонта находится на одних и тех же рабочих местах. На каждом из них производится полный комплект работ по ремонту буксового узла. Все рабочие места оснащаются самостоятельным комплектом технологической оснасткой. Большое число выполняемых технологических операций и ограниченная производственная площадь. Требуется повторять комплектность оснастки либо перемещать ее от одного буксового узла к другому, что увеличиваем норму простоя буксы в ремонте.
При этом методе ремонта особое значение имеет график работ, так как значительная плотность работ при ограниченном времени на их выполнение требует строжайшего соблюдения технологической дисциплины. Работы по ремонту осуществляют специализированные и комплексные бригады рабочих, которые последовательно переходят с одного буксового узла на другой и заканчивают к обеденному перерыву. Затем подается следующая партия роликовых букс, которая выпускается из ремонта к концу первой смены. За счет большой плотности работ интенсивности и параллельности их выполнения, роликовые буксы находятся минимальное время.
При проектировании участка по ремонту роликовых букс выбираем стационарный метод ремонта в связи с малой площадью участка и большой потребности в рабочей силе. [1], [2], [5], [9]
4. Расчет параметров производственного процесса
Для роликового отделения рассчитываем:
- количество ремонтируемы колесных пар за сутки
![]()
- количество ремонтируемых колесных пар за смену
![]()
5. Технология ремонта буксовых узлов на роликовом участке
После оприходования бригадиром колесных пар и определения вида ремонта, колесные пары с буксами на роликовых подшипниках, подлежащих полной ревизии, поступают в демонтажное отделение, где производится демонтаж буксовых узлов и обмывка колесных пар.
Демонтаж буксовых узлов. При демонтаже буксы не допускается сбрасывать ее с шейки оси. Запрещается использовать любой ударный инструмент для удаления подшипников из корпуса.
При демонтаже букс с роликовыми подшипниками на горячей посадке, работы выполняются в следующем порядке:
- отвернуть болты крепительной крышки, а затем снять крепительную крышку вместе со смотровой;
- удалить смазку с крышки и из передней части буксы;
- отвернуть и снять болты стопорной планки или тарельчатой шайбы. Планку или шайбу снять;
- отвернуть и снять торцевую гайку, а также упорное кольцо переднего подшипника;
- снять корпус буксы вместе с блоками подшипников (наружное кольцо с сепаратором и роликами) с внутренних колец, насаженных на шейку оси;
- вынуть из корпуса буксы блоки подшипников;
- снять при необходимости внутренние кольца и лабиринтное кольцо с шейки оси.
При демонтаже буксовых узлов, собранных с применением анаэробных клеев–герметиков типа «Трибопласт» возникают трудности, связанные со значительной прочностью полученных резьбовых соединений. После демонтажа клеерезьбовых соединений буксовых узлов отвержденный клей–герметик удаляется с резьбы металлической щеткой и обтирочными материалами.
Подготовка к монтажу. Промывка подшипников и деталей букс. Роликовые подшипники 30-42726Е2М, 30-232726Е2М после демонтажа промываются в моечной машине мыльной эмульсией, подогретой паром до t 90о – 95о С, и просушиваются. Новые роликовые подшипники также промываются в машине.
Моющая жидкость (мыльная эмульсия) моечной машины должна содержать 8–10 % отработанной смазки ЛЗ-ЦНИИ. Для промывки новых подшипников допускается применять моющую жидкость с содержанием 1,0–1,5 % смазки ЛЗ-ЦНИИ.
Корпуса букс, смотровые и крепительные крышки, лабиринтные кольца, гайки, стопорные планки и болты промываются в моечной машине двумя моющими жидкостями при температуре не ниже 90О С. Первая моющая жидкость содержит 2–5 % каустической соды, а вторая – 8-10% отработанной смазки ЛЗ-ЦНИИ от объема воды.
После промывки колесных пар вместе с внутренними и лабиринтными кольцами после выкатки колесных пар из моечной машины производить протирку колец обтирочным хлопчатобумажным материалом и покрытие их жидким индустриальным маслом.
Осмотр и комплектовка подшипников. Ремонт подшипников. Бывшие в эксплуатации подшипники (передний 30-232726Е2М, задний 30-42726Е2М) после промывки и просушки слесарь осматривает (при помощи лупы) и измеряет для определения их пригодности к дальнейшему использованию. Неисправные подшипники направляются в ремонт. При выпадении отдельных роликов из гнезд сепаратора измеряют диаметр и длину всех роликов.
Подшипники новые и бывшие в эксплуатации после промывки, просушки, остывания, осмотра или ремонта комплектуются по радиальным и осевым зазорам, по диаметрам отверстий внутренних колец.
Измерения подшипников производить после выдержки их в комплектовочном отделении не менее 8 часов.
Новые подшипники при поступлении на предприятие дополнительно к указанному выше осмотру, подвергаются 100% входному контролю на их соответствие требованиям ГОСТ 520–92. Контроль заключается в проверке: качества обработки колец, роликов и сепараторов; соответствия геометрии отверстий внутренних колец требованиям ТУ; радиальных и осевых зазоров; разности длин и диаметров роликов; наличия трещин и других видимых дефектов в кольцах, роликах и сепараторах. При обнаружении ненадлежащего качества оформляются рекламационные документы по качеству поставляемой продукции.
Подшипники осматривают для определения вида ремонта. Ремонт подшипников делится на два вида:
- первый – без переборки роликов;
- второй – с переборкой (измерением и подборкой роликов по диаметру и длине).
Первый вид ремонта подшипников производится без переборки роликов (без измерения роликов по диаметру и по длине) при замене сепаратора, зачистке (шлифовке) бортов колец, замене наружного или внутреннего колец, зачистке (шлифовке) дорожек качения колец. Кольца подвергаются магнитному контролю дефектоскопной установкой УМДП 9402. Ролики проверяются на вихретоковом дефектоскопе ВД–13 НФ.
Второй вид ремонта подшипников производится с переборкой роликов (с измерением роликов по диаметру и длине) производят при замене роликов (независимо от количества сменяемых роликов), выпадении отдельных роликов из гнезд сепаратора, зачистке (шлифовке) образующих роликов и торцов роликов, замене латунных сепараторов на полиамидные Е2М. Кольца подвергаются магнитному контролю дефектоскопной установкой УМДП 9402. Ролики проверяются на вихретоковом дефектоскопе ВД–13 НФ.
При втором виде ремонта подшипник полностью разбирают. При выпадении отдельных роликов из гнезд сепаратора проверяют диаметр и длину всех роликов и подшипник вновь собирают. При этом разность диаметров роликов в подшипнике должна быть не более 5 мкм, а разность длин роликов - не более 12 мкм. После разборки все детали осматривают. При необходимости ролики и кольца шлифуют.
Полиамидные сепараторы Е2М подвергаются контролю на наличие трещин и других дефектов с помощью прибора КС-221 А.
Годные ролики подшипников сортируют (измеряют) по диаметрам в трех сечениях (в середине и по краям) цилиндрической части. Измерение роликов после зачистки производят не ранее, чем через один час.
При комплектовке подшипников производится обязательная замена латунного сепаратора на сепаратор из стеклонаполненного полиамида.
Отремонтированные подшипники осматривают и проверяют по радиальному зазору: среднее арифметическое значение радиального зазора должно быть 0,09–0,20 мм. Разность крайних значений радиального зазора при трех измерениях щупом не должна превышать 20 мкм у цилиндрического подшипника.
На отремонтированные подшипники, используя прибор для поверхностного электромеханического маркирования, наносят следующую надпись: на наружном кольце подшипника после номера ставят букву РI или РII в зависимости от вида ремонта, месяц римскими цифрами и две последние цифры года и условный номер ВКМ «114».
Запрещается постановка внутренних колец подшипников изготовленные из стали ШХ 15, ШХ 15 СГ, ШХ 15 СГШ. Установке подлежат внутренние кольца изготовленные из стали регламентированной прокаливаемости ШХ 4.
На торцевую часть внутренних колец со стороны скоса наносится маркировка:
новые внутренние кольца – номер подшипника, дата изготовления, условный номер завода изготовителя;
старые и ремонтные внутренние кольца – порядковый номер кольца (присваивается нарастающим с начала месяца), месяц и год постановки, условный номер предприятия проводившего полную ревизию буксового узла.
Маркировка внутренних колец заносится в журнал формы ВУ-90 в графе «примечание».
Перед сборкой блоков подшипников ролики, дорожки качения и борта наружных колец смазывают препаратом–модификатором эМПи–1 (смесь минерального масла и активного компонента - порошка дисперсностью не более 10 мкм), предназначенный для снижения износа, коэффициента трения и предотвращения задиров на трущихся поверхностях. Смазывание блока подшипника производят из масленки (с применением мерного стаканчика) с последующим многократным проворачиванием сепаратора с роликами в наружном кольце.
Измерение радиальных зазоров. Радиальные зазоры в свободном состоянии цилиндрических подшипников следует определять на приспособлении, как это показано на рисунке 5.1. Для этой цели на приспособлении укрепляют эталонное внутреннее кольцо 2 с бортом. Для удобства установки подшипников к внутреннему кольцу устанавливают специальную конусную оправку 1.
При установке двух цилиндрических подшипников после демонтажа или установке новых подшипников допускается производить контроль значений и разности радиальных зазоров парных подшипников непосредственно на шейке оси.
За радиальный зазор принимают среднее арифметическое значение трех измерений при повороте наружного кольца на 120о вокруг оси. Полученные радиальные зазоры записывают карандашом на наружной или торцевой поверхностях соответствующих наружных колец подшипников, а также в журнал формы ВУ–90.
Величины радиальных зазоров подшипников для грузовых вагонов составляют:
- в свободном состоянии 0,09 – 0,25 мм;
- непосредственно на шейке оси менее 0,04 мм.
Измерение осевого зазора в подшипнике. Осевой зазор – зазор между торцами роликов и бортами наружных колец. Для предотвращения заклинивания роликов зазор должен быть не менее 0,06 мм.
Осевой зазор измеряют щупом, который вставляют между торцом одного из роликов и бортом наружного кольца. Измерения производят в трех местах при повороте наружного кольца вокруг оси. За осевой зазор принимают его минимальное значение.
Подбор парных подшипников. Парные подшипники, устанавливаемые на одну шейку оси, подбирают по радиальным зазорам. Разность радиальных зазоров у двух парных подшипников должна соответствовать 0,02 мм (при измерении радиального зазора со своими внутренними кольцами) или 0,01 мм (при измерении радиального зазора с применением эталонного кольца).
Радиальный зазор непосредственно на шейке оси определяют щупом в нижней части подшипника или специальным приспособлением с индикатором часового типа. За радиальный зазор принимают среднее арифметическое значение трех измерений при повороте наружнего кольца на 120О вокруг оси. Разность радиальных зазоров непосредственно на шейке оси должна соответствовать 0,00; 0,01 или 0,02 мм.
Парные подшипники должны обеспечивать смещение корпуса буксы по отношению к шейке оси в осевом направлении в пределах осевого разбега.
Осевой разбег двух цилиндрических подшипников, устанавливаемых на одну шейку оси, замеру не подлежит и обеспечивается конструкцией подшипников при условии правильности постановки двух подобранных подшипников в буксу (маркировки блоков подшипников должны быть обращены наружу буксы) и находится в пределах 0,68–1,38 мм.

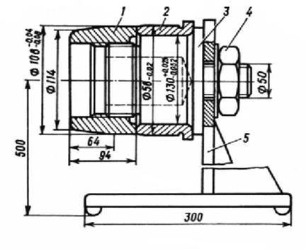
Рисунок 5.1 - Приспособление для измерения радиальных зазоров
1 – конусная оправка; 2 – эталонное кольцо; 3 – оправка; 4 – гайка; 5 – стойка;
Измерение диаметра внутреннего кольца подшипника. У цилиндрических подшипников внутренние кольца подбирают на шейку оси по натягу, который создается за счет разности диаметров внутренних колец и шейки оси (диаметр кольца должен быть меньше диаметра шейки на величину натяга).
Диаметр отверстия внутреннего кольца подшипника измеряют приборами УД-2В или прибором модели БВ–7492–01 в двух сечениях на расстоянии 10 мм от торца. Для подсчета натяга принимают среднее арифметическое значение отклонений измерительной головки при измерении в двух сечениях кольца.
Для облегчения подбора подшипников по шейке оси в пределах допускаемого натяга внутренние кольца подшипников могут быть разделены на группы I, II, III, IV в зависимости от отклонения посадочного диаметра от номинального размера:
- в первую группу входят внутренние кольца с отклонениями диаметра отверстия от 0 до 8 мкм;
- во вторую группу входят внутренние кольца с отклонениями диаметра от -9 до -17 мкм;
- в третью группу входят кольца с отклонениями от -18 до -25 мкм.
По результатам измерений на посадочной поверхности внутреннего кольца отмечают карандашом среднее арифметическое значение отклонения от номинального размера или номер группы, к которой данное кольцо отнесено по результатам измерений.
Натяг на посадку внутренних колец подшипников должен быть 0,030–0,065 мм. При радиальном зазоре, замеренном в свободном состоянии более 0,12 мм натяг может быть 0,07 мм.
Рекомендуемое деление на размерные группы по среднему значению диаметра отверстия внутреннего кольца приведено в таблице 5.1.
Таблица 5.1 - Размерные группы внутренних колец подшипников
| Размерная группа | Среднее значение диаметра отверстия внутреннего кольца, мм |
| I | 129,992 – 130,000 |
| II | 129,983 – 129,991 |
| III | 129,975 – 129,982 |
| IV | 129,935 – 129,950 |
Разрешается применение внутренних колец подшипников у пассажирских и грузовых колесных пар при выпуске из ремонта с допусками на размер 130 мм (-0,035 – 0,07) мм с использованием осей типа РУ1 и РУ1Ш с диаметрами шеек осей 129,960 мм – 130,052 мм без их восстановления при условии соблюдения натяга в пределах 0,03 – 0,07 мм.
Осмотр корпусов букс. После промывки корпуса осматривают. Внутреннюю посадочную поверхность корпуса буксы, упорный буртик и лабиринтную часть зачищают от коррозии, заусенцев и протирают концами, смоченными керосином, а затем сухими. На посадочной поверхности корпуса буксы после устранения коррозионных повреждений допускаются темные пятна, т.е. нельзя зачистку поверхности доводить до металлического блеска.
Посадочную поверхность (внутренний диаметр) корпуса буксы проверяют индикаторным нутромером НИ на соответствие размерам п. 6.1 Инструкции 3–ЦВРК (Утв. 01.04.2001 г.).
Корпуса букс, имеющие износ по посадочной поверхности (диаметру отверстия) выше допускаемой нормы, а также с повреждениями лабиринтной части, резьбовых отверстий и другими повреждениями подлежат ремонту.
Запрещается сдавать в металлический лом корпуса букс, подлежащие ремонту. Изношенные поверхности корпусов букс подлежат восстановлению наплавкой. При поступлении новых корпусов букс производить 100 % контроль резьбы М20 проходными и непроходными калибрами.
Осмотр деталей буксового узла. Лабиринтные кольца после зачистки и промывки протирают и проверяют на соответствие размеров. На посадочных поверхностях и в лабиринте не допускаются трещины, вмятины, забоины, заусенцы и другие неисправности. Посадочный диаметр лабиринтного кольца 165,0+0,12 мм, овальность отверстия 165 мм не более 0,1 мм, конусообразность отверстия по диаметру 165 мм не более 0,05 мм. Замеры производятся индикаторным нутромером НИ ГОСТ 868–82 в двух взаимно перпендикулярных направлениях.
Крепительные и смотровые крышки после зачистки и промывки осматривают. Соединенные между собой крепительные и смотровые крышки разъединяют для замены и вновь собирают. На крышках не допускаются трещины, вмятины, забоины, задиры, заусенцы, перекосы и другие дефекты. Смотровые крышки, деформированные по привалочной поверхности, выравнивают.
Гайки, стопорные планки, шайбы и болты после промывки должны быть осмотрены. На них не допускаются забоины, заусенцы и другие неисправности, влияющие на работу узла.
Резиновые кольца, устанавливаемые между крепительной крышкой и буксой, а также прокладки между крышками независимо от их состояния заменяют при каждой полной ревизии букс.
Дефектоскопист проводит внешний осмотр поверхности стопорных планок (с применением, при необходимости, лупы) на наличие рисок, задиров, забоин и других видимых глазом дефектов. Выявленные при осмотре дефекты устраняются зачисткой. Если при внешнем осмотре стопорных планок обнаружены недопустимые дефекты, то такие планки к проведению магнитопорошкового контроля не допускаются.
Соответствие геометрических параметров стопорной планки проверяется при помощи шаблона на стопорную планку ШСП.
Основные контролируемые размеры:
- угол наклона хвостовика (40 + - 30 );
- расстояние между осями отверстий планки (55 + - 0,5 ) мм;
- диаметр отверстия планки (13 + 0,24 ) мм.
Стопорные планки, проверенные по шаблону, подвергаются дефектоскопированию магнитопорошковым методом контроля на дефектоскопе МД-12 ПШ.
После дефектоскопирования стопорных планок перед постановкой в буксовый узел при производстве полной ревизии должны набиваться клейма: месяц, год и условный номер ВКМ «114». Клейма наносить между отверстиями под болты М12. При необходимости старые клейма зачистить.

Рисунок 5.2 – Контроль стопорных планок
Монтаж буксового узла. Колесные пары, поступающие на монтаж, устанавливаются в ряд на рельсовые пути монтажного отделения.
К монтажу допускаются подшипники и колесные пары, имеющие температуру окружающей среды.
Весь измерительный инструмент, а также приборы, применяемые при монтаже букс и комплектовании подшипников, должны подвергаться периодической проверке, содержаться в чистоте и полной исправности.
За техническое состояние шеек, предподступичных частей осей и их размеры отвечают работники колесного цеха, работники роликового цеха несут ответственность за монтаж буксового узла.
Монтаж лабиринтных колец и внутренних колец подшипника способом холодной напрессовки. Подготовка лабиринтных колец, внутренних колец подшипника и оси колесной пары к запрессовке должна производиться с соблюдением следующих требований:
- в зонах переходов от посадочных поверхностей к торцевым заусенцы не допускаются и должны быть тщательно зачищены;
- на оси колесной пары заходные фаски на торцах шеек и предподступичных частях.
Допускается удаление острых кромок и заусенцев в указанных зонах шлифовальной бумагой с зернистостью 6 с применением масла.
Посадочные поверхности шеек и предподступичных частей оси, внутренних колец и лабиринтных колец должны быть тщательно очищены и насухо протерты.
Посадочные поверхности шеек и предподступичных частей оси, внутренних колец и лабиринтных колец должны быть покрыты ровным тонким слоем пасты ВНИИНП-232 по ГОСТ 14068-79.
Внутренние кольца подшипников и лабиринтные кольца и ось колесной пары должны иметь одинаковую температуру.
Допускается превышение температур лабиринтных колец и внутренних колец подшипников над температурой оси не более трех градусов.
Лабиринтные кольца для посадки на предподступичную часть оси бригадир роликового цеха подбирает по натягу, который создается за счет разности диаметров кольца и предподступичной части. Для определения натяга внутренний диаметр лабиринтного кольца измеряют индикаторным нутромером НИ ГОСТ 868–82, а диаметр предподступичной части оси измеряют микрометром гладким МК ГОСТ 6507–90. Измерения производят в двух взаимно-перпендикулярных направлениях.
По результатам этих измерений определяют средние диаметры лабиринтного кольца и предподступичной части оси, по которым и производят подсчет натяга. Диаметр лабиринтного кольца должен быть меньше диаметра предподступичной части оси на значение допускаемого натяга в пределах 0,02–0,15 мм.
Внутренние кольца подшипников для запрессовки на шейку оси бригадир роликового цеха подбирает по натягу, который создается за счет разности диаметров колец и шейки оси.
Для определения натяга на посадку внутренних колец измеряются диаметры шеек осей в двух сечениях, соответствующих серединам внутренних колец подшипников, и в двух взаимно перпендикулярных направлениях. Шейки осей колесных пар, аналогично внутренним кольцам, в зависимости от их отклонения от номинальных размеров также могут быть разбиты на три размерные группы. Рекомендуемое деление шеек осей на размерные группы по посадочному диаметру приведено в таблице 5.2.
Таблица 5.2 - Размерные группы шеек осей по посадочному диаметру
| Размерная группа | Среднее значение диаметра шейки оси, мм |
| I | 130,043 – 130,052 |
| II | 130,034 – 130,042 |
| III | 130,025 – 130,033 |
| IV | 129,960 – 130,052 |
По результатам этих измерений определяют средние диаметры шеек осей. Полученные средние значения отклонений от номинальных размеров или номер группы пишут на наружной грани обода колеса.
Внутренние кольца первой группы устанавливают на шейку оси первой группы, кольца второй группы – на шейку оси второй группы и т.д. На правую и левую шейки оси одной колесной пары могут быть установлены кольца различных групп.
Запрессовка колец на ось производится на прессе холодной напрессовки ГД-503М, который обеспечивает скорость движения плунжера 2,5…4 мм/с.
За один ход плунжера пресса обеспечивается одновременная запрессовка на ось всего комплекта колец: двух внутренних колец подшипников и лабиринтного кольца.
Запрессовка подшипников на ось должна обеспечивать:
- натяги внутренних колец на шейке 0,040…0,065 мм. Допускается для типового подшипника натяг 0,070 мм при условии, что радиальный зазор в нем более 0,12 мм.;
- натяги лабиринтного кольца на предподступичной части 0,04…0,15 мм.;
- конечные усилия запрессовки на ось всего комплекта колец: двух внутренних колец подшипников и лабиринтного кольца 68,8…176,6 кН (6,5…18,0 тс) (15…40,9 кгс/см2 ).
- усилия запрессовки на ось двух внутренних колец подшипников 44,1…127,4 кН (4,5…13,0 тс) (10,2…29,5 кгс/см2 ).
- предельные усилия обжатия запрессованных на ось всего комплекта колец: двух внутренних колец подшипников и лабиринтного кольца 245,2…294,3 кН (25,0…30,0 тс) (57,0…68,8 кгс/см2 ).
Предельные усилия обжатия должны поддерживаться при упоре в торец предподступичной части оси всего комплекта напрессованных на ось деталей монтируемых буксовых узлов в течение 3…5секунд.
Допускается запрессовка одного и того же комплекта колец на одну и ту же сторону оси колесной пары не более двух раз.
Конечные усилия запрессовки двух внутренних колец подшипников на ось должны фиксироваться и заноситься в монтажный журнал формы ВУ-90 в графу 24.
Скорость движения плунжера следует контролировать после ремонта пресса или замены масла, но не реже одного раза в полгода.
Плотность прилегания внутренних колец друг к другу и к лабиринтному кольцу контролируется щупом. Пластина щупа толщиной не более 0,04 мм может войти в зазор между деталями на участке длиной не более 1/3 окружности.
После этого приступают к монтажу букс. Перед установкой буксы на шейку оси в лабиринтное кольцо закладывают смазку ЛЗ-ЦНИИ в количестве 100 г., равномерно распределенную по всему периметру.
Монтаж буксового узла. Цилиндрические подшипники, устанавливаемые на одну шейку оси, бригадир подбирает по радиальным и осевым зазорам, а внутренние кольца – по размерам внутренних диаметров.
Перед монтажом корпусов букс с блоками подшипников на шейку оси контролируют плотность посадки внутренних колец на шейке оси специальным приспособлением.
В корпус буксы после покрытия его посадочной поверхности тонким слоем масла последовательно вручную вставляют блок (наружное кольцо с роликами) заднего подшипника так, чтобы сторона кольца с маркировкой была обращена к лабиринтной части буксы, и блок переднего подшипника так, чтобы его торец с маркировкой был обращен к передней части корпуса.
Роликовые подшипники, установленные в буксы, и проточки лабиринтной части буксы или лабиринтного кольца полностью заполняют по всему периметру смазкой ЛЗ-ЦНИИ. При этом в подшипниковые блоки и свободное пространство между задним подшипником и лабиринтным кольцом закладывают 0,5 - 0,6 кг, а в лабиринтное уплотнение - 0,1 кг.
Корпус буксы с установленными блоками подшипников надвигают на внутренние кольца. Тугое перемещение корпуса буксы означает, что были допущены нарушения в подборе радиальных зазоров. Корпус буксы с блоками подшипников на внутренние кольца должен устанавливаться свободно, без особого усилия.
После установки корпуса буксы на шейку надевают упорное кольцо переднего подшипника маркировкой, обращенной к передней части корпуса буксы, на резьбовую часть оси навинчивают гайку М110х4 высотой 51 мм. Гайки предварительно подбирают по резьбе шейки оси для обеспечения наименьшего зазора в резьбовом соединении.
Запрещен выпуск колесных пар при производстве полного освидетельствования с гайкой М110х4 без кольцевой выточки.
При монтаже гайки М110х4 необходимо в обязательном порядке использовать анаэробный клей-герметик типа «Трибопласт-6» или «Трибопласт-9». Предварительно резьбовую часть оси и гайку тщательно протирают обтирочным материалом и обезжиривают одним из моющих водных растворов (ПАВ) или бензином «Калоша». Наличие смазки в канавках резьбы не допускается. После обезжиривания следует обязательно насухо протереть чистым обтирочным материалом для удаления влаги.
Клей на резьбовую часть наносят не ранее чем через 3-5 минут в случае применения для обезжиривания бензином, и 15-20 минут при использовании моющих растворов (ПАВ).
Клеем заполняют канавки трех-четырех витков резьбы (со стороны торца оси) равномерно по сектору на угол 90о . После этого производят выравнивание клея и заполнение всех впадин резьбы клеем путем прогона гайки М110 на величину резьбы. Произвести закручивание гайки сразу после нанесения герметика. Расход клея-герметика на одну гайку М110 составляет 10-11 г.
Гайку затягивают до соприкосновения с плоским упорным кольцом переднего подшипника и туго поджимают гаечным ключом и молотком массой 3–5 кг двумя–четырьмя ударами до получения чистого металлического звука.
Затем в паз оси устанавливают стопорную планку, не вводя ее хвостовик в шлиц гайки. Планку устанавливают в такое положение, чтобы при последующей затяжке гайки для ввода хвостовика планки в шлиц гайка повернулась бы от половины до одной коронки.
Затяжку гайки производят только поворотом по часовой стрелке. Поворот гайки в обратном направлении, т.е. ослабление ее затяжки, запрещается. При затяжке гайки буксу слегка поворачивают для того, чтобы убедиться в отсутствии заклинивания подшипников. После этого устанавливают и закрепляют болты стопорной планки. Под болты устанавливают пружинные шайбы. Болты связывают мягкой проволокой диаметром 1,5 – 2,0 мм, проходящей через отверстия в их головках. Проволоку увязывают по форме цифры «8».
При торцевом креплении подшипников шайбой тарельчатой, ее после установки плоского упорного кольца переднего подшипника надевают на шейку оси и прикрепляют к торцу шейки оси четырьмя или тремя болтами М20х60 с головкой, выполненной с ложной шайбой. При монтаже торцового крепления подшипников шайбой должны использоваться болты без следов коррозии. Особое внимание следует уделять состоянию места перехода стержня болта к головке. При обнаружении задиров в месте перехода стержня болта к головке радиусом менее 0,8 мм ил других повреждений, болты к дальнейшей эксплуатации в торцевом креплении не допускаются. Повреждённые болты заменяют.
Затяжка болтов М20 производится динамометрическим ключом усилием с крутящим моментом 230–250 Нм (23-25 кгс/м). Затяжка болтов должна быть равномерной. Для этого завинчивание трех болтов производят дважды по периметру, а четырех – по схеме в следующем порядке: 1-2-3-4-3-4-2-1.
Затем лепестки стопорной шайбы загибают клещами на грань головки каждого болта и доводят до плотного прилегания лепестков шайбы к граням головки болта.
На бирке (рисунок 5.3) выбивают:
- индивидуальный номер колесной пары, который включает в себя условный номер предприятия-изготовителя черновой оси, порядковый номер черновой оси и год изготовления черновой оси;
- дату полного освидетельствования (месяц и две последние цифры года);
- условный номер ВКМ;
- код государства-собственника колесной пары (определяется по клейму, нанесенному на боковой поверхности ободов с наружной стороны колес).
При нанесении индивидуального номера колесной пары необходимо учитывать, что условный номер предприятия-изготовителя черновой оси должен состоять из 4 знаков, порядковый номер черновой оси должен иметь максимальное число знаков – 6, а год изготовления оси – 2 знака (две последние цифры года).
Если условный номер предприятия-изготовителя черновой оси состоит из одного знака, то при написании индивидуального номера колесной пары его необходимо дополнить тремя нулями с левой стороны до 4-х знаков, если из двух знаков, то дополнить двумя нулями, а если из трех – одним нулем.
Под болты правой и левой шеек оси устанавливают стопорные шайбы, на которые набивают клейма:
- на стопорной шайбе правой шейки оси выбивают индивидуальный номер оси, знак формирования, условный номер ВКМ, дату производства этих работ (месяц и две последние цифры года). При выбивании на бирке и на стопорной шайбе правой шейки оси индивидуального номера колесной пары между условным номером предприятия-изготовителя черновой оси допускается делать пропуск в размере одного знака;
- на стопорной шайбе левой шейки оси выбивают дату последнего полного освидетельствования колесной пары и условный номер ВКМ, производившего последнее полное освидетельствование колесной пары и полную ревизию букс. Месяц на стопорной шайбе выбивают клеймами с арабскими цифрами.

Рисунок 5.3 – Бирка для одного болта
1 – месяц, год, номер пункта, производившего полное освидетельствование колесной пары и монтаж букс; 2 – индивидуальный номер колесной пары; 3 – знак «О», месяц, год и номер пункта, производившего обточку колесной пары без демонтажа букс; 4 - код государства-собственника колесной пары.
После закрепления подшипников в осевом направлении производят установку буксовых крышек. Между крепительной и смотровой крышками при их сборке ставят новую резиновую прокладку толщиной 3 мм. Внутренние поверхности крепительной и смотровой крышек, а также цилиндрическую посадочную поверхность крепительной крышки и соответствующую поверхность корпуса буксы, болты М20 и М12 и отверстия под них смазывают тонким слоем смазки ЛЗ-ЦНИИ. Крышки скрепляют между собой четырьмя болтами М12, под которые устанавливают пружинные шайбы, при этом запрещается устанавливать болты с различными размерами головок. Болты затягивают с применением гаечного ключа.
Смазку ЛЗ-ЦНИИ массой 0,2 кг укладывают на внешнюю поверхность гайки по всему периметру и на переднюю видимую часть подшипника и уплотняют пальцами так, чтобы смазка проникла между сепаратором и бортом наружного кольца. Общее количество смазки, закладываемой в буксы должно быть равно 0,8 – 0,9 кг, при этом смазку можно дозировать мерной емкостью вместо взвешивания.
Между торцом корпуса и фланцем крышки устанавливают новое резиновое кольцо, имеющее сечение диаметром 4 мм, фланцевую поверхность крышки смазывают смазкой из расчета заполнения всего зазора между этой поверхностью и торцом корпуса буксы после затяжки болтов. После этого буксу закрывают крышками, прикрепляемыми к корпусу болтами М20, под которые также устанавливают пружинные шайбы. Под один болт крепительной крышки буксы правой шейки оси с левой стороны устанавливают бирку с клеймами (см. рисунке 5.3).
Болт М20 крепительной крышки и болт М12 смотровой крышки увязывают между собой проволокой и ставят пломбу с клеймом ВКМ.
После монтажа буксовых узлов производить обкатку-прокручивание колесных пар на установке АЛ-2-3 с частотой вращения 250 об/мин. В течение 5 минут без приложения внешней нагрузки.
Правильность сборки буксы контролируют по наличию зазора между фланцевой поверхностью крепительной крышки и торцевой поверхностью буксы и по легкости ее вращения на шейке оси, которое должно быть совершенно свободным (букса вращается вручную). Допускается неравномерный зазор по всей окружности, при этом минимально допускаемый зазор 0,3 мм должен находиться в зоне расположения ушков крепительных крышек.
Причинами затруднительного вращения может быть чрезмерное заполнение буксы смазкой, случайное попадание в буксу посторонних тел (металлическая стружка, тряпки и т.д.), особенно опасно отсутствие осевого разбега буксы, трение сепаратора о борт внутреннего кольца заднего подшипника или о плоское упорное кольцо переднего. Эти причины должны быть немедленно выяснены и устранены.
Вручную проверяют осевое смещение буксы. Букса должна свободно перемещаться вдоль шейки оси в пределах осевого разбега. Не допускается защемление роликов в осевом направлении.
Восстановление трущихся поверхностей направляющих ребер и опорных поверхностей корпусов букс способом наплавки. Восстановлению наплавкой подлежат корпуса букс, удовлетворяющие по ремонтным параметрам требованиям Инструкции по сварке и наплавке при ремонте грузовых вагонов ЦВ-201-98 и Инструктивным указаниям по эксплуатации и ремонту вагонных букс с роликовыми подшипниками 3-ЦВРК. При этом наплавку опорной поверхности «Б» производить, если расстояние от оси буксы до опорной поверхности не менее 163 мм (без ребер жесткости) и 165 мм (с ребрами жесткости), наплавку же трущихся поверхностей «А» - если расстояние между челюстями вдоль оси вагона не менее 318 мм.
Корпуса букс подвергают визуальному осмотру. Корпуса букс с трещинами и отколами к наплавке не допускаются.
Для наплавки мест износа корпусов букс применяются сварочные электроды марок АНП-13 по ТУ-1272-035-01124328, обеспечивающие твердость 250-300 НВ и повышение износостойкости наплавленной поверхности до 4 раз.
Комплект оборудования участка включает:
- сварочный источник постоянного тока с номинальным значением тока не менее 300А;
- устройства для предварительного деформирования корпусов букс, состоящие из трех домкратов гидравлических ДПО с гидронасосом ручным и манометром;
- устройство для крепления корпусов букс и их поворота при наплавке восстанавливаемых поверхностей.
Перед восстановлением наплавкой опорные поверхности «Б» и трущиеся поверхности «А» корпусов букс зачищаются до металлического блеска щеткой и протираются ветошью.
Во время наплавки температура в помещении должна быть не ниже +10о С. При поступлении корпусов букс при температуре наружного воздуха ниже + 10о С, они должны предварительно до наплавки выдерживаться в цехе не менее восьми часов для выравнивания температуры.
Наплавка осуществляется на постоянном токе обратной полярности. Минус источника питания подсоединяется к корпусу буксы с помощью болта М 20, вворачиваемого в отверстие крепления крышки буксы.
Наплавка опорной поверхности «Б» производится без предварительного нагружения с припуском на механическую обработку 2 мм. Наплавку направляющих поверхностей «А» осуществляют с нагружением корпуса буксы в направлении поверхностей «А» усилием 16– 20 тонн с помощью домкрата. Усилие нагружения контролируется по манометру, установленному на гидравлическом насосе (при диаметре поршня 100 мм давление показываемое манометром 200–250 атм).
Контроль размеров производить после полного остывания корпуса буксы до температуры окружающей среды (не менее, чем через 6 часов после завершения наплавки) и после механической обработки. После механической обработки наплавленных поверхностей размеры проверяются от оси корпуса буксы и должны соответствовать требованиям инструкции 3–ЦВРК (утв. 12.03.98 г.)
Наплавленные корпуса букс должны иметь на наружной торцевой механически обработанной поверхности со стороны крепительной крышки маркировку клеймами по дуге в одну строчку: «Н» - корпус наплавлен; «114» - условный номер ВКМ; «03» - две последние цифры года.
Организация контроля за качеством проведения ревизии букс с роликовыми подшипниками. Основным условием обеспечения высокого качества полной ревизии букс с роликовыми подшипниками является строгое соблюдение требований Инструктивных указаний по эксплуатации и ремонту вагонных букс с роликовыми подшипниками 3–ЦВРК (Утв. 1998 г.), Инструкции по осмотру, освидетельствованию, ремонту и формированию вагонных колесных пар ЦВ/3429 (утв. 1977 г.), настоящего технологического процесса, а также технических указаний ОАО «РЖД» по осмотру и ремонту отдельных узлов и деталей вагонных букс с роликовыми подшипниками.
Ответственность за качество полной ревизии букс с роликовыми подшипниками в роликовом цехе несет непосредственно исполнитель, а также бригадир роликового отделения и мастер цеха, которые обязаны в процессе ремонта деталей и их сборки систематически контролировать качество осмотра и ремонта по операциям.
Исполнитель обязан отремонтировать, собрать, проверить и установить детали буксового узла на шейку оси в полном соответствии с требованиями действующей нормативно– технической документации. Перед сдачей бригадиру или мастеру выполненной работы исполнитель обязан лично проверить ее качество.
Всю осмотренную и отремонтированную продукцию бригадир принимает от исполнителей на рабочих местах и местах накопления. При обнаружении дефектов в принимаемой продукции исполнитель обязан устранить недостатки.
Контроль качества выполненных работ должен производиться последовательно, по этапам, включающим предварительный, текущий и заключительный контроль.
Предварительный контроль производится бригадиром и должен включать:
- контроль качества материалов, применяемых при выполнении работ;
- проверку инструмента, оборудования и технологической оснастки перед началом работы.
Текущий контроль должен производиться исполнителем или бригадиром при выполнении дефектации деталей и должен включать:
- контроль качества подготовительных работ. При контроле производится внешний осмотр и необходимые замеры с помощью мерительного инструмента, шаблонов, калибров и приборов;
- контроль качества сборочных работ. Контроль производится мерительным инструментом и шаблонами для проверки установленных размеров.
Заключительный контроль производится мастером роликового цеха.
Каждая колесная пара должна быть осмотрена и принята на соответствие размеров и требований нормативной документации приемщиком вагонов.
Гарантия на монтаж буксового узла: 4 года для пассажирских и 5 лет для грузовых колесных пар.
При проведении несоответствия запасных частей буксового узла установленным требованиям ГОСТа, ТУ и чертежей при их проверке комиссией по рекламационной работе оформляются акты–рекламации. Акты направляются заводам–поставщикам, в организацию поставившую продукцию (материальные склады) и в службу вагонного хозяйства.
Организация труда и управление в роликовом цехе . Основные виды работ на участке:
- демонтаж букс;
- ремонт и комплектовка подшипников;
- монтаж букс.
Общее руководство работой роликового цеха осуществляет мастер цеха. Руководство производственной бригадой по осуществлению полной ревизии роликовых букс возлагается на освобожденного бригадира.
Мастер цеха и бригадиры руководят работой, следят за соблюдением технологического процесса и контролируют качество выполняемых работ.
Бригадир перед началом работы, непосредственно на рабочих местах, распределяет обязанности между членами бригады.
Лица, выполняющие монтаж, осмотр и ремонт подшипников, должны быть обучены, испытаны и иметь удостоверение на право производства полной ревизии букс, осмотра и ремонта подшипников. Периодические испытания работников проводятся один раз в год, комиссией в составе начальника ВКМ и мастера роликового цеха.
На каждом рабочем месте должны быть вывешены выписки из технологического процесса для ремонтируемых на данном рабочем месте деталей и узлов.
5.1 Ремонт деталей буксового узла
Ремонт буксового узла ведется на основании следующей документации:
Инструктивные указания по эксплуатации и ремонту вагонных букс с роликовыми подшипниками 3 – ЦВРК
Инструкция по осмотру, освидетельствованию, ремонту и формированию колесных пар ЦВ/3429
Неразрушающий контроль деталей вагонов. Общее положение
РД 32.174-2001
Инструкция по сварке и наплавке при ремонте грузовых вагонов,
ЦВ-201-98
Каталог средств измерений и СДК, применяемых при ремонте и техническом обслуживании грузовых вагонов
Технологические выписки из инструкций и технологического процесса на всех рабочих местах роликового отделения
Выписка по техническому обслуживанию оборудования.
Конспект первичного инструктажа на рабочем месте, для всех работающих. Роликовый буксовый узел воспринимает статистические и динамические нагрузки, действующие на вагон, и передают их к вращающимся шейкам осей, а также ограничивают перемещение колесной пары при движении вагона, роликовые подшипники воспринимают радиальные и осевые нагрузки. Частыми неисправностями буксового узла, определяемые по внешним признакам, являются: при встречи поездов с ходу
- колесная пара идет юзом при отжатых тормозных колодках (подшипники полностью разрушены, ролики заклинены и не вращаются)
- выброс смазки хлопьями на диск и обод колеса, сильные потеки в зоне крышек (подшипники полностью разрушены)
- букса, с боковиной тележки, смещена вдоль шейки оси (подшипник полностью разрушен, повреждение торцевого крепления, гайка М110 полностью сошла с шейки оси)- корпус буксы имеет наклон по отношению к шейки оси, боковина тележки контактирует с корпусом буксы краем (проворот внутреннего кольца переднего подшипника на шейке оси, истирание шейки оси) при осмотре вагонов во время стоянки поезда:
- выброс смазки хлопьями через лабиринтное уплотнение на центр, диск и обод колеса, на наружную обшивку пола вагона, на детали рычажной передачи. В смазке видны металлические включения (латунь, железо), потеки смазки в зоне смотровой и крепительной крышек (подшипник полностью разрушен из-за заклинивания роликов, поворота внутреннего кольца, излома перемычек сепаратора, обводнение смазки, борта внутреннего кольца, повреждения торцевого крепления)
- на задней (лабиринтной) части корпуса буксы имеется валик смазки черного цвета с металлическими включениями (износ центрирующей поверхности сепаратора и изломы перемычек сепаратора, изломы борта внутреннего кольца, обводнение смазки, заклинивание роликов) поступающие колесные пары из ВСЦ подаются кран – балкой на эстакаду демонтажа роликовых букс. Снятые буксы, с блоком подшипников, подают на транспортер моечной машины для наружной очистки корпусов букс. Специальным приспособлением подшипники выпрессовывают из корпуса буксы и по наклонным лоткам подают на транспортер моечной машины для обмывки. Корпуса букс, буксовые крышки, детали крепления промывают в моющей установке и транспортируют в отделение ремонта.
При необходимости на сверлильном станке сверлят углубления в потолке буксы под термодатчики. Корпус буксы ставят на станок тельфером. С накопителя буксы передают на транспортер, ведущий в монтажное отделение. Детали роликовой буксы, кроме корпуса и подшипников, очищают в моечной машине и подают на накопитель. Зачистку деталей делают на специализированном устройстве. Роликовые подшипники от моечной машины по наклонным лоткам поступают в ремонтное отделение. С целью выполнения ремонтных работ на роликовых подшипниках в отделении предусмотрены приспособления для разборки подшипников, ремонтный верстак, приспособление для шлифования поверхностей бортов колец подшипников.
Корпуса роликовых букс с размерами не обеспечивающими требований НТД направляются на участок восстановления наплавкой. Этот участок оборудован тремя постами полуавтоматической наплавки в среде углекислого газа в водяной ванне и горизонтально-фрезерным станком для механической обработки наплавленных поверхностей.
Монтажный участок оборудован стендом емкостью 20 к/пар одновременно, обеспечение рабочих мест корпусами букс и другими деталями осуществляется цепным конвейером. В монтажном участке буксовый узел комплектуют на шейках осей колесных пар. Для нагрева и съема внутренних колец подшипников и лабиринтных колец букс в монтажном отделении имеется нагреватель.
Ремонтно-комплектовочный участок оснащен приборами для измерения и подбора деталей подшипников, прессом для испытания полиамидных сепараторов, приспособлениями для зачистки роликов и колец подшипников, а также необходимыми средствами неразрушающего контроля роликов, колец и сепараторов подшипников.
Каждый подшипник состоит из внутреннего и наружного колец, между которыми, находятся ролики, удерживаемые в сепараторе на одинаковом расстоянии друг от друга. Внутреннее кольцо подшипника устанавливается на шейку колесной пары с натягом, а наружное в корпус буксы свободно. Ролики свободно перекатываются между наружным и внутренним кольцами по дорожкам качения. Свободное перемещение роликов обеспечивается радиальным и осевым зазорами, а также осевым разбегом.
Корпуса букс, смотровые и крепительные крышки, дистанционные и лабиринтные кольца, гайки, стопорные планки и шайбы, болты промываются в моечных машинах автоматического, конвейерного или камерного типа моющими жидкостями при температурах не ниже 90 С. Первая моющая жидкость содержит 3 – 5 % каустической соды, а вторая
8-10% отработанной смазки (ЛН-ЦНИИ) от объема воды в ваннах. Промытые и освобожденные от коррозии подшипники, подаются в отделение осмотра и ремонта подшипников. Ремонту подлежат подшипники диаметром 250 мм, не имеющие на бортах наружных колец и торцах роликов задиры и повреждения типа «елочка». Отремонтированные подшипники проверяются и комплектуются по радиальным и осевым зазорам, по диаметрам внутренних колец и осевым разбегам. Роликовые подшипники должны промываться в автоматических моечных машинах мыльной эмульсией 8-10% отработанной смазки (ЛЗ-ЦНИИ) от массы воды, подогретой до температуры 90-95 С. Новые роликоподшипники или отремонтированные, также промываются в автоматических моечных машинах. Для промывки новых подшипников допускается применять моющую жидкость с содержанием 1,0-1,5% смазки (ЛЗ-ЦНИИ). Блоки цилиндрических роликоподшипников на горячей посадке ø 250 мм, внутренние кольца которых не снимались с шеек осей, рекомендуется промывать в моечной машине с технологическими внутренними кольцами или специальными приспособлениями. Допускается обмывка вместе с внутренними кольцами. Радиальные зазоры у цилиндрических подшипников определяются непосредственно на шейке оси колесных пар. Замер производится щупом в нижней части подшипника – он должен быть не менее 0,4 мм. Полученные зазоры на диске колеса и в журнале формы ВУ-90 внутренние кольца цилиндрических подшипников подбирают на шейку оси по натягу, который создается за счет разности диаметров внутренних колец и шейки оси.
Лабиринтные кольца после зачистки проверяются бригадиром. На посадочных поверхностях и лабиринте не допускаются трещины, вмятины, забоины, заусеницы.
На крепительных и смотровых крышках не допускаются трещины, задиры, заусеницы, изгибы, перекосы и другие дефекты. Смотровые крышки деформированные по привалочной поверхности, выравниваются.
Корпуса роликовых букс с размерами не обеспечивающими требованиям НТД направляются на участок восстановления наплавкой. Этот участок оборудован тремя постами полуавтоматической наплавки в среде углекислого газа в водяной ванне и горизонтально – фрезерным станком для механической обработки наплавленных поверхностей.
К монтажу допускаются подшипники и колесные пары, имеющие температуру окружающей среды. Монтаж букс осуществляется слесарем согласно инструкции 3–ЦВРК и технологических карт. Лабиринтные кольца подбирают по натягу, который создается за счет разности диаметров кольца и предподступичной части оси. Перед установкой лабиринтное кольцо предварительно нагревают до температуры 125–150 °С, предподступичная часть оси покрывается тонким слоем трансформаторного масла.
При надевании лабиринтное кольцо должно упереться в торец предподступичной части оси. На шейку оси одевают монтажную втулку, торцом которой наносят удары по лабиринтному кольцу до получения чистого металлического звука. Перед установкой буксы на шейку оси в лабиринтное кольцо закладывается смазка.
Нагретое внутреннее кольцо заднего подшипника бортом вперед, надевают через направляющий стакан на шейку оси и при помощи монтажной втулки доводят до лабиринтного кольца. При установке внутреннего кольца переднего подшипника обращается внимание на плотность его прилегания к внутреннему кольцу заднего подшипника.
Закрепление внутренних колец подшипника на шейки оси осуществляется натягом, который создается за счет разности диаметров колец и шейки оси. Перед установкой, кольца нагревают до температуры 100 – 120 °С. По мере остывания внутренних колец гайки или болты подтягивают до полного прилегания их друг к другу и лабиринтному кольцу. Кольца остаются затянутыми до полного остывания до температуры окружающей среды, после чего гайку или шайбу, упорное кольцо снимают и контролируют плотность внутренних колец друг к другу и к лабиринтному кольцу при помощи щупа.
В корпус буксы после покрытия ее посадочной поверхности тонким слоем масла последовательно вручную вставляют блок заднего подшипника так, чтобы маркировка на кольце была обращена к лабиринтной части буксы, а блок переднего подшипника устанавливают так, чтобы маркировка была обращена к передней части корпуса. Перед установкой блоков в корпус буксы, ролики, дорожки качения и борта наружных колец смазывают маслом с последующим проворачиванием сепаратора с роликами в наружном кольце.
Корпус буксы вместе с блоками подшипников надвигают на внутренние кольца, расположенные на шейке оси, свободно без усилий. Затем на шейку надевают упорное кольцо переднего подшипника и затягивают гайку до соприкосновения с плоским упорным кольцом. В паз устанавливают планку, затем закрепляют болты стопорной планки, болты связывают мягкой проволокой диаметром 1,5 – 2 мм. Проволоку увязывают по форме цифры 8 на левом торце шейки оси и бирке набиваются клейма о полном освидетельствовании колесной пары. Одна треть свободного пространства передней части буксы заполняются смазкой, которая укладывается по всему периметру на внешнюю поверхность гайки и на переднюю видимую часть сепаратора.
Правильность сборки буксы контролируется наличием зазора между фланцевой поверхностью крепительной крышки и торцевой поверхностью буксы и по легкости ее вращения на шейки оси, которое должно быть свободным. [4], [9], [10], [11]
6. Выбор потребного оборудования
С целью повышения производительности труда, качества ремонта вагонов и культуры вагоноремонтного производства, а также снижения себестоимости ремонта выпускаемой продукции при проектировании участка особое внимание должно быть уделено комплексной механизации и автоматизации технологических процессов.
Уровень механизации ремонтных работ и вагонных депо определяется эффективностью применения механизмов, приспособлений и оборудования.
Перечень основного технологического оборудования выбирается из регламента технической оснащенности депо и приведен в таблице 6.1.
Таблица 6.1 – Перечень основного технологического оборудования
| №№ п /п | Наименование оборудования | Количество | Тип, ГОСТ, номер проекта. | |
| 1 | 2 | 3 | 4 | |
| 1 | Транспортёр корпусов и деталей букс | 2 | Т1039М или Т 1308. 17М ПКБЦВ | |
| 2 | Установка для выпрессовки подшипников из корпуса буксы | 1 | Т. 1 308. 1 ОМ ПКБ ЦВ или ТОО «АГРОЭЛ» г. Рязань | |
| 3 | Стеллаж для деталей буксового узла | 1 | ||
| 4 | Стенд для обкатки роликовых подшипников после монтажа буксовых узлов | 1 | ПКБ ЦВ | |
| 5 | Стол для оборудования по контролю подшипников | 3 | ||
| 6 | Установка для контроля параметров буксовых узлов | 1 | УДП – 85 или УДП-88 | |
| 7 | Станок для шлифовки роликов подшипников | 1 | Т295М; Т264М ПКБ ЦВ или АЗЦ-1, АЗЦ-2, г. Новосибирск | |
| 8 | Станок механической обработки корпусов букс | 1 | ||
| 1 | 2 | 3 | 4 | |
| 9 | Станок для шлифовки образующей поверхности роликов подшипников | 1 | Т.264М ПКБ ЦВ | |
| 10 | Станок для шлифовки, зачистки наружных и внутренних колец подшипников | 1 | ТП-320-0-0СБ | |
| 11 | Установка для подбора сепараторов | 1 | БВ-9271 | |
| 12 | Установка для контроля колец подшипников | 1 | ||
| 13 | Установка для подбора лабиринтных колец | 1 | ООО «Прибор плюс» г. Владимир | |
| 14 | Установка для подбора подшипников по диаметру | 1 | МНПП «Прибор» г. Владимир | |
| 15 | Желоб транспортный | 1 | Т606М или Т634М ПКБ ЦВ | |
| 16 | Машина для обмывки подшипников | 1 | Т6344 М ПКБ ЦВ или ММП 2 ВЧД Рязань | |
| 17 | Машина для обмывки корпусов букс и деталей буксового узла | 1 | Т 1308.13М ПКБ ЦВ | |
| 18 | Стенд для монтажа буксового узла | 1 | Т348М или Т1308.14М ПКБ ЦВ | |
| 19 | Приборы и средства для измерения посадочного диаметра внутренних колец подшипников | 2 | РМ8617, УПП или УКПП г Владимир, БВ7491 |
|
| 20 | Стенд для дефектации полиамидных сепараторов подшипников | 1 | УИСА-200 или ВЧД Челябинск | |
| 21 | Прибор для измерения осевых зазоров подшипников | 1 | Т501М ПКБ ЦВ | |
| 22 | Установка для измерения радиальных зазоров подшипников | 1 | Т500М ПКБЦВ | |
| 23 | Пресс холодной напрессовки | 1 | ГД-503 | |
| 24 | Ультразвуковой дефектоскоп | 1 | УД4-Т | |
| 25 | Магнитопорошковый дефектоскоп | 1 | МД-13ПР | |
| 26 | Установка распрессовки внутренних и лабиринтных колец | 1 | УДБ-2 | |
| 27 | Ультразвуковой дефектоскоп | 1 | УДС2-52 | |
[8]
7. Расчет рабочей силы
Численность основных производственных рабочих участка определяют по явочному и списочному составу.
Явочная потребность в основных производственных рабочих определяется по формуле
,
где N год - годовая программа изделий;
НИ - трудоемкость ремонта одного изделия, чел.-ч. Принимается по типовым технически обоснованным нормам времени на ремонт или изготовление вагонных деталей и узлов, или по фактическим данным вагонных депо;
Кн = 1,1…1,2 - коэффициент, учитывающий замещения рабочих.
Явочная потребность в дефектоскопистах:
Явочная потребность в подсобных (транспортных) рабочих:
Списочная потребность определяется по формуле
R сп = R яв · a сп ,
где асп = 1,09÷1,11 - коэффициент приведения явочной численности рабочих к списочной, учитывающий невыходы на работу по уважительным причинам.
Списочная потребность в дефектоскопистах:
![]()
Списочная потребность в подсобных (транспортных) рабочих:
![]()
Рассчитанная численность исполнителей участка распределяется по профессиям и сводится в таблице 7.1.
Таблица 7.1 – Численность исполнителей участка
| №№ п/п | Наименование профессии | Количество явочных рабочих, человек (в 2 смены) | Количество списочных рабочих, человек (в 2 смены) |
| 1 | Мастер | 1 | 1 |
| 2 | Бригадир | 2 | 2 |
| 3 | Дефектоскопист | 9 | 10 |
| 4 | Подсобный (транспортный) рабочий | 11 |
12 |
| 5 | Уборщик производственных помещений | 1 |
1 |
| 6 | Слесарь по монтажу | 5 | 6 |
| 7 | Слесарь по демонтажу | 7 | 8 |
| 8 | Слесарь по комплектовке | 5 | 6 |
| Всего | 46 | ||
[3], [6]
8. Расчет основных размерных параметров участка
Для укрупненных расчетов производственных площадей роликового участка используем нормы технологического проектирования депо для ремонта грузовых и пассажирских вагонов и принимаем площадь колесно-роликового участка равной 1188 м2 .
Длина участка должна быть кратной шести. Расстояние между колоннами принимают 6или 12 м. Поэтому принимаем размеры роликового участка равными: длина – 66 м, ширина 18 м.
Высота демонтажного и монтажного отделений колесно-роликового участка принимается равной 6 м, а ремонтного и комплектовочного отделений роликового участка – 4,8 м. [3], [6], [7]
9. Мероприятия по охране труда и технике безопасности
Транспорт – один из основных загрязнителей атмосферного воздуха. Его доля в общем объеме выбросов загрязняющих веществ в атмосферу от стационарных и подвижных источников по России составляется более 40%, что выше, чем доля любой из отраслевой промышленности.
Воздействие транспорта на экосистемы выражается:
- в загрязнении атмосферы, водных объектов и земель, изменении химического состава почв и микрофлоры, образовании производственных отходов, в том числе токсичных и радиоактивных, шламов, замазученного грунта, котельных шлаков, золы и мусора. Загрязняющие вещества отрицательно воздействуют на созданные человеком системы, особенно на строительные материалы, исторические архитектурные и скульптурные памятники и другие произведения искусства, вызывают коррозию металлов, порчу кожаных и текстильных изделий;
- в потреблении природных ресурсов – атмосферного воздуха, необходимого для протекания рабочих процессов в двигателях внутреннего сгорания (ДВС) транспортных средств; нефтепродуктов и природного газа, являющихся топливом для ДВС; воды для систем охлаждения ДВС и мойки транспортных средств; производственных и бытовых нужд предприятий транспорта; земельных ресурсов, отчуждаемых под строительство автомобильных и железнодорожных дорог, аэропортов, трубопроводов, речных и морских портов и других объектов инфраструктуры транспорта.
- в выделении труда в окружающую среду при работе ДВС и топливосжигающих установок в транспортных производствах;
- в создании высоких уровней шума и вибрации;
- в возможности активации неблагоприятных природных процессов типа водной эрозии, заболачивания местности, образования селевых потоков, оползней, обвалов;
- в травматизме и гибели людей, животных, нанесение большого материального ущерба при авариях и катастрофах
- в разрушении почвенно-растительного покрова и уменьшении урожайности сельскохозяйственных культур.
Вредные и опасные факторы в отделении и загрязнении окружающей среды. К основным вредным производственным факторам в отделении относятся:
- химические (канцерогены, аэрозоли, аллергены)
- биологические (попогенные, микроорганизмы, инфекции)
- физические (пыль, ультразвук, температура, производственный шум, влажность и подвижность воздуха, вибрация, ионизирующие и неионизирующие излучения, освещенность).
Факторы трудового процесса характеризующие тяжестью физического труда: динамическая нагрузка, статическая нагрузка, масса поднимаемого и переносимого груза и т.д.
Факторы трудового процесса, характеризующиеся напряженностью труда. Эмоциональные нагрузки, монотонность, режим работы.
Производственный шум вызывается вибрацией станков и машин. Для снижения шума применяются звукопоглощающие перегородки и индивидуальные средства от шума. Для предупреждения вибрации введен постоянный контроль за исправностью инструмента, оборудования, машин. Для уменьшения воздействия вибрации и шума введен режим труда с перерывами на отдых, который следует проводить в специально оборудованном отделении.
Источниками ультразвука в первую очередь является дефектоскоп. Систематическое нарушение правил техники безопасности при работе с источниками ультразвуковых волн может привести к появлению профессиональных заболеваний, которые выражаются поражением нервной системы, слуха, кистей рук.
Эффективной борьбой с ультразвуком является применение звукоизолирующих перегородок, щипцов, зажимов, сеток и т.д. также эффективным средством борьбы с ультразвуком является снижение ультразвука в источнике.
Деятельность транспортных предприятий связана с осуществлением перевозочного процесса, погрузочно-разгрузочных операций, хранением грузов и выполнением работ по техническому обслуживанию и ремонту подвижного состава и путей сообщения.
Влияние транспорта на окружающую среду проявляется, прежде всего, в процессе перевозок, при котором потребляются в большом количестве топливно-энергетические ресурсы и происходит значительное загрязняющих веществ.
Процессы технического обслуживания и ремонта подвижного состава также требуют энергетических затрат и связаны с большим водопотреблением, выбросом загрязняющих веществ в атмосферу, водоемы и образованием отходов. В том числе токсичных.
Ремонтные работы сопровождаются также загрязнением почвы, накоплением металлических, пластмассовых и резиновых отходов вблизи производственных участков и отделений
Природная вода – универсальный растворитель. В результате постоянной циркуляции на поверхности земли, в почвенных слоях и подземных толщах она большей или меньшей степени загрязняется различными солями, органическими веществами,
Производственными и транспортными отходами и газами, а также глинистыми частицами, стоками с полей и живыми организмами. Поэтому в чистом виде вода в природе не встречается.
Наиболее распространенными загрязнениями окружающей природной среды являются нефть и продукты ее переработки. К числу причин загрязнения следует добавить аварийные разливы нефти и нефтепродуктов из цистерн.
Выбор способов очистки грунтов определяется многими факторами, важнейшими из которых являются характер загрязнения земель и нормативные требования к их качеству. В промышленно развитых странах используются два подхода к решению проблемы очистки. Первый, так называемый функциональный, заключается в очистке почв до нормативных показателей содержания загрязняющих веществ и обеспечивающий в дальнейшем любое использование очищенной территории. Второй – селективный, при котором степень очистки определяется нормативными требованиями в соответствии с целями дальнейшего землепользования.
Обеспечение пожарной безопасности . Противопожарное оборудование и инвентарь приобретают, ремонтируют и учитывают хозяйственные подразделения. Ответственность за их состояние и обеспечение несут соответствующие руководители. Для зарядки, испытания и мелкого ремонта огнетушителей, стационарных газовых и воздушно-пенных установок пожаротушения на предприятиях вагонного хозяйства имеются специальные зарядно-ремонтные станции с необходимым оборудованием. Поэтому при проектировании грузовых или пассажирских вагонных депо, ремонтно-экипировочных депо, различных пунктов технического обслуживания и других крупных организаций вагонного хозяйства необходимо предусмотреть помещения для зарядно-ремонтных станций.
Потребное количество пожарного инвентаря и оборудования определяется руководителями хозяйственных единиц совместно с представителями пожарной охраны. Выдача противопожарного оборудования и инвентаря с участковыми складами производится по разнарядкам, согласованным с отрядами военизированной охраны.
В производственных помещениях должны быть первичные средства пожаротушения, внутренние пожарные краны и пожарные посты. Кроме того, производственные помещения оборудуют спинклерным (разбрызгивательным) оборудованием и пожарной сигнализацией в соответствии с действующими нормами и правилами строительного проектирования.
Наряду с первичными средствами пожаротушения на каждые 5000 м производственной или складной площади, устраивают пожарные пункты в виде шкафов или щитов, окрашенных в белый цвет с красной окантовкой (ГОСТ 12.4.026-76) с надписью «Пожарный пункт». Пункт должен иметь следующий набор пожарного инвентаря и оборудования (по две штуки): огнетушители пенные, топоры и ломы пожарные, багры металлические, лопаты металлические (штыковые), ведра с надписью « пожарное ведро».
Обеспечение безопасности движения. Основными требованиями к содержанию грузовых и пассажирских вагонов в эксплуатации определяются Правилами технической эксплуатации железных дорог (ПТЭ). Эти требования направлены на безусловное обеспечение безопасности движения и сохранности грузов. Грузовые и пассажирские вагоны должны своевременно проходить планово-предупредительные виды ремонта и технического обслуживания. Они должны содержаться в исправном состоянии, обеспечивающем их бесперебойную работу.
Предупреждение появления неисправностей и обеспечение установленных сроков службы вагонов должно быть главным в работе всех, занятых в вагонном хозяйстве.
ПТЭ устанавливают, что вновь строящиеся вагоны должны обеспечивать безопасность и плавное движение не только при существующих скоростях, которые будут иметь перспективные локомотивы.
Вагоны новой постройки, а также после плановых видов ремонта, перед сдачей их в эксплуатацию должны подвергаться испытаниям и стационарной приемке. Порядок испытания и приемки устанавливаются МПС России
ПТЭ устанавливают требования к таким ответственным узлам вагонов как колесные пары, тормозное оборудование и автосцепное устройство. От технического состояния этих вагонов зависит безопасность движения поездов.
По данным МПС России каждый третий случай брака от общего их числа на сети железных дорог происходит по вине вагонного хозяйства (ВХ), каждый третий сход подвижного состава в поездах – из-за технической неисправности вагонов.
В целях исключения поездов запрещающих сигналов приводящих к сходам и столкновениям грузовых поездов, необходимо обеспечить железные дороги микропроцессорными дешифраторами. По вине хозяйства перевозок происходит взрез стрелок, сход вагонов с рельсами и столкновения подвижного состава при маневровых работах и другие нарушения. Все это требует совершенствования системы управления перевозочной работой.
Необходимо постоянное и своевременное обновление эталонов и рабочих средств измерений, испытаний диагностики. Поскольку измерительная техника с течением времени расстраивается и подвергается износу.
Для повышения уровня безопасности движения поездов требуется предельное внимание к содержанию технических средств, выполнение руководителей всех уровней должностных нормативов.
В производственных цехах ремонта колесных пар со сменой элементов и полной ревизии буксового узла должны соблюдаться требования, предусмотренные Правилами пожарной безопасности на ж.д. транспорте, Правилами эксплуатации подъемно-транспортного и другого оборудования, Типовой инструкции по охране труда для слесарей по ремонту подвижного состава ТОИ Р-32-ЦВ-416-96, Типовой инструкции по охране труда для дефектоскописта ТОИ Р-32-ЦВ-805-01, требованиями техники безопасности, изложенными в местных инструкциях и других указаниях.
Рабочие обоих цехов находятся в подчинении мастеров, которые лично отвечают за состояние охраны труда и техники безопасности.
Мастера цехов обязаны лично инструктировать работников по технике безопасности и показывать безопасные приемы работы.
Мастера производственных цехов организуют обучение и проверку знаний по охране труда в соответствии с Положением об организации обучения по охране труда и проверки знаний требований охраны труда работников ОАО «РЖД» №2529р от 11.06.04 года.
Каждый работник обязан строго соблюдать требования по охране труда, технике безопасности, производственной санитарии, противопожарной охране, пользоваться спецодеждой и предохранительными средствами и приспособлениями, содержать в чистоте и порядке свое рабочее место, передавать оборудование, инструмент и приспособления в исправном состоянии.
В случае повреждения механизмов, приспособлений, оборудования работник должен немедленно сообщить мастеру или бригадиру участка для принятия мер.
Все работники обязаны знать правила и инструкции по охране труда и технике безопасности и руководствоваться ими в практической работе и обеспечить их выполнение.
При ремонте колесных пар со сменой элементов и полной ревизии буксового узла на работников ВКМ могут воздействовать следующие опасные и вредные производственные факторы:
- движущийся подвижной состав, транспортные средства, машины и механизмы;
- падающие с высоты предметы и инструменты;
- повышенные уровни шума и вибрации на рабочем месте;
- повышенное значение напряжения в электрической цепи, замыкание которой может произойти через тело человека;
- острые кромки, заусенцы и шероховатость на поверхностях заготовок, инструментов и оборудования;
- повышенная запыленность воздуха рабочей зоны;
- повышенная или пониженная температура, повышенная влажность и подвижность воздуха рабочей зоны;
- повышенная или пониженная температура поверхностей оборудования;
- расположение рабочего места на значительной высоте относительно поверхности земли (пола);
- нервно-психические перегрузки при выполнении работ на железнодорожных путях, работах на высоте.
Для защиты от воздействия опасных и вредных производственных факторов все работники должны быть обеспечены соответствующими сертифицированными видами специальной одеждой, специальной обувью и другими средствами индивидуальной защиты в соответствии с типовыми отраслевыми нормами бесплатной выдачи спецодежды, спецобуви и других средств индивидуальной защиты №497 от 09.09.02 г.
Требования к инструменту. Слесарный молоток должен соответствовать требованиям ГОСТ 2310-77 и иметь:
- ровную, не сбитую, без заусенцев, слегка выпуклую поверхность бойка;
- овальное отверстие для ручки с небольшим конусом наружу;
- ручку овального сечения из дерева (бук, молодой дуб, рябина, кизил), гладкую, без сучков и трещин, конусную с уширением к свободному концу. После насадки молотка конец ручки расклинивается металлическим клином толщиной 1-3 мм из мягкой стали.
Слесарный инструмент должен соответствовать следующим требованиям: зубило – ГОСТ 7211-72, крейцмейсели – ГОСТ 7212-74Е, гаечные ключи – ГОСТ 2839-80Е, бородки – ГОСТ 7214-72Е, напильники ГОСТ 1465-69.
Зубила, крейцмейсели, бородки не должны иметь трещин, плен, волосовин, сбитых или скошенных торцов, наклепа на ударной поверхности.
Наименьшая их длина - 150 мм, оттянутая часть зубила 50-60 мм.
Напильники применять только с исправной ручкой, имеющей металлическое кольцо в месте её насадки. Гаечные ключи должны точно соответствовать указанным на них размерам. Наращивать гаечные ключи другими ключами или трубами, а также применять прокладки между гайкой и ключом не допускается.
Клещи для удержания нагретых деталей изготавливаются из мягкой стали, не принимающей закалки и должны соответствовать размеру и профилю удерживаемых деталей.
Выполнять работу ручным инструментом (инерционный ключ, динамометрический ключ, ключ с маховиком, клещи и т.п.) имеющим трещины или сбитые поверхности не разрешается.
Ручные пневматические машины должны отвечать требованиям ГОСТ 12.2.010-75. Шланг к машине должен присоединяться при помощи ниппелей или штуцеров и хомутов, крепление шлангов проволокой не допускается. Перед подключением машины необходимо продуть шланг и следить за тем, чтобы пусковое устройство пневматического гайковерта легко и быстро приводилось в действие и в закрытом положении не пропускало воздух. В работу гайковерт можно подключить только тогда, когда сменный инструмент (насадка) плотно прижат к обрабатываемой детали.
Исправление и регулирование пневматического инструмента и смена его могут производиться слесарем ремонтно-механического цеха.
Гидравлические прессы, инерционные ключи, захваты и другие приспособления, и механизмы, работающие при больших усилиях, проходят периодический осмотр мастером не реже одного раза в месяц с полной разборкой для выявления и замены или ремонта неисправных деталей.
Рабочие проверяют состояние инструмента и приспособлений перед началом их применения. Неисправные приспособления и инструмент заменяются.
Работа неисправным инструментом и приспособлениями, неочищенными от грязи и масла и без защитных средств запрещается.
Требования к технологическому оборудованию . Корпуса электродвигателей и моечных машин надежно заземляются для предупреждения возможных поражений электрическим током.
Для работы на моечных машинах допускаются работники, хорошо ознакомленные с устройством, эксплуатацией этого оборудования и правилами техники безопасности.
К обслуживанию мостовых кранов и кран–балок допускаются работники, обученные в учебных комбинатах, учебных пунктах, аттестованные и имеющие удостоверение на право управления кран–балкой (крановщики и стропальщики).
К работе на кран-балках, управляемых с пола, допускаются работники основных профессий, обученные по программе стропальщика, аттестованные комиссией ВКМ и имеющие удостоверения.
Запрещается работать с кран-балкой при любой её неисправности.
Требования к организации рабочего места. Рабочие места в отделениях должны постоянно содержаться самими рабочими в чистоте и порядке в течение всего рабочего времени и не загромождать деталями. Требующие обработку и обработанные детали необходимо укладывать на стеллажах и подкладках.
Обтирочный материал должен храниться в металлических емкостях с закрывающимися крышками. Запрещается мыть руки в масле, эмульсии, керосине и вытирать их обтирочными концами, которые могут быть засорены металлической стружкой.
Во избежание несчастных случаев, запрещается хранить элементы колесных пар и детали буксового узла в беспорядке или складировать их навалом.
Транспортировка колесных пар из одного производственного участка в другой производится по рельсам, а также толкателями или мостовым краном грузоподъемностью 3 тонны.
Транспортировать колесные пары вручную по рельсовой колее следует только от себя, а не на себя.
Освещение рабочих производственных участков, как общее так и местное, должно быть с равномерным распределением светильников, и должно соответствовать «Нормам искусственного освещения объектов железнодорожного транспорта» ОСТ 32.120-98 и «РД 32.174-2001. Руководящий документ. Неразрушающий контроль деталей вагонов. Общие положения».
На рабочих местах производственных участков шум не должен превышать 80 дБ.
В производственных помещениях на видных местах должны находиться аптечки с медикаментами для оказания до врачебной помощи. Все рабочие должны уметь оказывать первую помощь пострадавшим, а также знать место расположения аптечки с необходимыми медикаментами.
Оборудование и технологическая оснастка производственных участков должны быть окрашены согласно ГОСТ 12-4.026-2001. Цветовая окраска должна способствовать улучшению гигиенических условий труда, снижению утомляемости, облегчению безопасности производственного процесса.
Вентиляция производственных участков должна обеспечивать в любое время года кратность и величину обмена воздуха, при которой в рабочей зоне постоянно поддерживается нормальная температура и воздух не имеет вредных примесей выше допускаемых норм.
Техника безопасности на рабочих участках:
а) приступать к выполнению задания можно лишь тогда, когда известны безопасные приемы его выполнения. В сомнительных случаях необходимо обращаться к мастеру или бригадиру за разъяснениями. При получении новой работы требовать от мастера дополнительного инструктажа по технике безопасности;
б) в цехах и на участках проходить только в предусмотренных местах, не находиться в негабаритных местах;
в) не находиться и не проходить под поднятым грузом, через рольганги и конвейеры;
г) проходя мимо, или находясь вблизи от рабочего места электросварщика не смотреть на электросварочную дугу. Невыполнение этого требования может привести к заболеванию глаз и потере зрения. При работе около электросварщика потребовать ограждения места сварки ширмой;
д) не включать и не останавливать (кроме аварийных случаев) машины, станки и механизмы, работа на которых вам не поручена администрацией;
е) не прикасаться к арматуре общего освещения, к оборванным электропроводам, клеммам и другим легкодоступным токоведущим частям. Не открывать дверцы электрораспределительных шкафов и не снимать ограждения и защитные кожухи с токоведущих частей оборудования.
Требования безопасности перед началом работы:
а) перед началом работы необходимо привести в порядок рабочую одежду: застегнуть обшлага рукавов, подобрать волосы под плотно облегающий головной убор. Не работать в легкой обуви (тапочках, сандалиях и др.).
б) организовать своё рабочее место так, чтобы все необходимое было под руками: освободить нужную для работы площадь, удалив все посторонние предметы, заготовить и разложить в соответствующем порядке требуемые для работы инструмент, приспособления, материалы, детали и т.п. Проверить, достаточно ли освещено рабочее место, о перегоревших лампочках сообщить мастеру или бригадиру для замены.
в) о всех обнаруженных неисправностях оборудования, подъемных средств и инструмента сообщить мастеру или бригадиру и до их указания к работе не приступать.
Требования безопасности во время работы:
а) пользоваться только исправным инструментом;
б) работая с абразивными кругами на заточных станках пользоваться защитными очками;
в) не останавливать вращающийся инструмент и детали руками или каким-либо предметом;
г) при пользовании рольгангом, моечными машинами быть осторожным при съеме деталей. Следить за исправностью захватных приспособлений и за правильным зацеплением деталей;
Находясь на территории и в цехах:
- быть внимательным к предупредительным сигналам автодрезины, грейферного крана, мостовых кранов, а также выполнять требования предупредительных плакатов;
- не проходить в местах, не предназначенных для проходов, не подлезать под вагоны и не перебегать перед движущимся транспортом;
- при работе с крановщиком знать и правильно применять знаковую сигнализацию;
- зацепку колесных пар и их элементов производить в соответствии со схемами строповки ;
- перед подъемом убедиться, что груз ничем не укреплен, не примерз, проверить, нет ли на грузе незакрепленных деталей и других предметов;
- снимать захват лишь только после того, как груз будет надежно установлен.
Требования безопасности после работы:
- выключить напряжение оборудования;
- привести в порядок рабочее место;
- убрать инструмент в шкафы или стеллажи;
- при сдаче смены сообщить сменщику о замеченных дефектах оборудования и инструмента и о всякой замеченной опасности заявить мастеру;
- по окончании работы вымыть лицо и руки теплой водой с мылом или принять душ.
Работник каждой профессии обязан хорошо знать и руководствоваться инструкциями по охране труда и технике безопасности, вывешенными на рабочих местах.
Рабочие и служащие предприятия обеспечиваются мылом в соответствии с положением об обеспечении рабочих железнодорожного транспорта.
Режим труда и отдыха рабочих производственных участков характеризуется следующим: работа ведется в три смены по 8 и 12 часов с перерывом на обед 1 час.
Ответственность за содержание в исправном состоянии технического оборудования и вспомогательных технических средств участков (кранов, станков, моечных машин, прессов, конвейерных линий и др.) возлагается на главного механика и мастера ремонтно-механического цеха, которые обязаны следить за своевременным и качественным выполнением планово-предупредительного ремонта оборудования.
Ответственными за исправность работы освещения участков являются мастера. [4], [9]
Заключение
Во введении описаны важнейшие направления работы железнодорожного транспорта в условиях изменения экономической и политической ситуации, роль вагонного хозяйства в организации перевозочного процесса, а также факторы, влияющие на эффективности функционирования вагонного хозяйства, и дальнейшие пути его развития.
В курсовой работе проведен анализ существующих методов организации производства и разработка с использованием передовой технологии проекта роликового участка проектируемого на перспективу грузового вагонного депо.
В первом разделе пояснительной записки описаны назначение, производственная структура и программа роликового участка.
Во втором разделе рассчитаны режим работы и фонды рабочего времени.
В третьем разделе пояснительной записки описаны методы ремонта буксовых узлов на участке, обосновано использование стационарного метода ремонта.
В четвертом разделе проведен расчет параметров производственного процесса: количество выпускаемых из ремонта колесных пар в сутки и в смену.
В пятом разделе пояснительной записки подробно описан технологический процесс ремонта буксовых узлов крытых грузовых вагонов и их деталей.
В шестом разделе выбрано технологическое оборудование роликового участка согласно регламенту технической оснащенности депо.
В седьмом разделе проведен расчет численности основных производственных рабочих участка.
В восьмом разделе пояснительной записки согласно нормам технологического проектирования депо выбраны основные параметры производственного участка.
В девятом разделе описаны требования по охране труда и технике безопасности на участке.
К пояснительной записке приложен 1 лист графической части. На листе формата А1 представлена планировка роликового участка грузового депо с расстановкой технологического оборудования.
Список использованных источников
1. Методические указания к выполнению курсовой работы по дисциплине "Вагонное хозяйство". - Самара: СамГАПС, 2004.- 18 с.
2. Вагонное хозяйство: Учебник для вузов ж.-д. транспорта / П.А. Устич, И.И. Хаба, В.А. Ивашов и др.; Под ред. П.А. Устича. – М.: Маршрут, 2003. – 560 с.
3. Нормы технологического проектирования для ремонта грузовых и пассажирских вагонов. – М.: Транспорт, 1988.
4. Инструктивные указания по эксплуатации и ремонту вагонных букс с роликовыми подшипниками. 3 – ЦВРК от 01. 04. 2001.
5. Нормы технологического проектирования депо по ремонту грузовых вагонов. – М.: Транспорт, 2002.
6. Спирюгова М.А. Организация работы вагоносборочных участков грузовых депо: Учеб. пособие. - Самара: СамИИТ, 1996. - 52 с.
7. Регламент технической оснащенности производственных подразделений вагонного хозяйства по ремонту и эксплуатации грузовых вагонов № 665-2003 ПКБ ЦВ.
8. Технологическая инструкция работы колесно-роликового цеха вагонного депо Бензин, 2000.
9. Руководство по деповскому ремонту грузовых вагонов колеи 1520 мм. ЦВ/587 от 21.08.98.
10. Руководство по капитальному ремонту грузовых вагонов колеи 1520 мм. ЦВ/627 от 31.12.98.
Похожие рефераты:
Колёсные пары электровоза ВЛ-80
Организация участка по ремонту колесных пар пассажирских вагонов
Проектирование восьмиосной цистерны модели 15-1500
Автоматизация транспортировки осей колесных пар автооператором портального типа
Определение основных параметров тепловоза ТЭ-116
Конструкция экипажной части тепловоза
Основные обязанности локомотивных бригад
Проектирование цеха ремонта поршневых компрессоров
Материалы и расчетные характеристики подшипников качения для условия сухого трения
Модернизация двигателя мощностью 440 квт с целью повышения их технико-экономических показателей
Основы проектирования и конструирования
Проект пассажирского вагонного депо с разработкой контрольного пункта автосцепки