| Похожие рефераты | Скачать .docx |
Курсовая работа: Многовибраторная антенная решетка с рефлектором 16х4 эт
Министерство образования и науки Украины
Житомирский государственный технологический университет
Кафедра радиотехники
группа РТ-7
КУРСОВОЙ ПРОЕКТ
По предмету: «Проектирование антенно-фидерных устройств»
«Многовибраторная антенная решетка с рефлектором 16х4 эт.»
Выполнил:
Масловский А. Б.
Проверил:
Хоменко Н. Ф.
Житомир
2006
Содержание
1. Техническое задание
2. Короткие теоретические сведенья
2.1 Общие сведенья о многовибраторной синфазной решетке
2.2 Антенны с настраиваемым рефлектором
2.3 Антенны с апериодическим рефлектором
2.4 Описание конструкции
3. Расчетная часть
3.1 Расчет входного сопротивления антенны
3.2 Симметрирующе-согласующие устройство
3.3 Расчет коэффициента направленного действия
3.4 Расчет ДН в горизонтальной плоскости
3.5 Расчет ДН в вертикальной плоскости
Вывод
Список использованной литературы
1. Техническое задание
Рассчитать чертёж, КНД, ДН, Rвх
многовибраторной антенной решетки с рефлектором 16х4 эт. Построить по таблицам, в полярной и декартовой системе координат расчётную ДН в Е и Н плоскостях.
см.
2. Короткие теоретические сведенья
2.1 Общие сведенья о многовибраторной синфазной решетке
Коротковолновые антенны с остронаправленным излучением в виде плоских синфазных решеток появились в середине 20-х годов. Разработка таких антенн в Советском Союзе велась в Нижегородской радиолаборатории, созданной по указанию В. И. Ленина, под руководством М. М. Татаринова и М. А. Бонч-Бруевича. Применявшаяся в течение ряда лет в коротковолновом диапазоне синфазная горизонтальная антенна (СГ) являлась узкополосной. Ее можно было использовать только на одной рабочей волне.
На рис.1. показано полотно синфазной антенны. Полотно включает nэ
рядов (этажей) вибраторов. Каждый этаж состоит из nв
полуволновых вибраторов (или из nс
=
симметричных волновых вибраторов). Расстояние между этажами составляет половину длины волны. Вертикальный распределительный фидер, питающий вибраторы разных этажей, перекрещивают при переходе от одного этажа к другому. При распределении энергии от одного этажа к следующему волна, пройдя в вертикальном распределительном фидере путьl
=
0,5
, отстает по фазе на угол kl
=
.
Если перекрещивание фидера не делать, то вибраторы соседних этажей будут возбуждены .в противофазах. Вертикальный распределительный фидер питает группу вибраторов, называемую секцией. Секции вибраторов соединяются параллельно вблизи поверхности земли горизонтальными распределительными фидерами одинаковой длины, с соблюдением фазировки. К середине горизонтального распределительного фидера подключается главный питающий фидер.

Рис. 1. Синфазная горизонтальная антенна
Разработанная в СССР синфазная горизонтальная антенна (рис. 2) работает без перестройки в непрерывном диапазоне волн с коэффициентом перекрытия 2-2,5 примерно (0,8-2)
, где
-расчетная длина волны. Длина одного симметричного вибратора составляет примерно 0,82
. С учетом уменьшения фазовой скорости в вибраторе можно считать, что
является резонансной волной вибратора.

Рис. 2. Синфазная горизонтальная диапазонная антенна
В этой антенне обеспечивается синфазность возбуждения всех вибраторов на любой длине волны благодаря тому, что расстояние от точек присоединения главного фидера до любого вибратора совершенно одинаково. Поэтому при изменении частоты направленные свойства не ухудшаются резко. Впервые такая схема питания была применена С. И. Надененко в разработанной им коротковолновой антенне для одновременной работы на двух волнах.
Диапазонность антенны по входному сопротивлению обеспечивается тем, что вибраторы имеют пониженное волновое сопротивление (280—470 Ом) благодаря выполнению их из ряда таких проводов по типу вибратора С. И. Надененко, либо они выполняются по схеме диапазонных шунтовых вибраторов.
Применяется специальная система распределительных фидеров. Эти фидеры делаются ступенчатыми — в них включаются трансформирующие вставки длиной
/4, обладающие различным волновым сопротивлением. Тщательно подбирая волновые сопротивления распределительных фидеров и вставок, можно получить КБВ в главном фидере не ниже 0,6—0,65 в двукратном диапазоне волн. Можно также применить в качестве излучателей вибраторы, основанные на принципе самодополнительности. Самодополнительные вибраторы выполняются не сплошными металлическими, а для облегчения конструкции состоят из системы проводов. По экспериментальным данным КБВв фидере такой антенны не падает ниже 0,6 в двукратном диапазоне волн.
В решетках, выполненных по принципу самодополнительности, можно уменьшить число этажей и упростить систему распределительных фидеров по сравнению с обычными вибраторными решетками. Это объясняется большими вертикальными размерами плеч вибраторов. Кроме того, увеличивается допустимая подводимая мощность.
Для создания однонаправленного излучения антенна снабжается рефлектором, причем в основном применяют пассивные рефлекторы двух типов: настраиваемые и апериодические.
Многовибраторные антенны рекомендуется использовать для радиовещания, так как благодаря высокому КПД и сравнительно низкому уровню боковых лепестков эти антенны при достаточно высоком КУ могут обслуживать значительный сектор пространства. Для коротковолнового радиовещания на дальние расстояния (выше 6000 км) в СССР были разработаны и внедрены остронаправленные восьмиэтажные многовибраторные антенны с апериодическим рефлектором, имеющие управляемые ДН в горизонтальной и вертикальной плоскостях. Многовибраторные антенны получили также некоторое распространение в радиосвязи.
2.2 Антенны с настраиваемым рефлектором
Настраиваемый рефлектор (РН) выполняется в виде полотна из вибраторов аналогично полотну антенны и возбуждается благодаря пространственной электромагнитной связи между полотнами. В отличие от антенны, к точкам а1 , а2 рефлектора присоединяется не генератор, а отрезок длинной линии (настроечное сопротивление), длина которого регулируется короткозамыкателем. Рефлектор устанавливается на расстоянии d р = (0,22÷0,25)от антенны. Его полотно обычно с помощью рей крепится к тем же мачтам, что и полотно антенны. Присоединив генератор к настроенному рефлектору и превратив полотно антенны в рефлектор, можно реверсировать антенну — изменить направление излучения или приема на обратное.
Антенна с настроенным рефлектором имеет более легкое конструктивное выполнение и большую чем у антенны с апериодическим рефлектором «электрическую прозрачность». Однако такая антенна требует перестройки рефлектора при смене рабочей волны, что крайне усложняет эксплуатацию антенны и значительно обесценивает возможности ее использования в широком диапазоне волн.
2.3 Антенны с апериодическим рефлектором
Апериодический рефлектор (РА) представляет собой плоский экран, выполненный из горизонтальных проводов, параллельных осям вибраторов, и устанавливаемый сзади антенны на расстоянии dp
=
(0,25÷0,3)
. Размеры экрана несколько превосходят размеры полотна антенны. Апериодический рефлектор позволяет по сравнению с настроенным рефлектором значительно уменьшить уровень излучения в обратном направлении, что весьма важно для уменьшения взаимных помех радиостанций. Для этого расстояние между проводами экрана должно быть примерно (0,035÷0,07)
. Важнейшим достоинством антенны с апериодическим рефлектором являются отсутствие элементов настройки последнего и возможность одновременной работы на одной антенне в
двух противоположных направлениях.
Недостатками многовибраторной антенны с апериодическим рефлектором являются сложное конструктивное выполнение и почти полное отсутствие «электрической прозрачности» (возможность прохождения электромагнитных волн, излучаемых другими антеннами), что может вызывать трудности при размещений нескольких антенн на ограниченной площади.
2.4 Описание конструкции
Синфазная горизонтальная антенна (рис.3) относится к группе настроенных остронаправленных антенн. Обозначается антенна СГ
, что означает: синфазная горизонтальная антенна, имеющая п
этажей, в каждом из которых находится р
полуволновых вибраторов. При наличии рефлектора обозначение дополняется буквами РА(рефлектор апериодический) или РН(рефлектор настраиваемый).

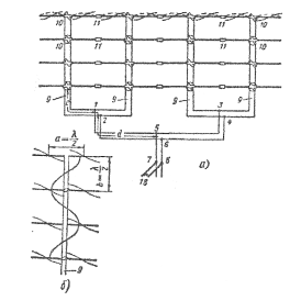
Рис. 3. Синфазная горизонтальная антенна. а) - схема питания, б) - распределение напряжения в фидере одной секции вибратора.
Конструкция многовибраторной антенной решётки должна удовлетворять следующим требованиям.
-необходимо обеспечить надежное крепление всей системы вибраторов;
-вибраторы по возможности должны занимать в пространстве горизонтальное положение (не провисать), а их взаимное расположение должно строго фиксироваться (расстояние между этажами b
=
и между центрами вибраторов по горизонтали
).
-вибраторы должны быть тщательно изолированы друг от друга и от земли.
-необходимо обеспечить возбуждение всех вибраторов в фазе и с равной амплитудой тока.
-механическое крепление вибраторов должно быть увязано с системой питания антенны (рис.3, а).
Фидер от генератора в точках 5-6 разветвляется на две линии, каждая из которых в точках 1-2, 3-4 подключается к двухпроводным линиям 9, непосредственно подводящим питание к вибраторам. Так как каждый вибратор имеет электрическую длину в полволны, то в точках подключения линии к вибраторам находятся пучность напряжения и узел тока, а следовательно, в данном случае входное сопротивление вибратора велико и больше волнового сопротивления линии. В результате в линии 9 наряду с бегущими волнами возникают стоячие. Как видно (рис. 3, б), одноименные вибраторы соседних этажей подключаются к противоположным проводам линии питания. Поскольку расстояние между этажами
,
стоячие волны в линии питания обеспечивают синфазное возбуждение вибраторов. Для облегчения согласования антенной системы длина участков фидера от сечений 1-2, 3-4 до сечения 5-6(рис. 3, а) должна быть одинаковой и кратной
. Основой для крепления антенны являются свободно стоящие металлические башни или деревянные мачты с оттяжками (рис. 4). Вибраторы каждого этажа механически соединяются между собой изоляторами 10, 11, причем изоляторы 10 имеют специальную (крестообразную) форму, позволяющую фиксировать взаимное расположение проводов линии 9 и получить перекрещивание в схеме питания для синфазного возбуждения вибраторов. Крайние вибраторы каждого этажа соединяются, со стальными тросами 12, которые через блоки 14 создают натяжение соответствующего ряда вибраторов.
В многовибраторных антеннах этого обычно недостаточно для того, чтобы исключить провисание горизонтальных проводов. В таких случаях конструкцию дополняют верхним стальным тросом 15, называемым леером, к которому через вертикальные тросы 13 подвешиваются линии питания 9, Снизу эти линии прикрепляются к тросам 16, которые, так же как тросы 12, натягиваются через блоки.
Для компенсации емкости изоляторов между вибраторами последние дополнительно укорачивают. Обычно длина вибратора меньше половины длины волны на 3—8%. Вибраторы и линии питания должны быть тщательно изолированы от тросов. Кроме того, тросы необходимо разбить на небольшие участки с целью исключения паразитного резонанса. Для этого предназначены изоляторы 17,
Таким образом, многовибраторная антенна конструктивно представляет собой жесткую систему, которую в соответствии с ее внешним видом называют полотном или решеткой вибраторов.
Рефлектор антенны является полной аналогией собственно антенны. Полотно рефлектора (не показанное на рис. 4) расположено параллельно полотну антенны на расстоянии (0,25λ) от него. Рефлектор так же может быть активным. Питание антенны с активным рефлектором показано на рис. 5. Для создания сдвига фаз в 900 между токами антенны и рефлектора, в цепь антенны включается линия длиной равная λ/4. для поглощения отраженных от антенны волн на расстоянии λ/4 от точек включения фидера ставятся баластны сопротивления R .

Рис. 4. Крепление полотна вибраторов синфазной горизонтальной антенны.

Рис. 5. Схема питания антенны с активным рефлектором.
3. Расчетная часть
3.1 Расчет входного сопротивления антенны
Сопротивление излучения RΣ п каждого полуволнового вибратора антенны, отнесенное к пучности тока, находят как сумму собственного сопротивления и сопротивлений, наведенных всеми остальными вибраторами антенны и рефлектора. Сопротивление излучения антенны равно сумме сопротивлений излучения всех вибраторов антенны. Тогда можно записать формулу усредненного сопротивления излучения полуволнового вибратора:
(3.1) [4]
Где
- сопротивление излучения антенны
Если количество вибраторов в этаже или ряде превышает 8, то их можно не учитывать, так как их наведенные сопротивления излучения очень малы.
Конструкция антенны идентичная конструкции рефлектора п х р=4 х 16, где п – количество этажей, р – количество полуволновых вибраторов в этаже. В данном случае количество вибраторов в этаже превышает 8, учитывая сказанное выше, рассчитаем сопротивление излучения для решетки 4 х 8.
Выражение общего сопротивления излучения для такой решетки будет выглядеть так:

Где
- сопротивления излучения решетки 4 х 8 (без учета рефлектора);
- сопротивления излучения вибраторов первого ряда с учетом наводимых другими вибраторами решетки сопротивлений излучения;
- сопротивления излучения вибраторов второго ряда с учетом наводимых другими вибраторами решетки сопротивлений излучения;
- сопротивления излучения вибраторов третьего ряда с учетом наводимых другими вибраторами решетки сопротивлений излучения;
- сопротивления излучения вибраторов четвертого ряда с учетом наводимых другими вибраторами решетки сопротивлений излучения;
Используя метод наведенных ЭДС найдем общее сопротивление излучения решетки 4 х 8.
Таблица 1.
| +73,1 | +26,4 | -4,1 | +1,8 | -1,0 | +0,6 | -0,4 | +0,2 | |
| -12,5 | -11,9 | -0,8 | +1,1 | -1,0 | +0,5 | -0,3 | +0,1 | |
| +4,1 | +8,8 | +3,6 | -2,9 | +1,1 | -0,4 | +0,1 | -0,1 | |
| -1,8 | -5,8 | -6,3 | +2,0 | +0,6 | -1,0 | +0,9 | -0,5 |

Где
- собственные сопротивления излучения полуволновых вибраторов;
- сопротивления излучения наведенное вибратором р
на вибратор п
. Пользуясь данными таблицы 1. найдем сопротивление излучения всех вибраторов решетки
![]()
![]()
![]()
![]()
Учитывая то, что конструкция решетки симметрична сопротивление симметрично расположенных вибраторов будет одинаково.
Ом
Ом
Ом
Ом
![]()
![]()
![]()
![]()
Учитывая симметричность конструкции:
Ом
Ом
Ом
Ом
Так конструкция симметрична, то сопротивление излучения первого ряда будет равно сопротивлению излучения четвертого, а сопротивление излучения третьего ряда будет равно сопротивлению излучения второго.
Ом
Ом
Тогда:
Ом
Сопротивление излучения решетки не учтенных вибраторов будет равно сопротивлению излучения рассчитанной части решетки.
Тогда можно записать:
RΣa
= ![]()
RΣa
=
Ом
Где RΣa – сопротивление излучения антенны без учета рефлектора
Рассматривая антенну и рефлектор, как систему из двух связанных вибраторов и используя выражение:
,
где
- сдвиг фаз токов; m
– отношение амплитуд токов;
- сопротивление изучения антенны без учета рефлектора;
- сопротивление изучения рефлектора; найдем сопротивление излучения всей антенны с учетом влияния рефлектора. Так как рефлектор активный и его питание производится тем же источником, что и антенна, и имеет такую же конструкцию запишем:
=900
; m
=1;
=
=4901,6 Ом.
Тогда
9803,2 Ом
Входное сопротивление пары соседних полуволновых вибраторов образующих один симметричный волновой вибратор равно
,
(3.2) [2]
где
— волновое сопротивление симметричного вибратора, определяемое по формуле.Используя (3.1) запишем:
(3.3)
Учитывая, что полуволновой отрезок фидера, соединяющий вибраторы соседних этажей, трансформирует проводимость в пропорции 1 : 1 и полагая, что длина фидера от точек 5-6 до точек питания антенны 1-2 и 3-4 равна целому числу полуволн, можно прийти к выводу, что в точках питания входная проводимость антенны равна сумме проводимостей всех волновых вибраторов. Следовательно, входное сопротивление антенны приближенно равно
(3.4) [2]
Подставляя (3.3) в (3.4) получим
(3.5)
Используя формулу В. Н. Кессениха найдем волновое сопротивление предварительно задав диаметр вибратора равным 0,002 м
(3.6) [4]
Где а – радиус вибратора.

Подставив получено значение в (3.5) получим
![]()
3.2 Симметрирующе-согласующие устройство
Для питания антенны используем коаксиальный кабель с волновым сопротивлением 50 Ом . Так как кабель не симметричен, то для того что бы сделать его симметричным нужно симметрирующие устройство. Для этого берется четвертьволновой отрезок такого же кабеля. Соединение кабеля с отрезком показано на чертеже.
Для согласования используем согласующий трансформатор выполненный из стандартных двухпроводных симметричных фидеров.
(3.7) [4]
где
- волновое сопротивление трансформатора;
- волновое сопротивление коаксиального кабеля;
- входное сопротивление антенны;
![]()
Четвертьволновые отрезки соединим параллельно, чтобы получить нужное сопротивление трансформатора.
![]()
где
- волновое сопротивление четвертьволнового отрезка симметричного фидера.
Так как отрезки имею одинаковое волновое сопротивление, формула будет иметь вид
![]()
где п – количество отрезков.
Тогда: ![]()
При
=300 Ом п
=13,48;
При
=600 Ом п
=26,97;
Для лучшего согласования выполним фидер из четвертьволновых отрезков двух проводного фидере с волновым сопротивлением 600 Ом. Понадобится 27 таких отрезков.
Волновое сопротивление такого трансформатора будет:
![]()
3.3 Расчет коэффициента направленного действия
Коэффициент направленного действия горизонтальной синфазной антенны, с учетом влияния Земли можно приближенно определить по формуле
(3.8) [4]
![]()
3.4 Расчет ДН в горизонтальной плоскости
Диаграмма направленности многовибраторной решетки в горизонтальной плоскости определяется по формуле
(3.9) [4]
где
- диаграмма направленности одиночного вибратора;
- множитель решетки;
- множитель рефлектора;
При определении диаграммы направленности под одиночным вибратором будем понимать симметричный вибратор. Число симметричных вибраторов в одном этаже в два раза меньше числа полуволновых вибраторов и равно числу секций антенны.
; (3.10) [4]
; (3.11) [4]
; (3.12) [4]
Где l
– длина плеча симметричного вибратора;
- угол в горизонтальной плоскости, отсчитанный от нормали к плоскости полотна антенны; пс
– число симметричных вибраторов в одном этаже; d
– расстояние между центрами симметричных вибраторов; d
р
– расстояние между полотнами антенны и рефлектора;
- отношении амплитуд и сдвиг фаз антенны и рефлектора.
Используя формулу С . Щелкунова найдем длину плеча симметричного вибратора
(3.13) [3]
(3.14)

Для данной антенны:
; пс
=8; d
=λ; d
р
=0,25λ;
; λ=0,15 м.
Подставив (3.10), (3.11), (3.12) в (3.9), и подставив в полученное выражение имеющиеся данные, получим
(3.15)
Для данной антенны ДН в горизонтальной плоскости будет иметь вид:
- в полярной системе (Рис. 6.)
- в декартовой системе (Рис. 7.)
![]()

Рис. 6. нормированная ДН в горизонтальной плоскости
![]()
φ
Рис. 7. нормированная ДН в горизонтальной плоскости
По графику находим ширину ДН в горизонтальной плоскости
8,640
3.5 Расчет ДН в вертикальной плоскости
Диаграмма направленности многовибраторной решетки в вертикальной плоскости определяется произведением
(3.16) [4]
где
- нормированный множитель системы синфазных излучателей;
- множитель, учитывающий влияние рефлектора;
- множитель, учитывающий влияние Земли.
(3.17) [4]
(3.18) [4]
(3.19) [4]
здесь пэ
– число этажей в антенне;
- расстояние между этажами;
- средняя высота подвеса;
- угол в вертикальной плоскости отсчитываемый от поверхности Земли.
Обычно для таких антенн высота подвеса над Землей нижнего этажа равна половине длины волны. Тогда учитывая, что
запишем значение для средне высоты подвеса:
![]()
Подставив (3.17), (3.18), (3.19) в (3.16), и подставив в полученное выражение имеющиеся данные, получим
(3.20)
Для данной антенны ДН в вертикальной плоскости будет иметь вид:
- в полярной системе (Рис. 8.)
- в декартовой системе (Рис. 9.)
![]()

Рис. 8. нормированная ДН в вертикальной плоскости
![]()

![]()
Рис. 9. нормированная ДН в вертикальной плоскости
По графику находим ширину ДН в горизонтальной плоскости
13,880
Вывод
В данном курсовом проекте была спроектирована многовибраторная синфазная антенна с активным настраиваемым рефлектором 16 х 4эт. для работы на длине волны равной 15 см. В ходе выполнения данного проекта были сделаны следующие выводы:
- с увеличением числа вибраторов сопротивление излучения антенны увеличивается, а входное сопротивление падает;
- с увеличением числа вибраторов увеличивается КНД, а также и коэффициент усиления;
- диаграмма направленности в горизонтальной плоскости зависит только от количества вибраторов в этаже. Диаграмма направленности в вертикальной плоскости зависит только от количества этажей. При чем при увеличении числа вибраторов или этажей диаграмма направленности сужается;
Данная антенна также может работать как диапазонная в диапазоне со средне длиной волны равной 15 см., за счет активности рефлектора.
- входное сопротивление антенны – 9,9 Ом;
- коэффициент направленного действия – 512;
- ширина ДН в горизонтальной плоскости – 8,640 ;
- ширина ДН в вертикальной плоскости – 13,880 .
Список использованной литературы
1. Коротковолновые антенны/ Г. З. Айзенберг, С. П. Белоусов, Э. М. Журбенко и др; под ред Г. З. Айзенберга – 2-е перероб и доп – М: Радио и связь, 1985. – 536 с., ил.
2. Антенны и устройства СВЧ/ Н. Т. Бова, Г. Б. Резников.
3. Антенно-фидерные устройства/ Кочержевский Г. Н. : Учебник для вузов. 3-е изд., доп. и перераб. – М; Радио и связь, 1981. – 280 с., ил.
4. Распространение радиоволн и антенно-фидерные устройства/ Чернышев В.П., Шейнман Д.И. – М: Связь 1972. – 408 с., ил.
Похожие рефераты:
Разработка пакета программ для расчета фазированной антенной решетки
Разработка и исследование модели отражателя-модулятора (WinWord zip-1Mb)
Расчёт спиральной антенны круговой поляризации
СВЧ тракт приёма земной станции спутниковой системы связи
Расчет антенны для земной станции спутниковой системы
Плоская антенна поверхностной волны с ребристой замедляющей структурой
Применение магнетронных генераторов большей мощности в радиолокационных системах
Конструирование радиорелейной линии