| Похожие рефераты | Скачать .docx |
Курсовая работа: Ethernet
Стандарты технологии . Форматы кадров технологии Ethernet
Стандарты технологии Ethernet
Ethernet - это самый распространенный на сегодняшний день стандарт локальных сетей. Общее количество сетей, использующих в настоящее время Ethernet, оценивается в 5 миллионов, а количество компьютеров, работающих с установленными сетевыми адаптерами Ethernet - в 50 миллионов.
Когда говорят Ethernet, то под этим обычно понимают любой из вариантов этой технологии. В более узком смысле, Ethernet - это сетевой стандарт, основанный на технологиях экспериментальной сети Ethernet Network, которую фирма Xerox разработала и реализовала в 1975 году (еще до появления персонального компьютера). Метод доступа был опробован еще раньше: во второй половине 60-х годов в радиосети Гавайского университета использовались различные варианты случайного доступа к общей радиосреде, получившие общее название Aloha. В 1980 году фирмы DEC, Intel и Xerox совместно разработали и опубликовали стандарт Ethernet версии II для сети, построенной на основе коаксиального кабеля. Поэтому стандарт Ethernet иногда называют стандартом DIX по заглавным буквам названий фирм.

Рис. 1. Примитивы уровня LLC
а, в, с - без установления соединения, d - с установлением соединения
На основе стандарта Ethernet DIX был разработан стандарт IEEE 802.3, который во многом совпадает со своим предшественником, но некоторые различия все же имеются. В то время, как в стандарте IEEE 802.3 различаются уровни MAC и LLC, в оригинальном Ethernet оба эти уровня объединены в единый канальный уровень. В Ethernet определяется протокол тестирования конфигурации (Ethernet Configuration Test Protocol), который отсутствует в IEEE 802.3. Несколько отличается и формат кадра, хотя минимальные и максимальные размеры кадров в этих стандартах совпадают.
В зависимости от типа физической среды стандарт IEEE 802.3 имеет различные модификации - 10Base-5, 10Base-2, 10Base-T, 10Base-F.
Для передачи двоичной информации по кабелю для всех вариантов физического уровня технологии Ethernet используется манчестерский код.
Все виды стандартов Ethernet используют один и тот же метод разделения среды передачи данных - метод CSMA/CD.
Метод доступа CSMA/CD
В сетях Ethernet используется метод доступа к среде передачи данных, называемый методом коллективного доступа с опознаванием несущей и обнаружением коллизий (carrier-sense-multiply-access with collision detection, CSMA/CD).
Этот метод используется исключительно в сетях с общей шиной (к которым относятся и радиосети, породившие этот метод). Все компьютеры такой сети имеют непосредственный доступ к общей шине, поэтому она может быть использована для передачи данных между любыми двумя узлами сети. Простота схемы подключения - это один из факторов, определивших успех стандарта Ethernet. Говорят, что кабель, к которому подключены все станции, работает в режиме коллективного доступа (multiply-access,MA).
Все данные, передаваемые по сети, помещаются в кадры определенной структуры и снабжаются уникальным адресом станции назначения. Затем кадр передается по кабелю. Все станции, подключенные к кабелю, могут распознать факт передачи кадра, и та станция, которая узнает собственный адрес в заголовках кадра, записывает его содержимое в свой внутренний буфер, обрабатывает полученные данные и посылает по кабелю кадр-ответ. Адрес станции-источника также включен в исходный кадр, поэтому станция-получатель знает, кому нужно послать ответ.
При описанном подходе возможна ситуация, когда две станции одновременно пытаются передать кадр данных по общему кабелю (рис. 3). Для уменьшения вероятности этой ситуации непосредственно перед отправкой кадра передающая станция слушает кабель (то есть принимает и анализирует возникающие на нем электрические сигналы), чтобы обнаружить, не передается ли уже по кабелю кадр данных от другой станции. Если опознается несущая (carrier-sense, CS), то станция откладывает передачу своего кадра до окончания чужой передачи, и только потом пытается вновь его передать. Но даже при таком алгоритме две станции одновременно могут решить, что по шине в данный момент времени нет передачи, и начать одновременно передавать свои кадры. Говорят, что при этом происходит коллизия, так как содержимое обоих кадров сталкивается на общем кабеле, что приводит к искажению информации.
Чтобы корректно обработать коллизию, все станции одновременно наблюдают за возникающими на кабеле сигналами. Если передаваемые и наблюдаемые сигналы отличаются, то фиксируется обнаружение коллизии (collision detection, CD). Для увеличения вероятности немедленного обнаружения коллизии всеми станциями сети, ситуация коллизии усиливается посылкой в сеть станциями, начавшими передачу своих кадров, специальной последовательности битов, называемой jam-последовательностью.
После обнаружения коллизии передающая станция обязана прекратить передачу и ожидать в течение короткого случайного интервала времени, а затем может снова сделать попытку передачи кадра.
Из описания метода доступа видно, что он носит вероятностный характер, и вероятность успешного получения в свое распоряжение общей среды зависит от загруженности сети, то есть от интенсивности возникновения в станциях потребности передачи кадров. При разработке этого метода предполагалось, что скорость передачи данных в 10 Мб/с очень высока по сравнению с потребностями компьютеров во взаимном обмене данными, поэтому загрузка сети будет всегда небольшой. Это предположение остается часто справедливым и по сей день, однако уже появились приложения, работающие в реальном масштабе времени с мультимедийной информацией, для которых требуются гораздо более высокие скорости передачи данных. Поэтому наряду с классическим Ethernet'ом растет потребность и в новых высокоскоростных технологиях.
Метод CSMA/CD определяет основные временные и логические соотношения, гарантирующие корректную работу всех станций в сети:
Между двумя последовательно передаваемыми по общей шине кадрами информации должна выдерживаться пауза в 9.6 мкс; эта пауза нужна для приведения в исходное состояние сетевых адаптеров узлов, а также для предотвращения монопольного захвата среды передачи данных одной станцией.
При обнаружении коллизии (условия ее обнаружения зависят от применяемой физической среды) станция выдает в среду специальную 32-х битную последовательность (jam-последовательность), усиливающую явление коллизии для более надежного распознавания ее всеми узлами сети.
После обнаружения коллизии каждый узел, который передавал кадр и столкнулся с коллизией, после некоторой задержки пытается повторно передать свой кадр. Узел делает максимально 16 попыток передачи этого кадра информации, после чего отказывается от его передачи. Величина задержки выбирается как равномерно распределенное случайное число из интервала, длина которого экспоненциально увеличивается с каждой попыткой. Такой алгоритм выбора величины задержки снижает вероятность коллизий и уменьшает интенсивность выдачи кадров в сеть при ее высокой загрузке.

Рис. 3. Схема возникновения коллизии в методе случайного доступа CSMA/CD
(tp - задержка распространения сигнала между станциями A и B)
Четкое распознавание коллизий всеми станциями сети является необходимым условием корректной работы сети Ethernet. Если какая-либо передающая станция не распознает коллизию и решит, что кадр данных ею передан верно, то этот кадр данных будет утерян, так как информация кадра исказится из-за наложения сигналов при коллизии, он будет отбракован принимающей станцией (скорее всего из-за несовпадения контрольной суммы). Конечно, скорее всего искаженная информация будет повторно передана каким-либо протоколом верхнего уровня, например, транспортным или прикладным, работающим с установлением соединения и нумерацией своих сообщений. Но повторная передача сообщения протоколами верхних уровней произойдет через гораздо более длительный интервал времени (десятки секунд) по сравнению с микросекундными интервалами, которыми оперирует протокол Ethernet. Поэтому, если коллизии не будут надежно распознаваться узлами сети Ethernet, то это приведет к заметному снижению полезной пропускной способности данной сети.
Все параметры протокола Ethernet подобраны таким образом, чтобы при нормальной работе узлов сети коллизии всегда четко распознавались. Именно для этого минимальная длина поля данных кадра должна быть не менее 46 байт (что вместе со служебными полями дает минимальную длину кадра в 72 байта или 576 бит). Длина кабельной системы выбирается таким образом, чтобы за время передачи кадра минимальной длины сигнал коллизии успел бы распространиться до самого дальнего узла сети. Поэтому для скорости передачи данных 10 Мб/с, используемой в стандартах Ethernet, максимальное расстояние между двумя любыми узлами сети не должно превышать 2500 метров.
С увеличением скорости передачи кадров, что имеет место в новых стандартах, базирующихся на том же методе доступа CSMA/CD, например, Fast Ethernet, максимальная длина сети уменьшается пропорционально увеличению скорости передачи. В стандарте Fast Ethernet она составляет 210 м, а в гигабитном Ethernet ограничена 25 метрами.
Независимо от реализации физической среды, все сети Ethernet должны удовлетворять двум ограничениям, связанным с методом доступа:
максимальное расстояние между двумя любыми узлами не должно превышать 2500 м,
в сети не должно быть более 1024 узлов.
Кроме того, каждый вариант физической среды добавляет к этим ограничениям свои ограничения, которые также должны выполняться.
Уточним основные параметры операций передачи и приема кадров Ethernet, кратко описанные выше.
Станция, которая хочет передать кадр, должна сначала с помощью MAC-узла упаковать данные в кадр соответствующего формата. Затем для предотвращения смешения сигналов с сигналами другой передающей станции, MAC-узел должен прослушивать электрические сигналы на кабеле и в случае обнаружения несущей частоты 10 МГц отложить передачу своего кадра. После окончания передачи по кабелю станция должна выждать небольшую дополнительную паузу, называемую межкадровым интервалом (interframe gap), что позволяет узлу назначения принять и обработать передаваемый кадр, и после этого начать передачу своего кадра.
Одновременно с передачей битов кадра приемно-передающее устройство узла следит за принимаемыми по общему кабелю битами, чтобы вовремя обнаружить коллизию. Если коллизия не обнаружена, то передается весь кадр, поле чего MAC-уровень узла готов принять кадр из сети либо от LLC-уровня.
Если же фиксируется коллизия, то MAC-узел прекращает передачу кадра и посылает jam-последовательность, усиливающую состояние коллизии. После посылки в сеть jam-последовательности MAC-узел делает случайную паузу и повторно пытается передать свой кадр.
В случае повторных коллизий существует максимально возможное число попыток повторной передачи кадра (attempt limit), которое равно 16. При достижении этого предела фиксируется ошибка передачи кадра, сообщение о которой передается протоколу верхнего уровня.
Для того, чтобы уменьшить интенсивность коллизий, каждый MAC-узел с каждой новой попыткой случайным образом увеличивает длительность паузы между попытками. Временное расписание длительности паузы определяется на основе усеченного двоичного экспоненциального алгоритма отсрочки (truncated binary exponential backoff). Пауза всегда составляет целое число так называемых интервалов отсрочки.
Интервал отсрочки (slot time) - это время, в течение которого станция гарантированно может узнать, что в сети нет коллизии. Это время тесно связано с другим важным временным параметром сети - окном коллизий (collision window). Окно коллизий равно времени двукратного прохождения сигнала между самыми удаленными узлами сети - наихудшему случаю задержки, при которой станция еще может обнаружить, что произошла коллизия. Интервал отсрочки выбирается равным величине окна коллизий плюс некоторая дополнительная величина задержки для гарантии:
интервал отсрочки = окно коллизий + дополнительная задержка
В стандартах 802.3 большинство временных интервалов измеряется в количестве межбитовых интервалов, величина которых для битовой скорости 10 Мб/с составляет 0.1 мкс и равна времени передачи одного бита.
Величина интервала отсрочки в стандарте 802.3 определена равной 512 битовым интервалам, и эта величина рассчитана для максимальной длины коаксиального кабеля в 2.5 км. Величина 512 определяет и минимальную длину кадра в 64 байта, так как при кадрах меньшей длины станция может передать кадр и не успеть заметить факт возникновения коллизии из-за того, что искаженные коллизией сигналы дойдут до станции в наихудшем случае после завершения передачи. Такой кадр будет просто потерян.
Время паузы после N-ой коллизии полагается равным L интервалам отсрочки, где L - случайное целое число, равномерно распределенное в диапазоне [0, 2N]. Величина диапазона растет только до 10 попытки (напомним, что их не может быть больше 16), а далее диапазон остается равным [0, 210], то есть [0, 1024]. Значения основных параметров процедуры передачи кадра стандарта 802.3 приведено в таблице 1.
Таблица 1.
| Битовая скорость | 10 Мб/c |
| Интервал отсрочки | 512 битовых интервалов |
| Межкадровый интервал | 9.6 мкс |
| Максимальное число попыток передачи | 16 |
| Максимальное число возрастания диапазона паузы | 10 |
| Длина jam-последовательности | 32 бита |
| Максимальная длина кадра (без преамбулы) | 1518 байтов |
| Минимальная длина кадра (без преамбулы) | 64 байта (512 бит) |
| Длина преамбулы | 64 бита |
Учитывая приведенные параметры, нетрудно рассчитать максимальную производительность сегмента Ethernet в таких единицах, как число переданных пакетов минимальной длины в секунду (packets-per-second, pps). Количество обрабатываемых пакетов Ethernet в секунду часто используется при указании внутренней производительности мостов и маршрутизаторов, вносящих дополнительные задержки при обмене между узлами. Поэтому интересно знать чистую максимальную производительность сегмента Ethernet в идеальном случае, когда на кабеле нет коллизий и нет дополнительных задержек, вносимых мостами и маршрутизаторами.
Так как размер пакета минимальной длины вместе с преамбулой составляет 64+8 = 72 байта или 576 битов, то на его передачу затрачивается 57.6 мкс. Прибавив межкадровый интервал в 9.6 мкс, получаем, что период следования минимальных пакетов равен 67.2 мкс. Это соответствует максимально возможной пропускной способности сегмента Ethernet в 14880 п/с.
Форматы кадров технологии Ethernet
Стандарт на технологию Ethernet, описанный в документе 802.3, дает описание единственного формата кадра МАС-уровня. Так как в кадр МАС-уровня должен вкладываться кадр уровня LLC, описанный в документе 802.2, то по стандартам IEEE в сети Ethernet может использоваться только единственный вариант кадра канального уровня, образованный комбинацией заголовков МАС и LLC подуровней. Тем не менее, на практике в сетях Ethernet на канальном уровне используются заголовки 4-х типов. Это связано с длительной историей развития технологии Ethernet до принятия стандартов IEEE 802, когда подуровень LLC не выделялся из общего протокола и, соответственно, заголовок LLC не применялся. Затем, после принятия стандартов IEEE и появления двух несовместимых форматов кадров канального уровня, была сделана попытка приведения этих форматов к некоторому общему знаменателю, что привело еще к одному варианту кадра.
Различия в форматах кадров могут иногда приводить к несовместимости аппаратуры, рассчитанной на работу только с одним стандартом, хотя большинство сетевых адаптеров, мостов и маршрутизаторов умеет работать со всеми используемыми на практике форматами кадров технологии Ethernet.
Ниже приводится описание всех четырех модификаций заголовков кадров Ethernet (причем под заголовком кадра понимается весь набор полей, которые относятся к канальному уровню):
Кадр 802.3/LLC (или кадр Novell 802.2)
Кадр Raw 802.3 (или кадр Novell 802.3)
Кадр Ethernet DIX (или кадр Ethernet II)
Кадр Ethernet SNAP
Заголовок кадра 802.3/LLC является результатом объединения полей заголовков кадров, определенных в стандартах 802.3 и 802.2.
Стандарт 802.3 определяет восемь полей заголовка:
Поле преамбулы состоит из семи байтов синхронизирующих данных. Каждый байт содержит одну и ту же последовательность битов - 10101010. При манчестерском кодировании эта комбинация представляется в физической среде периодическим волновым сигналом. Преамбула используется для того, чтобы дать время и возможность схемам приемопередатчиков (transceiver) прийти в устойчивый синхронизм с принимаемыми тактовыми сигналами.
Начальный ограничитель кадра состоит из одного байта с набором битов 10101011. Появление этой комбинации является указанием на предстоящий прием кадра.
Адрес получателя - может быть длиной 2 или 6 байтов (MAC-адрес получателя). Первый бит адреса получателя - это признак того, является адрес индивидуальным или групповым: если 0, то адрес указывает на определенную станцию, если 1, то это групповой адрес нескольких (возможно всех) станций сети. При широковещательной адресации все биты поля адреса устанавливаются в 1. Общепринятым является использование 6-байтовых адресов.
Адрес отправителя - 2-х или 6-ти байтовое поле, содержащее адрес станции отправителя. Первый бит - всегда имеет значение 0.
Двухбайтовое поле длины определяет длину поля данных в кадре.
Поле данных может содержать от 0 до 1500 байт. Но если длина поля меньше 46 байт, то используется следующее поле - поле заполнения, чтобы дополнить кадр до минимально допустимой длины.
Поле заполнения состоит из такого количества байтов заполнителей, которое обеспечивает определенную минимальную длину поля данных (46 байт). Это обеспечивает корректную работу механизма обнаружения коллизий. Если длина поля данных достаточна, то поле заполнения в кадре не появляется.
Поле контрольной суммы - 4 байта, содержащие значение, которое вычисляется по определенному алгоритму (полиному CRC-32). После получения кадра рабочая станция выполняет собственное вычисление контрольной суммы для этого кадра, сравнивает полученное значение со значением поля контрольной суммы и, таким образом, определяет, не искажен ли полученный кадр.
Кадр 802.3 является кадром MAС-подуровня, в соответствии со стандартом 802.2 в его поле данных вкладывается кадр подуровня LLC с удаленными флагами начала и конца кадра. Формат кадра LLC был описан выше.
Результирующий кадр 802.3/LLC изображен в левой части рисунка 4. Так как кадр LLC имеет заголовок длиной 3 байта, то максимальный размер поля данных уменьшается до 1497 байт.

Рис. 4. Форматы кадров Ethernet
Справа на этом рисунке приведен кадр, который называют кадром Raw 802.3 (то есть "грубый" вариант 802.3) или же кадром Novell 802.3. Из рисунка видно, что это кадр MAC-подуровня стандарта 802.3, но без вложенного кадра подуровня LLC. Компания Novell долгое время не использовала служебные поля кадра LLC в своей операционной системе NetWare из-за отсутствия необходимости идентифицировать тип информации, вложенной в поле данных - там всегда находился пакет протокола IPX, долгое время бывшего единственным протоколом сетевого уровня в ОС NetWare.
Теперь, когда необходимость идентификации протокола верхнего уровня появилась, компания Novell стала использовать возможность инкапсуляции в кадр MAC-подуровня кадра LLC, то есть использовать стандартные кадры 802.3/LLC. Такой кадр компания обозначает теперь в своих операционных системах как кадр 802.2, хотя он является комбинацией заголовков 802.3 и 802.2.
Кадр стандарта Ethernet DIX, называемый также кадром Ethernet II, похож на кадр Raw 802.3 тем, что он также не использует заголовки подуровня LLC, но отличается тем, что на месте поля длины в нем определено поле типа протокола (поле Type). Это поле предназначено для тех же целей, что и поля DSAP и SSAP кадра LLC - для указания типа протокола верхнего уровня, вложившего свой пакет в поле данных этого кадра. Для кодирования типа протокола используются значения, превышающие значение максимальной длины поля данных, равное 1500, поэтому кадры Ethernet II и 802.3 легко различимы.
Еще одним популярным форматом кадра является кадр Ethernet SNAP (SNAP - SubNetwork Access Protocol, протокол доступа к подсетям). Кадр Ethernet SNAP определен в стандарте 802.2H и представляет собой расширение кадра 802.3 путем введения дополнительного поля идентификатора организации, которое может использоваться для ограничения доступа к сети компьютеров других организаций.
В таблице 2 приведены данные о том, какие типы кадров Ethernet обычно поддерживают реализации популярных протоколов сетевого уровня.
Таблица 2
| Тип кадра | Сетевые протоколы |
| Ethernet_II | IPX, IP, AppleTalk Phase I |
| Ethernet 802.3 | IPX |
| Ethernet 802.2 | IPX, FTAM |
| Ethernet_SNAP | IPX, IP, AppleTalk Phase II |
Спецификации физической среды Ethernet
Исторически первые сети технологии Ethernet были созданы на коаксиальном кабеле диаметром 0.5 дюйма. В дальнейшем были определены и другие спецификации физического уровня для стандарта Ethernet, позволяющие использовать различные среды передачи данных в качестве общей шины. Метод доступа CSMA/CD и все временные параметры Ethernet остаются одними и теми же для любой спецификации физической среды.
Физические спецификации технологии Ethernet на сегодняшний день включают следующие среды передачи данных:
10Base-5 - коаксиальный кабель диаметром 0.5 дюйма, называемый "толстым" коаксиалом. Имеет волновое сопротивление 50 Ом. Максимальная длина сегмента - 500 метров (без повторителей).
10Base-2 - коаксиальный кабель диаметром 0.25 дюйма, называемый "тонким" коаксиалом. Имеет волновое сопротивление 50 Ом. Максимальная длина сегмента - 185 метров (без повторителей).
10Base-T - кабель на основе неэкранированной витой пары (Unshielded Twisted Pair, UTP). Образует звездообразную топологию с концентратором. Расстояние между концентратором и конечным узлом - не более 100 м.
10Base-F - оптоволоконный кабель. Топология аналогична стандарту на витой паре. Имеется несколько вариантов этой спецификации - FOIRL, 10Base-FL, 10Base-FB.
Число 10 обозначает битовую скорость передачи данных этих стандартов - 10 Мб/с, а слово Base - метод передачи на одной базовой частоте 10 МГц (в отличие от стандартов, использующих несколько несущих частот, которые называются broadband - широкополосными).
Стандарт 10Base-5
Стандарт 10Base-5 соответствует экспериментальной сети Ethernet фирмы Xerox и может считаться классическим Ethernet'ом. Он использует в качестве среды передачи данных коаксиальный кабель с диаметром центрального медного провода 2,17 мм и внешним диаметром около 10 мм ("толстый" Ethernet).
Кабель используется как моноканал для всех станций. Сегмент кабеля имеет максимальную длину 500 м (без повторителей) и должен иметь на концах согласующие терминаторы сопротивлением 50 Ом, поглощающие распространяющиеся по кабелю сигналы и препятствующие возникновению отраженных сигналов.
Различные компоненты сети, выполненной на толстом коаксиале, показаны на рисунке 5.
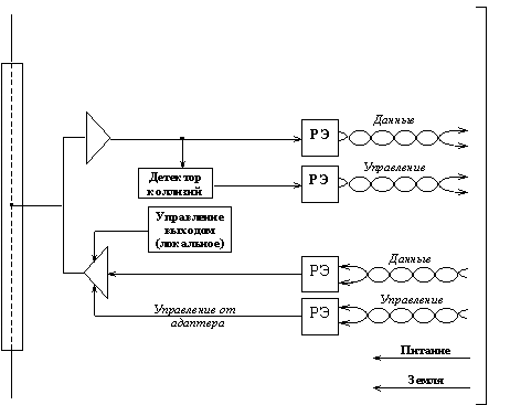
Станция должна подключаться к кабелю при помощи приемопередатчика - трансивера. Трансивер устанавливается непосредственно на кабеле и питается от сетевого адаптера компьютера (рис. 6). Трансивер может подсоединяться к кабелю как методом прокалывания, обеспечивающим непосредственный физический контакт, так и бесконтактным методом.
Трансивер соединяется с сетевым адаптером интерфейсным кабелем AUI (Attachment Unit Interface) длиной до 50 м, состоящим из 4 витых пар (адаптер должен иметь разъем AUI). Допускается подключение к одному сегменту не более 100 трансиверов, причем расстояние между подключениями трансиверов не должно быть меньше 2.5 м.

Рис. 5. Компоненты физического уровня сети стандарта
10 Base-5, состоящей из двух сегментов

Трансивер - это часть сетевого адаптера, которая выполняет следующие функции:
прием и передача данных с кабеля на кабель,
определение коллизий на кабеле,
электрическая развязка между кабелем и остальной частью адаптера,
защита кабеля от некорректной работы адаптера.
Последнюю функцию часто называют контролем болтливости (jabber control). При возникновении неисправностей в адаптере может возникнуть ситуация, когда на кабель будет непрерывно выдаваться последовательность случайных сигналов. Так как кабель - это общая среда для всех станций, то работа сети будет заблокирована одним неисправным адаптером. Чтобы этого не случилось, на выходе передатчика ставится схема, которая проверяет количество битов, переданных в пакете. Если максимальная длина пакета превышается, то эта схема просто отсоединяет выход передатчика от кабеля.
Упрощенная структурная схема трансивера показана на рисунке 7. Детектор коллизий определяет наличие коллизии в коаксиальном кабеле по повышенному уровню постоянной составляющей сигналов. Если постоянная составляющая превышает определенный порог, то значит на кабель работает более чем один передатчик.
К достоинствам стандарта 10Base-5 относятся:
хорошая защищенность кабеля от внешних воздействий,
сравнительно большое расстояние между узлами,
возможность простого перемещения рабочей станции в пределах длины кабеля AUI.

Рис. 7. Структурная схема трансивера
К недостаткам следует отнести:
высокую стоимость кабеля,
сложность его прокладки из-за большой жесткости,
наличие специального инструмента для заделки кабеля,
при повреждении кабеля или плохом соединении происходит останов работы всей сети,
необходимо заранее предусмотреть подводку кабеля ко всем возможным местам установки компьютеров.
Стандарт 10Base-2
Стандарт 10Base-2 использует в качестве передающей среды коаксиальный кабель с диаметром центрального медного провода 0,89 мм и внешним диаметром около 5 мм ("тонкий" Ethernet, волновое сопротивление кабеля 50 Ом). Максимальная длина сегмента без повторителей составляет 185 м, сегмент должен иметь на концах согласующие терминаторы 50 Ом.
Станции подключаются к кабелю с помощью T-коннектора, который представляет из себя тройник, один отвод которого соединяется с сетевым адаптером, а два других - с двумя концами разрыва кабеля. Максимальное количество станций, подключаемых к одному сегменту, 30. Минимальное расстояние между станциями - 1 м.
Этот стандарт очень близок к стандарту 10Base-5. Но трансиверы в нем объединены с сетевыми адаптерами за счет того, что более гибкий тонкий коаксиальный кабель может быть подведен непосредственно к выходному разъему платы сетевого адаптера, установленной в шасси компьютера. Кабель в данном случае "висит" на сетевом адаптере, что затрудняет физическое перемещение компьютеров.
Топология сегмента сети стандарта 10Base-2 показана на рисунке 8.

Рис. 8. Сеть стандарта 10Base-2
Реализация этого стандарта на практике приводит к наиболее простому решению для кабельной сети, так как для соединения компьютеров требуются только сетевые адаптеры и Т-коннекторы. Однако этот вид кабельных соединений наиболее сильно подвержен авариям и сбоям: кабель восприимчив к помехам, в моноканале имеется большое количество механических соединений (каждый T-коннектор дает три механических соединения, два из которых имеют жизненно важное значение для всей сети), пользователи имеют доступ к разъемам и могут нарушить целостность моноканала. Кроме того, эстетика и эргономичность этого решения оставляют желать лучшего, так как от каждой станции через T-коннектор отходят два довольно заметных провода, которые под столом часто образуют моток кабеля - запас, необходимый на случай даже небольшого перемещения рабочего места.
Общим недостатком стандартов 10Base-5 и 10Base-2 является отсутствие оперативной информации о состоянии моноканала. Повреждение кабеля обнаруживается сразу же (сеть престает работать), но для поиска отказавшего отрезка кабеля необходим специальный прибор - кабельный тестер.
Стандарт 10Base-T
Стандарт принят в 1991 году как дополнение к существующему набору стандартов Ethernet и имеет обозначение 802.3i.
Использует в качестве среды двойную неэкранированную витую пару (Unshielded Twisted Pair, UTP). Соединения станций осуществляются по топологии "точка - точка" со специальным устройством - многопортовым повторителем с помощью двух витых пар. Одна витая пара используется для передачи данных от станции к повторителю (выход Tx сетевого адаптера), а другая - для передачи данных от повторителя станции (вход Rx сетевого адаптера). На рисунке 9 показан пример трехпортового повторителя.
Многопортовые повторители в данном случае обычно называются концентраторами (англоязычные термины - hub или concentrator). Концентратор осуществляет функции повторителя сигналов на всех отрезках витых пар, подключенных к его портам, так что образуется единая среда передачи данных - моноканал (шина). Повторитель обнаруживает коллизию в сегменте в случае одновременной передачи сигналов по нескольким своим Rx входам и посылает jam-последовательность на все свои Tx выходы. Стандарт определяет битовую скорость передачи данных 10 Мб/с и максимальное расстояние отрезка витой пары между двумя непосредственно связанными узлами (станциями и концентраторами) не более 100 м при использовании витой пары качества не ниже категории 3.
_
Рис. 9. Сеть 10Base-T - один домен коллизий
Tx - передатчик, Rx - приемник
Возможно иерархическое соединение концентраторов в дерево (рис. 10). Для обеспечения синхронизации станций при реализации процедур доступа CSMA/CD и надежного распознавания станциями коллизий в стандарте определено максимально число концентраторов между любыми двумя станциями сети.

Рис. 2.10. Повторители (концентраторы)
Общее количество станций в сети 10Base-T не должно превышать 1024.
Сети, построенные на основе стандарта 10Base-T, обладают по сравнению с коаксиальными вариантами Ethernet'а многими преимуществами. Эти преимущества связаны с разделением общего физического кабеля на отдельные кабельные отрезки, подключенные к центральному коммуникационному устройству. И хотя логически эти отрезки попрежнему образуют общий домен коллизий, их физическое разделение позволяет контролировать их состояние и отключать в случае обрыва, короткого замыкания или неисправности сетевого адаптера на индивидуальной основе. Это обстоятельство существенно облегчает эксплуатацию больших сетей Ethernet, так как концентратор обычно автоматически выполняет такие функции, уведомляя при этом администратора сети о возникшей проблеме.
Стандарт 10Base-F
Стандарт 10Base-F использует в качестве среды передачи данных оптоволокно. Функционально сеть стандарта 10Base-F состоит из тех же элементов, что и сеть стандарта 10Base-T - сетевых адаптеров, многопортового повторителя и отрезков кабеля, соединяющих адаптер с портом повторителя. Как и при использовании витой пары, для соединения адаптера с повторителем используется два оптоволокна - одно соединяет выход Tx адаптера со входом Rx повторителя, а другое - вход Rx адаптера с выходом Tx повторителя.
Стандарт FOIRL (Fiber Optic Inter-Repeater Link) - это первый стандарт комитета 802.3 для использования оптоволокна в сетях Ethernet. Он гарантирует длину оптоволоконной связи между повторителями до 1 км при общей длине сети не более 2500 м. Максимальное число повторителей - 4.
Стандарт 10Base-FL предназначен для соединения конечных узлов с концентратором и работает с сегментами оптоволокна длиной не более 2000 м при общей длине сети не более 2500 м. Максимальное число повторителей - 4.
Стандарт 10Base-FB предназначен для магистрального соединения повторителей. Он позволяет иметь в сети до 5 повторителей при максимальной длине одного сегмента 2000 м и максимальной длине сети 2740 м. Повторители, соединенные по стандарту 10Base-FB постоянно обмениваются специальными последовательностями сигналов, отличающимися от сигналов кадров данных, для обнаружения отказов своих портов. Поэтому, концентраторы стандарта 10Base-FB могут поддерживать резервные связи, переходя на резервный порт при обнаружении отказа основного с помощью тестовых специальных сигналов. Концентраторы этого стандарта передают как данные, так и сигналы простоя линии синхронно, поэтому биты синхронизации кадра не нужны и не передаются. Стандарт 10Base-FB поэтому называют также синхронный Ethernet.
Стандарты 10Base-FL и 10Base-FB не совместимы между собой.
Правило 4-х повторителей
При описании топологии сети стандарта 10Base-5 приводились ограничения на длину одного непрерывного отрезка коаксиального кабеля, используемого в качестве общей шины передачи данных для всех станций сети. Отрезок кабеля, завершающийся на обоих концах терминаторами и имеющий общую длину не более 500 м называется физическим сегментом сети. Однако при расчете окна коллизий общая максимальная длина сети 10Base-5 считалась равной 2500 м. Противоречия здесь нет, так как стандарт 10Base-5 (впрочем как и остальные стандарты физического уровня Ethernet) допускает соединение нескольких сегментов коаксиального кабеля с помощью повторителей, которые обеспечивают увеличение общей длины сети.
Повторитель соединяет два сегмента коаксиального кабеля и выполняет функции регенерации электрической формы сигналов и их синхронизации (retiming). Повторитель прозрачен для станций, он обязан передавать кадры без искажений, модификации, потери или дублирования. Имеются ограничения на максимально допустимые величины дополнительных задержек распространения битов нормального кадра через повторитель, а также битов jam-последовательности, которую повторитель обязан передать на все подключенные к нему сегменты при обнаружении коллизии на одном из них. Воспроизведение коллизии на всех подключенных к повторителю сегментах - одна из его основных функций. Говорят, что сегменты, соединенные повторителями, образуют один домен коллизий (collision domain).
Повторитель состоит из трансиверов, подключаемых к коаксиальным сегментам, а также блока повторения, выполняющего основные функции повторителя.
На рисунке 5 показан пример сети, состоящей из двух сегментов, соединенных одним повторителем.
В общем случае стандарт 10Base-5 допускает использование до 4-х повторителей, соединяющих в этом случае 5 сегментов длиной до 500 метров каждый, если используемые повторители удовлетворяют ограничениям на допустимые величины задержек сигналов. При этом общая длина сети будет составлять 2500 м, и такая конфигурация гарантирует правильное обнаружение коллизии крайними станциями сети. Только 3 сегмента из 5 могут быть нагруженными, то есть сегментами с подключенными к ним трансиверами конечных станций.
Правила 4-х повторителей и максимальной длины каждого из сегментов легко использовать на практике для определения корректности конфигурации сети. Однако эти правила применимы только тогда, когда все соединяемые сегменты представляют собой одну физическую среду, то есть в нашем случае толстый коаксиальный кабель, а все повторители также удовлетворяют требованиям физического стандарта 10Base-5. Аналогичные простые правила существуют и для сетей, все сегменты которых удовлетворяют требованиям другого физического стандарта, например, 10Base-T или 10Base-F. Однако для смешанных случаев, когда в одной сети Ethernet присутствуют сегменты различных физических стандартов, правила, основанные только на количестве повторителей и максимальных длинных сегментов становятся более запутанными. Поэтому более надежно рассчитывать время полного оборота сигнала по смешанной сети с учетом задержек в каждом типе сегментов и в каждом типе повторителей и сравнивать его с максимально допустимым временем, которое для любых сетей Ethernet с битовой скоростью 10 Мб/с не должно превышать 575 битовых интервалов (количество битовых интервалов в пакете минимальной длины с учетом преамбулы). Примеры таких расчетов будут даны после рассмотрения всех физических стандартов Ethernet.
Методика расчета конфигурации сети Ethernet
Для того, чтобы сеть Ethernet, состоящая из сегментов различной физической природы, работала корректно, необходимо, чтобы выполнялись три основных условия:
Количество станций в сети не превышает 1024 (с учетом ограничений для коаксиальных сегментов).
Удвоенная задержка распространения сигнала (Path Delay Value, PDV) между двумя самыми удаленными друг от друга станциями сети не превышает 575 битовых интервалов.
Сокращение межкадрового расстояния (Interpacket Gap Shrinkage) при прохождении последовательности кадров через все повторители не более, чем на 49 битовых интервалов (напомним, что при отправке кадров станция обеспечивает начальное межкадровое расстояние в 96 битовых интервалов).
Соблюдение этих требований обеспечивает корректность работы сети даже в случаях, когда нарушаются простые правила конфигурирования, определяющие максимальное количество повторителей и максимальную длину сегментов каждого типа.
Физический смысл ограничения задержки распространения сигнала по сети уже пояснялся - соблюдение этого требования обеспечивает своевременное обнаружение коллизий.
Требование на минимальное межкадровое расстояние связано с тем, что при прохождении кадра через повторитель это расстояние уменьшается. Каждый пакет, принимаемый повторителем, ресинхронизируется для исключения дрожания сигналов, накопленного при прохождении последовательности импульсов по кабелю и через интерфейсные схемы. Процесс ресинхронизации обычно увеличивает длину преамбулы, что уменьшает межкадровый интервал. При прохождении кадров через несколько повторителей межкадровый интервал может уменьшиться настолько, что сетевым адаптерам в последнем сегменте не хватит времени на обработку предыдущего кадра, в результате чего кадр будет просто потерян. Поэтому не допускается суммарное уменьшение межкадрового интервала более чем на 49 битовых интервалов. Величину уменьшения межкадрового расстояния при переходе между соседними сегментами обычно называют в англоязычной литературе Segment Variability Value, SVV, а суммарную величину уменьшения межкадрового интервала при прохождении всех повторителей - Path Variability Value, PVV. Очевидно, что величина PVV равна сумме SVV всех сегментов, кроме последнего.
Расчет PDV
Для упрощения расчетов обычно используются справочные данные, содержащие значения задержек распространения сигналов в повторителях, приемопередатчиках и в различных физических средах. В таблице 3 приведены данные, необходимые для расчета значения PDV для всех физических стандартов сетей Ethernet, взятые из справочника Technical Reference Pocket Guide (Volume 4, Number 4) компании Bay Networks.
Таблица 3.
| Тип сегмента | База левого сегмента | База промежуточного сегмента | База правого сегмента | Задержка среды на 1 м | Максимальная длина сегмента |
| 10Base-5 | 11.8 | 46.5 | 169.5 | 0.0866 | 500 |
| 10Base-2 | 11.8 | 46.5 | 169.5 | 0.1026 | 185 |
| 10Base-T | 15.3 | 42.0 | 165.0 | 0.113 | 100 |
| 10Base-FB | - | 24.0 | - | 0.1 | 2000 |
| 10Base-FL | 12.3 | 33.5 | 156.5 | 0.1 | 2000 |
| FOIRL | 7.8 | 29.0 | 152.0 | 0.1 | 1000 |
| AUI (> 2 м) | 0 | 0 | 0 | 0.1026 | 2+48 |
Поясним терминологию, использованную в этой таблице, на примере сети, изображенной на рисунке 11.

Рис. 11. Пример сети Ethernet, состоящей из сегментов
различных физических стандартов
Левым сегментом называется сегмент, в котором начинается путь сигнала от выхода передатчика (выход Tx) конечного узла. Затем сигнал проходит через промежуточные сегменты и доходит до приемника (вход Rx) наиболее удаленного узла наиболее удаленного сегмента, который называется правым. С каждым сегментом связана постоянная задержка, названная базой, которая зависит только от типа сегмента и от положения сегмента на пути сигнала (левый, промежуточный или правый). Кроме этого, с каждым сегментом связана задержка распространения сигнала вдоль кабеля сегмента, которая зависит от длины сегмента и вычисляется путем умножения времени распространения сигнала по одному метру кабеля (в битовых интервалах) на длину кабеля в метрах.
Общее значение PDV равно сумме базовых и переменных задержек всех сегментов сети. Значения констант в таблице даны с учетом удвоения величины задержки при круговом обходе сети сигналом, поэтому удваивать полученную сумму не нужно.
Так как левый и правый сегмент имеют различные величины базовой задержки, то в случае различных типов сегментов на удаленных краях сети необходимо выполнить расчеты дважды: один раз принять в качестве левого сегмента сегмент одного типа, а во второй раз - сегмент другого типа, а результатом считать максимальное значение PDV. В нашем примере крайние сегменты сети принадлежат к одному типу - стандарту 10Base-T, поэтому двойной расчет не требуется, но если бы они были сегментами разного типа, то в первом случае нужно было бы принять в качестве левого сегмент между станцией и концентратором 1, а во втором считать левым сегмент между станцией и концентратором 5.
Рассчитаем значение PDV для нашего примера.
Левый сегмент 1: 15.3 (база) + 100 м ґ 0.113 /м = 26.6
Промежуточный сегмент 2: 33.5 + 1000 ґ 0.1 = 133.5
Промежуточный сегмент 3: 24 + 500 ґ 0.1 = 74.0
Промежуточный сегмент 4: 24 + 500 ґ 0.1 = 74.0
Промежуточный сегмент 5: 24 + 600 ґ 0.1 = 84.0
Правый сегмент 6: 165 + 100 ґ 0.113 = 176.3
Сумма всех составляющих дает значение PDV, равное 568.4.
Так как значение PDV меньше максимально допустимой величины 575, то эта сеть проходит по величине максимально возможной задержки оборота сигнала. Несмотря на то, что ее общая длина больше 2500 метров.
Расчет PVV
Для расчета PVV также можно воспользоваться табличными значениями максимальных величин уменьшения межкадрового интервала при прохождении повторителей различных физических сред (таблица 4 взята из того же справочника, что и предыдущая).
Таблица 4.
| Тип сегмента | Передающий сегмент | Промежуточный сегмент |
| 10Base-5 или 10Base-2 | 16 | 11 |
| 10Base-FB | - | 2 |
| 10Base-FL | 10.5 | 8 |
| 10Base-T | 10.5 | 8 |
В соответствии с этими данными рассчитаем значение PVV для нашего примера.
Левый сегмент 1 10Base-T: дает сокращение в 10.5 битовых интервалов
Промежуточный сегмент 2 10Base-FL: 8
Промежуточный сегмент 3 10Base-FB: 2
Промежуточный сегмент 4 10Base-FB: 2
Промежуточный сегмент 5 10Base-FB: 2
Сумма этих величин дает значение PVV, равное 24.5, что меньше предельного значения в 49 битовых интервалов.
В результате, приведенная в примере сеть по всем параметрам соответствует стандартам Ethernet.
Похожие рефераты:
Курс лекции по компьютерным сетям
Локальные сети на основе коммутаторов
Проектирование локально-вычислительной сети
Проект высокоскоростной локальной вычислительной сети предприятия
Локальная сеть Ethernet в жилом микрорайоне
Анализ и оценка типовых топологий вычислительных сетей
Проектирование "домашней" локальной сети
Построение локальной вычислительной сети предприятия
Компьютерные сети Информационных технологий
Устройства передачи информации по сети электропитания
Разработка и исследование имитационной модели локальных вычислительных сетей