| Похожие рефераты | Скачать .docx |
Дипломная работа: Устройства передачи информации по сети электропитания
РЕФЕРАТ
Пояснительная записка к дипломной работе, 36 рис., 10 табл., 25 источников.
Объект работы – устройство передачи информации по сети электропитания. Передающая часть.
Цель проекта – разработка устройства передачи информации по сети электропитания для организации локальных компьютерных сетей. Разработка передающей части устройства.
В результате проведения дипломной работы была проведена разработка физического уровня передающей части устройства передачи информации по сети электропитания. Проведен анализ и выбор способов кодирования и модуляции. Разработан алгоритм работы передающей части устройства. Произведен выбор элементной базы.
СИСТЕМА ПЕРЕДАЧИ ДАННЫХ, СПЕКТР, DSP-КОНТРОЛЛЕР, УСТРОЙСТВО ПРИСОЕДИНЕНИЯ, ТРЕЛЛИС-КОДИРОВАНИЕ, МОДУЛЯЦИЯ, СКОРОСТЬ ПЕРЕДАЧИ, ИНФОРМАЦИОННАЯ СКОРОСТЬ, ВРЕДНЫЕ И ОПАСНЫЕ ПРОИЗВОДСТВЕННЫЕ ФАКТОРЫ, КОНКУРЕНТОСПОСОБНОСТЬ.
СОДЕРЖАНИЕ
ПЕРЕЧЕНЬ УСЛОВНЫХ ОБОЗНАЧЕНИЙ, СИМВОЛОВ, ЕДИНИЦ, СОКРАЩЕНИЙ И ТЕРМИНОВ
ВВЕДЕНИЕ
1. ОБЗОР АНАЛОГИЧНЫХ УСТРОЙСТВ
2. ИЗМЕРЕНИЕ ХАРАКТЕРИСТИК РЕАЛЬНОГО КАНАЛА СВЯЗИ. ОБОСНОВАНИЕ ВЫБОРА ДИАПАЗОНА ЧАСТОТ РАБОТЫ СИСТЕМЫ
3. РАЗРАБОТКА СТРУКТУРНОЙ СХЕМЫ СИСТЕМЫ ПЕРЕДАЧИ ИНФОРМАЦИИ
4. АНАЛИЗ МЕТОДОВ КОДИРОВАНИЯ
4.1 Линейные методы кодирования
4.2 Сверточные коды
5. ОБЗОР ВИДОВ МОДУЛЯЦИИ
6. ОПИСАНИЕ ВНЕШНЕГО ИНТЕРФЕЙСА
6.1 Расчет полосовых фильтров
6.2 Описание адаптивного эквалайзера
6.3 Описание эхокомпенсатора
6.4 Описание устройства присоединения
7. ОПИСАНИЕ АЛГОРИТМА РАБОТЫ ПЕРЕДАЮЩЕЙ ЧАСТИ УСТРОЙСТВА. ВЫБОР ЭЛЕМЕНТНОЙ БАЗЫ
8. ОХРАНА ТРУДА
8.1 Анализ условий труда
8.1.1 Декомпозиция системы «человек – машина - среда»
8.2 Анализ вредных факторов
8.3 Техника безопасности
8.4 Производственная санитария и гигиена труда
8.5 Пожарная профилактика
9. ЭКОНОМИЧЕСКАЯ ЧАСТЬ
9.1 Характеристика изделия
9.2 Исследование и анализ рынков сбыта
9.2.1 Параметрическая сегментация рынка
9.3 Затраты на разработку устройства
9.4 Расчет договорной цены изделия
9.5 Анализ безубыточности производства устройства
9.6 Расчет ожидаемой прибыли
9.7 Оценка конкурентоспособности устройства
9.7.1 Анализ конкурентоспособности приемной части устройства по техническим параметрам
9.7.2 Расчет интегрального показателя конкурентоспособности
ВЫВОДЫ
ПЕРЕЧЕНЬ ССЫЛОК
ПЕРЕЧЕНЬ УСЛОВНЫХ ОБОЗНАЧЕНИЙ, СИМВОЛОВ, ЕДИНИЦ, СОКРАЩЕНИЙ И ТЕРМИНОВ
BPSK (BinaryPhaseShiftKeying) – двоичная фазовая манипуляция;
DSP (DigitalSignalProcessor) – сигнальный цифровой процессор;
DPSK (DifferentialPhaseShiftKeying) – относительная фазовая модуляция;
FQPSK (FeherQuadraturePhaseShiftKeying) – запатентованная Феером квадратурная фазовая манипуляция;
FSK (Frequency Shift Keying) – частотная модуляция;
FBPSK ((Feher Binary Phase Shift Keying) - запатентованная Феером двоичная фазовая манипуляция;
GMSK (GaussianMinimumShiftKeying) – запатентованная гауссовская модуляция с минимальным частотным сдвигом;
IRQ – шина прерываний;
MSK – модуляция с минимальным частотным сдвигом;
NRZ (NonreturntoZero) – код без возврата к нулю;
O-QPSK (OffsetQuadraturePhaseShiftKeying) – 4-позиционная модуляция со сдвигом;
QAM (QuadratureAmplitudeModulation) – квадратурная амплитудная модуляция;
QPSK (QuadraturePhaseShiftKeying) – квадратурная фазовая манипуляция;
RZ (ReturntoZero) – код с возвратом к нулю;
SC (Signal Coustellation) – сигнальное созвездие;
TCM – Модуляция с решетчатым кодированием;
АБГШ – аддитивный белый гауссовский шум;
АЦП – аналого-цифровой преобразователь;
ДС – дифференциальная система;
ЛС – линия связи;
МП – микропроцессор;
ОЗУ – оперативное запоминающее устройство;
ОУ – операционный усилитель;
ПЗУ – постоянное запоминающее устройство;
ПК – персональный компьютер;
ППЗУ – перепрограммируемое постоянное запоминающее устройство;
ПУ – периферийное устройство;
ПФ – полосовой фильтр;
СКК – сигнально-кодовая конструкция;
УП – устройство присоединения;
ФВЧ – фильтр верхних частот;
ФНЧ – фильтр нижних частот
ЦАП – цифро-аналоговый преобразователь;
ША – шина адреса;
ШД – шина данных.
ВВЕДЕНИЕ
Компьютерные сети прочно закрепились во многих отраслях деятельности человека. Поэтому многие производители компьютерной техники, наряду с выпуском компьютеров и периферийных устройств, наладили выпуск сетевого оборудования и программного обеспечения. При этом для объединения в сеть нескольких компьютеров и периферийных устройств, они используют различные технические решения. Однако основные принципы обмена информацией между компьютерами или компьютерами и периферийными устройствами остаются везде неизменными. Во всех существующих технологиях есть свои преимущества и недостатки. И поэтому каждая технология находит применение в тех ситуациях, где она наиболее удовлетворяет потребностям пользователей.
При современном уровне развития компьютерной техники и сетевых технологий, к компьютерным сетям предъявляются жесткие требования. Компьютерная сеть должна обеспечивать требуемую для конкретных условий скорость передачи; так же она должна быть мобильной, с большим количеством точек доступа, при этом не должна требоваться прокладка кабеля; сеть должна иметь простое администрирование; она должна обеспечивать высокую надежность при простых технических решениях; сеть должна поддерживать все возможные типы сетевого оборудования и при всем этом она должна быть дешевой.
При всеобщей глобальной компьютеризации, как простого населения, так и предприятий, организаций и спецслужб появилась необходимость организации временных компьютерных сетей в очень короткое время. В основном такая необходимость возникает на предприятиях и организациях занятых исследовательской деятельностью или раздельным выполнением одного проекта, а так же у организаций занятых ликвидацией чрезвычайных ситуаций.
Одним из возможных вариантов организации временных компьютерных сетей является система передачи данных по энергосетям, физический уровень передающей части которой разрабатывается в данной дипломной работе.
В дипломной работе будет разработана передающая часть устройства передачи данных по энергосетям.
Раздел "Охрана труда" выполняется с целью создания безопасных условий труда при работе с компьютерной техникой, в частности с разрабатываемым устройством.
В экономической части диплома будет произведен расчет себестоимости проектируемого устройства и анализ конкурентоспособности.
1. О БЗОР АНАЛОГИЧНЫХ УСТРОЙСТВ
В настоящее время компьютерные технологии и в частности компьютерная связь стали неотъемлемой частью производственного процесса и жизнедеятельности человека. Многие производители компьютерной техники, наряду с выпуском компьютеров и периферийных устройств, наладили выпуск сетевого оборудования и программного обеспечения. При этом, для объединения в сеть нескольких компьютеров и периферийных устройств, они используют различные технические решения. Однако основные принципы обмена информацией между компьютерами или компьютерами и периферийными устройствами остаются везде неизменными.
Для обмена данными между компьютером и периферийным устройством (ПУ) в компьютере предусмотрен внешний интерфейс, то есть соединения между компьютером и периферийным устройством, а так же набор правил обмена информацией. Интерфейс реализуется со стороны компьютера совокупностью аппаратных и программных средств: контроллером ПУ и специальной программой, управляющей этим контроллером – драйвером ПУ. Периферийное устройство использует внешний интерфейс компьютера не только для приема информации, но и для передачи информации в компьютер, то есть обмен данными по внешнему интерфейсу, как правило, является двунаправленным. Программа, выполняемая процессором, может обмениваться данными с помощью команд ввода/вывода с любыми модулями, подключенными к внутренней шине компьютера, в том числе с контроллерами ПУ. Контроллеры ПУ принимают команды и данные от процессора в свой внутренний буфер (регистр или порт), затем выполняют необходимые преобразования этих данных и команд в соответствии с форматами, понятными периферийному устройству, и выдают их на внешний интерфейс.
Ethernet – самая распространенная на сегодняшний день технология локальных сетей. В широком смысле Ethernet – это целое семейство технологий, включающее различные форменные и стандартные варианты. Почти все виды технологий Ethernet используют один и тот же метод разделения среды передачи данных – метод случайного доступа CDMA/CD, который определяет облик технологии в целом. Важным явлением в сетях Ethernet является коллизия – ситуация, когда две станции одновременно пытаются передать кадр данных по общей среде. Наличие коллизий – это неотъемлемое свойство сетей Ethernet, являющееся следствием принятого случайного метода доступа. Возможность четкого распознавания коллизий обусловлена правильным выбором параметров сети, в частности соблюдением соотношения между минимальной длиной кадра и максимально возможным диаметром сети. На характеристики производительности сети большое значение оказывает коэффициент использования сети, который отражает загруженность сети. При значениях этого коэффициента свыше 50% полезная пропускная способность резко падает: из-за роста интенсивности коллизий, а так же увеличения времени ожидания доступа к среде. Максимально возможная пропускная способность сегмента Ethernet в кадрах в секунду достигается при передаче кадров минимальной длины и составляет 14880 кадр/с. При этом полезная пропускная способность сети составляет всего 5,48 Мбит/с, что лишь немного более половины от номинальной пропускной способности – 10 Мбит/с. Технология Ethernet поддерживает 4 разных типа кадров, которые имеют общий формат адресов узлов. Существуют формальные признаки, по которым сетевые адаптеры автоматически распознают тип кадра. В зависимости от типа физической среды существуют различные спецификации: 10Base-5, 10Base-2, 10Base-Т, FOIRL, 10Base-FL, 10Base-FB. Для каждой спецификации определяются тип кабеля, максимальные длины непрерывных отрезков кабеля, а так же правила использования повторителей для увеличения диаметра сети: правило «5-4-3» для коаксиальных вариантов сети, и правило «четырех хабов» для витой пары и оптоволокна.
Технология TokenRing развивается в основном компанией IBM. В сетях TokenRing используется маркерный метод доступа, который гарантирует каждой станции получение доступа к разделяемому кольцу в течение оборота маркера. Метод доступа основан на приоритетах: от 0 до 7. Станция сама определяет приоритет текущего кадра и может захватить кольцо только в том случае, когда в кольце нет более приоритетных кадров. Сети TokenRing работают на двух скоростях 4 и 16 Мбит/с и могут использовать в качестве физической среды экранированную витую пару, неэкранированную витую пару, а так же оптоволокно. Максимальное количество станций в кольце – 260, а максимальная длина кольца – 4 км. Технология TokenRing обладает элементами отказоустойчивости. За счет обратной связи кольца одна из станций - активный монитор – непрерывно контролирует наличие маркера, а так же время оборота маркера и кадров данных. При некорректной работе кольца запускается процедура его повторной инициализации, а если она не помогает, то для локализации неисправного участка кабеля или неисправной станции используется процедура beaconing. В сети TokenRing станции в кольцо объединяют с помощью концентраторов (MSAU). Пассивный концентратор выполняет роль кроссовой панели, которая соединяет выход предыдущей станции в кольце со входом последующей. Максимальное расстояние от станций до MSAU – 100 м для STP и 45 м для UTP. Активный монитор выполняет в кольце так же роль повторителя – он ресинхронизирует сигналы, проходящие по кольцу. Кольцо может быть построено на основе активного концентратора MSAU, который в этом случае называется повторителем. Сеть TokenRingможет строиться на основе нескольких колец, разделенных мостами, маршрутизирующими кадры по принципу «от источника», для чего в кадр TokenRing добавляется специальное поле с маршрутом прохождения колец [1].
В основе построения беспроводных локальных вычислительных сетей лежит технология Ethernet. На физическом уровне для беспроводных локальных сетей определены четыре различные способа передачи данных: инфракрасное излучение, лазеры, радиопередачи в узком спектре (одночастотные передачи) и радиопередачи в рассеянном спектре. Последние два способа имеют общее название – радиопередача в размытом спектре. При этом используются частоты в диапазоне 2.4 – 2.4835 ГГц. Этот диапазон является безлицензионным. Технология обеспечивает возможность передачи со скоростью 1 – 16 Мбит/с. Суть радиопередачи в узком спектре заключается в модуляции исходных данных при помощи широкополосного сигнала. Приемнику известен модулирующий сигнал, поэтому он может восстановить исходный сигнал. Первоначально многие выпускаемые продукты были рассчитаны на работу в диапазоне от 902 – 928 МГц. В настоящее время используется диапазон на частоте 3.4 ГГц. Таким образом, данный способ напоминает вещание радиостанции, при котором прямая видимость не обязательна. Площадь вещания при этом способе составляет до 46500 м2. Сигнал высокой частоты, который используется, не проникает через металлические или железобетонные преграды. При радиопередаче в рассеянном спектре сигналы передаются в некоторой полосе частот, что позволяет избежать некоторых проблем связи, которые присущи одночастотной передаче. В данном способе предусмотрена передача коротких серий данных на одной частоте, затем на другой и т. д. Поскольку каждый пользователь работает со своей уникальной последовательностью частот, в одном диапазоне работает несколько пользователей одновременно. Благодаря этому в этом способе более рационально используется доступный диапазон частот. Последовательность скачков должна иметь не менее 75 различных частот, при этом длительность передачи на конкретной частоте должна длиться не более 400 мкс. При наличии помех, на какой либо частоте передача повторяется на следующей частоте. Скорость передачи при использовании радиопередачи в рассеянном спектре 250 кбит/с – 2 Мбит/с. Если скорость передачи 2 Мбит/с, то дальность передачи достигает 3,2 км. Все инфракрасные беспроводные сети используют для передачи данных инфракрасные лучи. В подобных системах необходимо генерировать очень сильный сигнал, так как в противном случае значительное влияние будет оказывать отражение поверхностей. Этот способ позволяет передавать сигналы с большой скоростью, поскольку инфракрасный свет имеет широкий диапазон частот. Инфракрасные сети способны нормально функционировать на скорости 10 Мбит/с. Лазерная технология требует прямой видимости между передатчиком и приемником. Если каким либо причинам луч будет прерван, то это прервет и саму передачу.
При передаче данных по телефонным сетям, используется устройство называемое модем. Основная функция модема — преобразование несущего гармонического колебания (одного или нескольких его параметров) в соответствии с законом изменения передаваемой информационной последовательности. Благодаря использованию модемов, удалось достигнуть скоростей передачи данных – 14400, 28800 бит/с. При этом используются различные протоколы модуляции (V.32bis, V.34) и протоколы уплотнения [2].
В 1996 году альянсом фирм 3Com, AgereSystem, AMD, AT&TWirelessServices, Hewlett-Packard, Intel, Motorola и др. был разработан стандарт HomePNA. При разработке данной сетевой технологии ставились задачи: достижение максимально возможной скорости передачи на относительно небольшом расстоянии по уже существующей телефонной проводке; при этом должна обеспечиваться максимальная совместимость с уже существующими аналогами; обеспечение широкополосного доступа к Internet и передача медиа информации. В итоге технология HomePNA основывается на протоколе Ethernet и следовательно, при разрешении конфликтов между устройствами использует алгоритм CSMA/CD. Поскольку в телефонных линиях уже использовались частотные диапазоны голосовой связи (3.5 кГц) и модемной связи xDSL (1.1 МГц), в качестве рабочего диапазона был выбран диапазон от 4 до10 МГц. На физическом уровне HomePNA используется квадратурная амплитудная модуляция QAM. Это позволило обеспечить базовую пропускную способность до 10 Мбит/с, а максимальную – до 32 Мбит/с. Так же в HomePNA применяется дублирование потоков данных на разных частотах. Эта методика называется FDQAM. Избыточно широкий диапазон 6 МГц поделен на три полосы по 2 МГц, в каждой из которых транслируется копия информационного потока. Таким образом, даже если на какой-то частоте возникает мощный источник помех, то приемник по-прежнему в состоянии считывать сигнал на другой частотной полосе. Использование в реальных условиях HomePNA сталкивается с некоторыми трудностями. Так, например, подключение в телефонную сеть хотя бы одного телефона ведет к уменьшению скорости передачи на 7-12%. При создании большой сети HomePNA (более 10 абонентов), путем соединения их в общую шину, необходимо использовать HomePNA-коммутатор, что ведет к увеличению стоимости сети. Иначе будет наблюдаться снижение скорости обмена до 2 кбит/с, причем количество потерянных пакетов достигает 19 из 75. Так же на пути внедрения сетей HomePNA в использование лежат не только технические проблемы, но так же и юридические. Законодательством предусмотрена ответственность за несанкционированное подключение к телефонным линиям либо подключение устройств, не сертифицированных в Украине [3].
Во всех вышеперечисленных технологиях есть свои преимущества и недостатки. И поэтому каждая технология находит применение в тех ситуациях, где она наиболее удовлетворяет потребностям пользователей.
При современном уровне развития компьютерной техники и сетевых технологий, к компьютерным сетям предъявляются жесткие требования. Компьютерная сеть должна обеспечивать требуемую для конкретных условий скорость передачи; так же она должна быть мобильной, с большим количеством точек доступа, при этом не должна требоваться прокладка кабеля; сеть должна иметь простое администрирование; она должна обеспечивать высокую надежность при простых технических решениях; сеть должна поддерживать все возможные типы сетевого оборудования и при всем этом она должна быть дешевой.
Все сетевые технологии в разной степени удовлетворяют всем этим требованиям. Поскольку многие требования являются противоречивыми. Поэтому производители сетевого оборудования пытаются удовлетворить либо все требования в равной степени, либо только наиболее важные, но с высоким качеством.
При всеобщей глобальной компьютеризации, как простого населения, так и предприятий, организаций и спецслужб появилась необходимость организации временных компьютерных сетей в очень короткое время. В основном такая необходимость возникает на предприятиях и организациях занятых исследовательской деятельностью или раздельным выполнением одного проекта, а так же у организаций занятых ликвидацией чрезвычайных ситуаций.
Стандартные методы организации локальных сетей, в этом случае, будут неэффективными. При использовании стандартных методов появиться большое количество проблем, связанных с тем, что если сеть организовывается на короткий интервал времени, то необходимо каждый раз организовывать новую кабельную систему. Что является слишком дорогостоящим мероприятием. Так же прокладка новой кабельной системы будет занимать длительное время, что в некоторых случаях является довольно критичным фактором. Сейчас существуют технологии, позволяющие организовать беспроводные локальные сети (RadioEthernet, сети на инфракрасном излучении и лазерные сети). Однако эти методы также отличаются сложностью организации и дороговизной. Кроме того, область их использования довольно ограничена, так как сигналы высокой частоты, на которых построены эти сети, не проходят сквозь металлоконструкции и железобетонные стены. Организация компьютерной сети по телефонным линиям так же довольно проблематична, поскольку не в каждом помещении имеется телефонный кабель с разъемом.
Таким образом, альтернативой рассмотренных методов является организация локальной компьютерной сети по энергосети. Достоинствами этого метода являются: наличие разветвленной и распространенной сети электропитания; кабельная система электропитания отличается своей надежностью; нет необходимости в прокладке кабеля; легкодоступность энергосети позволяет без больших затрат времени организовать подключение. Исходя из всего этого, можно сделать вывод, что данный метод организации локальной сети является наиболее простым в реализации, наиболее дешевым и сеть, организованная данным методом, является наиболее мобильной. Однако существуют и некоторые недостатки, например, разное качество энергосетей, наличие в сети электропитания развязывающих трансформаторов (т. е. для организации сети необходимо иметь точную схему электропроводки), низкая степень обеспечения защиты информации, а так же сравнительно невысокая производительность.
В 1998 году появилось устройство PassPortPlug-InNetworkKit фирмы Intelogis, которое позволяет объединить до 20 компьютеров в сеть посредством обычной энергосети. Для установки PassPort необходимо подключить адаптер к энергосети и соединить его с параллельным портом компьютера. Это устройство отличается низкой ценой, по сравнению с устройствами беспроводной связи или устройствами кабельных сетей. Недостатком устройства PassPort является низкая производительность (350 кБит/с) [5].
2. ИЗМЕРЕНИЯ ХАРАКТЕРИСТИК РЕАЛЬНОГО КАНАЛА СВЯЗИ. ОБОСНОВАНИЕ ВЫБОРА ДИАПАЗОНА ЧАСТОТ РАБОТЫ СИСТЕМЫ
При проектировании системы передачи данных, исходными предпосылками являются частотный диапазон, в котором будет происходить передача, и сигналы помехи, существующие в данной среде. Для уже существующей среды передачи производиться измерение амплитудно-частотной характеристики, а также определение существующих помех, их амплитуды и частоты, методы борьбы с помехами и наиболее подходящие диапазоны частот для передачи данных в данной среде. Зная распределение помех, можно выделить полезный сигнал, увеличив амплитуду полезного сигнала до допустимого соотношения сигнал-шум. Зная частоты, на которых действуют помехи, можно выбрать для передачи полезного сигнала тот частотный диапазон, где действие помех наименьшее.
Поскольку энергосеть имеет свои отличительные особенности от других сред передачи данных, такие как высокое напряжение (220/380 В) и промчастоту (50 Гц), то для организации высокочастотной связи необходимо использовать устройства присоединения, которые соединяют передатчик (приемник) к среде. Устройством присоединения обычно является полосовой фильтр, включающий в себя конденсаторы присоединения, и выполняющий следующие функции:
- отсекает промчастоту и пропускает только полезный высокочастотный сигнал;
- служит заградительным устройством для высокого напряжения;
- служит согласующим элементом между высокочастотным кабелем и линейным трактом, так как волновое сопротивление кабеля не равно характеристическому сопротивлению линейного тракта [6].
Для проведения измерений амплитудно-частотных характеристик линий энергосети так же необходимо использовать устройство присоединения.
Заранее можно предположить, что на низких частотах в энергосети будет иметь место сильное влияние промчастоты, а так же сильные помехи от переходных процессов, регулярно присутствующих в энергосети. Поэтому область нижних частот не подходит для передачи данных и измерения амплитудно-частотной характеристики энергосети целесообразно проводить на высоких частотах (более 200 кГц).
Для проведения измерений было выбрано устройство присоединения, принципиальная схема которого приведена на рис. 2.1, со значениями С=100 нФ, R=2.2 кОм.
Значения элементов схемы выбраны с учетом обеспечения максимального коэффициента передачи в используемой полосе частот. Такое устройство присоединения имеет следующие амплитудно-частотные характеристики (рис. 2.2 и 2.3).

Рисунок 2.1 – Принципиальная схема устройства присоединения построенного на RC-фильтре

Рисунок 2.2 – Амплитудно-частотная характеристика устройства присоединения со стороны входа.

Рисунок 2.3 – Амплитудно-частотная характеристика устройства присоединения со стороны линии.
Амплитудно-частотные характеристики позволили определить диапазон, частот в котором устройство присоединения имеет минимальное влияние. Таким диапазоном оказался диапазон от 200 кГц и выше, в котором устройство имеет характеристики удовлетворяющие условиям проведения измерений и организации передачи данных.
Таким образом, для определения усредненной амплитудно-частотной характеристики сетей электропитания, провелся ряд экспериментальных измерений. Измерения проводились в условиях наиболее приближенным к условиям эксплуатации разрабатываемого устройства. Для получения наиболее точных данных было проведено большое количество измерений на различных участках энергосети, что позволило определить общий характер помех в энергосети. Во время проведения измерений на диапазоне частот до 500 кГц были выявлены помехи, имеющие случайный характер с большими амплитудами. Это помехи от переходных процессов и они имеют большое влияние в полосе частот до 500 кГц. С ростом частоты помехи имеют меньшие амплитуды и их спектральные составляющие расположены довольно редко, что позволяет найти диапазоны, в которых можно передавать данные. Однако так же с ростом частоты в энергосети увеличивается затухание передаваемых сигналов [6]. Эти условия вынуждают ограничить возможный частотный диапазон передачи данных от 500 кГц до 1 МГц.
Измерения проводились с помощью следующих приборов: генератор стандартных сигналов Г4-18А, генератор сигналов низкочастотный Г3-102, генератор сигналов низкочастотный Г3-56/1, осциллограф универсальный С1-70, анализатор спектра С4-25.
По результатам измерений был построен спектр сети электропитания (рис. 2.4).
Исходя из полученного спектра, видно, что уровни помех на данном частотном диапазоне не превышают 300 мкВ. Не смотря на то, что уровень помех не велик для обеспечения наиболее надежной передачи данных, выбирается диапазон частот с наименьшими помехами.

Рисунок 2.4 – Распределение помех в частотной области канала связи
Проведенные измерения амплитудно-частотной характеристики энергосети показали, что в диапазоне частот от 500 кГц до 1 МГц довольно плотный спектр помех. Однако присутствует несколько участков диапазона, в которых помехи на столько малы, что ими можно пренебречь. Это участки 649 – 695 кГц, 745 – 795 кГц, 830 – 880 кГц, 886 – 932 кГц и 943 – 988 кГц.
Таким образом, выбираем четыре диапазона частот с равными полосами 45 кГц (649 – 695 кГц, 745 – 795 кГц, 830 – 880 кГц и 943 – 988 кГц). Отсюда можно предположить, что система передачи данных по энергосети может работать в полудуплексном режиме, при этом используется разделение передаваемого потока данных на две полосы, а также для повышения надежности системы - резервирование. То есть по двум (основным) частотным диапазонам передается поток данных, разделенный на две части. Резервирование осуществляется на других двух частотных диапазонах (когда основные диапазоны находятся в нерабочем состоянии, система начинает работать на резервных диапазонах аналогично работе на основных). При выборе основных и резервных диапазонов, следует учесть характер действующих помех. То есть помехи, действующие в одном диапазоне, не должны проявляться в другом. Для этого диапазоны максимально разносятся по частоте. Это все позволяет увеличить помехоустойчивость системы.
Выбираем основными диапазонами передачи данных диапазоны 649 – 695 кГц (ширина 46 кГц) и 830 – 880 кГц (ширина 50 кГц). Резервными диапазонами выбираем 745 – 795 кГц и 943 – 988 кГц.
3. СТРУКТУРНАЯ СХЕМА СИСТЕМЫ ПЕРЕДАЧИ ИНФОРМАЦИИ
Для организации передачи данных по энергосетям передаваемая информация подвергается тем же преобразованиям, что и при передаче данных по телефонной сети общего пользования. То есть передаваемая информация на передающем конце подвергается кодированию, цифро-аналоговому преобразованию и модуляции, а на приемном конце – демодуляции, аналого-цифровому преобразованию и декодированию.
Поскольку каждый абонент системы передачи данных является как источником, так и получателем информации, то на каждом ПК необходимо организовать передающую и приемную части системы. Это удобно организовать, используя для передатчика и приемника один внутренний и внешний интерфейсы. Таким образом, обобщеная структурная схема системы передачи данных на одном ПК будет иметь следующий вид (рис. 3.1).

Рисунок 3.1 – Обобщеная схема системы передачи данных
Из рис. 3.1 видно, что передаваемые информация в цифровом виде поступает в устройство передачи данных через внутренний интерфейс. Внутренний интерфейс служит для выделения из всего потока данных, которые передаются по внутренней шине данных ПК, тех, которые предназначены для передачи в линию связи. Процесс выделения происходит в соответствии адресной информацией, передаваемой по шине адреса. Из этого следует, что внутренний интерфейс обеспечивает поступление в передающее устройство только тех данных, которые необходимо передать по линии связи. Таким же образом, принятые приемником данные, передаются через внутренний интерфейс в ПК для дальнейшей обработки.
Внешний интерфейс служит для согласования устройства передачи и приема данных с линией связи. Он выполняет функции разделения сигналов по направлениям, адаптацию сигналов к среде передачи, развязки по напряжению, согласования сопротивлений в линии и линейном тракте и выделения только полезного сигнала.
Процессы кодирования, декодирования, цифро-аналогового и аналого-цифрового преобразования, а так же модуляции и демодуляции выполняются микропроцессорной системой. Эта система имеет в своем составе постоянное запоминающее устройство (ПЗУ), которое содержит программное обеспечение, обеспечивающее выполнение определенных функций микропроцессорной системы. Так же в нее входят оперативное запоминающее устройство (ОЗУ) и перепрограммируемое постоянное запоминающее устройство (ППЗУ). ОЗУ используется для хранения промежуточных результатов вычислений, ключевых данных. В ППЗУ заносятся временные алгоритмы работы микропроцессорной системы. Все преобразования, которым подвергается сигнал, выполняются в самом микропроцессоре (МП). К используемому микропроцессору предъявляются особые требования. Так как при реализации алгоритмов кодирования и декодирования основной математической операцией является умножение с плавающей запятой, то при использовании классических МП резко возрастает сложность написания программ и время их выполнения. Сегодня в цифровой обработке сигналов широко применяются цифровые сигнальные процессоры, называемые еще – DSP-контроллерами. Основное достоинство этих DSP-контроллеров - возможность выполнения однотактных умножений, сложений, наличие специфических команд, таких как двоичная инверсия. Использование такого DSP-контроллера резко снижает требования к его быстродействию, что положительно сказывается на цене системы. Используя в микропроцессорной системе, наряду с обычным микропроцессором, DSP-контроллер, можно перераспределить выполняемые функции. Так МП занимается организацией обмена данными по шине данных с ПК, генерируя и получая адресную информацию по шине адреса, то есть выполняет функции внутреннего интерфейса. Так как быстродействие DSP-контроллера на много выше МП, то он выполняет функции кодирования, декодирования, цифро-аналогового и аналого-цифрового преобразования, а так же модуляции и демодуляции.
Внешний интерфейс организован несколькими устройствами, которые выполняют каждый свою функцию. Для адаптации сигнала к линии связи используется адаптивный эквалайзер. Эхокомпенсатор используется для разделения сигналов по направлениям. Устройство присоединения, выполняющее следующие функции: отсекает промчастоту и пропускает только полезный высокочастотный сигнал, служит заградительным устройством для высокого напряжения, служит согласующим элементом между высокочастотным кабелем и линейным трактом, так как волновое сопротивление кабеля не равно характеристическому сопротивлению линейного тракта.
Таким образом, общая структурная схема системы передачи данных по энергосети имеет следующий вид (рис. 3.2), где, УП – устройство присоединения, ША – шина адреса, ШД – шина данных.

Рисунок 3.2 – Структурная схема системы передачи информации по энергосетям
Исходя из этой схемы, можно привести структурную схему передатчика (рис. 3.3).
Функционирование МП осуществляется по алгоритму, записанному в ПЗУ и ППЗУ. Данные, которые анализируются микропроцессором, заносятся в ОЗУ. После выполнения всех необходимых операций над данными, происходит очистка ОЗУ, для того чтобы принять другие данные. Принцип работы кодера зависит от способа кодирования, который выбирается из условия получения минимальной вероятности ошибки и максимальной помехозащищенности. Модуляция должна обеспечивать перенос спектра полезного сигнала в область частот, где он будет меньше всего подвержен воздействию помех. Так же от способа модуляции зависит скорость передачи данных и максимальная помехоустойчивость. Поэтому от выбора вида модуляции зависят основные параметры системы передачи данных в целом.

Рисунок 3.3 – Структурная схема передатчика
Поскольку передача данных осуществляется в четырех частотных диапазонах, которые расположены довольно близко друг от друга, то появляется необходимость ограничения спектров передаваемых сигналов в рамках частотного диапазона. Ограничение производится для того, чтобы сигналы, передаваемые в одном диапазоне, не влияли на сигналы, которые передаются в другом частотном диапазоне. Для ограничения спектров используются полосовые фильтры, настроенные каждый на свою резонансную частоту.
Управление процессами, происходящими в микропроцессоре и DSP-контроллере, происходит с помощью драйверов, которые поставляются вместе с микропроцессором и DSP-контроллером от фирмы-производителя.
4. АНАЛИЗ МЕТОДОВ КОДИРОВАНИЯ
4.1 Линейные методы кодирования
Данные пользователя, поступающие от DTE, уже являются цифровыми, представленными в униполярном или биполярном коде без возврата к нулю — NRZ. При передаче данных на большие расстояния в коде NRZ возникают следующие проблемы. С течением времени нарастает постоянный ток, блокируемый некоторыми электрическими устройствами цифрового тракта, например, трансформаторами, что приводит к искажению передаваемых импульсов. Передача длинных серий нулей или единиц приводит к нарушению правильной работы устройств синхронизации. Отсутствует возможность контроля возникающих ошибок на уровне физического канала.
Перечисленные проблемы решаются при помощи линейного кодирования. Параметры получаемого линейного сигнала должны быть согласованы с характеристикой, используемой линии, и отвечать ряду следующих требований. Энергетический спектр линейного сигнала должен быть как можно уже. В нем должна отсутствовать постоянная составляющая, что позволяет повысить верность либо дальность передачи. Структура линейного сигнала должна обеспечивать возможность выделения тактовой частоты на приемной стороне. Необходимо обеспечить возможность постоянного контроля за ошибками на уровне физической линии. Линейный код должен иметь достаточно простую техническую реализацию. Примеры линейных кодов приведены на рис. 4.1 [2].
Формирование требуемого энергетического спектра может быть осуществлено соответствующим изменением структуры импульсной последовательности и выбором нужной формы импульсов

Рисунок 4.1 - Примеры кодирования линейными кодами
Например, даже сокращение длительности импульсов в два раза (биимпульсный код с возвратом к нулю, RZ) вдвое уменьшает уровень постоянной составляющей и увеличивает уровень тактовой составляющей в спектре такого сигнала.
Код Манчестер характеризуется однозначным соответствием последовательности чередования импульсов внутри тактового интервала. А именно, "1" исходного цифрового сигнала передается нулевым импульс в первом полутактовом интервале и единичным — во втором. Для символа "О" принимается обратный порядок чередования импульсов (биимпульс 10).
Относительное кодирование позволяет решить проблему неопределенности фазы биимпульса на приемной стороне.
4.2 Сверточные коды
Сверточный код создается прохождением передаваемой информационной последовательности через линейный сдвиговый регистр с конечным числом состояний. В общем виде, регистр сдвига состоит из К (k-битовых) ячеек и линейного преобразователя, состоящего из n функциональных генераторов и выполняющего алгебраические функции. Входные данные к кодеру, которые считаются двоичными, поступают вдоль регистра сдвига по k бит за раз. Число входных бит для каждой k-битовой последовательности равно n. Следовательно, кодовая скорость, определенная как RC=k/n, согласуется с определением скорости блокового кода [18]. Параметр К называется кодовым ограничением сверточного кода. Для пояснения принципа работы кодера рассмотрим сверточный кодер со скоростью кода 1/3, показанный на рис.4.2.
Считается, что первоначально все ячейки регистра сдвига находятся в нулевом состоянии. Допустим, что первый входной бит «1». Он без задержек появляется на выходе первой ячейки регистра и, соответственно, на всех трех входах выходного ключа (мультиплексора). Ключ поочередно выдает содержимое входов, и в результате выходная последовательность из трех бит будет – 111. Допустим, что второй входной бит «0». Он записывается в первую ячейку регистра, вытесняя предыдущий бит («1»), во вторую ячейку – и на входах мультиплексора появляются 001. Если третий входной бит 1, выходная последовательность 100 и т. д. Таким образом, в ответ на каждый входной бит (k=1) сверточный кодер откликается тремя битами, по числу функциональных генераторов (n=3).

Рисунок 4.2 – Сверточный кодер со скоростью кода 1/3
Имеются три альтернативных метода описания сверточного кода: древовидная диаграмма, решетчатая диаграмма и диаграмма состояний. Для приведенного выше кодера древовидная диаграмма показана на рис. 4.3.
Предположим, что кодер находится в нулевом состоянии (все нули). Диаграмма показывает, что, если первый вход 0 – выходная последовательность 000, а если первый вход 1 – выходная последовательность 111. Если в следующий момент первый вход 1, а второй 0, то второй набор выходных бит 001. Далее, если третий входной бит 0, то выходная последовательность 011, если же третий входной бит 1, то на выходе – 100.
Аналогичным способом можно описать более сложный код со скоростью 2/3, а так же недвоичные коды (если число символов в алфавите q³2k, k>1)

Рисунок 4.3 – Древовидная диаграмма для кода со скоростью 1/3
Сверточные коды относятся к помехоустойчивым кодам, поэтому они часто используются после относительных кодов, которые являются накопителями ошибок, а так же сверточное кодирование используется в системах с модуляцией, обладающей низкой помехоустойчивостью. Так, применение многопозиционной QAM в чистом виде сопряжено с проблемой недостаточной помехоустойчивости. Поэтому во всех современных высокоскоростных протоколах QAM используется совместно с решетчатым кодированием — специальным видом сверточного кодирования. В результате появился новый способ модуляции, называемый треллис-модуляцией (ТСМ). Выбранная определенным образом комбинация конкретной QAM помехоустойчивого кода в отечественной технической литературе носит название сигналъно-кодовой конструкции (СКК). СКК позволяют повысить помехозащищенность передачи информации наряду со снижением требований к отношению сигнал/шум в канале на 3—6 дБ. При этом число сигнальных точек увеличивается вдвое за счет добавления к информационным битам одного избыточного, образованного путем сверточного кодирования. Расширенный таким образом блок битов подвергается все той же QAM. В процессе демодуляции производится декодирование принятого сигнала по алгоритму Витерби [11]. Именно этот алгоритм за счет использования введенной избыточности и знания предыстории процесса приема позволяет по критерию максимального правдоподобия выбрать из сигнального пространства наиболее достоверную эталонную точку.
Выбор способов модуляции и кодирования сводится к поиску такого заполнения сигнального пространства, при котором обеспечивается высокая скорость и высокая помехоустойчивость. Комбинирование различных ансамблей многопозиционных сигналов и помехоустойчивых кодов порождает множество вариантов сигнальных конструкций. Согласованные определенным образом варианты, обеспечивающие улучшение энергетической и частотной эффективности, и являются сигнально-кодовыми конструкциями. Задача поиска наилучшей СКК является одной из наиболее сложных задач теории связи. Современные высокоскоростные протоколы модуляции (V.32, V.32bis, V.34 и др.) предполагают обязательное применение сигнально-кодовых конструкций.
Все применяемые сегодня СКК используют сверточное кодирование со скоростью n—1/n, т.е. при передаче одного сигнального элемента используется только один избыточный двоичный символ [2].
Таким образом, в системах с нестабильной помеховой обстановкой для обеспечения высокой помехоустойчивости целесообразно использовать сочетание относительного кодирования и сверточного кодирования, а в случаях применения QAM – треллис-модуляции.
5. ОБЗОР ВИДОВ МОДУЛЯЦИИ
Преобразование несущего гармонического колебания (одного или нескольких его параметров) в соответствии с законом изменения передаваемой информационной последовательности называется модуляцией. При передаче цифровых сигналов в аналоговом виде оперируют понятием – манипуляция.
Способ модуляции играет основную роль в достижении максимально возможной скорости передачи информации при заданной вероятности ошибочного приема. Предельные возможности системы передачи можно оценить с помощью известной формулы Шеннона, определяющей зависимость пропускной способности С непрерывного канала с белым гауссовским шумом от используемой полосы частот F и отношения мощностей сигнала и шума Pс/Pш .
, (5.1)
где PС — средняя мощность сигнала;
PШ — средняя мощность шума в полосе частот.
Пропускная способность определяется как верхняя граница реальной скорости передачи информации V. Приведенное выше выражение позволяет найти максимальное значение скорости передачи, которое может быть достигнуто в гауссовском канале с заданными значениями: ширины частотного диапазона, в котором осуществляется передача (DF) и отношения сигнал – шум (PС/РШ).
Вероятность ошибочного приема бита в конкретной системе передачи определяется отношением PС/РШ. Из формулы Шеннона следует, что возрастание удельной скорости передачи V/DF требует увеличения энергетических затрат (РС) на один бит. Зависимость удельной скорости передачи от отношения сигнал/шум показана на рис. 5.1.

Рисунок 5.1 – Зависимость удельной скорости передачи от отношения сигнал/шум
Любая система передачи может быть описана точкой, лежащей ниже приведенной на рисунке кривой (область В). Эту кривую часто называют границей или пределом Шеннона. Для любой точки в области В можно создать такую систему связи, вероятность ошибочного приема у которой может быть настолько малой, насколько это требуется [2].
Современные системы передачи данных требуют, чтобы вероятность необнаруженной ошибки была не выше величины 10-4…10-7 [11].
В современной цифровой технике связи наиболее распространенными являются частотная модуляция (FSK), относительная фазовая модуляция (DPSK), квадратурная фазовая модуляция (QPSK), фазовая модуляция со сдвигом (смещением), обозначаемая как O-QPSK или SQPSK, квадратурная амплитудная модуляция (QAM).
При частотной модуляции значениям «0» и «1» информационной последовательности соответствуют определенные частоты аналогового сигнала при неизменной амплитуде. Частотная модуляция весьма помехоустойчива, однако при частотной модуляции неэкономно расходуется ресурс полосы частот канала связи. Поэтому этот вид модуляции применяется в низкоскоростных протоколах, позволяющих осуществлять связь по каналам с низким отношением сигнал/шум.
При относительной фазовой модуляции в зависимости от значения информационного элемента изменяется только фаза сигнала при неизменной амплитуде и частоте. Причем каждому информационному биту ставится в соответствие не абсолютное значение фазы, а ее изменение относительно предыдущего значения.
Чаще применяется четырехфазная DPSK, или двукратная DPSK, основанная на передаче четырех сигналов, каждый из которых несет информацию о двух битах (дибите) исходной двоичной последовательности. Обычно используется два набора фаз: в зависимости от значения дибита (00, 01, 10 или 11) фаза сигнала может измениться на 0°, 90°, 180°, 270° или 45°, 135°, 225°, 315° соответственно. При этом, если число кодируемых бит более трех (8 позиций поворота фазы), резко снижается помехоустойчивость DPSK. По этой причине для высокоскоростной передачи данных DPSK не используется.
Модемы с 4-позиционной или квадратурной фазовой модуляцией используются в системах, в которых теоретическая спектральная эффективность устройств передачи BPSK (1 бит/(с·Гц)) недостаточна при имеющейся в наличии полосе частот. Различные методы демодуляции, используемые в системах BPSK, применяются также и в системах QPSK. Кроме прямого распространения методов двоичной модуляции на случай QPSK используется также 4-позиционная модуляция со сдвигом (смещением). Некоторые разновидности QPSK и BPSK приведены в табл. 5.1 [8].
При квадратурной амплитудной модуляции изменяется как фаза, так и амплитуда сигнала, что позволяет увеличить количество кодируемых бит и при этом существенно повысить помехоустойчивость. В настоящее время используются способы модуляции, в которых число кодируемых на одном бодовом интервале информационных бит, может достигать 8…9, а число позиций сигнала в сигнальном пространстве – 256…512.
Таблица 5.1 – Разновидности QPSK и BPSK
| Двоичная PSK | Четырехпозиционная PSK | Краткое описание |
| BPSK | QPSK | Обычные когерентные BPSK и QPSK |
| DEBPSK | DEQPSK | Обычные когерентные BPSK и QPSK с относительным кодированием и СВН |
| DBSK | DQPSK | QPSK с автокорреляционной демодуляцией (нет СВН) |
| FBPSK | FQPSK O-QPSK DEOQPSK FOQPSK р/4-DEQPSK |
BPSK или QPSK С запатентованным процессором Феера, пригодным для систем с нелинейным усилением QPSK со сдвигом (смещением) QPSK со сдвигом и относительным кодированием QPSK со сдвигом и запатентованным Феером процессорами QPSK с относительным кодированием и фазовым сдвигом на р/4 |
Квадратурное представление сигналов является удобным и достаточно универсальным средством их описания. Квадратурное представление заключается в выражении колебания линейной комбинацией двух ортогональных составляющих — синусоидальной и косинусоидальной:
S(t)=x(t)sin(wt+(j))+y(t)cos(wt+(j)), (5.2)
где x(t) и y(t) — биполярные дискретные величины.
Такая дискретная модуляция (манипуляция) осуществляется по двум каналам на несущих, сдвинутых на 90° друг относительно друга, т.е. находящихся в квадратуре (отсюда и название представления и метода формирования сигналов).
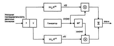
Поясним работу квадратурной схемы (рис. 5.2) на примере формирования сигналов QPSK.

Рисунок 5.2 – Схема квадратурного модулятора
Исходная последовательность двоичных символов длительностью Т при помощи регистра сдвига разделяется на нечетные импульсы Y, которые подаются в квадратурный канал (coswt), и четные — X, поступающие в синфазный канал (sinwt). Обе последовательности импульсов поступают на входы соответствующих формирователей манипулирующих импульсов, на выходах которых образуются последовательности биполярных импульсов x(t) и y(t).
Манипулирующие импульсы имеют амплитуду
и длительность 2T. Импульсы x(t) и y(t) поступают на входы канальных перемножителей, на выходах которых формируются двухфазные фазомодулированные колебания. После суммирования они образуют сигнал QPSK.
Для приведенного выше выражения для описания сигнала характерна взаимная независимость многоуровневых манипулирующих импульсов x(t), y(t) в каналах, т.е. единичному уровню в одном канале может соответствовать единичный или нулевой уровень в другом канале. В результате выходной сигнал квадратурной схемы изменяется не только по фазе, но и по амплитуде. Поскольку в каждом канале осуществляется амплитудная манипуляция, этот вид модуляции называют амплитудной квадратурной модуляцией.
Пользуясь геометрической трактовкой, каждый сигнал QAM можно изобразить вектором в сигнальном пространстве.
Отмечая только концы векторов, для сигналов QAM получаем изображение в виде сигнальной точки, координаты которой определяются значениями x(t) и y(t). Совокупность сигнальных точек образует так называемое сигнальное созвездие.
На рис. 5.3 показана структурная схема модулятора, а на рис. 5.4 – сигнальное созвездие для случая, когда x(t) и y(t) принимают значения ±1, ±3 (QAM-4).


Рисунок 5.4 – Сигнальная диаграмма QAM-4
Величины ±1, ±3 определяют уровни модуляции и имеют относительный характер. Созвездие содержит 16 сигнальных точек, каждая из которых соответствует четырем передаваемым информационным битам.
Комбинация уровней ±1, ±3, ±5 может сформировать созвездие из 36 сигнальных точек. Однако из них в протоколах ITU-T используется только 16 равномерно распределенных в сигнальном пространстве точек.
Существует несколько способов практической реализации QAM-4, наиболее распространенным из которых является так называемый способ модуляции наложением (SPM). В схеме, реализующей данный способ, используются два одинаковых QPSK (рис. 5.5).
Используя эту же методику получения QAM, можно получить схему практической реализации QAM-32 (рис.5.6).

Рисунок 5.5 – Схема модулятора QAM-16

Рисунок 5.6 – Схема модулятора QAM-32
Получение QAM-64, QAM-128 и QAM-256 происходит таким же образом. Схемы получения этих модуляций не приводятся по причине их громоздкости.
Из теории связи известно, что при равном числе точек в сигнальном созвездии спектр помехоустойчивость систем QAM и QPSK различна. При большом числе точек сигналов спектр QAM идентичен спектру сигналов QPSK. Однако сигналы системы QAM имеют лучшие характеристики, чем системы QPSK. Основная причина этого состоит в том, что расстояние между сигнальными точками в системе QPSK меньше расстояния между сигнальными точками в системе QAM.
На рис. 5.7 представлены сигнальные созвездия систем QAM-16 и QPSK-16 при одинаковой мощности сигнала. Расстояние d между соседними точками сигнального созвездия в системе QAM с L уровнями модуляции определяется выражением:
(5.3)
Аналогично для QPSK:
(5.4)
где М – число фаз.
Из приведенных выражений следует, что при увеличении значения М и одном и том же уровне мощности системы QAM предпочтительнее систем QPSK. Например, при М=16 (L = 4) dQAM = 0.47 и dQPSK = 0.396, а при М=32 (L = 6) dQAM = 0.28, dQPSK = 0.174 [2].

Таким образом, можно сказать, что QAM на много эффективнее по сравнению с QPSK, что позволяет использовать более многоуровневую модуляцию при одинаковом соотношении сигнал/шум. Поэтому можно сделать вывод, что характеристики QAM будут наиболее приближенными к границе Шеннона (рис.5.8) где: 1 – граница Шеннона, 2 – QAM, 3 – М-позиционная АРК, 4 – М-позиционная PSK [8].

Рисунок 5.8 - Зависимость спектральной эффективности различных модуляций от C/N
В общем случае М-позиционные системы QAM с линейным усилением, такие как 16-QAM, 64-QAM, 256-QAM, имеют спектральную эффективность выше, чем у QPSK с линейным усилением, имеющей теоретическую предельную эффективность 2 бит/(с∙Гц).
Одной из характерных особенностей QAM является малые значения внеполосной мощности (рис. 5.9) [8].

Рисунок 5.9 – Энергетический спектр QAM-64
Применение многопозиционной QAM в чистом виде сопряжено с проблемой недостаточной помехоустойчивости. Поэтому во всех современных высокоскоростных протоколах QAM используется совместно с решетчатым кодированием (ТСМ). Сигнальное созвездие ТСМ содержит больше сигнальных точек (позиций сигналов), чем требуется при модуляции без решетчатого кодирования. Например, 16-позиционная QAM преобразует в созвездие 32-QAM с решетчатым кодированием. Дополнительные точки созвездия обеспечивают сигнальную избыточность и могут быть использованы для обнаружения и исправления ошибок. Сверточное кодирование в сочетании с ТСМ вносит зависимость между последовательными сигнальными точками. В результате появился новый способ модуляции, называемый треллис-модуляцией. Выбранная определенным образом комбинация конкретной QAM помехоустойчивого кода носит название сигнально-кодовой конструкции (СКК). СКК позволяют повысить помехозащищенность передачи информации наряду со снижением требований к отношению сигнал/шум в канале на 3 – 6 дБ. В процессе демодуляции производится декодирование принятого сигнала по алгоритму Витерби. Именно этот алгоритм за счет использования введенной избыточности и знания предыстории процесса приема позволяет по критерию максимального правдоподобия выбрать из сигнального пространства наиболее достоверную эталонную точку.
Применение QAM-256 позволяет за 1 бод передавать 8 сигнальных состояний, то есть 8 бит. Это позволяет значительно увеличить скорость передачи данных. Так, при ширине диапазона передачи Df=45 кГц (как в нашем случае) за интервал времени 1/Df можно передать 1 бод, то есть 8 бит. Тогда максимальная скорость передачи по данному частотному диапазону составит
, (5.5)
.
Поскольку в данной системе передача производиться по двум частотным диапазонам с одинаковой шириной, то максимальная скорость передачи данной системы составит 720 кбит/с.
Так как передаваемый поток бит содержит не только информационные биты, а и служебные, то информационная скорость будет зависеть от структуры передаваемых кадров. Кадры применяемые в данной системе передачи данных формируются на основе протоколов Ethernet и V.42 и имеют максимальную длину К=1518 бит, из которых КС=64 – служебные. Тогда информационная скорость передачи будет зависеть от соотношения информационных бит и служебных![]()
, (5.6)
, (5.7)
.
Данная скорость превышает скорость, заданную в техническом задании. Поэтому можно сделать вывод, что выбранный способ модуляции удовлетворяет требованиям, поставленным в техническом задании.
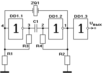
Поскольку в данной системе передача осуществляется по двум частотным диапазонам одновременно, то требуется организация двух, параллельно работающих модуляторов. Но следует учитывать, что возможен переход работы системы с основных частотных диапазонов на резервные. Поэтому требуется генерация всех четырех несущих частот и управление ими. Синтезатор частот, предназначенный для генерации несущих частот, состоит из генератора опорного сигнала, делителей и высокодобротных фильтров. В качестве генератора опорных сигналов выступает кварцевый генератор прямоугольных импульсов (рис. 5.10).

Рисунок 5.10 - Генератор с кварцевой стабилизацией
Делители частоты предназначены для преобразования частоты опорного генератора в несущие частоты путем ее деления. Высокодобротные полосовые фильтры служат для выделения из спектра полученных импульсов необходимую составляющую.
6. ОПИСАНИЕ ВНЕШНЕГО ИНТЕРФЕЙСА УСТРОЙСТВА
Как отмечалось в разделе 3, внешний интерфейс передающей части устройства передачи данных состоит из полосовых фильтров, предназначенных для ограничения спектра передаваемых сигналов в диапазоне передачи, адаптивного эквалайзера, эхокомпенсатора, усилителя и устройства присоединения.
6.1 Расчет полосовых фильтров
Поскольку передача данных осуществляется в четырех частотных диапазонах, которые расположены довольно близко друг от друга, то появляется необходимость ограничения спектров передаваемых сигналов в рамках частотного диапазона. Ограничение производится для того, чтобы сигналы, передаваемые в одном диапазоне, не влияли на сигналы, которые передаются в другом частотном диапазоне. Для ограничения спектров используются полосовые фильтры, настроенные каждый на свою резонансную частоту.
При выборе фильтров необходимо учитывать, что фильтр должен обеспечить максимально крутые спады и максимально плоскую вершину, а так же он должен иметь высокую добротность и простую настройку.
В качестве полосовых фильтров используются фильтры на основе конверторов полного сопротивления (рис. 6.1) [16].
Данный полосовой фильтр описывается следующей передаточной функцией:
, (6.1)
где
- коэффициент передачи на резонансной частоте;
- добротность

Рисунок 6.1 – Полосовой фильтр на основе конверторов полного сопротивления
; (6.2)
р – оператор Лапласа;
- резонансная частота.
Несмотря на наличие пяти резисторов и двух конденсаторов настройка схемы сводится к операциям установки: коэффициента передачи – резистором R2, резонансной частоты
- резистором R4 и добротности
- резистором R7. Так же эта схема позволяет построить фильтры с высокой добротностью
, поскольку она не критична к отклонениям значений элементов от номинальных, проста в настройке и не требует применения элементов с большим диапазоном номиналов. Эти преимущества достигаются за счет использования двух операционных усилителей. Однако подключение еще одного операционного усилителя может привести к увеличению дрейфа и шумов в прецизионных схемах.
Поскольку в устройстве передачи данных используется адаптивный эквалайзер, который компенсирует искажения, вносимые полосовым фильтром, и увеличение количества каскадов ведет к увеличению шумов, то достаточно использовать однокаскадный фильтр, настроенный на несущую частоту диапазона.
Фильтры, используемые в основных частотных диапазонах передачи, должны настраиваться на ширину полосы пропускания, равной ширине диапазона (
), и несущие, fн1=671.6кГц и fн2=854.6кГц. Данные фильтры должны иметь амплитудно-частотные характеристики показанные: для fн1 – рис. 6.2, для fн2 – рис. 6.3.

Рисунок 6.2 – Амплитудно-частотная характеристика полосового фильтра (f н1=671.6 кГц)

Рисунок 6.3 – Амплитудно-частотная характеристика полосового фильтра (f н2=854.6 кГц)
6.2 Описание адаптивного эквалайзера
Адаптивный эквалайзер компенсирует нелинейность амплитудной и фазочастотной характеристик используемого канала связи, а так же компенсирует изменения вносимые полосовыми фильтрами и устройством присоединения, которые находятся на выходе передающей части устройства. Сам эквалайзер состоит из линии задержки с отводами и набора управляемых усилителей с изменяемым коэффициентом усиления (рис.6.4). Адаптивность эквалайзера заключается в его способности подстраиваться под изменяющиеся параметры в течение сеанса связи. Для этого сигнал управления, который формируется в приемной части устройства передачи данных, подается на усилители с переменными коэффициентами усиления. В зависимости от изменений параметров и помеховой обстановки линии происходит усиление или ослабление сигнала таким образом, что бы скомпенсировать искажения сигнала, вносимые линией [18].

Рисунок 6.4 – Структурная схема адаптивного эквалайзера
6.3 Описание эхокомпенсатора
Поскольку система связи должна контролировать состояние линии, то на этапе установления соединения устройство связи посылает определенный зондирующий сигнал и определяет параметры эхоотражения: время запаздывания, амплитудные и фазовые искажения, мощность отраженного сигнала. В процессе сеанса связи эхокомпенсатор модема вычитает из принимаемого входного сигнала свой собственный выходной E’(t), скорректированный в соответствии с полученными параметрами эхоотражения. Функцию создания копии эхо-сигнала выполняет линия задержки с отводами, схема которой приведена на рис. 6.5, где Z – линия задержки, У1…УN – усилители с регулируемым коэффициентом усиления, ДС – дифсистема [2].

Рисунок 6.5 – Структурная схема эхокомпенсатора
Дифсистема в данном случае выполняет функцию разделения сигналов по направлениям. Схема дифференциальной системы приведена на рис.6.6.

Рисунок 6.6 – Схема мостовой трансформаторной дифференциальной системы
6.4 Описание устройства присоединения
Устройством присоединения обычно является полосовой фильтр, включающий в себя конденсаторы присоединения, и выполняющий следующие функции:
- отсекает промчастоту и пропускает только полезный высокочастотный сигнал;
- служит заградительным устройством для высокого напряжения;
- служит согласующим элементом между высокочастотным кабелем и линейным трактом, так как волновое сопротивление кабеля не равно характеристическому сопротивлению линейного тракта [6].
Существует несколько схем устройств присоединения (рис 6.7 – 6.10).

Рисунок 6.7 – Принципиальная схема устройства присоединения построенного на Т-образном фильтре

Рисунок 6.8 – Принципиальная схема устройства присоединения построенного на Г-образном фильтре

Рисунок 6.9 – Принципиальная схема устройства присоединения построенного на трансформаторном фильтре

Рисунок 6.10 – Принципиальная схема устройства присоединения построенного на автотрансформаторном фильтре
Существуют так же устройства присоединения, построенные на ВЧ-фильтрах. Эти устройства позволяют использовать высокочастотные сигналы в различных диапазонах. Для того чтобы не происходило подключения корпуса системы передачи, к фазовому проводу в схему устройства присоединения включаются два соединительных конденсатора. Такая схема устройства присоединения имеет следующий вид (рис. 6.11).

Рисунок 6.11 – Принципиальная схема устройства присоединения построенного на RC-фильтре без определения фаз
Устройство присоединения характеризуется следующими параметрами:
а) шириной полосы пропускания, то есть полосы, в пределах которой затухание фильтра не превышает определенной величины;
б) величиной характеристического сопротивления в средней части полосы пропускания;
в) частотными характеристиками затухания и характеристического сопротивления вне пределов полосы.
Устройства присоединения выбираются исходя из особенностей использования и условия внесения минимальных искажений в рабочей области частот.
При последовательном соединении дифсистемы и устройства присоединения образуется фильтр высоких частот, который необходимо настроить на область частот, в которой происходит передача данных. Элементы выбираются с расчетом выполнения условия
, (6.3)
где fр- выбирается как средняя частота области частот, в которой происходит передача данных.
, (6.4)
.
Таким образом выбираем конденсаторы емкостью С=100нФ, а трансформатор дифсистемы выбирается с общей индуктивностью L=33 мкГн.
Тогда полученный фильтр будет иметь следующий коэффициент передачи
.
Сопротивление линии величина переменная, к тому же известно, что она имеет индуктивный характер. Однако, ZЛ сравнительно мало, то ее изменения не будут вносить значительных изменений в характеристики фильтра. Таким образом, принимаем, что сопротивление линии величина активная и постоянная и равна RЛ=4 Ом. В результате, АЧХ этого фильтра будет иметь вид (рис. 6.12)

Рисунок 6.12 – Амплитудно-частотная характеристика устройства присоединения совместно с дифсистемой.
7. ОПИСАНИЕ АЛГОРИТМА РАБОТЫ ПЕРЕДАЮЩЕЙ ЧАСТИ УСТРОЙСТВА. ВЫБОР ЭЛЕМЕНТНОЙ БАЗЫ
Принцип работы передающей части устройства передачи данных по энергосети удобно объяснить, описав ее алгоритм работы (рис. 7.1).
Изначально устройство находиться в ожидающем режиме. То есть все данные, проходящие по шине данных и шине адреса ПК, поступают на вход устройства. Устройство проверяет адреса, по которым посланы эти данные, если адрес данных совпадает с адресом устройства передачи данных, то они поступают в устройство, иначе эти данные игнорируются устройством. Поступив на устройство, данные формируются в кадры, используя при этом протоколы Ethernet и V.42. Функции выделения и приема данных из ПК, а так же формирования кадров выполняет микропроцессор. Сформированные кадры поступают на относительный кодер. Относительное кодирование позволяет решить проблему неопределенности фазы биимпульса на приемной стороне. Однако, поскольку относительное декодирование является накопителем ошибок, то необходимо так же применять помехоустойчивое кодирование. Таким образом, данные поступают на помехоустойчивый кодер. С выхода помехоустойчивого кодера закодированные пакеты данных поступают на цифроаналоговый преобразователь, в котором происходит преобразование данных из цифрового вида в аналоговый. Это необходимо для дальнейшей модуляции. Поскольку спектр, полученного сигнала, шире полосы частот, на которой будут передаваться данные, то на выходе ЦАП стоят полосовые фильтры, которые ограничивают спектр сигнала по ширине диапазона передачи. Модуляция происходит в соответствии с выбранным диапазоном частот, на котором будут передаваться данные. Функции кодирования, цифроаналогового преобразования, фильтрации и модуляции выполняет DSP-контроллер.

Рисунок 7.1 – Алгоритм работы передающей части устройства
Управление процесса модуляции выполняет микропроцессор в соответствии с протоколом Ethernet. Данные, полученные после анализа канала связи или правильности приема данных в приемной части устройства передачи данных, поступают на микропроцессор, который их обрабатывает и выдает управляющие сигналы на DSP-контроллер. В этих управляющих сигналах может содержаться команда на переход на другой частотный диапазон (когда помеховая обстановка в основном диапазоне не соответствует норме), либо команда на ожидание освобождения канала связи (когда канал связи занят другими устройствами), либо команда на повторную передачу предыдущего кадра (когда в кадре произошла ошибка и ее не удалось исправить на приемном конце).
Таким образом, сигнал с выхода модулятора, адаптировавшись к данной среде передачи в адаптивном эквалайзере, через устройство присоединения передается в линию связи.
Передав данные, устройство передачи данных переходит в исходное состояние ожидания данных от ПК.
Выбор элементной базы выполняется на основе анализа функций, которые устройство выполняет. Таким образом, при выборе DSP-контроллера, необходимо учитывать, что он должен обладать необходимым количеством АЦП и ЦАП, объемом оперативной памяти, количеством параллельных портов, достаточной тактовой частотой, частотой дискретизации и разрядностью. Этим устройствам удовлетворяет 16-разрядный сигнальный процессор ADSP-2181 фирмы AnalogDevices, который имеет в своем составе два АЦП и два ЦАП. Так же ADSP-2181 имеет возможность организации фильтрации, модуляции и демодуляции, кодирования и декодирования. Технические характеристики ADSP-2181: рабочая (тактовая) частота - 10 МГц, максимальная частота дискретизации fД=550 кГц, объем оперативной памяти – 64 кБайт (имеет возможность расширения до 2 Мбайт), число параллельных портов – 4, напряжение питания 5 В [19]. Управление работой DSP-контроллера осуществляется микропроцессором. Фирмой AnalogDevices рекомендовано совместное использование DSP-контроллера ADSP-2181 и микропроцессора MotorolaMC68333. Микропроцессор имеет следующие характеристики: количество портов – 2 16-разраяных, 4 8-разрядных; тактовая частота – 16 МГц; объем ОЗУ – 32 кбайт; объем ПЗУ- 8 кбайт; объем ППЗУ – 32 кбайт. Так же данный микропроцессор имеет возможность подключения к персональному компьютеру.
Микросхема AA38477 производства фирмы AnalogDevices представляет собой набор из 8 усилителей с перестраиваемым коэффициентом передачи и обладает следующими параметрами: коэффициент усиления - от -10 до 40 дБ, напряжение питания 5В, диапазон рабочих частот до 2 Мгц, коэффициент гармоник на частоте 10 кГц не более 0.02% [19]. Эти микросхемы служат усилителями в эхокомпенсаторе и адаптивном эквалайзере. В качестве дифсистемы используется стандартный трансформатор ТВТ10 ГОСТ 20938-75 [17]. Генератор несущих частот собран на микросхеме К1533ЛН1.
При выборе резисторов необходимо руководствоваться следующими правилами:
· чтобы обеспечить низкую температурную зависимость, необходимо выбирать резисторы с минимальным ТКС;
· выбираемые резисторы должны обладать минимальными собственными ёмкостью и индуктивностью, поэтому выбирается непроволочный тип резисторов;
· однако у непроволочных резисторов более высокий уровень токовых шумов, поэтому необходимо учесть и параметр уровня собственных шумов резисторов.
Прецизионные резисторы типа С2-29В удовлетворяют заданным требованиям (параметры взяты из [17]):
- номинальная мощность, Вт 0.125;
- диапазон номинальных сопротивлений, Ом
;
- ТКС (в интервале температур
), 106/°С
;
- ТКС (в интервале температур
), 106/°С
;
- Уровень собственных шумов, мкВ/В 1…5;
- Предельное рабочее напряжение постоянного и переменного тока, В 200.
Главный критерий при выборе ОУ – это его частотные свойства, так как реальные ОУ имеют конечную полосу пропускания.
Напряжение питания ОУ должно соответствовать напряжению источников питания.
Согласно справочнику [20] выбирается ОУ типа 140УД5А, конструктивно оформленный в корпусе типа 301.12-1. ОУ этого типа являются ОУ общего назначения с внутренней частотной коррекцией и защитой выхода при коротких замыканиях нагрузки и имеют следующие параметры:
- напряжение питания
, В
;
- напряжение питания
, В
;
- ток потребления
, мА
;
- напряжение смещения, мВ
;
- коэффициент усиления ОУ по напряжению ![]()
;
- частота единичного усиления
, МГц ³14.
8. ОХРАНА ТРУДА
8.1 Анализ условий труда
Помещение, в котором будет использоваться разрабатываемое устройство, должно удовлетворять всем нормам условий труда человека. Поэтому данное помещение имеет достаточное естественное освещение через окна, а так же на рабочих местах организовано искусственное освещение, которое используется в темное время суток. Кроме рабочего освещения в помещении организовано аварийное освещение на случай отказа основного. Для работы в помещении 5 человек его площадь должна быть более 22.5 м2 (не менее чем по 4.5 м2 на человека), а объем – более 75 м3 (не менее чем по 15 м3 на человека). Класс помещения по степени опасности поражения электрическим током согласно ПУЭ-85 – без повышенной опасности, из-за отсутствия возможности одновременного прикосновения человека к, имеющим соединение с землей металлическим конструкциям с одной стороны и к металлическому корпусу приборов и оборудования с другой. Так же отсутствуют повышенная температура, влажность, токопроводная пыль и токопроводящий пол.
8.1.1 Декомпозиция системы «человек – машина – среда»
Взаимодействие работающих с окружающей средой можно представить в виде функционирования некоторой кибернетической системы « человек – машина – среда» (Ч – М - С). Рассмотрим с точки зрения безопасности труда функционирование системы « Ч – М – С ». Под машиной будем подразумевать всё то, что находится в системе «Ч – М – С » между человеком и «предметом труда». В нашем случае: человек – персонал в составе 5 человек; машина – 5 ПК, телефон, факс.
Среду можно рассматривать как систему совокупных материально – пространственных условий деятельности людей в производственной сфере, складывающихся из имеющихся промышленных зданий, сооружений, оборудования и др.
Перед системой « Ч – М – С» ставятся вполне определенные производственные цели. Чтобы получить желаемый продукт своего труда, человек взаимодействует со средой. В то же время он, осуществляя управляющее действие, изменяет состояние среды. В общем случае взаимодействие человека и среды существует конфликтная ситуация. Среда может являться для человека источником опасных и вредных производственных факторов. Далее приведем модель взаимодействия человек – машина – среда.
Элемент « человек» (Ч) разделим на три функциональные части:
Ч1 – человек – оператор (коллектив).
Ч2 – человек (коллектив), который воздействует на окружающую среду (тепловое выделение, потребление кислорода и др.).
Ч3 – человек (группа людей), рассмотренная с точки зрения ее физиологического положения под воздействием факторов, которые действуют на него во время производственного процесса. Элемент системы «машина» (М) рассматривается, как машина, выполняющая основную технологическую функцию.
Таким образом, мы составили декомпозицию на пять элементов. Функциональная схема декомпозиции Ч – М – С и ее внутренние связи между элементами представлены на рис. 8.1
1.1 – 1.5 (Ч2 - С) – воздействие человека, как биологического объекта на среду;
2.1 – 2.5 (С – Ч1) – воздействие внешней среды на качество работы оператора;

Рисунок 8.1 – Декомпозиция системы Ч – М – С
3.1 – 3.5 (С – Ч3) – воздействие внешней среды на состояние организма человека;
4.1 – 4.5 (С – Ч1) – информация о состоянии среды , обрабатываемая человеком;
5.1 – 5.5 (М – Ч1) – информация о состоянии машины, обрабатываемая человеком;
6.1 – 6.5 (Ч1 - М) – воздействие человека на управление техникой;
7.1 – 7.5 (ПР – Ч1) – информация о предмете труда, которая обрабатывается человеком;
8.1 (ПТ - М) – информация о состоянии предмета труда, одержанная машиной;
9.1 (М - ПТ) – воздействие машины на предмет труда;
10.1 (С - М) – воздействие среды на работу машин;
11.1 (М - С) – воздействие машин на среду;
12.1 – 12.5 (Ч3 – Ч1) – воздействие состояния организма человека на качество работы;
13.1 – 13.5 (Ч1 – Ч2) – воздействие характера работы на степень интенсивности обмена веществ с окружающей средой и энерговыделений человека;
14.1 – 14.5 (ПТ– Ч3) – воздействие предмета труда на физиологическое состояние человека.
В системе «охрана труда» определенными методами и средствами производится оценка опасных и вредных факторов, генерируемых средой. На основе информации о вредных и опасных производственных факторах определяется их предельно допустимые нормы для человека и данной «Ч – М – С». Предельно допустимый уровень – это уровень производственного фактора, воздействие которого при работе установленной продолжительности в течении всего трудового стажа не приводит к заболеваниям или отклонению в состоянии здоровья в процессе работы. Если фактический уровень опасных и вредных факторов окажется больше допустимого, необходимо применение специальных мер по их снижению.
Наиболее эффективным является проектирование безопасных производственных процессов. В этих случаях система «охрана труда» выступает, с одной стороны, как система контроля действительных уровней опасных и вредных влияний при функционировании «Ч – М – С», а с другой стороны - задает требования к допустимым уровням опасных и вредных влияний при эксплуатации техники.
Однако в настоящее время не всегда удается создать безопасную технику из – за недостаточного объема научно – технических знаний или технико-экономических ограничений на проектируемое устройство. В этих случаях системой «охрана труда» формируются необходимые дополнительные меры в виде средств производственной защиты. Такого рода средства могут быть как средствами индивидуальной защиты, так и средствами коллективной защиты.
Таким образом, в «Ч – М – С» охрана труда обеспечивает защиту человека от возможного неблагоприятного воздействия производственной среды путем исключения из «Ч – М – С» или снижения до допустимых уровней производственных опасных и вредных факторов[21].
8.1.2 Анализ вредных факторов
Для поддержания нормального микроклимата в помещении используется кондиционер, обеспечивающий относительную влажность воздуха в пределах 40 – 60% и нормальную температуру воздуха, независящую от температуры воздуха на улице; отопление преимущественно зимой; вентиляция. Согласно ГОСТ 12.1.005 – 88 ССТБ минимальное количество воздуха, которое подается в помещение системами вентиляции (в расчете на одного человека) более 30 м3, при объеме помещения 20 м3 [22].
Шум в помещении создается внутренними источниками: вычислительная техника, устройствами кондиционирования воздуха и другими техническими средствами. Шум влияет на нервную нагрузку человека, появляется раздражительность и быстрая утомляемость. Для снижения шума, создаваемого на рабочих местах внутренними источниками, а также шума поступающего извне следует: ослабить шум источников, применять рациональное расположение оборудования, использовать архитектурно–планировочные и технологические решения, направленные на изоляцию источников шума. В нашем случае явные источники шума отсутствуют. Так же в данном помещении отсутствуют источники вибрации.
Рассматриваемое помещение имеет естественное освещение через окна. В темное время суток используется искусственное освещение. Кроме естественного и искусственного освещения организовано аварийное освещение. Недостаточное освещение увеличивает зрительное напряжение.
Одним из вредных факторов является электромагнитное излучение ПЭВМ, однако уровень современных технологий позволяет полностью избавиться от электромагнитного излучения путем применения жидкокристаллических мониторов и защитных экранов. Таким образом, этот вредный фактор теряет свою значимость.
Так же к опасным и вредным факторам относятся: умственное напряжение, монотонность труда, зрительное переутомление.
Технические средства, используемые в нашем помещении, представляют для человека большую опасность, так как в процессе эксплуатации или проведения профилактических работ человек может подвергаться опасности поражения электрическим током. На ряду с организационными мероприятиями по предупреждению поражения электрическим током существуют следующие технические средства защиты, к которым относятся: электрическая изоляция токоведущих частей, защитное заземление, зануление, защитное отключение и др. Использование этих средств в различных сочетаниях позволяет обеспечить защиту людей от поражения электрическим током. В нашем случае поражение электрическим током является наиболее опасным фактором.
Оценка факторов производственной среды и трудового процесса в помещении офиса приведена в табл. 8.1.
Таблица 8.1 – Оценка факторов производственной среды и трудового процесса в помещении НИЛ
| Факторы производственной среды и трудового процесса | Значение фактора (ПДК, ПДУ) | 3 класс – опасные и вредные условия труда | Продолжительность действия фактора, % за смену | |||
| Норма | Факт | 1с | 2с | 3с | ||
| 1. Вредные химические вещества: | _ | нет | _ | _ | _ | _ |
| 2. Шум, дБ | 60 | 38 | _ | _ | _ | До 85 |
| 3. Неионизирующие излучения промышленной частоты | 25 | 18 | _ | _ | _ | До 85 |
| 4. Статический потенциал, В | 500 | 80 | _ | _ | _ | До 85 |
5. Рентгеновское излучение, мкР/ч |
100 | 40 | _ | _ | _ | До 85 |
6. Микроклимат: температура воздуха, летом, оС; скорость движения воздуха, м/с; относительная влажность, %. |
23-25 |
24 |
_ |
_ |
_ |
100 |
| <0.1 | 0.08 | _ | _ | _ | 100 | |
| 40-60 | 45 | _ | _ | _ | 100 | |
7. Освещение: естественное – КЕО,% искусственное, лк |
1.5 |
2.5 |
_ |
_ |
_ |
До 90 летом |
| 300 | 300 | - | - | - | До 70 зимой | |
8. Тяжесть труда: мелкие стереотипные движения кистей и пальцев рук, за смену; рабочая поза пребывание в наклонном положении в течении смены; перемещение в пространстве, км |
До 40000 | 25000 | _ | _ | _ | 90 |
| Наклонное положение до 30о 25% смены | свободная | _ | _ | _ | 85 | |
| До 10 км | 8 км | _ | _ | _ | 100 | |
9. Напряженность труда: внимание, продолжительность сосредоточения, % от смены напряженность зрительных анализаторов, категория работ эмоциональное и интеллектуальное напряжение |
До 75 | 40 | _ | _ | _ | До 75 |
| точная | точная | _ | _ | _ | 100 | |
| Работа по установлен- ному графику | Работа по индивидуальному плану | _ | _ | _ | 100 | |
| 10. Сменность | Сменная работа с ночной сменой | Односменная работа | _ | _ | _ | _ |
Исходя из табл. 8.1 можно сделать вывод, что опасные и вредные производственные факторы не превышают допустимых норм. Поэтому, поскольку при работе человека, требуется организация подключений в энергосеть, то наиболее опасным фактором является поражение электрическим током.
8.2 Техника безопасности
Поскольку человек работающий с различной радиоэлектронной аппаратурой постоянно сталкивается с необходимостью включения/выключения этой аппаратуры, наиболее опасным производственным фактором в рассматриваемом помещении является возможность поражение электрическим током. В нашем случае используется трехфазная четырехпроходная сеть электропитания напряжением 220/380 В с глухозаземленной нейтралью. Назначение заземления нейтрали – снижение до безопасного значения напряжения относительно земли нулевого проводника при случайном замыкании фазы на корпус.
Из соображений техники безопасности необходима установка распределительного щита, в состав которого должен входить автомат отключения в случае короткого замыкания в сети. В целях повышения техники безопасности все имеющиеся розетки должны быть снабжены предупредительными надписями, сетевые шнуры и вилки изолированы токонепроводящими (диэлектрическими) материалами и находиться в исправном состоянии.
В офисе в качестве защиты используется зануление. Проходящая вдоль всего помещения стальная шина подключена к нулевому проводу сети. Всю имеющуюся оргтехнику и компьютеры присоединяют к шине.
В качестве профилактических мер должен проводится и проводится инструктаж со всеми работниками офиса (как с вновь прибывшими, так и с уже работающими). Прошедшие инструктаж работники расписываются в журнале техники безопасности. Проведение этого мероприятия возложено на лица ответственные за технику безопасности.
Опасность поражения током при прикосновении к корпусу и другим нетоковедущим металлическим частям электрооборудования, оказавшимся под напряжением следствии замыкания на корпус и по другим причинам, может быть устранена быстрым отключением поврежденной электроустановки от питающей сети и вместе с тем снижением напряжения корпуса относительно земли. Этой цели служит зануление.
Зануление – преднамеренное электрическое соединение с нулевым защитным проводником металлических нетоковедущих частей, которые могут оказаться под напряжением.
Произведем расчет зануления согласно ГОСТ 12.1.030 – 81 ССТБ.
Исходные данные:
- мощность питающего трансформатора (160 кВт);
- схема соединения обмоток (∆/Y);
- расчетное сопротивление питающего трансформатора (0.16 Ом);
- длина кабеля от подстанции (300м);
- потребляемая мощность – 4 кВт.
При замыкании фазы на зануленный корпус электроустановка автоматически отключится, если значение тока однофазного короткого замыкания
, (8.1)
где k – коэффициент кратности номинального тока Iном.
Значение коэффициента k принимается равным 1,4 (защита осуществляется автоматическим выключателем).
Согласно ПУЭ, определим необходимую площадь сечения фазного и нулевого проводника
, (8.2)
где Iн – номинальный ток нагрузки линии;
Jэк – нормированное значение экономической плотности тока (для медных проводников с резиновой изоляцией jэк=3.5 А/мм2).
Номинальный ток нагрузки линии определяется по формуле
, (8.3)
где Р
- потребляемая мощность.
Подставив значения в формулу (2.3), получим
.
Тогда величина сечения фазного проводника равна
.
В качестве фазного проводника выбираем медный проводник с сечением токоведущей жилы 6 мм2.
Тогда
.
Общее сопротивление петли «фаза – нуль» определяется по формуле
, (8.4)
где Rф – активное сопротивление фазного проводника;
Xп – индуктивное сопротивление петли «фаза – нуль» (0,09 Ом/км). С учетом длины кабеля Xп=0.027 Ом.
Активные сопротивления Rф и Rнп определяются выражением
, (8.5)
где
=0,018 Ом·мм2/м – удельное сопротивление меди;
l– длина проводника.
Тогда
,
Определим значение сопротивления Zn по формуле (8.4)
.
Ток короткого замыкания равен
, (8.6)
где Zт/3 – расчетное сопротивление обмоток питающего трансформатора.
.
Так как Iкз
1,4Iн, то надежное автоматическое выключение будет обеспечено [25].
8.3 Производственная санитария и гигиена труда
Согласно ГОСТ 12.1.005 – 88 ССБТ «Воздух рабочей зоны. Общие санитарно–гигиенические требования» производственный процесс в нашем случае относится к первой группе (производимая сидя, стоя или связанная с ходьбой, но не требующая систематического физического напряжения), который проходит при нормальных метеорологических условиях и отсутствии выделений пыли и других вредных веществ. По характеру работ, обслуживание технического оборудования относится к категории «легких». К легким физическим работам относятся виды деятельности человека с расходом энергии не более 150 ккал/ч. Легкие физические работы делятся на категории: 1а (расход энергии 120 ккал/ч) и 1б (расход энергии 121-150 ккал/ч). Работы, проводимые в нашем помещении попадают под категорию 1а, так как это работы, выполняемые сидя и сопровождающиеся незначительным физическим напряжением.
Одним из необходимых условий здоровья и высокой производительности труда человека является обеспечение целого ряда условий. Согласно ГОСТ 12.1.005 – 88 ССТБ помещение относится к пятому классу, т. е. к предприятиям, выделяющим минимальное количество вредных веществ. В помещении поддерживается температура воздуха 23 – 250С в летний период и 22 – 240С в зимний. Относительная влажность воздуха 60 - 40% при нормальном атмосферном давлении. Подвижность воздуха не более 0.1 м/с.
Эти условия поддерживаются: в летнее время кондиционерами, а в зимнее – центральным отоплением. Для кондиционирования применяются 2 кондиционера ToshibaRAC-07 EEOK с параметрами: площадь до 20 м2, охлаждение – 1.93 кВт, циркуляция 320 м3/ч, максимальная мощность 0.69 кВт.
Источниками наиболее вредных производственных факторов при работе на ПК
являются видеомониторы. От них исходит переменное электрическое поле и рентгеновское излучение. Как говорилось выше, в настоящее время выпускается большое количество мониторов, которые имеют очень малое электромагнитное излучение (либо вовсе не имеют), однако в некоторых организациях используются мониторы старых моделей. Поэтому этот вредный фактор в разных помещениях различен и по прежнему он остается актуален.
Основная доля переменного электрического поля располагается сзади и по бокам видеомонитора, поэтому, чтобы уменьшить его вредное влияние необходимо располагать видеомониторы так, чтобы у людей, присутствующих в офисе, было, как можно меньше возможностей оказаться сзади или сбоку видеомонитора. То же относится и к рентгеновскому излучению, однако помимо этого оно присутствует и спереди монитора и надо принимать специальные меры, чтобы его ослабить. Основная мера заключается в выборе монитора. Кроме того, для защиты от излучений применяются специальные светофильтры, надеваемые поверх экрана монитора. Так, например, светофильтры американской фирмы "Palaroid" и австрийской "Ergostar" снимают до 90 - 98 % излучений. Из вышесказанного видно, что вопросы защиты от рентгеновского излучения и переменного электромагнитного поля решаются по мере возможности при производстве видеомониторов. По поводу такого фактора, как шум можно сказать то же самое - вентиляционные системы современных ЭВМ почти бесшумные.
А вот зрительная нагрузка оператора, хотя и уменьшается за счет применения мониторов с высоким качеством изображения, все же очень сильно зависит и от освещения в рабочем помещении. Правильно спроектированное освещение обеспечивает высокий уровень работоспособности, оказывает положительное психологическое воздействие на работающих, способствует повышению производительности труда.
При контроле работы проектируемой системы освещение играет не мало важную роль в поддержании нормальных условий труда. В данном помещении естественное освещение через окна. В качестве искусственного освещения в темное время суток применяются люминесцентные лампы. Минимальная освещенность Еmin=400 люкс.
Вибрация и шум в помещении отсутствуют, поэтому никаких мер по уменьшению шума или вибрации применять не требуется.
Важную роль играет планировка рабочего места, которая должна удовлетворять требованиям удобства выполнения работ, экономии энергии и времени рабочего, рационального использования рабочих площадей и удобства обслуживания оборудования.
8.4 Пожарная профилактика
Как известно, пожар может возникнуть при взаимодействии горючих веществ, окислителя и источников зажигания. В помещении офиса присутствуют все три основные фактора, необходимые для возникновения пожара.
Горючими компонентами на вычислительном центре являются: строительные материалы для акустической и эстетической отделки помещения, перегородки, двери, полы, перфокарты, изоляция силовых и сигнальных кабелей, обмотки радиотехнических деталей, жидкости для очистки элементов и узлов ЭВМ от загрязнений, пластмассовые корпуса ЭВМ и т. д.
Источниками зажигания на вычислительном центре могу оказаться электронные схемы ЭВМ, приборы, применяемые для технического обслуживания, устройства электропитания, кондиционеры воздуха, где в результате различных нарушений образуются перегретые элементы, электрические дуги и искры, способные вызвать загорание горючих материалов.
Согласно СНиП 2 - 90 – 81 «Производственные здания промышленных предприятий» для большинства технологических процессов в здании офиса установлена категория пожарной опасности "В" (в производстве обращаются твердые сгораемые вещества и материалы).
Противопожарные мероприятия должны носить комплексный характер, т. е. учитывать многие аспекты этого вопроса.
Электронные устройства должны по возможности быть выполнены из негорючих материалов. Так, например, поливинилхлоридная изоляция является трудногорючей, в отличие от полиэтиленовой. Все элементы электронных устройств должны работать в допустимом режиме нагрузки, так как при ее повышении может начинаться их разогрев. Так, например, недопустимо подключать к источнику питания нагрузку большей мощности, чем предусмотрено.
Кабельные линии являются наиболее пожароопасным местом. Для понижения воспламеняемости и способности распространять пламя кабели покрывают огнезащитными покрытиями. От трансформаторных подстанций и генераторных помещений до распределительных щитов кабели следует прокладывать в металлических газовых трубах.
При ремонтно-профилактических работах создается повышенная опасность возникновения пожара. Поэтому при таких работах необходимо строго соблюдать правила пожарной безопасности. Нельзя класть и оставлять паяльник на сгораемых конструкциях.
Временная проводка от переносных приборов к источникам питания прокладывается по кратчайшему пути. Розетки монтируются на несгораемых пластинах и оснащаются предохранителями.
Согласно СН 512 - 87 в залах с ЭВМ; помещениях для архивов магнитных и бумажных носителей, сервисной аппаратуры следует предусматривать установки автоматического объемного газового тушения, огнетушители типа ОУ5 в количестве 2шт. Огнетушащим веществом является тетрафтордибромэтан.
Автоматическая система защиты обнаруживает пожар с помощью сигнальных датчиков, подает сигнал тревоги в пожарную охрану, автоматически приводит в действие установки пожаротушения.
Для защиты помещений с ЭВМ наиболее пригодны бытовые извещатели типа Рид - 1 с радиоизотопной установкой охранно-пожарной сигнализации типа РУОП - 1. Применяют также извещатели типа ДИП - 1, ДИП - 2 и др.
Схема размещения рабочих мест, план эвакуации и план размещения средств пожаротушения показан на рис. 8.2, где Я – ящик с песком,
- огнетушители,
- пожарные датчики.

Рисунок 8.2 – Схема эвакуации
9. ЭКОНОМИЧЕСКАЯ ЧАСТЬ
9.1 Характеристика изделия
Развитие компьютерных сетей позволило использовать компьютеры во многих отраслях. В связи с этим появилась необходимость организации временных компьютерных сетей в очень короткое время. В основном такая необходимость возникает на предприятиях и организациях занятых исследовательской деятельностью или раздельным выполнением одного проекта, а так же у организаций занятых ликвидацией чрезвычайных ситуаций и у частных лиц, имеющих компьютерную технику. Существующие технологии, в этом случае, не эффективны. Неудобство установки таких сетей и их дороговизна дают предпосылки для разработки новой технологии. Достоинствами передачи данных по энергосети являются: наличие разветвленной и распространенной сети электропитания; кабельная система электропитания отличается своей надежностью; нет необходимости в прокладке кабеля; легкодоступность энергосети позволяет без больших затрат времени организовать подключение. Исходя из всего этого, можно сделать вывод, что этот метод организации локальной сети является наиболее простым в реализации, наиболее дешевым и сеть, организованная данным методом, является наиболее мобильной.
В дипломной работе разрабатывается устройство, которое позволило бы объединить свыше 20 компьютеров в сеть посредством обычной энергосети. Это устройство отличается низкой ценой, простотой внедрения по сравнению с устройствами беспроводной связи или устройствами кабельных сетей. Передающая часть устройства имеет следующие характеристики: скорость передачи данных – 720 кбит/с, малые габаритные размеры, простота обслуживания.
Перспективы внедрения на существующем рынке данного устройства, даже только в пределах Украины, довольно велики. На ближайший год запланировано 20450 продаж устройства потенциальным потребителям, которыми являются учреждения, организации, ВУЗы, НИИ и пр.
9.2 Исследование и анализ рынков сбыта
Предполагается, что основными потенциальными потребителями данного устройства являются:
а) ВУЗы;
б) НИИ;
в) организации и учреждения, нуждающиеся в компьютерных сетях;
г) розничная торговля.
Организации и учреждения, нуждающиеся в компьютерной сети, а также частные лица заинтересованы в покупке нашего устройства по причине удобства и простоты использования при малых затратах, а НИИ и ВУЗы заинтересованы в возможности организации временных компьютерных сетей.
Проведенный анализ рынка позволил определить емкость выявленных сегментов. На его основе определяется, каким предприятиям и в каком количестве будет поставляться производимые устройства. Данные занесены в табл. 9.1.
Емкость рынка будет составлять 20450 шт.
Наиболее важными характеристиками разрабатываемого устройства являются: цена, высокая вероятность безотказной работы, минимальные затраты на установку, потребляемая мощность, мобильность.
Таблица 9.1 – Анализ емкости сегментов рынка
| Область использования(сегменты) | Количество объектов | Предполагаемое число продаж одному объекту, шт. | Предполагаемая емкость сегмента, шт. |
| Промышленные предприятия | 10 | 20 | 200 |
| Розничная торговля | 10000 | 2 | 20000 |
| ВУЗы | 10 | 20 | 200 |
| НИИ | 5 | 10 | 50 |
Таблица 9.2 – Параметрическая сегментация рынка
| Параметры | Код сегмента | Итоговая оценка | Проценты | |||
| А | Б | В | Г | |||
| Скорость передачи | 5 | 5 | 5 | 5 | 20 | 15.38 |
| Цена | 5 | 5 | 5 | 5 | 20 | 15.38 |
| Тактовая частота | 5 | 4 | 5 | 5 | 19 | 14.61 |
| Габаритные размеры | 3 | 5 | 4 | 4 | 16 | 12.3 |
| Потребляемая мощность | 4 | 5 | 4 | 5 | 18 | 13.85 |
| Затраты на установку | 4 | 5 | 4 | 5 | 18 | 13.85 |
| Мобильность | 5 | 4 | 5 | 5 | 19 | 14.61 |
| Итого | 26 | 28 | 27 | 29 | 110 | 100 |
Анализ важности основных характеристик изделия для каждого сегмента потребительского рынка производится по пятибалльной шкале. Данные анализа занесены в табл. 9.2.
9.3 Расчет затрат на разработку изделия
Затраты на разработку устройства включают в себя: расходы, связанные с маркетинговыми исследованиями конструкторской, технологической, организационной подготовкой производства и прочие расходы по освоению нового устройства. В данном пункте рассчитываются затраты на разработку передающей части устройства. В разработке передающей части задействовано 4 разработчика.
По всем видам затрат составляется смета, расчеты по ней сводятся в таблицу 9.3.
Таблица 9.3 – Смета условно–постоянных затрат на разработку устройства
| Статьи затрат (расходы) | Сумма, грн. |
| Основная заработная плата разработчиков | 1200 |
| Дополнительная заработная плата (10%) от основной заработной платы | 120 |
| Отчисления на социальные мероприятия (37% от суммы основной и дополнительной заработной платы) | 532.8 |
| Прочие расходы (расходы на командировки, амортизационные отчисления, материальные расходы и прочие) | 800 |
| Накладные расходы (50% от основной заработной платы) | 600 |
| ИТОГ: условно – постоянные затраты | 3252.8 |
Затраты на разработку передающей части устройства составляют 3252.8 грн, а приемной – 4051.75 грн, следовательно общие затраты на разработку данного устройства составят 7263.3 грн.
9.4 Расчет договорной цены изделия
Для расчетно-договорной цены передающей части разрабатываемого устройства составляется калькуляция его себестоимости. Рассчитывается стоимость сырья и основных материалов, покупных полуфабрикатов и комплектующих изделий, заработной платы производственных рабочих. Полученные результаты заносятся в табл. 9.4, 9.5, 9.6.
Таблица 9.4 - Затраты на материалы передающей части устройства
| Наименование товара | Единица измерения | Количество | Цена за единицу, грн. | Сумма, грн. |
| Припой | кг | 0.02 | 10 | 0.2 |
| Канифоль | кг | 0.01 | 4 | 0.04 |
| Итого | 0.24 |
Производство проектируемого устройства осуществляется с помощью автоматизированных процессов, что снижает количество производственных рабочих. Таким образом, для производства передающей части устройства необходимо 4 человека. Для производства одной передающей части устройства одному рабочему требуется 20 минут.
Таблица 9.5 – Расчет стоимости покупных полуфабрикатов и комплектующих изделий передающей части устройства
| Наименование покупных изделий | Единица измерения | Количество | Цена за единицу, грн. | Сумма, грн. |
| Резисторы | шт. | 16 | 0.05 | 0.8 |
| Конденсаторы | шт. | 8 | 0.5 | 4 |
| Микросхемы | шт. | 2 | 2.50 | 5 |
| Итого | 9.8 |
Таблица 9.6 – Расчет стоимости материалов, покупных полуфабрикатов и комплектующих изделий проектируемого устройства
| Наименование покупных изделий | Единица измере-ния | Коли-чество | Цена за единицу, грн. (в т.ч. НДС 20%) | Сумма, грн. (в т.ч. НДС 20%) |
| Резисторы | шт. | 8 | 0.05 | 0.4 |
| Конденсаторы | шт. | 5 | 0.7 | 3.5 |
| Разъем PCI | шт. | 1 | 1 | 1 |
| DSP-контроллер | шт. | 1 | 50 | 50 |
| Микропроцессор | шт. | 1 | 25 | 25 |
| Трансформатор | шт. | 1 | 5 | 5 |
| Микросхемы | шт. | 1 | 2.5 | 2.5 |
| Плата | шт. | 1 | 0.3 | 0.3 |
| Итого | 87.7 |
Поскольку рабочие выполняют несколько различных операций, то они должны иметь высокую квалификацию и соответственно часовая тарифная ставка для них составляет 2 грн. Исходя из этого, зарплата одного рабочего на изготовление одной передающей части устройства составит 0.6 грн. Для расчета себестоимости и договорной цены устройства в целом необходимо учитывать затраты на производство как передающей части, так и приемной. Стоимость сырья и материалов приемной части составят 0.24 грн., покупных полуфабрикатов и комплектующих – 10.9 грн., зарплата производственных рабочих на изготовление одной детали 1 грн. На основе полученных данных составляется калькуляция себестоимости проектируемого устройства. Результаты заносятся в таблицу 9.7.
Таблица 9.7 – Калькуляция себестоимости приемной части устройства
| №п/п | Наименование статей калькуляции | Сумма, грн. | Примечание |
| 1. | Сырье и материалы | 0.48 | |
| 2. | Возвратные отходы (вычитаются) | - | |
| 3. | Покупные комплектующие изделия, полуфабрикаты сторонних предприятий | 108.4 | |
| 4. | Топливо и энергия на технологические цели | - | |
| 5. | Основная заработная плата рабочих | 1.6 | |
| 6. | Дополнительная заработная плата | 0.16 | 10% от п.5 |
| 7. | Отчисления на социальное страхование | 0.65 | 37% от (п.5+п.6) |
| 8. | Затраты, связанные с подготовкой производства продукции | 0.12 | 8% от п.5 |
| 9. | Возмещение износа специальных инструментов и приспособлений целевого назначения | 0.16 | |
| 10. | Затраты на содержание и эксплуатацию оборудования | 1.44 | ~90% от п.5 |
| 11. | Общепроизводственные расходы | 1.82 | ~60%от (п.5+п.10) |
| 12. | Общехозяйственные расходы | 0.36 | ~12%от (п.5+п.10) |
| 13. | Затраты вследствие технически неизбежного брака | - | |
| 14. | Другие производственные затраты | - | |
| 15. | Производственная себестоимость | 115.19 | |
| 16. | Внепроизводственные затраты | 2.3 | ~2% от п.15 |
| 17. | Полная себестоимость | 117.49 | п.15+п.16 |
Полная себестоимость проектируемого устройства составит 117.49 грн.
Цена изделия рассчитывается исходя из формулы
Ц=С/С+П, (9.1)
где С/С – полная себестоимость устройства;
П – прибыль (20% от С/С).
Ц=117.49+23.49=140.98 грн.
9.5 Анализ безубыточности производства товара
При анализе безубыточности производства товара определим объем производства товара, при котором выручка от продажи товара покрывает постоянные затраты.
, (9.2)
где
– точка безубыточности, шт.;
В – выручка от продажи единицы товара;
В = Цн.т. - Спер . (9.3)
Следовательно
В=140.98 - 113.01=27.97грн;
Qбез=4010.5+3252.8/27.97=259.6
На основе этих данных строится график безубыточности (рис. 9.1).

Рисунок 9.1 – График безубыточности
9.6 Расчет ожидаемой прибыли
Ожидаемая величина прибыли определяется возможным объемом производства и продажи товара.
Возможный объем производства определяется производственной мощностью предприятия и ресурсным обеспечением, а объем продаж наличием спроса и емкостью рынка.
Исходя из предполагаемого спроса, ожидаемая прибыль составит:
Пож = В·Nож - Спост., (9.4)
где Пож – ожидаемая прибыль;
Nож – ожидаемый объем продаж;
Спост. – постоянные затраты.
Пвер = Пож·Русп , (9.5)
где Пвер – вероятная прибыль;
Русп – коэффициент вероятности успеха.
Русп = Ктп·Ктк·Кнр·Кмв , (9.6)
где ТП – технические проблемы (технических проблем не существует – Ктп = 1),
ТК – технологическая конкуренция (в числе основных – Ктк = 0.5),
НР – наличие ресурсов (достаточно – Кнр = 1),
МВ – механизм внедрения (не готово, но в принципе возможно – Кмв = 0.5).
Следовательно
Русп=1·0.5·1·0.5=0.25.
Тогда ожидаемая прибыль будет равна:
Пож =27.97·20450 – 7263.3=564723.2 грн.
Пвер=564723.2·0.25=141180.8 грн.
9.7 Оценка конкурентоспособности устройства
9.7.1 Анализ конкурентоспособности приемной части устройства по техническим параметрам
Для оценки технического уровня проектируемого устройства сравниваются абсолютные значения его параметров с параметрами устройства–конкурента, и рассчитывается обобщенный показатель. Расчет производится по форме табл. 9.8.
Таблица 9.8 – Расчет обобщенного показателя технического уровня проектируемого устройства.
| Технические параметры | Единица измерения | Абсолютное значение | Относительный единичный показательQ | Коэффициент весомости,M | Относительный единичный показатель с учетом коэффициента весомости Q*M | |
| Изделие конкурента | Проектируемое изделие | |||||
| Скорость передачи | кбит/с | 350 | 720 | 2.06 | 0.5 | 1.03 |
| Информационная скорость | кбит/с | 210 | 690 | 3.3 | 0.2 | 0.99 |
| Напряжение питания | В | 8 | 5 | 1.6 | 0.1 | 1.6 |
| Тактовая частота | МГц | 5 | 10 | 2 | 0.2 | 0.4 |
| Итого | 1 | 2.58 | ||||
Относительные единичные показатели
определяются по формулам:
![]()
(max), (9.7)
(min). (9.8)
Обобщенный показатель качества проектируемого устройства по техническим параметрам рассчитывается по формуле:
. (9.9)
Относительный единичный показатель для каждого технического параметра:
- для скорости передачи
;
- для информационной скорости
;
- для напряжения питания
;
- для тактовой частоты
Qi=
=2.
Тогда
Qt=
=2.58.
Таким образом, разработка и производство данного устройства целесообразна и перспективна, поскольку оно имеет лучшие технические параметры, чем устройство–аналог.
9.7.2 Расчет интегрального показателя конкурентоспособности
В данном пункте рассчитаем конкурентоспособность приемной части и всего проектируемого устройства в целом.
Количественной мерой конкурентоспособности служит интегральный показатель конкурентоспособности Qкон, определяемый по формуле
Qкон=Qн.п·Qт/Qэ, (9.10)
где Qн.п – групповой показатель по нормативным параметрам (Qн.п.=1);
Qт – сравнительная конкурентоспособность устройства по его техническому уровню (поскольку передающая часть является составной частью всего устройства, то его сравнительная конкурентоспособность по техническим показателям такая же как и для всего устройства);
Qэ – групповой показатель конкурентоспособности по экономическим показателям
Qэ=Цпр/Цан . (9.11)
Цена передающей части проектируемого устройств равна С/Спрм+П и составляет 15.91грн.
Qэ=15.91/35=0.45.
Следовательно, показатель конкурентоспособности приемной части будет
Qкон=1·2.58/0.45=5.73.
Так как коэффициент конкурентоспособности больше единицы, то проектируемая передающая часть конкурентоспособна.
ВЫВОДЫ
В данной дипломной работе был произведен анализ характеристик реальных энергосетей и разработка устройства передачи данных по энергосетям, обеспечивающего заданную скорость передачи и надежность, с учетом особенностей реальных энергосетей. Разработана передающая часть устройства передачи информации по энергосети. Приведен алгоритм работы передающей части устройства. Описаны основные способы модуляции и кодирования сигнала. В процессе разработки устройства использовались последние научные разработки в области компьютерной техники и связи.
В разделе охраны труда произведен анализ опасных и вредных производственных факторов (ОВПФ), влияющих на человека в процессе труда, разработаны организационно – технические мероприятия для уменьшения и исключения ОВПФ. Произведен расчет зануления, так как поражение электрическим током является наиболее опасным фактором. Особое внимание было уделено пожарной безопасности. Был разработан план размещения рабочих мест и план эвакуации для конкретного помещения.
В экономической части дипломной работы был произведен анализ целесообразности разработки, изготовления и использования проектируемого устройства. Договорная цена разрабатываемого устройства составляет 140.98 грн., при этом обеспечивается безубыточность производства при выпуске в год 260 шт. Показатель конкурентоспособности Qкон=6.84, что является довольно высоким показателем.
Результаты, полученные в ходе исследования можно внедрить в процесс организации локальных компьютерных сетей.
ПЕРЕЧЕНЬ ССЫЛОК
1. Олифер В. Г., Олифер Н. А. Компьютерные сети. Принципы, технологии, протоколы – Спб.: Питер, 2001.
2. Лагутенко О. И. Модемы. Справочник пользователя – Спб.: «Лань», 1997.
3. Компьютерное обозрение.
4. PCWORLD. № 11, 1998.
5. INTERNET.
6. Смирнов Б. В., Ильин А. А. Передача сигналов по распределительным электрическим сетям. – К.: Гос. издательство, 1963.
7. Зелигер Н. Б. Основы передачи данных – М.: Связь, 1974.
8. Феер К. Беспроводная цифровая связь – М.: Радио и связь, 2000.
9. Кларк Дж., мл.,Кейн Дж. Кодирование с исправлением ошибок в системах цифровой связи – М.: Радио и связь, 1987.
10. Мак-Вильямс Ф. Дж., Слоэн Н. Дж. Теория кодов, исправляющих ошибки – М.: Связь, 1979.
11 Витерби А. Д., Омура Дж. К. Принципы цифровой связи кодирования – М.: Радио и связь, 1982.
12. Микуцкий Г. В., Скитальцев В. С. Высокочастотная связь по линиям электропередачи – М.: ЭНЕРГИЯ, 1969.
13. Рыжавский Г. Я. Измерения при наладке ВЧ каналов связи по линиям высокого напряжения – М.: ЭНЕРГОАТОМИЗДАТ, 1989.
14. Ефремов В. Е. Передача информации по распределительным сетям 6 – 35 кВ – М.:ЭНЕРГИЯ, 1971.
15. Ремизевич Т. В. Микроконтроллеры для встраиваемых приложений: от общих подходов – к семействам НС05 и НС08 фирмы Motorola. /под ред. Кирюхина И. С. – М.: ДОДЭКА, 2000. – 272 с.
16. Зеленин А. Н., Костромицкий А. И., Бондарь Д. В. Активные фильтры на операционных усилителях. – Х.: Телетех, 2000. – 136 с.: ил.
17. Терещук Р. М. И др. Полупроводниковые приемно-усилительные устройства: Справочник радиолюбителя/ Р. М. Терещук, К. М. Терещук, С. А. Седов. – 4-е издание – Киев: Наук. Думка, 1988 – 800с.
18. Прокис Дж. Цифровая связь. – М.: Радио и связь, 2000.
19. AnalogDevicesElectronicCDReference
20. Щербаков В. И. Электронные схемы на операционных усилителях: справочник. – К.: Технiка, 1983. – 213 с.
21. Методическое указание к выполнению раздела «Охрана труда» в дипломных работах, Х. 1999 г.
22. ГОСТ 12.1.005–88. Воздух рабочей зоны. Общие Санитарно-гигиенические требования.
23. СНиП 2-90-81. Производственные здания промышленных предприятий.
24. Спивак Г. И., Шпель А. Г. Электробезопасность на предприятиях связи – М.: Радио и связь, 1984 – 176 с.
25. ГОСТ 12.1.030-81 ССБТ Электробезопасность. Защитное заземление. Зануление.
26. Методические указания по экономическому обоснованию дипломных проектов. Харьков. ХИРЭ, 1989 – 55с.
Похожие рефераты:
Локальная сеть Ethernet в жилом микрорайоне
Разработка передающего полукомплекта ТУ
Дистанционные технологии в образовании
Диплом-Нейросетевая система для управления и диагностики штанговой глубинонасосной установкой
Информатика и программное обеспечение ПЭВМ
Организация сети передачи данных по энергосетям с применением технологии PLC
Методы позиционирования и сжатия звука
Приемник цифровой системы передачи информации ВЧ-каналом связи по ВЛ
Беспроводные телекоммуникационные системы
Машины, которые говорят и слушают
Классификация модемных протоколов
Техническая диагностика средств вычислительной техники