| Похожие рефераты | Скачать .docx |
Реферат: Строение и ремонт карбюратора
1. Общая часть. История развития автомобильного транспорта в России
Становление и развитие автомобильного транспорта стало знаковым явлением ХХ века, а уровень автомобилизации – индикатором уровня развития любой страны, в том числе и России.
В условиях растущего российского рынка автомобильный транспорт стал ключевым звеном транспортной системы России. Сегодня нет такой отрасли в нашем народном хозяйстве, которая могла бы эффективно работать без автомобиля. На долю автомобильного транспорта приходится более 72% общего объема перевозок грузов, перевозимых транспортным комплексом страны, и более половины всего пассажиропотока. По объемам грузоперевозок он превосходит железнодорожный магистральный транспорт почти в 6 раз, а пассажирских перевозок – в 17 раз. Каждый день автомобильным транспортом перевозится более 65 миллионов пассажиров и около 17 миллионов тонн грузов.
Развитие российского товарного рынка обеспечивается за счет дополнительных преимуществ, присущих автотранспорту. Это прежде всего ценовая доступность, технологическая и коммерческая гибкость. Важным фактором, стимулирующим развитие автотранспорта, стала конкуренция как внутри самой отрасли, так и с другими видами транспорта.
На автотранспорте фактически ликвидирована монополия государственных предприятий. Экономические реформы сделали автотранспортные перевозки по-настоящему народным бизнесом. Этот сектор является сейчас огромным «полигоном», на котором наиболее активно отрабатывают формы и методы своего бизнеса субъекты малого предпринимательства.
Велико значение малого бизнеса в транспортном обслуживании населения в городах и пригородах. В 440 городах России на основе конкурсного отбора работают около 37 тысяч привлеченных автобусов, рост объемов по этому сектору рынка услуг пассажирского транспорта за 9 месяцев текущего года превысил 37%.
По данным Российской транспортной инспекции, за счет более полного решения вопросов о бюджетных компенсациях льготного проезда ветеранов и инвалидов в городском и пригородном сообщении увеличиваются суммы дотаций автотранспортным предприятиям, их фактические убытки в первом полугодии 2002 года возмещены на 87,4%, что на 3,7% превышает уровень соответствующего периода прошлого года. Благодаря принятым мерам по защите и повышению конкурентоспособности отечественных международных автоперевозчиков объемы перевозок грузов на рынке транспортных услуг в первом полугодии текущего года увеличились на 7,8% (с 9528 тыс. до 10271,8 тыс. тонн). Удельный вес российских перевозчиков возрос с 32,7 до 34,3%.
В рамках федеральной целевой программы «Модернизация транспортной системы России» начали реализовываться подпрограммы «Безопасность дорожного движения» и «Реформирование пассажирского транспорта общего пользования».
Министерством транспорта совместно с Минприроды разработан проект федеральной целевой программы «Снижение негативного воздействия автомобильного транспорта на окружающую среду».
Для выработки мер по повышению эффективности работы автомобильного транспорта Минтрансом подготовлена Концепция развития автомобильного транспорта в Российской Федерации на период до 2010 года. Представлен в Правительство РФ проект новой редакции Устава автомобильного транспорта, в настоящее время ведется разработка «подуставных» Правил перевозки опасных грузов автомобильным транспортом, Правил перевозки скоропортящихся грузов автомобильным транспортом, общих Правил перевозок грузов автомобильным транспортом, Правил перевозок пассажиров и багажа на автомобильном транспорте Российской Федерации.
Совместно с Минпромнауки в рамках одобренной Концепции развития автопрома разработан перечень первоочередных стандартов, устанавливающих требования и методы оценки надежности и безопасности автобусов.
В ходе реализации мероприятий ФЦП по восстановлению объектов автотранспорта в Чеченской Республике в текущем году освоен объем ремонтно-восстановительных работ на сумму 60 миллионов рублей, приобретено 35 автобусов и 41 грузовой автомобиль, закуплено запасных частей на сумму 3,56 миллионов рублей.
Однако по-прежнему существует ряд острых проблем, которые в ближайшей перспективе могут негативно сказаться на уровне автотранспортного обслуживания народного хозяйства и населения страны.
Первая проблема – обеспечение безопасности дорожного движения на автомобильных дорогах России. Тенденция роста аварийности на автомобильном транспорте наблюдается четыре года подряд, но особенно тревожная ситуация сложилась в этом году. За 9 месяцев количество ДТП возросло на 14,1%, погибших – на 8,8%, раненых – на 16,3%.
Принятие нового закона по лицензированию вывело из-под контроля более 80% автотранспортных средств, используемых для некоммерческих перевозок. Отмена обязательной сертификации услуг пассажирского автотранспорта значительно усложнила работу по обеспечению БДД и снижению негативного воздействия автотранспорта на окружающую среду.
Масштабная автомобилизация страны, диспропорция между приростом автомобильного парка и развитием улично-дорожной сети, высокий уровень изношенности подвижного состава, вовлечение в транспортный процесс все большего количества субъектов малого бизнеса – все это в настоящий момент не позволяет в рамках существующих механизмов госрегулирования и профилактики ДТП стабилизировать положение дел. Требуется скорейшее принятие дополнительных мер, которые помогут адекватно противодействовать негативным тенденциям.
Вторая острейшая проблема – низкие темпы обновления парка подвижного состава. Это обусловлено ограниченными инвестиционными возможностями автохозяйств, дефицитом местных бюджетов, отсутствием рациональных финансовых механизмов обновления парка. Сегодня около 83% грузовых автомобилей и порядка 58% автобусов подлежат списанию. В 2001 году автотранспортными предприятиями было приобретено 4,8 тыс. грузовых автомобилей и 11 тыс. автобусов, при этом из эксплуатационного парка выбыло 16,6 тыс. грузовых автомобилей и 13,5 тыс. автобусов.
Выход из этой ситуации видится в развитии лизинговых схем приобретения грузовых автомобилей и оказании государственной финансовой поддержки по приобретению пассажирского подвижного состава.
Третья проблема – кризисное состояние общественного пассажирского транспорта, который нуждается в глубоком реформировании, направленном на сокращение доли бюджетных субсидий. Необходимо обеспечить переход к системе самофинансирования и самоокупаемости, сформировать конкурентную среду, создать условия для привлечения крупных частных инвестиций.
Минтранс России принял участие в согласовании разработанного Минтрудом России проекта федерального закона «Об адресной компенсации льгот по проезду на транспорте, предоставляемых по профессиональной принадлежности». В основу законопроекта положен принцип перевода социальных льгот в денежные компенсационные выплаты, а также механизм предоставления гражданам транспортных льгот и их компенсации. В декабре 2002 года законопроект будет направлен Минтрудом России в Правительство Российской Федерации.
В рамках подпрограммы «Реформирование пассажирского транспорта общего пользования» началась реализация двух крупных пилотных проектов во Владимире и в Ростове-на-Дону. Эти города должны стать местом отработки перспективных моделей организации работы пассажирского транспорта в условиях регулируемого рынка. В случае успешного завершения этих проектов они будут внедряться в других регионах Российской Федерации.
К числу позитивных изменений, происходящих в отрасли, следует отнести активизацию деятельности Российского автотранспортного союза (РАС). В настоящее время интенсивно развивается сеть его региональных ассоциаций. В состав РАС входят 85 ассоциаций, союзов и некоммерческих партнерств. Союз имеет представительство практически в каждом субъекте Российской Федерации, под его эгидой объединено большинство общероссийских и межрегиональных ассоциаций, имеющих отношение к автотранспортной деятельности.
2. Организация ремонта автомобиля
Порядок постановки автомобиля в ремонт.
Для оценки технического состояния объекта необходимо определить текущее значение с нормативным. Однако структурные параметры в большинстве случаев не поддаются измерению без разборки узла или агрегата, но каждая разборка и нарушение взаимного положения приработавшихся деталей приводят к сокращению остаточного ресурса на 30-40%.
Для этого при диагностировании о значениях структурных показателей судят по косвенным, диагностическим признакам, качественной мерой которых являются диагностические параметры. Таким образом, диагностический параметр – это качественная мера проявления технического состояния автомобиля, его агрегата и узла по косвенному признаку, определение количественного значения которого возможно без их разборки.
При измерении диагностических параметров неизбежно регистрируются помехи, которые обусловлены конструктивными особенностями диагностируемого объекта и избирательными способностями прибора и его точностью. Это затрудняет постановку диагноза и снижает его достоверность. Поэтому важным этапом является отбор из выявленной исходной совокупности наиболее значимых и эффективных в использовании диагностических параметров, для чего они должны отвечать четырём основным требованиям: стабильности, чувствительности и информативности.
Общий процесс технического диагностирования включает в себя: обеспечение функционирования объекта на заданных режимах или тестовое воздействие на объект; улавливание и преобразование с помощью датчиков сигналов, выражающих значения диагностических параметров, их измерение; постановку диагноза на основании логической обработки полученной информации путём сопоставления с нормативами.
Диагностирование осуществляется либо в процессе работы самого автомобиля , его агрегатов и систем на заданных нагрузочных, скоростных и тепловых режимах (функциональное диагностирование), либо при использовании внешних приводных устройств, с помощью которых на автомобиль подаются тестовые воздействия (тестовое диагностирование). Эти воздействия должны обеспечивать получение максимальной информации о техническом состоянии автомобиля при оптимальных трудовых и материальных затратах.
Техническая диагностика определяет рациональную последовательность проверок механизмов и на основе изучения динамики изменения параметров технического состояния агрегатов и узлов машины решает вопросы прогнозирования ресурса и безотказной работы.
Техническое диагностирование – процесс определения технического состояния объекта диагностирования с определённой точностью.
Диагностирование завершается выдачей заключения о необходимости проведения исполнительской части операций ТО или ремонта. Важнейшее требование к диагностированию – возможность оценки состояния объекта без его разборки.
Диагностирование может быть объективным (осуществляемым с помощью контрольно-измерительных средств, специального оборудования, приборов, инструмента) и субъективным, производимым с помощью органов чувств проверяющего человека и простейших технических средств.
Текущий ремонт предназначен для устранения возникших неисправностей, а также для обеспечения установленных нормативов пробегов автомобилей и агрегатов до капитального ремонта. Характерными работами ТР являются: разборочные, сборочные, слесарные, сварочные, дефектовочные, окрасочные, замена деталей и агрегатов. При ТР агрегата допускается замена деталей, достигших предельного состояния, кроме базовых. У автомобиля при ТР могут заменяться отдельные детали, механизмы, агрегаты, требующие текущего или капитального ремонта.
ТР должен обеспечивать безотказную работу отремонтированных агрегатов и узлов на пробеге, не меньшем, чем до очередного ТО-2. В действующей системе для ТР регламентируется удельная трудоёмкость, т.е. трудоёмкость, отнесённая к пробегу автомобиля (чел(ч/1000 км), а также суммарные удельные простои в ТР и ТО (дней/1000 км). Кроме того, специальными нормативами регламентируются затраты на ТО (руб./1000 км) с поэлементной разбивкой на рабочую силу, запасные части и материалы.
Положение о ТО и ремонту и соответствующая практика свидетельствуют о целесообразности регламентации ряда работ ТР (предупредительный ремонт), например, по предупреждению отказов, влияющих на безопасность движения или дающих большие убытки при их возникновении. Часть таких операций ТР малой трудоёмкости может совмещаться с ТО (сопутствующий ТР). Другие выполняются в виде самостоятельных комплексов, например, по поддержанию исправного состояния кузовов, кабин, рам. Они производятся 2-3 раза за срок службы автомобиля и включают: углублённый контроль технического состояния элементов; восстановление или замену деталей, достигших предельного состояния; обеспечение герметичности и прочности сварных швов; удаление продуктов коррозии и нанесение противокоррозионного покрытия; устранение вмятин и трещин; проведение мер, обеспечивающих комфортные условия для водителей и пассажиров; полную или частичную окраску кузова, кабины, рамы.
Примером текущего ремонта может служить ремонт замка задней двери автомобиля MITSUBISHI Pajero 3.5, потребность в котором возникла из-за предельного износа ответной части замка. Из-за высокой стоимости новой запасной части и длительного времени, необходимого на её доставку, неисправность была устранена путём переворота симметричной детали на 180 С.
3. Краткая характеристика карбюратора. Особенности устройства.
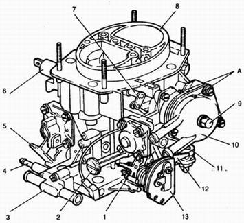
На двигателях 2110 устанавливается карбюратор 21083 1107010 31 (рис. 2-83) эмульсионного типа, двухкамерный, с последовательным открытием дроссельных заслонок.

Рис. 2-83. Внешний вид карбюратора 21083 1107010 31:
1 - ведущий рычаг привода второй камеры;
2 - регулировочный винт количества смеси холостого хода;
3 - блок подогрева карбюратора 21083 1107010 31;
4 - патрубок вентиляции картера двигателя;
5 - рычаг привода ускорительного насоса;
6 - электромагнитный запорный клапан;
7 - рычаг воздушной заслонки;
8 - крышка карбюратора 21083;
9 - болт крепления жидкостной камеры;
10 - корпус жидкостной камеры;
11 - корпус карбюратора 21083 1107010 31;
12 - рычаг дроссельной заслонки второй камеры;
13 - сектор рычага управления дроссельными заслонками;
А - метки правильной установки биметаллической пружины пускового устройства
Карбюратор 21083 1107010 31 имеет сбалансированную поплавковую камеру, систему отвода картерных газов за дроссельную заслонку, подогрев зоны дроссельной заслонки первой камеры. В карбюраторе 21083 1107010 31 имеются две главные дозирующие системы первой и второй камер, система холостого хода первой камеры с переходной системой, переходная система второй камеры, экономайзер мощностных режимов, эконостат, диафрагменный ускорительный насос, полуавтоматическое пусковое устройство. На принудительном холостом ходу включается экономайзер принудительного холостого хода. Тарировочные данные карбюратора 21083 1107010 31 приведены в табл. 2-3.
Таблица 2-3. Тарировочные данные карбюратора 21083 1107010 31
| Параметры |
Первая камера |
Вторая камера |
| Диаметр смесительной камеры, мм |
32 |
32 |
| Диаметр диффузора, мм |
21 |
23 |
| Главная дозирующая система: |
|
|
| Тип эмульсионной трубки |
|
|
| Система холостого хода и переходные системы: |
|
|
| Эконостат: |
|
|
| Экономайзер мощностных режимов: |
|
|
| Ускорительный насос: |
|
|
| Пусковые зазоры: |
|
|
| Диаметр отверстия игольчатого клапана, мм |
1,8 |
|
| Диаметр отверстия перепуск топлива в бак, мм |
0,70 |
|
| Диаметр отверстия вентиляции картера двигателя, мм |
1,5 |
|
| Уровень топлива в поплавковой камере, мм |
22,5 |
|
| Диаметр балансировочных отверстий |
|
|
* Маркировка жиклеров определяется расходом, который замеряется с помощью микроизмерителей. Настройка микроизмерителей осуществляется по эталонным жиклерам.
** Условный расход топливного жиклера определяется по эталонному жиклеру и специальной методике. Контролю в процессе эксплуатации не подлежит.
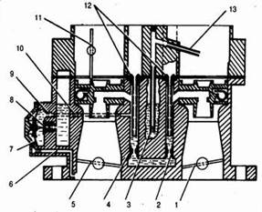
Главная дозирующая система. Топливо через сетчатый фильтр 4 (рис. 2-84) и игольчатый клапан 6 подается в поплавковую камеру. Из поплавковой камеры топливо поступает через главные топливные жиклеры 9 в эмульсионные колодцы и смешивается с воздухом, выходящим из отверстий эмульсионных трубок 1, которые изготовлены заодно с главными воздушными жиклерами. Через распылители 2 топливовоздушная эмульсия попадает в малые и большие диффузоры карбюратора 21083. Дроссельные заслонки 8 и 10 соединены между собой таким образом, что вторая камера начинает открываться, когда первая уже открыта на 2/3 величины.

Рис. 2-84. Схема главных дозирующих систем:
1 - главные воздушные жиклеры с эмульсионными трубками;
2 - распылители первой и второй камер; 3 - балансировочное
отверстие; 4 - топливный фильтр; 5 - патрубок слива части
топлива в топливный бак; 6 - игольчатый клапан; 7 - поплавок;
8 - дроссельная заслонка второй камеры; 9 - главные
топливные жиклеры; 10 - дроссельная заслонка первой камеры
Система холостого хода забирает топливо из эмульсионного колодца после главного топливного жиклера 7 (рис. 2-85). Топливо подводится к топливному жиклеру 2 с электромагнитным запорным клапаном 1, на выходе из жиклера смешивается с воздухом, поступающим из проточного канала и из расширяющейся части диффузора (для обеспечения нормальной работы карбюратора 21083 при переходе на режим холостого хода). Эмульсия выходит под дроссельную заслонку через отверстие, регулируемое винтом 9 содержания окиси углерода (СО) в отработавших газах.

Рис. 2-85. Схема системы холостого хода и переходных систем:
1 - электромагнитный запорный клапан; 2 - топливный жиклер
холостого хода; 3 - воздушный жиклер холостого хода; 4 - топливный
жиклер переходной системы второй камеры; 5 - воздушный жиклер
переходной системы второй камеры; 6 - выходное отверстие переходной
системы второй камеры; 7 - главные топливные жиклеры; 8 - щель
переходной системы первой камеры; 9 - регулировочный винт
содержания окиси углерода (СО) в отработавших газах
Переходные системы. При открытии дроссельных заслонок карбюратора 21083 до включения главных дозирующих систем топливовоздушная смесь поступает: в первую смесительную камеру через жиклер 2 холостого хода и вертикальную щель 8 переходной системы, находящуюся на уровне кромки дроссельной заслонки в закрытом положении; во вторую смесительную камеру через выходное отверстие 6, находящееся чуть выше кромки дроссельной заслонки в закрытом положении. Топливо поступает из жиклера 4 через трубку, смешивается с воздухом из жиклера 5, поступающим через проточный канал.
Экономайзер мощностных режимов срабатывает при определенном разрежении за дроссельной заслонкой 5 (рис. 2-86). Топливо забирается из поплавковой камеры через шариковый клапан 8. Клапан 8 закрыт, пока диафрагма удерживается разрежением во впускной трубе. При значительном открытии дроссельной заслонки разрежение несколько падает и пружина диафрагмы 7 открывает клапан. Топливо, проходящее через жиклер 9 экономайзера, добавляется к топливу, которое проходит через главный топливный жиклер 4, обогащая рабочую смесь.

Рис. 2-86. Схема эконостата и экономайзера мощностных режимов:
1 - дроссельная заслонка второй камеры; 2 - главный топливный
жиклер второй камеры; 3 - топливный жиклер эконостата с трубкой;
4 - главный топливный жиклер первой камеры; 5 - дроссельная
заслонка первой камеры; 6 - канал подвода разрежения; 7 - диафрагма
экономайзера; 8 - шариковый клапан; 9 - топливный жиклер экономайзера;
10 - топливный канал; 11 - воздушная заслонка; 12 - главные воздушные
жиклеры; 13 - впрыскивающая трубка эконостата.
Эконостат работает при полной нагрузке двигателя на скоростных режимах, близких к максимальным, при полностью открытых дроссельных заслонках. Топливо из поплавковой камеры через жиклер 3 (рис. 2-86) поступает в топливную трубку и высасывается через впрыскивающую трубку 13 во вторую смесительную камеру, обогащая рабочую смесь.
Ускорительный насос диафрагменный, с механическим приводом от кулачка 6 (рис. 2-87) на оси дроссельной заслонки первой камеры. При закрытой дроссельной заслонке пружина отводит диафрагму 3 назад, что приводит к заполнению полости насоса топливом через шариковый клапан 8. При открытии дроссельной заслонки кулачок действует на рычаг 5, а диафрагма 3 нагнетает топливо через шариковый клапан 2 и распылители 1 в смесительные камеры карбюратора 21083, обогащая рабочую смесь. Производительность насоса не регулируется и зависит только от профиля кулачка.

Рис. 2-87. Схема ускорительного насоса:
1 - распылители; 2 - шариковый клапан подачи топлива;
3 - диафрагма насоса; 4 - толкатель; 5 - рычаг привода;
6 - кулачок привода насоса; 7 - дроссельная заслонка первой камеры;
8 - обратный шариковый клапан; 9 - дроссельная заслонка второй камеры
Полуавтоматическое пусковое устройство (рис. 2-88) улучшает управление автомобилем и снижает токсичность отработавших газов в режимах запуска и прогрева двигателя. При запуске холодного двигателя биметаллическая пружина пускового устройства (на рис. 2-88 не показана) с помощью рычагов и тяги 8 удерживает воздушную заслонку 7 закрытой. После запуска двигателя заслонка при помощи диафрагмы 6 приоткрывается на зазор А, который регулируется винтом 11 штока 12 диафрагмы 6 пускового устройства. По мере прогрева двигателя охлаждающей жидкостью, циркулирующей через жидкостную камеру 4 (рис. 2-89) пускового устройства, нагревается и биметаллическая пружина, которая обеспечивает открытие воздушной заслонки через рычаги привода пускового устройства и тягу 8 (рис 2-88). На прогретом двигателе воздушная заслонка открыта биметаллической пружиной полностью.
Экономайзер принудительного холостого хода отключает систему холостого хода на принудительном холостом ходу (во время торможения автомобиля двигателем, при движении под уклон, при переключении передач), снижая расход топлива и выброс углеводородов в атмосферу. На режиме принудительного холостого хода при частоте вращения коленчатого вала более 2100 мин и при замкнутом на «массу» концевом выключателе 5 (рис. 7-44) карбюратора 21083 (педаль отпущена) запорный электромагнитный клапан 4 отключается, подача топлива прерывается. Если концевой выключатель не замкнут на «массу», то электромагнитный клапан отключаться не будет. При снижении частоты вращения коленчатого вала на принудительном холостом ходу до 1900 мин блок управления вновь включает э электромагнитный запорный клапан, начинается подача топлива через жиклер холостого хода и двигатель постепенно выходит на режим холостого хода.
3.2. Латунь и его технологические свойства.
Латунь - сплав меди с цинком (от 5 до 45%). Латунь с содержанием от 5 до 20% цинка называется красной (томпаком), с содержанием 20–36% Zn – желтой. На практике редко используют латуни, в которых концентрация цинка превышает 45%.
Цинк более дешевый материал по сравнению с медью, поэтому его введение в сплав одновременно с повышением механических, технологических и антифрикационных свойств, приводит к снижению стоимости - латунь дешевле меди. Электропроводность и теплопроводность латуни ниже, чем меди.
Латунь - двойной и многокомпонентный медный сплав, с основным легирующим элементом - цинком. По сравнению с медью обладают более высокой прочностью и коррозионной стойкостью. Простые латуни обозначают буквой Л и цифрой, показывающей содержание меди в процентах. В специальных латунях после буквы Л пишут заглавную букву дополнительных легирующих элементов и через тире после содержания меди указывают содержание легирующих элементов в процентах. Латуни разделяют на литейные и деформируемые. Латуни, за исключением свинцовосодержащих, легко поддаются обработке давлением в холодном и горячем состоянии. Все латуни хорошо паяются твердыми и мягкими припоями.
Коррозионная стойкость латуней в атмосферных условиях оказывается средней между стойкостью элементов, образующих сплав, т.е. цинка и меди. Латунь, содержащая более 20% цинка, склонна к растрескиванию при вылеживании во влажной атмосфере (особенно, если присутствуют следы аммиака). Этот эффект часто называют «сезонное растрескивание». Наиболее заметен он в деформированных изделиях, поскольку коррозия распространяется по границам зерен. Для устранения этого явления после деформации латунь подвергают отжигу при 240 - 260 (°C).
Латуни обладают высокими технологическими свойствами и применяются в производстве различных мелких деталей, особенно там, где требуются хорошая обрабатываемость и формуемость. Из них получают хорошие отливки, так как латунь обладают хорошей текучестью и малой склонностью к ликвации. Латуни легко поддаются пластической деформации - основное их количество идет на изготовление катанных полуфабрикатов - листов, полос, лент, проволоки и разных профилей.
Обычно латуни делят на:
- двухкомпонентные латуни («Простые»), состоящие только из меди, цинка и, в незначительных количествах, примесей.
Для двухкомпонентной латуни особое значение имеет фазовый состав сплава. Предел растворимости цинка в меди при комнатной температуре равен 39%. При повышении температуры он снижается и при 905 °C становится равным 32%. По этой причине латуни, содержащие цинка менее 39%, имеют однофазную структуру (a-фаза) твердого раствора цинка в меди. Их называют а-латунями. Если в расплав ввести больше цинка, то он не сможет полностью раствориться в меди, и после затвердевания возникнет вторая фаза – (b-фаза). b-фаза очень хрупка и тверда, поэтому двухфазные латуни имеют более высокую прочность и меньшую пластичность, чем однофазные.
При увеличении концентрации цинка до 30% возрастают одновременно и прочность, и пластичность. Затем пластичность уменьшается, вначале за счет усложнения твердого раствора, затем происходит резкое ее понижение, так как в структуре сплава появляется хрупкая b-фаза. Прочность увеличивается до концентрации цинка около 45%, а затем уменьшается так же резко, как и пластичность.
Большинство латуней хорошо обрабатывается давлением. Особенно пластичны однофазные латуни. Они деформируются при низких и при высоких температурах. Однако в интервале 300 - 700 (°C) существует зона хрупкости, поэтому при таких температурах латуни не деформируют.
Особенностью обработки латуней давлением является то, что для обработки в холодном состоянии (тонкие листы, проволока, калиброванные профили) используют a-латунь с содержанием цинка до 32%, так как она при комнатной температуре имеет высокую пластичность и малую прочность. При повышении температуры до 300-700 °C ее пластичность уменьшается, поэтому в горячем состоянии ее не обрабатывают. Для этой цели используют или b-латунь с большим содержанием цинка (до 39%), способную переходить при нагреве в двухфазное состояние a+b, либо (a+b)-латунь.
Марка латуни составляется из буквы «Л», указывающей тип сплава - латунь, и двузначной цифры, характеризующей среднее содержание меди. Например, марка Л80 - латунь, содержащая 80% Cu и 20% Zn.
- многокомпонентные латуни («Специальные»)– кроме меди и цинка присутствуют дополнительные легирующие элементы
Количество марок многокомпонентных латуней больше, чем двухкомпонентных. Наименование специальной латуни отражает ее состав. Так, если она легирована железом и марганцем, то ее называют «Железомарганцевой», если алюминием – «Алюминиевой» и т.д.
Марку этих латуней составляют следующим образом: первой, как в простых латунях, ставится буква Л, вслед за ней - ряд букв, указывающих, какие легирующие элементы, кроме цинка, входят в эту латунь; затем через дефисы следуют цифры, первая из которых характеризует среднее содержание меди в процентах, а последующие - каждого из легирующих элементов в той же последовательности, как и в буквенной части марки. Порядок букв и цифр устанавливается по содержанию соответствующего элемента: сначала идет тот элемент, которого больше, а далее по нисходящей. Содержание цинка пределяется по разности от 100%. Например, марка ЛАЖМц66-6-3-2 расшифровывается так: латунь, в которой содержится 66% Cu, 6%A l, 3% Fe и 2% Mn. Цинка в ней 100-(66+6+3+2)=23%.
Основными легирующими элементами в многокомпонентных латунях являются алюминий, железо, марганец, свинец, кремний, никель. Они по-разному влияют на свойства латуней.
Марганец повышает прочность и коррозионную стойкость, особенно в сочетании с алюминием, оловом и железом.
Олово повышает прочность и сильно повышает сопротивление коррозии в морской воде. Латуни, содержащие олово, часто называют морскими латунями. Никель повышает прочность и коррозионную стойкость в различных средах. Свинец ухудшает механические свойства, но улучшает обрабатываемость резанием. Им легируют (1-2%) латуни, которые подвергаются механической обработке на станках-автоматах. Поэтому эти латуни называют автоматными.
Кремний ухудшает твердость, прочность. При совместном легировании кремнием и свинцом повышаются антифрикционные свойства латуни и она может служить заменителем более дорогих, например оловянных бронз, применяющихся в подшипниках скольжения.
Латуни по сравнению с бронзой обладают менее высокими прочностью, коррозионной стойкостью и антифрикционными свойствами. Они весьма стойки на воздухе, в морской воде, растворах большинства органических кислот, углекислых растворах.
Двойные деформируемые латуни.
Л96 Радиаторные и капиллярные трубки
Л90 Детали машин, приборов теплотехнической и химической аппаратуры, змеевики, сильфоны и др.
Л85 Детали машин, приборов теплотехнической и химической аппаратуры, змеевики, сильфоны и др.
Л80 Детали машин, приборов теплотехнической и химической аппаратуры, змеевики, сильфоны и др.
Л70 Гильзы химической аппаратуры
Л68 Штампованные изделия
Л63 Гайки, болты, детали автомобилей, конденсаторные трубы
Л60 Толстостенные патрубки, гайки, детали машин
Многокомпонентные деформируемые латуни
ЛА77-2 Конденсаторные трубы морских судов
ЛАЖ60-1-1 Детали морских судов
ЛАН59-3-2 Детали химической аппаратуры, электромашин, морских судов
ЛЖМа59-1-1 Вкладыши подшипников, детали самолетов, морских судов
ЛН65-5 Манометрические и конденсаторные трубки
ЛМц58- 2 Гайки, болты, арматура, детали машин
ЛМцА57- 3-1 Детали морских и речных судов
Л090-1 Конденсаторные трубы теплотехнической аппаратуры
Л070-1 То же
Л062-1 То же
Л060-1 Конденсаторные трубы теплотехнической аппаратуры
ЛС63-3 Детали часов, втулки
ЛС74-3 То же
ЛС64-2 Полиграфические матрицы
ЛС60-1 Гайки, болты, зубчатые колеса, втулки
ЛС59-1
ЛС59-1В То же
ЛЖС58-1-1 Детали, изготовляемые резанием
ЛК80-3 Коррозионностойкие детали машин
ЛМш68-0,05 Конденсаторные трубы
ЛАМш77-2-0,05 То же
ЛОМш70-1-0,05 То же
ЛАНКМц75- 2- 2,5- 0,5- 0,5 Пружины, манометрические трубы
Литейные латуни
ЛЦ16К4 Детали арматуры
ЛЦ23А6ЖЗМц2 Массивные червячные винты, гайки нажимных винтов
ЛЦЗОАЗ Коррозионно-стойкие детали
ЛЦ40С Литые детали арматуры, втулки, сепараторы, подшипники
ЛЦ40МцЗЖ Детали ответственного назначения, работающие при температуре до 300 °С
ЛЦ25С2 Штуцера гидросистемы автомобилей
Латуни обладают сравнительно высокими механическими свойствами и удовлетворительной коррозионной устойчивостью и, будучи наиболее дешевыми из медных сплавов, имеют широкое распространение во многих отраслях машиностроения.
Латунь подразделяют на двойные и многокомпонентные. Двойные медно цинковые сплавы - простые или двойные латуни, многокомпонентные - специальные латуни. Двойные латуни, содержащие 88 - 97% меди, называют томпаком, а содержащие 79 - 80% меди - полутомпаком. Название специальных латуней дается по дополнительному легирующему элементу (кроме цинка), например, латунь, содержащую, кроме цинка, алюминий, называют алюминиевой латунью и т.п. По технологическому принципу различают деформируемые и литейные латуни.
Полуфабрикаты из деформируемых латуней изготовляют в следующих состояниях: мягкое (отожженные), полутвердое (обжатие 10-30%), твердое (обжатие более 30%) и особотвердое (обжатие боле 50%). Литейные латуни выплавляют как из первичных, так и из вторичных металлов (вторичные латуни).
В качестве дополнительных легирующих добавок в специальные латуни вводят алюминий, кремний, олово, никель, марганец, железо и свинец. Указанные добавки (кроме свинца) повышают коррозионную стойкость, прочность, жидкотекучесть, измельчают зерно латуни; свинец сильно улучшает обрабатываемость резанием.
Латуни, содержащие более 20% цинка, в деформированном состоянии склонны к коррозионному ( самопроизвольному) растеканию при хранении. Для предупреждения растекания изделия, изготовленные из латуни, следует подвергать низкотемпературному отжигу при 250 - 300 °С.
Химический состав и назначение латуней, физические и механические свойства, виды полуфабрикатов приводятся в следующих таблицах:
Таблица 1. Химический состав в % и виды полуфабрикатов деформируемых простых латуней (по ГОСТ 1019-47)
| Марка |
Компоненты |
Примеси (не более) |
Полуфабрикаты |
||||||
| Cu |
Zn |
Pb |
Fe |
Sb |
Bi |
P |
Всего |
||
| Л 96 |
95,0-97,0 |
О |
0,03 |
0,10 |
0,005 |
0,002 |
0,01 |
0,2 |
Радиаторные трубки |
| Л 90 |
88,0-91,0 |
0,03 |
0,10 |
0,005 |
0,002 |
0,01 |
0,2 |
Листы; ленты для плакировки |
|
| Л 85 |
84,0-86,0 |
0,03 |
0,10 |
0,005 |
0,002 |
0,01 |
0,3 |
Трубы гофрированные |
|
| Л 80 |
79,0-81,0 |
0,03 |
0,10 |
0,005 |
0,002 |
0,01 |
0,3 |
Листы, ленты и проволока |
|
| Л70 |
69,0-72,0 |
0,03 |
0,07 |
0,002 |
0,002 |
0,005 |
0,2 |
Полосы и ленты |
|
| Л68 |
67,0-70,0 |
0,03 |
0,10 |
0,005 |
0,002 |
0,002 |
0,3 |
Полосы, листы, ленты, трубы и проволока |
|
| Л62 |
60,5-63,5 |
0,08 |
0,15 |
0,005 |
0,002 |
0,002 |
0,5 |
Полосы, листы, ленты, трубы, прутки проволока |
|
Примечание:
1. В латуни марки Л70, кроме перечисленных примесей, может быть не более 0,005 As, 0,005 Sn и 0,002 S.
2. В антимагнитных латунях содержание железа <= 0,03%.
Таблица 2. Физические и технологические свойства простых деформируемых латуней.
| Марка |
Л 96 |
Л 90 |
Л 85 |
Л 80 |
Л 70 |
Л 68 |
Л 62 |
|
| Температура плавления в °С |
1070 |
1045 |
1025 |
1099 |
950 |
938 |
905 |
|
| Плотность в Г/см3 |
8,85 |
8,78 |
8,75 |
8,06 |
8,62 |
8,60 |
8,43 |
|
| Модуль упругости в кГ/мм2 |
мягкий латуни |
- |
- |
- |
10 600 |
- |
11 000 |
10 000 |
| твердой латуни |
11 400 |
10 500 |
10 500 |
11 400 |
11 200 |
11 500 |
- |
|
| Коэффициент линейного расширения Х 106 1/°С |
17,0 |
17,0 |
18,7 |
18,8 |
18,9 |
19,0 |
20,6 |
|
| Удельная теплоемкость в кал/г · °С |
0,093 |
0,09 |
0,092 |
0,093 |
0,09 |
0,093 |
0,092 |
|
| Теплопроводность в кал/см · сек · °С |
0,592 |
0,40 |
0,36 |
0,34 |
0,29 |
0,28 |
0,26 |
|
| Температура горячей обработки в °С |
700-850 |
700-850 |
750-850 |
750-850 |
750-850 |
750-850 |
750-850 |
|
| Температура отжига в °C |
450-650 |
450-650 |
450-650 |
450-650 |
450-650 |
450-650 |
450-650 |
|
Таблица 3. Химический состав в % и виды полуфабрикатов специальных латуней (по ГОСТ 1019-47)
| Наименование латуни |
Марка |
Содержание компонентов, % |
Полуфабрикаты |
|||||||
| Cu |
Al |
Sn |
Si |
Pb |
Fe |
Mn |
Ni |
|||
| Алюминиевая |
ЛА77-2 |
76,0-79,0 |
1,75-2,50 |
- |
- |
- |
- |
- |
- |
Трубы конденсаторные |
| Алюминиево - железистая |
ЛАЖ60-1-1 |
58,0-61,0 |
0,75-1,50 |
- |
- |
- |
0,75-1,50 |
0,1-0,6 |
- |
Трубы и прутки |
| Алюминиево - никелевая |
ЛАН59-3-2 |
57,0-60,0 |
2,5-3,50 |
- |
- |
- |
- |
- |
2,0-3,0 |
Трубы и прутки |
| Никелевая |
ЛН65-5 |
64,0-67,0 |
- |
- |
- |
- |
- |
- |
5,0-6,0 |
Трубки манометрические, проволока, листы и ленты |
| Железисто- марганцовистая |
ЛЖМц59-1-1 |
57,0-60,0 |
0,1-0,2 |
0,3-0,7 |
- |
- |
0,6-1,2 |
0,5-0,8 |
- |
полосы, прутки, проволока и трубы |
| Марганцовистая |
ЛМц58-2 |
57,0-60,0 |
- |
- |
- |
- |
- |
1,0-2,0 |
- |
Полосы, прутки, проволока и листы |
| Марганцовисто - алюминиевая |
ЛМцА57-5-1 |
55,0-58,0 |
0,5-1,5 |
- |
- |
- |
- |
2,5-3,5 |
- |
Поковки |
| Томпак оловянистый |
ЛО90-1 |
88,0-91,0 |
- |
0,25-0,75 |
- |
- |
- |
- |
- |
Полосы и ленты |
| Оловянистая |
ЛО70-1 |
69,0-71,0 |
- |
1,0-1,5 |
- |
- |
- |
- |
- |
Трубы |
| Свинцовистая |
ЛС74-3 |
72,0-75,0 |
- |
- |
- |
2,4-3,0 |
- |
- |
- |
Полосы, ленты, прутки |
| Железисто - свинцовистая |
ЛЖС58-1-1 |
56,0-58,0 |
- |
- |
- |
0,7-1,3 |
0,7-1,3 |
- |
- |
Прутки |
| Кремнистая |
ЛК80-3 |
79,0-81,0 |
- |
- |
2,5-4,0 |
- |
- |
- |
- |
Поковки и штамповки |
Таблица 4. Основные физические, механические и технологические свойства специальных латуней
| Марка |
Плотность |
Коэффициент |
Температура плавления |
Тепло- |
Удельное электро- |
Модуль упругости |
σ |
δ |
Температура горячей обработки |
Температура отжига |
| ЛА 77-2 |
8,6 |
18,3 |
1000 |
0,27 |
0,075 |
- |
38 |
50 |
700-770 |
600-650 |
| ЛАЖ 60-1-1 |
8,2 |
21,6 |
904 |
- |
0,09 |
10 500 |
42 |
50 |
700-800 |
600-700 |
| ЛАН 59-3-2 |
8,4 |
19,0 |
956 |
0,20 |
0,078 |
10 000 |
50 |
42 |
700-800 |
600-650 |
| ЛН 65-5 |
8,7 |
18,2 |
960 |
0,14 |
0,146 |
11 200 |
38 |
65 |
750-870 |
600-650 |
| ЛЖМц 59-1-1 |
8,5 |
22,0 |
900 |
0,24 |
0,093 |
10 600 |
45 |
50 |
650-750 |
600-650 |
| ЛМц 58-2 |
8,5 |
21,2 |
880 |
0,17 |
0,118 |
10 000 |
44 |
36 |
650-750 |
600-650 |
| ЛМц А 57-3-1 |
- |
- |
- |
- |
- |
- |
52 |
30 |
650-750 |
600-700 |
| ЛО 90-1 |
8,8 |
18,4 |
1015 |
0,30 |
0,054 |
10 500 |
28 |
50 |
700-800 |
550-650 |
| ЛО 70-1 |
8,5 |
19,7 |
935 |
0,22 |
0,072 |
10 600 |
35 |
60 |
650-750 |
550-650 |
| ЛО 62-1 |
8,5 |
19,3 |
906 |
0,26 |
0,072 |
10 000 |
38 |
40 |
700-750 |
550-650 |
| ЛО 60-1 |
8,4 |
21,4 |
900 |
0,24 |
0,070 |
10 500 |
38 |
40 |
750-800 |
550-650 |
| ЛС 74-3 |
8,7 |
19,8 |
965 |
0,29 |
0,078 |
10 500 |
35 |
45 |
- |
600-650 |
| ЛС 64-2 |
8,5 |
20,3 |
910 |
0,28 |
0,066 |
10 500 |
34 |
55 |
- |
600-650 |
| ЛС 63-3 |
8,5 |
20,5 |
905 |
0,28 |
0,066 |
10 500 |
35 |
45 |
- |
600-650 |
| ЛС 60-1 |
8,5 |
20,8 |
900 |
0,25 |
0,064 |
10 500 |
35 |
50 |
- |
600-650 |
| ЛС 59-1 |
8,5 |
20,6 |
900 |
0,25 |
0,68 |
10 500 |
42 |
45 |
640-780 |
600-650 |
| ЛК 80-3 |
8,6 |
17,0 |
900 |
0,1 |
0,2 |
9 800 |
34 |
55 |
750-850 |
500-600 |
Таблица 7. Механические свойства круглых, квадратных или шестигранных прутков из латуни (по ГОСТ 2060-60)
| Марка латуни |
Состояние прутков |
Диаметр круглых или диаметр вписанной окружности |
σ, кГ/мм2 |
δ, % |
Область применения |
| не менее |
|||||
| Л 62 |
Тянутые |
5-40 |
38 |
15 |
Во всех отраслях машиностроения |
| ЛС 59-1 |
Тянутые |
10-160 |
30 |
30 |
Во всех отраслях машиностроения |
| ЛС 63-3 |
Тянутые (твердые) |
5-9,5 |
60 |
1 |
Для деталей часов |
| ЛО 62-1 |
Тянутые |
5-40 |
40 |
15 |
В морском судостроении |
| ЛЖС 58-1-1 |
Тянутые |
5-40 |
45 |
10 |
Для деталей часов |
| ЛМц 58-2 |
Тянутые |
5-12 |
45 |
20 |
В судостроении |
| ЛЖМц 59-1-1 |
Тянутые |
5-12 |
50 |
15 |
В судостроении |
| ЛАЖ 60-1-1 |
Прессованные |
10-160 |
45 |
18 |
В самолетостроении |
Таблица 8. Механические свойства проволоки из латуни (по ГОСТ 1066-58)
| Марка латуни |
Диаметр проволоки в мм |
σ в в кГ/мм2 проволока в состоянии |
δ в % при состоянии проволоки |
||||
| мягком |
полутвердом |
твердом |
мягком |
полутвердом |
твердом |
||
| Л 68 |
0,10-0,18 |
38 |
- |
70-95 |
20 |
- |
- |
| Л 62 |
0,1-0,18 |
35 |
- |
75-95 |
18 |
- |
- |
| ЛС 59-1 |
2-4,8 |
35 |
40 |
45-65 |
30 |
- |
5 |
Таблица 9. Механические свойства и сортамент латунных труб (по ГОСТ 494-52)
| Марка латуни |
Наименование, состояние и размеры труб |
σ в в кГ/мм2 |
δ в % |
| Л 62 |
Трубы тянутые мягкие диаметром 3-100 мм |
30 |
30 |
| Л 62 |
Трубы тянутые полутвердые |
34 |
30 |
| Л 62 |
Трубы прессованные диаметром 21-195 мм |
30 |
38 |
| Л 96* |
Трубки радиаторные шестигранные и круглые |
35-60 |
- |
| Л 96** |
Tрубки мягкие капиллярные с внутренним диаметром 0,35-0,50 мм и наружным диаметром 1,2-2,5 мм |
- |
- |
| Л 80*** |
Трубки тонкостенные для сильфонов диаметром 8-80 мм, толщиной стенки 0,07-0,6 мм |
- |
- |
* По ГОСТ 529-41, ** По ГОСТ 2624-44, *** По ГОСТ 5685-51.
Таблица 10. Состав, механические свойства и назначение литейных латуней (по ГОСТ 1019-47)
| Марка латуни |
Химический состав |
Плотность |
Механические свойства |
Назначение |
||||||||
| Cu |
Al |
Fe |
Mn |
Si |
Sn |
Pb |
Zn |
σв
|
δ |
|||
| ЛА67-2.5 |
66-68 |
2-3 |
- |
- |
- |
- |
- |
О |
8,5 |
40(кг) |
15(кг) |
Для изготовления коррозионностойких деталей |
| ЛАЖМц66-6-3-2 |
64-68 |
6-7 |
2,0-4,0 |
1,5-2,5 |
- |
- |
- |
8,5 |
65(к) |
7(к) |
Для изготовления гаек, нажимных винтов, червяных винтов и других деталей, работающих в тяжелых условиях |
|
| ЛАЖ60-1-1Л |
58-61 |
0,75-1,5 |
0,75-1,5 |
1,0-0,6 |
- |
0,2-0,7 |
- |
8,5 |
42(к) |
18(к) |
Для изготовления арматуры втулок и вкладышей подшипников |
|
| ЛК80-3Л |
79-81 |
- |
- |
- |
2,5-4,5 |
- |
- |
8,5 |
30(к) |
15(к) |
Для изготовления арматуры и других деталей в судостроении |
|
| ЛКС 80-3-3 |
79-81 |
- |
- |
- |
2,5-4,5 |
- |
2,0-4,0 |
8,5 |
30(к) |
15(к) |
Для изготовления вкладышей подшипников и втулок |
|
| ЛМц58-2-2 |
57-60 |
- |
- |
1,5-2,5 |
- |
- |
1,5-2,5 |
8,5 |
35(к) |
8(к) |
Для изготовления вкладышей подшипников втулок и других антифрикционных деталей |
|
| ЛМцОС58-2-2-2 |
56-60 |
- |
- |
1,5-2,5 |
- |
1,5-2,5 |
0,5-2,5 |
8,5 |
30(к) |
4(к) |
Для изготовления зубчатых колес |
|
| ЛМцЖ55-2-1 |
53-58 |
- |
0,5-1,5 |
3-4 |
- |
- |
- |
8,5 |
50(к) |
10(к) |
||
| ЛМцЖ82-4-1 |
50-55 |
- |
0,5-1,5 |
4-5 |
- |
- |
- |
8,5 |
50(к) |
15(к) |
Подшипники и арматура |
|
| ЛС59-1Л |
57-61 |
- |
- |
- |
- |
0,8-1,0 |
- |
8,5 |
20(к) |
20(ц) |
Втулки для шарикоподшипников |
|
Примечание:
Условные обозначения:
к - литье в кокиль,
з - литье в землю,
ц - центробежное литье.
Таблица 11. Физико - механические свойства литейных латуней
| Основные свойства |
Марка латуни |
|||||||||
| ЛА 67-2,5 |
ЛАЖМц66-3-3-2 |
ЛАЖ60-1-1л |
ЛК80-3л |
ЛКС80-3-3 |
ЛМцС56-2-2 |
ЛМцОС58-2-2-2-2 |
ЛМцЖ52-4-1 |
ЛМцЖ55-3-4 |
ЛС59-1-л |
|
| Температура ликвидуса в °С |
995 |
899 |
904 |
900 |
900 |
890 |
890 |
870 |
880 |
885 |
| Коэффициент линейного расширения х 10-6 , 1/°С |
- |
19,8 |
21,6 |
17 |
17 |
21 |
- |
- |
22 |
20,1 |
| Теплопроводность в кал/см· сек · °С |
0,27 |
0,12 |
0,27 |
- |
- |
0,26 |
0,26 |
- |
0,24 |
0,26 |
| σв
в кГ/мм2
при: |
|
|
|
|
|
|
|
|
|
|
| δ10
в % при: |
|
|
|
|
|
|
|
|
|
|
| σ Т в кГ/мм2 |
- |
- |
25 |
16 |
14 |
24 |
- |
30 |
- |
15 |
| αн в кГм/см2 |
- |
- |
- |
12 |
4 |
7,0 |
- |
- |
- |
2,6 |
| Твердость НВ |
90 |
- |
90 |
105 |
95 |
80 |
95 |
120 |
105 |
85 |
| Линейная усадка в % |
- |
- |
- |
1,7 |
1,7 |
1,8 |
- |
1,7 |
1,6 |
2,23 |
| Коэффициент трения в паре с осевой сталью: |
|
|
|
|
|
|
|
|
|
|
Таблица 12. Химический состав в % и маркировка вторичных латуней (по ГОСТ 1020-60)
| Марка |
Cu |
Al |
Pe |
Mn |
Si |
Ni |
Sn |
Pb |
Zn |
Маркировка чушек красками |
| ЛА |
0,3-0,8 |
2-3 |
- |
- |
- |
- |
- |
- |
О |
Двумя белыми полосами |
| ЛАЖМц |
63-68 |
6-7 |
2,0-4,0 |
1,5-2,5 |
- |
- |
- |
- |
Двумя синими полосами |
|
| ЛАЖ |
56-61 |
0,75-1,5 |
0,1-0,6 |
- |
- |
0,2-0,7 |
- |
- |
Одной зеленой полосой и одной красной полосой |
|
| ЛК |
70-81 |
- |
- |
- |
2,5-4,5 |
- |
- |
- |
Двумя красными полосами |
|
| ЛКС |
70-81 |
- |
- |
- |
2,5-4,5 |
- |
- |
2-4 |
Одной красной полосой и одной синей полосой |
|
| ЛМцС |
55-60 |
- |
- |
1,5-2,5 |
- |
- |
- |
1,5-2,5 |
Одной зеленой полосой и одной синей полосой |
|
| ЛМцОС |
55-60 |
- |
- |
1,5-2,5 |
- |
- |
1,5-2,5 |
0,5-2,5 |
Двумя черными полосами |
|
| ЛМцЖ1 |
53-58 |
- |
0,5-1,5 |
3-4 |
- |
- |
- |
- |
Двумя зелеными полосами |
|
| ЛМцЖ2 |
50-55 |
- |
0,5-1,5 |
4-5 |
- |
- |
- |
- |
Одной черной полосой и одной белой полосой |
|
| ЛС |
56-61 |
- |
- |
- |
- |
- |
- |
0,8-1,9 |
Одной красной полосой и одной белой полосой |
|
| ЛОС |
60-80 |
- |
- |
- |
- |
- |
0,5-2,0 |
1,0-3,0 |
Тремя красными полосами |
|
| ЛНМцЖА |
58-62 |
0,5-1,0 |
0,5-1,1 |
1,5-2,5 |
- |
0,5-1,5 |
- |
- |
Тремя белыми полосами |
4. Безопасные приемы работы.
4.1. Основные положения по безопасности труда
Под охраной труда понимают систему законодательных актов и соответствующих им мероприятий, направленных на сохранение здоровья и работоспособность трудящихся.
Систему организационных и технических мероприятий и средств, предотвращающих производственный травматизм, называют техникой безопасности. Систему организационных, гигиенических и санитарно-технических мероприятий и средств, предотвращающих заболеваемость работающих, называют производственной санитарией.
Основные положения по охране труда изложены в Кодексе законов о труде (КЗоТ).
На авторемонтных предприятиях организация работ по технике безопасности и производственной санитарии возложена на главного инженера.
Одно из основных мероприятий по обеспечению безопасности труда – обязательный инструктаж вновь принимаемых на работу и периодический инструктаж всех работников предприятия. Инструктаж проводит главный инженер. Вновь принимаемых на работу знакомят с основными положениями по охране труда, правилами внутреннего распорядка, противопожарными правилами и особенностями работы предприятия, обязанностями работников по соблюдению правил техники безопасности и производственной санитарии, порядком движения на предприятии, средствами защиты работающих и способами оказания доврачебной помощи пострадавшим.
4.2 Требования к технологическим процессам
При техническом обслуживании и ремонте автомобилей необходимо принимать меры против их самостоятельного перемещения. Запрещается техническое обслуживание и ремонт автомобилей с работающим двигателем (кроме случаев регулировки двигателя).
Подъёмно-транспортное оборудование должно быть в исправном состоянии и использоваться только по своему прямому назначению. К работе с этим оборудованием допускаются лица, прошедшие соответствующую подготовку и инструктаж.
Во время разборки и сборки узлов и агрегатов необходимо применять специальные съёмники и ключи.
Запрещается загромождать деталями и узлами проходы между рабочими местами, а также скапливать большое количество деталей на местах разборки.
Повышенную опасность представляют операции снятия и установки пружин, поскольку в них накоплена значительная энергия. Эти операции необходимо выполнять на стендах или с помощью приспособлений, обеспечивающих безопасную работу.
Гидравлические и пневматические устройства должны быть снабжены предохранительными и перепускными клапанами. Рабочий инструмент должен находиться в исправном состоянии.
4.3 Требования к рабочим помещениям
Помещения, в которых рабочий должен находиться под автомобилем, должны быть оборудованными осмотровыми канавами, эстакадами с направляющими предохранительными ребордами или подъёмниками.
Приточно-вытяжная вентиляция должна обеспечивать удаление выделяемых паров и газов и приток свежего воздуха. Рабочие места должны быть обеспечены естественным и искусственным освещением, достаточным для безопасности выполнения работ.
На территории предприятия должны быть оборудованы санитарно-бытовые помещения: гардеробные, душевые, умывальники (с обязательным наличием горячей воды при работе с этилированным бензином).
5. Основные показатели автотранспортных средств.
Таблица. Технические параметры авмобилей ваз 2110, ваз 21102, ваз 21103, ваз 2111, ваз 2112.
| Показатели |
ваз 2110 |
ваз 21102 |
ваз 21103 |
ваз 2111 |
ваз 2112 |
| ОБЩИЕ ДАННЫЕ |
|||||
| Количество мест |
5 |
||||
| Масса снаряженного автомобиля, кг |
1010 |
1020 |
1035 |
1030 |
1010 |
| Полезная нагрузка, кг |
475 |
475 |
475 |
500 |
475 |
| Габаритные размеры автомобиля с разрешенной максимальной массой при статическом радиусе шин 265 мм |
см. рис. 1-1 |
- |
- |
см. рис. 1-2 |
см. рис. 1-3 |
| Тормозной путь автомобиля при экстренном торможении с разрешенной максимальной массой со скорости 80 км/ч на горизонтальном участке сухого, ровного асфальтированного шоссе, не более, м |
38 85 |
||||
| Максимальная скорость*, км/ч |
165 |
167 |
185 |
165 |
185 |
| Время* разгона до скорости 100 км/ч, с |
14 |
14 |
12,5 |
15 |
12,5 |
| ДВИГАТЕЛЬ |
|||||
| Модель автомобиля |
ваз 2110 |
ваз 2111 |
ваз 2112 |
ваз 2111 |
ваз 2112 |
| Диаметр цилиндра и ход поршня, мм |
82x71 |
||||
| Рабочий объем, л |
1,5 |
||||
| Степень сжатия |
9,8 |
9,8 |
10,5 |
9,8 |
10,5 |
| Количество клапанов на цилиндр, шт. |
2 |
2 |
4 |
2 |
4 |
| Номинальная мощность по ГОСТ 14846-89 (нетто), не менее, кВт (л.с.) |
54 (73,4) |
58 (79) |
68 (92,5) |
58 (79) |
68 (92,5) |
| Частота вращения коленчатого вала при номинальной мощности, мин-1 |
5600 |
4800 |
5600 |
4800 |
5600 |
| Максимальный крутящий момент по ГОСТ 14846-81 (нетто), не менее, Н-м |
103,9 |
115,7 |
128,3 |
115,7 |
128,3 |
| Частота вращения коленчатого вала двигателя при максимальном крутящем моменте, мин1 |
3400-3600 |
2800-3000 |
3700-3900 |
2800-3000 |
3700-3900 |
| Минимальная частота вращения коленчатого вала на режиме холостого хода, мин-1 |
750-800 |
800-850 |
800-850 |
800-850 |
800-850 |
| Порядок работы цилиндров |
1-3-4-2 |
||||
| ТРАНСМИССИЯ |
|||||
| Сцепление |
Однодисковое, сухое, с диафрагменной нажимной пружиной |
||||
| Привод выключения сцепления |
Тросовый, беззазорный |
||||
| Коробка передач |
Пятиступенчатая, с синхронизаторами на всех передачах переднего хода. Главная передача - цилиндрическая, косозубая. Дифференциал - конический, двухсателлитный |
||||
| Передаточные числа коробки на передачах: |
|
||||
| Привод ведущих колес |
Валами с шарнирами равных угловых скоростей шарикового типа |
||||
| ХОДОВАЯ ЧАСТЬ |
|||||
| Передняя подвеска |
Независимая, с телескопическими амортизационными стойками, винтовыми цилиндрическими пружинами, нижними поперечными рычагами с растяжками и стабилизатором поперечной устойчивости |
||||
| Задняя подвеска |
С винтовыми цилиндрическими пружинами, телескопическими гидравлическими амортизаторами двустороннего действия и продольными рычагами, упруго соединенными поперечной балкой |
||||
| Колеса |
Дисковые, штампованные или литые |
||||
| Шины |
Радиальные, низкопрофильные, бескамерные |
||||
| РУЛЕВОЕ УПРАВЛЕНИЕ |
|||||
| Тип рулевого управления |
Травмобезопасный, с регулируемым наклоном рулевой колонки |
||||
| Рулевой механизм |
Типа шестерня-рейка |
||||
| Рулевой привод |
Две тяги с резинометаллическими шарнирами со стороны рулевого механизма и шаровыми шарнирами со стороны поворотных рычагов |
||||
| ТОРМОЗА |
|||||
| Рабочая тормозная система: - |
Дисковые, с подвижным суппортом и автоматической |
||||
| ЭЛЕКТРООБОРУДОВАНИЕ |
|||||
| Схема электрооборудования |
Однопроводная, отрицательный полюс источников питания соединен с «массой» |
||||
| КУЗОВ |
|||||
| Модель автомобиля |
Седан, цельнометаллический, несущей конструкции, четырехдверный |
Универсал, |
Хэтчбек, |
||
Похожие рефераты:
Организация поста технического обслуживания и ремонта карбюраторов двигателей легковых автомобилей
Исследование процесса технической эксплуатации топливных форсунок системы распределённого впрыска
Тормозные механизмы автомобиля КамАЗ: ремонт и техническое обслуживание
Устройство и принцип работы автомобиля ЗиЛ-130
Полные ответы на билеты по автоделу (экзамен 2002)
Хромирование деталей на подвесках
Двигатели внутреннего сгорания
Конструкция и работа системы питания бензинового двигателя
Термическое отделение для непрерывного отжига металла
ТО и ремонт газобаллонного оборудования
Модернизация двигателя мощностью 440 квт с целью повышения их технико-экономических показателей