| Похожие рефераты | Скачать .docx |
Реферат: Конструкция и работа системы питания бензинового двигателя
Министерство образования Российской Федерации
Санкт-Петербургский государственный университет
сервиса и экономики
Автотранспортные средства
Реферат
Тема:
«Конструкция и работа системы питания бензинового двигателя»
Выполнил студент 3-ого курса
Специальность 100.101
Иванов В.И.
Санкт-Петербург
2010
Содержание
Введение
1. Работа двигателей на рабочей смеси
2. Система питания карбюраторного двигателя
3. Конструкция и работа системы питания карбюраторного двигателя
4. Система питания бензинового двигателя с впрыском топлива
5. Техника безопасности
Список использованной литературы
Введение
Системой питания называется совокупность приборов и устройств, обеспечивающих подачу топлива и воздуха к цилиндрам двигателя и отвод от цилиндров отработавших газов.
Система питания служит для приготовления горючей смеси, необходимой для работы двигателя.
Горючей называется смесь топлива и воздуха в определенных пропорциях.
1.Работа двигателей на рабочей смеси
Рабочей называется смесь топлива, воздуха и отработавших газов, образующаяся в цилиндрах при работе двигателя.
В зависимости от места и способа приготовления горючей смеси двигатели автомобилей могут иметь различные системы питания (рис. 1).

Рис. 1. Типы систем питания двигателей, классифицированных по различным признакам
Система питания с приготовлением горючей смеси в специальном приборе — карбюраторе — применяется в бензиновых двигателях, которые называются карбюраторными. Для приготовления горючей смеси в карбюраторе используется пульверизационный способ. При этом способе капельки бензина, попадая из распылителя в движущийся со скоростью 50... 150 м/с поток воздуха в смесительной камере карбюратора, размельчаются, испаряются и, смешиваясь с воздухом, образуют горючую смесь. Полученная горючая смесь поступает в цилиндры двигателя.
Система питания с приготовлением горючей смеси во впускном трубопроводе также применяется в бензиновых двигателях. Для приготовления горючей смеси в быстро движущийся поток воздуха во впускном трубопроводе под давлением из форсунок впрыскивается мелкораспыленное топливо. Топливо перемешивается с воздухом, и образованная горючая смесь поступает в цилиндры двигателя.
Система питания с приготовлением горючей смеси непосредственно в цилиндрах двигателя применяется как в дизелях, так и в бензиновых двигателях. Приготовление горючей смеси происходит внутри цилиндров двигателя путем впрыска из форсунок под давлением мелкораспыленного топлива в сжимаемый в цилиндрах воздух. При этом, если в дизелях происходит самовоспламенение образованной рабочей смеси от сжатия, то в бензиновых двигателях рабочая смесь в цилиндрах воспламеняется принудительно от свечей зажигания. Система питания с впрыском топлива обеспечивает лучшее наполнение цилиндров двигателя горючей смесью и лучшую их очистку от отработавших газов. При этом впрыск топлива позволяет повысить степень сжатия и максимальную мощность у бензиновых двигателей, уменьшить расход топлива и снизить токсичность отработавших газов. Однако системы питания с впрыском топлива сложнее по конструкции и по обслуживанию в эксплуатации.
2. Система питания карбюраторного двигателя
Топливо. Для бензиновых двигателей автомобилей топливом является бензин различных марок — А-80, АИ-93, АИ-95, АИ-98, где буква А означает автомобильный; И — метод определения октанового числа бензина (исследовательский); 93, 95, 98 — октановое число, характеризующее стойкость бензина против детонации. Чем выше октановое число, тем выше может быть степень сжатия двигателя.
Детонация — процесс сгорания рабочей смеси с взрывом ее отдельных объемов в цилиндрах двигателя со скоростью распространения пламени до 3000 м/с, в то время как при нормальном сгорании рабочей смеси скорость распространения пламени 30...40 м/с. Сгорание при детонации приобретает взрывной характер. Ударная волна распространяется в цилиндрах двигателя со сверхзвуковой скоростью. Резко повышается давление газов и ухудшаются показатели двигателя по мощности и экономичности. Появляются звонкие стуки в двигателе, черный дым из глушителя, и происходит перегрев двигателя. При этом быстро изнашиваются детали кривошипно-шатунного механизма и обгорают головки клапанов.
Для повышения антидетонационных свойств в бензины добавляют антидетонатор ТЭС — тетраэтилсвинец. Такие бензины называются этилированными, они имеют отличительные обозначение и окраску — АИ-93-этил (оранжево-красного цвета) и АИ-98-этил (синего цвета). Этилированные бензины очень ядовиты, и при обращении с ними необходимо соблюдать осторожность — не применять для мытья рук и деталей, не засасывать ртом при переливании и т. п.
Использование этилированных бензинов для автомобилей в крупных городах запрещено.
3. Конструкция и работа системы питания карбюраторного двигателя
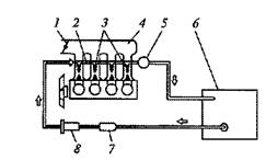
Система питания двигателя автомобиля состоит из топливного бака, топливного насоса, воздушного фильтра, карбюратора, топливопроводов, впускного и выпускного трубопроводов, трубы глушителей, основного и дополнительного глушителей (рис. 2).
Топливо из бака 6 подается насосом 7 по топливопроводам 5 в карбюратор 4. Через воздушный фильтр 1 в карбюратор поступает воздух. Приготовленная в карбюраторе горючая смесь подается в цилиндры двигателя по впускному трубопроводу 2. Отработавшие газы отводятся из цилиндров двигателя в окружающую среду через выпускной трубопровод 3, трубу 8 глушителей, основной 10 и дополнительный 9 глушители.

Рис. 2. Система питания двигателя:
1 — воздушный фильтр; 2,3 — трубопроводы; 4 — карбюратор; 5 — топливопровод; 6 — бак; 7 — насос; 8 — труба; 9, 10 — глушители
В системе питания двигателя часто установлен фильтр тонкой очистки топлива. Топливный бак соединен шлангом с сепаратором (специальным устройством), служащим для конденсации паров бензина, и сливным трубопроводом с карбюратором. На шланге сепаратора и сливном трубопроводе установлены обратные клапаны. Один клапан исключает слив топлива из бака через карбюратор при опрокидывании автомобиля, а другой клапан связывает внутреннюю полость бака с атмосферой. Топливо подается в систему с обратным сливом его части из карбюратора (через калиброванное отверстие) в топливный бак, что обеспечивает постоянную циркуляцию топлива в системе. Постоянная циркуляция топлива исключает воздушные пробки в системе, улучшает ее работу и способствует дополнительному охлаждению двигателя.
Топливный бак служит для хранения запаса топлива, необходимого для определенного пробега автомобиля. На автомобилях применяют сварные, штампованные из стали топливные баки с покрытием из свинца для предохранения от коррозии, или пластмассовые. Наполненный бензином бак обеспечивает пробег автомобиля 350...400 км.
Топливный бак (рис. 3) сварен из двух корытообразных половин 1. В верхней части бак имеет наливную горловину, состоящую из приемной 13 и наливной 10 труб с уплотнителем 8 и резинового соединительного шланга 11. Наливная горловина закрывается резьбовой герметичной пробкой 6 с прокладкой 7. В нижней части бака находится сливное отверстие с резьбовой пробкой 14. Количество топлива в баке контролируют указателем, датчик 3 которого установлен внутри бака. Топливо забирается из бака через топливоприемную трубку 2, имеющую сетчатый фильтр, и через шланг 4 и топливопровод 5 поступает в топливный насос. Связь внутренней полости бака с окружающей средой и ее вентиляция осуществляются через воздушную 12 и вентиляционную 9 трубки.

Рис. 3. Топливный бак:
1 — половина бака; 2, 9, 12 — трубки; 3 — датчик; 4, 11 — шланги; 5 — топливопровод; 6, 14 — пробки; 7 — прокладка; 8 — уплотнитель; 10, 13 — трубы
В топливных баках автомобилей часто для увеличения жесткости и уменьшения колебаний топлива при движении внутри имеются специальные перегородки. Кроме того, в нижней части бака размещается противоотливное устройство, изготовленное в виде стакана диаметром 150 и высотой 80 мм. Это устройство предназначено для исключения перебоев в работе двигателя и его остановки при резком трогании с места или резком торможении, а также при движении автомобиля на больших скоростях на поворотах.
Форма топливного бака во многом зависит от его размещения на автомобиле. Бак может располагаться под полом кузова, в багажнике, под задним и за задним сиденьем, т.е. в местах, более защищенных от ударов при столкновениях. Прикрепляется топливный бак к кузову автомобиля.
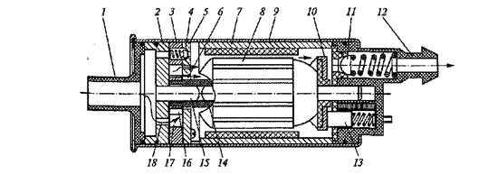
Топливный насос служит для подачи топлива из топливного бака в карбюратор. На двигателях автомобилей устанавливают топливные насосы саморегулирующиеся, диафрагменного типа.
В топливном насосе (рис. 4) между верхней 7 (с крышкой 9) и нижней 1 частями корпуса установлен блок диафрагм 3, который соединен со штоком 11. Шток охватывается вильчатым концом балансира 15 рычага 16 привода насоса. На штоке установлена пружина 2 блока диафрагм. В верхней части корпуса насоса находятся всасывающий 10 и нагнетательный 4 клапаны. Привод насоса осуществляется толкателем от эксцентрика вала привода масляного насоса. Под воздействием эксцентрика толкатель нажимает на верхнюю часть рычага 16, а балансир 15 через шток 11 перемещает блок диафрагм 3 вниз. При этом пружина 2 сжимается. Объем полости над блоком диафрагм увеличивается, и топливо под действием разрежения из бака поступает в насос через всасывающий патрубок 8, сетчатый фильтр б и всасывающий клапан 10. Нагнетательный клапан насоса при этом закрыт. Вверх блок диафрагм перемещается под действием пружины 2, когда балансир 15 не удерживает шток 11.

Рис. 4. Топливный насос:
1,7 — части корпуса; 2, 13 — пружины; 3 — блок диафрагм; 4, 10 — клапаны; 5, 8 — патрубки; 6 — фильтр; 9 — крышка; 11 — шток; 12, 16 — рычаги; 14 — эксцентрик; 15 — балансир
Под давлением топлива открывается нагнетательный клапан 4, и топливо через нагнетательный патрубок 5 поступает в карбюратор. Всасывающий клапан в этом случае закрыт. Когда поплавковая камера карбюратора будет заполнена, запорная игла поплавка перекроет доступ топлива в карбюратор. При этом блок диафрагм топливного насоса останется в нижнем положении, и рычаг 16 с балансиром будет перемещаться вхолостую. Рычаг 12 с пружиной 13 служит для ручной подкачки топлива в карбюратор перед пуском двигателя. Он воздействует на балансир 15 через эксцентрик 14. Насос саморегулируется — при небольших расходах топлива ход блока диафрагм недоиспользуется, а ход рычага механической подкачки топлива с балансиром будет частично холостым. Топливный насос устанавливается на специальном приливе на блоке цилиндров двигателя и крепится к нему двумя шпильками.
Топливный фильтр тонкой очистки очищает топливо, поступающее в карбюратор, от механических примесей. Очистка топлива необходима, чтобы не засорялись каналы и жиклеры карбюратора, имеющие малые сечения. Фильтр тонкой очистки топлива может быть выполнен неразборным (рис. 5, а). Бумажный фильтрующий элемент 3 такого фильтра находится в корпусе 2 с крышкой, которые изготовлены из пластмассы и сварены между собой токами высокой частоты или ультразвуковой сваркой. Топливо поступает в фильтр из насоса через патрубок 4, проходит через фильтрующий элемент, очищается в нем и через патрубок 1 поступает в карбюратор.
Для тонкой очистки топлива используются также разборные фильтры.
Разборный фильтр (рис. 5, б) состоит из корпуса 2, отстойника 5 и фильтрующего элемента 3. Фильтрующий элемент изготовлен из латунной сетки, намотанной в два слоя на стакан из алюминиевого сплава, который имеет на боковой поверхности ребра и отверстия для прохода топлива. Сетка на стакане удерживается пружиной, надетой снаружи на фильтрующий элемент. Фильтрующий элемент 3 находится внутри отстойника 5 и поджимается пружиной 6 к корпусу фильтра через уплотнительную прокладку.

Рис. 5. Топливные фильтры:
а — неразборный; б — разборный; 1, 4 — патрубки; 2 — корпус; 3 –фильтрующий элемент; 5 – отстойник; 6 — пружина
При очистке топливо сначала поступает в отстойник, где осаждаются наиболее крупные частицы примесей, а затем очищается, проходя через сетку внутрь стакана фильтрующего элемента.
Фильтры тонкой очистки топлива обычно устанавливаются между топливным насосом и карбюратором.
Воздушный фильтр очищает воздух, поступающий в карбюратор, от пыли и других примесей. Пыль содержит мельчайшие кристаллы твердого кварца, которые, оседая на смазочные поверхности трущихся деталей двигателя, вызывают их интенсивное изнашивание.
На двигателях автомобилей применяют главным образом воздушные фильтры сухого типа со сменными бумажными или картонными фильтрующими элементами.
Воздушный фильтр (рис. 6, а) состоит из корпуса 1, крышки 7 и фильтрующего элемента 3. Стальной штампованный корпус имеет патрубок 10 забора холодного воздуха из подкапотного пространства, патрубок 2 забора теплого воздуха из воздухозаборника на выпускном трубопроводе, вытяжной коллектор системы вентиляции картера двигателя и оси Укрепления крышки. Корпус фильтра устанавливается на карбюраторе и крепится к нему на четырех шпильках самоконтрящимися гайками. Крышка корпуса фильтра — стальная, штампованная, имеет перегородку 8, в зависимости от расположения которой обеспечивается сезонная регулировка температуры воздуха, поступающего в двигатель. Летом крышку фильтра устанавливают так, что перегородка 8 перекрывает патрубок 2, и в двигатель поступает холодный воздух. Зимой крышку устанавливают в положение, при котором перегородка 8 перекрывает патрубок 10, и в двигатель поступает теплый воздух. Герметичность соединения крышки и корпуса фильтра обеспечивается резиновой прокладкой 6. Фильтрующий элемент 3 имеет цилиндрическую форму. Он состоит из гофрированного картонного фильтра 5 и обкладки-предочистителя 4 из нетканого синтетического материала (слоя синтетической ваты). Обкладка-предочиститель выполняет роль элемента предварительной очистки воздуха и увеличивает пылеемкость фильтра. Воздух, поступающий в фильтр, сначала проходит через обкладку-предочиститель, а потом через картонный фильтрующий элемент.
Воздушный фильтр, приведенный на рис. 6, б, имеет терморегулятор. Корпус 22 икрышка 7 фильтра — стальные, штампованные. В корпусе размещен картонный фильтрующий элемент 19 с наружным слоем синтетической ваты для предварительной очистки воздуха, увеличивающий пылеемкость фильтра. Фильтрующий элемент плотно прижимается к корпусу крышкой, которая крепится к корпусу на шпильке 20 гайкой и четырьмя защелками 21. Шпилька установлена в кронштейне, приваренном к корпусу. Герметичность крышки с корпусом обеспечивается уплотнительной прокладкой 18. Корпус фильтра устанавливается на карбюраторе и крепится к нему через пластину 23 и резиновую прокладку 24 на четырех шпильках самоконтрящимися гайками. Корпус снизу имеет патрубок для отсоса картерных газов, а сбоку — патрубок 16 забора воздуха, на котором стяжным болтом закреплен терморегулятор 13. Терморегулятор обеспечивает постоянную подачу в воздушный фильтр подогретого до температуры 25... 35 °С воздуха. Он имеет пластмассовый корпус с патрубком 12 подвода холодного воздуха и патрубком 11 со шлангом 14 подвода теплого воздуха. Внутри терморегулятора находится заслонка 25 с приводом от термосилового элемента 15, который позволяет автоматически поддерживать требуемую температуру воздуха, поступающего в воздушный фильтр.

Рис. 6. Воздушные фильтры:
о — без терморегулятора; б — с терморегулятором; 1, 22 — корпуса; 2, 10, 11, 12, 16 — патрубки; 3, 19 — фильтрующие элементы; 4 — обкладка-предочиститель; 5— фильтр; 6, 18, 24— прокладки; 7, 17— крышки; 8— перегородка; 9 – ось; 13 — терморегулятор; 14 — шланг; 15 — термосиловой элемент; 20 — шпилька; 21 — защелка; 23 — пластина; 25 — заслонка
При температуре воздуха ниже 25 °С заслонка перекрывает патрубок 12 подвода холодного воздуха, и в фильтр поступает через патрубок 11 теплый воздух из зоны выпускного трубопровода двигателя. При температуре воздуха более 35 °С заслонка перекрывает патрубок 11, и через патрубок 12 поступает холодный воздух из подкапотного пространства двигателя. Промежуточные положения заслонки терморегулятора обеспечиваютподачу смеси теплого и холодного воздуха, что способствует лучшему смесеобразованию, более полному сгоранию смеси и, как следствие, снижению токсичности отработавших газов и уменьшению расхода топлива.
Воздушный фильтр сухого типа со сменным бумажным фильтрующим элементом показан на рис. 7. Фильтр состоит из корпуса 6, крышки 5 и фильтрующего бумажного элемента 7 цилиндрической формы. Пластмассовый корпус фильтра имеет патрубок 8, через который соединяется резиновым гофрированным шлангом с воздухозаборником карбюратора. В пластмассовой крышке корпуса фильтра установлено спецустройство 4 с заслонкой 3, в зависимости от расположения которой обеспечивается сезонная регулировка температуры поступающего в двигатель воздуха. Летом заслонку устанавливают в нижнее положение, перекрывая патрубок 1, и в двигатель поступает холодный воздух. Зимой заслонку устанавливают в верхнее положение, перекрывая патрубок 2, и в двигатель поступает теплый воздух.
Карбюратор служит для приготовления горючей смеси (бензина с воздухом) в количествах и по составу, соответствующих всем режимам работы двигателя.
Карбюратор устанавливается на впускном трубопроводе двигателя.
Простейший карбюратор (рис. 8) состоит из поплавковой камеры 8 с поплавком 9 и игольчатым клапаном 10 и смесительной камеры, в которой находятся диффузор 3, распылитель 4 с жиклером 7 и дроссельная заслонка 5.
Поплавковая камера содержит бензин, необходимый для приготовления горючей смеси. Поплавок с игольчатым клапаном поддерживают бензин в поплавковой камере и распылителе на Постоянном уровне — на 1...1,5 мм ниже конца распылителя. Такой уровень обеспечивает хорошее высасывание бензина и устраняет вытекание топлива из распылителя при неработающем двигателе.
Если уровень бензина понижается, то поплавок с клапаном опускаются и бензин поступает в поплавковую камеру. Если уровень бензина достиг нормального, поплавок всплывает и клапан закрывает доступ бензина в поплавковую камеру.
Распылитель подает бензин в центр смесительной камеры карбюратора. Распылитель представляет собой трубку, которая входит в смесительную камеру и через жиклер сообщается с поплавковой камерой.
Жиклер пропускает определенное количество бензина, который поступает в распылитель. Жиклер представляет собой пробку с калиброванным отверстием.
Смесительная камера служит для смешивания бензина с воздухом. Смесительная камера представляет собой патрубок, один конец которого связан с впускным трубопроводом двигателя, а другой — с воздушным фильтром.
Диффузор служит для увеличения скорости потока воздуха в центре смесительной камеры. Он создает вакуум у конца распылителя. Диффузор представляет собой патрубок, суженный внутри.
Дроссельная заслонка регулирует количество горючей смеси, поступающей из карбюратора в цилиндры двигателя.
Карбюратор работает следующим образом.
При тактах впуска в смесительную камеру 6 поступает воздух. В диффузоре 3 скорость воздуха возрастает, и у конца распылителя 4 образуется вакуум. Вследствие этого бензин высасывается из распылителя и перемешивается с воздухом. Образовавшаяся горючая смесь поступает в цилиндры 12 двигателя через впускной трубопровод П.
При работе двигателя водитель автомобиля управляет дроссельной заслонкой 5. Управление производится из кабины с помощью педали. Дроссельная заслонка устанавливается в различные положения в зависимости от требуемой нагрузки на двигатель. В соответствии с положением дроссельной заслонки в цилиндры двигателя поступает различное количество горючей смеси.

Рис. 8. Схема устройства и работы простейшего карбюратора:
1 — топливопровод; 2 — отверстие связи с воздухом; 3 — диффузор; 4 — распылитель; 5 — заслонка; 6 — смесительная камера; 7 — жиклер; 8 — поплавковая камера; 9 — поплавок; 10 — клапан; 11 — трубопровод; 12 — цилиндр двигателя
В результате двигатель развивает разную мощность, а автомобиль движется с различными скоростями.
Двигатель автомобиля имеет следующие пять режимов работы: пуск, холостой ход, средние (частичные) нагрузки, резкий переход со средней нагрузки на полную и полная нагрузка.
На каждом режиме работы в цилиндры двигателя должна поступать горючая смесь в разном количестве и различного по составу качества. Только в этом случае двигатель будет работать устойчиво и иметь наилучшие показатели по мощности и экономичности.
На всех указанных режимах работы двигателя простейший карбюратор не может обеспечить двигатель горючей смесью необходимого качества и в требуемом количестве. Поэтому простейший карбюратор оборудуется дополнительными устройствами, которые обеспечивают нормальную работу двигателя на всех режимах.
К основным дополнительным устройствам карбюратора относятся пусковое устройство (воздушная заслонка), система холостого хода, главное дозирующее устройство, ускорительный насос и экономайзер.
Пусковое устройство обеспечивает поступление топлива из распылителя в количестве, необходимом для пуска двигателя.
Система холостого хода обеспечивает работу двигателя без нагрузки при малой частоте вращения коленчатого вала двигателя.
Главное дозирующее устройство обеспечивает работу двигателя при частичных (средних) нагрузках двигателя.
Ускорительный насос служит для автоматического обогащения горючей смеси при резком переходе с частичной нагрузки на полную с целью быстрого повышения мощности двигателя,
Экономайзер служит для автоматического обогащения горючей смеси при полной нагрузке двигателя.
Конструкция и работа дополнительных устройств карбюратора рассмотрены ниже.
На двигателях автомобилей применяют двухкамерные балансированные карбюраторы с падающим потоком смеси. Карбюраторы имеют две смесительные камеры, которые включаются в работу последовательно — сначала основная камера (первичная), а при увеличении нагрузки двигателя — дополнительная камера (вторичная). Это позволяет повысить мощность двигателей в результате лучшей дозировки и распределения горючей смеси по цилиндрам двигателей. Поток горючей смеси в камерах карбюраторов движется сверху вниз, что улучшает наполнение цилиндров смесью. Поплавковая камера карбюраторов балансированная (уравновешенная), так как она связана с атмосферой через воздушный фильтр. Это обеспечивает приготовление карбюраторами горючей смеси, не зависящей по своему составу от степени засорения воздушного фильтра. Поплавковая камера находится в передней части карбюраторов (по ходу автомобиля), что исключает переобогащение горючей смеси при торможении и повышает уровень топлива в распылителях при движении на подъемах для обогащения горючей смеси и увеличения мощности двигателей.
Карбюратор автомобиля обычно состоит из трех основных частей: корпуса, крышки и корпуса дроссельных заслонок. В них размещены все системы и устройства карбюратора, обеспечивающие приготовление горючей смеси при различных режимах работы двигателя и снижающие токсичность отработавших газов.
Рассмотрим конструкцию современного карбюратора (рис. 9). В корпусе 43 и крышке 44 размещены поплавковая камера 16 с поплавком 24 и игольчатым клапаном 17, первичная I и вторичная II смесительные камеры, а также системы и устройства, обеспечивающие приготовление горючей смеси.

Рис. 9. Схема карбюратора:
I, II — смесительные камеры; 1 — пневмоэлемент; 2 — шток; 3 — канал; 4, 10, 17, 23, 40 — клапаны; 5, 22, 25, 26, 28, 38 – топливные жиклеры; 6, 7, 14, 15 — воздушные жиклеры; 8, 30, 32 — заслонки; 9, 11, 12, 13 – распылители; 16 — поплавковая камера; 18, 20, 36, 37 — патрубки; 19 — фильтр; 21 — экономайзер; 24 — поплавок; 27, 39 — трубки; 29, 33 – отверстия; 31 — щель; 34 — блок подогрева; 35 — винт; 41 — диафрагма; 42 — рычаг; 43 — корпус; 44 — крышка
Карбюратор оборудован: блоком подогрева 34, через который циркулирует охлаждающая жидкость системы охлаждения двигателя; системой отсоса картерных газов, включающей патрубок 36 и калиброванное отверстие; системой обратного слива части топлива из карбюратора в топливный бак, включающей патрубок 18 и калиброванное отверстие. Он имеет блокировку вторичной камеры. Блокировка не допускает открывания дроссельной заслонки вторичной камеры на любом режиме работы двигателя, если воздушная заслонка не открыта полностью. Этим исключается работа вторичной камеры при непрогретом двигателе. Топливо поступает в карбюратор через патрубок 20 и фильтр 19, а через патрубок 37 карбюратор связан с вакуумным регулятором зажигания.
Главная дозирующая система приготовляет обедненную горючую смесь (на 1кг бензина приходится до 16,5 кг воздуха) при работе двигателя на средних (частичных) нагрузках. Приготовленная смесь в разном количестве по составу близка к экономичной во всем диапазоне средних нагрузок, величина которых составляет до 85 % от полной нагрузки двигателя. Только при таком приготовлении горючей смеси карбюратором двигатель работает наиболее экономично.
Главные дозирующие системы первичной и вторичной камер включают в себя главные топливные жиклеры 38 и 28, эмульсионные колодцы с эмульсионными трубками 39 и 27, главные воздушные жиклеры 6 и 14, распылители 9 и 12. При открывании дроссельной заслонки 32 первичной камеры топливо из поплавковой камеры 16 через главный топливный жиклер 38 поступает в эмульсионный колодец. В нем топливо смешивается с воздухом, выходящим из отверстий эмульсионной трубки 39, в которые воздух поступает через главный воздушный жиклер 6. Эмульсия через распылитель 9 поступает в малый и большой диффузоры первичной камеры и перемешивается с воздухом, проходящим через диффузоры, где и образуется горючая смесь. Главная дозирующая система вторичной камеры работает аналогично главной дозирующей системе первичной камеры. Дроссельная заслонка 30 вторичной камеры связана механически с дроссельной заслонкой 32 первичной камеры таким образом, что начинает открываться, когда Дроссельная заслонка первичной камеры будет открыта на 2/3 своей величины.
Дроссельные заслонки имеют механический (тросовый) привод от педали управления, расположенной в салоне автомобиля. Количество горючей смеси, поступающей в цилиндры двигателя, регулируется величиной открытия дроссельных заслонок. На режимах средних нагрузок работает главным образом первичная камера карбюратора, обеспечивающая работу двигателя в широком диапазоне частичных нагрузок.
Пусковое устройство обеспечивает приготовление богатой горючей смеси (на 1 кг бензина приходится менее 13 кг воздуха) при пуске холодного двигателя. В цилиндры двигателя горючая смесь поступает в большом количестве, чтобы даже при холодном двигателе легкие фракции бензина испарялись в количестве, необходимом для пуска двигателя.
Пусковое устройство состоит из воздушной заслонки 8 и связанного с ней пневматического элемента 1. Воздушная заслонка через шток 2 соединена с диафрагмой пневматического элемента и находится под воздействием возвратной пружины. При пуске холодного двигателя дроссельная заслонка 32 первичной камеры приоткрывается. При этом возвратная пружина, воздействуя на рычаг оси воздушной заслонки, удерживает ее в закрытом положении. Количество воздуха, поступающего в первичную камеру, уменьшается, вакуум в диффузорах возрастает, и топливо, вытекая из распылителя 9, обеспечивает образование горючей смеси. При первых вспышках и последующей работе двигателя на холостом ходу разрежение из-под дроссельной заслонки 32 передается по каналу 3 в пневматический элемент 1. Его диафрагма прогибается, и шток 2 приоткрывает воздушную заслонку, обеспечивая доступ необходимого количества воздуха, а возвратная пружина воздушной заслонки растягивается. Следовательно, при пуске холодного двигателя и его прогреве воздушная заслонка автоматически устанавливается в положение, исключающее чрезмерное обогащение или обеднение горючей смеси. По мере прогрева двигателя воздушная заслонка открывается полностью через тросовый привод рукояткой управления пусковым устройством, находящейся под панелью приборов.
Система холостого хода готовит обогащенную горючую смесь (на 1 кг бензина приходится до 13 кг воздуха). При работе двигателя на холостом ходу в цилиндры двигателя поступает обогащенная смесь в небольшом количестве, чтобы двигатель работал устойчиво.
Система холостого хода включает в себя: топливный канал, берущий начало из эмульсионного колодца первичной камеры; топливный жиклер 5; воздушный жиклер 7; эмульсионный канал; винт качества (состава) смеси 35; винт количества смеси; выходное отверстие 33. На режиме холостого хода дроссельная заслонка 32 приоткрыта. При этом переходная щель 31 системы холостого хода находится над верхней кромкой дроссельной заслонки. Воздушная заслонка открыта полностью. Под действием вакуума топливо из эмульсионного колодца через канал поступает к топливному жиклеру 5 холостого хода, где перемешивается с воздухом, поступающим через воздушный жиклер 7 холостого хода. Полученная эмульсия смешивается с воздухом, проходящим через переходную щель 31, и выходит под дроссельную заслонку 32 через отверстие 33. Щель 31, расположенная над дроссельной заслонкой, обеспечивает поступление эмульсии под дроссельную заслонку для плавного перехода двигателя с холостого хода на частичные нагрузки. При работе двигателя на холостом ходу качество смеси регулируется винтом 35, а количество — винтом количества смеси, при завертывании которого дроссельная заслонка приоткрывается. При выключении зажигания отключается электромагнитный клапан 4. Его игла под действием пружины запирает топливный жиклер 5 и исключает работу системы холостого хода при выключенном зажигании. Систему холостого хода имеет первичная камера карбюратора, а вторичная камера снабжена переходной системой.
Переходная система плавно включает в работу вторичную камеру карбюратора при небольших открытиях ее дроссельной заслонки.
Переходная система вторичной камеры включает в себя топливный жиклер 26 с трубкой, воздушный жиклер 15 и эмульсионный канал с выходными отверстиями 29. В начале открытия дроссельной заслонки 30 перед отверстиями 29 создается большой вакуум. Вследствие этого через топливный жиклер 26 поступает топливо, а через воздушный жиклер 15 — воздух. Образующаяся при этом эмульсия по каналу подводится к выходным отверстиям 29, через них поступает под дроссельную заслонку 30 и обогащает горючую смесь. В результате обеспечивается плавное включение в работу вторичной камеры карбюратора.
Ускорительный насос обогащает горючую смесь при резком переходе двигателя со средней нагрузки на полную (обгон, движение после остановки перед светофором и т.п.).
Ускорительный насос повышает приемистость двигателя, т.е. способность быстро развивать наибольшую мощность.
Ускорительный насос — диафрагменный, с механическим приводом. Топливо поступает в насос из поплавковой камеры через впускной шариковый клапан 40, При резком открытии дроссельной заслонки первичной камеры карбюратора специальный кулачок, установленный на оси заслонки, действует на рычаг 42 привода насоса, который давит на диафрагму 41. Диафрагма, преодолевая усилие возвратной пружины, прогибается и выталкивает топливо через канал, нагнетательный клапан 10 и распылитель 11 Ускорительного насоса в первичную и вторичную камеры, обогащая при этом горючую смесь. Впускной клапан ускорительного насоса в этот момент закрывается.
Эконостат служит для дополнительного обогащения горючей смеси при полной нагрузке двигателя. Эконостат представляет собой экономайзерное устройство. Эконостат включает в себя топливный жиклер 25 с трубкой, топливный канал и распылитель 13. Эконостатом оборудована вторичная камера карбюратора. Он вступает в работу при полностью открытых дроссельных заслонках и максимальной частоте вращения коленчатого вала двигателя. При этом топливо из поплавковой камеры поступает через топливный жиклер 25 и топливный канал в распылитель 13 эконостата и из него во вторичную камеру карбюратора, обогащая горючую смесь.
Экономайзер мощностных режимов исключает изменение степени обогащения горючей смеси из-за пульсации вакуума под дроссельными заслонками карбюратора. Процесс всасывания горючей смеси в цилиндры двигателя является прерывистым, и его пульсация (пульсация вакуума) возрастает при уменьшении частоты вращения коленчатого вала. При этом пульсация вакуума передается и на главную дозирующую систему, снижая ее эффективность автоматического регулирования состава горючей смеси. Экономайзер 21 мощностных режимов — диафрагменного типа. Он соединен с главной дозирующей системой первичной камеры топливным каналом, в котором установлен топливный жиклер 22 экономайзера, и через шариковый клапан 23 — с поплавковой камерой 16. Экономайзер также связан воздушным каналом с поддроссельным пространством. При незначительном открытии дроссельной заслонки 32 шариковый клапан 23 закрыт, так как диафрагма экономайзера удерживается вакуумом под дроссельной заслонкой. При значительном открытии дроссельной заслонки вакуум уменьшается, диафрагма экономайзера с иглой прогибается под действием пружины и открывает клапан 23. Топливо из поплавковой камеры проходит через открытый клапан, топливный жиклер 22 и топливный канал в эмульсионный колодец с трубкой 39. Оно добавляется к топливу, выходящему из главного топливного жиклера первичной камеры, и поступает через распылитель 9 в первичную камеру карбюратора, выравнивая состав горючей смеси.
Экономайзер принудительного холостого хода обеспечивает уменьшение расхода топлива и снижает токсичность отработавших газов на режиме принудительного холостого хода двигателя.
Экономайзер принудительного холостого хода состоит из концевого выключателя, установленного на регулировочном винте количества смеси холостого хода, электромагнитного запорного клапана 4 и электронного блока управления. На режиме принудительного холостого хода (торможение двигателем, движение под уклон, при переключении передач) дроссельные заслонки первичной и вторичной камер карбюратора закрыты, педаль управления дроссельными заслонками отпущена. В этом случае концевой выключатель карбюратора замкнут, электромагнитный клапан 4 выключается, его игла запирает топливный жиклер 5 холостого хода, и подача топлива в систему холостого хода прекращается.

Рис. 10. Впускной и выпускной трубопроводы:
1, 5 — трубопроводы; 2, 4,6,7— фланцы; 3 — трубка; 8 — шпилька
Впускной и выпускной трубопроводы обеспечивают подачу в цилиндры горючей смеси и удаление отработавших газов. Впускной трубопровод служит для равномерной подачи горючей смеси из карбюратора в цилиндры двигателя.
На двигателях автомобилей применяют впускной трубопровод, отлитый из алюминиевого сплава. Для лучшего испарения топлива, оседающего на стенках, трубопровод имеет обогреватель (рубашку), в котором циркулирует жидкость системы охлаждения двигателя. Выпускной трубопровод предназначен для отвода отработавших газов из цилиндров двигателя. На двигателях автомобилей устанавливают выпускные трубопроводы, отлитые из чугуна. Впускной трубопровод 5 двигателя (рис. 10) имеет фланцы 4 и 6. Фланец 4 предназначен для установки карбюратора, а фланец 6 — для соединения с головкой блока цилиндров.
Выпускной трубопровод 1 имеет фланцы 2 и 7 Фланец 2 служит для крепления приемной трубы глушителей, а фланец 7 — для связи с головкой блока цилиндров. Впускной и выпускной трубопроводы крепятся шпильками 8 к головке блока цилиндров через металлоасбестовые прокладки, обеспечивающие герметичность их соединения.
Глушитель уменьшает шум при выпуске отработавших газов из цилиндров двигателя. На легковых автомобилях обычно устанавливают два глушителя (основной и дополнительный), благодаря чему обеспечивается двойное расширение отработавших газов и более эффективное снижение шума их выпуска. Оба глушителя имеют одинаковое устройство и отличаются только размерами и используемыми для них материалами.

Рис. 11. Глушители:
1 — основной глушитель; 2, 3, 7, 8 — трубы; 4, 6 — перегородки; 5 — дополнительный глушитель
Все детали основного глушителя 1 (рис. 11) изготовлены из коррозионно-стойкой стали, а детали дополнительного глушителя 5 — из углеродистой стали. Глушители неразборные, сварены из двух штампованных половин. Внутри глушителей имеются трубы 3 и 7 с большим количеством отверстий, а также перегородки 4 и 6. Отработавшие газы, поступающие из приемных труб 8 в глушители, сначала в дополнительный 5, а потом в основной 1, расширяются, меняют направление и, проходя через отверстия в трубах, резко снижают свою скорость. Это приводит к уменьшению шума выпуска отработавших газов через трубу 2. Глушители позволяют снизить шум отработавших газов, выбрасываемых в окружающую среду, до 78 дБ. Потери мощности двигателя на преодоление сопротивления глушителей составляют примерно 4%. Глушители на автомобиле прикрепляются к полу кузова резиновыми деталями.
4. Система питания бензинового двигателя с впрыском топлива
В систему питания двигателя с впрыском топлива входят топливный бак, топливный насос, топливный фильтр, воздушный фильтр, форсунки, регулятор давления топлива, топливопровод двигателя, впускной и выпускной трубопроводы, топливопроводы, приемные трубы глушителя, резонаторы и глушитель.
На рис. 12 представлена схема части системы питания двигателя с впрыском топлива, обеспечивающей подачу топлива и воздуха к цилиндрам и приготовление горючей смеси, необходимой для всех режимов работы двигателя.
Топливо из бака 6 через топливный фильтр 8 и топливопроводы подается насосом 7 в топливопровод 2 двигателя, который установлен на впускном трубопроводе 4 и в котором закреплены форсунки 3.

Рис. 12. Схема системы питания двигателя с впрыском топлива:
1 — заслонка; 2 — топливопровод двигателя; 3 — форсунки; 4 — впускной трубопровод; 5 — регулятор давления; 6 — бак; 7 — насос; 8 — фильтр
Во впускной трубопровод из воздушного фильтра поступает чистый воздух, количество которого регулируется воздушной дроссельной заслонкой 1. Регулятор 5 при работающем двигателе поддерживает давление топлива в топливопроводе 2 двигателя и в форсунках 3 в пределах 0,28... 0,33 МПа. При такте впуска в поток воздуха, движущийся с большой скоростью во впускном трубопроводе 4, под давлением из форсунок 3 впрыскивается мелкораспыленное топливо. Топливо смешивается с воздухом, и образующаяся горючая смесь из впускного трубопровода поступает в цилиндры двигателя в соответствии с порядком работы двигателя.
Отработавшие газы отводятся из цилиндров двигателя через выпускной трубопровод, резонаторы и глушитель в окружающую среду.
Рассмотрим устройство и работу приборов системы питания двигателя с впрыском топлива.
Топливный насос (рис. 13) представляет собой центробежный роликовый насос с приводом от электродвигателя, который смонтирован совместно с насосом в одном герметичном корпусе.
Центробежный роликовый насос состоит из статора 3, внутренняя поверхность которого незначительно смещена относительно оси якоря 8 электродвигателя, цилиндрического сепаратора 16, соединенного с якорем электродвигателя, и роликов 17, расположенных в сепараторе.
Сепаратор с роликами находится между основанием 2 и крышкой 5 насоса.
При работе насоса топливо поступает через штуцер 1 и канал 18 к вращающемуся сепаратору 16, переносится роликами и через выходные каналы 6 подается в полость электродвигателя и далее через клапан 11 и штуцер 12 в топливопровод, подводящий топливо к топливному фильтру.

Рис. 13. Топливный насос:
1, 12 – штуцеры; 2 — основание; 3 — статор; 4, 11 — клапаны; 5 — крышка; 6, 18 — каналы; 7, 9 — корпуса; 8 — якорь; 10 — коллектор; 13 — щетка; 14 — муфта; 15 — вал; 16 — сепаратор; 17 — ролик
Топливо, поступившее в насос, проходя через электродвигатель, охлаждает его. Обратный клапан 11 исключает слив топлива из топливопровода и образование воздушных пробок после выключения топливного насоса. Предохранительный клапан 4 ограничивает давление топлива, создаваемое насосом, при возрастании его выше допустимого — 0,45...0,6 МПа. Топливный насос включается при включении зажигания. Подача насоса составляет 130 л/ч.
Топливопровод двигателя (рис. 14) служит для подвода топлива к форсункам. Он является общим для четырех форсунок. В один конец топливопровода 4 ввернут штуцер 3 для подвода топлива от насоса, а на другом конце закреплен регулятор 5 давления топлива, связанный с ресивером и топливным баком. В топливопроводе двигателя одним концом закреплены форсунки 2, которые другим концом закреплены во впускном трубопроводе 1. Концы форсунок уплотнены резиновыми кольцами круглого сечения. Топливопровод 4 крепится двумя болтами к впускному трубопроводу.
Регулятор давления топлива (рис. 15) поддерживает давление в топливопроводе и форсунках работающего двигателя в пределах 0,28... 0,33 МПа, что необходимо для приготовления горючей смеси требуемого качества на всех режимах работы двигателя. Регулятор давления состоит из корпуса 1 и крышки 3, между которыми закреплена диафрагма 4 с клапаном 2. Внутренняя полость регулятора делится диафрагмой на две полости — вакуумную и топливную.

Рис. 14. Топливопровод двигателя:
1 — впускной трубопровод; 2 — форсунка; 3 — штуцер; 4 — топливопровод; 5 — регулятор давления

Рис. 15. Регулятор давления топлива:
а — клапан закрыт; 6 — клапан открыт; 1 — корпус; 2 — клапан; 3 — крышка; 4 — диафрагма
Вакуумная полость находится в крышке 3 регулятора и связана с ресивером, а топливная полость — в корпусе 1 регулятора и связана с топливным баком.
При закрытии воздушной дроссельной заслонки 1 (см. рис. 12) вакуум в ресивере увеличивается, клапан регулятора открывается при меньшем давлении топлива и перепускает избыточное топливо по сливному топливопроводу в топливный бак 6. При этом давление топлива в топливопроводе 2 двигателя понижается. При открытии воздушной дроссельной заслонки вакуум в ресивере уменьшается, клапан регулятора открывается уже при большем давлении топлива. В результате давление топлива в топливопроводе двигателя повышается.
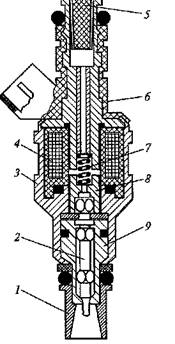
Форсунка (рис. 16) представляет собой электромагнитный клапан. Форсунка предназначена для впрыска дозированного количества топлива, необходимого для приготовления горючей смеси при различных режимах работы двигателя. Дозирование количества топлива зависит от длительности электрического импульса, поступающего в обмотку катушки электромагнита форсунки. Впрыск топлива форсункой синхронизирован с положением поршня в цилиндре двигателя.
Рис. 16. Форсунка;
1 — насадка; 2 — игла; 3, 9 — корпуса; 4 — катушка; 5 — фильтр; 6— крышка; 7— пружина; 8 — сердечник
Форсунка состоит из корпуса 3, крышки 6, катушки 4 электромагнита, сердечника 8 электромагнита, иглы 2 запорного клапана, корпуса 9 распылителя, насадки 1 распылителя и фильтра 5,
При работе двигателя топливо под давлением поступает в форсунку через фильтр 5 и проходит к запорному клапану, который находится в закрытом состоянии под действием пружины 7.
При поступлении электрического импульса в обмотку катушки 4 электромагнита возникает магнитное поле, которое притягивает сердечник 8 и вместе с ним иглу 2 запорного клапана. При этом отверстие в корпусе 9 распылителя открывается, и топливо под давлением выпрыскивается в распыленном виде.
После прекращения поступления электрического импульса в обмотку катушки электромагнита магнитное поле исчезает, и под действием пружины 7 сердечник 8 электромагнита и игла 2 запорного клапана возвращаются в исходное положение. Отверстие в корпусе 9 распылителя закрывается, и впрыск топлива из форсунки прекращается.
5. Техника безопасности
Техника безопасностипри уходе за системой питания должна обязательно соблюдаться. Так, при использовании этилированного бензина необходимо быть особенно осторожным при обращении с ним, так как этот бензин очень ядовит.
При заправке топливного бака, осмотре и очистке системы питания нужно не допускать попадания бензина на кожу. Если этилированный бензин попал на кожу, ее надо обмыть чистым керосином, а руки вымыть с мылом в теплой воде и вытереть насухо.
Нельзя применять этилированный бензин для мытья деталей и рук, а также засасывать бензин через шланг ртом при переливании и продувать ртом топливопроводы.
Нельзя допускать работу двигателя в закрытом помещении, которое не оборудовано специальной вентиляцией. Это может вызвать отравление людей, находящихся в помещении, отработавшими газами.
При всех работах по уходу за системой питания необходимо обязательно соблюдать правила противопожарной безопасности.
Список использованной литературы
1. Сарбаев В.И. Техническое обслуживание и ремонт автомобилей. − Ростов н/Д: «Феникс», 2004.
2. Вахламов В.К. Техника автомобильного транспорта. − М.: «Академия», 2004.
3. Барашков И.В. Бригадная организация технического обслуживания и ремонта автомобилей. – М.: Транспорт, 1988г.
Похожие рефераты:
Организация поста технического обслуживания и ремонта карбюраторов двигателей легковых автомобилей
Оборудование летательных аппаратов
Исследование процесса технической эксплуатации топливных форсунок системы распределённого впрыска
Устройство и принцип работы автомобиля ЗиЛ-130
Полные ответы на билеты по автоделу (экзамен 2002)
Тормозные механизмы автомобиля КамАЗ: ремонт и техническое обслуживание
Мероприятия по совершенствованию технической базы школы подготовки водителей
Разработка технологии и процесса ремонта двигателей автомобиля КамАЗ 5320 на АТП
Двигатели внутреннего сгорания
Узлы и механизмы для разборки и сборки системы питания дизельного двигателя
ТО и ремонт газобаллонного оборудования