| Похожие рефераты | Скачать .docx |
Дипломная работа: Рама и подвеска автомобиля КамАЗ
ВведениеПеревозки автомобильным транспортом предполагают использование подвижного состава (автомобилей и автопоездов), находящегося в исправном техническом состоянии.
Исправное техническое состояние означает полное соответствие подвижного состава нормам, определяемым правилами технической эксплуатации, и характеризует его работоспособность.
Работоспособность автомобиля оценивается совокупностью эксплуатационно-технических качеств - динамичностью, устойчивостью, экономичностью, надежностью, долговечностью, управляемостью и т.д. – которые для каждого автомобиля выражаются конкретными показателями. Чтобы работоспобность автомобиля в процессе эксплуатации находилась на требуемом уровне, значение этих показателей длительное время должны мало измениться по сравнению с их первоначальными величинами.
Однако техническое состояние автомобиля, как и всякой другой машины, в процессе длительной эксплуатации не остается неизменными. Оно ухудшается в следствии изнашивания деталей и механизмов, поломок и других неисправностей, что приводит результате к ухудшению эксплуатационно-технических качеств автомобиля.
Изменение указанных качеств автомобиля по мере увеличения пробега может происходить также в результате несоблюдения правил технической эксплуатации или технического обслуживания автомобиля.
Основным средством уменьшения интенсивности изнашивания деталей и механизмов и предотвращения неисправностей автомобиля, то есть поддержания его в должном техническом состоянии, является своевременное и высококачественное выполнение технического обслуживания.
Под техническим обслуживанием понимают совокупность операций (уборо-моечные, крепежные, регулировочные, смазочные и др.), цель которых – предупредить возникновение неисправностей (повысить надежность) и уменьшить изнашивание деталей (повысить долговечность), а последовательно, длительное время поддерживать автомобиль в состоянии постоянной технической исправности и готовности к работе.
Даже при соблюдении всех мероприятий изнашивание деталей автомобиля может приводить к неисправностям и к необходимости восстановления его работоспособности или ремонта. Следовательно, под ремонтом понимается совокупность технических воздействий, направленных на восстановление технического состояния автомобиля (его агрегатов и механизмов), потерявшего обслуживание и ремонта автомобилей.
Основной документ согласно которому производится ТО и ремонт на автопредприятиях положения о ТО и ремонте ПС автомобильного транспорта.
Согласно этого документа, ТО производится планово-предупредительно, зерез определенный пробег.
Существуют следующие виды ТО и ремонта: ЕО – ежедневное обслуживание, направлено в первую очередь на проверку узлов безопасности перед выходом и по возвращению с линии.
ТО-1 – первое техническое обслуживание, проводится через 3-5 тыс. км. ТО-2 – второе ТО, проводится через 10-15 тыс. км. СО – сезонное обслуживание, проводится весной и осенью. ТР – текущий ремонт, ремонт направленный на восстановление технически неисправного состояния, исключая базовые детали.
Одним из направлений, позволяющих повысить техническое состояние парка автомобилей при минимальных расходах на строительство производственной базы для ТО и текущего ремонта, является строительство и организация баз централизованного обслуживания и ремонта автомобилей. База централизованного обслуживания обеспечивает ТО и Тр несколько автохозяйств, не имеющих собственной производственной базы. Такая форма организации позволяет сконцентрировать средства механизации производственных процессов, повысить производительность труда и качеств работ.
1. Устройство подвески автомобиля КамАЗ
Подвеска автомобиля воспринимает основные динамические нагрузки от воздействия неровностей дороги. Для обеспечения большей плавности хода и для гашения колебаний.
Подвеска передняя автомобилей состоит из двух продольных полуэллиптических рессор, работающих совместно с двумя телескопическими амортизаторами и двумя полыми резиновыми буферами сжатия. В средней части рессоры прикреплены двумя стремянками к площадке балки передней оси. Между рессорами и балкой установлены кронштейны амортизаторов (рис. 1).

Рисунок 1 - Основные детали передней подвески
Передние концы рессор с помощью отъемных ушков и пальцев прикреплены к кронштейнам. Втулки отъемных ушков изготовлены из антифрикционного ковкого чугуна, повышающего износостойкость соединений с пальцами рессор. Задние концы передних рессор скользящие и опираются на сменные защитные сухари и боковые вкладыши.
Коренной лист рессоры прямоугольного сечения, а остальные листы Т-образного сечения. Всего 15 листов. На скользящем конце коренного листа заклепками закреплена накладка, предохраняющая его от износа. Пальцы рессор смазываются через масленку.
Амортизаторы передней подвески соединены с рамой автомобиля и передней осью при помощи пальцев и резиновых втулок. Втулки компенсируют перекосы и смягчают ударные нагрузки, передаваемые от оси автомобиля на раму. С обоих торцов резиновых втулок установлены шайбы.
При движении автомобиля по дороге с небольшими препятствиями амплитуда колебаний подвески незначительна и сопротивление, создаваемое амортизаторами, невелико. На неровной дороге амплитуда колебаний подвески возрастает, при этом амортизатор оказывает большое сопротивление, предотвращая раскачивание автомобиля и поглощая энергию как при плавном, так и при резком сжатии и отдаче рессор.
Для ограничения хода передней подвески служат резиновые полые буферы, закрепленные на лонжеронах рамы.
Подвеска передняя автомобилей КамАЗ-53212, КамАЗ-65115, КамАЗ-53228, КамАЗ-53229 и Ка-мАЗ-54112 имеет стабилизатор поперечной устойчивости, который увеличивает угловую жесткость подвески, уменьшая угол крена подрессорной части автомобиля при действии на автомобиль поперечной (боковой) силы, повышает устойчивость движения автомобиля.
Штанга стабилизатора в средней части закреплена на балке передней оси в резиновых подушках с помощью обойм, накладок и стремянок. Штанга стабилизатора стойками шарнирно соединена с кронштейнами, установленными на левом и правом лонжеронах рамы. Соединение стоек с кронштейнами рамы аналогично креплению амортизатора.
Амортизатор верхней пружиной прикреплен к кронштейну на раме, а нижней - к нижнему кронштейну амортизатора. Принцип действия гидравлических амортизаторов заключается в следующем. При относительных перемещениях подрессорных и неподрессорных частей автомобиля имеющаяся в амортизаторе жидкость, перетекая из одной его полости в другую через небольшие отверстия, оказывает сопротивление вертикальному перемещению штока и гасит колебания рессор.
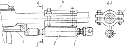
Задняя подвеска - балансирная, на двух полуэллиптических рессорах, с реактивными штангами с резинометаллическими шарнирами. Концы рессор скользящие по опорам, приваренным к балкам мостов. Ось балансира выполнена цельной, без стяжки. Пальцы реактивной штанги азотированы, опоры рессор усилены. Рессоры в средней части прикреплены стремянками к башмаку рессоры. Концы рессор установлены в опорах. При прогибе рессор концы их скользят в опорах. При ходе мостов вниз рессоры удерживаются в опорах пальцами, зафиксированными от осевых перемещений шплинтами и шайбами. Для ограничения хода мостов вверх и смягчения их ударов о раму на лонжеронах установлены буферы 1.
Толкающие усилия и реактивные моменты передаются на раму шестью реактивными штангами 4. Шарниры реактивных штанг самоподвижные.
Балансирное устройство автомобилей КамАЗ-5320, КамАЗ-55102 и КамАЗ-5410 состоит из двух осей, запрессованных в кронштейны, и башмаков с запрессованными в них втулками из антифрикционного материала. Кронштейны балансирного устройства соединены стяжкой и закреплены шпильками на кронштейнах задней подвески, которые в свою очередь крепятся болтами к лонжеронам рамы. В крышке имеется отверстие с пробкой для заливки масла.
Для предотвращения вытекания смазки в башмаках установлены резиновые армированные манжеты, а для защиты уплотнений от грязи - уплотнительные кольца. Башмаки закреплены на осях разрезными гайками, стянутыми болтами.
При прогибе рессор их концы скользят в опорах и удерживаются в опорах пальцами, зафиксированными от осевых перемещений шплинтами и шайбами. Установленные на лонжеронах буферы служат для ограничения хода мостов вверх и смягчения их ударов о раму. Толкающие усилия и реактивные моменты передаются на раму шестью реактивными штангами 4, снабженными самоподжимными шарнирами (рис. 2).
Две оси балансирного устройства запрессованы в кронштейны, которые соединены стяжкой и закреплены шпильками на кронштейнах задней подвески, прикрепленных болтами к лонжеронам рамы. В башмаки балансирного устройства запрессованы втулки из антифрикционного материала. Башмаки закреплены на осях разрезными гайками, которые стянуты болтами. Для заливки масла служит отверстие с пробкой в крышке, для предотвращения его вытекания установленные в башмаках резиновые армированные манжеты, а для защиты уплотнений от загрязнений - уплотнительные кольца.

Рисунок 2 - Задняя подвеска автомобилей КамАЗ-53212, -54112 и -5511: 1 - ось; 2 - кронштейн оси балансира; 3 - уплотнитель нос кольцо башмака рессоры; 4 - манжета; 5 - реактивная штанга; 6 - распорная втулка; 7 - заклепка; 8 - ограничитель качания мостов; 9 - нижний реактивный рычаг; 10 - пружинная шайба; 11 - гайка; 12 - пробка; 13 - крышка башмака; 14 - прокладка крышки; 15 - гайка крепления башмака; 16 - втулка башмака; 17 - болт; 18 - башмак рессоры; 19 - стремянка рессоры; 20 - лист № 4; 21 - лист № 1; 22 - передняя опора рессоры
Задняя подвеска автомобилей КамАЗ-53212, -54112 и -5511 отличается тем, что имеет балансирное устройство с одной осью 7, запрессованной в кронштейн 2 балансира. Опоры 22 рессоры и нижние реактивные рычаги 9 фиксируются на мостах установочными пластинами и закрепляются шпильками (рис. 3).

Рисунок 3 - Реактивная штанга: 1 - масленка; 2 - гайка; 3 -шайба пружинная; 4 - сальник; 5 - штанга; 6 - заклепка; 7 - вкладыш внутренний; 8 - палец; 9 - вкладыш наружный; 10 - пружина; 11 - прокладка; 12 – крышка
Рама автомобиля КамАЗ (рис. 4).

Рисунок 4 - Рама автомобиля КамАЗ. Рама автомобиля: 1 - поперечина № 1; 2 - кронштейн передней опоры силового агрегата; 3 -поперечина № 2; 4 - кронштейн задней опоры двигателя; 5 - лонжерон правый; 6 - кронштейн балки поддерживающей опоры силового агрегата; 7 - поперечина № 3; 8 - поперечина № 4; 9 - косынка нижняя поперечины № 5; 10 - косынка верхняя поперечины № 5; 11 -поперечина № 5; 12 - поперечина задняя; 13 - раскос задней поперечины; 14 - поперечина № 7; 15 - поперечина №6; 16 - прокладка кронштейна балансирной подвески; 17 - лонжерон левый; 18 - задний кронштейн передней подвески; 19 - кронштейн амортизатора; 20 - кронштейн опоры радиатора; 21-кронштейн передний передней подвески; 22 - кронштейн буфера
Опоры рессоры и нижние реактивные рычаги для облегчения ремонта выполнены съемными. Опоры зафиксированы от перемещения установочными пластинами. Для ограничения хода мостов вниз на опорах рессор установлены ограничители качания мостов.
Автомобили КамАЗ различных моделей и комплектаций имеют рамы различающиеся: длинной в зависимости от базы; количеством и конструкцией поперечин; усилительными накладками и их конструкцией; кронштейнами и их положением.
2. Техническое обслуживание
Планово-предупредительная система технического обслуживания автомобилей построена так, что при выполнении каждого последующего вида технического обслуживания повторяют большинство операций предыдущих обслуживаний.Для чёткого выполнения все операции технических обслуживаний распределяют по видам работ: уборочно-моечные, осмотровые, крепёжные, контрольные, регулировочные, заправочно-смазочные, шиномонтажные.Операции технического обслуживания связанные с ходовой частью осуществляются только при ЕО, ТО – 1 и ТО – 2. 2.1 Ежедневное техническое обслуживание При ежедневном техническом обслуживании необходимо мыть раму и другие узлы и детали ходовой части, проверять состояние рессор и амортизаторов. 2.2 Техническое обслуживание № 1 Крепёжные работы. Проверяют надёжность крепления грузовой платформы к раме, с помощью лёгких ударов молотка по заклёпочным креплениям. Все болтовые соединения должны быть полностью затянуты.При проверке креплений задних колёс предварительно ослабляют гайку крепления наружных колёс, подтягивают гайки крепления внутренних колёс, а затем затягивают гайки крепления наружных колёс.При проверке крепления амортизаторов передней подвески и их кронштейнов проверяют состояние резиновых втулок амортизаторов, подтекание жидкости. Не должно быть трещин, вмятин, люфта проушин амортизаторов на пальцах. Если жидкость подтекает через сальники, необходимо подтянуть гайку резервуара с момента затяжки до 6 – 7 кГ.Колёса должны быть надёжно закреплены, при покачивании колеса не должно быть стуков и скрипа.Контрольно-регулировочные работы. Вывешивают передние колеса, резким покачиванием колёс проверяют легкость вращения колёс и люфт в подшипниках.Осевого люфта передних колёс не должно быть. В противном случае отвёртывают болты крепления крышки ступицы и осторожно снимают крышку, чтобы не повредить прокладку. Затем нужно отогнуть замочную шайбу, отвернуть контргайку, снять замочное кольцо и замочную шайбу, затянуть регулировочную гайку, поворачивая колесо до тугого вращения для правильного размещения роликов в подшипниках, отвернуть на пол оборота и проверить вращение колеса.Колесо после регулировки должно свободно вращаться без заметного люфта в подшипниках. После этого устанавливают замочное кольцо и замочную шайбу так, чтобы её выступ вошёл в одно из отверстий замочного кольца.Навертывают контргайку до отказа, загибают замочную шайбу на контргайку, ставят и закрепляют крышку ступицы и опускают передние колёса. В пути окончательно проверяют регулировку подшипников по нагреванию ступицы колеса. 2.3 Техническое обслуживание №2 Крепёжные работы. Проверяют крепление крыльев, облицовки, кронштейнов, подножек к кронштейнам, кронштейнов к раме автомобиля. При резком покачивании проверяемых деталей не должно быть слышно скрипа и дребезжаний. Ослабленные соединения подтягивают гаечными ключами.Проверяют затяжку гаек передних и задних колёс автомобиля, защёлки кронштейна запасного колеса, бампера, буксирных крюков и кронштейнов. При проверке крепления задних колёс предварительно ослабляют гайки крепления наружных колёс, подтягивают гайки крепления внутренних колёс, а затем затягивают гайки крепления наружных колёс. Все болтовые соединения должны быть полностью затянуты. Не должно быть ослабления крепления топливного бака, брызговиков платформы, капота.Проверяют крепление двигателя на передних и задних опорах, крепление реактивной тяги, сняв брызговики двигателя. Если крепление ослаблено, его расшплинтовывают, подтягивают гайки передних опор с моментом затяжки до 8–10 кГм, задней опоры с моментом затяжки до 20 – 25 кГм и вновь зашплинтовывают. Натяг резьбовыми соединениями крепления реактивной тяги должен обеспечивать амортизирующее воздействие буфера без видимых перемещений двигателя на раме.Проверяют крепление амортизаторов передней подвески и их кронштейнов.Гайки пальцев крепления амортизаторов на балке передней оси и на кронштейне рамы должны быть полностью затянуты, разрушения резиновых втулок амортизаторов и подтекания жидкости не допускается. Если обнаружена течь через сальники, нужно снять амортизатор и подтянуть гайку резервуара с моментом затяжки до 6 – 7 кГм.Момент затяжки гайки крепления сошки на валу должен быть в пределах от 25 до 30 кГм. Проверяют крепление приёмной трубы глушителя и глушителя к раме. Пропуск газов в местах соединения не допускается. Проверяют крепление передних, задних и дополнительных рессор, кабины к раме. Листы рессор не должны иметь трещин и изломов, крепление хомутов, стремянок рессор должно быть надёжным. Затягивают гайки стремянок равномерно с моментом затяжки до 25 – 30 кГм и моментом затяжки отъёмных ушков 5 – 10 кГм. Резиновые буфера ограничения хода рессор и их прокладки не должны иметь повреждения и ослабления крепления. Убеждаются в исправном состоянии кронштейнов, прокладок, болтов и гаек крепления кабины на раме.Передний мост поднимают домкратом. При регулировке подшипников ступиц передних колёс затягивают подшипники колёс до тугого вращения и ослабляют затяжку на регулировочную гайку.После регулировки подшипников колесо должно вращаться от руки. Лёгкость вращения колеса считается достаточной, если после прекращения воздействия на него колесо сделает 5 – 6 оборотов. Недопустим люфт колеса.Углы установки передних колёс. Углами установки передних колёс являются: угол развала колёс, угол поперечного (бокового) наклона шкворня, угол продольного наклона шкворня, угол схождения колёс.Угол развала колёс грузовых автомобилей не регулируется. Его обеспечивает наклон цапфы поворотного кулака при изготовлении и ремонте.Однако во время эксплуатации автомобиля правильный угол развала может быть нарушен вследствие износа втулок шкворней и появления увеличенных зазоров в подшипниках ступиц колёс, поэтому необходимо периодически проверять правильность угла развала, своевременно регулировать и заменять втулки шкворней.При замере необходимо установить автомобиль на ровной горизонтальной площадке, тщательно отрегулировать подшипники и устранить люфт во втулках шкворней. Замеряют угол развала колёс с помощью прибора (с уровнем) ГАРО следующим образом. Устанавливают передние колёса автомобиля в положение прямолинейного движения. Укрепляют прибор вверх уровнями на правом переднем колесе и с помощью шаровой головки выравнивают прибор в горизонтальном положении по установочным уровням. Перекатывают автомобиль на расстояние, равное половине оборота колеса. Пузырёк уровня поперечного наклона должен остановиться против нуля. По шкале определяют угол развала колеса. Повторяют те же операции с левым передним колесом.Угол поперечного (бокового) наклона шкворня образуется между осью шкворня и вертикальной плоскостью, параллельной продольной оси автомобиля. Он изменяется вследствие изгиба цапф, стоек, передней оси (у автомобилей с неразрезной осью). Угол не регулируют, его восстанавливают при ремонте.Неправильные углы установки шкворней вызывают повышенный износ шин, втулок, шкворней, подшипников, ступиц, сопряжений, тяг рулевого управления.Угол продольного наклона шкворня образуется между осью шкворня и вертикальной плоскостью, перпендикулярной оси автомобиля. От него зависит хорошая устойчивость и управляемость. Если автомобиль при нормальном давлении воздуха в шинах уводит в одну сторону, значит углы продольного наклона обоих колёс не одинаковы. Во время эксплуатации автомобиля угол продольного наклона шкворня может уменьшаться из-за осадки или поломки передней подвески, износа втулок шкворней и изгиба балки. Угол не регулируется, его восстанавливают при ремонте. Для обеспечения правильности угла не рекомендуется ставить на один автомобиль рессоры разной упругости.Определяют углы поперечного и продольного наклоны шкворня с помощью прибора ГАРО. Для этого передние колёса автомобиля устанавливают на поворотные диски вогнутой стороной к колесу (в положение, соответствующее движению по прямой). Последовательно устанавливая прибор на колёсах, поворачивают их на ± 200 от нулевого деления и определяют углы наклона шкворня по соответствующим шкалам прибора. Угол схождения колёс характеризуется разностью расстояний между внутренними частями шин (или ободов) впереди и сзади оси А – Б.В процессе эксплуатации автомобиля схождение передних колёс изменяется из-за погнутости поперечной тяги, увеличения зазоров в шаровых пальцах. Неправильная величина схождения колёс вызывает интенсивный износ шин и увеличивает расход топлива.Проверяют схождение колёс специальной линейкой, которую устанавливают в упор между колёсами при расположении автомобиля на горизонтальной площадке (или при обслуживании – на осмотровой канаве). Длину линейки регулируют так, чтобы при её установке впереди передней оси, когда её упоры прижимаются к выпуклым частям шин, а нижние концы цепочек касаются пола (длина цепочки 200 мм), нулевое деление подвижной шкалы находилось против стрелки. Затем автомобиль перекатывают вперёд так, чтобы линейка оказалась позади передней оси, а нижние концы цепочек линейки касались пола. Схождение колёс в этом положении линейки отсчитывают по шкале. Нарушение схождения колёс регулируют изменением длины поперечной рулевой тяги. Для этого расшплинтовывают и ослабляют гайки крепления наконечников поперечной рулевой тяги. Трубным ключом поворачивают поперечную рулевую тягу против часовой стрелки (если смотреть на автомобиль с левой стороны), чтобы уменьшить – по часовой стрелке. После регулировки и проверки гайки крепления наконечников надёжно затягивают и шплинтуют.3. Передние и задние рессоры. Основные дефекты передних и задних рессор: обломы и трещины на листах рессор, износ верхних и нижних опор 3.1 Переднюю рессору заменяют в следующей последовательности Устанавливают автомобиль на пост, затормаживают ручным тормозом и укладывают упоры под задние колёса, отвёртывают болты крепления крышек переднего и заднего кронштейна и снимают крышки с нижними опорами рессор, отвёртывают гайки крепления стремянок рессоры и снимают стремянки и прокладку с буфером в сборе. Приподнимают переднюю часть автомобиля кран-балкой и подводят под раму подставку. Снимают с переднего и заднего концов рессоры верхние опоры и вынимают из кронштейна упор. Снимают переднюю рессору с автомобиля и направляют в ремонт.Переднюю рессору устанавливают в обратной последовательности. Для правильной установки крепления концов рессоры в резиновых опорах её выпрямляют с помощью приспособления до горизонтального положения. При неправильной установке рессоры резиновые опоры не самоустанавливаются, что приводит к их быстрому износу. 3.2 Задняя рессора Аналогично заменяют задние рессоры. Снятую с автомобиля рессору устанавливают на стол стенда для разборки и сборки рессор и закрепляют за боковые поверхности листов, затем отвёртывают гайки болтов хомутов рессоры, выбивают болты и снимают распорные втулки. Ослабляют крепление рессоры, укладывают её боковой поверхностью на стол стенда и закрепляют за верхний и нижний листы. Затем отвёртывают гайку центрового болта, ослабляют зажим стенда и снимают разобранную на листы рессору. Проверяют состояние листов рессоры, хомутов и чашек.На листах рессоры не должно быть трещин и обломков. Износ листов рессор по толщине более 1,0 мм не допускается. На хомутах рессоры также не должно быть обломов и трещин. Ослабление заклёпок крепления хомутов и чашек не допускается. Износ отверстия во втулке ушка задней рессоры до размера более 40,4 мм не допускается.Годные для сборки листы рессор очищают от коррозии, рихтуют на станке мод.2470А ГАРО по шаблону и смазывают графитной смазкой.Подготовленные к сборке листы рессоры надевают по порядку на оправку, устанавливают боковой поверхностью листов на стенд и сжимают. Вынимают оправку, устанавливают центровой болт и затягивают гайку болта. Листы рессоры автомобиля ЗИЛ -130 собирают так, чтобы штампованные выступы входили во впадины каждого листа. В проушины хомутов устанавливают стяжные болты и распорные втулки и навёртывают на болты гайки. После сборки проверяют стрелку прогиба рессоры, натягивая тонкую проволоку с грузом по торцевым поверхностям чашек верхнего коренного листа передней рессоры.
При разборке рессор в случае износа накладки скользящего конца коренного листа передней рессоры снимите накладку, в дальнейшем эксплуатируйте рессору без накладки. Замерьте зазоры между пальцами и втулками отъемных ушков. Номинальный зазор между пальцем и втулкой 0,17... 0,39 мм при номинальном диаметре пальца 39,95... 40,00 мм. Если зазор больше 2 мм, то замените изношенные детали.
Замените втулки, имеющие значительные выкрашивания одного из торцов (свыше 60 % от поверхности торца втулки). При износе боковых сухарей передних рессор на глубину до 3 мм замените их (номинальная толщина сухарей - 8 мм). При износе верхних сухарей передних рессор на глубину до 3 мм спрессуйте их с кронштейнов, разверните на 180° и вновь напрессуйте. При износе концов первых коренных листов рессор задней подвески на 40... 50% толщины поменяйте местами первый и третий листы.
Для предохранения опор рессор задней подвески от интенсивного износа на их опорные поверхности наплавлен слой твердого сплава (HRC 56... 62) на глубину 2... 4 мм. При износе этого слоя произведите его повторную наплавку электродом ЭН-60М-3,0-1 ГОСТ 9466-75. На автомобилях КамАЗ-53212, Ка-мАЗ-55111 и КамАЗ-54112 твердый сплав глубиной 2... 4 мм наплавлен и на боковые стороны опор. При суммарном зазоре более 10 мм между наружными и внутренними боковинами опор и рессорами произведите наплавку твердого сплава на боковины опор рессор, обеспечив суммарный зазор 3... 5 мм.
При сборке рессор смажьте графитной смазкой трущиеся поверхности листов, так же смажьте ушки и пальцы передних рессор. Передние и задние рессоры устанавливайте на автомобиль попарно с разницей прогиба не более 10 мм.
Во избежание поломок рессор и износа щек башмаков при проведении ремонта:
- гайки крепления передних рессор затягивайте с моментом 431-490 Н.м (44-50 кгс.м);
- гайки крепления задних рессор затягивайте с моментом 785-883 Н.м (80-90 кгс.м);
Для снятия реактивных штанг с автомобиля используйте съемник: для этого, отвернув гайки 5 (рисунок 5), снимите крышку 4, штангу пропустите между шпильками съемника, наденьте на шпильки крышку 4 и заверните гайки 5.

Рисунок 5 - Снятие съемником пальцев реактивных штанг: 1 -винт; 2 - корпус; 3 - клин; 4 - крышка; 5 - гайка; 6 – шпилька
Клин 3 заведите до упора между торцами наконечника штанги и проушины пальца, при этом винт 1 должен быть в крайнем правом положении. Затяните гайки 5 и, вворачивая винт 1 в корпус 2, выпрессуйте палец из проушины. Замена вкладышей и пальцев реактивных штанг производится при осевом люфте в реактивной штанге более 1,3 мм
Для регулирования осевого зазора в башмаке балансирного устройства:
- поднимите автомобиль за раму и установите на подставки. Обеспечьте возможность поворачивания балансира, отделив концы задней рессоры от опор мостов или сняв рессору;
- заверните разрезную гайку так, чтобы балансир не поворачивался от руки;
- отверните гайку на 1/6 оборота, затяните стяжной болт с моментом 78,2... 98,1 Н.м (8... 10 кгс.м) и проверьте возможность поворачивания балансира от руки. Если балансир не поворачивается, дополнительно отпустите разрезную гайку, предварительно ослабив стяжной болт.
При разборке балансирного устройства в случае износа осей и втулок башмаков балансирного устройства выше допустимого отшлифуйте оси до устранения следов износа и установите ремонтные (уменьшенные по внутреннему диаметру) втулки. При номинальном диаметре оси балансира 87,93... 88,00 мм номинальный зазор между осью и втулками должен быть 0,120... 0,305 мм. Допустимый без ремонта зазор между осью и втулками не более 1,0 мм.
Амортизаторы заменяйте при снижении максимальных сил сопротивления на ходе сжатия и отбоя более чем на 25% по сравнению с нижним пределом, указанным в таблице 1
Таблица 1 - Силы сопротивления амортизатора при ходе отбоя и ходе сжатия
| Скорость поршня, м/с | Сила сопротивления, N (кгс) | |
| при ходе отбоя | при ходе сжатия | |
0,2 (дроссельный режим) 0,52 (клапанный режим) |
1373...1962 (140...200) 3626...4415 (370...450) | 687...981 (70...100) 1079... 1472 (110...150) |
При появлении на амортизаторе следов подтекания масла, снимите амортизатор с автомобиля и подтяните гайку резервуара. Если течь не устраняется подтягиванием гайки резервуара, замените амортизатор.
При ремонте рамы надо проверить плотность заклепочных соединений, обстукивая головки заклепок молотком. В случае дрожания или смещения головки заклепки под ударами молотка их необходимо срубить и заменить болтовыми соединениями. В полках лонжеронов и поперечин не должно быть трещин.
Проверить состояние окраски рам: удалить коррозию, а места с поврежденной окраской подкрасить.
Для снятия передней рессоры:
- отверните гайку стяжного болта заднего кронштейна рессоры, снимите пружинную шайбу, болт и распорную втулку;
- отсоедините амортизатор в нижней опоре;
- поднимите за раму переднюю часть автомобиля, установите подставку под раму и опустите на нее автомобиль, при этом обеспечьте зазор между накладкой коренного листа и вкладышем в заднем кронштейне рессоры 40... 80 мм;
- отверните гайки стяжных болтов проушин переднего кронштейна рессоры, снимите пружинные шайбы, болты и выбейте палец;
- закрепите рессору в подъемном приспособлении;
- отверните гайки стремянок крепления рессоры к балке передней оси, снимите накладку рессоры;
- подъемным приспособлением снимите рессору с передней оси.
Для установки передней рессоры:
- подъемным приспособленном опустите рессору на переднюю ось, предварительно установив кронштейн амортизатора под рессору;
- установите накладку рессоры и совместите их центрирующие элементы;
- вставьте стремянки рессоры в отверстия площадки передней оси и затяните гайки стремянки;
- подведите передний конец рессоры к кронштейну, совместите отверстие ушка рессоры с отверстиями в кронштейне, вставьте палец и стяжные болты, наденьте на них шайбы и затяните гайки. Ремонт амортизаторов производится на заводе-изготовителе.
- поднимите за раму переднюю часть автомобиля, уберите подставку и опустите автомобиль;
- присоедините амортизатор к передней оси;
- вставьте распорную втулку и стяжной болт в задний кронштейн рессоры и закрепите его.
Проконтролируйте момент затяжки гаек стремянок. Смажьте палец ушка рессоры до появления свежей смазки из втулки ушка.
Для снятия задней рессоры:
- ослабьте гайки стяжных шпилек щек башмака рессоры;
- расшплинтуйте пальцы опор рессоры и выбейте пальцы опор рессоры (у автомобилей КамАЗ-5320, КамАЗ-5410, КамАЗ-55102) или снимите ограничители качания мостов (если это автомобили КамАЗ-53212, КамАЗ-54112,
КамАЗ-55111;
- поднимите за раму заднюю часть автомобиля, установите подставку под раму и опустите автомобиль на нее, при этом обеспечьте зазоры между концами рессоры и опорами не менее 25... 30 мм;
- отверните гайки стремянок рессоры и снимите стремянки, накладку рессоры и верхние листы рессоры, не скрепленные хомутами;
- подъемным приспособлением снимите рессору с башмака.
Для установки задней рессоры:
- подъемным приспособлением установите рессору на башмак, совместив их центрирующие элементы;
- затяните гайки стяжных шпилек щек башмака до соприкосновения щек с рессорой;
- установите накладку рессоры, стремянки и затяните гайки стремянок;
- поднимите заднюю часть автомобиля, уберите подставку и опустите автомобиль;
- установите пальцы опор рессоры, наденьте шайбы и зашплинтуйте пальцы (у автомобилей КамАЗ-5320, КамАЗ-55102, КамАЗ-5410) или установите ограничители качания мостов (если это автомобили КамАЗ-55111, КамАЗ-53212, КамАЗ-54112). Проконтролируйте моменты затяжки гаек стремянок.
4. Охрана труда
Основные требования:
1. Проверить наличие и исправность электропредохранителей и электропроводки. Все предохранители должны быть стандартными и соответствовать номинальному току. Электропроводка не должна иметь оголенных мест, а места ее соединения должны исключать возможность искрообразования.
2. Проверить герметичность системы питания (нет ли подтекания топлива или утечки газа). При обнаружении утечек принять меры к их устранению.
3. Проверить укомплектованность автомобиля исправными огнетушителями.
Необходимо знать устройство огнетушителя и уметь им пользоваться.
4. Ремонт системы питания двигателя на линии следует производить с осторожностью, не допуская попаданий бензина на двигатель и систему выпуска отработавших газов.
При обнаружении на линии утечки газа из системы питания газобаллонных (газодизельных) автомобилей, за исключением арматуры баллона, немедленно остановиться, закрыть расходные вентили, выработать газ из системы до остановки двигателя, затем закрыть магистральный вентиль и принять меры к устранению неисправности, если это возможно, или сообщить в предприятие.
При утечке газа из арматуры баллона необходимо отогнать автомобиль в безопасное место и выпустить или слить газ из баллона.
5. Перевозка легковоспламеняющихся веществ должна производиться специально оборудованным автомобилем в соответствии с действующими инструкциями.
6. Запрещается:
подавать топливо в карбюратор из открытой тары "самотеком";
проверять наличие топлива в баке или цистерне с помощью открытого огня (зажженной спички, зажигалки и т.п.);
хранить и перевозить бензин, керосин и другие легковоспламеняющиеся вещества в кабине, салоне автомобиля и кузове, не приспособленном для этой цели;
выпускать сжатый природный газ и сливать сжиженный нефтяной газ при работающем двигателе или включенном зажигании, а также в непосредственной близости от мест стоянки других автомобилей или вблизи источников огня и мест нахождения людей.
7. В случае загорания автомобиля во время работы на линии необходимо:
немедленно остановите автомобиль;
заглушить двигатель (на автомобилях, работающих на газе перекрыть магистральный и баллонные вентили);
принять все меры для эвакуации пассажиров (груза) и приступить к тушению пожара.
При тушении пожара на автомобиле необходимо соблюдать личную осторожность - использовать огнетушители, рукавицы, не допускать загорания одежды и ожога лица, рук и т.д.
8. Загрязненную горюче-смазочными материалами специальную одежду следует своевременно сдавать в химчистку (стирку).
5. Охрана окружающей среды
Защита окружающей среды как одна из важнейших характеристик эффективности использования автомобильного транспорта. Негативное воздействие автомобильного транспорта на окружающую среду: потребление ресурсов, загрязнения окружающей среды, негативные социальные последствия. Потребление ресурсов на автомобильном транспорте: энергетическое, материальное. Земельное, трудовое. Основные законы экологии: структурные, функциональные, эволюционно-исторические.
Особенности взаимодействия технических объектов с окружающей природной средой; влияние промышленности на природную среду, геотехнические системы. Жизненный цикл промышленной продукции. Загрязнение окружающей среды, как комплекс помех в экологических системах: ингредиентных (воздух, вода, почва), параметрических (шумовые, тепловые, электромагнитные, вибрационные), экологических (фактор беспокойства, сокращение мест обитания, разделяющий эффект, гибель живых организмов).
Социальные последствия автомобилизации, как снижение двигательной активности человека, нарастание нервного напряжения и рост заболеваний среди жителей городов, низкий уровень безопасности дорожного движения. Решение проблем снижения отрицательного влияния автомобилизации как комплекса технических, организационных, экономических и управленческих мероприятий.
Снижение отрицательных последствий автомобилизации: рациональные приемы управления автомобилем, выбор рациональных характеристик дороги и дорожного движения, изменение степени вредности транспортных средств и поддержание в условиях эксплуатации их надлежащего технического состояния, снижение загрязнения окружающей среды производственными отходами деятельности служб технического обслуживания и ремонта транспортных средств. Условия безопасной эксплуатации транспортных средств и формирование требований к элементам системы «автомобиль – водитель – дорога – среда - система технической эксплуатации».
Вредные выбросы автомобилей и их влияние на окружающую среду. Источник вредных выбросов отработавших газов (ОГ), картерные газы, топливные испарения. Структура выбросов вредных веществ по отдельным видам автомобильного транспорта. Воздействие ОГ на окружающую среду: первичные и вторичные компоненты и их экологический эффект. Окись углерода, оксиды азота, углерода, альдегиды, сажа, соединения свинца, оксиды серы и их влияние на окружающую среду.
Способы уменьшения загрязнения окружающей среды: Уменьшение токсичности и дымности ДВС. Регулирование карбюраторных ДВС по составу горючей смеси и углу опережения зажигания. Регулирование системы питания дизельных ДВС. Узлы и системы ДВС, снижения токсичность и дымность ОГ. Рециркуляция ОГ, как метод уменьшения доли NOx в их составе.
Замкнутая система вентиляции картера. Снижение СО и СН в отработавших газах за счет контроля выключенных газов, как элемента конструкции автомобилей. Конструктивные изменения двигателя, улучшение процесса сгорания: изменение камеры сгорания, автомат подогрева всасываемого воздуха при холодном двигателе снижения степени сжатия, применение свечей со сдвоенным электроходом и д.р.
Снижение выбросов токсичных компонентов на режимах холостого хода и разгона. Влияние топлива на токсичность отработавших газов. Общие свойства топлива для ДВС и их роль в образовании вредных компонентов в ОГ. Снижение токсичности и дымности ОГ за счет присадок в топливо и масло.
Выводы
В выпускной квалификационной работе проанализированы требования, предъявляемые к грузовому автомобилю КамАЗ а в частности к его раме и подвеске, и их техническому обслуживанию и ремонту. В выпускной квалификационной работе показана важность развития. Современной проверке деталей и агрегатов автотранспорта, а так же важность правильного выполнения этих действий.Список литературы
1. Барковских Ю.И. Техническое обслуживание и ремонт автомобилей. Издательство: Высшая школа, 2000.
2. Голицын А.Н. Основы промышленной экологии. Издательство: Академия, 2004.
3. Дюшен И.Е., Трегуб Г.Г. Ремонт автомобилей. Издательство: Транспорт 2000.
4. Калисский В.С., Манзон А.И., Нагула Г.Е. Автомобиль. Издательство: Транспорт, 2004.
5. Колесник П.А., Шейнин В.А. Техническое обслуживание и ремонт автомобилей. Издательство: Транспорт, 2000.
6. Кузнецов В.М. Техника безопасности. Издательство: Высшая школа, 2001.
7. Радичев В.А. Грузовые автомобили. Издательство: Транспорт, 2000.
8. Роговцев В.Л., Пузанков А.Г., Ольдфильд В.Д. Устройство и эксплуатация автотранспортных средств. Издательство: Транспорт, 2005.
9. Румянцев С.И. Ремонт автомобилей. Издательство: Транспорт, 2000.
Похожие рефераты:
Полные ответы на билеты по автоделу (экзамен 2002)
Мероприятия по совершенствованию технической базы школы подготовки водителей
Основы проектирования и конструирования
Анализ конструкции и методика расчета автомобиля ВАЗ-2108
Эксплуатация современных моделей автомобильных кранов
Технологический процесс ремонта переднего моста автомобиля ЗИЛ-130: разборка, ремонт и сборка
Ходовая часть. Балансирующая подвеска ЗИЛ 131
Исследование особенностей технической эксплуатации ходовой части автомобилей "Toyota"