| Похожие рефераты | Скачать .docx |
Реферат: Резьба и резьбовые соединения
Министерство образования Российской Федерации
Тюменский государственный нефтегазовый университет
Кафедра ГНГ и Д
Реферат
по дисциплине «Инженерная графика»
на тему «Резьба и резьбовые соединения»
Выполнил
студент НР00-1
………………
Проверил
Мелихова А.П.
Тюмень, 2001
1. Резьба
Резьба – поверхность, образованная при винтовом движении плоского контура по цилиндрической или конической поверхности.

Схема 1.1
1.1. Основы образования резьбы
В основе образования резьбы лежит принцип получения винтовой линии. Винтовая линия – это пространственная кривая, которая может быть образована точкой, совершающей движение по образующей какой-либо поверхности вращения, при этом сама образующая совершает вращательное движение вокруг оси.
Если в качестве поверхности принять цилиндр, то полученная на его поверхности траектория движения точки называется цилиндрической винтовой линией. Ес-
ли движение точки по образующей и вращение образующей вокруг оси равномерны, то винтовая цилиндрическая линия является линией постоянного шага. На развертке боковой поверхности цилиндра (рис.1.1.1) такая винтовая линия преобразуется в прямую линию.


Рис.1.1.1
Если на поверхности цилиндра или конуса прорезать канавку по винтовой линии, то режущая кромка резца образует винтовую поверхность, характер которой зависит от формы режущей кромки. Образование винтового выступа можно представить как движение треугольника, трапеции, квадрата по поверхности цилиндра или конуса так, чтобы все точки фигуры перемещались по винтовой линии (рис.1.1.2). В случае, если подъем винтового выступа на видимой (передней) стороне идет слева направо, резьба называется правой, если подъем винтового выступа идет справа налево – левой. Если по поверхности перемещаются одновременно два, три и более плоских профиля, равномерно расположенные по окружности относительно друг друга, то образуются двух- и трехзаходные винты.



Рис.1.1.2
В качестве примера образования одно-, двух- и трехзаходной резьбы можно рассмотреть процесс навивки на цилиндрическую поверхность проволоки треугольного сечения (витки плотно прилегают друг к другу) . Для однозаходной резьбы (рис.1.1.3,а ) величина хода винта Р h равна шагу Р. Для двух- (рис.1.1.3,б ) и трехзаходных (рис.1.1.3,в ) винтов, когда осуществляется одновременная навивка соответственно двух и трех проволок указанного сечения, величина хода соответственно равняется 2Р – для двухзаходного винта и ЗР – для трехзаходного.
Приведенные положения, с некоторыми изменениями и уточнениями, могут быть отнесены и к конической поверхности.



Рис.1.1.3
1.2. Классификация резьбы
Таблица 1.2.1
№ п/п |
Тип резьбы | Профиль резьбы (некоторые параметры) |
Условное изображение резьбы | Стандарт | Примеры обозначения | Примеры обозначения резьбового соединения |
| 1 | 2 | 3 | 4 | 5 | 6 | 7 |
| 1 | Метрическая | ![]() |
![]() |
![]() |
![]() |
|
| 2 | Метрическая коническая | ![]() |
![]() |
![]() |
![]() |
|
| 3 | Трубная цилиндрическая | ![]() |
![]() |
![]() |
![]() |
|
| 4 | Трубная коническая | ![]() |
![]() |
![]() |
||
| 5 | Коническая дюймовая | ![]() |
![]() |
|||
| 6 | Трапецеидальная | ![]() |
![]() |
![]() |
![]() |
|
| 7 | Упорная | ![]() |
![]() |
Продолжение таблицы 1.2.1
| 8 | Круглая | ![]() |
![]() |
![]() |
||
| 9 | Прямоугольная | ![]() |
![]() |
1.2.1. Метрическая резьба
Метрическая резьба (см. табл.1.2.1) является основным типом крепежной резьбы. Профиль резьбы установлен ГОСТ 9150–81 и представляет собой равносторонний треугольник с углом профиля α = 60°. Профиль резьбы на стержне отличается от профиля резьбы в отверстии величиной притупления его вершин и впадин. Основными параметрами метрической резьбы являются: номинальный диаметр – d ( D ) и шаг резьбы – Р , устанавливаемые ГОСТ 8724–81.
По ГОСТ 8724–81 каждому номинальному размеру резьбы с крупным шагом соответствует несколько мелких шагов. Резьбы с мелким шагом применяются в тонкостенных соединениях для увеличения их герметичности, для осуществления регулировки в приборах точной механики и оптики, с целью увеличения сопротивляемости деталей самоотвинчиванию. В случае, если диаметры и шаги резьб не могут удовлетворить функциональным и конструктивным требованиям, введен СТ СЭВ 183–75 «Резьба метрическая для приборостроения». Если одному диаметру соответствует несколько значений шагов, то в первую очередь применяются большие шаги. Диаметры и шаги резьб, указанные в скобках, по возможности не применяются.
В случае применения конической метрической (см. табл.1.2.1) резьбы с конусностью 1:16 профиль резьбы, диаметры, шаги и основные размеры установлены ГОСТ 25229–82. При соединении наружной конической резьбы с внутренней цилиндрической по ГОСТ 9150–81 должно обеспечиваться ввинчивание наружной конической резьбы на глубину не менее 0,8.
1.2.2. Дюймовая резьба
В настоящее время не существует стандарт, регламентирующий основные размеры дюймовой резьбы. Ранее существовавший ОСТ НКТП 1260 отменен, и применение дюймовой резьбы в новых разработках не допускается.
Дюймовая резьба применяется при ремонте оборудования, поскольку в эксплуатации находятся детали с дюймовой резьбой. Основные параметры дюймовой резьбы: наружный диаметр, выраженный в дюймах, и число шагов на дюйм длины нарезанной части детали.
1.2.3. Трубная цилиндрическая резьба
В соответствии с ГОСТ 6367–81 трубная цилиндрическая резьба имеет профиль дюймовой резьбы, т. е. равнобедренный треугольник с углом при вершине, равным 55° (см. табл.1.2.1).
Резьба стандартизована для диаметров от
" до 6" при числе шагов z
от 28 до 11. Номинальный размер резьбы условно отнесен к внутреннему диаметру трубы (к величине условного прохода). Так, резьба с номинальным диаметром 1 мм имеет диаметр условного прохода 25 мм, а наружный диаметр 33,249 мм.
Трубную резьбу применяют для соединения труб, а также тонкостенных деталей цилиндрической формы. Такого рода профиль (55°) рекомендуют при повышенных требованиях к плотности (непроницаемости) трубных соединений. Применяют трубную резьбу при соединении цилиндрической резьбы муфты с конической резьбой труб, так как в этом случае отпадает необходимость в различных уплотнениях.
1.2.4. Трубная коническая резьба
Параметры и размеры трубной конической резьбы определены ГОСТ 6211–81, в соответствии с которым профиль резьбы соответствует профилю дюймовой резьбы (см. табл.1.2.1). Резьба стандартизована для диаметров от 1/16" до 6" (в основной плоскости размеры резьбы соответствуют размерам трубной цилиндрической резьбы).
Нарезаются резьбы на конусе с углом конусности j/2 = 1°47'24" (как и для метрической конической резьбы), что соответствует конусности 1:16.
Применяется резьба для резьбовых соединений топливных, масляных, водяных и воздушных трубопроводов машин и станков.
1.2.5. Трапецеидальная резьба
Трапецеидальная резьба имеет форму равнобокой трапеции с углом между боковыми сторонами, равным 30° (см. табл.1.2.1). Основные размеры диаметров и шагов трапецеидальной однозаходной резьбы для диаметров от 10 до 640 мм устанавливают ГОСТ 9481–81. Трапецеидальная резьба применяется для преобразования вращательного движения в поступательное при значительных нагрузках и может быть одно- и многозаходной (ГОСТ 24738–81 и 24739–81), а также правой и левой.
1.2.6. Упорная резьба
Упорная резьба, стандартизованная ГОСТ 24737–81, имеет профиль неравнобокой трапеции, одна из сторон которой наклонена к вертикали под углом 3°, т. е. рабочая сторона профиля, а другая – под углом 30° (см. табл.1.2.1). Форма профиля и значение диаметров шагов для упорной однозаходной резьбы устанавливает ГОСТ 10177–82. Резьба стандартизована для диаметром от 10 до 600 мм с шагом от 2 до 24 мм и применяется при больших односторонних усилиях, действующих в осевом направлении.
1.2.7. Круглая резьба
Круглая резьба стандартизована. Профиль круглой резьбы образован дугами, связанными между собой участками прямой линии. Угол между сторонами профиля α = 30° (см. табл.1.2.1). Резьба применяется ограниченно: для водопроводной арматуры, в отдельных случаях для крюков подъемных кранов, а также в условиях воздействия агрессивной среды.
1.2.8. Прямоугольная резьба
Прямоугольная резьба (см. табл.1.2.1) не стандартизована, так как наряду с преимуществами, заключающимися в более высоком коэффициенте полезного действия, чем у трапецеидальной резьбы, она менее прочна и сложнее в производстве. Применяется при изготовлении винтов, домкратов и ходовых винтов.
1.3. Условное изображение резьбы. ГОСТ 2.311–68
Построение винтовой поверхности на чертеже – длительный и сложный процесс, поэтому на чертежах изделий резьба изображается условно, в соответствии с ГОСТ 2.311–68. Винтовую линию заменяют двумя линиями – сплошной основной и сплошной тонкой.
Резьбы подразделяются по расположению на поверхности детали на наружную и внутреннюю.
1.3.1. Условное изображение резьбы на стержне

Рис.1.3.1.1
Наружная резьба на стержне (рис.1.3.1.1) изображается сплошными основными линиямипо наружному диаметру и сплошными тонкими – по внутреннему диаметру, а на изображениях, полученных проецированием на плоскость, перпендикулярную оси стержня, тонкую линию проводят на 3 /4 окружности, причем эта линия может быть разомкнута в любом месте (не допускается начинать сплошную тонкую линию и заканчивать ее на осевой линии). Расстояние между тонкой линией и сплошной основной не должно быть меньше 0,8 мм и больше шага резьбы, а фаска на этом виде не изображается. Границу резьбы наносят в конце полного профиля резьбы (до начала сбега) сплошной основной линией, если она видна.Сбег резьбы при необходимости изображают сплошной тонкой линией.

Рис.1.3.1.2
Из технологических соображений на части детали (стержня) может быть осуществлен недовод резьбы. Суммарно недовод резьбы и сбег представляют собой недорез резьбы (ГОСТ 10548–80). Размер длины резьбы указывается, как правило, без сбега.
1.3.2. Условное изображение резьбы в отверстии

Рис.1.3.2.1
Внутренняя резьба – изображается сплошной основной линией по внутреннему диаметру и сплошной тонкой – по наружному. Если при изображении глухого отверстия, конец резьбы располагается близко к его дну, то допускается изображать резьбу до конца отверстия. Резьбу с нестандартным профилем следует изображать.
1.3.3. Условное изображение резьбы в сборе

Рис.1.3.3.1
На разрезах резьбового соединения в изображении на плоскости, параллельной его оси в отверстии, показывают только ту часть резьбы, которая не закрыта резьбой стержня.
Штриховку в разрезах и сечениях проводят до сплошной основнойлинии, т.е. до наружного диаметра наружной резьбы и внутреннегодиаметра внутренней.
1.4. Условное изображение резьб
Таблица 1.4.1
| Тип резьбы | Условное обозначение типа резьбы |
Размеры, указываемые на чертеже |
Обозначение резьбы на чертежах | |||
| на изображениях в плоскости, параллельной оси резьбы | на изображениях в плоскости, перпендикулярной оси резьбы | |||||
| на стержне | В отверстии | на стержне | В отверстии | |||
Метрическая с крупным шагом ГОСТ 9150-81 |
M | Наружный диаметр (мм) |
![]() |
![]() |
![]() |
![]() |
Метрическая с мелким шагом ГОСТ 9150-81 |
M | Наружный диаметр и шаг резьбы (мм) |
![]() |
![]() |
![]() |
![]() |
Трапецеидальная однозаходная ГОСТ 9484-81 (СТ СЭВ 146-78) |
Tr | Наружный диаметр и шаг резьбы (мм) |
![]() |
![]() |
![]() |
![]() |
Трубная цилиндрическая ГОСТ 6357-81 (СТ СЭВ 1157-78) |
G | Условное обозначение в дюймах | ![]() |
![]() |
![]() |
![]() |
Коническая дюймовая ГОСТ 6111-52 |
K | Условное обозначение в дюймах |
![]() |
![]() |
![]() |
![]() |
Трубная коническая ГОСТ 6211–81 (СТ СЭВ 1159–78): наружная и внутренняя |
R Rc |
Условное обозначение в дюймах | ![]() |
![]() |
![]() |
![]() |
Для обозначения резьб пользуются стандартами на отдельные типы резьб. Для всех резьб, кроме конических и трубной цилиндрической, обозначения относятся к наружному диаметру и проставляются над размерной линией, на ее продолжении или на полке линии-выноски. Обозначения конических резьб и трубной цилиндрической наносят только на полке линии-выноски.
Резьбу на чертеже условно обозначают в соответствии со стандартами на изображение, диаметры, шаги и т. д.
Метрическая резьба обозначается в соответствии с ГОСТ 9150–81.
Метрическая резьба подразделяется на резьбу с крупным шагом, обозначаемой буквой М с указанием номинального диаметра цилиндрической поверхности, на которой резьба выполнена, например М12, и резьбу с мелким шагом, обозначаемой указанием номинального диаметра, шага резьбы и поля допуска, например М24´2–6g или М12´1–6Н.
При обозначении левой резьбы после условного обозначения ставят LH.
Многозаходные резьбы обозначаются, например трех-заходная, М24´З(P1)LH, где М – тип резьбы, 24 – номинальный диаметр, 3 – ход резьбы, P 1 – шаг резьбы. Приведенные обозначения левой и многозаходной резьб могут быть отнесены ко всем метрическим резьбам.
Метрическая коническая резьба обозначается в соответствии с ГОСТ 25229–82. В обозначение резьбы включаются буквы МК. Применяются соединения внутренней цилиндрической резьбы с резьбой наружной конической. Размеры элементов профиля конической и цилиндрической резьб принимаются по ГОСТ 9150–81. Соединение такого типа должно обеспечивать ввинчивание конической резьбы на глубину не менее 0,8l (где l – длина резьбы без сбега). Обозначение внутренней цилиндрической резьбы состоит из номинального диаметра, шага и номера стандарта (например: М20´1,5 ГОСТ 25229–82).

Рис.1.4.1
Соединение внутренней цилиндрической резьбы с наружной конической (рис.1.4.1) обозначается дробью М/МК, номинальным диаметром, шагом и номером стандарта: М/МК 20´1,5LH ГОСТ 25229–82. При отсутствии особых требований к плотности соединений такого рода или при применении уплотнений для достижения герметичности таких соединений номер стандарта в обозначении соединений опускается, например: М/МК 20´1,5 LH.
Поле допуска среднего диаметра внутренней цилиндрической резьбы должно соответствовать 6Н по ГОСТ 16093–81, а предельное отклонение внутреннего диаметра и среза впадин внутренней цилиндрической резьбы принимается в пределах: верхнее предельное отклонение (+0,12) -г- (+0,15), а нижнее предельное отклонение равняется 0.
Трубная цилиндрическая резьба. Условное обозначение резьбы состоит из буквы G , обозначения размера резьбы, класса точности среднего диаметра (А или В ). Для левой резьбы применяется условное обозначение LH. Например, G11 /2 LH–В–40 длина свинчивания, указываемая при необходимости.
Соединение внутренней трубной цилиндрической резьбы класса точности А с наружной трубной конической резьбой по ГОСТ 6211–81 обозначается следующим образом: например, G/Rp –11 /2 –А.
При обозначении посадок в числителе указывается класс точности внутренней резьбы, а в знаменателе — наружной. Например: G 11 /2 –А/В.
Трубная коническая резьба. В обозначение резьбы входят буквы: R – для конической наружной резьбы, R c – для конической внутренней резьбы, R p – для цилиндрической внутренней резьбы и обозначение размера резьбы. Для левой резьбы добавляются буквы LH. Условный размер резьбы, а также ее диаметры, измеренные в основной плоскости, соответствуют параметрам трубной цилиндрической резьбы, имеющей тот же условный размер. Поэтому детали с трубной конической резьбой достаточно часто применяются в соединениях с деталями с трубной цилиндрической резьбой, что обеспечивает достаточно высокую герметичность соединений. Резьбовые соединения обозначаются в виде дроби, в числителе которой указывается буквенное обозначение внутренней резьбы, а в знаменателе – наружной. Пример обозначения:

— внутренняя трубная цилиндрическая резьба класса точности А по ГОСТ 6357–81.
Трапецеидальная резьба. Условное обозначение трапецеидальной резьбы состоит из букв Тr , номинального диаметра, хода Р n и шага Р . Например: Tr20´4LH–8H, где LH – обозначение левой резьбы, 8Н – основное отклонение резьбы.
При необходимости вслед за основным отклонением резьбы указывается длина свинчивания L (в мм). Например: Тг40´6–8g–85; 85 – длина свинчивания.
Резьба упорная. Обозначение резьбы состоит из буквы S , номинального диаметра, шага и основного отклонения S80´10–8Н.
Для левой резьбы после условного обозначения резьбы указывают буквы LH.
Для многозаходной резьбы вводят дополнительно значение хода совместно с буквой Р и значение шага. Так, двухзаходная резьба с шагом 10 мм обозначается S80´2(P10).
Прямоугольная резьба не стандартизована. При изображении прямоугольной резьбы рекомендуется вычерчивать местный разрез, на котором проставляют необходимые размеры.
Специальные резьбы. Если резьба имеет стандартный профиль, но отличается от соответствующей стандартной резьбы диаметром или шагом, то резьба называется специальной. В этом случае к обозначению резьбы добавляется надпись Сп , а в обозначении резьбы указываются размеры наружного диаметра и шага резьбы, например: Сп.М19´1Д Резьба с нестандартным профилем изображается так, как это представлено в п.9 табл.1, с нанесением размеров, необходимых для изготовления резьбы.
1 .5. Технологические элементы резьбы


Рис.1.5.1
Резьбы метрическая, одноходовая, трапецеидальная, трубная цилиндрическая, трубная коническая, коническая дюймовая с углом профиля 60° имеют технологические элементы, связанные с выходом резьбы, к которым относятся: сбег, недорез, проточка и фаска.
1.5.1. Фаски резьбовые. ГОСТ 10549–80
Фаски на стержнях и в отверстиях с резьбой (кроме метрической резьбы) имеют форму усеченного конуса с углом при вершине 90° и высотой Z . Фаски на метрической наружной резьбе имеют угол при вершине конуса 90° и заданный диаметр меньшего основания конуса. Фаски на метрической внутренней резьбе имеют угол при вершине конуса 120° и заданный диаметр большего основания усеченного конуса. Фаски изображают только на проекции, параллельной оси резьбы, или в сечении плоскостью, проходящей через ось резьбы. На проекции на плоскость, перпендикулярную к оси резьбы, фаску не показывают.
Форму и размеры фасок для наружной метрической резьбы, крепежных изделий устанавливает ГОСТ 12414–66 (СТ СЭВ 215–82). Определяющим размером служит наружный диаметр резьбы d . Форму и размеры фасок для внутренней метрической резьбы устанавливает ГОСТ 10549–80. Определяющим размером служит наружный диаметр резьбы D .
Форму и размеры фасок для трапецеидальной резьбы устанавливает ГОСТ 10549–80. Определяющим размером служит шаг резьбы Р.
Форму и размеры фасок для трубной конической резьбы и конической дюймовой резьбы устанавливает ГОСТ 10549–80. Определяющим параметром служит число шагов резьбы на длине 25,4 мм. Форму и размеры фасок для трубной цилиндрической резьбы устанавливает ГОСТ 10549–80. Определяющим параметром служит число шагов резьбы на длине 25,4 мм.
1.5.2. Проточки резьбовые. ГОСТ 10549–80


Рис.1.5.2.1
Проточку (рис.1.5.2.1) делают у конца резьбы для выхода инструмента и получения резьбы полного профиля на всей длине стержня или отверстия. На чертежах детали проточку изображают упрощенно и дополняют чертеж выносным элементом в увеличенном масштабе.
Форму и размеры проточек наружной резьбы (при выполнении резьбы нарезанием) устанавливает ГОСТ 10549–80 (СТ СЭВ 214–75). Определяющим размером служит шаг резьбы Р.
Форму и размеры проточек для внутренней метрической резьбы устанавливает ГОСТ 10549–80. Определяющим размером служит шаг резьбы Р.
Форму и размеры проточек для трапецеидальной резьбы устанавливает ГОСТ 10549–80. Определяющим размером служит шаг резьбы Р.
Форму и размеры проточек для трубной конической резьбы и конической дюймовой резьбы устанавливает ГОСТ 10549–80. Определяющим параметром служит число шагов резьбы на длине 25,4 мм.
Форму и размеры проточек для трубной цилиндрической резьбы устанавливает ГОСТ 10549–80. Определяющим параметром служит число шагов резьбы на длине 25,4 мм.
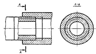
2. Резьбовые соединения

Рис.2.1
Детали машин и приборов соединяют крепежными деталями (рис.2.1). Кроме того, того применяются резьбовые соединения деталей, на одной из которых нарезана наружная резьба, а на другой – внутренняя. Такие соединения, называемые разъемными, можно разобрать без повреждения деталей. Чертежи разъемных соединений выполняют с применением рекомендуемых стандартами упрощений и условностей.
2.1. Резьбовое соединение нестандартными деталями
Помимо резьбовых соединений, осуществляемых при помощи стандартных крепежных деталей, находят широкое применение резьбовые соединения, в которых резьба выполняется непосредственно на деталях, входящих в соединение.
На рис.2.1.1 представлено соединение трубы 1 со штуцером 2 , осуществляемые при помощи накидной гайки 3 и втулки 4 , прижимающей коническую развальцованную часть трубы к штуцеру.


Рис.2.1.1
2.2. Соединение болтом упрощенное. ГОСТ 2.315–68

Рис.2.2.1
При изображении болтовых соединений размеры болта, гайки и шайбы берутся по соответствующим ГОСТам. На учебных сборочных чертежах, с целью экономии времени, болт, гайку и шайбу рекомендуется вычерчивать не по всем размерам, взятым из ГОСТа, а только по его диаметру и длине стержня. Остальные размеры обычно определяются по условным соотношениям элементов болта и гайки в зависимости от диаметра резьбы.
ГОСТ 2.315-68 предусматривает упрощенные и условные изображения крепежных деталей на сборочных чертежах.
При упрощенных изображениях (рис.2.2.1) резьба показывается по всей длине стержня крепежной резьбовой детали. Фаски, скругления, а также зазоры между стержнем детали и отверстием не изображаются. На видах, полученных проецированием на плоскость, перпендикулярную оси резьбы, резьба на стержне изображается одной окружностью, соответствующей наружному диаметру резьбы. На этих же видах не изображаются шайбы, примененные в соединении.
2.3. Соединение шпилькой упрощенное.
ГОСТ 2.315–68

Рис.2.3.1
При вычерчивании на сборочных чертежах шпилечного соединения рекомендуется, как при болтовом соединении, пользоваться условными соотношениями между диаметром резьбы d и размерами элементов гайки и шайбы.
Длину l 1 ввинчиваемого (посадочного) конца шпильки выбирают в зависимости от материала детали.
2.4. Соединение винтом упрощенное. ГОСТ 2.315–68
В винтовом соединении (рис.2.4.1), как и в шпилечном, резьбовая часть винта ввинчивается в резьбовое отверстие детали. Граница резьбы винта должна быть несколько выше линии разъема деталей. Верхние детали в отверстиях резьбы не имеют. Между этими отверстиями и винтами должны быть зазоры.

Рис.2.4.1
1. ЕСКД. ГОСТ 2.311–68, ГОСТ 2.315–68.
2. Боголюбов С.К., Воинов А.В. Черчение. М., 1983.
3. Мерзон Э.Д. и др. Машиностроительное черчение. М. Высшая школа., 1987.
4. Федоренко В.А., Шошин А.И. Справочник по машиностроительному черчению. Л., 1982.
5. Вяткин Г.П. и др. Машиностроительное черчение. М. Машиностроение., 1985.
Содержание
1. Резьба 2
1.1. Основы образования резьбы 2
1.2. Классификация резьбы 5
1.2.1. Метрическая резьба 6
1.2.2. Дюймовая резьба 7
1.2.3. Трубная цилиндрическая резьба 7
1.2.4. Трубная коническая резьба 8
1.2.5. Трапецеидальная резьба 8
1.2.6. Упорная резьба 9
1.2.7. Круглая резьба 9
1.2.8. Прямоугольная резьба 9
1.3. Условное изображение резьбы. ГОСТ 2.311–68 9
1.3.1. Условное изображение резьбы на стержне 10
1.3.2. Условное изображение резьбы в отверстии 11
1.3.3. Условное изображение резьбы в сборе 11
1.4. Условное изображение резьб 12
1.5. Технологические элементы резьбы 16
1.5.1. Фаски резьбовые. ГОСТ 10549–80 17
1.5.2. Проточки резьбовые. ГОСТ 10549–80 18
2. Резьбовые соединения 19
2.1. Резьбовые соединения нестандартными деталями 19
2.2. Соединение болтом упрощенное. ГОСТ 2.315–68 20
2.3. Соединение шпилькой упрощенное.
ГОСТ 2.315–68 21
2.4. Соединение винтом упрощенное. ГОСТ 2.315–68 21
Литература 22
Похожие рефераты:
Резьбы. Крепежные детали. Соединения
Проектирование токарного станка с числовым программным управлением повышенной точности
Южно-Ягунское нефтяное месторождение
Лабораторные работы по деталям машин
Основы теории и технологии контактной точечной сварки
Соединения деталей и узлов машин
Анализ проката ОАО "Междуреченский Трубный Завод"
Эксплуатационные скважины для освоения месторождений Западной Сибири
Ремонт и обслуживание скважин и оборудования для бурения
Повышение эффективности процессов обжима трубчатых заготовок давлением импульсного магнитного поля
Технология нарезания резьбы на изделиях из стеклопластика типа трубы



















































