| Похожие рефераты | Скачать .docx |
Курсовая работа: Промышленное здание из крупноразмерных элементов
МИНИСТЕРСТВО ОБРАЗОВАНИЯ РЕСПУБЛИКИ БЕЛАРУСЬ
УО «ГРОДНЕНСКИЙ ГОСУДАРСТКЕННЫЙ УНИВЕРСИТЕТ ИМ. Я. КУПАЛЫ»
Кафедра строительных материалов и конструкций
КУРСОВОЙ ПРОЕКТ
по дисциплине «АРХИТЕКТУРА»
Тема: Промышленное здание из крупноразмерных элементов
Цех металлоконструкций
(завода металлоконструкций)
Содержание
1. Исходные данные
2. Генеральный план
3. Объёмно-планировачные решения
4. Конструктивные решения
5. Расчёт бытовых помещений
Список литературы
Исходные данные
1. Цех Металлоконструкций №1.
2. Планировочная схема 4.

А=18м. Б=24м. В=24м. Г=24м.
НА =12,6м. НБ =12,6м. НВ =14,4м. НГ =10,8м.
QA =5т QБ =5т QВ =20т QГ =20т
L=72м
Шаг колонн Дк =6м. Дср =6м.
3. Район строительства город Слуцк.
4. Данные для расчёта бытовых помещений.
- списочный состав рабочих Р= 260чел.
- количество рабочих в максимальной смене С=150чел.
- процент женщин Ж=30%
- количество рабочих, пользующихся душем ПД=50%
5. Состав помещений завода металлоконструкций
- административно-общественная зона:
- проходная 12х12м
- заводоуправление 12х48м
- административно-бытовой корпус 18х54м
- производственная зона
- Цех металлоконструкций №-1 (проект) 90,6х48м
- Цех металлоконструкций №-2 72х144м
- Цех металлоконструкций №-3 72х120м
- обслуживающая зона
- Инструментальный цех 30х60м
- ремонтно-механический цех 48х60м
- склады металла 48х72м
- склад готовой продукции 30х72м
2. Генеральный план
При разработке генплана придерживаемся принципа функционального зонирования площадки с учетом технологических и планировочных связей между зонами и составляющими их зданиями и сооружениями.
Всего на генплане выделяем четыре основные зоны - административно-общественная, производственная (с разделением на секторы основного и сопутствующего производства), обслуживающая, вспомогательно-подсобная (энергетические объекты). При этом соблюдаем следующие требования:
- здания административного, хозяйственного и обслуживающего назначения, а также площадки остановок и стоянок общественного и индивидуального транспорта располагаем со стороны наибольшего движения потоков людей от селитебной территории;
- здания и сооружения с производствами повышенной пожарной опасности располагаем с подветренной стороны по отношению к другим зданиям и сооружениям;
- здания сопутствующего производства размещаем в зоне, соседней с зоной основного производства;
- складские здания и сооружения располагаем с учетом аффективного использования путей для погрузочных и разгрузочных операций;
- основные склады сырья и топлива размещаем около внешних границ промышленной площадки или на ближайших участках за ее пределами;
- энергетические объекты должны быть приближены к основным потребителям при наименьшей протяженности тепло- , газо-, паропроводов и линий электропередачи.
На складах металла применяют мостовые краны, электрические магнитные краны-автопогрузчики и др.
Разрывы между зданиями и сооружениями устанавливайся согласно санитарным и противопожарным нормам. Минимальное расстояние между торцами, а также между 'длинными сторонами и торцами зданий составляет 12 м. Наименьшая величина -противопожарного разрыва= 9м.
К каждому зданию предусматриваем удобные подъезды (не менее двух) и проходы к бытовым помещениям. Ширина проездов для двухстороннего движения - не менее 6 м, одностороннего - 3,5 м. Радиус закругления дорог - 10 м. Ширина тротуаров должна быть кратна 0,75 м, но не менее 2,25 м.
Проектируемый цех металлоконструкций расположен на отведенном под строительство участке в г. Слуцк обл.Минская. Территория свободна от застройки. Участок строительства расположен в непосредственной близости от автомобильной дороги. Главный въезд на территорию предусмотрен с указанной автодороги.
Свободная от застройки территория озеленяется за счет посадки деревьев, кустарников и посева газона.
Спецификация зданий
| наименование | Размеры в плане м | Площадь м2 |
| административно-общественная зона | ||
| проходная | 12х12 | 144 |
| заводоуправление | 12х48 | 576 |
| АБК | 18х54 | 972 |
| производственная зона | ||
| Цех металлоконструкций №-1 | 90,6х48 | 4348,8 |
| Цех металлоконструкций №-2 | 72х144 | 10368 |
| Цех металлоконструкций №-3 | 72х120 | 8640 |
| обслуживающая зона | ||
| Инструментальный цех | 30х60 | 1800 |
Ремонтно- механический цех |
48х60 | 2880 |
| Склад металла | 48х72 | 3456 |
| Склад готовой продукции | 30х72 | 2160 |
ТЭП Генплана
При проектированиигенплана промышленного предприятия определяем следующие технико-экономические показатели.
- Площадь застройки Sуч= 9,8532га
- Площадь занятая зданиями и сооружениями Sзд= 35344м2 .
- Плотность застройки Пз=35,84 %
- Протяжённость ограждения Lогр=1248 м.
- Площадь мощёных частей территории Sмощ= 38288м2 .
Объёмно-планировочное решение
Объёмно-планировочное решение характеризуется следующими основными пространственными параметрами:
Пролёт (расстояние между продольными модульными осями – принимается кратным 6м); А=18м. Б=24м. В=24м. Г=24м
Шаг (расстояние между поперечными модульными осями – кратно 6м): Дк =6м. Дср =6м.
Высота (расстояние от уровня пола до низа несущих конструкций покрытия на опоре – кратно 0,6м.)
НА =12,6м. НБ =12,6м. НВ =14,4м. НГ =10,8м
Привязка конструктивных элементов здания к модульным осям производим по следующим правилам:
-в одноэтажных зданиях колонны средних рядов располагают так, чтобы геометрические оси сечения нижней части колонн совпали с продольными и поперечными модульными осями. Исключения допускаются в отношении колонн по линиям деформационных швов и перепадов высот;
-в зданиях со стенами из панелей и покрытиями по стропильным фермам (балкам) внешнюю грань колонн совмещают с крайней продольной разбивочной осью, а внутреннюю плоскость стены смещают наружу на 30 мм в следующих случаях:
а) в зданиях без мостовых кранов со сборным железобетонным каркасом при шаге крайних колонн 6 или 12 м, а также в зданиях со стальным или смешанным каркасом при шаге колонн крайнего ряда 6 м;
б) в зданиях с электрическими мостовыми кранами грузоподъемностью до 30 т и сборным ж/б или смешанным каркасом при шаге колонн б м и высоте не более 14,4. м;
в) в зданиях с ручными мостовыми кранами;
-внешнюю грань смещают наружу с крайней продольной разбивочной оси на 250 мм (привязка 250), а между внутренней плоскостью стены и гранью колонн предусматривают зазор 30 мм в следующих случаях:
а) в зданиях без мостовых кранов со стальным или смешанным каркасом при шаге крайних колонн 12 м;
б) в зданиях с электрическими мостовыми кранами при шаге крайних колонн 12 м и в зданиях со стальным каркасом при шаге крайних колонн 6 м;
в) в зданиях с электрические кранами грузоподъемностью более 30 т и сборным ж/б или смешанным каркасом при шаге крайних колонн 6 м и высоте 12 м и более;
г) при наличии проходов вдоль крановых путей;
- колонны и наружные стены из панелей привязывают к крайним поперечным разбивочным осям, а также колонны к средним поперечным осям по линиям поперечных температурных швов в зданиях с покрытиями по стропильным балкам (фермам) следующим образом:
а) в торцах зданий геометрические оси сечения колонн основного каркаса смещают внутрь на 500 мм с крайней разбивочной оси, а внутренние поверхности стен - наружу на 30 мм в той же оси;
б) по линиям поперечных температурных швов геометрические оси сечения колонн смещают на 500 мм в обе стороны от оси шва, совмещаемого с поперечной разбивочной осью ;
в) в зданиях со сборным ж/б каркасом между поперечными температурными швами более, 144 м в швах предусматриваются парные разбивочные оси со вставкой между ними 1000 мм, а геометрические оси сечения колонн смещают на 500 мм с каждой из этих осей.
При устройстве продольных деформационных швов или перепада высот параллельных пролётов на парных колоннах следует предусматривать парные модульные разбивочные оси со вставкой между ними.
В зависимости от размера привязки колонн в каждом из смежных пролетов одинаковой высоты размеры вставок между парными продольными разбивочными осями принимает равными 500, 750 и 1000 мм.
Размер вставки между продольными разбивочными осями по линии перепада высот параллельных пролетов принимается в зависимости от толщины стеновых панелей и вида привязки колонн смежных пролетов. Аналогично назначается размер вставки между парными осями у деформационного шва, устраиваемого в местах взаимно перпендикулярного расположения пролетов друг относительно друга.
Конструктивные решения
Выбор конструктивных элементов и изделий осуществляем исходя из объёмно-планировочных параметров, вида и грузоподъемности кранового оборудования, климатологических характеристик района строительства.
Подбор элементов каркаса и ограждающих конструкций выполняем на основе территориальных каталогов железобетонных и металлических конструкций для промышленного строительства в Белорусской ССР ,ТК1-03.00.89, издания 1990г. В качестве конструктивной основы здания принимаем сборный железобетонный каркас с применением унифицированных элементов и изделий заводского изготовления.
Железобетонный каркас
1. Фундамент
Фундаменты под колонны выполняются монолитными железобетонными, стаканного типа с размерами, полученными в результате расчета в зависимости от инженерно-геологических условий площадки строительства.
Типовые столбовые монолитные железобетонные фундаменты под колонны промышленных зданий состоят из подколонника и одно-, двух- или трехступенчатой плитной части. Обрез фундамента располагается на отметке – 0,15м.
При вскрытии основания целиковый грунт, непосредственно воспринимающий нагрузку, выравнивается и накрывается бетонной подготовкой толщиной 100мм из бетона марки 50. на бетонную подготовку ложится подошва фундамента.
Высота ступенчатой плитной части 0,3м. площадь сечения подколонников принята 1,2х1,2м она выбирается в связи с нагрузкой, передаваемой колонной, и допускаемым удельным давлением грунта.
Зазор между гранями колонн и стенами стакана принят по верху 75мм и по низу 50мм, а между низом колонн и дном стакана 50мм. Заливка стаканов после установки колонн производится бетоном марки 200 на мелком гравии.
Фундамент под смежные колонны в температурных швах делается общий, независимо от числа колонн в узле.
2. Фундаментные балки
Балки предназначены для применения в промышленных каркасных зданиях в качестве фундаментов самонесущих стен. В данном проекте принимаются двенадцатиметровые фундаментные балки. Балки имеют трапецеидальное поперечное сечение со скосами, облегчающими извлечение балок из форм при изготовлении. Конструктивная длина балок выбирается в зависимости от ширины подколонника и местоположения балок (в средних шагах или у температурных швов). Верхняя грань всех балок располагается на 30мм ниже уровня чистого пола.
Балки свободно устанавливают на бетонные столбики необходимой высоты, бетонируемые на уступах фундаментов колонн. Зазоры между торцами балок, а также между концами балок и колоннами заполняют бетоном марки М 100.
3. Колонны
Колонны подбираются с учетом высоты каркаса, грузоподъемности крана и шага колонн. Для секций А и Б с высотой каркаса 12,6м и грузоподъемностью мостового крана 10т принимаем двухветвевые колонны марки КД 11-1 высотой 12,6м ;для секции В с высотой каркаса 14,4м и грузоподъемностью мостового крана 20т принимаем двухветвевые колонны марки КД 11-15 высотой 14,4м ; для секции Г с высотой каркаса 10,8 м и грузоподъемностью мостового крана 20т принимаем двухветвевые колонны марки КД 11-1 высотой 10,8 м Закладные элементы в местах опирания подкрановых балок и стропильных конструкций состоят из стального листа с пропущенными сквозь него анкерными болтами. Для соединения с фундаментом колонна заводится в стакан на глубину до 0,8м.

Рис 1.колонна прямоугольного сеченияK1(КП-15).
4. Подкрановые балки и крановые пути
Балки – таврого сечения 0,8м (см. рис.2). По месту в здании балки подразделяются на торцовые – у торцевых стен, рядовые и температурные – у деформационных швов. Они отличаются друг от друга наличием и расположением закладных элементов. Закладные пластины располагаются в местах опирания на колонны и установки концевых упоров, трубки – в отверстиях для крепления рельсов и троллей. Крепление подкрановой балки к консоли колонны производится на анкерных болтах, пропущенных сквозь опорный лист, предварительно приваренных к нижней закладной пластине, а к шейке колонны – путем приварки вертикального листа к закладным пластинкам. Болтовые соединения после рихтовки завариваются. Рельс в виде сварной плети на длину температурного отсека укладывается на упругой прокладке из прорезиненной ткани. Для предотвращения возможного тарана краном торцовой стены на торцовых балках устанавливаются стальные концевые упоры, страхующие здание в случае отказа автоматических тормозных устройств.
Железобетонные подкрановые балки принимаем таврового сечения (при шаге 6м) высотой 1000, I400 мм.


Рис.2 Подкрановая балка (БКНА 12-1С ).
5. Стропильные фермы
В качестве несущей конструкции покрытия используются скатнаябалка 12м (2БДР12-4). Ферма 24м (ФБ24 IV-8)..Для пролетов 24м подобраны унифицированные железобетонные безраскосные фермы с круговым очертанием. 5%-ный уклон кровли обеспечивается выпущенными из верхнего пояса «рожками» (см. рис. 3).

Рис.3 Стропильная ферма (ФБ24IV-8).
6.Фахверк
Колонны фахверков применяются в торцовых и продольных фахверках одноэтажных промышленных каркасных зданиях высотой до 18м.
Привязка колонн торцового фахверка нулевая, привязка колонн продольного фахверка определяется привязкой основных колонн каркаса.
Основными параметрами, определяющими область использования и конструкцию колонн фахверка, являются высота здания и вид несущих конструкций покрытия.
При высоте колонн 10,8-14,4м и железобетонных плитах покрытия применяются стальные фахверковые колонны двутаврового сечения.

Рис 4:а-Колонна фахверка двутаврового сечения КФ 1,3
Б- фахверка составного сечения КФ 2,4.
7.Связи
Для повышения устойчивости одноэтажных зданий в продольном направлении предусматриваются систему вертикальных и горизонтальных связей между колоннами каркаса и в покрытии.
Вертикальные связи при железобетонных колоннах каркаса в зданиях, оборудованных мостовыми кранами, связи устанавливаются в подкрановой части. Связи по колоннам при шаге 12м делают портальными.
Вертикальные связи по стальным колоннам каркаса предусматривают в каждом продольном ряду колонн в виде основных (подкрановые) и верхних (надкрановые). Основные связи устраивают в середине здания или температурного отсека, благодаря чему достигается свобода температурных перемещений конструкций в обе стороны, а также снижаются температурные напряжения в колоннах. Верхние связи устанавливают по краям температурного отсека, а также в тех панелях, где расположены вертикальные, поперечные и горизонтальные связи между ригелями покрытия. В здания без мостовых кранов связи по колоннам ставятся на всю высоту колонн.
Между опорами ферм или балок вертикальные связи устанавливают не чаще чем через один шаг колонн. В местах отсутствия вертикальных связей ставят распорки, располагаемые поверху колонн.
В покрытиях предусматривают горизонтальные связевые фермы, размещая их в уровне нижнего пояса стропильных ферм по торцам температурных блоков в каждом пролете.
Вертикальные и горизонтальные связи покрытия изготавливают из уголков, швеллеров и труб и крепят к железобетонным конструкциям болтами и сваркой.
В пролетах фонарями, в торцах фонарных проемов, устанавливают горизонтальные крестовые связи. В пределах длины фонарного проема по коньку ферм, устанавливают распорки.
В покрытиях зданий со стальным каркасом предусматривают горизонтальные связи в плоскостях верхних и нижних поясов стропильных ферм, а также вертикальные связи между фермами.

Рис5:а-Связь портальная.
Б-Связь по фермам.
8.Плиты покрытия
Для покрытия используют железобетонные ребристые плиты.

Рис.6 Плита покрытия.
9.Панели стеновые
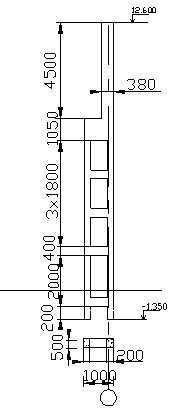
В качестве наружных ограждающих конструкций применяем навесные, стеновые панели, из легких бетонов ПСЛ 30 длинной 6м ,толщиной 300мм. Опирание нижнего ряда панелей осуществляется на фундаментные балки, пролетом 6м по серии 1.415-1,вып.1. Для навески панелей по торцам здания применяем фахверковые колонны по серии 1.427.1-3, вып.1/87. Высоту панелей принимаем 1,2м и 1,8м, пролет, соответствующий шагу колонн. При монтаже панелей особое внимание должно уделяться вопросам их крепления и опирания, а также стыкованию панелей между собой. Горизонтальные и вертикальные швы рекомендуется заполнять эластичными материалами, а с наружной стороны, дополнительно мастиками-герметиками.
Стеновые панели являются не несущей, а ограждающей конструкцией предназначенной защищать помещения от атмосферных воздействий.
При навесных стенах каждую панель опирают на столики, привариваемые к закладным деталям колонн.
10. Окна и ворота
Для естественного освещения рабочих мест применяем окна в виде ленточного остекления. Высота от пола до низа остекления принимаем 6,5 м. Световые проемы заполняются блоками с открывающимися створками. Размеры оконных блоков по высоте принимаем 1,2 и 1,8м высота одного яруса 7,8 м.
В местах входов и въездов в здание предусматриваются распашные ворота с калитками, размером 4х4,2м, а для въезда железнодорожного транспорта размеры ворот 4,7х5,6м. Для организации проемов ворот устраиваются рамы из железобетонных стоек и ригелей.
Элементы каркаса (колонны, ригели, плиты перекрытий, диафрагмы жесткости, элементы лестниц) административно-бытового корпуса принимаем для высоты этажа 3,3м. Колонны высотой на два этажа, ригели пролетом 6 и 3м. Плиты перекрытий шириной 1,2 и 1,5м.
Остекление в здании может быть в виде лент, как, и запроектировано в проекте.
Конструкции для заполнения оконных проемов здания изготовлены из дерева.
Заполнение оконных проемов состоит из проемов, переплетов с остеклением и подоконной доски. В проекте предусмотрено остекление спаренными переплетами. Оконные переплеты предусмотрены с внутренним и наружным открыванием створок.
Оконные проемы устраивают не только для придания внешнего вида здания, но и для освещения. Вентиляция здания осуществляется через открывающиеся переплёты окон.
Для отвода конденсирующей влаги в нижних брусках коробок с внутренним открыванием створок устраивают прорези шириной 16мм на расстоянии 50мм от вертикальных брусков и импостов.
Ворота служат для пропуска средств наружного транспорта, они расположены в наружных стенах, их количество составляет 8 шт.
Величина ворот должна быть больше габаритов транспорта, в груженом состоянии по ширине не менее чем 600 мм, и по высоте на 200 мм. Поэтому проектом предусмотрен следующий тип ворот: 4200х5400мм.
В пределах шага колонн, между которыми расположены ворота, фундаментную балку не укладывают.
11 Покрытие
Кровля запроектирована скатная, с уклоном 20 %.
Для направленного стока воды в воронки предусмотрены ендовы. Расстояние между воронками в ендовах не превышает48м. Водосточные трубы выполнены из чугуна диаметром 100 мм. Также предусмотрены подпольные и подвесные трубопроводы и выпуски.
Надежность рулонных кровель зависит от качества конструктивного исполнения их в местах примыкания к выступающим элементам на покрытии (парапетам и др.), установки воронок, ендов и др. к выступающим элементам покрытия приклеенный кровельный ковер прикрепляют гвоздями или дюбелями, а стыки защищают промазкой и обивают оцинкованной кровельной сталью.
12.Полы
Конструктивное решение пола связано с конкретным назначением производственного помещения. Поэтому на отдельных участках здания могут выполняться различные конструкции полов.
В общем, виде полы производственных зданий состоят из покрытия верхнего слоя, и подстилающего слоя.
В запроектированном здании представлен вид пола состоящий из следующих слоев:
1. Покрытие из асфальтобетона 50 мм.
2. Подстилающий слой из бетона 100 мм.
Основанием служит уплотненный щебнем гр
Административно-бытовой корпус
Вспомогательные помещения располагаются в отдельно стоящем здании. Конструктивную основу административно-бытового здания составляет сборный унифицированный железобетонный каркас серии 1.120.1 с сеткой колонн 6х6 м. Ширина здания 18м, длинна – 2 м.
Расчёт площадей всех помещений административно-бытового здания приведён ниже.
Р – списочный состав рабочих
Р1 – кол-во мужчин
Р2 - кол-во женщин
С – кол-во работающих в максимальной смене
С1 - кол-во мужчин работающих в максимальной смене
С2 - кол-во женщин работающих в максимальной смене
n – число посадочных мест в столовой
| Вид помещения | Показатель | Формула расчёта | Ед. | ||||
Все вспомогательные помещения: |
3,5*Р | 910 | М2 | ||||
| Все помещения ГДБ: | 1,9*Р1 | 1,9*Р2 | 356 | 130 | М2 | ||
| Гардеробная: | |||||||
| кол-во шкафов всех видов одежды | Р1 | Р2 | 260 | 78 | Чел | ||
| кол-во шкафов уличной и домашней | Р1 | Р2 | 260 | 78 | Чел | ||
| спецодежды | Р1 | Р2 | 260 | 78 | Чел | ||
| Кол-во умывальников: | С1/7 | С2/7 | 15 | 7 | Шт | ||
| Душевая: | |||||||
| кол-во кабин | С1/15 | С2/12 | 7 | 4 | шт | ||
| Преддушевая: | 1,3 м2 * 1-ну душевую | 9,1 | 5,2 | М2 | |||
| Уборная: | 1-2 шт | 2 | Шт | ||||
| Подсобные помещения: | 12-18 м2 | 18 | М2 | ||||
| Комната отдыха: | 18 м2 | 18 | М2 | ||||
| кол-во унитазов | С1/30 | С2/15 | 4 | 3 | Шт | ||
| кол-во писуаров | С1/30 | - | 4 | - | Шт | ||
| кол-во умывальников | С1/60 | С2/60 | 2 | 1 | Шт | ||
| Медкомната | 18 м2 | 18 | М2 | ||||
| Обеденный зал: | |||||||
| кол-во посадочны х мест | С/4 | 38 | Чел | ||||
| площадь | 2п | 76 | М2 | ||||
| Подсобные помещения: | 2п | 76 | М2 | ||||
| Умывальная: | n/15 | 10 | Шт | ||||
| Уборная: | 1-2 шт | 2 | Шт | ||||
| Зал собраний: | 0,3*С | М2 | |||||
| Помещения общественных организаций: | 12-48 м2 | 18 | М2 | ||||
| Рабочие комнаты конторы: | 36 м2 | 36 | М2 | ||||
| Конструкторское бюро: | 24 м2 | 24 | М2 | ||||
Литература
1. Дятков С.В. Архитектура промышленных зданий М.: Стройиздат, 1984.
2. Кутухтин Е.Г. , Коробков В, Д. Конструкции промышленных и сельскохозяйственных зданий и сооружений. Стройиздат 1982,
3. Шерешевский И.-А. Конструирование промышленных зданий и сооружений. Стройиздат, 1979
4. Шубин Л.Ф. Промышленные здания. Архитектура гражданских и промышленных зданий. М Стройиздат 1986 .
5. СНиП 2.01-01-82. Строительная климатология и геофизика 6. СНиП 2-4-79. Естественное и искусственное освещение. 7. СНиП 2-92-76. Вспомогательные здания и сооружения :
8. СНиП 2-2-80 Противопожарные нормы проектирования зданий и сооружений М.: Стройиздат, 1981
9. Типовые железобетонные конструкции зданий и сооружений для промышленного строительства: Справочник проектировщика. /Под ред. Г.Р. Бердичевского.
М.: Стройиздат 198I*
Похожие рефераты:
Проектирование 16-ти этажного 2-х секционного жилого дома в Ейске
Технология возведения подземной части здания
Арматурная сталь и металлоконструкции
Проектирование производственного одноэтажного трехпролетного здания
Разработка объемно-планировочного и конструктивного решения здания
Проектирование и расчеты одноэтажного промышленного здания
Объемно–планировочные и конструктивные решения канифольно-терпентинного цеха
Проектирование тепловой электрической станции для обеспечения города с населением 190 тысяч жителей
Технологическая карта монтажа стеновых панелей и оконных блоков одноэтажного промышленного здания
Организация строительства полносборного одноэтажного многопролетного промышленного здания