| Похожие рефераты | Скачать .docx |
Реферат: Технология высококачественного оштукатуривания кирпичных поверхностей
Технология высококачественного оштукатуривания кирпичных поверхностей
Оглавление
1. Введение
2. Инструменты и приспособления
3. Материалы
3.1 Свойства строительных материалов
3.2 Выбор марки и состава раствора
4. Технология выполнения
5. Требования к качеству
6. Организация труда и рабочего места
7. Техника безопасности
Список использованной литературы
1. Введение
Утепление здания, предохранение его от разрушения атмосферными осадками, повышенная огнестойкость - это, пожалуй, самое главное назначение штукатурных работ. Любое здание лучше всего оштукатуривать лишь после его полной осадки.
Может быть нескольких видов штукатурки. Они отличаются своими способами.
Монолитная выполняется "мокрым" способом, для "сухой" характерно выполнение работ тонкими обшивочными листами.
Штукатурка может различаться по качеству назначению и обработке поверхности. По этим критериям она может быть специальной, обычной и декоративной.
Обычную штукатурку подразделяют на следующие виды:
простая штукатурка;
улучшенная штукатурка;
высококачественная штукатурка.
Штукатурные работы являются одним из важнейших технологических процессов строительного производства, технический уровень которого в значительной степени определяет качество и долговечность объектов строительства. Одновременно они являются одними из наиболее трудоемких видов работ на строительной площадке. При строительстве различных объектов на производство штукатурных работ затрачивается до 25% общей трудоёмкости и составляет около 30% общей продолжительности цикла.
Высококачественная штукатурка предназначена для выравнивания поверхности при дальнейшем высококачественном окрашивании её различными окрасочными составами или оклейке обоями.
Высококачественная штукатурка так же предназначена для последующей облицовки поверхностей керамическими плитками. От качества выполнения данного оштукатуривания зависти качество произведённых в дальнейшем работ. Минимально допускаемые отклонения позволяют в дальнейшем производить последующие отделочные работы высокого качества.
2. Инструменты и приспособления

Штукатурная кельма (мастерок) применяется при отмеривании материалов, для перемешивания и набрасывания раствора на поверхности.
![]()
Отрезовка) - небольшая лопаточка, удобная при выполнении ремонтных работ. Служит для подрезки раствора, разделки карнизов.

Сокол - легкий деревянный щит с ручкой в середине. Изготовляется из тонких досок на шпонках или гвоздях. В продаже имеются металлические соколы

Водяной уровень - предназначен для нахождения точек, которые лежат в одной горизонтальной плоскости.
![]()
Уровень универсальный - предназначен для проверки горизонтальности и вертикальности стен/потолков.



Молоток, зубила и кисти известны всем. Кисти применяют для смачивания поверхности водой перед оштукатуриванием или во время затирки штукатурки


Полутерки) состоят из полотна и ручки, применяются для намазывания и разравнивания раствора, натирания лузг, усенков или фасок. Полотно может быть разных размеров. Для основных работ обычно используют полутерки с полотном размером 700 х (100...120) мм, толщиной 20 мм.

Терки применяются для затирки штукатурки: Они состоят из полотна длиной 140-160 м, шириной 100-120 и толщиной 20-25 мм с ручкой, выполненной по руке работающего. Крепится ручка нагелем (деревянный или металлический стержень) или обычным гвоздем так, чтобы они не выступали за плоскость полотна с рабочей стороны терки.
Правила - хорошо строганные рейки с квадратным или прямоугольным сечением.
Применяются для проверки ровности плоскостей и прямолинейности угловых кромок.
Применяют так же современные металлические правила.

Полутёрок усёночный предназначен для выведения Усенков.

Ящик растворный предназначен для замешивания раствора

Леса строительные предназначены для работы на высоте
3. Материалы
3.1 Свойства строительных материалов
Строительные материалы отличаются физическими и механическими свойствами.
Физические свойства включают в себя следующие параметры: плотность, пористость, водопоглощение, влагоотдача, гигроскопичность, водопроницаемость, морозостойкость, теплопроводность, звукопоглощение, огнестойкость, огнеупорность и некоторые другие.
Плотность.
Плотность материала бывает средней и истинной. Средняя плотность определяется отношением массы тела (кирпича, камня и т.п.) ко всему занимаемому им объему, включая имеющиеся в нем поры и пустоты, и выражается в соотношении кг/м2 .
Истинная плотность - это предел отношения массы к объему без учета имеющихся в них пустот и пор.
У плотных материалов, например у стали и гранита, средняя плотность практически равна истинной, у пористых (кирпич и т.п.) меньше.
Пористость.
Эта характеристика определяется степенью заполнения объема материала порами, которая исчисляется в процентах. Пористость влияет на такие свойства материалов, как прочность, водопоглощение, теплопроводность, морозостойкость и др.
По величине пор материалы разделяют на мелкопористые, у которых размеры пор измеряются в сотых и тысячных долях миллиметра, и крупнопористые (размеры пор - от десятых долей миллиметра до 1-2 мм). Пористость строительных материалов колеблется в широком диапазоне. Так, например, у стекла и металла она равна 0%, у кирпича пористость составляет 25-35%, у мипоры - 98%.
Влагоотдача.
Это свойство материала характеризует способность терять находящуюся в его порах влагу. Влагоотдача исчисляется процентным количеством воды, которое материал теряет за сутки (при относительной влажности окружающего воздуха 60% и его температуре 20 °C).
Влагоотдача имеет большое значение для многих материалов и изделий, например стеновых панелей и блоков, которые в процессе возведения здания обычно имеют повышенную влажность, а в обычных условиях благодаря водоотдаче высыхают. Вода испаряется до тех пор, пока не установится равновесие между влажностью материала стен и влажностью окружающего воздуха.
Водопоглощение.
Водопоглощение - это способность материала впитывать и удерживать в своих порах влагу.
По объему водопоглощение всегда меньше 100%, а по массе может быть более 100% (например, у теплоизоляционных материалов). Насыщение материала водой ухудшает его основные свойства, увеличивает теплопроводность и среднюю плотность, уменьшает прочность.
Степень снижения прочности материала при предельном его водонасыщении называется водостойкостью и характеризуется коэффициентом размягчения.
Материалы с коэффициентом размягчения не менее 0,8 относят к водостойким. Их применяют в конструкциях, находящихся в воде, и в местах с повышенной влажностью.
Гигроскопичность.
Гигроскопичность - это свойство пористых материалов поглощать влагу из воздуха. Гигроскопичные материалы (древесина, теплоизоляционные материалы, кирпичи полусухого прессования и др.) могут поглощать большое количество воды. При этом увеличивается их масса, снижается прочность, изменяются размеры. Для некоторых материалов в условиях повышенной и даже нормальной влажности приходится применять защитные покрытия. А такие материалы, как кирпич сухого прессования, можно использовать только в зданиях и помещениях с пониженной влажностью воздуха.
Водопроницаемость.
Водопроницаемостью называют способность материала пропускать воду под давлением. Эта характеристика определяется количеством воды, прошедшей при постоянном давлении в течение 1 ч через материал площадью 1 м2 и толщиной 1 м. К водонепроницаемым относятся особо плотные материалы (сталь, стекло, битум) и плотные материалы с замкнутыми порами (например, бетон специально подобранного состава).
Морозостойкость.
Морозостойкость - это способность материала в насыщенном водой состоянии выдерживать многократное попеременное замораживание и оттаивание без снижения прочности и массы, а также без появления трещин, расслаивания, крошения.
Для возведения фундаментов, стен, кровли и других частей здания, подвергающихся попеременному замораживанию и оттаиванию, необходимо применять материалы, обладающие повышенной морозостойкостью. Плотные материалы, не имеющие пор, материалы с незначительной открытой пористостью, с водопоглощением не более 0,5% обладают морозостойкостью.
Теплопроводность.
Теплопроводность - свойство материала передавать теплоту при наличии разности температур снаружи и внутри строения. Эта характеристика зависит от ряда факторов: природы и строения материала, пористости, влажности, а также от средней температуры, при которой происходит передача теплоты. Кристаллические и крупнопористые материалы, как правило, более теплопроводны, чем материалы, имеющие аморфное и мелкопористое строение. Материалы, имеющие замкнутые поры, обладают меньшей теплопроводностью, чем материалы с сообщающимися порами.
Теплопроводность однородного материала зависит от средней плотности: чем меньше плотность, тем меньше теплопроводность и наоборот. Влажные материалы более теплопроводны, чем сухие, так как теплопроводность воды в 25 раз выше теплопроводности воздуха. От данного показателя зависит толщина стен и перекрытий отапливаемых зданий.
Звукопоглощение.
Звукопоглощением называется способность материала ослаблять интенсивность звука при прохождении его через материал. Звукопоглощение зависит от структуры материала: сообщающиеся открытые поры поглощают звук лучше, чем замкнутые. Лучшими звукоизолирующими показателями обладают многослойные стены и перегородки с чередующимися слоями пористых и плотных материалов.
Огнестойкость.
Огнестойкость - это свойство материалов противостоять действию высоких температур. По степени огнестойкости материалы делят на несгораемые, трудносгораемые и сгораемые. Несгораемые материалы (кирпич, бетон, сталь) под действием огня или высоких температур не воспламеняются, не тлеют и не обугливаются, но могут сильно деформироваться.
Трудносгораемые материалы (фибролит, асфальтовый бетон) тлеют и обугливаются, но после удаления источника огня эти процессы прекращаются. Сгораемые материалы (дерево, рубероид, пластмассы) воспламеняются или тлеют и продолжают гореть или тлеть и после удаления источника огня.
Огнеупорность.
Огнеупорность - свойство материала противостоять, не деформируясь, длительному воздействию высоких температур. По степени огнеупорности материалы делят на огнеупорные, выдерживающие действие температур до 1580 °C и выше (шамотный кирпич), тугоплавкие, выдерживающие действие температур 1350-1580 °C (тугоплавкий кирпич), легкоплавкие, размягчающиеся или разрушающиеся при температуре ниже 1350 °C (керамический кирпич).
К механическим свойствам материала относят его прочность, упругость, пластичность, хрупкость, сопротивление удару и твердость.
Прочность.
Прочностью называется способность материала противостоять разрушению под воздействием внешних сил, вызывающих в нем внутренние напряжения.
Прочность материала характеризуется пределом прочности при трех видах воздействия на него - сжатии, изгибе и растяжении.
Упругость.
Упругость - это способность материала после деформирования под воздействием каких-либо нагрузок принимать первоначальную форму и размеры. Наибольшее напряжение, при котором материал еще обладает упругостью, называется пределом упругости. К упругим материалам относят резину, сталь, древесину.
Твердость.
Твердость - способность материала сопротивляться проникновению в него другого, более твердого тела. Это свойство материалов важно при устройстве полов и дорожных покрытий.
Хрупкость.
Хрупкость - свойство материала под действием внешних сил мгновенно разрушаться без заметной пластичной деформации.
К хрупким материалам относятся кирпич, природные камни, бетон, стекло.
Пластичность.
Пластичность - свойство материала изменять под нагрузкой форму и размеры без образования разрывов и трещин и сохранять изменившиеся форму и размеры после удаления нагрузки. Это свойство противоположно упругости.
К пластичным материалам относят битум, глиняное тесто и др.
Сопротивление удару.
Сопротивление удару - способность материала противостоять разрушению под действием ударных нагрузок. Плохо сопротивляются ударным нагрузкам хрупкие материалы.
Портландцемент.
Это гидравлическое вяжущее вещество, продукт тонкого измельчения клинкера с добавлением гипса (от 3 до 5%), регулирующего сроки схватывания цемента. По составу различают портландцемент без добавок, с минеральными добавками, шлакопортландцемент и др.
Начало схватывания портландцемента при температуре воды в растворе 20 °C должно наступить не ранее 45 мин с момента приготовления раствора и заканчиваться не позднее чем через 10 ч.
Если при изготовлении раствора используют воду температурой более 40 °C, схватывание может наступить слишком быстро.
Прочность портландцемента характеризуется марками 400, 500, 550 и 600. Для того чтобы приблизить российские стандарты к европейским, цемент разделен на классы: 22,5; 32,5; 42,5; 55,5 МПа.
Быстротвердеющий портландцемент.
Это портландцемент с минеральными добавками, отличающийся повышенной прочностью. Он достигает более половины запланированной прочности через 3 сут. твердения.
Быстротвердеющий цемент выпускают марок 400 и 500.
Особобыстротвердеющий высокопрочный портландцемент
Применяют в производстве сборных железобетонных конструкций и при зимних бетонных работах. Выпускают марки 600.
Белый портландцемент.
Выпускают двух видов - белый портландцемент и белый портландцемент с минеральными добавками. По степени белизны белые цементы разделяют на 3 сорта (по убыванию). Начало схватывания белого портландцемента должно наступать не раньше чем через 45 мин, конец - не позднее чем через 12 ч после приготовления раствора.
Цветной портландцемент.
Он бывает красного, желтого, зеленого, голубого, коричневого и черного цветов. Применяется для изготовления цветных бетонов и растворов, отделочных смесей и цементных красок.
Выпускают марок 300, 400 и 500.
Шлакопортландцемент.
В его состав входят доменный шлак и природный гипс, добавленные для регулирования сроков схватывания раствора.
Выпускается марками 300, 400 и 500.
Быстротвердеющий шлакопортландцемент.
Отличается повышенной прочностью уже через 3 суток твердения.
Выпускают марки 400.
Гипсоглиноземистый цемент.
Его получают путем смешивания высокоглиноземистых шлаков и природного гипса. Начало схватывания гипсоглиноземистого цемента должно наступить не раньше чем через 10 мин, конец - не позднее чем через 4 ч после приготовления раствора.
Этот материал применяют в основном при работе с камнем и для приготовления штукатурной смеси. Известь бывает трех видов: гидравлическая, высокогидравлическая, воздушная. Различаются они по способу твердения. Воздушная известь затвердевает на воздухе. Ее главный недостаток - неводостойкость.
Гидравлическая способна затвердевать на воздухе и в воде, процесс затвердевания у нее проходит быстрее, чем у воздушной, и прочность ее гораздо выше. Высокогидравлическая известь характеризуется высокой прочностью и скоростью затвердевания.
При покупке извести необходимо обращать внимание на наличие инструкции по приготовлению и хранению раствора.
Известь гасят путем обработки водой негашеной комовой извести. В зависимости от количества воды, необходимой для гашения, получают гидратную известь (пушонку), известковое тесто и известковое молоко.
Порошковая гидратная известь получается в том случае, если объем воды составляет 60-70%. В результате гашения объем извести увеличивается в 2-3 раза. Гашеная известь представляет собой белый порошок, состоящий из мельчайших частиц гидрата оксида кальция с плотностью от 400 кг/м3 (в рыхлом состоянии) до 500-700 кг/м3 (в уплотненном состоянии).
Для получения известкового теста при гашении воды берут в 3-4 раза больше, чем извести. Объем получившегося теста в 2-3 раза превышает объем извести, взятой для его приготовления.
Известковое тесто представляет собой пластическую массу белого цвета плотностью до 1400 кг/м3 .
Известь, которая погасилась хорошо, увеличившись в объеме не менее чем в 3 раза, называется жирной, увеличившаяся в объеме менее чем в 2,5 раза - тощей .
По способности к затвердению делится на гидравлическую и воздушную. В первом случае известь затвердевает и в воде, и на воздухе, а во втором, как это видно из названия, только на воздухе.
Известь получают с помощью обжига известняков в шахтных печах. После обжига получается негашеная известь - известь-кипелка, или комовая. Для гашения извести ее заливают водой из расчета 35 л воды на 10 кг извести. В процессе гашения известь начинает "кипеть", рассыпаясь на мелкие части, после чего она заметно увеличивается в объеме. По времени гашения различают быстрогасящуюся (около 8 мин), среднегасящуюся (около 25 мин) и медленногасящуюся (более 30 мин) известь.
Гашеную известь называют пушонкой . Для того чтобы все частицы извести погасились, ее нужно выдержать около 2-3 нед. под закрытой крышкой.
По истечении указанного срока остается тонкодисперсная масса с содержанием воды не более 50%.
Воздушная известь бывает негашеной и гашеной (гидратной). Известь без добавок подразделяют на 3 сорта (1-й, 2-й, 3-й), известь с добавками - на два (1-й, 2-й). Гидратная порошковая известь (пушонка), с добавками и без добавок, бывает двух сортов (1-й, 2-й).
Область применения воздушной извести - приготовление известково-песчаных и смешанных строительных растворов, которые используют в каменной кладке и при оштукатуривании поверхностей, а также для побелки и в производстве силикатных изделий.
Гидравлическая известь бывает слабогидравлической и сильногидравлической. Применяют ее для приготовления кладочных и штукатурных растворов, а также бетонов низких марок, предназначенных для твердения как на воздухе, так и в условиях повышенной влажности.
Известесодержащие гидравлические вещества.
Подразделяют на известково-шлаковые с добавлением гранулированных шлаков, известково-пуццолановые с добавлением осадочных или вулканических активных пород, известково-зольные с добавлением зол некоторых видов топлива. Известесодержащие вещества участвуют в приготовлении низких марок бетонов и растворов, которые применяют в подземных сооружениях.
Известесодержащие гидравлические вещества выпускают марок 50, 100, 150, 200.
Получают путем обжига и помола из осадочной горной породы, в состав которой входит двуводный гипс. Гипсовые вяжущие обладают способностью быстро схватываться и затвердевать. В зависимости от температуры тепловой обработки сырья выделяют две группы гипсовых вяжущих: низкообжиговые (формовочный строительный и высокопрочный гипс) и высокообжиговые (ангидритовый цемент, экстрих-гипс).
По прочности на сжатие различают 12 марок гипсовых вяжущих - от низкопрочного Г-2 до высокопрочного Г-25. По срокам схватывания их разделяют на быстротвердеющие (А), нормальнотвердеющие (Б) и низкотвердеющие (В).
По степени помола гипсовые вяжущие также делят на три группы: I, II, III.
Марки от Г-2 до Г-7 (группы А, Б, В и I, II, III) используют для изготовления разнообразных гипсовых строительных изделий. Марки от Г-2 до Г-7 (группы А, Б и II, III) применяют для изготовления тонкостенных строительных изделий и декоративных деталей. Марки от Г-2 до Г-25 (Б, В и II, III) применяют в штукатурных работах, для заделки швов и в специальных целях.
Для повышения прочности и ускорения сроков схватывания гипсовые вяжущие добавляют в известково-песчаные растворы. Они также придают большую гладкость и белизну штукатурному слою, их применяют в качестве основного вещества в мастиках.
Глина бывает жирной, полужирной (средней жирности) и тощей (суглинки). Это деление обусловлено степенью содержания в глине песка.
Глину используют в качестве вяжущего материала при изготовлении печных и штукатурных растворов, добавляют в цементные растворы, предназначенные для кладки конструкций в условиях нормальной влажности воздуха.
Плотная глина, не содержащая примесей, - прекрасный материал для строительства. Из нее делают кирпичи.
Если при строительстве дома будет использоваться глина, ее качество можно проверить следующим образом. Для этого в ведро кладут 1 кг материала и заливают его 4 л воды, хорошо все перемешивают и оставляют на 24 ч. Благодаря воде глина станет мягкой, а песок отделится от суглинка. Затем содержимое ведра снова тщательно перемешивают и сливают воду с содержащимся в ней пылеватым суглинком так, чтобы на дне ведра оказались только глина и песок. Взвешивают глину и песок и из 1 кг вычитают их массу - таким образом можно узнать, сколько суглинка было в исследуемом материале.
Качество глины зависит от ее пластичности, и его можно проверить на ощупь. Жирная глина напоминает кусок увлажненного мыла или ломтик сала. Качество глины можно определить и другим способом. Сделав из глины жгутик длиной 15 см и толщиной 2 см, нужно потянуть его за оба конца одновременно.
Тощая глина плохо растягивается, и в месте разрыва жгутика образуются неровные края. Жгутик из пластичной глины, плавно вытягиваясь, постепенно истончается и в конце концов разрывается, образуя в месте разрыва острые зубцы.
От того, какие примеси входят в состав глины, зависит ее цвет. В красный, желтый и бурый цвета окрашена глина с примесью оксида железа и оксида марганца, а в черный - с органическими примесями.
Пылеватый суглинок можно добавлять в глинобетон, чтобы увеличить его прочность и способность сохранять нужную форму после высыхания.
Растворы представляют собой минеральные смеси, затвердевающие и прочно соединяющиеся с камнем.
В состав раствора должны входить вяжущее вещество (цемент, гипс или известь), заполнитель (гравий или песок) и чистая вода.
В зависимости от назначения и применения растворных добавок готовят следующие растворы:
строительный, для кладки кирпича;
штукатурный;
гипсовый;
цементный.
Строительный раствор для кладки должен состоять из песка и извести в соотношении 3: 1 или 4:
1. В строительный раствор можно добавлять 1 или 2 лопаты вяжущего вещества и своим назначением.
В зависимости от плотности (в сухом состоянии) различают тяжелые (плотностью 1500 кг/м3 и цемента. Особенно это необходимо делать при возведении стен, несущих особую нагрузку. Песок и цемент в таком случае смешивают в соотношении 3: 1-6:
Для приготовления штукатурного раствора можно использовать как гидравлическую известь, так и воздушную.
В ее состав также входит песок. Различает штукатурный раствор для наружных работ и штукатурный раствор для внутренних работ. В первом случае гидравлическую известь и песок берут в соотношении 1: 3; воздушную известь - 1: 2.
Во втором случае гидравлическую известь и песок смешивают в соотношении 1: 5, а воздушную известь - 1: 3.
Раствор гипсовый отличается от цементного и известкового высокой прочностью и легкостью приготовления. Для этого следует взять емкость, налить в нее воду, высыпать гипс и тщательно все перемешать, чтобы не было комков, из-за которых потом могут появиться трещины. Разводят гипс водой непосредственно перед работой с ним, потому что он может загустеть раньше времени, тогда с ним нельзя будет работать. Чтобы этого не произошло, можно в гипс подмешать немного просеянного песка (2:
1), но из-за этого прочность гипса заметно снизится.
Цементный раствор необходим для приготовления долговечной штукатурки. Для этого берут чистый цемент и воду в соотношении 1: 2 (1: 3).
Растворные добавки необходимы для повышения качества растворов. Они значительно улучшают физико-механические свойства растворов, их цвет, морозостойкость.
При окрашивании растворов, кроме обычных добавок, можно использовать только краски ярких тонов, в которых нет примесей гипса и барита. Морозостойкость достигается благодаря добавлению в раствор хлоридов. Они позволяют работать с раствором при достаточно низких минусовых температурах.
Хлориды и другие средства защиты от воздействия низких температур применяют с максимальной осторожностью, потому что передозировка веществ, как правило, приводит к образованию подтеков.
Строительные растворы характеризуются тремя основными параметрами: плотностью, видом более) и легкие (плотностью менее 1500 кг/м3 ) растворы. Для изготовления тяжелых растворов применяют тяжелые кварцевые или другие пески; заполнителями в легких растворах служат легкие пористые пески из пемзы, туфов, шлаков, керамзита и т.п. Легкие растворы получают также с помощью пенообразующих добавок (поризованные растворы).
По виду вяжущего вещества строительные растворы делят на цементные (на портландцементе или его разновидностях), известковые (на воздушной или гидравлической извести), гипсовые (на основе гипсовых вяжущих) и смешанные (на цементно-известковом, цементно-глиняном, известково-гипсовом вяжущем). Растворы, приготовленные на одном вяжущем, называют простыми, а на нескольких вяжущих - смешанными (сложными).
По назначению строительные растворы бывают кладочные (для каменной кладки, монтажа стен из крупноразмерных элементов), отделочные (для оштукатуривания помещений, нанесения декоративных слоев на стеновые блоки и панели), специальные, обладающие особыми свойствами (гидроизоляционные, акустические, рентгенозащитные).
Выбор вяжущего зависит от назначения раствора, предъявляемых к нему требований, температурно-влажностного режима твердения и условий эксплуатации здания. В качестве вяжущих применяют портландцементы, пуццолановые портландцементы, шлакопортландцемент, специальные низкомарочные цементы, известь, гипсовое вяжущее. Для экономии гидравлических вяжущих и улучшения технологических свойств строительных растворов широко применяют смешанные вяжущие. Известь в строительных растворах используют в виде известкового теста или молока. Гипс в штукатурных растворах является добавкой к извести.
Вода, применяемая для растворов, не должна содержать примесей, оказывающих вредное влияние на твердение вяжущего вещества. Для этих целей пригодна водопроводная вода.
Если раствор применяют в зимних условиях, в его состав добавляют ускорители твердения, а также добавки, снижающие температуру замерзания воды (хлористый кальций, хлористый натрий, поташ, нитрат натрия и т.п.).
Состав строительного раствора обозначают количеством (по массе или объему) материалов на 1 м3 раствора или относительным соотношением (по массе или объему) исходных сухих материалов. При этом расход вяжущего принимают за 1.
Для простых растворов, состоящих из вяжущего (цемента или извести) и не содержащих минеральных добавок, состав обозначают 1: 4, то есть на 1 массовую часть цемента приходится 4 массовые части песка. Смешанные растворы, состоящие из двух вяжущих или содержащие минеральные добавки, обозначают тремя цифрами, например 1: 3: 4 (цемент: известь: песок).
Качество растворных смесей характеризуется их удобоукладываемостью - способностью укладываться без специального уплотнения на основание тонким слоем с заполнением всех его неровностей. Удобоукладываемость обусловливается подвижностью и водоудерживающей способностью растворных смесей.
Подвижность - способность растворной смеси растекаться под действием собственной массы. Подвижность определяют (в см) глубиной погружения в растворную смесь эталонного конуса массой 300 г с углом вершины 30° и высотой 15 см.
Чем глубже конус погружается в растворную смесь, тем большей подвижностью она обладает.
Степень подвижности смеси зависит от количества воды, от состава и свойств исходных материалов. Для повышения подвижности растворных смесей в них вводят пластифицирующие добавки, а также поверхностно-активные вещества.
Подвижность строительных растворов в зависимости от их назначения и способа укладки должна быть следующей.
Заполнение горизонтальных швов при монтаже стен из бетонных блоков и панелей; расшивка вертикальных и горизонтальных швов - 5-7.
Водоудерживающей способностью называют свойство раствора удерживать воду при укладке его на пористое основание. Если раствор обладает хорошей водоудерживающей способностью, частичное отсасывание воды уплотняет его в кладке, что повышает прочность раствора. Водоудерживающая способность зависит от соотношения составных частей растворной смеси. Она повышается при увеличении расхода цемента, замене части цемента известью, введении высокодисперсных добавок (золы, глины и др.), а также некоторых поверхностно-активных веществ.
Прочность затвердевшего раствора зависит от активности вяжущего, водоцементного отношения, длительности и условий твердения (температуры и влажности окружающей среды).
При укладке растворных смесей на пористое основание, способное интенсивно отсасывать воду, прочность затвердевания растворов значительно выше, чем тех же растворов, уложенных на плотное основание.
Прочность строительного раствора зависит от его марки, которую устанавливают по пределу прочности при сжатии после 28 сут. твердения при температуре воздуха 5-25 °C. Существуют следующие марки растворов: 4, 10, 15, 50, 75, 100, 150, 200 и 300.
Морозостойкость растворов определяют числом циклов попеременного замораживания и оттаивания до потери 15% первоначальной прочности (или 5% массы). По морозостойкости растворы подразделяют на марки Мрз от 10 до 300.
3.2 Выбор марки и состава раствора
Выбор раствора зависит от вида здания, условий его эксплуатации, а также от планируемой степени долговечности.
Строения, располагающиеся над землей при относительной влажности воздуха внутри до 60%, а также подземные конструкции в грунтах с небольшим уровнем влажности кладут на цементно-известковых и цементно-глиняных растворах. При этом растворы должны иметь отношение объема известкового (глиняного) теста к объему цемента, не превышающее 1,5:
Если влажность внутри здания составляет более 60% или грунт имеет повышенную влажность, это соотношение не должно превышать 1:
1. Известь и глину не применяют в растворах при кладке, расположенной ниже уровня грунтовых вод.
Цементно-известковые и цементно-глиняные растворы в летних условиях применяют при строительстве зданий, высота которых не превышает трех этажей.
Марка глиняного раствора, применяемого в сухом климате, - 10, в умеренно-влажном - 2, а для раствора с добавками - 4.
Расход вяжущих зависит от состава раствора, а также марки вяжущего и раствора.
Для кладки стен из сухих и пористых каменных материалов используют растворы с большей подвижностью, для кладки из влажных и плотных материалов - с меньшей.
Кроме растворов приготовляемых из выше описанных материалов. В современных отделочных работах применяют готовые сухие смеси, которые по своим свойствам не уступают выше перечисленным растворам. Они разводятся непосредственно перед применением водой.
Следует отметить, что при высококачественном оштукатуривании поверхности применяют маячковые профили, которые после выполнения операции разравнивание не удаляют. А заделывают раствором. Следовательно, их тоже следует отнести к материалам.
4. Технология выполнения

Технологический процесс высококачественного оштукатуривания кирпичных поверхностей состоит из следующих операций: подготовка поверхности, провешивание, установка маяков, смачивание, нанесение обрызга. нанесение одного или нескольких слоёв грунта, разравнивание грунта, нанесение накрывочного слоя, затирка, отделка углов.
Подготовка поверхности.
Новые каменные и кирпичные поверхности, выполненные в пустошовку (швы между кирпичами не заполнены раствором), имеют достаточную шероховатость, поэтому дополнительную насечку проводить на них не нужно. Достаточно лишь обмести с поверхности строительную пыль, хорошо промыть поверхность водой, при необходимости удалить загрязнения (пятна масла, краски, клея). Если швы между кирпичами заполнены раствором полностью, то на подготовительном этапе их необходимо углубить на 0,1-1 см, прочистить стальной щеткой, смести пыль и промыть.
Шероховатые новые бетонные поверхности очищают от пыли и смачивают водой, гладкие бетонные поверхности насекают, а загрязненные места очищают стальными щетками или срезают.
Любые каменные и бетонные поверхности, простоявшие неоштукатуренными более 1 года, требуют обязательной насечки, очистки от копоти и пыли, промывки. Все слабые, легко отбиваемые при насечке или отслаивающиеся участки поверхности отбивают до прочного основания.
Очистка обычно проводится стальной щеткой. Если укрепить ее на длинной ручке, то работать будет удобнее, так как вы сможете держать ее обеими руками. Щетку нужно плотно прижать к поверхности и двигать в разные стороны, чтобы счистить тонкую верхнюю загрязненную пленку. Сильно загрязненные маслами, красками, глиной места вырубают на такую глубину, чтобы на поверхности не осталось ни малейших следов загрязнения.

Рис. 1.
Провешивание.

Рис. 2.
Существует два основных способа провешивания поверхностей и установка маяков при помощи контрольно - измерительных приборов (уровень, гидроуровень, лазерный уровень. Первый способ:
Поверхности, подлежащие оштукатуриванию, проверяются провешиванием в вертикальной и горизонтальной плоскостях с установкой инвентарных съемных марок согласно рисункам 2. Стены удобнее всего провешивать отвесом, схема провешивания которым представлена на рисунке2. В углу стены на расстоянии 300 - 400 мм от потолка вбивают гвоздь 1 на толщину штукатурки. Со шляпки этого гвоздя до пола опускают отвес и вбивают внизу гвоздь 2 так, чтобы его шляпка почти касалась шнура, после чего вбивают промежуточный гвоздь 3. Аналогичным образом провешивают противоположный угол стены, вбивая поочередно гвозди 4, 5 и 6. Затем проверяют ровность плоскости стены. Для этого шнур натягивают с 1-го на 6-ой гвоздь и со 2-го на 4-ый гвоздь. Шнур не должен касаться стены, в противном случае выпуклость стены срубают. Если срубить выпуклость нельзя, вытаскивают гвозди 1, 2, 3 или 4, 5, 6 одного из вертикальных рядов и устанавливают их так, чтобы в выпуклых местах оставалась нормальная толщина штукатурки. Затем по шнуру между гвоздями 1 и 4 забивают промежуточные гвозди 7 и 8 верхнего горизонтального ряда, затем между гвоздями 3 и 6 и 2 и 5 забивают гвозди 9, 10 и 11,12.
Согласно второму способу, более современному, после указанной разметки лазерным уровнем осуществляется установка маячковых профилей. Которые крепятся на алебастр.
Конструкция маяка для строительных работ представляет облегченный Х-образный профиль длиной 2,5 м с шириной основания 20 мм, высотой направляющей стойки 6, 10 или 15 мм. Производя строительные работы, сначала производят предварительную проверку стены, натягивая шнур вверху, внизу и по диагоналям. Это дает первое представление, где и какие имеются отклонения от вертикали и плоскости, позволяет определить наибольшую выпуклость стены. Затем, выполняя строительные работы, в одном из верхних углов стены, отступив на 30 см от его вершины, ставят первую марку из штукатурной смеси. При определении высоты первой марки (лепка раствора равна высоте намёта) ориентируются на наибольшую выпуклость стены. Через каждые 30 см по вертикали вдоль оси разметки шлепками наносят растворную смесь для строительных работ, в которую 2,5-3-метровым алюминиевым уровнем вдавливают инвентарный маяк. Затем с шагом, зависящим от длины правила, (для 2-метрового он составляет 1,7-1,8 м, для 1,5-метрового - 1,2-1,3 м) выставляют последующие маяки. Они выравниваются правилом по вертикали до образования единой плоскости. Проверку установки маяков осуществляют с помощью отвеса для строительных работ, строительного уровня или лазерного уровня с вертикальной трубой. В последнее время в качестве марок часто используют саморезы, и их установку осуществляют по следующей технологии. На загрунтованной поверхности выполняют разметку вертикальных линий с интервалом на рабочую длину правила, крайние линии проводят в 20-30 см от углов стен. В строительных работах такой процесс называется "отбить" линию. Он выполняется двумя рабочими, красящаяся шнурка прижимается в крайних точках, натягивается и отпускается, оставляя след на поверхности. В углах стены, максимально приближаясь к потолку и уровню перекрытия, на разметочных линиях пробуривают отверстия коротким 6-миллиметровым сверлом. В них забивают дюбеля и вкручивают саморезы, на которые натягивают суровую нить. По отвесу для строительных работ, максимально прижимая к стене, выверяют вертикальность крайних нитей, закручивая или выкручивая саморезы. Под выверенную вертикальную нить также устанавливают дополнительные саморезы с шагом не более 50 см. Выполняя строительные работы, между крайними нитями привязывают горизонтальную нитку не затягиваемой петлей. Создается как бы чертежная рейка, способная перемещаться вверх и вниз, и с ее помощью выставляют марки-саморезы на внутренние разметочные линии. Когда в процессе строительных работ все марки-саморезы выставлены, между ними выкладывают слой гипсового раствора или любой быстросохнущей шпаклевки, применяемой в строительных работах, на толщину, превышающую плоскость саморезы на 1 см, и сразу устанавливают инвентарные маячные профили, сначала вдавливая их руками возле саморезов, и только потом прижимают 2,5-3-метровой рейкой к их головкам до упора. После схватывания раствора излишки срезают шпателем, а после окончательного высыхания маяки нужно дополнительно надежно закрепить, штукатурной смесью. Если, в процессе строительных работ, поверхности стен или перегородок выполнены со значительными отклонениями по вертикали или явно имеющие выпуклость, рациональнее выставить инвентарные маяки для строительных работ в предварительно проделываемые борозды. Такой способ особенно часто применим, когда строители, с целью исправления брака по бетонной поверхности, уже выполнили первый выравнивающий слой из гипсовой штукатурки. Сначала рядом с местом расположения будущего строительного маяка пробуривают в стене отверстия, в которые также забивают дюбеля и вкручивают саморезы-марки по отвесу, с таким расчетом, чтобы последующая толщина штукатурного намета была бы наименьшей. При проведении строительных работ для осуществления этой цели, по окончании установки всех марок на стене из саморезов выше указанным способом, в 4-5 см от них выполняют вертикальную борозду с помощью перфоратора. В углубления этой борозды утапливают маячковый инвентарный профиль в одной плоскости с марками и фиксируют раствором. По такому методу в плоскости стены устанавливают также и все последующие маяки для строительных работ с шагом, зависящим от рабочей длины правила. Для защиты внешних углов стен, оконных и дверных проемов от механических повреждений применяют инвентарные сетчатые уголки. На их внутреннюю поверхность также с шагом 30 см наносят растворную смесь и прижимают профили к углам откосов от середины к краям. Уголки устанавливают в одной плоскости с маяками. После схватывания растворной смеси, которая держит маяки и защитные уголки, поверхность готовят к оштукатуриванию.
Приготовление нанесение растворной смеси.
В пластиковую емкость залить 18л чистой холодной воды, из расчета на один мешок (30) кг сухой смеси. Сначала засыпать 7-10 мастерков сухой штукатурной смеси и перемешать 2-3 минуты. Затем постепенно высыпать остаток строительной смеси с одновременным перемешиванием вручную мастерком. После выдержки в течение 5-7 минут при помощи миксера для строительных работ или дрели с насадкой растворную смесь перемешивают до однородной консистенции. В процессе приготовления растворной смеси для достижения необходимой подвижности можно добавлять по потребности сухую смесь или воду, чего нельзя делать в процессе её использования. Подвижность смеси должна составлять 8-12 см погружения стандартного конуса. Приготовленный штукатурный раствор наносят на поверхность в течение 20 минут после его затворения широким пластмассовым полутерком или большим металлическим шпателем; на стену - снизу вверх, на потолок - на себя. Следует помнить, что приготовленная строительная растворная смесь должна быть нанесена на поверхность в течение 20 минут после приготовления.

Нанесение штукатурных слоёв.
Каждый слой штукатурки состоит из трех отдельно наносимых слоев - обрызга, грунта и накрывки, которые имеют строго определенное назначение.
Обрызг - первый слой штукатурного намета. Толщина этого слоя при нанесении вручную равна от 3 до 5 мм. При нанесении же растворонасосами толщина наносимого слоя должна быть на деревянных поверхностях не более 9 мм, а на каменных, бетонных и кирпичных не более 5 мм. Для обрызга приготовляют жидкий раствор с содержанием воды до 60% от объема вяжущего. При определении густоты наносимого механизированным способом раствора осадка конуса должна быть равной 9 см, а наносимого ручным способом - 12 см. До нанесения обрызга каменные и бетонные поверхности должны быть смочены водой.
Назначение обрызга состоит в том, что, затекая во все поры и шероховатости поверхности, он крепко сцепляется с ней и удерживает на себе тяжесть грунта и накрывки. Чем правильнее приготовлен раствор обрызга, тем лучше он затечет во все шероховатости, тем крепче сцепится с ними и тем прочнее будет держаться штукатурка.
Грунт - второй слой штукатурного намета. Раствор для грунта приготовляют более густой, чем для обрызга. Такой раствор должен быть тестообразным и содержать воды до 35% от объема вяжущего. Густота раствора грунта, независимо от способа его нанесения на оштукатуриваемую поверхность, должна быть равной 7-8 см осадки конуса.
Грунт является основным слоем намета. Он образует необходимую толщину штукатурки и выравнивает неровности поверхности.
Если толщина штукатурной корки большая, то грунт наносят в несколько слоев. Толщина каждого из этих слоев не должна превышать 10 мм.
Накрывка - третий слой штукатурной корки. Он должен быть толщиной 4 мм. По конусу густота раствора для накрывки без добавления гипса должна быть равной 7-8 см, а для накрывки с добавлением гипса 9-12 см.
Накрывка выравнивает поверхность грунта, образуя гладкую, тонкую пленку, которую можно легко затереть.
Раствор для накрывки необходимо приготовлять из мелкого песка, просеивая его через частое сито с отверстиями 1,5X1,5 мм.
Для образования штукатурного намета раствор на поверхности наносят вручную и машинами. Толщина накрывки при любом способе нанесения раствора, после ее выравнивания и затирки, должна быть не более 2 мм.
Нанесение пластичных растворов при больших объемах работ следует выполнять только машинами. В исключительных случаях, и только при небольших объемах работ (например ремонтных), ввиду нецелесообразности использования машин, раствор можно наносить вручную.
Под нанесением раствора вручную понимают две совершенно различные по выполнению операции: набрасывание и намазывание.
Во время набрасывания раствора он с силой ударяется о поверхность и уплотняется, в результате чего создается одинаковая по прочности и пористости штукатурная корка без пустот и раковин.
Для увеличения производительности труда раствор намазывают, расстилая его по поверхности тонким слоем. Намазывание раствора производят с сокола, полутерка или лопатки.
При намазывании густого раствора, если на инструмент недостаточно нажимать, штукатурная корка получается менее плотной, чем при набрасывании, и с большим количеством внутренних раковин. Однако слишком сильно нажимать не следует, так как работающий быстро устанет.
Техника работы при набрасывании раствора штукатурной лопаткой с сокола заключается в набирании раствора на сокол, забирании с сокола порции раствора и нанесении его на оштукатуриваемую поверхность. Следует помнить, что правильная хватка инструмента увеличивает производительность труда штукатура и облегчает работу.
Во время работы штукатур берет левой рукой сокол, а правой - лопатку, подходит к ящику с раствором и становится так, чтобы правая нога была ближе к ящику, а левая отставлена назад. Сокол кладут на борт ящика одной стороной, а другую поднимают на 10 см. Такое положение сокола весьма удобно для набирания раствора. Первые порции раствора кладут на верхнюю сторону сокола, а затем последовательными рядами - на нижнюю (рис3).

Рис. 3.
Набрав на сокол нужное количество раствора, сокол надо оправить, т.е. снять с краев излишки. Набирая раствор, штукатур должен держать сокол на руке. Это облегчает работу и придает соколу устойчивость.
При оштукатуривании стены сокол должен быть слегка наклонен к ней, чтобы штукатур не пачкал рук раствором. Забирать порцию раствора с сокола желательно правым ребром или концом лопатки так, чтобы она двигалась от края сокола (от себя) к его середине (рис.50).
При набрасывании лопаткой раствора на поверхность работают не всей рукой, а только кистью. При этом рабочий делает взмах лопаткой с резкой остановкой, чем достигается быстрое слетание раствора с лопатки. Взмах должен быть не очень сильным, так как от резкого толчка раствор разбрызгивается. На рис.4 показаны различные положения корпуса штукатура при набрасывании раствора на оштукатуриваемую поверхность лопаткой.

Рис. 4.
Для повышения производительности труда многие штукатуры набрасывают на стены раствор лопаткой прямо из ящика. При этом они применяют легкий передвижной ящик и лопатку увеличенного размера. Техника набрасывания раствора остается такой же, как и при набрасывании, его лопаткой с сокола.
Работа организуется следующим образом. Если оштукатуриваемая поверхность расположена ниже уровня ящика, то его устанавливают на расстоянии 1 м от стены. Штукатур забирает из него лопаткой порцию раствора и набрасывает на стены (рис.5). Если раствор набрасывают выше уровня ящика, то его ставят рядом со стеной. Это сокращает лишние движения, а отлетающий от стены раствор падает прямо в ящик. Во время работы ящик периодически передвигаю к месту набрасывания раствора.
При оштукатуривании верхних частей стен и потолков целесообразно пользоваться тележкой конструкции штукатура Я.С. Карасева (рис.5). Тележку делают металлической, на четырех колесах. Она поднимается и опускается от нажима на рычаг.


Рис. 5. Рис. 6
На тележку ставят небольшой ящик, изготовленный из металла или тонкого теса. Обычно для работы следует иметь два-три ящика. Тогда освобожденный от раствора ящик быстро снимают с тележки, а на его место ставят ящик, наполненный раствором.
При работе с тележкой штукатур встает около нее, забирает штукатурной лопаткой из ящика порцию раствора и набрасывает его на стену или потолок. Для удобства работы ящик с раствором поднимают или опускают в зависимости рис 6.
от высоты оштукатуриваемого участка. При оштукатуривании потолков ящик всегда должен находиться под оштукатуриваемым рис6 местом.
Применение тележки конструкции Я.С. Карасева дает возможность не делать лишних движений, что способствует повышению производительности труда.
Набрасывание раствора непосредственно соколом.
Многие штукатуры набрасывают раствор непосредственно соколом. Набирание раствора на сокол производят штукатурной лопаткой, совком или ковшом. Применение ковша или совка более производительно, чем лопатки.
Для нанесения раствора непосредственно соколом, на который набирают около 2 л густого раствора, следует овладеть необходимыми навыками. Набрасывать раствор соколом можно на стены, потолки, а также карнизы. При работе применяют передвижной ящик, который устанавливают на расстоянии 1,2-1,5 м от оштукатуриваемой стены.
Сокол с наложенной на него порцией раствора берут правой рукой и сильным резким взмахом снизу вверх сбрасывают на оштукатуриваемую поверхность весь раствор, который расстилается по поверхности широкой полосой. Положение корпуса рабочего при выполнении броска остается таким же, как и при нанесении раствора, лопаткой с сокола (Рис.6). Для облегчения работы желательно применять легкие металлические соколы, которыми удобно набрасывать раствор. Когда раствор набрасывают на потолки, ящик должен находиться под местом набрасывания. Во всех случаях его следует передвигать к тому месту, где выполняется работа.
Производительность труда при набрасывании раствора соколом повышается на 25-50% по сравнению с работой лопаткой.
Набрасывание раствора ковшом.
Набрасывание раствора ковшом находит широкое применение, так как работать им значительно производительнее, чем лопаткой. Во время набрасывания раствора ковшом сокращаются многие операции: многократное набирание раствора на сокол лопаткой, сбрасывание его с сокола и т.д.
Для работы применяют различные ковши. Самым распространенным является ковш конструкции А.С. Шаульского, как наиболее удобный в работе (рис.7). Ковш состоит из чашки и ручки. Чашка штампуется из тонкой прочной стали. К чашке заклепками крепится ручка, на которую насажен деревянный черенок. Емкость ковша 0,75 л.
При работе ковшом конструкции А.С. Шаульского важное значение имеет правильная хватка его, показанная на рис.7, которая улучшает и облегчает бросок и уменьшает потери раствора.
Ковшами можно набрасывать раствор на все виды поверхностей и тяг.
Набрасывать ковшом быстросхватывающиеся известково-гипсовые растворы не рекомендуется, так, как они "нарастают" на нем, утяжеляя ковш.
Предварительная тренировка в работе ковшом должна проводиться на глиняных растворах средней густоты. После освоения техники работы можно переходить на нанесение известковых, смешанных и цементных растворов.
При оштукатуривании стен передвижной ящик устанавливают на расстоянии 1 м от стены, ковш берется в правую руку, им забирают порцию раствора и сильным взмахом руки сбрасывают раствор на поверхность. Движению руки с ковшом необходимо придать такую силу, чтобы раствор вылетал из ковша, не задерживаясь в нем, и расстилался по поверхности веером. Такой бросок считается самым правильным. Чтобы раствор ложился на оштукатуриваемую поверхность ровным тонким слоем, необходимо придавать ковшу такое положение, чтобы край его как бы рассеивал раствор, направляя его тонкой струей.

Рис. 7.
Намазывание раствора с сокола.
Одним из самых распространенных способов нанесения раствора является намазывание его с сокола на стены и потолки. Намазывают только раствор грунта и накрывки, но не обрызга.
Намазывание выполняется так. В правую руку берут лопатку, а в левую - сокол с раствором. Затем приставляют сокол к оштукатуриваемой поверхности так, чтобы одна сторона его отстояла от поверхности на 5-10 см (это зависит от количества и густоты раствора), а другая была прижата к ней так, чтобы оставался зазор между оштукатуриваемой поверхностью и этой стороной полотна сокола на толщину наносимого слоя раствора. Чтобы создать необходимый нажим на раствор, сокол прижимают к поверхности концом лопатки, делая упор ею у шпонки. По мере движения сокола раствор намазывается на поверхность, а приподнятая сторона сокола постепенно прижимается к поверхности. Нажим лопатки на сокол необходимо делать равномерно, чтобы получить ровную поверхность, не требующую дополнительного разравнивания и разглаживания. (рис8).
При намазывании раствора на стены сокол ведут снизу вверх образуя вертикальные или криволинейные полосы).

Рис. 8.
Намазывание раствора полутерками.
Для намазывания раствора применяют узкие и широкие, длинные и короткие полутерки, которые изготовляют из сосновых досок, не имеющих сучков и засмолов. Полотна полутерков имеют ширину от 5 до 20 см, что зависит от длины и назначения полутерка. Ручки полутерков прочно прикрепляют к полотну деревянными нагелями, гвоздями или шурупами. Большие полутерки служат для намазывания и разравнивания раствора и для натирания углов и фасок. Ребра полутерков иногда оковывают сталью, которая предохраняет полотно от коробления и облегчает срезание затвердевшего раствора. Для намазывания рекомендуется применять широкие полутерки (шириной 15-20 см), так как на широком полутерке помещается больше раствора, что способствует увеличению производительности труда.
При работе один конец полутерка кладут на ящик, накладывают на него лопаткой грядку раствора, а затем берут обеими руками и подносят к поверхности, прижимая одну продольную сторону полутерка к стене и приподнимая вторую. Если штукатурят стену, продвигают полутерок снизу вверх, а если штукатурят потолок, - на себя, нанося таким, образом на поверхность полосы раствора одинаковой толщины.
Разравнивание раствора.
При первом выравнивании поверхность обычно имеет много дефектов, пустот и т.п. Поэтому такие места следует заполнить раствором и повторить процесс до получения ровной шероховатой поверхности. Грунт на поверхность стены между маяками можно наносить и другим способом - намазыванием раствора соколом. При этом нижнюю часть сокола с раствором приближают к стене на расстояние, равное толщине штукатурного слоя, а верхнюю отставляют от стены на 100 мм. Сокол перемещают снизу вверх. По мере его движения раствор намазывается на поверхность. (рис9).
Нанесенную растворную смесь разравнивают по маякам зигзагообразными движениями правила. Смесь, остающуюся на рабочей поверхности правила, снимают мастерком для строительных работ и наносят на незаполненные места, а затем снова выравнивают правилом или широким шпателем. После начала схватывания строительного раствора (ориентировочно через 45-70 мин) выступающие неровности растворной смеси срезают трапециевидным правилом или широким шпателем.


Рис. 9 Рис. 10.
При проведении операции разравнивание ровность поверхности проверяют правилом (рис.10)
Накрывка, затирка и заглаживание штукатурки.
Завершающим процессом отделки штукатурки является накрывка и затирка. Вместо затирки штукатурки часто производят ее заглаживание.
Чистота поверхности штукатурки зависит от правильно приготовленного раствора для накрывки. Хорошо приготовленный раствор быстрее затирается, благодаря чему увеличивается производительность труда штукатуров. Приготовление раствора и нанесение накрывки штукатурки Растворы для накрывки приготовляют либо вручную, либо растворомешалкой. Причем все материалы должны быть строго сдозированы, а раствор перемешан до полной его однородности.
Песок для приготовления накрывки следует брать мелкозернистый, так как крупнозернистый песок делает поверхность грубой.
Накрывка выполняется тем же раствором, из которого выполнен грунт штукатурки. По цементному грунту накрывают цементным раствором, по сложному - сложным, по известковому и известково-гипсовому - известковым. Добавлять гипс в раствор для накрывки не рекомендуется потому, что при затирке он быстро отмолаживается и прочность накрывочного слоя понижается. Если все же приходится добавлять гипс, то добавлять его нужно в самом небольшом количестве.
Для удобства и быстроты выполнения работы по накрывке поверхностей раствор следует приготовлять:
для накрывки растворами, содержащими гипс, с осадкой конуса 9-12 см, а для накрывки растворами без гипса - 7-8 см.
Подбор состава раствора имеет большое значение как для получения необходимой чистоты поверхности, так и для облегчения разравнивания и затирки. Нормальные по жирности растворы легко затираются и позволяют получить чистую поверхность. Жирные растворы дают более грубую поверхность с большим количеством натасков и нерастертых полос. Тощие же растворы недостаточно прочны и имеют те же недостатки, что и жирные.

рис.11
Грунт перед нанесением накрывочного слоя смачивают водой при помощи кисти. Раствор набрасывают на поверхность кельмой, разравнивая его полутерком волнообразными движениями снизу вверх. После того как накрывочный слой немного подсохнет, а штукатурный слой уже не плывет, но еще влажный, следует начинать затирку. Затирка осуществляется теркой. Для этого ее берут в правую руку, плотно прижимая к штукатурке, и перемещают по поверхности вкруговую против часовой стрелки. При этом отдельные бугорки срезаются теркой, а срезанный раствор попадает в углубления, что способствует выравниванию поверхности. Если все же после затирки остаются раковины, добавляют некоторое количество раствора и затирают их. При подсыхании накрывочного слоя до начала затирки его смачивают водой с помощью кисти. (рис. 11).
При проведении штукатурных работ особое внимание следует уделять отделке граней и углов. Грани должны быть точно вертикальными или горизонтальными. Чтобы угол грани получился острым, к краю стены прикладывают и прикрепляют ровную доску таким образом, чтобы она выступала из плоскости стены на толщину штукатурного слоя. После затвердения штукатурки доску снимают. Углы, которые в процессе эксплуатации могут быть подвержены разрушению, следует укрепить металлической сеткой или планкой и хорошо заделать раствором.
Выводить лузги и усёнки можно также при помощи лузговых и усёночных правил. (рис. 12). Тщательно натирая ими поверхность. Углы так же можно выравнивать при помощи угловых кельм (рис. 13).
Рис.12 рис.13


5. Требования к качеству
Перечень операций, подлежащих контролю при устройстве штукатурных покрытий.
| Наименование операций, подлежащих контролю | Контроль качества выполнения операций | ||||
| Произво-дителем работ | мастером | состав | способы | время | привлекаемые службы |
| Приемка поверхностей под штукатурные работы | - | Ровность, вертикальность и горизонтальность поверхностей | Визуально, при помощи рейки, отвеса и других измерительных инструментов | До начала штукатурных работ | - |
| Приемка и контроль качества штукатурного раствора | Осадка конуса, пластичность, наличие посторонних включений | Визуально, лабораторным путем | До начала и в процессе производства работ | Лаборатория | |
| Подготовка поверхностей под оштукатуривание | Очистка поверхностей от пыли, грязи, жировых пятен, провешивание поверхностей и установка маяков | Визуально, при помощи рейки и отвеса | В процессе производства штукатурных работ | ||
| Нанесение штукатурных слоев обрызга, грунта, накрывки. Отделка рустов, оконных и дверных откосов | Дозирование добавок (цемента, гипса) для штукатурного слоя в зависимости от оштукатуриваемой поверхности, толщина слоев и соблюдение допускаемых отклонений | Дозирование добавок. Толщина и отклонения при помощи измерительных инструментов | В процессе производства штукатурных работ | Лаборатория | |
| Нанесение штукатурных слоев обрызга,, накрывки. Отделка рустов, оконных и дверных откосов | Дозирование добавок (цемента, гипса) для штукатурного слоя в зависимости от оштукатуриваемой поверхности, толщина слоев и соблюдение допускаемых отклонений | Дозирование добавок. Толщина и отклонения при помощи измерительных грунта инструментов | В процессе производства штукатурных работ | Лаборатория |
| Приемка выполненных работ | Внешний вид, вертикальность, горизонтальность и неровности поверхностей | Визуально, рейка, отвес, метр и другие измерительные инструменты | После окончания штукатурных работ |
Дефекты штукатурки и меры их предупреждения.
Дефекты штукатурки бывают в виде дутиков, трещин, отлупов и т.д. и происходят по разным причинам. Чтобы получить качественную штукатурку, необходимо принимать меры к устранению указанных дефектов.
Дутики - появление вздутых мест на поверхности штукатурки. В центре каждого вздутого места имеется белая, или желтая точка, или желтое пятно.
Вздутия образуются оттого, что раствор приготовлен на невыдержанной извести, в которой не погасились отдельные мелкие частицы. Попав в штукатурку, они начинают через некоторое время гаситься. При этом гашение продолжается годами. Чтобы вздутий не было, свежегашеное или мало выдержанное известковое тесто, применяемое для приготовления раствора, надо процедить через сито с сечением ячеек не более 1,5X1,5 мм.
Желтые пятна во вздутых местах образуются оттого, что в раствор вместе с песком попали мелкие сухие комочки глины. Песок, применяемый для приготовления раствора, необходимо хорошо промыть или просеять через частое сито.
Усадочные трещины - множество крупных и мелких трещин, появляющихся на поверхности штукатурки. Трещины образуются оттого, что применяют либо жирные, либо плохо перемешанные растворы, в которых скапливается местами много вяжущих или много заполнителей.
Усадочные трещины образуются от применения отмоложенных известково-гипсовых растворов либо от быстрого высыхания нанесенной штукатурки под воздействием сильных сквозных ветров и высокой температуры. Трещины появляются также и от нанесения сразу толстых слоев раствора или оттого, что раствор тонкими слоями наносят на свеженанесенный несхватившийся раствор. Чтобы этого не было, надо приготовлять нормальные по жирности растворы, строго дозируя вяжущие и заполнители и хорошо перемешивая их в процессе приготовления раствора.
Отмоложенные растворы (отмолодку) следует добавлять в свежеприготовленный раствор в количестве, не превышающем 10%.
Нанесенную штукатурку надо оберегать от чрезмерно быстрого высыхания и от сильных ветров, для чего необходимо в оштукатуренных помещениях закрывать окна и двери. На фасадах штукатурку следует завешивать мокрыми рогожами или часто поливать водой.
Раствор следует наносить тонкими (не толще 10 мм) слоями и только на хорошо схватившиеся предыдущие слои.
Отлуп и вспучивание штукатурки происходит потому, что оштукатуривание велось по сырым поверхностям или потому, что после оштукатуривания они подвергались постоянному увлажнению. Чаще всего это бывает на известковых и известково-гипсовых штукатурках.
Для того чтобы не было отлупов и вспучивания штукатурки, необходимо сырые места хорошо просушить и только после этого "приступить к оштукатуриванию.
Трещины в виде клеток образуются как на деревянных, так и на кирпичных поверхностях: на деревянных по клеткам набитых драниц, а на кирпичных-по швам кладки. На деревянных поверхностях это происходит оттого, что на них наносят слишком тонкий слой раствора или набивают очень широкую дрань, которая коробится под слоем штукатурки и рвет ее, образуя трещины. На кирпичных стенах трещины образуются потому, что на них наносят очень тонкие слои штукатурного раствора.
Чтобы трещины не образовались, необходимо применять дрань не шире 2 см, а толщина слоя штукатурки должна быть: на кирпичных поверхностях - не менее 1,5 см, а на деревянных поверхностях - на 2 см выше уровня выходной драни.
Отслаивание штукатурки происходит по разным причинам, независимо от раствора. Причиной отслаивания может послужить то, что слои раствора наносились на сухую, не смоченную водой поверхность, на пересохшие слои ранее нанесенного раствора, или то, что последующие слои раствора наносились на более крепкие предыдущие. Например, отслаивание может произойти, если на известково-гипсовый раствор нанести очень крепкий гипсовый раствор.
Отслаивание может произойти и в том случае, если по бетонному основанию оштукатурить известковым или известково-гипсовым раствором без переходящих слоев. Во избежание этого бетонные поверхности следует сперва обрызгать цементным, затем сложным и после этого известковым раствором.
Отслаивание цветных и декоративных накрывочных слоев происходит оттого, что они наносятся на очень крепкие грунты либо на грунты с недостаточно шероховатой поверхностью или на слабые грунты, когда накрывочный слой крепче и плотнее самого грунта.
Трещины в лузгах и на штукатурке бывают оттого, что в углах стен или в местах стыков разнородных поверхностей не были набиты полоски сетки, или потому, что раствор наносится по пересушенным деревянным поверхностям, по зыбким или плохо закрепленным конструкциям.
Углы и стыки разнородных поверхностей перед оштукатуриванием следует затягивать полосками сетки и прибивать ее гвоздями. Деревянные пересушенные стены, перегородки, потолки следует перед оштукатуриванием хорошо смочить водой.
Наука и практика давно установили и характер дефектов штукатурных покрытий, и причины, их порождающие. Самое обидное, что все дефекты вовсе не должны иметь места при добросовестной работе, при соблюдении всем хорошо известных технологических правил.
Различают четыре основные причины, приводящие к браку:
плохое качество материалов для раствора;
несоблюдение правил подготовки основных поверхностей к оштукатуриванию;
неправильное выполнение работ;
небрежная эксплуатация отдельных поверхностей.
Разберем каждую из этих причин.
Итак, о растворах. Прежде всего, нужно помнить, что к образованию дефектов может привести неправильный выбор растворов. А именно: применение слишком тощих растворов ведет к понижению прочности штукатурки, слишком жирные растворы вызывают усадочные трещины (трещин не дает лишь чистый гипсовый раствор).
Причиной трещин в штукатурке является использование раствора, уже начавшего схватываться в ящике.
Известь-кипелка перед употреблением в дело гасится водой и превращается или в известковое тесто, или в известь-пушонку.
В комовой извести всегда есть частицы, которые гасятся дольше других. И если не выдержать загашенную известь определенное время, а сразу пустить ее в раствор, то непогасившиеся частицы попадут в штукатурный слой. Они обязательно потом будут взаимодействовать с влагой, причем такой процесс может обнаружить себя даже через 2...3 мес. Чаще всего и скорее они проявляются в наружной штукатурке, находящейся постоянно во влажной среде.
Частицы извести, продолжающие гаситься в штукатурном слое, увеличиваются в объеме, вспучивают штукатурку - и наружная корка отскакивает, оставляя на плоскости раковины. Строители это явление называют "дутиками" или "штукатурной оспой".
Как бороться с "дутиками"? Правильно гасить известь. Перед выпуском известкового молока его обязательно нужно пропустить через сито с ячейками 0,6 мм.
К браку может привести и недоброкачественная пушонка, полученная с завода, - в ней тоже могут быть непогасившиеся частицы. Иногда пушонку привозят в лопнувших мешках, это говорит о том, что она увеличилась в объеме - гасилась, пока дошла до стройки. Непригодна к употреблению и теплая на ощупь пушонка. Чтобы избежать неприятностей, ее надо на сутки замочить водой. С гипсом дело проще. Если он плохо схватывается, то это выясняется сразу и его, естественно, не пустят в дело. Непригоден для раствора плохо хранившийся цемент. Об этом скажет наличие в нем комьев и глыб. К образованию "дутиков" может привести применение непромытого песка, загрязненого глиной. Частицы этой глины при намокании увеличиваются в объеме и ведут себя в штукатурном слое, как и незагасившаяся известь. Для устранения "дутиков" поврежденные места расчищают и заделывают раствором заподлицо с поверхностью штукатурки.
HYPERLINK "http://www.liveinternet.ru/click" \t "_blank" Причиной трещин в штукатурке является использование раствора, уже начавшего схватываться в ящике.
| Отклонения | Разновидность штукатурки | |||||
| простая | улучшенная | высококачественная | ||||
| Неровности поверхности (обнаруживаются при накладывании правила или шаблона длиной 2 м) | Не более трех неровностей глубиной или высотой до 5 мм | Не более двух неровностей до 3 мм | Глубиной или высотой до 2 мм |
|||
Отклонение поверхности: от вертикали от горизонтали |
15 мм на высоту помещения 15 мм на все помещение | 2 мм на 1 м высоты, но не более 10 мм на всю высоту помещения 2 мм на 1 м длины, но не более 10 мм на всю длину помещения или его часть, ограниченную прогонами, балками и т.п. | 1 мм на 1 м высоты, но не более 5 мм на всю высоту помещения 1 мм на 1 м длины, но не более 7 мм на всю длину помещения или его часть, ограниченную прогонами, балками и т. п | |||
| Отклонения лузг, усенков, оконных и дверных откосов, пилястр, столбов и т.п. от вертикали и горизонтали | 10 мм на весь элемент | 2 мм на 1 м высоты или длины, но не более 5 мм на весь элемент | 1 мм на 1 м высоты или длины, но не более 3 мм на весь элемент | |||
| Отклонения | Разновидность штукатурки | |||||
| простая | улучшенная | высококачественная | ||||
| Отклонения радиуса криволинейных поверхностей от проектной величины (проверяют лекалом) | 10 мм | 7 мм | 5 мм | |||
| Отклонения ширины оштукатуренного откоса от проектной | Не проверяются | 3 мм | 2 мм | |||
| Отклонения тяг от прямой линии в пределах между углами пересечения тяг и раскреповок | 6 мм | 3 мм | 2 мм | |||
6. Организация труда и рабочего места
При производстве штукатурных работ необходимо применять поточный способ, расчленяя процесс на отдельные технологические операции, характер и количество которых зависят от вида штукатурки и материала оштукатуриваемых поверхностей. Однако, при незначительных объёмах весь их комплекс (подготовка поверхностей, нанесение и разравнивание растворов, затирка, вытягивание тяг, отделка откосов и т.д.) выполняет одно звено. Выполнение штукатурных работ связывается с ведущим технологическим процессом - возведением надземной части здания. Для повышения производительности труда и квалификации, рабочих внутренние штукатурные работы производят поточно-расчлененным методом. Одной из прогрессивных форм организации труда при штукатурных работах является работа экипажами штукатурных станций. Экипажи оснащаются полным комплектом средств механизации, приспособлений и инвентаря, включающим штукатурный агрегат для приема привозного раствора, сопла, затирочные машинки и др. Основная форма организации труда экипажей - звеньевая. Обычно бригады и экипажи состоят из 18-23 человек (4-5 звеньев).
Схема организации рабочего места звена № 1.
Двое штукатуров (Ш3 - 3 разряда, Ш 2 - 4 разряда) визуально и при помощи рейки определяют отклонения основания от вертикали, затем они очищают поверхность. Вдоль стен штукатур (Ш 5 ) 2-го разряда устанавливает подборники. После этого штукатур (Ш3 ) подает сигнал машинисту станции о включении растворонасоса. Движением сопла слева направо и сверху вниз под углом 60° - 90° к поверхности штукатур (Ш1 ) наносит слой обрызга. Штукатур (Ш4 ) поддерживает рукав, обеспечивая первому штукатуру свободное перемещение по фронту работ, а штукатур (Ш5 ) следит за состоянием напорных рукавов, предотвращая их скручивание и перегибы.
Одновременно по мере нанесения обрызга на поверхность штукатуры (Ш2 ; Ш3 ) правилами разравнивают образовавшиеся наплывы. Излишки раствора сбрасывают в подборники. При разравнивании слоя грунта один из штукатуров (Ш3 ) перемещает полутерок снизу вверх зигзагообразными движениями вправо и влево, прижимая его к стене параллельно полу так, чтобы между нижней частью полутерка и стеной образовался острый угол. Другой штукатур (Ш2 ) контрольным правилом проверяет во всех направлениях поверхность огрунтованной стены. При необходимости подмазывает оставшиеся крупные раковины, пропуски. Раствор при этом подается штукатурной лопаткой и разравнивается полутерками.
В заключении штукатуры (Ш1 ; Ш4 ) движениями правил сверху вниз и снизу вверх производят разделку углов. Линии лузг и усенков после отделки должны быть прямыми и вертикальными.
Второе звено бригады наносит накрывочный слой на поверхности стен и производит затирку накрывочного слоя механизированным способом. Вначале штукатур (Ш6 ), подав сигнал о включении накрывочного агрегата, при помощи универсальной удочки круговыми движениями слева направо и сверху вниз наносит накрывочный слой на поверхности стен.
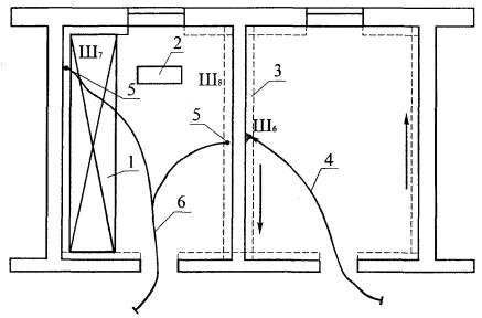
Схема организации рабочего места звена № 2 приведена на рисунке 11 Одновременно по мере нанесения накрывочного слоя два штукатура (Ш7 ; Ш8 ) производят подтягивание и разравнивание накрывочного слоя полутёрком, перемещая его в разных направлениях. При этом верхняя кромка полутерка приподнята во избежание срезания раствора. Излишки раствора подают в подборники.

Рисунок 11 - Схема организации рабочего места звена № 2.
Ш6 , Ш7 , Ш8 - места нахождения штукатуров
1 - столик-подмости; 2 - ящик для инструмента; 3 - подборники для раствора; 4 - гибкий шланг растворонасоса; 5 - затирочные машинки; 6 - электрокабель, идущий от преобразователя тока.
Стрелкой указано направление движения штукатура (Ш6 )
Штукатуры звена (Ш 6 ; Ш7 ; Ш8 ) выполняют затирку накрывочного слоя, прижимая вращающиеся диски затирочных машин к обрабатываемой поверхности стен и перемещая их.
Затирают накрывочный слой до исчезновения царапин, раковин, бугров. Подача воды регулируется клапанами, находящимися на корпусах затирочных машин. Места, недоступные для механизированной затирки, обрабатываются вручную терками.
Схема организации рабочего места звена № 3 дана на рисунке 12.
Штукатуры (Ш9 ; Ш 10 ; Ш11 ; Ш12 ; Ш13 ; Ш14 ), стоя на столике-подмостях, при помощи кисти смачивают водой поверхность откосов для лучшего сцепления раствора и с сокола наносят кельмой слой обрызга и грунта с промежутком во времени, зависящим от марки применяемого раствора и температурных условий.
Грунт разравнивают с помощью деревянных малок и полутерков по направляющим рейкам.

Рисунок 12 - Схема организации рабочего места звена № 3
Ш9 - Ш 14 - рабочие места штукатуров;
1 - столик-подмости; 2 - ящик для раствора; 3 - ведро; 4 - направляющая рейка; 5 - ящик для инструмента
Накрывочный слой наносят кельмами, выравнивают малками и затирают терками, периодически смачивая поверхность водой. Вертикальность и горизонтальность поверхности штукатурки проверяют при помощи отвеса, угольника и уровня.
Затем снимают направляющие рейки, выравнивают углы пересечения откосов, отделывают лузги и усенки.
7. Техника безопасности
При выполнении простого, улучшенного и высококачественного оштукатуривания внутренних поверхностей могут возникнуть следующие опасные и вредные производственные факторы, связанные с характером работы:
повышенная запыленность и загазованность воздуха рабочей зоны;
расположение рабочего места вблизи перепада по высоте 1,3 м и более;
острые кромки, заусенцы и шероховатость на поверхностях отделочных материалов и конструкций;
недостаточная освещенность рабочей зоны.
Для предупреждения воздействия на работников опасных и вредных производственных факторов безопасность штукатурных работ должна быть обеспечена соблюдением следующих мероприятий:
организация рабочих мест с указанием методов и средств для обеспечения вентиляции, пожаротушения, защиты от термических ожогов, освещения, выполнения работ на высоте, с использованием средств подмащивания и использованием других средств малой механизации;
способы и средства подачи материалов на рабочие места должны обеспечивать безопасность труда.
К устройству внутренних штукатурных работ с использованием средств подмащивания допускаются лица не моложе 18 лет, имеющие профессиональные навыки, прошедшие медицинское освидетельствование и признанные годными, получившие знания по безопасным методам и приемам труда согласно ГОСТ 12.0.004-90 "ССБТ. Организация обучения безопасности труда. Общие положения", сдавшие экзамены квалификационной комиссии в установленном порядке и получившие соответствующее удостоверение.
Внеочередной инструктаж по технике безопасности проводится при переводе рабочих-отделочников с одного объекта на другой, при изменении условий производства работ, нарушении бригадой правил и инструкций по безопасности труда.
Перед началом работы со штукатурами, машинистом растворонасоса и обслуживающим звеном проводится первичный инструктаж на рабочем месте по безопасному производству работ с записью результатов инструктажа в "Журнал регистрации инструктажа на рабочем месте".
Вновь принимаемые на работу должны пройти вводный инструктаж с записью в "Журнале регистрации вводного инструктажа по охране труда".
К работе с электрифицированным инструментом допускаются только рабочие, прошедшие специальное обучение согласно ГОСТ 12.0.004-90 "ССБТ. Организация обучения безопасности труда. Общие положения", инструктаж на рабочем месте по безопасности и охране труда и имеющие III категорию по электробезопасности.
При сухой очистке поверхности и других работах, связанных с выделением пыли и газов, необходимо пользоваться респираторами и защитными очками.
Работники, занятые производством штукатурных работ или работающие при повышенной запыленности и загазованности воздуха рабочей зоны, должны быть обеспечены индивидуальными и коллективными средствами защиты по ГОСТ 12.4 011-89 "ССБТ. Средства защиты работающих. Общие требования и классификация".
Перед началом работ машины и механизмы, используемые для подачи раствора, проверяются на холостом ходу. Корпуса всех механизмов должны быть заземлены, токопроводящие провода надежно изолированы, а пусковые рубильники закрыты.
К управлению механизмами допускаются лица, прошедшие специальное обучение и сдавшие экзамены по безопасности труда.
Разборка, ремонт и чистка форсунок машин, используемых при оштукатуривании, разрешается лишь после снятия давления и отключения машин от сети.
Рабочее место штукатура-оператора необходимо связывать звуковой сигнализацией с рабочим местом машиниста штукатурных машин.
Материалы и воздушные шланги растворонасоса необходимо периодически испытывать на удвоенное рабочее давление.
При работе растворонасоса запрещается перегибать подающие шланги. Продувку шлангов сжатым воздухом для устранения пробок разрешается производить только после удаления из помещения людей. По окончании работ запрещается снимать воздушный клапан и переходной патрубок, не убедившись в том, что давление упало до нуля. При работе с растворонасосом необходимо:
следить, чтобы давление в растворонасосе не превышало допустимых норм, указанных в паспорте;
удалять растворные пробки, осуществлять ремонтные работы только после отключения растворонасоса от сети и снятия давления;
осуществлять продувку растворонасоса при отсутствии людей в зоне 10 м и ближе;
держать форсунку при нанесении раствора под небольшим углом к оштукатуриваемой поверхности и на небольшом расстоянии от нее.
Переносные инструменты, машины, светильники должны иметь напряжение не более 42 В.
При применении электрических или работающих на жидком топливе воздухонагревателей для просушивания оштукатуренных поверхностей помещений здания или сооружения необходимо соблюдать требования ППБ 01-03 "Правила пожарной безопасности в Российской Федерации". Запрещается сушить помещения нагревателями открытого типа и другими устройствами, выделяющими продукты сгорания топлива.
Рабочая зона при производстве штукатурных работ должна быть освещена в соответствии со СНиП 23-05-95 "Естественное и искусственное освещение" и ГОСТ 12.1 046-85 "ССБТ. Строительство. Нормы освещения строительных площадок". Освещенность рабочих мест должна быть не менее 30 лк. Проект временного освещения должен быть разработан специализированной организацией по заказу подрядчика.
При применении составов, содержащих вредные и пожароопасные вещества, на рабочих местах должны быть первичные средства пожаротушения, приоткрыты в помещении окна для обеспечения вентиляции, а рабочие должны быть обеспечены респираторами и другими средствами индивидуальной защиты.
При приготовлении штукатурных растворов на рабочем месте необходимо использовать для этих целей помещения, оборудованные вентиляцией, не допускающей повышения предельно допустимых концентраций вредных веществ в воздухе рабочей зоны. Помещения должны быть обеспечены безвредными моющими средствами и теплой водой.
При выполнении штукатурных работ внутренних стен и перегородок необходимо строго соблюдать требования безопасности и охраны труда, экологической и пожарной безопасности согласно:
СНиП 12-03-2001 "Безопасность труда в строительстве. Часть 1. Общие требования"
СНиП 12-04-2002 "Безопасность труда в строительстве. Часть 2. Строительное производство";
ГОСТ 12.0.004-90 "ССБТ. Организация обучения безопасности труда. Общие положения";
ГОСТ 12.1 004-91* "ССБТ. Пожарная безопасность. Общие требования";
ПОТ РМ-016-2001 Межотраслевые правила по охране труда (правила безопасности) при эксплуатации электроустановок;
ППБ 01-03 Правила пожарной безопасности в Российской Федерации;
СП 12-135-2003 Безопасность труда в строительстве. Отраслевые типовые инструкции по охране труда.
Список использованной литературы
1. Белогуров В.П. Справочник молодого отделочника. - М.: Высшая школа, 1992г.237стр.
2. Белоусов Е.Д. Технология отделочных работ: Учебник для ПТУ - М.: Высшая школа, 1995 изд. Переработанное 245 стр.
3. Белоусов Е.Д. Вершинина О.С. Малярные и штукатурные работы. - М.: Высшая школа. 1990 347 стр.
4. Зубрилина С.Н. Справочник штукатура. - Ростов на Дону.: Феникс, 2003.231 стр.
5. Миткин Б.А., Титов А.И. Справочное пособие по отделочным работам. - Мн.: Высшая школа 1997.11 изд. Переработанное.157 стр.
6. Новые способы производства отделочных работ/ пер с немецкого Г.Г. Гречушниковой. - М.: Стройиздат, 1990.234 стр.
7. Пиванов А.М. Штукатурные работы: Практическое пособие. - М.: Стройиздат, 1990.321 стр.
8. Чмырь В.Д. Материаловедение для отделочников - строителей. Материалы для малярных и штукатурных работ. - М.: Высшая школа, 1990.235 стр.
9. Шепелев А.М. Штукатурные работы 11 изд. - М.: Высшая школа, 1988.341 стр.
10. Штукатурные, шпаклевочные и малярные работы: Практическое пособие/ Руденко В.И. - Стройиздат, М.: 2008.249 стр.
11. СНиП 12-03-2001 "Безопасность труда в строительстве". Часть I "Общие требования", разделы.
12. СНиП 12-04-2002 "Безопасность труда в строительстве". Часть II "Строительное производство", раздел 10.
Похожие рефераты:
Торговый центр "Вега", город Пермь
Назначение и виды штукатурных работ
Особенности выполнения штукатурных работ
Отделочные работы в учебной мастерской лаборатории поваров
Договор строительного подряда при переходе к рынку
Проектирование 9-этажного дома
Классификация строительных материалов
Строительство жилого 4-х этажного 2-х секционного дома на 16 квартир