| Похожие рефераты | Скачать .docx |
Дипломная работа: Отделка выставочного зала
МИНИСТЕРСТВО ОБРАЗОВАНИЯ РЕСПУБЛИКИ БЕЛАРУСЬ УПРАВЛЕНИЯ ОБРАЗОВАНИЯ МОГИЛЕВСКОГО ОБЛИСПОЛКОМА УЧРЕЖДЕНИЕ ОБРАЗОВАНИЯ «БОБРУЙСКИЙ ГОСУДАРСТВЕННЫЙ ПРОФЕССИОНАЛЬНО-ТЕХНИЧЕСКИЙ ХУДОЖЕСТВЕННЫЙ КОЛЛЕДЖ»
Квалификация: маляр,
облицовщик-плиточник,
штукатур
ВЫПУСКНАЯ ПИСЬМЕННАЯ РАБОТА
Тема: Отделка выставочного зала
Работа допущена к защите с оценкой____________
Разработал: гр.52____ ________________________Мурашов Д. Г.
Руководитель:_______ ________________________Кучерова Н.К.
Консультант_________ ________________________Кучерова Н.К.
Бобруйск 2007
УЧРЕЖДЕНИЕ ОБРАЗОВАНИЯ «БОБРУЙСКИЙ ГОСУДАРСТВЕННЫЙ ПРОФЕССИОНАЛЬНО-ТЕХНИЧЕСКИЙ КОЛЛЕДЖ»
Рассмотрено на «Утверждаю»
методической комиссии Зам. директора по
Протокол № _________ ОПР столярного цикла «___»_____________2007г _____В.Н. Авчинникова
«___»__________2007г.
ЗАДАНИЕ №
На выпускную письменную работу
Выдано учащемуся Мурашову Д. Г.
Группы № 52 наименование профессии маляр, облицовщик-плиточник, штукатур
Для выполнения выпускной письменной работы, представляемой к защите экзаменационной комиссии колледжа
1. Тема работы «Отделка выставочного зала»
2. Содержание расчетно-пояснительной записки (перечень вопросов)
Раздел I. Общая часть
1.1.Отделка выставочного зала
Раздел П. Специальная часть
2.1 Технология выполнения улучшенной штукатурки
2.2 Облицовочные и мозаичные работы в зимнее время
2.3 Дефекты при окраске поверхностей водными составами, их устранение
Раздел III. Организация рабочего места и техника безопасности
3.1 Организация рабочего места и техника при выполнении улучшенной штукатурки
Описание сопровождать чертежами и зарисовками.
Консультант__________________________ _________________
Срок выполнения работы_________________________________
Задание выдал « ____ »___________ 2007г.
Задание принял «_____»___________2007г
СОДЕРЖАНИЕ
Раздел I. Общая часть
1.1.Отделка выставочного зала
Раздел П. Специальная часть
2.4 Технология выполнения улучшенной штукатурки
2.5 Облицовочные и мозаичные работы в зимнее время
2.6 Дефекты при окраске поверхностей водными составами, их устранение
Раздел III. Организация рабочего места и техника безопасности
3.1 Организация рабочего места и техника при выполнении улучшенной штукатурки
Список использованных источников
Раздел I Общая часть
1.1.Отделка выставочного зала
Оштукатуривание стен
Главным условием получения ровной и прочной поверхности является ее хорошее сцепление со штукатуркой. Для достижения этого перед проведением оштукатуривания стены и перегородки необходимо подготовить. При этом нужно придать поверхности требуемую шероховатость, а также удалить загрязнения и пыль.
После этого нужно произвести проверку вертикальности и горизонтальности линий конструктивных элементов. Приступать к оштукатуриванию рекомендуется только после завершения устройства перегородок, окон, крепления дверных полотен и монтажа встроенной мебели, а также сборки электрических сетей и систем канализации, отопления, водопровода.
Прежде чем штукатурить стены, выполненные из бетона, камня или кирпича, с их поверхности предварительно нужно удалить копоть и загрязнения. Для этого лучше всего воспользоваться 3%-ным раствором соляной кислоты, остатки которой нужно смыть водой. Пятна масел можно вывести с помощью жирной глины, которую наносят на грязный участок, оставляют на некоторое время до высыхания и затем снимают острым инструментом. Удалить пыль, следы растворной массы и другие загрязнения с бетонных, каменных или кирпичных поверхностей можно, используя щетку с металлической щетиной.
В целях лучшего сцепления поверхности стен, выложенных из гладкого кирпича, со штукатуркой следует сделать надсечки. Для этого можно применять молоток и зубило. В том случае, если поверхность имеет незначительную площадь, вместо надсечек наносят слой раствора клея ПВА, смешанного с цементом.
При условии, что на стене имеются участки со впадинами, поверхность выравнивают, закрепляя металлическую сетку, собранную из проволоки. Размеры ячеек арматуры должны быть не более 10х 10 мм. Для фиксирования сетки используют гвозди, которые забивают по линии швов кирпичной кладки. К стене, сооруженной из бетона, металлическую сетку прикрепляют к выступающим концам арматуры. Для того чтобы предотвратить образование на проволоке сетки ржавчины, ее обрабатывают цементным молоком.
В целях повышения звуконепроницаемости и увеличения теплосберегающих качеств стен и перегородок, выполненных из древесных материалов, их поверхность дополнительно покрывают листами ДВП, слоем рогожи, войлока (заранее пропитанного 3%-ным раствором фтористого натрия для отпугивания моли), мешковины или толстым картоном. Такие материалы способны обеспечить надежное сцепление с раствором, приготовленным для проведения оштукатуривания, а также помогут предотвратить деформацию основных элементов конструкции и растрескивание слоя штукатурки после ее нанесения и высыхания.
Как известно, вода является одним из главных составляющих рабочего раствора. Она придает массе требуемую пластичность и, кроме того, способствует лучшему сцеплению с обрабатываемой поверхностью. Количество воды определяется требованием получить раствор, характеризующийся достаточной степенью вязкости и напоминающий жидкое тесто. И избыток, и недостаток воды в растворной массе значительно снижает ее качество. Поэтому при приготовлении раствора для добавления воды лучше всего воспользоваться обычной лейкой, снабженной ситечком.
В настоящее время для проведения оштукатуривания используют следующие виды растворов: известковый, цементный, цементно-известковый и известково-гипсовый.
Приготовление цементно-известкового раствора. Для приготовления такого раствора нужно взять 1 часть цемента, 0,3—1,5 части известкового теста, 1,5—6 частей песка и воду. Прежде всего необходимо соединить цемент и песок. Затем в полученную сухую смесь кладут известковое тесто, разведенное водой. Все тщательно перемешивают таким образом, чтобы полученная масса имела однородную консистенцию. Приготовленный таким образом раствор отличается пластичностью. Кроме того, он имеет высокую степень сцепления с поверхностью.
Приготовление известково-гипсового раствора. Для того чтобы получить быстросохнущий состав, в известковый раствор рекомендуется добавлять сухой гипс. Делают это следующим образом. Емкость наполняют водой, после чего небольшими порциями высыпают гипс. Все сразу же перемешивают до образования вязкой массы однородной консистенции. Далее в полученную смесь кладут приготовленный отдельно известковый раствор. Все вновь перемешивают. Вымешивать раствор следует не более 1,5—2 минут.
Для нанесения грунтового слоя известково-гипсовый раствор нужно готовить в пропорции 1 : 0,5 (1) : 1 (1,5); для выполнения обрызга в соотношении 1 : 0,5 (1) : 2; при накрывке — 1 : 1 (1,5) : 0.
Ремонт потолочных перекрытий из железобетонных плит
В том случае, если потолочное перекрытие имеет ровную поверхность, его ремонт может быть сведен к восстановлению слоя шпаклевки и заделыванию швов, образовавшихся между отдельными железобетонными плитами, раствором. Для устранения трещин и щелей лучше всего применять шпаклевку, приготовленную из смеси гипса и мела. Прежде чем проводить шпаклевание, поврежденные участки расчищают с помощью ножа либо шпателя, после чего увлажняют. Шпаклевочный состав следует класть, воспользовавшись широким шпателем. После того как слой шпаклевки высохнет, поверхность выравнивают пемзой или наждачной бумагой.
Если планируется произвести ремонт потолочного перекрытия, поверхность которого ранее была отделана побелкой или окрашена клеевой краской, то слой старого покрытия нужно обязательно предварительно счистить. Для удаления побелки и краски можно применить смоченную водой щетку с металлической щетиной или шпатель. Перед выполнением подобной работы предметы мебели лучше всего вынести из комнаты либо накрыть их бумагой или полиэтиленовой пленкой.
Одной из главнейших операций по ремонту потолочного перекрытия считается так называемая разделка швов, которые образуются между двумя соседними плитами. Для этого требуется сначала удалить в швах старую отделку, после чего увлажнить поверхность и затем заделать раствором, приготовленном на основе мелкозернистого песка. Покрытие выравнивают с помощью полутерка и далее затирают.
В некоторых случаях в процессе эксплуатации перекрытия в швах могут образоваться трещины. В таком случае нужно поступить следующим образом. По линии шва наносят слой краски, поверх которой укладывают бинт. После того как красящий состав высохнет, поверхность потолочного перекрытия в месте шва покрывают шпаклевкой. Слой шпаклевки следует зачистить, после чего потолочное перекрытие по всей площади нужно окрасить. В результате получают ровную поверхность.
В целях придания потолочному перекрытию особой декоративности в местах стыков железобетонных плит нередко выполняют руст. Главным требованием, предъявляемым к этой процедуре, является одинаковая ширина по всей линии длины. Кроме того, руст должен быть абсолютно прямым.
Для того чтобы устроить руст, сначала нужно удалить слой старого покрытия в местах швов. Затем из деревянной остроганной рейки следует сделать правило, длина которого соответствует длине комнаты (или плит потолочного перекрытия). Для проведения работ необходимо также приготовить полутерок-рустовку. Для фиксирования правила на потолке следует применить специальные подпорки, изготоапенные из древесины. Для укрепления конструкции между правилом и подпорками рекомендуется вбить клинья. Правило нужно располагать с учетом того, что в процессе прикладывания к нему полутерка острая режущая кромка будет приходиться на часть между плитами, точно на серединную линию шва.
После того как правило будет установлено, шов, образовавшийся между двумя соседними железобетонными плитами перекрытия, нужно хорошо увлажнить, заделать раствором, приготовленным на основе цемента и небольшого количества гипса, после чего поверхность выровнять и затереть. Далее полутерок-рустовку подносят к потолку, устанавливают в нужном месте и, с небольшим усилием придавливая его к плитам и правилу, формируют руст.
После этого руст увлажняют и при необходимости корректируют, воспользовавшись узкой теркой. |
Нередко случается так, что плиты потолочного перекрытия в процессе возведения постройки были уложены неровно, на различной высоте. Для устранения дефекта можно применить один из описанных ниже способов.
При использовании первого способа в целях выравнивания потолочное перекрытие отделывают слоем штукатурки. Для того чтобы увеличить срок службы такого покрытия, поверхности следует предварительно придать шероховатость, устроив надсечки, которые должны быть достаточной глубины.
Стоит заметить, что выполнение подобных надсечек может оказаться для новичка делом достаточно трудным. К тому же шероховатая поверхность потолка не всегда может стать залогом получения прочного сцепления материалов. В связи с этим опытные мастера при выравнивании потолка советуют прикреплять металлическую сетку, которая будет служить в качестве усиливающей арматуры.
Соединение арматурной сетки и потолочного перекрытия следует осуществлять посредством дополнительных пластин, изготовленных из куска металла. Прикрепить арматуру можно с помощью строительного пистолета. В процессе работы с инструментом необходимо соблюдать требуемые правила безопасности, указанные в инструкции. По завершении монтажа металлическую сетку нужно обработать специальным препаратом, который поможет предотвратить развитие коррозии.
Далее емкость с приготовленным штукатурным раствором устанавливают в центре комнаты, где в дальнейшем будет произведен ремонт потолка. Растворную массу можно набирать с помощью лопатки, полутерка или сокола.
Прежде чем приступать к отделке потолочного перекрытия и его выравниванию, опытные мастера советуют новичкам установить маячные рейки требуемой длины. Их ширина не должна превышать 2—3 см, а толщина — соответствовать толщине слоя укладываемой штукатурки. Для прикрепления вспомогательных деревянных реек рекомендуется применять гипсовый раствор.
Маяки нужно размещать с интервалом не менее 1,5—2 м.
В процессе выполнения оштукатуривания потолка с использованием маячных реек слой растворной смеси нужно хорошо выровнять, воспользовавшись сначала соколом или полутерком, а затем — правилом, которое с силой придавливают к рейкам. Нанесение раствора и его выравнивание следует производить до тех пор, пока его толщина будет соответствовать толщине установленных маяков. По завершении работы вспомогательные рейки удаляют, а участок потолочного перекрытия, находившийся под ними, покрывают штукатурным раствором и затем хорошо заглаживают.
Особую трудность представляет оштукатуривание потолков в местах примыкания стен и потолочного перекрытия. Образующиеся углы — лузги — необходимо делать ровными и острыми. Для того чтобы этого добиться, оштукатуривание поверхности на подобных участках проводят методом натирки с помощью обычных полутерков или полутерков, имеющих треугольную форму. После этого выложенный слой штукатурки хорошо притирают, воспользовавшись теркой.
Суть второго способа выравнивания потолков заключается в отделке поверхности какими-либо листовыми материалами. Чаще всего в этих целях применяют полотна сухой штукатурки, плиты ДВП или ДСП, цементно-стружечные или гипсокартонные листы.
Для облицовки потолочных перекрытий, выполненных из железобетонных плит, листовыми материалами необходимо предварительно закрепить каркас, собранный из реек. Использовать для прикрепления реек к потолку обычные пробки не рекомендуется. Для этого лучше всего воспользоваться металлическими уголками соответствующих размеров. Их пристреливают к перекрытию, применяя строительный пистолет.
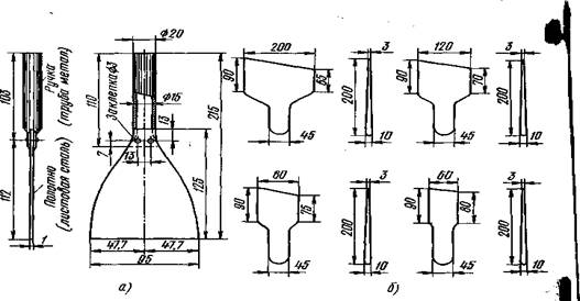
Для облегчения проведения работ при монтаже листового материала нередко устанавливают вспомогательную подпорку, конструкция которой по внешнему виду напоминает букву «Т». В качестве составных элементов такой подпорки можно взять деревянные рейки, имеющие сечение 25 х 50 мм. Для сборки вспомогательной конструкции рекомендуется применять рейки, длина которых на 1—2 см больше расстояния от потолочного перекрытия до пола.
При устройстве и отделке потолочных перекрытий нередко используют деревянные подмостки. Их высота должна быть такой, чтобы расстояние от потолка до головы стоящего на них мастера составляло не менее 10 см. В процессе работы полотна листового материала с одного края закрепляют с помощью временной деревянной рейки, а с другого — Т-образной подпоркой.
Образующиеся после соединения отдельных полотен сухой штукатурки зазоры следует заделать шпаклевочным раствором. В некоторых случаях швы оставляют открытыми или маскируют деревянными рейками. Шпаклевать швы рекомендуется в том случае, если планируется отделывать поверхность обоями либо окрашивать известковыми или клеевыми препаратами.
Перед шпаклеванием полотна сухой штукатурки обрезают по боковым кромкам на ширину не менее 30 мм, удаляя часть картонного покрытия. Образовавшийся между листами зазор замазывают шпаклевочным составом, а участок, с которого был срезан картон, закрывают полосой, выкроенной из марли, или заделывают шпаклевкой.
Выравнивание поверхностей
Под водно-меловые, клеемеловые, клеевые и масляно-водные эмульсионные окрасочные составы, под оклеивание бумажными неводостойкими обоями, а также под неводостойкие грунтовки применяют шпатлевки, не обладающие гидрофобными свойствами: медно-купоросные, квасцовые, глиноземные, клеевые, содержащие олифу-оксоль и водомасляную эмульсию лишь в качестве пластификатора (в количестве не более 3%).
Под масляные окрасочные составы используют шпатлевки на масляных и синтетических связующих, причем, как правило, связующие составляют основу водостойких окрасочных покрытий и грунтовок, которые будут наносить на шпатлевку. Это — шпатлевки на основе значительного количества олифы, лака, поливинилацетатной дисперсии, кубовых остатков и различных синтетических латексов (например, бутадиенстирольных, метилстирольных, пипиреленстирольных).
Содержание олифы в шпатлевке для помещений с нормальным температурно-влажностным режимом эксплуатации (температура 20 °С и относительная влажность воздуха не более 70%) должно быть 2.5...3 % (по массе). Меньшее содержание олифы делает шпатлевку непрочной и неводостойкой. При более жестких температурно-влажностных режимах количество олифы в шпатлевке может составлять 5; 10; 18% (по массе), при окраске деревянных поверхностей — не менее 5 %.
Под синтетические окрасочные составы пригодны те же шпатлевки, что и под масляные окрасочные составы, но чаще применяют синтетические шпатлевки, в состав которых входит не менее 6 % (по массе) поливинилацетатной дисперсии или латекса (например, шпатлевки КЛМ, помелакс, СВШ, эмульсин). Применять под эти составы шпатлевки на сернокислых солях меди или алюминия (например, медно-купоросную, квасцовую) нельзя, так как на окрасочных пленках появятся пятна.
Под атмосферостойкие долговечные синтетические окрасочные составы (кремнийорганические, перхлорвиниловые, акриловые) для фасадов применяют специальные синтетические шпатлевки, приготовляемые на тех же связующих, что и сами краски. Например, широко применяют атмосферостойкую шпатлевку «Каум» на основе перхлорвинилового лака и нитрильного каучука. Состав шпатлевки «Каум» (%): краска ЦПХВ — 33,8, каучук СКН-26-1А— 1,2, молотый мел — 26, песок— 13, цемент — 26.
Поверхности изделий из металла, керамики, полистирола выравнивают специальными шпатлевками.
Шпатлевки, как правило, приготовляют централизованно на производственных базах специализированных отделочных организаций и поставляют на строительные объекты в готовом к применению виде. Когда на строительных объектах требуется небольшое количество шпатлевки, ее делают из готовых сухих шпат-левочных смесей (типа сухой шпатлевки «Сугик»). Сухую смесь перемешивают с водой до требуемой консистенции вручную или в растворосмесителях.
Подлежащие выравниванию поверхности сначала огрунтовывают, чтобы вяжущее из шпатлевки не проникло в толщу штукатурки или бетона и слой шпатлевки не терял прочности и в дальнейшем не разрушался вместе со слоем краски. Кроме того, при отсутствии грунтовки слой шпатлевки нельзя наложить ровным слоем, так как обрабатываемая поверхность, поглощая из шпатлевки жидкую фазу, обезвоживает ее и делает менее подвижной и пластичной.
Вручную поверхности огрунтовывают маховой кистью или макловицей, небольшие участки или поверхности на границе двух плоскостей, окрашиваемые в разные цвета (отводку), — кистью-ручником. Маховой кистью набирают из бачка небольшое количество грунтовки и наносят на поверхность плавными движениями так, чтобы кисть касалась поверхности только концами волос. Кисть время от времени поворачивают, чтобы волос ее срабатывался равномерно со всех сторон. Грунтовку на стены наносят двумя взаимно перпендикулярными движениями: сначала горизонтальными, затем вертикальными, а на потолки — сначала движениями, перпендикулярными по отношению к свету, затем параллельными.
Можно наносить грунтовку валиком. Валик опускают в ванночку с грунтовочным составом и один-два раза прокатывают по металлической решетке, отжимая излишки грунтовки. Затем валик прикладывают к поверхности и прокатывают один-два раза по одному и тому же месту, нажимая на рукоятку и добиваясь, чтобы грунтовка равномерно распределялась по поверхности. Для огрунтовки поверхности на высоте без применения стремянок или тумб укороченную ручку валика заменяют длинной.
Механизированным способом грунтовки наносят с помощью ручных или электрических краскопультов, а затем различных нагнетательных бачков с малярными удочками и краскораспылителями. Грунтовки, в состав которых входят сернокислые соли металлов (медный, железный и цинковый купоросы, глинозем и алюминиево-калиевые квасцы), наносить механизированным способом запрещается, так как это приводит к быстрому износу металлической аппаратуры, кроме того, распыленные грунтовки вредно действуют на дыхательные органы человека.
Мелкие трещины до нанесения шпатлевки расчищают и прорезают металлическим шпателем или острым ножом с утолщенным обушком, наклоняя плотно шпатель сначала вправо, а затем, при повторном движении, влево под углом 60...70° к обрабатываемой поверхности. Образовавшуюся при этом пыль удаляют волосяной кистью или пылесосом и только после этого выполняют огрунтовку.
После огрунтовки трещины заделывают шпатлевкой на глубину не менее 2 мм и выравнивают поверхность деревянным шпателем с лезвием шириной 80...200 м. Шпатлевку наносят на поверхность ровным слоем толщиной до 1 мм.
Для нанесения шпатлевки и выравнивания поверхности пользуются шпателями (рис.1) различных типов (ГОСТ 10778—83).

Рис.1. Металлические (а) и деревянные (б) шпатели.
Примечание. Источник [3,142]
При нанесении шпатлевки слева направо шпатель держат так, чтобы левая сторона полотна была несколько ниже правой
Тогда левая часть полосы укладывается ровным и гладким слоем, а на правой образуются наплывы, которые затем подбирают шпателем и используют при укладке следующей полосы.
При нанесении шпатлевки сверху вниз шпатель держат так, чтобы укороченная сторона полотна была слева, а при нанесении снизу вверх — справа.
Закончив полосу движением сверху вниз, в нижней части описывают шпателем полукруг, чтобы укороченная часть шпателя переместилась на правую сторону полосы, сгладив поверхность слева и гребень справа. В местах поворота шпателя образуются небольшие неровности — наплывы шпатлевки, которые сглаживают горизонтальным движением шпателя так, чтобы укороченная часть полотна была обращена в сторону зашпатлеванной поверхности.
При шпатлевании шпатель держат под различными углами к выравниваемой поверхности (чем меньше угол, тем больше толщина накладываемого слоя), при сглаживании — под углом 10... 5 15°, причем левым краем шпателя перекрывают сглаженную полосу на 2...3 см.
При больших объема малярных работ шпатлевку наносят с помощью малярной установки типа СО-21. Шпатлевка должна I быть более жидкой с осадкой по стандартному конусу 9..10 см. Бачок установки заполняют шпатлевкой и под давлением сжатого воздуха 0,3...0,5 МПа по шлангам ее подают к форсунке краскораспылителя или удочки. Одновременно к форсунке по шлангам от компрессора подают сжатый воздух, который распыляет шпатлевку равномерным факелом по поверхности. Нанесенный слой разравнивают шпателем с резиновым лезвием.
Без применения столиков и стремянок потолки выравнивают шпателями на удлиненной ручке, длина которой зависит от высоты помещений. При выравнивании потолков часть шпатлевки не удерживается на шпателе и падает на пол, что значительно увеличивает ее расход. Поэтому целесообразно применять шпатели с карманами, в которые стекает с лезвия снятая с потолка шпатлевка. Из карманов шпатлевку сливают в бачок и после процеживания используют вновь.
Высохший первый слой шпатлевки огрунтовывают, а затем наносят второй слой таким же образом, а при необходимости и третий. Высохшую прошпатлеванную поверхность (обычно через сутки после нанесения последнего слоя) шлифуют вручную (пемзой или шкуркой) специальными приспособлениями или пневматическими, или электрическими машинами.
Пневматическая шлифовальная машина приводится в действие сжатым воздухом давлением 0,3...0,4 МПа. Производительность 40 м2 /ч.
Ручная электрическая машина ИЭ-2106 состоит из электропривода, двух сменных рабочих дисков и пылезащитного кожуха, который крепится к корпусу редуктора. Электроприводом является электрическая сверлильная машина ИЭ-1019А (с двойной изоляцией). Один из дисков, на котором укреплены бруски пемзы, применяют для грубой обработки шпатлевки, а второй с наждачной шкуркой — для чистовой. Диск для наждачной шкурки изготовлен из текстолита, к рабочей стороне которого приклеена микропористая резина, обеспечивающая эластичность рабочей поверхности. Шпиндель машины через гибкое соединение, которое состоит из стакана, цилиндрической пружины и конусной втулки, связан с рабочими дисками. Такая конструкция позволяет обрабатывать неровные участки прошпатлеванных поверхностей.
К станку диски крепят скобами, что удобно при замене изношенного инструмента.
Трудоемкость операций шлифования в значительной степени зависит от тонкости измельчения шпатлевки и качества ее наложения на обрабатываемую поверхность. Обычно при шлифовании ограничиваются незначительной зачисткой отдельных утолщений и мелких борозд, но, если шпатлевка небрежно наложена, приходится снимать толстый слой.
Отшлифованная поверхность готова для нанесения окрасочных составов.
Окраска внутренних поверхностей
Перед окраской цельными и интенсивными колерами поверхность грунтуют цветными грунтовками (под цвет основного покрытия). Водные кодеры лучше заклеивать растительными клеями (крахмальным клейстером или клеем КМЦ). В этом случае покрытие получается более ровным и исключается опасность образования мраморных жилок, часто получающихся при невысокой степени заклеенности животными клеями.
При высыхании нормальные водные кодеры, особенно разбеленные, значительно светлеют, цельные кодеры темнеют. Часто колер изменяет заданный цвет из-за оседания пигментов, причем чем более жидкий состав применен, тем быстрее происходит этот процесс. Поэтому кодеры заготовляют в пастообразном виде и держат в незаклеенном состоянии, заклеивают и разводят их до необходимой вязкости непосредственно перед употреблением.
Применяемые водные окрасочные составы по внешнему виду должны представлять собой однородную массу без комков, а по цвету выкраски — соответствовать утвержденным эталонам колерной книжки.
Перед употреблением краски тщательно перемешивают. Вязкость окрасочных составов, как правило, определяют по вискозиметру ВЗ-4, она должна быть в пределах 15... 180 с в зависимости от характера красок и способа их нанесения на окрашиваемую поверхность.
Поверхность окрашивают по высохшему огрунтованному слою (не ранее чем через час после его нанесения). Краски наносят за два-три раза кистями, малярными валиками, краскопультами, распылителями и т. д.
От вида поверхности, окрасочного состава и категории окрасочных работ зависят число и последовательность операций по подготовке, обработке и окрашиванию внутренних поверхностей водными составами.
Окрасочные составы, приготовленные на клее, наносят дважды кистями, валиками, малярными удочками и краскопультами.
При работе удочкой выдерживают правильное расстояние между форсункой и окрашиваемой поверхностью. При чрезмерном удалении форсунки от поверхности образуются потеки краски, при чрезмерном приближении получается отскок краски и резко возрастает ее расход.
При окрашивании поверхностей ручным краскопультом один рабочий производит окраску, второй подносит окрашивающий состав и нагнетает его в баллон. При работе электрокраскопультом оба маляра производят окраску, работая двумя удочками. Они сами заливают в расходный бак окрашивающий состав, пускают или останавливают машину. После полного просыхания первого слоя поверхность окрашивают вторично. При высококачественной окраске ее обязательно торцуют кистью или щеткой.
Окраска масляными составами
Масляными красочными составами поверхности окрашивают в защитных и декоративных целях. В том случае, когда главным является защитное назначение покрытия, применяют составы, образующие глянцевые пленки. При образовании глянцевых пленок пигменты погружаются в толщу красочного покрытия, поверх пигментов находится сплошной слой связующего, зеркально отражающего свет.
При декоративной окраске поверхностей внутри здания применяют матовые покрытия. Эти покрытия смягчают цветовые тона окраски, делают менее заметным дефекты штукатурки, бетона, древесины. Чаще всего матовые покрытия получают, снижая в пленке количество связующего и заменяя его испаряющимся растворителем или вводя в составы матирующие добавки — пчелиный и искусственный воск, разведенный в растворителе.
При матировании воском пластинки его всплывают и, располагаясь на поверхности покрытия под различными углами, также рассеянно отражают падающие на него лучи света.
Такие покрытия красивы, но прочность их невелика. Кроме того, пленки высыхают медленно, так как на поверхности образуется восковая пленка, препятствующая испарению растворителя из толщи пленки и проникновению в нее кислорода для окисления масла. При подготовке под окрашивание матовыми неводными составами поверхности грунтуют олифой или краской и окрашивают в один слой жирным масляным составом до глянца. При этом не должно быть матовых пятен и следов недостаточной жирности окраски, так как наличие пятен приводит к образованию более темных мест в матовой окраске и вызывает необходимость в переделке. Так окрашивают штукатурку, бетон и иногда дерево. При приготовлении матовых декоративных составов с большей насыщенностью пигментами, чем глянцевые, часть тертых на масле пигментов заменяют сухими, которые затирают на растворителе (табл.1).
Таблица 1. Матовые декоративные составы
Компоненты |
Красочные составы | |||
| 1-й | 2-й | 3-й | 4-й | |
| Белила тертые | 4,0 | 3,2 | 5,0 | — |
| Белила сухие цинковые | 1,0 | 1,0 | 2,0 | В необходимом количестве |
| Пигменты сухие | 2,0 | 1,5 | 3,0 | |
| Олифа оксоль | 2,0 | 1,0 | 3,0 | 3,0 |
| Скипидар | 3,0 | 3,0 | 1,0 | 6,0 |
| Сиккатив | 0,1 | 0,1 | 0,1 | 0,1 |
Примечание. Перечисленные в таблице матовые составы расположены, начиная с менее матового №1, кончая матовым предельной сухости №4.
Примечание. Источник:[14, с. 452]
Способ приготовления 1. Сухие белила и пигменты перетирают с растворителем до сметанообразной консистенции. Белила тертые разводят олифой и остатком скипидара, вводят в них перетертые в скипидаре сухие белила, пигменты и сиккатив. Состав перемешивают и процеживают на вибросите СО-3 с сеткой 0,25 — 0,2. Составы наносят на поверхности макловицей, валиком с меховым чехлом или кистью-ручником. Свежеокрашенную поверхность обрабатывают торцовкой.
При приготовлении восковых матовых покрытий готовят состав по рецепту:
Белила цинковые тертые …2,0
Белила цинковые сухие 1,0
Скипидар ..................... 1,0
Воск натуральный....... 0,2
Олифа натуральная.... 0,15
Сиккатив жидкий........ 0,15
Пигменты сухие по потребности
Способ приготовления 2. Воск измельчают, заливают пятикратным количеством скипидара и выдерживают до полного растворения. Сухие цинковые белила и сухие пигменты разводят половинным количеством скипидара и перетирают на краскотерке. Белила тертые разводят остатком скипидара и сиккативом, затем вводят в состав сухие пигменты и цинковые белила, перетертые на скипидаре. Состав хорошо перемешивают, затем вводят раствор пчелиного воска. Состав вновь перемешивают.
Состав наносят на поверхность кистью-ручником, растушевывая красочный слой и обрабатывая его жесткой щеткой-торцовкой с тщательно выровненным волосом. Выравнивание волоса щетки-
торцовки производят обжигая ее на раскаленной плите. При работе щеткой-торцовкой необходимо следить за тем, чтобы не образовывать повторно проторцованную и уже несколько окрепшую поверхность. Это может привести к образованию более светлых мест, резко выделяющихся на общем фоне.
Ремонт пола из штучного паркета
Иногда приходится заменять отдельные планки паркета, если на них появляется какой-либо дефект, ремонтировать поврежденные участки пола и, наконец, если пол сильно изношен или поврежден, перестилать его полностью.
Поврежденную планку необходимо удалить таким образом, чтобы не повредить соседних планок. Для этого ее следует расколоть на 2—3 части вдоль волокон и аккуратно вытащить их из гнезда. Затем нужно отремонтировать основание, если в этом возникнет необходимость, и укрепить на нем новую планку. У нее предварительно обрезаются гребни, а крепление производится тем же способом, каким производился настил всего пола,— горячей битумной мастикой, клеем или гвоздями. При этом укрепить планку гвоздем можно только в том случае, если она находится в таком месте, где ее будет не видно, поскольку в паз гвоздь забить не удастся и его шляпка останется на лицевой стороне планки. Новую планку нужно установить так, чтобы она на 0,1—1 мм поднималась над поверхностью пола. Выступающую часть впоследствии нужно циклевать.
Бывает, что от чрезмерного увлажнения отдельные планки паркета вздуваются. С места вздутия нужно вырубить 2—3 планки, разобрать поврежденный участок и удалить источник влажности. Самой распространенной причиной вздутия паркета является отсутствие зазора между паркетом и стенами или перегородками (или слишком маленький зазор). Во избежание повторного вздутия пола в данном случае рекомендуется увеличить зазор, слегка подрезав крайние ряды паркета.
Если паркет постоянно подвергать чрезмерному увлажнению, между планками могут появиться щели. При ширине, не превышающей 3,5 мм, щели нужно прочистить тонкой проволокой и зашпаклевать замазкой, для приготовления которой необходимо приготовить смесь из мелких дубовых, буковых или березовых опилок (их цвет должен соответствовать цвету основного паркета) и столярного клея. Если в паркете образовались слишком большие щели, его придется перестелить.
Окрашивание полов
Доски пола должны быть сухими. Новые полы из свежих досок лучше выдержать год-два, чтобы они хорошо высохли. Полы окрашивают масляными красками - густотертыми или готовыми к употреблению. На этикетках этих красок должно быть указано, что они применяются для окрашивания полов. При окрашивании пола краску наносят тонкими слоями, тщательно ее растушевывая. Тонкие слои краски быстрее высыхает и не образуют морщин и пузырей. При окрашивании пола за два раза по хорошо подготовленной поверхности требуется 200-300 г краски на 1 м2 , за три раза 250-280 г. Окрашивают полы без подготовки, с подготовкой и шпаклеванием за один или несколько раз. Трещины между досками, предварительно расчищенные от грязи и пыли можно замазать специальной замазкой. После высыхания замазки неровности зачищают шлифовальной шкуркой. Перед окраской полы должны быть чистыми и сухим.
Высококачественная окраска пола. После проолифки и сушки шпаклюют весь пол за два-три раза. Первый слой шпаклевки хорошо зачищают, затем наносят второй слой, тщательно разравнивают его, сушат и зачищают, грунтуют и окрашивают пол за два-три раза.
Зачищают первый слой шпаклевки, наносят второй слой более жидкой шпаклевки, туго натягивают марлю и с помощью шпателя утапливают ее в шпаклевку. После высыхания и зачистки шпаклюют пол третий раз с тщательной сушкой и зачисткой. Затем выполняют грунтовку и окраску за три раза.
Доски пола должны быть прочно укреплены и не прогибаться, иначе в швах между досками появятся трещины и шпаклевка начнет отваливаться.
Через 10-15 дней окрашенный пол можно покрыть за один-два раза специальным лаком для пола. Лак наносят на чистый сухой пол тонким слоем.
Раздел II . Специальная часть
2.1. Технология выполнения улучшенной штукатурки
Технология нанесения штукатурных растворов
Сложный и трудоемкий процесс ручного оштукатуривания за последние годы повсеместно вытесняется механическим нанесением раствора. Вручную оштукатуривают небольшие помещения и отдельные места, а также выполняют декоративно-художественные и реставрационные штукатурные работы.
При механизированном способе значительно повышается производительность труда, ускоряются сроки выполнения штукатурных работ и облегчается труд штукатура.
Качество штукатурки в значительной степени определяется качеством подготовки оснований под нее. Так, прочность и долговечность штукатурки зависят от прочности и чистоты поверхности основания, отсутствия на нем осадочных трещин и незавершившихся усадочных явлений. Чтобы предупредить повреждение штукатурки вследствие осадки конструкции или усадки раствора, из которого она выполнена, руководствуются следующими правилами: в многоэтажных зданиях внутренние штукатурные работы начинают с верхних этажей. До устройства кровли работы ведут с нижних этажей здания. При этом над отделываемыми помещениями должно быть смонтировано не менее двух перекрытий; кирпичные и каменные стены оштукатуривают по окончании кладки; деревянные здания оштукатуривают не ранее чем через год после их сборки.
В зависимости от выбранного штукатурного покрытия (простое, улучшенное, высококачественное) и вида поверхности выполняют определенный перечень технологических операций:
Обрызг — первый слой штукатурки — увеличивает сцепление основания с последующими штукатурными слоями. Наносят слой обрызга вручную (толщиной 3...5 мм) и растворонасосами (на деревянные поверхности толщиной не более 9 мм, каменные, бетонные и кирпичные — не более 5 мм).
Грунт — второй слой штукатурки — является основным, так как образует необходимую толщину штукатурки и выравнивает поверхность. Толщина его должна быть не менее 5...7 мм. Если по проекту толщина грунта больше, грунт наносят несколькими слоями.
Накрывка — третий слой штукатурки толщиной 2 мм — образует тонкую мягкую пленку, которая легко затирается. Раствор накрывки наносят на поверхность по окрепшему (схватившемуся) грунту, тщательно разравнивают и затирают.
Обычную штукатурку выполняют как внутри помещений, так и на фасадах зданий. Цвет обычной штукатурки зависит от вида применяемого вяжущего (например, белый — на извести, гипсе, серый — на цементах, бурый — на цементе и глине). Фактура поверхности этих покрытий гладкая. Как правило, она является основанием для последующей отделки красками или облицовочным материалом.
Вяжущее для обычных штукатурок выбирают в зависимости от материала основания (камень, бетон, дерево) и условий эксплуатации штукатурки (относительной влажности воздуха). Наносят штукатурные слои ручным (набрасывание или намазывание) и механизированным способами.
При ручном способе штукатур забирает из ящика порцию раствора лопаткой и кладет его на сокол, затем этой же лопаткой берет порцию раствора с сокола и набрасывает его на оштукатуриваемую поверхность. Рекомендуется наносить раствор слева направо.
При оштукатуривании потолочных поверхностей выбирают такое направление набрасывания (через голову, через плечо, над собой, от себя), при котором брызги раствора не летели бы в сторону работающего рядом штукатура.
Безгипсовые растворы удобнее наносить ковшом, так как гипс быстро схватывается, налипает на ковш и утяжеляет его.
Размер броска зависит от интенсивности взмаха лопатки или ковша. Намазывание раствора выполняют с помощью сокола, лопатки, полутерка. Сокол с порцией раствора приставляют к оштукатуриваемой поверхности на расстоянии от нее 50... 100 мм под небольшим углом. Двигая сокол на расстоянии, равном толщине наносимого штукатурного слоя, раствор намазывают на поверхность. При этом приподнятая сторона сокола постепенно прижимается к поверхности.
Лопаткой раствор намазывают так. Сокол приставляют к поверхности, а тыльной стороной лопатки сдвигают порцию раствора с сокола и намазывают его тонким слоем на поверхность.
Полутерком раствор намазывают, прижимая его обеими руками к поверхности под небольшим углом.
При механизированном способе раствор наносят с помощью растворонасоса, к которому посредством шланга присоединена форсунка. Растворы подвижностью 10... 12 см наносят механическими форсунками, подвижностью 7...9 см — пневматическими. Форсунку держат (руками или на плече) к оштукатуриваемой поверхности под углом 60...90°; чем жиже раствор, тем этот угол должен быть меньше.
При нанесении раствора на горизонтальные поверхности форсунку укрепляют на палке с вилкой на торце. На вертикальные поверхности раствор наносят движениями сверху вниз. Штукатур сам регулирует длину струи раствора и факел распыления, которые зависят от типа форсунки.
Перед нанесением накрывочного слоя поверхность затвердевшего грунта смачивают водой для лучшего сцепления штукатурных слоев. Раствор наносят тонкими слоями и разравнивают. Разравнивают раствор соколом (на небольших площадях), правилом или малкой. Правилом разравнивают' раствор по растворным (рис. 2, а) или инвентарным (рис. 2, б) маякам. Правило прикладывают к штукатурке и одновременно контролируют ровность поверхности. В местах выемок наносят раствор и выравнивают поверхность, выпуклые места срезают отрезовкой. При стыковании одной захватки накрыв-ки с другой с ранее нанесенной срезают кромку под углом 30° и к срезанной части накладывают новую порцию раствора.
Малками (рис. 2, в) разравнивают раствор, нанесенный механизированным способом по маякам 1 (на больших площадях). Малку укрепляют на рукоятке 4.

Рис.2. Разравнивание раствора:
а — правилом по растворным вертикальным маякам, б — правилом на ручке по металлическим маякам, в — малкой на потолке по деревянным
маякам; / — маяки, 2 — веревки, 3 — малка, 4 —рукоятка
Примечание. Источник: [3,74]
Раствор разравнивают путем возвратно-поступательного движения малки по стене и потолку.
После разравнивания раствора, исправления всех дефектов поверхность затирают вручную терками (вкруговую и вразгонку) и затирочными машинками. При затирке вкруговую (рис. 3, а) терку прижимают плотно к поверхности штукатурки и делают круговые движения против часовой стрелки. Бугорки и неровности срезают ребрами терки. Затираемую поверхность штукатурки смачивают водой с помощью кисти-окамелка, чтобы предохранить накрывку от подсыхания в процессе затирки.
При затирке вкруговую на поверхности штукатурки остаются слегка заметные кругообразные следы, поэтому при высококачественной отделке затирку вкруговую дополняют затиркой вразгонку теркой, хорошо очищенной от раствора (рис.3, б). Терку плотно прижимают к поверхности и производят ею прямолинейные движения — взмахи. Качество затертой штукатурки повышается, когда затирку вразгонку выполняют сначала деревянной теркой, а затем теркой, полотно которой обито войлоком и фетром.

Рис. 3 Затирка штукатурки вручную: вкруговую – а, вразгонку – б
Примечание. Источник: [3, с.75]
Затирку механизированным способом производят пневматическими или электрическими машинами. Включают машины, приставляют ее диски к поверхности штукатурки (рис. 4) и водят по ней с нажимом, регулируя скорость перемещения затирочного диска. При работе электрической машиной на руки надевают электрозащитные рукавицы или перчатки, под ноги подкладывают резиновый коврик.
![]() |
Рис. 4. Затирка штукатурки механизированным способом
Примечание. Источник: [3, с75]
Чтобы избежать шпатлевания и производить окрашивание непосредственно по штукатурке, применяют беспесчаную накрывку. Чем чище и тщательнее разровняли раствор накрывки, тем легче его затирать. Раствор приготовляют из известкового теста с осадкой стандартного конуса 12 см и гипса. Гипс и известковое тесто, хорошо перемешанное, чтобы оно было однородной густоты, пропускают через сито с отверстиями не более 1 X 1 мм.
Раствор приготовляют небольшими порциями без замедлителей схватывания гипса. Слегка схватившийся раствор не используют. Грунт перед нанесением накрывки выравнивают и смачивают водой. Раствор наносят слоем 2...3 мм, разравнивают и заглаживают металлическими гладилками.
2.2. Облицовочные и мозаичные работы в зимнее время
Облицовочные работы
К началу облицовочных работ в зимнее время должны быть закончены строительно-монтажные работы, а системы отопления и вентиляции подключены к источникам тепла. В случае необходимости пользуются? дополнительной системой временного отопления, а также временной системой вентиляции. Применять открытые жаровни и печи-;, времянки нельзя. Постоянная и временная системы вентиляции дот лжны быть рассчитаны на двух-, трехкратный обмен воздуха в час при относительной влажности не более 70 %. Внутренние отделочные работы разрешаются при температуре воздуха внутри зданий, около наружных стен на высоте 0,5 м от пола не ниже 10°С. Такую температуру нужно поддерживать не менее 2 суток до начала отделочных работ, в течение всего времени работ, а также в течение 15 суток в законченных отделкой помещениях. Влажность кирпичных, бетонных и других стен, подлежащих облицовке из природного камня (травертин, мрамор, известняк), не должна превышать 8%; степень влажности определяют лабораторным путем. Кирпичные стены, сложенным методом замораживания, облицовывают только после оттаивания кладки со стороны облицовки на глубину не менее половины толщины стены.
Внутренние поверхности, подверженные быстрому охлаждению (оконные и дверные откосы, ниши), облицовывают до наступления морозов. После наступления холодов их можно облицовывать только с помощью утепления, прогрева или отогрева. Для сокращения сроков отогрева, а также для отогрева отдельных помещений применяют моторные подогреватели, теплогенераторы и электрокалориферы. Для отогрева отдельных мест используют установки с газовыми горелками инфракрасного излучения и электротермоизлучатели. Для контроля за процессом отогрева и работой отопительно-вентиляци-онных агрегатов служит гигрометр с термометром или психрометр. Эти приборы устанавливают у внутренних стен помещений на высоте 1,5 м от пола. Замеры производят не менее 6 раз в сутки, температуру наружного воздуха замеряют 4 раза в сутки или используют данные ближайшей метеостанции. На основании этих замеров с помощью графиков определяют продолжительность сушки помещений.
Наружные облицовочные работы при температуре воздуха ниже 5°С допускаются, если применяют растворы, содержащие химические добавки, понижающие температуру замерзания раствора: хлористый кальций, углекислый калий (поташ) и нитрит натрия. Добавки вводят при затворении растворной смеси и количестве, зависящем от температуры воздуха. Приготовлять, транспортировать и хранить растворы и мастики для облицовочных работ следует так, чтобы укладываемый раствор или мастика имели температуру не ниже 15°С. Поэтому в помещениях, где находятся бункера и установки для приема и транспортирования растворов и не утепленные растворопроводы, температура должна быть не ниже 10°С. При облицовке поверхностей плитами из природного камня твердение цементного раствора для заливки зазора между плитой и стеной достигается с помощью противоморозных добавок или электропрогрева. Замораживать раствор можно, если он приобрел 50% проектной прочности. В этом случае после наступления положительной температуры раствор продолжает твердеть и достигает проектной прочности. Требуемая прочность цементного раствора к моменту его замерзания достигается ускорением твердения раствора в период между укладкой и замерзанием Чтобы ускорить твердение раствора, применяют: специальный состав раствора; улучшенные методы изготовления и укладки растворной смеси; добавки — ускорители твердения и противоморозные. При подборе состава раствора предусматривают применение цементов повышенной активности и марки, обогащение зернового состава песка и уменьшение водоцементного отношения. Улучшают методы изготовления и укладки растворной смеси путем увеличения времени перемешивания. Для твердения раствора при отрицательной температуре применяют хлористый натрий совместно с хлористым кальцием в количестве до 7,5%, нитрит натрия — до 10% и поташ — до 15% от массы цемента. Процентное содержание добавок, как правило, определяют опытным путем или принимают в соответствии с указаниями специальных инструкций. Добавки хлористого кальция, хлористого натрия и поташа нередко дают высолы на поверхности конструкции, поэтому применять их следует осторожно. Электролиты типа нитрита натрия, хлористого кальция и некоторые другие улучшают свойства растворов при комбинированном их применении с гидрофобными добавками. Нитрит натрия в оптимальном количестве благоприятно влияет на прочность затвердевших растворов, особенно гидрофобированных. Добавка 5% нитрита натрия в расчете на твердую соль обеспечивает твердение растворов как в нормальных условиях, так и при пониженной положительной температуре и повышенной влажности. Если раствор твердеет при температуре до -10°С, прочность раствора или повышается, или равна марочной прочности образцов, твердевших в нормальных условиях.
Повышение прочности растворов при применении добавки нитрита натрия объясняется тем, что в системе образуется кальциевая соль азотистой кислоты, хорошо растворяющаяся и воде. За счет увеличения концентрации ионов кальция в системе подавляется гидролиз трехкальциевого силиката. При этом замедляются процессы гидратации и схватывания раствора. Это особенно важно в начальный период твердения, так как удобоукладываемость раствора улучшается, сцепление его с каменными материалами увеличивается.
Цементные растворы с добавкой нитрита натрия сохраняют подвижность более длительное время, чем растворы без добавок. При наружной облицовке поверхностей природным камнем в зимнее время на растворах с добавкой нитрита натрия необходимо выполнять следующие основные требования:
—перед началом работ облицовываемые поверхности, облицовочные плиты и металлические детали должны быть очищены от снега и наледи механическим путем, а затем горячим воздухом; запрещается использовать для очистки горячую воду;
—для облицовки следует применять цементный раствор марки не ниже 75 с добавкой нитрита натрия, приготовленный на цементе марки не ниже 400, подвижностью 7 — 9 см с водоцементным отношением не более 0,5;
—в процессе облицовки необходимо осуществлять строгий контроль за достижением раствором в швах конструкции прочности не менее 20 от проектной марки; очисткой облицовываемых поверхностей, креплений и плит облицовки от наледи и снега; подвижностью и прочностью цементного раствора; наличием в растворе нитрита натрия;
—растворы с добавкой нитрита натрия запрещается применять при наличии соприкасающихся с раствором элементов из алюминия или его сплавов.
Применение противоморозных добавок и подогрев заполнителя, отдаляющие момент замерзания раствора, недостаточны при температуре ниже — 10 С. Электропрогрев раствора позволяет вести облицовочные работы при любых низких температурах без снижения качества цементного раствора. При электропрогреве пропускают ток через уложенный цементный раствор с применением стальных электродов. Различают трансформаторный электропрогрев с помощью понижающего трансформатора и бестрансформаторный — током сетевого напряжения. Электропрогрев чаще всего осуществляют при пониженном напряжении, так как металлические детали крепления плит природного камня нарушают равномерное распределение тока по сечению конструкции, в деталях крепления наблюдаются местные резкие перефевы с усиленным испарением влаги, отрицательно влияющим на качество раствора. Основной проводник тока в растворной смеси — вода с растворенными в ней минеральными веществами. По мере твердения раствора электропроводность его уменьшается, снижаются сила тока и количество выделяемой теплоты, что вызывает понижение температуры раствора.
Для выдерживания проектного режима в процессе электропрогрева приходится повышать напряжение. Растворная смесь перед включением тока должна иметь температуру не ниже 5°С, поэтому ее приготовляют на подогретых составляющих и транспортируют в утепленных автосамосвалах. Предельные температуры изотермического электропрогрева зависят от вида и марки цемента и от модуля поверхности конструкции. Чем меньше активность цемента и модуль поверхности, тем больше предельная температура нагрева. Продолжительность изотермического прогрева определяют расчетом, а также на основании экспериментальных данных для цементов разных видов и марок. Так, для портландцемента марок 400 — 500 при температурах прогрева 50 и 60°С для достижения 50%-й прочности продолжительность изотермического прогрева должна быть соответственно не менее 28 и 24 ч, для 70%-й прочности — 48 и 36 ч. После изотермического прогрева раствор охлаждают медленно, на 2 — 3 град./ч, чтобы исключить температурные напряжения.
Покрытия полов из плит природного камня в зимнее время устраивают только в том случае, если основание под покрытие не подвергалось действию отрицательных температур более чем в течение суток. В противном случае основание необходимо ото-феть до температуры не ниже 5°С. Если цементные растворы приготовляют на месте укладки, целесообразно применять сухие растворные смеси заводского изготовления, которые нужно завозить в помещение не позднее чем за сутки до употребления. Независимо от места приготовления температура цементного раствора при укладке должна быть не ниже 15°С. Поэтому растворы приготовляют па подогретой воде и транспортируют в утепленных автосамосва-нах. Готовые покрытия полов из природного камня следует выдерживать при температуре не ниже 10°С в течение 12 суток.
При производстве облицовки синтетическими материалами необходимо, чтобы внутри помещения температура воздуха возле наружных стен на уровне пола и температура нижележащего слоя пола, а также облицовываемой поверхности стен и потолков была не ниже 10°С. Клеи, мастики и облицовочные материалы следует использовать с температурой не ниже 15°С. В помещениях с готовой синтетической облицовкой или покрытием пола температуру воздуха необходимо поддерживать не ниже 10°С. Чтобы поддерживать такую температуру, обычно используют постоянное или временное отопление, а также паровые, электрические или огневые калориферы. Для подогрева синтетических облицовочных материалов и покрытий полов иногда применяют электрические и газовые плиты. При внутренних облицовочных работах и устройстве покрытий полов с применением синтетических материалов в зимнее время тщательно проветривают помещения. В общественных и промышленных зданиях при производстве этих видов работ должна действовать постоянная система вентиляции. В случае необходимости пользуются дополнительной системой временной вентиляции. При производстве облицовочных работ и устройстве покрытий полов в зимнее время особое внимание обращают на влажность поверхностей и их просушку. Повышенная влажность стен или оснований под полы резко снижает прочность сцепления с клеями или мастиками, что ухудшает качество облицовки. Для просушки поверхностей применяют воздухонагреватели, ламповые излучатели (софиты) или калориферы.
2.3. Дефекты при окраске поверхностей водными составами, их устранение
Дефекты при окраске поверхностей водными составами
Часто при применении клеевых составов на окрашенной поверхности появляются сырые пятна или отдельные места с «замершим» колером, цвет которых значительно темнее. Это происходит, когда окрашивают не совсем просохшую штукатурку. Такие дефекты устраняют, промывая всю поверхность теплой водой, подсушивая сырые места, а затем огрунтовывая и окрашивая заново.
При применении колеров с недостаточным количеством клея происходит отмеливание красочного слоя, которое устраняют, также промывая поверхность, затем огрунтовывая и окрашивая колером с нормальным содержанием клея.
При применении колеров с излишком клея, а также при окраске поверхностей, зашпатлеванных или огрунтованных составами, содержащими избыточное количество клея, происходит «замирание» колера: появляются мраморовидные пятна и полосы. Для их устранения краску смывают горячей водой, поверхность несколько раз промывают теплой водой и, когда она просохнет, покрывают очень слабой грунтовкой (с небольшим количеством клея) — клей из шпатлевки должен закрепить слабую грунтовку. Грунтовку для этих целей готовят по рецепту 36.
36. Грунтовка по переклеенной шпатлевке (на 10 л состава)
Купорос медный......................... 0,05 кг
Мыло хозяйственное................... 0,05 кг
Клей животный (10%-ный)……. 0,05 л
Существуют следующие дефекты (см. табл. 2).
Таблица 2 . Дефекты водных окрасок
| Дефекты | Причины их появления | Способы устранения |
| Жирные пятна | На штукатурке пятна невысыхающих минеральных и животных масел | Вырубить штукатурку на участке пятна, вновь оштукатурить и окрасить; промыть поверхности щелочной водой и окрасить |
| Следы жирных пятен на поверхности окраски по железобетонным поверхностям | Следы невысыхающих масел от смазки форм | Очистить слоя краски вместе со шпатлевкой, промыть 5%-нъш раствором тринатрийфосфата или кальцинированной соды, нейтрализовать поверхность 5%-ным раствором соляной кислоты и вновь окрасить |
| Жёлтые ржавые пятна | Просачивание смолистых веществ через штукатурку и краску | Удалить старый набел, промыть теплым 3%-ным раствором соляной кислоты и, если пятна невелики, огрунтовать меднокупоросной грунтовкой без мела, а при значительных -размерах—шеллачным спиртовым или канифольным лаком |
| Высолы (белый кристаллический налёт) | Выделение из штукатурки или кирпичной кладки растворимых солей при действии паров воды | Высушить и очистить поверхности металлической щеткой, огрунтовать белой масляной краской, зашпатлевать клеевой шпатлевкой, загрунтовать, а затем вновь окрасить клеевой краской |
| Просвечивание предыдущего красочного слоя | Применение грунтовки, отличающейся по цвету от окраски | Тщательно промыть и просушить поверхность, вновь огрунтовать и окрасить. При цельных и интенсивных колерах грунтовку приготовить под цвет колера |
| Отслаивание красочной плёнки | Поверхность окрашена по толстому слою предыдущих набелов; чрезмерное количество клея в колере или слишком густой колер | Растушевать набел чистой водой, а при значительном отслаивании соскоблить краску, перетереть штукатурку, огрунтовать и вновь окрасить |
| Натаски | Поверхность окрасили, не огрунтовав штукатурку; перетёрли, не счистив старый набел, недостаточно огрунтованы заделанные повреждения, трещины и выбоины в штукатурке | Тщательно размыть окрашенную поверхность чистой водой; снять натаски стальным шпателем, если нужно, перетереть, просушить, огрунтовать и вновь окрасить |
| Продолжение таблицы 2. Дефекты водных окрасок 42 | ||
| Жилы | Недостаточно огрунтованы места, отремонтированные гипсовым раствором. Трещины, заделанные известковым раствором, плохо затёрты и не выровнены с остальной поверхностью | Счистить краску, промыть водой и перетереть штукатурку, после чего вновь огрунтовать и окрасить по просушенной поверхности |
| Отмеливание | В колере недостаточно клея; содержатся крупные зёрна пигмента или мела | Исправить, опрыскивая поверхности из краскопульта слабым клеевым раствором, вновь огрунтовать и окрасить процеженными составами |
| Полосы | Недостаточно перемешаны пигменты в колере; плохо растушеван колер | Промыть и окрасить жидким колером из краскопульта |
| Брызги, потёки и пропуски | Применен жидкий колер; красочный слой перенасыщен из-за замедленного движения удочки или ручного краскораспылителя; отверстие диска форсунки краскопульта увеличено |
Краску смыть водой, поверхность вновь огрунтовать и окрасить. Заменить диск форсунки |
| Стыки | Окрашено по слабой грунтовке; неумелая работа кистью или краскопультом |
Поверхность промыть водой, вновь огрунтовать и окрасить |
Изменение цветового тона |
В известковых колерах применены нещелочестойкие пигменты, а в клеевых по мыловаренной грунтовке— нестойкие к действию извести; вызывают изменение цветового тона и пигменты, не стойкие к действию света, сероводорода, сернистых газов |
Смыть окраску, поверхность вновь огрунтовать и окрасить, применив в колере пигменты, устойчивые к действию щелочей, света и сероводорода |
| Продолжение таблицы 2. Дефекты водных окрасок 43 | ||
| Окрашенная поверхность сохнет неравномерно | Температура окружающего воздуха колеблется; грунтовочный состав недостаточно чист и однороден |
Установить причины, вызывающие колебания температуры окружающего воздуха; проверить правильность приготовления грунтовочного состава |
Примечание. Источник: [10,с.217-218]
Раздел III . Организация рабочего места и техники безопасности
3.1. Организация рабочего места и техники безопасности при выполнении улучшенной штукатурки
Техника безопасности при производстве штукатурных работ
Общие требования. Опасные зоны оснащают указателями, предупреждающими плакатами, световой и звуковой сигнализацией. Перед началом работы проверяют состояние инструментов, инвентаря, подмостей (инвентарных столиков, разборных лесов).
Рабочие места должны быть хорошо освещены. При подготовке поверхностей, механизированном нанесении раствора, обработке декоративной штукатурки работают в защитных очках.
Эксплуатация машин и механизмов. Механизмы и инструмент должны быть в исправном состоянии.
Между оператором и мотористом растворонасоса должна действовать звуковая сигнализация, чтобы моторист мог своевременно включать и выключать машину.
В процессе работы растворонасоса нельзя допускать образования в шлангах или трубах пробок из загустевшего раствора, а также перегиба шлангов.
К работе со строительными машинами, в том числе и ручными, допускают рабочих, имеющих удостоверение на право управления ими. Персонал, обслуживающий машину, должен быть обеспечен инструкцией по эксплуатации машины.
Подключают (отключают) вспомогательное оборудование (подключающие устройства, понижающие трансформаторы, защитно-отключающие устройства и др.), а также устраняют неисправности в них только дежурные электрики.
Корпуса электрических ручных машин, работающих при напряжении выше 42 В (независимо от частоты тока), заземляют.
Ремонтируют, регулируют (замена рабочего инструмента, смена насадок и т. д.), чистят и смазывают машины только после отключения и полной остановки.
При перерывах в работе или переноске на другое место ручные машины отключают от сети. Оставлять без надзора ручные машины с работающим двигателем, а также присоединенными к электросети или сети сжатого воздуха запрещается. Не допускается работать ручными машинами с приставных лестниц.
Подключать шланги к трубопроводу сжатого воздуха разрешается только через вентили, установленные на воздухораспределителях или отводах от магистрали.
При использовании для сушки штукатурных поверхностей газовых сушильных установок газ к металлическому воздухонагревателю подают по металлическому трубопроводу под давлением не более 5000 Па. Нагретый воздух в здания подается по металлическому воздуховоду через оконные или дверные проемы с противопожарными разделками. Для сушки штукатурки разрешается использовать только газовые горелки заводского изготовления, оборудованные автоблокировкой для прекращения подачи газа при погасании горелки. Применять временные металлические печи и жаровни (мангалы) для сушки помещений на стройках не допускается.
Приспособления для выполнения штукатурных работ на высоте
Леса, подмости и другие приспособления должны быть инвентарными, изготовленными по типовым проектам в соответствии с требованиями ГОСТ 24258—80.
Нагрузки на настилы лесов, подмостей и грузоподъемных площадок не должны превышать установленных проектом норм. Скопление на настилах людей в одном месте не допускается.
Ширина настилов на лесах и подмостях должна быть не менее 1,5 м, высота проходов на лесах в свету — не менее 1,8 м. Настилы лесов, подмостей, стремянок, люлек, расположенные выше 1 м от уровня земли или перекрытия, ограждают. Зазор между стеной строящегося здания и рабочим настилом установленных возле него штукатурных лесов (подмостей) должен быть не более 150 мм. Во время грозы и при скорости ветра 15 м/с и более работу на лесах прекращают. Люльки по окончании работы опускают на землю.
Во время стоянки катучие опоры передвижных лесов закрепляют, а сами леса прикрепляют к стене здания или расчаливают. Перемещать передвижные леса при ветре скоростью более 10 м/с не допускается. Во время перемещения на них не должно быть рабочих, материалов, тары и мусора.
В местах подъема людей на леса и подмости вывешивают плакаты с указанием размеров и схемы размещения нагрузок. Не реже чем через каждые 10 дней леса осматривает производитель работ или мастер.
Внутренние штукатурные работы и отделку поверхностей листовыми материалами выполняют с подмостей или передвижных столиков, установленных на полы или сплошной настил по балкам перекрытий. Применять лестницы-стремянки допускается только при выполнении мелких штукатурных работ.
При производстве работ на лестничных маршах пользуются специальными столиками-подмостями, обеспечивающими горизонтальное положение настила.
Приготовление раствора
Некоторые материалы, используемые для приготовления штукатурных растворов, вредно действуют на организм человека: известь-кипелка, известь-пушонка, хлорная известь, кремнефтористый цемент, гипс, известняк, маршалит, шлаки в виде пыли, добавки — поташ, нитрит натрия, хлорид кальция, хлорид натрия, хлорированная вода, аммиачная вода, соляная кислота и др. Во избежание несчастных случаев строго соблюдают правила хранения и пользования ими. . 1 Растворные узлы оборудуют общеобменной приточно-вытяжной вентиляцией и местными отсосами пыли в соответствии с требованиями Санитарных норм проектирования промышленных предприятий. Рабочие обслуживают растворные узлы и установки в спецбдежде, спецобуви, очках и респираторах. Помещения, в которых работают с пылевидными вяжущими (цемент, известь и др.), а также места установки машин для дробления, размола и просеивания строительных материалов оборудуют вентиляцией или местными устройствами, предупреждающими распыление материалов в воздухе.
Управление механизмами, затворами, питателями и т. п. на «установках для переработки извести-кипелки, пушонки, цемента и других пылевидных материалов выносят в помещения, недоступные для пыли.
Процесс гашения извести сопровождается бурным выделением теплоты, поэтому во избежание ожогов и возникновения пожара соблюдают определенные правила.
Гасить известь следует механизированным способом в известегасильных машинах, так как действие извести, вначале малозаметное, может привести к серьезным ожогам рук и лица. Одной из наиболее эффективных и безопасных машин для этой цели является термомеханическая известегасилка барабанного 1 типа.
При гашении извести в ямах стенки и днище бетонируют или облицовывают строганными досками. Ямы закрывают крышками с загрузочным люком и вытяжным устройством, а по периметру устраивают ограждение и укладывают ходовые доски. Перекачивают гашеное известковое тесто и молоко растворонасосом, а при малых объемах работ — ведром на металлической цепи и канате. Днище ямы должно иметь уклон в одну сторону.
Занятые гашением и перегрузкой извести рабочие работают в комбинезонах, сапогах, резиновых перчатках, очках, а при работе с молотой негашеной известью — ив респираторах. При ожоге известью обмывают обожженные места чистой водой, а затем раствором слабой уксусной кислоты.
Молотую негашеную известь применяют в растворах в смеси с молотыми добавками (шлак, зола, глина и др.) в виде известково-шлаковых, известково-зольных и других растворов, что значительно снижает пылеобразование, причем перемещение смеси нужно производить на установках с местным отсосом пыли, не допуская попадания известковой пыли в воздух производственных помещений.
К работам по приготовлению водных растворов, добавок нельзя допускать лиц, имеющих повреждения кожи рук и лица. К работе с нитритом натрия не допускаются лица моложе 18 лет.
Запрещается применять для растворов цветной штукатурки токсичные пигменты (свинцовый сурик, свинцовый крон, киноварь, медянку). В значительной степени снижается опасность попадания токсичных паров и
пыли в дыхательные органы и на слизистые оболочки рабочих при механизированном приготовлении штукатурных растворов.
Хранение и складирование компонентов штукатурных растворов. Запрещается хранить в одном помещении с хлорированной водой пожароопасные и взрывчатые материалы, металлические изделия, смазочные масла, баллоны со сжатыми газами и пищевые продукты.
Аммиачная вода, представляющая собой водный раствор аммиака концентрацией не менее 20%, выделяет токсичный и пожароопасный аммиак. Поэтому хранят ее в стеклянных бутылях с притертыми пробками в проветриваемых помещениях. Работы с аммиачной водой выполняют в противогазах марки К (зеленая коробка) или М (красная коробка).
Нитрит натрия, нитрит кальция, хлорид кальция и их смеси хранят на отдельном складе. Хранить их в одном помещении с кислотами запрещается.
Запрещается курить и вести работы с открытым пламенем (газосварка, газорезка и др.) в помещении, где хранят кристаллический нитрит натрия. Сгораемые материалы, пропитанные раствором этой соли, легко воспламеняются и трудно поддаются тушению. Для тушения этих материалов пользуются огнетушителями или песком (нельзя применять воду).
В отделениях приготовления растворов, добавок при применении нитрата натрия, нитрата кальция, нитрит-нитрата кальция или нитрит-нитрат хлорида кальция устраивают естественную или искусственную вентиляцию.
На емкостях для хранения или приготовления растворов нитрита натрия должна быть предупреждающая надпись «Яд».
Рабочих, занятых приготовлением добавок растворов, специально инструктируют и обеспечивают спецодеждой, резиновыми сапогами, перчатками, защитными очками.
Запрещается принимать пищу в помещениях, где возможно выделение хлора, аммиака, токсичных растворителей, а также хранят или готовят растворы добавок.
СПИСОК ИСПОЛЬЗОВАННЫХ ИСТОЧНИКОВ:
1. Добров В.В. Правильный ремонт дома. М.: Рипол классик, 2006.
2. Теличко А.А. Отделочные работы. М.: Рипол классик, 2004.
3. Белоусов Е.Д. О.С. Вершинина. Малярные и штукатурные работы. М.: Высшая школа, 1990.;
4. Белоусов Е.Д. Технология малярных работ. М.: Высшая школа, 1985.;
5. Добровольский Г.Н. малярные растворы. К.: Будивэльнык, 1988.;
6. Завражин Н.М. Малярные работы.;
7. Соколин Г.Л. Отделочные работы в капитальном строительстве. М.:1971.;
8. Колмыков М.Я. Альфрейно- декоративные работы. М., 1958.;
9. Миткин Б.А. Штукатурные, малярные и плиточные работы. Мн.: Высшая школа, 1966.;
10. Суржаненко А.Е. Малярные и обойные работы. М.: Высшая школа, 1974.;
11. Добров В.В. Правильный ремонт дома. М.: Рипол классик, 2006.;
12. Ивлева В.В. Плиточные работы своими руками. Ростов-на-Дону.: Феникс, 2005.;
13. Горячев В.И. Облицовочные работы, плиточные мозаичные. М.: Высшая школа, 1972.;
14. Ивлиев А.А. Отделочные строительные работы. М., 1999.;
15. Кондрашова М.В. Мастер-маляр. М.: Цитадель, 2000.
Похожие рефераты:
Проектирование четырехэтажной гостиницы в г. Краснодаре
Строительство жилого 4-х этажного 2-х секционного дома на 16 квартир
Назначение и виды штукатурных работ
Окрашивание поверхности водоэмульсионными составами
Поиск оптимального содержания пигмента в покрытиях на основе алкидного лака ПФ-060
Строительные материалы (лекции за 2-й курс)
Учет свойств строительных материалов при проведении строительных работ
Отделочные работы в учебной мастерской лаборатории поваров
Технология ремонтных работ в строительстве
Нанесение и получение металлических покрытий химическим способом
Металлизированные краски и их основные особенности
Технология высококачественного оштукатуривания кирпичных поверхностей
