| Похожие рефераты | Скачать .docx |
Реферат: Цифровая первичная сеть - принципы построения и тенденции развития
Министерство РФ по связи и информатизации
Уральский Г осударственный Технический Университет - УПИ
Кафедра "ТиСС"
Отчет
по производственной практике
на ОАО «ЕГУЭС Уралтелеком»
Руководи тель практики от предприятия: Клубакова В.Г.
Руководи тель практики от УГТУ-УПИ:
Время прохождения: с 5 августа по 15 сентября 2002 г.
Студент: Черепанов К.А
Группа: Р-407
Екатеринбург
2002
Содержание....................................................................................................................................................................................... 2
Список сокращений......................................................................................................................................................................... 3
1. Цифровая первичная сеть - принципы построения и тенденции развития.................................................................. 5
2. Технология SDH........................................................................................................................................................................... 8
3. Состав сети SDH. Топология и архитектура..................................................................................................................... 11
Состав сети SDH........................................................................................................................................................................ 11
Тополлогия сети SDH............................................................................................................................................................... 13
Топология "точка-точка".................................................................................................................................................... 13
Топология "последовательная линейная цепь"............................................................................................................ 14
Топология "звезда", реализующая функцию концентратора................................................................................... 14
Топология "кольцо".............................................................................................................................................................. 15
Архитектура сети SDH............................................................................................................................................................. 15
Архитектура типа "кольцо-кольцо"................................................................................................................................. 16
Линейная архитектура для сетей большой протяженности..................................................................................... 16
Процессы загрузки/выгрузки цифрового потока.............................................................................................................. 17
Структура заголовка POH.................................................................................................................................................. 22
Структура заголовка SOH.................................................................................................................................................. 23
5. Методы контроля чётности и определения ошибок в системе SDH........................................................................... 26
Литература...................................................................................................................................................................................... 29
Русские сокращения.
АТС
Автоматическая телефонная станция
ВОСП
Волоконно-оптическая система передачи
ИКМ
Импульсно-кодовая модуляция
ИКМ-30
Сокращение, используемое для обозначения потока Е1 с цикловой и сверхцикловой структурой
ИКМ-31
Сокращение, используемое для обозначения потока Е1 с цикловой структурой
ЛАЦ
Линейно-аппаратный цех (иногда применяется ЛАЗ - линейно-аппаратный зал)
МВВ
Мультиплексор ввода/вывода
МККТТ
Международный комитет по телефонии и телеграфии
МСЭ
Международный союз электросвязи
МСЭ-Т
Международный комитет по телефонии и телеграфии (новое название)
ОКС 7
Система сигнализации по ОКС №7
ОЦК
Общий цифровой канал (канал 64 кбит/с)
ПД
Передача данных
ПО
Программное обеспечение
ПСП
Псевдослучайная двоичная последовательность
рек.
Рекомендация
РРЛ
Радиорелейная линия связи
ССС
Спутниковая система связи
ТЧ
Канал тональной частоты
УПАТС
Учрежденческая производственная АТС
Иностранные сокращения.
ADM
 Ada-Drop Multiplexor Мультиплексор ввода/вывода - МВВ
ANSI
 American National Standard Institute Американский национальный институт стандартов
APS
 Automatic Protection Switching  Автоматическое переключение
ATM
 Asynchronous Transfer Mode  Режим асинхронной передачи
AD
Administrative Unit Административный блок
AUG
 Administrative Unit Group  Группа административных блоков
AU-PJE
 AU Pointer Justification Event Смещение указателя AU
BBE
 Background block error Блок с фоновой ошибкой
BBER
Background block error rate Коэффициент ошибок по блокам с фоновыми ошибками
BER
 Bit Error Rate Параметр ошибки по битам, равен отношению количества ошибочных битов к общему количеству переданных
BIN
 Binary Двоичное представление данных
BIP
Bit Interleaved Parity Метод контроля четности
B-ISDN
Broadband Integrated Service Digital  Широкополосная цифровая сеть с интеграцией Networks служб (Ш-ЦСИС)
CRC
Cyclic Redundancy Check Циклическая проверка по избыточности
CRC ERR
CRC errors Число ошибок CRC
DEMUX
Demultiplexer Демультиплексор
ETS
European Telecommunication Standard Европейский телекоммуникационный стандарт
ETSI
European Telecommunication Standard Institute Европейский институт стандартизации в теле-kоммуникациях, протокол ISDN, стандартизированный ETSI
FEBE
Far End Block Error Наличие блоковой ошибки на удаленном конце
FERF
Far End Receive Failure Наличие неисправности на удаленном конце
HEX
Hexagonal 16-ричное представление информации
НО-РОН
High-order POH Заголовок маршрута высокого уровня
ISDN
Integrated Service Digital Networks Цифровая сеть с интеграцией служб (ЦСИС)
ITU
International Telecommunication Union Международный Союз Электросвязи
ITU-T
International Telecommunication Union-Telephony group Международный Союз Электросвязи подразделение телефонии
LO-POH
Low-order POH Заголовок маршрута низкого уровня
M1, М2
Management Interface 1, 2 Интерфейсы управления
MSOH
Multiplexer Section Overhead Заголовок мультиплексорной секции
MSP
Multiplex Section Protection Цепь резервирования мультиплексорной секции
MUX
Multiplexer Мультиплексор
OSI
Open System Interconnection Эталонная модель взаимодействия открытых систем
РОН
Path Overhead Заголовок маршрута
PTR
Pointer Указатель в системе SDH
RGEN, REG
Regenerator Регенератор
RSOH
Regenerative Section Overhead Заголовок регенераторной секции
SDH
Synchronous Digital Hierarchy Синхронная цифровая иерархия
SDXC
Synchronous Digital Cross Connect Синхронный цифровой коммутатор
SOH
Section Overhead Секционный заголовок
STM
Synchronous Transport Module Синхронный транспортный модуль - стандартный цифровой канал в системе SDH
ТСМ
Tandem Connection Monitoring Мониторинг взаимного соединения
ТМ
Traffic Management Управление графиком
TMN
Telecommunications Management Автоматизированная система управления связью
TU
Tributary Unit Блок нагрузки
TUG
Tributary Unit Group Группа блоков нагрузки
VC
Virtual Container Виртуальный контейнер
1. Цифровая первичная сеть - принципы построения и тенденции развития
Первичной сетью называется совокупность типовых физических цепей, типовых каналов передачи и сетевых трактов системы электросвязи, образованная на базе сетевых узлов, сетевых станций, оконечных устройств первичной сети и соединяющих их линий передачи системы электросвязи. В основе современной системы электросвязи лежит использование цифровой первичной сети, основанной на использовании цифровых систем передачи. Как следует из определения, в состав первичной сети входит среда передачи сигналов и аппаратура систем передачи. Современная первичная сеть строится на основе технологии цифровой передачи и использует в качестве сред передачи электрический и оптический кабели и радиоэфир.
Рассмотрим ту часть первичной, которая связана с передачей информации в цифровом виде. Как видно из рис. 1.1, современная цифровая первичная сеть может строиться на основе трех технологий: PDH, SDH и ATM.

Рис. 1.1.
Место цифровой первичной сети в системе электросвязи
Первичная цифровая сеть на основе PDH/SDH состоит из узлов мультиплексирования (мультиплексоров), выполняющих роль преобразователей между каналами различных уровней иерархии стандартной пропускной способности (ниже), регенераторов, восстанавливающих цифровой поток на протяженных трактах, и цифровых кроссов, которые осуществляют коммутацию на уровне каналов и трактов первичной сети. Схематично структура первичной сети представлена на рис. 1.2. Как видно из рисунка, первичная сеть строится на основе типовых каналов, образованных системами передачи. Современные системы передачи используют в качестве среды передачи сигналов электрический и оптический кабель, а также радиочастотные средства (радиорелейные и спутниковые системы передачи). Цифровой сигнал типового канала имеет определенную логическую структуру, включающую цикловую структуру сигнала и тип линейного кода. Цикловая структура сигнала используется для синхронизации, процессов мультиплексирования и демультиплексирования между различными уровнями иерархии каналов первичной сети, а также для контроля блоковых ошибок. Линейный код обеспечивает помехоустойчивость передачи цифрового сигнала. Аппаратура передачи осуществляет преобразование цифрового сигнала с цикловой структурой в модулированный электрический сигнал, передаваемый затем по среде передачи. Тип модуляции зависит от используемой аппаратуры и среды передачи.
Таким образом, внутри цифровых систем передачи осуществляется передача электрических сигналов различной структуры, на выходе цифровых систем передачи образуются каналы цифровой первичной сети, соответствующие стандартам по скорости передачи, цикловой структуре и типу линейного кода.
Обычно каналы первичной сети приходят на узлы связи и оканчиваются в линейно-аппаратном цехе (ЛАЦе), откуда кроссируются для использования во вторичных сетях. Можно сказать, что первичная сеть представляет собой банк каналов, которые затем используются вторичными сетями (сетью телефонной связи, сетями передачи данных, сетями специального назначения и т.д.). Существенно, что для всех вторичных сетей этот банк каналов един, откуда и вытекает обязательное требование, чтобы каналы первичной сети соответствовали стандартам.
Cовременная цифровая первичная сеть строится на основе трех основных технологий: плезиохронной иерархии (PDH), синхронной иерархии (SDH) и асинхронного режима переноса (передачи) (ATM). Из перечисленных технологий только первые две в настоящее время могут рассматриваться как основа построения цифровой первичной сети.

Рис. 1.2.
Структура первичной сети.
Технология ATM как технология построения первичной сети является пока молодой и до конца не опробованной. Эта технология отличается от технологий PDH и SDH тем, что охватывает не только уровень первичной сети, но и технологию вторичных сетей (рис. 1.1), в частности, сетей передачи данных и широкополосной ISDN (B-ISDN). В результате при рассмотрении технологии ATM трудно отделить ее часть, относящуюся к технологии первичной сети, от части, тесно связанной со вторичными сетями.
Рассмотрим более подробно историю построения и отличия плезиохронной и синхронной цифровых иерархий. Схемы ПЦС были разработаны в начале 80х. Всего их было три:
1)
принята в США и Канаде, в качестве скорости сигнала первичного цифрового канала ПЦК (DS1) была выбрана скорость 1544 кбит/с и давала последовательность DS1 - DS2 - DS3 - DS4 или последовательность вида: 1544 - 6312 - 44736 - 274176 кбит/с. Это позволяло передавать соответственно 24, 96, 672 и 4032 канала DS0 (ОЦК 64 кбит/с);
2)
принята в Японии, использовалась та же скорость для DS1; давала последовательность DS1 - DS2 - DSJ3 - DSJ4 или последовательность 1544 - 6312 - 32064 - 97728 кбит/с, что пзволяло передавать 24, 96, 480 или 1440 каналов DS0;
3)
принята в Европе и Южной Америке, в качестве превичной была выбрана скорость 2048 кбит/с и давала последовательность E1 - E2 - E3 - E4 - E5 или 2048 - 8448 - 34368 - 139264 - 564992 кбит/с. Указанная иерархия позволяла передавать 30, 120, 480, 1920 или 7680 каналов DS0.
Комитетом по стандартизации ITU - T был разработан стандарт, согласно которому:
-- во-первых
, были стандартизированы три первых уровня первой иерархии, четыре уровня второй и четыре уровня третьей иерархии в качестве основных, а также схемы кросс-мультиплексирования иерархий;
-- во-вторых
,последние уровни первой и третьей иерархий не были рекомендованы в качестве стандартных.
Указанные иерархии, известные под общим названием плезиохронная цифровая иерархия PDH, или ПЦИ, сведены в таблицу 1.1.
<div align=center>
| Уровень цифровой |
Скорости передач, соответствующие |
||
| AC: 1544 kbit/s |
ЯС: 1544 kbit/s |
EC: 2048 kbit/s |
|
| 0 |
64 |
64 |
64 |
| 1 |
1544 |
1544 |
2048 |
| 2 |
6312 |
6312 |
8448 |
| 3 |
44736 |
32064 |
34368 |
| 4 |
--- |
97728 |
139264 |
Таблица 1.1.
Три схемы ПЦС: АС-американская; ЯС-японская; ЕС-европейская. </div>
Но PDH обладала рядом недостатков, а именно:
-- затруднённый ввод/вывод цифровых потоков в промежуточных пунктах;
-- отсутствие средств сетевого автоматического контроля и управления;
-- многоступенчатое востановление синхронизма требует достаточно большого времени;
Также можно считать недостатком наличие трёх различных иерархий.
Указанные недостатки PDH, а также ряд других факторов привели к разработке в США ещё одной иерархии - иерархии синхронной оптической сети SONET, а в Европе аналогичной синхронной цифровой иерархии SDH, предложенными для использования на волоконно-оптических линиях связи(ВОЛС).Но из-за неудачно выбранной скорости предачи для STS-1 , было принято решение -- отказаться от создания SONET, а создать на её основе SONET/SDH со скоростью передачи 51.84 Мбит/с первого уровня ОС1 этой СЦИ. Врезультате OC3 SONET/SDH соответствовал STM-1 иерархии SDH.Скорости передач иерархии SDH представлены в таблице 1.2.
| Уровень SDH. |
Скорость передачи, Мбит/с |
| STM-1 |
155,520 |
| STM-4 |
622,080 |
| STM-8 |
1244,160 |
| STM-12 |
1866,240 |
| STM-16 |
2487,320 |
Таблица 1.2.
Скорости передач иерархии SDH.
Иерархии PDH и SDH взаимодействуют через процедуры мультиплексирования и демультиплексирования потоков PDH в системы SDH.
Основным отличием системы SDH от системы PDH является переход на новый принцип мультиплексирования. Система PDH использует принцип плезиохронного (или почти синхронного) мультиплексирования, согласно которому для мультиплексирования, например, четырех потоков Е1 (2048 кбит/с) в один поток Е2 (8448 кбит/с) производится процедура выравнивания тактовых частот приходящих сигналов методом стаффинга. В результате при демультиплексировании необходимо производить пошаговый процесс восстановления исходных каналов. Например, во вторичных сетях цифровой телефонии наиболее распространено использование потока Е1. При передаче этого потока по сети PDH в тракте ЕЗ необходимо сначала провести пошаговое мультиплексирование Е1-Е2-ЕЗ, а затем - пошаговое демультиплексирование ЕЗ-Е2-Е1 в каждом пункте выделения канала Е1.
В системе SDH производится синхронное мультиплексирование/демультиплексирование, которое позволяет организовывать непосредственный доступ к каналам PDH, которые передаются в сети SDH. Это довольно важное и простое нововведение в технологии привело к тому, что в целом технология мультиплексирования в сети SDH намного сложнее, чем технология в сети PDH, усилились требования по синхронизации и параметрам качества среды передачи и системы передачи, а также увеличилось количество параметров, существенных для работы сети. Как следствие, методы эксплуатации и технология измерений SDH намного сложнее аналогичных для PDH.
Международным союзом электросвязи ITU-T предусмотрен ряд рекомендаций, стандартизирующих скорости передачи и интерфейсы систем PDH, SDH и ATM, процедуры мультиплексирования и демультиплексирования, структуру цифровых линий связи и нормы на параметры джиттера и вандера (рис- 1.3).

Рис. 1.3.
Стандарты первичной цифровой сети, построенной на основе технологий PDH, SDH и ATM.
Рассмотрим основные тенденции в развитии цифровой первичной сети.В настоящий момент очевидной тенденцией в развитии технологии мультиплексирования на первичной сети связи является переход от PDH к SDH. Если в области средств связи этот переход не столь явный (в случае малого трафика по-прежнему используются системы PDH), то в области эксплуатации тенденция к ориентации на технологию SDH более явная. Операторы, создающие большие сети, уже сейчас ориентированы на использование технологии SDH.Следует также отметить, что SDH дает возможность прямого доступа к каналу 2048 кбит/с за счет процедуры ввода/вывода потока Е1 из трактов всех уровней иерархии SDH. Канал Е1 (2048 кбит/с) является основным каналом, используемым в сетях цифровой телефонии, ISDN и других вторичных сетях.
Технология SDH, как было отмечено в гл. 1, представляет собой современную концепцию построения цифровой первичной сети. В настоящее время эта концепция доминирует на рынке.
Сравнивая технологию SDH с технологией PDH, можно выделить следующие особенности технологии SDH:
• предусматривает синхронную передачу и мультиплексирование. Элементы первичной сети SDH используют для синхронизации один задающий генератор, как следствие, вопросы построения систем синхронизации становятся особенно важными;
• предусматривает прямое мультиплексирование и демультиплексирование потоков PDH, так что на любом уровне иерархии SDH можно выделять загруженный поток PDH без процедуры пошагового демультиплексирования. Процедура прямого мультиплексирования называется также процедурой ввода-вывода;
• опирается на стандартные оптические и электрические интерфейсы, что обеспечивает лучшую совместимость оборудования различных фирм-производителей;
• позволяет объединить системы PDH европейской и американской иерархии, обеспечивает полную совместимость с существующими системами PDH и, в то же время, дает возможность будущего развития систем передачи, поскольку обеспечивает каналы высокой пропускной способности для передачи ATM, MAN, HDTV и т.д.;
• обеспечивает лучшее управление и самодиагностику первичной сети. Большое количество сигналов о неисправностях, передаваемых по сети SDH, дает возможность построения систем управления на основе платформы TMN.Технология SDH обеспечивает возможность управления сколь угодно разветвленной первичной сетью из одного центра.
Все перечисленные преимущества обеспечили широкое применение технологии SDH как современной парадигмы построения цифровой первичной сети.
Выделим общие особенности построения синхронной иерерхии:
-- первая - поддержка в качестве входных сигналов каналов доступа только трибов(прим. от trib, tributary - компонентный сигнал, подчинённый сигнал или нагрузка, поток нагрузке) PDH и SDH;
-- вторая - трибы должны быть упакованы в стандартные помеченные контейнеры, размеры которых определяются уровнем триба в иерархии PDH;
-- третья - положение виртуального контейнера может определяться с помощью указателей, позволяющих устранить противоречие между фактом синхронности обработки и возможным изменением положения контейнера внутри поля полезной нагрузки;
-- четвёртая - несколько контейнеров одного уровня могут быть сцепленывместе и рассматриваться как один непрерывный контейнер, используемый для размещения нестандартной полезной нагрузки;
-- пятая - предусмотрено формирование отдельного поля заголовков размером 9*9=81 байт.
![]() |
Как показано в гл. 1 (табл. 1.2), иерархия SDH включает в себя несколько уровней STM. В качестве примера использования уровней в сети SDH на рис.2.1 показана первичная сеть SDH, включающая кольца магистральной сети, построенной на потоках STM-16, региональных сетей, построенных на потоках STM-4,и локальных сетей с потоками STM-1.
Рис.2.1. Пример первичной сети, построенной на технологии SDH
В процессе внедрения технологии SDH на первом этапе вероятно появление комбинированных сетей SDH/PDH. Технология SDH внедряется обычно в виде "островов", объединенных каналами существующей первичной сети (рис. 2.2). На втором этапе "острова" объединяются в первичную сеть на основе SDH. В результате на современном этапе необходимо не только рассматривать технологию SDH, но и ориентироваться на изучение комбинированных сетей и процессов взаимодействия SDH и PDH.

Рис.2.2. Пример комбинированной первичной сетиPDH/SDH
Технология SDH стандартизирована ITU-T(рис. 1.3). Ниже приведен полный перечень рекомендаций ITU-T, определяющих параметры первичной сети SDH (см. также Приложение).
Рекомендации по базовой структуре и электрическим параметрам интерфейсов
G.702
Скорости цифровой передачи в системах PDH
G.703
Физические и электрические характеристики интерфейсов системы PDH
G.707
Скорости цифровой передачи в системах SDH
G.708
Структура интерфейса "сеть-сеть"(NNI)в системах SDH
G.709
Структура синхронного мультиплексирования
Рекомендации по параметрам сетевых элементов системы SDH
G.781
Структура рекомендаций по параметрам мультиплексорного оборудования систем SDH
G.782
Типы и основные характеристики мультиплексорного оборудования систем SDH
G.783
Характеристики функциональных блоков мультиплексорного оборудования систем SDH
G.784
Управление в сетях SDH
Рекомендации по структуре сетей SDH
G.803
Архитектура транспортной сети на основе Синхронной цифровой иерархии (SDH)
Рекомендации по параметрам оптических интерфейсов
G.957
Параметры оптических интерфейсов оборудования и систем, связанных с технологий SDH
G.958
Цифровые системы передачи на основе SDH и использования волоконно-оптических кабелей
Рекомендации по параметрам джиггера и вандера
G.823
Контроль параметров джиттера и вандера в цифровых системах передачи на основе иерархии потока 2048 кбит/с (PDH)
G.825
Контроль параметров джиттера и вандера в цифровых системах передачи на основе SDH
Рекомендации по параметрам ошибок в системах передачи SDH
G.826
Нормы на параметры ошибок в цифровых системах передачи со скоростью выше первичного потока для международного соединения
Рекомендации по параметрам и структуре системы управления (TMN)
М.30
Принципы глобальной системы управления (TMN)
G.773
Протокол интерфейса Q для управления системами передачи
3. Состав сети SDH. Топология и архитектура
Опишем основные элементы системы передачи данных на основе SDH, или функциональные модули SDH. Эти модули могут быть связаны между собой в сеть SDH. Логика работы или взаимодействия модулей в сети определяет необходимые функциональные связи модулей - топологию, или архитектуру сети SDH.
Сеть SDH, как и любая сеть, строиться из отдельных функциональных модулей ограниченного набора: мультиплексоров, коммутаторов, концентраторов, регенераторов и терминального оборудования. Этот набор определяеться основными функциональными задачами, решаемыми сетью: <div align=justify>
- сбор входных потоков через каналы доступа в агрегатный блок, пригодный для транспортировки в сети SDH - задача мультиплексирования , решаемая терминальными мультиплексорами - ТМ сети доступа;
- транспортировка агрегатных блоков по сети с возможностью ввода/вывода входных/выходных потоков - задача транспортирования , решаемая мультиплексорами ввода/вывода - ADM, логически управляющими информационным потоком в сети, а физически - потоком в физической среде, формирующей в этой сети транспортный канал;
- перегрузка виртуальных контейнеров в соответствии со схемой маршрутизации из одного семента сети в другой, осуществляемая в выделенных узлах сети, - задача коммутации , или кросс-коммутации , решаемая с помощью цифровых коммутаторов или кросс-коммутаторов - DXC;
- объединение нескольких однотипных потоков в распределительный узел - концентратор (или хаб) - задача концентрации , решаемая концентраторами ;
- восстановление (регенерация) формы и амплитуды сигнала, передаваемого на большие растояния, для компенсации его затухания - задача регенерации , решаемая с помощью регенераторов - устройств, аналогичных повторителям в LAN;
- сопряжение сети пользователя с сетью SDH - задача сопряжения , решаемая с помощью оконечного оборудования - различных согласующих, устройств, например, конверторов интерфейсов, конверторов скоростей, конверторов импедансов и т.д.
</div>
Рассмотрим работу некоторых модулей.
Мультиплексор.
Основным функциональным модулем сетей SDH является мультиплексор.
Мультиплексоры SDH выполняют как функции собственно мультиплексора, так и функции устройств терминального доступа, позволяя подключать низкоскоростные каналы PDH иерархии непосредственно к своим входным портам. они являются универсальными и гибкими устройствами, позволяющие решать практически все перечисленные выше задачи, т.е. кроме задачи мультиплексирования выполнять задачи коммутации, концентрации и регенерации. Это оказываеться возможным в силу модульной конструкции SDH мультиплексора - SMUX, при которой выполняемые функции определяются лишь возможностями системы управления и составом модулей, включённых в спецификацию мультиплексора. Принято, однако, выделять два основных типа SDH мультиплексора: терминальный мультиплексор
и мультиплексор ввода/вывода
.
Терминальный мультиплексор TM является мультиплексором и оконечным устройством SDH сети с каналами доступа, соответствующим трибам доступа PDH и SDH иерархии (рис.3.1.). Терминальный мультиплексор может либо вводить каналы, т.е. коммутировать их со входа трибного интерфейса на линейный выход, или выводить каналы, т.е. коммутировать с линейного входа на выход трибного интерфейса.
Мультиплексор ввода/вывода ADM может иметь на входе тот же набор трибов, что и терминальный мультиплексор (рис.3.1.). Он позволяет вводить/выводить соответствующие им каналы. Дополнительно к возможностям коммутации, обеспечиваемым ТМ, ADM позволяет осуществлять сквозную коммутацию выходных потоков в обоих направлениях, а также осуществлять замыкание канала приёма на канал предачи еа обоих сторонах ( "восточный" и "западный") в случае выхода из строя одного из направлений. Наконец, он позволяет (в случае аварийного выхода из строя мультиплексора) пропускать основной оптический поток мимо него в обходном режиме. Всё это даёт возможность использовать ADM в топологиях типа кольца.

Рис. 3.1.
Синхронный мультиплексор (SMUX):
терминальный мультиплексор ТМ или мультиплексор ввода/вывода ADM.
Регенератор
представляет собой вырожденный случай мультиплексора, имеющего один входной канал - как правило, оптический триб STM-N и один или два агрегатных выхода (рис.3.2.).
Он используется для увеличения допустимого растояния между узлами сети SDH путём регенерации сигналов полезной нагрузки. Обычно это растояние составляет 15 - 40 км. для длины волны порядка 1300 нм или 40 - 80 км. - для 1500 нм.

Рис. 3.2. Мультиплексор в режиме регенератора.
Коммутатор.
Физически возможности внутренней коммутации каналов заложены в самом мультиплексоре SDH, что позволяет говорить о мультиплексоре как о внутреннем или локальном коммутаторе. На рис.3.3., например, менеджер полезной нагрузки может динамически изменять логическое соответствие между трибным блоком TU и каналом доступа, что равносильно внутренней коммутации каналов. Кроме этого, мультиплексор, как правило, имеет возиожность коммутировать собственные каналы доступа, (рис.3.4.), что равносильно локальной коммутации каналов. На мультиплексоры, например, можно возложить задачи локальной коммутации на уровне однотипных каналов доступа, т.е. задачи, решаемые концентраторами (рис.3.4.).
В общем случае приходиться использовать специально разработанные синхронные коммутаторы - SDXC, осуществляющие не только локальную, но и общую или проходную (сквозную) коммутацию высокоскоростных потоков и синхронных транспортных модулей STM-N (рис.3.5). Важной особенностью таких коммутаторов является отсутствие блокировки других каналов при коммутации, когда коммутация одних групп TU не накладываетограничений на процесс обработки других групп TU. такая коммутация называется неблокирующей.

Рис. 3.3. Мультиплексор ввода/вывода в режиме внутреннего коммутатора.

Рис. 3.4. Мультиплексор ввода/вывода в режиме локального коммутатора.

Рис. 3.5. Общий или проходной коммутатор высокоскоростных каналов.
Можно выделить шесть различных функций, выполняемых коммутатором:
---маршрутизация (routing)
виртуальных контейнеров VC, проводимая на основе использования информации в маршрутном заголовке ROH соответствующего контейнера;
---консолидация или объединение (consolidation/hubbing)
виртуальных контейнеров VC, проводимая в режиме концентратора/хаба;
---трансляция (translation)
потока от точки к нескольким точкам, или к мультиточке, осуществляемая при использовании режима связи "точка - мультиточка";
---сортировка или перегрупировка (drooming)
виртуальных контейнеров VC, осуществляемая с целью создания несколких упорядоченных потоков VC из общего потока VC, поступающего на коммутатор;
---доступ
к виртуальному контейнеру VC, осуществляемый при тестировании оборудования;
---ввод/вывод (drop/insert)
виртуальных контейнеров, осуществляемый при работе мультиплексора ввода/вывода;
Рассмотрим топологию сетей SDH. Существует базовый набор стандартных топологий. Ниже рассмотрены такие базовые топологии.
Сегмент сети, связывающий два узла A и B, или топология "точка - точка", является наиболее простым примером базовой топологии SDH сети (рис.3.6.). Она может быть реализована с помощью терминальных мультиплексоров ТМ, как по схеме без резирвирования канала приёма/передачи, так и по схеме со стопроцентным резервированием типа 1+1, использующей основной и резервный электрические или оптические агрегатные выходы (каналы приёма/передачи).

Рис. 3.6. Топология "точка-точка", реализованная с использованием ТМ.
Топология "последовательная линейная цепь".
Эта базовая топология используеться тогда, когда интенсивность трафика в сети не так велика и существует необходимость ответвлений в ряде точек линии, где могут вводиться каналы доступа. Она может быть представлена либо в виде простой последовательной линейной цепи без резервирования, как на рис.3.7., либо более сложной цепью с резервированием типа 1+1, как на рис.3.8. Последний вариант топологии часто называют "упрощённым кольцом".

Рис. 3.7. Топология "последовательная линейная цепь", реализованная на ТМ и TDM.

Рис. 3.8. Топология "последовательная линейная цепь" типа "упрощённое кольцо" с защитой 1+1.
Топология "звезда", реализующая функцию концентратора.
В этой топологии один из удалённых узлов сети, связанный с центром коммутации или узлом сети SDH на центральном кольце, играет роль концентратора, или хаба, где часть трафика может быть выведена на терминалы пользователя, тогда как оставшаяся его часть может быть распределена по другим удалённым узлам (рис.3.9.)

Рис. 3.9. Топология "звезда" c мультиплексором в качестве концентратора.
Эта топология (рис.3.10.) широко используется для построения SDH сетей первых двух уровней SDH иерархии (155 и 622 Мбит/с). Основное приемущество этой топологии - лёгкость организации защиты типа 1+1, благодаря наличию в синхронных мультиплексорах SMUX двух пар оптических каналов приёма/передачи: восток - запад, дающих возможность формирования двойного кольца со встречными потоками.

Рис. 3.10. Топология "кольцо" c защитой 1+1.
Архитектурные решения припроектировании сети SDH могут быть сформированы на базе использования рассмотренных выше элементарных топологий сети в качестве её отдельных сегментов.
Радиально-кольцевая архитектура.
Пример радиально-кольцевой архитектуры SDH сети приведён на рис.3.11. Эта сеть фактически построена на базе использования двух базовых топологий: "кольцо" и "последовательная линейная цепь".

Рис. 3.11. Радильно-кольцевая сеть SDH.
Архитектура типа "кольцо-кольцо".
Другое часто используемое в архитектуре сетей SDH решение - соединение типа "кольцо-кольцо". Кольца в этом соединении могут быть либо одинакового, либо разного уровней иерархии SDH. На рис.3.12 показана схема соединения двух колец одного уровня - STM-4, а на рис.3.13 каскадная схема соединения трёх колец - STM-1, STM-4, STM-16.

Рис. 3.12. Два кольца одного уровня.

Рис. 3.13. Каскадное соединение трёх колец.
Линейная архитектура для сетей большой протяженности.
Для линейных сетей большой протяженности растояние между терминальными мультиплексорами больше или много больше того растояния, которое может быть рекомендованно с точки зрения максимально допустимого затухания волоконно-оптического кабеля. В этом случае на маршруте между ТМ (рис.3.14) должны быть установленны кроме мультиплексоров и проходного коммутатора ещё и регенераторы для востановления затухающего оптического сигнала. Эту линеёную архитектуру можно представить в виде последовательного соединения ряда секций, специфицированных в рекомендациях ITU-T G.957 и ITU-T G.958.

Рис. 3.14. Сеть SDH большой протяженности со связью типа "точка-точка" и её сегментация.
В процессе развития сети SDH разработчики могут использовать ряд решений, характерных, для глобальных сетей, таких как формирование своего "остова" (backbone) или магистральной сети в виде ячеистой (mush) структуры, позволяющей организовать альтернативные (резервные) маршруты, используемые в случае возникновения проблем при маршрутизации виртуальных контейнеров по основному пути. Это наряду с присущими сетям SDH внутренним резирвированием, позволяет повысить надёжность всей сети в целом. Причём при таком резервировании на альтернативных маршрутах могут быть использовнны альтернативные среды распространения сигнала. Например, если на основном маршруте используется ВОК, то на резервном - РРЛ, или наоборот.
4. Построение SDH
Процессы загрузки/выгрузки цифрового потока.
Рассмотрим процессы, связанные с загрузкой и выгрузкой цифрового потока в транспортный модуль системы SDH (транспортный модуль STM-N). Процесс загрузки цифрового потока в транспортные модули представлен схематически на рис. 4.1.

Рис. 4.1.
Процесс загрузки цифрового потока
в синхронные транспортные модули (STM-N)
В качестве примера рассмотрим процесс формирования синхронного транспортного модуля STM-1 из нагрузки потока Е1 (рис.4.2).

Рис.4.2.
Формирование синхронного транспортного модуля STM-1 из нагрузки потока Е1.
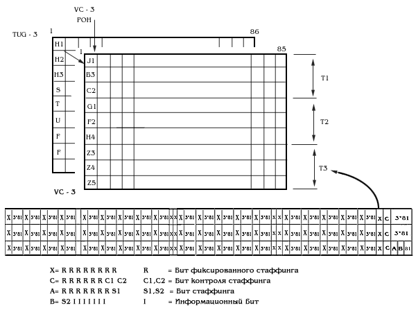
Как видно из рисунка, в процессе формирования синхронного транспортного модуля к нагрузке сначала добавляются выравнивающие биты, а также фиксированные, управляющие и упаковывающие биты. Ниже более подробно остановимся на процессе выравнивания скорости нагрузки при формировании контейнера С-n (процессе стаффинга в системе SDH). К сформированному контейнеру С-12 добавляется заголовок маршрута VC-12 РОН (Path Overhead), в результате формируется виртуальный контейнер.
Добавление к виртуальному контейнеру 1 байта указателя (PTR) превращает первый в блок нагрузки (TU). Затем происходит процедура мультиплексирования блоков нагрузки в группы блоков нагрузки (TUG) различного уровня вплоть до формирования виртуального контейнера верхнего уровня VC-4. В результате присоединения заголовка маршрута VC-4 РОН образуется административный блок (AU), к которому подсоединяется секционный заголовок SОН (Section Overhead). Учитывая разделение маршрута на два типа секций (рис. 3.14), SОН состоит из заголовка регенераторной секции (RSOH) и заголовка мультиплексорной секции (MSOH). К структуре заголовка еще вернемся при рассмотрении форматов заголовков, где будут рассмотрены значения байтов SОН.
Как видно, процесс загрузки цифрового потока связан с использованием процессов выравнивания (битового стаффинга), активностью указателей, а также с использованием заголовков РОН и SOH. В этом разделе мы рассмотрим процессы выравнивания скорости загружаемого цифрового потока и их влияние на параметры цифровой нагрузки.
Известно, размер контейнера в системе передачи SDH стандартизирован. Его размер несколько больше размера, необходимого для загрузки потока PDH соответствующего уровня иерархии с учетом максимально допустимой вариации скорости загружаемого потока. При загрузке цифрового потока производится процедура выравнивания его скорости методом битового стаффинга, для этого используется часть контейнера.
<LH>Различают два тида битового стаффинга: </LH>
- <div align=justify>плавающее выравнивание предусматривает не только компенсацию разницы в скоростях загружаемых цифровых потоков, но и ее вариацию. В этом случае полезная нагрузка в контейнере может гибко увеличиваться и уменьшаться, давая возможность грузки в контейнер потока с вариацией скорости. Для обеспечения плавающего выравнивания в нескольких частях контейнера предусматриваются поля переменного стаффинга. Периодически повторяемые индикаторы стаффинга определяют, является ли бит в поле переменного стаффинга информационным или битом выравнивания и подлежит уничтожению в процессе выгрузки;</div>
- <div align=justify>фиксированное выравнивание предусматривает добавление в состав контейнера дополнительных битов для того, чтобы его размер соответствовал стандартному. В отличие от процесса плавающего выравнивания, где стаффинговые биты идентифицируются индикаторами, в процессе фиксированного выравнивания индикаторы не используются. Место расположения стаффингового поля определено структурой контейнера.</div>
В процессе загрузки и выгрузки цифрового потока в синхронный транспортный модуль обычно используются оба вида выравнивания.
В качестве примера рассмотрим загрузку потока 140 Мбит/с в транспортный модуль STM-1 (рис. 4.3).

Рис. 4.3.
Загрузка потока 140 Мбит/с в
синхронный транспортный модуль
Как видно из рисунка, в процессе загрузки потока 140 Мбит/с в синхронный транспортный модуль используются процедуры фиксированного выравнивания (биты R) и плавающего выравнивания (биты S, индикаторы С). Процедура фиксированного стаффинга используется чаще и связана с полями X, Y и Z. Процедура плавающего выравнивания связана с использованием полей Х и Z, причем непосредственно стаффинговые биты плавающего выравнивания передаются в поле Z. Поле Х содержит индикатор стаффинга, передаваемый периодически (до появления поля Z индикатор передается 5 раз).
Процедура выравнивает вариацию скорости. Допустимые значения вариации скорости загружаемых потоков иерархии PDH представлены в табл. 4.1.
| Скорость цифрового |
Максимально допустимая |
Скорость цифрового потока |
Название |
| 1,5444 |
50 |
1,600 |
C-11 |
| 2,048 |
50 |
2,176 |
C- 12 |
| 6,312 |
30 |
6,784 |
C- 2 |
| 34,368 |
20 |
48,384 |
C- 3 |
| 44,736 |
20 |
48,384 |
C- 3 |
| 139,260 |
15 |
149,760 |
C- 4 |
Таблица 4.1.
Допустимые значения вариации скорости загружаемого
потока и оазличные типы контейнеоов
В качестве второго примера рассмотрим загрузку потока 34 Мбит/с (ЕЗ), представленную на рис. 4.4.

Рис. 4.4.
Загрузка потока E3 (34 Мбит/с).
Как следует из рисунка, загрузка потока ЕЗ в трибутарную группу TUG-3 во многом аналогична загрузке потока Е4, представленной на рис.4.2. И в том, и в другом случае используются виртуальные контейнеры высокого уровня - VC-3 и VC-4 соответственно. В обоих случаях используется процедура стаф-финга, причем как фиксированного (биты R), так и плавающего или переменного (биты S). Для идентификации битов переменного стаффинга используются индикаторы стаффинга (биты С). Существенно, что на рис. 4.3 помимо процедуры стаффинга представлена также структура заголовков, в частности заголовок маршрута высокого уровня VC-3 РОН. Ниже рассмотрены основные информационные поля, входящие в этот заголовок.
В качестве примера виртуального контейнера низкого уровня рассмотрим асинхронную загрузку потока 2 Мбит/с - наиболее часто используемый вариант загрузки цифрового потока (рис.4.5). На рис.4.5 представлена побайтовая структура загруженного в синхронный транспортный модуль потока головка РОН (V5, J2, N2 и К4). Как видно пользуются процедуры фиксированного и плавающего выравнивания.

Рис. 4.5.
Асинхронная загрузка потока 2 Мбит/с в синхронный транспортный модуль.
Процедуры мультиплексирования внутри иерархии SDH.
Наиболее важными потоками иерархии SDH являются потоки STM-1, STM-4 и STM-16. Рассмотрим процедуры мультиплексирования между этими уровнями, схематически представленные на рис.4.6.

Рис. 4.6.
Синхронное мультиплексирование внутри иерархии SDH.
Как следует из рисунка, внутри иерархии SDH мультиплексирование выполняется синхронно, без процедуры выравнивания скоростей. В результате обеспечивается основное преимущество концепции SDH как технологии построения цифровой первичной сети - возможность загрузки и выгрузки потоков любого уровня иерархии PDH из любого потока иерархии SDH вне зависимости от скорости передачи.
Для удобства реализации синхронного мультиплексирования с использованием современных логических устройств, мультиплексирование выполняется байт-синхронно в отличие от бит-ориентированных процедур, используемых в иерархии PDH. В результате использования байт-ориентированных процедур мультиплексирования значительно повышается производительность процессоров, в результате достигается высокая скорость передачи в первичной сети.
Использование в концепции SDH байт-синхронного мультиплексирования позволило также увязать динамику развития пропускной способности в цифровых системах передачи с динамикой развития производительности современных процессоров, что было важно, поскольку на этапе технологии PDH наметилось некоторое отставание.
Рассмотрим теперь структуру заголовка маршрута и секционного заголовка и те информационные поля, которые входят в их состав.
Заголовок маршрута РОН выполняет функции контроля параметров качества передачи контейнера. Он сопровождает контейнер по маршруту следования от точки формирования до точки расформирования. Структура и размер заголовка РОН определяются типом соответствующего контейнера. Следовательно, различаются два основных типа заголовков:
--- заголовок маршрута высокого уровня (High-order РОН - НО-РОН), используемый для контейнеров VC-4/VC-3;
--- заголовок маршрута низкого уровня (Low-order РОН - LO-POH), используемый для контейнеров VC-3/VC-2/VC-1.
Рассмотрим подробно структуру заголовка маршрута высокого уровня. Структура заголовка НО-РОН представлена на табл.4.2.
| J1 |
Индикатор маршрута |
| B3 |
Мониторинг качества (код BIP-8) |
| C2 |
Указатель типа полезной нагрузки |
| G1 |
Подтверждение ошибок передачи |
| F2 |
Сигналы обслуживания |
| H4 |
Индикатор сверхцикла |
| F3 |
Автоматическое переключение |
| K3 |
Подтверждение ошибок передачи |
| N1 |
Мониторинг взаимного соединения (ТСМ) |
Тавлица 4.2. Структура заголовка HO - POH.
Поле идентификатора маршрута (J1) передается в 16-ти последовательных циклах и состоит из 15-байтовой последовательности идентификаторов маршрута и 1 байта суммы CRC-7 для идентификации ошибок в трассе маршрута. Идентификаторы маршрута представляют собой последовательность ASCII-символов в формате, соответствующем ITU-T E.164, и используются для того, чтобы принимаемый терминал получал подтверждение о связи с определенным передатчиком (идентификация точки доступа к маршруту). Структура J1 схематически представлена на табл.4.3.
| Байты J1, номера битов |
|||||||||||||||
| 1 |
2 |
3 |
4 |
5 |
6 |
7 |
8 |
||||||||
| 1 |
C |
C |
C |
C |
C |
C |
C |
Байт 1 |
|||||||
| ССССССС - контрольная сумма CRC-7 |
|||||||||||||||
Таблица 4.3. Структура информационного поля J1 с цикловой структурой.
Рассмотрим основные информационные поля в составе НО-РОН.
Байт BЗ
используется для контроля четности (процедура ВIР - 8). Более подробно об этом будет сказано ниже.
Указатель типа полезной нагрузки С2
определяет тип полезной нагрузки, передаваемой в контейнере. Основные типы полезной нагрузки определены в ITU-T G.707, кроме того, ITU-T определил несколько дополнительных рекомендаций, связанных с передачей в системе SDH нагрузки ATM и FDDI). Значения байта С2 и соответствующие типы нагрузки приведены в табл.4.4.
| Бинарный вид |
HEX |
Значение |
| 00000000 |
00 |
контейнер не загружен |
Таблица 4.4. Значения указателя типа полезной нагрузки.
Байт G1
служит для передачи сигналов подтверждения ошибок передачи, обнаруженных в конце маршрута. Предусмотрено использование байта G1 для передачи данных об ошибках двух категорий (рис.4.7.)
FEBE (Far End Block Error) - наличие блоковой ошибки на удаленном конце; сигнал, посылаемый в ответ на получение на удаленном конце ошибки четности по BIP-8;
FERF (Far End Receive Failure) -наличие неисправности на удаленном конце; сигнал, посылаемый в случае возникновения на удаленном конце нескольких неисправностей.

Рис. 4.7.
Значения байта G1.
Байты F2 и F3
используются оператором для решения внутренних задач обслуживания системы передачи и образуют выделенный служебный канал.
Байт Н4
является указателем и используется при организации сверхциклов SDH, например, он указывает на номер цикла VC-1, VC-2 в сверхцикле TU-1, TU-2. Этот байт также используется в процедуре смещения указателей, что будет описано ниже.
Индикатор автоматического переключения (Automatic Protection Switching - APS) КЗ
используется для оперативного резервирования в системе SDH. Индикатор обеспечивает передачу команды перехода на резерв даже в случае отсутствия системы самодиагностики SDH. Более подробно механизмы резервного переключения рассмотрены в разделе, посвященном процедурам резервного переключения.
Байт мониторинга взаимного соединения (Tandem Connection Monitoring - ТСМ) N1
был впервые определен в 1996 г. в рекомендациях ITU-T. Необходимость введения процедуры ТСМ была связана с тем, что байт ВЗ, обеспечивающий контроль четности, устанавливается только для начала и конца маршрута и обеспечивает контроль качества сквозного соединения. В случае, если маршрут проходит через несколько секций, принадлежащим различным операторам, требуется не только сквозной, но и посекционный мониторинг параметров качества. До последнего времени средства секционного мониторинга не обеспечивали этих функций, поэтому была введена дополнительная процедура - ТСМ. Согласно этой процедуре сетевой узел обеспечивает контроль четно- сти по НО-РОН и LO-POH (контроль BIP-N), а затем передает информацию об ошибках предыдущему узлу в байте N1 (для заголовков высокого уровня) или N2 для заголовков низкого уровня.
Рассмотрим более подробно состав заголовка SOH (рис.4.8).

Рис. 4.8.
Структура заголовка SOH.
Как видно из рисунка, информация о цикловой синхронизации (А1, А2) повторяется три раза, что связано с объединением стандартов SDH и SONET.
Байты D1-D12 создают канал передачи данных, который может использоваться встроенными системами самодиагностики и системами TMN. Например, использование служебного канала передачи данных, образованного байтами D, позволяет выполнять реконфигурирование сети из единого центра.
Трасса регенераторной секции выполняет те же функции, что и байт J1 в заголовке РОН.
Важным для проведения тестирования систем SDH является служебный канал F1, в котором передается информация о результатах контроля четности и обнаружения ошибок. В состав байта F1 входят идентификаторы регенераторов RI и информационные биты S, где передается информация об ошибках (рис.4.9).
Байты К1 и К2 заголовка ЗОН также имеют большую важность при анализе работы системы SDH. Эти байты обеспечивают резервное переключение и оперативную реконфигурацию сети. В настоящее время получила широкое распространение концепция самозалечивающихся сетей, механизм действия которых связан с оперативной реконфигурацией и переходом на резервный ресурс. Именно эти процедуры обеспечиваются байтами К1 и К2. Поэтому их анализ обеспечивает тестирование работоспособности процессов резервирования.

Рис.4.9.
Структура канала управления F1.
Байт S1 определяет параметр качества источника синхронизации узла генерации транспортного модуля. Информация о параметре качества источника синхронизации передается комбинацией битов 5-8 в составе байта S1. Возможные значения параметров качества источника синхронизации приведены в табл.4.5. Передача информации о качестве источника синхронизации позволяет избежать проблем, связанных с нарушениями в структуре системы синхронизации. Учитывая, что система передачи на основе SDH использует принципы синхронной передачи и мультиплексирования, параметры синхронизации в SDH чрезвычайно важны. С увеличением разветвленности сети, использованием концепций резервирования и самозалечивающихся сетей, повышается вероятность возникновения проблем, связанных с системой синхронизации. Так, например, в процессе реконфигурации или гибкого переключения на резерв, система синхронизации должна также реконфигурироваться. Передача информации о качестве источника синхронизации конкретного узла дает возможность авторегулирования процессов в системе синхронизации, например, сигнал от источника плохого качества не используется для распределения по сети и синхронизации от него других узлов.
| Параметр |
Приоритет при использовании |
Значение параметра |
| 0010 |
Наиболее высокий |
G.811 первичный источник синхронизации (PRC) |
| 0100 |
G.812 вторичный источник синхронизации транзитного узла |
|
| 1000 |
G.812 вторичный источник синхронизации оконечного узла |
|
| 1011 |
Источник синхронизации цифрового оборудования |
|
| 1111 |
Наиболее низкий |
Не использовать для внешней синхронизации. |
| 0000 |
Качество не определено |
Таблица 4.5. Возможные значения параметра источника синхронизации.
Назначение указателей.
Указатели выполняют в технологии SDH две основные функции:
• обеспечение быстрого поиска и доступа к нагрузке;
• обеспечение процедур выравнивания и компенсации рассинхронизации передаваемых потоков.
Первая функция указателей является наиболее важной, поскольку именно с ней связано основное преимущество технологии SDH - отсутствие необходимости пошагового мультиплексирования/ демультиплексирования. Указатели административных блоков AD PTR и блоков нагрузки TU PTR обеспечивают прямой доступ к загруженному в синхронный транспортный модуль потоку на любом уровне (рис.4.10). Как видно из рис.4.10, в системах передачи SDH используются два типа указателей - административной (AU-PRT) и трибутарной групп (TU-PTR). Указатели образуются байтами Н, описанными в предыдущем разделе.

Рис.4.10.
Механизм организации прямого доступа к нагрузке.
Механизм формирования указателей - обратный к механизму поиска нагрузки, представленной на рис.4.10. Схематически его можно представить рис.4.11.

Рис.4.11.
Структура присвоения/поиска, формирование сигнала SDH.
5. Методы контроля чётности и определения ошибок в системе SDH
В системе SDH используется метод контроля параметров ошибки без отключения канала, который получил название метода контроля четности (Bit Interleaved Parity - В1Р). Этот метод, также как и CRC, является оценочным, но он дает хорошие результаты при анализе систем передачи SDH. Алгоритм контроля четности достаточно прост (рис.5.1). Контроль четности выполняется для конкретного блока данных цикла в пределах групп данных по 2, 8 и 24 бита (BIP-2, BIP-8 и В1Р-24 соответственно). Эти группы данных организуются в столбцы, затем для каждого столбца рассчитывается его четность, т.е. четное или нечетное количество единиц в столбце. Результат подсчета передается в виде кодового слова на приемную сторону. На приемной стороне делается аналогичный расчет, сравнивается с результатом и делается вывод о количестве ошибок четности. Результат сравнения передается в направлении, обратном передаче потока.

Рис.5.1.
Алгоритм контроля чётности.
Метод контроля четности является оценочным, поскольку несколько ошибок могут компенс ровать друг друга в смысле контроля четности, однако этот метод дает приемлемый уровень оценки качества цифровой системы передачи. Поскольку технология SDH предусматривает создание секционных заголовков и заголовк пути, метод контроля четности дает возможность тестирования параметров цифровой системы передачи от секции к секции и от начала до конца маршрута. Для этого используются специальные байты (см. выше) в составе заголовков SОН и РОН. Например, количество ошибок, обнаруженно в канале В3 передается в байте G1 РОН VC-4 следующего цикла. На рис.5.2 представлена cxема посекционного мониторинга параметра ошибки BIP. Используемые для контроля четности байты связанные с ними участки цифровой системы передачи приведены в табл.5.1.

Рис.5.2.
Посекционный мониторинг параметров цифровой передачи.
| Байт |
Заголовок |
Длина |
Секция мониторинга |
| B1 |
RSOH |
BIP - 8 |
STM - 1 |
| B2 |
MSOH |
BIP - 24 |
STM - 1 без RSOH |
| B3 |
POH VC - 3/4 |
BIP - 8 |
VC - 3/4 |
| V5 |
POH VC - 1/2 |
BIP - 2 |
VC - 1/2 |
Таблица 5.1.
Байты, используемыедля контроля чётности и участки SDH.
6. Резервирование
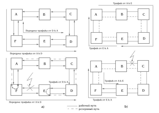
К современной цифровой первичной сети предъявляются повышенные требования в части параметров ее надежности. В связи с этим современные первичные сети строятся с использованием резервных трактов и коммутаторов, выполняющих оперативное переключение в случае неисправности на одном из каналов. В этом случае в состав системы передачи включаются цепи резервирования мультиплексорной секции (Multiplex Section Protection - MSP). Как было показано выше, в сети SDH осуществляется постоянный мониторинг параметров ошибки (процедура контроля четности BIP) и параметров связности. В случае значительного ухудшения качества передачи в мультиплексорной секции выполняется оперативное переключение (APS) на резервную мультиплексорную секцию. Это переключение выполняется коммутаторами. По типу резервирования различаются коммутаторы APS с архитектурой 1+1 и 1:n (рис.6.1).
Для управления резервным переключением используются байты К1 и К2 секционного заголовка. В байте К1 передается запрос на резервное переключение и статус удаленного конца тракта. В байте К2 передается информация о параметрах моста, используемого в APS с архитектурой 1:n, данные по архитектуре MSP и сообщения о неисправностях, связанные с APS. Различные варианты архитектуры MSP используются в различных схемах резервирования. Наибольшее распространение имеют две схемы, непосредственно связанные с кольцевой топологией сетей SDH -схема "горячего резервирования" (рис.6.2а) и схема распределенной нагрузки (рис.6.2b). В первом случае трафик передается как в прямом, так и в резервном направлении. В случае повреждения происходит реконфигурация и создается резервный канал. В схеме распределенной нагрузки половина графика передается в прямом, половина - в обратном направлении. В этом случае при возникновении неисправности происходит переключение на уровне ресурсов.
Согласно ITU-T G.841 время резервного переключения не должно превышать 50 мс.

Рис.6.1.
Архитектура MSP.

Рис.6.2.
Схемы резервирования в системах SDH.
1.
И.Г.Бакланов "Технологии измерений первичной сети. Часть 1. Системы Е1,PDH, SDH."; ЭКО-ТРЕНДЗ, 2000
2.
Н.Н.Слепов "Синхронные цифровые сети SDH."; ЭКО-ТРЕНДЗ, 1999
Похожие рефераты:
Цифровые системы управления связью
Волоконно-оптические системы связи
Цифровые транспортные сети SDH
Линейное оборудование синхронной цифровой иерархии SL16
Курс лекции по компьютерным сетям
Коммутатор цифровых каналов системы передачи
Разработка системы управления технологическим сегментом сети
