| Похожие рефераты | Скачать .docx |
Курсовая работа: Зовнішні каналізаційні системи
1. Системи та схеми каналізації
1.1 Види стічних вод
Вода, що була використана для різних потреб в побуті або на виробництві і отримала при цьому додаткові домішки (забруднення), які змінили її хімічний склад або фізичні якості, називається стічною водою. До стічних вод відносять також атмосферні води, які відводяться з території населених пунктів та промислових підприємств.
Забруднення стічних вод можуть бути мінеральними і органічними. До мінеральних забруднень відносять пісок, глину, шлак, розчини мінеральних солей, кислот та лугів. Органічні забруднення бувають рослинного і тваринного походження. Забруднення рослинного походження містять залишки рослин, плодів, злаків, овочів, паперу. З хімічної точки зору в цих забрудненнях в основному міститься вуглець у вигляді клітковини. Органічні забруднення тваринного походження містять фізіологічні відходи людей та тварин, жирові речовини, органічні кислоти та інше. Основним хімічним елементом цих забруднень є азот у вигляді білкових речовин. Стічні води, крім вуглецю та азоту, містять фосфор, калій, сірку, натрій та інші хімічні сполуки.
Виділяють також так звані бактеріальні та біологічні забруднення, які в стічних водах представлені різними бактеріями, дріжджовими та пліснявими грибками, дрібними водоростями.
За фізичним станом забруднення, що містяться в стічних водах, можуть бути у вигляді розчину, колоїдів, суспензії та нерозчинених домішок. В залежності від розмірів частинок, їх питомої ваги та швидкості руху стічних вод, нерозчинені речовини можуть спливати на поверхню, знаходитись в завислому стані у воді та осідати на дно. Ступінь забруднення стічних вод оцінюється концентрацією, тобто масою домішок в одиниці об'єму в мг/л або г/м3 .
За походженням та характером забруднень всі стічні води поділяють на побутові (господарсько-фекальні), виробничі та атмосферні. До побутових відносяться води від кухонь, туалетних кімнат, душових, лазень, пралень, їдалень, лікарень, а також господарські води, які утворюються від миття приміщень. Вони надходять як від житлових і громадських будинків, так і від побутових приміщень промислових підприємств. За природою забруднень стічні води можуть бути фекальними, які надходять з туалетів і забруднені в основному фізіологічними відходами життєдіяльності людини, та господарськими, які забруднені різного роду побутовими відходами.
Склад побутових стічних вод відносно постійний і характеризується в основному органічними забрудненнями (біля 60%) в нерозчиненому, колоїдному та розчиненому стані, а також різними бактеріями і мікроорганізмами, в тому числі і патогенними.
Виробничі стічні води утворюються в технологічних процесах виробництва. Склад і концентрація забруднень виробничих стічних вод дуже різноманітні і залежать від виду та технології виробництва, вихідної сировини і різних компонентів, які присутні в технологічному процесі. Виробничі стічні води можуть мати, органічні, мінеральні, радіоактивні домішки, а також отруйні та шкідливі речовини. Виділяють забруднені та умовно чисті виробничі стічні води. Прикладом умовно чистих стічних вод може бути вода, яка використовувалась для охолодження в теплообмінних апаратах.
Атмосферні стічні води утворюються від випадання дощу або розтавання снігу і містять в основному мінеральні і в меншій кількості органічні забруднення. Атмосферні стічні води, які утворюються на території промислових підприємств, містять відходи і покидьки відповідних виробництв. Відведення і знешкодження атмосферних стічних вод також входить в задачу каналізації. При цьому слід відзначити велику нерівномірність надходження цих вод. В суху погоду вони відсутні, а під час зливи їх кількість буває значною.
Склад стічних вод вивчають з метою найбільш раціонального визначення таких умов та обставин:
а) вибір способу очищення стічних вод;
б) можливість утилізації цінних речовин, що містяться в стічних водах та осаді (жири, добрива та інше);
в) можливість використання очищених стічних вод як джерела технічного водопостачання;
г) визначення матеріалів труб та каналів, якими буде відводитись стічна рідина і передбачення заходів запобігання впливу на них стічних вод.
1.2 Основні елементи каналізації населеного пункту. Системи та схеми каналізації
Забезпечення належного санітарного стану населених пунктів та промислових підприємств можливе тільки при організованому зборі та своєчасному видаленні за межі їх території стічних вод з наступним очищенням і знезаражуванням.
Каналізація населеного пункту – це комплекс інженерних споруд та обладнання, які призначені для прийому та транспортування стічних вод до очисних споруд. План об'єкту, що каналізується, з нанесеними на ньому елементами системи каналізації називається схемою каналізації. Схема каналізації населеного пункту складається з таких основних елементів: внутрішнього каналізаційного обладнання будівель та споруд, дворової та вуличної каналізаційної мережі, колекторів, каналізаційних насосних станцій і напірних трубопроводів, очисних споруд та випусків очищених стічних вод у водоймище.
Внутрішнє каналізаційне обладнання призначене для прийому стічних вод і відведення їх за межі будинку. В житлових та громадських будинках приймачами стічних вод є санітарні прилади. На промислових підприємствах для прийому стічних вод можуть використовуватись спеціальні приймачі у вигляді воронок, трапів, лотків, які встановлюють безпосередньо біля апаратів та технологічного обладнання.
Вуличні каналізаційні мережі – це система підземних трубопроводів, які приймають стічні води від дворових (квартальних) мереж і призначені для транспортування стічних вод в межах населеного пункту. Каналізаційні мережі будують переважно самопливними, прокладаючи їх відповідно до рельєфу місцевості. При цьому територія поділяється на басейни каналізування. Басейном каналізування називають частину території, що каналізується і яка обмежена водорозділами.
Каналізаційні мережі, призначені для відведення атмосферних вод, називають дощовими мережами або водостоками; мережі, призначені для відведення побутових вод, – побутовими; мережі для відведення виробничих стічних вод – виробничими. Влаштовують також мережі для спільного відведення різних видів стічних вод (побутово-виробничі, виробничо-дощові тощо).
Вуличні каналізаційні мережі в межах кожного басейну об'єднуються одним або декількома колекторами. Колектором називають каналізаційний трубопровід, який збирає стічні води з двох або декількох вуличних мереж.
При значних заглибленнях самопливних каналізаційних трубопроводів влаштовують насосні станції підйому та перекачування стічних вод. Каналізаційні насосні станції розділяють на місцеві, районні та головні. Місцеві насосні станції служать для перекачування стічних вод від одного або декількох будинків, районні – для перекачування стічних вод районів та басейнів. Головні насосні станції перекачують всі стічні води на очисні споруди.
Очисними називають споруди, які призначені для очищення та знезаражування стічних вод і переробки їх осаду. Склад очисних споруд може бути різним і залежить від методу очищення та виду стічних вод. Очисні споруди розташовують нижче за течією річки відносно населеного пункту або підприємства, що каналізується. Після очищення та знезаражування стічні води через спеціальні пристрої, які називають випусками, скидають у водоймище.
Залежно від того, як відводяться окремі види стічних вод – разом чи окремо – системи каналізації розділяють на загальносплавні, роздільні (повна або неповна) та напівроздільні. Тип системи каналізації міста вибирають на основі порівняння техніко-економічних та санітарно-гігієнічних показників.
При загальносплавній системі каналізації (мал. 2.1а) всі види стічних вод відводяться до очисних споруд по єдиній мережі.
Роздільною називається система каналізації, при якій окремі види стічних вод з забрудненнями різного характеру відводяться самостійними каналізаційними мережами (мал. 2.16). Роздільні системи каналізації в свою чергу поділяються на повні та неповні. Повна роздільна система каналізації передбачає не менше двох мереж: одну – для прийому і відводу побутових і близьких до них за складом виробничих стічних вод на очисні споруди; другу – для прийому і скиду у водоймище атмосферних та умовно чистих виробничих стічних вод. Неповна роздільна система передбачає відвід побутових стічних вод закритою мережею на очисні споруди і неорганізований відвід у водоймище атмосферних вод. Таке рішення зменшує одночасні капітальні витрати і дозволяє у майбутньому з добудовою мереж переходити до повної роздільної системи каналізації, яка з санітарної точки зору є достатньо надійною.
Напівроздільною (мал. 1 в) називається така система каналізації, при якій в місцях перетину самостійних каналізаційних мереж для відводу різних видів стічних вод встановлюють водоскидні камери, які дозволяють перепускати найбільш забруднені дощові води при малих витратах в побутову мережу і відводити їх по загальному колектору на очисні споруди, а при зливах – скидати порівняно чисті дощові води безпосередньо у водоймище.
В нашій країні переважно застосовують неповну роздільну систему каналізації як першу чергу будівництва. Взагалі систему каналізації вибирають з урахуванням місцевих умов, техніко-економічних показників та санітарно-гігієнічних вимог. В санітарному відношенні найбільш доцільною є загальносплавна система каналізації, при якій всі стічні води підлягають очищенню. Однак ця система вимагає значних капітальних та експлуатаційних витрат, оскільки суттєво збільшуються розміри очисних споруд, комунікацій та потужність обладнання. Крім того, на повну потужність ці споруди працюють тільки під час великих злив при надходженні всієї маси атмосферних вод на очисні споруди. Для зменшення вартості загальносплавної мережі на колекторах вздовж водоймищ встановлюють зливоспуски, за допомогою яких під час значних злив основну масу атмосферних вод скидають в водоймище без очищення. Таке рішення знижує санітарну надійність загальносплавної системи каналізації і допускає потрапляння розбавлених, але неочищених побутових стічних вод у водоймище. Дещо вищу надійність з санітарної точки зору має напівроздільна система каналізації. В цьому випадку неочищені стічні води не потрапляють у водоймище, але вартість цієї системи не нижча загальносплавної, що обумовило обмежене поширення напівроздільної системи каналізації.

Мал. 1. Системи каналізації:
а) загальносплавна; б) повна роздільна; в) напівроздільна; г) водоскидна камера:
1 – колектори побутово-виробничої мережі; 2 – зливоспуски; 3 – дощова мережа;
4 – водоскидні камери; 5 – насосна станція; 6 – очисні споруди
У всіх випадках вибір системи каналізації населеного пункту повинен бути обґрунтованим техніко-економічними розрахунками з врахуванням санітарно-гігієнічних вимог та перспектив розвитку населеного пункту.
При виборі системи каналізації на промислових підприємствах враховують: кількість і склад виробничих стічних вод, можливість використання виробничих стічних вод в оборотному та послідовному водопостачанні, можливість утилізації цінних речовин та доцільність об'єднання з системою каналізації населеного пункту, вимог до скиду виробничих стічних вод у водоймища. Каналізацію промислових підприємств, як правило, передбачають за повною роздільною схемою. Виробничі стічні води можуть бути відведені в міську каналізацію, але при цьому вони не повинні:
порушувати роботу каналізаційних мереж та споруд;
містити речовини, які здатні засмічувати труби каналізаційної або відкладатися на стінах труб;
виявляти руйнівний вплив на матеріали труб та елементи споруд іміпізації;
містити горючі домішки та розчинні речовини, які здатні орювати вибухонебезпечні і токсичні гази в каналізаційних жах та спорудах;
містити шкідливі речовини в концентраціях, які порушують роботу очисних споруд або перешкоджають використанню вод в системах п-нічного водопостачання чи скиду в водні об'єкти (з урахуванням офіжтивності очищення).
Вимоги до стічних вод, що скидаються в міську каналізаційну їжу, нормуються і наведені в «Технічних умовах на якість та режим і кидання стічних вод промислових підприємств в комунальну систему і імалізації населених пунктів», які затверджені Мінжитлокомунгоспом країни (наказ № від 21.05.90 р).
Схеми каналізаційних мереж населених пунктів вирішуються на «нові генплану з врахуванням рельєфу місцевості, фунтових умов, розташування водоймищ, а також поетапного розвитку каналізації. Оскільки зустрічається значна різноманітність місцевих умов, то важко запропонувати типові схеми каналізації населених пунктів.

Мал. 2. Схеми каналізаційних мереж:
а) перпендикулярна; б) перехоплююча; в) паралельна; г) радіальна; д) зонна: 1 – колектори басейнів каналізування; 2 – межі басейнів каналізування; 3 – очисні споруди
2. Зовнішні каналізаційні мережі
2.1 Труби, колектори та колодязі на каналізаційній мережі
До матеріалу труб, колекторів та їх з'єднань висувають ряд вимог: сприймання навантаження від ваги фунту та транспорту без деформації, стійкість проти корозії та механічного стирання, гладка поверхня, водонепроникність, не допускання просочування чистих вод в ґрунт (ексфільтрація) і фунтових вод в мережу (інфільтрація). Цим вимогам відповідають керамічні, бетонні, небетонні, азбестоцементні, металеві та пластмасові труби.
Керамічні труби (мал. З а) використовуються для влаштування шкірних каналізаційних мереж; їх виготовляють круглого перерізу І розтрубами, внутрішнім діаметром 150–600 мм, довжиною 800–100 мм При з'єднанні керамічних труб гладкий кінець однієї труби. В якості ущільнюючого матеріалу рекомендується застосовувати гумові кільця, просмолене коноплянеабо канат, асфальтову мастику, азбестоцемент, цемент.

Мал. 3. Каналізаційні труби:
а) керамічна; б) бетонна безнапірна розтрубна; в) залізобетонна з гладкими кінцями
Чавунні та сталеві труби застосовують переважно для напірних каналізаційних ліній. Для зовнішньої безнапірної каналізаційної мережі сталеві труби застосовують лише там, де ставляться підвищені вимоги до герметичності, наприклад, при перетині із залізницями, автомагістралями, водяними перепонами. З'єднання металевих труб – зварні, розтрубні або фланцеві. При прокладанні самопливних каналізаційних мереж також використовують труби із синтетичних матеріалів (вініпласт, поліетилен та інші).
Колектори побутової, виробничої, загальносплавної та дощової каналізації великого розміру можуть в поперечному перерізі бути круглими, прямокутними або іншої форми. Труби та канали каналізаційної мережі повинні задовольняти гідравлічні, статичні, економічні та експлуатаційні вимоги.
Залежно від виду фунту, матеріалу та діаметру труб їх кладуть безпосередньо на фунт або штучну основу. Влаштування штучної основи під труби необхідно при слабкій несучій здатності ґрунту або при можливому зниженні несучої здатності при замочуванні чи по іншим причинам. В супіщаних, суглинистих і сухих глинистих фунтах труби кладуть на піщану подушку, в водонасичених ґрунтах – на шар щебеню, гравію або крупного піску, а в деяких випадках – на бетонну основу (мал. 4, 5). В торф'яниках, пливунах і. слабих насипних ґрунтах влаштовують фундамент з паль під труби усіх діаметрів, а стики герметизують еластичними матеріалами.
Для огляду і прочищання каналізаційної мережі на ній споруджують оглядові колодязі. їх роблять скрізь, де змінюється напрям, діаметр або уклон лінії. Залежно від призначення оглядові колодязі підрозділяються на лінійні, поворотні, з'єднувальні, контрольні, промивні та перепадні. Лінійні колодязі встановлюють на прямих ділянках каналізаційних мереж усіх систем через 35–300 м залежно від діаметру труб. Поворотні колодязі встановлюють в місцях зміни напрямку мережі в плані або по висоті. З'єднувальні оглядові колодязі встановлюють в місцях з'єднання каналізаційних ліній. Промивні колодязі передбачають на тих ділянках каналізаційної мережі, де можливе випадання осаду в трубах. Пересадні колодязі споруджують її місцях, де з'єднуються труби на різній глибині, що має місце при Приєднанні бокових протоків до основної каналізаційної мережі, при «м.шпуванні перепадів в зв'язку з різкою зміною рельєфу місцевості необхідності зменшення швидкості протоку стічних вод по мережі. І колодязі встановлюють перед червоною лінією забудови її патрони будинків в місцях під'єднання дворової, квартальної або мережі до вуличної.

Мал. 4. Штучні основи під самопливні трубопроводи:
І гравійно-щебенева; б – залізобетонна плоска; в-бетонна спрофільована; г - бетонна спрофільована; д – щебенева з водонепроникним піддоном; є – гравійно-щебенева; є – бетонна з дренажем; ж – залізобетонна на палях: 1 – трубопровід; 2 – «сипання з нормальним ущільненням; 3 – засипання з підвищеним ступенем ущільнення; 5 – гравійно-щебенева підготовка; 6 – залізобетонна плоска основа; 7 – Пптонна основа (І шар); 8 – бетонна основа (П шар); 9 – залізобетонна спрофільована 90 нова; 10 – бетонна підготовка; 11 – водонепроникний шар (грунтоасфальт); 12 – дімміаж; 13 – цементний розчин; 14 – залізобетонний пояс; 15 – залізобетонні палі

Мал. 5. Природні основи під самопливні трубопроводи
а ґрунтова плоска; б – фунтова плоска з піщаною підготовкою; в – ґрунтова і профільована; г – ґрунтова спрофільована; 1 – трубопровід; 2 – засипання траншеї; 3 – кігипання з підвищеним ступенем ущільнення; 4 – плоска; 5 – піщана подушка; П спрофільована основа.
Колодязі на напірних трубопроводах встановлюють при необхідності розміщення в них засувок, випусків, вантузів та іншої арматури. Оглядові колодязі виконують з цегли або залізобетону. В плані вони можуть мати круглу або прямокутну форму (мал. 6).

Man. 6. Оглядові каналізаційні колодязі:
а) круглий; б) прямокутний: 1 – чавунний люк з кришкою; 2 – горловина; 3 – скоби; 4 – робоча камера; 5 – лоток; 6 – бетонне дно; 7 – плита перекриття
Основними елементами колодязів є: основа (підготовка, плита та набивний лоток), робоча камера перекриття або перехідна частина, горловина, кришка з люком. Висоту робочої камери приймають, як правило, 1800 мм. Розміри камери обумовлені можливістю виконання робіт по огляду, прочищенню та ремонту мережі. Діаметри круглих камер лінійних колодязів на побутовій мережі приймаються залежно від діаметра найбільшої труби.
Розміри прямокутних в плані камер приймають: при діаметрі труб до 700 мм – 1000 мм; при діаметрі труб більше 700 мм – довжина Lта ширина В приймаються за формулами:
L = d +400 мм; В = d+ 500 мм,
Перехідну частину між робочою камерою та горловиною виконують за допомогою плоского перекриття або однобічного конуса. Горловина служить для опускання робітників у камеру. Діаметр горловини колодязів на мережах каналізації усіх систем приймають 700 мм. Робочі камери та горловини обладнують скобами та драбинами для спуску в колодязь. Люки встановлюють на одному рівні з верхом проїжджої частини з твердим покриттям і на 50–70 мм вище поверхні землі в зеленій зоні.
2.2 Перетин самопливних трубопроводів каналізаційних мереж з перешкодами
При прокладанні каналізаційних мереж зустрічаються перешкоди різного виду: річки, яри, канали, підземні трубопроводи та споруди, залізниці та автостради. Спосіб перетину залежить від розташування каналізаційних трубопроводів, виду перешкоди і місцевих умов.
Якщо каналізаційні трубопроводи розташовані значно вище перешкоди, то перетин виконують у вигляді самопливного трубопроводу, який прокладається по естакаді. Естакада – це опорна конструкція у вигляді мосту (мал. 7). Трубопровід прокладають в утепленому коробі без зміни уклону, який надано колектору. Естакади виготовляють зі збірного залізобетону на залізобетонних або металевих опорах.

Мал. 7. Естакада
Якщо каналізаційні трубопроводи розташовані значно нижче перешкоди, то перетин виконують у вигляді самопливного трубопроводу, прокладеного у футлярі або прохідних чи непрохідних тунелях (мал. 8). Якщо каналізаційний трубопровід і перешкода розташовані на одній і тій же відмітці або їх різниця незначна, то перетин виконують у вигляді дюкеру – напірного трубопроводу, який з'єднує два самопливних трубопроводи (мал. 9). Всі каналізаційні дюкери мають верхню і нижню камери і виконуються не менше, ніж у дві нитки, кожна з яких є робочою.

Мал. 8. Перетин самопливним трубопроводом залізничної колії:1 – футляр; 2 – трубопровід

Мал. 9. Дюкери:
а – під транспортними магістралями; б – під водною перешкодою: 1 – трубопровід; 2 – шибер; 3 – засувка; 4 – колодязь; 5 – аварійний випуск; 6 – кожух
2.3 Дощові та загальносплавні каналізаційні мережі
Дощова каналізація служить для відведення дощових та талих вод. її, як правило, трасують по найкоротшій віддалі до місця випуску.
Зовнішня дощова каналізація складається з відкритих дощових кюветів і лотків, дощоприймачів (дощоприймальних колодязів), закритої мережі труб, зливоспусків і випусків. В закриту дощову мережу вода потрапляє через дощоприймачі – круглі або прямокутні колодязі, перекриті металевими решітками, які пропускають воду і затримують все, що може засмітити каналізаційну мережу (мал. 10, 11). Дощоприймачі встановлюють у зниженій частині проїздів біля тротуарів і перехресть вулиць на віддалі 50–80 м один від одного.
Випуск дощових стоків у водоймища проводиться переважно в межах міста або промислових підприємств. Із санітарних та естетичних міркувань дощові води слід випускати нижче рівня води в річці. Зливоспуски (див. мал. 12) на мережі дозволяють направляти найбільш забруднені порції дощових вод на очищення.

Мал. 10. Дощоприймальні колодязі:
а – конструкція із збірного залізобетону; б – схеми розташування на перехрестях вулиць; 1 – дорожнє покриття; 2 – решітка; 3 – бортовий камінь; 4 плита перекриття; 5 – стінові кільця; 6 – ходові скоби; 7 – бетон; 8 – з'єднувальний трубопровід
При загальносплавній системі каналізації влаштовується одна водовідвідна мережа, по якій відводяться стічні води всіх видів (пошугові, виробничі та атмосферні). В період сильних злив, які повторюються порівняно рідко, витрати дощових вод значно перевищують витрати побутових та виробничих стічних вод.

Мал. 11. Схеми розташування дощоприйомних колодязів на проїжджій частині дороги

Мал. 12. Схеми зливоспусків:
І криволінійним в план, боковий водозливом; б – з донним водозливом та порогом
2.4 Будівництво та експлуатація каналізаційних мереж
Каналізаційні мережі будують за погодженою та затвердженою проектно-кошторисною документацією відповідно до розбивання мережі в натурі. Технічний нагляд за будівництвом здійснюється замовником (відділом капітального будівництва або службою технагляду) та проектною організацією.
Будівництво каналізаційних мереж проводять переважно відкритим (траншейним) способом. Траншеї при цьому влаштовуються з відкосами або з вертикальними стінками. В останньому випадку виконують кріплення стінок траншеї. Характер кріплення залежить від глибини траншеї, властивостей ґрунтів, наявності ґрунтових вод. Глибина відкритої траншеї не перевищує 5–6 м у водонасичених ґрунтах і 7–8 м у сухих ґрунтах. Труби починають класти від нижнього колодязя розтрубами проти течії води. Одночасно з прокладанням труб герметизують стики. Перед засипанням траншеї рекомендується перевіряти світлом правильність укладання труб. Для цього в одному кінці ділянки встановлюють джерело світла (ліхтар), а в іншому – дзеркало, яке розташовують під кутом до осі труби. В дзеркалі повинен відбитися правильний світловий диск (переріз труби). Зміщення світлового диску вверх або вниз вказує на згин осі труби в профілі; зміщення диску вправо або вліво вказує на згин осі труби в плані. Після укладання труб набивають лотки оглядових колодязів та монтують стінки колодязів.
Закритими способами прокладання каналізаційних мереж користуються при будівництві мереж під проїздами з інтенсивним рухом транспорту, а також при значній глибині трубопроводів. При влаштуванні переходів під автострадами та залізницями закритим способом переважно використовують методи горизонтального буріння обо проколу.
Побудовані каналізаційні мережі повинні бути прийняті в експлуатацію. Для цього замовник пред'являє комісії такі документи:
виконавчі креслення на побудовані мережі та паспорти на труби, будматеріали і деталі;
акти на розбивання споруд в натурі та акти на приховані і спеціальні роботи (влаштування основи під труби, герметизація стиків, влаштування гідроізоляції, зварні та інші роботи); погодження на всі зміни проекту;
акти на гідравлічні випробування (на ексфільтрацію та інфільтрацію);
довідку від експлуатуючої організації про термін ліквідації недоліків та дефектів, якщо такі мали місце.
При прийманні в експлуатацію каналізаційних мереж особливу увагу слід звернути на:
а) якість основи під трубами та герметизацію стиків по всій довжині стику (фіксуються в актах на приховані роботи);
б) перевірку прямолінійності прокладених між двома сумісними колодязями труб на світло. При огляді трубопроводу допускається відхилення від зображення правильного кола не більше, ніж на ¼ діаметра по горизонталі, але не більше 50 мм в кожну сторону. Відхилення від правильної форми по вертикалі не допускаються;
в) гідравлічні випробування трубопроводів. Трубопроводи випробовуються на витік води з них та на інфільтрацію (попадання ґрунтових вод в труби та колодязі при високому рівні фунтових вод) за наявністю потоку води в трубі.
Для нормальної експлуатації каналізаційної мережі з метою її безперебійної роботи необхідно проводити нагляд за технічним станом мережі. При зовнішньому огляді мережі, який виконується одним-двома робітниками, виявляють дефекти люків та горловин колодязів, просідань фунту по трасі і біля колодязів. Періодичність такого огляду – один раз на два місяці.
Технічний огляд каналізаційних мереж проводиться 1–2 рази на рік бригадою із трьох слюсарів. Мета обстеження – виявлення пошкоджень мережі (стану люків, лотків, скоб), наявності інфільтрації та вентиляції, ступені наповнення труб, необхідності прочищення та ремонту мережі.
Ремонтні роботи, які виконуються при експлуатації каналізаційних мереж, розділяють на два види – поточний та капітальний ремонт.
До поточного ремонту відносять всі види робіт, що викликають порушення нормальної роботи мережі та різних споруд на ній. Ці роботи включають заміну кришок люків, усунення свищів в колодязях, регулювання кришок під рівень проїжджої частини, ремонт набивання лотків в колодязях, ремонт засувок, різного роду шиберів, заміна та кріплення скоб тощо.
До капітального ремонту відносять роботи, які вимагають значних затрат часу та матеріалів, а саме – встановлення нових та заміна старих колодязів і труб, які стали непридатними. Часто при проведенні цих робіт ділянку мережі відключають.
Правильно організована експлуатація каналізаційних мереж дозволяє значно продовжити строк їх служби, скоротити матеріальні та трудові витрати.
3. Перекачування стічних вод
3.1 Насоси для перекачування стічних вод
У тих випадках, коли неможливо здійснити відвід стічних вод самопливом на очисні споруди, застосовують насоси. При цьому, виходячи із особливостей рідини, яка перекачується (наявності в ній паперу, ганчір'я та інших домішок), до насосів пред'являють такі вимоги: вони не повинні засмічуватись покидьками, які знаходяться в стоках; їх конструкція повинна забезпечувати можливість прочищення робочого колеса, корпуса та патрубків.
З урахуванням цих вимог насоси, які застосовуються для перекачування стічних вод, мають ряд конструктивних особливостей, а саме:
а) насоси будуються тільки з одним робочим колесом і без напрямних апаратів;
б) робочі колеса мають всього дві-чотири лопаті;
в) на корпусі насосу і вхідному патрубку встановлюються люки-ревізії.
Для перекачування стічних вод промисловість випускає насоси
марки CM. Окрім цих, використовують насоси, які розраховані на перекачування рідин з великим вмістом завислих речовин: землесоси, шламові, торфонасоси, шнекові насоси та інші.
3.2 Схеми та конструкції насосних станцій
Каналізаційні насосні станції за призначенням бувають головними (перекачують стічні води зі всієї території), районними (перекачують стічні води з окремих басейнів каналізування), лінійними або підкачування (перекачують стічні води з максимально заглибленого колектора в колектори з меншим заглибленням) та місцевими (перекачують стічні води від одного або декількох будинків).
Каналізаційні насосні станції мають машинне відділення, приймальний резервуар, побутові та допоміжні приміщення. В машинному залі розташовують основні та резервні насоси, а також все допоміжне обладнання для нормальної роботи насосів. Приймальний резервуар утворює регулюючу ємність, яка забезпечує найбільш ефективну рівномірну подачу насосів і розміри якої визначаються за поєднаним графіком притоку і відкачування стічних вод (не менше за 5-ти хвилинну подачу найбільшого із встановлених насосів). Приймальний резервуар обладнують решітками для затримання великих механічних домішок. Затримані домішки подрібнюють в спеціальних апаратах і скидають в канал перед решітками. Машинний зал та інші службові приміщення відділяють від приймального резервуару суцільною водо-і газонепроникною стінкою.
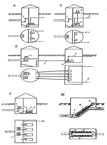
Схеми та конструкції насосних станцій залежать від гідрогеологічних умов, глибини підвідного колектору, типу та кількості насосів, особливості розташування насосних агрегатів тощо. Як правило, насосні станції розташовані в понижених місцях, мають значне заглиблення і часто нижче рівня підземних вод. В цьому випадку доцільно застосовувати каналізаційні насосні станції шахтного типу і круглі в плані (мал. 13а, б). Опускний спосіб будівництва дозволяє долати труднощі зведення споруди, які обумовлені складними гідрогеологічними умовами та значною глибиною станції. Кругла форма в плані вигідна і в конструктивному відношенні.
При перекачуванні стічних вод, що містять пожежо- та вибухонебезпечні речовини, приймальні резервуари відокремлюють від машинного відділення, яке може розміщатися на меншій глибині (мал. 1).
Значно спрощується схема та конструкція насосної станції, якщо вона має невелику глибину і зводиться в сухих ґрунтах. Станція може мати прямокутну форму, а резервуар поєднуватись з машинним відділенням (мал. 13г).
Каналізаційні насосні станції, що перекачують невелику кількість стічних вод (місцеві або розташовані в сільських населених пунктах), будують підземними і повністю автоматизованими. Доступ для огляду і проведення профілактичних заходів здійснюється через люк.
В тих випадках, коли при перекачуванні невеликих витрат стічних вод висота підйому не перевищує 4 м рекомендується приймати насосні станції з шнековими насосами (мал. 13д).
Насоси вибирають за максимальною подачею насосних станцій і потрібним напором. Напірні трубопроводи від насосних станцій виконують, як правило, в дві лінії. Швидкість руху води в них приймається 1… 1,5 м/с.

Мал. 13. Схеми насосних станцій:
а, б – шахтного типу відповідно з горизонтальними та вертикальними насосами; в-з окремо розташованим приймальним резервуаром; г – прямокутна в плані; д – з шнековими насосами: 1 – решітка; 2 – електродвигун; З – напірний трубопровід; 4 – насос; 5 – всмоктувальний трубопровід; 6 – шнековий підйомник
![]()

Maл. 14. Каналізаційні насосні станції:
а) шахтного типу з горизонтальними фекальними насосами; б) із шнековими насосами: 1 – подвійний трубопровід; 2 – щитовий затвор; 3 – молоткова дробарка; 4 – решітки; 5 – приймальний резервуар; 6 – щит управління; 7 – кран-балка; 8 – напірний трубопровід; 9 – шнековий підйомник; 10 – вихідний трубопровід

Maл. 15. Каналізаційна насосна станція з окремо розташованим резервуаром:
1 – решітки; 2 – приймальний резервуар; 3 – всмоктувальні труби; 4 – напірні труби; 5 – кран-балка; 6 – машинне відділення
Розміри насосних станцій визначають, виходячи з об'єму приймального резервуару, габаритів обладнання, складу допоміжних та побутових приміщень. Підземна частина каналізаційних насосних станцій виконується з бетону або залізобетону, а наземна – з цегли.
Насосні станції повинні бути обладнані внутрішнім водопроводом, опаленням, освітленням та вентиляцією. Для практичного застосування розроблені типові проекти насосних станцій різної потужності з різною глибиною підвідного трубопроводу. На мал. 14, 15 приведені приклади каналізаційних насосних станцій.
Використана література
1. Альтшуль А.Д-, Киселев П.Г. Гидравлика и азродинамика (Основи механики жидкости): Учебное пособиє для вузов. 2-е изд. – М.: Строй-издат, 1975. – 1975. – 323 с.
2. Богословский В.Н. и др. Отопление и вентиляция: Учеб. для вузов. -2-е изд., – М: Стройиздат, 1980. – 295 с.
3. Внутрєннее оборудование горячего и холодного водоснабжения и центрального отопления из труб РЕ-Хс (VPE-c), LPE, PVC-CnPVC-Uсистема KAN-therm. Справочник проектировщика. Современньїе систе-мьі отопления и водоснабжения. – Варшава, фирма «KAN» 1997. – 81 с. Внутренние санитарно-технические устройства. В 3 ч. Ч. 1. Отопление; Под ред И.Г. Староверова и Ю.И. Шиллера. -4-е изд., – М.; Стройиздат, 1990. – 344 с.
4. Внутренние санитарно-технические устройства. В 3 ч. 4.2. Водопровод и канализация; Под ред. И.Г. Староверова и Ю.И. Шиллера. – 4-е изд., – М.: Стройиздат, 1990. – 247 с.
5. Державні будівельні норми України: Будинки і споруди. Громадські будинки та споруди. Основні положення: ДБН В.2.2. – 9–99. – Вид.офіц. – К.: Держбуд України, 1999. – 94 с. Єнін
6. ДБН В 2.5–20–2001. «інженерне обладнання будинків і споруд. Газопостачання».
7. Жуковський CO, Лабай В.Й. Системи енергопостачання і забезпечення мікроклімату будинків та споруд. Навч. посібник. – Львів: Астрономогео-дезичне товариство, 2000. – 259 с.
8. Зінич П.Л. Вентиляція громадських будівель і споруд: Конспект лекцій. К.:КНУБА, 2001. – 228 с.
9. Измєнение №1 к СНиП 2.04.05–91. Отопление, вентиляция и кондици-онирование. Госкоштет строительства, архитектурьі и жилищной политики Украиньї. – К.: Укрархбудінформ, 1998. -19 с.
10.Инженерное оборудование зданий и сооружений: Учебник; Под ред. Ю.А. Табунщикова. – М.: Вьісш. школа, 1989. -238 с.
11.Инженерное оборудование зданий и сооружений: Учебное пособиє; Под ред. Н.В. Пащенко. – М.: Вьісш. школа, 1981. – 344 с.
12.Кедров B.C., Ловцов Е.Н. Санитарно-техническое оборудование зданий: Учеб. для вузов. – М.: Стройиздат, 1989. -495 с.
13.Кравченко B.C. Водопостачання і каналізація: Підручник. – Рівне: Вид-во РДТУ, 2002. – 285 с.
14.Кравченко B.C., Саблій Л.А. Гаряче водопостачання будівель: Навч. посібник, – 2-е вид. – Рівне, РДТУ, 2000. – 152 с.
15.Кравченко B.C., Саблій Л.А., Зінич П.Л. Санітарно-технічне обладнання будинків: Підручник. – Рівне: УДУВГП, 2003 – 442 с.
16.Кязимов К.Г., Гусев В.Е. Основи газового хазяйства: Учебник. – 3-є изд. – М.:Вьісшая школа, 2000 – 462 с.
17.Лукиньїх А.А., Лукиньїх Н.А. Таблицьі для гидравлического расчета канализационньїх сетей и дюкеров по формуле акад. Н.Н. Павловского. М., Стройиздат, 1974. – 156 с.
18.Обогревание полов с ислользованием многослойньїх труб (РЕ-АІ-РЕ) системьі «КИСАН». Руководство по проектированию, сборке и монтажу. Инструкция 2. – Варшава, Польша, 1999. – 52 с.
19.Пальгунов П.П., Исаев В.Н. Санитарно-технические устройства и газоснабжение зданий. Учебник для техникумов. – М.: Стройиздат, 1991. -416 с.
20.Русланов Г.В., Розкин М.Я., Ямпольский З.Л. Отопление и вентиляция жилых и фажданских зданий: Справочник. – К.: Будівельник, 1983. –
21.272 с.
22.«Ринок інсталяцій», №4, 2004. Вид-во «ЕКОінформ».
23.Сергейчук О.В. Архітектурно-будівельна фізика. Теплотехніка огороджуючих конструкцій будинків. Навч. посібник. – К.: Такі справи, 1999. – 156 с.
24.Справочник проектировщика. Внутренние санитарно-технические устройства: В 2 ч. /Под ред. И.Г. Староверова. – М.: Стройиздат, 1978. – ч. 2: Вентиляция и кондиционирование воздуха. – 510 с.
25.Справочник по инженерному оборудованию жильїх и обшественньїх зданий / П.П. Якубчик, А.Е. Татура, Н.А. Черников, О.А. Продоус; Под ред. В.С. Дикаревского. – Киев: Будівельник, 1989. – 360 с.
26.Тихомиров KB., Сергиенко К.С. Теплотехника. Теплогазоснабжение и вентиляция: Учебник для вузов. – 4-е изд., перераб. и доп. – М.: Стройиздат, 1991. – 480 с.
27.Шевелев Ф.А., Шевелев А.Ф. Таблицьі для гидравлического расчета водопроводньїх труб: Справ, пособие. – М.: Стройиздат, 1984. -116 с. ЩекинР.В. идр.
28.Расчет систем центрального отопления. – К.: Вища школа, 1975. – 216 с. Щекин Р.В. и др. Справочник по теплоснабжению и вентиляции. Книга І. – Киев: Будівельник, 1976.
29.Щекин Р.В., Кореневский CM., Бем Г.Е. и др. Справочник по теплоснабжению и вентиляции. Кн. 2-я. – К.: Будівельник, 1976. – 352 с. Зкология города: Учебник – Либра, 2000. – 464 с.
Похожие рефераты:
Планувальна організація об’єктів комунального господарства міста
Сучасні розробки у галузі енергозабезпечення
Розширення центральної опалювальної котельні середньої потужності
Проектування системи водопостачання та водовідведення житлового будинку квартирного типу
Екологічні проблеми водоспоживання і водовідведення та шляхи їх подолання
Розрахунок енергозберігаючих заходів
Організація локальної обчислювальної мережі агентства нерухомості
Комплексний заклад ресторанного господарства
Автоматизація котельні на ТЗВ "Волинь-Шифер"
Розробка заходів з підвищення ефективності операційної діяльності ВАТ "Дніпропетровськгаз"