| Похожие рефераты | Скачать .docx |
Реферат: Блок дифференциальных реле электровоза ВЛ80с
Блок дифференциальных реле электровоза ВЛ80
1. Назначение
Блок дифференциальных реле предназначен для защиты выпрямительных установок электровоза от коротких замыканий с помощью главного выключателя.
2. Технические данные
Технические данные блока дифференциальных реле:
Номинальное напряжение силовой цепи, В…………………………………………2500
Номинальный ток силовой цепи (эффективное значение однополупериодного выпрямления), А……………………………………………………………………………….1500
Параметры контактов в цепи переменного тока:
Напряжение, В…………………………………………………………………………380
Номинальный отключаемый ток (при cos φ ≥ 0.4), А…………………………5
Число размыкающих контактов (соединены параллельно)……………………2
Параметры контактов в цепи постоянного тока:
Напряжение, В…………………………………………………………………50
Номинальный отключаемый ток (при постоянной времени цепи 0.05с), А…5
Число размыкающих контактов (соединены последовательно и имеют один общий вывод)…………………………………………………………………………….2
Число замыкающих контактов (соединены последовательно)……………….2
Сопротивление удерживающей катушки, Ом………………………………. 3,6
Число витков катушки…………………………………………………………700
Диаметр провода ПЭТ-155 (ГОСТ 21428–75), мм………………………….. 0,8
Ток в цепи удерживающей катушки при включенном добавочном резисторе и напряжение 50 В, А………………………………………………………. 0,5–0,7
Время включения удерживающих катушек на напряжение 50 В без добавочных резисторов не более, с……………………………………………30
Ток установки (разность токов в силовых витках I¹ -I²), А…………….500-30 +50
Время срабатывания от момента достижения значения установки до начала касания размыкающих контактов при скорости нарастания общего силового тока 1,3×106 А/с не более, с………………………………………………. 0,01
3. Устройство
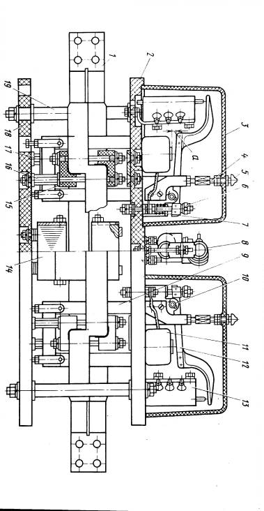
Блок дифференциальных реле (рис. 1–4) состоит из двух электромагнитных реле, собранных на панели 2 (см. рис. 1), общей для двух реле силовой шины 1 с двумя параллельными разветвлениями и индуктивным шунтом 14, надетым на одну из ветвей шины 1.
Реле состоит из шихтованного магнитопровода 9, катушки 11, якоря 12и блокировки 13. Якорь вращается на оси 10. Одним концом якорь производит переключение блокировки, на другой конец действует отключающая пружина 7, натяжение которой регулируется гайкой 6. Зазор а между якорем и полюсом магнитопровода регулируется положением шпильки 4. Реле закрыто прозрачным кожухом 3, который крепится при помощи гайки 5и шпильки 4.
Силовая шина с индуктивным шунтом при помощи клиц 15и шпилек 16, 17крепится к панели 18. Панель 18с закрепленной на ней шиной 1и индуктивным шунтом 14крепится стойками 19к верхней панели 2. В нижней панели 18имеются четыре овальных отверстия, которые предназначены для крепления блока в электровозе. На верхней панели размещены добавочные резисторы 8и выводы, осуществлен внутренний монтаж электрической цепи.
4 . Принцип действия
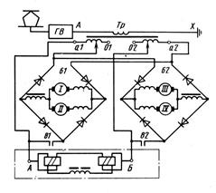
В окна двух магнитных систем 1(см. рис. 2) клапанного типа пропущены навстречу друг другу два силовых витка, являющихся разветвлениями шины 2, выводы А и Бкоторой подключаются в силовую цепь электровоза между равнопотенциальными точками двух выпрямительных установок (см. рис. 3). На одну из ветвей шины помещается шихтованный сердечник 3(см. рис. 2). Обе ветви шины имеют незначительно отличающиеся друг от друга сопротивления, длина их и площадь сечения одинаковы.
Ветвь, в которую включен индуктивный шунт, обладает большим индуктивным сопротивлением. Общий ток Iобщ.
распределяется по ветвям шины пропорционально их активным и индуктивным сопротивлениям. Поэтому при протекании общего тока Iобщ
, меняющегося во времени, будет иметь место небаланс
I= I1
– I2
, который зависит от скорости изменения тока и соотношения индуктивностей в ветвях шины.
Силовые ветви шины пропущены в окна магнитной системы таким образом, что магнитодвижущая сила от тока небаланса
I в одном реле действует в одну сторону, в другом реле – в противоположную.
Магнитодвижущая сила от удерживающей катушки 5 действует на участке якоря 6при обозначенном направлении протекания силового тока через катушку у реле I встречно с магнитодвижущей силой от тока небаланса
I, а через катушку реле II – согласно. Поэтому при аварии в правой выпрямительной установке со стороны вывода А(к. з. цепи якоря тягового двигателя) резко возрастает ток в направлении от вывода Ак выводу Би вследствие перераспределения тока по ветвям шины увеличивается небаланс
I. Это вызывает срабатывание реле I, которое своими размыкающими контактами замкнет цепь отключающей катушки главного выключателя, В этом случае реле II не срабатывает, так как на участке якоря магнитодвижущая сила от небаланса действует согласно с магнитодвижущей силой, удерживающей катушки.
При аварии в выпрямительной установке со стороны вывода Бток Iобщ
потечет в направлении от вывода Бк выводу Ачто вызывает срабатывание реле II (реле I не срабатывает). Обе катушки реле включены на напряжение 50 В последовательно, но с добавочными резисторами Rд .
Одинаковое активное сопротивление ветвей шины 2 необходимо для уменьшения тока естественного небаланса между ветвями, от которого было бы необходимо отстраиваться, увеличивая установку реле.
Реле включается (замыкается якорь) при подаче напряжения 50 В на последовательно соединённые удерживающие катушки, минуя добавочные резисторы Rд , ограничивающие ток. При этом уменьшение тока должно быть достаточно для удержания якоря в притянутом положении. Для регулировки тока в цепи катушек сопротивление добавочного резистора может регулироваться.
5. Текущий ремонт БРД-356
ТР-1.
Проверить состояние реле и шин, счистить от пыли рабочие поверхности магнитопроводов. При появлении на полюсах магнитопроводов ржавчины очистить её мелкозернистой наждачной бумагой. Проверить состояние контактов реле.
ТР-2.
Выполнить ревизию блока. Зачистить поверхности прилегания якоря к полюсу магнитопровода и нижнего пакета к магнитопроводу. Проверить состояние катушек и шин. Места нарушения изоляции катушек залить эпоксидной смолой холодного отверждения. При нарушении покрытия шины восстановить его красной эмалью ГФ-92ХС. Места нарушения покрытия магнитопровода покрыть чёрным лаком.
Проверить чёткость включения реле. Проверить блок. Перечень проверяемых параметров приведён в табл. 1.
Проконтролировать отрывное усилие якорей по центрам сердечников. Замер производить динамометром, усилие которого приложить к якорю по центру сердечников.
Отрегулировать аппарат следующим образом:
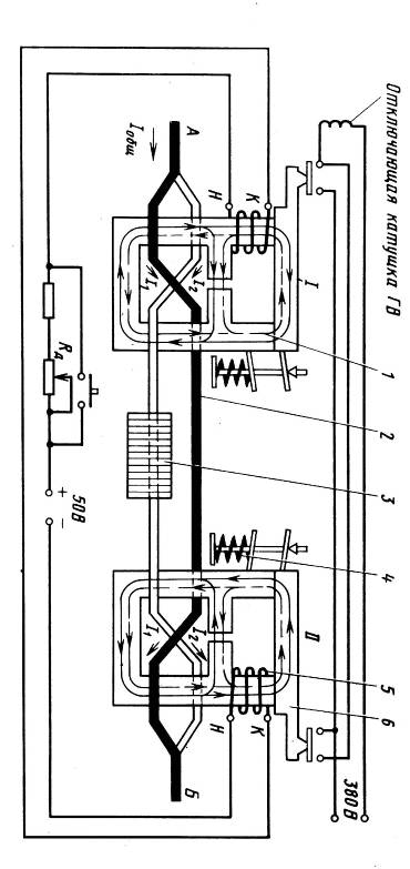
Подайте на выводы 1 (плюс) и Ж (см. рис. 4) напряжение 50 В постоянного тока. Изменяя сопротивление добавочного резистора передвижением движка, установить ток в катушках 0,7 А, после чего затянуть винт движка резистора.
Пропустить через верхние части окон магнипроводов обоих реле провод в направлении, согласном с витков силовой шины, не содержащим шихтованный пакет. Отрегулировать, кратковременно пропуская через провод постоянный ток, изменением усилия пружины 4 ток срабатывания обоих реле 500А. При этом при протекании тока слева направо должно срабатывать первое реле и наоборот (см. рис. 2). После регулировки реле опломбировать.
6. Неисправности и методы их устранения
| Неисправность | Вероятная причина | Метод устранения |
| Аппарат не включается | Обрыв в цепи | Устраните обрыв |
| Неисправность катушки | Замените катушку | |
| Наличие большого зазора между якорем и полюсом | Отрегулируйте зазор согласно техническим требованиям | |
| При форсировке аппарат включается, но не удерживается во включенном положении. | Обрыв в цепи резистора | Устраните обрыв |
| Неисправность резистора | Замените резистор | |
| Ток уставки уменьшился | Межвитковое замыкание в катушке | Замените катушку |
| Нарушение зазоров между якорем и полюсом | Восстановите зазоры припиловкой в соответствии с техническими требованиями | |
| Не переключается блокировка | Нарушена регулировка блокировки | Отрегулируйте блокировку |
| Наличие малого зазора между якорем и полюсом | Отрегулируйте зазор |
7. Охрана труда
1. Все виды производства ремонтных работ; выявление и устранение неисправностей, должны производиться только работниками, получившими после соответствующего испытания право на выполнение этих работ.
2. Испытания и выдача удостоверений на право производства данных работ должны производиться специальной комиссией.
3. Данные работы должны производиться в специально оборудованных помещениях (цехах) заводов, локомотивных ДЕПО и т.д.
4. Запрещается:
производить данные работы не в специально оборудованных помещениях;
производить данные работы лицам, не имеющим доступа, специального образования и разрешения для производства данных работ.
5. При составлении любой аварийной схемы или при устранении какой-либо неисправности строго выполнять требование инструкции по технике личной безопасности.
Список литературы
1. Н.М. Васько, А.С. Девятков, А.Ф. Кучеров и др. «Электровоз ВЛ80С » Москва «Транспорт» 1990 г.
Дополнительные справочные материалы

Рис. 1. Блок дифференциальных реле БРД-356
Рис. 2. Схема БРД-356
1– магнитная система; 2– шина; 3– шихтованный сердечник; 4– пружина; 5 – катушка; 6– якорь.

Рис. 3. Схема включения БРД-356
Рис. 4. Схема низковольтной цепи БРД-356
Таблица 1
| Параметр | Инструмент, прибор, оборудование для проверки | Значение параметра |
| Раствор контактов, мм | Штангенциркуль | 4 |
| Провал контактов, мм | Штангенциркуль | 2 |
| Зазор, мм: | ||
| между отключенным якорем и серединой полюса магнитопровода | Штангенциркуль или щуп(шаблон) | 4±0,5 |
| между якорем и основным магнитопроводом в месте шарнира | Штангенциркуль или щуп(шаблон) | 0,02–0,06 |
| в местах прилегания пакета к нижним торцам магнитопроводов не более | Штангенциркуль или щуп(шаблон) | 0,05 |
| Площадь прилегания якоря к сердечнику магнитопровода (по отпечатку на бумаге) не менее, % | ______________ | 65 |
| Запас тягового усилия при притянутых якорях по центрам сердечников при снижении напряжения до 35В на двух соед. последовательно катушках и добавочном резисторе не менее, Н (кгс) | Динамометр | 5 (0,5) |
| Отрывное усилие якоря по центру сердечников, Н (кгс) | Динамометр | 80–100 (8–10) |
| Наименьший ток в катушках, при котором обеспечивается включение обоих реле не более, А | Амперметр | 4,2 |
| Ток установки, А | Амперметр | 550 (+50 -30) |
| Электрическая прочность изоляции, В: | ||
| между силовой шиной и выводом Ж, магнитопроводами 9 (см. рис. 1) | Испытательный трансформатор | 9000 |
| Между выводами А и Б и остальными выводами низковольтной цепи. | Испытательный трансформатор | 2250 |
Похожие рефераты:
Оборудование летательных аппаратов
Синхронные машины. Машины постоянного тока
Компенсация реактивной мощности в системах электроснабжения с преобразовательными установками
Разработать лабораторный стенд для испытания устройств защиты судовых генераторов
Основные приборы и механизмы тягового электровоза
Пассивные линейные измерительные преобразователи синусоидальных напряжений и токов
Железнодорожная автоматика и телемеханика
Проектирование электрической части ТЭЦ 180 МВт
Электромагнитные реле железнодорожной автоматики
Проектирование электрической тяговой подстанции постоянного тока
Электронные схемы для дома и быта
Тиристорные устройства для питания автоматических телефонных станций