| Похожие рефераты | Скачать .docx |
Реферат: Приборы ночного видения
ПЛАН ОТЧЁТА
1. Введение;
2. Общее описание ПНВ;
3. Основные технические
характеристики прибора;
4. Устройство и работа ПНВ;
5. Описание составных частей ПНВ;
6. Технология изготовления,
контроль параметров;
1.ВВЕДЕНИЕ
Приборы ночного видения (далее ПНВ) предназначены для ведения наблюдения за объектами в условиях малой освещенности. Область применения: наблюдение за жизнью животных, охрана объектов в тёмное время суток, проведение спасательных, поисковых, строительно-монтажных работ, туризм, управление транспортным средством, скрытое наблюдение, поражение неосвещённых целей и т. д. ПНВ может иметь однократное увеличение (если требуется правильная ориентация в пространстве) либо может быть использован совместно с линзовым объективом, т.е. служить биноклем (подзорной трубой). ПНВ так же может быть укомплектован ИК - осветителем (дополнительный источник подсветки).
Требования к ПНВ: обеспечение высокого качества изображения с равномерным разрешением по всему полю зрения, достаточная яркость изображения, правильное распределение яркости по области изображения, наличие автоматической регулировки яркости для защиты от сильных засветок, достаточная дальность наблюдения, прочность, защита от грязи и влаги, универсальность питания, удобство и простота эксплуатации прибора, приемлемая стоимость.
2.ОБЩЕЕ ОПИСАНИЕ ПНВ
(на примере прибора ПНВ-10Т; см. рис.1 на след. стр.)
1 - псевдобинокуляр; 2 - обод;
3 - ремни оголовья; 4 - объектив;
5 - механизм регулировки окуляров по базе глаз;
6 - кольцо диоптрийной установки;
7 - переключатель;
8 - встроенный ИК-осветитель;
9 - крышка объектива;
10 - механизм крепления;
11 - крепление ремней переноски;
12 - отсек источников питания;
13 - патрон осушки;
14 - наглазники;
15 - кронштейн;
16 - ручка фиксации;
17 - кнопка быстрого съема;
18 - кнопка откидывания;
19 - ремень фиксации на подбородке
рис.1 Общий вид прибора

Изделие ПНВ-10Т, представляющее собой очки ночного наблюдения водителя, предназначено для выполнения экипажем бронетанковой техники (и других транспортных средств) в темное время суток операций контрольного осмотра и технического обслуживания техники, ее вождения, наблюдения объектов на местности, а также чтений текстового материала, показаний приборов бронемашины и работы с топографическими картами. Очки крепятся на оголовье, которое фиксируется на голове с помощью специальных ремней. Очки имеют однократное увеличение, для обеспечения нормальной пространственной ориентации, и псевдобинокулярную конструкцию, которая позволяет существенно снизить вес и стоимость очков. ПНВ обеспечивает изображение высокого качества, равномерное по всему полю зрения, благодаря волоконно-оптической пластине («шайбе») на выходе электронно-оптического преобразователя III поколения. В электронно-оптическом преобразователе (далее ЭОП) использован усилитель, встроенный высоковольтный источник питания, автоматическая регулировка яркости и защита от мощных источников засветки. Очки обеспечивают большие дальности действия при естественной ночной освещенности без подсветки. При работе в «полной» темноте предусмотрена система подсветки.
Для расширения потребительских свойств прибор комплектуется оптической насадкой с увеличением 2,5х и мощным ИК осветителем, позволяющим значительно увеличить зону прямой видимости прибора. При работе с текстовыми документами и топографическими картами, а также при проведении ремонтных и инженерных работ в условиях, когда освещенность недостаточна для работы в пассивном режиме, в изделии предусмотрено использование встроенного ИК источника подсветки. Очки позволяют изменять межзрачковое расстояние и фокусировать объектив ПНВ в достаточно широком диапазоне.
3. ОСНОВНЫЕ ТЕХНИЧЕСКИЕ ХАРАКТЕРИСТИКИ ПРИБОРА
| Наименование технических данных |
Значение |
|
| Ночные очки |
Ночные очки с насадкой |
|
| Дальность опознавания ростовой фигуры при естественной ночной освещённости |
200 |
300 |
| Угол поля зрения, градус |
40 |
10 |
| Увеличение изделия, крат |
1,0 |
2,5 |
| Фокусировка объектива на резкость в пределах дальностей, м |
0.25 - ¥ |
10 - ¥ |
| Электрическое питание изделия: |
автономный источник питания (аккумуляторные батареи типа KRH 1 5/5 1 (2шт) или элементы питания типа АА R6 1,5 В (2 шт)), через преобразователь напряжения низковольтный от бортовой сети постоянного тока |
|
| Время работы изделия до замены автономного источника питания (без осветителя): при положительных температурах до 50°С, ч, не менее |
18 |
18 |
| при отрицательных температурах до минус 50°С, ч, не менее |
4 |
4 |
| Габариты изделия, мм, не более |
|
|
| Масса изделия, кг: в рабочем положении |
0.98 |
1.3 |
| в сумке |
1.5 |
1.8 |
| в футляре |
6.0 |
6.3 |
4.УСТРОЙСТВО И РАБОТА ПНВ
Изделие ПНВ-10Т представляет собой пассивный прибор ночного наблюдения со встроенным ИК источником подсветки (осветителем), построенный по псевдобинокулярной схеме: с одним объективом, одним ЭОП и разводкой изображения с экрана ЭОП на два глаза наблюдателя с помощью окуляра, выполненного в виде компактного бинокулярного микроскопа, состоящего из коллиматорного объектива (устройство, позволяющее получить пучок параллельных лучей), разделительной призмы и двух одинаковых телескопических систем с окулярами. Принцип действия ночного прибора основан на усилении яркости и преобразовании спектрального состава изображения наблюдаемых объектов с помощью малогабаритного ЭОП.
рис.2 Структурная схема изделия ПНВ-10Т
(условные обозначения схемы: изделие ЭПМ-53Г-В – тип ЭОП, ВИП – встроенный источник питания, ПНН – преобразователь напряжения низковольтный)
![]() |
1 - объектив; 2 - ЭОП (вакуумный блок изделия ЭПМ-53Г-В);
3 - коллиматорный объектив (лупа); 4 - разделительная призма;
5 - телескопическая система; 6 - ВИП; 7 - автономный источник питания;
8 - УП; 9 - ПНН; 10 - кабель; 11 - переходник; 12 - насадка (съемная)
Объектив 1 формирует изображение объектов и местности на фотокатоде ЭОП 2. Усиленное по яркости (ЭОП) и преобразованное по спектральному составу (люминофор) это изображение воспроизводится на экране ЭОП и рассматривается наблюдателем через окуляр изделия с помощью лупы коллиматора 3, разделительной призмы 4 и двух телескопических систем 5, которые могут сдвигаться относительно призмы или раздвигаться в зависимости от величины глазной базы наблюдателя. В конструкцию изделия ЭПМ-53Г-В входят вакуумный блок и ВИП 6 , который имеет устройство автоматической регулировки яркости (АРЯ) экрана (в зависимости от освещенности на местности) и схему защиты ЭОП от световых перегрузок. Для обеспечения работы ВИП и осветителя используется автономный источник питания 7 или бортовая сеть транспортного средства.
5. ОПИСАНИЕ СОСТАВНЫХ ЧАСТЕЙ ПНВ
рис.3 ПНВ в разобранном состоянии
(см. след. стр)
![]() |
1 - корпус ПНВ; 2 - окуляр
3 - оборачивающий объектив;
4 - зеркало; 5 - коллиматор (лупа) с призмой; 6 - корпус ОНВ;
7 - ИК-подсветка; 8 - ЭОП; 9 - корпус объектива; 10 – объектив;
11 - крышка объектива.
Главным элементом прибора ночного видения является ЭОП. Действие всех ЭОП основано на явлении внешнего фотоэффекта - эмиссии электронов в вакуум из тонких слоев металла (фотокатода) под воздействием квантов излучения.
Принцип действия ЭОП на основе МКП:
Вторично-эмиссионным усилителем в ЭОП является микроканальная пластина (МКП). Этот элемент представляет собой «сито» с регулярно расположенными каналами диаметром около 10 мкм и толщиной не более 1 мм. Число каналов равно числу элементов изображения и имеет порядок 106 . Обе поверхности МКП полируются и металлизируются, между ними прикладывается напряжение в несколько сотен (или тысяч) вольт. Принцип действия иллюстрирует рис. 4. Попадая в канал, электрон испытывает соударения со стенкой и выбивает вторичные электроны. В тянущем электрическом поле этот процесс многократно повторяется, позволяя получить коэффициент усиления Nх104 раз. Для получения каналов МКП используется разнородное по химическому составу оптическое волокно. После получения шайбы сердцевины волокон растворяются в химических реактивах, образуя множество микроканалов.
рис.4 Один канал МКП (схематично)

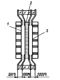
Рис.5 Конструкция плоского ЭОП (значения напряжений могут отличаться от приведённых на рисунке)

1 - фотокатод
2 - микроканальная пластина
3 – экран с люминофором
Псевдобинокуляр ПНВ-10Т представляет собой носимый наблюдательный прибор пассивного типа со встроенным ИК источником местной подсветки, обеспечивающий возможность наблюдения объектов и местности в ночное время за счет использования ЭОП. ПНВ-10Т (рис.3) имеет модульную конструкцию, в основу которой положена схема вакуумного ЭОП. В псевдобинокуляр встроен осветитель, представляющий собой самостоятельную сборочную единицу, главными элементами которой являются ИК диод и линза, формирующая энергетический пучок излучения. Питание ЭОП и ИК диода может осуществляться от бортовой сети транспортного средства через ПНН.
В корпусе ПНВ имеется патрон осушки . Он предназначен для поглощения влаги в случае её попадания во внутреннюю полость псевдобинокуляра. Конструктивно патрон осушки состоит из втулки, в которую насыпают силикагель-индикатор. Ненасыщенный силикагель имеет синеватую окраску. По мере насыщения влагой окраска силикагеля меняется и при полном насыщении имеет бледно-розовый или грязно-белый цвет. Состояние силикагеля можно контролировать через смотровое стекло на боковой части ПНВ.
Оптическая насадка предназначена для наблюдения удаленных объектов на местности и образует вместе с ночными очками малогабаритный наблюдательный прибор с увеличением 2,5х. Конструктивно представляет собой отдельную сборочную единицу: корпус с оптической системой из линз.
Преобразователь напряжения низковольтный (ПНН) предназначен для питания изделия от бортовой сети транспортного средства, ПНН является стабилизированным источником питания, который преобразует напряжение бортовой сети транспортного средства 12 В или 27 В (имеется переключатель режима питания) в постоянное напряжение 3 В, необходимое для питания ПНВ. Электрическая схема ПНН представляет собой стабилизатор напряжения, выполненный на базе интегральной микросхемы напряжение на выходе которой регулируется настройке. Электрическая схема крепится винтами к железному (теплоотводному) основанию и размещается в пластмассовом корпусе. ПНН комплектуется кабелем и набором переходников.
ПНВ-10Т поставляется с переходным устройством , предназначенным для работы с изделием при пониженных температурах окружающего воздуха и применяется только при работе от автономного источника питания (батареек). Батарейки размещаются в корпусе устройства, которое крепится в кармане одежды. Тем самым достигается подогрев элементов питания.
ПНВ-10Т комплектуется зарядным устройством , предназначенным для зарядки аккумуляторных батарей от бортовой сети транспортного средства 12 В или 27 В до 1.5 В.
Весь комплект ПНВ-10Т размещается в стальном футляре , на крышке которого указывается наименование изделия и его заводской номер.
6.ТЕХНОЛОГИЯ ИЗГОТОВЛЕНИЯ,
КОНТРОЛЬ ПАРАМЕТРОВ
Технология изготовления и сборки узлов зафиксирована в соответствующих технологических картах. Технологические карты содержат наименование, содержание и последовательность операций, технологические требования к изготовлению и сборке, список контролируемых параметров, используемое оборудование, инструмент, исходный материал. В технологическую карту так же вносится информация о количестве изделий в одной партии и количестве и специальности рабочих, выполняющих указанную операцию.
Испытания прибора проводятся с целью оценки соответствия параметров изделия предъявляемым требованиям, выявления дефектов, определения величины допустимых эксплуатационных нагрузок. Порядок и объем типовых испытаний образцов изделий устанавливается специальной программой испытаний. Типовые испытания (ТИ) проводятся на предприятии-изготовителе - ФГУП «Альфа». Испытание прибора проводится на специальном оборудоваении, имитирующем воздействие температуры (специальные печи и холодильные установки),влаги, ударов , вибрации. Порядок испытания прибора на таком оборудовании регламентируется соответствующими пунктами программы испытаний.
ИСТОЧНИК ИНФОРМАЦИИ:
1) Прибор ночного наблюдения водителя ПНВ-10Т. Руководство по эксплуатации, 2000 г.;
2) Технологические карты по изготовлению корпуса и окуляра ПНВ;
3) Internet.
Похожие рефераты:
Методы контроля оптико-механических приборов и приборов ночного видения
Контроль электронно-оптических преобразователей
Проектирование круглосуточной оптико-телевизионной системы
Оборудование летательных аппаратов
Контроль приборов ночного видения
Современные технические средства наблюдения
Организация оплаты труда на ОАО "Пеленг" и направления ее совершенствования
Характеристики компонентов волоконно-оптических систем передачи
Применение технических средств наблюдения для контроля территории
Оптика и оптические явления в природе
Электронные схемы для дома и быта
Цифровые фотоаппараты, как средство съема визуально - оптической информации
Проект высокоскоростной локальной вычислительной сети предприятия

