| Похожие рефераты | Скачать .zip |
Реферат: Двухэтажный жилой дом





ЭКСПЛИКАЦИЯ ПОМЕЩЕНИЙ
|
№ по плану |
Наименование помещения |
Площадь, м2 |
|
1 |
Гостиная |
27,13 |
|
2 |
Общая комната |
18,40 |
|
3 |
Спальня |
12,34 |
|
4 |
Кабинет |
16,35 |
|
5 |
Кухня |
12,29 |
|
6 |
Бойлерная |
4,11 |
|
7 |
Санузел |
6,44 |








ВАРИАНТ ОТМЫВКИ
МИНИСТЕРСТВО ОБРАЗОВАНИЯ РФ
Ливенский политехнический колледж
(филиал) Орел ГТУ
КУРСОВАЯ РАБОТА
по дисциплине «Архитектура»
Тема: «Двухэтажный жилой дом»
Выполнил: студент 2-го курса
напр. 550100 группа 21-с
Старина А.Г
Проверил: Веселовский Д.Н.
Дата защиты ___________ Оценка______________
Ливны 2002
МИНИСТЕРСТВО ОБРАЗОВАНИЯ РФ
Ливенский политехнический колледж
(филиал) Орел ГТУ
Кафедра ПГС
ПОЯСНИТЕЛЬНАЯ ЗАПИСКА
к курсовой работе
по дисциплине «Архитектура»
Тема: «Двухэтажный жилой дом»
Выполнил: студент 2-го курса
напр. 550100 группа 21-с
Старина А.Г
Руководитель: Веселовский Д.Н.
Ливны 2002

СОДЕРЖАНИЕ
Орел ГТУ 1
ВВЕДЕНИЕ 3
1 РАЙОН СТРОИТЕЛЬСТВА 4
2 ОБЪЕМНО–ПЛАНИРОВОЧНОЕ РЕШЕНИЕ 5
3 ОБЪЕМНО-ПЛАНИРОВОЧНЫЕ ПОКАЗАТЕЛИ 6
4 ФУНКЦИОНАЛЬНЫЕ ТРЕБОВАНИЯ 7
5 КОНСТРУКТИВНЫЕ РЕШЕНИЯ 9
5.1 Фундаменты и цоколи 9
5.2 Стены 11
Теплотехнический расчет 12
5.3 Внутренние стены и перегородки 15
5.4 Перекрытия 16
5.5 Полы 17
5.6 Крыша, кровля 19
5.7 Лестницы 21
5.8 Окна и двери 22
6 НАРУЖНАЯ И ВНУТРЕННЯЯ ОТДЕЛКА 24
7 ИНЖЕНЕРНОЕ ОБОРУДОВАНИЕ 26
8 СПЕЦИФИКАЦИЯ СБОРНЫХ ЭЛЕМЕНТОВ 27
9 ТЕХНИКО-ЭКОНОМИЧЕСКИЕ ПОКАЗАТЕЛИ 29
ЛИТЕРАТУРА 30
ВВЕДЕНИЕ
Интенсивное развитие строительной техники сопровождается внедрением индустриальных методов строительства, новых строительных и конструктивных систем. За последнее время, в связи с переходом страны к рыночной экономике, появилось большое количество принципиально новых по конструктивным и декоративным показателям строительных материалов. Между тем, вследствие усиления конкуренции среди производителей на рынке строительных материалов происходит неизбежное их удешевление, улучшение качества и ассортимента.
Все эти изменения, если учитывать, что стоимость стройматериалов составляет более 50% стоимости строительства гражданского здания, все в большей степени позволяют людям со средним достатком строить высококачественные индивидуальные жилые здания.
Предлагаемый проект по конструктивным особенностям и типу используемых материалов удовлетворяет требования большинства семей, рассчитывающих на сравнительно недорогое и качественное индивидуальное жилье, имеющее архитектурную выразительность, отличающееся от гражданских зданий массового строительства более удобной планировкой с учетом более жестких функциональных требований.
1 РАЙОН СТРОИТЕЛЬСТВА
Город Курск является административным центром Курской области. Население города во время переписи в 1985 году составляло 420 тысяч жителей. Климат умеренно континентальный. Средние температуры января около -8С, июля 19С. Среднее количество осадков около 500 мм в год. Средняя влажность воздуха наиболее холодного месяца около 87%, а наиболее теплого – 53%. Снеговой покров в среднем составляет 100 кг/м2 от середины ноября до середины апреля.
Температура воздуха наиболее холодных суток — обеспеченностью 0,92 — -30˚C; обеспеченностью 0,98 — -32˚C.
Температура воздуха наиболее холодной пятидневки обеспеченностью 0,92 — -26˚C; обеспеченностью 0,98 — -29˚C.
Максимальная из средних скоростей ветра по румбам за январь — 5,3 м/с; за июль — 3,5 м/с.
Глубина промерзания грунтов — 1,15 м.
В Курской области осуществляется производство стройматериалов (добываются известняк, бутовый камень). Вблизи Курска имеются заводы ЖБИ.
Январь
Июль


2 ОБЪЕМНО–ПЛАНИРОВОЧНОЕ РЕШЕНИЕ
Объемно–планировочное решение – это решение, на основе которого принимается тот или иной состав и размеры помещений.
Здание имеет сложную прямоугольную форму; запроектировано без подвала.
Согласно объемно–планировочному решению класс данного здания III, степень долговечности — II, степень огнестойкости — III.
Запроектировано:
– высота 1-го и 2-го этажа — 3,00 м;
– высота всего здания — 10,94 м;
– размеры в осях — 12,00 м (1–3) и 9,90 м (А-Д).
Данный коттедж рассчитан на проживание в нем семьи состоящей из 3 – 5 человек. Здание имеет 2 уровня.
На первом этаже расположены кухня, гостиная, санузел, бойлерная и веранда, на втором этаже – спальня, кабинет, общая комната, балкон. Санузел оборудован водопроводом и канализацией. Связь между основными помещениями осуществляется через коридоры.
Вентиляция помещений естественная. Размеры окон обеспечивают необходимую освещенность помещений в светлое время суток.
3 ОБЪЕМНО-ПЛАНИРОВОЧНЫЕ ПОКАЗАТЕЛИ
|
№ помещения |
Наименование помещения |
Площадь, м2 |
|
1 |
Гостиная |
27,13 |
|
2 |
Общая комната |
18,40 |
|
3 |
Спальня |
12,34 |
|
4 |
Кабинет |
16,35 |
|
5 |
Кухня |
12,29 |
|
6 |
Бойлерная |
4,11 |
|
7 |
Санузел |
6,44 |
|
8 |
Веранда |
7,74 |
|
9 |
Коридор (1 этаж) |
2,26 |
|
10 |
Коридор (2 этаж) |
8,52 |
|
11 |
Холл |
12,29 |
|
12 |
Балкон |
8,04 |
|
13 |
Тамбур |
1,97 |
Площадь застройки – 126,71 м2.
Общая площадь – 137,88 м2.
Жилая площадь – 74,22 м2.
Площадь, приходящаяся на одного жильца – 27,58 м2.
Объем здания – 928,95 м3.
Объем здания, приходящийся на одного жильца – 185,79 м3.
4 ФУНКЦИОНАЛЬНЫЕ ТРЕБОВАНИЯ
Коттедж предназначен для проживания в нем семьи, состоящей из 3–5 человек. К каждому помещению в здании предъявляются определенные функциональные требования, т.е. каждое помещение должно выполнять определенные функции.
Гостиная предназначена для приема гостей, активного отдыха членов семьи и может также служить комнатой для приема пищи.
Общая комната служит местом активного отдыха и комнатой для приема пищи.
Спальня является комнатой, служащей для пассивного отдыха (сна) членов семьи.
Кабинет предназначен для рабочей и творческой деятельности, не исключено также применение его для отдыха.
Кухня служит для приготовления и приема пищи.
Бойлерная предназначена для размещения в ней отопительного оборудования (газового котла).
Санузел служит для личной гигиены членов семьи.
Веранда имеет выход на открытое пространство (во двор или сад), выполняет теплоизоляционную функцию, служит для более близкого сообщения между кухней и гостиной, а также для дополнительной иллюминации первого этажа.
Коридоры 1-го и 2-го этажей предназначены для сообщения между помещениями.
Холл, в котором расположена лестница, служит для хранения и верхней одежды и обуви, для сообщения между этажами и другими помещениями.
Балкон открывает вид на улицу и позволяет выйти на свежий воздух, не покидая здания.
Тамбур служит для входа и выхода и выполняет теплоизоляционную функцию.
Функциональная схема здания
5 КОНСТРУКТИВНЫЕ РЕШЕНИЯ
5.1 Фундаменты и цоколи
Фундаменты – подземные конструкции, передающие нагрузки от здания на грунт.
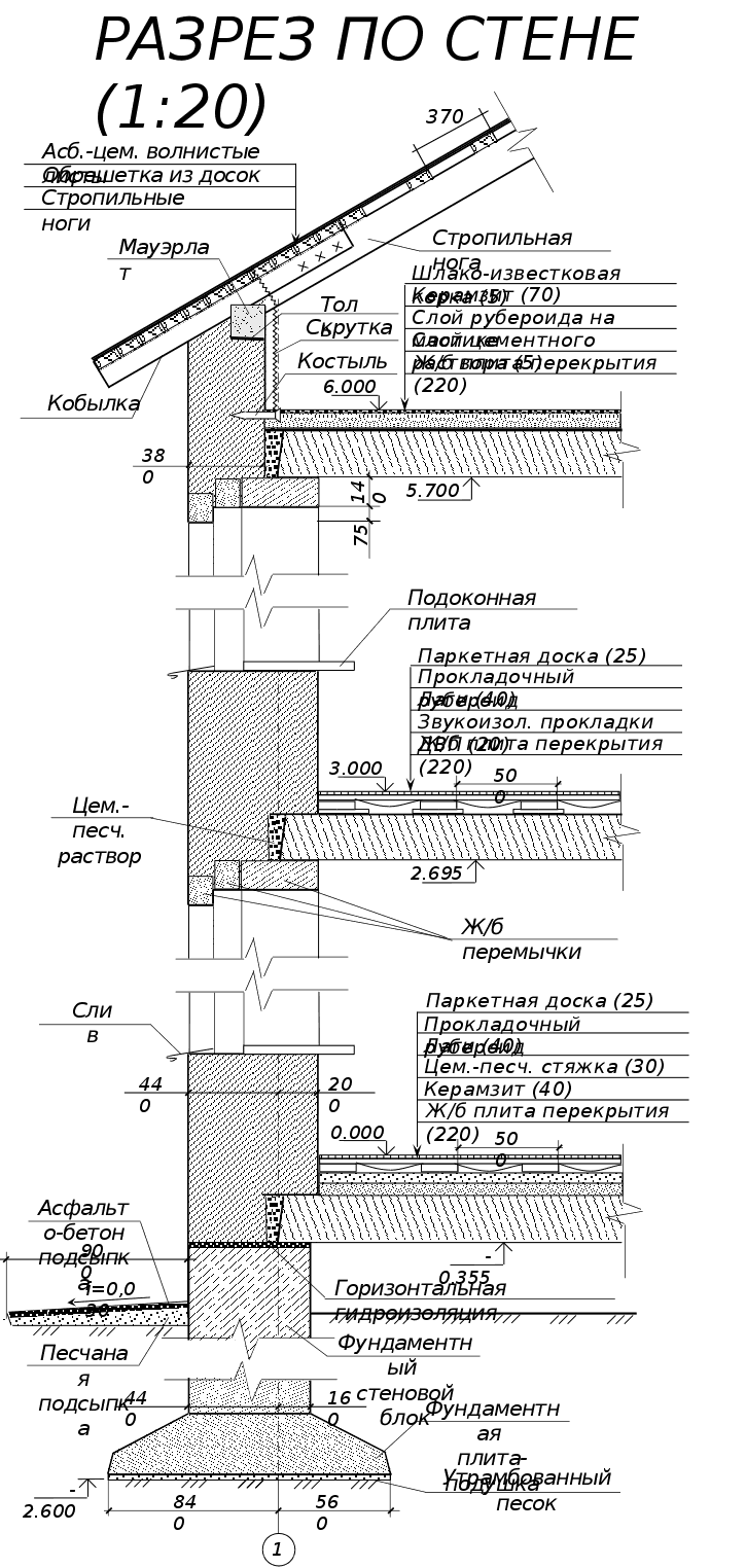
В данном здании запроектирован сборный ленточный фундамент, в связи с тем, что неподалеку от места строительства расположен завод железобетонных изделий.
Сборные ленточные фундаменты состоят из плит-подушек, укладываемых в основание фундаментов и стеновых блоков, которые являются стенами подземной части здания.
Фундаментные плиты-подушки укладываются на выровненное основание с песчаной подсыпкой толщиной 10 см. Под подошвой фундамента нельзя оставлять насыпной или разрыхленный грунт. Он удаляется и вместо него насыпается щебень или песок. Углубления в основании более 10 см заполняются бетонной смесью. Плиты-подушки под наружные стены имеют ширину 1400 мм, а под внутренние — 800 мм. При проектировании размеры фундаментных плит-подушек приняты согласно ГОСТ 13580-85.
Плиты-подушки укладываются с разрывами. В местах сопряжения продольных и поперечных стен плиты подушки укладываются впритык и места сопряжения между ними заделываются бетонной смесью. Поверх уложенных плит-подушек устраивается горизонтальная гидроизоляция и по ней сверху цементно-песчаная стяжка толщиной 30 мм, в которую укладывают арматурную сетку, что ведет к более равномерному распределению нагрузки от вышележащих блоков и конструкций. Диаметр стержней сетки — 6 мм. Шаг — 30 см. По завершении устройства цементной стяжки котлован засыпается до верха смонтированных железобетонных фундаментных подушек.
Затем укладываются бетонные фундаментные блоки с перевязкой швов в три ряда, поверх которых устраивается горизонтальный гидроизоляционный слой из двух слоев рубероида на мастике. Назначение гидроизоляционного слоя — исключение миграции капиллярной грунтовой и атмосферной влаги вверх по стене. Ширина фундаментных блоков под наружные стены равна 600 мм, под внутренние — 400 мм.
При проектировании размеры фундаментных стеновых блоков приняты согласно ГОСТ 13579-78.
Глубина заложения фундамента составляет 1,8 м, что превышает глубину промерзания грунтов, составляющую в данном районе строительства — 1,15 м.
Цоколь здания не выступает и не западает, образуя со стеной здания единую плоскость.
Цоколь облицовывается цементно-песчаным раствором на основе гидрофобного цемента и выполняется декоративная расшивка, что придает зданию художественную выразительность.
По всему периметру здания выполняется отмостка шириной 900 мм с уклоном i=0,030. Она предназначена для защиты фундамента от дождевых и талых вод, проникающих в грунт близ стен здания.
5.2 Стены
Стены здания предназначены для ограждения и защиты от воздействий окружающей среды и передают нагрузки от находящихся выше конструкций — перекрытий и покрытий к фундаменту.
При возведении стен здания применяется ручная кладка с горизонтальной и вертикальной перевязкой швов. Для кладки наружных и внутренних стен применяется сплошной силикатный кирпич.
Кладка стен осуществляется на цементно-песчаном растворе. Толщина наружных стен определяется на основании теплотехнического расчета. Изначально толщина наружной стены предполагается равной 640 мм. Такая толщина необходима для обеспечения устойчивости по отношению к ветровым и ударным нагрузкам, а также для увеличения тепло- и звукоизоляционной способности стен.
Снаружи и изнутри стены штукатурятся цементно-песчаным раствором. Толщина наружного (декоративного) слоя штукатурки составляет 15 мм, внутреннего — 20 мм. Снаружи по слою штукатурки осуществляется цветная побелка. Это необходимо для улучшения внешнего вида здания.
Оконные проемы в стенах запроектированы с четвертями по бокам и сверху, предназначенными для удобства установки оконных блоков. Над оконными и дверными проемами уложены железобетонные перемычки. Они передают нагрузку от вышележащих конструкций на стены или простенки. В оконных проемах имеется по три перемычки: одна — сечением 380х140 мм и две — 120х140 мм. В дверных проемах одна перемычка сечением 380х140 мм.
Теплотехнический расчет
Исходные данные:
Район строительства — г. Курск.
Зона влажности — нормальная
Расчетная зимняя температура, равная температуре наиболее холодной пятидневки: t н = -26 оС.
Расчетная температура внутреннего воздуха: t в = 18 оС.
Относительная влажность воздуха: 60%.
Влажностный режим помещений — нормальный.
Уровень эксплуатации в нормальной зоне влажности: Б.
Коэффициент теплоотдачи для внутренних стен
в = 8,7 Вт/м2·˚С
Коэффициент теплоотдачи для наружных стен в зимних условиях
н = 23 Вт/м2·˚С
Коэффициент, зависящий от положения наружной поверхности ограждающих конструкций по отношению к наружному воздуху: П = 1.
Нормативный температурный перепад между температурой внутреннего воздуха и температурой внутренней поверхности ограждающих конструкций Δtн = 6 оС.
Стена состоит из слоев:
1. Цементно-песчаная штукатурка:
= 1800 кг/м3;
= 0,93; S
=11,091.
2. Кирпич силикатный сплошной:
= 1800 кг/м3; = 0,81; S = 10,92
3. Цементно-песчаная штукатурка:
= 1800 кг/м3 = 0,93 S =11,091.
Определяем требуемое сопротивление теплопередаче по формуле:
![]()
![]()
Определяем толщину слоя кладки из кирпича


Принимаем толщину слоя кладки из кирпича равной =0,64 м.
Проверим ее по формуле:
Д = R1S1 + R2S2 + … + RnSn , где Rn = n/n
;
;
![]()
Д = 0,016111,091 +0,7910,92 +0,021511,091 = 9,04
что удовлетворяет условию Д>7.
Отсюда толщина стены будет:
= 1+2+3 = 0,015+0,64+0,02 = 0,675 м
Окончательно принимаем толщину кирпичной кладки равной 640 мм.
5.3 Внутренние стены и перегородки
Внутренние стены и перегородки – это внутренние вертикальные ограждающие конструкции в зданиях. Внутренние стены выполняют в здании ограждающие и несущие функции, перегородки — только ограждающие.
Запроектированы внутренние несущие стены и перегородки в виде кладки из кирпича с перевязкой швов толщиной 380 мм, перегородки имеют толщину 120 мм. На внутренние несущие стены опираются перекрытия и они разделяют помещения. Для кладки стен и перегородок используется силикатный кирпич. Перегородки устанавливаются на плиты перекрытия по слою толи.
На поверхность внутренних стен и перегородок здания наносится слой штукатурки толщиной 20 мм.
Конструкции данных стен и перегородок удовлетворяют нормативным требованиям прочности, устойчивости, огнестойкости, звукоизоляции.
5.4 Перекрытия
Перекрытия – горизонтальные несущие и ограждающие конструкции, делящие здания на этажи и воспринимающие нагрузки от собственного веса, веса вертикальных ограждающих конструкций, лестниц, а также от веса предметов интерьера, оборудования и людей, находящихся на них. Эти нагрузки передаются от перекрытий на несущие стены здания.
В данном здании запроектировано перекрытие, состоящее из многопустотных железобетонных плит. На наружные стены перекрытия укладываются от внутреннего края стены на 200 мм, а на внутренние несущие стены на 190 мм.
Для чердачных и подвальных перекрытий, отделяющих отапливаемые помещения от не отапливаемых, предъявляются теплозащитные требования. Поэтому чердачное перекрытие имеет слой утеплителя толщиной 7 см из керамзита.
Перекрытия обеспечивают звуко- и теплоизоляцию, они также отвечают высоким требованиям жесткости и прочности на изгиб.
5.5 Полы
Полы – это конструкции, постоянно подвергающиеся механическим воздействиям. Полы по междуэтажным перекрытиям должны обладать звукоизоляционными свойствами. В санитарном узле и в бойлерной покрытие пола выполняется из керамической плитки.
В зависимости от назначения помещений и расположения их по этажам, используются следующие конструкции полов:
|
Конструкция пола |
Слои пола |
Применение |
Функции |
|
1 – паркетная доска (25 мм); 2 – прокладочный слой рубероида; 3 – лаги (40 мм); 4 – цементно-песчаная стяжка (30 мм); 5 – керамзит (40 мм); 6 – ж/б плита перекрытия (220 мм). |
Гостиная |
Теплоизоляционная |
|
1 – паркетная доска (25 мм); 2 – прокладочный слой рубероида; 3 – лаги (40 мм); 4 – Ленточная прокладка из звукоизоляционной ДВП (30 мм); 5 – ж/б плита перекрытия (220 мм). |
Общая комната |
Звукоизоляционная |
|
1 – керамическая плитка; 2 – цементно-песчаная стяжка (15 мм); 3 – слой рубероида; 4 – цементно-песчаная стяжка (15 мм); 5 – керамзит (40 мм); 6 – ж/б плита перекрытия (220 мм). |
Санузел и бойлерная |
Гидроизоляционная теплоизоляционная и гигиеническая |
|
Конструкция пола |
Слои пола |
Применение |
Функции |
|
1 – теплоизоляционный линолеум; 2 – цементно-песчаная стяжка (15 мм); 3 – слой рубероида; 4 – цементно-песчаная стяжка (15 мм); 5 – керамзит (40 мм); 6 – ж/б плита перекрытия (220 мм). |
Кухня |
Гидроизоляционная и теплоизоляционная |
|
1 – теплоизоляционный линолеум; 2 – цементно-песчаная стяжка (30 мм); 3 – керамзит (40 мм); 4 – ж/б плита перекрытия (220 мм). |
Холл, коридор (1 этаж), веранда, тамбур. |
Теплоизоляционная |
|
1 – линолеум на мастике; 2 – цементно-песчаная стяжка (30 мм); 3 – сплошной слой из звукоизоляционной ДВП; 4 – ж/б плита перекрытия (220 мм). |
Спальня, кабинет, коридор (2 этаж). |
Звукоизоляционная |
В помещениях полы примыкают к стенам. Для того, чтобы не было зазоров между полом и стенами, по всему периметру помещения прибиваются деревянные плинтусы. В помещениях, где поверхностью пола служит керамическая плитка, используется плинтус из фасонной керамической плитки.
5.6 Крыша, кровля
Крыша — конструкция, обеспечивающая защиту здания от атмосферных осадков и являющаяся верхним ограждением здания. Крыша запроектирована двускатная, чердачная, стропильная.
Запроектированные наслонные стропила опираются на наружные несущие стены, на которых закреплен подстропильный брус (мауэрлат). Стропильные ноги запроектированы в виде деревянного бруса, имеющего в сечении размеры 220•50. Для уменьшения величины прогиба стропил под действием веса конструкции кровли в осях В-Г предусмотрены подкосы и вертикальные стойки, которые, в свою очередь, упираются в лежень. Лежень находится на выступающей части внутренней стены на координационной оси 2. В верхней части конструкции крыши стропила соединяются друг с другом посредством двухсторонней деревянной накладки. Между осями А-В для увеличения жесткости стропил применяются затяжки из досок, а стойки и подкосы отсутствуют. Между осями Г и Д (над верандой) стропила одной стороной упираются в мауэрлат, расположенной на наружной стене с координационной осью Д, а другая их сторона вмоноличивается в стену на оси Г. К концу стропильных ног крепятся кобылки размерами в сечении 100•40 мм.
Так как деревянные элементы крыши работают во влажной и огнеопасной (на чердаке проходит электропроводка) среде, они должны быть обработаны антисептиками и антипиренами.
Кровля запроектирована из асбестоцементных волнистых листов. Листы укладываются по обрешетке из досок поперечным сечением 50х100 мм с шагом 370 мм. Листы стыкуются внахлестку по длине на 100 мм, а по ширине — на полволны. Крепление гвоздями осуществляется только по гребням волн, во избежание разлома кровельного материала. Отверстия под крепления предварительно просверливаются.
Место стыка трубы и кровли обрамляется листами из оцинкованной стали. В верхней части кровли проходит коньковый брус сечением 50х150 мм и он закрывается двумя асбестоцементными коньковыми деталями КПО-1 и КПО-2, которые прибиваются к кровле гвоздями с антикоррозионными шляпками.
Водосток — неорганизованный, так как высота здания невелика и значительного смачивания стен происходить не будет.
5.7 Лестницы
Лестницы предназначены для сообщения между помещениями, расположенными на разных этажах.
Лестница расположена в холле и запроектирована деревянной одномаршевой угловой с забежными ступенями. Лестница имеет перила высотой 900 мм. Ширина ступеней (кроме забежных) равна 250 мм, высота всех ступеней равна 167 мм. Ширина марша равна 1200 мм, что является достаточным для ее эксплуатации.
Конструкция лестницы имеет косоуры, к которым в паз стыкуются проступи. Между проступями, перпендикулярно им, тоже в паз стыкуются подступенки.
Лестница на чердак помещение запроектирована выдвижной из потолка.
5.8 Окна и двери
Окна — элементы здания, предназначенные для освещения и проветривания помещений. Двери служат для связи между изолированными помещениями и для входа в здание.
Окна в здании запроектированы с двойным остеклением. Толщина оконных блоков — 140 мм, что дает право судить о достаточной их тепло- и звукоизоляции. Предусмотрены окна одно-, двух- и трехстворчатые. Рамы в окнах деревянные. Размеры окон: 2100х1800 мм — трехстворчатые, 1800х1800 мм и 1500х1800 мм — духстворчатые и 900х1800 мм — одностворчатые в оконных проемах устанавливаются также деревянные подоконные плиты и сливы из оцинкованной стали. Также на веранде запроектировано окно шириной 4160 мм.
Так как в оконных проемах предусмотрены четверти, оконные блоки при установке упираются в них, делаются откосы из цементно-песчаного раствора.
Двери в здании запроектированы однопольные и двупольные (в гостиной и в общей комнате), остекленные (на кухне, двери в гостиной и в общей комнате) и глухие (неостекленные). Остекление некоторых дверей необходимо, в основном, с целью добиться более равномерного освещения помещений, но попутно улучшается и интерьер коттеджа. Все двери здания выполняются на заказ и украшены декоративной резьбой. Размеры дверей: высота — 2100 мм, ширина: Д3 — 700, Д4 — 860, Д5 — 900, Д1, Д2 — 1200 мм.
При изготовлении окон и дверей используется исключительно качественное листовое стекло толщиной 6 мм и высококачественная древесина во избежание появления трещин и щелей в процессе эксплуатации.
6 НАРУЖНАЯ И ВНУТРЕННЯЯ ОТДЕЛКА
Экстерьер здания в основном определяется стилем его наружной отделки. В проекте предусмотрена отделка наружных стен в виде декоративной штукатурки толщиной 15 мм из цементно-песчаного раствора, приготовленного на основе гидрофобного цемента марки 500 в пропорциях 1:2, это позволяет меньше прибегать к повторному оштукатуриванию фасада здания в период эксплуатации и позволяет защитить кладку от атмосферных воздействий и замерзания в ней капиллярной влаги. Декоративная штукатурка покрывается слоем оранжевой побелки.
Цоколь здания так же оштукатуривается и расшивается с имитацией вида кладки из крупного камня. Швы при желании могут быть окрашены в белый (или любой другой) цвет. Цоколь имеет серый цвет и создает ощущение монументальности строения, придает зданию некоторую изящность, выразительность.
Окна и наружные двери здания окрашиваются водоотталкивающей эмалью в темно-красный цвет, который прекрасно сочетается с оранжевым цветом стен коттеджа, не нарушает гармонии цветов фасада.
К свесу крыши со стороны фронтонов прибиваются доски, придающие зданию особенные черты, способные выделить его из архитектурного ансамбля района застройки. Особенно выразительно выглядит перекрестие этих досок над балконом, где концы этих элементов заострены снизу и сверху. Эти доски окрашиваются в зеленый цвет эмалью того же типа.
На балконе и перед главным входом, а также рядом с «черным ходом» имеются ограждения, которые представляют собой тщательно обработанные доски, закрепленные на стальном каркасе, сваренном из прокатных уголков. Доски каждого такого ограждения попарно имеют различную толщину: верхняя доска тоньше нижней. Они антисептируются и покрываются в два-три слоя водостойкой эмалью светло-желтого цвета. Такие ограждения придают зданию современный вид и при этом не противоречат эстетическим нормам.
Отделка поверхности внутренних стен и перегородок состоит в их оштукатуривании цементно-песчаным раствором слоем толщиной 20 мм. Поверхность штукатурки может быть оклеена бумажными обоями или же могут быть нанесены жидкие обои, также возможна декоративное оштукатуривание (с приданием различных форм) и цветная побелка поверхностей стен и перегородок. В санузле поверхность стен, как и полов, отделывается керамической плиткой. Она служит гидроизоляцией стен, необходимой из-за повышенной влажности в этом помещении, и легко моется, что позволяет соблюдать гигиену санузла.
В помещениях используются подвесные потолки различных текстур. Исключениями являются холл, коридоры, тамбур и бойлерная, где потолки белятся.
Внутренняя отделка определяет интерьер здания и может быть выполнена в различных стилях, в зависимости от желания заказчика. Мало того, возможно ее изменение в период эксплуатации жилого дома.
7 ИНЖЕНЕРНОЕ ОБОРУДОВАНИЕ
К инженерному оборудованию здания относятся водопровод, канализация, электропроводка, газоснабжение и система отопления.
Электроснабжение здания осуществляется от общей электросети. Проведение электропроводки в запроектированном здании осуществляется перед оштукатуриванием внутренних стен и перегородок и крепится с помощью специальных крепежных элементов к конструкциям здания. При необходимости производится сверление отверстий под электропровод в стенах и перекрытиях.
Канализация здания подключена к центральной городской канализационной сети.
Водоснабжение осуществляется от общего водопровода. Вода подводится на кухне к смесителю и в санузле к смесителю и сливному бачку.
Газоснабжение осуществляется от внешней газовой сети. Подводится к газовому отопительному котлу, расположенному в бойлерной, и газовых колонок, расположенных на кухне и в санузле. Газовые колонки предназначены для подогрева воды, поступающей в санузел и на кухню.
Система отопления здания состоит из труб и батарей отопления, по которым циркулирует нагревающаяся вода и газового отопительного котла. Такая система отопления называется центральной. Батареи отопления находятся во всех помещениях и проходят вдоль наружных стен здания на обоих этажах.
8 СПЕЦИФИКАЦИЯ СБОРНЫХ ЭЛЕМЕНТОВ
|
Название элемента |
Обозначение |
Эскиз |
Размеры, мм |
|
Плиты перекрытия |
ПК 60х15 |
|
L=5980; b=1490; h=220 |
|
ПК 60х12 |
L=5980; b=1190; h=220 |
||
|
ПК 60х10 |
L=5980; b=990; h=220 |
||
|
ПК 42х12 |
L=4180; b=1190; h=220 |
||
|
ПК 42х10 |
L=4180; b=990; h=220 |
||
|
ПК 33х12 |
L=3280; b=1190; h=220 |
||
|
Фундаментные плиты-подушки |
ФЛ 14.30-2 |
|
L=2980; b=1400; h=300 |
|
ФЛ 14.24-2 |
L=2380; b=1400; h=300 |
||
|
ФЛ 14.12-2 |
L=1180; b=1400; h=300 |
||
|
ФЛ 14.08-2 |
L=780; b=1400; h=300 |
||
|
ФЛ 08.24-2 |
L=2380; b=800; h=300 |
||
|
ФЛ 08.12-2 |
L=1180; b=800; h=300 |
||
|
ФЛ 08.08-2 |
L=780; b=800; h=300 |
||
|
Фундаментные стеновые блоки |
ФБС 24.6.6-Т |
|
L=2380; b=600; h=580 |
|
ФБС 12.6.6-Т |
L=1180; b=600; h=580 |
||
|
ФБС 9.6.6-Т |
L=880; b=600; h=580 |
||
|
ФБС 24.4.6-Т |
L=2380; b=400; h=580 |
||
|
ФБС 12.4.6-Т |
L=1180; b=400; h=580 |
||
|
ФБС 9.4.6-Т |
L=880; b=400; h=580 |
||
|
Название элемента |
Обозначение |
Эскиз |
Размеры, мм |
Окна |
ОК1 |
|
L=4160; h=1800 |
ОК2 |
|
L=2100; h=1800 |
|
|
ОК3 |
|
L=900; h=1800 |
|
|
ОК4 |
|
L=1500; h=1800 |
|
|
ОК5 |
L=1800; h=1800 |
||
|
Двери |
Д1 |
|
b=1200; h=2100 |
|
Д2 |
|
b=1200; h=2100 |
|
|
Д3 |
b=700; h=2100 |
||
|
Д4 |
b=860; h=2100 |
||
|
Д5 |
|
b=900; h=2100 |
|
|
Перемычки |
БП 1 |
|
b=380; h=140 |
|
БП 2 |
b=120; h=140 |
9 ТЕХНИКО-ЭКОНОМИЧЕСКИЕ ПОКАЗАТЕЛИ
Коэффициент целесообразности планировки здания:

Коэффициент целесообразности здания:

Коэффициент производственной целесообразности:
.
ЛИТЕРАТУРА
1. Конструкции гражданских зданий: Учеб. пособие для вузов/ Т.Г. Маклакова, С.М. Нанасова, Е.Д. Бородай, В.П. Житков; Под ред. Т.Г. Маклаковой. — М.: Стройиздат, 1986. — 135 с.: ил.
2. Савушкина О.А. Методические указания к теплотехническому расчету наружного ограждения. ЛПК , 1997.
3. Технология возведения зданий и сооружений: Учеб. для вузов/ Теличенко В.И., Лапидус А.А., Терентьев О.М. и др.; — М.: Высш. шк.; 2001. — 320 с.: ил.
ЛПК (филиал)
Орел ГТУ
Стадия
У
Лист
Листов
Кол.уч
Изм.
№ док.
Подп.
Дата
Разраб.
Пров.
Старина
Веселовский
2
Лист
КР.2002.550100.ДО.045.ПЗ
2-х этажный
жилой дом
Похожие рефераты:
Проектирование 9-этажного дома
Капитальный и текущий ремонты зданий
Детский ясли-сад на 140 мест с бассейном
Проектирование 16-ти этажного 2-х секционного жилого дома в Ейске
Расчет и проектирование здания Дома быта на 15 человек
















