| Похожие рефераты | Скачать .docx |
Дипломная работа: Пожарная сигнализация
Содержание
Условные обозначения, термины и определения. 3
1. Общие положения. 5
2. Характеристика объекта. 6
3. Анализ возможных технических решений по оборудованию объекта заданной системой технических средств защиты.. 17
3.1 Адресная пожaрнaя сигнaлизация. 18
3.2 Адресно-аналоговая пожaрнaя сигнaлизация. 18
3.3 Системы оповещения о пожаре и управления эвакуацией. 19
4. Основные технические решения. 24
5. Организация и производство стороительно-монтажных и пусконаладочных работ. 27
6. Электропитание и заземление оборудования. 29
6.1 Расчет энергопотребления. 30
7. Охрана труда и техника безопасности. 32
7.1 Производственная санитария. 32
7.1.1 Излучение. 32
7.1.2 Метеорологические условия. 34
7.1.3 Вентиляция. 34
7.1.4 Производственное освещение. 35
7.2 Техника безопасности. 36
7.2.1 Электрический ток. 36
7.2.2 Статическое электричество. 37
7.2.3 Расчет величины тока, проходящего через тело человека. 37
7.3 Пожарная безопасность. 39
8. Экономеческая эффективность применения системы защиты.. 41
8.1 Проект организации строительства. 42
8.2 Технико-экономические показатели. 44
8.3 Экономическое обоснование. 44
Заключение. 47
Список использованных источников. 50
Условные обозначения, термины и определения
В соответствии с действующей нормативной документацией условные графические обозначения приводятся на листе "Общие данные" включенного в графическую часть дипломного проекта. Основные термины и определения по СНБ
Автоматический пожарный извещатель - пожарный извещатель, реагирующий на факторы, сопутствующие пожару.
Безопасность предприятия - это состояние защищенности материальных ценностей и информационных ресурсов, штатного персонала и посетителей предприятия от внутренних и внешних угроз, а совокупность мер, направленных на реализацию такого состояния, называют системой безопасности предприятия.
Дымовой пожарный извещатель - автоматический пожарный извещатель, реагирующий на аэрозольные продукты горения.
Пожарная безопасность - состояние объекта, при котором с регламентируемой вероятностью исключается возможность возникновения и развития пожара, а также обеспечивается защита людей и материальных ценностей от воздействия его опасных факторов.
Пожарный извещатель - устройство для формирования сигнала о пожаре.
Прибор приемно-контрольный охранно-пожарный - составная часть установки пожарной сигнализации для приема информации от пожарных извещателей, выработки сигнала о возникновении пожара или неисправности установки и для дальнейшей передачи и выдачи команд на другие устройства.
Приемно-контрольное оборудование – оборудование, обеспечивающие питание и прием сигналов от подключенных к нему пожарных извещателей, оповещателей, формирование сигналов о пожаре, режимах работы системы, при необходимости, выдачу сигналов на управление техническими средствами противопожарной защиты, технологическим, электротехническим и другим оборудованием, индикацию, сбор, регистрацию и передачу в пункт наблюдения указанной информации.
Ручной пожарный извещатель - пожарный извещатель с ручным способом приведения в действие.
Система пожарной сигнализации - совокупность технических средств, предназначенных для обнаружения факторов пожара, формирования, сбора, обработки, регистрации и передачи в заданном виде сигналов о пожаре, режимах работы системы, другой информации и, при необходимости, выдачи сигналов на управление техническими средствами противопожарной защиты, технологическим, электротехническим и другим оборудованием.
Шлейф СПС - электрическая цепь, соединяющая выходные цепи ПИ, включающая в себя вспомогательные элементы и соединительные линии и предназначенная для передачи на ПКО сигналов, а в некоторых случаях и для подачи электропитания на ПИ.
Сокращения используемые в дипломном проекте:
АПИ – Автоматический пожарный извещатель;
ДПИ – Дымовой пожарный извещатель;
ПИ – Пожарный извещатель;
ППКОП – Прибор приемно-контрольный охранно-пожарный
ПКО – Приемно-контрольное оборудование
ИПР – Ручной пожарный извещатель
СПС – Система пожарной сигнализации
1. Общие положения
Дипломный проект “Система пожарной сигнализации и оповещения о пожаре детского учреждения с группой круглосуточного содержания” разработан на основании задания к курсовому проекту. Срок проектирования с 22.06. 2007 по 25.12. 2007 гг.
Исходные данные для проектирования:
техническое задание на проектирование.
При проектировании были использованы следующие основные нормативные документы:
РД 28/3.009–2001 Технические средства и системы охраны. Обозначения условные графические.
РД 5.952-90 Системы автоматические пожаротушения, пожарной, охранной и охранно-пожарной сигнализации. Порядок разработки задания на проектирование на проектирование.
СНБ 2.02.05-04 Пожарная автоматика.
СНБ 2.02.02-01 Эвакуация людей из зданий и помещений
НПБ 15-2004 Область применения автоматических систем пожарной
сигнализации и установок пожаротушения
НПБ 5-2000 Категорирование помещений, зданий и наружных установок по пожарной и взрывопожарной опасности
СНиП 21.01-97 Пожарная безопасность зданий и сооружений.
СНБ 1.02.06-98 Порядок определения стоимости проектной документации в строительстве.
ТКП 45-2.02-22-2006 Здания и сооружения. Эвакуационные пути и выходы. Правила проектирования.
Сборники цен на проектные работы для строительства.
2. Характеристика объекта
Объект "Двухэтажный детский сад" на 330 мест представляет собой отдельное железобетонное здание, состоящее из 105 помещений (73 на первом этаже и 32 – на втором).
На первом этаже расположены:
Спальная. Вход осуществляется через помещение групповая(2) через одностворчатую дверь. Помещение освещается при помощи ламп накаливания. Имеется 3 оконных проема. Площадь помещения равна 36,6 м2.
Групповая. Вход осуществляется через раздевалку(5), а также через двухстворчатую наружную дверь. Помещение освещается при помощи ламп накаливания. Имеется 3 оконных проема. Площадь помещения равна 61,1 м2.
Моечная. Вход осуществляется через помещение 2(Групповая) через одностворчатую дверь. Помещение освещается при помощи ламп накаливания.
Сан. узел.
Раздевалка. Вход осуществляется через помещение групповая(2) через одностворчатую дверь, либо через лестничную клетку(11). Помещение освещается при помощи ламп накаливания. Имеется 1 оконный проем. Площадь помещения равна 14,6 м2.
Тамбур. Задняя сторона здания. Площадь – 1,9м2.
Тамбур. Задняя сторона здания. Площадь – 2,1м2.
Коридор. Имеет выход в помещения №5,
6. Площадь коридора составляет 2,2 м2.
Коридор. Имеет выход в помещения №7, 10, 15. Площадь коридора составляет 2,8 м2.
Кладовая сан. техники. Вход осуществляется через коридор(9) через одностворчатую дверь. Помещение освещается при помощи ламп накаливания. Площадь помещения равна 12,5 м2.
Лестничная клетка. Проход не лестничную клетку осуществляется через коридор(16) и раздевалку(5). Освещение помещения осуществляется при помощи люминесцентных ламп.
Тамбур. Задняя сторона здания. Площадь – 4,2м2.
Кабинет. Вход – из коридора(16), освещается естественным освещением в светлое время суток и люминесцентными лампами. Имеется 1 оконный проем. Площадь помещения – 11,0 м2.
Кабинет заведующей. Вход – из коридора(16), освещается естественным освещением в светлое время суток и люминесцентными лампами. Имеется 1 оконный проем. Площадь помещения – 12,6 м2.
Кухня. Вход осуществляется через коридоры(16,9) через одностворчатые двери. Помещение освещается при помощи ламп накаливания. Имеется 3 оконных проема. Площадь помещения равна 52,1 м2.
Коридор. Вход – с лестничных клеток (помещения 11,36) Имеет выход в помещения №15, 19,21,29,4,35,13,14,18,22,24,23. Площадь коридора составляет 37,1 м2.
Эл. щитовая. Вход осуществляется через помещение Коридор(43) через одностворчатую дверь. Помещение освещается при помощи ламп накаливания. Площадь помещения равна 6,3 м2.
Кладовая с/х продукции. Вход осуществляется через коридор(16) через одностворчатую дверь. Помещение освещается при помощи ламп накаливания. Площадь помещения равна 21,7 м2.
Коридор. Имеет выход в помещения №20,38, а также в коридор(16). Площадь коридора составляет 1,5 м2.
Тамбур. Задняя сторона здания. Площадь – 1,6м2.
Кабинет завхоза. Вход – из коридора(16), освещается естественным освещением в светлое время суток и люминесцентными лампами. Имеется 1 оконный проем. Площадь помещения – 9,6 м2.
Гладильная. Вход осуществляется через коридор(16) и прачечной(23) через одностворчатые двери. Помещение освещается при помощи ламп накаливания. Имеется 1 оконных проема. Площадь помещения равна 14,0 м2.
Прачечная. Вход осуществляется через помещение коридоры(16,24) через одностворчатые двери. Помещение освещается при помощи ламп накаливания. Имеется 1 оконный проем. Площадь помещения равна 16,0 м2.
Коридор. Имеет выход в коридор(16) и прачечную(23). Площадь коридора составляет 2,6 м2.
Кабинет. Вход – из коридора(29), освещается люминесцентными лампами. Площадь помещения – 7,0 м2.
Кабинет. Вход – из коридора(29), освещается естественным освещением в светлое время суток и люминесцентными лампами. Имеется 1 оконных проема. Площадь помещения – 5,8 м2.
Кабинет. Вход – из коридора(29), освещается естественным освещением в светлое время суток и люминесцентными лампами. Имеется 1 оконных проема. Площадь помещения – 5,8 м2.
Кабинет. Вход – из коридора(29), освещается естественным освещением в светлое время суток и люминесцентными лампами. Имеется 1 оконных проема. Площадь помещения – 5,8 м2.
Коридор. Имеет выход в помещения №25,26,27,28, а также через двухстворчатую дверь в коридор(30). Площадь коридора составляет 14,9 м2.
Коридор. Имеет выход в коридор(29) и тамбур(31). Площадь коридора составляет 2,4 м2.
Тамбур. Задняя сторона здания. Площадь – 2,0м2.
Тамбур. Задняя сторона здания. Площадь – 1,5м2.
Коридор. Имеет выход в тамбур(32) и раздевалку(34). Площадь коридора составляет 1,8 м2.
Раздевалка. Вход осуществляется через коридор(33), лестничную клетку(36), а также через групповую(39). Помещение освещается при помощи ламп накаливания. Имеется 1 оконный проем. Площадь помещения равна 9,5 м2.
Коридор. Имеет выход на лестничную клетку(36), раздевалку(34), а также групповую(39). Площадь коридора составляет 13,3 м2.
Лестничная клетка. Проход не лестничную клетку осуществляется через коридоры(16,35) и тамбур(37). Освещение помещения осуществляется при помощи люминесцентных ламп.
Тамбур. Задняя сторона здания. Площадь – 4,2м2.
Моечная. Вход осуществляется через кухню(15) и коридор(19) через одностворчатые двери. Имеется 1 оконный проем. Помещение освещается при помощи ламп накаливания. Площадь – 10,5м2.
Групповая. Вход осуществляется через коридор(35), а также через двухстворчатую наружную дверь. Помещение освещается при помощи ламп накаливания. Имеется 3 оконных проема. Площадь помещения равна 52,8 м2.
Спальная. Вход – из групповой(39), освещается естественным освещением в светлое время суток и люминесцентными лампами. Имеется 3 оконных проема. Площадь помещения – 37,8 м2.
Бельевая. Вход осуществляется через техподполье (66) через одностворчатые двери. Помещение освещается при помощи ламп накаливания. Площадь помещения – 16,5 м2.
Кладовая инвентаря. Вход осуществляется через техподполье (66) через одностворчатую дверь. Помещение освещается при помощи ламп накаливания. Площадь помещения равна 6,8 м2.
Коридор. Имеет выход в помещения №17,45,44,46,59. Площадь коридора составляет 46,1 м2.
Кладовая дежурного. Вход осуществляется через помещение коридора(43) через одностворчатую дверь. Помещение освещается при помощи ламп накаливания. Площадь помещения равна 11,0 м2.
Кабинет. Вход – из коридора(43), освещается естественным освещением в светлое время суток и люминесцентными лампами. Имеется 1 оконных проема. Площадь помещения – 11,5 м2.
Музыкальный зал. Вход в помещение из коридора(43). Общая площадь составляет 103,2 м2.
Кладовая тех. персонала. Вход осуществляется через помещение музыкальный зал (46) через одностворчатую дверь. Помещение освещается при помощи ламп накаливания. Площадь помещения равна 3,2 м2.
Кладовая тех. персонала. Вход осуществляется через помещение Коридор (59) через одностворчатую дверь. Помещение освещается при помощи ламп накаливания. Площадь помещения равна 3,8 м2.
Кладовая тех. персонала. Вход осуществляется через помещение Коридор (59) через одностворчатую дверь. Помещение освещается при помощи ламп накаливания. Площадь помещения равна 8,8 м2.
Тамбур. Задняя сторона здания. Площадь – 3,8м2.
Лестничная клетка. Проход не лестничную клетку осуществляется через коридор (73). Освещение помещения осуществляется при помощи люминесцентных ламп.
Раздевалка. Вход осуществляется через коридор (73), а также через групповую(53). Помещение освещается при помощи ламп накаливания. Имеется 1 оконный проем. Площадь помещения равна 19,0 м2.
Групповая. Вход осуществляется через раздевалку (52), а также через двухстворчатую наружную дверь. Помещение освещается при помощи ламп накаливания. Имеется 3 оконных проема. Площадь помещения равна 49,3 м2.
Спальная. Вход – из групповой (53), освещается естественным освещением в светлое время суток и люминесцентными лампами. Имеется 1 оконный проем. Площадь помещения – 50,2 м2.
Спальная. Вход – из групповой (56), освещается естественным освещением в светлое время суток и люминесцентными лампами. Имеется 2 оконных проема. Площадь помещения – 53,3 м2.
Групповая. Вход осуществляется через раздевалку (57). Помещение освещается при помощи ламп накаливания. Имеется 3 оконных проема. Площадь помещения равна 50,4 м2.
Раздевалка. Вход осуществляется через коридоры (73,58), а также через групповую (56) через одностворчатые двери. Помещение освещается при помощи ламп накаливания. Площадь помещения равна 20,0 м2.
Коридор. Имеет выход в раздевалку (57) и тамбур (63). Площадь коридора составляет 1,7 м2.
Коридор. Имеет выход в помещения №48,49,73,43. Площадь коридора составляет 7,7 м2.
Бельевая. Вход осуществляется снаружи здания через одностворчатые двери. Помещение освещается при помощи ламп накаливания. Площадь помещения – 2,4 м2.
Коридор. Имеет выход в помещения №62,72. Площадь коридора составляет 2,1 м2.
Тамбур. Передняя сторона здания. Площадь – 2,0м2.
Тамбур. Передняя сторона здания. Площадь – 2,7м2.
Лестничная клетка. Проход не лестничную клетку осуществляется через раздевалки (67,72), коридор (59), а также через тамбур (65). Освещение помещения осуществляется при помощи люминесцентных ламп.
Тамбур. Задняя сторона здания. Площадь – 3,8м2.
Тех. подполье.
Раздевалка. Вход осуществляется через лестничную клетку (64) и групповую (68) через одностворчатые двери. Помещение освещается при помощи ламп накаливания. Имеется 1 оконный проем. Площадь помещения равна 17,9 м2.
Групповая. Вход осуществляется через раздевалку (67), а также через двухстворчатую наружную дверь. Помещение освещается при помощи ламп накаливания. Имеется 4 оконных проема. Площадь помещения равна 45,4 м2.
Спальная. Вход – из групповой (68), освещается естественным освещением в светлое время суток и люминесцентными лампами. Имеется 1 оконный проем. Площадь помещения – 48,4 м2.
Спальная. Вход – из групповой (71), а также через двухстворчатые двери наружу здания, освещается естественным освещением в светлое время суток и люминесцентными лампами. Имеется 2 оконных проема. Площадь помещения – 49,6 м2.
Групповая. Вход осуществляется через раздевалку (72), а также через двухстворчатую дверь спального помещения (70). Помещение освещается при помощи ламп накаливания. Имеется 2 оконных проема. Площадь помещения равна 48,2 м2.
Раздевалка. Вход осуществляется через коридор (61), лестничную клетку (64) и групповую (71) через одностворчатые двери. Помещение освещается при помощи ламп накаливания. Имеется 1 оконный проем. Площадь помещения равна 22,3 м2.
Коридор. Вход – с лестничной клетки (помещение 51). Имеет выход в помещения №52,59. Площадь коридора составляет 4,9 м2.
На втором этаже расположены:
Спальная. Вход – осуществляется через групповую (7). Освещается естественным освещением в светлое время суток и люминесцентными лампами. Имеется 1 оконный проем. Площадь помещения – 52,1 м2.
Спальная. Вход – осуществляется через групповую (5), а также через двухстворчатые двери наружу здания. Освещается естественным освещением в светлое время суток и люминесцентными лампами. Имеется 3 оконных проема. Площадь помещения – 48,4 м2.
Раздевалка. Вход осуществляется через лестничную клетку (8) и групповую (5) через одностворчатые двери. Помещение освещается при помощи ламп накаливания. Имеется 1 оконный проем. Площадь помещения равна 24,2 м2.
Сан. узел;
Групповая. Вход осуществляется через раздевалку (3), а также через спальную (1). Помещение освещается при помощи ламп накаливания. Имеется 3 оконных проема. Площадь помещения равна 48,8 м2.
Сан. узел;
Групповая. Вход осуществляется через раздевалку (3), а также через двухстворчатую дверь наружу здания. Помещение освещается при помощи ламп накаливания. Имеется 4 оконных проема. Площадь помещения равна 45,4 м2.
Лестничная клетка. Проход не лестничную клетку осуществляется через раздевалки (3,9). Освещение помещения осуществляется при помощи люминесцентных ламп.
Раздевалка. Вход осуществляется через лестничную клетку (8) и групповую (7) через одностворчатые двери. Помещение освещается при помощи ламп накаливания. Имеется 1 оконный проем. Площадь помещения равна 18,6 м2.
Раздевалка. Вход осуществляется через лестничную клетку (16) и групповую (13) через одностворчатые двери. Помещение освещается при помощи ламп накаливания. Имеется 1 оконный проем. Площадь помещения равна 19,8 м2.
Спальная. Вход – осуществляется через групповую (14). Освещается естественным освещением в светлое время суток и люминесцентными лампами. Имеется 1 оконный проем. Площадь помещения – 51,5 м2.
Спальная. Вход – осуществляется через групповую (13), а также через двухстворчатые двери наружу здания. Освещается естественным освещением в светлое время суток и люминесцентными лампами. Имеется 3 оконных проема. Площадь помещения – 48,7 м2.
Групповая. Вход осуществляется через раздевалку (10), а также через спальную (12). Помещение освещается при помощи ламп накаливания. Имеется 3 оконных проема. Площадь помещения равна 47,7 м2.
Групповая. Вход осуществляется через раздевалку (15), а также через двухстворчатую дверь наружу здания. Помещение освещается при помощи ламп накаливания. Имеется 4 оконных проема. Площадь помещения равна 42,8 м2.
Раздевалка. Вход осуществляется через лестничную клетку (16) и групповую (14) через одностворчатые двери. Помещение освещается при помощи ламп накаливания. Имеется 1 оконный проем. Площадь помещения равна 16,7 м2.
Лестничная клетка. Проход не лестничную клетку осуществляется через раздевалки (10,15). Освещение помещения осуществляется при помощи люминесцентных ламп.
Лестничная клетка. Проход не лестничную клетку осуществляется через раздевалки (20,23). Освещение помещения осуществляется при помощи люминесцентных ламп.
Групповая. Вход осуществляется через раздевалку (20), а также через двухстворчатую дверь наружу здания. Помещение освещается при помощи ламп накаливания. Имеется 4 оконных проема. Площадь помещения равна 51,9 м2.
Спальная. Вход – осуществляется через групповую (18). Освещается естественным освещением в светлое время суток и люминесцентными лампами. Имеется 3 оконных проема. Площадь помещения – 34,8 м2.
Раздевалка. Вход осуществляется через лестничную клетку (17) и групповую (18) через одностворчатые двери. Помещение освещается при помощи ламп накаливания. Имеется 1 оконный проем. Площадь помещения равна 15,3 м2.
Спальная. Вход – осуществляется через групповую (22). Освещается естественным освещением в светлое время суток и люминесцентными лампами. Имеется 2 оконных проема. Площадь помещения – 34,8 м2.
Групповая. Вход осуществляется через раздевалку (23), а также через одностворчатую дверь наружу здания. Помещение освещается при помощи ламп накаливания. Имеется 3 оконных проема. Площадь помещения равна 48,8 м2.
Раздевалка. Вход осуществляется через лестничную клетку (17) и групповую (22) через одностворчатые двери. Помещение освещается при помощи ламп накаливания. Имеется 1 оконный проем. Площадь помещения равна 16,8 м2.
Спальная. Вход – осуществляется через групповую (25). Освещается естественным освещением в светлое время суток и люминесцентными лампами. Имеется 2 оконных проема. Площадь помещения – 34,8 м2.
Групповая. Вход осуществляется через раздевалку (26), а также через двухстворчатую дверь наружу здания. Помещение освещается при помощи ламп накаливания. Имеется 4 оконных проема. Площадь помещения равна 47,0 м2.
Раздевалка. Вход осуществляется через лестничную клетку (29) и групповую (25) через одностворчатые двери. Помещение освещается при помощи ламп накаливания. Имеется 1 оконный проем. Площадь помещения равна 13,8 м2.
Раздевалка. Вход осуществляется через лестничную клетку (29) и групповую (32) через одностворчатые двери. Помещение освещается при помощи ламп накаливания. Имеется 1 оконный проем. Площадь помещения равна 15,9 м2.
Моечная.
Лестничная клетка. Проход не лестничную клетку осуществляется через раздевалки (26,27). Освещение помещения осуществляется при помощи люминесцентных ламп.
Моечная.
Моечная.
Групповая. Вход осуществляется через раздевалку (27), а также через двухстворчатую дверь наружу здания. Помещение освещается при помощи ламп накаливания. Имеется 4 оконных проема. Площадь помещения равна 51,6 м2.
Оборудованию средствами пожарной сигнализации подлежат все вышеперечисленные помещения за исключением сан. узлов, тамбуров, лестничных клеток.
Доступ в здание осуществляется через 2 главных входа расположенных с фасада здания, а также через 7 выходов расположенных в тыловой части здания. Выход из здания осуществляется через "тамбуры" 12, 6, 7, 31, 32, 37, 50, 65, а также через 4-е пожарных выхода из "групповых" 2, 39, 53, 68 и 2-х "спальных" 55,70.
Объект предназначен для круглосуточного нахождения на нем детей в возрасте до 6 лет. На объекте предусмотрен пост охраны с круглосуточным пребыванием дежурного. Стены периметра объекта – капитальные; решетки на окнах отсутствуют; общая площадь помещений составляет 1200м2; во всех помещениях высота потолков – 255 см; отопление водяное с радиаторами, расположенными под каждым окном; объект телефонизирован.
Проход на второй этаж осуществляется через лестничные клетки 11, 36, 51 и 64.
Защищаемые зоны помещений по классификации ПУЭ относятся к классам П-11А.
Режим работы персонала детского сада приведен в таблице 1.
Таблица 1– Режим работы персонала детского сада
| Сотрудник | Смена | Время работы | ||
| Воспитатель | первая | 7.00 – 18.30 | ||
| вторая | 18.30 – 7.00 | |||
| Помощник воспитателя | первая | 7.00 – 18.30 | ||
| вторая | 18.30 – 7.00 | |||
| Обслуживающий персонал | 7.00 – 8.00 | |||
| Служба безопасности | первая | 8.00 – 19.00 | ||
| вторая | 19.00 – 8.00 | |||
| Мед. персонал | 7.30 – 18.00 | |||
3. Анализ возможных технических решений по оборудованию объекта заданной системой технических средств защиты
На любом объекте существует угроза нанесения ущерба имуществу и здоровью людей при возникновении неконтролируемого возгорания или пожара. Единственный способ свести в этом случае возможные потери к минимуму - это построить эффективную систему обнаружения и ликвидации возгорания. Основным способом решения этой проблемы является установка системы пожарной сигнализации, которая предназначается для обнаружения очагов возгорания и управления системами оповещения людей о пожаре, установками автоматического пожаротушения, а также технологическим оборудованием.
Система пожарной сигнализации - это совокупность совместно действующих средств пожарной сигнализации, установленных на защищаемом объекте, для обнаружения пожара, обработки, представления в заданном виде извещения о пожаре на этом объекте, специальной информации и (или) выдачи команд на включение автоматических установок пожаротушения и технических устройств.
В настоящее время можно выделить три основных типа пожарной сигнализации:
Традиционная пороговая (неадресная) пожaрнaя сигнaлизация.
Традиционные пороговые (неадресные) ПС представляют собой систему с лучевой архитектурой, в которой приемно-контрольный прибор определяет зону возникновения тревожного извещения в пределах шлейфа. В шлейф пожарной сигнализации такого типа включаются обычные пороговые (активные, пассивные) датчики. При срабатывании датчика его номер и помещение на станции не указываются, инициируется только номер шлейфа. Применение неадресных систем целесообразно для небольших объектов (не более 30-40 помещений). Конкретное место ТИ может определить лишь дежурный персонал путем обследования всех помещений зоны. Недостатки систем этого типа - низкая информативность (в том числе отсутствие информации о неисправности извещателя), высокая вероятность ложных срабатываний, дорогостоящий монтаж.
3.1 Адресная пожaрнaя сигнaлизация
Адресные системы пожарной сигнализации позволяют определить не только зону, но и точный адрес сработавшего датчика. При активизации датчик передает по шлейфу адрес в последовательном коде, который отображается на дисплее ПКП. В каждом датчике или монтажном цоколе расположена схема установки адреса. Таким образом, система определяет конкретное место формирования сигнала о ТИ, что повышает оперативность реагирования специальных служб.
Адресные системы пожарной сигнализации подразделяются на неопросные и опросные. В интеллектуальных адресных системах может использоваться произвольный вид шлейфа: кольцевой, разветвленный, звездой и любое их сочетание, не требуется ни каких оконечных элементов шлейфа. В опросных адресных системах наличие датчика подтверждается его ответами на запросы ПКП (не реже 5-10 с). Если ПКП при очередном запросе не получает ответ от датчика, его адрес индицируется с соответствующим сообщением. В этом случае отпадает необходимость использования функции разрыва шлейфа и при отключении одного датчика сохраняется работоспособность всех остальных.
3.2 Адресно-аналоговая пожaрнaя сигнaлизация
Адресно-аналоговые системы ПС, обладают большими наиболее развитыми функциональными возможностями, надежностью и гибкостью, являются центром сбора телеметрической информации, поступающей от датчиков. В современном здании, оборудованном дорогостоящими системами телекоммуникации, автоматизации и жизнеобеспечения, применение адресно-аналогового оборудования является верным решением. Важным отличием адресно-аналоговых систем ПС является то, что в них извещатель является лишь измерителем параметра и транслирует на ПКП его значение и свой адрес, а ПКП оценивает величину и скорость изменения этого параметра, а также управляет индикацией ПИ, включая соответствующий режим. Т.е. все решения по контролю и управлению пожарной ситуацией на объекте принимаются приемно-контрольным прибором. Современная адресно-аналоговая система ПС - это специализированный компьютерный комплекс, который позволяет контролировать целый набор параметров - и оценивать состояние объекта по нескольким ПИ, находящимся в одном или разных помещениях, менять чувствительность ПИ в зависимости от условий эксплуатации и времени работы (режимы день/ночь, рабочий день/выходной). Адресно-аналоговая система также позволяет гибко организовать работу и взаимодействие всех инженерных систем жизнеобеспечения здания.
3.3 Системы оповещения о пожаре и управления эвакуацией
В случае возникновения пожара важно не только обнаружить его на ранней стадии, но и оповестить об опасности находящихся в здании людей и предотвратить возможную панику. Для этой цели в зависимости от категории объекта в соответствии с требованиями норм пожарной безопасности используются различные типы оповещения: звуковое, светозвуковое, речевое, речевое с раздельными зонами включения.
Успешной эвакуации людей и материальных ценностей способствуют руководящие указания, транслируемые посредством системы речевого оповещения о пожаре. Такие системы особенно необходимы в общественных зданиях, где кроме постоянно работающего персонала присутствует значительное количество посетителей. Системы речевого оповещения используются для трансляции в заданные зоны сигналов оповещения о пожаре, или о какой-либо другой опасности с абсолютным приоритетом над другими режимами работы (передача коротких сообщений, рекламных объявлений, фоновой музыки, радиопрограмм и т.д.).
Основой системы оповещения является радиоэлектронный блок, который подключается к общей системе трансляции звука здания, и, принимая аварийный сигнал от системы пожарной или любой другой сигнализации, затем автоматически переходит в режим оповещения. В режиме оповещения система определяет приоритет, и место происхождения сигнала затем начинает воспроизводить ранее записанную для этого случая информацию с одновременным включением сирен и стробов.
В настоящее время на территории Республики Беларусь для соблюдения противопожарной обстановки на объектах наиболее широкое применение нашли следующие системы:
система пожарной сигнализации адресная (АСПС) “Эстафета”;
система автоматизированная охранно-пожарной сигнализации “Алеся”.
Система “Эстафета” рассчитана на 32 кольцевых шлейфа, информация с которых поступает через адаптер сети на пульт дежурного оператора (ПДО), который выполняет функции АРМа (ведение базы данных, программирование системы, управление).
Информация с ПДО может быть продублирована на выносные панели индикации (ВПИ) и отображать графическую информацию на персональном компьютере.
Данная система включает в себя адресную пожарную сигнализацию, обеспечивает подключение существующей объектовой охранной сигнализации через модули сопряжения и интеграцию системы доступа на объект на уровне персонального компьютера.
Система "Алеся" является охранно-пожарной, без возможности подключения (интеграции) системы доступа на объект. Управление системой осуществляется только через автоматизированное рабочее место оператора (АРМ ДО) и дежурного инженера (ДИ), т.е. через персональные компьютеры, что делает систему уязвимой.
АСОС “Алеся” позволяет автоматизировать режимы работы охранно-пожарной сигнализации: прием и сдачу объектов под охрану, контроль исправности телефонных линий (шлейфов сигнализации), ПКП и извещателей.
Система состоит из следующих уровней:
верхний уровень (АРМ ДО и ДИ);
средний уровень (ретранслятор, устройство трансляции и обработки информации, коммутатор направлений);
объектовый уровень (приемно-контрольные приборы).
Рассмотренные системы предназначены для соблюдения противопожарной обстановки на больших, преимущественно распределенных объектах, и их применение на рассматриваемом в курсовом проекте объекте экономически нецелесообразно.
Экономически обоснованным и в то же время эффективным для проектируемой системы пожарной сигнализации и оповещения о пожаре является ее построение на базе следующего приемно-контрольного оборудования: ПКП 063-8-5 “АЛАРМ-5”, ППКОП “А16-512” и ППКОП “ПКП-8/16”.
Основные технические характеристики данного оборудования приведены в таблице 2.
Таблица 2 – Основные технические характеристики ПКП
ТСО Параметр |
ППКОП 063-8-5 "Аларм-5" |
ППКОП "А16-512" |
ППКОП "ПКП-8/16" |
| Информационная емкость (кол-во ШС): | 8 | 16 (48) | 8 (32) |
| Максимальное количество зон | 4 | 24 | 16 |
| Кол-во релейных выходов | 3 | 3(25) | (8) |
| Ток потребления от аккумуляторной батареи без СЗУ и внешних устройств, мА | 110 | 150 | 120 |
| Встроенная память событий | 32 | 256 | 64(448) |
| Максимальное количество каналов считывания электронных ключей | 2 | 30 | 16 |
| Выходы для подключения СЗУ | 3 | 2 | 2 |
| Диапазон рабочих температур, оС | -30…50 | -20…+50 | 0…50 |
| Срок службы прибора, не менее, лет | 8 | 8 | 8 |
Широкий выбор пожарных извещателей, разрешенных к применению на территории РБ позволяет проектировать системы пожарной сигнализации, учитывая характеристики защищаемых помещений объекта, а также материальные возможности и пожелания заказчика. В таблице 3 приведены основные технические характеристики наиболее часто применяемых пожарных извещателей.
Таблица 3 – Основные технические характеристики извещателей пожарных
| Модель | Страна-производитель | Принцип действия |
Порог срабатывания | Инерционность срабатывания, с | Питание В/мА | Диапазон раб. температур, С |
| Тепловые ПИ | ||||||
| ИП 101-1А | Россия | Тепловой мгновенный | 50…100 | 60 | 10…25 / 0.05 | -30…+100 |
| ИП 101-2 | Россия | Тепловой макс. диф. | 54…56 | 60 | 24 / 0.3 | -40…+70 |
| ИП 103-2 | Россия | Тепловой мгновенный | 54…78 | 80…100 | 22…65 / 1 | -40…+50 |
| ИП 103-4/1 | Россия | Тепловой мгновенный | 60…70 | 120 | 12…30 / 150 | -30…+50 |
| ИП 103-5/1 | Беларусь | Тепловой максимальный | 70…75 | 120 | 30 / 150 | -50…+50 |
| ИП 105 | Беларусь | Тепловой максимальный | 60…70 | 120 | 12…30 / 0.03 | -50…+50 |
| Дымовые ПИ | ||||||
| ДИП-3 | Россия | Дымовой оптический | 0,05…0,5 Дб/м | 5 | 24 / 0.5 | -30…+70 |
| ДИП-34а | Россия | Дымовой оптический | 0,05…0,2 Дб/м | 10 | 8…28 /0.6 | -10…+50 |
| ИП 212-41М | Россия | Дымовой оптический | 0,05…0,2 Дб/м | 5 | 9…28 / 0.5 | -10…+50 |
| ИП 212-5М | Беларусь | Дымовой оптический | 0,05…0,2 Дб/м | 5 | 16…24 / 0.5 | -30…+60 |
| ИП 212-34 (ДИП34) | Россия | Дымовой оптический | 0,05…0,2 Дб/м | 10 | 12…28 / 0.12 | 0…+50 |
| Ручные ПИ | ||||||
| ИПР | Россия | Поворот ручки | - | - | 18…24 / 18 | -50…+50 |
| ИПР-К | Россия | Нажатием на пластину | - | - | 18…24 / 18 | -40…+55 |
| ИПР-3СУ | Беларусь | Нажатием на кнопку | - | - | 9…28 / 30 | -40…+60 |
| ИПР АС-05 | Россия | Нажатием на кнопку | - | - | 16…28 / 0.4 | -50…+50 |
4. Основные технические решения
Исходя из данных, приведенных в таблице 2, а также учитывая характеристики и площадь объекта, разрабатываемая система строиться на базе ПКП “А16-512”. Количество используемых шлейфов сигнализации обеспечивает необходимый по СНБ 2.02.05-04 резерв.
Прибор предназначен для контроля состояния пожарных извещателей и в случае их срабатывания вырабатывает сигнал тревоги. ПКП имеет выходы для подключения световых и звуковых оповещателей. Кроме того, ПКП обеспечивает автоматическое переключение на резервное питание (аккумуляторы) при пропадании основного питания (220В) и индикацию неисправностей при их наличии (пониженное напряжение на аккумуляторных батареях, обрыв сигнального устройства и т.д.).
Данная установка автоматической пожарной сигнализации предназначена для управления автоматической системой оповещения о пожаре.
В соответствии с СНБ 2.02.02-01 использован тип оповещения СО-3 (речевое). Для оповещения о пожаре использовать систему управления оповещением и эвакуацией "Танго". Прибор управления и источник резервного питания (24В) установить на посту дежурного рядом с ПКП.
Исходя из данных, приведенных в таблице 3, а также учитывая характеристики защищаемых помещений, разрабатываемая система строиться, используя в качестве дымовых пожарных извещателей ИП 212-41М, в качестве тепловых пожарных извещателей – ИП 103-5/1 и в качестве ручных пожарных извещателей – ИПР-3су, в качестве автономного пожарного извещателя – ИП212-22.
В настоящее время на территории Республики Беларусь наиболее широкое распространение среди систем оповещения и эвакуации людей в чрезвычайной ситуации получила система “Танго” на базе основного оборудования производства “ Авангардспецмонтаж ”.
Учитывая характеристики и площадь объекта, систему оповещения о пожаре наиболее эффективно реализовать с использованием речевых оповещателей “Танго-ОП5”, световых транспарантов “АСТО-12/1” и светозвуковых табло "АСТО-12С/1". Для управления системой оповещения используется базовый блок управления на 2 зоны оповещения “Танго-ПУ/БП2”. Для оповещения о пожаре в местах с ночным пребывание предусмотрена установка автономных пожарных извещателей ИП212-22.
На путях эвакуации из здания объекта устанавливаются световые транспаранты с надписью “Выход”. В помещениях "групповая" 2, 39, 53, 56, 68, 71, "коридор" 16, 29, "музыкальный зал" 46 первого этажа, "групповая" 18, 22, 25, 32, 14, 13, 7, 5 второго этажа устанавливаются речевые объектовые оповещатели “Танго-ОП5”, в помещениях "кабинет завхоза" 21 и "кабинет заведующей" 14 первого этажа устанавливаются светозвуковые табло "Пожар" "АСТО-12С/1", на лестничной клетке в подвале устанавливается светозвуковое табло "Выход" "АСТО-12С/1", а также в помещении "кабинет завхоза" (пост дежурного) на первом этаже предусмотрена установка сирены ПКИ-1.
При сигнале "Пожар" с ПКП происходит автоматический запуск системы оповещения, включение наружного светозвукового оповещателя SOA-4PS.
На путях эвакуации людей при пожаре устанавливаются извещатели пожарные ручные ИПР-3су.
Отключение вентиляции, блокируемой с установкой пожарной сигнализации, осуществляется при срабатывании одного пожарного извещателя. Линию отключения вентиляции выполняет заказчик.
Определение шумового фона в зданиях определяют расчетным путем либо соответствующими натурными измерениями. При отсутствии данных, как в нашем случае, допускается использовать параметры фона шума, приведенные в таблице 4.1
Таблица 4.1
| Наименование объекта | Уровень фона шума, дБ |
| Больница | 10 - 20 |
| Жилое помещение (гостиницы, общежития, санатория и т.д.), лечебно-профилактическое учреждение | 20 - 35 |
| Вестибюль, холл, коридор гостиницы, общежития, административного здания | 45 - 50 |
| Учебный класс | 30 - 60 |
| Церковь, театр | 30 - 45 |
| Офисное помещение | 40 - 68 |
| Ресторан | 40 - 60 |
| Конференц-зал | 50 - 60 |
| Объект легкой промышленности | 70 - 80 |
| Объект тяжелого машиностроения | 90 - 110 |
| Спортзал | 65 - 75 |
| Супермаркет | 55 - 65 |
| Открытый стадион | 90 - 100 |
| Автостоянка | 60 - 70 |
| Железнодорожный вокзал | 75 - 90 |
При выборе типа звукового оповещателя учитывать, что с увеличением расстояния от источника звука звуковая (акустическая) мощность распределяется по более широкой поверхности, которая пропорциональна расстоянию от источника. В то же время, интенсивность звука уменьшается с расширением области распространения звука (рисунок 4.1).
|
Рисунок 4.1 – График зависимости ослабления звукового давления от расстояния.
5. Организация и производство стороительно-монтажных и пусконаладочных работ
ПКП "А16-512" установить на стене на высоте 1,5-1,9 м от пола на посту дежурного (кабинет завхоза №21) на 1 этаже, расширитель АР-16 – в коридоре №59, 1 этаж.
Извещатели ПС устанавливаются на перекрытиях защищаемых помещений согласно СНБ 2.02.05-04. На путях эвакуации людей при пожаре устанавливаются извещатели пожарные ручные ИПР на высоте 1,5 м от пола.
Извещатели устанавливаются в защищаемых местах, указанных на схемах, в соответствии с паспортными данными.
Контрольно-приемный прибор и прибор управления оповещением размещаются в соответствии с планом сети пожарной сигнализации и оповещения (наружное SOA-4PS – на высоте не менее 2,5 м).
Коробки КРТП установить на стене на высоте 2,2-2,5 м от пола (место установки уточнить при монтаже).
Переход кабелей с этажа на этаж выполнить в полихлорвиниловой трубе диаметром не менее 32 мм.
Разводку сети пожарной сигнализации выполнить кабелем КСПВ 2х0,4, КСПВ 4х0,4, КСПВ 6х0,4. Для линии речевого сигнала использовать кабель КСПВ 2х0,4, для подключения микрофонной консоли – кабель КСПВ 4х0,4.
Разводку табло "Выход", линии питания приборов речевого оповещения (24В) и линию питания блоков ПС (12В) выполнить проводом ШВВП 2х0,75, линию связи – кабелем "витая пара" UTP-5.
Разводка силовой сети выполняется проводом ВВГ 3х1,5 на высоте не менее 2,3 м.
Провода и кабели шлейфов сигнализации и оповещения проложить по потолку и стенам открыто в коробе на высоте не менее 2,2 м от пола и 0,1 от потолка. Подвод проводов к ИПР защитить коробом до отметки 2,2 м.
При параллельной открытой прокладке проводов и кабелей сигнализации и электропитания расстояние между ними должно быть не менее 0,5 м.
При пересечении силовых и осветительных сетей провода и кабели сигнализации должны быть защищены резиновыми или полихлорвиниловыми трубками, концы которых выступают на 4-5 мм с каждой стороны перехода.
6. Электропитание и заземление оборудования
Система пожарной сигнализации является потребителем 1-й категории и требует 2-х независимых источников электропитания.
Подвод питания к аппаратуре пожарной сигнализации и оповещения:
электропитание приемно-контрольного прибора осуществить от свободной группы контактов существующих распределительных щитов на объекте проводом ВВГ 3х1,5;
резервный ввод приемно-контрольного прибора "А16-512" и источника резервного питания, от которого запитываются извещатели системы пожарной сигнализации, запитать от аккумуляторной батареи емкостью 18А*ч;
питание прибора речевого оповещения о пожаре осуществить от внешнего источника питания 24В.
Для защиты обслуживающего персонала от опасных напряжений, которые могут возникать на корпусах электрооборудования в результате повреждений изоляции, предусмотрено зануление корпусов электрооборудования. Зануление электрооборудования выполнить путем металлического соединения его корпусов с нейтралью сети электроснабжения, для чего используется отдельная жила питающих кабелей. При производстве работ руководствоваться СНиП 2.05.06-85 "Электротехнические устройства".
При использовании в качестве резервного источника питания аккумуляторной батареи должна обеспечиваться работа системы пожарной сигнализации в течение не менее 24 ч в дежурном режиме, и в течение не мене 3 ч в режиме тревоги.
В разрабатываемой системе необходимо обеспечить резервное питание оборудования системы пожарной сигнализации и системы оповещения.
6.1 Расчет энергопотребления
Таблица 4 – Токопотребляющие элементы системы пожарной сигнализации.
| Наименование | Количество | Ток, мА | Ток потребления, мА |
| А16-512 | 1 | 150 | 150 |
| ВПУ-А | 1 | 70 | 70 |
| АР-16 | 1 | 120 | 120 |
| РМ-64-6 | 1 | 80 | 80 |
| 420 | |||
| ИП-212-41М | 152 | 0,05 | 7,6 |
| ИПР | 30 | 0,1 | 3,0 |
| 10,6 | |||
| SOA-4PS | 1 | 420 | 420 |
Для резервного электропитания системы пожарной сигнализации используется аккумуляторная батарея 12V, 18 А*ч (1 шт).
Ток потребления установки в дежурном режиме:
(420мА + 10,6мА) х 24ч = 10,3 А*ч
Ток потребления установки в режиме пожара:
(420мА + 420мА) х 3ч = 2,5 А*ч
Таблица 5 – Токопотребляющие элементы системы оповещения.
| Наименование | Количество | Ток, мА | Ток потребления, мА |
| Танго-ПУ/БП-2 | 1 | 80/160 | 80/160 |
| Танго-МК-2 | 1 | 60 | 60 |
| АСТО-12С/1 | 3 | 60 | 180 |
| ОП-5 | 17 | 300 | 5100 |
| АСТО-12/1 | 45 | 30 | 1350 |
| 6630 |
Для резервного электропитания системы оповещения о пожаре используются аккумуляторные батареи 12V, 12А*ч (2 шт).
Ток потребления установки в дежурном режиме:
(80мА + 60мА) х 24ч = 3,4 А*ч
Ток потребления установки в режиме пожара:
(160мА + 60мА + 6630мА) х 1ч = 6,85 А*ч
7. Охрана труда и техника безопасности
Данный раздел посвящён вопросам охраны труда работников, обеспечивающих круглосуточное, постоянное наблюдение за состоянием системы пожарной сигнализации на объекте – детский сад. Использование техники выдвигает проблему оздоровления и оптимизации условий труда сотрудников ввиду следующих факторов: высокая интенсивность труда, монотонность, специфические условия зрительной работы, ограничение двигательной активности, наличие электромагнитных излучений, электростатических полей, возможность поражения электрическим током.
Совокупное воздействие на пользователя вредных факторов снижает биоэнергетический потенциал и сопротивляемость организма. При этом совсем необязательно, что у всех будут проявляться одни и те же отклонения в состоянии здоровья. Скорее всего, произойдет срыв в наиболее нагруженном или ослабленном органе.
Для обеспечения надлежащих условий труда персонала, обслуживающего систему пожарной сигнализации на объекте, предусмотреть проведение комплекса мероприятий по улучшению условий труда.
7.1 Производственна санитария
7.1.1 Излучение
Работающие мониторы являются источником электромагнитного, рентгеновского и ультрафиолетового излучений.
Воздействие электромагнитных полей на человека зависит от напряженности электрического и магнитного полей, потока энергии, частоты электромагнитных колебаний, размера облучаемой поверхности тела и индивидуальных особенностей организма.
Для обеспечения безопасности работ с источниками электромагнитных волн производится систематический контроль фактических значений нормируемых параметров на рабочих местах.
При работе видеодисплейного терминала уровни напряженности, плотности магнитного потока электромагнитного поля, напряженности электростатического поля не превышают допустимых значений приведенных в таблице 6.1 на расстоянии 50 см от экрана, правой, левой и тыльной поверхностей видео при работе с ним взрослых пользователей.
Таблица 7.1 – Допустимые значения параметров неионизирующих электромагнитных излучений
| Наименование параметра | Допустимые значения |
Напряженности электромагнитного поля. Электрическая составляющая не более: диапазон частот 5 Гц – 2 кГц диапазон частот 2 – 400 кГц Плотность магнитного тока, не более: диапазон частот 5 Гц – 2 кГц диапазон частот 2 – 400 кГц Напряженность электростатического поля не более |
25,0В/м 2,5В/м 250 нТл 25 нТл 15 кВ/м |
Допустимые уровни напряженности (плотности потока мощности) электромагнитных полей излучаемых клавиатурой, системным блоком, манипулятором "мышь", беспроводными системами передачи информации на расстоянии в зависимости от основной рабочей частоты изделия, не превышают значений, приведенных в таблице 6.2.
Таблица 7.2 – Допустимые уровни электромагнитных полей
| Диапазон частот | 0,3-300 кГц | 0,3-3,0 МГц | 3,0-30,0 МГц | 30,0-300 МГц | 0,3-300 ГГц |
| Допустимые уровни | 25,0 В/м | 15,0 В/м | 10,0 В/м | 3,0 В/м | 10 мкВт/см2 |
Допустимые уровни напряженности электрического поля тока промышленной частоты 50 Гц, создаваемые монитором, системным блоком, клавиатурой, изделием в целом не должны превышать 0,5 кВ/м.
7.1.2 Метеорологические условия
С целью обеспечения комфортных условий для обслуживающего персонала и надёжности технологического процесса устанавливают следующие требования к микроклиматическим условиям (см. таблица 6.3) в производственных помещениях, в которых работа на ЭВМ и ПЭВМ является основной. В этой же таблице приведены оптимальные и фактические значения.
Таблица 7.3 – Микроклиматические условия
Параметры |
Оптимальные значения | Допустимые нормы | Фактические значения | ||||
| Холодный период | Теплый период | Холодный период | Теплый период | Холодный период | Теплый период | ||
| Температура воздуха, °С | 21 - 23 | 22 - 24 | 20 - 24 | 21 - 28 | 20 - 23 | 20 – 24 | |
| Относит. влажность, % | 40 - 60 | 40 - 60 | 75 | 60 | 15 - 62 | 46 – 52 | |
| Скорость движения воздуха, м/с | < 0.1 | 0.2 | 0.2 | 0.1 - 0.3 | 0.2 | 0.2 | |
В помещении предусмотрено регулирование подачи теплоносителя для соблюдения нормативных параметров микроклимата. В качестве нагревательных приборов в помещении установлены регистры из труб.
7.1.3 Вентиляция
Для обеспечения в помещении чистоты воздуха и заданных метеорологических условий используется приточно-вытяжная вентиляция. В такой системе воздух подаётся приточной вентиляцией, а удаляется вытяжной вентиляцией. Движение воздуха осуществляется вентиляторами. Учитывая объём данного помещения 40 м3 на одного работника необходимо обеспечить подачу свежего воздуха не менее 20 м3/ч на человека, что позволяет сделать данный тип вентиляции. Температура воздуха, подаваемого в помещение с приборами, контролирующими работу системы охранно-пожарной сигнализации - не ниже 19°С.
7.1.4 Производственное освещение
Важное место в комплексе мероприятий по охране труда и оздоровлению условий труда занимает создание оптимальной световой среды, т.е. рациональная организация естественного и искусственного освещения помещения и рабочих мест. В дневное время в офисах используется естественное одностороннее освещение, в вечернее и ночное время или при недостаточных нормах освещённости - искусственное общее равномерное освещение.
Помещения для работы с дисплеями и видеотерминалами можно отнести к разряду III зрительной работы (высокой точности). Нормированный уровень освещённости для работы с дисплеями – 300 лк (см. таблицу 6.4)
Таблица 7.4 – Параметры естественного и искусственного освещения помещений для работы с дисплеями
| Искусственное освещение | Естественное освещение | |||
| Освещённость рабочих поверхностей, лк | Показатель Дискомфорта, М не более |
Коэффициент пульсации освещённости, Кņ, % не более | КЕО,% | |
| при верхнем или верхнем боковом | при боковом освещении |
|||
| 300 | 40 | 5 | 4 | 1.5 |
Требования к снижению дискомфортной блескости и зеркального отражения в экранах удовлетворяются путём использования светильников с комбинированным прямым и отражённым направлением света, которое осуществляется с помощью двойной крестовой оптики. Часть прямого светового потока лампы направляется через параболический зеркальный растр таким образом, что ограничивается слепящее действие прямого и отражённого света; отражённая часть излучения лампы направляется широким потоком на потолок.
Благодаря такому светораспределению в верхней полусфере яркость потолка в любом месте, в том числе и непосредственно под светильником, не превышает 200 кд/м2. Габаритная яркость светильников в зоне углов излучения более 50° от вертикали ограничивается в обеих плоскостях 200 кд/м2 (кандел на метр квадратный). Для искусственного освещения помещений СКБ используют люминесцентные лампы белого (ЛБ) и тёмно-белого цвета (ЛТБ) мощностью 80Вт.
7.2 Техника безопасности
7.2.1 Электрический ток
Электрические установки представляют для человека большую потенциальную опасность. Человек начинает ощущать воздействие переменного тока 0,5-1,5 мА с частотой 50 Гц и 5-7 мА постоянного тока. При воздействии такого тока ощущается нагрев участка, контактирующего с токоведущей частью. Увеличение проходящего тока вызывает у человека судороги мышц и болезненные ощущения, которые усиливаются с ростом тока и распространяются на всё большие участки тела. Так, при токах 10-15 мА боль становится очень сильной, а судороги значительными. При увеличении тока до 30 мА мышцы могут потерять способность сокращаться, а при токе 50-60 мА наступает паралич дыхательных органов, а затем нарушается работа сердца. Смертельным считают ток 100 мА и более.
Помещение охраняемого объекта, согласно ПУЭ, относится к помещениям с повышенной опасностью поражения током.
Электробезопасность работающих обеспечивается конструкцией электроустановок; техническими способностями и средствами защиты, организационными средствами защиты. Предусмотрены следующие технические способы и средства защиты от поражения электрическим током.
обеспечение недоступности токоведущих частей, находящихся под напряжением для случайного прикосновения;
устранение опасности поражения при появлении напряжения на корпусах, кожухах и других частях электрооборудования, что достигается применением малых напряжений, использованием двойной изоляции, средств и предохранительных приспособлений, выравниванием потенциала, защитным заземлением и т.д.
7.2.2 Статическое электричество
Разрядные токи статического электричества могут возникать при прикосновении к любому из оборудования, находящемуся в помещении охраны. Такие разряды опасности для человека не представляют, но кроме неприятных ощущений они могут привести к выходу из строя или сбою в работе оборудования. Для снижения величины возникающих зарядов статического электричества покрытие полов выполнено из однослойного поливинилхлоридного антистатического линолеума. К общим мерам защиты от статического электричества относятся общее и местное увлажнение воздуха, для чего применяются увлажнители. Для устранения зарядов статического электричества достигается заземлением электропроводных частей оборудования. Для заземления неметаллических объектов на них предварительно нанесено электропроводное покрытие (электропроводная эмаль). Такого рода заземление объединено с защитным заземлением электрооборудования.
7.2.3 Расчет величины тока, проходящего через тело человека
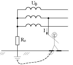
Поражения человека электрическим током возникает при замыкании электрической цепи через тело человека. Это происходит в случае прикосновения человеком не менее чем к двум точкам электрической цепи, между которыми имеется некоторое напряжение. Включение человека в цепь между проводом и землёй (см. Рис.6.1), т.е. непосредственное соприкосновение человека с частями электроустановки или оборудования, нормально или случайно находящимся под напряжением, может происходить с благоприятными и неблагоприятными условиями.

Рисунок 7.1 – Прикосновение человека к фазному проводу трёхфазной четырёх проводной сети с заземлённой нейтралью.
В случае прикосновения человека с нормалью под напряжением через тело человека пройдёт ток
| I=Uф/(RT+RП+Rоб+R0) | (6.1) | |
где: |
Uф – напряжение; RT – сопротивление тела человека; RП – сопротивление грунта или пола, на котором стоит человек; Rоб – сопротивление обуви; R0 – сопротивление заземления нейтрали. |
|
Случай с неблагоприятными условиями.
Человек, прикоснувшийся к одной фазе, находится на сыром грунте или токопроводящем полу, его обувь сырая.
В соответствии с этим принимаем следующие значения сопротивлений:
Rт = 1000 Ом;
Rп = 0 Ом;
Rоб = 0 Ом;
R0 = 4 Ом.
Тогда через тело человека пройдёт ток
I=220/(1000+0+0+4) =220мА
Величина данного тока является опасной для жизни человека.
Случай с благоприятными условиями.
Человек находится на деревянном сухом полу, имеет на ногах сухую непроводящую обувь.
В соответствии с этим принимаем следующие значения сопротивлений:
Rт = 1000 Ом;
Rп = 60000 Ом;
Rоб = 50000 Ом;
R0 = 4 Ом.
Тогда через тело человека пройдёт ток
I=220/(1000+6000+50000+4) =2мА
Величина такого тока практически безопасна для человека.
7.3 Пожарная безопасность
Общие требования пожарной безопасности устанавливает ГОСТ 12.1 004-91.
Здание проектируемого объекта относится к типовым зданиям детских учреждений и не имеет категории по взрывопожарной и пожарной опасности.
В современной радиоэлектронной аппаратуре отмечается очень высокая плотность размещения элементов электронных схем. В непосредственной близости друг от друга расположены соединительные провода, коммутационные кабели. При протекании по ним тока выделяется значительное количество теплоты, что может привести к повышению температуры отдельных узлов до 80-1000°С, а затем к короткому замыканию и сгоранию с образованием искр электронных схем.
Для предотвращения распространения огня во время пожара с одной стороны здания в другую предусмотрены противопожарные преграды: перекрытия, двери. Особое внимание уделяется безопасной эвакуации людей в случае пожара. Для извещения о пожаре предусмотрена аварийная пожарная система, которая при наличии дыма или сильного выделения теплоты оповещает о наличии пожара звуковыми и световыми сигналами.
Эвакуационные пути здания обеспечивают безопасную эвакуацию всех людей, находящихся в помещениях, через эвакуационные выходы.
Степень огнестойкости здания характеризуется пределами огнестойкости и классами пожарной опасности строительных конструкций. Объект имеет IIIстепень огнестойкости.
Ширина путей эвакуации в свету составляет не менее 1 м, дверей – не менее 0,9 м. Высота прохода на путях эвакуации – не менее 2 м. Двери на путях эвакуации открываются по направлению выхода из здания. Высота дверей в свету на путях эвакуации составляет не менее 2 м. Ширина марша лестницы составляет не менее ширины эвакуационного выхода в лестничную клетку. Ширина лестничных площадок – не менее ширины марша. Между маршами лестниц предусмотрен зазор шириной не менее 50 мм. В световых проемах лестничных клеток предусмотрены открывающиеся фрамуги площадью не менее 1,2 м2 на каждом этаже. В здании предусмотрено оповещение о пожаре типа СО3.
Для ликвидации пожаров в начальной стадии предусмотрено применение первичных средств пожаротушения. На лестничных площадках и в коридорах установлены пожарные краны, располагающиеся в нишах на высоте 1,35 м, с пожарными стволами с напорным рукавом из ткани длиной 10-20 м.
8. Ээкономеческая эффективность применения системы защиты
Сметная документация разработана на основании рабочих чертежей и пояснительной записки в соответствии с "Методическими указаниями по определению стоимости строительства предприятий, зданий и сооружений, и составлению сметной документации с применением ресурсно-сметных норм в Республике Беларусь".
Сметная документация составлена в базисных ценах 1991г. в нормах РСН.
При составлении локальных смет в них выполнены следующие начисления:
а) временные здания и сооружения – 6,8%(к=0,8);
б) дополнительные затраты при производстве в зимнее время – 4,08% (к=0,8);
в) средства на премирование за ввод в действие в срок объектов – 12,1%;
г) затраты на премирование:
1) производственные результаты – 30%;
2) премирование от накладных расходов – 6,5%;
3) премирование от м/механизмов – 30%;
д) технадзор - 1,03%;
е) авторский надзор – 0, 196%;
ж) расходы на содержание органов Госстройтехнадзора – 0,147%;
з) затраты на экспертизу – 20%;
и) непредвиденные работы и затраты – 5%;
к) фонд развития строительной науки – 0,5%;
л) на электромонтажные работы:
1) накладные расходы – 93,1%;
2) плановые накопления – 90,7;
м) на монтаж оборудования:
1) накладные расходы – 62,2%;
2) плановые накопления – 65,5%;
н) на пусконаладочные работы:
1) накладные расходы – 80%;
2) плановые накопления – 29,5%;
о) на монтаж сетей связи:
1) накладные расходы – 116%;
2) плановые накопления – 77,1%;
Сметная стоимость, определяется в ценах 1991г., (по ресурсно-сметным нормам 2000г) является базисной.
Предъявление, рассмотрение претензий и согласований настоящей сметной документации производится в порядке, установленном в разделе 5 СНиП 1.02.01-85.
Накладные расходы принятые в соответствии с постановлением Совета Министров РБ от 6.07.01г №997.
Размер затрат на временные здания и сооружения и удорожание работ в зимнее время в свободном сметном расчете приняты в соответствии с РДС 8.01.102-02, РДС 8.01.103-02.
Лимитированные затраты приняты в соответствии с "Методическими указаниями по определению стоимости строительства" РДС 8.01.105-03.
8.1 Проект организации строительства
Проект организации строительства разработан на основании задания на проектирование.
Исходными данными послужили:
материалы инженерных изысканий;
генеральный план участка;
план инженерных сетей;
архитектурно-строительные чертежи;
сводная и локальная сметы.
Проектом предусматривается монтаж автоматической системой пожарной сигнализации в здании детского сада.
Основные технические показатели и конструктивные решения проектируемой системы АПС приведены в пояснительной записке и графических частях проекта.
Монтаж будет осуществляться подрядным способом.
К работам по монтажу пожарных шлейфов и оборудования можно приступать только после завершения подготовительных работ, при наличии на объекте (складах заказчика) оборудования, конструкций материалов и других изделий в количестве, необходимом для нормального выполнения монтажных работ, а также при выполнении мероприятий по технике безопасности и производственной санитарии.
В состав подготовительных работ входят:
работы, связанные со входным контролем пожарных извещателей и оборудования;
монтаж проходных отверстий в строительных конструкциях и подготовка закладных конструкций для скрытой прокладки шлейфов.
Продолжительность строительства определена расчетом в соответствии с "Расчетными показателями для определения продолжительности строительства".
Расчет продолжительности строительства объекта по трудозатратам
Т=z/(n*tc*d*k); (8.1)
где: Т – продолжительность строительства, месяц;
z – затраты труда на производство;
n – средняя численность работающих в бригаде;
tc – продолжительность рабочего дня (смены), час;
d – количество рабочих дней в месяце;
k – коэффициент, принятый для уменьшения показателей трудозатрат, рассчитанный по сметным нормам 2001г, k=1.52.
T=2552/(4*8*22*1.52) =2,4 (месяца)
Для выполнения объема строительно-монтажных работ будет привлечена бригада рабочих в количестве 4 человек.
Генеральный план.
При разработке генерального плана в основу положены следующие принципы:
рациональное использование расходуемых материалов и труда персонала;
рациональное размещение на планах помещений пожарных извещаетелей и оборудования, применяемого монтажного инструмента;
соблюдение правил техники безопасности и противопожарных требований.
Генплан разработан на период монтажа АПС здания.
8.2 Технико-экономические показатели
Основные показатели определены по данным проекта и приведены в таблице 8.1.
Таблица 8.1 – Основные технико-экономические показатели
| Наименование показателя | Единица измерения | Величина |
| Полная сметная стоимость, в ценах 1991г. | тыс. руб. | 21838 |
| Стоимость СМР, в ценах 1991г. | тыс. руб | 17938 |
| Продолжительность строительства | мес. | 2,4 |
| Затраты труда на призводство | чел-час | 2552 |
| Средняя численность работающих | чел. | 4 |
8.3 Экономическое обоснование
Сметы проектируемой системы представлены в приложении В.
Итоговые суммы по всем видам работ представлены в таблице 5.2.
Таблица 8.2 – Стоимость системы пожарной сигнализации и оповещения о пожаре
| Статья затрат | Сумма, млн. руб. |
| Проектные работы | 5,416886 |
| Строительно-монтажные работы в т. ч. материалы подрядчика в т. ч. оборудование | 10,081156 3,532170 993616 |
| Пуско-наладочные работы | 1, 198184 |
| Итого: | 21,222012 |
Статистические данные Министерства по черезвычайным ситуациям Республики Беларусь с начала 2007г. приведены в таблице 8.3.
Таблица 8.3 – Сведения о пожарах по данным учёта МЧС
| Наименование | С начала года | |
| 2006г. | 2007г. | |
| Пожары, взрывы | 3941 | 4438 |
| Ущерб (прямые потери), млн. руб. | 5895,5 | 7560,6 |
| Погибло людей/в т. ч. детей | 501/19 | 550/23 |
| Травмировано людей | 158 | 168 |
| Спасено | 448 | 466 |
| Спасено мат. Ценностей, млн. руб. | 30221,5 | 9177,44 |
| Уничтожено строений | 904 | 1446 |
| Повреждено строений | 2637 | 3077 |
С каждым годом увеличивается число пожаров, и материальный ущерб от них уже измеряется десятками тысяч миллионов рублей.
Гарантийный срок эксплуатации системы 2 года, срок эксплуатации 10 лет. Согласно данным учета на аналогичных объектах ущерб при отсутствии автоматической системы пожарной сигнализации и оповещения о пожаре может достигать от 50 млн. руб. до 205 млн. руб. Как показывает статистика – своевременное обнаружение и оповещение людей о пожаре позволит предотвратить гибель людей и свести к минимуму материальный ущерб.
Экономическая эффективность.
ЭФ=(Р-З) /З*100%; (8.2)
где: Р и З – стоимостная оценка результатов и затрат
ЭФ=(205000000-21222012) /21222012*100%=8,66%
Эффективность данного проекта составит 8,66%
Заключение
В разработанном нами дипломном проекте приведена система пожарной сигнализации и оповещения о пожаре помещений объекта “Детского учреждения с группой круглосуточного содержания”.
В разделе "Общие положения" указаны документы (письма, акты обследования, технические задания и т.д.), на основании которых разработан проект, а также руководящие документы и нормативные документы, которым отвечают технические решения, принятые в данном проекте.
В данном разделе также указывают назначение системы пожарной сигнализации и места вывода и регистрации извещений о пожаре.
В разделе "Характеристика объекта " дано краткое описание объекта, особенности его расположения, а также основных помещений, подлежащих защите, состояние технической укреплённости, наличие телефонизации.
Разделы "Анализ возможных технических решений по оборудованию объекта заданной системой технических средств защиты" и "Основные технические решения" является основными разделами, в котором мы указали организацию пожарной сигнализации.
В них было дано обоснование выбора технических средств пожарной сигнализации, указаны технические особенности системы, дана основа построения системы пожарной сигнализации, её конфигурация, размещение, вывод и регистрация извещений о пожаре с объекта.
В названных разделах указаны:
помещения, оборудуемые указанными видами сигнализации;
распределение или группировку шлейфов сигнализации;
применяемые извещатели и устройства для блокировки строительных конструкций, особенности блокировки;
вывод и регистрацию тревожных извещений на системах или ПКП.
В разделе "Организация и производство монтажных и пусконаладочных работ" указаны особенности размещения и монтажа технических средств пожарной сигнализации в помещениях объекта, прокладка шлейфов сигнализации и соединительных линий.
В разделе "Электропитание и заземление оборудования" указаны:
категория электропитания объекта;
основное и резервное электропитание всей системы охранной сигнализации и отдельных составных частей;
время работы системы от резервного питания в дежурном и тревожном режимах;
особенности размещения и обслуживания резервного источника;
распределение или группировку цепей питания по току потребления технических средств охранной сигнализации;
особенности заземления технических средств охранной сигнализации (тип используемого заземлителя и т.п.).
В разделе "Охрана труда и техника безопасности" указаны:
виды опасности, которые необходимо учитывать при выполнении работ по монтажу и наладке технических средств охранной сигнализации, а также прокладке кабелей;
нормативные документы, которыми следует руководствоваться при производстве монтажно-наладочных работ;
группа работ по электробезопасности в соответствии с ПУЭ, которую должны иметь лица, осуществляющие монтаж и наладке технических средств охранной сигнализации.
Раздел "Экономическая эффективность применения системы защиты" приведено оформлен сметной документации в соответствии с требованиями СНБ 1.03.02 и Методическими указаниями Министерства архитектуры и строительства Республики Беларусь по определению стоимости строительства предприятий, зданий и сооружений и составлению сметной документации. Также были рассчитаны основные технико-экономические показатели.
В разделе "Приложение" приводятся:
техническое задание на проектирование системы пожарной сигнализации;
основные технические решения по пожарной сигнализации;
сметы стоимости проектных и монтажно-наладочных работ по установке пожарной сигнализации;
Список использованных источников
1. ВСН 25-09.68-85 "Правила производства и приемки работ. Установки охранной, пожарной и охранно-пожарной сигнализации".
2. НПБ 5-2005 "Категорирование помещений, зданий и наружных установок по взрывопожарной и пожарной опасности".
3. НПБ 15-2004 "Область применения автоматических систем пожарной сигнализации и установок пожаротушения".
4. ПУЭ "Правила устройства электроустановок".
5. СНБ 2.02.05-04 "Пожарная автоматика".
6. СНиП 2.01.02 "Противопожарные нормы".
7. СНиП 2.04.09-84 "Пожарная автоматика зданий и сооружений".
8. СНиП 3.05.06-85 "Электротехнические устройства".
9. СНиП 3.05.06-85 "Системы автоматизации".
10. СНиП 21.01-97 "Пожарная безопасность зданий и сооружений".
11. РД 25.953-90 "Системы автоматические пожаротушения, пожарной, охранной и охранно-пожарной сигнализации. Обозначения условно графические элементов связи".
12. СНБ 1.03.02. -96 "Состав, порядок разработки и согласования проектной документации в строительстве".
13. СНБ 2.02.01-98 "Пожарно-техническая классификация зданий, строительных конструкций и материалов".
14. СНБ 2.02.02-01 "Эвакуация людей из зданий и сооружений при пожаре".
15. СНБ 2.02.05-04 "Пожарная автоматика".
Похожие рефераты:
Проектирование 16-ти этажного 2-х секционного жилого дома в Ейске
11-этажный жилой дом с мансардой
Организация интеллектуальной сети в г. Кокшетау на базе платформы оборудования Alcatel S12
Детский ясли-сад на 140 мест с бассейном
Анализ основных средств ОАО "Витебскдрев"
Разработка 4-этажного оздоровительного комплекса "Звезда" в п. Новомихайловке
Тактика применения и эксплуатация средств охраны
Реконструкция теплоснабжения ОАО "САРЭКС" с разработкой собственной котельной
Кирпичный жилой дом 7,9 этажей по ул. Мирной в г. Петрозаводск
