| Похожие рефераты | Скачать .docx |
Дипломная работа: Устройство ввода аналоговой информации
Министерство образования и науки РФ
Федеральное агентство по образованию
УСТРОЙСТВО ВВОДА АНАЛОГОВОЙ ИНФОРМАЦИИ
Пояснительная записка
Руководитель
Подпись_______
Дата
Студент
Подпись_______
Дата
2008
Содержание
Введение
1. Общий принцип работы АЦП
1.1 Метод Oversampli
1.2 Классификация АЦП
1.3 Квантование амплитуды аналогового сигнала, разрядность АЦП 7
2. Принцип работы интерфейса USB
2.1 Обзор архитектуры USB-порта
2.2 Протокол передачи данных USB-порта
2.3 Драйвер D2XX
3. Функциональная схема АЦП с интерфейсом USB
4. Электрическая схема АЦП с интерфейсом USB
4.1 Выбор микросхем для реализации USB
4.2 Выбор микросхем для реализации АЦП
4.3 Реализация входа АЦП на базе операционного усилителя
5. Описание и принцип работы устройства ввода аналоговой информации
5.1 Технические характеристики
5.2 Описание работы устройства ввода аналоговой информации
6. Конструктивный расчет печатной платы
7. Технология изготовления печатной платы
8. Смета затрат на устройство ввода аналоговой информации
8.1 Материалы и комплектующие
8.2 Затраты на адаптацию
8.3 Общепроизводственные затраты
8.4 Нематериальные активы
8.5 Коммерческие расходы
9 Экономическая эффективность разработки
Заключение
Список информационных источников
Введение
В последние годы сформировалось совершенно новое направление в метрологии и измерительной технике – компьютерно-измерительные системы (КИС), и их разновидность, или направление развития – виртуальные (виртуальный – кажущийся) измерительные приборы (проще, виртуальные приборы). Компьютерно-измерительная система обязательно включает в себя компьютер, работающий в режиме реального масштаба времени или, как теперь принято говорить, в режиме on-line.
В настоящее время персональные компьютеры используют не только как вычислительные средства, но и как универсальные измерительные приборы. КИС на основе персонального компьютера заменяют стандартные измерительные приборы (вольтметры, осциллографы, анализаторы спектра, генераторы и пр.) системой виртуальных приборов. Причем ряд этих приборов может быть активизирован на одном персональном компьютере одновременно.
К отличительным особенностям КИС по сравнению с микропроцессорными приборами относятся:
- обширный фонд стандартных прикладных компьютерных программ, доступных для оператора, позволяющий решать широкий круг прикладных задач измерений (исследование и обработка сигналов, сбор данных с датчиков и т.д.);
- возможность оперативной передачи данных исследований и измерений по локальным и глобальным компьютерным сетям;
- возможность использования внутренней и внешней памяти большой ёмкости, а также составления компьютерных программ для решения конкретных измерительных задач;
- возможность оперативного использования различных устройств документирования результатов измерений.
В данном ДП 230101.08.73.11 ПЗ продемонстрирован пример такой КИС, реализующейся через USB порт, и преобразующая аналоговые входные сигналы в цифровые данные для виртуальных измерительных приборов: цифрового вольтметра, осциллографа, регистратора медленно изменяющихся процессов с записью информации в дисковый файл. Приставка не требует отдельного источника питания, получая его от порта USB, а малое число элементов позволило сделать её очень компактной.
1. Общий принцип работы АЦП
Современная тенденция развития аналого-цифровых преобразователей (АЦП) состоит в увеличении скоростей и разрешающих способностей обработки сигналов при уменьшении уровня потребляемой мощности и напряжения питания. Современные преобразователи данных в основном работают на напряжениях питания ±5В (двуполярный источник питания), +5В или +3В (однополярный источник питания) [1].
В действительности, число устройств с напряжением питания +3В быстро увеличивается вследствие появления для них большого числа новых рынков сбыта, таких как цифровые камеры, видеокамеры и телефоны сотовой связи. Эта тенденция создала множество проектных и конструкторских проблем, которым не придавалось значения в разработках более ранних преобразователей, использовавших стандартное напряжение питания ±15В и диапазон изменения входных сигналов ±10В. Более низкие напряжения питания подразумевают меньшие диапазоны входных напряжений и, следовательно, большую чувствительность к разного вида помехам: шумам от источников питания, некачественным опорным и цифровым сигналам, электромагнитным воздействиям и радиопомехам (EMI/RFI) и, возможно наиболее важный момент — к некачественным методам развязки, заземления и размещения компонентов на печатной плате. В АЦП с однополярным источником питания диапазон изменения входных сигналов обычно отсчитывается вне связи с «землей». При этом проблема заключается в поиске совместимых усилителей с однополярным питанием для нормализации сигнала на входе АЦП и в осуществлении необходимого сдвига входного сигнала относительно «земли» в приложениях с непосредственной связью. В настоящее время доступны компоненты, которые обладают чрезвычайно высокими разрешающими способностями при низких напряжениях питания и малой потребляемой мощности.
Аналоговый сигнал представляет собой непрерывный во времени и по амплитуде процесс, а его цифровое представление есть последовательность или ряд чисел, состоящих из конечного числа бит. Поэтому преобразование аналогового сигнала в цифровой состоит из двух этапов: дискретизации по времени и квантовании поамплитуде. Дискретизация по времени обычно означает, что сигнал представляется рядом своих отсчётов (дискретов) непрерывных по амплитуде и взятых через равные промежутки времени, хотя в некоторых специальных случаях может применяться и неравномерная по времени дискретизация, например при оцифровке узкополосных сигналов. Основной вопрос на первом этапе преобразования аналогового сигнала в цифровой (оцифровки) состоит в выборе частоты дискретизации аналогового процесса. Ответ на него даёт известная теорема Найквиста, утверждающая, что для того чтобы аналоговый (непрерывный по времени) сигнал занимающий полосу частот от 0 Гц до F Гц можно было абсолютно точно восстановить по его отсчётам, частота дискретизации должна быть не меньше 2*F Гц или отсчёты сигнала должны браться не реже чем через 1/(2*F) секунды. Если реальный аналоговый сигнал преобразовать в цифровую форму, содержащую частотные компоненты от 0 Гц до 20 кГц, то частота дискретизации такого сигнала должна быть не меньше чем 40 кГц. Если дискретизировать сигнал с полосой больше, чем частота дискретизации, делённая на 2, то предварительно необходимо с помощью аналогового фильтра низких частот подавить ту высокочастотную часть сигнала, спектральные компоненты которой находятся выше по частоте, чем частота дискретизации делённая на два. Частотный спектр дискретизированного сигнала такой же по форме, как и спектр аналогового (непрерывного) сигнала и повторяется на частотах, кратных частоте дискретизации. Например, если аналоговый сигнал занимает полосу 0 - 20 кГц и дискретизирован с частотой 50 кГц, то копии спектра (alias или алиазинг) появятся на частотах 30 - 70 кГц, 80 - 120 кГц и т.д. Для точного восстановления непрерывного аналогового сигнала по его дискретным отсчётам алиазинговые спектры не должны искажать (накладываться) друг друга, из чего и следует требование дискретизации сигнала на частоте равной удвоенной полосе аналогового сигнала.
Реальные аналоговые сигналы содержат компоненты (полезные и помехи), имеющие частотные составляющие, расположенные выше по частоте, чем часто применяемые на практике частоты дискретизации 44.1 кГц или 48.0 кГц делённые на два. Поэтому перед дискретизацией необходима аналоговая фильтрация, представляющая собой довольно сложную задачу. Аналоговые фильтры не могут пропустить все частоты от 0 Гц до 24 кГц и подавить все частоты выше 24 кГц. Любой аналоговый фильтр имеет ненулевую переходную (от пропускания к подавлению) область и, следовательно, вместе с “вредными” компонентами будут подавлены и полезные сигналы из области частот ниже 24 кГц. Кроме того, пытаясь сделать переходную область между полосой пропускания и полосой подавления, усиливаются вносимые фазовые искажения, удлиняется переходный процесс (фильтр начинает “звенеть”) и настройка такого аналогового фильтра становиться сложнее.
В современных АЦП эта проблема решается методом Oversampling.
1.1 Метод Oversampling
Диапазон частот входного аналогового сигнала ограничивается с помощью сравнительно несложного аналогового фильтра. Частота среза фильтра выбирается значительно выше высшей полезной частоты, а переходная полоса фильтра делается достаточно широкой. Таким образом, исключаются и завал “полезных” высших частот, и фазовые искажения характерные для аналоговых фильтров с узкой переходной полосой. Далее отфильтрованный, с ограниченным по частоте спектром сигнал дискретизируется на достаточно высокой частоте, исключающей наложение и искажение спектра (алиазинг). Затем дискретные отсчёты сигнала преобразуются в последовательность чисел с помощью АЦП. После этого образуется поток цифровых данных, представляющих аналоговый сигнал, включая и нежелательные высокочастотные компоненты и помехи. Эти цифровые данные пропускаются через цифровой фильтр с очень узкой переходной полосой и очень большим подавлением нежелательных высокочастотных компонент. Расчёт и создание таких цифровых фильтров, к тому же не вносящих никаких фазовых искажений, не представляет больших трудностей. После цифрового фильтра получается цифровое представление сигнала, имеющего спектр, правильно ограниченный по частоте. Применяя к такому сигналу теорему Найквиста, резко понижается частота его дискретизации до удвоенной величины наивысшей полезной частотной составляющей.
1.2 Классификация АЦП
Классификация АЦП представлена на рисунке 1.
Рисунок 1 - Классификация АЦП
1.3 Квантование амплитуды аналогового сигнала, разрядность АЦП
Преобразование аналогового сигнала в цифровой поток данных происходит в два этапа. Первый этап это дискретизация сигнала на основе теоремы Найквиста, с использованием oversampling. Второй этап это квантование амплитуды дискретных отсчётов, полученных на первом этапе. Дискрет - столбик или полоска, схожая с той, что на студийном индикаторе уровня сигнала. Длина этой полоски и е сть амплитуда сигнала в дискрете.
Процесс квантования амплитуды тогда можно представить как измерение длины полоски с помощью линейки. Чем чаще идут метки на линейке, тем точнее длина полоски (амплитуды) и тем меньше будут ошибки измерений (шумы квантования). Но чем чаще расположены метки на линейки, тем больше бит потребуется для записи числа, соответствующего измеренной длине полоски (амплитуде сигнала в дискрете).
Например, если на линейке 32 метки, то для представления длины полоски (амплитуды) в виде числа понадобится максимум 5 бит (32=25 ). В данном случае 5 бит и будет разрядностью АЦП. Таким образом, процесс квантования амплитуд дискретов фактически заключается в измерении их величин по отношению к некоторому опорному источнику напряжения (линейка в предыдущих объяснениях), обычно имеющемуся внутри корпуса микросхемы АЦП и выражении этих величин в виде чисел состоящих из конечного числа бит. Причём числа могут быть не только целые, например, 16,18,20,24-битные, но и 24 или 32- битные с плавающей точкой или другой кодировкой (например, в кодах с исправлением ошибок), зависящий от конкретной реализации устройства АЦП.
Довольно часто используется всё же кодирование результатов измерения амплитуд дискретов в виде целых чисел в так называемом “дополнительном коде”. В обычном АЦП число бит на один дискрет (разрядность числа) выходного цифрового потока данных непосредственно с квантователя амплитуд дискретов и на выходе всего АЦП равны, так как числа с квантователя амплитуд поступают непосредственно на выход устройства. В случае входного аналогового сигнала, в виде случайного процесса ошибки, процесса квантования, некорелированны с самим сигналом. Отношение сигнал/шум на выходе АЦП в этом случае (если все остальные элементы идеальны) будет 6·N дБ, где N есть число бит на один дискрет или разрядность чисел (для дополнительного кода) сопоставляемых величинам амплитудам дискретов.
Например, для 16-битного АЦП с частотой дискретизации 44,1 кГц в идеальном случае шум квантования будет находиться на уровне 96 дБ по отношению к цифровому синусоидальному сигналу и спектр шума квантования будет равномерен (постоянен) в диапазоне 0 – 22,05 кГц. Если АЦП будет дискретизировать сигнал с большей частотой, то полная мощность шумов квантования останется неизменной, но его спектр будет шире (он будет простираться от 0 Гц до новой, большей частоты дискретизации делённой на 2). Например, если частота дискретизации удваивается до 88.2 кГц, то спектр шумов квантования будет простираться уже до 44,1 кГц (вместо 22,05 кГц). А полезный сигнал будет иметь спектр (как и раньше) простирающийся от 0 Гц до 22,05 кГц, т.е. спектр шума, станет в два раза шире спектра сигнала при прежней мощности шума. Таким образом, мощность шумов квантования “внутри” спектра полезного сигнала упадёт в два раза. Другими словами отношение сигнал/шум квантования в полосе 0 Гц – 22,05 кГц улучшится в два раза (на 3 дБ). Этот процесс можно продолжать. В случае четырехкратного увеличения частоты дискретизации (четырехкратный oversampling) произойдёт улучшение сигнал/шум на 6 дБ. Если использовать 15-битный квантователь на частоте дискретизации 44,1·4 кГц, получится такое же отношение сигнал/шум, как и для 16 битного квантователя и частоты дискретизации 44,1 кГц. Если взять в пределе 1-битного квантователя на частоте дискретизации 44,1·(415 ) кГц, то получится такое же качество АЦП, как и для 16 битного квантователя на частоте дискретизации 44,1 кГц. С помощью цифровых фильтров подавляются все лишние частотные составляющие в полосе от 22,05 кГц до 44,1·(415 )/2 кГц и в полном соответствии с теоремой Найквиста понижают частоту дискретизации до 44,1 кГц.
Таким образом, квантователь АЦП не обязательно должен иметь высокую разрядность, для того чтобы выходной поток цифровых данных АЦП имел частоту дискретизации до 44,1 кГц.
2 Принцип работы интерфейса USB
USB – аббревиатура от Universal Serial Bus, что означает универсальная последовательная шина. Первоначальное ее назначение касалось организации простого и универсального подключения между телефонами и компьютерами. Однако, по мере совершенствования спецификаций, USB-интерфейс становится основным интерфейсом для подключения любого периферийного оборудования к ПК, а в современном виде USB дополнен возможностью организовать связь между двумя устройствами, минуя ПК[2].
Ключевые факторы, способствующие популяризации интерфейса USB:
- последовательная передача;
- высокая скорость обмена данными до 480 Мбит/сек;
- наличие линии питания среди интерфейсных сигналов (5В, 500 мА);
- поддержка функции автоматического определения внешнего устройства при подключении (plug-&-play); возможность подключения к шине при включенном питании (hot plug);
- расширяемость USB-порта. С помощью специального устройства – размножителя (hub) – имеется возможность подключения к одному USB-порту до 127 устройств;
-поддержка передачи аудио, видео, голосовой информации в реальном масштабе времени;
-наличие электронных компонентов, интегрирующих как физический, так и логический уровни; поддержка большинством популярных операционных систем.
2.1 Обзор архитектуры USB
Архитектура шины USB выполнена аналогично локальной сети на витой паре, т.е. как многоуровневая звезда (рисунке 2). При этом шина USB соединяет внешние USB-устройства с главным USB-портом (host). Топология многоуровневой звезды подразумевает, что центром каждого разветвления (звезды) является размножитель (hub). Каждая связь выполняет двухточечное соединение между главным USB-портом и размножителем/функцией или между размножителем и другим размножителем/функцией. На рисунке 2 представлена топология шины USB. Вследствие задержек в распространении сигналов в размножителях и кабелях максимальное количество разветвлений (звезд) ограничено до 7, включая корневой уровень. Из 7 только на 5 уровнях могут быть установлены некорневые размножители, составляющих путь связи между любым устройством и главным USB-портом. Составное устройство занимает два уровня. На 7-ом уровне могут находиться только функции.
Рисунок 2 - Топология шины USB
В любой USB-системе может быть только один главный USB-порт. Устройство, которое соединяет главную компьютерную систему с USB-интерфейсом, называется главный контроллер (Host Controller). Корневой размножитель входит в состав главной системы для организации нескольких точек подключения.
2.2 Протоколы передачи данных USB-порта
Все обмены (транзакции) по USB состоят из трех пакетов. Каждая транзакция планируется и начинается по инициативе контроллера, который посылает пакет-маркер (Token Packet). Этот пакет описывает тип и направление передачи, адрес устройства USB и номер конечной точки.
В каждой транзакции возможен обмен только между адресуемым устройством (его конечной точкой) и хостом. Адресуемое маркером устройство USB распознает свой адрес и подготавливается к обмену. Источник данных (определенный маркером) передает пакет данных (или уведомление об отсутствии данных предназначенных для передачи). После успешного приема пакета приемник данных посылает пакет подтверждения(Handshake Packet).
Планирование транзакций обеспечивает управление поточными каналами. На аппаратном уровне использование отказа от транзакции (NACK) при недопустимой интенсивности передачи предохраняет буферы от переполнения или переопустошения. Маркеры отвергнутых транзакций повторно передаются в свободное для шины время. Управление потоками позволяет гибко планировать обслуживание одновременных разнородных потоков данных.
Устойчивость к ошибкам обеспечивается следующими свойствами USB:
-высокое качество сигналов, обеспечиваемое дифференциальными приемниками и передатчиками и экранированием кабелей;
-защита полей управления и данных CRC-кодами;
-обнаружение подключения и отключения устройств и конфигурирование ресурсов на системном уровне;
-самовосстановление протокола с использованием тайм-аута при потере пакетов;
-управление потоком для обеспечения изохронности и управления аппаратными буферами;
-независимость одних функций от неудачных обменов с другими функциями, обеспечиваемая конструкцией каналов.
Для обнаружения ошибок передачи каждый пакет имеет контрольные поля CRC-кодов, позволяющих обнаруживать все одиночные и двойные битовые ошибки. Аппаратные средства обнаруживают ошибки передачи, а контроллер автоматически производит трехкратную попытку передачи. Если эти повторы безуспешны, сообщение об ошибке передается клиентскому ПО для программной обработки.
2.3 Драйвер D2XX
Драйвер D2XX является альтернативным решением к виртуальному программному обеспечению и обеспечивающий доступ к USB компонентам с использованием DLL. Драйвер применяется для новых разработок и в системах без COM-порта. Драйвер состоит из Windows WDM драйвера и соединяется с устройством, используя USB-стек операционной системы и DLL библиотеку, которая объединяет программное обеспечение (написанное на VC++, C++ Builder, Delphi, VB и т.д.) и WDM драйвер. В комплекте с драйвером на сайте FTDI находятся руководство программиста и примеры программного обеспечения на Visual C++, C++ Builder, Delphi, Visual Basic[8].
3 Функциональная схема АЦП с интерфейсом USB
На рисунке 3 изображена функциональная схема АЦП с интерфейсом USB.
![]() |
||
|
||
Узел сдвига уровня – предназначен для превращения биполярных (-1,25...+1,25 В) сигналов в однополярные (0…+2,5 В), которые способен обрабатывать АЦП.
АЦП – предназначен для преобразования входного аналогового сигнала в его цифровой эквивалент.
Узел USB – предназначен для комплектации цифрового кода в пакет для последующей передачи его в персональный компьютер.
USB разъём - предназначен для подключения приставки к ПК.
Преобразователь напряжения – предназначен для преобразования напряжения +5В в -5В необходимого для питания операционного усилителя.
Фильтры ИП – предназначен для сглаживания пульсаций входного напряжения.
4 Электрическая схема АЦП с интерфейсом USB
4.1 Выбор микросхем для реализации USB
Микросхема FT232BM (рисунок 4) — однокристальный асинхронный двунаправленный преобразователь USB — последовательный интерфейс (RS232, RS422, RS485). FT232BM включает в себя USB приемопередатчик, UART контроллер и буферы, стабилизатор напряжения, умножитель частоты и другие функциональные узлы, которые делают ее готовым решением для быстрой и недорогой модернизации системы с COM портом для работы с USB интерфейсом [5].

Рисунок 4 - Микросхема FT232BM
FT232BM совместим со спецификациями USB 1.1 и USB 2.0 при скорости передачи до 12 Мбит в секунду (Full Speed) и поддерживает интерфейсы хост-контроллеров UHCI (Universal Host Controller Interface) Intel и OHCI (Open Host Controller Interface) Microsoft, Compaq и новым EHCI (Enhanced Host Controller Interface) Intel. Поддерживается передача данных обычных и управляющих пакетов, передача прерываний и изохронных данных — пакетов передающихся на определенной скорости и не повторяющихся в случае сбоя, например аудио или видео данных.
Буфер передатчика USB составляет 128 байт, приемника — 384 байта с возможностью программирования таймаута по приему данных с периодом от 1 до 255 мс, что позволяет гибко настраивать быстродействие устройства при передаче коротких пакетов данных.
Встроенный стабилизатор напряжения подключается непосредственно к USB и обеспечивает питание 3,3В для USB — приемопередатчика и других узлов микросхемы. Кроме этого, стабилизатор имеет выход внешний нагрузки, для питания других компонентов на плате, требующих напряжение 3,3В и небольшой ток потребления (до 5 мА). Токи потребления FT232BM соответствуют требованиям спецификации USB устройств, питание которых осуществляется непосредственно от USB. Собственный ток потребления FT232BM в активном режиме работы не превышает 25 мА, а согласно спецификации USB — не более 100 мА. В режиме Suspend (приостановка) FT232BM потребляет не более 200 мкА (500 мкА по спецификации).
Компоненты с током потребления более 100 мА должны подключаться через отдельный стабилизатор. Для управления питанием других компонентов схемы в FT232BM предусмотрен вывод "PWREN". "PWREN" подключается в затвор MOSFET ключа и с его помощью подключает и отключает питание компонентов схемы.
Встроенная схема формирования сигнала сброс генерирует импульс длительностью около 5 мс при превышении напряжением питания уровня 3,5 В. Сигнал сброса используется для внутренних цепей FT232BM и имеет дополнительно: вход "RESET" для принудительного сброса микросхемы преобразователя от внешнего устройства и выход "RSTOUT" для сброса других микросхем на плате.
Во время действия сигнала сброс выход "RSTOUT" находится в высокоимпедансном (Z) состоянии, а после окончания сброса на выводе "RSTOUT" устанавливается напряжение 3,3 В. Это позволяет использовать "RSTOUT" для подключения подтягивающего (pull-up) резистора на линию DP USB шины при необходимости применения задержанной энумерации (задержки при подключении и идентификации устройства).
Кроме этого вход "RESET" может быть подключен к USB линии питания через резистивный делитель. В этом случае, при пропадании питания USB хоста или хаба на входе "RESET" будет низкий уровень, FT232BM перейдет в состояние сброса и выводы UART интерфейса перейдут в высокоимпедансное состояние.
FT232BM имеет встроенный интерфейс для подключения EEPROM памяти. Поддерживается 16-битная EEPROM c протоколом Microwire (например 93C46) и быстродействием не менее 1 Мбит/с. Применение EEPROM необходимо для идентификации и спецификации каждого устройства при подключении к хосту нескольких устройств на базе FT232BM.
FT232BM может использоваться без EEPROM в том случае, если к хосту подключено только одно устройство. В этом случае (а также если EEPROM будет незапрограммирована) будут использоваться заданные по умолчанию идентификационные номера VID и PID USB, а серийный номер устройства будет отсутствовать.
При подключении к хосту нескольких устройств на базе FT232BM каждому из них назначается свой виртуальный COM-порт, а серийные номера, VID и PID USB, строки с кратким описанием устройства должны быть предварительно запрограммированы в EEPROM. Программирование памяти осуществляется непосредственно в схеме по USB-интерфейсу с помощью специальной утилиты, которую можно переписать с сайта производителя.
FT232BM имеет встроенный умножитель частоты на базе ФАПЧ, который преобразовывает 6 МГц кварцевого генератора в 12 МГц опорный сигнал для USB-контроллера и 48 МГц для цепи ФАПЧ USB приемопередатчика (USB DPLL) и тактового генератора UART. Генератор UART также имеет встроенный 14-битный делитель, позволяющий перестраивать частоту UART от 183 бод до 3 Мбод. Максимальная скорость при работе с RS-232 составляет 1 Мбит, а с RS-422/485 — 3 Мбит.
FT232BM имеет поддержку полного набора квитирования модемного интерфейса и поддерживает различные режимы приемо-передачи по UART: асинхронный 7/8 битный, с 1 или 2 стоп-битами, с четностью/нечетностью, маркером, с паритетом или без паритета. Поддерживаются сигналы готовности к передаче/приему RTS/CTS, DSR/DTR и управляющие символы, сообщающие о начале (X-ON) или окончании (X-OFF) передачи.
4.2 Выбор микросхем для реализации АЦП
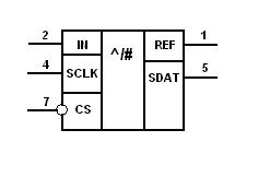
AD7495AR (рисунок 5) от 1 до 12 бит, высокая скорость, низкое энергопотребление, упорядоченная аппроксимация ADCs, которая работает от одного (2,7В до 5,25В ) блока питания с показателями производительности вплоть до 1 MSPS. Они содержат низкий шум, большую ширину дорожки полосы частот и усилителя, которые могут прооперировать входные частоты выше одного МГц [6].

Рисунок 5 - АЦП микросхема AD7495AR
Конверсионный процесс данных управляется используя CS вход в реальном времени, позволяя устройству связываться с микропроцессором. Конверсионное время определено частотой SCLK.
Использование AD7495AR предоставило проектные методы достижения очень низкого силового рассеивания при высоких показателях производительности.
4.3 Реализация входа АЦП на базе операционного усилителя
OP747AR (рисунок 6) единственный прецизионный биполярный усилитель. Устанавливает стабильные емкостные нагрузки 500pF. Биполярный п-н-п вход связан с высокочастотным CMOS выходом. Это позволяет представлять входной диапазон напряжения усилителя, включая отрицательное напряжение, в пределах 1 мВ выходных шин. К тому же входной диапазон расширяется в пределы 1 В положительных шин. Входная структура п-н-п обеспечивает высокое напряжение пробоя, высокий прирост, и большое значение входного смещения. Входная структура п-н-п также существенно уменьшает шум [7].

Рисунок 6 - Операционный усилитель OP747AR
Характеристики OP747AR:
-низкое напряжение смещения – 100 В максимально;
-низкий входной ток смещения – 10 нА максимально;
-одинарная задача, напряжение – 2,7В до 30В;
-двойная задача, напряжение – 1,35В до 15В;
-низкий ток – 300мА/А максимально;
-большая стабильность.
5 Описание и принцип работы USB-приставки
5.1 Технические характеристики
Разрядность АЦП - 12 двоичных разрядов
Минимальный период повторения отсчетов - 300мкс.
Интервал входных сигналов(без делителя) - от (-1,25 до +1,25) В.
Входное сопротивление - 1 МОм.
Входная емкость - 30пФ.
5.2 Описание работы устройства ввода аналоговой информации
В большинстве случаев информация о протекании того или иного физического процесса фиксируется датчиками в виде непрерывного изменяющихся величин. Чтобы ввести информацию в ЭВМ, необходимо произвести ее преобразование в цифровой код. Такое преобразование осуществляется с помощью преобразователей типа «аналог – код». Процесс преобразования непрерывной информации в цифровой код можно разбить на два этапа: квантование, кодирование [4].
Квантование – разбиение непрерывно изменяющейся величины на определенное конечное число дискретных элементов или состояний (квантовых уровней), уровней потенциала, последовательности импульсов и др. Количество уровней квантования определяется, с одной стороны, требуемой точностью представления измеряемого параметра, с другой – разрешающей способностью чувствительного элемента, т.е. датчика. На точность представления непрерывной величины дискретными значениями влияет частота квантования.
Кодирование – преобразование соответствующих квантовых уровней параметра Х в форму, удобную для ввода в машину.
В зависимости от принципа кодирования аналого-цифровые преобразователи разделяются на три группы:
а) преобразователи последовательного счета – преобразователи с кодированием по принципу счета квантовых уровней, каждому из которых соответствует электрически импульс, эквивалентный единице младшего разряда цифрового кода;
б) преобразователи считывания – преобразователи с кодированием по принципу прямого счета, при котором каждый квантовый уровень кодируется независимо от других в полнее определенной комбинацией двоичных знаков, эквивалентной аналоговой величине;
в) преобразователи сравнения и вычитания – преобразователи с кодированием по принципу сравнения величины с набором эталонных значений (сравнение начинается с максимальной эталонной величины); после каждого сравнения и вычитания формируется значение данного разряда, а полученная разность используется для сравнения со следующим меньшим эталоном.
В качестве преобразователей аналоговых величин в дискретные используются преобразователи типа «вал – число» и «напряжение – число».
USB приставка, преобразующая аналоговые входные сигналы в цифровые данные для виртуальных измерительных приборов: цифрового вольтметра, осциллографа, регистратора медленно текущих процессов с записью информации в дисковый файл. Приставка не требует отдельного источника питания, получая его от USB.
Указанные значения входного сопротивления и емкости дают возможность подавать входной сигнал с помощью стандартного щупа-делителя напряжения для обычного осциллографа. Подходят, например, щупы PROBE60S, НР-9060.Разработанная для работы с приставкой программа обеспечивает наблюдение осциллограмм сигналов на экране монитора при скорости временной развертки 0,3... 100 мс/дел. В режиме регистратора программа ведет запись отсчетов сигнала с максимальным периодом повторения 100 с в текстовый файл (кодировка ASCII), пригодный для анализа с помощью других программ.
Исследуемый сигнал поступает на разъем XW1. На ОУ DA1.2 выполнен повторитель, а на DA1.1 — узел сдвига уровня, необходимый для превращения биполярных (-1,25...+1,25 В) сигналов в однополярные (0...+2.5), которые способен обрабатывать АЦП DA2. Образцовое напряжение +2,5 В подано на узел сдвига с соответствующего выхода АЦП через повторитель на ОУ DA1.3. Использован 12-разрядный АЦП AD7495 с последовательным интерфейсом. Сигналом начала цикла преобразования служат смена высокого уровня на входе CS АЦП низким при высоком уровне на входе SCLK. Затем на вход SCLK подают 16 импульсов низкого уровня. На выходе SDAT в ответ на четыре первых импульса будет установлен низкий уровень, а на каждый из 12 последующих — уровень, соответствующий значению очередного разряда результата преобразования, начиная со старшего. Завершают цикл установкой высокого уровня на входе CS.
Для передачи результата преобразования в компьютер применен интерфейс USB, реализуемый с помощью микросхемы FT232BM — преобразователя USB—RS-232. Эта микросхема способна работать в режиме Bit Bang , в котором линии ее порта RS-232 образуют восьмиразрядную параллельную шину данных с индивидуальной настройкой разрядов на ввод или вывод. Программную поддержку режима Bit Bang в компьютере обеспечивает драйвер D2XX.
Чтобы сформировать нужную временную диаграмму сигналов управления АЦП, компьютерная программа заполняет выходной буфер USB байтами, несущими в соответствующих разрядах значения этих сигналов в каждом такте. Для одного цикла работы АЦП требуется сформировать и передать 34 байта (по два на каждый тактовый импульс и еще два для управления сигналом CS). Темп выдачи значений из этих байтов на выходы DTR и RTS преобразователя интерфейса, с которыми соединены входы CS и SCLK АЦП, зависит от настройки внутреннего синтезатора тактовой частоты преобразователя. Наст Настройку изменяют командами от компьютера, регулируя таким образом скорость работы АЦП, а вместе с ней и частоту дискретизации входного сигнала.
Последовательный выход АЦП соединен с входом CTS преобразователя интерфейса, благодаря чему результаты работы АЦП поступают в буфер преобразователя интерфейса, а из него по USB — в компьютер. В связи с особенностями протокола обмена по USB передача информации в компьютер происходит с довольно большой, а главное, непредсказуемой задержкой. Чтобы решить проблему, на вход DSR преобразователя интерфейса подан тот же сигнал, что и на вход CS АЦП. Получая информацию об уровнях на входе CS и на выходе SDAT АЦП одновременно, компьютерная программа имеет возможность найти в полученной последовательности начало и конец каждого цикла преобразования и правильно декодировать его результат.
В приставке реализовано важное преимущество интерфейса USB — как уже сказано, ей не требуется отдельный источник питания. Напряжение +5 В поступает на микросхемы с контакта 1 розетки XS1 через развязывающие LC-и RC- фильтры. Напряжение -5 В, необходимое для питания ОУ DA1, получено с помощью преобразователя напряжения DC-101 фирмы YCL. Аналогичный можно найти на плате неисправного компьютерного адаптера сети Ethernet, предназначенного для связи по коаксиальному кабелю. Пригодны и другие модули преобразователей постоянного напряжения 5 В в 5...9 В с гальванической развязкой.
Приставка собирается на макетной плате. На плате распологаются все элементы, за исключением разъема XW1. Монтаж выполнен проводом МГТФ. Выводы малогабаритных микросхем соединены с контактными площадками макетной платы отрезками луженого провода диаметром 0,2 мм.
Коаксиальный разъем XW1 — СР-50-73ФВ (BNC Jack). XS1 — розетка USB-B для печатного монтажа, ее стандартным кабелем соединяют с одной из розеток USB-A компьютера.
Подключенную к разъему USB приставку операционная система компьютера автоматически опознает как новое USB-устройство. Прочитав его идентификаторы (микросхеме FT232BM по умолчанию присвоены
VID=0x0403 и РЮ=0х6001), она пытается найти в памяти компьютера и установить подходящий программный драйвер устройства. Если сделать это самостоятельно ей не удалось, система попросит пользователя указать путь к папке, в которой находятся необходимые файлы. Последние версии требующегося для работы приставки драйвера D2XX для различных операционных систем находятся на интернет-странице [8].
Разработанная для работы с приставкой программа USCOPE, основное окно которой показано на рисунке8, позволяет измерить среднее значение входного напряжения АЦП и наблюдать осциллограмму поданного на его вход сигнала.

Рисунок 7 – Вид основного окна программы UScore
Кнопками на панели TIME/DIV- Scope изменяют скорость "развертки", а на панели INPUT DIVIDER устанавливают соответствие показаний вольтметра измеряемому напряжению при использовании щупа-делителя.
Органами управления, расположенными на панели Syncro, выбирают вид синхронизации развертки и управляют условиями ее запуска. Синхронизация реализованапрограммно и основана на поиске отсчета, удовлетворяющего заданным условиям, в буфере принятых от АЦП данных. Выбрав в меню "File" пункт "Save Image...", можно записать наблюдаемую осциллограмму в графический файл.
В режиме регистратора, в который входят, нажав на панели TIME/DIV— Recorder одну из кнопок, задающих период повторения отсчетов в секундах, программа записывает принятую от АЦП информацию в текстовый файл практически неограниченного размера. По умолчанию будет создан файл data.txt, но это имя можно изменить, выбрав в меню "File" пункт "Save Data As...".
В окне Options, открывающемся при выборе одноименного пункта главного меню, можно задать Device ID — имя, по которому программа ищет приставку АЦП в списке подключенных к компьютеру устройств. Оно должно совпасть с заданным при установке драйвера, по умолчанию — "USB <-> Serial".
В том же окне можно ввести число, корректирующее ноль шкалы напряжения. Обычно его подбирают таким, чтобы при замкнутом входе приставки показания цифрового табло в правой верхней части главного окна стали нулевыми.
Кнопки Power ON/OFF служат для логического включения и выключения АЦП. При отключении приставки от компьютера программа автоматически переходит в режим OFF.
При пользовании приставкой следует помнить, что вход осциллографа не изолирован от компьютера. Измерения в цепях, непосредственно связанных с питающей сетью, необходимо производить с помощью разделительного трансформатора.
6 Конструктивный расчёт печатной платы
При разработке конструкции печатной платы (ПП) решаются задачи размещения элементов на ПП, трассировки печатных проводников, выбора метода изготовления ПП, расчета конструктивных параметров ПП.
Технология изготовления печатной платы зависит от конструктивных особенностей изготовления платы. На данный момент считаем, что отверстия у нас не металлизированные; материал для ПП – стеклотекстолит, монтажные отверстия изготовлены химическим методом; отступ от краев ПП равен 10 мм; расстояние между элементами равно 1,5 мм; диаметр крепежных отверстий равен 4,0 мм (в соответствии с рекомендованными параметрами взятых из [3]).
По условию задания даны следующие ИМС и ЭРЭ:
а) микросхемы – три
- FT232BM, корпус LQFP-32;
- OP747AR, корпус R-14;
- AD7495AR, корпус SO-8;
б) конденсаторы – двенадцать
- К53-14-6,3В-10мкФ-10%, корпус K53-14;
- К10-7В-М47-30пФ, корпус K10-7B;
- К10-7В-М47-0,1мкФ, корпус K10-7B;
- К10-7В-М47-27пФ, корпус K10-7B;
- К10-7В-М47-0,033мкФ, корпус K10-7B;
в) индуктивности – две
- 220К-22мкГн, корпус P2-73;
г) резисторы - девять
- МЛТ-0,125-1МОм-10%, корпус МЛТ-0,125;
- МЛТ-0,125-100кОм-10%, корпус МЛТ-0,125;
- МЛТ-0,125-470Ом-10%, корпус МЛТ-0,125;
- МЛТ-0,125-1,5кОм-10%, корпус МЛТ-0,125;
- МЛТ-0,125-270Ом-10%, корпус МЛТ-0,125;
д) кварцевый резонатор – один
- PR-1100-6МГц, корпус PR-1100;
е) преобразователь напряжения – один
- DC-101, корпус TMA0505D;
ж) штепсельные разъёмы – два
- СР-50-73ФВ (BNS)
- USB-A
Данные о габаритах корпусов приведены в таблице 1.
Таблица 1
| Корпус | Длина | Ширина | Кол-во выводов | Диаметр выводов | Ссылка |
| LQFP-32 | 9,00 мм | 9,00 мм | 32 | - | [6] |
| R-14 | 8,75 мм | 6,20 мм | 14 | - | [7] |
| SO-8 | 5,00 мм | 6,20 мм | 8 | - | [8] |
| K53-14 | 4,00 мм | 4,00 мм | 2 | 0,6 мм | [4] |
| K10-7B | 4,00 мм | - | 2 | 0,4 мм | [4] |
| P2-73 | 10,5 мм | 4,3 мм | 2 | 0,6 мм | [9] |
| МЛТ-0,125 | 6,00 мм | 2,2 мм | 2 | 0,6 мм | [5] |
| PR-1100 | 10,00 мм | 4,00 мм | 2 | 0,4 мм | [9] |
| TMA0505D | 15,00 мм | 15,00 мм | 4 | 0,8 мм | [9] |
С помощью полученных данных высчитываем диаметр отверстий:
для конденсатора d=dвыв +0,2 мм =0,8 мм;
для полярного конденсатора d=dвыв +0,2 мм =0,6 мм;
для индуктивности d=dвыв +0,2 мм =0,8 мм;
для резистора d=dвыв +0,2 мм =0,8 мм;
для кварцевого резонатора d=dвыв +0,2 мм =0,8мм;
для преобразователя напряжения d=dвыв +0,2 мм =1,0 мм.
В зависимости от диаметра отверстий выбираем толщину ПП равной 2,0 мм.
После расчетов ПП ширина ПП = 85 мм, длина ПП = 125 мм.
Размеры печатной платы не совпадают со стандартным рядом ГОСТ 10.317-72 т.к. ПП разрабатывалась под уже готовый корпус.
Корпус сделан из пластика, толщина стен равна 2 мм, что позволяет сохранить целостность печатной платы при падении устройства с высоты 1 метр.
7 Технологи я изготовления печатных плат
Процесс изготовления печатной платы можно условно разделить на пять основных этапов: [9]
1) предварительная подготовка заготовки (очистка поверхности, обезжиривание);
2) нанесение тем или иным способом защитного покрытия;
3) удаление лишней меди с поверхности платы (травление);
4) очистка заготовки от защитного покрытия;
5) сверловка отверстий, покрытие платы флюсом, лужение.
Рассмотрим «классическую» технологию, при которой лишние участки меди с поверхности платы удаляются путем химического травления.
Предварительная подготовка заготовки - данный этап является начальным и заключается в подготовке поверхности будущей печатной платы к нанесению на нее защитного покрытия. В целом за продолжительный промежуток времени технология очистки поверхности не претерпела сколько-нибудь значительных изменений. Весь процесс сводится к удалению окислов и загрязнений с поверхности платы с использованием различных абразивных средств и последующему обезжириванию.
Для удаления сильных загрязнений можно использовать мелкозернистую наждачную бумагу («нулевку»), мелкодисперсный абразивный порошок или любое другое средство, не оставляющее на поверхности платы глубоких царапин. Иногда можно просто вымыть поверхность печатной платы жесткой мочалкой для мытья посуды с моющим средством или порошком (для этих целей удобно использовать абразивную мочалку для мытья посуды, которая похожа на войлок с мелкими вкраплениями какого-то вещества; часто такая мочалка бывает наклеена на кусок поролона). Кроме того, при достаточно чистой поверхности печатной платы можно вообще пропустить этап абразивной обработки и сразу перейти к обезжириванию.
В случае наличия на печатной плате только толстой оксидной пленки ее можно легко удалить путем обработки печатной платы в течение 3–5 секунд раствором хлорного железа с последующим промыванием в холодной проточной воде. Следует, однако, отметить, что желательно либо производить данную операцию непосредственно перед нанесением защитного покрытия, либо после ее проведения хранить заготовку в темном месте, поскольку на свету медь быстро окисляется.
Заключительный этап подготовки поверхности заключается в обезжиривании. Для этого можно использовать кусочек мягкой ткани, не оставляющей волокон, смоченный спиртом, бензином или ацетоном. Здесь следует обратить внимание на чистоту поверхности платы после обезжиривания, поскольку в последнее время стали попадаться ацетон и спирт со значительным количеством примесей, которые оставляют на плате после высыхания беловатые разводы. Если это так, то стоит поискать другой обезжиривающий состав. После обезжиривания плату следует промыть в проточной холодной воде. Качество очистки можно контролировать, наблюдая за степенью смачивания водой поверхности меди. Полностью смоченная водой поверхность, без образования на ней капель и разрывов пленки воды, является показателем нормального уровня очистки. Нарушения в этой пленке воды указывают, что поверхность очищена недостаточно.
Нанесение защитного покрытия - является самым важным этапом в процессе изготовления печатных плат, и именно им на 90 % определяется качество изготовленной платы.
Использование «технологии лазерного принтера». Данная технология получила широкое распространение в силу своей простоты и высокого качества получаемых плат. Основу технологии составляет перенос тонера (порошка, используемого при печати в лазерных принтерах) с какой-либо подложки на печатную плату. При этом возможны два варианта: либо используемая подложка отделяется от платы перед травлением, либо, если в качестве подложки используется алюминиевая фольга, она стравливается вместе с медью. Первый этап использования данной технологии заключается в печати зеркального изображения рисунка печатной платы на подложке. Параметры печати принтера при этом должны быть установлены на максимальное качество печати (поскольку в этом случае происходит нанесение слоя тонера наибольшей толщины). В качестве подложки можно использовать тонкую мелованную бумагу (обложки от различных журналов), бумагу для факсов, алюминиевую фольгу, пленку для лазерных принтеров, основу от самоклеящейся пленки Oracal или какие-нибудь другие материалы. При использовании слишком тонкой бумаги или фольги может потребоваться приклеить их по периметру на лист плотной бумаги. Большое значение это имеет и при печати на фольге или основе от пленки Oracal, поскольку тонер на них держится очень слабо, и в случае перегиба бумаги внутри принтера существует большая вероятность, что придется потратить несколько неприятных минут на очистку печки принтера от налипших остатков тонера. Также помимо принтера можно использовать и копировальный аппарат, применение которого иногда дает даже лучшие по сравнению с принтерами результаты за счет нанесения толстого слоя тонера. Основное требование, которое предъявляется к подложке, — легкость ее отделения от тонера. Кроме того, в случае использования бумаги она не должна оставлять в тонере ворсинок. При этом возможны два варианта: либо подложка после перенесения тонера на плату просто снимается (в случае пленки для лазерных принтеров или основы от Oracal), либо предварительно размачивается в воде и потом постепенно отделяется (мелованная бумага). Перенос тонера на плату заключается в прикладывании подложки с тонером к предварительно очищенной плате с последующим нагревом до температуры, немного превышающей температуру плавления тонера. Возможно огромное количество вариантов как это сделать, однако наиболее простым является прижим подложки к плате горячим утюгом. При этом для равномерного распределения давления утюга на подложку рекомендуется проложить между ними несколько слоев плотной бумаги. Очень важным вопросом является температура утюга и время выдержки. Тонер должен успеть достаточно расплавиться, чтобы прилипнуть к поверхности платы, и в то же время должен не успеть дойти до полужидкого состояния, чтобы края дорожек не расплющились. После «приварки» тонера к плате необходимо отделить подложку (кроме случая использования в качестве подложки алюминиевой фольги: ее отделять не следует, поскольку она растворяется практически во всех травильных растворах). Пленка для лазерных принтеров и основа от Oracal просто аккуратно снимаются, в то время как обычная бумага требует предварительного размачивания в горячей воде. Стоит отметить, что в силу особенностей печати лазерных принтеров слой тонера в середине больших сплошных полигонов достаточно мал, поэтому следует по мере возможности избегать использования таких областей на плате, либо после снятия подложки придется подретушировать плату вручную. В целом использование данной технологии позволяет добиться ширины дорожек и зазоров между ними вплоть до 0,3 мм.
Применение фоторезистов. Фоторезистом называется чувствительное к свету вещество, которое под воздействием освещения изменяет свои свойства. В последнее время на российском рынке появилось несколько видов импортных фоторезистов в аэрозольной упаковке, которые особенно удобны для использования в домашних условиях. Сущность применения фоторезиста заключается в следующем: на плату с нанесенным на нее слоем фоторезиста накладывается фотошаблон и производится ее засветка, после чего засвеченные (или незасвеченные) участки фоторезиста смываются специальным растворителем, в качестве которого обычно выступает едкий натр (NaOH). Все фоторезисты делятся на две категории: позитивные и негативные. Для позитивных фоторезистов дорожке на плате соответствует черный участок на фотошаблоне, а для негативных, соответственно, прозрачный. Наибольшее распространение получили позитивные фоторезисты как наиболее удобные в применении. Остановимся более подробно на использовании позитивных фоторезистов в аэрозольной упаковке.
Первым этапом является подготовка фотошаблона. В домашних условиях его можно получить, напечатав рисунок платы на лазерном принтере на пленке. При этом необходимо особое внимание уделить плотности черного цвета на фотошаблоне, для чего необходимо отключить в настройках принтера все режимы экономии тонера и улучшения качества печати. Кроме того, некоторые фирмы предлагают вывод фотошаблона на фотоплоттере — при этом вам гарантирован качественный результат.
На втором этапе на предварительно подготовленную и очищенную поверхность платы наносится тонкая пленка фоторезиста. Делается это путем распыления его с расстояния порядка 20 см. При этом следует стремиться к максимальной равномерности получаемого покрытия. Кроме того, очень важно обеспечить отсутствие пыли в процессе распыления — каждая попавшая в фоторезист пылинка неминуемо оставит свой след на плате.
После нанесения слоя фоторезиста необходимо высушить получившуюся пленку. Делать это рекомендуется при температуре 70 oC–80 oC, причем сначала нужно подсушить поверхность при небольшой температуре и затем постепенно довести температуру до нужного значения. Время сушки при указанной температуре составляет порядка 20–30 мин. В крайнем случае допускается сушка платы при комнатной температуре в течение 24 часов. Платы с нанесенным фоторезистом должны храниться в темном прохладном месте.
Следующим после нанесения фоторезиста этапом является экспонирование. При этом на плату накладывается фотошаблон (желательно стороной печати к плате: это способствует увеличению четкости при экспонировании), который прижимается тонким стеклом или куском плексигласа. При достаточно небольших размерах плат для прижима можно использовать крышку от коробки компакт-диска либо отмытую от эмульсии фотопластинку. Поскольку область максимума спектральной чувствительности большинства современных фоторезистов приходится на ультрафиолетовый диапазон, для засветки желательно использовать лампу с большой долей УФ - излучения в спектре (ДРШ, ДРТ и др.). В крайнем случае, можно использовать мощную ксеноновую лампу. Время экспонирования зависит от многих причин (тип и мощность лампы, расстояние от лампы до платы, толщина слоя фоторезиста, материал прижимного покрытия и др.) и подбирается экспериментально. Однако в целом время экспонирования составляет обычно не более 10 минут даже при экспонировании под прямыми солнечными лучами.
Проявление большинства фоторезистов осуществляется раствором едкого натра (NaOH) — 7 граммов на литр воды. Лучше всего использовать свежеприготовленный раствор, имеющий температуру 20°C–25°C. Время проявления зависит от толщины пленки фоторезиста и находится в пределах от 30 секунд до 2 минут. После проявления плату можно подвергать травлению в обычных растворах, поскольку фоторезист устойчив к воздействию кислот. При использовании качественных фотошаблонов применение фоторезиста позволяет получить дорожки шириной вплоть до 0,15–0,2мм.
Травление - хлорное железо (FeCl3) —самый известный и популярный реактив. Сухое хлорное железо растворяется в воде до тех пор, пока не будет получен насыщенный раствор золотисто-желтого цвета (для этого потребуется порядка двух столовых ложек на стакан воды). Процесс травления в этом растворе может занять от 10 до 60 минут. Время зависит от концентрации раствора, температуры и перемешивания. Перемешивание значительно ускоряет протекание реакции. В этих целях удобно использовать компрессор для аквариумов, который обеспечивает перемешивание раствора пузырьками воздуха. Также реакция ускоряется при подогревании раствора. По окончании травления плату необходимо промыть большим количеством воды, желательно с мылом (для нейтрализации остатков кислоты). К недостаткам данного раствора следует отнести образование в процессе реакции отходов, которые оседают на плате и препятствуют нормальному протеканию процесса травления, а также сравнительно низкую скорость реакции.
Очистка заготовки, сверловка, нанесение флюса, лужение.
После завершения травления и промывки платы необходимо очистить ее поверхность от защитного покрытия. Сделать это можно каким-либо органическим растворителем, например, ацетоном.
Просверлить все отверстия.
Делать это нужно остро заточенным сверлом при максимальных оборотах электродвигателя. В случае, если при нанесении защитного покрытия в центрах контактных площадок не было оставлено пустого места, необходимо предварительно наметить отверстия (сделать это можно, например, шилом). Прижимное усилие в процессе сверления не должно быть слишком большим, чтобы на обратной стороне платы не образовывались бугорки вокруг отверстий. Обычные электродрели практически не подходят для сверления плат, поскольку, во-первых, имеют низкие обороты, а во-вторых, обладают достаточно большой массой, что затрудняет регулирование прижимного усилия. После сверловки нужно обработать отверстия: удалить все зазубрины и заусенцы. Сделать это можно наждачной бумагой.
Следующим этапом является покрытие платы флюсом с последующим лужением. Можно использовать специальные флюсы промышленного изготовления (лучше всего смываемые водой или вообще не требующие смывания) либо просто покрыть плату слабым раствором канифоли в спирте. Лужение можно производить двумя способами: погружением в расплав припоя либо при помощи паяльника и металлической оплетки, пропитанной припоем. В первом случае необходимо изготовить железную ванночку и заполнить ее небольшим количеством сплава Розе или Вуда. Расплав должен быть полностью покрыт сверху слоем глицерина во избежание окисления припоя. Для нагревания ванночки можно использовать перевернутый утюг или электроплитку. Плата погружается в расплав, а затем вынимается с одновременным удалением излишков припоя ракелем из твердой резины.
8 Смета затрат на устройство ввода аналоговой информации
8.1 М атериал ы и комплектующ ие
В таблице 2 показаны затраты на приобретение материалов и комплектующих [10].
Таблица 2
| Наименование | Кол. | Цена, руб. | Сумма, руб. |
| Конденсаторы | |||
| К53-14-6,3В-10мкФ-10% | 2 | 1 | 2 |
| К10-7В-М47-30пФ | 1 | 2 | 2 |
| К10-7В-М47-0,1мкФ | 6 | 2 | 12 |
| К10-7В-М47-27пФ | 2 | 1 | 2 |
| К10-7В-М47-0,033мкФ | 1 | 1 | 1 |
| Микросхемы | |||
| FT232BM | 1 | 231 | 231 |
| OP747AR | 1 | 460 | 460 |
| AD7495AR | 1 | 140 | 140 |
| К а тушки индуктивности | |||
| 220К 22 мкГН | 2 | 10 | 20 |
| Резисторы | |||
| МЛТ-0,125-1МОм-10% | 1 | 1 | 1 |
| МЛТ-0,125-100кОм-10% | 4 | 1 | 4 |
| МЛТ-0,125-470Ом-10% | 1 | 1 | 1 |
| МЛТ-0,125-1,5кОм-10% | 1 | 1 | 1 |
| МЛТ-0,125-270Ом-10% | 2 | 2 | 4 |
| Преобразователь напряжения | |||
| DC-101 | 1 | 22 | 22 |
| Штепсельные разъемы | |||
| BNS-СР-50-73ФВ | 1 | 30 | 30 |
| USB-A | 1 | 37 | 37 |
| Кварцевый резонатор | |||
| PR-1100-6МГц | 1 | 20 | 20 |
| Корпус | 1 | 50 | 50 |
Стеклотекстолит фольгированый ФС-1 |
85х125 мм |
400 руб/м2 | 42,5 |
| Припой | 0,15кг. | 30 руб/кг | 4,5 |
| Флюс | 0,4кг. | 20 руб/кг | 8 |
| Хлорное железо | 0,2кг. | 45 руб/кг | 9 |
| Итого: | 1104 | ||
Итого на приобретение материалов и комплектующих потребовалось 1104 рубля.
8.2 Затраты на адаптацию
Для изготовления печатной платы и пайки элементов потребуется исполняющий.В таблице 3 показаны расходы на оплату труда исполнителю.
Таблица 3 – Основная заработная плата
| № | Вид работы | Трудоемкость, ч. | Цена за1 ч., руб. | Сумма, руб. |
| 1 | Получение заказа | 4 | 10 | 40 |
| 2 | Изучение литературы | 16 | 20 | 320 |
| 3 | Изготовление печатной платы (ПП) | 8 | 100 | 800 |
| 4 | Пайка элементов | 3 | 200 | 600 |
| 5 | Тестирование | 2 | 50 | 100 |
| 6 | Внешняя экспертиза | 2 | 50 | 100 |
| 7 | Сдача заказчику | 2 | 20 | 40 |
| Итого: | 2000 | |||
Дополнительная заработная плата составляет 20% от основной:
20%*2000=400 рублей
Дополнительная заработная платасоставила400 рублей.
Северный районный коэффициент составляет 50% от основной и дополнительной заработных плат:
(2000+400)*50%=1200 рублей
Северный районный коэффициент составил 1200 рублей.
Единый социальный налог 26% от основной, дополнительной заработных плат и северного районного коэффициента:
(2000+400+1200)*26%=936 рублей
Единый социальный налогсоставил936 рублей.
Итого затраты на адаптацию составили :
2000+400+1200+936=4536 рублей.
8.3 Общепроизводственные расходы
Для изготовления устройства потребуется рабочее место и необходимое оборудование, поэтому берем в аренду лабораторию 123б ИАТ. Аренда 1 рабочего места лаборатории составляет за 1 кв. м 154,87 рублей. По ГОСТу 12.2.033 рабочее место составляет 6 кв. м.
Итого аренда за 6 кв. м составляет:
154,87*6=929,22 рубля.
В аренду входит амортизация оборудования.
Исходя из таблицы 3, для выполнения работы потребуется 37 часов, то есть 5 дней по 8 рабочих часов.
Отдельно оплачиваются коммунальные услуги за 5 рабочих дней:
- вода и канализация 21,3 рубля;
- мусор 24 рубля;
- электроэнергия и теплоэнергия 17,7 рублей.
Итого за аренду лаборатории потребуется:
21,3+ 24+17,7+929,22=992,12 рубля.
Оплата коммунальных и эксплуатационных услуг взята из бухгалтерии ИАТ за ІІ квартал 2008 года.
8.4 Нематериальные активы
В таблице 5 показаны расходы на программное обеспечение (ПО).
В лаборатории установлено необходимое программное обеспечение, поэтому платим 5% от стоимости программного продукта.
Таблица 5
| № | Наименование ПО | Цена, руб. | 5% |
| 1 | P-cad[11] | 218704 | 10935,2 |
| 2 | USCOPE [12] | 120240 | 6012 |
| Итого: | 16947,2 | ||
Затраты на нематериальные активы составили 16947,2 рубля
8. 5 Коммерческие расходы
Коммерческие расходы составляют 10% от заработной платы:
4536*10%=453,6 руб.
Итого коммерческие расходы составили 453,6 рублей.
Итого себестоимость устройства показана в таблице 6.
Таблица 6
| Затраты | Сумма, руб. |
| Расходы на материалы и комплектующие | 1104 |
| Затраты на адаптацию | 4536 |
| Общепроизводственные расходы | 992,12 |
| Нематериальные активы | 16947,2 |
| Коммерческие расходы | 453,6 |
| Итогосебестоимость: | 24032,92 |
9 Экономическая эффективность разработки
В таблице 7 показана экономическая эффективности разработки. Для примера взята схема АЦП на PIC – контроллере.
Таблица 7
| АЦП на PIC – контроллере | АЦП с интерфейсом USB | |
| 1 | COM порт – ограничение скорости | USB 2.0 интерфейс (500 мбит/с) |
| 2 | АЦП 12 разрядов | АЦП 12 разрядов |
| 3 | Источник питания 0-5 В | Не требует отдельного источника питания (от USB) |
| 4 | АЦП реализовано на PIC – контроллере (программируется) | АЦП реализовано на микросхеме AD7495AR |
| 5 | Минимальный период повторения сигналов 300 мкс | Минимальный период повторения сигналов 300 мкс |
| 6 | Интервал входных сигналов 0-5В | Интервал входных сигналов -1.25 ..+1.25 |
Заключение
В данном ДП 230101.08.73.11 ПЗ рассматривается пример КИС имеющий интерфейс USB. Интерфейс USB выбран неслучайно, так как это наиболее распространенный порт на современных платформах, также USB-порт выбран из-за большой скорости передачи данных. Современные платформы имеют от 2 до 6 USB-розеток. Для реализации USB-интерфейса была выбрана микросхема FT232BM, которая полностью реализует USB-интерфейс, хотя это довольно сложный интерфейс и его реализация до недавнего времени была очень сложна.
Большинство фирм-производителей изготавливают подобные КИС с использованием программируемых контроллеров, однако в данном курсовом проекте была использована АЦП микросхема AD7495AR, которая заметно увеличила быстродействие схемы.
В дальнейшем для увеличения диапазона исследуемых сигналов планируется установить аттенюатор (делитель напряжения), что позволит исследовать сигналы большей амплитуды.
Список информационных источников
1 Гоноровский И.С. Радиотехнические цепи и сигналы: учебник для вузов. – М.; Радио и связь, 1986г.
2 Гук М. Интерфейсы ПК: справочник – СПб Питер Ком, 1999г
3 Нефедов В.И. Электрорадиоизмерения: учебник для вузов. – М.; Просвещение, 2004г.
4 Журнал Радио № 5 2005 г.
5 Электронный ресурс Интернет – магазин «Chipinfo». Раздел «Продукция» www.chipinfo.ru/vstock/catalog.html
6 Электронный ресурс Интернет - сайт www.analog.com/UploadedFiles/Data_Sheets/256945590AD7475_95_a.pdf
7 Электронный ресурс Интернет сайт www.analog.com
8 Электронный ресурс Интернет сайт HTTP://www.ftdichip.com/drivers/FT232-FT245Drivers.htm
9 Электронный ресурс Интернет - магазин http://www.compitech.ru/html.cgi/arhiv_s/00_01/stat_47.htm
10 Электронный ресурс Интернет - магазин ЗАО «Руднев - Шиляев» http://www.rudshel.ru/production/data_acquisition_boards/external_devices/la-2usb-12-14.html
11 Электронный ресурс Интернет - магазин «Конкурент» http://www.konkurentov.net/altium_limited_p_cad_2006__6l_68/ 浯P-CAD
12 Электронный ресурс Журнал «Радио» http://www.radio.ru Раздел «Архив» http://www.radio.ru/pub/2005/05/usbadc.zip
13 эффективность
Похожие рефераты:
Методы позиционирования и сжатия звука
Техническая диагностика средств вычислительной техники
Управление звуковой картой компьютера
Свойства информации. Единицы измерения количества информации
Приемник цифровой системы передачи информации ВЧ-каналом связи по ВЛ
Машины, которые говорят и слушают
Электронный документооборот страхового общества
Линейное оборудование синхронной цифровой иерархии SL16
